

本発明は、半導体装置などの電子デバイスの絶縁膜等に用いられるパターン膜を形成できる感光性組成物に関し、より詳細には、露光及び現像により感光性組成物の硬化物からなるパターン膜を形成するのに用いられる感光性組成物、並びに該感光性組成物を用いたパターン膜の製造方法に関する。 The present invention relates to a photosensitive composition capable of forming a pattern film used for an insulating film of an electronic device such as a semiconductor device, and more specifically, forms a pattern film made of a cured product of the photosensitive composition by exposure and development. The present invention relates to a photosensitive composition used for the preparation, and a method for producing a pattern film using the photosensitive composition.
半導体装置などの電子デバイスでは、小型化及び薄型化を図るために、絶縁性に優れた絶縁膜を形成する必要がある。また、半導体装置のパッシベーション膜やゲート絶縁膜などでは、微細パターン形状の絶縁膜を形成する必要がある。このような絶縁膜を形成するために、パターニング可能な感光性組成物が提案されている。 In an electronic device such as a semiconductor device, it is necessary to form an insulating film having excellent insulating properties in order to reduce the size and thickness. In addition, it is necessary to form an insulating film having a fine pattern shape for a passivation film or a gate insulating film of a semiconductor device. In order to form such an insulating film, a photosensitive composition that can be patterned has been proposed.
上記パターニング可能な感光性組成物の一例として、下記の特許文献1には、アクリルポリマーと、1,2−キノンジアジド化合物とを含む感光性組成物が開示されている。ここでは、上記アクリルポリマーとして、(メタ)アクリル酸等の不飽和カルボン酸と、特定のエポキシ基含有ラジカル重合性組成物とを含む成分を共重合して得られた共重合体が用いられている。 As an example of the patternable photosensitive composition,
上記のようなアクリルポリマーを含む感光性組成物を用いて微細なパターン形状の薄膜を形成する際には、先ず感光性組成物を基板上に塗布する。次に、基板上の感光性組成物層を乾燥し、マスクを介して部分的に露光する。その後、感光性組成物をアルカリ現像液により現像し、露光部の感光性組成物層を除去する。未露光部の感光性組成物層は基板上に残る。現像後に、残存している未露光部の感光性組成物層を加熱することにより、硬質で緻密な微細パターン形状の薄膜を得ることができる。 When forming the thin film of a fine pattern shape using the photosensitive composition containing the above acrylic polymers, first, a photosensitive composition is apply | coated on a board | substrate. Next, the photosensitive composition layer on the substrate is dried and partially exposed through a mask. Thereafter, the photosensitive composition is developed with an alkali developer, and the photosensitive composition layer in the exposed area is removed. The photosensitive composition layer in the unexposed area remains on the substrate. After development, the remaining unexposed portion of the photosensitive composition layer is heated to obtain a hard and dense thin film having a fine pattern shape.
また、例えば、下記の特許文献2には、アルカリ可溶性シロキサンポリマーと、光により反応促進剤を発生する化合物と、溶剤とを含む感光性組成物が開示されている。上記アルカリ可溶性シロキサンポリマーは、アルコキシシランに水及び触媒を加えて加水分解縮合させた反応溶液から、水及び触媒を除去して得られたアルコキシシラン縮合物である。 Further, for example,
上記のようなアルコキシシラン縮合物を含む感光性組成物を用いて微細パターン形状の薄膜を形成する際には、先ず感光性組成物を基板上に塗布する。次に、基板上の感光性組成物層を乾燥し、マスクを介して部分的に露光する。露光部の感光性組成物層は硬化されて、現像液に溶解しない。その後、感光性組成物層をアルカリ溶液により現像し、未露光部の感光性組成物層を除去する。現像後に、残存している感光性組成物の硬化物を加熱することにより、硬質で緻密な微細パターン状の薄膜を得ることができる。
特許文献1に記載の感光性組成物を用いてパターン膜を形成した場合、パターン膜の耐熱性が十分ではないことがあった。特に、比較的低分子量のアクリルポリマーを用いた場合に、パターン膜の耐熱性が低くなりがちであった。また、比較的高分子量のアクリルポリマーを用いると、パターン膜の耐熱性をある程度高めることはできるものの、現像後にアクリルポリマーに起因する残渣が生じ易かった。よって、特許文献1の感光性組成物では、アクリルポリマーの種類によって現像後に残渣が生じたり、パターン膜の耐熱性が低下せざるを得なかった。 When the pattern film is formed using the photosensitive composition described in
特許文献2に記載の感光性組成物では、露光によりシロキサンポリマーを架橋させ、露光部の感光性組成物を硬化させてパターンを形成できる。しかし、該感光性組成物は、ポジ型ではなくネガ型の感光性組成物であった。 In the photosensitive composition of
近年、微細パターン形状の薄膜を形成するために、ネガ型ではなく、ポジ型の感光性組成物が開発されてきている。ポジ型の感光性組成物では、現像に際し、露光部の感光性組成物が現像液に確実に溶解し得ることが強く求められた。 In recent years, in order to form a thin film having a fine pattern shape, a positive type photosensitive composition has been developed instead of a negative type. In the case of a positive photosensitive composition, it has been strongly required that the photosensitive composition in the exposed area can be reliably dissolved in the developer during development.
本発明の目的は、現像性に優れている感光性組成物、並びに該感光性組成物を用いたパターン膜の製造方法を提供することにある。 An object of the present invention is to provide a photosensitive composition excellent in developability and a method for producing a pattern film using the photosensitive composition.
本発明の限定的な目的は、アクリルポリマーを含む感光性組成物であって、現像後にアクリルポリマー由来の残渣が生じ難く現像性に優れており、耐熱性に優れたパターン膜を形成できる感光性組成物、並びに該感光性組成物を用いたパターン膜の製造方法を提供することにある。 A limited object of the present invention is a photosensitive composition containing an acrylic polymer, which is difficult to produce a residue derived from an acrylic polymer after development, has excellent developability, and can form a pattern film having excellent heat resistance. It is in providing the composition and the manufacturing method of the pattern film | membrane using this photosensitive composition.
本発明の他の限定的な目的は、カルボキシル基及びメルカプト基の内の少なくとも一方を有するシロキサンポリマーを含む感光性組成物であって、露光及び現像により感光性組成物の硬化物からなるパターン膜を形成する際の現像性に優れており、さらに現像液として比較的低濃度のアルカリ溶液を使用できる感光性組成物、並びに該感光性組成物を用いたパターン膜の製造方法を提供することにある。 Another limited object of the present invention is a photosensitive composition comprising a siloxane polymer having at least one of a carboxyl group and a mercapto group, and a pattern film comprising a cured product of the photosensitive composition by exposure and development. The present invention provides a photosensitive composition that is excellent in developability when forming a film and that can use a relatively low concentration alkaline solution as a developer, and a method for producing a pattern film using the photosensitive composition. is there.
本発明によれば、シロキサンポリマーを少なくとも含むアルカリ可溶性ポリマー100重量部と、キノンジアジド化合物3〜100重量部とを含有し、前記シロキサンポリマーの重量平均分子量が500〜60000の範囲内にあることを特徴とする、感光性組成物が提供される。 According to the present invention, it contains 100 parts by weight of an alkali-soluble polymer containing at least a siloxane polymer and 3 to 100 parts by weight of a quinonediazide compound, and the weight average molecular weight of the siloxane polymer is in the range of 500 to 60000. A photosensitive composition is provided.
本発明に係る感光性組成物のある特定の局面では、前記シロキサンポリマーを少なくとも含むアルカリ可溶性ポリマーが、アクリルポリマー(A)及び前記シロキサンポリマーとしてのシリカポリマー(B)であり、前記キノンジアジド化合物が1,2−キノンジアジド化合物(C)であり、前記アクリルポリマー(A)100重量部に対する前記シリカポリマー(B)の含有割合が、該シリカポリマー(B)の重量平均分子量Mwに応じて図1の破線Aで囲まれている範囲内にある。 In a specific aspect of the photosensitive composition according to the present invention, the alkali-soluble polymer containing at least the siloxane polymer is an acrylic polymer (A) and a silica polymer (B) as the siloxane polymer, and the quinonediazide compound is 1 1, 2-quinonediazide compound (C), and the content ratio of the silica polymer (B) to 100 parts by weight of the acrylic polymer (A) depends on the weight average molecular weight Mw of the silica polymer (B). It is within the range surrounded by A.
本発明に係る感光性組成物の他の特定の局面では、前記アクリルポリマー(A)の重量平均分子量は30000以下である。 In another specific aspect of the photosensitive composition according to the present invention, the acrylic polymer (A) has a weight average molecular weight of 30000 or less.
本発明に係る感光性組成物のさらに他の特定の局面では、前記アクリルポリマー(A)がカルボン酸基又は無水カルボン酸基を有し、前記シリカポリマー(B)が、該アクリルポリマー(A)のカルボン酸基又は無水カルボン酸基と反応し得る官能基(b1)を有する。 In still another specific aspect of the photosensitive composition according to the present invention, the acrylic polymer (A) has a carboxylic acid group or a carboxylic anhydride group, and the silica polymer (B) is the acrylic polymer (A). And a functional group (b1) capable of reacting with the carboxylic acid group or the carboxylic acid anhydride group.
本発明に係る感光性組成物のさらに他の特定の局面では、前記官能基(b1)は環状エーテル基である。 In still another specific aspect of the photosensitive composition according to the present invention, the functional group (b1) is a cyclic ether group.
本発明に係る感光性組成物の別の特定の局面では、前記シロキサンポリマーを少なくとも含むアルカリ可溶性ポリマーは、カルボキシル基及びメルカプト基の内の少なくとも一方を有するシロキサンポリマーである。 In another specific aspect of the photosensitive composition according to the present invention, the alkali-soluble polymer containing at least the siloxane polymer is a siloxane polymer having at least one of a carboxyl group and a mercapto group.
本発明に係る感光性組成物のさらに別の特定の局面では、前記シロキサンポリマーは、ケイ素原子に炭素原子が直接結合されている有機基を有し、該有機基の0.1〜10%がカルボキシル基を有する。 In still another specific aspect of the photosensitive composition according to the present invention, the siloxane polymer has an organic group in which a carbon atom is directly bonded to a silicon atom, and 0.1 to 10% of the organic group Has a carboxyl group.
本発明に係る感光性組成物のさらに別の特定の局面では、前記シロキサンポリマーを少なくとも含むアルカリ可溶性ポリマーは、カルボキシル基を有するシロキサンポリマーである。 In still another specific aspect of the photosensitive composition according to the present invention, the alkali-soluble polymer containing at least the siloxane polymer is a siloxane polymer having a carboxyl group.
本発明に係る感光性組成物のさらに別の特定の局面では、前記シロキサンポリマーが、ケイ素原子に炭素原子が直接結合されている有機基を有し、該有機基の0.1〜50%がメルカプト基を有する。 In still another specific aspect of the photosensitive composition according to the present invention, the siloxane polymer has an organic group in which a carbon atom is directly bonded to a silicon atom, and 0.1 to 50% of the organic group Has a mercapto group.
本発明に係る感光性組成物のさらに別の特定の局面では、前記シロキサンポリマーを少なくとも含むアルカリ可溶性シロキサンポリマーが、カルボキシル基及び環状エーテル基を有するシロキサンポリマーであり、前記シロキサンポリマーの環状エーテル基の数のカルボキシル基の数に対する比(環状エーテル基の数/カルボキシル基の数)が0.1〜2の範囲内にある。 In still another specific aspect of the photosensitive composition according to the present invention, the alkali-soluble siloxane polymer containing at least the siloxane polymer is a siloxane polymer having a carboxyl group and a cyclic ether group, and the cyclic ether group of the siloxane polymer is The ratio of the number to the number of carboxyl groups (number of cyclic ether groups / number of carboxyl groups) is in the range of 0.1-2.
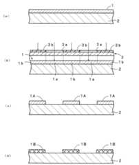
本発明に係るパターン膜の製造方法は、本発明に従って構成された感光性組成物を基板上に塗工し、前記基板上に感光性組成物層を形成する工程と、前記感光性組成物層が光の照射された露光部と光の照射されていない未露光部とを有するように前記感光性組成物層を部分的に露光することにより、前記露光部の前記感光性組成物層を現像液に可溶にする工程と、前記感光性組成物層を現像液で現像することにより、前記露光部の前記感光性組成物層を除去し、前記未露光部の前記感光性組成物からなるパターン膜を形成する工程とを備えることを特徴とする。 The method for producing a patterned film according to the present invention comprises a step of coating a photosensitive composition constituted according to the present invention on a substrate, forming a photosensitive composition layer on the substrate, and the photosensitive composition layer. The photosensitive composition layer of the exposed portion is developed by partially exposing the photosensitive composition layer so as to have an exposed portion irradiated with light and an unexposed portion not irradiated with light. A step of making the composition soluble in a solution, and developing the photosensitive composition layer with a developing solution, thereby removing the photosensitive composition layer in the exposed portion and comprising the photosensitive composition in the unexposed portion. And a step of forming a pattern film.
本発明に係るパターン膜の製造方法のある特定の局面では、現像工程の後に、前記未露光部の前記感光性組成物からなるパターン膜を加熱し、硬化させる工程がさらに備えられる。 On the specific situation with the manufacturing method of the pattern film which concerns on this invention, the process of heating and hardening the pattern film which consists of the said photosensitive composition of the said unexposed part is further equipped after a image development process.
本発明に係る感光性組成物は、シロキサンポリマーを少なくとも含むアルカリ可溶性ポリマーと、キノンジアジド化合物とを上記特定の量で含有し、かつシロキサンポリマーの重量平均分子量が500〜60000の範囲内にあるので、現像性に優れている。 The photosensitive composition according to the present invention contains an alkali-soluble polymer containing at least a siloxane polymer and a quinonediazide compound in the above specific amounts, and the weight average molecular weight of the siloxane polymer is in the range of 500 to 60,000. Excellent developability.
感光性組成物がアクリルポリマー(A)、シリカポリマー(B)及び1,2−キノンジアジド化合物(C)を含有し、アクリルポリマー(A)100重量部に対するシリカポリマー(B)の含有割合が、該シリカポリマー(B)の重量平均分子量Mwに応じて図1の破線Aで囲まれている範囲内にある場合には、本発明の感光性組成物を用いて露光及び現像後に焼成することにより、耐熱性に優れたパターン膜を得ることができる。さらに、比較的低分子量のアクリルポリマー(A)を用いたとしても、耐熱性の高いパターン膜を得ることができる。低分子量のアクリルポリマー(A)を用いることによって、アクリルポリマー(A)に起因する残渣が生じ難くなり、かつ耐熱性に優れたパターン膜を得ることができる。 The photosensitive composition contains an acrylic polymer (A), a silica polymer (B), and a 1,2-quinonediazide compound (C), and the content ratio of the silica polymer (B) to 100 parts by weight of the acrylic polymer (A) is When it is within the range surrounded by the broken line A in FIG. 1 according to the weight average molecular weight Mw of the silica polymer (B), by baking after exposure and development using the photosensitive composition of the present invention, A pattern film having excellent heat resistance can be obtained. Furthermore, even when a relatively low molecular weight acrylic polymer (A) is used, a pattern film having high heat resistance can be obtained. By using the low molecular weight acrylic polymer (A), a residue caused by the acrylic polymer (A) is hardly generated, and a pattern film having excellent heat resistance can be obtained.
感光性組成物が、カルボキシル基及びメルカプト基の内の少なくとも一方を有するシロキサンポリマーと、キノンジアジド化合物とを含有する場合には、感光性組成物を露光及び現像することにより、露光部の感光性組成物を除去できる。 When the photosensitive composition contains a siloxane polymer having at least one of a carboxyl group and a mercapto group, and a quinonediazide compound, the photosensitive composition is exposed and developed to obtain a photosensitive composition in an exposed area. Things can be removed.
カルボキシル基を有するシロキサンポリマーを用いた場合には、該カルボキシル基を有するシロキサンポリマーは、現像液に対する溶解性が高い。このため、現像に際し、露光部の感光性組成物をより一層容易に除去できる。従って現像後に残渣が生じ難い。また、現像に際し、現像液として比較的低濃度のアルカリ溶液を用いることができる。よって、作業環境の悪化を防止でき、かつ廃液による環境負荷を低減できる。 When a siloxane polymer having a carboxyl group is used, the siloxane polymer having a carboxyl group has high solubility in a developer. For this reason, the photosensitive composition in the exposed area can be more easily removed during development. Therefore, a residue is hardly generated after development. In developing, a relatively low concentration alkaline solution can be used as a developing solution. Therefore, it is possible to prevent the working environment from deteriorating and reduce the environmental load due to the waste liquid.
以下、本発明の詳細を説明する。 Details of the present invention will be described below.
本発明に係る感光性組成物は、シロキサンポリマーを少なくとも含むアルカリ可溶性ポリマーと、キノンジアジド化合物とを含有する。上記シロキサンポリマーの重量平均分子量は500〜60000の範囲内にある。上記アルカリ可溶性ポリマー100重量部に対して、上記キノンジアジド化合物は3〜100重量部の範囲内で含有される。 The photosensitive composition according to the present invention contains an alkali-soluble polymer containing at least a siloxane polymer and a quinonediazide compound. The siloxane polymer has a weight average molecular weight in the range of 500 to 60,000. The quinonediazide compound is contained within a range of 3 to 100 parts by weight with respect to 100 parts by weight of the alkali-soluble polymer.
上記シロキサンポリマーの重量平均分子量が上記の範囲内にあり、かつ上記アルカリ可溶性ポリマーとキノンジアジド化合物とを上記特定の量で用いることにより、感光性組成物の現像性を高めることができる。 The weight average molecular weight of the siloxane polymer is within the above range, and the developability of the photosensitive composition can be enhanced by using the alkali-soluble polymer and the quinonediazide compound in the specific amounts.
上記アルカリ可溶性ポリマーの重量平均分子量は、500〜60000の範囲内にある。重量平均分子量が500未満であると、感光性組成物が硬化しにくいことがある。重量平均分子量が60000を超えると、感光性組成物中にゲル状物が生じやすく、現像後に残渣が生じやすくなる。 The weight average molecular weight of the alkali-soluble polymer is in the range of 500 to 60000. If the weight average molecular weight is less than 500, the photosensitive composition may be difficult to cure. When the weight average molecular weight exceeds 60000, a gel-like material is likely to be generated in the photosensitive composition, and a residue is likely to be generated after development.
上記アルカリ可溶性ポリマー100重量部に対して、上記キノンジアジド化合物は3〜100重量部の範囲内で含有される。キノンジアジド化合物の量が3重量部未満であると、光が照射されていない感光性組成物が現像液に溶解しやすくなる。キノンジアジド化合物の量が100重量部を超えると、感光性組成物を均一に塗工することが困難になったり、現像後に残渣を生じたりすることがある。 The quinonediazide compound is contained within a range of 3 to 100 parts by weight with respect to 100 parts by weight of the alkali-soluble polymer. When the amount of the quinonediazide compound is less than 3 parts by weight, the photosensitive composition not irradiated with light is easily dissolved in the developer. When the amount of the quinonediazide compound exceeds 100 parts by weight, it may be difficult to uniformly coat the photosensitive composition or a residue may be generated after development.
[第1の感光性組成物(アクリルポリマーを含む感光性組成物)の詳細]
本発明に係る感光性組成物は、上記アルカリ可溶性ポリマーが、アクリルポリマー(A)及び上記シロキサンポリマーとしてのシリカポリマー(B)であり、上記キノンジアジド化合物が1,2−キノンジアジド化合物(C)であり、上記アクリルポリマー(A)100重量部に対する上記シリカポリマー(B)の含有割合が、該シリカポリマー(B)の重量平均分子量Mwに応じて図1の破線Aで囲まれている範囲内にあることが好ましい。本明細書では、この感光性組成物を第1の感光性組成物と記載する。[Details of first photosensitive composition (photosensitive composition containing acrylic polymer)]
In the photosensitive composition according to the present invention, the alkali-soluble polymer is an acrylic polymer (A) and a silica polymer (B) as the siloxane polymer, and the quinonediazide compound is a 1,2-quinonediazide compound (C). The content ratio of the silica polymer (B) with respect to 100 parts by weight of the acrylic polymer (A) is within the range surrounded by the broken line A in FIG. 1 according to the weight average molecular weight Mw of the silica polymer (B). It is preferable. In the present specification, this photosensitive composition is referred to as a first photosensitive composition.
第1の感光性組成物は、アクリルポリマー(A)と、シリカポリマー(B)と、1,2−キノンジアジド化合物(C)とを含有する。第1の感光性組成物では、アクリルポリマー(A)100重量部に対するシリカポリマー(B)の含有割合は、シリカポリマー(B)の重量平均分子量Mwに応じて図1の破線Aで囲まれている範囲内にある。 The first photosensitive composition contains an acrylic polymer (A), a silica polymer (B), and a 1,2-quinonediazide compound (C). In the first photosensitive composition, the content ratio of the silica polymer (B) with respect to 100 parts by weight of the acrylic polymer (A) is surrounded by a broken line A in FIG. 1 according to the weight average molecular weight Mw of the silica polymer (B). It is within the range.
(アクリルポリマー(A))
第1の感光性組成物に含まれるアクリルポリマー(A)は、アルカリ可溶性のポリマーである。(Acrylic polymer (A))
The acrylic polymer (A) contained in the first photosensitive composition is an alkali-soluble polymer.
上記アクリルポリマー(A)は、アクリル系モノマーを含むモノマー成分を溶剤とともに反応器に投入し、重合することにより得られる。 The acrylic polymer (A) can be obtained by introducing a monomer component containing an acrylic monomer into a reactor together with a solvent and polymerizing it.
アクリルポリマー(A)を得る際に用いられるアクリル系モノマーは特に限定されない。該アクリル系モノマーとして、(メタ)アクリル酸又は(メタ)アクリル酸エステル等が挙げられる。アクリル系モノマーは、1種のみが用いられてもよく、2種以上が併用されてもよい。 The acrylic monomer used when obtaining the acrylic polymer (A) is not particularly limited. Examples of the acrylic monomer include (meth) acrylic acid or (meth) acrylic acid ester. As for an acrylic monomer, only 1 type may be used and 2 or more types may be used together.
上記(メタ)アクリル酸エステルとして、(メタ)アクリル酸メチル、(メタ)アクリル酸エチル、(メタ)アクリル酸n−プロピル、(メタ)アクリル酸イソプロピル、(メタ)アクリル酸n−ブチル、(メタ)アクリル酸イソブチル、(メタ)アクリル酸sec−ブチル、(メタ)アクリル酸tert−ブチル、(メタ)アクリル酸n−ヘキシル、(メタ)アクリル酸シクロヘキシル、(メタ)アクリル酸n−オクチル、(メタ)アクリル酸イソオクチル、(メタ)アクリル酸2−エチルヘキシル、(メタ)アクリル酸デシル、(メタ)アクリル酸ラウリル、(メタ)アクリル酸イソボロニル、(メタ)アクリル酸ベンジル、(メタ)アクリル酸フェニル、(メタ)アクリル酸ステアリル又は(メタ)アクリル酸ジメチルアミノエチル等が挙げられる。 Examples of the (meth) acrylic acid ester include methyl (meth) acrylate, ethyl (meth) acrylate, n-propyl (meth) acrylate, isopropyl (meth) acrylate, n-butyl (meth) acrylate, (meth ) Isobutyl acrylate, sec-butyl (meth) acrylate, tert-butyl (meth) acrylate, n-hexyl (meth) acrylate, cyclohexyl (meth) acrylate, n-octyl (meth) acrylate, (meth ) Isooctyl acrylate, 2-ethylhexyl (meth) acrylate, decyl (meth) acrylate, lauryl (meth) acrylate, isobornyl (meth) acrylate, benzyl (meth) acrylate, phenyl (meth) acrylate, ( Stearyl (meth) acrylate or dimethylaminoethyl (meth) acrylate, etc. And the like.
また、上記アクリルポリマー(A)を得る際には、上記アクリル系モノマーと共に、上記アクリル系モノマーと共重合可能な共重合性モノマーを用いてもよい。上記共重合性モノマーは、アクリル系モノマーと共重合可能な任意のモノマーを用いることができ、特に限定されない。 Moreover, when obtaining the said acrylic polymer (A), you may use the copolymerizable monomer copolymerizable with the said acrylic monomer with the said acrylic monomer. The copolymerizable monomer may be any monomer copolymerizable with an acrylic monomer, and is not particularly limited.
上記共重合性モノマーとして、例えば、スチレン類、ジエン類、(メタ)アクリル酸アミド、ビニル化合物、不飽和ジカルボン酸ジエステル又はグリシジル化合物等が挙げられる。 Examples of the copolymerizable monomer include styrenes, dienes, (meth) acrylic acid amides, vinyl compounds, unsaturated dicarboxylic acid diesters, and glycidyl compounds.
上記スチレン類として、スチレン、α−メチルスチレン、o−メチルスチレン、m−メチルスチレン、p−メチルスチレン、p−メトキシスチレン、p−tertブトキシスチレン又はクロロメチルスチレン等が挙げられる。上記ジエン類として、ブタジエン、2,3−ジメチルブタジエン又はイソプレン等が挙げられる。上記(メタ)アクリル酸アミドとして、(メタ)アクリル酸−アミド、−N,N−ジメチルアミド又は−N,N−プロピルアミド等が挙げられる。上記ビニル化合物として、(メタ)アクリル酸−アニリド、(メタ)アクリロニトリル、アクロレイン、塩化ビニル、塩化ビニリデン、N−ビニルピロリドン又は酢酸ビニル等が挙げられる。上記不飽和ジカルボン酸ジエステルとして、マレイン酸ジエチル、フマル酸ジエチル又はイタコン酸ジエチル等が挙げられる。上記グリシジル化合物として、グリシジル(メタ)アクリレート、α−エチルグリシジル(メタ)アクリレート、α−n−プロピルグリシジル(メタ)アクリレート、α−n−ブチルグリシジル(メタ)アクリレート、3,4−エポキシブチル(メタ)アクリレート、3,4−エポキシヘプチル(メタ)アクリレート、α−エチル−6,7−エポキシヘプチル(メタ)アクリレート、アリルグリシジルエーテル、ビニルグリシジルエーテル、o−ビニルベンジルグリシジルエーテル、m−ビニルベンジルグリシジルエーテル、p−ビニルベンジルグリシジルエーテル、α−メチル−o−ビニルベンジルグリシジルエーテル、α−メチル−m−ビニルベンジルグリシジルエーテル、α−メチル−p−ビニルベンジルグリシジルエーテル、2,3−ジグリシジルオキシメチルスチレン、2,4−ジグリシジルオキシメチルスチレン、2,5−ジグリシジルオキシメチルスチレン、2,6−ジグリシジルオキシメチルスチレン、2,3,4−トリグリシジルオキシメチルスチレン、2,3,5−トリグリシジルオキシメチルスチレン、2,3,6ートリグリシジルオキシメチルスチレン、3,4,5−トリグリシジルオキシメチルスチレン、又は2,4,6−トリグリシジルオキシメチルスチレン等が挙げられる。 Examples of the styrenes include styrene, α-methylstyrene, o-methylstyrene, m-methylstyrene, p-methylstyrene, p-methoxystyrene, p-tertbutoxystyrene, chloromethylstyrene, and the like. Examples of the dienes include butadiene, 2,3-dimethylbutadiene, and isoprene. Examples of the (meth) acrylic amide include (meth) acrylic acid-amide, -N, N-dimethylamide or -N, N-propylamide. Examples of the vinyl compound include (meth) acrylic acid-anilide, (meth) acrylonitrile, acrolein, vinyl chloride, vinylidene chloride, N-vinylpyrrolidone, and vinyl acetate. Examples of the unsaturated dicarboxylic acid diester include diethyl maleate, diethyl fumarate and diethyl itaconate. Examples of the glycidyl compound include glycidyl (meth) acrylate, α-ethylglycidyl (meth) acrylate, α-n-propyl glycidyl (meth) acrylate, α-n-butylglycidyl (meth) acrylate, 3,4-epoxybutyl (meth) ) Acrylate, 3,4-epoxyheptyl (meth) acrylate, α-ethyl-6,7-epoxyheptyl (meth) acrylate, allyl glycidyl ether, vinyl glycidyl ether, o-vinyl benzyl glycidyl ether, m-vinyl benzyl glycidyl ether P-vinylbenzyl glycidyl ether, α-methyl-o-vinylbenzyl glycidyl ether, α-methyl-m-vinylbenzyl glycidyl ether, α-methyl-p-vinylbenzyl glycidyl ether, 2,3-di Lysidyloxymethylstyrene, 2,4-diglycidyloxymethylstyrene, 2,5-diglycidyloxymethylstyrene, 2,6-diglycidyloxymethylstyrene, 2,3,4-triglycidyloxymethylstyrene, 2, 3,5-triglycidyloxymethylstyrene, 2,3,6-triglycidyloxymethylstyrene, 3,4,5-triglycidyloxymethylstyrene, 2,4,6-triglycidyloxymethylstyrene, etc. .
上記アクリルポリマー(A)の重量平均分子量の好ましい上限は、30000であり、より好ましい上限は20000である。重量平均分子量が大きすぎると、現像後に残渣を生じ易くなる。上記アクリルポリマー(A)の重量平均分子量の好ましい下限は、3000であり、より好ましい下限は5000である。アクリルポリマー(A)の重量平均分子量が小さすぎると、パターン膜の耐熱性が低下することがある。なお、アクリルポリマー(A)及びシリカポリマー(B)の重量平均分子量は、いずれも、ポリスチレン換算による重量平均分子量である。 The upper limit with a preferable weight average molecular weight of the said acrylic polymer (A) is 30000, and a more preferable upper limit is 20000. If the weight average molecular weight is too large, a residue is likely to occur after development. The minimum with a preferable weight average molecular weight of the said acrylic polymer (A) is 3000, and a more preferable minimum is 5000. If the weight average molecular weight of the acrylic polymer (A) is too small, the heat resistance of the pattern film may be lowered. In addition, all the weight average molecular weights of an acrylic polymer (A) and a silica polymer (B) are the weight average molecular weights by polystyrene conversion.
(シリカポリマー(B))
第1の感光性組成物に含まれるシリカポリマー(B)は、アルカリ可溶性のポリマーである。(Silica polymer (B))
The silica polymer (B) contained in the first photosensitive composition is an alkali-soluble polymer.
上記アクリルポリマー(A)100重量部に対するシリカポリマー(B)の含有割合は、該シリカポリマー(B)の重量平均分子量Mwに応じて図1の破線Aで囲まれている範囲内にある。 The content ratio of the silica polymer (B) with respect to 100 parts by weight of the acrylic polymer (A) is within the range surrounded by the broken line A in FIG. 1 according to the weight average molecular weight Mw of the silica polymer (B).
上記アクリルポリマー(A)に加えて、上記シリカポリマー(B)を該シリカポリマー(B)の重量平均分子量Mwに応じて図1の破線Aで示す範囲内で用いることによって、パターン膜の耐熱性を十分に高めることができる。また、比較的低分子量、例えば重量平均分子量30000以下のアクリルポリマー(A)を用いることによって、現像後に残渣を生じ難くなり、かつ耐熱性に優れたパターン膜を得ることができる。 In addition to the acrylic polymer (A), the silica polymer (B) is used within the range indicated by the broken line A in FIG. 1 according to the weight average molecular weight Mw of the silica polymer (B), whereby the heat resistance of the pattern film Can be increased sufficiently. Further, by using an acrylic polymer (A) having a relatively low molecular weight, for example, a weight average molecular weight of 30000 or less, it is difficult to produce a residue after development, and a patterned film having excellent heat resistance can be obtained.
従来、耐熱性が高いパターン膜を形成するためには、比較的高分子量、例えば重量平均分子量50000程度のアクリルポリマーが用いられていた。しかしながら、高分子量のアクリルポリマーを用いた場合であっても、パターン膜の耐熱性が十分でないことがあった。さらに、高分量のアクリルポリマーを用いた場合には、アクリルポリマーに起因する残渣が生じ易かった。比較的低分子量のアクリルポリマーを用いた場合、残渣は生じ難くなるものの、パターン膜の耐熱性が低下せざるを得なかった。上記アクリルポリマー(A)に加えて、上記シリカポリマー(B)を該シリカポリマー(B)の重量平均分子量Mwに応じて図1の破線Aで示す範囲内で用いることによって、耐熱性に極めて優れたパターン膜を得ることができることを後述の実験により見出した。さらに、比較的低分子量、例えば重量平均分子量30000以下のアクリルポリマー(A)と上記特定のシリカポリマー(B)とを上記特定の割合で用いることによって、残渣が生じ難くなり、かつ耐熱性に優れたパターン膜を得ることができることも見出した。比較的低分子量のアクリルポリマー(A)を用いたとしても、パターン膜の耐熱性を十分に高めることができる。 Conventionally, an acrylic polymer having a relatively high molecular weight, for example, a weight average molecular weight of about 50000 has been used to form a patterned film having high heat resistance. However, even when a high molecular weight acrylic polymer is used, the heat resistance of the pattern film may not be sufficient. Furthermore, when a high amount of acrylic polymer was used, residues resulting from the acrylic polymer were likely to occur. When a relatively low molecular weight acrylic polymer is used, a residue is hardly generated, but the heat resistance of the pattern film has to be lowered. In addition to the acrylic polymer (A), the silica polymer (B) is extremely excellent in heat resistance by being used within the range indicated by the broken line A in FIG. 1 according to the weight average molecular weight Mw of the silica polymer (B). It was found by an experiment described later that a patterned film can be obtained. Furthermore, by using the acrylic polymer (A) having a relatively low molecular weight, for example, a weight average molecular weight of 30000 or less and the specific silica polymer (B) in the specific ratio, a residue is hardly generated and excellent in heat resistance. It has also been found that a patterned film can be obtained. Even if the acrylic polymer (A) having a relatively low molecular weight is used, the heat resistance of the pattern film can be sufficiently increased.
上記シリカポリマー(B)の重量平均分子量は、600〜20000の範囲内にあることが好ましい。重量平均分子量が600よりも小さいと、パターン膜の耐熱性が十分でなくなる。重量平均分子量が20000よりも大きいと、シリカポリマー(B)とアクリルポリマー(A)との相溶性が悪くなる。シリカポリマー(B)の重量平均分子量は、700〜10000の範囲内にあることがより好ましい。 It is preferable that the weight average molecular weight of the said silica polymer (B) exists in the range of 600-20000. If the weight average molecular weight is less than 600, the heat resistance of the pattern film is not sufficient. When the weight average molecular weight is larger than 20000, the compatibility between the silica polymer (B) and the acrylic polymer (A) is deteriorated. The weight average molecular weight of the silica polymer (B) is more preferably in the range of 700 to 10,000.
上記アクリルポリマー(A)100重量部に対するシリカポリマー(B)の含有割合は、該シリカポリマー(B)の重量平均分子量Mwに応じて図1の破線Aで示す範囲内にあることが好ましい。シリカポリマー(B)の量が少なすぎると、パターン膜の耐熱性が充分に高められないことがある。シリカポリマー(B)の量が多すぎると、シリカポリマー(B)の他の成分との相溶性が低くなり、現像後に残渣を生じ易くなる。 The content ratio of the silica polymer (B) with respect to 100 parts by weight of the acrylic polymer (A) is preferably within the range indicated by the broken line A in FIG. 1 according to the weight average molecular weight Mw of the silica polymer (B). If the amount of the silica polymer (B) is too small, the heat resistance of the pattern film may not be sufficiently improved. When there is too much quantity of a silica polymer (B), compatibility with the other component of a silica polymer (B) will become low, and it will become easy to produce a residue after image development.
アクリルポリマー(A)がカルボン酸基又は無水カルボン酸基を有し、上記シリカポリマー(B)が、該アクリルポリマー(A)のカルボン酸基又は無水カルボン酸基と反応し得る官能基(b1)を有することが好ましい。シリカポリマー(B)が該官能基(b1)を有することにより、パターン膜の耐熱性をより一層高めることができ、かつ感光性組成物の貯蔵安定性を高めることができる。 The acrylic polymer (A) has a carboxylic acid group or a carboxylic anhydride group, and the silica polymer (B) can react with the carboxylic acid group or the carboxylic anhydride group of the acrylic polymer (A) (b1). It is preferable to have. When the silica polymer (B) has the functional group (b1), the heat resistance of the pattern film can be further improved, and the storage stability of the photosensitive composition can be improved.
上記官能基(b1)は特に限定されない。上記官能基(b1)として、例えば環状エーテル基、アルコール性水酸基又はフェノール性水酸基等が挙げられる。なかでも、パターン膜の電気絶縁性をより一層高めることができるので、上記官能基(b1)は、環状エーテル基であることが好ましい。 The functional group (b1) is not particularly limited. Examples of the functional group (b1) include a cyclic ether group, an alcoholic hydroxyl group, and a phenolic hydroxyl group. Especially, since the electrical insulation of a pattern film | membrane can be improved further, it is preferable that the said functional group (b1) is a cyclic ether group.
上記シリカポリマー(B)は特に限定されない。上記シリカポリマーとして、アルコキシシランを含む成分を加水分解縮合して得られたシリカポリマーが好適に用いられる。 The silica polymer (B) is not particularly limited. As the silica polymer, a silica polymer obtained by hydrolytic condensation of a component containing alkoxysilane is preferably used.
上記アルコキシシランは、様々なアルコキシシランを用いることができ特に限定されない。パターン膜の耐熱性を高めることができるので、上記アルコキシシランは、下記式(1)で表されるアルコキシシランであることが好ましい。 The alkoxysilane is not particularly limited, and various alkoxysilanes can be used. Since the heat resistance of the pattern film can be increased, the alkoxysilane is preferably an alkoxysilane represented by the following formula (1).
Si(X1)p(X2)q(X3)4−p−q・・・式(1)
上述した式(1)中、X1は水素又は炭素数が1〜30である非加水分解性の有機基を表し、X2はアルコキシ基を表し、X3はアルコキシ基以外の加水分解性基を表し、pは0〜3の整数を表し、qは1〜4の整数を表し、p+q≦4である。pが2又は3であるとき、複数のX1は同一であってもよく異なっていてもよい。qが2〜4であるとき、複数のX2は同一であってもよく異なっていてもよい。p+q≦2であるとき、複数のX3は同一であってもよく異なっていてもよい。Si (X1)p (X2)q (X3)4-pq Formula (1)
In the above formula (1), X1 represents hydrogen or a non-hydrolyzable organic group having 1 to 30 carbon atoms, X2 represents an alkoxy group, X3 represents a hydrolyzable group other than an alkoxy group, p represents an integer of 0 to 3, q represents an integer of 1 to 4, and p + q ≦ 4. When p is 2 or 3, the plurality of X1s may be the same or different. When q is 2-4, several X2 may be the same and may differ. When p + q ≦ 2, the plurality of X3 may be the same or different.
上記アルコキシ基X2及びアルコキシ基以外の加水分解性基X3は、通常、過剰の水の共存下で、かつ無触媒で、室温(25℃)〜100℃に加熱されると、加水分解されてシラノール基を生成できる基、又はさらに縮合してシロキサン結合を形成できる基である。 The alkoxy group X2 and the hydrolyzable group X3 other than the alkoxy group are usually hydrolyzed and silanol when heated to room temperature (25 ° C.) to 100 ° C. in the presence of excess water and without catalyst. A group capable of generating a group or a group capable of further condensation to form a siloxane bond.
上記アルコキシ基X2は特に限定されない。上記アルコキシ基X2の具体例として、炭素数1〜6のアルコキシ基等が挙げられる。該炭素数1〜6のアルコキシ基として、メトキシ基、エトキシ基又はプロポキシ基等が挙げられる。 The alkoxy group X2 is not particularly limited. Specific examples of the alkoxy group X2 include an alkoxy group having 1 to 6 carbon atoms. Examples of the alkoxy group having 1 to 6 carbon atoms include a methoxy group, an ethoxy group, and a propoxy group.
上記アルコキシ基以外の加水分解性基X3は特に限定されない。上記アルコキシ基以外の加水分解性基X3として、具体的には、塩素もしくは臭素等のハロゲン基、アミノ基、ヒドロキシル基又はカルボキシル基等が挙げられる。 The hydrolyzable group X3 other than the alkoxy group is not particularly limited. Specific examples of the hydrolyzable group X3 other than the alkoxy group include a halogen group such as chlorine or bromine, an amino group, a hydroxyl group, or a carboxyl group.
上記非加水分解性の有機基X1は特に限定されない。上記非加水分解性の有機基X1として、加水分解され難く、安定な疎水基である炭素数1〜30の有機基が挙げられる。 The non-hydrolyzable organic group X1 is not particularly limited. Examples of the non-hydrolyzable organic group X1 include organic groups having 1 to 30 carbon atoms that are hardly hydrolyzed and are stable hydrophobic groups.
上記炭素数1〜30の有機基として、炭素数1〜30のアルキル基、ハロゲン化アルキル基、芳香族置換アルキル基、アリール基、ビニル基を含む基、エポキシ基を含む有機基、アミノ基を含む有機基、又はチオール基を含む有機基等が挙げられる。 Examples of the organic group having 1 to 30 carbon atoms include an alkyl group having 1 to 30 carbon atoms, a halogenated alkyl group, an aromatic substituted alkyl group, an aryl group, a group containing a vinyl group, an organic group containing an epoxy group, and an amino group. And an organic group containing a thiol group.
上記炭素素1〜30のアルキル基として、メチル基、エチル基、プロピル基、ブチル基、ヘキシル基、シクロヘキシル基、オクチル基、ペンチル基、デシル基、ドデシル基、テトラデシル基、ヘキサデシル基、オクタデシル基又はエイコシル基等が挙げられる。上記ハロゲン化アルキル基として、アルキル基のフッ素化物基、アルキル基の塩素化物基又はアルキル基の臭素化物基等が挙げられる。上記ハロゲン化アルキル基として、例えば、3−クロロプロピル基、6−クロロプロピル基、6−クロロヘキシル基又は6,6,6−トリフルオロヘキシル基等が挙げられる。上記芳香族置換アルキル基として、例えば、ベンジル基又はハロゲン置換ベンジル基等が挙げられる。上記ハロゲン置換ベンジル基として、4−クロロベンジル基又は4−ブロモベンジル基等が挙げられる。上記アリール基として、例えば、フェニル基、トリル基、メシチル基又はナフチル基等が挙げられる。 As the alkyl group of carbon atoms 1-30, methyl group, ethyl group, propyl group, butyl group, hexyl group, cyclohexyl group, octyl group, pentyl group, decyl group, dodecyl group, tetradecyl group, hexadecyl group, octadecyl group or Examples include an eicosyl group. Examples of the halogenated alkyl group include a fluorinated group of an alkyl group, a chlorinated group of an alkyl group, or a bromide group of an alkyl group. Examples of the halogenated alkyl group include 3-chloropropyl group, 6-chloropropyl group, 6-chlorohexyl group, 6,6,6-trifluorohexyl group, and the like. Examples of the aromatic substituted alkyl group include a benzyl group or a halogen-substituted benzyl group. Examples of the halogen-substituted benzyl group include 4-chlorobenzyl group and 4-bromobenzyl group. Examples of the aryl group include a phenyl group, a tolyl group, a mesityl group, and a naphthyl group.
上記式(1)で表されるアルコキシシランの具体例として、例えば、トリフェニルエトキシシラン、トリメチルエトキシシラン、トリエチルエトキシシラン、トリフェニルメトキシシラン、トリエチルメトキシシラン、エチルジメチルメトキシシラン、メチルジエチルメトキシシラン、エチルジメチルエトキシシラン、メチルジエチルエトキシシラン、フェニルジメチルメトキシシラン、フェニルジエチルメトキシシラン、フェニルジメチルエトキシシラン、フェニルジエチルエトキシシラン、メチルジフェニルメトキシシラン、エチルジフェニルメトキシシラン、メチルジフェニルエトキシシラン、エチルジフェニルエトキシシラン、tert−ブトキシトリメチルシラン、ブトキシトリメチルシラン、ジメチルエトキシシラン、メトキシジメチルビニルシラン、エトキシジメチルビニルシラン、ジフェニルジエトキシラン、フェニルジエトキシシラン、ジメチルジメトキシシラン、ジアセトキシメチルシラン、ジエトキシメチルシラン、3−クロロポロピルジメトキシメチルシラン、クロロメチルジエトキシメチルシラン、ジエトキシジメチルシラン、ジアセトキシメチルビニルシラン、ジエトキシメチルビニルシラン、ジエトキシジエチルシラン、ジメチルジプロポキシシラン、ジメトキシメチルフェニルシラン、メチルトリメトキシシラン、メチルトリエトキシシラン、メチル−トリ−n−プロポキシシラン、エチルトリメトキシシラン、エチルトリエトキシシラン、エチル−トリ−n−プロポキシシラン、プロピルトリメトキシシラン、プロピルトリエトキシシラン、プロピル−トリ−n−プロポキシシラン、ブチルトリメトキシシラン、ブチルトリエトキシシラン、ブチルトリプロポキシシラン、イソブチルトリメトキシシラン、イソブチルトリエトキシシラン、イソブチルトリプロポキシシラン、n−ヘキシルトリメトキシシラン、n−ヘキシルトリエトキシシラン、n−ヘキシルトリプロポキシシラン、シクロヘキシルトリメトキシシラン、シクロヘキシルトリエトキシシラン、シクロヘキシルトリプロポキシシラン、オクチルトリメトキシシラン、オクチルトリエトキシシラン、オクチルトリプロポキシシラン、ドデシルトリメトキシシラン、ドデシルトリエトキシシラン、ドデシルトリプロポキシシラン、テトラデシルトリメトキシシラン、テトラデシルトリエトキシシラン、テトラデシルトリプロポキシシラン、ヘキサデシルトリメトキシシラン、ヘキサデシルトリエトキシシラン、ヘキサデシルトリプロポキシシラン、オクタデシルトリメトキシシラン、オクタデシルトリエトキシシラン、オクタデシルトリプロポキシシラン、エイコシルデシルトリメトキシシラン、エイコシルトリエトキシシラン、エイコシルトリプロポキシシラン、6−クロロヘキシルトリメトキシシラン、6,6,6−トリフルオロヘキシルトリメトキシシラン、ベンジルトリメトキシシラン、4−クロロベンジルトリメトキシシラン、4−ブロモベンジルトリ−n−プロポキシシラン、フェニルトリメトキシシラン、フェニルトリエトキシシラン、ビニルトリメトキシシラン、ビニルトリエトキシシラン、β−(3,4−エポキシシクロヘキシル)エチルトリメトキシシラン、γ−グリシドキシプロピルトリメトキシシラン、γ−メタクリロキシプロピルトリエトキシシラン、N−β(アミノエチル)γ−アミノプロピルトリメトキシシラン、N−β(アミノエチル)γ−アミノプロピルトリエトキシシラン、γ−アミノプロピルトリメトキシシラン、γ−アミノプロピルトリエトキシシラン、メチルトリアセトキシシラン、エチルトリアセトキシシラン、N−β−フェニル−γ−アミノプロピルトリメトキシシラン、γ−クロロプロピルトリメトキシシラン、γ−メルカプトプロピルトリメトキシシラン、トリエトキシシラン、トリメトキシシラン、トリイソプロポキシシラン、トリ−n−プロポキシシラン、トリアセトキシシラン、テトラメトキシシラン、テトラエトキシシラン、テトラ−n−プロポキシシラン、テトライソプロポキシシラン又はテトラアセトキシシラン等が挙げられる。シリカポリマー(B)を得る際に、アルコキシシランは単独で用いられてもよく、2種以上が併用されてもよい。 Specific examples of the alkoxysilane represented by the above formula (1) include, for example, triphenylethoxysilane, trimethylethoxysilane, triethylethoxysilane, triphenylmethoxysilane, triethylmethoxysilane, ethyldimethylmethoxysilane, methyldiethylmethoxysilane, Ethyldimethylethoxysilane, methyldiethylethoxysilane, phenyldimethylmethoxysilane, phenyldiethylmethoxysilane, phenyldimethylethoxysilane, phenyldiethylethoxysilane, methyldiphenylmethoxysilane, ethyldiphenylmethoxysilane, methyldiphenylethoxysilane, ethyldiphenylethoxysilane, tert-Butoxytrimethylsilane, Butoxytrimethylsilane, Dimethylethoxysilane, Methoxy Methyl vinyl silane, ethoxy dimethyl vinyl silane, diphenyl diethoxy silane, phenyl diethoxy silane, dimethyl dimethoxy silane, diacetoxy methyl silane, diethoxy methyl silane, 3-chloropropyl dimethoxy methyl silane, chloromethyl diethoxy methyl silane, diethoxy dimethyl Silane, diacetoxymethylvinylsilane, diethoxymethylvinylsilane, diethoxydiethylsilane, dimethyldipropoxysilane, dimethoxymethylphenylsilane, methyltrimethoxysilane, methyltriethoxysilane, methyl-tri-n-propoxysilane, ethyltrimethoxysilane Ethyltriethoxysilane, ethyl-tri-n-propoxysilane, propyltrimethoxysilane, propyltriethoxysilane, Pill-tri-n-propoxysilane, butyltrimethoxysilane, butyltriethoxysilane, butyltripropoxysilane, isobutyltrimethoxysilane, isobutyltriethoxysilane, isobutyltripropoxysilane, n-hexyltrimethoxysilane, n-hexyltri Ethoxysilane, n-hexyltripropoxysilane, cyclohexyltrimethoxysilane, cyclohexyltriethoxysilane, cyclohexyltripropoxysilane, octyltrimethoxysilane, octyltriethoxysilane, octyltripropoxysilane, dodecyltrimethoxysilane, dodecyltriethoxysilane, Dodecyltripropoxysilane, tetradecyltrimethoxysilane, tetradecyltriethoxysilane, tetradecyltripropoxy Xoxysilane, hexadecyltrimethoxysilane, hexadecyltriethoxysilane, hexadecyltripropoxysilane, octadecyltrimethoxysilane, octadecyltriethoxysilane, octadecyltripropoxysilane, eicosyldecyltrimethoxysilane, eicosyltriethoxysilane, eicosyl Tripropoxysilane, 6-chlorohexyltrimethoxysilane, 6,6,6-trifluorohexyltrimethoxysilane, benzyltrimethoxysilane, 4-chlorobenzyltrimethoxysilane, 4-bromobenzyltri-n-propoxysilane, phenyl Trimethoxysilane, phenyltriethoxysilane, vinyltrimethoxysilane, vinyltriethoxysilane, β- (3,4-epoxycyclohexyl) ethyltrime Xysilane, γ-glycidoxypropyltrimethoxysilane, γ-methacryloxypropyltriethoxysilane, N-β (aminoethyl) γ-aminopropyltrimethoxysilane, N-β (aminoethyl) γ-aminopropyltriethoxysilane , Γ-aminopropyltrimethoxysilane, γ-aminopropyltriethoxysilane, methyltriacetoxysilane, ethyltriacetoxysilane, N-β-phenyl-γ-aminopropyltrimethoxysilane, γ-chloropropyltrimethoxysilane, γ -Mercaptopropyltrimethoxysilane, triethoxysilane, trimethoxysilane, triisopropoxysilane, tri-n-propoxysilane, triacetoxysilane, tetramethoxysilane, tetraethoxysilane, tetra-n-propoxy Examples include orchid, tetraisopropoxysilane, and tetraacetoxysilane. In obtaining the silica polymer (B), the alkoxysilane may be used alone or in combination of two or more.
シリカポリマー(B)を得る際に、環状エーテル基を有するアルコキシシランを用いてもよい。この場合には、シリカポリマー(B)に、環状エーテル基を導入できる。 In obtaining the silica polymer (B), an alkoxysilane having a cyclic ether group may be used. In this case, a cyclic ether group can be introduced into the silica polymer (B).
上記環状エーテル基を有するアルコキシシランは特に限定されない。上記環状エーテル基を有するアルコキシシランとして、例えば、2−(3,4−エポキシシクロヘキシル)エチルトリメトキシシラン、3−グリシドキシプロピルトリメトキシシラン、3−グリシドキシプロピルメチルジエトキシシラン、3−グリシドキシプロピルトリエトキシシラン、トリエトキシシリルプロポキシオキセタン又はトリメトキシシリルプロポキシオキセタン等が挙げられる。 The alkoxysilane having the cyclic ether group is not particularly limited. Examples of the alkoxysilane having the cyclic ether group include 2- (3,4-epoxycyclohexyl) ethyltrimethoxysilane, 3-glycidoxypropyltrimethoxysilane, 3-glycidoxypropylmethyldiethoxysilane, 3- Examples thereof include glycidoxypropyltriethoxysilane, triethoxysilylpropoxyoxetane, and trimethoxysilylpropoxyoxetane.
上記シリカポリマー(B)を得る際に、環状エーテル基を有しないアルコキシシランと、環状エーテル基を有するアルコキシシランとを含む成分を加水分解縮合してもよい。 In obtaining the silica polymer (B), a component containing an alkoxysilane having no cyclic ether group and an alkoxysilane having a cyclic ether group may be hydrolytically condensed.
(1,2−キノンジアジド化合物(C))
第1の感光性組成物は、1,2−キノンジアジド化合物(C)を含む。1,2−キノンジアジド化合物(C)は光が照射されるとカルボン酸を生成する。第1の感光性組成物は、1,2−キノンジアジド化合物(C)を含むので、ポジ型の感光性組成物である。1,2−キノンジアジド化合物(C)は、単独で用いられてもよく、2種以上が併用されてもよい。(1,2-quinonediazide compound (C))
The first photosensitive composition contains a 1,2-quinonediazide compound (C). The 1,2-quinonediazide compound (C) generates carboxylic acid when irradiated with light. Since the first photosensitive composition contains the 1,2-quinonediazide compound (C), it is a positive photosensitive composition. 1,2-quinonediazide compound (C) may be used independently and 2 or more types may be used together.
上記アクリルポリマー(A)100重量部に対して、上記1,2−キノンジアジド化合物(C)は5〜50重量部の範囲内で含有されることが好ましい。1,2−キノンジアジド化合物(C)の量が5重量部未満であると、露光部と未露光部との溶解度差が小さくなり、パターン膜を得ることが困難なことがある。1,2−キノンジアジド化合物(C)の量が50重量部を超えると、光の照射によって1,2−キノンジアジド化合物(C)を分解させるのに長時間を要し、感度が低下することがある。 The 1,2-quinonediazide compound (C) is preferably contained within a range of 5 to 50 parts by weight with respect to 100 parts by weight of the acrylic polymer (A). When the amount of the 1,2-quinonediazide compound (C) is less than 5 parts by weight, the difference in solubility between the exposed part and the unexposed part becomes small, and it may be difficult to obtain a pattern film. When the amount of the 1,2-quinonediazide compound (C) exceeds 50 parts by weight, it takes a long time to decompose the 1,2-quinonediazide compound (C) by light irradiation, and the sensitivity may be lowered. .
上記1,2−キノンジアジド化合物(C)として、例えば、1,2−ベンゾキノンジアジド−4−スルホン酸エステル、1,2−ベンゾキノンジアジド−5−スルホン酸エステル、1,2−ナフトキノンジアジド−4−スルホン酸エステル、1,2−ナフトキノンジアジド−5−スルホン酸エステル、1,2−ベンゾキノンジアジド−4−スルホン酸アミド、1,2−ベンゾキノンジアジド−5−スルホン酸アミド、1,2−ナフトキノンジアジド−4−スルホン酸アミド、1,2−ナフトキノンジアジド−5−スルホン酸アミド等が挙げられる。なかでも、1,2−ナフトキノンジアジド−4−スルホン酸エステル又は1,2−ナフトキノンジアジド−5−スルホン酸エステルが好適に用いられる。 Examples of the 1,2-quinonediazide compound (C) include 1,2-benzoquinonediazide-4-sulfonic acid ester, 1,2-benzoquinonediazide-5-sulfonic acid ester, and 1,2-naphthoquinonediazide-4-sulfone. Acid ester, 1,2-naphthoquinonediazide-5-sulfonic acid ester, 1,2-benzoquinonediazide-4-sulfonic acid amide, 1,2-benzoquinonediazide-5-sulfonic acid amide, 1,2-naphthoquinonediazide-4 -Sulphonic acid amide, 1,2-naphthoquinonediazide-5-sulfonic acid amide, etc. are mentioned. Of these, 1,2-naphthoquinonediazide-4-sulfonic acid ester or 1,2-naphthoquinonediazide-5-sulfonic acid ester is preferably used.
上記1,2−ナフトキノンジアジド−4−スルホン酸エステル又は1,2−ナフトキノンジアジド−5−スルホン酸エステルの具体例として、トリヒドロキシベンゾフェノンの1,2−ナフトキノンジアジドスルホン酸エステル類、テトラヒドロキシベンゾフェノンの1,2−ナフトキノンジアジドスルホン酸エステル類、ペンタヒドロキシベンゾフェノンの1,2−ナフトキノンジアジドスルホン酸エステル類、ヘキサヒドロキシベンゾフェノンの1,2−ナフトキノンジアジドスルホン酸エステル類、又はポリ(ヒドロキシフェニル)アルカンの1,2−ナフトキノンジアジドスルホン酸エステル類等が挙げられる。 Specific examples of the 1,2-naphthoquinonediazide-4-sulfonic acid ester or 1,2-naphthoquinonediazide-5-sulfonic acid ester include 1,2-naphthoquinonediazidesulfonic acid esters of trihydroxybenzophenone,
上記トリヒドロキシベンゾフェノンの1,2−ナフトキノンジアジドスルホン酸エステル類として、2,3,4−トリヒドロキシベンゾフェノン−1,2−ナフトキノンジアジド−4−スルホン酸エステル、2,3,4−トリヒドロキシベンゾフェノン−1,2−ナフトキノンジアジド−5−スルホン酸エステル、2,4,6−トリヒドロキシベンゾフェノン−1,2−ナフトキノンジアジド−4−スルホン酸エステル、又は2,4,6−トリヒドロキシベンゾフェノン−1,2−ナフトキノンジアジド−5−スルホン酸エステル等が挙げられる。 As the 1,2-naphthoquinone diazide sulfonic acid esters of trihydroxybenzophenone, 2,3,4-trihydroxybenzophenone-1,2-naphthoquinone diazide-4-sulfonic acid ester, 2,3,4-trihydroxybenzophenone- 1,2-naphthoquinonediazide-5-sulfonic acid ester, 2,4,6-trihydroxybenzophenone-1,2-naphthoquinonediazide-4-sulfonic acid ester, or 2,4,6-trihydroxybenzophenone-1,2 -Naphthoquinonediazide-5-sulfonic acid ester etc. are mentioned.
上記テトラヒドロキシベンゾフェノンの1,2−ナフトキノンジアジドスルホン酸エステル類として、2,2’,4,4’−テトラヒドロキシベンゾフェノン−1,2−ナフトキノンジアジド−4−スルホン酸エステル、2,2’,4,4’−テトラヒドロキシベンゾフェノン−1,2−ナフトキノンジアジド−5−スルホン酸エステル、2,3,4,3’−テトラヒドロキシベンゾフェノン−1,2−ナフトキノンジアジド−4−スルホン酸エステル、2,3,4,3’−テトラヒドロキシベンゾフェノン−1,2−ナフトキノンジアジド−5−スルホン酸エステル、2,3,4,4’−テトラヒドロキシベンゾフェノン−1,2−ナフトキノンジアジド−4−スルホン酸エステル、2,3,4,4’−テトラヒドロキシベンゾフェノン−1,2−ナフトキノンジアジド−5−スルホン酸エステル、2,3,4,2’−テトラヒドロキシ−4’−メチルベンゾフェノン−1,2−ナフトキノンジアジド−4−スルホン酸エステル、2,3,4,2’−テトラヒドロキシ−4’−メチルベンゾフェノン−1,2−ナフトキノンジアジド−5−スルホン酸エステル、2,3,4,4’−テトラヒドロキシ−3’−メトキシベンゾフェノン−1,2−ナフトキノンジアジド−4−スルホン酸エステル、又は2,3,4,4’−テトラヒドロキシ−3’−メトキシベンゾフェノン−1,2−ナフトキノンジアジド−5−スルホン酸エステル等が挙げられる。 As 1,2-naphthoquinone diazide sulfonic acid esters of tetrahydroxybenzophenone, 2,2 ′, 4,4′-tetrahydroxybenzophenone-1,2-naphthoquinone diazide-4-sulfonic acid ester, 2,2 ′, 4 , 4′-Tetrahydroxybenzophenone-1,2-naphthoquinonediazide-5-sulfonic acid ester, 2,3,4,3′-tetrahydroxybenzophenone-1,2-naphthoquinonediazide-4-sulfonic acid ester, 2,3 , 4,3'-tetrahydroxybenzophenone-1,2-naphthoquinonediazide-5-sulfonic acid ester, 2,3,4,4'-tetrahydroxybenzophenone-1,2-naphthoquinonediazide-4-sulfonic acid ester, 2, , 3,4,4′-Tetrahydroxybenzophenone- , 2-Naphthoquinonediazide-5-sulfonic acid ester, 2,3,4,2′-tetrahydroxy-4′-methylbenzophenone-1,2-naphthoquinonediazide-4-sulfonic acid ester, 2,3,4,2 '-Tetrahydroxy-4'-methylbenzophenone-1,2-naphthoquinonediazide-5-sulfonic acid ester, 2,3,4,4'-tetrahydroxy-3'-methoxybenzophenone-1,2-naphthoquinonediazide-4 -Sulphonic acid ester, 2,3,4,4'-tetrahydroxy-3'-methoxybenzophenone-1,2-naphthoquinonediazide-5-sulfonic acid ester and the like.
上記ペンタヒドロキシベンゾフェノンの1,2−ナフトキノンジアジドスルホン酸エステル類として、2,3,4,2’,6’−ペンタヒドロキシベンゾフェノン−1,2−ナフトキノンジアジド−4−スルホン酸エステル、又は2,3,4,2’,6’−ペンタヒドロキシベンゾフェノン−1,2−ナフトキノンジアジド−5−スルホン酸エステル等が挙げられる。 As the 1,2-naphthoquinonediazide sulfonic acid esters of pentahydroxybenzophenone, 2,3,4,2 ′, 6′-pentahydroxybenzophenone-1,2-naphthoquinonediazide-4-sulfonic acid ester, or 2,3 , 4,2 ′, 6′-pentahydroxybenzophenone-1,2-naphthoquinonediazide-5-sulfonic acid ester and the like.
上記ヘキサヒドロキシベンゾフェノンの1,2−ナフトキノンジアジドスルホン酸エステル類として、2,4,6,3’,4’,5’−ヘキサヒドロキシベンゾフェノン−1,2−ナフトキノンジアジド−4−スルホン酸エステル、2,4,6,3’,4’,5’−ヘキサヒドロキシベンゾフェノン−1,2−ナフトキノンジアジド−5−スルホン酸エステル、3,4,5,3’,4’,5’−ヘキサヒドロキシベンゾフェノン−1,2−ナフトキノンジアジド−4−スルホン酸エステル、又は3,4,5,3’,4’,5’−ヘキサヒドロキシベンゾフェノン−1,2−ナフトキノンジアジド−5−スルホン酸エステル等が挙げられる。 As the 1,2-naphthoquinone diazide sulfonic acid esters of hexahydroxybenzophenone, 2,4,6,3 ′, 4 ′, 5′-hexahydroxybenzophenone-1,2-naphthoquinone diazide-4-sulfonic acid ester, 2 , 4,6,3 ′, 4 ′, 5′-hexahydroxybenzophenone-1,2-naphthoquinonediazide-5-sulfonic acid ester, 3,4,5,3 ′, 4 ′, 5′-hexahydroxybenzophenone— Examples include 1,2-naphthoquinonediazide-4-sulfonic acid ester, 3,4,5,3 ′, 4 ′, 5′-hexahydroxybenzophenone-1,2-naphthoquinonediazide-5-sulfonic acid ester, and the like.
上記ポリ(ヒドロキシフェニル)アルカンの1,2−ナフトキノンジアジドスルホン酸エステル類として、ビス(2,4−ジヒドロキシフェニル)メタン−1,2−ナフトキノンジアジド−4−スルホン酸エステル、ビス(2,4−ジヒドロキシフェニル)メタン−1,2−ナフトキノンジアジド−5−スルホン酸エステル、ビス(p−ヒドロキシフェニル)メタン−1,2−ナフトキノンジアジド−4−スルホン酸エステル、ビス(p−ヒドロキシフェニル)メタン−1,2−ナフトキノンジアジド−5−スルホン酸エステル、トリ(p−ヒドロキシフェニル)メタン−1,2−ナフトキノンジアジド−4−スルホン酸エステル、トリ(p−ヒドロキシフェニル)メタン−1,2−ナフトキノンジアジド−5−スルホン酸エステル、2,2,2−トリ(p−ヒドロキシフェニル)エタン−1,2−ナフトキノンジアジド−4−スルホン酸エステル、2,2,2−トリ(p−ヒドロキシフェニル)エタン−1,2−ナフトキノンジアジド−5−スルホン酸エステル、ビス(2,3,4−トリヒドロキシフェニル)メタン−1,2−ナフトキノンジアジド−4−スルホン酸エステル、ビス(2,3,4−トリヒドロキシフェニル)メタン−1,2−ナフトキノンジアジド−5−スルホン酸エステル、2,2−ビス(2,3,4−トリヒドロキシフェニル)プロパン−1,2−ナフトキノンジアジド−4−スルホン酸エステル、2,2−ビス(2,3,4−トリヒドロキシフェニル)プロパン−1,2−ナフトキノンジアジド−5−スルホン酸エステル、1,1,3−トリス(2,5−ジメチル−4−ヒドロキシフェニル)−3−フェニルプロパン−1,2−ナフトキノンジアジド−4−スルホン酸エステル、1,1,3−トリス(2,5−ジメチル−4−ヒドロキシフェニル)−3−フェニルプロパン−1,2−ナフトキノンジアジド−5−スルホン酸エステル、4,4’−〔1−{4−(1−[4−ヒドロキシフェニル]−1−メチルエチル)フェニル}エチリデン〕ビスフェノール−1,2−ナフトキノンジアジド−4−スルホン酸エステル、4,4’−〔1−{4−(1−[4−ヒドロキシフェニル]−1−メチルエチル)フェニル}エチリデン〕ビスフェノール−1,2−ナフトキノンジアジド−5−スルホン酸エステル、ビス(2,5−ジメチル−4−ヒドロキシフェニル)(2−ヒドロキシフェニル)メタン−1,2−ナフトキノンジアジド−4−スルホン酸エステル、ビス(2,5−ジメチル−4−ヒドロキシフェニル)(2−ヒドロキシフェニル)メタン−1,2−ナフトキノンジアジド−5−スルホン酸エステル、3,3,3’,3’−テトラメチル−1,1’−スピロビインデン−5,6,7,5’,6’,7’−ヘキサノール−1,2−ナフトキノンジアジド−4−スルホン酸エステル、3,3,3’,3’−テトラメチル−1,1’−スピロビインデン−5,6,7,5’,6’,7’−ヘキサノール−1,2−ナフトキノンジアジド−5−スルホン酸エステル、2,2,4−トリメチル−7,2’,4’−トリヒドロキシフラバン−1,2−ナフトキノンジアジド−4−スルホン酸エステル、2,2,4−トリメチル−7,2’,4’−トリヒドロキシフラバン−1,2−ナフトキノンジアジド−5−スルホン酸エステル、2−メチル−2−(2,4−ジヒドロキシフェニル)−4−(4−ヒドロキシフェニル)−7−ヒドロキシクロマン−1,2−ナフトキノンジアジド−4−スルホン酸エステル、2−メチル−2−(2,4−ジヒドロキシフェニル)−4−(4−ヒドロキシフェニル)−7−ヒドロキシクロマン−1,2−ナフトキノンジアジド−5−スルホン酸エステル、2−〔ビス(5−i−プロピル−4−ヒドロキシ−2−メチルフェニル)メチル〕フェノール−1,2−ナフトキノンジアジド−4−スルホン酸エステル、2−〔ビス(5−i−プロピル−4−ヒドロキシ−2−メチルフェニル)メチル〕フェノール−1,2−ナフトキノンジアジド−5−スルホン酸エステル、1−〔1−{3−(1−[4−ヒドロキシフェニル]−1−メチルエチル)−4,6−ジヒドロキシフェニル}−1−メチルエチル〕−3−〔1−{3−(1−[4−ヒドロキシフェニル]−1−メチルエチル)−4,6−ジヒドロキシフェニル}−1−メチルエチル〕ベンゼン−1,2−ナフトキノンジアジド−4−スルホン酸エステル、1−〔1−{3−(1−[4−ヒドロキシフェニル]−1−メチルエチル)−4,6−ジヒドロキシフェニル}−1−メチルエチル〕−3−〔1−{3−(1−[4−ヒドロキシフェニル]−1−メチルエチル)−4,6−ジヒドロキシフェニル}−1−メチルエチル〕ベンゼン−1,2−ナフトキノンジアジド−5−スルホン酸エステル、4,6−ビス〔1−(4−ヒドロキシフェニル)−1−メチルエチル〕−1,3−ジヒドロキシベンゼン−1,2−ナフトキノンジアジド−4−スルホン酸エステル、又は4,6−ビス〔1−(4−ヒドロキシフェニル)−1−メチルエチル〕−1,3−ジヒドロキシベンゼン−1,2−ナフトキノンジアジド−5−スルホン酸エステル等が挙げられる。 Examples of the 1,2-naphthoquinone diazide sulfonic acid esters of the above poly (hydroxyphenyl) alkane include bis (2,4-dihydroxyphenyl) methane-1,2-naphthoquinone diazide-4-sulfonic acid ester, bis (2,4- Dihydroxyphenyl) methane-1,2-naphthoquinonediazide-5-sulfonic acid ester, bis (p-hydroxyphenyl) methane-1,2-naphthoquinonediazide-4-sulfonic acid ester, bis (p-hydroxyphenyl) methane-1 , 2-Naphthoquinonediazide-5-sulfonic acid ester, tri (p-hydroxyphenyl) methane-1,2-naphthoquinonediazide-4-sulfonic acid ester, tri (p-hydroxyphenyl) methane-1,2-naphthoquinonediazide- 5-sulfonic acid ester, 2,2 2-tri (p-hydroxyphenyl) ethane-1,2-naphthoquinonediazide-4-sulfonic acid ester, 2,2,2-tri (p-hydroxyphenyl) ethane-1,2-naphthoquinonediazide-5-sulfonic acid Ester, bis (2,3,4-trihydroxyphenyl) methane-1,2-naphthoquinonediazide-4-sulfonic acid ester, bis (2,3,4-trihydroxyphenyl) methane-1,2-naphthoquinonediazide- 5-sulfonic acid ester, 2,2-bis (2,3,4-trihydroxyphenyl) propane-1,2-naphthoquinonediazide-4-sulfonic acid ester, 2,2-bis (2,3,4-tri Hydroxyphenyl) propane-1,2-naphthoquinonediazide-5-sulfonic acid ester, 1,1,3-tris (2,5- Methyl-4-hydroxyphenyl) -3-phenylpropane-1,2-naphthoquinonediazide-4-sulfonic acid ester, 1,1,3-tris (2,5-dimethyl-4-hydroxyphenyl) -3-phenylpropane -1,2-naphthoquinonediazide-5-sulfonic acid ester, 4,4 ′-[1- {4- (1- [4-hydroxyphenyl] -1-methylethyl) phenyl} ethylidene] bisphenol-1,2- Naphthoquinonediazide-4-sulfonic acid ester, 4,4 ′-[1- {4- (1- [4-hydroxyphenyl] -1-methylethyl) phenyl} ethylidene] bisphenol-1,2-naphthoquinonediazide-5 Sulfonic acid ester, bis (2,5-dimethyl-4-hydroxyphenyl) (2-hydroxyphenyl) methane-1 , 2-Naphthoquinonediazide-4-sulfonic acid ester, bis (2,5-dimethyl-4-hydroxyphenyl) (2-hydroxyphenyl) methane-1,2-naphthoquinonediazide-5-sulfonic acid ester, 3,3, 3 ′, 3′-tetramethyl-1,1′-spirobiindene-5,6,7,5 ′, 6 ′, 7′-hexanol-1,2-naphthoquinonediazide-4-sulfonic acid ester, 3, 3,3 ′, 3′-tetramethyl-1,1′-spirobiindene-5,6,7,5 ′, 6 ′, 7′-hexanol-1,2-naphthoquinonediazide-5-sulfonic acid ester, 2,2,4-trimethyl-7,2 ′, 4′-trihydroxyflavan-1,2-naphthoquinonediazide-4-sulfonic acid ester, 2,2,4-trimethyl-7,2 ′, 4′- Rehydroxyflavan-1,2-naphthoquinonediazide-5-sulfonic acid ester, 2-methyl-2- (2,4-dihydroxyphenyl) -4- (4-hydroxyphenyl) -7-hydroxychroman-1,2- Naphthoquinonediazide-4-sulfonic acid ester, 2-methyl-2- (2,4-dihydroxyphenyl) -4- (4-hydroxyphenyl) -7-hydroxychroman-1,2-naphthoquinonediazide-5-sulfonic acid ester 2- [bis (5-i-propyl-4-hydroxy-2-methylphenyl) methyl] phenol-1,2-naphthoquinonediazide-4-sulfonic acid ester, 2- [bis (5-i-propyl-4 -Hydroxy-2-methylphenyl) methyl] phenol-1,2-naphthoquinonediazide-5-sulfone Ester, 1- [1- {3- (1- [4-hydroxyphenyl] -1-methylethyl) -4,6-dihydroxyphenyl} -1-methylethyl] -3- [1- {3- (1 -[4-hydroxyphenyl] -1-methylethyl) -4,6-dihydroxyphenyl} -1-methylethyl] benzene-1,2-naphthoquinonediazide-4-sulfonic acid ester, 1- [1- {3- (1- [4-hydroxyphenyl] -1-methylethyl) -4,6-dihydroxyphenyl} -1-methylethyl] -3- [1- {3- (1- [4-hydroxyphenyl] -1- Methylethyl) -4,6-dihydroxyphenyl} -1-methylethyl] benzene-1,2-naphthoquinonediazide-5-sulfonic acid ester, 4,6-bis [1- (4-hydroxyphenyl) -1-methylethyl] -1,3-dihydroxybenzene-1,2-naphthoquinonediazide-4-sulfonic acid ester, or 4,6-bis [1- (4-hydroxyphenyl) -1-methylethyl] -1 , 3-dihydroxybenzene-1,2-naphthoquinonediazide-5-sulfonic acid ester and the like.
上記1,2−キノンジアジド化合物(C)として、「J. Kosar著「Light−Sensitive Systems 」(John Wiley&Sons社、1965年発行)p.339」や、「W.S. De Fores 著「Photoresist 」(McGraw−Hill 社、1975年発行) p.50」に記載されている1,2−ナフトキノンジアジド−4−スルホン酸エステル又は1,2−ナフトキノンジアジド−5−スルホン酸エステルを用いることもできる。なかでも、1,2−ナフトキノンジアジド−5−スルホン酸エステルが好ましい。 As the 1,2-quinonediazide compound (C), “Light-Sensitive Systems” by J. Kosar (published by John Wiley & Sons, 1965) p. 339 "or" Photoresist "by WS De Fores (McGraw-Hill, 1975) p. 1, 2-naphthoquinonediazide-4-sulfonic acid ester or 1,2-naphthoquinonediazide-5-sulfonic acid ester described in "50" can also be used. Of these, 1,2-naphthoquinonediazide-5-sulfonic acid ester is preferable.
上記1,2ナフトキノンジアジド−5−スルホン酸エステルは、2,3,4−トリヒドロキシベンゾフェノン−1,2−ナフトキノンジアジド−5−スルホン酸エステル、2,3,4,4’−テトラヒドロキシベンゾフェノン−1,2−ナフトキノンジアジド−5−スルホン酸エステル、1,1,3−トリス(2,5−ジメチル−4−ヒドロキシフェニル)−3−フェニルプロパン−1,2−ナフトキノンジアジド−5−スルホン酸エステル、4,4’−4,4’−〔1−{4−(1−[4−ヒドロキシフェニル]−1−メチルエチル)フェニル}エチリデン〕ビスフェノール−1,2−ナフトキノンジアジド−5−スルホン酸エステル、2,2,4−トリメチル−7,2’,4’−トリヒドロキシフラバン−1,2−ナフトキノンジアジド−5−スルホン酸エステル、2,2,2−トリ(p−ヒドロキシフェニル)エタン−1,2−ナフトキノンジアジド−5−スルホン酸エステル、又は2−メチル−2−(2,4−ジヒドロキシフェニル)−4−(4−ヒドロキシフェニル)−7−ヒドロキシクロマン−1,2−ナフトキノンジアジド−5−スルホン酸エステルであることが好ましい。これらの好ましい1,2ナフトキノンジアジド−5−スルホン酸エステルを用いた場合には、感光性組成物のアルカリ現像液への溶解抑制効果を高めることができる。 The 1,2, naphthoquinonediazide-5-sulfonic acid ester is 2,3,4-trihydroxybenzophenone-1,2-naphthoquinonediazide-5-sulfonic acid ester, 2,3,4,4′-tetrahydroxybenzophenone— 1,2-naphthoquinonediazide-5-sulfonic acid ester, 1,1,3-tris (2,5-dimethyl-4-hydroxyphenyl) -3-phenylpropane-1,2-naphthoquinonediazide-5-sulfonic acid ester 4,4'-4,4 '-[1- {4- (1- [4-hydroxyphenyl] -1-methylethyl) phenyl} ethylidene] bisphenol-1,2-naphthoquinonediazide-5-
[第2の感光性組成物(カルボキシル基及びメルカプト基の内の少なくとも一方を有するシロキサンポリマーを含む感光性組成物)の詳細]
本発明に係る感光性組成物は、上記シロキサンポリマーを少なくとも含むアルカリ可溶性ポリマーが、カルボキシル基及びメルカプト基の内の少なくとも一方を有するシロキサンポリマーであることが好ましい。本明細書では、この感光性組成物を第2の感光性組成物と記載する。[Details of second photosensitive composition (photosensitive composition containing siloxane polymer having at least one of carboxyl group and mercapto group)]
In the photosensitive composition according to the present invention, the alkali-soluble polymer containing at least the siloxane polymer is preferably a siloxane polymer having at least one of a carboxyl group and a mercapto group. In the present specification, this photosensitive composition is referred to as a second photosensitive composition.
第2の感光性組成物は、カルボキシル基及びメルカプト基の内の少なくとも一方を有するシロキサンポリマーと、キノンジアジド化合物とを含む。 The second photosensitive composition contains a siloxane polymer having at least one of a carboxyl group and a mercapto group, and a quinonediazide compound.
(カルボキシル基及びメルカプト基の内の少なくとも一方を有するシロキサンポリマー)
第2の感光性組成物に含まれるカルボキシル基及びメルカプト基の内の少なくとも一方を有するシロキサンポリマーは、アルカリ可溶性のポリマーである。(Siloxane polymer having at least one of carboxyl group and mercapto group)
The siloxane polymer having at least one of a carboxyl group and a mercapto group contained in the second photosensitive composition is an alkali-soluble polymer.
上記カルボキシル基及びメルカプト基の内の少なくとも一方を有するシロキサンポリマーがカルボキシル基を有するシロキサンポリマーである場合、該カルボキシル基を有するシロキサンポリマーは、カルボキシル基を有するものであれば特に限定されない。上記カルボキシル基を有するシロキサンポリマーは、1種のみが用いられてもよく、2種以上が併用されてもよい。上記カルボキシル基を有するシロキサンポリマーは、カルボキシル基を有するので、アルカリ溶液に対する溶解性が高い。従って、カルボキシル基を有するシロキサンポリマーを用いた場合には、感光性組成物の現像性を高めることができる。 When the siloxane polymer having at least one of the carboxyl group and mercapto group is a siloxane polymer having a carboxyl group, the siloxane polymer having a carboxyl group is not particularly limited as long as it has a carboxyl group. As for the said siloxane polymer which has a carboxyl group, only 1 type may be used and 2 or more types may be used together. Since the siloxane polymer having a carboxyl group has a carboxyl group, the solubility in an alkaline solution is high. Therefore, when a siloxane polymer having a carboxyl group is used, the developability of the photosensitive composition can be improved.
上記カルボキシル基を有するシロキサンポリマーは、カルボキシル基を有するアルコキシシランを縮合させて得られたカルボキシル基含有アルコキシシラン縮合物、又はカルボキシル基を有しないアルコキシシランを縮合させて得られたアルコキシシラン縮合物にカルボキシル基を導入したカルボキシル基含有アルコキシシラン縮合物であることが好ましい。これらのカルボキシル基含有アルコキシシラン縮合物を用いた場合には、アルカリ溶液に対する感光性組成物の溶解性を効果的に高めることができる。 The carboxyl group-containing siloxane polymer is a carboxyl group-containing alkoxysilane condensate obtained by condensing a carboxyl group-containing alkoxysilane or an alkoxysilane condensate obtained by condensing an alkoxysilane having no carboxyl group. A carboxyl group-containing alkoxysilane condensate having a carboxyl group introduced is preferred. When these carboxyl group-containing alkoxysilane condensates are used, the solubility of the photosensitive composition in an alkaline solution can be effectively increased.
カルボキシル基を有しないアルコキシシランを縮合させて得られたアルコキシシラン縮合物に、カルボキシル基を導入する方法は特に限定されない。この方法として、アミノ基や環状エーテル基に無水酸を付加する方法等が挙げられる。 The method for introducing a carboxyl group into an alkoxysilane condensate obtained by condensing an alkoxysilane having no carboxyl group is not particularly limited. Examples of this method include a method of adding an acid anhydride to an amino group or a cyclic ether group.
カルボキシル基含有アルコキシシラン縮合物を得る際に、アルコキシシランは単独で用いられてもよく、2種以上が併用されてもよい。 In obtaining the carboxyl group-containing alkoxysilane condensate, the alkoxysilane may be used alone or in combination of two or more.
メルカプト基を有するシロキサンポリマーを用いると、パターン膜の基板への密着性を高めることができる。特にパターン膜が形成される基板が金属又はITO等の金属酸化物からなる場合に、パターン膜の基板への密着性を極めて高めることができる。シロキサンポリマーは、単独で用いられてもよく、2種以上が併用されてもよい。 When a siloxane polymer having a mercapto group is used, the adhesion of the pattern film to the substrate can be improved. In particular, when the substrate on which the pattern film is formed is made of metal or a metal oxide such as ITO, the adhesion of the pattern film to the substrate can be greatly enhanced. A siloxane polymer may be used independently and 2 or more types may be used together.
上記メルカプト基を有するシロキサンポリマーは、メルカプト基を有するアルコキシシランを縮合させて得られたメルカプト基含有アルコキシシラン縮合物、又はメルカプト基を有しないアルコキシシランを縮合させて得られたアルコキシシラン縮合物に、メルカプト基を導入したメルカプト基含有アルコキシシラン縮合物であることが好ましい。 The mercapto group-containing siloxane polymer is a mercapto group-containing alkoxysilane condensate obtained by condensing an alkoxysilane having a mercapto group, or an alkoxysilane condensate obtained by condensing an alkoxysilane having no mercapto group. A mercapto group-containing alkoxysilane condensate into which a mercapto group is introduced is preferable.
アルコキシシランを縮合させて得られたアルコキシシラン縮合物に、メルカプト基を導入する方法は、特に限定されない。この方法として、ヒドロシリル化反応を用いる方法等が挙げられる。上記メルカプト基アルコキシシラン縮合物を用いた場合には、パターン膜の基板への密着性を高めることができる。 The method for introducing a mercapto group into an alkoxysilane condensate obtained by condensing alkoxysilane is not particularly limited. Examples of this method include a method using a hydrosilylation reaction. When the mercapto group alkoxysilane condensate is used, the adhesion of the pattern film to the substrate can be enhanced.
上記メルカプト基を有する上記アルコキシシラン縮合物を得る際には、少なくとも2種のアルコキシシランを用いることが好ましい。 When obtaining the alkoxysilane condensate having the mercapto group, it is preferable to use at least two types of alkoxysilanes.
上記カルボキシル基及びメルカプト基の内の少なくとも一方を有するシロキサンポリマーを得る際に用いられる上記アルコキシシランは、様々なアルコキシシランを用いることができ特に限定されない。該アルコキシシランは、下記式(1A)で表されるアルコキシシランであることが好ましい。 The alkoxysilane used when obtaining a siloxane polymer having at least one of the carboxyl group and the mercapto group is not particularly limited, and various alkoxysilanes can be used. The alkoxysilane is preferably an alkoxysilane represented by the following formula (1A).
Si(X1)p(X2)q(X3)4−p−q・・・式(1A)
上述した式(1A)中、X1は水素又は炭素数が1〜30である非加水分解性の有機基を表し、X2はアルコキシ基を表し、X3はアルコキシ基以外の加水分解性基を表し、pは0〜3の整数を表し、qは1〜4の整数を表し、p+q≦4である。pが2又は3であるとき、複数のX1は同一であってもよく異なっていてもよい。qが2〜4であるとき、複数のX2は同一であってもよく異なっていてもよい。p+q≦2であるとき、複数のX3は同一であってもよく異なっていてもよい。Si (X1)p (X2)q (X3)4-pq Formula (1A)
In the formula (1A) described above, X1 represents hydrogen or a non-hydrolyzable organic group having 1 to 30 carbon atoms, X2 represents an alkoxy group, X3 represents a hydrolyzable group other than an alkoxy group, p represents an integer of 0 to 3, q represents an integer of 1 to 4, and p + q ≦ 4. When p is 2 or 3, the plurality of X1s may be the same or different. When q is 2-4, several X2 may be the same and may differ. When p + q ≦ 2, the plurality of X3 may be the same or different.
上記アルコキシ基X2及びアルコキシ基以外の加水分解性基X3は、通常、過剰の水の共存下で、かつ無触媒で、室温(25℃)〜100℃に加熱されると、加水分解されてシラノール基を生成できる基、又はさらに縮合してシロキサン結合を形成できる基である。 The alkoxy group X2 and the hydrolyzable group X3 other than the alkoxy group are usually hydrolyzed and silanol when heated to room temperature (25 ° C.) to 100 ° C. in the presence of excess water and without catalyst. A group capable of generating a group or a group capable of further condensation to form a siloxane bond.
上記アルコキシ基X2は特に限定されない。上記アルコキシ基X2の具体例として、炭素数1〜6のアルコキシ基等が挙げられる。該炭素数1〜6のアルコキシ基として、メトキシ基、エトキシ基又はプロポキシ基等が挙げられる。 The alkoxy group X2 is not particularly limited. Specific examples of the alkoxy group X2 include an alkoxy group having 1 to 6 carbon atoms. Examples of the alkoxy group having 1 to 6 carbon atoms include a methoxy group, an ethoxy group, and a propoxy group.
上記アルコキシ基以外の加水分解性基X3は特に限定されない。上記アルコキシ基以外の加水分解性基X3として、具体的には、塩素もしくは臭素等のハロゲン基、アセトキシ基、ヒドロキシル基又はイソシアネート基等が挙げられる。 The hydrolyzable group X3 other than the alkoxy group is not particularly limited. Specific examples of the hydrolyzable group X3 other than the alkoxy group include a halogen group such as chlorine or bromine, an acetoxy group, a hydroxyl group, or an isocyanate group.
上記非加水分解性の有機基X1は特に限定されない。上記非加水分解性の有機基X1として、加水分解され難く、安定な疎水基である炭素数1〜30の有機基が挙げられる。 The non-hydrolyzable organic group X1 is not particularly limited. Examples of the non-hydrolyzable organic group X1 include organic groups having 1 to 30 carbon atoms that are hardly hydrolyzed and are stable hydrophobic groups.
上記炭素数1〜30の有機基として、炭素数1〜30のアルキル基、ハロゲン化アルキル基、芳香族置換アルキル基、アリール基、ビニル基を含む基、エポキシ基を含む有機基、アミノ基を含む有機基、又はチオール基を含む有機基等が挙げられる。 Examples of the organic group having 1 to 30 carbon atoms include an alkyl group having 1 to 30 carbon atoms, a halogenated alkyl group, an aromatic substituted alkyl group, an aryl group, a group containing a vinyl group, an organic group containing an epoxy group, and an amino group. And an organic group containing a thiol group.
上記炭素素1〜30のアルキル基として、メチル基、エチル基、プロピル基、ブチル基、ヘキシル基、シクロヘキシル基、オクチル基、ペンチル基、デシル基、ドデシル基、テトラデシル基、ヘキサデシル基、オクタデシル基又はエイコシル基等が挙げられる。上記ハロゲン化アルキル基として、アルキル基のフッ素化物基、アルキル基の塩素化物基又はアルキル基の臭素化物基等が挙げられる。上記ハロゲン化アルキル基として、例えば、3−クロロプロピル基、6−クロロプロピル基、6−クロロヘキシル基又は6,6,6−トリフルオロヘキシル基等が挙げられる。上記芳香族置換アルキル基として、例えば、ベンジル基又はハロゲン置換ベンジル基等が挙げられる。上記ハロゲン置換ベンジル基として、4−クロロベンジル基又は4−ブロモベンジル基等が挙げられる。上記アリール基として、例えば、フェニル基、トリル基、メシチル基又はナフチル基等が挙げられる。 As the alkyl group of carbon atoms 1-30, methyl group, ethyl group, propyl group, butyl group, hexyl group, cyclohexyl group, octyl group, pentyl group, decyl group, dodecyl group, tetradecyl group, hexadecyl group, octadecyl group or Examples include an eicosyl group. Examples of the halogenated alkyl group include a fluorinated group of an alkyl group, a chlorinated group of an alkyl group, or a bromide group of an alkyl group. Examples of the halogenated alkyl group include 3-chloropropyl group, 6-chloropropyl group, 6-chlorohexyl group, 6,6,6-trifluorohexyl group, and the like. Examples of the aromatic substituted alkyl group include a benzyl group or a halogen-substituted benzyl group. Examples of the halogen-substituted benzyl group include 4-chlorobenzyl group and 4-bromobenzyl group. Examples of the aryl group include a phenyl group, a tolyl group, a mesityl group, and a naphthyl group.
上記式(1A)で表されるアルコキシシランの具体例として、例えば、トリフェニルエトキシシラン、トリメチルエトキシシラン、トリエチルエトキシシラン、トリフェニルメトキシシラン、トリエチルメトキシシラン、エチルジメチルメトキシシラン、メチルジエチルメトキシシラン、エチルジメチルエトキシシラン、メチルジエチルエトキシシラン、フェニルジメチルメトキシシラン、フェニルジエチルメトキシシラン、フェニルジメチルエトキシシラン、フェニルジエチルエトキシシラン、メチルジフェニルメトキシシラン、エチルジフェニルメトキシシラン、メチルジフェニルエトキシシラン、エチルジフェニルエトキシシラン、tert−ブトキシトリメチルシラン、ブトキシトリメチルシラン、ジメチルエトキシシラン、メトキシジメチルビニルシラン、エトキシジメチルビニルシラン、ジフェニルジエトキシラン、フェニルジエトキシシラン、ジメチルジメトキシシラン、ジアセトキシメチルシラン、ジエトキシメチルシラン、3−クロロポロピルジメトキシメチルシラン、クロロメチルジエトキシメチルシラン、ジエトキシジメチルシラン、ジアセトキシメチルビニルシラン、ジエトキシメチルビニルシラン、ジエトキシジエチルシラン、ジメチルジプロポキシシラン、ジメトキシメチルフェニルシラン、メチルトリメトキシシラン、メチルトリエトキシシラン、メチル−トリ−n−プロポキシシラン、エチルトリメトキシシラン、エチルトリエトキシシラン、エチル−トリ−n−プロポキシシラン、プロピルトリメトキシシラン、プロピルトリエトキシシラン、プロピル−トリ−n−プロポキシシラン、ブチルトリメトキシシラン、ブチルトリエトキシシラン、ブチルトリプロポキシシラン、イソブチルトリメトキシシラン、イソブチルトリエトキシシラン、イソブチルトリプロポキシシラン、n−ヘキシルトリメトキシシラン、n−ヘキシルトリエトキシシラン、n−ヘキシルトリプロポキシシラン、シクロヘキシルトリメトキシシラン、シクロヘキシルトリエトキシシラン、シクロヘキシルトリプロポキシシラン、オクチルトリメトキシシラン、オクチルトリエトキシシラン、オクチルトリプロポキシシラン、ドデシルトリメトキシシラン、ドデシルトリエトキシシラン、ドデシルトリプロポキシシラン、テトラデシルトリメトキシシラン、テトラデシルトリエトキシシラン、テトラデシルトリプロポキシシラン、ヘキサデシルトリメトキシシラン、ヘキサデシルトリエトキシシラン、ヘキサデシルトリプロポキシシラン、オクタデシルトリメトキシシラン、オクタデシルトリエトキシシラン、オクタデシルトリプロポキシシラン、エイコシルデシルトリメトキシシラン、エイコシルトリエトキシシラン、エイコシルトリプロポキシシラン、6−クロロヘキシルトリメトキシシラン、6,6,6−トリフルオロヘキシルトリメトキシシラン、ベンジルトリメトキシシラン、4−クロロベンジルトリメトキシシラン、4−ブロモベンジルトリ−n−プロポキシシラン、フェニルトリメトキシシラン、フェニルトリエトキシシラン、ビニルトリメトキシシラン、ビニルトリエトキシシラン、β−(3,4−エポキシシクロヘキシル)エチルトリメトキシシラン、γ−グリシドキシプロピルトリメトキシシラン、γ−メタクリロキシプロピルトリエトキシシラン、N−β(アミノエチル)γ−アミノプロピルトリメトキシシラン、N−β(アミノエチル)γ−アミノプロピルトリエトキシシラン、γ−アミノプロピルトリメトキシシラン、γ−アミノプロピルトリエトキシシラン、メチルトリアセトキシシラン、エチルトリアセトキシシラン、N−β−フェニル−γ−アミノプロピルトリメトキシシラン、γ−クロロプロピルトリメトキシシラン、γ−メルカプトプロピルトリメトキシシラン、トリエトキシシラン、トリメトキシシラン、トリイソプロポキシシラン、トリ−n−プロポキシシラン、トリアセトキシシラン、テトラメトキシシラン、テトラエトキシシラン、テトラ−n−プロポキシシラン、テトライソプロポキシシラン又はテトラアセトキシシラン等が挙げられる。 Specific examples of the alkoxysilane represented by the above formula (1A) include, for example, triphenylethoxysilane, trimethylethoxysilane, triethylethoxysilane, triphenylmethoxysilane, triethylmethoxysilane, ethyldimethylmethoxysilane, methyldiethylmethoxysilane, Ethyldimethylethoxysilane, methyldiethylethoxysilane, phenyldimethylmethoxysilane, phenyldiethylmethoxysilane, phenyldimethylethoxysilane, phenyldiethylethoxysilane, methyldiphenylmethoxysilane, ethyldiphenylmethoxysilane, methyldiphenylethoxysilane, ethyldiphenylethoxysilane, tert-butoxytrimethylsilane, butoxytrimethylsilane, dimethylethoxysilane, methoxy Dimethylvinylsilane, ethoxydimethylvinylsilane, diphenyldiethoxysilane, phenyldiethoxysilane, dimethyldimethoxysilane, diacetoxymethylsilane, diethoxymethylsilane, 3-chloropropyldimethoxymethylsilane, chloromethyldiethoxymethylsilane, diethoxydimethyl Silane, diacetoxymethylvinylsilane, diethoxymethylvinylsilane, diethoxydiethylsilane, dimethyldipropoxysilane, dimethoxymethylphenylsilane, methyltrimethoxysilane, methyltriethoxysilane, methyl-tri-n-propoxysilane, ethyltrimethoxysilane , Ethyltriethoxysilane, ethyl-tri-n-propoxysilane, propyltrimethoxysilane, propyltriethoxysilane, Propyl-tri-n-propoxysilane, butyltrimethoxysilane, butyltriethoxysilane, butyltripropoxysilane, isobutyltrimethoxysilane, isobutyltriethoxysilane, isobutyltripropoxysilane, n-hexyltrimethoxysilane, n-hexyltri Ethoxysilane, n-hexyltripropoxysilane, cyclohexyltrimethoxysilane, cyclohexyltriethoxysilane, cyclohexyltripropoxysilane, octyltrimethoxysilane, octyltriethoxysilane, octyltripropoxysilane, dodecyltrimethoxysilane, dodecyltriethoxysilane, Dodecyltripropoxysilane, tetradecyltrimethoxysilane, tetradecyltriethoxysilane, tetradecyltripro Poxysilane, hexadecyltrimethoxysilane, hexadecyltriethoxysilane, hexadecyltripropoxysilane, octadecyltrimethoxysilane, octadecyltriethoxysilane, octadecyltripropoxysilane, eicosyldecyltrimethoxysilane, eicosyltriethoxysilane, eicosyl Tripropoxysilane, 6-chlorohexyltrimethoxysilane, 6,6,6-trifluorohexyltrimethoxysilane, benzyltrimethoxysilane, 4-chlorobenzyltrimethoxysilane, 4-bromobenzyltri-n-propoxysilane, phenyl Trimethoxysilane, phenyltriethoxysilane, vinyltrimethoxysilane, vinyltriethoxysilane, β- (3,4-epoxycyclohexyl) ethyltri Toxisilane, γ-glycidoxypropyltrimethoxysilane, γ-methacryloxypropyltriethoxysilane, N-β (aminoethyl) γ-aminopropyltrimethoxysilane, N-β (aminoethyl) γ-aminopropyltriethoxysilane , Γ-aminopropyltrimethoxysilane, γ-aminopropyltriethoxysilane, methyltriacetoxysilane, ethyltriacetoxysilane, N-β-phenyl-γ-aminopropyltrimethoxysilane, γ-chloropropyltrimethoxysilane, γ -Mercaptopropyltrimethoxysilane, triethoxysilane, trimethoxysilane, triisopropoxysilane, tri-n-propoxysilane, triacetoxysilane, tetramethoxysilane, tetraethoxysilane, tetra-n-propoxy Examples include silane, tetraisopropoxysilane, and tetraacetoxysilane.
上記カルボキシル基及びメルカプト基の内の少なくとも一方を有するシロキサンポリマーの重量平均分子量は、500〜30000の範囲内にあることが好ましく、1000〜20000の範囲内にあることがより好ましい。重量平均分子量が小さすぎると、感光性組成物が硬化しにくいことがある。重量平均分子量が大きすぎると、感光性組成物中にゲル状物が生じ易く、現像後に残渣が生じ易くなる。 The weight average molecular weight of the siloxane polymer having at least one of the carboxyl group and the mercapto group is preferably in the range of 500 to 30000, and more preferably in the range of 1000 to 20000. If the weight average molecular weight is too small, the photosensitive composition may be difficult to cure. When the weight average molecular weight is too large, a gel-like substance is easily generated in the photosensitive composition, and a residue is easily generated after development.
上記カルボキシル基を有するシロキサンポリマーは、ケイ素原子に炭素原子が直接結合されている有機基を有し、該有機基の1〜10%が、カルボキシル基を有することが好ましい。ケイ素原子に炭素原子が直接結合されている有機基100%中に占めるカルボキシル基を有する有機基の割合が1%未満であると、現像性が充分に高められないことがあり、10%を超えると、感光性組成物が現像液だけでなく水にも溶解し易くなり、パターン膜の形成が困難になることがある。 The siloxane polymer having a carboxyl group has an organic group in which a carbon atom is directly bonded to a silicon atom, and 1 to 10% of the organic group preferably has a carboxyl group. When the ratio of the organic group having a carboxyl group in 100% of the organic group in which the carbon atom is directly bonded to the silicon atom is less than 1%, the developability may not be sufficiently improved, and the ratio exceeds 10%. Then, the photosensitive composition is easily dissolved not only in the developer but also in water, and it may be difficult to form a pattern film.
上記メルカプト基を有するシロキサンポリマーは、ケイ素原子に炭素原子が直接結合されている有機基を有し、該有機基の1〜50%が、メルカプト基を有することが好ましい。ケイ素原子に炭素原子が直接結合されている有機基100%中に占める上記メルカプト基を有する有機基の割合が1%未満であると、パターン膜の基板への密着性が充分に高められないことがあり、50%を超えると、メルカプト基によりシロキサンポリマーの溶解性が高くなるため、フォトリソグラフィーにおけるパターンが形成できないことがある。 The siloxane polymer having a mercapto group has an organic group in which a carbon atom is directly bonded to a silicon atom, and 1 to 50% of the organic group preferably has a mercapto group. When the proportion of the organic group having the mercapto group in 100% of the organic group in which the carbon atom is directly bonded to the silicon atom is less than 1%, the adhesion of the pattern film to the substrate cannot be sufficiently improved. If it exceeds 50%, the solubility of the siloxane polymer is increased by the mercapto group, and therefore a pattern in photolithography may not be formed.
上記シロキサンポリマーは、カルボキシル基及び環状エーテル基を有するシロキサンポリマーであることが好ましい。カルボキシル基及び環状エーテル基を有するシロキサンポリマーを用いた場合には、露光及び現像により形成されたパターン膜を加熱することにより、カルボキシル基と環状エーテル基とを反応させることができる。従って、パターン膜におけるカルボキシル基量を低減できる。カルボキシル基量が低減され得るので、パターン膜の電気絶縁性を高めることができる。 The siloxane polymer is preferably a siloxane polymer having a carboxyl group and a cyclic ether group. When a siloxane polymer having a carboxyl group and a cyclic ether group is used, the carboxyl group and the cyclic ether group can be reacted by heating the pattern film formed by exposure and development. Therefore, the amount of carboxyl groups in the pattern film can be reduced. Since the amount of carboxyl groups can be reduced, the electrical insulation of the pattern film can be enhanced.
上記環状エーテル基を有するシロキサンポリマーは、環状エーテル基を有するアルコキシシランを縮合させて得られたアルコキシシラン縮合物、又は環状エーテル基を有しないアルコキシシランを縮合させた後、アルコキシシラン縮合物に環状エーテル基が導入されたアルコキシシラン縮合物であることが好ましい。 The siloxane polymer having a cyclic ether group is obtained by condensing an alkoxysilane condensate obtained by condensing an alkoxysilane having a cyclic ether group or an alkoxysilane not having a cyclic ether group, and An alkoxysilane condensate into which an ether group has been introduced is preferred.
アルコキシシランを縮合させて得られたアルコキシシラン縮合物に、環状エーテル基を導入する方法として、ヒドロシリル化反応を用いる方法等が挙げられる。 Examples of a method for introducing a cyclic ether group into an alkoxysilane condensate obtained by condensing alkoxysilane include a method using a hydrosilylation reaction.
上記カルボキシル基及び環状エーテル基を有するシロキサンポリマーは、カルボキシル基及び環状エーテル基を有するアルコキシシランを縮合させて得られたアルコキシシラン縮合物、環状エーテル基を有するアルコキシシランを縮合させた後、カルボキシル基が導入されたアルコキシシラン縮合物、カルボキシル基を有するアルコキシシランを縮合させた後、環状エーテル基が導入されたアルコキシシラン縮合物、又はアルコキシシランを縮合させた後、カルボキシル基及び環状エーテル基が導入されたアルコキシシラン縮合物であることが好ましい。 The siloxane polymer having a carboxyl group and a cyclic ether group is obtained by condensing an alkoxysilane condensate obtained by condensing an alkoxysilane having a carboxyl group and a cyclic ether group, and an alkoxysilane having a cyclic ether group. After condensing an alkoxysilane condensate having a carboxyl group, an alkoxysilane having a carboxyl group, an alkoxysilane condensate having a cyclic ether group introduced, or after condensing an alkoxysilane, a carboxyl group and a cyclic ether group are introduced. It is preferable that it is the alkoxysilane condensate made.
上記カルボキシル基及び環状エーテル基を有するシロキサンポリマーとして、上記アルコキシシラン縮合物を用いた場合には、パターン膜の基板への密着性をより一層高めることができる。カルボキシル基及び環状エーテル基を有する上記アルコキシシラン縮合物を得る際には、1種のアルコキシシランが用いられてもよく、2種以上のアルコキシシランが用いられてもよい。 When the alkoxysilane condensate is used as the siloxane polymer having a carboxyl group and a cyclic ether group, the adhesion of the pattern film to the substrate can be further enhanced. When obtaining the said alkoxysilane condensate which has a carboxyl group and a cyclic ether group, 1 type of alkoxysilanes may be used and 2 or more types of alkoxysilanes may be used.
上記環状エーテル基を有するアルコキシシランとして、2−(3,4−エポキシシクロヘキシル)エチルトリメトキシシラン、3−グリシドキシプロピルトリメトキシシラン、3−グリシドキシプロピルメチルジエトキシシラン又は3−グリシドキシプロピルトリエトキシシラン等が挙げられる。 As the alkoxysilane having the cyclic ether group, 2- (3,4-epoxycyclohexyl) ethyltrimethoxysilane, 3-glycidoxypropyltrimethoxysilane, 3-glycidoxypropylmethyldiethoxysilane or 3-glycid Examples include xylpropyltriethoxysilane.
上記カルボキシル基及び環状エーテル基を有するシロキサンポリマーを用いると、パターン膜の基板への密着性を高めることができる。特にパターン膜が形成される基板が金属又はITO等の金属酸化物からなる場合に、パターン膜の基板への密着性を極めて高めることができる。シロキサンポリマーは、1種のみが用いられてもよく、2種以上が併用されてもよい。 When the siloxane polymer having a carboxyl group and a cyclic ether group is used, the adhesion of the pattern film to the substrate can be enhanced. In particular, when the substrate on which the pattern film is formed is made of metal or a metal oxide such as ITO, the adhesion of the pattern film to the substrate can be greatly enhanced. Only one type of siloxane polymer may be used, or two or more types may be used in combination.
シロキサンポリマーにおける環状エーテル基の数のカルボキシル基の数に対する比(環状エーテル基の数/カルボキシル基の数)は0.1〜2の範囲内にあることが好ましい。上記比(環状エーテル基の数/カルボキシル基の数)が2を超えると、感光性組成物の現像性が低くなることがあり、0.1未満であると、環状エーテル基が少なすぎて、パターン膜の電気絶縁性が充分に高められないことがある。環状エーテル基は、エポキシ基であることが好ましい。 The ratio of the number of cyclic ether groups in the siloxane polymer to the number of carboxyl groups (number of cyclic ether groups / number of carboxyl groups) is preferably in the range of 0.1-2. When the ratio (number of cyclic ether groups / number of carboxyl groups) exceeds 2, the developability of the photosensitive composition may be low, and when it is less than 0.1, the number of cyclic ether groups is too small. The electrical insulation of the pattern film may not be sufficiently improved. The cyclic ether group is preferably an epoxy group.
上記カルボキシル基及びメルカプト基の内の少なくとも一方を有するシロキサンポリマーは、SiOH基の数のSi−O−Si結合の数に対する比(SiOH基の数/Si−O−Si結合の数)が0.02〜0.2の範囲内にあることが好ましい。上記比が0.02未満であると、露光によりシロキサンポリマーが充分に架橋しなかったり、感光性組成物の現像性が充分に高められなかったりすることがある。上記比が0.2を超えると、露光により感光性組成物が充分に硬化しないことがあり、露光された感光性組成物が現像液に溶解することがある。 The siloxane polymer having at least one of the carboxyl group and the mercapto group has a ratio of the number of SiOH groups to the number of Si—O—Si bonds (number of SiOH groups / number of Si—O—Si bonds) of 0. It is preferable that it exists in the range of 02-0.2. When the ratio is less than 0.02, the siloxane polymer may not be sufficiently crosslinked by exposure, or the developability of the photosensitive composition may not be sufficiently improved. When the ratio exceeds 0.2, the photosensitive composition may not be sufficiently cured by exposure, and the exposed photosensitive composition may be dissolved in the developer.
(キノンジアジド化合物)
第2の感光性組成物に含まれているキノンジアジド化合物は、現像液に対する溶解抑制剤である。キノンジアジド化合物を含有させることにより、第2の感光性組成物は、光が照射される前においては現像液に不溶になる。また、キノンジアジド化合物は光が照射されると、光反応によりアルカリ可溶なインデンカルボン酸に変化する。このため、キノンジアジド化合物を含む第2の感光性組成物は、光が照射された後に現像液に可溶になる。第2の感光性組成物は、上記キノンジアジド化合物が用いられているため、ポジ型の感光性組成物である。キノンジアジド化合物は単独で用いられてもよく、2種以上が併用されてもよい。(Quinonediazide compound)
The quinonediazide compound contained in the second photosensitive composition is a dissolution inhibitor for the developer. By containing the quinonediazide compound, the second photosensitive composition becomes insoluble in the developer before being irradiated with light. Further, when irradiated with light, the quinonediazide compound is converted into an indenecarboxylic acid that is alkali-soluble by a photoreaction. For this reason, the 2nd photosensitive composition containing a quinonediazide compound becomes soluble in a developing solution, after light irradiation. The second photosensitive composition is a positive photosensitive composition because the quinonediazide compound is used. A quinonediazide compound may be used independently and 2 or more types may be used together.
上記キノンジアジド化合物として、例えば、1,2−ベンゾキノンジアジド−4−スルホン酸エステル、1,2−ベンゾキノンジアジド−5−スルホン酸エステル、1,2−ナフトキノンジアジド−4−スルホン酸エステル、1,2−ナフトキノンジアジド−5−スルホン酸エステル、1,2−ベンゾキノンジアジド−4−スルホン酸アミド、1,2−ベンゾキノンジアジド−5−スルホン酸アミド、1,2−ナフトキノンジアジド−4−スルホン酸アミド、1,2−ナフトキノンジアジド−5−スルホン酸アミド等が挙げられる。なかでも、1,2−ナフトキノンジアジド−4−スルホン酸エステル又は1,2−ナフトキノンジアジド−5−スルホン酸エステルが好適に用いられる。キノンジアジド化合物は、単独で用いられてもよく、2種以上が併用されてもよい。 Examples of the quinonediazide compound include 1,2-benzoquinonediazide-4-sulfonic acid ester, 1,2-benzoquinonediazide-5-sulfonic acid ester, 1,2-naphthoquinonediazide-4-sulfonic acid ester, 1,2- Naphthoquinonediazide-5-sulfonic acid ester, 1,2-benzoquinonediazide-4-sulfonic acid amide, 1,2-benzoquinonediazide-5-sulfonic acid amide, 1,2-naphthoquinonediazide-4-sulfonic acid amide, 1, Examples include 2-naphthoquinonediazide-5-sulfonic acid amide. Of these, 1,2-naphthoquinonediazide-4-sulfonic acid ester or 1,2-naphthoquinonediazide-5-sulfonic acid ester is preferably used. A quinonediazide compound may be used independently and 2 or more types may be used together.
上記1,2−ナフトキノンジアジド−4−スルホン酸エステル又は1,2−ナフトキノンジアジド−5−スルホン酸エステルの具体例として、トリヒドロキシベンゾフェノンの1,2−ナフトキノンジアジドスルホン酸エステル類、テトラヒドロキシベンゾフェノンの1,2−ナフトキノンジアジドスルホン酸エステル類、ペンタヒドロキシベンゾフェノンの1,2−ナフトキノンジアジドスルホン酸エステル類、ヘキサヒドロキシベンゾフェノンの1,2−ナフトキノンジアジドスルホン酸エステル類、又はポリ(ヒドロキシフェニル)アルカンの1,2−ナフトキノンジアジドスルホン酸エステル類等が挙げられる。 Specific examples of the 1,2-naphthoquinonediazide-4-sulfonic acid ester or 1,2-naphthoquinonediazide-5-sulfonic acid ester include 1,2-naphthoquinonediazidesulfonic acid esters of trihydroxybenzophenone,
上記トリヒドロキシベンゾフェノンの1,2−ナフトキノンジアジドスルホン酸エステル類として、2,3,4−トリヒドロキシベンゾフェノン−1,2−ナフトキノンジアジド−4−スルホン酸エステル、2,3,4−トリヒドロキシベンゾフェノン−1,2−ナフトキノンジアジド−5−スルホン酸エステル、2,4,6−トリヒドロキシベンゾフェノン−1,2−ナフトキノンジアジド−4−スルホン酸エステル、又は2,4,6−トリヒドロキシベンゾフェノン−1,2−ナフトキノンジアジド−5−スルホン酸エステル等が挙げられる。 As the 1,2-naphthoquinone diazide sulfonic acid esters of trihydroxybenzophenone, 2,3,4-trihydroxybenzophenone-1,2-naphthoquinone diazide-4-sulfonic acid ester, 2,3,4-trihydroxybenzophenone- 1,2-naphthoquinonediazide-5-sulfonic acid ester, 2,4,6-trihydroxybenzophenone-1,2-naphthoquinonediazide-4-sulfonic acid ester, or 2,4,6-trihydroxybenzophenone-1,2 -Naphthoquinonediazide-5-sulfonic acid ester etc. are mentioned.
上記テトラヒドロキシベンゾフェノンの1,2−ナフトキノンジアジドスルホン酸エステル類として、2,2’,4,4’−テトラヒドロキシベンゾフェノン−1,2−ナフトキノンジアジド−4−スルホン酸エステル、2,2’,4,4’−テトラヒドロキシベンゾフェノン−1,2−ナフトキノンジアジド−5−スルホン酸エステル、2,3,4,3’−テトラヒドロキシベンゾフェノン−1,2−ナフトキノンジアジド−4−スルホン酸エステル、2,3,4,3’−テトラヒドロキシベンゾフェノン−1,2−ナフトキノンジアジド−5−スルホン酸エステル、2,3,4,4’−テトラヒドロキシベンゾフェノン−1,2−ナフトキノンジアジド−4−スルホン酸エステル、2,3,4,4’−テトラヒドロキシベンゾフェノン−1,2−ナフトキノンジアジド−5−スルホン酸エステル、2,3,4,2’−テトラヒドロキシ−4’−メチルベンゾフェノン−1,2−ナフトキノンジアジド−4−スルホン酸エステル、2,3,4,2’−テトラヒドロキシ−4’−メチルベンゾフェノン−1,2−ナフトキノンジアジド−5−スルホン酸エステル、2,3,4,4’−テトラヒドロキシ−3’−メトキシベンゾフェノン−1,2−ナフトキノンジアジド−4−スルホン酸エステル、又は2,3,4,4’−テトラヒドロキシ−3’−メトキシベンゾフェノン−1,2−ナフトキノンジアジド−5−スルホン酸エステル等が挙げられる。 As 1,2-naphthoquinone diazide sulfonic acid esters of tetrahydroxybenzophenone, 2,2 ′, 4,4′-tetrahydroxybenzophenone-1,2-naphthoquinone diazide-4-sulfonic acid ester, 2,2 ′, 4 , 4′-Tetrahydroxybenzophenone-1,2-naphthoquinonediazide-5-sulfonic acid ester, 2,3,4,3′-tetrahydroxybenzophenone-1,2-naphthoquinonediazide-4-sulfonic acid ester, 2,3 , 4,3'-tetrahydroxybenzophenone-1,2-naphthoquinonediazide-5-sulfonic acid ester, 2,3,4,4'-tetrahydroxybenzophenone-1,2-naphthoquinonediazide-4-sulfonic acid ester, 2, , 3,4,4′-Tetrahydroxybenzophenone- , 2-Naphthoquinonediazide-5-sulfonic acid ester, 2,3,4,2′-tetrahydroxy-4′-methylbenzophenone-1,2-naphthoquinonediazide-4-sulfonic acid ester, 2,3,4,2 '-Tetrahydroxy-4'-methylbenzophenone-1,2-naphthoquinonediazide-5-sulfonic acid ester, 2,3,4,4'-tetrahydroxy-3'-methoxybenzophenone-1,2-naphthoquinonediazide-4 -Sulphonic acid ester, 2,3,4,4'-tetrahydroxy-3'-methoxybenzophenone-1,2-naphthoquinonediazide-5-sulfonic acid ester and the like.
上記ペンタヒドロキシベンゾフェノンの1,2−ナフトキノンジアジドスルホン酸エステル類として、2,3,4,2’,6’−ペンタヒドロキシベンゾフェノン−1,2−ナフトキノンジアジド−4−スルホン酸エステル、又は2,3,4,2’,6’−ペンタヒドロキシベンゾフェノン−1,2−ナフトキノンジアジド−5−スルホン酸エステル等が挙げられる。 As the 1,2-naphthoquinonediazide sulfonic acid esters of pentahydroxybenzophenone, 2,3,4,2 ′, 6′-pentahydroxybenzophenone-1,2-naphthoquinonediazide-4-sulfonic acid ester, or 2,3 , 4,2 ′, 6′-pentahydroxybenzophenone-1,2-naphthoquinonediazide-5-sulfonic acid ester and the like.
上記ヘキサヒドロキシベンゾフェノンの1,2−ナフトキノンジアジドスルホン酸エステル類として、2,4,6,3’,4’,5’−ヘキサヒドロキシベンゾフェノン−1,2−ナフトキノンジアジド−4−スルホン酸エステル、2,4,6,3’,4’,5’−ヘキサヒドロキシベンゾフェノン−1,2−ナフトキノンジアジド−5−スルホン酸エステル、3,4,5,3’,4’,5’−ヘキサヒドロキシベンゾフェノン−1,2−ナフトキノンジアジド−4−スルホン酸エステル、又は3,4,5,3’,4’,5’−ヘキサヒドロキシベンゾフェノン−1,2−ナフトキノンジアジド−5−スルホン酸エステル等が挙げられる。 As the 1,2-naphthoquinone diazide sulfonic acid esters of hexahydroxybenzophenone, 2,4,6,3 ′, 4 ′, 5′-hexahydroxybenzophenone-1,2-naphthoquinone diazide-4-sulfonic acid ester, 2 , 4,6,3 ′, 4 ′, 5′-hexahydroxybenzophenone-1,2-naphthoquinonediazide-5-sulfonic acid ester, 3,4,5,3 ′, 4 ′, 5′-hexahydroxybenzophenone— Examples include 1,2-naphthoquinonediazide-4-sulfonic acid ester, 3,4,5,3 ′, 4 ′, 5′-hexahydroxybenzophenone-1,2-naphthoquinonediazide-5-sulfonic acid ester, and the like.
上記ポリ(ヒドロキシフェニル)アルカンの1,2−ナフトキノンジアジドスルホン酸エステル類として、ビス(2,4−ジヒドロキシフェニル)メタン−1,2−ナフトキノンジアジド−4−スルホン酸エステル、ビス(2,4−ジヒドロキシフェニル)メタン−1,2−ナフトキノンジアジド−5−スルホン酸エステル、ビス(p−ヒドロキシフェニル)メタン−1,2−ナフトキノンジアジド−4−スルホン酸エステル、ビス(p−ヒドロキシフェニル)メタン−1,2−ナフトキノンジアジド−5−スルホン酸エステル、トリ(p−ヒドロキシフェニル)メタン−1,2−ナフトキノンジアジド−4−スルホン酸エステル、トリ(p−ヒドロキシフェニル)メタン−1,2−ナフトキノンジアジド−5−スルホン酸エステル、2,2,2−トリ(p−ヒドロキシフェニル)エタン−1,2−ナフトキノンジアジド−4−スルホン酸エステル、2,2,2−トリ(p−ヒドロキシフェニル)エタン−1,2−ナフトキノンジアジド−5−スルホン酸エステル、ビス(2,3,4−トリヒドロキシフェニル)メタン−1,2−ナフトキノンジアジド−4−スルホン酸エステル、ビス(2,3,4−トリヒドロキシフェニル)メタン−1,2−ナフトキノンジアジド−5−スルホン酸エステル、2,2−ビス(2,3,4−トリヒドロキシフェニル)プロパン−1,2−ナフトキノンジアジド−4−スルホン酸エステル、2,2−ビス(2,3,4−トリヒドロキシフェニル)プロパン−1,2−ナフトキノンジアジド−5−スルホン酸エステル、1,1,3−トリス(2,5−ジメチル−4−ヒドロキシフェニル)−3−フェニルプロパン−1,2−ナフトキノンジアジド−4−スルホン酸エステル、1,1,3−トリス(2,5−ジメチル−4−ヒドロキシフェニル)−3−フェニルプロパン−1,2−ナフトキノンジアジド−5−スルホン酸エステル、4,4’−〔1−{4−(1−[4−ヒドロキシフェニル]−1−メチルエチル)フェニル}エチリデン〕ビスフェノール−1,2−ナフトキノンジアジド−4−スルホン酸エステル、4,4’−〔1−{4−(1−[4−ヒドロキシフェニル]−1−メチルエチル)フェニル}エチリデン〕ビスフェノール−1,2−ナフトキノンジアジド−5−スルホン酸エステル、ビス(2,5−ジメチル−4−ヒドロキシフェニル)(2−ヒドロキシフェニル)メタン−1,2−ナフトキノンジアジド−4−スルホン酸エステル、ビス(2,5−ジメチル−4−ヒドロキシフェニル)(2−ヒドロキシフェニル)メタン−1,2−ナフトキノンジアジド−5−スルホン酸エステル、3,3,3’,3’−テトラメチル−1,1’−スピロビインデン−5,6,7,5’,6’,7’−ヘキサノール−1,2−ナフトキノンジアジド−4−スルホン酸エステル、3,3,3’,3’−テトラメチル−1,1’−スピロビインデン−5,6,7,5’,6’,7’−ヘキサノール−1,2−ナフトキノンジアジド−5−スルホン酸エステル、2,2,4−トリメチル−7,2’,4’−トリヒドロキシフラバン−1,2−ナフトキノンジアジド−4−スルホン酸エステル、2,2,4−トリメチル−7,2’,4’−トリヒドロキシフラバン−1,2−ナフトキノンジアジド−5−スルホン酸エステル、2−メチル−2−(2,4−ジヒドロキシフェニル)−4−(4−ヒドロキシフェニル)−7−ヒドロキシクロマン−1,2−ナフトキノンジアジド−4−スルホン酸エステル、2−メチル−2−(2,4−ジヒドロキシフェニル)−4−(4−ヒドロキシフェニル)−7−ヒドロキシクロマン−1,2−ナフトキノンジアジド−5−スルホン酸エステル、2−〔ビス(5−i−プロピル−4−ヒドロキシ−2−メチルフェニル)メチル〕フェノール−1,2−ナフトキノンジアジド−4−スルホン酸エステル、2−〔ビス(5−i−プロピル−4−ヒドロキシ−2−メチルフェニル)メチル〕フェノール−1,2−ナフトキノンジアジド−5−スルホン酸エステル、1−〔1−{3−(1−[4−ヒドロキシフェニル]−1−メチルエチル)−4,6−ジヒドロキシフェニル}−1−メチルエチル〕−3−〔1−{3−(1−[4−ヒドロキシフェニル]−1−メチルエチル)−4,6−ジヒドロキシフェニル}−1−メチルエチル〕ベンゼン−1,2−ナフトキノンジアジド−4−スルホン酸エステル、1−〔1−{3−(1−[4−ヒドロキシフェニル]−1−メチルエチル)−4,6−ジヒドロキシフェニル}−1−メチルエチル〕−3−〔1−{3−(1−[4−ヒドロキシフェニル]−1−メチルエチル)−4,6−ジヒドロキシフェニル}−1−メチルエチル〕ベンゼン−1,2−ナフトキノンジアジド−5−スルホン酸エステル、4,6−ビス〔1−(4−ヒドロキシフェニル)−1−メチルエチル〕−1,3−ジヒドロキシベンゼン−1,2−ナフトキノンジアジド−4−スルホン酸エステル、又は4,6−ビス〔1−(4−ヒドロキシフェニル)−1−メチルエチル〕−1,3−ジヒドロキシベンゼン−1,2−ナフトキノンジアジド−5−スルホン酸エステル等が挙げられる。 Examples of the 1,2-naphthoquinone diazide sulfonic acid esters of the above poly (hydroxyphenyl) alkane include bis (2,4-dihydroxyphenyl) methane-1,2-naphthoquinone diazide-4-sulfonic acid ester, bis (2,4- Dihydroxyphenyl) methane-1,2-naphthoquinonediazide-5-sulfonic acid ester, bis (p-hydroxyphenyl) methane-1,2-naphthoquinonediazide-4-sulfonic acid ester, bis (p-hydroxyphenyl) methane-1 , 2-Naphthoquinonediazide-5-sulfonic acid ester, tri (p-hydroxyphenyl) methane-1,2-naphthoquinonediazide-4-sulfonic acid ester, tri (p-hydroxyphenyl) methane-1,2-naphthoquinonediazide- 5-sulfonic acid ester, 2,2 2-tri (p-hydroxyphenyl) ethane-1,2-naphthoquinonediazide-4-sulfonic acid ester, 2,2,2-tri (p-hydroxyphenyl) ethane-1,2-naphthoquinonediazide-5-sulfonic acid Ester, bis (2,3,4-trihydroxyphenyl) methane-1,2-naphthoquinonediazide-4-sulfonic acid ester, bis (2,3,4-trihydroxyphenyl) methane-1,2-naphthoquinonediazide- 5-sulfonic acid ester, 2,2-bis (2,3,4-trihydroxyphenyl) propane-1,2-naphthoquinonediazide-4-sulfonic acid ester, 2,2-bis (2,3,4-tri Hydroxyphenyl) propane-1,2-naphthoquinonediazide-5-sulfonic acid ester, 1,1,3-tris (2,5- Methyl-4-hydroxyphenyl) -3-phenylpropane-1,2-naphthoquinonediazide-4-sulfonic acid ester, 1,1,3-tris (2,5-dimethyl-4-hydroxyphenyl) -3-phenylpropane -1,2-naphthoquinonediazide-5-sulfonic acid ester, 4,4 ′-[1- {4- (1- [4-hydroxyphenyl] -1-methylethyl) phenyl} ethylidene] bisphenol-1,2- Naphthoquinonediazide-4-sulfonic acid ester, 4,4 ′-[1- {4- (1- [4-hydroxyphenyl] -1-methylethyl) phenyl} ethylidene] bisphenol-1,2-naphthoquinonediazide-5 Sulfonic acid ester, bis (2,5-dimethyl-4-hydroxyphenyl) (2-hydroxyphenyl) methane-1 , 2-Naphthoquinonediazide-4-sulfonic acid ester, bis (2,5-dimethyl-4-hydroxyphenyl) (2-hydroxyphenyl) methane-1,2-naphthoquinonediazide-5-sulfonic acid ester, 3,3, 3 ′, 3′-tetramethyl-1,1′-spirobiindene-5,6,7,5 ′, 6 ′, 7′-hexanol-1,2-naphthoquinonediazide-4-sulfonic acid ester, 3, 3,3 ′, 3′-tetramethyl-1,1′-spirobiindene-5,6,7,5 ′, 6 ′, 7′-hexanol-1,2-naphthoquinonediazide-5-sulfonic acid ester, 2,2,4-trimethyl-7,2 ′, 4′-trihydroxyflavan-1,2-naphthoquinonediazide-4-sulfonic acid ester, 2,2,4-trimethyl-7,2 ′, 4′- Rehydroxyflavan-1,2-naphthoquinonediazide-5-sulfonic acid ester, 2-methyl-2- (2,4-dihydroxyphenyl) -4- (4-hydroxyphenyl) -7-hydroxychroman-1,2- Naphthoquinonediazide-4-sulfonic acid ester, 2-methyl-2- (2,4-dihydroxyphenyl) -4- (4-hydroxyphenyl) -7-hydroxychroman-1,2-naphthoquinonediazide-5-sulfonic acid ester 2- [bis (5-i-propyl-4-hydroxy-2-methylphenyl) methyl] phenol-1,2-naphthoquinonediazide-4-sulfonic acid ester, 2- [bis (5-i-propyl-4 -Hydroxy-2-methylphenyl) methyl] phenol-1,2-naphthoquinonediazide-5-sulfone Ester, 1- [1- {3- (1- [4-hydroxyphenyl] -1-methylethyl) -4,6-dihydroxyphenyl} -1-methylethyl] -3- [1- {3- (1 -[4-hydroxyphenyl] -1-methylethyl) -4,6-dihydroxyphenyl} -1-methylethyl] benzene-1,2-naphthoquinonediazide-4-sulfonic acid ester, 1- [1- {3- (1- [4-hydroxyphenyl] -1-methylethyl) -4,6-dihydroxyphenyl} -1-methylethyl] -3- [1- {3- (1- [4-hydroxyphenyl] -1- Methylethyl) -4,6-dihydroxyphenyl} -1-methylethyl] benzene-1,2-naphthoquinonediazide-5-sulfonic acid ester, 4,6-bis [1- (4-hydroxyphenyl) -1-methylethyl] -1,3-dihydroxybenzene-1,2-naphthoquinonediazide-4-sulfonic acid ester, or 4,6-bis [1- (4-hydroxyphenyl) -1-methylethyl] -1 , 3-dihydroxybenzene-1,2-naphthoquinonediazide-5-sulfonic acid ester and the like.
上記キノンジアジド化合物として、「J. Kosar著「Light−Sensitive Systems 」(John Wiley&Sons社、1965年発行)p.339」や、「W.S. De Fores 著「Photoresist 」(McGraw−Hill 社、1975年発行) p.50」に記載されている1,2−ナフトキノンジアジド−4−スルホン酸エステル又は1,2−ナフトキノンジアジド−5−スルホン酸エステルを用いることもできる。なかでも、1,2−ナフトキノンジアジド−5−スルホン酸エステルが好ましい。 Examples of the quinonediazide compound include “Light-Sensitive Systems” written by J. Kosar (published by John Wiley & Sons, 1965) p. 339 "or" Photoresist "by WS De Fores (McGraw-Hill, 1975) p. 1, 2-naphthoquinonediazide-4-sulfonic acid ester or 1,2-naphthoquinonediazide-5-sulfonic acid ester described in "50" can also be used. Of these, 1,2-naphthoquinonediazide-5-sulfonic acid ester is preferable.
上記1,2ナフトキノンジアジド−5−スルホン酸エステルは、2,3,4−トリヒドロキシベンゾフェノン−1,2−ナフトキノンジアジド−5−スルホン酸エステル、2,3,4,4’−テトラヒドロキシベンゾフェノン−1,2−ナフトキノンジアジド−5−スルホン酸エステル、1,1,3−トリス(2,5−ジメチル−4−ヒドロキシフェニル)−3−フェニルプロパン−1,2−ナフトキノンジアジド−5−スルホン酸エステル、4,4’−4,4’−〔1−{4−(1−[4−ヒドロキシフェニル]−1−メチルエチル)フェニル}エチリデン〕ビスフェノール−1,2−ナフトキノンジアジド−5−スルホン酸エステル、2,2,4−トリメチル−7,2’,4’−トリヒドロキシフラバン−1,2−ナフトキノンジアジド−5−スルホン酸エステル、2,2,2−トリ(p−ヒドロキシフェニル)エタン−1,2−ナフトキノンジアジド−5−スルホン酸エステル、又は2−メチル−2−(2,4−ジヒドロキシフェニル)−4−(4−ヒドロキシフェニル)−7−ヒドロキシクロマン−1,2−ナフトキノンジアジド−5−スルホン酸エステルであることが好ましい。これらの好ましい1,2ナフトキノンジアジド−5−スルホン酸エステルを用いた場合には、感光性組成物のアルカリ現像液への溶解抑制効果を高めることができる。 The 1,2, naphthoquinonediazide-5-sulfonic acid ester is 2,3,4-trihydroxybenzophenone-1,2-naphthoquinonediazide-5-sulfonic acid ester, 2,3,4,4′-tetrahydroxybenzophenone— 1,2-naphthoquinonediazide-5-sulfonic acid ester, 1,1,3-tris (2,5-dimethyl-4-hydroxyphenyl) -3-phenylpropane-1,2-naphthoquinonediazide-5-sulfonic acid ester 4,4'-4,4 '-[1- {4- (1- [4-hydroxyphenyl] -1-methylethyl) phenyl} ethylidene] bisphenol-1,2-naphthoquinonediazide-5-
第2の感光性組成物は、上記カルボキシル基及びメルカプト基の内の少なくとも一方を有するシロキサンポリマー100重量部に対し、上記キノンジアジド化合物を5〜70重量部の範囲内で含むことが好ましい。キノンジアジド化合物が少なすぎると、光が照射されていない感光性組成物が現像液に溶解し易くなり、多すぎると、感光性組成物を均一に塗布することが困難となったり、現像後に残渣を生じたりすることがある。 It is preferable that a 2nd photosensitive composition contains the said quinonediazide compound in the range of 5-70 weight part with respect to 100 weight part of siloxane polymers which have at least one of the said carboxyl group and mercapto group. If the amount of the quinonediazide compound is too small, the photosensitive composition that is not irradiated with light is easily dissolved in the developer, and if it is too large, it is difficult to uniformly apply the photosensitive composition, or residues after development are removed. May occur.
[第1,第2の感光性組成物に配合され得る他の成分]
感光性組成物は、溶剤を含んでいてもよい。溶剤として、感光性組成物に配合される成分を溶解し得る適宜の溶剤を用いることができる。[Other components that can be blended in the first and second photosensitive compositions]
The photosensitive composition may contain a solvent. As the solvent, an appropriate solvent capable of dissolving the components blended in the photosensitive composition can be used.
上記溶剤は特に限定されない。上記溶剤として、芳香族炭化水素化合物、飽和もしくは不飽和炭化水素化合物、エーテル類、ケトン類又はエステル類等が挙げられる。 The solvent is not particularly limited. Examples of the solvent include aromatic hydrocarbon compounds, saturated or unsaturated hydrocarbon compounds, ethers, ketones, and esters.
上記芳香族炭化水素化合物として、例えば、ベンゼン、キシレン、トルエン、エチルベンゼン、スチレン、トリメチルベンゼン又はジエチルベンゼン等が挙げられる。 Examples of the aromatic hydrocarbon compound include benzene, xylene, toluene, ethylbenzene, styrene, trimethylbenzene, and diethylbenzene.
上記飽和もしくは不飽和炭化水素化合物として、シクロヘキサン、シクロヘキセン、ジペンテン、n−ペンタン、イソペンタン、n−ヘキサン、イソヘキサン、n−ヘプタン、イソヘプタン、n−オクタン、イソオクタン、n−ノナン、イソノナン、n−デカン、イソデカン、テトラヒドロフラン、テトラヒドロナフタレン又はスクワラン等が挙げられる。 Examples of the saturated or unsaturated hydrocarbon compound include cyclohexane, cyclohexene, dipentene, n-pentane, isopentane, n-hexane, isohexane, n-heptane, isoheptane, n-octane, isooctane, n-nonane, isononane, n-decane, Examples include isodecane, tetrahydrofuran, tetrahydronaphthalene, and squalane.
上記エーテル類として、ジエチルエーテル、ジ−n−プロピルエーテル、ジ−イソプロピルエーテル、ジブチルエーテル、エチルプロピルエーテル、ジフェニルエーテル、ジエチレングリコールジメチルエーテル、ジエチレングリコールジエチルエーテル、ジエチレングリコールジブチルエーテル、ジエチレングリコールメチルエチルエーテル、ジプロピレングリコールジメチルエーテル、ジプロピレングリコールジエチルエーテル、ジプロピレングリコールジブチルエーテル、ジプロピレングリコールメチルエチルエーテル、エチレングリコールジメチルエーテル、エチレングリコールジエチルエーテル、エチレングリコールジプロピルエーテル、エチレングリコールメチルエチルエーテル、テトラヒドロフラン、1,4−ジオキサン、プロピレングリコールモノメチルエーテルアセテート、エチレングリコールモノエチルエーテルアセテート、ジプロピレングリコールメチルエーテルアセテート、ジエチレングリコールモノエチルエーテルアセテート、エチルシクロヘキサン、メチルシクロヘキサン、p−メンタン、o−メンタン、m−メンタン、ジプロピルエーテル又はジブチルエーテル等が挙げられる。 Examples of the ethers include diethyl ether, di-n-propyl ether, di-isopropyl ether, dibutyl ether, ethyl propyl ether, diphenyl ether, diethylene glycol dimethyl ether, diethylene glycol diethyl ether, diethylene glycol dibutyl ether, diethylene glycol methyl ethyl ether, dipropylene glycol dimethyl ether, Dipropylene glycol diethyl ether, dipropylene glycol dibutyl ether, dipropylene glycol methyl ethyl ether, ethylene glycol dimethyl ether, ethylene glycol diethyl ether, ethylene glycol dipropyl ether, ethylene glycol methyl ethyl ether, tetrahydrofuran, 1,4-dioxane, polypropylene Pyrene glycol monomethyl ether acetate, ethylene glycol monoethyl ether acetate, dipropylene glycol methyl ether acetate, diethylene glycol monoethyl ether acetate, ethylcyclohexane, methylcyclohexane, p-menthane, o-menthane, m-menthane, dipropyl ether or dibutyl ether Etc.
上記ケトン類として、アセトン、メチルエチルケトン、メチルイソブチルケトン、ジエチルケトン、ジプロピルケトン、メチルアミルケトン、シクロペンタノン、シクロヘキサノン又はシクロヘプタノン等が挙げられる。 Examples of the ketones include acetone, methyl ethyl ketone, methyl isobutyl ketone, diethyl ketone, dipropyl ketone, methyl amyl ketone, cyclopentanone, cyclohexanone, and cycloheptanone.
上記エステル類として、酢酸エチル、酢酸メチル、酢酸ブチル、酢酸プロピル、酢酸シクロヘキシル、酢酸メチルセロソルブ、酢酸エチルセロソルブ、酢酸ブチルセロソルブ、乳酸エチル、乳酸プロピル、乳酸ブチル、乳酸イソアミル又はステアリン酸ブチル等が挙げられる。 Examples of the esters include ethyl acetate, methyl acetate, butyl acetate, propyl acetate, cyclohexyl acetate, methyl cellosolve, ethyl acetate cellosolve, butyl cellosolve, ethyl lactate, propyl lactate, butyl lactate, isoamyl lactate, and butyl stearate. .
例えば基板上に感光性組成物を塗工し、感光性組成物層を形成する際に、均一に塗工されるように、上記溶剤の配合量は適宜設定される。溶剤は、固形分濃度が0.5〜70重量%の範囲内になるように含有されることが好ましく、固形分濃度が2〜50重量%の範囲内になるように含有されることがより好ましい。 For example, when the photosensitive composition is applied onto a substrate to form a photosensitive composition layer, the amount of the solvent is appropriately set so that the solvent is uniformly applied. The solvent is preferably contained so that the solid content concentration is in the range of 0.5 to 70% by weight, and more preferably contained so that the solid content concentration is in the range of 2 to 50% by weight. preferable.
感光性組成物には、必要に応じて、他の添加剤をさらに添加してもよい。上記添加剤として、フィラーなどの充填剤、顔料、染料、レベリング剤、消泡剤、帯電防止剤、紫外線吸収剤、pH調整剤、分散剤、分散助剤、表面改質剤、可塑剤、可塑促進剤又はタレ防止剤等が挙げられる。 If necessary, other additives may be further added to the photosensitive composition. As the above additives, fillers such as fillers, pigments, dyes, leveling agents, antifoaming agents, antistatic agents, ultraviolet absorbers, pH adjusters, dispersants, dispersion aids, surface modifiers, plasticizers, plasticizers Examples include accelerators and sagging inhibitors.
[パターン膜の製造方法]
以下、第1,第2の感光性組成物を用いたパターン膜の製造方法を説明する。[Pattern film manufacturing method]
Hereinafter, the manufacturing method of the pattern film | membrane using the 1st, 2nd photosensitive composition is demonstrated.
パターン膜の製造方法は、本発明に従って構成された感光性組成物を基板上に塗工し、基板上に感光性組成物層を形成する工程と、前記感光性組成物層が光の照射された露光部と光の照射されていない未露光部とを有するように前記感光性組成物層を部分的に露光することにより、前記露光部の前記感光性組成物層を現像液に可溶にする工程と、前記感光性組成物層を現像液で現像することにより、前記露光部の前記感光性組成物層を除去し、前記未露光部の前記感光性組成物からなるパターン膜を形成する工程とを備えることが好ましい。 The pattern film manufacturing method includes a step of coating a photosensitive composition constituted according to the present invention on a substrate to form a photosensitive composition layer on the substrate, and the photosensitive composition layer is irradiated with light. The photosensitive composition layer of the exposed portion is made soluble in a developer by partially exposing the photosensitive composition layer to have an exposed portion and an unexposed portion that is not irradiated with light. And developing the photosensitive composition layer with a developer to remove the photosensitive composition layer in the exposed portion and form a pattern film made of the photosensitive composition in the unexposed portion. It is preferable to provide a process.
パターン膜の製造方法は、現像工程の後に、前記未露光部の前記感光性組成物からなるパターン膜を加熱し、硬化させる工程をさらに備えることがより好ましい。前記未露光部の前記感光性組成物からなるパターン膜を加熱することにより、未露光部の前記感光性組成物は焼成される。 More preferably, the pattern film manufacturing method further includes a step of heating and curing the pattern film made of the photosensitive composition in the unexposed area after the development step. By heating the pattern film made of the photosensitive composition in the unexposed area, the photosensitive composition in the unexposed area is baked.
以下、パターン膜の製造方法を具体的に説明する。 Hereinafter, the method for producing the pattern film will be specifically described.
感光性組成物を用いてパターン膜を形成する際には、先ず、例えば図2(a)に示すように、基板2上に感光性組成物を塗工し、基板2上に感光性組成物層1を形成する。 When forming a pattern film using the photosensitive composition, first, as shown in FIG. 2A, for example, the photosensitive composition is applied onto the
塗工方法として、スピンコーティング、スリットコーティング、ダイコーティング又はスクリーン印刷などの適宜の方法を用いることができる。また、塗工方法として、ディスペンサー、ディッピング、インクジェット印刷、スタンプ、スプレーコート又はカーテンコート等を用いることができる。基板2として、シリコン基板、ガラス基板、金属板又はプラスチックス板等が用途に応じて用いられる。基板2上に形成される感光性組成物層1の厚さは、用途によって適宜変更され得る。感光性組成物層1の厚さは、10nm〜10μm程度である。 As a coating method, an appropriate method such as spin coating, slit coating, die coating, or screen printing can be used. As a coating method, a dispenser, dipping, ink jet printing, stamping, spray coating, curtain coating, or the like can be used. As the
次に、必要に応じて、基板2上に形成された感光性組成物層1を乾燥する。感光性組成物層1が溶剤を含む場合、溶剤を除去するために、露光前に、感光性組成物層1を熱処理することが望ましい。露光前熱処理温度は、一般的には、40〜200℃の範囲内である。露光前熱処理温度は、溶剤の沸点や蒸気圧に応じて適宜選択される。 Next, the
次に、図2(b)に示すように、形成するパターンに応じて、感光性組成物層1が光の照射された露光部1aと光の照射されていない未露光部1bとを有するように、感光性組成物層1を部分的に露光する。 Next, as shown in FIG. 2B, the
感光性組成物層1を部分的に露光するには、例えば開口部3aと、マスク部3bとを有するマスク3を用いればよい。マスク3として、市販されている一般的なフォトマスク等が用いられる。 In order to partially expose the
光の照射された露光部1aでは、キノンジアジド化合物が光反応によりアルカリ可溶なインデンカルボン酸に変化する。この結果、露光部1aの感光性組成物層1は現像液に可溶になる。光の照射されていない未露光部1bの感光性組成物層1には、溶解抑制剤としてのキノンジアジド化合物が含まれている。従って、未露光部1bの感光性組成物層1は、現像液に不溶である。 In the exposed part 1a irradiated with light, the quinonediazide compound is changed to alkali-soluble indenecarboxylic acid by a photoreaction. As a result, the
露光する際に、紫外線又は可視光線等の活性エネルギー線を照射するための光源は、特に限定されない。上記光源として、超高圧水銀灯、Deep UV ランプ、高圧水銀灯、低圧水銀灯、メタルハライドランプ又はエキシマレーザー等を使用できる。これらの光源は、感光性組成物の構成成分の感光波長に応じて適宜選択される。光の照射エネルギーは、所望とする膜厚や感光性組成物の構成成分により適宜選択される。光の照射エネルギーは、一般に、10〜3000mJ/cm2の範囲内である。光の照射エネルギーが10mJ/cm2未満であると、露光部1aの感光性組成物層1が充分に硬化しないことがある。光の照射エネルギーが3000mJ/cm2を超えると、露光時間が長すぎることがあり、パターン膜の製造効率が低下するおそれがある。The light source for irradiating active energy rays such as ultraviolet rays or visible rays during exposure is not particularly limited. As the light source, an ultrahigh pressure mercury lamp, a deep UV lamp, a high pressure mercury lamp, a low pressure mercury lamp, a metal halide lamp, an excimer laser, or the like can be used. These light sources are appropriately selected according to the photosensitive wavelength of the constituent components of the photosensitive composition. The irradiation energy of light is appropriately selected depending on the desired film thickness and the constituent components of the photosensitive composition. The irradiation energy of light is generally in the range of 10 to 3000 mJ / cm2 . When the irradiation energy of light is less than 10 mJ / cm2 , the
次に、感光性組成物層1を現像液により現像する。現像により、露光部1aの感光性組成物層1が現像液に溶解して除去される。未露光部1bの感光性組成物層1は、基板2上に残る。この結果、図2(c)に示すように、未露光部1bの感光性組成物からなるパターン形状のパターン膜1Aが得られる。このパターンは、露光部1aの感光性組成物層1が除去されることから、ポジ型パターンといわれる。 Next, the
現像液とは、感光性組成物層1を部分的に露光した後、露光部1aの感光性組成物層1を溶解する液である。露光部1bの感光性組成物層1は、キノンジアジド化合物が含まれているため、現像液に溶解しない。 The developer is a solution that dissolves the
カルボキシル基を有するシロキサンポリマーを用いた場合、該カルボキシル基の存在により、アルカリ水溶液に対する現像性を高めることができる。カルボキシル基を有するシロキサンポリマーを含む感光性組成物は、現像液としてのアルカリ溶液に対する溶解性が高いので、現像により、露光部1aの感光性組成物層1を容易に除去できる。このため、現像後に残渣が生じ難い。また、現像に際し、現像液として比較的低濃度のアルカリ溶液などを用いることができる。よって、作業環境の悪化を防止でき、かつ廃液による環境負荷を低減できる。さらに、アルカリ水溶液を用いた場合には、防爆設備が不要であり、腐蝕等による設備負担も低減できる。 When a siloxane polymer having a carboxyl group is used, the developability for an aqueous alkali solution can be enhanced by the presence of the carboxyl group. Since the photosensitive composition containing the siloxane polymer which has a carboxyl group has high solubility with respect to the alkali solution as a developing solution, the
現像の操作は、アルカリ水溶液等の現像液により感光性組成物層1を処理する様々な操作を含む。現像の操作として、露光部1aの感光性組成物層1や未露光部1bの感光性組成物層1を浸漬する操作、該感光性組成物層1の表面を現像液で洗い流す操作、又は上記感光性組成物層1の表面に現像液を噴射する操作等が挙げられる。 The development operation includes various operations for treating the
現像液として、露光後に、未露光部1bの感光性組成物層1は溶解せずに、かつ露光部1aの感光性組成物層1を溶解する液が用いられる。防爆設備が不要であり、腐蝕等による設備負担も少ないので、現像液として、アルカリ水溶液が好適に用いられる。 As the developing solution, a solution that does not dissolve the
上記アルカリ水溶液として、例えば、テトラメチルアンモニウムヒドロキシド水溶液、珪酸ナトリウム水溶液、水酸化ナトリウム水溶液、水酸化カリウム水溶液又は炭酸ナトリウム水溶液等が挙げられる。現像時間は、感光性組成物層1の厚みや溶剤の種類にもより適宜設定される。効率良く現像でき、かつ製造効率を高めることができるため、現像時間は、1秒〜10分の範囲内にあることが好ましく、10秒〜5分の範囲内にあることが好ましい。現像後に、パターン膜1Aを蒸留水で洗浄し、パターン膜1A上に残存しているアルカリ水溶液等の現像液を除去することが好ましい。 Examples of the alkaline aqueous solution include a tetramethylammonium hydroxide aqueous solution, a sodium silicate aqueous solution, a sodium hydroxide aqueous solution, a potassium hydroxide aqueous solution, and a sodium carbonate aqueous solution. The development time is appropriately set depending on the thickness of the
現像後に、基板2上に残存している未露光部1bの感光性組成物層1により形成されたパターン膜1Aを再露光することが好ましい。再露光することにより、キノンジアジド化合物が反応することにより、得られるパターン膜の透明性を向上させることができる。 After development, it is preferable to re-expose the pattern film 1A formed by the
次に、基板2上に残存している未露光部1bの感光性組成物層1により形成されたパターン膜1Aを加熱することが好ましい。加熱によって、図2(d)に示すように、パターン膜1Aが焼成され、緻密でかつ硬質の感光性組成物の硬化物からなるパターン膜1Bを得ることができる。 Next, it is preferable to heat the
上記加熱の条件は特に限定されない。上記加熱の温度は、200〜500℃程度である。上記加熱の時間は、30分〜2時間程度である。これにより、基板2上にパターン膜1Bを得ることができる。 The heating conditions are not particularly limited. The heating temperature is about 200 to 500 ° C. The heating time is about 30 minutes to 2 hours. Thereby, the
[パターン膜の用途]
本発明に係る感光性組成物により形成されたパターン膜は、様々な装置のパターン膜を形成するのに好適に用いられる。例えば、電子デバイスの絶縁保護膜などの保護膜、液晶表示素子などの表示素子の配向膜、保護膜、EL素子の保護膜又は電界放出ディスプレイのギャップスペーサー等が、本発明の感光性組成物により形成される。[Application of pattern film]
The pattern film formed with the photosensitive composition according to the present invention is suitably used for forming pattern films for various apparatuses. For example, a protective film such as an insulating protective film of an electronic device, an alignment film of a display element such as a liquid crystal display element, a protective film, a protective film of an EL element, or a gap spacer of a field emission display is formed by the photosensitive composition of the present invention. It is formed.
上記保護膜として、ブラックマトリックス、スペーサー、パッシベーション膜又はオーバーコート膜等が挙げられる。 Examples of the protective film include a black matrix, a spacer, a passivation film, and an overcoat film.
また、拡散板、プリズムレンズシート、導光板、位相差板、レンチキュラーシート、マイクロレンズアレイ、屈折率傾斜シート、複屈性フィルム、楕円レンズ、導波路、光スイッチ、無反射膜、ホログラム、光ディスクHVD、感光性カバーレイ、樹脂コアバンプ、チップ積層用ギャップ保持剤、CCDのダム材、部品内臓基板用コイル材料、LSIテスティングプローバの芯、三次元配線材料、バイオフィルム、凸版原版、凹版原版、樹脂型又は研磨テープ等に、本発明の感光性組成物を用いることができる。 Also, diffusion plate, prism lens sheet, light guide plate, phase difference plate, lenticular sheet, microlens array, refractive index gradient sheet, birefringent film, elliptical lens, waveguide, optical switch, non-reflective film, hologram, optical disk HVD , Photosensitive coverlays, resin core bumps, chip stacking gap retention agents, CCD dam materials, coil materials for internal organ boards, LSI testing prober cores, three-dimensional wiring materials, biofilms, letterpress original plates, intaglio original plates, resins The photosensitive composition of the present invention can be used for a mold or a polishing tape.
次に、本発明の具体的な実施例及び比較例を挙げることにより、本発明をより明らかにする。なお、本発明は以下の実施例に限定されない。 Next, the present invention will be further clarified by giving specific examples and comparative examples of the present invention. The present invention is not limited to the following examples.
[第1の感光性組成物の実施例及び比較例]
(1)アクリルポリマー(A)
アクリルポリマー(A1)の合成:
攪拌装置、冷却管、温度計、窒素及び空気導入管を設置した3Lのセパラブルフラスコに、溶媒としてジエチレングリコールジメチルエーテル750gを仕込み、窒素雰囲気下にて90℃に昇温した。その後、セパラブルフラスコにメタクリル酸メチル320g、メタクリル酸80g及びアゾビスバレロニトリル4gの混合液を3時間かけて連続的に滴下した。次に、セパラブルフラスコ内を90℃にて30分間保持した後、セパラブルフラスコ内を105℃に昇温し、3時間重合を継続し、アクリルポリマー(A1)を含む溶液を得た。[Examples and Comparative Examples of First Photosensitive Composition]
(1) Acrylic polymer (A)
Synthesis of acrylic polymer (A1):
750 g of diethylene glycol dimethyl ether as a solvent was charged into a 3 L separable flask equipped with a stirrer, a cooling tube, a thermometer, nitrogen and an air introduction tube, and the temperature was raised to 90 ° C. in a nitrogen atmosphere. Thereafter, a mixed liquid of 320 g of methyl methacrylate, 80 g of methacrylic acid and 4 g of azobisvaleronitrile was continuously added dropwise to the separable flask over 3 hours. Next, after maintaining the inside of the separable flask at 90 ° C. for 30 minutes, the inside of the separable flask was heated to 105 ° C., and polymerization was continued for 3 hours to obtain a solution containing the acrylic polymer (A1).
得られたアクリルポリマー(A1)をサンプリングし、ゲルパーミエーションクロマトグラフィー(GPC)にて分子量を測定したところ、重量平均分子量(Mw)は2万であった。 When the obtained acrylic polymer (A1) was sampled and the molecular weight was measured by gel permeation chromatography (GPC), the weight average molecular weight (Mw) was 20,000.
アクリルポリマー(A2)の合成:
アゾビスバレロニトリルの配合量を4gから3g、重合時間を3時間から6時間にそれぞれ変更したこと以外はアクリルポリマー(A1)の合成と同様にして、アクリルポリマー(A2)を含む溶液を得た。Synthesis of acrylic polymer (A2):
A solution containing the acrylic polymer (A2) was obtained in the same manner as the synthesis of the acrylic polymer (A1) except that the amount of azobisvaleronitrile was changed from 4 g to 3 g and the polymerization time was changed from 3 hours to 6 hours. .
得られたアクリルポリマー(A2)をサンプリングし、ゲルパーミエーションクロマトグラフィー(GPC)にて分子量を測定したところ、重量平均分子量(Mw)は5万であった。 When the obtained acrylic polymer (A2) was sampled and the molecular weight was measured by gel permeation chromatography (GPC), the weight average molecular weight (Mw) was 50,000.
(2)シリカポリマー(B)
シリカポリマー(B1):
冷却管をつけた100mlのフラスコに、フェニルトリエトキシシラン15g、トリエトキシシラン10g、シュウ酸0.5g、水7ml及びジエチレングリコールジエチルエーテル17mlを加えた。半円形型のメカニカルスターラーを用いて溶液を攪拌し、マントルヒーターで70℃で3時間反応させた。その後、エバポレーターを用いて水との縮合反応で生成したエタノールと残留水を除去した。反応終了後、フラスコを室温になるまで放置し、シリカポリマー(B1)を調製した。シリカポリマー(B1)のポリスチレン換算による重量平均分子量は1600であり、固形分濃度は40重量%であった。(2) Silica polymer (B)
Silica polymer (B1):
To a 100 ml flask equipped with a condenser, 15 g of phenyltriethoxysilane, 10 g of triethoxysilane, 0.5 g of oxalic acid, 7 ml of water and 17 ml of diethylene glycol diethyl ether were added. The solution was stirred using a semicircular type mechanical stirrer and reacted at 70 ° C. for 3 hours with a mantle heater. Thereafter, ethanol and residual water generated by a condensation reaction with water were removed using an evaporator. After completion of the reaction, the flask was left to reach room temperature to prepare silica polymer (B1). The weight average molecular weight in terms of polystyrene of the silica polymer (B1) was 1600, and the solid content concentration was 40% by weight.
シリカポリマー(B2):
反応温度及び反応時間の反応条件を70℃及び3時間から、70℃及び1時間に変更したこと以外はシリカポリマー(B1)と同様にして、重量平均分子量600のシリカポリマー(B2)を得た。なお、固形分濃度は40重量%であった。Silica polymer (B2):
A silica polymer (B2) having a weight average molecular weight of 600 was obtained in the same manner as the silica polymer (B1) except that the reaction conditions of reaction temperature and reaction time were changed from 70 ° C. and 3 hours to 70 ° C. and 1 hour. . The solid concentration was 40% by weight.
シリカポリマー(B3):
反応条件を、70℃で3時間反応させた後に120℃で1時間さらに反応させるように変更したこと以外はシリカポリマー(B1)と同様にして、重量平均分子量5000のシリカポリマー(B3)を得た。なお、固形分濃度は40重量%であった。Silica polymer (B3):
A silica polymer (B3) having a weight average molecular weight of 5000 was obtained in the same manner as the silica polymer (B1) except that the reaction conditions were changed to react at 70 ° C. for 3 hours and then further reacted at 120 ° C. for 1 hour. It was. The solid concentration was 40% by weight.
シリカポリマー(B4):
反応条件を、70℃で3時間反応させた後に120℃で3時間さらに反応させるように変更したこと以外はシリカポリマー(B1)と同様にして、重量平均分子量20000のシリカポリマー(B4)を得た。なお、固形分濃度は40重量%であった。Silica polymer (B4):
A silica polymer (B4) having a weight average molecular weight of 20000 was obtained in the same manner as the silica polymer (B1) except that the reaction conditions were changed to react at 70 ° C. for 3 hours and further at 120 ° C. for 3 hours. It was. The solid concentration was 40% by weight.
シリカポリマー(B5):
フェニルトリエトキシシランを3−グリシドキシプロピルトリエトキシシランに変更したこと以外はシリカポリマー(B1)と同様にして、グリシジル基を有し、かつ重量平均分子量2000のシリカポリマー(B5)を得た。なお、固形分濃度は40重量%であった。Silica polymer (B5):
A silica polymer (B5) having a glycidyl group and having a weight average molecular weight of 2000 was obtained in the same manner as the silica polymer (B1) except that phenyltriethoxysilane was changed to 3-glycidoxypropyltriethoxysilane. . The solid concentration was 40% by weight.
シリカポリマー(B6):
フェニルトリエトキシシランをトリエトキシシリルプロポキシオキセタンに変更したこと以外はシリカポリマー(B1)と同様にして、オキセタニル基を有し、かつ重量平均分子量1800のシリカポリマー(B6)を得た。なお、固形分濃度は40重量%であった。Silica polymer (B6):
A silica polymer (B6) having an oxetanyl group and having a weight average molecular weight of 1800 was obtained in the same manner as the silica polymer (B1) except that phenyltriethoxysilane was changed to triethoxysilylpropoxyoxetane. The solid concentration was 40% by weight.
(3)1,2−キノンジアジド化合物(C)
1,2−キノンジアジド化合物(C1):NT−200(東洋合成社製)
1,2−キノンジアジド化合物(C2):4NT−300(東洋合成社製)
(実施例1〜20及び比較例1〜8)
下記表1に示す割合で各成分を混合した後、溶剤であるテトラヒドロフラン500重量部に溶解させ、感光性組成物を調製した。(3) 1,2-quinonediazide compound (C)
1,2-quinonediazide compound (C1): NT-200 (manufactured by Toyo Gosei Co., Ltd.)
1,2-quinonediazide compound (C2): 4NT-300 (manufactured by Toyo Gosei Co., Ltd.)
(Examples 1-20 and Comparative Examples 1-8)
Each component was mixed in the ratio shown in Table 1 below, and then dissolved in 500 parts by weight of tetrahydrofuran as a solvent to prepare a photosensitive composition.
(実施例1〜20及び比較例1〜8の評価)
(1)残渣及びリフロー耐熱性の評価
表層にアルミニウムが蒸着されたガラス基板を用意した。該ガラス基板上に各感光性組成物を回転数1500rpmでスピン塗工した。塗工後、120℃の熱風オーブンで5分間乾燥させ塗膜を形成した。(Evaluation of Examples 1-20 and Comparative Examples 1-8)
(1) Evaluation of residue and reflow heat resistance A glass substrate having aluminum deposited on the surface layer was prepared. Each photosensitive composition was spin-coated on the glass substrate at a rotational speed of 1500 rpm. After coating, it was dried in a hot air oven at 120 ° C. for 5 minutes to form a coating film.
次に、所定のパターンを有するフォトマスクを介して、塗膜が露光部と未露光部とを有するように塗膜に部分的に、紫外線照射装置(ウシオ電機社製、スポットキュアSP−5)を用いて、365nmの波長の紫外線を、照射エネルギーが1000mJ/cm2となるように100mW/cm2の紫外線照度で10秒間照射した。Next, an ultraviolet irradiation device (USHIO Inc., Spot Cure SP-5) is partially applied to the coating film so that the coating film has an exposed portion and an unexposed portion through a photomask having a predetermined pattern. Was used for irradiation for 10 seconds at an ultraviolet illuminance of 100 mW / cm2 so that the irradiation energy was 1000 mJ / cm2 .
その後、テトラメチルアンモニウムヒドロキシドの2.38%水溶液に塗膜を浸漬して現像し、露光部の感光性組成物層を除去した。未露光部の感光性組成物層は基板上に残存していた。露光部の感光性組成物層を除去した後、蒸留水で洗浄し、残存しているアルカリ水溶液を除去した。 Thereafter, the coating film was immersed in a 2.38% aqueous solution of tetramethylammonium hydroxide and developed to remove the photosensitive composition layer in the exposed area. The photosensitive composition layer in the unexposed area remained on the substrate. After removing the photosensitive composition layer in the exposed area, it was washed with distilled water to remove the remaining alkaline aqueous solution.
次に、未露光部の感光性組成物層を200℃で30分間加熱することにより、焼成し、パターン膜を得た。 Next, the photosensitive composition layer of an unexposed part was baked by heating at 200 degreeC for 30 minutes, and the pattern film was obtained.
上記パターン膜を得る際に、現像後に残渣が生じているか否かを、電子顕微鏡を用いて5mm×5mm角の視野で100箇所、感光性組成物層が除去された露光部分を観察することにより下記評価基準で評価した。 When obtaining the pattern film, whether or not a residue is generated after development is determined by observing 100 exposed portions from which the photosensitive composition layer has been removed using an electron microscope in a 5 mm × 5 mm square field of view. Evaluation was performed according to the following evaluation criteria.
〔残渣の評価基準〕
○:残渣が100箇所中、5箇所以下
×:残渣が100箇所中、6箇所以上
また、加熱前において5μmのホールパターンが形成されているパターン膜を、200℃で30分間加熱した。加熱後のパターン膜のリフロー耐熱性を下記評価基準で評価した。[Evaluation criteria for residue]
○: Residues in 100 locations, 5 or less ×: Residues in 100 locations, 6 or more locations Further, a pattern film on which a 5 μm hole pattern was formed before heating was heated at 200 ° C. for 30 minutes. The reflow heat resistance of the patterned film after heating was evaluated according to the following evaluation criteria.
〔リフロー耐熱性の評価基準〕
○:5μmのホールパターンが変わらず形成されている
×:5μmのホールパターンのホール部が完全に埋まっている
結果を下記表1に示す。[Evaluation criteria for reflow heat resistance]
○: The hole pattern of 5 μm is formed unchanged. ×: The hole part of the 5 μm hole pattern is completely filled. The results are shown in Table 1 below.
(2)電気絶縁性の評価
表層にアルミニウムが蒸着されたガラス基板を用意した。ガラス基板上に各感光性組成物を回転数1250rpmで、20秒かけてスピン塗工した。塗工後、100℃のホットプレートにより2分間乾燥させ、塗膜を形成した。(2) Evaluation of electrical insulation A glass substrate having aluminum deposited on the surface layer was prepared. Each photosensitive composition was spin-coated on a glass substrate at 1250 rpm for 20 seconds. After coating, it was dried for 2 minutes with a hot plate at 100 ° C. to form a coating film.
次に、紫外線照射装置を用い、塗膜に365nmの波長の紫外線を、照射エネルギーが500mJ/cm2となるように100mW/cm2の紫外線照度で5秒間照射した。紫外線を照射した後、後、200℃のホットプレートで60分間さらに加熱した。次に、塗膜上にアルミニウムを再び蒸着した。Next, using an ultraviolet irradiation device, the coating film was irradiated with ultraviolet rays having a wavelength of 365 nm for 5 seconds at an ultraviolet illuminance of 100 mW / cm2 so that the irradiation energy was 500 mJ / cm2 . After irradiating with ultraviolet rays, it was further heated on a hot plate at 200 ° C. for 60 minutes. Next, aluminum was vapor-deposited again on the coating film.
硬化した感光性組成物層において、蒸着したアルミニウム間に1MV/cmの電圧を印加し、リーク電流を測定した。また、リーク電流の測定値から、電気絶縁性を下記の評価基準で評価した。 In the cured photosensitive composition layer, a voltage of 1 MV / cm was applied between the deposited aluminum and the leakage current was measured. Moreover, the electrical insulation was evaluated according to the following evaluation criteria from the measured value of the leakage current.
〔電気絶縁性の評価基準〕
○:リーク電流が1×10−6A/cm2以下
△:リーク電流が1×10−6A/cm2を超える
結果を下記の表1に示す。[Evaluation criteria for electrical insulation]
○: Leakage current is 1 × 10−6 A / cm2 or less Δ: Leakage current exceeds 1 × 10−6 A / cm2 The results are shown in Table 1 below.
また、図1に、アクリルポリマー(A)100重量部に対するシリカポリマー(B)の含有割合と、シリカポリマー(B)の重量平均分子量Mwとの関係について、残渣及びリフロー耐熱性の評価結果がいずれも「○」であった場合を四角の印を付して示し、残渣及びリフロー耐熱性の評価結果がいずれか一つでも「×」であった場合を×の印を付して示した。 FIG. 1 shows the results of evaluation of the residue and the reflow heat resistance regarding the relationship between the content of the silica polymer (B) with respect to 100 parts by weight of the acrylic polymer (A) and the weight average molecular weight Mw of the silica polymer (B). Also, the case of “◯” was marked with a square mark, and the case where any one of the evaluation results of the residue and the reflow heat resistance was “x” was marked with a mark “X”.
[第2の感光性組成物の実施例及び比較例]
(シロキサンポリマー)
シロキサンポリマー1〜13を合成するために、アルコキシシランとして、メチルトリメトキシシラン、ジメチルジメトキシシラン、フェニルトリメトキシシラン、3−(トリメトキシシリル)プロピル無水コハク酸トリメトキシシラン、3−メルカプトプロピルトリメトキシシラン、3−グリシドキシプロピルトリメトキシシラン及び3−グリシドキシプロピルメチルジメトキシシランの内の少なくとも1種を用いた。[Examples and Comparative Examples of Second Photosensitive Composition]
(Siloxane polymer)
In order to synthesize
(1)シロキサンポリマー1
冷却管をつけた100mlのフラスコにメチルトリメトキシシラン13.0g、3−(トリメトキシシリル)プロピル無水コハク酸トリメトキシシラン2.0g、シュウ酸0.1g、水5ml及びプロピレングリコールモノメチルエーテルアセテート8mlを加えた。半円形型のメカニカルスターラーを用いて溶液を撹拌し、マントルヒーターにより70℃で3時間反応させた。次いでエバポレーターを用いて、2000Paの圧力、40℃及び1時間の条件(合成条件)で、水との縮合反応で生成したアルコールと残留水とを除去した。反応終了後、フラスコを室温になるまで放置し、カルボキシル基含有アルコキシシラン縮合物であるカルボキシル基を有するシロキサンポリマー1を含む溶液を得た。得られた溶液の固形分濃度は、50重量%であった。(1)
In a 100 ml flask equipped with a condenser, 13.0 g of methyltrimethoxysilane, 2.0 g of trimethoxysilane 3- (trimethoxysilyl) propyl succinate, 0.1 g of oxalic acid, 5 ml of water and 8 ml of propylene glycol monomethyl ether acetate Was added. The solution was stirred using a semicircular mechanical stirrer and reacted at 70 ° C. for 3 hours with a mantle heater. Next, using an evaporator, alcohol generated by a condensation reaction with water and residual water were removed under the conditions of 2000 Pa pressure, 40 ° C. and 1 hour (synthesis conditions). After completion of the reaction, the flask was left to reach room temperature to obtain a solution containing a
得られたシロキサンポリマー1は、ゲルパーミエーションクロマトグラフィーを用いて測定されたポリスチレン換算重量平均分子量Mwが4500であった。また、シロキサンポリマー1のSiOH基の数のSi−O−Si結合の数に対する比(SiOH基の数/Si−O−Si結合の数)は、1H−NMRの5.0〜6.5ppmのブロードなピークの積分値と、メチル基の積分値の比から算出したところ、0.12であった。また、シロキサンポリマー1のケイ素原子に炭素原子が直接結合されている有機基100%中に占めるカルボキシル基を有する有機基の割合は、3%であった。The obtained
(2)シロキサンポリマー2
アルコキシシランの種類及び配合量を下記の表2に示すように変更したこと、並びにプロピレングリコールモノメチルエーテルアセテートの配合量を8mlから7mLに変更したこと以外は、シロキサンポリマー1と同様にして、シロキサンポリマー2を含む溶液を得た。得られたシロキサンポリマー2を含む溶液の固形分濃度は、50重量%であった。(2)
The siloxane polymer was the same as the
(3)シロキサンポリマー3,4
アルコキシシランの種類及び配合量を下記の表2に示すように変更したこと以外は、シロキサンポリマー1と同様にして、シロキサンポリマー3,4を含む溶液を得た。得られたシロキサンポリマー3,4を含む溶液の固形分濃度は、50重量%であった。(3)
A solution containing the
(4)シロキサンポリマー5
アルコキシシランの種類及び配合量を下記の表2に示すように変更したこと、並びにプロピレングリコールモノメチルエーテルアセテートの配合量を8mlから9mLに変更したこと以外は、シロキサンポリマー1と同様にして、シロキサンポリマー5を含む溶液を得た。得られたシロキサンポリマー5を含む溶液の固形分濃度は、50重量%であった。(4)
The siloxane polymer was the same as the
(5)シロキサンポリマー6
冷却管をつけた100mlのフラスコに、メチルトリメトキシシラン28.6gと、ジメチルジメトキシシラン6.7gと、3−(トリメトキシシリル)プロピル無水コハク酸トリメトキシシラン(信越化学社製、X12−967)3.7gと、シュウ酸0.3gと、水15mlと、プロピレングリコールモノメチルエーテルアセテート20mlとを加え、溶液を得た。(5) Siloxane polymer 6
To a 100 ml flask equipped with a condenser, 28.6 g of methyltrimethoxysilane, 6.7 g of dimethyldimethoxysilane, and trimethoxysilane succinic anhydride (X12-967, manufactured by Shin-Etsu Chemical Co., Ltd.) ) 3.7 g, 0.3 g of oxalic acid, 15 ml of water and 20 ml of propylene glycol monomethyl ether acetate were added to obtain a solution.
半円形型のメカニカルスターラーを用いて、得られた溶液を撹拌しながら、マントルヒーターにより、80℃で3時間反応させた。次に、エバポレーターを用いて、2000Paの圧力、40℃及び1時間の条件(合成条件)で、水との縮合反応で生成したアルコールと残留水とを除去した。その後、フラスコを室温になるまで放置し、シロキサンポリマーAを含む溶液を得た。得られたシロキサンポリマーAを含む溶液の固形分濃度は、50重量%であった。 Using a semicircular mechanical stirrer, the resulting solution was reacted at 80 ° C. for 3 hours with a mantle heater while stirring. Next, using an evaporator, the alcohol produced by the condensation reaction with water and residual water were removed under the conditions of 2000 Pa pressure, 40 ° C. and 1 hour (synthesis conditions). Then, the flask was left to reach room temperature to obtain a solution containing the siloxane polymer A. The solid content concentration of the resulting solution containing the siloxane polymer A was 50% by weight.
(シロキサンポリマー7〜12)
アルコキシシランの種類及び配合量を下記の表2に示すように変更したこと以外は、シロキサンポリマー6と同様にして、シロキサンポリマー7〜12を含む溶液を得た。得られたシロキサンポリマー7〜12を含む溶液の固形分濃度は、50重量%であった。(Siloxane polymer 7-12)
Except having changed the kind and compounding quantity of alkoxysilane as shown in following Table 2, it carried out similarly to the siloxane polymer 6, and obtained the solution containing the siloxane polymers 7-12. The solid content concentration of the solution containing the obtained siloxane polymers 7 to 12 was 50% by weight.
(シロキサンポリマー13)
アルコキシシランの種類及び配合量を下記の表2に示すように変更したこと、並びに上記合成条件を下記の表2に示すように変更したこと以外は、シロキサンポリマー6と同様にして、シロキサンポリマー13を含む溶液を得た。得られたシロキサンポリマー13を含む溶液の固形分濃度は、50重量%であった。(Siloxane polymer 13)
The siloxane polymer 13 was the same as the siloxane polymer 6 except that the type and amount of the alkoxysilane were changed as shown in Table 2 below, and the synthesis conditions were changed as shown in Table 2 below. A solution containing was obtained. The resulting solid content concentration of the siloxane polymer 13 was 50% by weight.
また、得られたシロキサンポリマー2〜13の重量平均分子量Mwを、下記の表2に示した。さらに、得られたシロキサンポリマー2〜13のケイ素原子に炭素原子が直接結合されている有機基100%中に占めるカルボキシル基を有する有機基の割合と、メルカプト基を有する有機基の割合と、SiOH基の数のSi−O−Si結合の数に対する比(SiOH基の数/Si−O−Si結合の数)と、環状エーテル基の数のカルボキシル基の数に対する比(環状エーテル基の数/カルボキシル基の数)とを下記の表2に示した。 The weight average molecular weights Mw of the obtained
(キノンジアジド化合物)
1,2−キノンジアジド化合物(C1):NT−200(東洋合成社製)
1,2−キノンジアジド化合物(C2):4NT−300(東洋合成社製)
(実施例21〜37及び比較例9)
下記表3に示す割合で各成分を混合した後、溶剤であるテトラヒドロフラン500重量部に溶解させ、感光性組成物を調製した。(Quinonediazide compound)
1,2-quinonediazide compound (C1): NT-200 (manufactured by Toyo Gosei Co., Ltd.)
1,2-quinonediazide compound (C2): 4NT-300 (manufactured by Toyo Gosei Co., Ltd.)
(Examples 21 to 37 and Comparative Example 9)
Each component was mixed in the ratio shown in Table 3 below, and then dissolved in 500 parts by weight of tetrahydrofuran as a solvent to prepare a photosensitive composition.
(実施例21〜37及び比較例9の評価)
(1)残渣及びリフロー耐熱性の評価
表層にアルミニウムが蒸着されたガラス基板を用意した。該ガラス基板上に各感光性組成物を回転数1500rpmでスピン塗工した。塗工後、120℃の熱風オーブンで5分間乾燥させ塗膜を形成した。(Evaluation of Examples 21 to 37 and Comparative Example 9)
(1) Evaluation of residue and reflow heat resistance A glass substrate having aluminum deposited on the surface layer was prepared. Each photosensitive composition was spin-coated on the glass substrate at a rotational speed of 1500 rpm. After coating, it was dried in a hot air oven at 120 ° C. for 5 minutes to form a coating film.
次に、所定のパターンを有するフォトマスクを介して、塗膜が露光部と未露光部とを有するように塗膜に部分的に、紫外線照射装置(ウシオ電機社製、スポットキュアSP−5)を用いて、365nmの波長の紫外線を、照射エネルギーが1000mJ/cm2となるように100mW/cm2の紫外線照度で10秒間照射した。Next, an ultraviolet irradiation device (USHIO Inc., Spot Cure SP-5) is partially applied to the coating film so that the coating film has an exposed portion and an unexposed portion through a photomask having a predetermined pattern. Was used for irradiation for 10 seconds at an ultraviolet illuminance of 100 mW / cm2 so that the irradiation energy was 1000 mJ / cm2 .
その後、テトラメチルアンモニウムヒドロキシドの0.4重量%水溶液に塗膜を浸漬して現像し、露光部の感光性組成物層を除去した。露光部の感光性組成物層を除去した後、蒸留水で洗浄し、残存しているアルカリ水溶液を除去し、基板上に未露光部の感光性組成物からなるパターン膜を得た。次に、未露光部の感光性組成物からなるパターン膜を200℃で30分間加熱することにより、焼成し、感光性組成物の硬化物からなるパターン膜を得た。 Thereafter, the coating film was dipped in a 0.4% by weight aqueous solution of tetramethylammonium hydroxide and developed to remove the photosensitive composition layer in the exposed area. After removing the photosensitive composition layer in the exposed area, it was washed with distilled water to remove the remaining alkaline aqueous solution, and a pattern film made of the photosensitive composition in the unexposed area on the substrate was obtained. Next, the pattern film made of the photosensitive composition in the unexposed area was baked by heating at 200 ° C. for 30 minutes to obtain a pattern film made of a cured product of the photosensitive composition.
上記パターン膜を得る際に、現像後に残渣が生じているか否かを、電子顕微鏡を用いて5mm×5mm角の視野で100箇所、感光性組成物層が除去された露光部分を観察することにより下記評価基準で評価した。 When obtaining the pattern film, whether or not a residue is generated after development is determined by observing 100 exposed portions from which the photosensitive composition layer has been removed using an electron microscope in a 5 mm × 5 mm square field of view. Evaluation was performed according to the following evaluation criteria.
〔残渣の評価基準〕
◎:残渣が100箇所中、5箇所以下
○:残渣は100箇所中、5箇所以下であるものの、パターン形状がマスク比で20%以上変化がある
△:残渣が100箇所中、6〜15箇所
×:残渣が100箇所中、16箇所以上
また、加熱前において5μmのホールパターンが形成されているパターン膜を、200℃で30分間加熱した。加熱後のパターン膜のリフロー耐熱性を下記評価基準で評価した。[Evaluation criteria for residue]
◎: Residue is 5 or less in 100 locations ○: Residue is 5 or less in 100 locations, but pattern shape is changed by 20% or more in mask ratio Δ: Residue is 6 to 15 locations in 100 locations X: 16 or more residues in 100 locations Further, a pattern film on which a 5 μm hole pattern was formed before heating was heated at 200 ° C. for 30 minutes. The reflow heat resistance of the patterned film after heating was evaluated according to the following evaluation criteria.
〔リフロー耐熱性の評価基準〕
○:5μmのホールパターンが変わらず形成されている
×:5μmのホールパターンのホール部が完全に埋まっている
(2)電気絶縁性の評価
表層にアルミニウムが蒸着されたガラス基板を用意した。ガラス基板上に各感光性組成物を回転数1250rpmで、20秒かけてスピン塗工した。塗工後、100℃のホットプレートにより2分間乾燥させ、塗膜を形成した。[Evaluation criteria for reflow heat resistance]
○: The hole pattern of 5 μm is formed without change. X: The hole part of the hole pattern of 5 μm is completely filled. (2) Evaluation of electrical insulation A glass substrate having aluminum deposited on the surface layer was prepared. Each photosensitive composition was spin-coated on a glass substrate at 1250 rpm for 20 seconds. After coating, it was dried for 2 minutes with a hot plate at 100 ° C. to form a coating film.
次に、紫外線照射装置を用い、塗膜に365nmの波長の紫外線を、照射エネルギーが500mJ/cm2となるように100mW/cm2の紫外線照度で5秒間照射した。紫外線を照射した後、後、200℃のホットプレートで60分間さらに加熱した。次に、塗膜上にアルミニウムを再び蒸着した。Next, using an ultraviolet irradiation device, the coating film was irradiated with ultraviolet rays having a wavelength of 365 nm for 5 seconds at an ultraviolet illuminance of 100 mW / cm2 so that the irradiation energy was 500 mJ / cm2 . After irradiating with ultraviolet rays, it was further heated on a hot plate at 200 ° C. for 60 minutes. Next, aluminum was vapor-deposited again on the coating film.
硬化した感光性組成物層において、蒸着したアルミニウム間に1MV/cmの電圧を印加し、リーク電流を測定した。また、リーク電流の測定値から、電気絶縁性を下記の評価基準で評価した。 In the cured photosensitive composition layer, a voltage of 1 MV / cm was applied between the deposited aluminum and the leakage current was measured. Moreover, the electrical insulation was evaluated according to the following evaluation criteria from the measured value of the leakage current.
〔電気絶縁性の評価基準〕
○:リーク電流が1×10−6A/cm2以下
△:リーク電流が1×10−6A/cm2を超える
結果を下記の表3に示す。[Evaluation criteria for electrical insulation]
○: Leakage current is 1 × 10−6 A / cm2 or less Δ: Leakage current exceeds 1 × 10−6 A / cm2 The results are shown in Table 3 below.
1…感光性組成物層
1a…露光部
1b…未露光部
1A…未露光部の感光性組成物からなるパターン膜
1B…感光性組成物の硬化物からなるパターン膜
2…基板
3…マスク
3a…開口部
3b…マスク部DESCRIPTION OF
| Application Number | Priority Date | Filing Date | Title |
|---|---|---|---|
| JP2008227270AJP2009265595A (en) | 2007-09-07 | 2008-09-04 | Photosensitive composition and method for manufacturing patterned film |
| Application Number | Priority Date | Filing Date | Title |
|---|---|---|---|
| JP2007233007 | 2007-09-07 | ||
| JP2008092560 | 2008-03-31 | ||
| JP2008227270AJP2009265595A (en) | 2007-09-07 | 2008-09-04 | Photosensitive composition and method for manufacturing patterned film |
| Publication Number | Publication Date |
|---|---|
| JP2009265595Atrue JP2009265595A (en) | 2009-11-12 |
| Application Number | Title | Priority Date | Filing Date |
|---|---|---|---|
| JP2008227270APendingJP2009265595A (en) | 2007-09-07 | 2008-09-04 | Photosensitive composition and method for manufacturing patterned film |
| Country | Link |
|---|---|
| JP (1) | JP2009265595A (en) |
| Publication number | Priority date | Publication date | Assignee | Title |
|---|---|---|---|---|
| JP2011137051A (en)* | 2009-12-25 | 2011-07-14 | Tosoh Corp | Transparent film |
| JP2012123391A (en)* | 2010-12-01 | 2012-06-28 | Chi Mei Corp | Photo-curable polysiloxane composition and protection film formed by the same |
| JP2012155226A (en)* | 2011-01-27 | 2012-08-16 | Jsr Corp | Positive type radiation-sensitive composition, cured film, method for forming cured film, display element, and polysiloxane for forming cured film |
| JP2012168289A (en)* | 2011-02-10 | 2012-09-06 | Jsr Corp | Positive radiation-sensitive resin composition, interlayer insulating film for display element, and formation method thereof |
| WO2012154316A1 (en)* | 2011-03-29 | 2012-11-15 | Dow Corning Corporation | Photo-patternable and developable silesquioxane resins for use in device fabrication |
| JP2013109216A (en)* | 2011-11-22 | 2013-06-06 | Jsr Corp | Positive radiation-sensitive composition, cured film for display element, method for forming cured film for display element, and display element |
| US20160299376A1 (en)* | 2015-04-09 | 2016-10-13 | Jsr Corporation | Liquid crystal display device, radiation-sensitive resin composition, interlayer insulating film, method for producing interlayer insulating film, and method for manufacturing liquid crystal display device |
| JP2017020000A (en)* | 2015-06-15 | 2017-01-26 | ローム アンド ハース エレクトロニック マテリアルズ エルエルシーRohm and Haas Electronic Materials LLC | Wet type detachable silicon-containing antireflection agent |
| Publication number | Priority date | Publication date | Assignee | Title |
|---|---|---|---|---|
| JP2011137051A (en)* | 2009-12-25 | 2011-07-14 | Tosoh Corp | Transparent film |
| JP2012123391A (en)* | 2010-12-01 | 2012-06-28 | Chi Mei Corp | Photo-curable polysiloxane composition and protection film formed by the same |
| JP2012155226A (en)* | 2011-01-27 | 2012-08-16 | Jsr Corp | Positive type radiation-sensitive composition, cured film, method for forming cured film, display element, and polysiloxane for forming cured film |
| JP2012168289A (en)* | 2011-02-10 | 2012-09-06 | Jsr Corp | Positive radiation-sensitive resin composition, interlayer insulating film for display element, and formation method thereof |
| KR20140018302A (en)* | 2011-03-29 | 2014-02-12 | 다우 코닝 코포레이션 | Photo-patternable and developable silsesquioxane resins for use in device fabrication |
| CN103460135A (en)* | 2011-03-29 | 2013-12-18 | 道康宁公司 | Photo-patternable and developable silesquioxane resins for use in device fabrication |
| US20140023970A1 (en)* | 2011-03-29 | 2014-01-23 | Dow Corning Corporation | Photo-Patternable and Developable Silsesquioxane Resins for Use in Device Fabrication |
| WO2012154316A1 (en)* | 2011-03-29 | 2012-11-15 | Dow Corning Corporation | Photo-patternable and developable silesquioxane resins for use in device fabrication |
| US9086626B2 (en)* | 2011-03-29 | 2015-07-21 | Dow Corning Corporation | Photo-patternable and developable silsesquioxane resins for use in device fabrication |
| TWI588610B (en)* | 2011-03-29 | 2017-06-21 | 道康寧公司 | Photo-patternable and developable silsesquioxane resins for use in device fabrication |
| KR101957746B1 (en)* | 2011-03-29 | 2019-03-15 | 다우 실리콘즈 코포레이션 | Photo-patternable and developable silsesquioxane resins for use in device fabrication |
| JP2013109216A (en)* | 2011-11-22 | 2013-06-06 | Jsr Corp | Positive radiation-sensitive composition, cured film for display element, method for forming cured film for display element, and display element |
| US20160299376A1 (en)* | 2015-04-09 | 2016-10-13 | Jsr Corporation | Liquid crystal display device, radiation-sensitive resin composition, interlayer insulating film, method for producing interlayer insulating film, and method for manufacturing liquid crystal display device |
| JP2017020000A (en)* | 2015-06-15 | 2017-01-26 | ローム アンド ハース エレクトロニック マテリアルズ エルエルシーRohm and Haas Electronic Materials LLC | Wet type detachable silicon-containing antireflection agent |
| US10031420B2 (en) | 2015-06-15 | 2018-07-24 | Rohm And Haas Electronic Materials Llc | Wet-strippable silicon-containing antireflectant |
| JP2018173657A (en)* | 2015-06-15 | 2018-11-08 | ローム アンド ハース エレクトロニック マテリアルズ エルエルシーRohm and Haas Electronic Materials LLC | Wet-strippable silicon-containing antireflectant |
| Publication | Publication Date | Title |
|---|---|---|
| JP5520923B2 (en) | Photosensitive polysiloxane composition and protective film formed from the composition | |
| CN101226329B (en) | Radiation sensitive resin composition, laminated insulating film, micro lens and preparation method thereof | |
| JP2009265595A (en) | Photosensitive composition and method for manufacturing patterned film | |
| JP2010039051A (en) | Photosensitive composition and method of manufacturing pattern film | |
| JP6941416B2 (en) | Positive type photosensitive resin composition and cured film prepared from it | |
| JP6360871B2 (en) | Photosensitive resin composition, protective film, and liquid crystal display element | |
| JP7249765B2 (en) | Positive type photosensitive resin composition and cured film prepared therefrom | |
| CN104375381A (en) | Photosensitive polysiloxane composition, film formed by photosensitive polysiloxane composition and device comprising film | |
| US20130310497A1 (en) | Photo-curing polysiloxane composition and applications thereof | |
| JP2019091020A (en) | Photosensitive resin composition and cured film prepared therefrom | |
| JP2009116223A (en) | Positive photosensitive composition, cured film formed from the same, element with cured film, and method for producing element | |
| US20140322651A1 (en) | Photosensitive polysiloxane composition, protecting film and element having the protecting film | |
| US20190369493A1 (en) | Positive-type photosensitive resin composition and cured film prepared therefrom | |
| TWI428699B (en) | Photo-curing polysiloxane composition and protecting film and element containing said protecting film | |
| TWI788299B (en) | Photosensitive resin composition and cured film prepared therefrom | |
| US20150346601A1 (en) | Photosensitive polysiloxane composition, protective film and element having the protective film | |
| CN111381446A (en) | Positive photosensitive composition and cured film using the same | |
| KR20210081741A (en) | Positive-type photosensitive resin composition and cured film prepared therefrom | |
| TWI735595B (en) | Positive photosensitive polyalkylsiloxane composition and application of the same | |
| TWI739767B (en) | Photosensitive resin composition, cured film prepared therefrom, and method of forming pattern using the same | |
| JP2008170937A (en) | Photosensitive siloxane composition, manufacturing method thereof, hardened film manufactured therefrom, and element having hardened film | |
| JP7416608B2 (en) | Positive photosensitive resin composition and cured film prepared from it | |
| CN107918249A (en) | Photosensitive polymer combination and cured film prepared therefrom | |
| JP2010039053A (en) | Photosensitive composition and method of manufacturing pattern film | |
| JP2008216487A (en) | Radiation-sensitive resin composition, interlayer insulating film and microlens, and production method thereof |