






本発明は、飲料供給機本体の前面に形成した飲料供給部の上部に手動開閉式バルブ体が
配置され下部に水受け皿が取り付けられ、飲料貯蔵部の飲料を前記手動開閉式バルブ体の
開成操作によってコップへ供給する飲料供給機に関する。The present invention provides a manual opening / closing type valve body disposed on the upper part of a beverage supply unit formed on the front surface of a beverage supply machine body, a water tray is attached to the lower part, and a beverage in a beverage storage part is opened by opening the manual opening / closing type valve body. It relates to a beverage supply machine that supplies to a cup.
飲料水を収容したボトル6が口を下側にして上部空間4に斜めに収納され、この飲料水
を供給するものがある。これは、ボトル6がエバポレータ5に重力によって押し付けられ
るようになっており、上部空間4にはボトル6の出し入れ用の断熱性上部扉1bが設けら
れ、上部扉1bは、ボトル6内の飲料の残量が見えるようにその一部がガラスになってい
る。そして、ボトル6の口は、リザーブタンク8に臨み、ボトル6の口がリザーブタンク
8の水面と接触して塞がれる状態まで、ボトル6からリザーブタンク8へ飲料が供給され
る。Some
ボトル6からリザーブタンク8へ飲料が供給される仕組みは、ボトル6の口のキャップ
に設けたバネ付勢されたバルブ42が、リザーブタンク8内のピン48によって上方へ押
されることによってバルブ42が開くようになっている。リザーブタンク8の飲料は、リ
ザーブタンク8に接続した注出バルブ9を開くことによって、リザーブタンク8の水頭圧
によって冷水が注出されるようになっている。注出バルブ9の下方には、供給時のこぼれ
る飲料水を受けるドリップパン10が設けられている。(特許文献1参照)。
この従来技術において、ドリップパン10内の水量がどの程度かは、覗き込んでグリル
11を通して目視確認しなければならないので、水量確認を的確に行い難いこと、また、
目視間隔が長く空いたときには、ドリップパン10の水量が増え過ぎ、ドリップパン10
内の水を捨てるためにドリップパン10を取り外したとき、ドリップパン10から溢れる
虞がある、等の問題がある。In this prior art, the amount of water in the drip pan 10 must be looked into and visually confirmed through the grill 11, so that it is difficult to confirm the amount of water accurately,
When the visual interval is long, the amount of water in the drip pan 10 increases too much, and the drip pan 10
When the drip pan 10 is removed in order to discard the water inside, there is a problem that the drip pan 10 may overflow.
本発明は、上記ドリップパンに相当する水受け皿を設け、この水受け皿に溜まった水量
を飲料供給機前面から視覚可能に表示部を設け、この表示部には水受け皿内の水を捨てる
状態である上限水位に達したことが明確に判るように上限水位表示部を備えることによっ
て、速やかに的確に水量確認ができるようにして、上記のような課題を解決するものであ
る。The present invention is provided with a water tray corresponding to the drip pan, a display unit is provided so that the amount of water accumulated in the water tray can be visually seen from the front of the beverage supply machine, and the water in the water tray is discarded in the display unit. By providing an upper limit water level display section so that it can be clearly seen that a certain upper limit water level has been reached, the amount of water can be confirmed quickly and accurately, thereby solving the above-mentioned problems.
第1発明の飲料供給機は、飲料供給機本体の前面に飲料供給部が形成され、前記飲料供
給部の上部に手動開閉式バルブ体が配置され、前記飲料供給部の下部に上面開口の水受け
皿が着脱自在に取り付けられ、飲料貯蔵部の飲料を前記手動開閉式バルブ体の開成操作に
よってコップへ供給する飲料供給機において、前記水受け皿には、前記水受け皿内の水量
を視覚可能な表示部を設け、前記表示部には上限水位を示す上限水位表示部を備えたこと
を特徴とする。In the beverage supply machine according to the first aspect of the present invention, a beverage supply unit is formed on the front surface of the beverage supply machine body, a manually openable valve body is disposed on the upper side of the beverage supply unit, and an upper surface opening water is formed on the lower part of the beverage supply unit. In the beverage supply machine in which the tray is detachably attached and the beverage in the beverage storage section is supplied to the cup by the opening operation of the manual opening / closing valve body, the water tray has a visual indication of the amount of water in the water tray. And an upper limit water level display unit indicating the upper limit water level is provided on the display unit.
第2発明の飲料供給機は、第1発明において、前記表示部は、前記水受け皿内の水位が
外部から直接視認可能な透視窓と、この透視窓に臨むように上限水位位置を示す上限水位
表示部を備えたことを特徴とする。The beverage supply machine according to a second aspect of the present invention is the beverage supply machine according to the first aspect, wherein the display unit is a see-through window in which the water level in the water tray is directly visible from the outside, and an upper limit water level indicating the upper limit water level so as to face the see-through window A display portion is provided.
第3発明の飲料供給機は、第1発明において、前記表示部は、前記水受け皿内の水位の
上昇に応じて順次点灯する通常水位表示LEDと、前記水受け皿内の水位が上限水位に達
したとき点灯する上限水位表示LEDを備え、前記上限水位表示LEDの発光色が前記通
常水位表示LEDの発光色と異なることを特徴とする。The beverage supply machine according to a third aspect of the present invention is the beverage supply machine according to the first aspect, wherein the display unit is a normal water level display LED that is sequentially turned on as the water level in the water tray rises, and the water level in the water tray reaches the upper limit water level. An upper limit water level display LED that lights up when the upper limit water level display LED is turned on, and the emission color of the upper limit water level display LED is different from the emission color of the normal water level display LED.
第1発明では、飲料供給機が飲食店等に設置された場合、多忙な店員でも、飲料供給機
に近づいて覗き込んで、水受け皿内の水量をコップ載置部材(上記従来技術ではグリル)
を通して目視確認する必要がなく、飲料供給機から離れた場所からも、水量確認を的確に
且つ速やかに行い得るようになり、手間が省けると共に、溜まった水を捨てるタイミング
を取り易くなる。In the first invention, when the beverage supply machine is installed in a restaurant or the like, even a busy store clerk approaches the beverage supply machine and looks into the cup to place the amount of water in the water tray (in the above-described conventional technique, the grill).
There is no need to visually check through, and it becomes possible to check the amount of water accurately and promptly even from a place away from the beverage supply machine, saving time and making it easier to take the timing to discard the accumulated water.
第2発明は、水受け皿内の水位が透視窓を通して外部から直接視認可能となり、且つ、
この透視窓に臨む上限水位表示部によって、溜まった水を捨てる状態であることが、飲料
供給機から離れた場所からも、水量確認を的確に且つ速やかに行い得るようになる。この
ため、飲料供給機が飲食店等に設置された場合、多忙な店員でも、飲料供給機に近づいて
覗き込んで、水受け皿内の水量をコップ載置部材(上記従来技術ではグリル)を通して目
視確認する必要がなく、飲料供給機から離れた場所からも、水量確認を的確に且つ速やか
に行い得るようになり、手間が省けると共に、溜まった水を捨てるタイミングを取り易く
なる。In the second invention, the water level in the water tray is directly visible from the outside through the transparent window, and
By the upper limit water level display portion facing the see-through window, it is possible to accurately and promptly confirm the amount of water even from a place away from the beverage supply machine, in a state where the accumulated water is discarded. For this reason, when a beverage supply machine is installed in a restaurant or the like, even a busy store clerk looks closely at the beverage supply machine and visually checks the amount of water in the water tray through a cup mounting member (the grill in the above-described conventional technology). There is no need to check, and the amount of water can be checked accurately and promptly even from a location away from the beverage supply machine, saving time and making it easier to take the timing to discard the accumulated water.
第3発明の飲料供給機は、水受け皿内の水位が上限水位に達したときは、上限水位表示
LEDが通常水位表示LEDと異なる発光色になるため、通常水位の確認のし易さはもと
より、溜まった水を捨てるタイミングを明確に表示できることとなる。このため、飲料供
給機が飲食店等に設置された場合、多忙な店員でも、飲料供給機に近づいて覗き込んで、
水受け皿内の水量をコップ載置部材(上記従来技術ではグリル)を通して目視確認する必
要がなく、飲料供給機から離れた場所からも、水量確認を的確に且つ速やかに行い得るよ
うになり、手間が省けると共に溜まった水を捨てるタイミングを取り易くなる。In the beverage supply machine according to the third aspect of the invention, when the water level in the water tray reaches the upper limit water level, the upper limit water level display LED has a light emission color different from that of the normal water level display LED, so that the normal water level can be easily checked. The timing for discarding the accumulated water can be clearly displayed. For this reason, when a beverage supply machine is installed in a restaurant or the like, even a busy clerk approaches the beverage supply machine and looks into it.
There is no need to visually check the amount of water in the water tray through the cup mounting member (grill in the above-mentioned conventional technology), and the amount of water can be confirmed accurately and quickly from a location away from the beverage supply machine. This makes it easier to take the timing to discard the accumulated water.
本発明の飲料供給機は、飲料供給機本体の前面に飲料供給部が形成され、前記飲料供給
部の上部に手動開閉式バルブ体が配置され、前記飲料供給部の下部に上面開口の水受け皿
が着脱自在に取り付けられ、飲料貯蔵部の飲料を前記手動開閉式バルブ体の開成操作によ
ってコップへ供給する飲料供給機において、前記水受け皿には、前記水受け皿内の水量を
視覚可能な表示部を設け、前記表示部には上限水位を示す上限水位表示部を備えたもので
あり、以下に、本発明の実施例を記載する。In the beverage supply machine of the present invention, a beverage supply part is formed on the front surface of the beverage supply machine body, a manually openable valve body is disposed on the upper part of the beverage supply part, and a water tray having an upper surface opening on the lower part of the beverage supply part Is a detachably attached beverage supply machine that supplies the beverage in the beverage storage unit to the cup by opening the manually opened / closed valve body. In the beverage receiver, the water receiver can visually display the amount of water in the water receiver. The display unit is provided with an upper limit water level display unit that indicates the upper limit water level. Examples of the present invention will be described below.
本発明に係る飲料供給機の実施形態について説明する。図1は本発明に係る飲料供給機
の縦断側面図、図2は本発明に係る飲料供給機の説明用斜視図、図3は本発明に係る水受
け皿の水量を丸型透視窓によって構成した説明図、図4は図3に係る制御構成図である。An embodiment of a beverage supply machine according to the present invention will be described. FIG. 1 is a longitudinal side view of a beverage supply machine according to the present invention, FIG. 2 is a perspective view for explaining the beverage supply machine according to the present invention, and FIG. 3 is configured by a round see-through window for the amount of water in the water tray according to the present invention. FIG. 4 is an explanatory diagram and FIG. 4 is a control configuration diagram according to FIG.
これらの図において、1は飲料供給機であり、上部に冷却室3が形成され前面に飲料供
給部30を形成した飲料供給機本体1Aと、冷却室3の上面開口3Aを開閉する蓋7で構
成している。飲料供給機本体1Aには、ポリエチレンテレフタレート(以下、PETとい
う)等のボトル容器に飲料を収容した飲料ボトル2が、その口2Aを下側にした逆さま状
態て冷却室3に収納され、この状態で飲料ボトル2の口2Aに取り付けた手動開閉式バル
ブ体4が飲料供給部30に臨むように冷却室3外に露出している。飲料供給部30におい
て、手動開閉式バルブ体4の開成操作によって、飲料取り出し口5から飲料供給が行われ
る。飲料供給機本体1Aの前面下部には、飲料取り出し口5部分から落下する水滴等を受
ける上面開口の水受け皿6を下部に備えている。In these drawings, reference numeral 1 denotes a beverage supply machine, which includes a beverage
冷却室3は、上面開口3Aから飲料ボトル2の収納取り出しができるようになっており
、上面開口3Aが着脱自在な蓋7で覆われ、下部に手動開閉式バルブ体4の挿入部8を備
え、挿入部8に手動開閉式バルブ体4が挿入された状態で飲料ボトル2が略垂直状態に収
納される。手動開閉式バルブ体4の挿入部8には、飲料ボトル2の肩部2Bを受け止める
受け部9を形成しており、受け部9において冷却室3内の冷気漏れを防ぐために、弾力性
の環状シール材23が取り付けられ、この環状シール材23によって実質的に受け部9が
形成されている。これによって、飲料ボトル2を冷却室3に逆さま状態に収納したとき、
飲料ボトル2の口2Aに近い側で肩部2Bによって、環状シール材23が飲料ボトル2の
荷重によって押し圧状態となり、挿入部8における冷気漏れが良好にシールされる。The
On the side close to the
冷却室3は断熱構成である。この断熱構成は、発泡ウレタン等の断熱材URが、内殻4
0Aと外殻40Bとの間に充填または装填された断熱構成である。蓋7も冷却室3の冷却
温度維持のために、発泡ウレタン等の断熱材URを内殻41Aと外殻41Bとの間に充填
または装填された断熱構成である。The
This is a heat insulating structure filled or loaded between 0A and the
手動開閉式バルブ体4は、予め飲料ボトル2の口2Aに手動開閉式バルブ体4を取り付
けた状態で冷却室3へ逆さま状態に収納する場合と、飲料ボトル2を冷却室3に逆さま状
態に収納した後に手動開閉式バルブ体4を取り付ける場合のいずれでもよい。The manual opening /
飲料ボトル2を冷却室3に逆さま状態に収納する前に、予め飲料ボトル2の口2Aに手
動開閉式バルブ体4を取り付けた状態で、手動開閉式バルブ体4が挿入部8を通り抜ける
ように挿入して、冷却室3に逆さま状態に飲料ボトル2を収納する。このため、手動開閉
式バルブ体4の外形は、挿入部8を通り抜け得るような大きさの形態である。図示の手動
開閉式バルブ体4は、外形を小さくするためにバルブの開閉操作部4Aは、使用者が指で
ボタン部4Bを押すことによりバルブが開き、指で押している間に飲料が供給されるプッ
シュ式を示している。この他に、手動開閉式バルブ体4は、使用者が持ったコップ18で
押すことによりバルブが開く構成のものや、また使用者が指でレバーを左右方向へ回動さ
せることによりバルブが開く構成のもの等、いろいろな形態の手動開閉式バルブ体4を適
用することができる。Before the
また、飲料ボトル2の口2Aがシール材で塞がれた状態の飲料ボトル2を採用し、この
飲料ボトル2をその口2Aが挿入部8を通り抜けるように挿入して冷却室3に逆さま状態
に収納する。この状態で、飲料ボトル2の口2Aの外周面に形成した螺旋部へ、飲料供給
部30側から手動開閉式バルブ体4を螺合させる。この螺合の最終段階において、飲料ボ
トル2の口2Aを塞いだ前記シール材を突き破る先鋭部を手動開閉式バルブ体4に形成し
ておけば、この螺合によって、飲料ボトル2内から飲料取り出し口5に至る一連の飲料通
路が形成されることとなり、手動開閉式バルブ体4が無い分、飲料ボトル2のコスト低下
を図ることができる。Further, the
飲料供給機本体1Aは、冷却室3の後側に冷却装置12を配置している。冷却装置12
は、圧縮機13で圧縮した冷媒が放熱器14で放熱し減圧部15で減圧され冷却室3を冷
却する冷却器16で蒸発した後、再び圧縮機13へ帰還する冷媒サイクルを構成し、放熱
器14によって水受け皿6の水を加温蒸発させる構成でもよい。The beverage supply machine main body 1 </ b> A has a
Constitutes a refrigerant cycle in which the refrigerant compressed by the
冷却器16は、図で明らかなように、冷却室3に逆さま状態に収納された飲料ボトル2
の胴部の周囲を包むように、飲料ボトル2の外形に近似した形状の表側の冷却面が冷却室
3に露出しており、冷却器16の外面周囲(背面側の周囲)が断熱材URで覆われた状態
である。これによって、冷却室3に逆さま状態に収納された飲料ボトル2は、冷却器16
の冷却面によって冷却が促進されるため、冷却室3の冷気循環用のファンを設けなくても
よい。As is apparent from the figure, the cooler 16 is a
The cooling surface on the front side of the shape approximate to the outer shape of the
Since the cooling is promoted by the cooling surface, a cooling air circulation fan in the
清掃等のために水受け皿6を出し入れし易いようにするために、水受け皿6は飲料供給
機1の前面に着脱自在である。その構成の1つとして、飲料供給部30の前面壁の下部に
、上下及び左右係止孔21A、21Bが形成され、水受け皿6の後壁にはこの係止孔21
A、21Bに対応する関係に係止片20A、20Bが突出形成されている。これによって
、水受け皿6の係止片20A、20Bを係止孔21A、21Bに挿入した状態で、水受け
皿6を下方へ押すことによって、係止片20A、20Bが係止孔21A、21Bの下端に
移動して係止状態となり、水受け皿6の後壁が飲料供給部30の前面壁に当接して、水受
け皿6が飲料供給機1の前面に略水平状態に保持される。水受け皿6の取り外しは、この
取り付け順序とは逆順序で行なえばよい。The
Locking
水受け皿6には、コップ18を載置するためのスノコ状のコップ載置部材17が着脱自
在に載置されている。コップ載置部材17は、略平坦な板状に形成され、スノコ機能のた
めの複数の貫通孔17Aを形成し、コップ載置部材17の周縁部が水受け皿6の上面開口
周縁部に形成した載置段部6Aに載置されて保持される。A slatted
水受け皿6には、水受け皿6内の水量を飲料供給機1の前面から視覚可能な表示部19
を設け、表示部19には、上限水位を示す上限水位表示部24A、24Bを備えている。
図3に示す表示部19は、水受け皿6内の水位が外部から直接視認可能な丸型の透視窓1
9Aで構成され、この透視窓19Aに左右から対向状態に臨むように形成した色つきの表
示バーによって上限水位表示部24A、24Bを形成している。この色つきの表示バー2
4A、24Bは、透視窓19A内に埋め込まれた部材で構成してもよく、また透視窓19
Aの表面か裏面に形成した溝に印刷等で着色するか、または色つき部材を透視窓19Aの
表面か裏面に貼り付けた構成でもよい。The
The
The
The upper limit water
4A and 24B may be configured by a member embedded in the see-through
The groove formed on the front or back surface of A may be colored by printing or the like, or a colored member may be attached to the front or back surface of the
これによって、水受け皿6内の水量が、上限水位表示部24A、24Bに達したか否か
を明確に示すことができるため、水受け皿6内の水量をコップ載置部材17の貫通孔17
Aを通して目視確認する必要がなく、飲料供給機1から離れた場所からも、水量確認を的
確に且つ速やかに行い得るようになる。Accordingly, it can be clearly indicated whether or not the amount of water in the
There is no need to visually check through A, and the amount of water can be checked accurately and promptly even from a location away from the beverage supply machine 1.
また、水受け皿6内の上限水位表示を更に明確にするために、図3及び図4に示すよう
に、水受け皿6の前面に上限水位表示用のLED(発光ダイオード)25を設け、上限水
位表示部24A、24Bを電極とし、この電極24A、24Bへ微弱直流が流れるように
制御部27と着脱自在にコネクタ26で接続する。水受け皿6を飲料供給機1の前面へ取
り付けることに伴ってコネクタ26が接続され、水受け皿6を飲料供給機1から取り外す
ことに伴って、コネクタ26が分離する構成である。Moreover, in order to further clarify the upper limit water level display in the
水受け皿6内の水量が、電極24A、24Bに達したとき、水によって電極24A、2
4Bが導通して制御部27によってLED(発光ダイオード)25が点灯し、上限水位に
達したことを電極24A、24B間の水位の目視に加えて、LED(発光ダイオード)2
5の点灯によって、遠方からも視認できるものとなる。When the amount of water in the
LED 4 (light emitting diode) 25 is turned on by the
By illuminating 5, it becomes visible from a distance.
図5には、他の実施形態を示している。図5は本発明に係る水受け皿の水量を縦型透視
窓によって構成した説明図である。これにおいて、水受け皿6には、水受け皿6内の水量
を飲料供給機1の前面から視覚可能な表示部19として、水受け皿6内の水位が外部から
直接視認可能な縦長型の透視窓19Aで構成され、この透視窓19Aには色つきの矢印状
の表示部28によって上限水位表示部を形成している。この上限水位表示部28は、水受
け皿6の表面に埋め込まれた部材で構成してもよく、また水受け皿6の表面に形成した溝
に印刷等で着色するか、または色つき部材を透視窓19Aの表面に貼り付けた構成でもよ
い。FIG. 5 shows another embodiment. FIG. 5 is an explanatory diagram in which the amount of water in the water tray according to the present invention is configured by a vertical see-through window. In this case, the
これによって、水受け皿6内の水量が、上限水位表示部28に達したか否かを明確に示
すことができるため、水受け皿6内の水量をコップ載置部材17の貫通孔17Aを通して
目視確認する必要がなく、飲料供給機1から離れた場所からも、水量確認を的確に且つ速
やかに行い得るようになる。This makes it possible to clearly indicate whether or not the amount of water in the
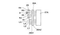
図6、図7には、他の実施形態を示している。図6は本発明に係る水受け皿の水量をL
ED表示部によって構成した説明図であり、図7は図6に係る制御構成図である。これに
おいて、水受け皿6内には、水受け皿6内の水位に応じて垂直ガイド棒29に沿って上下
動する磁石31A付きのフロート31が設けられ、垂直ガイド棒29内には、磁石31A
の近接によって接点が閉じるリードスイッチR1、R2、R3、R4が上下に間隔をもっ
て配置されている。また水受け皿6の前壁には、リードスイッチR1、R2、R3、R4
に対応して、前面から視認できるようにLED(発光ダイオード)L1、L2、L3、L
4が上下に配置されている。6 and 7 show another embodiment. FIG. 6 shows the amount of water in the water tray according to the present invention.
FIG. 7 is an explanatory diagram configured by an ED display unit, and FIG. 7 is a control configuration diagram according to FIG. 6. In this case, a float 31 with a magnet 31 </ b> A that moves up and down along the
Reed switches R1, R2, R3, and R4 that close their contacts when close to each other are arranged at intervals in the vertical direction. In addition, reed switches R1, R2, R3, R4 are provided on the front wall of the
LED (light emitting diode) L1, L2, L3, L so that it can be seen from the front
4 is arranged up and down.
リードスイッチR1、R2、R3、R4と、LED(発光ダイオード)L1、L2、L
3、L4は、水受け皿6に取り付けたコネクタ26A1へ接続され、水受け皿6を飲料供
給機1の前面へ取り付けることに伴って、飲料供給機1側のコネクタ26A2と接続され
る。この接続状態において、水受け皿6内の水位の上昇に伴ってフロート31が上昇する
ため、磁石31Aによって順次リードスイッチR1、R2、R3、R4が作動し、飲料供
給機1に設けた制御部27Aによって対応するLED(発光ダイオード)L1、L2、L
3、L4が点灯する。Reed switches R1, R2, R3, R4 and LEDs (light emitting diodes) L1, L2, L
3 and L4 are connected to a connector 26A1 attached to the
3, L4 lights up.
LED(発光ダイオード)L1、L2、L3は通常水位表示LEDであり、LED(発
光ダイオード)L4が水受け皿内の水位が上限水位に達したことを表示する上限水位表示
LEDである。上限水位表示LEDであるL4の発光色は、通常水位表示LEDであるL
1、L2、L3の発光色と異なる。例えば、通常水位表示LEDであるL1、L2、L3
の発光色を青色とし、上限水位表示LEDであるL4の発光色を赤色とすることによって
、飲料供給機1から離れた場所からも見易く、そのため、上限水位に達したことを的確に
且つ速やかに行い得るようになる。LEDs (light emitting diodes) L1, L2, and L3 are normal water level display LEDs, and LED (light emitting diode) L4 is an upper limit water level display LED that displays that the water level in the water tray has reached the upper limit water level. The light emission color of L4 which is the upper limit water level display LED is L which is the normal water level display LED.
Different from the emission colors of L1, L2, and L3. For example, L1, L2, L3 which are normal water level display LEDs
By making the emission color of the blue light and the light emission color of L4, which is the upper limit water level display LED, red, it is easy to see from a place away from the beverage supply machine 1, so that the upper limit water level has been reached accurately and promptly. Be able to do.
この場合、水位上昇のときは、それに伴って一旦点灯したLED(発光ダイオード)L
1、L2、L3が、その点灯状態を維持する回路を制御部27Aに設ければ、水位の上昇
状態が分かり易くなる。また、LED(発光ダイオード)L4が点灯したときは、LED
(発光ダイオード)L1、L2、L3を消灯するように制御部27Aで制御すれば、通常
水位表示か上限水位表示かの区別が明確となる。なお、リードスイッチR1、R2、R3
、R4と、LED(発光ダイオード)L1、L2、L3、L4と、これらへのリード線は
、水受け皿6内の水に触れないように、水受け皿6内に埋設すればよい。In this case, when the water level rises, the LED (light emitting diode) L that is once lit along with it
If a circuit for maintaining the lighting state of 1, L2, and L3 is provided in the
(Light-emitting diode) If control is performed by the
, R4, and LEDs (light emitting diodes) L1, L2, L3, and L4 and lead wires to these may be embedded in the
このように、水受け皿6内の水位が上昇し、上限水位表示LEDのL4が点灯するため
、水受け皿6内の水量をコップ載置部材17の貫通孔17Aを通して目視確認する必要が
なく、飲料供給機1から離れた場所からも、水量確認を的確に且つ速やかに行い得るよう
になる。Thus, since the water level in the
飲料供給機1は上記実施例に示した構成に限定されず、種々の形態のものに適用できる
ものであり、本発明の技術範囲において種々の形態を包含するものである。The beverage supply machine 1 is not limited to the configuration shown in the above embodiment, but can be applied to various forms, and includes various forms within the technical scope of the present invention.
1・・・・飲料供給機
1A・・・飲料供給機本体
2・・・・飲料ボトル
3・・・・冷却室
4・・・・手動開閉式バルブ体
5・・・・飲料取り出し口
6・・・・水受け皿
8・・・・挿入部
9・・・・受け部
12・・・冷却装置
13・・・圧縮機
14・・・放熱器
15・・・減圧部
16・・・冷却器
17・・・コップ載置部材
17A・・貫通孔
19・・・表示部
19A・・透視窓
23・・・環状シール材
24A、24B・・・上限水位表示部
25・・・上限水位表示用のLED(発光ダイオード)
29・・・垂直ガイド棒
30・・・飲料供給部
31・・・フロート
31A・・磁石
L1、L2、L3・・・通常水位表示LED(発光ダイオード)
L4・・・上限水位表示LED
R1、R2、R3、R4・・・リードスイッチDESCRIPTION OF SYMBOLS 1 ....
29 ...
L4 ... Maximum water level indicator LED
R1, R2, R3, R4 ... Reed switch
| Application Number | Priority Date | Filing Date | Title |
|---|---|---|---|
| JP2007334940AJP2009154919A (en) | 2007-12-26 | 2007-12-26 | Beverage feeding machine |
| Application Number | Priority Date | Filing Date | Title |
|---|---|---|---|
| JP2007334940AJP2009154919A (en) | 2007-12-26 | 2007-12-26 | Beverage feeding machine |
| Publication Number | Publication Date |
|---|---|
| JP2009154919Atrue JP2009154919A (en) | 2009-07-16 |
| Application Number | Title | Priority Date | Filing Date |
|---|---|---|---|
| JP2007334940APendingJP2009154919A (en) | 2007-12-26 | 2007-12-26 | Beverage feeding machine |
| Country | Link |
|---|---|
| JP (1) | JP2009154919A (en) |
| Publication number | Priority date | Publication date | Assignee | Title |
|---|---|---|---|---|
| KR102050468B1 (en)* | 2018-06-21 | 2019-11-29 | 조병래 | Discharging Device For Powder Type Seasoning |
| KR20190143765A (en)* | 2018-06-21 | 2019-12-31 | 조병래 | Discharging Device For Liquid Type Seasoning |
| KR20190143764A (en)* | 2018-06-21 | 2019-12-31 | 조병래 | A Spice Supply Assembly In Which a Plurality of Seasoning Dispensing Apparatuses Are Interlocked |
| CN112601479A (en)* | 2018-06-28 | 2021-04-02 | 皇家飞利浦有限公司 | Drip tray cover and drip tray for beverage machine |
| CN114644314A (en)* | 2017-05-03 | 2022-06-21 | 耐普罗公司 | Apparatus, system and method for providing a liquid level monitor |
| Publication number | Priority date | Publication date | Assignee | Title |
|---|---|---|---|---|
| CN114644314A (en)* | 2017-05-03 | 2022-06-21 | 耐普罗公司 | Apparatus, system and method for providing a liquid level monitor |
| CN114644314B (en)* | 2017-05-03 | 2024-04-05 | 耐普罗公司 | Apparatus, system and method for providing a liquid level monitor |
| KR102050468B1 (en)* | 2018-06-21 | 2019-11-29 | 조병래 | Discharging Device For Powder Type Seasoning |
| KR20190143765A (en)* | 2018-06-21 | 2019-12-31 | 조병래 | Discharging Device For Liquid Type Seasoning |
| KR20190143764A (en)* | 2018-06-21 | 2019-12-31 | 조병래 | A Spice Supply Assembly In Which a Plurality of Seasoning Dispensing Apparatuses Are Interlocked |
| KR102128280B1 (en)* | 2018-06-21 | 2020-06-30 | 조병래 | Discharging Device For Liquid Type Seasoning |
| KR102140987B1 (en)* | 2018-06-21 | 2020-08-04 | 조병래 | A Spice Supply Assembly In Which a Plurality of Seasoning Dispensing Apparatuses Are Interlocked |
| CN112601479A (en)* | 2018-06-28 | 2021-04-02 | 皇家飞利浦有限公司 | Drip tray cover and drip tray for beverage machine |
| US12016485B2 (en) | 2018-06-28 | 2024-06-25 | Koninklijke Philips N.V. | Drip tray cover and a drip tray for use in a drinks machine |
| Publication | Publication Date | Title |
|---|---|---|
| EP2452139B1 (en) | Liquid dispenser | |
| US10215482B2 (en) | Refrigerator | |
| JP2009154919A (en) | Beverage feeding machine | |
| JP2011057239A (en) | Hydration support device | |
| US20050167445A1 (en) | Illuminating pouring spout | |
| US20130105434A1 (en) | Novelty bottle cap | |
| KR20110035671A (en) | Refrigerators and lighting devices of those refrigerators | |
| US20180202705A1 (en) | Refrigeration Appliance Comprising A Delivery Door | |
| JP4970618B2 (en) | refrigerator | |
| KR20090080250A (en) | Refrigerator water supply | |
| KR101990588B1 (en) | Refrigerator | |
| KR101492274B1 (en) | Ice dispenser and refrigerator with it | |
| US20160209105A1 (en) | Refrigerator dispenser and method of illuminating the dispenser | |
| KR20100000510U (en) | Recyclable Drink Bottles | |
| US20110120571A1 (en) | Liquid Filled Tap Handle | |
| JP2009154920A (en) | Beverage feeding machine | |
| JP2010188139A (en) | Glass | |
| KR20110026106A (en) | A water purifier | |
| JP4970617B2 (en) | refrigerator | |
| KR102115615B1 (en) | Refrigerator door and manufacturing method thereof | |
| KR200440206Y1 (en) | Lighting device of cooling beer container | |
| JP2005030759A (en) | Refrigerator-freezer | |
| KR102049050B1 (en) | Refrigerator | |
| JP3123427U (en) | Luminescent kettle | |
| JP2009154918A (en) | Beverage feeding machine |