













本発明は、測定対象空間に測定光を走査して、測定光と測定対象空間に存在する測定対象物からの反射光に基づいて測定対象物までの距離を測定する走査式測距装置に関する。 The present invention relates to a scanning distance measuring apparatus that scans measurement light in a measurement target space and measures the distance to the measurement target based on the measurement light and reflected light from the measurement target existing in the measurement target space.
この種の走査式測距装置は、ロボットや無人車の視覚認識センサとしてのナビゲーション用センサ、或いは、ドアの開閉センサや危険な装置に人や物が近づくのを検出し、機械を安全に停止する安全センサ、車の形状を検出して車種の判別および通過する車の数をカウントするETCシステム用センサ、人を検出して人数をカウントして込み具合や、人の流れを検出する検出用センサ、さらには、監視領域への侵入者の有無を検出する監視センサ等に利用され、測定光を出力する投光部と、投光部から出力された測定光を測定対象空間に向けて走査する走査部と、測定対象空間に存在する測定対象物からの反射光を検出する受光部を備え、測定光と受光部で検出された反射光に基づいて測定対象物までの距離が測定される。 This type of scanning distance measuring device can safely stop a machine by detecting the approach of a human or object to a navigation sensor as a visual recognition sensor for a robot or an unmanned vehicle, or a door opening / closing sensor or a dangerous device. Safety sensor, ETC system sensor that detects the shape of the vehicle and counts the number of vehicles passing, and detects the number of people by detecting the number of people Used for sensors and monitoring sensors that detect the presence or absence of intruders in the monitoring area, and scans the measurement light output from the light projecting unit that outputs measurement light toward the measurement target space. And a light receiving unit that detects reflected light from the measurement object existing in the measurement target space, and the distance to the measurement target is measured based on the measurement light and the reflected light detected by the light receiving unit. .
このような走査式測距装置として、特許文献1には、図13に示すように、レーザ光源504とレンズ505を備えた投光部と、受光レンズ508とフォトダイオード等の受光素子509を備えた受光部と、モータ502の回転軸501に取り付けた投受光用ミラー503と、投光部からの測定光を投受光用ミラー503に向けて偏向する反射ミラー506を備え、投受光用ミラー503により測定対象空間に向けて偏向された測定光のうち、測定対象空間内の障害物507からの反射光が投受光用ミラー503で受光部509に向けて偏向されるように構成され、モータ502の回転により測定光が水平面内で走査される走査式測距装置500が提案されている。 As such a scanning distance measuring apparatus,
また、特許文献2には、図14に示すように、投光部201と、投光部201から出力された測定光の光軸P上に対向配置された受光部202と、モータ210により光軸P周りに回転駆動されるキャップ部材204と、光軸Pに対して所定の傾斜角度でキャップ部材204の上壁上面に配置され、且つ、投光部200からの測定光を光軸Pと直角方向に向けて偏向する投光ミラー206と、光軸Pに対して所定の傾斜角度でキャップ部材204の上壁下面に固定され、且つ、測定対象空間に出力された測定光のうち障害物Rからの反射光を受光部202に向けて偏向する受光ミラー208を備えた走査式測距装置200が提案されている。
上述した特許文献1に開示された走査式測距装置は、投光部から測定対象空間へ測定光を偏向する偏向ミラーと、測定対象空間から受光部へ反射光を偏向する偏向ミラーが、一枚の投受光用ミラー503で兼用され、光路径が大きな反射光をミラーの周辺部で受光部に向けて偏向するために、投受光用ミラー503を面積が広い偏向面に形成する必要があり、さらには、反射光を受光部に導く光路長が長くなるため、受光レンズ508の口径が大きくなり、装置の小型化が困難になるという問題が内在している。 The scanning distance measuring device disclosed in
特許文献2に開示された走査式測距装置は、投光ミラー206及び受光ミラー208がキャップ部材204の上壁部を介して相互に近接して配置されているので、投光ミラーの投光光軸と受光ミラーの受光光軸の光軸間距離も必然的に小さくなり、近距離での死角を実用上問題の無い程度まで小さくでき、また、受光レンズ209がキャップ部材204のうち受光ミラーの入射側に設けられているので、受光ミラーを小さくでき、走査式測距装置を小型化できる。 In the scanning distance measuring device disclosed in Patent Document 2, since the
しかし、投光ミラー206と受光ミラー208がキャップ部材204によって分離され、測定光と反射光の光路が分離されているため、故意または不注意で透明窓に当接するように遮光シート等が貼られた場合に、投光部201から出力された測定光が遮光シートから反射しても反射光が受光部に入光せず、走査式測距装置としての機能が損なわれ、監視センサ等の用途で信頼性が確保できなくなるという問題があった。 However, since the
本発明の目的は、上述した問題点に鑑み、小型化を可能としながらも、光学窓が遮光シート等で覆われたことが容易に検出できる安価な走査式測距装置を提供する点にある。 In view of the above-described problems, an object of the present invention is to provide an inexpensive scanning rangefinder that can easily detect that an optical window is covered with a light-shielding sheet or the like while allowing for downsizing. .
この目的達成をするため、本発明による走査式測距装置の第一の特徴構成は、特許請求の範囲の書類の請求項1に記載した通り、投光部から出力された測定光を測定対象空間に向けて偏向する第一偏向部材と、前記測定対象空間に存在する測定対象物からの反射光を集光する受光レンズと、前記受光レンズを透過した反射光を前記投光部と対向配置された受光部に向けて偏向する第二偏向部材とを備えた光学系と、前記光学系を所定の軸心周りに回転させる走査機構を備え、前記受光部で検出された反射光に基づいて前記測定対象物までの距離を測定する走査式測距装置であって、前記第一偏向部材によって偏向された測定光を、前記第二偏向部材への反射光の入射光路内から出力する光学部材を備えている点にある。 In order to achieve this object, the first characteristic configuration of the scanning distance measuring device according to the present invention is that the measurement light output from the light projecting unit is measured as described in
上述の構成によれば、第一偏向部材によって偏向された測定光が第二偏向部材への反射光の入射光路内から出力されるため、光学窓に遮光シート等が貼り付けられた場合でも、遮光シート等からの反射光の一部が入射光路に沿って第二偏向部材へ入射するようになり、そのような測定光と反射光に基づいて至近距離に遮光シート等の異物が存在することを確実に検出できるようになる。 According to the above configuration, since the measurement light deflected by the first deflection member is output from the incident optical path of the reflected light to the second deflection member, even when a light shielding sheet or the like is attached to the optical window, A part of the reflected light from the light shielding sheet or the like enters the second deflecting member along the incident light path, and there is a foreign object such as the light shielding sheet at a close distance based on such measurement light and reflected light. Can be reliably detected.
同第二の特徴構成は、同請求項2に記載した通り、上述の第一特徴構成に加えて、受光レンズのうち前記測定光が通過する領域が切り欠かれている点にある。 As described in the second aspect, the second characteristic configuration is that, in addition to the first characteristic configuration described above, a region of the light receiving lens through which the measurement light passes is cut out.
上述の構成によれば、前記第一偏向部材によって偏向された測定光が、受光レンズの切り欠かれた領域を通過するので、測定光が受光レンズにより屈折することなく、適切に測定対象空間に向けて出力することができる。 According to the above configuration, the measurement light deflected by the first deflecting member passes through the notched region of the light receiving lens, so that the measurement light is appropriately refracted by the light receiving lens and appropriately enters the measurement target space. Can be output.
同第三の特徴構成は、同請求項3に記載した通り、上述の第一特徴構成または第二特徴構成に加えて、前記光学部材が、前記第二偏向部材と、前記第二偏向部材の偏向面のうち前記走査方向に沿った領域の一部に偏向面が延出形成された前記第一偏向部材で構成されている点にある。 According to the third feature configuration, in addition to the first feature configuration or the second feature configuration described above, the optical member includes the second deflection member and the second deflection member. The deflecting surface is constituted by the first deflecting member in which the deflecting surface is extended and formed in a part of the region along the scanning direction.
上述の構成によれば、第一偏向部材の偏向面のうち、第二偏向部材への延出領域から測定対象空間に出力された測定光が遮光シート等の異物に反射すると、反射光の一部が第二偏向部材の偏向面のうち走査方向に沿って当該延出領域に隣接する領域に入光するため、光シート等の異物が存在することを確実に検出できるようになる。 According to the above-described configuration, when the measurement light output from the extension area to the second deflection member of the first deflection member to the measurement target space is reflected by a foreign object such as a light shielding sheet, one of the reflected light is reflected. Since the portion enters the region adjacent to the extension region along the scanning direction on the deflection surface of the second deflection member, it is possible to reliably detect the presence of foreign matter such as a light sheet.
同第四の特徴構成は、同請求項4に記載した通り、上述の第三特徴構成に加えて、前記第一偏向部材と第二偏向部材が一体形成されている点にある。 The fourth characteristic configuration is that, in addition to the third characteristic configuration described above, the first deflection member and the second deflection member are integrally formed as described in the fourth aspect.
上述の構成によれば、第一偏向部材の偏向面と第二偏向部材の偏向面の成す角度が所定の角度となるように光学部材を一体形成することで、測定光及び反射光夫々の偏向面での入射角度及び反射角度の調整が不要となり、少ない部品点数で精度良く、走査式測距装置を容易に組み立てることができるようになる。 According to the above-described configuration, the optical member is integrally formed so that the angle formed by the deflection surface of the first deflection member and the deflection surface of the second deflection member becomes a predetermined angle, thereby deflecting each of the measurement light and the reflected light. It is not necessary to adjust the incident angle and the reflection angle on the surface, and the scanning distance measuring device can be easily assembled with a small number of parts and with high accuracy.
同第五の特徴構成は、同請求項5に記載した通り、上述の第三特徴構成または第四特徴構成に加えて、前記光学系に、前記第一偏向部材により偏向された測定光を測定対象空間に案内する筒状のガイド部材を備えている点にある。 In the fifth feature configuration, as described in
上述の構成によれば、第一偏向部材により偏向された測定光が筒状のガイド部材の中を通過して測定対象空間に案内されるので、投光部から出力された測定光の一部が装置内部で反射して発生する迷光が受光部で誤検出されるような不都合を解消することができる。 According to the above-described configuration, the measurement light deflected by the first deflection member passes through the cylindrical guide member and is guided to the measurement target space, so a part of the measurement light output from the light projecting unit However, it is possible to eliminate the inconvenience that stray light generated by reflection inside the apparatus is erroneously detected by the light receiving unit.
同第六の特徴構成は、同請求項6に記載した通り、上述の第一または第二特徴構成に加えて、前記光学部材が、前記第一偏向部材によって偏向された測定光を、前記第二偏向部材への反射光の入射光路内から出力するように平行移動させる二つの反射面を備えた第三偏向部材で構成されている点にある。 In the sixth feature configuration, in addition to the first or second feature configuration described above, in the sixth feature configuration, the optical member transmits the measurement light deflected by the first deflection member to the first feature configuration. It is in the point comprised by the 3rd deflection | deviation member provided with the two reflective surfaces to which it translates so that it may output from the inside of the incident optical path of the reflected light to a 2 deflection | deviation member.
上述の構成によれば、第一偏向部材によって測定対象空間に向けて偏向された測定光の光軸が、第三偏向部材の二つの反射面で偏向され、測定光が第二偏向部材への反射光の入射光路内から出力されるように平行移動される。 According to the above-described configuration, the optical axis of the measurement light deflected toward the measurement target space by the first deflection member is deflected by the two reflecting surfaces of the third deflection member, and the measurement light is directed to the second deflection member. The reflected light is translated so as to be output from the incident light path.
同第七の特徴構成は、請求項7に記載したとおり、上述の第六特徴構成に加え、前記第三偏向部材が前記受光レンズの切欠部に配置されている点にある。 The seventh characteristic configuration is that, as described in
上述の構成によれば、第一偏向部材によって偏向された測定光が、受光レンズの切欠部に配置された第三偏向部材を通過するので、測定光が受光レンズにより屈折することなく、適切に測定対象空間に向けて出力することができる。 According to the above configuration, the measurement light deflected by the first deflecting member passes through the third deflecting member disposed in the notch portion of the light receiving lens, so that the measuring light is appropriately refracted by the light receiving lens. It can output toward the measurement object space.
以上説明したように、本発明によれば、小型化を可能としながらも、光学窓が遮光シート等で覆われたことが容易に検出できる安価な走査式測距装置を提供することができるようになった。 As described above, according to the present invention, it is possible to provide an inexpensive scanning distance measuring device that can easily detect that the optical window is covered with a light-shielding sheet or the like while allowing a reduction in size. Became.
以下、本発明による走査式測距装置の第一の実施形態について説明する。 Hereinafter, a first embodiment of a scanning distance measuring device according to the present invention will be described.
図1に示すように、本発明による走査式測距装置1は、横断面視で略半円形状の湾曲面に形成された光透過性の光学窓2aが上部ハウジング21と下部ハウジング22の間に配置され、上部ハウジング21の正面には装置1の状態が判別可能なモニタ表示部79が設けられている。光学窓2aに対向配置された背部ハウジング23の上面に装置1で検出された距離情報を外部に取り出す信号ケーブルを接続する一対のケーブルクランプ78が取り付けられている。 As shown in FIG. 1, the scanning distance measuring
走査式測距装置1は、レーザ等の光源LDから出力される測定光に変調を加えて光学窓2aを通して対象物Rに照射し、対象物Rからの反射光を光学窓2aを通して受光素子PDで検出して距離を測定するもので、測定光の変調方式としてAM(Amplitude Modify)方式とTOF(Time of Flight)方式の二種類が実用化されている。 The scanning distance measuring
AM方式は、図11(a)及び(数1)に示すように、正弦波でAM変調された測定光とその反射光を光電変換して、それらの信号間の位相差Δφを計算し、位相差Δφから距離を演算する方式であり、TOF方式は、図11(b)及び(数2)に示すように、パルス状に変調された測定光とその反射光を光電変換し、それらの信号間の遅延時間Δtから距離を演算する方式であり、本発明が適用される走査式測距装置1は、上述の何れの方式をも採用することができるものである。
図2及び図3に示すように、走査式測距装置1は、内壁面が迷光を吸収する暗幕等の吸光部材で被覆されたハウジング21,22,23の内部に、測定光を出力する投光部3と反射光を検出する受光部5が光軸L1に沿って対向配置され、投光部3と受光部5との間に測定光を回転走査する走査機構4が配置されている。 As shown in FIGS. 2 and 3, the scanning distance measuring
走査機構4は、投光部3と受光部5を結ぶ光軸L1と一致する回転軸心P周りに光学系9を回転させる筒状の回転体8と、回転体8を回転駆動するモータ11を備えて構成されている。 The
回転体8は、下端部が縮径された円筒状の周壁部8aと天板部8bとからなり、その内周面に備えた軸受12を介して中空軸13によって回転可能に支承されている。 The
モータ11は、縮径された周壁部8aの下端部の外周面に取り付けられたマグネット11bでなる回転子と、ケーシング側に配置されたコイル11aでなる固定子とで構成され、コイル11aとマグネット11bとの相互作用により、回転体8が回転軸心P周りで回転可能に構成されている。 The
投光部3は、半導体レーザを用いた発光素子3aと、発光素子3aの駆動回路3bを備えて構成され、発光素子3aは、そこから出力される測定光の光軸L1と軸心Pが一致するように上部ハウジング21に固定配置されるとともに光軸L1上に光のビーム径を一定にする光学レンズ3cが配置されている。 The
受光部5は、回転軸心P上に走査機構4を挟んで投光部3と対向するように回転体8の内部に固定配置され、反射光を検出するアバランシェフォトダイオードでなる受光素子5aと、受光素子5aで光電変換された反射信号を増幅する増幅回路5bを備えて構成されている。 The
回転体8には、投光部3から光軸L1に沿って出力された測定光を測定対象空間に向けて90度偏向する第一偏向部材としての第一偏向ミラー9aと、測定対象空間に存在する測定対象物Rからの反射光を集光する受光レンズ9cと、受光レンズ9cを透過した反射光を光軸L1に沿って投光部3と対向配置された受光部5に向けて90度偏向する第二偏向部材としての第二偏向ミラー9bを備えた光学系9が取り付けられている。 The
つまり、投光部3から光軸L1に沿った光路Laで出射された測定光が、第一偏向ミラー9aで光軸L1と垂直な光軸L2に沿った光路Lbに偏向された後に、光学窓2aを通過して測定対象空間に照射され、光軸L2と平行な光軸L3に沿った光路Lcで光学窓2aを通過した測定対象物からの反射光が、受光レンズ9cで収束され、第二偏向ミラー9bにより光軸L1と等しい光軸L4に偏向されて受光部5に導かれる。 That is, the measurement light emitted from the
回転体8の周壁8aの一部に受光レンズ9cを取り付ける開口部8cが形成され、開口部8cに対応して天板部8bに偏向ミラー9a,9bを取り付ける切欠部8dが形成されている。 An
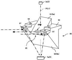
図4(a)に示すように、樹脂または光学ガラスで一体成形された光学部材90の直交する二つの平面に、金またはアルミニウムが反射部材としてコーティングされた偏向面91,92が形成され、第一偏向面91により光軸L1に対して測定光を測定対象領域に向けて90度偏向させる第一偏向ミラー9aが構成され、第二偏向面92により反射光を光軸L4に沿った受光部5に向けて90度偏向させる第二偏向ミラー9bが構成されている。 As shown in FIG. 4A, deflecting
第二偏向面92の上端側中央部が切り欠かれ、当該切欠部95に第一偏向ミラー9aが延出形成されるとともに、第一偏向ミラー91の両側部に回転体8の天板部8bへの取り付け姿勢を規制する基準面93が形成され、基準面93には内周面に螺条が形成された取付穴94が形成されている。 A central portion on the upper end side of the
図2及び図3に示すように、回転体8に形成された開口部8cから、一体形成された偏向ミラー9a,9bを挿入し、天板部8bに形成された切欠部8dの周面と上述の基準面93を接合させて取付穴94にビスを螺合させることにより、偏向ミラー9a,9bが回転体8に固定され、その後、開口部8cに受光レンズ9cが固定される。 As shown in FIGS. 2 and 3, the deflection mirrors 9a and 9b that are integrally formed are inserted through the
受光レンズ9cのレンズ中心より上部側の一部が直線状に切り欠かれ、さらにその中央部がレンズ中心方向に一部切り欠かれた切欠部が形成されている。第一偏向ミラー9aにより偏向された測定光を測定対象空間に案内する中空筒状のガイド部材9dが回転体8の天板部8bに形成された切欠部8dに固定され、ガイド部材9dの先端側端部が受光レンズ9cに形成された切欠部から延出するように、そしてガイド部材9dの基端側端部が第一偏向ミラー9aの下端側と接当するように配置されている。即ち、受光レンズのうち前記測定光が通過する領域が切り欠かれている。 A part of the
ガイド部材9dの外周は遮光部材で被覆され、第一偏向ミラー9aにより偏向された測定光がガイド部材9dの中を通過して測定対象空間に案内される。従って、投光部3から出力された測定光の一部が回転体8内部に漏れて発生する迷光が受光部5で誤検出されるような不都合を解消することができる。 The outer periphery of the
上部ハウジング21と下部ハウジング22間に設けられた光学窓2aは、投光部3から出力された測定光が走査機構4により測定対象空間に照射され、測定対象空間に存在する測定対象物Rで反射した反射光が受光部5で検出されるように、上下方向に一定幅を有するとともに、上端から下端にかけて内側に僅かに傾斜するように配置され、測定光が回転軸心Pを中心として約250度範囲で走査可能に配置されている。これにより光学窓2a表面に埃等が積もりにくくしながらも、広範囲に亘る空間を走査できる。 The
なお、図12に示すように、前記光学窓2aは、下端から上端にかけて内側に僅かに傾斜するように配置してもよい。光学窓2aの傾斜角度及び、回転軸心Pを中心とした走査角度は、走査式測距装置の設置位置、用途に応じ適宜設定されるものである。 In addition, as shown in FIG. 12, you may arrange | position the said
上述した光学部材90を採用すると、図2に示すように、第一偏向ミラー9aによって偏向された測定光が、第一偏向ミラー9aの設置角度と異なる設置角度で設置された第二偏向ミラー9bへの反射光の入射光路Lc内から出力されるようになり、光学窓2aの周囲に遮光シート等が貼り付けられた場合でも、遮光シート等からの反射光の一部が入射光路Lcに沿って第二偏向ミラー9bへ入射するようになり、そのような測定光と反射光に基づいて至近距離に遮光シート等の異物が存在することを確実に検出できるようになる。 When the above-described
具体的には、図5に示すように、第一偏向ミラー9aの偏向面のうち、第二偏向ミラー9bへの延出領域96から測定対象空間に出力された測定光が遮光シート等の異物に反射すると、反射光の一部が第二偏向ミラー9bの偏向面のうち走査方向に沿って当該延出領域96に隣接する領域97に入光するため、光シート等の異物が存在することが検出できる。尚、第二偏向面92に形成される切欠部95は上端側中央部に限るものではなく、測定光が第二偏向ミラー9bへの反射光の入射光路Lc内から出力されるように測定光の光路Lbが形成されるものであれば、第二偏向面92の上端側の端部に形成されるものであってもよい。 Specifically, as shown in FIG. 5, the measurement light output from the
即ち、第二偏向ミラー9aと、第二偏向ミラー9bの偏向面のうち走査方向に沿った領域の一部に偏向面が延出形成された第一偏向ミラー9aで構成される上述の光学部材90が、本発明の特徴部である、第一偏向部材9aによって偏向された測定光を、第一偏向部材9bの偏向面の設置角度と異なる設置角度の偏向面を備えた第二偏向部材9bへの反射光の入射光路Lc内から出力する光学部材を構成するものである。 That is, the above-described optical member composed of the
このような光学部材90として、図4(a)に示すものの他に、図4(b)に示すように、第一偏向ミラー9aの上端側が基準面93と面一に形成されるものや、図4(c)に示すように、第一偏向ミラー9aの上端側が基準面93と面一に形成され、且つ、第一偏向ミラー9aの下端側が第二偏向ミラー9bの偏向面から突出するように形成されるものであってもよい。何れの場合にも、投光部3から光軸L1に沿って出力された光路La内の測定光を光軸L1と垂直な方向に偏向可能な面積を有していれば良い。 As such an
回転体8の外周面に周方向に複数の光学的スリットが形成されたスリット板15aが設置されるとともに、スリット板15aの回転経路上にフォトインタラプタ15bが配置され、これらにより回転体8の走査角度を検出する走査角度検出部15が構成されている。 A
下部ハウジング22の上部には、走査機構4を回転制御するとともに、発光素子3aを駆動制御して、受光部5で検出された反射信号に基づいて測定対象物までの距離を算出する信号処理基板7が配置されている。 In the upper part of the
信号処理基板7では、走査角度検出部15から入力されるパルス信号に基づいて走査機構4の回転角度が算出されて、反射光に対応する測定対象物の位置する方向が把握される。 In the
光学窓2aに対向する背部ハウジング23の内壁部に、信号処理基板7で算出される距離を補正するための基準光を導くプリズム等の導光部材17が配置されている。 A
走査機構4により測定光が一走査される度に、投光部3から導光部材17を介して受光部5に直接入射する基準光に基づいて、測距装置内での投光部3から受光部5までの基準距離が算出され、これに基づいて測定対象空間の対象物からの反射光に基づいて算出される距離が補正されるのである。 Each time the measurement light is scanned by the
尚、受光部5からの出力信号線は、中空軸13の内部空間に挿通され、信号処理基板7に接続されている。 The output signal line from the
次に、本発明による走査式測距装置の第二の実施形態を説明する。 Next, a second embodiment of the scanning distance measuring device according to the present invention will be described.
第二の実施形態は、第一偏向ミラー9aによって偏向された測定光を、第一偏向ミラー9bの偏向面の設置角度と異なる設置角度の偏向面を備えた第二偏向ミラー9bへの反射光の入射光路Lc内から出力する光学部材90の構成が、上述した第一の実施形態と相違するものである。以下では、相違点となる光学部材90の構成を中心に説明し、共通の構成要素については同符号を付して詳しい説明を省略する。 In the second embodiment, the measurement light deflected by the
図6及び図7に示すように、走査式測距装置10に組み込まれた回転体8には、投光部3から光軸L1に沿って出力された測定光を測定対象空間に向けて90度偏向する第一偏向部材としての第一偏向ミラー9aと、測定対象空間に存在する測定対象物Rからの反射光を集光する受光レンズ9cと、受光レンズ9cを透過した反射光を光軸L1に沿って投光部3と対向配置された受光部5に向けて90度偏向する第二偏向部材としての第二偏向ミラー9bを備えた光学系9が取り付けられている。 As shown in FIGS. 6 and 7, the
樹脂または光学ガラスで一体成形された光学部材90の直交する二つの平面に、金またはアルミニウムが反射部材としてコーティングされた偏向面91,92が形成され、第一偏向面91により光軸L1に対して測定光を測定対象領域に向けて90度偏向させる第一偏向ミラー9aが構成され、第一偏向面92により反射光を光軸L1の延長上に沿った受光部5に向けて90度偏向させる第二偏向ミラー9bが構成されている。 Deflection surfaces 91 and 92 coated with gold or aluminum as a reflecting member are formed on two orthogonal planes of an
光学部材90のうち偏向面91,92を挟む両側面に、回転体8の天板部8bへの取り付け姿勢を規制する基準面93が延出形成され、基準面93には内周面に螺条が形成された取付穴94が形成されている。 A
回転体8に形成された開口部8cから、一体形成された偏向ミラー9a,9bを挿入し、天板部8bに形成された切欠部8dの周面と上述の基準面93を接合させて取付穴94にビスを螺合させることにより、偏向ミラー9a,9bが回転体8に固定され、その後、開口部8cに受光レンズ9cが固定される。 The integrally formed deflection mirrors 9a and 9b are inserted from the
受光レンズ9cのレンズ中心より上部側の一部が直線状に切り欠かれ、さらにその中央部がレンズ中心方向に一部切り欠かれた切欠部が形成されている。回転体8の天板部8bに形成された切欠部8eに、第三偏向部材9eが固定され、その一端が受光レンズ9cに形成された切欠部に嵌入されるように配置されている。 A part of the
第三偏向部材9eは、第一偏向ミラー9aによって偏向された測定光を、第一偏向ミラー9aの偏向面の設置角度と異なる設置角度の偏向面を備えた第二偏向ミラー9bへの反射光の入射光路内から出力するように、平行移動させる二枚の偏向ミラー9f,9gと、外周が遮光部材で被覆されたミラー保持部9hを備えている。 The
偏向ミラー9f,9gは偏向面が対向するように配置され、ともに光軸L2に対して45度傾斜するように、外周が遮光部材で被覆されたミラー保持部9hによって保持されている。 The deflection mirrors 9f and 9g are arranged so that their deflection surfaces face each other, and are held by a
第一偏向ミラー9aによって光軸L1に垂直な光軸L2に偏向された測定光が第三偏向ミラー9fによって光軸Lと平行な光軸に沿うように偏向され、さらに第四偏向ミラー9gによって光軸L2に平行な光軸L2´に偏向されるのである。 The measurement light deflected by the
即ち、第一偏向部材9aによって偏向された測定光を、第一偏向部材9aの偏向面の設置角度と異なる設置角度の偏向面を備えた第二偏向部材9bへの反射光の入射光路Lc内から出力する光学部材が、第三偏向部材9eで構成されている。 That is, the measurement light deflected by the
従って、第一偏向ミラー9aによって偏向された測定光が、第一偏向ミラー9aの設置角度と異なる設置角度で設置された第二偏向ミラー9bへの反射光の入射光路Lc内から出力されるようになり、光学窓2aの周囲に遮光シート等が貼り付けられた場合でも、遮光シート等からの反射光の一部が入射光路Lcに沿って第二偏向ミラー9bへ入射するようになり、そのような測定光と反射光に基づいて至近距離に遮光シート等の異物が存在することを確実に検出できるようになる。 Accordingly, the measurement light deflected by the
上述した実施形態では、第三偏向部材9eがミラー保持部9hに保持された一対の偏向ミラー9f,9gで構成されるものを説明したが、図8に示すように、第三偏向部材9eが偏向面が対向するように配置され、ともに光軸L2に対して45度傾斜するように平成されたプリズムで構成されるものであってもよい。 In the above-described embodiment, the
尚、第一偏向ミラー9a及び第二偏向ミラー9bは一体形成されることが取付精度等の観点で望ましいが、必ずしも一体形成されている必要は無く、第一偏向ミラー9a及び第二偏向ミラー9bが夫々別体で構成され、所定の角度で回転体8の天板部8bへ取り付けられるものであればよい。 The
以下に、上述した第一及び第二の実施形態で説明した走査式測距装置1,10に組み込まれた信号処理基板7により、測定光と反射光に基づいて測定対象物までの距離を測定する演算処理について説明する。 Hereinafter, the distance to the measurement object is measured based on the measurement light and the reflected light by the
信号処理基板7には、測定光の出力タイミングに同期して受光部5により検出される基準光に基づいて測定対象物までの距離を算出するTOF方式の信号処理回路70が設けられている。 The
図9に示すように、信号処理回路70は、走査角度検出部15から出力された走査角度を示す角度信号に基づいて、角度信号に同期した発光駆動信号を出力する発光制御部71と、測定光が導光部材17に入射される基準回転位置に走査部4が位置しないときに、受光部5から出力された電気信号を測定光信号として検出する測定光検出部72と、走査部4が基準回転位置に位置するときに、受光部5から出力された電気信号を基準光信号として検出する基準光検出部73と、基準光検出部73で検出された基準光信号に基づいて当該走査式測距装置と測定対象物との測定距離に対する補正値を算出する補正値算出部74と、測定光検出部72で検出された測定光信号に基づいて測定距離を算出し、測定距離と補正値に基づいて最終測定距離を算出する距離算出部75と、角度信号と最終測定距離から測定対象物の位置を演算して出力するシステム制御部76等を備えて構成されている。 As shown in FIG. 9, the
システムに電源が投入されると、システム制御部76からモータ制御回路77にモータ駆動信号が出力され、モータ制御回路77によりモータ11が所定速度で駆動される。 When the system is powered on, a motor drive signal is output from the
モータの回転駆動に伴って走査角度検出部15から出力されるパルス信号が発光制御部71に入力され、当該パルス信号に基づいて発光制御部71では走査部4による測定光の出力方向が把握される。 A pulse signal output from the scanning
走査角度検出部15を構成するスリット板15aのスリット間隔が予め設定された回転体の基準回転位置で他の回転位置と異なるように形成され、パルス信号の波形に基づいて基準回転位置が検出され、基準回転位置からのパルス数をカウントすることにより基準回転位置からの回転角度が算出される。 The slit interval of the
図10に示すように、走査角度検出部15から出力される角度信号であるパルス信号に基づいて計測タイミングを算出したシステム制御部76から、発光制御部71に計測タイミング信号が入力されると、発光制御部71から当該計測タイミング信号を基準とする所定タイミングで投光部3に所定デューティ比の発光駆動信号S1が出力される。 As shown in FIG. 10, when the measurement timing signal is input to the light
発光駆動信号S1を受け取った投光部3では、駆動回路3bによって半導体レーザ3aが駆動されパルス状の測定光が出力される。 In the
走査部4が基準回転位置に位置しないときには、出力された測定光S2(S2a)のうち測定対象物で反射した反射光S4が受光素子5aで光電変換され、増幅回路5bで増幅されて測定光検出部72に出力される。 When the
測定光検出部72は、当該電気信号を反射信号S5aとして検出して、距離算出部75へ出力する。なお、走査部4が基準回転位置に位置する場合は、測定光検出部72は信号を検出しないように構成されている。 The
一方、走査部4が基準回転位置に位置する場合は、出力された測定光S2(S2b)が基準光S3として装置外部に出射されることなく上述の導光部材17を介して受光部5で検出され、増幅回路51において基準光S3の光電変換が行なわれて変換後の電気信号が信号解析可能なレベルまで増幅させられて出力される。 On the other hand, when the
基準光検出部73は、当該電気信号を基準信号S5bとして検出して、補正値算出部74へ出力する。尚、走査部4が基準回転位置に位置しないときは、基準光検出部73は信号を検出しないように構成されている。 The reference
補正値算出部74では、測定光S2bに対応する発光駆動信号S1と基準信号S5bの時間差t1が算出され、時間差t1より当該走査式測距装置と測定対象物との測定距離に対する補正値ΔLを〔数2〕に基づいて算出する。尚、補正値ΔLは、〔数2〕のTに時間差t1を代入して得られる距離Lとして求められる。 In the correction
距離算出部75では、測定光S2aに対応する発光駆動信号S1と反射信号S5aの時間差t2が算出され、時間差t2より測定距離L1を〔数2〕に基づいて算出する。尚、測定距離L1は、〔数2〕のTに時間差t2を代入して得られる距離Lとして求められる。 The
そして、距離算出部75では、算出された測定距離L1から補正値ΔLを減算することにより最終測定距離L2が算出される。 Then, the
システム制御部76では、走査角度検出部15から出力される角度信号と最終測定距離L2から測定対象物の方向と位置が出力される。つまり、角度信号から走査式測距装置に対する測定対象物の方向が算出され、最終測定距離から走査式測距装置から測定対象物までの距離L2が特定される。 The
以上説明したように、所定周期で出力される計測タイミング信号と同周期で発光素子が間歇駆動されることにより、回転軸心Pを中心として約250度範囲の測定対象空間に位置する測定対象物の方向及び距離が求められる。 As described above, the measurement object is located in the measurement object space in the range of about 250 degrees around the rotation axis P when the light emitting element is intermittently driven in the same period as the measurement timing signal output in a predetermined period. Direction and distance.
測定光検出部72または基準光検出部73では、発光駆動信号S1と反射信号S5aまたは基準信号S5bとの時間差t1、t2が、各信号の立ち上がりタイミングを基準に検出される。立ち上がりタイミングは、夫々の信号が所定の閾値を超えた時点を検出するコンパレータを設けることにより容易に検出できる。 In the measurement
コンパレータによる立ち上がりタイミングの検出では、反射光の強度による信号の立ち上がりの微小な変動による影響を受けて誤差が発生するため、そのような誤差を吸収するために、以下の手法を採用することができる。 In the detection of the rise timing by the comparator, an error occurs due to the influence of a minute fluctuation of the rise of the signal due to the intensity of the reflected light. Therefore, the following method can be adopted to absorb such an error. .
例えば、反射信号または基準信号の立ち上がり波形を、例えばピーク値を示す範囲までの間で時間積分し、予めメモリに記憶された複数の積分値に夫々対応する立ち上がりタイミングの補正値マップデータから、当該積分値に対応する立ち上がりタイミングデータを導出するように構成すれば、反射信号または基準信号の立ち上がりタイミングが正確に算出できる。反射光や基準光の強度の変動に起因する立ち上がり時間の変動が、信号の積分値と相関を有するという特性を利用するものである。 For example, the rising waveform of the reflected signal or the reference signal is time-integrated, for example, up to a range indicating the peak value, and the correction value map data of the rising timing corresponding to each of a plurality of integrated values stored in the memory in advance is used. If the rising timing data corresponding to the integrated value is derived, the rising timing of the reflected signal or the reference signal can be accurately calculated. The characteristic is that the rise time fluctuation caused by the fluctuation of the intensity of the reflected light or the reference light has a correlation with the integral value of the signal.
さらに、反射信号または基準信号のピーク値を算出し、複数のピーク値に夫々対応する補正値を予めメモリに記憶しておいたマップデータから、当該ピーク値に対応する補正値を導出することで、コンパレータにより求められる反射信号または基準信号の立ち上がりタイミングを補正する構成であってもよい。立ち上がり時間の変動が信号のピーク値と相関を有するという特性を利用するものである。 Further, the peak value of the reflected signal or the reference signal is calculated, and the correction value corresponding to the peak value is derived from the map data in which the correction values corresponding to the plurality of peak values are stored in the memory in advance. The rising timing of the reflected signal or reference signal obtained by the comparator may be corrected. The characteristic is that the rise time fluctuation has a correlation with the peak value of the signal.
さらに別の方法として、反射信号または基準信号を時間微分することで微分信号を生成し、微分信号の正領域の時間軸上での重心位置を、基準信号及び反射信号の立ち上がり位置として求める構成であってもよい。 As another method, a differential signal is generated by time-differentiating the reflected signal or the reference signal, and the center of gravity position on the time axis of the positive region of the differential signal is obtained as the rising position of the reference signal and the reflected signal. There may be.
また、反射信号または基準信号の立ち上がり部分の時間軸上での重心位置を算出して立ち上がりタイミングを求める方法や、反射信号または基準信号の立ち上がり部分を直線近似または多項式近似して、その近似線と出力信号のオフセットレベルとの交点の位置を立ち上がりタイミングとして算出する方法等を採用するものであってもよい。 In addition, the method of calculating the center of gravity position on the time axis of the rising portion of the reflected signal or reference signal to obtain the rising timing, or by approximating the rising portion of the reflected signal or reference signal by linear approximation or polynomial approximation, For example, a method of calculating the position of the intersection with the offset level of the output signal as the rising timing may be adopted.
上述の実施形態では、本発明による走査式測距装置に、パルス状に変調された測定光とその反射光を光電変換し、それらの信号間の遅延時間から距離を演算するTOF方式が採用される場合を説明したが、正弦波でAM変調された測定光とその反射光を光電変換して、それらの信号間の位相差を求め、位相差から距離を演算するAM方式が採用されるものであってもよい。 In the above-described embodiment, the scanning distance measuring device according to the present invention employs the TOF method that photoelectrically converts the measurement light modulated in a pulse shape and its reflected light, and calculates the distance from the delay time between these signals. In this case, the AM method is used in which the measurement light modulated with a sine wave and the reflected light are photoelectrically converted, the phase difference between these signals is obtained, and the distance is calculated from the phase difference. It may be.
この場合、発光制御部71から発光駆動信号を受け取った投光部3からは、駆動回路3bで半導体レーザから正弦波で変調された測定光が出射される。 In this case, from the
そして、補正値算出部74と距離算出部75では、発光素子3aから出力された測定光と増幅回路84から出力された測定光信号または基準光信号との間の位相差が算出され、算出された位相差を(数1)に代入することにより距離または補正値が算出される。 Then, the correction
光源に用いられる発光素子は、半導体レーザに限るものではなく、発光ダイオード等の他の発光素子を用いることも可能である。 The light emitting element used for the light source is not limited to the semiconductor laser, and other light emitting elements such as a light emitting diode may be used.
上述した何れの実施形態も、本発明の一実施例であり、走査式測距装置の具体的形状、構成、使用材料、信号処理のための回路構成等各部の具体的な構成は、本発明による作用効果を奏する範囲において適宜変更設計できることはいうまでもない。 Any of the above-described embodiments is an example of the present invention, and the specific configuration of each part such as the specific shape, configuration, material used, circuit configuration for signal processing of the scanning distance measuring device is the present invention. Needless to say, the design can be changed as appropriate within the range where the effects of the above are achieved.
1:走査式測距装置
2a:光学窓
2:ハウジング
21:上部ハウジング
22:下部ハウジング
23:背部ハウジング
3:投光部
3a:発光素子
3b:駆動回路
4:走査機構
5:受光部
5a:受光素子
5b:増幅回路
7:信号処理回路基板
8:回転体
9:光学系
9a:第一偏向ミラー
9b:第二偏向ミラー
9c:受光レンズ
9d:ガイド部材
9e:第三偏向部材
9f,9g:偏向ミラー
9h:ミラー保持部
11:モータ
15:走査角度検出部
17:導光部材
70:信号処理回路
71:発光制御部
72:測定光検出部
73:基準光検出部
74:補正値算出部
75:距離算出部
76:システム制御部
90:光学部材
91:第一偏向面91
92:第二偏向面92
93:基準面
94:取付穴1: Scanning
92:
93: Reference plane 94: Mounting hole
| Application Number | Priority Date | Filing Date | Title |
|---|---|---|---|
| JP2007229828AJP5598831B2 (en) | 2007-09-05 | 2007-09-05 | Scanning distance measuring device |
| Application Number | Priority Date | Filing Date | Title |
|---|---|---|---|
| JP2007229828AJP5598831B2 (en) | 2007-09-05 | 2007-09-05 | Scanning distance measuring device |
| Publication Number | Publication Date |
|---|---|
| JP2009063339Atrue JP2009063339A (en) | 2009-03-26 |
| JP5598831B2 JP5598831B2 (en) | 2014-10-01 |
| Application Number | Title | Priority Date | Filing Date |
|---|---|---|---|
| JP2007229828AActiveJP5598831B2 (en) | 2007-09-05 | 2007-09-05 | Scanning distance measuring device |
| Country | Link |
|---|---|
| JP (1) | JP5598831B2 (en) |
| Publication number | Priority date | Publication date | Assignee | Title |
|---|---|---|---|---|
| JP2011112503A (en)* | 2009-11-26 | 2011-06-09 | Denso Wave Inc | Object detection system |
| JP2013508695A (en)* | 2009-11-20 | 2013-03-07 | ファロ テクノロジーズ インコーポレーテッド | Equipment for optically scanning and measuring the environment |
| US8625106B2 (en) | 2009-07-22 | 2014-01-07 | Faro Technologies, Inc. | Method for optically scanning and measuring an object |
| US8699007B2 (en) | 2010-07-26 | 2014-04-15 | Faro Technologies, Inc. | Device for optically scanning and measuring an environment |
| US8705012B2 (en) | 2010-07-26 | 2014-04-22 | Faro Technologies, Inc. | Device for optically scanning and measuring an environment |
| US8705016B2 (en) | 2009-11-20 | 2014-04-22 | Faro Technologies, Inc. | Device for optically scanning and measuring an environment |
| US8719474B2 (en) | 2009-02-13 | 2014-05-06 | Faro Technologies, Inc. | Interface for communication between internal and external devices |
| US8730477B2 (en) | 2010-07-26 | 2014-05-20 | Faro Technologies, Inc. | Device for optically scanning and measuring an environment |
| US8830485B2 (en) | 2012-08-17 | 2014-09-09 | Faro Technologies, Inc. | Device for optically scanning and measuring an environment |
| US8896819B2 (en) | 2009-11-20 | 2014-11-25 | Faro Technologies, Inc. | Device for optically scanning and measuring an environment |
| JP2014228492A (en)* | 2013-05-24 | 2014-12-08 | リコー光学株式会社 | Laser device |
| EP2829894A1 (en) | 2013-07-25 | 2015-01-28 | Funai Electric Co., Ltd. | Laser scanning device |
| US9009000B2 (en) | 2010-01-20 | 2015-04-14 | Faro Technologies, Inc. | Method for evaluating mounting stability of articulated arm coordinate measurement machine using inclinometers |
| US9074883B2 (en) | 2009-03-25 | 2015-07-07 | Faro Technologies, Inc. | Device for optically scanning and measuring an environment |
| US9113023B2 (en) | 2009-11-20 | 2015-08-18 | Faro Technologies, Inc. | Three-dimensional scanner with spectroscopic energy detector |
| EP2940489A1 (en) | 2014-05-02 | 2015-11-04 | Ricoh Company, Ltd. | Object detection device and sensing apparatus |
| US9210288B2 (en) | 2009-11-20 | 2015-12-08 | Faro Technologies, Inc. | Three-dimensional scanner with dichroic beam splitters to capture a variety of signals |
| USRE45854E1 (en) | 2006-07-03 | 2016-01-19 | Faro Technologies, Inc. | Method and an apparatus for capturing three-dimensional data of an area of space |
| JP2016020834A (en)* | 2014-07-14 | 2016-02-04 | 船井電機株式会社 | Laser scanner |
| US9329271B2 (en) | 2010-05-10 | 2016-05-03 | Faro Technologies, Inc. | Method for optically scanning and measuring an environment |
| US9372265B2 (en) | 2012-10-05 | 2016-06-21 | Faro Technologies, Inc. | Intermediate two-dimensional scanning with a three-dimensional scanner to speed registration |
| US9417056B2 (en) | 2012-01-25 | 2016-08-16 | Faro Technologies, Inc. | Device for optically scanning and measuring an environment |
| EP3064957A1 (en) | 2015-03-05 | 2016-09-07 | Ricoh Company, Ltd. | Semiconductor laser driving apparatus, optical scanning apparatus, object detection apparatus, and mobile apparatus |
| EP3070497A1 (en) | 2015-03-18 | 2016-09-21 | Ricoh Company, Ltd. | Object detecting device, sensing device, and mobile object device |
| US9513107B2 (en) | 2012-10-05 | 2016-12-06 | Faro Technologies, Inc. | Registration calculation between three-dimensional (3D) scans based on two-dimensional (2D) scan data from a 3D scanner |
| US9529083B2 (en) | 2009-11-20 | 2016-12-27 | Faro Technologies, Inc. | Three-dimensional scanner with enhanced spectroscopic energy detector |
| US9551575B2 (en) | 2009-03-25 | 2017-01-24 | Faro Technologies, Inc. | Laser scanner having a multi-color light source and real-time color receiver |
| EP3128346A2 (en) | 2015-08-05 | 2017-02-08 | Ricoh Company Ltd. | Pulsed light detector, object detector, sensor, movable device, and pulsed light detecting method |
| US9607239B2 (en) | 2010-01-20 | 2017-03-28 | Faro Technologies, Inc. | Articulated arm coordinate measurement machine having a 2D camera and method of obtaining 3D representations |
| EP3147690A1 (en) | 2015-09-25 | 2017-03-29 | Ricoh Company, Ltd. | Circuit device, optical detector, object detector, sensor, and movable device |
| US9628775B2 (en) | 2010-01-20 | 2017-04-18 | Faro Technologies, Inc. | Articulated arm coordinate measurement machine having a 2D camera and method of obtaining 3D representations |
| JP2017090135A (en)* | 2015-11-06 | 2017-05-25 | アイシン精機株式会社 | Distance measuring device |
| JP2017090128A (en)* | 2015-11-05 | 2017-05-25 | 船井電機株式会社 | Measuring apparatus |
| JP2017090137A (en)* | 2015-11-06 | 2017-05-25 | アイシン精機株式会社 | Ranging device |
| JP2017125765A (en)* | 2016-01-14 | 2017-07-20 | コニカミノルタ株式会社 | Object detection device |
| US9846236B2 (en) | 2014-08-28 | 2017-12-19 | Ricoh Company, Ltd. | Optical scanner, object detector, and sensing apparatus |
| EP3267227A1 (en) | 2016-07-01 | 2018-01-10 | Ricoh Company, Ltd. | Object detector, sensing device, and mobile apparatus |
| KR101861433B1 (en)* | 2016-06-30 | 2018-05-25 | 광주과학기술원 | Optical System for Transmitting and Receiving Laser |
| WO2018150999A1 (en)* | 2017-02-17 | 2018-08-23 | 北陽電機株式会社 | Object capturing device |
| US10067222B2 (en) | 2014-08-01 | 2018-09-04 | Funai Electric Co., Ltd. | Laser rangefinder |
| US10067231B2 (en) | 2012-10-05 | 2018-09-04 | Faro Technologies, Inc. | Registration calculation of three-dimensional scanner data performed between scans based on measurements by two-dimensional scanner |
| US10082564B2 (en) | 2015-01-16 | 2018-09-25 | Ricoh Company, Ltd. | Object detection device, sensing device, movable body device, and object detection method |
| JP2018155619A (en)* | 2017-03-17 | 2018-10-04 | 大成建設株式会社 | Distance measurement device and drilling situation management system |
| US10175037B2 (en) | 2015-12-27 | 2019-01-08 | Faro Technologies, Inc. | 3-D measuring device with battery pack |
| US10281259B2 (en) | 2010-01-20 | 2019-05-07 | Faro Technologies, Inc. | Articulated arm coordinate measurement machine that uses a 2D camera to determine 3D coordinates of smoothly continuous edge features |
| EP3540468A1 (en) | 2018-03-13 | 2019-09-18 | Ricoh Company Ltd. | Object detector, mobile object, and object detection method |
| US10514295B2 (en) | 2016-06-10 | 2019-12-24 | Ricoh Company, Ltd. | Object detector, sensing device, and mobile apparatus |
| JPWO2021019903A1 (en)* | 2019-07-26 | 2021-02-04 | ||
| WO2021019902A1 (en)* | 2019-07-26 | 2021-02-04 | パナソニックIpマネジメント株式会社 | Laser radar |
| CN114008484A (en)* | 2019-06-11 | 2022-02-01 | 株式会社电装 | Distance measuring device |
| WO2022097518A1 (en)* | 2020-11-06 | 2022-05-12 | 株式会社デンソー | Laser radar device |
| CN114981678A (en)* | 2019-12-17 | 2022-08-30 | 日本先锋公司 | Sensor device and housing |
| US11609311B2 (en) | 2017-10-24 | 2023-03-21 | Sharp Kabushiki Kaisha | Pulsed light irradiation/detection device, and optical radar device |
| WO2025022967A1 (en)* | 2023-07-21 | 2025-01-30 | 株式会社トプコン | Surveying device |
| Publication number | Priority date | Publication date | Assignee | Title |
|---|---|---|---|---|
| JPH0365995U (en)* | 1989-10-27 | 1991-06-26 | ||
| JPH07154909A (en)* | 1993-11-26 | 1995-06-16 | Sumitomo Electric Ind Ltd | Under-the-wire object distance measuring device for overhead wires |
| JPH07191142A (en)* | 1993-12-27 | 1995-07-28 | Astecs Kk | All azimuth distance detecting device |
| JPH09152483A (en)* | 1995-11-29 | 1997-06-10 | Nikon Corp | Lightwave ranging device |
| JP2001311612A (en)* | 2000-04-28 | 2001-11-09 | Minolta Co Ltd | Shape input device |
| JP2003023202A (en)* | 2001-07-05 | 2003-01-24 | Sony Corp | Structure of light emitting and light receiving device |
| JP2005010094A (en)* | 2003-06-20 | 2005-01-13 | Denso Corp | Object recognition apparatus for vehicle |
| JP2005221336A (en)* | 2004-02-04 | 2005-08-18 | Nippon Densan Corp | Scanning range sensor |
| JP2007170917A (en)* | 2005-12-20 | 2007-07-05 | Hokuyo Automatic Co | Optical scanning device and device under test |
| Publication number | Priority date | Publication date | Assignee | Title |
|---|---|---|---|---|
| JPH0365995U (en)* | 1989-10-27 | 1991-06-26 | ||
| JPH07154909A (en)* | 1993-11-26 | 1995-06-16 | Sumitomo Electric Ind Ltd | Under-the-wire object distance measuring device for overhead wires |
| JPH07191142A (en)* | 1993-12-27 | 1995-07-28 | Astecs Kk | All azimuth distance detecting device |
| JPH09152483A (en)* | 1995-11-29 | 1997-06-10 | Nikon Corp | Lightwave ranging device |
| JP2001311612A (en)* | 2000-04-28 | 2001-11-09 | Minolta Co Ltd | Shape input device |
| JP2003023202A (en)* | 2001-07-05 | 2003-01-24 | Sony Corp | Structure of light emitting and light receiving device |
| JP2005010094A (en)* | 2003-06-20 | 2005-01-13 | Denso Corp | Object recognition apparatus for vehicle |
| JP2005221336A (en)* | 2004-02-04 | 2005-08-18 | Nippon Densan Corp | Scanning range sensor |
| JP2007170917A (en)* | 2005-12-20 | 2007-07-05 | Hokuyo Automatic Co | Optical scanning device and device under test |
| Publication number | Priority date | Publication date | Assignee | Title |
|---|---|---|---|---|
| USRE45854E1 (en) | 2006-07-03 | 2016-01-19 | Faro Technologies, Inc. | Method and an apparatus for capturing three-dimensional data of an area of space |
| US8719474B2 (en) | 2009-02-13 | 2014-05-06 | Faro Technologies, Inc. | Interface for communication between internal and external devices |
| US9551575B2 (en) | 2009-03-25 | 2017-01-24 | Faro Technologies, Inc. | Laser scanner having a multi-color light source and real-time color receiver |
| US9074883B2 (en) | 2009-03-25 | 2015-07-07 | Faro Technologies, Inc. | Device for optically scanning and measuring an environment |
| US8625106B2 (en) | 2009-07-22 | 2014-01-07 | Faro Technologies, Inc. | Method for optically scanning and measuring an object |
| US9417316B2 (en) | 2009-11-20 | 2016-08-16 | Faro Technologies, Inc. | Device for optically scanning and measuring an environment |
| US8705016B2 (en) | 2009-11-20 | 2014-04-22 | Faro Technologies, Inc. | Device for optically scanning and measuring an environment |
| JP2013508695A (en)* | 2009-11-20 | 2013-03-07 | ファロ テクノロジーズ インコーポレーテッド | Equipment for optically scanning and measuring the environment |
| US9210288B2 (en) | 2009-11-20 | 2015-12-08 | Faro Technologies, Inc. | Three-dimensional scanner with dichroic beam splitters to capture a variety of signals |
| US8896819B2 (en) | 2009-11-20 | 2014-11-25 | Faro Technologies, Inc. | Device for optically scanning and measuring an environment |
| US9113023B2 (en) | 2009-11-20 | 2015-08-18 | Faro Technologies, Inc. | Three-dimensional scanner with spectroscopic energy detector |
| US9529083B2 (en) | 2009-11-20 | 2016-12-27 | Faro Technologies, Inc. | Three-dimensional scanner with enhanced spectroscopic energy detector |
| JP2011112503A (en)* | 2009-11-26 | 2011-06-09 | Denso Wave Inc | Object detection system |
| US9009000B2 (en) | 2010-01-20 | 2015-04-14 | Faro Technologies, Inc. | Method for evaluating mounting stability of articulated arm coordinate measurement machine using inclinometers |
| US10060722B2 (en) | 2010-01-20 | 2018-08-28 | Faro Technologies, Inc. | Articulated arm coordinate measurement machine having a 2D camera and method of obtaining 3D representations |
| US9628775B2 (en) | 2010-01-20 | 2017-04-18 | Faro Technologies, Inc. | Articulated arm coordinate measurement machine having a 2D camera and method of obtaining 3D representations |
| US10281259B2 (en) | 2010-01-20 | 2019-05-07 | Faro Technologies, Inc. | Articulated arm coordinate measurement machine that uses a 2D camera to determine 3D coordinates of smoothly continuous edge features |
| US9607239B2 (en) | 2010-01-20 | 2017-03-28 | Faro Technologies, Inc. | Articulated arm coordinate measurement machine having a 2D camera and method of obtaining 3D representations |
| US9684078B2 (en) | 2010-05-10 | 2017-06-20 | Faro Technologies, Inc. | Method for optically scanning and measuring an environment |
| US9329271B2 (en) | 2010-05-10 | 2016-05-03 | Faro Technologies, Inc. | Method for optically scanning and measuring an environment |
| US8730477B2 (en) | 2010-07-26 | 2014-05-20 | Faro Technologies, Inc. | Device for optically scanning and measuring an environment |
| US8705012B2 (en) | 2010-07-26 | 2014-04-22 | Faro Technologies, Inc. | Device for optically scanning and measuring an environment |
| US8699007B2 (en) | 2010-07-26 | 2014-04-15 | Faro Technologies, Inc. | Device for optically scanning and measuring an environment |
| US9417056B2 (en) | 2012-01-25 | 2016-08-16 | Faro Technologies, Inc. | Device for optically scanning and measuring an environment |
| US8830485B2 (en) | 2012-08-17 | 2014-09-09 | Faro Technologies, Inc. | Device for optically scanning and measuring an environment |
| US9372265B2 (en) | 2012-10-05 | 2016-06-21 | Faro Technologies, Inc. | Intermediate two-dimensional scanning with a three-dimensional scanner to speed registration |
| US9513107B2 (en) | 2012-10-05 | 2016-12-06 | Faro Technologies, Inc. | Registration calculation between three-dimensional (3D) scans based on two-dimensional (2D) scan data from a 3D scanner |
| US11112501B2 (en) | 2012-10-05 | 2021-09-07 | Faro Technologies, Inc. | Using a two-dimensional scanner to speed registration of three-dimensional scan data |
| US11035955B2 (en) | 2012-10-05 | 2021-06-15 | Faro Technologies, Inc. | Registration calculation of three-dimensional scanner data performed between scans based on measurements by two-dimensional scanner |
| US11815600B2 (en) | 2012-10-05 | 2023-11-14 | Faro Technologies, Inc. | Using a two-dimensional scanner to speed registration of three-dimensional scan data |
| US9739886B2 (en) | 2012-10-05 | 2017-08-22 | Faro Technologies, Inc. | Using a two-dimensional scanner to speed registration of three-dimensional scan data |
| US9618620B2 (en) | 2012-10-05 | 2017-04-11 | Faro Technologies, Inc. | Using depth-camera images to speed registration of three-dimensional scans |
| US9746559B2 (en) | 2012-10-05 | 2017-08-29 | Faro Technologies, Inc. | Using two-dimensional camera images to speed registration of three-dimensional scans |
| US10203413B2 (en) | 2012-10-05 | 2019-02-12 | Faro Technologies, Inc. | Using a two-dimensional scanner to speed registration of three-dimensional scan data |
| US10067231B2 (en) | 2012-10-05 | 2018-09-04 | Faro Technologies, Inc. | Registration calculation of three-dimensional scanner data performed between scans based on measurements by two-dimensional scanner |
| JP2014228492A (en)* | 2013-05-24 | 2014-12-08 | リコー光学株式会社 | Laser device |
| EP2829894A1 (en) | 2013-07-25 | 2015-01-28 | Funai Electric Co., Ltd. | Laser scanning device |
| EP2940489A1 (en) | 2014-05-02 | 2015-11-04 | Ricoh Company, Ltd. | Object detection device and sensing apparatus |
| US9989643B2 (en) | 2014-05-02 | 2018-06-05 | Ricoh Company, Ltd. | Object detection device and sensing apparatus |
| JP2016020834A (en)* | 2014-07-14 | 2016-02-04 | 船井電機株式会社 | Laser scanner |
| US10067222B2 (en) | 2014-08-01 | 2018-09-04 | Funai Electric Co., Ltd. | Laser rangefinder |
| US9846236B2 (en) | 2014-08-28 | 2017-12-19 | Ricoh Company, Ltd. | Optical scanner, object detector, and sensing apparatus |
| US10082564B2 (en) | 2015-01-16 | 2018-09-25 | Ricoh Company, Ltd. | Object detection device, sensing device, movable body device, and object detection method |
| EP3064957A1 (en) | 2015-03-05 | 2016-09-07 | Ricoh Company, Ltd. | Semiconductor laser driving apparatus, optical scanning apparatus, object detection apparatus, and mobile apparatus |
| US10148064B2 (en) | 2015-03-05 | 2018-12-04 | Ricoh Company, Ltd | Semiconductor laser driving apparatus, optical scanning apparatus, object detection apparatus, and mobile apparatus |
| US10114110B2 (en) | 2015-03-18 | 2018-10-30 | Ricoh Company, Ltd. | Object detecting device, sensing device, and mobile object device |
| EP3070497A1 (en) | 2015-03-18 | 2016-09-21 | Ricoh Company, Ltd. | Object detecting device, sensing device, and mobile object device |
| EP3128346A2 (en) | 2015-08-05 | 2017-02-08 | Ricoh Company Ltd. | Pulsed light detector, object detector, sensor, movable device, and pulsed light detecting method |
| EP3147690A1 (en) | 2015-09-25 | 2017-03-29 | Ricoh Company, Ltd. | Circuit device, optical detector, object detector, sensor, and movable device |
| JP2017090128A (en)* | 2015-11-05 | 2017-05-25 | 船井電機株式会社 | Measuring apparatus |
| JP2017090137A (en)* | 2015-11-06 | 2017-05-25 | アイシン精機株式会社 | Ranging device |
| JP2017090135A (en)* | 2015-11-06 | 2017-05-25 | アイシン精機株式会社 | Distance measuring device |
| US10175037B2 (en) | 2015-12-27 | 2019-01-08 | Faro Technologies, Inc. | 3-D measuring device with battery pack |
| JP2017125765A (en)* | 2016-01-14 | 2017-07-20 | コニカミノルタ株式会社 | Object detection device |
| US11156498B2 (en) | 2016-06-10 | 2021-10-26 | Ricoh Company, Ltd. | Object detector, sensing device, and mobile apparatus |
| US10514295B2 (en) | 2016-06-10 | 2019-12-24 | Ricoh Company, Ltd. | Object detector, sensing device, and mobile apparatus |
| KR101861433B1 (en)* | 2016-06-30 | 2018-05-25 | 광주과학기술원 | Optical System for Transmitting and Receiving Laser |
| US10795019B2 (en) | 2016-07-01 | 2020-10-06 | Ricoh Company, Ltd. | Object detector, sensing device, and mobile apparatus |
| EP3267227A1 (en) | 2016-07-01 | 2018-01-10 | Ricoh Company, Ltd. | Object detector, sensing device, and mobile apparatus |
| JP7425510B2 (en) | 2017-02-17 | 2024-01-31 | 北陽電機株式会社 | object capture device |
| KR102162047B1 (en)* | 2017-02-17 | 2020-10-06 | 호쿠요덴키 가부시키가이샤 | Object capture device |
| US10823828B2 (en) | 2017-02-17 | 2020-11-03 | Hokuyo Automatic Co., Ltd. | Object capturing device |
| JPWO2018150999A1 (en)* | 2017-02-17 | 2019-12-12 | 北陽電機株式会社 | Object capture device |
| JP7133220B2 (en) | 2017-02-17 | 2022-09-08 | 北陽電機株式会社 | object capture device |
| KR20190113936A (en)* | 2017-02-17 | 2019-10-08 | 호쿠요덴키 가부시키가이샤 | Object capture device |
| WO2018150999A1 (en)* | 2017-02-17 | 2018-08-23 | 北陽電機株式会社 | Object capturing device |
| TWI752168B (en)* | 2017-02-17 | 2022-01-11 | 日商北陽電機股份有限公司 | object capture device |
| JP2022159559A (en)* | 2017-02-17 | 2022-10-17 | 北陽電機株式会社 | Object capturing device |
| JP2018155619A (en)* | 2017-03-17 | 2018-10-04 | 大成建設株式会社 | Distance measurement device and drilling situation management system |
| US11609311B2 (en) | 2017-10-24 | 2023-03-21 | Sharp Kabushiki Kaisha | Pulsed light irradiation/detection device, and optical radar device |
| EP3540468A1 (en) | 2018-03-13 | 2019-09-18 | Ricoh Company Ltd. | Object detector, mobile object, and object detection method |
| CN114008484A (en)* | 2019-06-11 | 2022-02-01 | 株式会社电装 | Distance measuring device |
| JPWO2021019903A1 (en)* | 2019-07-26 | 2021-02-04 | ||
| CN114127576A (en)* | 2019-07-26 | 2022-03-01 | 松下知识产权经营株式会社 | Laser radar |
| CN114041066A (en)* | 2019-07-26 | 2022-02-11 | 松下知识产权经营株式会社 | Lidar |
| WO2021019903A1 (en)* | 2019-07-26 | 2021-02-04 | パナソニックIpマネジメント株式会社 | Laser radar |
| JPWO2021019902A1 (en)* | 2019-07-26 | 2021-02-04 | ||
| WO2021019902A1 (en)* | 2019-07-26 | 2021-02-04 | パナソニックIpマネジメント株式会社 | Laser radar |
| JP7432872B2 (en) | 2019-07-26 | 2024-02-19 | パナソニックIpマネジメント株式会社 | laser radar |
| CN114981678A (en)* | 2019-12-17 | 2022-08-30 | 日本先锋公司 | Sensor device and housing |
| WO2022097518A1 (en)* | 2020-11-06 | 2022-05-12 | 株式会社デンソー | Laser radar device |
| JP2022075248A (en)* | 2020-11-06 | 2022-05-18 | 株式会社デンソー | Laser radar device |
| WO2025022967A1 (en)* | 2023-07-21 | 2025-01-30 | 株式会社トプコン | Surveying device |
| Publication number | Publication date |
|---|---|
| JP5598831B2 (en) | 2014-10-01 |
| Publication | Publication Date | Title |
|---|---|---|
| JP5598831B2 (en) | Scanning distance measuring device | |
| US8305561B2 (en) | Scanning-type distance measuring apparatus | |
| JP4160611B2 (en) | Scanning distance measuring device | |
| JP4098341B1 (en) | Optical window dirt detector for scanning rangefinder | |
| CN107918118B (en) | Laser radar | |
| JP4116052B2 (en) | Ranging device | |
| JP5804467B2 (en) | Signal processing device and scanning distance measuring device | |
| JP2009229255A (en) | Scanning range finder | |
| JP5310098B2 (en) | Laser distance measuring device | |
| JP5900722B2 (en) | Scanning distance measuring device signal processing device, signal processing method, and scanning distance measuring device | |
| US7388655B2 (en) | High-precision laser rangefinder using burst emission | |
| JP4059911B1 (en) | 3D ranging device | |
| JP2013210378A (en) | Laser radar device | |
| JPH08122061A (en) | Obstacle detection device | |
| JP2009236774A (en) | Three dimensional ranging device | |
| JP5765698B2 (en) | Multi-signal processing device, distance measuring device, and multi-range measuring system | |
| JP2008111855A (en) | Scanning distance measuring device | |
| JP7659701B2 (en) | Laser scanner | |
| US20100053637A1 (en) | Location detection apparatus | |
| JP4193724B2 (en) | Distance detector | |
| JPH11175881A (en) | Object detector | |
| JP2005308483A (en) | Anemometer | |
| JP4317441B2 (en) | Detection head and projection head of photoelectric sensor and detection head of wafer detection sensor | |
| JPH0567418A (en) | Optical sensor | |
| JP4491926B2 (en) | Reflection measuring device |
| Date | Code | Title | Description |
|---|---|---|---|
| A621 | Written request for application examination | Free format text:JAPANESE INTERMEDIATE CODE: A621 Effective date:20091217 | |
| A521 | Request for written amendment filed | Free format text:JAPANESE INTERMEDIATE CODE: A523 Effective date:20100308 | |
| A521 | Request for written amendment filed | Free format text:JAPANESE INTERMEDIATE CODE: A821 Effective date:20100309 | |
| A977 | Report on retrieval | Free format text:JAPANESE INTERMEDIATE CODE: A971007 Effective date:20110815 | |
| A131 | Notification of reasons for refusal | Free format text:JAPANESE INTERMEDIATE CODE: A131 Effective date:20111101 | |
| A131 | Notification of reasons for refusal | Free format text:JAPANESE INTERMEDIATE CODE: A131 Effective date:20120731 | |
| A521 | Request for written amendment filed | Free format text:JAPANESE INTERMEDIATE CODE: A523 Effective date:20120921 | |
| A131 | Notification of reasons for refusal | Free format text:JAPANESE INTERMEDIATE CODE: A131 Effective date:20130514 | |
| A521 | Request for written amendment filed | Free format text:JAPANESE INTERMEDIATE CODE: A523 Effective date:20130627 | |
| A02 | Decision of refusal | Free format text:JAPANESE INTERMEDIATE CODE: A02 Effective date:20140304 | |
| A521 | Request for written amendment filed | Free format text:JAPANESE INTERMEDIATE CODE: A523 Effective date:20140516 | |
| A911 | Transfer to examiner for re-examination before appeal (zenchi) | Free format text:JAPANESE INTERMEDIATE CODE: A911 Effective date:20140526 | |
| TRDD | Decision of grant or rejection written | ||
| A01 | Written decision to grant a patent or to grant a registration (utility model) | Free format text:JAPANESE INTERMEDIATE CODE: A01 Effective date:20140715 | |
| A61 | First payment of annual fees (during grant procedure) | Free format text:JAPANESE INTERMEDIATE CODE: A61 Effective date:20140805 | |
| R150 | Certificate of patent or registration of utility model | Ref document number:5598831 Country of ref document:JP Free format text:JAPANESE INTERMEDIATE CODE: R150 | |
| R250 | Receipt of annual fees | Free format text:JAPANESE INTERMEDIATE CODE: R250 | |
| S531 | Written request for registration of change of domicile | Free format text:JAPANESE INTERMEDIATE CODE: R313531 | |
| R350 | Written notification of registration of transfer | Free format text:JAPANESE INTERMEDIATE CODE: R350 | |
| R250 | Receipt of annual fees | Free format text:JAPANESE INTERMEDIATE CODE: R250 | |
| R250 | Receipt of annual fees | Free format text:JAPANESE INTERMEDIATE CODE: R250 | |
| R250 | Receipt of annual fees | Free format text:JAPANESE INTERMEDIATE CODE: R250 | |
| R250 | Receipt of annual fees | Free format text:JAPANESE INTERMEDIATE CODE: R250 |