


















































































本発明は、棘突起間インプラントに関する。 The present invention relates to an interspinous implant.
(優先権の主張)
本出願は、下記の出願に対する優先権を主張する。なお、これらの出願を引用することにより本出願に含める。
2004年12月13日登録、James F. Zuckerman等による、名称「頸椎椎間インプラントおよび方法」なる米国特許仮出願第60/635,453号(代理人ドーケット番号KLYC-01118US0)、
2005年4月4日登録、Scott A. Yerby等による、名称「頸椎椎間インプラント伸延ツール」なる米国特許仮出願第60/668,053号(代理人ドーケット番号KLYC-01125US0)、
2005年5月10日登録、Charles J. Winslow等による、名称「埋め込みツール付き頸椎関節間インプラント」なる米国特許仮出願第60/679,363号(代理人ドーケット番号KLYC-01118US7)、
2005年5月10日登録、Charles J. Winslow等による、名称「埋め込みツールによる頸椎椎間インプラント」なる米国特許仮出願第60/679,361号(代理人ドーケット番号KLYC-01118US8)、
2005年5月10日登録、Charles J. Winslow等による、名称「埋め込みツールによる頸椎椎間インプラント」なる米国特許仮出願第60/679,377号(代理人ドーケット番号KLYC-01118US9)、
2005年6月6日登録、James F. Zuckerman等による、名称「複数方向性接合ジョイント付き頸椎椎間インプラントおよび埋め込み法」なる米国特許仮出願第60/687,765号(代理人ドーケット番号KLYC-01118US6)、
2005年9月15日登録、James F. Zuckerman等による、名称「表面補強体付き頸椎椎間インプラント」なる米国特許仮出願第60/717,369号(代理人ドーケット番号KLYC-01133US0)、
2005年2月8日登録、Charles J. Winslow等による、名称「頸椎椎間インプラントおよび方法」なる米国実用新案特許出願第11/053,399号(代理人ドーケット番号KLYC-01118US1)、
2005年2月8日登録、Charles J. Winslow等による、名称「頸椎椎間インプラントおよび方法」なる米国実用新案特許出願第11/053,624号(代理人ドーケット番号KLYC-01118US2)、
2005年2月8日登録、Charles J. Winslow等による、名称「頸椎椎間インプラントおよび方法」なる米国実用新案特許出願第11/053,735号(代理人ドーケット番号KLYC-01118US3)、
2005年2月8日登録、Charles J. Winslow等による、名称「頸椎椎間インプラントおよび方法」なる米国実用新案特許出願第11/053,346号(代理人ドーケット番号KLYC-01122US0)、
2005年3月30日登録、Charles J. Winslow等による、名称「ロックねじ付き頸椎椎間インプラントおよび方法」なる米国実用新案特許出願第11/093,557号(KLYC-01118US5)、および、
2005年3月30日登録、Carl Lauryssen等による、名称「頸椎椎間インプラントおよび関節接合部周囲組織の保存法」なる米国実用新案特許出願第11/093,689号(KLYC-01124US0)。(Claiming priority)
This application claims priority to the following applications: In addition, these applications are included in this application by quoting.
Registered December 13, 2004, by James F. Zuckerman et al., US Patent Provisional Application No. 60 / 635,453 entitled “Cervical Intervertebral Implants and Methods” (Attorney Docket No. KLYC-01118US0),
Registered April 4, 2005, Scott A. Yerby et al., US Patent Provisional Application No. 60 / 668,053 (Attorney Docket No. KLYC-01125US0) named “Cervical Intervertebral Implant Distraction Tool”,
Registered May 10, 2005, Charles J. Winslow et al., US Provisional Patent Application No. 60 / 679,363 (Attorney Docket No. KLYC-01118US7) entitled “Cervical Intervertebral Joint Implant with Implantable Tool”,
Registered on May 10, 2005, Charles J. Winslow et al., US Patent Provisional Application No. 60 / 679,361 (Attorney Docket No. KLYC-01118US8) entitled “Cervical Intervertebral Implant with Implantable Tool”,
Registered May 10, 2005, Charles J. Winslow et al., US Patent Provisional Application No. 60 / 679,377 (Attorney Docket No. KLYC-01118US9) entitled “Cervical Intervertebral Implant with Implantable Tool”,
US Patent Provisional Application No. 60 / 687,765, entitled “Cervical Intervertebral Implants with Multidirectional Joint Joints and Implantation” by James F. Zuckerman et al., Registered June 6, 2005 (Attorney Docket No. KLYC-01118US6) ,
Registered on September 15, 2005, James F. Zuckerman et al., US Patent Provisional Application No. 60 / 717,369 (Attorney Docket No. KLYC-01133US0) named “Cervical Intervertebral Implant with Surface Reinforcement”,
Registered on Feb. 8, 2005, Charles J. Winslow et al., US Utility Model Patent Application No. 11 / 053,399 (Attorney Docket No. KLYC-01118US1) named “Cervical Intervertebral Implants and Methods”,
Registered on Feb. 8, 2005, Charles J. Winslow et al., US Utility Model Patent Application No. 11 / 053,624 (Attorney Docket No. KLYC-01118US2) entitled “Cervical Intervertebral Implants and Methods”,
Registered on Feb. 8, 2005, Charles J. Winslow et al., US Utility Model Patent Application No. 11 / 053,735 (Attorney Docket No. KLYC-01118US3) named “Cervical Intervertebral Implants and Methods”,
Registered on February 8, 2005, Charles J. Winslow et al., US Utility Model Patent Application No. 11 / 053,346 (Attorney Docket No. KLYC-01122US0) with the name “Cervical Intervertebral Implants and Methods”,
Registered March 30, 2005, Charles J. Winslow et al., US Utility Model Patent Application No. 11 / 093,557 (KLYC-01118US5) with the name "Lock Screw Cervical Intervertebral Implant and Method", and
US Utility Model Application No. 11 / 093,689 (KLYC-01124US0) registered on March 30, 2005 and named “Conservation of Cervical Intervertebral Implants and Periarticular Tissues” by Carl Lauryssen et al.
脊柱は、主に、靭帯、筋肉、脊椎骨、および椎間円板から構成される生体力学的構造である。脊柱の生体力学的機能は、(1)体重移動および、頭部、躯幹、および両腕の、骨盤および両脚に向かう曲げ運動を含む生体の支持、(2)上記各生体部分間の複雑な生理的運動、および(3)脊髄および神経根の保護を含む。 The spinal column is a biomechanical structure composed primarily of ligaments, muscles, vertebrae, and intervertebral discs. The biomechanical functions of the spinal column are: (1) support of the body including weight movement and bending movement of the head, trunk, and arms toward the pelvis and both legs; (2) complex physiology between each of the body parts Exercise, and (3) protection of the spinal cord and nerve roots.
現在の社会が老化するにつれて、高齢者に特徴的な不快な脊椎病態の増加が予想される。例示のためだけに挙げるのであるが、加齢と共に脊椎狭窄症(中心管狭窄症および側部狭窄症を含むが、これらに限定されない)および椎間関節症の増加が現れる。脊椎狭窄症は、椎間孔面積(すなわち、神経および血管通過のために利用が可能なスペース)の減少をもたらすが、これは、頸椎神経根を圧迫し、神経根疼痛を招く。Humpreys, S.C. et al., 「C5-C6孔スペースに及ぼす屈曲・伸延作用」“Flexion and traction effect on C5-C6 foraminal space,” Arch. Phys. Med. Rehabil., vol. 79, 1105(1998年9月)。脊椎狭窄症のもう一つの症状は脊髄障害で、これは、頸部疼痛および筋の脱力を招く。上記文献。頸部の伸展および同側回転はさらに孔面積を狭くするので、疼痛、神経根圧迫、および神経損傷を招く。上記文献;Yoo, J.U. et al., 「ヒト頸椎の神経孔サイズに及ぼす頸椎運動の作用」“Effect of cervical spine motion on the neuroanatomical dimensions of human cervical spine,” Spine, vol. 17, 1131(1992年11月10日)。一方、頸部の屈曲は孔面積を増す。Humpeys, S.C. et al., 1105、上記。 As the current society ages, the unpleasant spinal pathology characteristic of the elderly is expected to increase. By way of example only, an increase in spinal stenosis (including but not limited to central canal stenosis and lateral stenosis) and vertebral arthropathy appears with age. Spine stenosis results in a reduction in intervertebral foramen area (ie, space available for nerve and vascular passage), which compresses the cervical nerve root and leads to nerve root pain. Humpreys, SC et al., “Flexion and traction effect on C5-C6 foraminal space,” Arch. Phys. Med. Rehabil., Vol. 79, 1105 (1998) September). Another symptom of spinal stenosis is spinal cord injury, which leads to neck pain and muscle weakness. The above literature. Neck extension and ipsilateral rotation further narrow the pore area, leading to pain, nerve root compression, and nerve damage. Yoo, JU et al., “Effect of cervical spine motion on the neuroanatomical dimensions of human cervical spine,” Spine, vol. 17, 1131 (1992 November 10). On the other hand, bending of the neck increases the hole area. Humpeys, S.C. et al., 1105, supra.
特に、椎間円板ヘルニアおよび頸椎脊椎症による椎間孔狭窄症による頸椎根障害は、通常、40代および50代の患者を襲うものであるが、毎年10万人当たり83.2人の発生率を持つ(1994年の情報に基づく)。頸椎根障害は、通常、関節面切除術を伴う、または伴わない、前方頸椎円板切除・融合術(“ACDF”)、または後方椎弓板・孔切除術(“PLD”)によって外科的に治療される。ACDFが、頸椎根障害に対しもっとも広く実行される外科処置である。なぜなら、この手術の方が、PLFと比べると、孔のサイズを有意に増すことが明らかにされているからである。 In particular, cervical pedicle disorders due to intervertebral disc herniation and stenosis due to cervical spondylosis usually affect patients in their 40s and 50s, but have an incidence of 83.2 per 100,000 people each year (Based on information from 1994). Cervical vertebral lesions are usually surgically treated with anterior cervical discectomy / fusion (“ACDF”) or posterior laminoplasty / foratomy (“PLD”) with or without arthrotomy. Be treated. ACDF is the most widely performed surgical procedure for cervical pedicle disorders. This is because it has been shown that this surgery significantly increases the pore size compared to PLF.
全ての人々にとって、特に高齢者には、大手術を無しで済ませることは好ましい。従って、脊椎狭窄症による疼痛、および、頸髄の損傷または変性によって引き起こされる、その他の病態による疼痛を緩和する脊椎インプラントを開発する必要が存在する。 It is preferable for all people to avoid major surgery, especially for the elderly. Accordingly, there is a need to develop spinal implants that relieve pain due to spinal stenosis and other pathological pain caused by cervical spinal cord injury or degeneration.
本発明は、一方では頸椎を伸延しながら、他方では運動性と正常な前湾曲線を維持するインプラント、および、頸椎の少なくとも一つの椎間関節に装置を埋め込む方法によって、上記必要に応えるものである。 The present invention addresses this need by an implant that distracts the cervical spine on the one hand and maintains motility and a normal anterior curve on the other hand and a method of implanting the device in at least one facet joint of the cervical spine. is there.
本発明の実施態様は、脊柱の生理を保存する頸椎インプラント用の、最小侵襲手術による外科的埋め込み法および装置を提供する。特に、実施態様は、伸展位置および中立位置において孔サイズを増すために頸椎の伸延を実現する。このインプラントは、頸椎の関節接合部に埋め込まれると、両脊椎骨を伸延し、または、両脊椎骨間のスペースを増し、それによって、孔面積またはサイズを増し、頸椎の神経および血管に対する圧を緩和する。 Embodiments of the present invention provide minimally invasive surgical implantation methods and devices for cervical spine implants that preserve spinal physiology. In particular, embodiments provide for cervical distraction to increase pore size in the extended and neutral positions. When implanted at the cervical joint, it will distract both vertebrae or increase the space between the vertebrae, thereby increasing the pore area or size and relieving pressure on the cervical nerves and blood vessels .
脊柱における関節接合部は、二つの椎骨の間に下記のように形成される。各椎骨は、四つの後方関節面を持つ。すなわち、二つの上関節面および二つの下関節面であり、下方椎骨の上関節面と、上方椎骨の下関節面とは、脊柱の各一側において、面接合部を形成する。頸椎では、面接合部の上関節面が上方に傾斜しているために、相当の屈曲および伸展の外に、側方の可動性が可能となる。各面接合部は、関節面辺縁を丁度超えたところに付着する、高密度で、弾性的な関節包によって被われる。この関節包は、胸椎および腰椎よりも、頸椎のものの方が大きく、緩い。関節包の内側は、この面接合部を潤滑するための滑液を分泌する滑膜によってコートされている。関節包の外側は、カプセル状の靭帯によって囲まれる。人工的関節面接合部スペーサまたは関節面スペーサを挿入するために、本明細書に記載される実施態様で切断しなければならないのは、この靭帯と関節包である。 The joint joint in the spinal column is formed between the two vertebrae as follows. Each vertebra has four posterior articular surfaces. That is, two upper joint surfaces and two lower joint surfaces, and the upper joint surface of the lower vertebra and the lower joint surface of the upper vertebra form a surface joint on each side of the spinal column. In the cervical vertebra, since the upper joint surface of the surface joint portion is inclined upward, lateral mobility is possible in addition to considerable bending and extension. Each face joint is covered by a dense, elastic joint capsule that adheres just beyond the margin of the joint face. The joint capsule is larger and looser in the cervical vertebra than in the thoracic and lumbar vertebrae. The inside of the joint capsule is coated with a synovium that secretes synovial fluid for lubricating the surface joint. The outside of the joint capsule is surrounded by a capsule-like ligament. It is this ligament and joint capsule that must be cut in the embodiments described herein to insert an artificial joint surface spacer or joint surface spacer.
ある特定の好ましい実施態様では、幅1.5から2.5 mmの、埋め込まれた関節面スペーサは、伸展および中立位置で孔サイズを増大させる関節面伸延をもたらすことが可能である。下記に記載される本発明によって、関節面スペーサの、他の形態も考慮される。本実施態様はまた、関節接合部の可動性も保存する。 In certain preferred embodiments, an embedded articular surface spacer with a width of 1.5 to 2.5 mm can provide articular surface distraction that increases the pore size in the extended and neutral position. Other forms of articulating spacers are also contemplated by the invention described below. This embodiment also preserves the mobility of the articulation.
本発明のさらに別の実施態様は、脊柱のそれぞれ異なる解剖学的構造に適応し、脊髄に対するさらに新たな外傷を最小化し、外科的埋め込みに関し侵襲的な方法を取らなくても済むようにする。本発明の実施態様はまた、脊柱伸展によって悪化した脊髄病態に対処する。 Yet another embodiment of the present invention accommodates different anatomical structures of the spinal column, minimizing further new trauma to the spinal cord and eliminating the need for invasive methods for surgical implantation. Embodiments of the present invention also address spinal conditions that are exacerbated by spinal column extension.
図1は、二つの隣接頸椎骨の間に形成される頸椎関節接合部1を強調した、頸椎の一部の概略図である。棘突起3は後方に位置し、椎体5は前方に位置し、神経根管7が見える。各椎骨は、四つの後方関節面を持つ。すなわち、二つの上関節面および二つの下関節面であり、下方椎骨の上関節面と、上方椎骨の下関節面とは、脊柱の各一側において、面接合部を形成する。頸椎では、面接合部の上関節面の上方傾斜のために、側方の可動性ばかりでなく、相当の屈曲および伸展が可能となる。各面接合部は、関節面辺縁を丁度超えたところに付着する、高密度で、弾性的な関節包によって被われる。この関節包は、胸椎および腰椎よりも、頸椎のものの方が大きく、緩い。関節包の内側は、この面接合部を潤滑するための滑液を分泌する滑膜によってコートされている。関節包の外側は、カプセル状の靭帯によって囲まれている。本明細書に記載される関節接合部スペーサまたは関節面スペーサ挿入法の実施態様で押し退けられるのは、この靭帯である。 FIG. 1 is a schematic view of a portion of a cervical spine, highlighting a cervical joint 1 formed between two adjacent cervical vertebrae. The
図2は、頸椎の椎間孔狭窄を示す。図から、神経根管7は、図1に描かれる神経根管7に比べて狭められている。脊柱管および/または椎間孔も狭窄症によって狭められる可能性がある。この狭窄は、脊髄根および神経根の圧迫を招く可能性がある。 FIG. 2 shows a cervical spinal stenosis. From the figure, the
図3Aは、本発明の第1実施態様100を示す。これは、一方で神経孔のサイズを拡大しながら、他方では関節面接合部の可動性を保持するために、少なくとも一つの関節面を伸延することを意図したものである。この楔型実施態様、または関節面スペーサ100は、頸椎関節接合部101の中に、該接合部を伸延し、神経根管107の狭窄進行を逆転するために配置される楔型インプラントである。この実施態様、または関節面スペーサ100では、インプラントは、楔の狭小部分が前方を向くように配置される。しかしながら、実施態様または関節面スペーサ100を、頸椎後湾を整復するため、または頸椎前湾を除去するために、楔の広大部分が前方を向くように配置する(図3B)ことも本発明の範囲内にある。 FIG. 3A shows a
図4を参照すると、インプラントの実施態様200は、頸椎関節接合部101に配置される、接合部挿入体または関節面スペーサ210を持つ。これもまた、本明細書では、関節接合部スペーサまたは関節面スペーサと呼ばれる。接合部挿入体または関節面スペーサ210は、楔の狭小部分が前方を向くような楔型であってもよい。それとは別に、接合部挿入体または関節面スペーサ210は、楔型である必要はなく、実質的に均一な厚みを持っていてもよい。その際、厚みは、頸椎関節接合部201の伸延に対する個別の患者の要求によって決められる。実施態様100の場合と同様、本実施態様の一つの目的は、関節接合部の伸延、および埋め込み後の関節の可動性である。接合部挿入体または関節面スペーサ210は、骨と実質的に平行に整列するように、接合部挿入体または関節面スペーサ210からある角度をもって曲げられた後方シース220と連続する。この後方シースは、椎弓板、好ましくはその側方体に接することが可能である。後方シース220は、骨ねじ240を受容することが可能な開口230を持ってもよい。それとは別に、開口230は、実施態様200を脊椎に固定することが可能な、任意の他の、適正で、および/または、等価的な固定装置を受容してもよい。このようにして、装置は、脊椎骨に、好ましくは側方体に固定されることによって付着する。 Referring to FIG. 4, an
図5は、二つの隣接頸椎のそれぞれに1個のインプラントが固定される、二つの実施態様200を用いる実施態様300を示す。実施態様200と同様、埋め込まれた関節接合部は伸延され、接合部の可動性は保持される。2個のインプラントのそれぞれから接合部挿入体または関節スペーサ310が挿入され、頸椎関節接合部301に配置される。この実施態様では、接合部挿入体または関節スペーサ310は、実質的に平坦で、互いに平行であり、楔型ではない。それとは別に、二つの接合部挿入体または関節スペーサ310は、一緒になって、患者にとって好適な楔型挿入体を定めることも可能である。例示として述べるのであるが、この、組み合わされた、二つの接合部挿入体または関節スペーサ310は、図4の、接合部挿入体または関節スペーサ210の形を取ることも可能である。次に、実施態様300は、後方シース320の開口330を通じて挿入されるねじ340、または任意の他の好適な固定装置によって脊柱に固定される。後方シース320には、ネジを受け容れるためにねじ溝が切られてもよい。ねじは、椎弓板、好ましくはできれば側方体に埋め込まれる。 FIG. 5 shows an
頸椎後湾症、または前湾の消失を整復するように本発明のインプラントを使用および/または修飾することは本発明の範囲内にある。図6は頸椎前湾症を示す。図7は、関節接合部の可動性を維持しながらこの脊椎骨異常を整復するために2個のインプラントの設置を考慮する実施態様400を示す。各インプラントの接合部挿入体または関節スペーサ410は、前方部分において厚みを増すような形状を持つ。それとは別に、インプラントは、例えば、図3Aに示すように、後方端においてより厚くなるようが形状を取ることも可能である。各インプラントの後方シース420は、側方体および/または椎弓板に接して配置されるように、接合部挿入体または関節スペーサ410からある角度で曲げられ、かつ、実施態様400を、脊椎骨、好ましくは側方体に固定するために、ねじ440、または、その他の好適な、および/または等価な固定手段を受容するための開口430を有する。2個の接合部挿入体または関節スペーサ410を頸椎関節接合部401に設置することによって、関節接合部は伸延され、該伸延は、椎骨をより解剖学的位置に移動、維持し、脊柱の生理を保存する。 It is within the scope of the present invention to use and / or modify the implant of the present invention to reduce cervical vertebral spondylosis, or disappearance of the anterior bay. FIG. 6 shows precervical spondylosis. FIG. 7 shows an
図8は、本発明のインプラントのさらに別の実施態様500を示す。この実施態様では、接合部挿入体または関節スペーサ510は、該接合部挿入体または関節スペーサ510の下面に竜骨550を持つ。竜骨550は、上述のものと同じ材料(単数または複数)から製造されてもよい。竜骨550の表面は、インプラント500を安定化し、固定する骨の内部成長を促進するために粗大であってもよい。別の実施態様では、竜骨550は、骨増殖を促進する物質、例えば、骨形態発生タンパク(“BMP”)、または構造材料、例えば、ヒアルロン酸“HA”、またはその他の、竜骨550に対する、またはその内部に侵入する骨の増殖を促す物質によってコートされてもよい。 FIG. 8 shows yet another
竜骨550は、インプラントの保持を促進するために関節骨に埋め込まれてもよい。竜骨550は、関節骨中のチャンネル中に設置することも可能である。チャンネルはあらかじめ切っておいてもよい。頸椎関節接合部501におけるインプラント500の保持を促進するために、竜骨550の上に歯(図示せず)が、好ましくは後方に配置して形成されてもよい。前述したように、接合部挿入体または関節スペーサ510は、必要な伸延タイプに応じて、すなわち、伸延は、頸椎における異常な曲線の補正に必要なのか、または曲線の不足を補うのに必要なのかに応じて、実質的に平坦であったり、または楔型とされる。接合部は融合されないので、前述の実施態様および後述の実施態様同様に、可動性は保持される。 The
図9は、本発明のインプラントのさらに別の実施態様600は、インプラント600の安定性と保持のために、ねじ固定と竜骨650の両方を有することが可能であることを示す。実施態様600において、接合部挿入体または関節スペーサ610は、ねじ640を受容するための開口630を持つ後方シースと連続する。ねじは、開口630を貫通し、椎骨内部、好ましくは側方体、または椎弓板に侵入する。開口630には、溝付きねじ、または等価的装置を受容可能となるようにねじ溝が切ってあってもよく、切ってなくともよい。それとは別に、開口630は、溝を切っていない等価的装置を受容できるよう、ねじ溝を切っておく必要はない。竜骨650は、接合部挿入体または関節スペーサ610に接続され、インプラントの保持を促進するために、頸椎関節接合部601の骨の中に埋め込まれる。 FIG. 9 shows that yet another
さらに別の実施態様700が図10に描かれる。この実施態様700では、接合部挿入体または関節スペーサ710は、下面に少なくとも1個の歯760を持つ。複数の歯760の方が好ましいことは当業者には明白であろう。歯760は、接合部701におけるインプラント700の保持を促進するために、頸椎関節接合部701の骨の中に埋め込まれる。歯760は、インプラント700の保持のために、挿入方向とは実質的に反対方向に向くことも可能である。前記実施態様と同様、接合部挿入体または関節スペーサ710は、所望の伸延に応じて、楔型であってもよいし、または厚みが実質的に均一であってもよい。インプラントは伸延し融合なく保持されるので、関節接合体の可動性は保持される。 Yet another
図11は、本発明のインプラントのさらに別の実施態様800を示す。この実施態様800では、接合部挿入体または関節スペーサ810は、前述のように、固定装置840を受容するための開口830を有する後方シース820と連続する。固定装置840は、ねじ溝付き開口830に適合するねじであってもよい。それとは別に、固定装置830は、他の任意の適合的で、適切な装置であってもよい。本実施態様800はさらに、頸椎関節接合体801におけるインプラント800の固定に対処するために、後方シース820、開口830、および固定装置840と、接合部挿入体または関節スペーサ810の下面の少なくとも1個の歯860を組み合わせる。インプラント800は、接合物挿入体または関節スペーサ810の下面に複数の歯860を含んでもよいことが当業者には認識されよう。 FIG. 11 shows yet another
図12は、本発明のインプラントのさらに別の実施態様900を示す。この実施態様900では、2個のインプラント900の接合部挿入体または関節スペーサ910が、頸椎関節接合部901に配置される。前述のように、接合部挿入体または関節スペーサ910は、頸椎の解剖学的曲線を回復し、伸延するために要すれば楔型であってもよいし、あるいは、接合部挿入体または関節スペーサ910は、実質的に均一な厚みを持ってもよい。インプラント900は、それぞれ、頸椎関節接合部901の骨と相互作用を持つ外面970を有する接合部挿入体または関節スペーサ910を含む。上方インプラント900では、骨と相互作用を持つ平面970は上面970であるが、下方インプラント900では、骨と相互作用を持つ平面970は下面970である。各面970は、骨性の浸透成長面980を含み、多孔質面を形成し、骨の浸透成長および固定を促進するようにしてもよい。このような一つの処置は、プラズマ・スプレイ状チタンで行ってもよいし、焼結ビーズのコーティングで行ってもよい。それとは別に、インプラント900は、金型成形による多孔質表面970を持ってもよい。この場合、多孔表面はインプラント900と一体である。さらに別態様として、表面970は、インプラント900のこれらの定められた表面に対する骨の浸透成長を促すために粗大にされてもよい。別の実施態様では、表面970は、骨増殖を促進する物質、例えば、骨形態発生タンパク(“BMP”)、または構造材料、例えば、ヒアルロン酸“HA”、または、インプラント900の他の外面970に対する骨の増殖を促す他の物質によってコートされてもよい。これらの方策は、関節接合体におけるインプラント900の固定を促進するが、接合部の融合を招くことはなく、そのため、一方では関節接合部の可動性を保持し、他方では接合部の伸延を実現する。 FIG. 12 shows yet another
図13は、本発明のインプラントのさらに別の実施態様1000を示す。この実施態様1000では、2個のインプラント1000から成る接合部挿入体または関節スペーサ1010は、頸椎関節接合体1001の中に配置される。前述したように、接合部挿入体または関節スペーサ1010は、頸椎の解剖学的曲線を回復し、伸延するために要すれば楔型であってもよく、あるいは、接合部挿入体または関節スペーサ1010は、実質的に均一な厚みを持ってもよい。インプラント1000は、それぞれ、頸椎間接接合部1001の骨と相互作用を持つ外面1070を有する接合部挿入体または関節スペーサ1010を含む。上方インプラント1000では、骨と相互作用を持つ表面1070は上面であるが、下方インプラント1000では、骨と相互作用を持つ表面1070は下面である。前述したように、各外面1070は、骨浸透成長性表面1080を含んでもよい。これによって、多孔質表面が形成され、関節接合部の融合および可動性の消失を被ることなく、骨の浸透性成長および固定を増進することが可能になる。一つの好ましい実施態様では、骨浸透性成長面1080は、プラズマ・スプレイ状チタンで形成してもよいし、および/または、焼結ビーズのコーティングで形成してもよい。別の好ましい実施態様では、インプラント1000は、金型成形による多孔質表面1070を持ってもよい。この場合、多孔質表面はインプラント1000と一体である。さらに別の好ましい実施態様では、表面1070は、インプラント1000のこれらの定められた表面に対する骨の浸透成長を促すために粗大にされてもよい。別の好ましい実施態様では、表面1070は、骨増殖を促進する物質、例えば、BMP、または構造材料、例えば、HA、または、インプラント1000の他の外面1070に対する骨の増殖を促す他の物質によってコートされてもよい。 FIG. 13 shows yet another
インプラント1000は、後方アラインメントガイド1090を持ってもよい。各インプラント1000の後方アラインメントガイド1090は、接合部挿入体または関節スペーサ1010と連続してもよい。後方アラインメントガイドは、接合部挿入体または関節スペーサ1010が頸椎関節接合部1001に挿入されると、椎骨の骨体に実質的に一致する。後方アラインメントガイド1090は、インプラント同士1000の軸を揃えるのに使用される。軸揃えは、接合部挿入体または関節スペーサ1010が頸椎関節接合部1001に配置された場合、接合部挿入体または関節スペーサ1010は、互いに接触するが、頸椎関節接合部1001の骨には接触しないように行われる。 The
図14は、本発明のインプラントのさらに別の実施態様1100を示す。この実施態様1100では、2個のインプラント1100から成る接合部挿入体または関節スペーサ1110が、頸椎関節接合部1101に挿入される。接合部挿入体または関節スペーサ1110はそれぞれ、頸椎関節接合部拡張器または関節拡張面1192と連続する。接合部挿入体または関節スペーサ1110の骨接触面1170は、頸椎関節接合部拡張器1192の骨接触面1193に対し、頸椎関節接合部拡張器1192が、頸椎関節接合部1101外側の椎骨骨部と一致するように、ある角度を持って連続する。頸椎関節接合部拡張器1192の、この一致は、例えば、接合部挿入体1110が配置された場合、頸椎関節接合部拡張器1192が、頸椎関節接合部1101の外側の骨の周囲に曲線を描くように、頸椎関節接合部拡張器1192を形成することによって実現される。 FIG. 14 shows yet another
頸椎関節接合部拡張器は、接合部挿入体または関節スペーサ1110の接合関節面1182と連続する第2表面1184を持つ。この第2表面1184は、インプラント1100を後方に延ばし、接合関節面1182を拡大し、それによって接触を増し、少なくともインプラント1100の領域において脊柱の安定度を増す。このような関節接合部拡張器1192は、本明細書において説明され、図示される他の実施態様にも加えることが可能であることを理解しなければならない。 The cervical joint joint dilator has a
図15に描かれる実施態様は、頸椎関節接合部1201に配置される2個のインプラント1200を示す。インプラントは、一つの好ましい固定法として骨浸透成長面を有し、もう一つの好ましい固定法としてねじを使用する。この実施態様では、2個のインプラント1200は、それぞれ、頸椎関節接合部1201に配置される接合部挿入体または関節スペーサ1210を持つ。前述したように、接合部挿入体または関節スペーサ1210は、頸椎の解剖学的曲線を回復し伸延するために、要すれば楔型であってもよいし、あるいは、接合部挿入体または関節スペーサ1210は実質的に均一な厚みを持っていてもよい。インプラント1200は、頸椎関節接合部1001の骨と相互作用を持つ外面1270を有する接合部挿入体または関節スペーサ1210を含む。上方インプラント1200では、骨と相互作用を持つ表面1270は上面であるが、下方インプラント1200では、骨と相互作用を持つ表面1270は下面である。前述したように、各外面1270は、多孔質表面を形成し、それによって骨の浸透性成長および固定を増進するために、骨浸透成長表面1280を含んでもよい。一つの好ましい実施態様では、骨浸透成長面1280は、プラズマ・スプレイ状チタンで形成してもよいし、および/または、焼結ビーズのコーティングで形成してもよい。別の好ましい実施態様では、インプラント1200は、金型成形による多孔質表面1270を持ってもよい。この場合、多孔質表面はインプラント1200と一体である。さらに別の好ましい実施態様では、表面1270は、インプラント1200のこれらの定められた表面に対する骨の浸透成長を促すために粗大にされてもよい。別の好ましい実施態様では、表面1270は、骨増殖を促進する物質、例えば、BMP、または構造材料、例えば、HA、または、インプラント1200の他の外面1270において骨の増殖を促す他の物質によってコートされてもよい。 The embodiment depicted in FIG. 15 shows two
インプラント1200において、頸椎関節接合部1201に固定するために、ねじ固定またはその他の適切な固定法を用いることが可能である。接合部挿入体または関節スペーサ1210は、骨、好ましくは側方体、または椎弓板と実質的に平行に整列するように、接合部挿入体または関節面スペーサ1210からある角度をもって曲げられた後方シース1220と連続する。後方シース1220は、好ましくは側方体または椎弓板に挿入される骨ねじ1240を受容することが可能な開口1230を持ってもよい。それとは別に、開口1230は、実施態様1200を脊椎に固定することが可能な、任意の他の、適正で、および/または、等価的な固定装置を受容してもよい。 Screw fixation or other suitable fixation methods can be used to fix the cervical joint joint 1201 in the
図16は、本発明のさらに別の好ましい実施態様を示す。この実施態様1300では、2個の接合部挿入体または関節スペーサ1310が、頸椎関節接合部1301に配置される。接合物挿入体または関節スペーサは、それぞれ、頸椎関節接合部を形成する椎骨骨体と相互作用を持つ外面1370を持つ。実施態様1300の外面1370は、骨浸透成長面1380となるように処理されてもよい。すなわち、骨浸透成長面1380は、インプラント1300の二つの接合部挿入体または関節スペーサ1310の安定化に貢献する。一つの好ましい実施態様では、骨浸透成長面1380は、プラズマ・スプレイ状チタンで形成してもよいし、および/または、焼結ビーズのコーティングで形成してもよい。別の好ましい実施態様では、インプラント1300は、金型成形による多孔質表面1370を持ってもよい。この場合、多孔質表面はインプラント1300と一体である。さらに別の好ましい実施態様では、表面1370は、インプラント1300のこれらの定められた表面に対する骨の浸透成長を促すために粗大にされてもよい。別の好ましい実施態様では、表面1370は、骨増殖を促進する物質、例えば、BMP、または構造材料、例えば、HAでコートされてもよいし、あるいは、インプラント1300の他の外面1370において骨の増殖を促す他の物質によってコートされてもよい。この固定は、接合部を融合させることなく、関節接合部にインプラント1300を安定化し、従って、インプラントは接合部の可動性を保持する一方、他方では伸延を実現し、孔のサイズを増大させる。 FIG. 16 shows yet another preferred embodiment of the present invention. In this
さらに図16には、インプラント1300の関節内面1382が示される。これらの面は、金属およびポリエチレン、すなわち、屈曲性を持ち、頸椎の前方湾曲/屈曲および後方伸展を実現する材料から形成される。図16の実施態様1300は、少なくとも二つの形態を持つように製造される。第1形態は、例示として述べるのであるが、ポリエチレン、またはその他の適当な、屈曲性インプラント材料を用いて製造される屈曲性スペーサ1382を含む。屈曲性スペーサ1382は、上方および下方接合部挿入体または関節スペーサ1310に対し恒久的に付着されてもよい。スペーサ1382は、平坦でも、または、楔型でも、あるいは、椎骨の湾曲を補正するものであれば他の任意の形態を取ってもよい。他の形態としては、スペーサ1382は、上方挿入体1310だけに、または、下方挿入体1310に付着されてもよい。その際、上方挿入体1310および下方挿入体1310は別々のユニットである。 Further shown in FIG. 16 is an articular
図17は、本発明のインプラントのさらに別の好ましい実施態様を示す。この実施態様1400では、インプラントは、接合部挿入体または関節スペーサ1410にローラー1496を取り付ける。このローラーは、接合部の可動性を保持する一方、他方では伸延を実現するさらに別の手段となる。ローラー1496も、接合部挿入体または関節スペーサ1410も、頸椎関節接合部1401の中に配される。この接合部挿入体または関節スペーサ1410は、他の実施態様同様、骨対向面1470と、接合関節面1482とを持つ。骨対向面1470は、頸椎関節接合部1401の下方骨と相互作用を持つことが可能である。それとは別に、骨対向面は、頸椎関節接合部1401の上方骨と相互作用を持つことも可能である。骨対向面1470と接合関節面1482との間には、ローラー1496がその周囲を回転する軸がある。ローラー1496は、接合部挿入体または関節スペーサ1410の腔の中で回転し、頸椎関節接合部1401の頂上骨と相互作用を持つ。それとは別に、接合部挿入体または関節スペーサ1410の骨対向面1470が、頸椎関節接合部1401の頂上骨と相互作用を持つ場合、ローラー1496は、接合部挿入体または関節スペーサ1410の腔中で回転し、頸椎関節接合部1401の下方骨と相互作用を持つ。ローラー1496の回転によって、頸椎棘突起の屈曲および伸展が可能となる。それとは別に、ローラー1496のようなローラーを、図7の挿入体410のような、上方および下方挿入体に固定させてもよい。図18に描かれるように、複数のローラー1496も可能である。 FIG. 17 shows yet another preferred embodiment of the implant of the present invention. In this
図19は、本発明のインプラントのさらに別の実施態様を示す。この実施態様では、2個のインプラント1500が頸椎関節接合部1501に埋め込まれる。頸椎関節接合部1501に固定するために、インプラント1500にはねじ固定、またはその他の適切な固定法が用いられる。接合部挿入体または関節スペーサ1510は、骨、好ましくは側方体、または椎弓板と実質的に平行に整列するように、接合部挿入体または関節面スペーサ1510からある角度をもって曲げられた後方シース1520と連続する。各インプラント1500の後方シース1520は、好ましくは側方体または椎弓板に挿入される骨ねじ1540を受容することが可能な開口1530を持ってもよい。それとは別に、開口1530は、実施態様1500を脊椎に固定することが可能な、任意の他の、適正で、および/または、等価的な固定装置を受容してもよい。各インプラント1500の各後方シース1520におけるねじ1540のヘッドは、溝1598、または、弾性バンド1597を保持するためのその他の機構を有する。弾性バンド1597は、関節接合部の可動性を奪うことなく頚椎の運動を制限するために、二つのねじ1540のそれぞれの周囲に取り付けられる。バンド1597は、屈曲および側方移動を制限可能とすることが好ましい。弾性バンド1597は、生体適合性、屈曲性物質から製造される。 FIG. 19 shows yet another embodiment of the implant of the present invention. In this embodiment, two
図20は、図19における弾性バンドの使用に対する別態様を示す。図20の実施態様では、弾性バンドは、ばね制限体1699に置換される。この制限体は、2本のねじ1640の内のそれぞれ1本のねじが、頸椎関節接合部1601において二つのインプラント1600の一方を固定する、そのような2本のねじのヘッドの間に延びる。 FIG. 20 shows an alternative to the use of the elastic band in FIG. In the embodiment of FIG. 20, the elastic band is replaced with a
図21は、図19または図20と同様に、弾性バンドおよび/またはばねの使用に対する別の実施態様を示す。図21では、2個のねじ1740の間の制限体としてマグネット1795が用いられる。マグネット1795は、移動を制限するように作動するために、二つの反対向きの磁場、または、二つの同じ磁場から構成されてもよい。二つのねじ1740の内の一方のヘッドは磁化され、他方のねじ1740のヘッドは、同じか、または反対の磁場によって磁化される。二つのマグネット1795が同じ向きの極性を有する場合、該マグネット同士は互いにはねつけ合うので、拡張を制限する。二つのマグネット1795が反対向きの極性を有する場合、該マグネット同士は互いに引き付け合うので、屈曲および側方移動を制限する。 FIG. 21 shows another embodiment for the use of elastic bands and / or springs, similar to FIG. 19 or FIG. In FIG. 21, a
図22A-24Bは、本発明のインプラントのさらに別の実施態様1800を示す。この実施態様では、関節接合部スペーサ(または挿入体)または関節スペーサ(または挿入体)1810は、ヒンジ1822を有する側方体プレート1820(本明細書ではアンカープレートとも呼ばれる)に接続される。このヒンジ1822によって、側方体プレート1820は、関節接合部スペーサまたは関節スペーサに対して広範囲の角度で、好ましくは90°を超える角度で曲がることが可能となり、この屈曲性により、その解剖学的形態が個々人において極めて高い変動性を示す患者の関節接合体に対し、関節接合部スペーサまたは関節スペーサ1810の配置および挿入がやり易くなる。この特性は、ヒンジ、または、他の何かの等価的構造または材料特性によって湾曲が可能とされる機構を有する、後述の実施態様にも適用される。ヒンジ1822は、インプラントの固定、すなわち、固定装置の配置の、個人の要求に合わせた特注をやり易くする。ヒンジは、側方体プレート1820が患者の頸椎の解剖学に一致した配置を可能とし、側方体プレート1820は、骨に侵入する固定装置を受容する。関節接合部スペーサまたは関節面接合部スペーサ1810は、遠位端1812において曲線または円状に丸められてもよく(図23A)、関節接合部内の骨の形に近似するように、上面1813において凸型またはドーム型となっていてもよい。下面1815は平坦または平面状であってもよい。それとは別に、下面1815は凹型であってもよい。さらに別の態様として、下面1815は凸型であってもよい。 22A-24B show yet another
脊柱に埋め込まれた場合、側方体プレート1820は、関節接合部の外側、好ましくは、側方体または椎弓板に接して配置される。側方体プレート1820は貫通孔1830を持つ。貫通孔1830は、側方体プレート1820を、好ましくは側方体に、またはそれとは別に脊柱の別の部分に確保し、それによってインプラントを固定するために、骨ねじ1840、これは側方体ねじとも呼ばれる、を受容することが可能である。側方体ねじ1840は、適正な形態を持つレンチを受容するよう6角ヘッドを持つことが好ましい。後述するように、ヘッドは、ロックプレート1824の適合性プローブ1826を受容する。 When implanted in the spinal column, the
ロックプレート1824は、好ましくは、関節接合体の外の側方体または椎弓板にインプラントを固定し、側方体プレート1820およびロックプレート1824の回転を阻止するために、楔型遠位端を有する竜骨1828を含む。竜骨1828は、該竜骨1828が椎骨の中に切り込む際に、竜骨1828をガイドし軸揃えをするための、側方体プレート1820の辺縁にそって形成される溝1823と同軸である。
前述したように、ロックプレート1824は、側方体ねじ1840のヘッドに当接するプローブ1826を含む。ロックプレートはさらに、ロックプレート1824と側方体プレート1820とが互いに対して回転的ずれを生ずることがないように保持するために、側方体プレート1820の軸揃えした開口1829に向けて貫通する機械ねじ(図示せず)を受容する開口1831を含む。従って、ロックプレート1824は少なくとも二つの機能を果たす。すなわち、(1)側方体ねじ1840のプローブ1826に対する位置を維持し、それによってねじ1840が戻って飛び出すことがないように保持すること、および、(2)竜骨1828および機械ねじを有するインプラントの、頸椎または他の椎骨に対する回転を阻止すること、である。 As described above, the
ロックプレート1824を側方体プレート1820にロックするためには、他の機構も用いることが可能であることを理解しなければならない。例えば、ロックプレートは、側方体プレートのポートに挿入することが可能な、棘付きプローブを含んでもよい。この棘は、側方体プレートのポートの側壁を定めるリブと嵌合することが可能である。 It should be understood that other mechanisms can be used to lock the
図25A、25Bに示す好ましい実施態様では、側方体プレート1920は、ロックプレート1924を受容するための陥凹域1922を含む。これにより、プローブ1926が側方体ねじ1940に当接し、竜骨1928が椎骨の側方体または椎弓板に挿入された場合、ロックプレート1924の平面は、側方体プレート1920の上面1925と揃って平坦とされる。図25A、25Bに示す好ましい実施態様では、関節接合部スペーサまたは関節面接合部スペーサ1910は、頸椎関節接合部に対する、該関節接合部スペーサまたは関節面接合部スペーサ1910の挿入がやり易くなっている。この実施態様では、関節接合部スペーサまたは関節面接合部スペーサ1910の遠位端1912が丸められる。遠位端1912は、挿入をやり易くするために厚みがテーパーされる。このテーパー遠位端1912は、この実施態様では均一の厚みを持つ近位の中央セクション1916と合致し、連続する。中央セクションは、前述したように、側方体プレート1920に対し、好ましくはヒンジ1922によって屈曲性に接続する。近位中央セクション1916およびテーパー遠位端1912を有する、関節接合部スペーサ(または挿入体)、または関節面接合部スペーサ(または挿入体)1910は下方に曲線を描くので、関節接合部スペーサまたは関節面接合部スペーサ1910の上面1913も曲線を描く。この曲線によって、上面1913は凸型となるが、この凸型は、患者の頸椎関節接合部(単複)の解剖学的構造に適合するように様々のインプラント1900の間で変動させてもよい。従って、下面1915は、凹型、平坦、または凸型であることが好ましい。インプラントの曲線形は、上方椎骨の下面と、隣接下方椎骨の上面とから成る頸椎関節接合部の形態に適合される。関節接合部スペーサまたは関節面接合部スペーサ1910の上面1913の凸型は、上方頸椎下面の凹型と適合する。関節接合部スペーサまたは関節面接合部スペーサ1910の下面1915の凹型は、頸椎の上面の凸型と適合する。関節接合部スペーサまたは関節面接合部スペーサの上面および下面の凸面および凹面度は、患者の解剖学的形態、および、治療される隣接頸椎の特定の組み合わせに適合するように変動させることが可能である。例えば、患者の頸椎の解剖を採寸し(後述するように)、関節面の凸面度および凹面度が比較的低いことが判明した場合には、曲率の低い、関節接合部スペーサまたは関節面接合部スペーサ1910を使用することが可能である。一般に、同じレベルでは、右の関節接合部に対する入力と、左関節接合部に対する入力とは近似の形態を取る。関節接合部スペーサまたは関節面接合部スペーサの形の近似性、および表面同士が滑らかで等高であることによって、頸椎の可動性を失うことなく、かつ、頸椎骨に対し損傷を与えることなく、関節接合部の伸延を可能とすることが期待される。さらに、中央セクション1916の幅は1.5 mm から2.5 mmであることが好ましい。 In the preferred embodiment shown in FIGS. 25A and 25B, the
上で別様に説明した場合を除いて、図22A-24Bに示した実施態様は、図25A、25Bに示した実施態様に近似する。従って、1900代の要素番号を持つ残余の要素も、上に記載された、1800代の要素番号を持つ記載の要素と実質的に近位することが好ましい。従って、例示として挙げるのであるが、要素1923、1928、1929、および1930は、それぞれ、要素1823、1828、1829、および1830と近似する。 Except as otherwise described above, the embodiment shown in FIGS. 22A-24B approximates the embodiment shown in FIGS. 25A and 25B. Accordingly, the remaining elements having an element number of the 1900s are also preferably substantially proximal to the described elements having an element number of the 1800s described above. Thus, by way of example,
図30は、本発明のインプラントの挿入法のフローチャートである。本発明の実施態様1800または1900は、下記のやり方で挿入されるのが好ましい(本発明の方法の記述的説明のために、本明細書には実施態様1800の要素のみが記載される)。先ず、関節接合部を露出する。椎骨関節接合部に配置される、本発明のインプラントの適正なサイズを選択するために、採寸ツール2200(図29A-Cを参照)が挿入される。この工程は、要すれば、様々なサイズのツール2200を用いて必要なだけ適切なサイズが決められるまで繰り返してよい。この採寸工程も、インプラントの挿入をやり易くするために関節接合部および周囲組織を伸延する。次に、天然または人工の関節接合部スペーサまたは関節面接合部スペーサ1810が、関節面の間において関節接合部の中に挿入される。関節面そのものはいく分ボールとソケット状である。従って、この形に適合するように、スペーサ1810は、その先端が楔、または組織拡張器のように丸められてもよい。これによって、関節接合部スペーサまたは関節面接合部スペーサが椎骨の関節接合部に押し込まれる際、関節接合部の伸延が引き起こされる。天然または人工の関節接合部スペーサまたは関節面接合部スペーサ1810はまた、脊椎の関節接合部の形態に十分に適応するために凸面1813を含む。しかしながら、上に説明し、図25Bで示したように、別態様として、一方では、凸型上面1913および凹型下面1915を有し、かつ挿入をやり易くするために遠位端1912をテーパーさせた、曲線形の天然または人工関節接合部スペーサ(または挿入体)または関節面接合部スペーサ(または挿入体)1910を設けることも可能であるし、他方では、残余部分(すなわち、近位セクション1916)が均一の厚みを有する、天然または人工関節接合部スペーサまたは関節面接合部スペーサ1910を設けることも可能である。 FIG. 30 is a flowchart of the implant insertion method of the present invention.
一旦天然または人工接合部スペーサ1810が配置されたならば、側方体プレート1820が、椎骨に接するヒンジ1822の周囲において下方に回転させられ、好ましくは側方体または椎弓板に当接される。このようにして、側方体プレート1820は、天然または人工関節接合部スペーサまたは関節面接合部スペーサ1810に対してある角度をもって配され、代表的脊柱形態を取る。本実施態様は(ヒンジ)軸の周囲に回転可能なので、天然または人工関節接合部スペーサまたは関節面接合部スペーサ1800に対する、側方体プレート1820の最終位置は、実際の脊柱形態に依存することを理解しなければならない。本発明の実施態様は、天然または人工関節接合部スペーサまたは関節面接合部スペーサと、側方体プレートとの間の接続が、十分な屈曲性を持ち、そのため、側方体プレートが、患者の解剖と適合するように天然または人工関節接合部スペーサまたは関節面接合部スペーサに対して湾曲させることが可能である限り、ヒンジ無しで製造することも可能である。側方体プレート1820が配置された後で、あるいは、側方体プレート1820の配置前に、骨ねじ1824を容れるための開口が骨に掘削される。それとは別に、ねじ1824は、自己掘削性であってもよい。次に、ねじが開口1830を貫通し、骨、好ましくは側方体または椎骨弓に固定される。このようにして、天然または人工関節接合部スペーサまたは関節面接合部スペーサ1800を所定の場所に保持する。骨ねじ1824を所定の場所にロックし、天然または人工関節接合部スペーサまたは関節面接合部スペーサ1800、および側方体プレート1820を所定の場所にロックするために、ロックプレート1824が側方体プレート1820の上に配される。このように配置されると、プローブ1826は、開口1830を貫き、骨ねじのヘッドに当接し、骨ねじが動かないようにする。竜骨1828は、のみ型の鋭い先端を持つために、好ましくは骨の中に自ら溝を切り込むことが可能であり、そのため、竜骨1828は、側方体プレート1820の溝1831と整列し、かつ該溝によって受容されるので、竜骨1828は骨の中にロックされる。それとは別に、溝は、竜骨1828を受容するようにあらかじめ骨の中に切り込まれていてもよい。この場合、ロックプレート1824の開口1829は、側方体プレート1820のねじ溝付き開口1831と軸が揃っており、機械ねじが挿入されて、側方体プレートに対しロックプレートを固定することが可能である。このロック作用によって、側方体プレート1820および天然または人工関節接合部スペーサまたは関節間接合部スペーサ1810の回転が阻止され、前述したように、骨ねじ1840が戻されて椎骨から脱出することが阻止される。インプラントは、C5およびC6の間の椎骨レベル、またはC6およびC7の椎骨レベルに設置されることが好ましい。なお、椎骨間の各レベルにおいて二つのインプラントが埋め込まれることが好ましい。すなわち、後ろから見た場合に、一つのインプラント1800は右の関節接合部に、さらに、左の関節接合部にも設置される。この処置を用いて、伸展または中立位置において脊椎の孔面積またはサイズを増加または伸延し(頸椎の前湾に対して有害作用を及ぼすことなく)、かつ、神経および血管に対する圧を緩和することが可能である。同時に、この処置は関節接合部の可動性を保存する。 Once the natural or artificial
図26A-27Bは、本発明のインプラントのさらに別の実施態様を示し、実施態様2000は、図27Aおよび27Bに示されるように頸椎に埋め込まれる。インプラント2000は、第1天然または人工関節接合部スペーサ(または挿入体)または関節面接合部スペーサ(または挿入体)2010、および第2天然または人工関節接合部スペーサまたは関節面接合部スペーサ2010を含む。各天然または人工関節接合部スペーサまたは関節面接合部スペーサは、同じレベルの二つの隣接頸椎の両側の頸椎関節接合部への挿入をやり易くするように、テーパー型または楔型をした遠位端2012を持っていてもよい。この天然または人工関節接合部スペーサまたは関節面接合部スペーサはさらに、頸椎関節接合部の頸椎関節面の形に近似するように、その上面2013がドーム型であっても、凸型となっていてもよい。 FIGS. 26A-27B show yet another embodiment of the implant of the present invention, and
この、第1および第2天然または人工関節接合部スペーサまたは関節面接合部スペーサ2010は、カラー2015によって架橋結合される。カラー2015は、隣接頸椎の棘突起の間を通過する。図26Bに見られるように、インプラントは、“V”型、または「ブーメラン」型であることが好ましい。インプラント2000全体、または本インプラントのカラー2015は、屈曲性材料、例えば、チタンで製造され、そのために、天然または人工関節接合部スペーサまたは関節面接合部スペーサ2010を頸椎関節接合部に挿入した場合、頸椎関節接合部カラー2015が、好ましくは、患者の頸椎の側方体または椎弓板の形に一致し、該インプラントを所定の場所に保持することが可能となるよう湾曲可能となっていてもよい。天然または人工関節接合部スペーサまたは関節面接合部スペーサ2010のそれぞれに隣接するインプラント2000に開口2029を設けることが好ましい。これらの開口2029は、図27A、27Bに示すように、骨ねじを受容して、側方体または椎弓板に対してインプラントを当接配置する。図28A、28Bにおける実施態様2100の説明によって、インプラント2000を脊椎骨に付着させる方法に関してさらに詳細が得られる。インプラント2100も、PEEK、または本明細書に記載される他の材料によって製造されてよい。実施態様2000(図27Bに描かれる「ブーメラン」型)はさらに、例えば、図22Aのロックプレート1824のようなロックプレートを持ってもよい。実施態様2000のロックプレート(図示せず)は、ロックプレート1824と同じ特徴的機構を有してもよい。すなわち、(1)骨ねじが戻って飛び出すことがないように、ねじが飛び出すとインプラント2000のずれが確実に起こると考えられるので、骨ねじと相互作用を持つプローブ1826、および、(2)のみ型先端を有する竜骨1828で、該先端は骨の中に埋め込まれ、インプラントの回転ずれを阻止する竜骨1828を有してもよい。しかしながら、実施態様2000のカラー2015形態の下では、のみ型は、2本の骨ねじによって安定化されるカラーを持たない前述の実施態様の場合と同じ目的のためには役立たない可能性がある。従って、実施態様2000におけるロックプレートは、竜骨無しとしてもよい。 The first and second natural or artificial joint joint spacers or joint surface
図28Aおよび28Bは、本発明2100のインプラントのさらに別の実施態様を示す。この実施態様2100では、カラー2115は、チタンのような屈曲性材料、または実質的に屈曲性を持たない材料、または、本明細書に記載される他の材料によって製造される。実質的屈曲性はまた、第1の天然または人工関節接合部スペーサ(または挿入体)または関節面接合部スペーサ(または挿入体)2110を、第1ヒンジ2117を用いてカラー2115に接続し、第2天然または人工関節接合部スペーサ(または挿入体)または関節面接合部スペーサ(または挿入体)2110を、第2ヒンジ2117を用いてカラー2115に接続することによって得られる。第1ヒンジ2117および第2ヒンジ2117を用いることによって、カラー2115は、下方に軸回転されて、特定の患者の頸椎の解剖学的形態に合致することが可能になる。言い換えると、軸回転の度合いは、様々な患者の間で変動するが、第1ヒンジ2117および第2ヒンジ2117によって、インプラント2100はこの変動を受容することが可能となる。 28A and 28B show yet another embodiment of the implant of the
ヒンジ付き実施態様2100では、実施態様2000と同様、カラー2115は、第1ヒンジ2117の下方に第1開口2129、第2ヒンジ2117の下方に第2開口2129を持ってもよい。第1骨ねじは第1開口2130を貫通し、側方体または椎弓板に侵入し、第2骨ねじは、第2開口2130を貫通し、側方体または椎弓板に侵入し、第1および第2骨ねじはインプラントの固定に働く。第1骨ねじおよび第2骨ねじのために、開口を、できれば側方体に掘削してもよい。それとは別に、ねじは自己掘削性であってもよい。プレート1924(図25A)と同様の、第1ロックプレートが、第1骨ねじのヘッドの周囲に固定され、第2ロックプレートが、第2骨ねじのヘッドの周囲に固定され、第1および第2骨ねじ2140のずれが阻止される。第1ロックプレートは、プローブによって第1骨ねじの動きを遮断し、第2ロックプレートは、プローブによって第2骨ねじの動きを遮断する。 In hinged
実施態様2000および2100は、隣接頸椎間のただ一つの頸椎関節接合部にインプラントが必要とされる病態、すなわち、治療が一側の関節接合体に限局される頸椎の狭窄症、およびその他の頸椎病態の治療にも適応されるように構成することが可能であることに注意しなければならない。この場合、カラー2015、2115は内側に延びるが、第2天然または人工関節接合部スペーサまたは関節面接合部スペーサ2010、2110には延びない。ヒンジ付き実施態様2100の場合、インプラントは単一ヒンジ2117を含み、カラー2115は、インプラント2100を固定する1本の骨ねじを受容するただ1個の開口2129しか持たない。
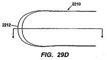
図29A-Eは、本発明の採寸および伸延ツール2200を示す。採寸ツール2200は、ハンドル2203、および、本発明のインプラントの天然または人工関節接合部スペーサまたは関節面接合部スペーサ(例えば1810)と同様の形態を持つ遠位ヘッド2210を有する。すなわち、ヘッド2210は、天然または人工関節接合部スペーサまたは関節面接合部スペーサ1810と事実上同じ特徴的機構を持つが、ヘッド2210のサイズは、治療される頸椎関節接合部のサイズを決定し、次に適当なサイズのインプラントの選択を可能とするように、採寸ツール2200毎に変動してよい。ヘッド2210は、関節接合部にインプラントを埋め込む工程の前に関節接合部を伸延するために使用されることが好ましい。このために、ヘッド2210は、その最大遠位点2212において丸められるが、頸椎関節接合部への挿入をやり易くするためにテーパー型となっていてもよい。ヘッド2210はまた、やや凸の上面2213を持ってもよく、その凸型曲面の度合いは、頸椎関節接合部に埋め込まれるインプラントの所望の凸面度を決めるために、異なる採寸ツール2200の間で変動する。ヘッド2210は、近位の中央セクション2216にそって均一な厚みを持ってもよい。従って、下面2215は、凹型であることが好ましい。それとは別に、近位の中央セクション2212は、均一な厚みを取ることなく上面1813において凸型であってもよい。従って、下面2215は平坦または平面であってもよい。ヘッドも曲面であってもよい。 FIGS. 29A-E show a measurement and
ヘッド2210は、採寸ツール2200のヘッド2210が、関節接合部へ過度に挿入されるのを阻止するためのストッパー2218を有する。このストッパー2218は、ヘッド2210をハンドル2203から隔てる隆起であってもよい。それとは別に、ストッパー2218は、ストッパー2218を超えた挿入を阻止するものであれば、例えば、ペグ、歯等を含む任意の構造体であってもよい。 The
ある範囲のサイズを持つヘッド2210をカバーする、様々な採寸ツール2200が、次々に頸椎関節接合部に挿入され、それによって、該頸椎に配置されるインプラントの適正なサイズ、適正な凸面度および凹面度を持つ天然または人工関節接合部スペーサまたは関節面接合部スペーサを有するインプラントが選択される。関節接合部を伸延するために、それぞれ、好ましくはより大きいヘッドを使用してもよい。
図31Aは、本発明のインプラントのさらに別の実施態様2300の後面図を示す。実施態様2300は、本明細書に記載される全ての実施態様同様、本明細書に記載される他の実施態様と関連して記載される利点の内のいくつか、またはその全てを享受することが可能である。さらに図31Aに示すように、実施態様2300は、テーパー型または薄くなる遠位端2312を有する天然または人工関節接合部スペーサ(または挿入体)または関節面接合部スペーサ(または挿入体)2310を有し、この遠位端2312によって、頸椎関節接合部に対する該天然または人工関節接合部スペーサまたは関節面接合部スペーサ2310の挿入が促進される。遠位端2312は、関節接合部の丸みに一致するように、図31Aの平面図に見られるように、丸められてもよい。天然または人工関節接合部スペーサまたは関節面接合部スペーサ2310はさらに、該天然または人工関節接合部スペーサまたは関節面接合部スペーサ2310の上面2313が凸面となり、下面2315が凹面となり、インプラント2300を受容する頸椎関節接合部の自然な形に近似するような曲面を形成していてもよい。曲線部は均一な厚みを持ってもよいし、あるいは、該厚みは変動してもよい。さらに、天然または人工関節接合部スペーサまたは関節面接合部スペーサ2310の側縁は、負荷担持のストレスを分布させるために曲げられるか、丸められる。本明細書に記載される他の実施態様同様、天然または人工関節接合部スペーサまたは関節面接合部スペーサ2310はまた、接合部の可動性および屈曲性を維持するために、屈曲性で、生体適合性材料、例えば、PEEKによって製造される。 FIG. 31A shows a rear view of yet another
天然または人工関節接合部スペーサまたは関節面接合部スペーサ2310は、側方体プレート2320に屈曲可能な形で接続されるが、この屈曲性接続はヒンジ2322であることが好ましい。図31Aの平面図に見られるように、インプラント2300は実質的に砂時計型をしている。この型は、図32の型同様下記に詳述される。ヒンジ2322は、天然または人工関節接合部スペーサまたは関節面接合部スペーサ2310よりも狭く、かつ、ヒンジ2322は、実質的に、天然または人工関節接合部スペーサまたは関節面接合部スペーサ2310と側方体プレート2320との間の狭隘部2317に坐を占める。ヒンジ2322周囲の曲線的辺縁またはフィレットは、負荷担持のストレスをインプラント2300の上により均一に分布させ、従って、ストレスが辺縁の周囲に集中するのを阻止するのに役立つ。 The natural or artificial joint joint spacer or joint surface
ヒンジ2322によって、インプラント2300がヒンジ2322において曲がることが可能となり、そのため、側方体プレート2320は患者の椎骨の側方体および/または椎弓板に接し、特定の患者の解剖学的形態に合致するようになる。側方体プレート2320は、後述のように骨ねじおよびその他のハードウェアの使用を支える、生体適合性屈曲性材料、好ましくはチタン、または本明細書に記載されるその他の生体適合性材料、例えばPEEKで製造されてもよい。側方体プレート2320は、天然または人工関節接合部スペーサまたは関節面接合部スペーサ2310に対し広範囲の角度に渡って、好ましくは90°を超える角度でヒンジ2322において下方に曲げられ、この屈曲性によって、天然または人工関節接合部スペーサまたは関節面接合部スペーサの配置および挿入が促進される。この、天然または人工関節接合部スペーサまたは関節面接合部スペーサ2310に対する、側方体プレート2320の屈曲性はさらに、患者の椎骨の側方体および/または椎弓板に対する側方体プレートの配置を促進する。側方体プレート2320が骨、好ましくは頸椎の側方体に接して配置されたならば、第1骨ねじ、例えば、骨ねじ1840が、第1側方体プレート2320の第1開口2330中に挿入され、頸椎側方体の骨の中に埋め込まれる。
側方体プレート2320はさらに、第1開口2330に対して好ましくは内側に配される第2開口2329を含む。従って、図31Aの場合にようにインプラントを後方から透視的に眺めると、側方体プレート2320の第2開口2329は、第1開口2330の左、または右側に配される。第2開口2329の位置は、インプラント2300が、患者の左側の頸椎関節接合体への挿入を意図されるか、それとも右側かに応じて決まる。具体的に言うと、右側の頸椎関節接合体(すなわち、患者の右側)に挿入されるインプラント2300では、インプラント2300を後方から透視的に見た場合、図31Aに描かれるように、第2開口2329は第1開口2330の左に配され、一方、左側の頸椎関節接合部に挿入されるインプラント2300では、インプラント2300を後方から透視的に見た場合、第2開口2329は第1開口2330の右に配される。 The
側方体プレート2320を貫通する第2開口2329は、好ましくはのみ型の尖端2391を有するロックねじである、第2ねじ2390を受容するように適応する(図31B)。このロックねじ2390は、第2開口2329によって受容され、その、のみ型尖端2391は骨の中に穴を自己切削する。ロックねじ2390は、好ましくは、骨ねじが第1開口2330を通じて骨の中に埋め込まれた後、第2開口2329の中に挿入されて骨の中に埋め込まれる。第2開口2329の位置、すなわち、第1開口2330に対し内側にある位置のために、第2開口2329がより外側に配置されていた場合では実現できないほどの強靭な骨組織にロックねじ2390が埋め込まれることになる。ロックねじは、骨ねじと組んで、インプラント2300の回転性および/または後退移動を阻止する。ロックねじ2390は第2開口2329によって受容されるので、ロックねじ2390のヘッド2392は、第1開口2330中の第1骨ねじのヘッドと整列し、第1骨ねじのヘッドの動きを遮断し、第1骨ねじが後退して、椎骨および第1開口2330から飛び出るのを阻止する。 The
図32は、後方から見た、本発明のインプラントのさらに別の実施態様2400を示す。実施態様2400は、頸椎関節接合部の解剖学的形態、特に、関節包を含む、頸椎関節接合体周囲の軟部組織を保存する方式の埋め込みに適応する。 FIG. 32 shows yet another
インプラント2400は、インプラント2300および上に開示したその他のインプラント同様、屈曲性に、好ましくはヒンジ2422によって、側方体プレート2420に接続される、天然または人工関節接合部スペーサ(または挿入体)または関節面接合部スペーサ(または挿入体)2410を有する。図32に見られるように、天然または人工関節接合部スペーサ(または挿入体)または関節面接合部スペーサ(または挿入体)2410およびヒンジ2422を含むインプラント2400は、実質的に“P”型をしている。後述するように、この“P”型は、関節包および、関節包靭帯および関節接合部に関連するその他の軟部組織を無傷のままで、インプラント2400が関節接合部に挿入されるのを助ける。上に開示したインプラント2300およびその他のインプラント同様、天然または人工関節接合部スペーサまたは関節面接合部スペーサは、天然または人工関節接合部スペーサまたは関節面接合部スペーサ2410において、その上面2413が凸型であり、下面2415が凹型であってもよいし、あるいは、インプラント2400を受容する頸椎関節接合部の自然の形に近似するように適切に成形されているものであればいずれの形態であってもよい。天然または人工関節接合部スペーサまたは関節面接合部スペーサ2410の厚みは均一であっても、変動してもよい。天然または人工関節接合部スペーサまたは関節面接合部スペーサはまた、関節の可動性および屈曲性を維持するために、PEEKのような屈曲性の、生体適合性性材料で製造されてもよい。ヒンジ2422は、上に開示したように、負荷ストレスを分散させるために滑らかな、面取り辺縁を持ってもよい。他の実施態様の他の特性および利点も、要すれば、図32の実施態様の設計の中に組み込んでもよい。例えば、天然または人工関節接合部スペーサまたは関節面接合部スペーサ2410はさらに、テーパー型または薄くなる辺縁2412を持ち、そのために、頸椎関節接合部に対する該天然または人工関節接合部スペーサまたは関節面接合部スペーサの挿入が促進されるようになっていてもよい。辺縁2412は曲線的であってもよい。しかしながら、この実施態様2400では、天然または人工関節接合部スペーサまたは関節面接合部スペーサ2410のテーパー型辺縁2412は、天然または人工関節接合部スペーサまたは関節面接合部スペーサ2300のテーパー型辺縁2312のように、天然または人工関節接合部スペーサまたは関節面接合部スペーサ2400の遠位端においてではないことが好ましい。むしろ、テーパー型辺縁2412は、インプラント2400のヒンジ2422に向かって側方に配されるのが好ましい。そのテーパー型辺縁2412は、天然または人工関節接合部スペーサまたは関節面接合部スペーサ2410の側面曲線2440と実質的に一致する。側面曲線は、インプラント2400の内側に対して際立ち、すなわち、“P”型の呼称の理由となる。言い換えると、“P”2440のヘッドの曲線部分は、テーパ型辺縁2412と一致し、天然または人工関節接合部スペーサまたは関節面接合部スペーサ2410を、好ましくは、関節接合部の軟部組織に設けた切開創を通じて頸椎関節接合部中に挿入開始するに際し、インプラント2400の先導辺縁となる。“P”型は、狭隘部2417で狭まり、ここで、天然または人工関節接合部スペーサまたは関節面接合部スペーサ2410は、ヒンジ2422により側方体プレート2420に連結される。滑らかな、または面取りした辺縁またはフィレットにより、ストレスはインプラント2400に分散される。インプラント2400の、前述の“P”型により、インプラント2400は、後述するように、関節接合部の所定の場所に軸回転することが可能になる。天然または人工関節接合部スペーサまたは関節面接合部スペーサ2410のテーパー辺縁2412および先導側面曲線2440によって、インプラント2400の、関節包切開創を通じての頸椎関節接合部への挿入がやり易くなる。次に、インプラント2400は、所定の位置に軸回転させられ、これによって、側方体プレート2420は、天然または人工関節接合部スペーサまたは関節面接合部スペーサ2410に対して下方に曲げられることになり、側方体および/または椎弓板と整列、隣接するようになる。次に、側方体プレート2420は骨に締結される。
インプラント2400の側方体プレート2420は、インプラント2300の側方体プレート同様、屈曲性に、好ましくは滑らかな辺縁を持つヒンジ2422によって、天然または人工関節接合部スペーサまたは関節面接合部スペーサ2410に、天然または人工関節接合部スペーサまたは関節面接合部スペーサの狭い、下方部分において接続される。側方体プレート2420は、生体適合性、屈曲性材料、好ましくはチタン、または、後述のように、骨ねじおよびその他のハードウェアの使用を支える、任意の他の、生体適合性で、屈曲性の材料、例えばPEEKによって製造される。 The
側方体プレート2420は、天然または人工関節接合部スペーサまたは関節面接合部スペーサ2410に対し、広範囲の角度において、好ましくは90°を超える角度で下方に曲げられる。天然または人工関節接合部スペーサまたは関節面接合部スペーサ2410に対する側方体プレート2420の屈曲性によって、患者の椎骨の側方体および/または椎弓板に対する側方体プレート2420の配置がさらにやリ易くなる。 The
前述の実施態様2300と同様、側方体プレート2420は、インプラント2400を所定の場所に固定するのを助けるために骨ねじ2440を受容するように適応した第1開口2430を有する。側方体プレート2420は、上にインプラント2300に関して開示したように、第1開口2430に対して内側に配されるように適応した第2開口2429をさらに含む。第2開口2429の位置は、インプラント2400を後方から透視的に見た場合(図32)、インプラント2400が、患者の左側または右側頸椎関節接合部のどちらに埋め込みを意図されるかに応じて決められる。従って、第1開口2430の左側に配される第2開口2429を持つインプラント2400は、図32に描かれるように、患者の右側頸椎関節接合部への埋め込みが意図されるが、一方、第1開口2430の右側に配される第2開口2429を持つインプラント2400は、患者の左側頸椎関節接合部への埋め込みが意図される。 Similar to the
側方体プレート2420を貫通する第2開口2429は、ヘッド2492を持つ第2ねじ2490を受容するように適応する。該ねじは、好ましくは、ねじ2390のようにのみ型尖端を持つロックねじである。開口2430に配される骨ねじおよび開口2429に配されるロックねじの機能および目的は、インプラント2300に関連して前述した通りである。 A
本発明はさらに、インプラント2400を埋め込む方法を含む(図33A、33B)。天然または人工関節接合部スペーサまたは関節面接合部スペーサ2410を挿入するために、関節接合部が評価され、切開創、または一対の切開創が、関節包靭帯、関節包、および滑膜に形成され、インプラント2400のテーパー型辺縁2412が、これらの組織を貫いて頸椎関節接合体に挿入されるようにする。関節包靭帯および関節包、および、頸椎関節接合体周囲の軟部組織は、小切開創を除いては実質的に無傷のままとし、将来は縫合されて、インプラント2400の周囲に治癒することが許される。要すれば、天然または人工関節接合部スペーサまたは関節面接合部スペーサ2410の、テーパー辺縁2412によって曲線セクション2440を頸椎関節接合体にこじ入れる前に、頸椎関節接合部は延伸される。テーパー型辺縁2412を持つ、天然または人工関節接合部スペーサまたは関節面接合部スペーサ2410の曲線セクション2440が、頸椎関節接合部にこじ入れられたならば、インプラント2400を、好ましくは約90度軸回転し、そうすることによって、第2開口2429を、第1開口2430に対し内側に配されるようにする。これによって、天然または人工関節接合部スペーサまたは関節面接合部スペーサ2410は、関節接合体の中に配置される。天然または人工関節接合部2410の、狭隘部2417を含む全体サイズは、2310の場合と同様、以前の実施態様よりもいく分小さくなっていてもよい。そうすることによって、天然または人工関節接合部スペーサまたは関節面接合部スペーサを、関節包を実質的に無傷のままで関節接合部の辺縁内に納めることが可能となるからである。次に、側方体プレート2420を、ヒンジ2422の周囲に、患者の椎骨の側方体または椎弓板に接する位置まで下方に曲げる。この位置は、個別の患者の頸椎の解剖学に依存する。 The present invention further includes a method of implanting an implant 2400 (FIGS. 33A, 33B). To insert a natural or artificial joint joint spacer or articular
側方体プレート2420が、骨に、好ましくは頸椎の側方体に接して配置されたならば、第1骨ねじが、側方体プレート2420の第1開口2430の中に挿入され、頸椎の側方体の骨の中に埋め込まれ、インプラント2400を固定する。骨ねじが埋め込まれた後、ロックねじが、側方体プレート2420の第2開口2429の中に挿入される。第2開口2429は第1開口2430の内側に配される。ロックねじは、ロックねじが、開口をあらかじめ切削するための道具を要することなく骨の中に掘削することを可能とするようにのみ型尖端を持つ。それとは別に、開口をあらかじめ切削し、のみ型尖端を持たないロックねじを用いてもよい。ロックねじが骨に埋め込まれると、ロックねじのロックヘッドは、骨ねじのヘッドに接近し、骨ねじの後退移動を阻止する。このため、インプラント2400は骨ねじによって固定された状態を維持する、すなわち、骨ねじは後退して骨から飛び出すことはない。埋め込まれたロックねじはまた、一方では、インプラント2400の回転的ずれを阻止する一方、他方では、第1骨ねじの後退移動を遮断する。 If the
図34Aおよび36Bを参照すると、本発明によるインプラント2500の、さらに別の実施態様は、球形の接合機構2538、または、その他の形態を取る、複数方向曲げ接合機構によって側方体プレート(本明細書では固定プレートとも呼ばれる)2520に接続される、天然または人工関節接合部スペーサ(または挿入体)または関節面接合部スペーサ(または挿入体)2510を含む。天然または人工関節接合部スペーサまたは関節面接合部スペーサ2510は、上関節面および下関節面から成る対向表面によって相互に印加される負荷を、適当に分散させるような大きさと形に形成された、負荷担持構造を有する。図示のように、負荷担持構造は皿型をしているが、下記に詳述するように(かつ、前述の実施態様で記載したように)、他の実施態様では、上関節面および下関節面の間で、所望の負荷分散および分離が実現される限り、他の形態を取ってもよい。天然または人工関節接合部スペーサまたは関節面接合部スペーサ2510は、負荷担持面と接続するハンドル様構造を含む。該ハンドル様構造は、狭隘部2517に頸を持ち、回転軸端2526に終止する。ある実施態様では、回転軸端2526は、実質的に球形、卵形、または類似の球形である。下記に述べるように、天然または人工関節接合部スペーサまたは関節面接合部スペーサ2510は、屈曲性材料、例えば、PEEKのような生体適合性ポリマー、または、さらに剛性の高い材料、例えば、チタンのような生体適合性材料を含んでもよい。図示のように、側方体プレート2520は、四隅を面取りした全体として正方形をしている。しかしながら、他の実施態様では、側方体プレート2520は、該側方体プレート2520が、インプラント2500を所定の場所に固定するための十分な支えとなる限り、かつ、側方体プレート2520が、天然または人工関節接合部スペーサまたは関節面接合部スペーサ2510に対し所望の運動範囲を可能とする限り、任意の数の形を取ってもよい。側方体プレート2520は、その中に回転軸端2526が保持される腔2527を含む。球形接合機構2538は、回転軸端2526および腔2527を含み、かつ、後述するように、天然または人工関節接合部スペーサまたは関節面接合部スペーサ2510が、該側方体プレート2520に対して傾斜し、自在に接合することを可能とする。 Referring to FIGS. 34A and 36B, yet another embodiment of an
図34Aは、側方体プレート2520の後面2352を示す後面図であり、一方、図34Bは、側方体プレート2520の前面2534を示す前面図である。側方体プレート2520は、前面2534の辺縁にそって形成される前方ノッチ2524(図35参照)またはその他の切り込み、および、後面2532にそって形成される後方ノッチ2522またはその他の切り込みを含む。後方および前方ノッチ2522、2524は、側方体プレート2520の辺縁にそって全体として軸揃えされており、腔2527に接続する。ノッチ2522、2524は、天然または人工関節接合部スペーサまたは関節面接合部スペーサ2510の運動を、側方体プレート2520に対し前後方向に制限し、そのため、天然または人工関節接合部スペーサまたは関節面接合部スペーサ2510は、様々な角度で前後方向に傾斜することが可能になる。図35を参照すると、前方ノッチ2524は後方ノッチ2522よりも狭い幅を持つ。すなわち、天然または人工関節接合部スペーサまたは関節面接合部スペーサ2510の回転軸端2526の、腔2527への接近を可能とする寸法を持ち、このため回転軸端2526の腔2527への挿入が可能となる。回転軸端2526が腔2527の内部に配置されたならば、プラグ2528を側方体プレート2520と嵌合させ、回転軸端2526を腔2527内の所定の場所にロックし、天然または人工関節接合部スペーサまたは関節面接合部スペーサ2510の運動の自由度をさらに制限すること、特に、天然または人工関節接合部スペーサまたは関節面接合部スペーサ2510の、後方への傾斜を制限することが可能になる。プラグ2528は、後方ノッチ2522に押し込み適合させてもよいし、さらに溶接またはその他のやり方で側方体プレート2520としっかりと締結されてもよい。医師は、埋め込みの標的となる運動セグメント、および/または、患者の特定の解剖学的特徴に従って、適切なおよび/または所望の、天然または人工関節接合部スペーサまたは関節面接合部スペーサ2510、側方体プレート2520、およびプラグ2528を選ぶことができる。適切な組み合わせの成分が特定されたならば、天然または人工関節接合部スペーサまたは関節面接合部スペーサ2510および側方体2520が嵌合され、天然または人工関節接合部スペーサまたは関節面接合部スペーサ2510が、プラグ2528によって所定の場所にロックされる。 34A is a rear view showing the rear face 2352 of the
さらに図34Aから35までに見られるように、側方体プレート2520は、第1貫通孔2530を有する。この第1開口2530は、側方体プレート2520を、好ましくは側方体、椎弓板、または、脊椎の他の部分に固定し、それによってインプラント2500を確保するための骨ねじ2540(本明細書では側方体ねじとも呼ばれる)を受容することが可能である。側方体ねじ2540は、レンチであれ、ドライバーであれ、または他のツールであれ、外科処置のために選ばれるツールを受容することが可能なヘッド2542を持つことが好ましい。側方体プレート2520は、第1開口2530に対して好ましくは内側に配される第2開口2529をさらに含む。図34Aを参照すると、側方体プレート2520の第2開口2529は、第1開口2530の左側か、右側のいずれかに配することが可能である。第2開口2529の位置は、インプラント2500が、患者の左側または右側において頸椎関節接合部への挿入が意図されるかどうかに応じて決められる。具体的に言うと、右側の頸椎関節接合部(すなわち、患者の右側)に挿入されるインプラント2500では、第2開口は、インプラント2500を後方から透視的に見た場合、図34Aに示すように、第1開口2530の左に配され、一方、左側の頸椎関節接合部に挿入されるインプラント2500では、第2開口2529は、インプラント2500を後方から透視的に見た場合、第1開口2530の右に配される。 Further, as seen in FIGS. 34A to 35, the
側方体プレート2520を貫通する第2開口2529は、好ましくはのみ型尖端2591を持つロックねじである第2ねじ2590を受容するように適応する。ロックねじ2590は第2開口2529によって受容され、のみ型尖端2591は骨の中に穴を自己切削する。ロックねじ2590は、好ましくは第2開口2529に挿入され、骨ねじ2540が第1開口2530を通じて骨の中に埋め込まれた後、骨の中に埋め込まれる。第1開口2530に対して、第2開口2529が内側に位置するために、ロックねじ2590は、第2開口2529がより外側に配置された場合に実現されるよりも、より強靭な骨組織に埋め込まれる。ロックねじ2590は、骨ねじ2540と組んで、側方体プレート2520の回転性および/または後退移動を阻止する。ロックねじ2590は第2開口2529によって受容されるので、ロックねじ2590のヘッド2592は、第1開口2530中の第1骨ねじのヘッド2540のヘッド2542と整列し、第1骨ねじ2540のヘッド2542の動きを遮断し、第1骨ねじ2540が後退して、椎骨および第1開口2530から飛び出るのを阻止する。後面2532は、陥凹部2539を含み、および/または、第2開口2529の入り口は引っ込んでおり、そのために、ロックねじ2590が、後面2532から、所望のレベル異常に突出することがないようにされていてもよい。 The
ある好ましい実施態様では(図34A-37に示されるように)、球形接合機構2538は、球形回転軸端2526、および、球形回転軸端2526とほぼ一致する形を持つ腔2527を含む。そのため、球形接合機構2538はボール・ソケット配置である。このボール・ソケット配置2538により、天然または人工関節接合部スペーサまたは関節面接合部スペーサ2510は、側方体プレート2520に対して自由に動くことが可能となり、その際、天然または人工関節接合部スペーサまたは関節面接合部スペーサ2510は、側方体プレート2520によって妨げられない。例えば、図36Aに示すように、天然または人工関節接合部スペーサまたは関節面接合部スペーサ2510は、前方(例えば、位置1)に傾くことも可能であるし、後方(例えば、位置2)に傾くことも可能である。天然または人工関節接合部スペーサまたは関節面接合部スペーサ2510が前方に傾くと、狭隘部2517が、前方ノッチ2524の中で動くので、天然または人工関節接合部スペーサまたは関節面接合部スペーサ2510は、障害無く傾斜を続けることができる。逆に、天然または人工関節接合部スペーサまたは関節面接合部スペーサ2510が後方(例えば、位置2)に傾くと、狭隘部2517はプラグ2528に接触し、そのため、天然または人工関節接合部スペーサまたは関節面接合部スペーサ2510の後方への傾き量は制限される。 In one preferred embodiment (as shown in FIGS. 34A-37), the spherical joining
図36Bを参照すると、ボール・ソケット配置によって、天然または人工関節接合部スペーサまたは関節面接合部スペーサ2510は、側方体プレート2520に対して自在運動(例えば、位置3に向かって)することが可能となり、これによって、天然または人工関節接合部スペーサまたは関節面接合部スペーサ2510が、上および下関節面によりよい一致的配置を実現する可能性が高まる。さらに、天然または人工関節接合部スペーサまたは関節面接合部スペーサ2510の自在運動能によって、側方体プレート2520の固定位置に関する選択肢が増える。医師は、例えば、天然または人工関節接合部スペーサまたは関節面接合部スペーサ2510に対する側方体プレート2520の配置を変えることによって、側方体プレート2520を、側方体にそって、より適合的、または有利な方向および/または位置に確保することができる。許容される自在運動量(全体として許容される運動の自由度)は、成分の形と大きさに依存する。例えば、狭隘部2517が十分に狭く、長さが長い場合は、傾きと組み合わせてさらに大きい自在運動が実現されるが、あるいは例えば、プラグが、図36Aおよび36Bに示すように、天然または人工関節接合部スペーサまたは関節面接合部スペーサ2510の一部の上に延びている場合は、後方に可能な傾きの量は制限される。当業者であれば、天然または人工関節接合部スペーサまたは関節面接合部スペーサ2510の、側方体プレート2520に対する運動の自由度は、実質的に、または完全に、成分の大きさと形によって制限される、従って、所望の範囲の運動を実現するように変更することが可能であることが了解されよう。ボール・ソケット配置は、天然または人工関節接合部スペーサまたは関節面接合部スペーサから延びるボール、および、側方体プレートの中に形成されるソケットを含むことを要しない。例えば、この接合体のボールは、ロックまたは固定プレートから延びてもよいし、ソケットは、天然または人工関節接合部スペーサまたは関節面接合部スペーサの中に含まれてもよい。さらに、これまで好ましい実施態様はボール・ソケット配置として説明されてきたわけであるが、様々な結果をもたらす他の配置を用いることも可能である。本発明による実施態様は、丸く抉られた腔と嵌合する球形をした端部を含むことが必要であると憶測してはならない。本発明の範囲は、ボール・ソケット配置に限定されることを意図するものではなく、むしろ、複数の運動自由度、複数の成分の置換性が実現される全ての類似の配置を含むことが意図される。 Referring to FIG. 36B, depending on the ball and socket arrangement, the natural or artificial joint joint spacer or
再び図36Aおよび36Bを参照すると、天然または人工関節接合部スペーサまたは関節面接合部スペーサ2510の負荷担持構造は、全体として凸型の上面2513と、やや凹型の下面2514を含む。負荷担持構造の形は、上および下関節面という対向面の形に近似することが意図される。上面および下面2513、2514は、運動セグメントおよび患者の間で変動してもよい。例えば、図37に示すように、頸椎骨が、実質的に凸型の自然平面を持つ下関節面を含む場合には、医師は、より凹型の下面2614を持つ負荷担持構造を含む、天然または人工関節接合部スペーサ(または挿入体)または関節面接合部スペーサ(または挿入体)2610を、固定される特定の側方体に対してより適当なサイズを持つ骨ねじ2640を有する側方体プレート2620と組み合わせて選択することが可能である。(図示のように、骨ねじ2640の長さはより短く、直径はより広い)。医師には、複数の負荷担持構造を有する天然または人工関節接合部スペーサまたは関節面接合部スペーサが提供されてもよい。前述のように、天然または人工関節接合部スペーサまたは関節面接合部スペーサを、異なる側方体プレートに適合させる能力があると、医師が、患者に対し適切な治療を提供する能力は向上し、さらには、手術部位が暴露された後でも、医師に、インプラントを再構成し、異なる成分の組み合わせの方が適切であるという判断を下す弾力性が与えられる。 Referring again to FIGS. 36A and 36B, the load bearing structure of the natural or artificial joint joint spacer or
さらに別の実施態様では、図34A-37の球形接合配置2538が、例えば図26A-27Bに示すようにカラー構造に適用される。これにより、カラー構造の一端における天然または人工関節接合部スペーサまたは関節面接合部スペーサは運動範囲が増大されるので、天然または人工関節接合部スペーサまたは関節面接合部スペーサと、上および下関節面との適合が改善される(すなわち、天然または人工関節接合部スペーサまたは関節面接合部スペーサと接触する関節表面面積を増大させる)。 In yet another embodiment, the spherical
図38は、図34Aから37に記載されるインプラントを埋め込むための、本発明による方法の実施態様のフローチャートである。先ず、切開創を設けて、手術部位を暴露し、標的とする関節接合部に接近しなければならない(工程2500)。関節接合部に達したならば、関節接合部を採寸し、伸延する(工程2502)。採寸ツール2200(例えば、図29A-Cを参照)を挿入し、その頸椎関節接合部に配置するための、本発明のインプラント2500の適正なサイズを選択する。この工程を、要すれば、様々のサイズのツール2200を用い、適切なサイズが決まるまで必要なだけ繰り返す。この採寸工程もまた、インプラント2500の挿入をやり易くするために、関節接合部および周囲組織を延伸する。適切なサイズが決められたならば、医師は、側方体プレート2520を有する、適切な天然または人工関節接合部スペーサ(または挿入体)または関節面接合部スペーサ(または挿入体)2510を選ぶことができる(工程2504)。次に、この天然または人工関節接合部スペーサまたは関節面接合部スペーサ2510は、関節面の間を、関節接合部の中に押し込まれる(工程2510)。関節面それ自体が、ややボールとソケット接合のような形をしている。従って、この形状に適応するために、天然または人工接合部2510は、天然または人工関節接合部スペーサまたは関節面接合部スペーサが椎骨の関節接合面に押し込まれる際、関節接合部が延伸されるように、楔、または組織拡張器のような形をした、面取りした先導辺縁を持ってもよい。天然または人工関節接合部スペーサまたは関節面接合部スペーサ2510はまた、椎骨の関節接合部の形状により十分に適応するように、凸型上面2513を含んでもよい。しかしながら、上に記載し、図37に示したように、別態様として、凸型上面2613および凹型下面2614を持つ、曲線形天然または人工関節接合部スペーサまたは関節面接合部スペーサ2610を設けることも可能である。この天然または人工関節接合部スペーサまたは関節面接合部スペーサ2610の遠位端は、挿入をやり易くするためにテーパー型であり、一方、該天然または人工関節接合部スペーサまたは関節面接合部スペーサ2610の他の部分は、均一な厚みを持つ。 FIG. 38 is a flowchart of an embodiment of a method according to the present invention for implanting the implant described in FIGS. 34A-37. First, an incision must be made to expose the surgical site and access the targeted articulation (step 2500). When the joint joint is reached, the joint joint is measured and distracted (step 2502). A sizing tool 2200 (see, eg, FIGS. 29A-C) is inserted and the proper size of the
天然または人工接合部2510が配置されたならば、側方体プレート2520が傾けられ、および/または、自在運動させられ、それによって、側方体プレート2520は、椎骨に、好ましくは側方体または椎弓板に接触させられる(工程2512)。このようにして、側方体プレート2520は、天然または人工関節接合部スペーサまたは関節面接合部スペーサ2510に対しある角度をもって配され、代表的脊柱形態に合致する。天然または人工関節接合部スペーサまたは関節面接合部スペーサ2510に対する側方体プレート2520の最終位置は、実際の脊柱形態に応じて決まることを理解しなければならない。側方体プレート2520が配置されたならば、あるいは、側方体プレート2520の配置前に、骨ねじ2540を受容するために骨に開口が掘削される。それとは別に、ねじ2540は自己切削性であってもよい。次にねじ2540が第1開口2530に挿入され、骨に、好ましくは、側方体または椎弓板に固定される。これによって、天然または人工関節接合部スペーサまたは関節面接合部スペーサ2510を所定の場所に保持することが可能になる(工程2514)。骨ねじ2540を所定の場所にロックし、かつ、天然または人工関節接合部スペーサまたは関節面接合部スペーサ2510、および側方体プレート2520を所定の場所にロックするために、自己切削性ロックねじ2590が、側方体プレート2520の第2開口2529の中に配置され、骨に固定される。これは、側方体プレート2520の不要の動きを妨げる(工程2516)。ロックねじ2590のヘッド2592はさらに、骨ねじヘッド2452をロックねじヘッド2592と第1開口2530の間に捕捉することによって骨ねじ2540の動きを遮断する。従って、ロックねじ2590は、側方体プレート2520および、天然または人工関節接合部スペーサまたは関節面接合部スペーサ2510の回転を阻止し、かつ、上述したように、骨ねじ2540が後退して椎骨から突出するのを阻止する。インプラントはC5およびC6の椎骨レベルに、またはC6およびC7椎骨レベルにあることが好ましい。椎骨間の各レベルにおいて二つのインプラントが埋め込まれることが好ましいことに注意しなければならない。すなわち、インプラントは、後方の視点から見た場合、右の関節接合面と、さらに左の関節接合面に設置される。この処置を用いて、伸展または中立位置において脊椎の孔面積またはサイズを増加または延伸し(頸椎前湾に対して有害作用を及ぼすことなく)、かつ、神経および血管に対する圧を緩和することが可能である。この処置により、同時に、関節接合体の可動性が保存される。 Once the natural or artificial joint 2510 has been placed, the
図39Aは、本発明のインプラントの別の実施態様2600の後面図を示す。実施態様2600は、本明細書に記載される全ての実施態様同様、本明細書に記載される他の実施態様に関連する特性および利点の内のいくつか、または全てから利益を得ることが可能である。図示のように、実施態様2600は、テーパー型、または細まる遠位端2612を有する、天然または人工関節接合部スペーサ(または挿入体)または関節面接合部スペーサ(または挿入体)2610を持つ。天然または人工関節接合部スペーサまたは関節面接合部スペーサ2610はさらに、該天然または人工関節接合部スペーサまたは関節面接合部スペーサ2610の上面2613が凸型に、下面2615が凹型となるように曲線を描き、それによってインプラント2600を受容することになる頸椎関節接合部の天然の形に近似する。一つの実施態様では、下面2615は実質的に平坦であり、そのため上面2613は凸型である(図39B)。図39Bに示すように、凸型上面2613は、遠位端2612における下面2615に向かって漸進的に大きな角度で細まる。この、上面2513の輪郭は、天然または人工関節接合部スペーサまたは関節面接合部スペーサ2610の、関節接合体に対する滑らかな挿入を助ける。前述の他の実施態様の場合と同様、天然または人工関節接合部スペーサまたは関節面接合部スペーサ2610もまた、接合部の可動性と屈曲性を維持するため、屈曲性で、生体適合性材料、例えば、PEEKによって製造されてもよい。 FIG. 39A shows a rear view of another
天然または人工関節接合部スペーサまたは関節面接合部スペーサ2610は、屈曲可能として、好ましくはヒンジ2622によって、側方体プレート2620に接続される。ヒンジ2622によって、インプラント2600の、天然または人工関節接合部スペーサまたは関節面接合部スペーサ2610と側方体プレート2620とは、前述したように、伸展位置と、屈曲または折り畳み位置との間を、互いに対して曲げられることが可能になる。側方体2620が骨、好ましくは側方体に接して配置されたならば、第1骨ねじ、例えば、骨ねじ1840が、側方体プレート2620の第1開口2630から挿入され、頸椎の側方体の骨の中に埋め込まれる。さらに、側方体プレート2620が第1骨ねじで確保されたならば、第2骨ねじが、側方体プレート2620の第2開口2629に挿入され、それによって第2骨ねじは、頸椎骨の側方体の骨の中に埋め込まれる。第1および第2開口の詳細については既に論じた。 The natural or artificial joint joint spacer or articular
側方体プレート2620は、生体適合的、屈曲性材料、好ましくはチタン、または、本明細書で記載される、骨ねじおよび他のハードウェアを支える、任意の他の生体適合的屈曲性材料、例えば、後述のようにPEEKから製造されてもよい。側方体プレート2620は、天然または人工関節接合部スペーサまたは関節面接合部スペーサ2610に対し広範な角度でヒンジ2622の周囲で下方に曲げられる。別の実施態様では、天然または人工関節接合部スペーサまたは関節面接合部スペーサ2620および側方体プレート2610間の境界面について、任意の他のタイプが考慮の対象とされる(例えば、ボール・ソケット接合部)。この屈曲性によって、天然または人工関節接合部スペーサまたは関節面接合部スペーサ2610の配置・挿入が促進される。
図39Bは、一つの実施態様による天然または人工関節接合部スペーサまたは関節面接合部スペーサおよび側方体プレートの側面図を示す。図39Bに示されるように、天然または人工関節接合部スペーサ(または挿入体)または関節面接合部スペーサ(または挿入体)2610は、一つの実施態様では超伸展タブ2622を含む。超伸展タブ2622は、天然または人工関節接合部スペーサまたは関節面接合部スペーサ2610を始め、側方体プレート2620も、図39Aおよび39Bに示す伸展位置を超えた方向に移動するのを阻止する。側方体2620は、側方体プレート2620と天然または人工関節接合部スペーサまたは関節面接合部スペーサ2610との間の境界面において陥凹2611を含む。該境界面は、図39Aに示す伸展位置においてタブ2622を収容する。天然または人工関節接合部スペーサまたは関節面接合部スペーサ2610がある角度で曲げられた場合、タブ2622は陥凹2611には接触しない。しかしながら、タブ2622は、図39Aに示すように伸展位置では陥凹2611に接触する。さらに、タブ2622は、陥凹2611に収容されると、天然または人工関節接合部スペーサまたは関節面接合部スペーサ2610および側方体プレート2620が、伸展位置を超えて移動するのを阻止する。この特性は、インプラントは図39Bに示す伸展位置を超えて曲げ戻されることがないので、インプラントの関節接合体への設置を補強する。一方、この配置は、天然または人工関節接合体2610が関節接合部に埋め込まれた場合、側方体プレート2620が下方に曲げられて椎骨に合致することを可能にする。 FIG. 39B shows a side view of a natural or artificial joint joint spacer or joint surface spacer and side plate according to one embodiment. As shown in FIG. 39B, the natural or artificial joint joint spacer (or insert) or the articular joint spacer (or insert) 2610 includes a
図39Aに示すように、側方体プレート2620は、後端近くに位置する第3開口2602を含む。第3開口2602は、後述の埋め込みツール2600の嵌合ロッド2716(図40B)を受容することが好ましい。第3開口2602は、側方体プレートの上面および下面を貫いて延びることが好ましいが、必ずしもそうでなくともよい。第3開口2602は円形であるが、対応する形のロッド2716と嵌合する限り、任意の他の形状を考慮に入れることが可能である(図40B)。側方体プレート2620の後端2604は、後述するように、埋め込みツール2700の嵌合ヘッド2706(図40B)によって嵌合される。 As shown in FIG. 39A, the
さらに、側方体プレート2620は、該側方体プレート2620の側縁から突出する、1個以上の翼状突起物、例えば、タブ、小翼、または耳2608を含むことが好ましい。図39Aは、二つの翼状突起物2608を有するインプラント2600を示す。突起2608は、インプラント2600を上手く埋め込みツール2700に結合するためのガイドとして役立つ。さらに、突起は、インプラント2600をツール2700に確保する嵌合機構としても働く。翼状突起2608は好ましいが、インプラント2600を埋め込みツール2700に効果的にガイドし、確保することが確実であるならば、任意の他の適切な設計による形態を取ってもよい。 Further, the
図40Aは、本発明の実施態様による埋め込みツールを示す。図40Aに示すように、ツール2700は、近位端と遠位端を有するハンドル2702を持つことが好ましい。ツール2700は、活性化スイッチ2708を始め、ハンドル2702の遠位端から延びる軸2704を含む。図40Aに示すように、軸2704は、ハンドル2702と同軸に延びることが好ましいが、ただし軸2704は、ハンドル2702に対してある角度を持っていてもよい。軸2704から延びるのは嵌合ヘッド2706である。嵌合ヘッドは、軸2704および/またはハンドル2702に対しある角度の方向性を持つことが好ましい。軸2704に対するヘッド2706の角度によって、医師が脊椎の中にインプラント2600を埋め込む工程がやり易くなる。この角度によって、医師は、天然または人工関節接合部スペーサまたは関節面接合部スペーサ2620を、関節接合部の中に、ツール2700を用いて、好ましくは脊柱に対してほぼ直角に滑り込ませることが可能になる。ヘッドは、ハンドル2704に対して45と90度の間の角度にあることが好ましい。しかしながら、他の角度も考慮の対象になる。 FIG. 40A illustrates an embedding tool according to an embodiment of the present invention. As shown in FIG. 40A, the tool 2700 preferably has a
図40Bを参照すると、嵌合ヘッド2706は、フォーク状形態を取ることが好ましく、一対の側壁2710、嵌合シート2712の外に、側壁2710および嵌合シート2712の間の領域として定義される受容空間2718を含む。嵌合ヘッド2706は、部分的に受容スペース2618の中に延びる後退可能な嵌合ロッド2716を含む。側壁2610はそれぞれ、スロット2712を含む内面を持つ。スロット2712は受容スペース2718に向く。スロット2712は、側方体プレート2620の翼状突起2608を滑走可能的に受容するような寸法を持つのみならず、側方体プレート2620を嵌合ヘッド2706に対し保持する。嵌合シート2712は、側方体プレート2620の後端2604を受容する。 Referring to FIG. 40B, the
一つの実施態様では、嵌合ヘッド2706は、図40Bに示すように、嵌合ロッド2716を含むことが好ましい。この嵌合ロッド2716は、側方体プレート2620の第3開口2602の内部に適合する寸法を持つ。嵌合ロッド2716は、ハンドル2702のスイッチ2708に結合する。スイッチ2708を活性化すると、嵌合ロッド2716は後退する。後退させられると同時に、嵌合ロッド2716は、第3開口2602から外れ、インプラント2600が、嵌合ヘッド2706から外れることを可能にする。ツール2700は、図40Bに示すように、嵌合ロッド2716を伸展位置に駆動するための、ばね、またはその他の駆動手段を含む。別の実施態様では、嵌合ロッド2716は、それに対し変位力の印加を要することなく、伸展位置と後退位置の間を自由に移動することが可能である。 In one embodiment, the
嵌合ロッド2716は、図40Aおよび40Bでは円筒形として示されることに注意しなければならない。しかしながら、嵌合ロッド2716は、側方体プレート2620の第3開口2602の形に一致する限り、他の任意の形を取ってもよい。別の実施態様では、嵌合ヘッド2706は、インプラント2600をツール2700に保持するために、嵌合ロッド2716を含まず、別の機構を含む。さらに別の実施態様では、側壁2710のスロット2712を用いて、嵌合機構を用いることなくヘッド2706の中にインプラント2600を保持する。 It should be noted that the
好ましい操作では、インプラント2600をツール2700に嵌合するために、インプラント2700は、インプラント2600の後面2604が、嵌合シート2714に一致し嵌合するように右側が持ち上がるような方向性を持つ。インプラント2600は、嵌合ヘッド2706のフォーク部分と軸揃えされ、これによって、インプラント2600の翼状突起2608は、スロット開口2712の中に挿入される。翼状突起2608が対応するスロット2712に収容されると同時に、側方体プレート2620もスロット2712にガイドされ嵌合され、最終的に後端2604が嵌合シート2714に嵌合する。次に嵌合ロッド2716が第3開口2602に挿入され、側方体プレート2620が嵌合ヘッド2706に保持されることが好ましい。一つの実施態様では、ユーザーは手動でスイッチ2708を活性化し、嵌合ロッド2716を後退させ、それによって、側方体プレート2620は完全に受容空間に挿入される。次に、スイッチ2708は、開口2602と嵌合ロッド2716が整列した時点で解除され、それによって嵌合ロッド2716は延びて、第3開口2602に嵌合する。別の実施態様では、側方体プレート2620の上面と、嵌合ロッド2716との接触によって、嵌合ロッド2716は少し引き戻される一方で、他方では、プレート2620が嵌合シート2714の中に移動する。側方体プレート2620が所定の場所に納まったならば、第3開口2602は、嵌合ロッド2716と合致することが好ましく、その際、押し込む力によって、嵌合ロッド2716は自動的に第3開口2602に嵌合する。 In a preferred operation, in order to fit the
外科処置の際、天然または人工関節接合部スペーサまたは関節面接合部スペーサ2610は、上に詳述したように、伸延された関節接合体に挿入される。天然または人工関節接合部スペーサまたは関節面接合部スペーサ2610が関節接合部に満足いくように挿入された時点で、ユーザーはスイッチ2708を活性化することが好ましく、それによって、嵌合ロッド2716は第3開口2602から外れる。外科医師は、ツール2700を関節接合部から引き抜き、そのため側方体プレート2620は受容領域から滑って抜け出し、スロット2712にガイドされる。このようにして、側方体プレート2620は、前述のように、椎体中に固定される。 During a surgical procedure, a natural or artificial joint joint spacer or articular
さらに別の実施態様では、第1開口に収容された骨ねじの動きを抑えるために別の構造体が用いられる。図41Aおよび41Bを参照すると、ある実施態様では、カム2824が、側方体プレート2820に回転可能的に連結され、そのため第1開口2830は、選択的に閉塞、または閉塞解除され、これによって、骨ねじ2840の、第1開口2830内における受容が可能とされ、あるいは、第1開口2830内に収容された骨ねじ2840の運動の抑制が可能とされる。図41Aに示すように、カム2824は、第1位置では、カムの表面2828が、第1開口2830とほぼ等高であり、骨ねじ2840の第1開口2830に対する貫通を可能とする形状を持つ。第2位置に回転されると(図41B)、カム2824表面の突出部2826が、第1開口2830の少なくとも一部を横切って延び、そのため、第1開口2830の中に収容された骨ねじ2840は遮られ、骨ねじ2840は、第1開口2830から後退して飛び出すことを阻止される。カム2824は、該カムが、ツール(図示せず)によって把捉され、所望の位置まで回転されるのを可能とする機構2831(例えば、歯形)を含んでもよい。図示のように、カム2824は、側方体プレート2820のスロットの中に配されるので、側方体プレート2820の表面から不要に突出することはない。 In yet another embodiment, another structure is used to limit movement of the bone screw housed in the first opening. Referring to FIGS.41A and 41B, in one embodiment,
別様に注記しない限り、図22A-24Bに示す実施態様は、図41A-41Bに示す実施態様と同様である。 Unless otherwise noted, the embodiment shown in FIGS. 22A-24B is similar to the embodiment shown in FIGS. 41A-41B.
本発明によるインプラント2900のさらに別の実施態様を図42A-42Gに示す。このインプラント2900は、天然または人工関節接合部スペーサ(または挿入体)または関節面接合部スペーサ(または挿入体)2910が、側方体プレート2920に対し運動自由度が小さいという点で、図22A-25Aに示したインプラントと似ている。図から見て取れるように、ヒンジ2922は、天然または人工関節接合部スペーサまたは関節面接合部スペーサ2910を、側方体プレート2920に接続する。これによって天然または人工関節接合部スペーサまたは関節面接合部スペーサは、側方体プレート2920の平面に対して、上下に同軸回転することが可能になる。しかしながら、別の実施態様では、天然または人工関節接合部スペーサまたは関節面接合部スペーサ2910は、球形接合配置(前述のような)、または、何か他の構造体を介して側方体プレート2920に接続されてもよい。天然または人工関節接合部スペーサまたは関節面接合部スペーサ2910の下面2915は、下面2915から延びる複数の棘(本明細書では突起とも呼ばれる)2986を含む。図42Aに見られる一つの例では、棘は、天然または人工関節の関節接合部に対する挿入方向に対向する方向を指す。これは、挿入工程をやり易くし、天然または人工関節接合部スペーサまたは関節面接合部スペーサが、関節接合部から後退して突出するのを阻止するためである。さらに、棘または突起は、一つの実施態様では、天然または人工関節接合部スペーサまたは関節面接合部スペーサの上面と、天然または人工関節接合部スペーサまたは関節面接合部スペーサの下面との間に定められる天然または人工関節接合部スペーサまたは関節面接合部スペーサの厚みよりも小さい厚みを持つ。頸椎の標的関節接合体に挿入された場合、複数の棘2986が上関節面に侵入、または把捉し、そのために、天然または人工関節接合部スペーサまたは関節面接合部スペーサ2910が、関節上面に対して滑走することが防止される。棘2986は、標的関節接合部の上方椎骨の下面が、該天然または人工関節接合部スペーサまたは関節面接合部スペーサ2910の上面2913にそって移動することを直接制限することはしない。棘2986はさらに、表面を粗大にすることによって、脱離の減少をもたらす表面接触の増加が望まれる場合、有利な結果をもたらす可能性のある骨成長を促す。好ましい実施態様では、天然または人工関節接合部スペーサまたは関節面接合部スペーサ2910は、ヒンジ2922に接続され、所望の強度を持つ、軽量の、生体適合性材料、例えば、チタン、チタン合金、アルミニウム、アルミニウム合金、医用級ステンレススチール等によって形成される下面2915を含んでもよい。このような構造体はまた本明細書では下面シム2980とも呼ばれる。図示のように、上面2913を含む、天然または人工関節接合部スペーサまたは関節面接合部スペーサ2910の実質部分は、後述の生体適合性ポリマーによって形成されてもよい。この実質部分はまた上面シム2982とも呼ばれる。この材料はX線透明であり、所望の滑らかさを持ち、かつ、下面2915に対して圧縮強度が低く、そのため、天然または人工関節接合部スペーサまたは関節面接合部スペーサ2910の上面2913は、関節接合部の下面に対し所望の滑脱が可能となる。上面2913は、脊柱の骨構造に対して、低い圧縮強度および高い弾性を持つ。上面シム2982は下面シム2980の上に金型成形されて、天然または人工関節接合部スペーサまたは関節面接合部スペーサ2910を形成してもよく、あるいは、上面シム2982は、下面シム2980に対し、接着的に、または、下面シム2980に選択的に設けられた突起との干渉的適合によって締結されてもよい。当業者であれば、上面シム2982を下面シム2980に固定的に接続するための種々の技術に思い至るであろう。 Yet another embodiment of an
さらに、下面シムは剛性材料から構成され、一方、上面シムは、より柔軟で、および/または、より圧縮可能な材料から構成されることを理解しなければならない。従って、下面シムは関節接合部で経験される負荷を担持することが可能であり、一方、上面シムはより柔軟であることができる。天然または人工関節接合部スペーサまたは関節面接合部スペーサは、例えば、下面シムの領域における比較的高い剛性から、上面シムの領域におけるより剛性が低く、より柔軟性が高い勾配を持つように形成される材料から構成されてもよい。例えば、後述するPEEKポリマー材料が、材料の硬さと強度を増す充填剤と共に下面シムの領域に形成され、一方、上面シムの領域におけるPEEKポリマーはそのような充填剤を含まず、従ってより柔軟となるようにしてもよい。 Furthermore, it should be understood that the bottom shim is constructed from a rigid material, while the top shim is constructed from a more flexible and / or more compressible material. Thus, the bottom shim can carry the load experienced at the articulation, while the top shim can be more flexible. Natural or artificial joint joint spacers or joint face joint spacers are formed, for example, with a relatively stiffer and more flexible gradient in the upper shim area from a relatively higher rigidity in the lower shim area. It may be composed of a material. For example, the PEEK polymer material described below is formed in the area of the lower shim with a filler that increases the hardness and strength of the material, while the PEEK polymer in the area of the upper shim does not contain such a filler and is therefore more flexible. It may be made to become.
好ましい実施態様では、インプラント2900の棘2986は、下面2915から伸び、鋸歯状の形と配置を持ち、それによって関節接合部から全体として後方への(すなわち、図示の側方体プレート2920に向かう)動きを抑え、さらに、関節接合部に対して側方の動きを抑える。しかしながら、棘2986は、その形状および配置において必ずしも鋸歯状である必要はない。例えば、棘2986は、円錐形、角錐形、曲線形等をしていてもよい。さらに、特に図42Cに示すように、4個の棘2986が下面2915から延びる。別の実施態様では、任意の数の棘2986が設けられ、棘2986同士は同じサイズおよび形を持つか、あるいは、サイズおよび形がまちまちである。本明細書に含まれる教示に徴すれば、当業者であれば、棘2986が形成可能な、無数の異なる形態を思い描くことが可能であろう。埋め込みにおける棘2986の性能および技術も、形状および数に従って様々であろう。しかしながら、本発明は、そのような変動全てを含むことが意図される。 In a preferred embodiment, the
インプラント2900はさらに、要すれば任意に、側方体プレート2920の面から延びて、椎骨の骨構造(例えば、側方体)に実質的に接触するプレート棘2988を含んでもよい。このプレート棘2988は、側方体プレート2920を所定の場所に固定するのに役立ち、それによって、骨ねじ2940が骨構造に連結された場合に移動を抑えるのを助け、骨ねじ2940の付属物として補佐する。プレート棘2988による表面粗大によって、側方体プレート2920近傍の、および/または、プレートと一体の骨増殖が促進される。特に図42Cに示されるように、それぞれが円錐構造を持つプレート棘2988である4個のプレート棘2988が存在する。しかしながら、前述したように、プレート棘2988は、サイズ、数、および形において変動してよい。例えば、プレート棘2988は、鋸歯状、角錐状、曲線状等をしていてもよい。 The
図42Dから42Gまでを参照すると、インプラント2900の骨ねじ2940は、開口2930において、骨ねじ2940と開口2930とが、ボール・ソケット接合に似た運動の相対的自由度が可能となるように配置される。この配置は、インプラント2900の骨構造に対する締結において屈曲性を許容するので、外科医は、病的なまたは脆弱化した骨構造を回避し、インプラント2900を、より強靭で、健康な骨構造に締結することが可能になる。骨ねじ2940は、天然または人工関節接合部スペーサまたは関節面接合部スペーサ2910に向かって、または離れて、および/または、並列を回避するように、開口2930において自在に動かされる。骨ねじ2940が所望のように配置されると、保持プレート2924(図42B)が側方体プレート2920に付着され、前述の実施態様で示された機構の機能と同様に、骨ねじ2940の後退・飛び出しを抑制する。図42Bにおいて見てとれるように、保持プレート2924は、側方体プレート2920の陥凹2927に適合する隆起2925を持ってもよい。その場合、骨ねじ2940が保持プレート2924に対して締め付けられると、保持プレート2924の回転は阻止される。 Referring to FIGS. 42D-42G,
図43を参照すると、さらに別の実施態様では、本発明によるインプラントは、下面3015および上面3013の両方において、該面から延びる棘3086を有する。この実施態様は、例えば、関節接合部を融合するのに用いられる。棘3086は、下および上関節面の相対的動きを抑制し、さらに、関節面を粗大にすることによって骨増殖を促し、関節接合部の融合を促進する。天然または人工関節接合部スペーサ(または挿入体)または関節面接合部スペーサ(または挿入体)3010は、軽量で、高強度の、生体適合性材料、例えば、チタン、チタン合金、アルミニウム、アルミニウム合金、医用級ステンレススチール等によって形成されてもよい。それとは別に、天然または人工関節接合部スペーサまたは関節面接合部スペーサ3010は、後述の生体適合性ポリマーによって形成されてもよく、あるいは、天然または人工関節接合部スペーサまたは関節面接合部スペーサ3010は、固定的に接続され、同じまたは異なる材料から形成される下面および上面シム(図示せず)を含んでもよい。本明細書に含まれる教示に徴すれば、当業者であれば、天然または人工関節接合部スペーサまたは関節面接合部スペーサ3010が形成される様々な方法を思い描くことが可能であろう。 Referring to FIG. 43, in yet another embodiment, an implant according to the present invention has
図42A-Gを参照しながら前述したように、棘3086は形と配置において鋸歯状であるが、別態様として、何か別の形および/または配置を取ってもよい。例えば、棘3086は、角錐形、曲線形、円錐形等であってもよい。さらに、下面3015の棘3086の形、サイズ、および配置は、上面3013の棘3086と違っていても、同じであってもよい。棘3086の形、サイズ、および配置は、埋め込み場所、外科医の好み、標的関節接合部の物理的状態等に基づいて選ばれる。 As described above with reference to FIGS. 42A-G,
図40は、図34Aから39までに記載されるインプラントを埋め込むための、本発明による方法の実施態様のフローチャートである。 FIG. 40 is a flowchart of an embodiment of a method according to the present invention for implanting the implant described in FIGS. 34A-39.
図44は、本発明の一つの実施態様による伸延ツールの側面図である。図44に示すように、伸延ツール203は、ハンドル部分202、アーム部分204、および伸延器ヘッド部分206を含むことが好ましい。特に、ハンドル部分202は、第1ハンドル202Aおよび第2ハンドル202Bを含むのが好ましい。各ハンドル202A、202Bの近位端は、それぞれ、フィンガーループ212Aおよび212Bを含むことが好ましい。ハンドル202Aおよび202Bは、互いにピン208において結合される。好ましい実施態様では、第1ハンドル202Aは運動可能であるが、一方、第2ハンドル202Bは、第1ハンドル202Aに対して静止する。別の実施態様では、第2ハンドル202Bは、第1ハンドル202Aに対しピン208の周囲に軸回転可能である。それとは別に、両ハンドルとも、互いに対してピン208の周囲に軸回転可能である。 FIG. 44 is a side view of a distraction tool according to one embodiment of the present invention. As shown in FIG. 44, the
図44の実施態様において示されるように、アーム部分204は、第1アーム204Aおよび第2アーム204Bを持つ。これらのアーム204は、X軸にそって長軸方向に延びる。上方アーム204Bは、第2ハンドル202Bに付着するのが好ましい。しかしながら、それとは別に、第2アーム204Bは、第1ハンドル202Aに付着してもよい。図44の実施態様では、第1アーム204Aおよび第2ハンドル202Bは一体部品である。それとは別に、第1アーム204Aおよび第2ハンドル202Bは、結合される、二つの別々の部品である。 As shown in the embodiment of FIG. 44, the
前述のように、第1ハンドル202Aは、ピン208の周囲に回転可能であり、その際、ピン208は、ハンドル202Aの中点と遠位端の間にあることが好ましい。図3Aおよび3Bに示す実施態様では、第1アーム204Aの近位端は、ピン210において第1ハンドル202Aの遠位端と結合する。別の実施態様では、ハンドル202Aの遠位端は、ハンドル202Aを第1アーム204Aに結合する、中間リンクに結合される。 As described above, the
第1ハンドル202Aは、図44に示す非伸延位置と、図45に示す伸延位置の間を、ピン208の周囲において移動可能であることが好ましい。図44に示すように、第1ハンドル202Aは、X軸に対し角度αの方向性を持つ。さらに、第2ハンドル202Bは、X軸に対し角度βの方向性を持つ。図44において、非伸延位置における第1ハンドル202Aの角度αは、伸延位置における第1ハンドル202Aの角度φよりも大きい。ハンドル202A、202Bが握り締めによって近づけられると、ツール203は、非伸延位置から伸延位置に活性化される。 The
ツール203のハンドル202A、202Bが握り締められると、ピン208周囲におけるハンドル202Aの時計回り回転によって、ハンドル202Aの遠位端が、正のX軸にそって長軸方向に第1アーム204Aを移動させる(図45)。逆に、ハンドル202が解除されると、あるいは、手動で非伸延位置に向けて活性化されると、ハンドル202Aの反時計回りの動きによって、ハンドル202Aの遠位端は、負のX軸にそって第1アームを反対方向に移動させる(図44)。X軸にそう第1アーム204Aの長軸方向の移動によって、伸延ヘッド206は活性化され、それによって隣接関節面を分離し、インプラントの埋め込みを可能とする。 When the
第1および第2アーム204A、204Bの遠位端は、図44および45に示すように、伸延ヘッド206に結合される。伸延ヘッド206は、第1伸延ヘッド成分206Aおよび第2伸延ヘッド成分206Bを含むことが好ましい。一つの実施態様では、第1アーム204Aの遠位端は、第1伸延ヘッド成分206Aと結合し、第2アーム204Bの遠位端は、第2伸延ヘッド成分206Bに結合する。別の実施態様では、第1アーム204Aの遠位端は、第2伸延ヘッド206Bと結合し、第2アーム204Bの遠位端は第1伸延ヘッド206Bに結合する。第1アーム204Aは第1伸延ヘッド成分206Aと結合しているので、X軸にそう第1アーム204Aの移動によって、好ましくは第1伸延ヘッド成分206AもX軸にそって移動させられる。第2ヘッド成分206Bは、好ましくは第2アーム204Bに固定される。従って、正のX軸にそうアーム204の移動によって、第1ヘッド成分206Aは、好ましくは第2ヘッド成分206Bから遠ざかるように移動させられる。第1ヘッド成分206Aおよび第2ヘッド成分206Bは隣接関節面を好ましくは1.5から2.5 mm引き離し、インプラントの天然または人工関節接合部スペーサまたは関節面接合部スペーサの厚みを受け入れ可能とする。しかしながら、他の距離も考慮に入れられるので、前記にのみ限定されない。 The distal ends of the first and
好ましい実施態様では、伸延ヘッドの遠位部分は、図44および45に示すように、アーム204A、204Bに対し実質的に垂直に延びる。別の実施態様では、伸延ヘッドの上面および下面は、アーム204Aおよび204Bから90度以外の角度で延びる。図44および45に示す好ましい実施態様では、伸延ツール206のヘッド成分206A、206Bは、先端230が、負のY方向に延びるような方向性を持つ。それとは別に、伸延ヘッド206は、先端が正のY軸方向に延びるような方向性を持つ。しかしながら、伸延ヘッド206は、図48Aおよび48Bに示すように、先端がアーム202からZ方向に延びるような方向性持つことも考えられる。本発明の伸延ヘッド206の先端230は、アーム204およびハンドル202に対し、負のZ方向を含む任意の方向に向かってもよいことが考えられる。 In the preferred embodiment, the distal portion of the distraction head extends substantially perpendicular to the
本発明のツール203は、医用級金属で製造されることが好ましい。例えば、ツール203は、チタン、ステンレススチール、合金、または、埋め込み過程において隣接関節面を引き離すのに十分な強度をツール203に付与する、任意の他の材料から製造される。一つの実施態様では、伸延ヘッド206は、同じツールで異なるサイズの伸延ヘッドの使用が可能となるように、アームの遠位端から取り外しが可能である。この特性によって、外科医は、異なる頸椎関節接合部のために、別のツールの使用を要することなく、伸延ヘッドを、異なるサイズのものと交換することが可能となる。別の実施態様では、伸延ヘッド206は、ツール203のアーム204に取り付けられる。その際、ヘッドの上方成分206Aは、下方アーム204Aに溶接され、ヘッドの下方成分206Bは、上方アーム204Bに溶接されるか、あるいはその逆とされる。伸延ヘッド206をアーム204に付着させるには、他にも適切な任意の方法が考えられる。 The
ツール203は、移動制限機構を含むことが好ましい。その機構は、ハンドル202が活性化された場合、第1および第2ヘッド成分206A、206Bの間の伸延量を制限することが好ましい。図44および45に示すように、第1アーム204Aの近位端は、楔型部分216を持つことが好ましい。さらに、第2アーム204Bは、対応する形を持つスロット218を含む。このスロットは、楔型部分216がXの正方向に移動する際該楔型部分216を受容する。スロット218は、ハンドル202が握り締められた場合、第1アーム204AのX軸にそう長軸方向の移動を制限する。これは、結果的に、埋め込み過程において関節面を互いに引き離す際に、ヘッド成分206A、206Bが離れる距離を制限する。それとは別に、伸延ヘッド206の移動を制限するためには任意の他の機構も考えられ、本ツールの楔型部分216、および対応スロット218に限定されない。なお、それとは別に、移動制限機構は、本発明のツールに組み込まれていないことに注意すべきである。 The
図46Aは、伸延位置にある、一つの実施態様による伸延ヘッド206の斜視図を示す。図46Bは、非伸延位置にある、図46Aの伸延ヘッド206の斜視図を示す。図46Aおよび46Bに示すように、伸延ヘッド206は、近位部分と遠位部分とを持つ第1ヘッド成分206Aの外に、近位部分と遠位部分とを持つ第2ヘッド成分206Bを含むことが好ましい。図46Aおよび46Bに示すように、第1ヘッド成分206Aは、近位端に嵌合スロット222Aを含む。さらに、第2ヘッド成分206Bは、嵌合スロット222Aと軸が揃った貫通スロット222Bを含む。第1ヘッド成分206Aの嵌合スロット222Aは、第1アーム204Aの遠位端を受容し、該遠位端に取り付けられることが好ましい。第1アーム204Aは、第2ヘッド成分206Bの貫通スロット222Bを貫通し、アーム204Aが、第2ヘッド成分206Bを妨げることなく、第1ヘッド成分206Aを自由に動かすことができるようになることが好ましい。第2伸延ヘッド206Bの近位部分は、第2アーム204Bの遠位端に付着される。第2アーム204Bは、第2ヘッド成分206Bの下面240に取り付けられ、第2アーム204Bが第1アーム204Aに隣接配置されるのが好ましい。ヘッド成分に関する前記説明は好ましいが、本発明による伸延を可能とするものである限り、他の任意の形態を取ることも可能であることに注意しなければならない。 FIG. 46A shows a perspective view of a
第1および第2伸延ヘッド206A、206Bの遠位部分は共に、230Aおよび230Bとして示される先端を含む。この先端は、関節接合部に対する伸延ヘッド206の挿入を可能とするよう該接合部に侵入するために用いられる。図46Aに示すように、第1および第2ヘッド成分の遠位部分は、互い違いに配置されるところが図示される数本のフィンガーを含む。特に、第1伸延ヘッド206Aは2本のフィンガー224Aを持つところが図示されるが、一方、第2伸延ヘッド206Bは3本のフィンガー224Bを持つところが図示される。別の実施態様では、上方および下方伸延ヘッド206A、206Bにおいて、フィンガーの数は、それぞれ1本ずつを含め、図46Aに示したものよりも多いか、または少ない。これらのフィンガー224A、224Bはまとまって、図46Bに示すように、伸延ヘッド206の、全体として丸くなった先端230を形成する。別の実施態様では、フィンガーの先端230は、丸い先端を形成せず、他の任意の形を取ることも可能である。 The distal portions of the first and second distraction heads 206A, 206B both include tips shown as 230A and 230B. This tip is used to penetrate the joint to allow insertion of the
図46Aおよび46Bに示すように、第2ヘッド成分206Bは、伸延ヘッド206が非伸延位置にある場合、第1ヘッド成分206Aのフィンガー224Aを受容するフィンガースロット206を含む(図46B)。図46Bに示すように、非伸延位置では、第1ヘッド成分206Aと第2ヘッド成分206Bとは同一平面にあり、その際、フィンガー224Aと224Bとは互いに組み合わさることが好ましい。ヘッド成分が同一平面であることによって、伸延ヘッド206が容易に関節接合部へ挿入されるのを可能とする、高さまたは厚みが実現される。ハンドル202が握り締められると、第1ヘッド成分206Aが、第2ヘッド成分206Bから強制的に引き離され、そのため、第1組のフィンガー224Aが、第2ヘッド成分206Bのフィンガースロット232から滑り脱ける。このようにして、第1ヘッド成分206Aは、第2ヘッド成分206Bから、二つのヘッド成分の間に所望の距離が実現されるまで、離れる。図46Aに示すように、第1ヘッド成分206Aのフィンガー224Aは、第2ヘッド成分206Bのフィンガー224Bから離れ、その伸延位置ではもはや同一平面にはない。 As shown in FIGS. 46A and 46B, the
図46Aに示すように、フィンガー224A、224Bは、それぞれ、上面226A、226Bの外に、下面228A、228Bを持つ。一つの実施態様では、フィンガー224A、224Bの先端231A、231Bは、図46Aおよび46Bに示すように、丸められるか、曲線を描く。別の実施態様では、フィンガー224A、224B先端は尖らせられる。 As shown in FIG. 46A, the
一つの実施態様では、伸延ヘッド成分206A、206Bの上面226A、226Bは、伸延ヘッド206が関節接合部に挿入された場合、椎体の下関節面と嵌合する。さらに、一つの実施態様では、伸延ヘッド206A、206Bの下面228A、228Bは、椎体の上関節面と嵌合する。しかしながら、ツール203を裏返しにして、ヘッド206の上面が椎体の上関節面と嵌合し、ヘッド206の下面が下関節面と嵌合するようにすることも考えられる。 In one embodiment, the
図46Aおよび46Bに示すように、伸延ヘッド206の遠位部分は、ヘッド成分206A、206Bの上面および下面226、228が、全体として互いに平行で、均一の厚みを持つように比較的平坦である。別の実施態様では、上面および下面は、先端231A、231Bにおいて互いに向かってテーパー型に細まる。ヘッド成分306A、306Bは、別形態を取り、関節面の形をなぞってもよい。関節面事態は、いく分、ボール・ソケット接合のような形態を取る。従って、図47Aおよび47Bに示すように、伸延ヘッド306は、凸型の上面326および凹型の下面328を持ってもよい。この曲線状上面および下面は、挿入を促進するために、先端322A、322Bにおいて相互に向けて細まり、一方、伸延ヘッドの残余の部分は均一の厚みを持ってもよい。 As shown in FIGS. 46A and 46B, the distal portion of the
さらに、図47Bに示すように、個々のヘッド成分がそれぞれ、凹型および/または凸型形状を持ってもよい。別の実施態様では、上面および下面326A、326B、328A、328Bの内の一方が凸型または凹型であり、一方、他方の表面が平坦で、曲線形を持たない。従って、伸延ヘッド306の上面および下面は、関節のそれぞれの面をなぞるものであることが好ましい。ヘッド306の上面および/または下面の輪郭のために、上面および下面成分は、ツールが伸延位置に活性化される間、上および下関節面に対し比較的一定の力を印加することが可能になる。さらに、伸延ヘッド306の輪郭をなぞった形状は、そのフィンガーと相俟って、伸延処置の間、ヘッド成分が、それぞれの関節面をさらに確かに把捉することを可能とする。 Further, as shown in FIG. 47B, each head component may have a concave shape and / or a convex shape. In another embodiment, one of the upper and
図48Aおよび48Bは、図44および45に示すものとは別の方向性を持つ伸延ヘッドを有するツールの別の実施態様を示す。図48 Aに示すように、ツール403は、ハンドル部分402、アームセクション404、および伸延ヘッド406を含む。図48Aに示すように、アーム部分404は、X軸にそった方向性を持つ。しかしながら、図44および45に記載するツール203と違って、伸延ヘッド406は、アーム部分404から、先端430が正のZ方向に向くように延びる。図48Aに示す実施態様では、伸延ヘッド406は、アーム404に対してほぼ90度の角度で、アーム部分から正のZ方向にそって延びる。しかしながら、伸延ヘッド406は、負のZ方向にそって、または、90度以外の任意の角度でアーム404から延びる方向性を持っていてもよい。 48A and 48B show another embodiment of a tool having a distraction head with a different orientation than that shown in FIGS. As shown in FIG. 48A, the tool 403 includes a
操作時、ハンドル402Aを活性化することによって、アーム404AはX軸にそって移動させられ、図48Bに示すように伸延ヘッド406を活性化する。図48Bに示すように、第1および第2ヘッド成分406A、406Bの先端430A、430Bはテーパー型であることが好ましい。Z方向における先端230の方向性のために、ツール403は、埋め込み過程において、図44および45のツール203とは別の方向性を持つ。ツール403のこの別様方向性は、ツール403を異なる角度で伸延することを要求する、脊柱の様々な部分にそって関節面を伸延するために有利である。さらに、各医師の個人的趣味は、図44および45の実施態様におけるヘッド206の方向性よりも、ツール403の上記別方向性を好むかも知れない。 In operation, by activating the
図49A-49Cは、本発明のツールによる隣接関節面を伸延する方法を描く。図49Dは、本発明の一つの実施態様による埋め込み法のフローチャートを示す。図49Aに示すように、先ず、工程602において、関節接合部60に接近する。工程604において、挿入されるインプラントの適切なサイズを選ぶために、採寸ツールが関節接合部60に挿入される。一つの実施態様では、採寸ツールは、本発明のツール203とは別ユニットである。別の実施態様では、本発明のツール203は採寸ゲージを持ち、そのため、図49に関連して前述したように、外科医は、どのサイズのインプラントを関節接合部に挿入すべきかを決定することが可能である。次に、図49Aに示すように、ツール203の先端231が関節接合部60の中に、伸延ヘッド206が関節接合部60内に十分移動されるまで、かつ、図49Bに示すように、上および下関節面56、58の間に、押し込まれる。図49A-49Cでは、ツール203は、上方接近(すなわち、逆向き)によって接合部に達する。しかしながら、ツール203は、別のやり方で、下方接近(例えば、右側上)、または側方接近(例えば、横から)接合部に達することも可能である。 49A-49C depict a method of distracting adjacent articular surfaces with the tool of the present invention. FIG. 49D shows a flowchart of an embedding method according to one embodiment of the present invention. As shown in FIG. 49A, first, in
伸延ヘッドが挿入されたならば、医師は、ハンドル202A、202Bを握り締める。それによって、工程604に見られるように、インプラントの挿入を促進するよう、伸延ヘッド成分206Aおよび206Bは互いに離れ、関節接合部と周辺組織を伸延する(図49C)。隣接関節面が所望の距離だけ伸延されたならば、ツール203は接合部から取り出され、隣接関節面は互いに離れた状態で残される。関節面を取り巻く伸延組織はゆっくりと収縮するので、医師には、工程606において、インプラントの天然または人工関節接合部スペーサまたは関節面接合部スペーサ104を、関節面の間から関節接合部へ押し込むための時間が残される。 Once the distraction head has been inserted, the physician squeezes the
天然または人工関節が挿入されたならば、工程608において、インプラントの側方体プレートが、ヒンジの周囲において、側方体または椎弓板に向けて下方に軸回転される。側方体プレートが配置されたならば、あるいは、側方体プレートの配置前に、骨に、骨ねじを収容するための開口を掘削してもよい。次に、工程610において、ねじを、開口を通じて設置し、骨に固定し、天然または人工関節接合部スペーサまたは関節面接合部スペーサを所定の場所に確保する。工程612において、骨ネジをロックし、天然または人工関節接合部スペーサまたは関節面接合部スペーサを所定の場所に配置するために、ロックプレートが、側方体プレートの上に載せられる。工程614において、ロックプレートに隣接して配置される竜骨は、好ましくは骨の中に溝を自己切削して、竜骨をロックし、インプラントを固定する。次に、工程616において、ロックプレートは、開口中に挿入されたねじによって側方体プレートに締結される。次に、工程618において、この方法が、脊柱の、任意の他の関節接合部に対して繰り返される。 Once the natural or prosthetic joint has been inserted, at
図50Aおよび50Bは、本発明のツールの別の実施態様を示す。図50Aおよび50Bに示す実施態様は、椎体の隣接関節面を伸延するように構成され、同時に該関節接合部に対するインプラントの挿入を可能とする伸延ヘッド806を含む。図50Aおよび50Bに示すツール803は、ハンドル部分802、アーム部分804の外に、伸延ヘッド806を含む。 Figures 50A and 50B show another embodiment of the tool of the present invention. The embodiment shown in FIGS. 50A and 50B includes a
図50Aおよび50Bに示すように、伸延ヘッド806のフィンガーは、ツール803のアーム804Aおよび804Bに隣接して突出する。図50Aおよび50Bに示すように、伸延ヘッド806は、負のY方向に向いていることろが示される先端808の外に、正のY方向に向く挿入端811A、811Bを含む。挿入端811A、811Bは、先端808に対し、ヘッド806の反対末端に位置することが好ましい。先端808は、関節接合部に挿入されて、隣接関節面を上述のように伸延するように構成される。挿入端811A、811Bは、伸延されると、ツール203が関節面を同時に引き離している間に、インプラントが関節接合部に挿入されるのを可能とする。ヘッド成分806A、806Bが伸延されると、それぞれ、ヘッド成分806A、806Bの挿入端811A、811Bが分離する。これによって、第1および第2ヘッド成分806A、806Bの間(図50B)に挿入導管824が創出される。挿入導管812は高さ距離Dを持つ。これは、第1ヘッド成分806Aの下面と、第2ヘッド成分804Bの上面824との間に十分な隙間を与えるので、インプラントのその隙間を通じての挿入が可能となる。上述のように、伸延ヘッド806は、ツール803のアーム804とハンドル802に隣接して突出する。そのため、ヘッド806の位置は、インプラントが貫通挿入されるための十分な余地を提供する。 As shown in FIGS. 50A and 50B, the fingers of the
手術時、伸延ヘッド806が関節接合部に挿入されると、両ハンドル802が握り締められ、そのために伸延ヘッド成分806が分離されて、関節面を、挿入導管812が所望の高さサイズDに達するまで、伸延する。所望の高さサイズDは、いくつかの因子、例えば、天然または人工関節接合部スペーサまたは関節面接合部スペーサのサイズ、ヘッド成分のフィンガーの厚み、および、関節接合部の場所(例えば、頸椎、胸椎、腰椎)に依存して決められる。高さサイズDは、1.5から2.5 mmまでであることが好ましいが、他のサイズも考慮の対象となる。所望の高さサイズを実現するために、後述するように、高さサイズDは伸延ゲージによって測定してもよい。 During surgery, when the
所望の高さサイズDを実現したならば、インプラントの天然または人工挿入関節を、挿入端811A、811Bを通じて挿入導管812の中に挿入する。挿入導管812は、脊椎の関節接合部と連通していると考えると、インプラントは、導管812を通じて関節接合部に滑り込むことが可能である。天然または人工椎間関節または椎間関節スペーサが関節接合部に確保されたならば、伸延ヘッド806が関節接合部から取り出され、関節接合部に挿入されたインプラントをそのまま残す。次に、インプラントは前述のように固定される。 Once the desired height size D is achieved, the natural or artificial insertion joint of the implant is inserted into the insertion conduit 812 through the insertion ends 811A, 811B. Given that the insertion conduit 812 is in communication with the articulation of the spine, the implant can slide into the articulation through the conduit 812. Once the natural or artificial facet joint or facet spacer is secured at the joint, the
この実施態様により、医師は、インプラントの挿入中、関節面の間に伸延距離を維持することが可能になる。後述の採寸ゲージを含めた本実施態様によって、医師は、一つのツールを用いて、採寸し、伸延し、かつ、インプラントを挿入することが可能となる。図49Aの実施態様では、伸延ヘッドの先端および挿入端はY方向に向いていたが、先端および挿入端はZ方向、または任意の他の方向に向いてもよいことに注意しなければならない。 This embodiment allows the physician to maintain a distraction distance between the articular surfaces during insertion of the implant. This embodiment, including the measurement gauge described below, allows the physician to measure, distract, and insert the implant using a single tool. In the embodiment of FIG. 49A, it should be noted that although the tip and insertion end of the distraction head were oriented in the Y direction, the tip and insertion end may be oriented in the Z direction or any other direction.
図51に示す一つの実施態様では、伸延ツール903は、本発明の一つの実施態様による採寸機構を含むことが可能である。図51に示すように、伸延ゲージ950は、ハンドル902Aおよび902Bの内の一方に結合する。他方のハンドルは、伸延ゲージ950において伸延高測定を指示するためのフラグ952またはポインターを含んでもよい。このようにして、ハンドル902Aが伸延位置に向かって駆動されると、伸延ゲージ950は、指針と共にフラグ952を滑走通過し、その際、指針は、伸延ヘッド成分906Aおよび906Bの間の、漸増する伸延高Dを示す。一つの実施態様では、伸延ゲージ950は、第1ヘッド成分906Aの下面と、第2ヘッド成分906Bの上面の間(すなわち、導管)の距離量を与えるように構成される。別の実施態様では、伸延ゲージ950は、第1および第2ヘッド成分の厚みを含み、従って、隣接関節面間の全体伸延距離を示すように構成される。 In one embodiment shown in FIG. 51, the
一つの実施態様では、ツール903は、ハンドル902A、902Bを、非伸延位置から離れるように駆動するためのばね機構を含む。例えば、ハンドル902A、902Bに対して外向き偏倚を与えるために、ハンドル902A、902Bの内面に板ばね912が構成されてもよい。別の実施例では、ばねは、スロット918の内壁と、アーム904Aの楔型部分916との間に配され、楔型部分916を、従ってハンドル902Aを、非伸延位置に向けて駆動するようにしてもよい。 In one embodiment, the
それに加えて、またはそれとは別に、ツール903は、ツール903を所望の位置にロックするためのロック機構を含んでもよい。例えば、ロック機構は、ピボット支点916においてハンドル902A、902Bの内の一方に結合されるねじ溝付きロッド914を含んでもよい。その際、ロッド914は、第1および第2ハンドル902A、902Bの内の他方に開いた貫通孔を自由に通過する。ロッド914は、ハンドル904Aの外面に回転ボルト922を含む。該ボルトは、ばね910の力によって引き起こされるハンドル902の動きを制限する。ハンドル902Aが閉鎖に向けて駆動されると、ねじ溝付きロッド914が貫通孔を通過し、軸回転し、ハンドル902Aの弧状移動に従う。伸延ストッパー920は、ねじ溝付きロッド914にそって配置され、そのサイズを変えることが可能であり、そのため、該伸延ストッパー920は、ねじ溝付きロッド914の自由な移動を遮断することが可能であり、従って、ハンドル902のそれ以上の移動を阻止し、伸延高を制限する。一つの実施態様では、伸延ストッパー920は、ねじ溝付きロッド914にそう位置で固定されるが、別の実施態様では、伸延ストッパー920は、ねじ溝付きロッド914にそって調節的に配置され、最大伸延高の調節を可能とする。 In addition or alternatively, the
本発明のインプラントに使用される材料
上に示唆し、下記に詳述するように、ある実施態様では、インプラント、およびインプラントの成分(すなわち、側方体プレート、骨ねじ、ロックねじ等)は、医用級材料、例えば、チタン、ステンレススチール、コバルトクロム、およびそれらの合金、あるいは、同様に高い強度および生体適合性を持つ、好適なインプラント材料から製造されてもよい。さらに、インプラントは、少なくとも部分的に、形状記憶金属、例えば、チタンとニッケルの合金であるニチノールから製造されてもよい。このような金属は、通常、X線不透明であり、X線画像法および他のタイプの画像法で目に見える。本発明によるインプラント、および/または、その部分(特に、天然または人工関節接合部スペーサまたは関節面接合部スペーサ)もまた、やや屈曲性および/または変位性の高い材料から製造することが可能である。これらの実施態様では、インプラントおよび/またはその部分は、全体としてまたは部分的に、医用級生体適合性ポリマー、コポリマー、ポリマー混合物、およびポリマー組成物から製造することが可能である。コポリマーは、1種を超えるモノマーから得られるポリマーである。ポリマー組成物は、二つ以上の物質から成る異種混合物であって、成分同士が混じり合わず、従って、相互の間に界面を形成する混合物である。ポリマー混合物は、異なる2種以上のポリマーから成る、巨視的には均一な混合物である。多くのポリマー、コポリマー、ポリマー混合物、およびポリマー組成物は、X線透明性であり、X線またはその他のタイプの画像法では目に見えない。このような材料を含むインプラントは、医師に対し、完全にX線不透過材料から成るインプラントと比べると、視像化される脊柱について比較的妨げられない目視を可能とする。しかしながら、インプラントは、X線透過材料を含むことを要しない。As suggested onthe materials used in the implants of the present invention and detailed below, in certain embodiments, the implant and the components of the implant (ie, lateral body plate, bone screw, lock screw, etc.) are: It may be manufactured from medical grade materials such as titanium, stainless steel, cobalt chrome, and alloys thereof, or any suitable implant material that also has high strength and biocompatibility. Further, the implant may be made at least in part from a shape memory metal, such as Nitinol, an alloy of titanium and nickel. Such metals are usually X-ray opaque and are visible in X-ray imaging and other types of imaging. Implants according to the invention and / or parts thereof (especially natural or artificial joint joint spacers or joint surface joint spacers) can also be produced from materials that are slightly more flexible and / or displaceable. . In these embodiments, the implant and / or portion thereof can be made in whole or in part from medical grade biocompatible polymers, copolymers, polymer blends, and polymer compositions. A copolymer is a polymer obtained from more than one monomer. A polymer composition is a heterogeneous mixture of two or more substances in which the components do not mix together and thus form an interface between them. A polymer mixture is a macroscopically uniform mixture of two or more different polymers. Many polymers, copolymers, polymer blends, and polymer compositions are X-ray transparent and are not visible on X-ray or other types of imaging. Implants containing such materials allow the physician to have a relatively unobstructed view of the spinal column being visualized compared to implants made entirely of radiopaque material. However, the implant does not need to contain a radiolucent material.
生体適合性ポリマーの1グループは、いくつかのメンバー、例えば、ポリエーテルエーテルケトン(PEEK)、およびポリエーテルケトンケトン(PEKK)を含む、ポリアリールエーテルケトン・グループである。PEEKは、インプラントに好適な耐久性材料であることが判明しており、生体適合性基準に合致する。医用級PEEKは、英国、ランカシャーのVictrex社から製品名PEEK-OPTIMAの下で市販されている。医用級PEKKは、Oxford Performance MaterialsからOXPEKKの名の下で、また、CoorsTekからBioPEKKの名の下で市販されている。これらの医用級材料は、強化ポリマー樹脂として、例えば、比較的高い材料強度を示す強化樹脂としても市販されている。ある実施態様では、インプラントはPEEK 450Gから製造される。これは、Victrexから市販される、医用埋め込みが承認されている、充填剤無添加のPEEKである。この材料の他の供給源としてはインドのPanoliに位置するGhardaが挙げられる。PEEK 450Gは、ほぼ、下記の性質を持つ。すなわち、
性質 値
密度 1.3 g/cc
ロックウェルM 99
ロックウェルR 126
引っ張り強度 97 MPa
弾性係数 3.5 GPa
曲げ強度係数 4.1 GPa
PEEK 450Gは、適切な物理的・力学的性質を持つので、隣接棘突起間の物理的負荷を担持し、分散させるのに好適である。インプラント、および/またはその部分は、押し出し成形、射出成形、圧縮成形、および/または機械加工技術によって形成することが可能である。One group of biocompatible polymers is the polyaryletherketone group, which includes several members, such as polyetheretherketone (PEEK) and polyetherketoneketone (PEKK). PEEK has been found to be a durable material suitable for implants and meets biocompatibility criteria. Medical grade PEEK is commercially available under the product name PEEK-OPTIMA from Victrex, Lancashire, UK. Medical grade PEKK is commercially available from Oxford Performance Materials under the name OXPEKK and from CoorsTek under the name BioPEKK. These medical grade materials are also marketed as reinforced polymer resins, for example, as reinforced resins that exhibit relatively high material strength. In one embodiment, the implant is manufactured from PEEK 450G. This is a non-filled PEEK, approved for medical implantation, available from Victrex. Another source of this material is Gharda, located in Panoli, India. PEEK 450G has the following properties. That is,
Property Value density 1.3 g / cc
Rockwell M 99
Rockwell R 126
Tensile strength 97 MPa
Elastic modulus 3.5 GPa
Flexural strength coefficient 4.1 GPa
PEEK 450G has suitable physical and mechanical properties and is suitable for carrying and distributing physical loads between adjacent spinous processes. The implant, and / or portions thereof, can be formed by extrusion, injection molding, compression molding, and / or machining techniques.
選択された材料には充填剤を添加することも可能であることに注意しなければならない。ポリマー材料を補強するために、充填剤を、ポリマー、コポリマー、ポリマー混合物、またはポリマー組成物に添加することが可能である。充填剤は、力学的、光学的、および熱的性質のような性質を修飾するために添加される。例えば、カーボン線維は、ある用途、例えば、負荷担持装置用として強度を機械的に強化するためポリマー補強用として添加される。ある実施態様では、他の等級のPEEKも利用が可能であり、本発明によるインプラントへの使用が考えられる。例えば、30%ガラス充填、または30%カーボン線維充填等級PEEKも、それらの材料の体内埋め込み装置用使用が、FDA、またはその他の統制機関によって承認される限り、考慮の対象になる。ガラス充填PEEKは、充填されないPEEKに比べて、膨張率を下げ、PEEKの曲げ強度係数を上げる。その結果得られる製品は、強度、剛性、または安定性の強化にとって理想的であることが知られる。カーボン充填PEEKも、磨耗耐性および負荷担持能を提供する。 It should be noted that fillers can be added to the selected material. Fillers can be added to the polymer, copolymer, polymer blend, or polymer composition to reinforce the polymer material. Fillers are added to modify properties such as mechanical, optical, and thermal properties. For example, carbon fibers are added as a polymer reinforcement to mechanically enhance strength for certain applications, such as for load carrying devices. In certain embodiments, other grades of PEEK can be utilized and are contemplated for use in implants according to the present invention. For example, 30% glass filling or 30% carbon fiber filling grade PEEK is also considered as long as the use of the material for an implantable device is approved by the FDA or other regulatory body. Glass-filled PEEK lowers the coefficient of expansion and raises the bending strength coefficient of PEEK compared to unfilled PEEK. The resulting product is known to be ideal for enhanced strength, stiffness, or stability. Carbon filled PEEK also provides wear resistance and load carrying capacity.
了解されるように、他の、同様に好適な生体適合性の、熱可塑性、または熱可塑性ポリ縮合材料で、疲労に耐え、優れた記憶を持ち、屈曲性を持ち、および/または変位可能であり、水分吸収度が極めて低く、磨耗および/または研磨耐性に優れる材料も、本発明の範囲から逸脱することなく使用が可能である。前述したように、インプラントは、ポリエーテルケトンケトン(PEKK)から構成されてもよい。他の、使用が可能な材料としては、ポリエーテルケトン(PEK)、ポリエーテルケトンエーテルケトンケトン(PEKEKK)、ポリエーテルエーテルケトンケトン(PEEKK)、およびポリアリールエーテルケトン全般が挙げられる。さらに、他のポリケトンも、他の可塑プラスチック同様に使用が可能である。インプラントに使用が可能な適切なポリマーに関する参照が、下記の文書に対して行われる。これらの全てを、参照することにより本明細書に含める。そのような文書としては、2002年1月10日発行、名称「生体適合性ポリマー材料」なるPCT公報WO 02/02158 A1、2002年1月3日発行、名称「生体適合性ポリマー材料」なるPCT公報WO 02/00275 A1、および、2002年1月3日発行、名称「生体適合性ポリマー材料」なるPCT公報WO 02/00270 A1が挙げられる。他の材料、例えば、カリフォルニア州、バークレーのPolymer Technology Groupによって市販されるBionate7、ポリカーボネートウレタンも、酸化安定性、生体適合性、機械的強度、および磨耗耐性が優れるので好適である可能性がある。 As will be appreciated, other similarly suitable biocompatible, thermoplastic, or thermoplastic polycondensation materials that withstand fatigue, have excellent memory, bendable, and / or displaceable. In addition, materials with extremely low moisture absorption and excellent wear and / or abrasion resistance can be used without departing from the scope of the present invention. As described above, the implant may be composed of polyether ketone ketone (PEKK). Other materials that can be used include polyetherketone (PEK), polyetherketone etherketoneketone (PEKEKK), polyetheretherketoneketone (PEEKK), and polyaryletherketone in general. Furthermore, other polyketones can be used as well as other plastic plastics. References to suitable documents that can be used for implants are made to the following documents: All of which are hereby incorporated by reference. Such documents include PCT publication WO 02/02158 A1, published on January 10, 2002, named “Biocompatible Polymer Materials”, published on January 3, 2002, named “Biocompatible Polymer Materials”. The publication WO 02/00275 A1 and the PCT publication WO 02/00270 A1 issued on Jan. 3, 2002 and having the name “biocompatible polymer material” may be mentioned. Other materials, such as
本発明の前記記述は、例示と説明のために提示されたものである。それは、網羅的であることを意図するものではなく、あるいは、本発明を、開示された厳密な形態に限定することを意図するものでもない。多くの改定版および変異形が当業者には明らかであろう。実施態様は、本発明の原理とその実際の応用を説明し、それによって、当業者にも、様々な実施態様、および、考えられる特定の用途に好適な様々な修飾を通じて本発明の理解を可能とするように選択され、記載されたものである。本発明の範囲は、頭書の特許請求項およびその等価物によって定義されることが意図される。 The foregoing description of the present invention has been presented for purposes of illustration and description. It is not intended to be exhaustive or to limit the invention to the precise form disclosed. Many revisions and variants will be apparent to those skilled in the art. The embodiments illustrate the principles of the invention and its practical application, so that those skilled in the art can understand the invention through various embodiments and various modifications suitable for the particular application envisaged. Is selected and described. It is intended that the scope of the invention be defined by the appended claims and their equivalents.
本発明の他の実施形態は以下のとおりである。
(1)
関節接合部の可動性を維持しながら、脊椎狭窄症およびその他の脊椎病態に対処する関節接合部インプラントであって、
固定プレート;
関節接合部スペーサ;および
固定プレートを関節接合部スペーサに接続する連結接合体
を含む前記インプラント。
(2)
前記連結接合体が、ヒンジ、ボール・ソケット接合体、および湾曲性材料の内の一つであることを特徴とする、(1)のインプラント。
(3)
連結接合体が、
固定プレートを有する腔;および、
関節接合部スペーサから延び、固定プレートの腔の中に配置される球形末端
を含むことを特徴とする、(1)のインプラント。
(4)
ロックねじ;
骨ねじ;
をさらに含み、前記固定プレートは第1開口および第2開口をさらに含み、骨ねじは第1開口内部に受容が可能であり、かつ、ロックねじは第2開口内部に受容が可能であることを特徴とする、(1)のインプラント。
(5)
ロックねじは、骨ねじが、後方変位および回転変位の内の少なくとも一つが出来ないように阻止するヘッドを有することを特徴とする、(4)のインプラント。Other embodiments of the present invention are as follows.
(1)
An articulation implant that addresses spinal stenosis and other spinal conditions while maintaining articulation mobility,
Fixing plate;
An implant comprising: an articulation spacer; and a connecting joint for connecting a fixation plate to the articulation spacer.
(2)
The implant according to (1), wherein the connecting joint is one of a hinge, a ball and socket joint, and a bendable material.
(3)
The connected assembly is
A cavity having a fixation plate; and
The implant of (1), comprising a spherical end extending from the articulation spacer and disposed in the cavity of the fixation plate.
(4)
Lock screw;
Bone screw;
Wherein the fixation plate further includes a first opening and a second opening, the bone screw is receivable within the first opening, and the locking screw is receivable within the second opening. The implant according to (1), characterized.
(5)
The implant according to (4), wherein the lock screw has a head that prevents the bone screw from causing at least one of posterior displacement and rotational displacement.
(6)
ロックねじは、鑿状尖端をさらに含み、鑿状尖端は自身で切削してロックねじを椎骨へ進入させることを特徴とする、(4)のインプラント。
(7)
前記連結接合体は、前記関節接合部スペーサが、固定プレートに対して自在に動き、傾斜することを可能とすることを特徴とする、(1)のインプラント。
(8)
前記関節接合部スペーサが、関節接合部を収容する形状を持ち、かつ、関節接合部の上面と下面の間に適合することを特徴とする、(1)のインプラント。
(9)
固定プレートが側方体に固定されるように適応することを特徴とする、(1)のインプラント。
(10)
関節接合部スペーサは、脊椎関節接合部を伸延し、かつ、脊椎関節接合部の可動性を可能とするように適応されることを特徴とする、(1)のインプラント。
(11)
前記関節接合部スペーサが、関節接合部に嵌合するように適応される凸型表面を有することを特徴とする、(1)のインプラント。
(12)
前記関節接合部スペーサが、前端が関節接合部にこじ入れられるのを可能とするように適応した楔型前端を含み、関節接合部スペーサが、関節接合部の可動性を排除することなく、関節接合部を伸延し、椎間孔面積を増大させることを特徴とする、(1)のインプラント。(6)
The implant according to (4), wherein the lock screw further includes a scissor tip, and the scissor tip is cut by itself to allow the lock screw to enter the vertebra.
(7)
The joint according to (1), wherein the joint joint allows the joint joint spacer to freely move and tilt with respect to the fixed plate.
(8)
The implant according to (1), wherein the joint joint spacer has a shape for accommodating the joint joint, and fits between an upper surface and a lower surface of the joint joint portion.
(9)
The implant according to (1), wherein the fixation plate is adapted to be fixed to the lateral body.
(10)
The implant of (1), characterized in that the articulation spacer is adapted to extend the spinal joint and to allow mobility of the spinal joint.
(11)
Implant according to (1), characterized in that the joint joint spacer has a convex surface adapted to fit into the joint joint.
(12)
The articulation spacer includes a wedge-shaped front end adapted to allow the front end to be squeezed into the articulation, and the articulation spacer is a joint without eliminating the mobility of the articulation The implant according to (1), wherein the joint is distracted to increase the intervertebral foramen area.
(13)
脊椎狭窄症および脊椎のその他の病態を矯正するように適応される関節接合部インプラントであって、
第1レベルの2個の隣接脊椎骨によって形成される第1関節接合部内に配置するように適応される第1関節接合部スペーサ;
第1レベルの2個の隣接脊椎骨によって形成される第2関節接合部内に配置するように適応される第2関節接合部スペーサ;および、
第1関節接合部スペーサを第2関節接合部スペーサにつなぐカラー
を含む前記インプラント。
(14)
カラーは、第1ヒンジによって第1関節接合部スペーサに屈曲性に接続され、かつ、カラーは、第2ヒンジによって第2関節接合部スペーサに屈曲性に接続されることを特徴とする、(13)による関節接合部インプラント。
(15)
前記カラーは可撓的に前記第1関節接合部スペーサに接続され、かつ、カラーは屈曲性に第2関節接合部スペーサに接続されることを特徴とする、(13)による関節接合部インプラント。
(16)
カラーが、第1関節接合部スペーサに隣接して配置される第1開口、および、第2関節接合部スペーサに隣接して配置される第2開口をさらに含み、第1開口は、第1骨ねじを受容することが可能であり、かつ、第2開口は、第2骨ねじを受容することが可能であり、いずれのねじもインプラントを椎骨に固定するように適応されることを特徴とする、(13)による関節接合部インプラント。
(17)
カラーは、患者の頸椎の解剖学的形状に一致するように曲げることが可能であることを特徴とする、(13)による関節接合部インプラント。
(18)
第1骨ねじの変位を阻止するように配置される第1ロック装置、および、第2骨ねじの変位を阻止するように配置される第2ロック装置を含むことを特徴とする、(16)による関節接合部インプラント。(13)
An articulating implant adapted to correct spinal stenosis and other conditions of the spine,
A first articulation spacer adapted to be positioned within a first articulation formed by two adjacent vertebrae of a first level;
A second articulation spacer adapted to be positioned within a second articulation formed by two adjacent vertebrae of the first level; and
The implant comprising: a collar connecting the first joint joint spacer to the second joint joint spacer.
(14)
The collar is flexibly connected to the first articulation spacer by the first hinge, and the collar is flexibly connected to the second articulation spacer by the second hinge. ) Joint joint implant.
(15)
The joint implant according to (13), wherein the collar is flexibly connected to the first articulation spacer and the collar is flexibly connected to the second articulation spacer.
(16)
The collar further includes a first opening disposed adjacent to the first joint joint spacer and a second opening disposed adjacent to the second joint joint spacer, wherein the first opening is the first bone A screw can be received and the second opening is capable of receiving a second bone screw, both screws being adapted to secure the implant to the vertebra The joint implant according to (13).
(17)
The joint implant according to (13), characterized in that the collar can be bent to conform to the anatomical shape of the patient's cervical spine.
(18)
(16) comprising a first locking device arranged to prevent displacement of the first bone screw and a second locking device arranged to prevent displacement of the second bone screw By joint implant.
(19)
第1関節接合部スペーサの面、および第2関節接合部スペーサの面は、頸椎関節面の形状に近似するように凸型であることを特徴とする、(13)による関節接合部インプラント。
(20)
第1関節接合部スペーサの第1遠位端、および第2関節接合部スペーサの第2遠位端が、頸椎間接接合部への挿入をやり易くするためにテーパー型とされることを特徴とする、(13)による関節接合部インプラント。
(21)
インプラントは、骨の切除無しに埋め込まれるように適応されることを特徴とする、(1)による関節接合部インプラント。
(22)
骨ねじ;
ロックねじ;
骨ねじおよびロックねじを受容する固定プレートを含み、
ロックねじは、自身で切削して椎骨内に進入し、かつ、骨ねじを封止するように適応し、ロックねじと骨ねじは、固定プレートを椎骨に固定するように適応する、
ことを特徴とする、(1)の関節接合部インプラント。
(23)
ロックねじは、骨ねじが、後方変位および回転変位の内の少なくとも一つが出来ないように阻止するヘッドを有することを特徴とする、(22)のインプラント。
(24)
ロックねじは、鑿状尖端をさらに含み、鑿状尖端は自身で切削してロックねじを椎骨へ進入させることを特徴とする、(22)のインプラント。(19)
The joint joint implant according to (13), wherein the surface of the first joint joint spacer and the surface of the second joint joint spacer are convex so as to approximate the shape of the cervical spine joint surface.
(20)
The first distal end of the first joint joint spacer and the second distal end of the second joint joint spacer are tapered to facilitate insertion into the cervical indirect joint. The joint implant according to (13).
(21)
The joint implant according to (1), characterized in that the implant is adapted to be implanted without bone resection.
(22)
Bone screw;
Lock screw;
Including a fixation plate for receiving a bone screw and a locking screw;
The lock screw is adapted to cut itself into the vertebra and seal the bone screw, and the lock screw and bone screw are adapted to fix the fixation plate to the vertebra,
The joint joint implant according to (1), characterized in that:
(23)
The implant of (22), wherein the lock screw has a head that prevents the bone screw from performing at least one of posterior displacement and rotational displacement.
(24)
The implant of (22), wherein the lock screw further includes a hook-shaped tip, the hook-shaped tip is cut by itself to allow the lock screw to enter the vertebra.
(25)
固定プレートに対して伸展位置と折り曲げ位置の間で軸回転可能で、関節接合部に挿入されるよう適応される関節接合部スペーサを含み、関節接合部スペーサは、該関節接合部スペーサが伸展位置を超えて軸回転しないように構成されることを特徴とする、(1)の関節接合部インプラント。
(26)
関節接合部スペーサは、該関節接合部スペーサの伸展位置を超えた動きを阻止するための後方突起を含むことを特徴とする、(25)のインプラント。
(27)
関節接合部スペーサは、凸型頂上面および底面を含み、頂上面がある角度をもって底面に向かって薄くなって前端を形成することを特徴とする、(1)のインプラント。
(28)
固定プレートが、埋め込みツールの、後退可能部材を受容するように適応される嵌合口を含むことを特徴とする、(1)の関節接合部インプラント。
(29)
固定プレートが、埋め込みツールの受容スロットに対応的に合致するように適応される突起を有する側面をさらに含むことを特徴とする、(1)のインプラント。
(30)
固定プレートが、向き合う側面にそって一対の翼状突起をさらに含み、該突起は、埋め込みツールの対応スロットに合致するように適応することを特徴とする、(1)のインプラント。
(31)
関節接合部に埋め込むための関節接合部インプラントを選択するために、関節接合部の採寸をするためのツールと組み合わされる関節接合部インプラントであって、前記ツールが
ハンドル;面取りした遠位端と近位端を持ち、近位端においてハンドルと接続する関節間スペース採寸器、および、関節間スペース採寸器の近位端においてストッパーを含み、ストッパーは、採寸の際に、関節間スペース採寸器の過剰な挿入を阻止するように適応されることを特徴とする、(1)の関節接合部インプラント。
(32)
関節間スペース採寸器の遠位端は、採寸される頸椎関節接合部への挿入をやり易くするために、その厚みが漸減されることを特徴とする、(31)によるツール。(25)
Including an articulation spacer that is axially rotatable between an extended position and a bent position relative to the fixed plate and adapted to be inserted into the articulation joint, wherein the articulation spacer is in an extended position The joint-joint implant according to (1), wherein the joint-joint implant is configured not to rotate beyond the axis.
(26)
The implant according to (25), wherein the joint joint spacer includes a posterior protrusion for preventing movement of the joint joint spacer beyond the extended position.
(27)
The implant according to (1), wherein the joint joint spacer includes a convex top surface and a bottom surface, and the top surface is thinned toward the bottom surface at a certain angle to form the front end.
(28)
The joint implant of (1), characterized in that the fixation plate includes a fitting port adapted to receive the retractable member of the implantation tool.
(29)
The implant of (1), wherein the fixation plate further includes a side surface having a projection adapted to correspondingly match the receiving slot of the implantation tool.
(30)
The implant of (1), wherein the fixation plate further includes a pair of wing-like projections along opposite sides, the projections adapted to mate with corresponding slots of the implantation tool.
(31)
An articulation implant combined with a tool for measuring an articulation joint to select an articulation implant for implantation in the articulation joint, said tool comprising a handle; An inter-joint space sizing instrument having a distal end and connected to the handle at the proximal end, and a stopper at the proximal end of the inter-joint space sizing instrument. The joint implant according to (1), characterized in that it is adapted to prevent insertion.
(32)
The tool according to (31), characterized in that the distal end of the inter-joint space sizing device is gradually reduced in thickness in order to facilitate insertion into the cervical joint joint being measured.
(33)
連結接合体が、関節接合部スペーサよりも狭いことを特徴とする、(31)の関節接合部インプラント。
(34)
関節接合部スペーサおよび屈曲性接続部は組み合わさってP-型に形成されることを特徴とする、(1)のインプラント。
(35)
インプラントの挿入のために脊椎の隣接関節面を伸延する伸延ツールと組み合わされる関節接合部インプラントであって、前記ツールが
a.閉鎖位置において互いに共同平面を形成する、第1ヘッド成分と第2ヘッド成分を有する伸延ヘッド;および、
b.伸延ヘッドに結合する活性化可能なハンドルを含み、ハンドルが操作されて第1および第2ヘッド成分を活性化して開放位置に移動させると、第1ヘッド成分と第2ヘッド成分とは共同平面を形成しなくなることを特徴とする、(1)の関節接合部インプラント。
(36)
第1ヘッド成分は第1組のフィンガーを含み、かつ、第2ヘッド成分は第2組のフィンガーを含み、第1および第2組のフィンガーが、互い違いに組み合わさる形状を持つことを特徴とする、(35)のツール。
(37)
インプラントを挿入する埋め込みツールと組み合わされる関節接合部インプラントであって、前記ツールが
a.スイッチを有するハンドル;および、
b.ハンドルから延びて、インプラントを受容するように適応される嵌合ヘッドを含み、嵌合ヘッドは、インプラントの対応する側壁を受容するように適応される一対の側壁を有するフォーク状末端を含み、活性化スイッチに結合されて、スイッチが活性化されると、受容したインプラントが離脱されるように構成されることを特徴とする、(1)の関節接合部インプラント。(33)
The joint joint implant according to (31), wherein the joint joint body is narrower than the joint joint spacer.
(34)
The implant according to (1), wherein the joint joint spacer and the flexible connection portion are combined to form a P-type.
(35)
An articulation implant combined with a distraction tool for distracting adjacent articular surfaces of the spine for insertion of the implant, the tool comprising:
a distraction head having a first head component and a second head component forming a coplanar surface with each other in the closed position; and
b. includes an activatable handle that couples to the distraction head, and when the handle is manipulated to activate and move the first and second head components to the open position, the first head component and the second head component cooperate The joint implant according to (1), characterized in that it does not form a plane.
(36)
The first head component includes a first set of fingers, and the second head component includes a second set of fingers, wherein the first and second sets of fingers have a shape that is alternately combined. (35) Tool.
(37)
An articulation implant combined with an implant tool for inserting an implant, wherein the tool
a handle with a switch; and
b. includes a mating head extending from the handle and adapted to receive an implant, the mating head including a forked end having a pair of side walls adapted to receive corresponding side walls of the implant The articulating implant according to (1), characterized in that it is coupled to an activation switch and is configured such that when the switch is activated, the received implant is disengaged.
(38)
嵌合ヘッドは、側壁の間に配置され、かつ、スイッチが活性化されると、延長位置と後退位置との間で移動することが可能な嵌合部材をさらに含み、該嵌合部材は、延長位置にある場合、インプラントの嵌合口の中に挿入されるよう適応することを特徴とする、(37)のツール。
(39)
嵌合ヘッドの側壁の内の少なくとも一つは、インプラントの側壁から突出する突起を受容するよう適応されるスロットを含むことを特徴とする、(37)のツール。
(40)
固定プレートの中に配され、固定プレートを椎骨に固定するように適応される骨ねじ;
骨ねじを固定プレートの所定の場所に保持するロックねじを含み、
前記ロックねじが、骨ねじを固定プレートにロックする第1位置、および、骨ねじの固定プレートからの除去を可能とする第2位置を有することを特徴とする、(1)の関節接合部インプラント。
(41)
前記ロックねじが非対称ヘッドを有することを特徴とする、(40)のインプラント。
(42)
前記ヘッドが、骨ねじの固定プレートからの除去を可能とする切り込みを含むことを特徴とする、(41)のインプラント。
(43)
前記ロックねじが、凹型部分と凸型部分を有するヘッドを含むことを特徴とする、(40)のインプラント。
(44)
骨ねじが固定プレートの陥凹に受容され、ロックねじが固定プレートの陥凹に受容されることを特徴とする、(40)のインプラント。(38)
The mating head further includes a mating member disposed between the side walls and movable between an extended position and a retracted position when the switch is activated, the mating member comprising: The tool of (37), wherein the tool is adapted to be inserted into a fitting opening of an implant when in the extended position.
(39)
The tool of (37), wherein at least one of the side walls of the mating head includes a slot adapted to receive a protrusion protruding from the side wall of the implant.
(40)
A bone screw disposed in the fixation plate and adapted to fix the fixation plate to the vertebrae;
Including a locking screw that holds the bone screw in place on the fixation plate;
The joint implant according to (1), wherein the lock screw has a first position for locking the bone screw to the fixation plate and a second position for allowing removal of the bone screw from the fixation plate. .
(41)
The implant of (40), wherein the locking screw has an asymmetric head.
(42)
The implant of (41), wherein the head includes an incision that allows removal of the bone screw from the fixation plate.
(43)
(40) The implant of (40), wherein the lock screw includes a head having a concave portion and a convex portion.
(44)
The implant of (40), wherein the bone screw is received in a recess in the fixation plate and the lock screw is received in a recess in the fixation plate.
(45)
関節接合部スペーサを関節接合部に保持するように適応された、関節接合部スペーサから延びる、少なくとも1個の突起を含むことを特徴とする、(1)の関節接合部インプラント。
(46)
前記関節接合部スペーサは、上面および下面を持ち;
上面は、関節接合部の下関節面に隣接して配置されるように適応され;
下面は、関節接合部の上関節面に隣接して配置されるように適応され;および
少なくとも1個の突起は下面から延びて、上関節面に嵌合するように適応されることを特徴とする、(45)のインプラント。
(47)
複数の突起が下面から延びることを特徴とする、(45)のインプラント。
(48)
少なくとも1個の突起は、関節接合部スペーサが関節接合部に挿入される方向から遠ざかるように指向することを特徴とする、(45)のインプラント。
(49)
下層シムおよび上層シムを含み、前記下層シムは、上層シムよりも剛性が高く、柔軟性が低いことを特徴とする、(1)の関節接合部インプラント。
(50)
前記上層シムは、前記下層シムの上に成形されることを特徴とする、(49)のインプラント。
(51)
前記下層シムは金属から成り、前記上層シムはポリマーから成ることを特徴とする、(49)のインプラント。
(52)
前記下層シムは、チタンおよびステンレススチールの内の一つから成り、上層シムはポリアリールエーテルケトンから成ることを特徴とする、(49)のインプラント。(45)
The joint implant of (1), comprising at least one protrusion extending from the joint spacer adapted to hold the joint spacer in the joint.
(46)
The articulation spacer has an upper surface and a lower surface;
The upper surface is adapted to be positioned adjacent to the lower articular surface of the articulation joint;
The lower surface is adapted to be positioned adjacent to the upper joint surface of the articulation joint; and at least one protrusion extends from the lower surface and is adapted to fit into the upper joint surface The implant of (45).
(47)
The implant of (45), wherein the plurality of protrusions extend from the lower surface.
(48)
The implant of (45), wherein the at least one protrusion is directed away from a direction in which the joint joint spacer is inserted into the joint joint.
(49)
The joint joint implant according to (1), including a lower layer shim and an upper layer shim, wherein the lower layer shim has higher rigidity and lower flexibility than the upper layer shim.
(50)
The implant according to (49), wherein the upper layer shim is formed on the lower layer shim.
(51)
The implant of (49), wherein the lower shim is made of metal and the upper shim is made of a polymer.
(52)
The implant according to (49), wherein the lower shim is made of one of titanium and stainless steel, and the upper shim is made of polyaryletherketone.
(53)
前記下層シムは、上層シムとは異なる材料から成ることを特徴とする、(49)の関節接合部インプラント。
(54)
前記切り込みは三日月形であることを特徴とする、(42)のインプラント。(53)
The joint implant according to (49), wherein the lower shim is made of a material different from that of the upper shim.
(54)
The implant of (42), wherein the incision is crescent shaped.
| Application Number | Priority Date | Filing Date | Title |
|---|---|---|---|
| US63545304P | 2004-12-13 | 2004-12-13 | |
| US11/053,624US7601170B2 (en) | 2004-12-13 | 2005-02-08 | Inter-cervical facet implant and method |
| US11/053,399US7591851B2 (en) | 2004-12-13 | 2005-02-08 | Inter-cervical facet implant and method |
| US11/053,735US7776090B2 (en) | 2004-12-13 | 2005-02-08 | Inter-cervical facet implant and method |
| US11/053,346US20060149289A1 (en) | 2004-12-13 | 2005-02-08 | Inter-cervical facet implant and method |
| US11/093,689US8100944B2 (en) | 2004-12-13 | 2005-03-30 | Inter-cervical facet implant and method for preserving the tissues surrounding the facet joint |
| US11/093,557US7763050B2 (en) | 2004-12-13 | 2005-03-30 | Inter-cervical facet implant with locking screw and method |
| US66805305P | 2005-04-04 | 2005-04-04 | |
| US67936305P | 2005-05-10 | 2005-05-10 | |
| US67936105P | 2005-05-10 | 2005-05-10 | |
| US67937705P | 2005-05-10 | 2005-05-10 | |
| US68776505P | 2005-06-06 | 2005-06-06 | |
| US71736905P | 2005-09-15 | 2005-09-15 | |
| PCT/US2005/044979WO2006065774A1 (en) | 2004-12-13 | 2005-12-13 | Inter-facet implant |
| Publication Number | Publication Date |
|---|---|
| JP2008522787Atrue JP2008522787A (en) | 2008-07-03 |
| Application Number | Title | Priority Date | Filing Date |
|---|---|---|---|
| JP2007546816APendingJP2008522787A (en) | 2004-12-13 | 2005-12-13 | Intervertebral implant |
| Country | Link |
|---|---|
| EP (1) | EP1824427A4 (en) |
| JP (1) | JP2008522787A (en) |
| KR (1) | KR20070108151A (en) |
| AU (1) | AU2005316646B2 (en) |
| CA (1) | CA2590049A1 (en) |
| IL (1) | IL182915A0 (en) |
| MX (1) | MX2007006808A (en) |
| WO (1) | WO2006065774A1 (en) |
| Publication number | Priority date | Publication date | Assignee | Title |
|---|---|---|---|---|
| JP2009519063A (en)* | 2005-12-13 | 2009-05-14 | デル・ゲゼルシャフト・ミット・ベシュレンクテル・ハフツング | Face joint prosthesis |
| JP2013500070A (en)* | 2009-07-24 | 2013-01-07 | ザイガ テクノロジー インコーポレイテッド | System and method for facet joint treatment |
| JP2014519881A (en)* | 2011-05-10 | 2014-08-21 | シンセス・ゲーエムベーハー | Intervertebral joint interference cage |
| JP2018502693A (en)* | 2015-01-27 | 2018-02-01 | スパイナル・エレメンツ・インコーポレーテッド | Facet joint implant |
| JP2018523519A (en)* | 2015-07-27 | 2018-08-23 | ヒップ イノベーション テクノロジー、エルエルシー | Tool and method for separating a femoral cup from an acetabular ball of an implanted hip prosthesis |
| US10278742B2 (en) | 2012-11-12 | 2019-05-07 | DePuy Synthes Products, Inc. | Interbody interference implant and instrumentation |
| JP2020089773A (en)* | 2014-05-27 | 2020-06-11 | プロビデンス メディカル テクノロジー インコーポレイテッド | Lateral mass fixation implant |
| USD926982S1 (en) | 2011-10-26 | 2021-08-03 | Spinal Elements, Inc. | Interbody bone implant |
| US11141144B2 (en) | 2008-06-06 | 2021-10-12 | Providence Medical Technology, Inc. | Facet joint implants and delivery tools |
| US11224521B2 (en) | 2008-06-06 | 2022-01-18 | Providence Medical Technology, Inc. | Cervical distraction/implant delivery device |
| USD945621S1 (en) | 2020-02-27 | 2022-03-08 | Providence Medical Technology, Inc. | Spinal cage |
| US11272964B2 (en) | 2008-06-06 | 2022-03-15 | Providence Medical Technology, Inc. | Vertebral joint implants and delivery tools |
| US11272961B2 (en) | 2013-03-14 | 2022-03-15 | Spinal Elements, Inc. | Apparatus for bone stabilization and distraction and methods of use |
| US11285010B2 (en) | 2006-12-29 | 2022-03-29 | Providence Medical Technology, Inc. | Cervical distraction method |
| US11304733B2 (en) | 2020-02-14 | 2022-04-19 | Spinal Elements, Inc. | Bone tie methods |
| US11364057B2 (en) | 2009-03-27 | 2022-06-21 | Spinal Elements, Inc. | Flanged interbody fusion device |
| US11382769B2 (en) | 2018-09-20 | 2022-07-12 | Spinal Elements, Inc. | Spinal implant device |
| US11457959B2 (en) | 2019-05-22 | 2022-10-04 | Spinal Elements, Inc. | Bone tie and bone tie inserter |
| US11464552B2 (en) | 2019-05-22 | 2022-10-11 | Spinal Elements, Inc. | Bone tie and bone tie inserter |
| US11464551B2 (en) | 2011-02-24 | 2022-10-11 | Spinal Elements, Inc. | Methods and apparatus for stabilizing bone |
| US11478275B2 (en) | 2014-09-17 | 2022-10-25 | Spinal Elements, Inc. | Flexible fastening band connector |
| US11517354B2 (en) | 2013-09-27 | 2022-12-06 | Spinal Elements, Inc. | Method of placing an implant between bone portions |
| US11559408B2 (en) | 2008-01-09 | 2023-01-24 | Providence Medical Technology, Inc. | Methods and apparatus for accessing and treating the facet joint |
| US11648128B2 (en) | 2018-01-04 | 2023-05-16 | Providence Medical Technology, Inc. | Facet screw and delivery device |
| US11871968B2 (en) | 2017-05-19 | 2024-01-16 | Providence Medical Technology, Inc. | Spinal fixation access and delivery system |
| US11911284B2 (en) | 2020-11-19 | 2024-02-27 | Spinal Elements, Inc. | Curved expandable interbody devices and deployment tools |
| US11918258B2 (en) | 2013-09-27 | 2024-03-05 | Spinal Elements, Inc. | Device and method for reinforcement of a facet |
| US12144513B2 (en) | 2018-09-21 | 2024-11-19 | Providence Medical Technology, Inc. | Vertebral joint access and decortication devices and methods of using |
| US12279969B2 (en) | 2020-12-17 | 2025-04-22 | Spinal Elements, Inc. | Spinal implant device |
| US12369952B2 (en) | 2021-12-10 | 2025-07-29 | Spinal Elements, Inc. | Bone tie and portal |
| USD1098433S1 (en) | 2023-12-28 | 2025-10-14 | Providence Medical Technology, Inc. | Spinal cage |
| Publication number | Priority date | Publication date | Assignee | Title |
|---|---|---|---|---|
| US8617242B2 (en) | 2001-05-25 | 2013-12-31 | Conformis, Inc. | Implant device and method for manufacture |
| US8480754B2 (en) | 2001-05-25 | 2013-07-09 | Conformis, Inc. | Patient-adapted and improved articular implants, designs and related guide tools |
| US9603711B2 (en) | 2001-05-25 | 2017-03-28 | Conformis, Inc. | Patient-adapted and improved articular implants, designs and related guide tools |
| US20030055502A1 (en) | 2001-05-25 | 2003-03-20 | Philipp Lang | Methods and compositions for articular resurfacing |
| US8545569B2 (en) | 2001-05-25 | 2013-10-01 | Conformis, Inc. | Patient selectable knee arthroplasty devices |
| US8882847B2 (en) | 2001-05-25 | 2014-11-11 | Conformis, Inc. | Patient selectable knee joint arthroplasty devices |
| US8556983B2 (en) | 2001-05-25 | 2013-10-15 | Conformis, Inc. | Patient-adapted and improved orthopedic implants, designs and related tools |
| WO2000035346A2 (en) | 1998-09-14 | 2000-06-22 | Stanford University | Assessing the condition of a joint and preventing damage |
| US7239908B1 (en) | 1998-09-14 | 2007-07-03 | The Board Of Trustees Of The Leland Stanford Junior University | Assessing the condition of a joint and devising treatment |
| DE60136474D1 (en) | 2000-09-14 | 2008-12-18 | Univ R | ASSESSMENT OF THE CONDITION OF A JOINT AND LOSS OF CARTEL TISSUE |
| JP2006505366A (en) | 2002-11-07 | 2006-02-16 | コンフォーミス・インコーポレイテッド | Method of determining meniscus size and shape and devised treatment |
| US8491634B2 (en)* | 2004-08-13 | 2013-07-23 | Ricardo C. Sasso | Replacement facet joint and method |
| US8012207B2 (en) | 2004-10-20 | 2011-09-06 | Vertiflex, Inc. | Systems and methods for posterior dynamic stabilization of the spine |
| US8273108B2 (en) | 2004-10-20 | 2012-09-25 | Vertiflex, Inc. | Interspinous spacer |
| US8409282B2 (en) | 2004-10-20 | 2013-04-02 | Vertiflex, Inc. | Systems and methods for posterior dynamic stabilization of the spine |
| US8425559B2 (en) | 2004-10-20 | 2013-04-23 | Vertiflex, Inc. | Systems and methods for posterior dynamic stabilization of the spine |
| US8613747B2 (en) | 2004-10-20 | 2013-12-24 | Vertiflex, Inc. | Spacer insertion instrument |
| US8317864B2 (en) | 2004-10-20 | 2012-11-27 | The Board Of Trustees Of The Leland Stanford Junior University | Systems and methods for posterior dynamic stabilization of the spine |
| US8945183B2 (en) | 2004-10-20 | 2015-02-03 | Vertiflex, Inc. | Interspinous process spacer instrument system with deployment indicator |
| US8267969B2 (en) | 2004-10-20 | 2012-09-18 | Exactech, Inc. | Screw systems and methods for use in stabilization of bone structures |
| US8123782B2 (en) | 2004-10-20 | 2012-02-28 | Vertiflex, Inc. | Interspinous spacer |
| US8226690B2 (en) | 2005-07-22 | 2012-07-24 | The Board Of Trustees Of The Leland Stanford Junior University | Systems and methods for stabilization of bone structures |
| US8277488B2 (en) | 2004-10-20 | 2012-10-02 | Vertiflex, Inc. | Interspinous spacer |
| US9119680B2 (en) | 2004-10-20 | 2015-09-01 | Vertiflex, Inc. | Interspinous spacer |
| US8128662B2 (en) | 2004-10-20 | 2012-03-06 | Vertiflex, Inc. | Minimally invasive tooling for delivery of interspinous spacer |
| US7763074B2 (en) | 2004-10-20 | 2010-07-27 | The Board Of Trustees Of The Leland Stanford Junior University | Systems and methods for posterior dynamic stabilization of the spine |
| US8123807B2 (en) | 2004-10-20 | 2012-02-28 | Vertiflex, Inc. | Systems and methods for posterior dynamic stabilization of the spine |
| US9023084B2 (en) | 2004-10-20 | 2015-05-05 | The Board Of Trustees Of The Leland Stanford Junior University | Systems and methods for stabilizing the motion or adjusting the position of the spine |
| US9161783B2 (en) | 2004-10-20 | 2015-10-20 | Vertiflex, Inc. | Interspinous spacer |
| US8167944B2 (en) | 2004-10-20 | 2012-05-01 | The Board Of Trustees Of The Leland Stanford Junior University | Systems and methods for posterior dynamic stabilization of the spine |
| US8152837B2 (en) | 2004-10-20 | 2012-04-10 | The Board Of Trustees Of The Leland Stanford Junior University | Systems and methods for posterior dynamic stabilization of the spine |
| EP2219538B1 (en) | 2004-12-06 | 2022-07-06 | Vertiflex, Inc. | Spacer insertion instrument |
| US8696707B2 (en) | 2005-03-08 | 2014-04-15 | Zyga Technology, Inc. | Facet joint stabilization |
| US8523865B2 (en) | 2005-07-22 | 2013-09-03 | Exactech, Inc. | Tissue splitter |
| PL377136A1 (en) | 2005-09-19 | 2007-04-02 | Lfc Spółka Z Ograniczoną Odpowiedzialnością | Intervertebral space implant |
| WO2007062079A2 (en)* | 2005-11-21 | 2007-05-31 | Philipp Lang | Devices and methods for treating facet joints, uncovertebral joints, costovertebral joints and other joints |
| DE202005019487U1 (en)* | 2005-12-13 | 2007-04-26 | Deru Gmbh | Facet joint prosthesis |
| US8845726B2 (en) | 2006-10-18 | 2014-09-30 | Vertiflex, Inc. | Dilator |
| US8096996B2 (en) | 2007-03-20 | 2012-01-17 | Exactech, Inc. | Rod reducer |
| FR2908978B1 (en)* | 2006-11-28 | 2012-08-03 | Spineart Sa | PROSTHESES HOLDER AND THEIR APPLICATIONS. |
| US8163019B2 (en) | 2006-12-22 | 2012-04-24 | Pioneer Surgical Technology, Inc. | Implant restraint device and methods |
| US8133261B2 (en) | 2007-02-26 | 2012-03-13 | Depuy Spine, Inc. | Intra-facet fixation device and method of use |
| US8197513B2 (en) | 2007-04-13 | 2012-06-12 | Depuy Spine, Inc. | Facet fixation and fusion wedge and method of use |
| US8894685B2 (en) | 2007-04-13 | 2014-11-25 | DePuy Synthes Products, LLC | Facet fixation and fusion screw and washer assembly and method of use |
| US8043334B2 (en) | 2007-04-13 | 2011-10-25 | Depuy Spine, Inc. | Articulating facet fusion screw |
| AU2008241447B2 (en) | 2007-04-16 | 2014-03-27 | Vertiflex, Inc. | Interspinous spacer |
| US8343189B2 (en) | 2007-09-25 | 2013-01-01 | Zyga Technology, Inc. | Method and apparatus for facet joint stabilization |
| US20100331986A1 (en)* | 2007-12-28 | 2010-12-30 | Takiron Co., Ltd. | Biomaterial for artificial cartilage |
| AU2009206098B2 (en) | 2008-01-15 | 2014-10-30 | Vertiflex, Inc. | Interspinous spacer |
| WO2009111626A2 (en) | 2008-03-05 | 2009-09-11 | Conformis, Inc. | Implants for altering wear patterns of articular surfaces |
| WO2009140294A1 (en) | 2008-05-12 | 2009-11-19 | Conformis, Inc. | Devices and methods for treatment of facet and other joints |
| WO2010099231A2 (en) | 2009-02-24 | 2010-09-02 | Conformis, Inc. | Automated systems for manufacturing patient-specific orthopedic implants and instrumentation |
| CA2782137A1 (en) | 2009-12-11 | 2011-06-16 | Conformis, Inc. | Patient-specific and patient-engineered orthopedic implants |
| US8740948B2 (en) | 2009-12-15 | 2014-06-03 | Vertiflex, Inc. | Spinal spacer for cervical and other vertebra, and associated systems and methods |
| US8663293B2 (en) | 2010-06-15 | 2014-03-04 | Zyga Technology, Inc. | Systems and methods for facet joint treatment |
| US9233006B2 (en) | 2010-06-15 | 2016-01-12 | Zyga Technology, Inc. | Systems and methods for facet joint treatment |
| US9089372B2 (en) | 2010-07-12 | 2015-07-28 | DePuy Synthes Products, Inc. | Pedicular facet fusion screw with plate |
| WO2012112694A2 (en) | 2011-02-15 | 2012-08-23 | Conformis, Inc. | Medeling, analyzing and using anatomical data for patient-adapted implants. designs, tools and surgical procedures |
| EP2685921B1 (en) | 2011-03-18 | 2019-03-13 | Raed M. Ali, M.D., Inc. | Transpedicular access to intervertebral spaces and related spinal fusion systems and methods |
| US9265620B2 (en) | 2011-03-18 | 2016-02-23 | Raed M. Ali, M.D., Inc. | Devices and methods for transpedicular stabilization of the spine |
| CA2887215A1 (en) | 2012-11-15 | 2014-05-22 | Zyga Technology, Inc. | Systems and methods for facet joint treatment |
| US9861495B2 (en) | 2013-03-14 | 2018-01-09 | Raed M. Ali, M.D., Inc. | Lateral interbody fusion devices, systems and methods |
| US10687962B2 (en) | 2013-03-14 | 2020-06-23 | Raed M. Ali, M.D., Inc. | Interbody fusion devices, systems and methods |
| US9675303B2 (en) | 2013-03-15 | 2017-06-13 | Vertiflex, Inc. | Visualization systems, instruments and methods of using the same in spinal decompression procedures |
| AU2015256024B2 (en) | 2014-05-07 | 2020-03-05 | Vertiflex, Inc. | Spinal nerve decompression systems, dilation systems, and methods of using the same |
| US20160143663A1 (en) | 2014-11-24 | 2016-05-26 | Stryker European Holdings I, Llc | Strut plate and cabling system |
| WO2023158581A1 (en) | 2022-02-15 | 2023-08-24 | Boston Scientific Neuromodulation Corporation | Interspinous spacer and systems utilizing the interspinous spacer |
| US12433646B2 (en) | 2023-02-21 | 2025-10-07 | Boston Scientific Neuromodulation Corporation | Interspinous spacer with actuator locking arrangements and methods and systems |
| US12390340B2 (en) | 2023-03-15 | 2025-08-19 | Boston Scientific Neuromodulation Corporation | Interspinous spacer with a range of deployment positions and methods and systems |
| Publication number | Priority date | Publication date | Assignee | Title |
|---|---|---|---|---|
| JPH06178787A (en)* | 1992-12-14 | 1994-06-28 | Shima Yumiko | Centrum spacer with joint, intervertebral cavity measuring device and centrum spacer pattern |
| US5571191A (en)* | 1995-03-16 | 1996-11-05 | Fitz; William R. | Artificial facet joint |
| US6132464A (en)* | 1994-06-24 | 2000-10-17 | Paulette Fairant | Vertebral joint facets prostheses |
| WO2004071358A1 (en)* | 2003-02-06 | 2004-08-26 | Archus Orthopedics Inc. | Facet arthroplasty devices and methods |
| Publication number | Priority date | Publication date | Assignee | Title |
|---|---|---|---|---|
| US5415659A (en)* | 1993-12-01 | 1995-05-16 | Amei Technologies Inc. | Spinal fixation system and pedicle clamp |
| US6764491B2 (en)* | 1999-10-21 | 2004-07-20 | Sdgi Holdings, Inc. | Devices and techniques for a posterior lateral disc space approach |
| US6811567B2 (en)* | 1999-10-22 | 2004-11-02 | Archus Orthopedics Inc. | Facet arthroplasty devices and methods |
| ATE285207T1 (en)* | 1999-10-22 | 2005-01-15 | Archus Orthopedics Inc | FACET ARTHROPLASTY DEVICES |
| US6565605B2 (en)* | 2000-12-13 | 2003-05-20 | Medicinelodge, Inc. | Multiple facet joint replacement |
| CA2437575C (en)* | 2001-02-16 | 2009-04-07 | Queen's University At Kingston | Method and device for treating abnormal curvature of the spine |
| US20050159746A1 (en)* | 2004-01-21 | 2005-07-21 | Dieter Grob | Cervical facet resurfacing implant |
| Publication number | Priority date | Publication date | Assignee | Title |
|---|---|---|---|---|
| JPH06178787A (en)* | 1992-12-14 | 1994-06-28 | Shima Yumiko | Centrum spacer with joint, intervertebral cavity measuring device and centrum spacer pattern |
| US6132464A (en)* | 1994-06-24 | 2000-10-17 | Paulette Fairant | Vertebral joint facets prostheses |
| US5571191A (en)* | 1995-03-16 | 1996-11-05 | Fitz; William R. | Artificial facet joint |
| WO2004071358A1 (en)* | 2003-02-06 | 2004-08-26 | Archus Orthopedics Inc. | Facet arthroplasty devices and methods |
| Publication number | Priority date | Publication date | Assignee | Title |
|---|---|---|---|---|
| JP2009519063A (en)* | 2005-12-13 | 2009-05-14 | デル・ゲゼルシャフト・ミット・ベシュレンクテル・ハフツング | Face joint prosthesis |
| US11285010B2 (en) | 2006-12-29 | 2022-03-29 | Providence Medical Technology, Inc. | Cervical distraction method |
| US11559408B2 (en) | 2008-01-09 | 2023-01-24 | Providence Medical Technology, Inc. | Methods and apparatus for accessing and treating the facet joint |
| US11224521B2 (en) | 2008-06-06 | 2022-01-18 | Providence Medical Technology, Inc. | Cervical distraction/implant delivery device |
| US12409044B2 (en) | 2008-06-06 | 2025-09-09 | Providence Medical Technology, Inc. | Cervical distraction/implant delivery device |
| US11344339B2 (en) | 2008-06-06 | 2022-05-31 | Providence Medical Technology, Inc. | Vertebral joint implants and delivery tools |
| US11272964B2 (en) | 2008-06-06 | 2022-03-15 | Providence Medical Technology, Inc. | Vertebral joint implants and delivery tools |
| US11890038B2 (en) | 2008-06-06 | 2024-02-06 | Providence Medical Technology, Inc. | Vertebral joint implants and delivery tools |
| US11141144B2 (en) | 2008-06-06 | 2021-10-12 | Providence Medical Technology, Inc. | Facet joint implants and delivery tools |
| US11364057B2 (en) | 2009-03-27 | 2022-06-21 | Spinal Elements, Inc. | Flanged interbody fusion device |
| JP2013500070A (en)* | 2009-07-24 | 2013-01-07 | ザイガ テクノロジー インコーポレイテッド | System and method for facet joint treatment |
| US12343048B2 (en) | 2011-02-24 | 2025-07-01 | Spinal Elements, Inc. | Methods and apparatus for stabilizing bone |
| US11464551B2 (en) | 2011-02-24 | 2022-10-11 | Spinal Elements, Inc. | Methods and apparatus for stabilizing bone |
| US9918743B2 (en) | 2011-05-10 | 2018-03-20 | DePuy Synthes Products, Inc. | Facet interference cage |
| JP2014519881A (en)* | 2011-05-10 | 2014-08-21 | シンセス・ゲーエムベーハー | Intervertebral joint interference cage |
| USD926982S1 (en) | 2011-10-26 | 2021-08-03 | Spinal Elements, Inc. | Interbody bone implant |
| USD979062S1 (en) | 2011-10-26 | 2023-02-21 | Spinal Elements, Inc. | Interbody bone implant |
| USD958366S1 (en) | 2011-10-26 | 2022-07-19 | Spinal Elements, Inc. | Interbody bone implant |
| US10278742B2 (en) | 2012-11-12 | 2019-05-07 | DePuy Synthes Products, Inc. | Interbody interference implant and instrumentation |
| US11272961B2 (en) | 2013-03-14 | 2022-03-15 | Spinal Elements, Inc. | Apparatus for bone stabilization and distraction and methods of use |
| US11918258B2 (en) | 2013-09-27 | 2024-03-05 | Spinal Elements, Inc. | Device and method for reinforcement of a facet |
| US11517354B2 (en) | 2013-09-27 | 2022-12-06 | Spinal Elements, Inc. | Method of placing an implant between bone portions |
| US12004781B2 (en) | 2014-05-27 | 2024-06-11 | Providence Medical Technology, Inc. | Lateral mass fixation implant |
| JP2020089773A (en)* | 2014-05-27 | 2020-06-11 | プロビデンス メディカル テクノロジー インコーポレイテッド | Lateral mass fixation implant |
| JP7036496B2 (en) | 2014-05-27 | 2022-03-15 | プロビデンス メディカル テクノロジー インコーポレイテッド | Lateral mass fixation implant |
| US11478275B2 (en) | 2014-09-17 | 2022-10-25 | Spinal Elements, Inc. | Flexible fastening band connector |
| US11998240B2 (en) | 2014-09-17 | 2024-06-04 | Spinal Elements, Inc. | Flexible fastening band connector |
| US10758361B2 (en) | 2015-01-27 | 2020-09-01 | Spinal Elements, Inc. | Facet joint implant |
| JP2018502693A (en)* | 2015-01-27 | 2018-02-01 | スパイナル・エレメンツ・インコーポレーテッド | Facet joint implant |
| JP2018523519A (en)* | 2015-07-27 | 2018-08-23 | ヒップ イノベーション テクノロジー、エルエルシー | Tool and method for separating a femoral cup from an acetabular ball of an implanted hip prosthesis |
| US11871968B2 (en) | 2017-05-19 | 2024-01-16 | Providence Medical Technology, Inc. | Spinal fixation access and delivery system |
| US11813172B2 (en) | 2018-01-04 | 2023-11-14 | Providence Medical Technology, Inc. | Facet screw and delivery device |
| US11648128B2 (en) | 2018-01-04 | 2023-05-16 | Providence Medical Technology, Inc. | Facet screw and delivery device |
| US12318311B2 (en) | 2018-09-20 | 2025-06-03 | Spinal Elements, Inc. | Spinal implant device |
| US11382769B2 (en) | 2018-09-20 | 2022-07-12 | Spinal Elements, Inc. | Spinal implant device |
| US12144513B2 (en) | 2018-09-21 | 2024-11-19 | Providence Medical Technology, Inc. | Vertebral joint access and decortication devices and methods of using |
| US11457959B2 (en) | 2019-05-22 | 2022-10-04 | Spinal Elements, Inc. | Bone tie and bone tie inserter |
| US11464552B2 (en) | 2019-05-22 | 2022-10-11 | Spinal Elements, Inc. | Bone tie and bone tie inserter |
| US12232778B2 (en) | 2020-02-14 | 2025-02-25 | Spinal Elements, Inc. | Bone tie methods |
| US11304733B2 (en) | 2020-02-14 | 2022-04-19 | Spinal Elements, Inc. | Bone tie methods |
| USD945621S1 (en) | 2020-02-27 | 2022-03-08 | Providence Medical Technology, Inc. | Spinal cage |
| US11911284B2 (en) | 2020-11-19 | 2024-02-27 | Spinal Elements, Inc. | Curved expandable interbody devices and deployment tools |
| US12414858B2 (en) | 2020-11-19 | 2025-09-16 | Spinal Elements, Inc. | Curved expandable interbody devices and deployment tools |
| US12279969B2 (en) | 2020-12-17 | 2025-04-22 | Spinal Elements, Inc. | Spinal implant device |
| US12369952B2 (en) | 2021-12-10 | 2025-07-29 | Spinal Elements, Inc. | Bone tie and portal |
| USD1098431S1 (en) | 2023-02-27 | 2025-10-14 | Providence Medical Technology, Inc. | Spinal cage |
| USD1098433S1 (en) | 2023-12-28 | 2025-10-14 | Providence Medical Technology, Inc. | Spinal cage |
| US12440242B2 (en) | 2024-04-29 | 2025-10-14 | Spinal Elements, Inc. | Flexible fastening band connector |
| Publication number | Publication date |
|---|---|
| EP1824427A1 (en) | 2007-08-29 |
| CA2590049A1 (en) | 2006-06-22 |
| AU2005316646B2 (en) | 2011-09-15 |
| MX2007006808A (en) | 2007-10-08 |
| AU2005316646A1 (en) | 2006-06-22 |
| IL182915A0 (en) | 2007-08-19 |
| KR20070108151A (en) | 2007-11-08 |
| EP1824427A4 (en) | 2010-05-05 |
| WO2006065774A1 (en) | 2006-06-22 |
| Publication | Publication Date | Title |
|---|---|---|
| JP2008522787A (en) | Intervertebral implant | |
| US8029540B2 (en) | Inter-cervical facet implant with implantation tool | |
| US8172877B2 (en) | Inter-cervical facet implant with surface enhancements | |
| JP4865784B2 (en) | Interspinous process implant with sliding mating distraction piece and implantation method | |
| US8128660B2 (en) | Inter-cervical facet joint implant with locking screw system | |
| US20070016196A1 (en) | Inter-cervical facet implant with implantation tool | |
| US8118838B2 (en) | Inter-cervical facet implant with multiple direction articulation joint and method for implanting | |
| US8066749B2 (en) | Implant for stabilizing a bone graft during spinal fusion | |
| US7763050B2 (en) | Inter-cervical facet implant with locking screw and method | |
| US7695513B2 (en) | Distractible interspinous process implant and method of implantation | |
| JP4861404B2 (en) | Interspinous process implant with threaded wing | |
| US7776090B2 (en) | Inter-cervical facet implant and method | |
| JP4837026B2 (en) | Interspinous process implants with deployable wings and implantation methods | |
| JP2010508127A (en) | Intervertebral joint implant sizing tool |
| Date | Code | Title | Description |
|---|---|---|---|
| A711 | Notification of change in applicant | Free format text:JAPANESE INTERMEDIATE CODE: A712 Effective date:20080724 | |
| A621 | Written request for application examination | Free format text:JAPANESE INTERMEDIATE CODE: A621 Effective date:20081211 | |
| A711 | Notification of change in applicant | Free format text:JAPANESE INTERMEDIATE CODE: A711 Effective date:20090714 | |
| RD03 | Notification of appointment of power of attorney | Free format text:JAPANESE INTERMEDIATE CODE: A7423 Effective date:20090723 | |
| A521 | Request for written amendment filed | Free format text:JAPANESE INTERMEDIATE CODE: A821 Effective date:20090714 | |
| RD04 | Notification of resignation of power of attorney | Free format text:JAPANESE INTERMEDIATE CODE: A7424 Effective date:20090723 | |
| A131 | Notification of reasons for refusal | Free format text:JAPANESE INTERMEDIATE CODE: A131 Effective date:20110506 | |
| A601 | Written request for extension of time | Free format text:JAPANESE INTERMEDIATE CODE: A601 Effective date:20110805 | |
| A602 | Written permission of extension of time | Free format text:JAPANESE INTERMEDIATE CODE: A602 Effective date:20110812 | |
| A521 | Request for written amendment filed | Free format text:JAPANESE INTERMEDIATE CODE: A523 Effective date:20110905 | |
| A131 | Notification of reasons for refusal | Free format text:JAPANESE INTERMEDIATE CODE: A131 Effective date:20120319 | |
| A02 | Decision of refusal | Free format text:JAPANESE INTERMEDIATE CODE: A02 Effective date:20120830 |