












本発明は、被加工物にレーザー加工を施すレーザー加工装置およびウエーハの裏面に装着された接着フィルムのレーザー加工方法に関する。 The present invention relates to a laser processing apparatus for performing laser processing on a workpiece and a laser processing method for an adhesive film mounted on the back surface of a wafer.
例えば、半導体デバイス製造工程においては、略円板形状である半導体ウエーハの表面に格子状に形成されたストリート(分割予定ライン)によって区画された複数の領域にIC、LSI等のデバイスを形成し、該デバイスが形成された各領域を分割予定ラインに沿って分割することにより個々のデバイスを製造している。半導体ウエーハを分割する分割装置としては一般にダイシング装置と呼ばれる切削装置が用いられており、この切削装置は厚さが40μm程度の切削ブレードによって半導体ウエーハを分割予定ラインに沿って切削する。このようにして分割されたデバイスは、パッケージングされて携帯電話やパソコン等の電気機器に広く利用されている。 For example, in a semiconductor device manufacturing process, devices such as IC and LSI are formed in a plurality of regions partitioned by streets (division lines) formed in a lattice shape on the surface of a semiconductor wafer having a substantially disk shape, Individual devices are manufactured by dividing each region in which the devices are formed along a division line. As a dividing device for dividing a semiconductor wafer, a cutting device called a dicing device is generally used. This cutting device cuts a semiconductor wafer along a planned division line by a cutting blade having a thickness of about 40 μm. Devices divided in this way are packaged and widely used in electric devices such as mobile phones and personal computers.
個々に分割されたデバイスは、その裏面にエポキシ樹脂等で形成された厚さ70〜80μmのダイアタッチフィルムと称するダイボンディング用の接着フィルムが装着され、この接着フィルムを介してデバイスを支持するダイボンディングフレームに加熱することによりボンディングされる。デバイスの裏面にダイボンディング用の接着フィルムを装着する方法としては、半導体ウエーハの裏面に接着フィルムを貼着し、この接着フィルムを介して半導体ウエーハをダイシングテープに貼着した後、半導体ウエーハの表面に形成された分割予定ラインに沿って切削ブレードにより半導体ウエーハとともに接着フィルムを切断することにより、裏面に接着フィルムが装着されたデバイスを形成している。(例えば、特許文献1参照。)
近年、携帯電話やパソコン等の電気機器はより軽量化、小型化が求められており、より薄いデバイスが要求されている。より薄くデバイスを分割する技術として所謂先ダイシング法と称する分割技術が実用化されている。この先ダイシング法は、半導体ウエーハの表面から分割予定ラインに沿って所定の深さ(デバイスの仕上がり厚さに相当する深さ)の分割溝を形成し、その後、表面に分割溝が形成された半導体ウエーハの裏面を研削して該裏面に分割溝を表出させ個々のデバイスに分割する技術であり、デバイスの厚さ100μm以下に加工することが可能である。 In recent years, electric devices such as mobile phones and personal computers are required to be lighter and smaller, and thinner devices are required. As a technique for dividing a device thinner, a so-called dicing method called a dicing method has been put into practical use. This tip dicing method is a semiconductor in which a dividing groove having a predetermined depth (a depth corresponding to the finished thickness of the device) is formed along the line to be divided from the surface of the semiconductor wafer and then the dividing groove is formed on the surface. This is a technique of grinding the back surface of a wafer to expose a dividing groove on the back surface to divide the wafer into individual devices, which can be processed to a thickness of 100 μm or less.
しかるに、先ダイシング法によって半導体ウエーハを個々のデバイスに分割する場合には、半導体ウエーハの表面から分割予定ラインに沿って所定の深さの分割溝を形成した後に半導体ウエーハの裏面を研削して該裏面に分割溝を表出させるので、ダイボンディング用の接着フィルムを前もって半導体ウエーハの裏面に装着することができない。従って、先ダイシング法によって製作されたデバイスをダイボンディングフレームにボンディングする際には、デバイスとダイボンディングフレームとの間にボンド剤を挿入しながら行わなければならず、ボンディング作業を円滑に実施することができないという問題がある。 However, when the semiconductor wafer is divided into individual devices by the tip dicing method, a dividing groove having a predetermined depth is formed along the line to be divided from the surface of the semiconductor wafer, and then the back surface of the semiconductor wafer is ground. Since the dividing groove is exposed on the back surface, an adhesive film for die bonding cannot be mounted on the back surface of the semiconductor wafer in advance. Therefore, when bonding a device manufactured by the previous dicing method to the die bonding frame, the bonding agent must be inserted between the device and the die bonding frame, and the bonding operation should be performed smoothly. There is a problem that can not be.
このような問題を解消するために、先ダイシング法によって個々のデバイスに分割された半導体ウエーハの裏面にダイボンディング用の接着フィルムを装着し、この接着フィルムを介して半導体ウエーハをダイシングテープに貼着した後、各デバイス間の間隙に露出された接着フィルムの部分を化学的にエッチングして除去するようにした半導体デバイスの製造方法、および上記各デバイス間の間隙に露出された接着フィルムの部分に、デバイスの表面側から上記間隙を通してレーザー光線を照射し、接着フィルムの上記間隙に露出された部分を除去するようにした半導体デバイスの製造方法が提案されている。(例えば、特許文献2参照。)
而して、各デバイス間の間隙に露出された接着フィルムの部分を化学的にエッチングして除去する方法は、各デバイスの表面をマスキングする必要があるため生産性が悪い。また、レーザー光線を照射して接着フィルムを切断するには、半導体ウエーハの分割予定ラインに沿って形成された分割溝毎に半導体ウエーハとレーザー光線照射手段とを相対移動するため、生産性が悪いという問題がある。 Therefore, the method of chemically etching and removing the portion of the adhesive film exposed in the gap between each device is not productive because it is necessary to mask the surface of each device. Further, in order to cut the adhesive film by irradiating a laser beam, the semiconductor wafer and the laser beam irradiation means are relatively moved for each dividing groove formed along the planned dividing line of the semiconductor wafer, so that the productivity is poor. There is.
本発明は上記事実に鑑みてなされたものであり、その主たる技術課題は、先ダイシング法によって個々のデバイスに分割されたウエーハの裏面に装着されたダイボンディング用の接着フィルムを効率よく破断することができるレーザー加工装置およびレーザー加工方法を提供することにある。 The present invention has been made in view of the above-mentioned facts, and its main technical problem is to efficiently break the bonding film for die bonding mounted on the back surface of the wafer divided into individual devices by the prior dicing method. An object of the present invention is to provide a laser processing apparatus and a laser processing method capable of performing the above.
上記主たる技術課題を解決するため、本発明によれば、被加工物を保持する保持面を有するチャックテーブルと、該チャックテーブルに保持された被加工物を撮像する撮像手段と、該チャックテーブルに保持された被加工物にレーザー光線を照射するレーザー光線照射手段と、該撮像手段によって撮像された画像信号に基いて該レーザー光線照射手段を制御する制御手段とを具備するレーザー加工装置において、
該レーザー光線照射手段は、レーザー光線を発振するレーザー光線発振手段と、該レーザー光線発振手段が発振したレーザー光線の光軸をX軸方向に偏向せしめるX軸ガルバノミラーと、該レーザー光線発振手段が発振したレーザー光線の光軸をY軸方向に偏向せしめるY軸ガルバノミラーと、該X軸ガルバノミラーおよびY軸ガルバノミラーによって偏向されたレーザー光線を集光するとともに該チャックテーブルの保持面に対して垂直に照射せしめるエフシータレンズを備えた集光器と、を具備している、
ことを特徴とするレーザー加工装置が提供される。In order to solve the above main technical problem, according to the present invention, a chuck table having a holding surface for holding a workpiece, an imaging means for imaging the workpiece held on the chuck table, and the chuck table In a laser processing apparatus comprising: a laser beam irradiation unit that irradiates a held workpiece with a laser beam; and a control unit that controls the laser beam irradiation unit based on an image signal imaged by the imaging unit.
The laser beam irradiation means includes a laser beam oscillation means that oscillates a laser beam, an X-axis galvanometer mirror that deflects the optical axis of the laser beam oscillated by the laser beam oscillation means in the X-axis direction, and an optical axis of the laser beam oscillated by the laser beam oscillation means A Y-axis galvanometer mirror that deflects the lens in the Y-axis direction, and an F-theta lens that focuses the laser beam deflected by the X-axis galvanometer mirror and the Y-axis galvanometer mirror and irradiates the chuck table vertically A concentrator equipped with,
A laser processing apparatus is provided.
また、本発明によれば、表面に格子状に形成された複数の分割予定ラインによって区画された複数の領域にデバイスが形成されたウエーハが複数の分割予定ラインに沿って分割されており、個々のデバイスに分割されたウエーハの裏面に装着されたダイボンディング用の接着フィルムに、上記レーザー加工装置を用いて個々のデバイスの周辺に沿って加工溝を形成するレーザー加工方法であって、
裏面に接着フィルムが装着されたウエーハを上記チャックテーブルに保持するウエーハ保持工程と、
上記チャックテーブルに保持されウエーハを上記撮像手段の撮像領域に位置付け、撮像手段によってウエーハを撮像するウエーハ撮像工程と、
該ウエーハ撮像工程において撮像された画像信号に基いて上記制御手段が加工領域マップを作成する加工領域マップ作成工程と、
加工領域マップ作成工程を実施した後に、上記チャックテーブルに保持され裏面に接着フィルムが装着されたウエーハを上記レーザー光線発振手段の集光器のレーザー光線照射領域に位置付けるウエーハ位置付け工程と、
ウエーハ位置付け工程を実施した後に、上記制御手段が上記加工領域マップに基いて上記レーザー光線発振手段を作動するとともにX軸ガルバノミラーおよびY軸ガルバノミラーを制御し、集光器からレーザー光線を各デバイス間を通して接着フィルムに照射するレーザー光線照射工程と、を含む、
ことを特徴とするウエーハの裏面に装着された接着フィルムのレーザー加工方法が提供される。Further, according to the present invention, a wafer in which a device is formed in a plurality of regions partitioned by a plurality of division lines formed in a lattice pattern on the surface is divided along the plurality of division lines. A laser processing method for forming a processing groove along the periphery of each device using the above laser processing apparatus on an adhesive film for die bonding mounted on the back surface of a wafer divided into the devices of
A wafer holding step for holding a wafer having an adhesive film mounted on the back surface on the chuck table;
A wafer imaging step in which the wafer held by the chuck table is positioned in an imaging region of the imaging means, and the wafer is imaged by the imaging means;
A machining area map creating step in which the control means creates a machining area map based on the image signal imaged in the wafer imaging process;
After performing the processing region map creation step, a wafer positioning step of positioning the wafer held on the chuck table and having an adhesive film attached to the back surface thereof in the laser beam irradiation region of the condenser of the laser beam oscillation means;
After performing the wafer positioning step, the control means operates the laser beam oscillation means based on the processing area map and controls the X-axis galvanometer mirror and the Y-axis galvanometer mirror, and passes the laser beam from the condenser between the devices. Including a laser beam irradiation step for irradiating the adhesive film,
A laser processing method for an adhesive film mounted on the back surface of a wafer is provided.
本発明によれば、X軸ガルバノミラーおよびY軸ガルバノミラーを制御することにより被加工物であるウエーハとレーザー光線照射手段とを相対移動することなく所定の加工領域を加工することができるので、生産性を向上させることができる。従って、ウエーハを移動することなく個々に分割されたデバイスの周辺に沿ってレーザー光線を照射することができるので、ウエーハの裏面に装着された接着フィルムに効率よく加工溝を形成することができる。また、集光器はX軸ガルバノミラーおよびY軸ガルバノミラーによって偏向されたレーザー光線を集光するとともに該チャックテーブルの保持面に対して垂直に照射せしめるエフシータレンズを備えているので、ウエーハにおける個々に分割されたデバイス間を通して確実に接着フィルムに照射することができる。 According to the present invention, by controlling the X-axis galvanometer mirror and the Y-axis galvanometer mirror, it is possible to process a predetermined processing area without relatively moving the wafer as a workpiece and the laser beam irradiation means. Can be improved. Therefore, since the laser beam can be irradiated along the periphery of the individually divided devices without moving the wafer, the processed grooves can be efficiently formed in the adhesive film mounted on the back surface of the wafer. In addition, the condenser is equipped with an F-theta lens that condenses the laser beam deflected by the X-axis galvanometer mirror and the Y-axis galvanometer mirror and irradiates it perpendicularly to the holding surface of the chuck table. It is possible to irradiate the adhesive film through the devices divided into two.
以下、本発明に従って構成されたレーザー加工装置およびウエーハの裏面に装着された接着フィルムのレーザー加工方法について、添付図面を参照して詳細に説明する。 Hereinafter, a laser processing apparatus configured according to the present invention and a laser processing method for an adhesive film mounted on the back surface of a wafer will be described in detail with reference to the accompanying drawings.
図1には、本発明に従って構成されたレーザー加工装置の斜視図が示されている。図1に示すレーザー加工装置は、静止基台2と、該静止基台2に矢印Xで示す加工送り方向(X軸方向)に移動可能に配設され被加工物を保持するチャックテーブル機構3と、静止基台2に上記矢印Xで示す方向(X軸方向)と直角な矢印Yで示す割り出し送り方向(Y軸方向)に移動可能に配設されたレーザー光線照射ユニット支持機構4と、該レーザー光線ユニット支持機構4に矢印Zで示す方向(Z軸方向)に移動可能に配設されたレーザー光線照射ユニット5とを具備している。 FIG. 1 is a perspective view of a laser processing apparatus constructed according to the present invention. A laser processing apparatus shown in FIG. 1 includes a
上記チャックテーブル機構3は、静止基台2上に矢印Xで示す加工送り方向(X軸方向)に沿って平行に配設された一対の案内レール31、31と、該案内レール31、31上に矢印Xで示す加工送り方向(X軸方向)に移動可能に配設された第一の滑動ブロック32と、該第1の滑動ブロック32上に矢印Yで示す割り出し送り方向(Y軸方向)に移動可能に配設された第2の滑動ブロック33と、該第2の滑動ブロック33上に円筒部材34によって支持されたカバーテーブル35と、被加工物保持手段としてのチャックテーブル36を具備している。このチャックテーブル36は多孔性材料から形成された吸着チャック361を具備しており、吸着チャック361の保持面である上面に被加工物である例えば円盤状の半導体ウエーハを図示しない吸引手段によって保持するようになっている。このように構成されたチャックテーブル36は、円筒部材34内に配設された図示しないパルスモータによって回転せしめられる。なお、チャックテーブル36には、後述する環状のフレームを固定するためのクランプ362が配設されている。 The
上記第1の滑動ブロック32は、その下面に上記一対の案内レール31、31と嵌合する一対の被案内溝321、321が設けられているとともに、その上面に矢印Yで示す割り出し送り方向(Y軸方向)に沿って平行に形成された一対の案内レール322、322が設けられている。このように構成された第1の滑動ブロック32は、被案内溝321、321が一対の案内レール31、31に嵌合することにより、一対の案内レール31、31に沿って矢印Xで示す加工送り方向(X軸方向)に移動可能に構成される。図示の実施形態におけるチャックテーブル機構3は、第1の滑動ブロック32を一対の案内レール31、31に沿って矢印Xで示す加工送り方向(X軸方向)に移動させるための加工送り手段37を具備している。加工送り手段37は、上記一対の案内レール31と31の間に平行に配設された雄ネジロッド371と、該雄ネジロッド371を回転駆動するためのパルスモータ372等の駆動源を含んでいる。雄ネジロッド371は、その一端が上記静止基台2に固定された軸受ブロック373に回転自在に支持されており、その他端が上記パルスモータ372の出力軸に伝動連結されている。なお、雄ネジロッド371は、第1の滑動ブロック32の中央部下面に突出して設けられた図示しない雌ネジブロックに形成された貫通雌ネジ穴に螺合されている。従って、パルスモータ372によって雄ネジロッド371を正転および逆転駆動することにより、第一の滑動ブロック32は案内レール31、31に沿って矢印Xで示す加工送り方向(X軸方向)に移動せしめられる。 The first sliding
図示の実施形態におけるレーザー加工装置は、上記チャックテーブル36の加工送り量を検出するための加工送り量検出手段374を備えている。加工送り量検出手段374は、案内レール31に沿って配設されたリニアスケール374aと、第1の滑動ブロック32に配設され第1の滑動ブロック32とともにリニアスケール374aに沿って移動する読み取りヘッド374bとからなっている。この送り量検出手段374の読み取りヘッド374bは、図示に実施形態においては1μm毎に1パルスのパルス信号を後述する制御手段に送る。そして後述する制御手段は、入力したパルス信号をカウントすることにより、チャックテーブル36の加工送り量を検出する。従って、加工送り量検出手段374は、チャックテーブル36のX軸方向位置を検出するX軸方向位置検出手段として機能する。なお、上記加工送り手段37の駆動源としてパルスモータ372を用いた場合には、パルスモータ372に駆動信号を出力する後述する制御手段の駆動パルスをカウントすることにより、チャックテーブル36の加工送り量を検出することもできる。また、上記加工送り手段37の駆動源としてサーボモータを用いた場合には、サーボモータの回転数を検出するロータリーエンコーダが出力するパルス信号を後述する制御手段に送り、制御手段が入力したパルス信号をカウントすることにより、チャックテーブル36の加工送り量を検出することもできる。 The laser processing apparatus in the illustrated embodiment includes a processing feed amount detecting means 374 for detecting the processing feed amount of the chuck table 36. The processing feed amount detection means 374 includes a
上記第2の滑動ブロック33は、その下面に上記第1の滑動ブロック32の上面に設けられた一対の案内レール322、322と嵌合する一対の被案内溝331、331が設けられており、この被案内溝331、331を一対の案内レール322、322に嵌合することにより、矢印Yで示す割り出し送り方向(Y軸方向)に移動可能に構成される。図示の実施形態におけるチャックテーブル機構3は、第2の滑動ブロック33を第1の滑動ブロック32に設けられた一対の案内レール322、322に沿って矢印Yで示す割り出し送り方向(Y軸方向)に移動させるための第1の割り出し送り手段38を具備している。第1の割り出し送り手段38は、上記一対の案内レール322と322の間に平行に配設された雄ネジロッド381と、該雄ネジロッド381を回転駆動するためのパルスモータ372等の駆動源を含んでいる。雄ネジロッド381は、その一端が上記第1の滑動ブロック32の上面に固定された軸受ブロック383に回転自在に支持されており、その他端が上記パルスモータ382の出力軸に伝動連結されている。なお、雄ネジロッド381は、第2の滑動ブロック33の中央部下面に突出して設けられた図示しない雌ネジブロックに形成された貫通雌ネジ穴に螺合されている。従って、パルスモータ382によって雄ネジロッド381を正転および逆転駆動することにより、第2の滑動ブロック33は案内レール322、322に沿って矢印Yで示す割り出し送り方向(Y軸方向)に移動せしめられる。 The second sliding
図示の実施形態におけるレーザー加工装置は、上記第2の滑動ブロック33の割り出し加工送り量を検出するための割り出し送り量検出手段384を備えている。割り出し送り量検出手段384は、案内レール322に沿って配設されたリニアスケール384aと、第2の滑動ブロック33に配設され第2の滑動ブロック33とともにリニアスケール384aに沿って移動する読み取りヘッド384bとからなっている。この送り量検出手段384の読み取りヘッド384bは、図示に実施形態においては1μm毎に1パルスのパルス信号を後述する制御手段に送る。そして後述する制御手段は、入力したパルス信号をカウントすることにより、チャックテーブル36の割り出し送り量を検出する。従って、割り出し送り量検出手段384は、チャックテーブル36のY軸方向位置を検出するY軸方向位置検出手段として機能する。なお、上記割り出し送り手段38の駆動源としてパルスモータ372を用いた場合には、パルスモータ372に駆動信号を出力する後述する制御手段の駆動パルスをカウントすることにより、チャックテーブル36の割り出し送り量を検出することもできる。また、上記第1の割り出し送り手段38の駆動源としてサーボモータを用いた場合には、サーボモータの回転数を検出するロータリーエンコーダが出力するパルス信号を後述する制御手段に送り、制御手段が入力したパルス信号をカウントすることにより、チャックテーブル36の割り出し送り量を検出することもできる。 The laser processing apparatus in the illustrated embodiment includes index feed amount detection means 384 for detecting the index processing feed amount of the second sliding
上記レーザー光線照射ユニット支持機構4は、静止基台2上に矢印Yで示す割り出し送り方向(Y軸方向)に沿って平行に配設された一対の案内レール41、41と、該案内レール41、41上に矢印Yで示す方向に移動可能に配設された可動支持基台42を具備している。この可動支持基台42は、案内レール41、41上に移動可能に配設された移動支持部421と、該移動支持部421に取り付けられた装着部422とからなっている。装着部422は、一側面に矢印Zで示す方向(Z軸方向)に延びる一対の案内レール423、423が平行に設けられている。図示の実施形態におけるレーザー光線照射ユニット支持機構4は、可動支持基台42を一対の案内レール41、41に沿って矢印Yで示す割り出し送り方向(Y軸方向)に移動させるための第2の割り出し送り手段43を具備している。第2の割り出し送り手段43は、上記一対の案内レール41、41の間に平行に配設された雄ネジロッド431と、該雄ねじロッド431を回転駆動するためのパルスモータ432等の駆動源を含んでいる。雄ネジロッド431は、その一端が上記静止基台2に固定された図示しない軸受ブロックに回転自在に支持されており、その他端が上記パルスモータ432の出力軸に伝動連結されている。なお、雄ネジロッド431は、可動支持基台42を構成する移動支持部421の中央部下面に突出して設けられた図示しない雌ネジブロックに形成された雌ネジ穴に螺合されている。このため、パルスモータ432によって雄ネジロッド431を正転および逆転駆動することにより、可動支持基台42は案内レール41、41に沿って矢印Yで示す割り出し送り方向(Y軸方向)に移動せしめられる。 The laser beam irradiation unit support mechanism 4 includes a pair of
図示の実施形態のおけるレーザー光線照射ユニット5は、ユニットホルダ51と、該ユニットホルダ51に取り付けられたレーザー光線照射手段52を具備している。ユニットホルダ51は、上記装着部422に設けられた一対の案内レール423、423に摺動可能に嵌合する一対の被案内溝511、511が設けられており、この被案内溝511、511を上記案内レール423、423に嵌合することにより、矢印Zで示す方向(Z軸方向)に移動可能に支持される。 The laser
図示の実施形態におけるレーザー光線照射ユニット5は、ユニットホルダ51を一対の案内レール423、423に沿って矢印Zで示す方向(Z軸方向)に移動させるための移動手段53を具備している。移動手段53は、一対の案内レール423、423の間に配設された雄ネジロッド(図示せず)と、該雄ネジロッドを回転駆動するためのパルスモータ532等の駆動源を含んでおり、パルスモータ532によって図示しない雄ネジロッドを正転および逆転駆動することにより、ユニットホルダ51およびレーザビーム照射手段52を案内レール423、423に沿って矢印Zで示す方向(Z軸方向)に移動せしめる。なお、図示の実施形態においてはパルスモータ532を正転駆動することによりレーザー光線照射手段52を上方に移動し、パルスモータ532を逆転駆動することによりレーザー光線照射手段52を下方に移動するようになっている。 The laser
上記レーザー光線照射手段52は、実質上水平に配置された円筒形状のケーシング521と、図2に示すようにケーシング521内に配設されたパルスレーザー光線発振手段6と、該レーザー光線発振手段6が発振したレーザー光線の光軸をX軸方向に偏向せしめるX軸ガルバノミラー7aと、レーザー光線発振手段6が発振したレーザー光線の光軸をY軸方向に偏向せしめるY軸ガルバノミラー7bと、該X軸ガルバノミラー7aおよびY軸ガルバノミラー7bによって偏向されたレーザー光線を集光し上記チャックテーブル36に保持された被加工物に照射する集光器8を具備している。 The laser beam irradiating means 52 includes a
上記パルスレーザー光線発振手段6は、YAGレーザー発振器或いはYVO4レーザー発振器からなるパルスレーザー光線発振器61と、これに付設された繰り返し周波数設定手段62とから構成されている。パルスレーザー光線発振器61は、繰り返し周波数設定手段62によって設定された所定周波数のパルスレーザー光線(LB)を発振する。 The pulse laser beam oscillating means 6 comprises a pulse
上記X軸ガルバノミラー7aは、ミラー71aと、該ミラー71aの設置角度を調整する角度調整アクチュエータ72aとによって構成されている。このように構成されたX軸ガルバノミラー7aは、後述する制御手段によって角度調整アクチュエータ72aを制御しミラー71a設置角度を調整ことにより、レーザー光線発振手段6が発振したレーザー光線の光軸をX軸方向に偏向せしめる。また、上記Y軸ガルバノミラー7bもX軸ガルバノミラー7aと同様に、ミラー71bと、該ミラー71bの設置角度を調整する角度調整アクチュエータ72bとによって構成されている。このように構成されたY軸ガルバノミラー7bは、後述する制御手段によって角度調整アクチュエータ72bを制御しミラー71b設置角度を調整ことにより、レーザー光線発振手段6が発振したレーザー光線の光軸をY軸方向に偏向せしめる。 The
上記集光器8は、X軸ガルバノミラー7aおよびY軸ガルバノミラー7bによって偏向されたレーザー光線を下方に向けて方向変換する方向変換ミラー81と、該方向変換ミラー81によって方向変換されたレーザー光線を集光するとともにチャックテーブル36の保持面に対して垂直に照射せしめるエフシータレンズ(fθタレンズ)82を具備している。なお、エフシータレンズ(fθタレンズ)82は、例えば直径が100mm程度のものが用いられている。このように構成された集光器8は、図1に示すようにケーシング521の先端に装着されている。 The
図1に戻って説明を続けると、図示の実施形態におけるレーザー加工装置は、ケーシング521の前端部に配設され上記レーザー光線照射手段52によってレーザー加工すべき加工領域を撮像する撮像手段9を備えている。この撮像手段9は、撮像素子(CCD)等で構成されており、撮像した画像信号を制御手段10に送る。 Referring back to FIG. 1, the laser processing apparatus in the illustrated embodiment includes an imaging unit 9 that is disposed at the front end portion of the
制御手段10は、コンピュータによって構成されており、制御プログラムに従って演算処理する中央処理装置(CPU)101と、制御プログラム等を格納するリードオンリメモリ(ROM)102と、後述する制御マップや被加工物の設計値のデータや演算結果等を格納する読み書き可能なランダムアクセスメモリ(RAM)103と、カウンター104と、入力インターフェース105および出力インターフェース106とを備えている。制御手段10の入力インターフェース105には、上記加工送り量検出手段374、割り出し送り量検出手段384および撮像手段9等からの検出信号が入力される。そして、制御手段10の出力インターフェース106からは、上記パルスモータ372、パルスモータ382、パルスモータ432、パルスモータ532、パルスレーザー光線発振手段6、X軸ガルバノミラー7aの角度調整アクチュエータ72aおよびY軸ガルバノミラー7bの角度調整アクチュエータ72b等に制御信号を出力する。なお、上記ランダムアクセスメモリ(RAM)103は、上記撮像手段9によって撮像された画像信号に基いて作成する加工領域マップを記憶する第1の記憶領域103aや他の記憶領域を備えている。 The control means 10 is constituted by a computer, and includes a central processing unit (CPU) 101 that performs arithmetic processing according to a control program, a read only memory (ROM) 102 that stores a control program and the like, a control map and a workpiece to be described later. A random access memory (RAM) 103 capable of storing design value data, operation results, and the like, a
以上のように構成されたレーザー加工装置を用いて、ウエーハの裏面に装着されたダイボンディング用の接着フィルムに加工溝を形成するレーザー加工について説明する前に、ウエーハを個々のデバイスに分割し、個々のデバイスに分割されたウエーハの裏面に接着フィルムを装着する方法について説明する。 Before explaining the laser processing for forming the processing groove in the adhesive film for die bonding mounted on the back surface of the wafer using the laser processing apparatus configured as described above, the wafer is divided into individual devices, A method for mounting an adhesive film on the back surface of a wafer divided into individual devices will be described.
図3には、ウエーハとしての半導体ウエーハの斜視図が示されている。図3に示す半導体ウエーハ20は、例えば厚さが600μmのシリコンウエーハからなっており、表面20aには複数の分割予定ライン21が格子状に形成されている。そして、半導体ウエーハ2の表面2aには、格子状に形成された複数の分割予定ライン21によって区画された複数の領域にIC、LSI等のデバイス22が形成されている。 FIG. 3 is a perspective view of a semiconductor wafer as a wafer. A
図3に示す半導体ウエーハ2は、所謂先ダイシング法によるウエーハ分割工程を実施することによって個々のデバイス22に分割される。先ダイシング法によるウエーハ分割工程は、先ず半導体ウエーハの表面20aに形成された分割予定ライン21に沿って所定深さ(各デバイスの仕上がり厚さに相当する深さ)の分割溝を形成する(分割溝形成工程)。この分割溝形成工程は、図4の(a)に示す切削装置3を用いて実施する。図4の(a)に示す切削装置30は、吸引保持手段を備えたチャックテーブル301と、切削ブレード302を備えた切削手段303と、撮像手段304を具備している。分割溝形成工程を実施するには、チャックテーブル301上に半導体ウエーハ20の表面20aを上にして載置する。そして、図示しない吸引手段を作動することにより、半導体ウエーハ20をチャックテーブル301上に保持する。このようにして、半導体ウエーハ20を吸引保持したチャックテーブル301は、図示しない切削送り機構によって撮像手段304の直下に位置付けられる。 The
チャックテーブル301が撮像手段304の直下に位置付けられると、撮像手段304および図示しない制御手段によって半導体ウエーハ20の分割溝を形成すべき切削領域を検出するアライメント作業を実行する。即ち、撮像手段304および図示しない制御手段は、半導体ウエーハ20の所定方向に形成されている分割予定ライン21と、切削ブレード302との位置合わせを行うためのパターンマッチング等の画像処理を実行し、切削領域のアライメントを遂行する(アライメント工程)。また、半導体ウエーハ20に形成されている上記所定方向に対して直角に延びる分割予定ライン21に対しても、同様に切削領域のアライメントが遂行される。 When the chuck table 301 is positioned immediately below the image pickup means 304, an alignment operation for detecting a cutting region in which the division grooves of the
以上のようにしてチャックテーブル301上に保持されている半導体ウエーハ20の切削領域のアライメントが行われたならば、半導体ウエーハ20を保持したチャックテーブル301を切削領域の切削開始位置に移動する。そして、切削ブレード302を図4の(a)において矢印302aで示す方向に回転しつつ下方に移動して所定量の切り込み送りを実施する。この切り込み送り位置は、切削ブレード302の外周縁が半導体ウエーハ20の表面からデバイスの仕上がり厚さに相当する深さ位置(例えば、110μm)に設定されている。このようにして、切削ブレード302の切り込み送りを実施したならば、切削ブレード302を回転しつつチャックテーブル301を図4の(a)において矢印Xで示す方向に切削送りすることによって、図4の(b)に示すように分割予定ライン21に沿ってデバイスの仕上がり厚さに相当する深さ(例えば、110μm)の分割溝210が形成される(分割溝形成工程)。この分割溝形成工程を半導体ウエーハ20に形成された全ての分割予定ライン21に沿って実施する。 When the cutting area alignment of the
上述した分割溝形成工程により半導体ウエーハ20の表面20aに分割予定ライン21に沿って所定深さの分割溝210を形成したら、図5の(a)および(b)に示すように半導体ウエーハ20の表面20a(デバイス22が形成されている面)に研削用の保護部材40を貼着する(保護部材貼着工程)。なお、保護部材40は、図示の実施形態においては厚さが150μmのポリオレフィンシートが用いられている。 When the dividing
次に、表面に保護部材40を貼着した半導体ウエーハ20の裏面20bを研削し、分割溝210を裏面20bに表出させて個々のデバイスに分割する(分割溝表出工程)。この分割溝表出工程は、図6の(a)に示すようにチャックテーブル501と研削砥石502を備えた研削手段503を具備する研削装置50によって行われる。即ち、チャックテーブル501上に半導体ウエーハ20の裏面20bを上にして保持し、例えば、チャックテーブル501を矢印501aで示す方向に300rpmで回転しつつ、研削手段503の研削砥石502を502aで示す方向に6000rpmで回転せしめて半導体ウエーハ20の裏面20bに接触することにより研削し、図6の(b)に示すように分割溝210が裏面20bに表出するまで研削する。このように分割溝210が表出するまで研削することによって、図6の(c)に示すように半導体ウエーハ20は個々のデバイス22に分割される。なお、分割された複数のデバイス22は、その表面に保護部材40が貼着されているので、バラバラにはならず半導体ウエーハ20の形態が維持されている。 Next, the
上述した先ダイシング法によるウエーハ分割工程を実施することによって半導体ウエーハ20を個々のデバイス22に分割したならば、個々のデバイス22に分割された半導体ウエーハ20の裏面20bにダイボンディング用の接着フィルムを装着する接着フィルム装着工程を実施する。即ち、図7の(a)および(b)に示すように接着フィルム60を個々のデバイス22に分割された半導体ウエーハ20の裏面20bに装着する。このとき、上述したように80〜200°Cの温度で加熱しつつ接着フィルム60を半導体ウエーハ20の裏面20bに押圧して貼着する。 If the
上述したように接着フィルム装着工程を実施したならば、図8に示すように接着フィルム60が装着された半導体ウエーハ20の接着フィルム60側を、環状のフレームFに装着されたダイシングテープTの表面に貼着するウエーハ支持工程を実施する。そして、半導体ウエーハ20の表面20aに貼着されている保護部材40を剥離する(保護部材剥離工程)。なお、ダイシングテープの表面に予め接着フィルムが貼着された接着フィルム付きのダイシングテープを使用する場合には、上述したウエーハ分割工程を実施することによって個々のデバイス22に分割された半導体ウエーハ20の裏面20bに、ダイシングテープの表面に貼着された接着フィルムを装着する。そして、上記保護部材剥離工程を実施する。 When the adhesive film mounting process is performed as described above, the surface of the dicing tape T mounted on the annular frame F is disposed on the side of the
以上のようにして、個々のデバイス22に分割された半導体ウエーハ20の裏面20bに接着フィルム60を装着したならが、上述したレーザー加工装置を用いて、上記接着フィルム60に各デバイス間を通してレーザー光線を照射し、接着フィルム60にレーザー加工溝を形成するレーザー加工を実施する。このレーザー加工を実施するには、上記図8に示すように環状のフレームFにダイシングテープTを介して支持された半導体ウエーハ(裏面に接着フィルム60が装着されている)を、図1に示すレーザー加工装置のチャックテーブル36上にダイシングテープT側を載置する。そして、図示しない吸引手段を作動することにより半導体ウエーハ20は、ダイシングテープTを介してチャックテーブル36上に吸引保持される。また、環状のフレームFは、クランプ362によって固定される。 As described above, when the
上述したように半導体ウエーハ20を吸引保持したチャックテーブル36は、加工送り手段37によって撮像手段9の直下の撮像領域に位置付けられる。チャックテーブル36が撮像手段9の直下に位置付けられると、チャックテーブル36上の半導体ウエーハ20は、図9に示す座標位置に位置付けられた状態となる。この状態で制御手段10は、撮像手段9に撮像指令信号を出力する。この撮像指令信号に基いて撮像手段9は、半導体ウエーハ20を撮像し、撮像した画像信号を制御手段10に送る(ウエーハ撮像工程)。 As described above, the chuck table 36 that sucks and holds the
上述したウエーハ撮像工程を実施したならば制御手段10は、撮像手段9から送られた画像信号に基いて加工すべき領域、即ち図9に示す半導体ウエーハ20における個々に分割されたデバイス22を区画する分割溝210のX,Y座標を求め、加工領域マップを作成する(加工領域マップ作成工程)。そして制御手段10は、作成した加工領域マップをランダムアクセスメモリ(RAM)103の第1の記憶領域103aに格納する。 If the wafer imaging process described above is performed, the control means 10 partitions the
次に、制御手段10は、加工送り手段37および第1の割り出し送り手段38を作動してチャックテーブル36を移動し、チャックテーブル36に保持され半導体ウエーハ20の所定の加工領域を集光器8のレーザー光線照射領域に位置付けるウエーハ位置付け工程を実施する。このウエーハ位置付け工程について、図10を参照して説明する。図10に示す半導体ウエーハ20は、直径が100mm程度のもので、4箇所の加工領域A,B,C,Dに分けられる。先ず、制御手段10は加工送り手段37および第1の割り出し送り手段38を作動して、チャックテーブル36に保持され半導体ウエーハ20の加工領域Aを集光器8の直下に位置付ける。 Next, the
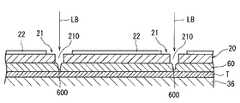
このようにして、加工領域Aを集光器8の直下に位置付けたならば、制御手段10は上記レーザー光線照射手段52のパルスレーザー光線発振手段6を作動するとともに、X軸ガルバノミラー7aの角度調整アクチュエータ72aおよびY軸ガルバノミラー7bの角度調整アクチュエータ72bを第1の記憶領域103aに格納された上記加工領域マップに基いて制御する。この結果、集光器8のエフシータレンズ(fθタレンズ)82によって集光されたパルスレーザー光線LBが図11に示すように半導体ウエーハ20における個々に分割されたデバイス22を区画する分割溝210を通して接着フィルム60に照射される(レーザー光線照射工程)。このとき、エフシータレンズ(fθタレンズ)82によって集光されるパルスレーザー光線LBの集光点を接着フィルム60の上面に合わせて照射される。なお、このレーザー光線の波長は、接着フィルム60に対して吸収性を有する波長に設定されている。この結果、図11に示すように接着フィルム60には、分割溝210に沿ってレーザー加工溝600が形成される。このレーザー光線照射工程においては、X軸ガルバノミラー7aおよびY軸ガルバノミラー7bによって偏向されたレーザー光線を集光するエフシータレンズ(fθタレンズ82)は、集光するレーザー光線をチャックテーブル36の保持面に対して垂直に照射するので、半導体ウエーハ20における個々に分割されたデバイス22を区画する分割溝210を通して確実に接着フィルム60に照射することができる。このように、レーザー光線照射工程においては、被加工物である半導体ウエーハ20とレーザー光線照射手段52とを相対移動することなく所定の加工領域を加工することができるので、生産性を向上させることができる。 In this way, when the processing area A is positioned immediately below the
なお、上記レーザー光線照射工程における加工条件は、例えば次のように設定されている。
レーザー光線の種類 :LD励起QスイッチYAGレーザー
波長 :355nm
繰り返し周波数 :100kHz
平均出力 :10W
集光スポット径 :φ15μmIn addition, the processing conditions in the said laser beam irradiation process are set as follows, for example.
Type of laser beam: LD excitation Q-switched YAG laser Wavelength: 355nm
Repetition frequency: 100 kHz
Average output: 10W
Condensing spot diameter: φ15μm
以上のようにして、チャックテーブル36に保持され半導体ウエーハ20の加工領域Aに対して上記レーザー光線照射工程を実施したならば、加工領域B,C,Dに対しても同様にレーザー光線照射工程を実施する。 As described above, if the laser beam irradiation process is performed on the processing area A of the
上述したようにチャックテーブル36に保持され半導体ウエーハ20の全ての加工領域A,B,C,Dに対して上記レーザー光線照射工程を実施したならば、ダイシングテープTを拡張して接着フィルム60をデバイス毎に分離する接着フィルム分離工程を実施する。この接着フィルム分離工程は、図示の実施形態においては図12に示すテープ拡張装置70を用いて実施する。図12に示すテープ拡張装置70は、上記環状のフレームFを保持するフレーム保持手段710と、該フレーム保持手段710に保持された環状のフレームFに装着されたダイシングテープTを拡張するテープ拡張手段720を具備している。フレーム保持手段710は、環状のフレーム保持部材711と、該フレーム保持部材711の外周に配設された固定手段としての複数のクランプ712とからなっている。フレーム保持部材711の上面は環状のフレームFを載置する載置面711aを形成しており、この載置面711a上に環状のフレーム4が載置される。そして、載置面711a上に載置された環状のフレームFは、クランプ712によってフレーム保持部材711に固定される。このように構成されたフレーム保持手段710は、テープ拡張手段720によって上下方向に進退可能に支持されている。 As described above, when the laser beam irradiation process is performed on all the processing areas A, B, C, and D of the
テープ拡張手段720は、上記環状のフレーム保持部材711の内側に配設される拡張ドラム721を具備している。この拡張ドラム721は、環状のフレームFの内径より小さく該環状のフレームFに装着されたダイシングテープTに貼着される半導体ウエーハ20の外径より大きい内径および外径を有している。また、拡張ドラム721は、下端に支持フランジ722を備えている。図示の実施形態におけるテープ拡張手段720は、上記環状のフレーム保持部材711を上下方向に進退可能な支持手段730を具備している。この支持手段730は、上記支持フランジ722上に配設された複数のエアシリンダ731からなっており、そのピストンロッド732が上記環状のフレーム保持部材711の下面に連結される。このように複数のエアシリンダ731からなる支持手段730は、環状のフレーム保持部材711を載置面711aが拡張ドラム721の上端と略同一高さとなる基準位置と、拡張ドラム721の上端より所定量下方の拡張位置の間を上下方向に移動せしめる。従って、複数のエアシリンダ731からなる支持手段730は、拡張ドラム721とフレーム保持部材711とを上下方向に相対移動する拡張移動手段として機能する。 The tape expansion means 720 includes an
以上のように構成されたテープ拡張装置70を用いて実施する接着フィルム分離工程について図13を参照して説明する。即ち、半導体ウエーハ20(分割予定ライン21に沿って個々のデバイス22に分割されている)の接着フィルム60側が貼着されているダイシングテープTが装着された環状のフレームFを、図13の(a)に示すようにフレーム保持手段710を構成するフレーム保持部材711の載置面711a上に載置し、クランプ712によってフレーム保持部材711に固定する。このとき、フレーム保持部材711は図13の(a)に示す基準位置に位置付けられている。次に、テープ拡張手段720を構成する支持手段730としての複数のエアシリンダ731を作動して、環状のフレーム保持部材711を図13の(b)に示す拡張位置に下降せしめる。従って、フレーム保持部材711の載置面711a上に固定されている環状のフレームFも下降するため、図13の(b)に示すように環状のフレームFに装着されたダイシングテープTは拡張ドラム721の上端縁に接して拡張せしめられる(テープ拡張工程)。この結果、ダイシングテープTに貼着されている接着フィルム60は放射状に引張力が作用する。このように接着フィルム60に放射状に引張力が作用すると、半導体ウエーハ20は分割予定ライン21に沿って個々のデバイス22に分割されているので、個々のデバイス22間が広がり、間隔Sが形成される。このため、接着フィルム60には引張力が作用するので、接着フィルム6は上記レーザー光線照射工程において完全切断されていない場合でも、レーザー加工溝600を基点として破断され、デバイス22毎に分離される。また、接着フィルム60が上記ウエーハ切断工程において完全切断されている場合には、上記テープ拡張工程によって個々のデバイス22間に間隔Sが形成されることにより、接着フィルム60はデバイス22毎に確実に分離される。 The adhesive film separation process implemented using the
3:チャックテーブル機構
36:チャックテーブル
37:加工送り手段
374:加工送り量検出手段
38:第1の割り出し送り手段
384:割り出し送り量検出手段
4:レーザー光線照射ユニット支持機構
42:可動支持基台
43:第2の割り出し送り手段
5:レーザー光線照射ユニット
52:レーザー光線照射手段
6:レーザー光線発振手段
7a:X軸ガルバノミラー
7b:Y軸ガルバノミラー
8:集光器
81:方向変換ミラー
82:エフシータレンズ(fθタレンズ)
9:撮像手段
10:制御手段
20:半導体ウエーハ
21:分割予定ライン
22:デバイス
30:切削装置
301:切削装置のチャックテーブル
302:切削ブレード
303:切削手段
40:保護部材
50:研削装置
501:研削装置のチャックテーブル
502:研削砥石
503:研削手段
60:接着フィルム
70:テープ拡張装置
710:フレーム保持手段
720:テープ拡張手段
730:支持手段
F:環状のフレーム
T:ダイシングテープ3: Chuck table mechanism 36: Chuck table 37: Work feed means 374: Work feed amount detection means 38: First index feed means 384: Index feed amount detection means 4: Laser beam irradiation unit support mechanism 42: Movable support base 43 : Second index feeding means 5: Laser beam irradiation unit 52: Laser beam irradiation means 6: Laser beam oscillation means 7a:
9: Imaging means 10: Control means 20: Semiconductor wafer 21: Planned division line 22: Device 30: Cutting apparatus 301: Chuck table 302 of cutting apparatus: Cutting blade 303: Cutting means 40: Protection member 50: Grinding apparatus 501: Grinding Chuck table 502: grinding wheel 503: grinding means 60: adhesive film 70: tape expansion device 710: frame holding means 720: tape expansion means 730: support means
F: Ring frame
T: Dicing tape
| Application Number | Priority Date | Filing Date | Title |
|---|---|---|---|
| JP2007108309AJP2008264805A (en) | 2007-04-17 | 2007-04-17 | Laser processing apparatus and laser processing method for adhesive film mounted on back side of wafer |
| Application Number | Priority Date | Filing Date | Title |
|---|---|---|---|
| JP2007108309AJP2008264805A (en) | 2007-04-17 | 2007-04-17 | Laser processing apparatus and laser processing method for adhesive film mounted on back side of wafer |
| Publication Number | Publication Date |
|---|---|
| JP2008264805Atrue JP2008264805A (en) | 2008-11-06 |
| Application Number | Title | Priority Date | Filing Date |
|---|---|---|---|
| JP2007108309APendingJP2008264805A (en) | 2007-04-17 | 2007-04-17 | Laser processing apparatus and laser processing method for adhesive film mounted on back side of wafer |
| Country | Link |
|---|---|
| JP (1) | JP2008264805A (en) |
| Publication number | Priority date | Publication date | Assignee | Title |
|---|---|---|---|---|
| DE102013210052A1 (en) | 2012-05-30 | 2013-12-05 | Disco Corp. | Laser processing device |
| JP2016189326A (en)* | 2015-03-27 | 2016-11-04 | 新日鐵住金株式会社 | Test apparatus and electron microscope equipped with the same |
| US20210162536A1 (en)* | 2019-12-03 | 2021-06-03 | Disco Corporation | Method of adjusting laser processing apparatus |
| CN114453733A (en)* | 2022-01-29 | 2022-05-10 | 苏州富润泽激光科技有限公司 | Galvanometer welding control method and system |
| US11654511B2 (en) | 2019-06-28 | 2023-05-23 | Disco Corporation | Laser processing apparatus |
| Publication number | Priority date | Publication date | Assignee | Title |
|---|---|---|---|---|
| WO2003008168A1 (en)* | 2001-07-16 | 2003-01-30 | Mitsuboshi Diamond Industrial Co., Ltd. | Scribing device for fragile material substrate |
| JP2007007668A (en)* | 2005-06-28 | 2007-01-18 | Disco Abrasive Syst Ltd | Laser processing equipment |
| Publication number | Priority date | Publication date | Assignee | Title |
|---|---|---|---|---|
| WO2003008168A1 (en)* | 2001-07-16 | 2003-01-30 | Mitsuboshi Diamond Industrial Co., Ltd. | Scribing device for fragile material substrate |
| JP2007007668A (en)* | 2005-06-28 | 2007-01-18 | Disco Abrasive Syst Ltd | Laser processing equipment |
| Publication number | Priority date | Publication date | Assignee | Title |
|---|---|---|---|---|
| DE102013210052A1 (en) | 2012-05-30 | 2013-12-05 | Disco Corp. | Laser processing device |
| JP2013248624A (en)* | 2012-05-30 | 2013-12-12 | Disco Corp | Laser machining apparatus |
| US9156108B2 (en) | 2012-05-30 | 2015-10-13 | Disco Corporation | Laser machining apparatus |
| JP2016189326A (en)* | 2015-03-27 | 2016-11-04 | 新日鐵住金株式会社 | Test apparatus and electron microscope equipped with the same |
| US11654511B2 (en) | 2019-06-28 | 2023-05-23 | Disco Corporation | Laser processing apparatus |
| US20210162536A1 (en)* | 2019-12-03 | 2021-06-03 | Disco Corporation | Method of adjusting laser processing apparatus |
| KR20210069583A (en) | 2019-12-03 | 2021-06-11 | 가부시기가이샤 디스코 | Method of adjusting laser machining apparatus |
| US11969824B2 (en)* | 2019-12-03 | 2024-04-30 | Disco Corporation | Method of adjusting laser processing apparatus |
| DE102020215212B4 (en) | 2019-12-03 | 2025-09-11 | Disco Corporation | Method for adapting a laser processing device |
| CN114453733A (en)* | 2022-01-29 | 2022-05-10 | 苏州富润泽激光科技有限公司 | Galvanometer welding control method and system |
| CN114453733B (en)* | 2022-01-29 | 2024-05-31 | 苏州富润泽激光科技有限公司 | Vibrating mirror welding control method and system |
| Publication | Publication Date | Title |
|---|---|---|
| US7915140B2 (en) | Fabrication method for device having die attach film on the back side thereof | |
| JP5203744B2 (en) | Breaking method of adhesive film mounted on backside of wafer | |
| JP5166899B2 (en) | Wafer division method | |
| JP6110136B2 (en) | Wafer laser processing method and laser processing apparatus | |
| JP2006245467A (en) | Laser processing method and laser processing apparatus | |
| JP2009182178A (en) | Device manufacturing method | |
| JP2008277414A (en) | Wafer division method | |
| JP2010123723A (en) | Laser processing method of wafer | |
| JP6034219B2 (en) | Wafer processing method | |
| JP2006140341A (en) | Wafer division method | |
| JP2011003757A (en) | Method of dividing wafer | |
| JP2008060164A (en) | Wafer laser processing method | |
| JP2008235398A (en) | Device manufacturing method | |
| JP4694900B2 (en) | Laser processing method | |
| JP5331417B2 (en) | Laser processing equipment | |
| JP5722071B2 (en) | Semiconductor device manufacturing method and laser processing apparatus | |
| JP2011108708A (en) | Method of processing wafer | |
| JP2009146949A (en) | Wafer division method | |
| JP2010064125A (en) | Laser beam machining apparatus | |
| JP5144197B2 (en) | Laser processing apparatus and adhesive film cutting method | |
| JP2008264805A (en) | Laser processing apparatus and laser processing method for adhesive film mounted on back side of wafer | |
| JP2015015359A (en) | Method for processing wafer | |
| JP6482184B2 (en) | Laser processing equipment | |
| JP5940783B2 (en) | Processing method of plate | |
| JP4630731B2 (en) | Wafer division method |
| Date | Code | Title | Description |
|---|---|---|---|
| A621 | Written request for application examination | Free format text:JAPANESE INTERMEDIATE CODE: A621 Effective date:20100324 | |
| A977 | Report on retrieval | Free format text:JAPANESE INTERMEDIATE CODE: A971007 Effective date:20111209 | |
| A131 | Notification of reasons for refusal | Free format text:JAPANESE INTERMEDIATE CODE: A131 Effective date:20120214 | |
| A02 | Decision of refusal | Free format text:JAPANESE INTERMEDIATE CODE: A02 Effective date:20120612 |