








本発明は、生体内に植え込む装置に関するものであり、特に、生体外装置との通信を行うための生体内医療装置のアンテナに関するものである。 The present invention relates to a device implanted in a living body, and particularly to an antenna of an in-vivo medical device for communicating with an in-vitro device.
現在、生体内に植え込み、医療を行う生体内医療装置において、医療従事者の行動や患者の姿勢に関わらずに各種医療データ(例えば心電図)の伝送を可能とするために、生体外に配置した無線装置との通信を行う機能を搭載した生体内医療装置の開発が行われている。その中で、世界各国において、使用周波数帯域を402MHz〜405MHzとする規定が整備されつつある。 Currently, in-vivo medical devices that are implanted in vivo and perform medical care are placed outside the body to enable transmission of various medical data (for example, an electrocardiogram) regardless of the behavior of the medical staff and the posture of the patient. Development of an in-vivo medical device equipped with a function of communicating with a wireless device has been performed. In the world, regulations for setting the used frequency band to 402 MHz to 405 MHz are being prepared in various countries around the world.
生体内医療装置に搭載するアンテナとしては、例えば特許文献1に記載されているように、生体内医療装置にRFIDタグを搭載したアンテナ構成が示されている。RFIDタグには、数mm程度の小型な基板にRFIDチップとアンテナが搭載されており、このRFIDタグが生体内医療装置に搭載される構成であった。 As an antenna mounted on the in-vivo medical device, for example, as described in
この構成により、生体内にあるRFIDタグと、生体外にある質問器との、生体内外通信が可能となる。 With this configuration, in-vivo / external communication between an RFID tag in a living body and an interrogator outside the living body becomes possible.
一方、一般的に生体内医療装置は、患者の負担をできるだけ小さくするために、装置自体の小型化が急速に進んでいる。アンテナの性能を確保するためには、一般にアンテナ長を波長の半分とすればよいが、生体内に植え込み、小型化が望まれている生体内医療装置に搭載するには、アンテナは50mm以下程度であることが要求される。これは、400MHz帯の波長約750mmに対して10分の1程度と微小であり、そのため、アンテナの放射抵抗が小さくなり、放射性能が劣化してしまう(感度が悪くなる)という問題点がある。 On the other hand, in general, in-vivo medical devices are rapidly becoming smaller in order to reduce the burden on the patient as much as possible. In order to ensure the performance of the antenna, it is generally only necessary to set the antenna length to half the wavelength. It is required to be. This is as small as about one-tenth of a wavelength of about 750 mm in the 400 MHz band. Therefore, there is a problem that the radiation resistance of the antenna is reduced and the radiation performance is deteriorated (sensitivity is deteriorated). .
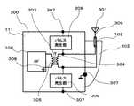
これらの背景より、アンテナの放射特性を改善する方法としては、例えば特許文献2に記載されているように、図9では従来の生体内医療装置として、植え込み型除細動器におけるアンテナの構成が示されている。図9において、植え込み型除細動器300は、パルス発生部306の一方の端子を、樹脂ヘッダ302に支持されたアンテナ301(アンテナワイヤ309、リード線102)に接続し、他方の端子を金属筐体111に筐体接地点307で接続することで、アンテナ301と金属筐体111をパルス発生部306の電極として動作させ、筐体接地点307ではなく無線回路接地308に接地した無線回路108(二次巻線305側)と、アンテナ301(一次巻線304側)の間に、変圧器303を配置した構成であった。 From these backgrounds, as a method for improving the radiation characteristics of an antenna, for example, as described in
この構成により、生体内装置の中で最も大きな構成要素であるリード線102(パルス発生部306の電極)をアンテナ301としても使用できるため、アンテナの放射特性を改善することができる。
しかしながら、前記特許文献1に記載されている従来構成では、生体内のRFIDタグに搭載されたアンテナ構成の詳細が記載されておらず、また、アンテナが数mm程度と小さく、生体内でのアンテナ利得が低く、通信距離が短いため、生体外にある質問器を生体内医療装置が植え込まれた場所に近づける必要があり、患者の姿勢に関わらず質問器の位置を固定して生体内外通信をするのは困難である。したがって、通信距離を長くするためにはアンテナを大きくする必要があるという課題があった。 However, in the conventional configuration described in
また、前記特許文献2に記載されている従来構成では、リード線をアンテナとして使用するために、生体内に植え込まれる場合において形状及び配線位置に個人差が生じ、不整合損失やアンテナ利得などの放射性能が劣化し、安定したアンテナ性能の確保が困難であるという課題があった。 Further, in the conventional configuration described in
本発明は、上記課題を解決するために、生体外に配置した無給電素子を、生体内のアンテナ素子に近接させることで、生体内のアンテナ素子を小さくでき、生体内のアンテナ配置に対して影響されない高い放射特性を有する生体内装置を提供するものである。 In order to solve the above-mentioned problems, the present invention can reduce the antenna element in the living body by bringing the parasitic element arranged outside the living body close to the antenna element in the living body. It is an object of the present invention to provide an in-vivo device having high radiation characteristics that are not affected.
前記従来の課題を解決するため、本発明の生体内装置は、生体内部に配置される生体内装置に搭載されるアンテナ素子と、前記アンテナ素子に近接して生体外部に配置される無給電素子とを備える。 In order to solve the above-described conventional problems, an in-vivo device of the present invention includes an antenna element mounted on an in-vivo device disposed inside the living body, and a parasitic element disposed outside the living body in the vicinity of the antenna element. With.
この構成により、アンテナ素子と無給電素子が容量結合し、無給電素子がアンテナ素子として動作することで、アンテナ性能を高くすることができる。また、これによって生体内に配置されたアンテナ素子を小さくすることができ、生体への負担を軽減することができる。 With this configuration, the antenna element and the parasitic element are capacitively coupled, and the parasitic element operates as the antenna element, so that the antenna performance can be improved. In addition, this makes it possible to reduce the antenna element disposed in the living body and reduce the burden on the living body.
また、本発明の生体内装置は、生体内装置に配置され生体内から生体表面にわずかに突起した第1アンテナ素子と、生体表面に配置された第2アンテナ素子とを備え、第1アンテナ素子の突起部分と第2アンテナ素子とが接続するように構成する。 The in-vivo device of the present invention includes a first antenna element that is disposed on the in-vivo device and slightly protrudes from the inside of the living body to the surface of the living body, and a second antenna element that is disposed on the surface of the living body. The projecting portion of the second antenna element is connected to the second antenna element.
この構成により、第2アンテナ素子は生体による放射性能劣化の影響が小さくなり、アンテナ性能を高くすることができる。また、これによって、生体内に配置された第1アンテナ素子を小さくすることができ、生体への負担を軽減することができる。 With this configuration, the second antenna element is less affected by the deterioration of radiation performance due to the living body, and the antenna performance can be improved. In addition, this makes it possible to reduce the first antenna element disposed in the living body and reduce the burden on the living body.
また、本発明の生体内装置は、前記無給電素子および第2アンテナ素子を、可撓性を持った導電性の粘着シートで構成する。 In the in-vivo device of the present invention, the parasitic element and the second antenna element are formed of a conductive adhesive sheet having flexibility.
この構成により、生体表面の所定の位置に前記無給電素子および第2アンテナ素子を配置することができる。 With this configuration, the parasitic element and the second antenna element can be arranged at predetermined positions on the surface of the living body.
また、本発明の生体内装置は、前記無給電素子及び前記第2アンテナ素子を、衣類の所定の位置に備え付けて構成する。 Moreover, the in-vivo device of the present invention is configured by providing the parasitic element and the second antenna element at predetermined positions of clothing.
この構成により、生体に粘着物を接触させることなく、所定の位置に前記無給電素子及び前記第2アンテナ素子を配置することができる。 With this configuration, the parasitic element and the second antenna element can be disposed at predetermined positions without bringing an adhesive into contact with the living body.
また、本発明の生体内装置は、前記無給電素子及び前記第2アンテナ素子を、前記衣類に埋設して構成する。 The in-vivo device of the present invention is configured by embedding the parasitic element and the second antenna element in the clothing.
この構成により、上記と同様に、生体に粘着物を接触させることなく、所定の位置に前記無給電素子及び前記第2アンテナ素子を配置することができる。 With this configuration, the parasitic element and the second antenna element can be arranged at predetermined positions without bringing an adhesive into contact with the living body, as described above.
以上のように、本発明によれば、生体内装置は、生体内部に配置される生体内装置に搭載されるアンテナ素子と、前記アンテナ素子に近接して生体外部に配置される無給電素子とを備えることにより、アンテナ素子と無給電素子が容量結合し、無給電素子がアンテナ素子として動作することで、アンテナ性能を高くすることができる。また、これによって生体内に配置されたアンテナ素子を小さくすることができ、生体への負担を軽減することができる。 As described above, according to the present invention, an in-vivo device includes an antenna element mounted on an in-vivo device disposed inside a living body, and a parasitic element disposed outside the living body in proximity to the antenna element. Since the antenna element and the parasitic element are capacitively coupled and the parasitic element operates as the antenna element, the antenna performance can be improved. In addition, this makes it possible to reduce the antenna element disposed in the living body and reduce the burden on the living body.
以下、本発明の実施の形態について、図面を参照しながら説明する。 Hereinafter, embodiments of the present invention will be described with reference to the drawings.
(実施の形態1)
図1は本発明の実施の形態1における生体内装置の使用状態図、図2〜5は本発明の実施の形態1における生体内装置のアンテナ構成図を示している。なお、動作周波数を例えば400MHzに設定して説明する。(Embodiment 1)
FIG. 1 is a diagram showing the state of use of the in-vivo device according to the first embodiment of the present invention, and FIGS. In the description, the operating frequency is set to 400 MHz, for example.
図1において、生体内装置100は、人体1の内部に配置され、生体内装置100の筐体103に搭載されたモノポール素子101は、人体1の表面から例えば4mm程度の深さに配置され、心臓2の情報(心電図などのデータ)を観測するためのリード線102は心臓2に固定される。無給電素子104は可撓性を持った導電性の粘着シートで構成され、モノポール素子101に近接した人体1の表面に密着して配置される。生体内装置100は、生体外アンテナ素子3を搭載した生体外装置4と通信を行い、リード線102が観測した情報の転送および、生体内装置100のプログラムの書き換えを行う。 In FIG. 1, the in-
図2において、生体内装置100の筐体である樹脂筐体106は樹脂で構成されており、例えば縦50mm、横50mm、厚み15mm程度に設定する。モノポール素子101は、例えば縦15mm、横12mmのL字型構造とし、整合回路107を介して無線回路108に接続される。整合回路107は、モノポール素子101と無線回路108のインピーダンス整合をとる機能を持つ。リード線102は、心電図などの観測データを検出する検出回路109に接続される。基板グラウンド110は、例えば縦45mm、横45mmに設定する。整合回路107および無線回路108、検出回路109は、基板グラウンド110に接地される。無給電素子104は、例えば縦30mm、横30mm、厚み1mm程度の矩形板形状に設定し、(基板グラウンド110に重ならないように)YZ面において、モノポール素子101と重なるように、例えば無給電素子104の中心が、モノポール素子101の+Y方向に伸びた素子(横12mm)の中心に重なるように配置し、+X方向においては、モノポール素子101にできるだけ近接させるために、+X方向に4mm(図1で示す人体1の表面からモノポール素子101までの距離)程度の距離に配置される。 In FIG. 2, a
このように構成された生体内装置のアンテナの動作を説明する。モノポール素子101の素子長は上述したように27mm程度であり、400MHzの波長750mmに比べ0.04波長と微小であるため、アンテナ電流は、モノポール素子101だけでなく基板グラウンド110にも分布する。これらのアンテナ電流が分布するモノポール素子101および基板グラウンド110が、無給電素子104と容量結合することによって、無給電素子104に励振電流が分布する。これにより、生体外に配置した無給電素子104が容量結合したアンテナ素子として動作し、無給電素子104を配置していない場合よりも放射効率が3dB改善する。 The operation of the antenna of the in-vivo device configured as described above will be described. Since the element length of the
このように本実施の形態1によれば、生体内に配置されたモノポール素子101に近接して、生体外に無給電素子104を配置する構成により、モノポール素子101および基板グラウンド110と無給電素子104が容量結合し、無給電素子104がアンテナ素子として動作することで、アンテナ性能を高くすることができる。また、これによって生体内に配置されたモノポール素子101を小さくすることができ、生体への負担を軽減することができる。 As described above, according to the first embodiment, the
なお、植え込み型除細動器のような、治療のために人体へ電気的刺激を与える装置の場合、金属で構成した筐体を電極として使用することがある。このような場合においては、図3に示すように(無給電素子104を金属筐体111に重ならないように配置し)、基板グラウンド110を金属筐体111に接地点112で接地することで、金属筐体111にアンテナ電流が分布するため、筐体が樹脂である場合と同等の効果が得られる。 In the case of a device that applies electrical stimulation to a human body for treatment, such as an implantable cardioverter defibrillator, a metal housing may be used as an electrode. In such a case, as shown in FIG. 3 (the
なお、図4に示すように、無給電素子104を中心の位置を変えずに、例えば直径30mm、厚さ1mm程度の円板形状とする。これにより、無給電素子104を配置していない場合よりも放射効率が4dB改善し、図2で説明した矩形板形状の場合よりも1dB改善する。また、金属筐体111に重ならないように、無給電素子104を大型化することで、アンテナ性能をさらに高くすることができる。 As shown in FIG. 4, the
なお、無給電素子104は、人体1の表面に配置するため、小型であることが望まれる。無給電素子104をミアンダ形状とすることで、体積一定のまま半波長(375mm)の長さを確保できるため、無給電素子104をミアンダ形状にせずに半波長とした場合の放射効率と同様の効果が得られる。 In addition, since the
なお、本実施の形態では、無給電素子104は可撓性を持った導電性の粘着シートで構成しているが、図5に示すように、人体1に固定して装着できる衣類205において、無給電素子104を衣類裏面206と衣類表面207とで挟むように衣類205の所定の位置に埋設しても良い。この構成により人体1に接着物を接触させることなく、人体1に対して所定の位置に無給電素子104を配置することが可能となり、導電性粘着シート構成の場合の放射効率と同様の効果が得られる。 In the present embodiment, the
なお、本実施の形態では、生体内装置100に搭載するアンテナをモノポール素子101としているが、ループアンテナ、逆Fアンテナ、パッチアンテナなどを用いても良い。 In this embodiment, the antenna mounted on the in-
(実施の形態2)
図6は本発明の実施の形態2における生体内装置の使用状態図、図7は本発明の実施の形態2における生体内装置のアンテナ構成図、図8は本発明の実施の形態2における生体内装置のアンテナを衣類に備え付ける手段を示している。以下の説明では、図1、図2と同じ構成要素については同じ符号を用い、説明を省略する。(Embodiment 2)
FIG. 6 is a diagram showing a state of use of the in-vivo device according to the second embodiment of the present invention, FIG. 7 is a configuration diagram of the antenna of the in-vivo device according to the second embodiment of the present invention, and FIG. Fig. 5 shows means for attaching an antenna of an intracorporeal device to a garment. In the following description, the same components as those in FIG. 1 and FIG.
図6において、生体内装置100の筐体103に搭載された第1アンテナ素子201は、人体1の表面から例えば2mm程度突起して配置される。第2アンテナ素子202は可撓性を持った導電性粘着シートで構成され、第1アンテナ素子201の突起部204で電気的に接続される。 In FIG. 6, the
図7において、第1アンテナ素子201は、例えば、縦15mm、横12mmのL字型構造とし、開放端が+X方向になるように、整合回路107を介して無線回路108に接続される。第2アンテナ素子202は、例えば、直径30mm、厚さ1mm程度の円板形状に設定し、第1アンテナ素子201の開放端と第2アンテナ素子202の中心が電気的に接続されるように第2アンテナ素子202を配置する。 In FIG. 7, the
このように構成された生体内装置のアンテナの動作を説明する。生体内に配置された第1アンテナ素子201に分布するアンテナ電流は、生体外に配置された第2アンテナ素子202にも分布する。これにより、第2アンテナ素子201は、生体による放射性能劣化の影響が小さくなり、第2アンテナ素子202を配置しない場合よりも放射効率が9dB改善する。 The operation of the antenna of the in-vivo device configured as described above will be described. The antenna current distributed to the
このように、本実施の形態2によれば、生体内に配置した第1アンテナ素子201と、生体外に配置した第2アンテナ素子202を電気的に接続する構成により、第2アンテナ素子201は、生体による放射性能劣化の影響が小さくなり、アンテナ性能を高くすることができる。また、これによって、生体内に配置された第1アンテナ素子201を小さくすることもでき、生体への負担を軽減することができる。また、第1アンテナ素子201を大きくすることなく、第2アンテナ素子202を大きくすることによって、更にアンテナ性能を改善することができる。 As described above, according to the second embodiment, the
なお、本実施の形態では、第2アンテナ素子202は可撓性を持った導電性粘着シートで構成しているが、図8に示すように、実施の形態1で述べたのと同様に、衣類に埋設し、さらに第1アンテナ素子201と第2アンテナ素子202とを接続するために、衣類裏面206に穴208を開けるように構成しても良い。 In the present embodiment, the
なお、実施の形態1で述べたのと同様に、筐体は金属筐体でも良い。第2アンテナ素子202をミアンダ形状にしても良い。 As described in the first embodiment, the casing may be a metal casing. The
本発明の生体内装置は、生体内装置は、生体内部に配置される生体内装置に搭載されるアンテナ素子と、前記アンテナ素子に近接して生体外部に配置される無給電素子とを備えることにより、アンテナ素子と無給電素子が容量結合し、無給電素子がアンテナ素子として動作することで、アンテナ性能を高くすることができる。また、これによって生体内に配置されたアンテナ素子を小さくすることができ、生体への負担を軽減することができる。したがって、ペースメーカや、植え込み型除細動器などに搭載するアンテナの構成として有用である。 In the in-vivo device of the present invention, the in-vivo device includes an antenna element mounted on the in-vivo device disposed inside the living body, and a parasitic element disposed outside the living body in proximity to the antenna element. Thus, the antenna element and the parasitic element are capacitively coupled, and the parasitic element operates as the antenna element, whereby the antenna performance can be improved. In addition, this makes it possible to reduce the antenna element disposed in the living body and reduce the burden on the living body. Therefore, it is useful as a configuration of an antenna mounted on a pacemaker, an implantable cardioverter defibrillator, or the like.
1 人体
2 心臓
3 生体外アンテナ素子
4 生体外装置
100 生体内装置
101 モノポール素子
103 筐体
104 無給電素子
105 粘着シート
106 樹脂筐体
107 整合回路
109 検出回路
110 基板グラウンド
112 接地点
201 第1アンテナ素子
202 第2アンテナ素子
204 突起部
205 衣類
206 衣類裏面
207 衣類表面
208 穴DESCRIPTION OF
| Application Number | Priority Date | Filing Date | Title |
|---|---|---|---|
| JP2007012303AJP2008178447A (en) | 2007-01-23 | 2007-01-23 | In vivo device |
| Application Number | Priority Date | Filing Date | Title |
|---|---|---|---|
| JP2007012303AJP2008178447A (en) | 2007-01-23 | 2007-01-23 | In vivo device |
| Publication Number | Publication Date |
|---|---|
| JP2008178447Atrue JP2008178447A (en) | 2008-08-07 |
| Application Number | Title | Priority Date | Filing Date |
|---|---|---|---|
| JP2007012303APendingJP2008178447A (en) | 2007-01-23 | 2007-01-23 | In vivo device |
| Country | Link |
|---|---|
| JP (1) | JP2008178447A (en) |
| Publication | Publication Date | Title |
|---|---|---|
| US7554493B1 (en) | Folded monopole antenna for implanted medical device | |
| US8565891B2 (en) | Wireless implantable medical device | |
| US12040563B2 (en) | No-matching-circuit multi-band diversity antenna system for medical external-communications | |
| US7912552B2 (en) | Medical electrical device including novel means for reducing high frequency electromagnetic field-induced tissue heating | |
| US8352044B2 (en) | Systems for enabling telemetry in an implantable medical device | |
| US20140163338A1 (en) | Analyte Sensor with Slot Antenna | |
| US20060247711A1 (en) | Telemetry antennas for implantable medical devices | |
| US20060224206A1 (en) | Optional telemetry antenna for implantable medical devices | |
| WO2006017256A2 (en) | Medical electrical device including novel means for reducing high frequency electromagnetic field-induced tissue heating | |
| KR102066466B1 (en) | Micro triple band antenna | |
| US11596794B2 (en) | Enhanced wireless communication and power transfer between external and implanted devices | |
| JP2014521254A (en) | Multi-band load antenna | |
| CN102917636A (en) | Analyte sensor having a slot antenna | |
| JP2008178447A (en) | In vivo device | |
| JP2007275451A (en) | In vivo device | |
| Brinda et al. | Miniaturized Antenna with Combination of Meander and Square Spiral Slot for Biomedical Applications | |
| WO2011111008A1 (en) | Telemetry system for sensing applications in lossy media | |
| WO2022034262A1 (en) | A cover structure and a module for a miniaturized wearable rf-device and a wearable rf-device | |
| US20240423473A1 (en) | In-vivo implantable medical device | |
| Lamkaddem | Miniaturization of Antennas and Wireless Power Transfer System for Biomedical Implantable Devices | |
| Riga | Design and performance study of implantable and ingestible antennas | |
| WO2024231388A1 (en) | A wearable electronic device comprising an rf antenna | |
| JP2006166958A (en) | In vivo medical device | |
| JP2010104388A (en) | In-vivo instrument | |
| TW201422275A (en) | Electro-magnetic signal coupled device, antenna module, implant device, and system for medical-implant wireless transmission |