



本発明は、モードに応じて異なるクロック周波数で動作する演算処理部を有する放送受信端末、当該放送受信端末が行うモード切替方法、及び当該放送受信端末で実行されるモード切替プログラムに関する。 The present invention relates to a broadcast receiving terminal having an arithmetic processing unit that operates at different clock frequencies depending on modes, a mode switching method performed by the broadcast receiving terminal, and a mode switching program executed by the broadcast receiving terminal.
日本の地上デジタルテレビ放送のサービス(ISDB-T)の1つに「ワンセグ(1seg)」と呼ばれる携帯電話や移動体端末向けのサービスがある。ワンセグによるテレビ放送に対応した放送受信端末の電源が電池である場合、駆動時間の点から電力消費は小さい方が望ましい。このため、放送受信端末には、音声再生モードとして、良好な音質を実現するための機能(以下「音響付加機能」という。)を実行する通常モードと、音響付加機能を実行しないため通常モードと比べて音質は劣るが電力消費が小さい省電力モードとの2つのモードが用意されている。図4に示すように、これら2つのモードの内のどちらのモードに放送受信端末を設定するかは、放送の視聴開始前に行われる。 One of Japan's terrestrial digital television broadcasting services (ISDB-T) is a service for mobile phones and mobile terminals called “1seg”. When the power source of a broadcast receiving terminal that supports one-segment television broadcasting is a battery, it is desirable that the power consumption be small in terms of driving time. For this reason, the broadcast receiving terminal has a normal mode for executing a function for realizing good sound quality (hereinafter referred to as “sound addition function”), and a normal mode for not executing a sound addition function. Two modes are provided: a power saving mode, which is inferior in sound quality but consumes less power. As shown in FIG. 4, which of these two modes is set for the broadcast receiving terminal is performed before the start of broadcast viewing.
上記説明した放送受信端末は、映像及び音声を再生するためのデータ処理や制御等を行う演算処理部を有する。演算処理部は、通常モードに設定された場合は音響付加機能を実行するが、省電力モードに設定された場合は音響付加機能を実行しない。このため、通常モードのときと比較して、省電力モードのときの方が演算処理部の処理量は少ない。したがって、演算処理部のクロック周波数を下げても動作上支障はない。むしろ、省電力の点から鑑みると、低いクロック周波数で演算処理部を動作させた方が電力消費が少なくなるため好ましい。このため、省電力モード時には、音響付加機能を実行しないだけでなく、内部クロック及び外部クロックを含むクロック周波数を下げると、電力消費を大幅に低減させることができる。 The broadcast receiving terminal described above has an arithmetic processing unit that performs data processing and control for reproducing video and audio. The arithmetic processing unit executes the sound addition function when the normal mode is set, but does not execute the sound addition function when the power saving mode is set. For this reason, the processing amount of the arithmetic processing unit is smaller in the power saving mode than in the normal mode. Therefore, there is no problem in operation even if the clock frequency of the arithmetic processing unit is lowered. Rather, in view of power saving, it is preferable to operate the arithmetic processing unit at a low clock frequency because power consumption is reduced. For this reason, in the power saving mode, not only the sound addition function is not executed, but also the power consumption can be greatly reduced by lowering the clock frequency including the internal clock and the external clock.
但し、演算処理部が処理中にクロック周波数を切り替えると、演算処理部で実行されているソフトウェア及び演算処理部を含むハードウェアの動作が不安定になる可能性が高い。また、放送視聴中は再生を一時停止することができないため、クロック周波数の切り替えを行えない。このため、放送視聴中でもモードを切り替えることのできる放送受信端末が望まれていた。 However, if the clock frequency is switched during processing by the arithmetic processing unit, there is a high possibility that the operation of the software executed by the arithmetic processing unit and the hardware including the arithmetic processing unit will become unstable. Further, since the playback cannot be paused while watching the broadcast, the clock frequency cannot be switched. For this reason, there has been a demand for a broadcast receiving terminal capable of switching modes even during broadcast viewing.
本発明の目的は、放送視聴中でもモードを切り替えることのできる放送受信端末、当該放送受信端末が行うモード切替方法、及び当該放送受信端末で実行されるモード切替プログラムを提供することである。 An object of the present invention is to provide a broadcast receiving terminal capable of switching modes even while watching a broadcast, a mode switching method performed by the broadcast receiving terminal, and a mode switching program executed by the broadcast receiving terminal.
本発明は、モードに応じて異なるクロック周波数で動作する演算処理部を有する放送受信端末が行うモード切替方法であって、前記演算処理部が動作中にモード切替が指示されたかを判別するステップと、前記モード切替が指示されたとき、前記演算処理部をアイドリング状態に設定するステップと、指示されたモードに前記放送受信端末を切り替えるステップと、前記演算処理部のアイドリング状態を解除するステップと、を有するモード切替方法を提供する。 The present invention is a mode switching method performed by a broadcast receiving terminal having an arithmetic processing unit that operates at a different clock frequency according to a mode, and determining whether mode switching is instructed while the arithmetic processing unit is operating; A step of setting the arithmetic processing unit to an idle state when the mode switching is instructed; a step of switching the broadcast receiving terminal to the instructed mode; and a step of releasing the idling state of the arithmetic processing unit; A mode switching method is provided.
上記モード切替方法は、前記モード切替が指示されたとき、前記演算処理部をアイドリング状態に設定する前に、前記放送受信端末が有する音量調整部を制御して、前記放送受信端末から出力される音をフェードアウト又はミュートするステップと、前記演算処理部のアイドリング状態を解除した後に、前記放送受信端末から出力される音をフェードイン又はミュート解除するステップと、を有する。 In the mode switching method, when the mode switching is instructed, the volume control unit of the broadcast receiving terminal is controlled and output from the broadcast receiving terminal before setting the arithmetic processing unit to an idling state. Fading out or muting the sound, and fading in or unmuting the sound output from the broadcast receiving terminal after canceling the idling state of the arithmetic processing unit.
上記モード切替方法では、前記放送受信端末は、第1のクロック周波数で前記演算処理部が動作する第1のモードと、前記第1のクロック周波数よりも低い第2のクロック周波数で前記演算処理部が動作する第2のモードとの間で切り替えられる。 In the mode switching method, the broadcast receiving terminal has a first mode in which the arithmetic processing unit operates at a first clock frequency and the arithmetic processing unit at a second clock frequency lower than the first clock frequency. Is switched to the second mode in which is operated.
上記モード切替方法では、前記放送受信端末が有する音声処理部を制御して、前記音声処理部が有する付加機能の実行と非実行を切り替える。 In the mode switching method, an audio processing unit included in the broadcast receiving terminal is controlled to switch between execution and non-execution of an additional function included in the audio processing unit.
上記モード切替方法では、前記第1のモードでは、前記放送受信端末が有する音声処理部の付加機能を実行し、前記第2のモードでは、前記音声処理部の付加機能を実行しない。 In the mode switching method, the additional function of the audio processing unit included in the broadcast receiving terminal is executed in the first mode, and the additional function of the audio processing unit is not executed in the second mode.
本発明は、モードに応じて異なるクロック周波数で動作する演算処理部を有する放送受信端末で実行されるモード切替プログラムであって、前記放送受信端末が有するコンピュータに、前記演算処理部が動作中にモード切替が指示されたかを判別する機能と、前記モード切替が指示されたとき、前記演算処理部をアイドリング状態に設定する機能と、指示されたモードに前記放送受信端末を切り替える機能と、前記演算処理部のアイドリング状態を解除する機能と、を実現させるためのモード切替プログラムを提供する。 The present invention is a mode switching program executed by a broadcast receiving terminal having an arithmetic processing unit that operates at a different clock frequency according to a mode, wherein the arithmetic processing unit is operating in a computer included in the broadcast receiving terminal. A function for determining whether mode switching is instructed; a function for setting the arithmetic processing unit to an idling state when the mode switching is instructed; a function for switching the broadcast receiving terminal to the instructed mode; A mode switching program for realizing a function of canceling the idling state of the processing unit is provided.
上記モード切替プログラムでは、前記モード切替が指示されたとき、前記コンピュータに、前記演算処理部をアイドリング状態に設定する前に、前記放送受信端末が有する音量調整部を制御して、前記放送受信端末から出力される音をフェードアウト又はミュートする機能と、前記演算処理部のアイドリング状態を解除した後に、前記放送受信端末から出力される音をフェードイン又はミュート解除する機能と、を実現させる。 In the mode switching program, when the mode switching is instructed, the computer controls the volume adjusting unit of the broadcast receiving terminal before setting the arithmetic processing unit to an idling state, and the broadcast receiving terminal And a function of fading in or muting the sound output from the broadcast receiving terminal after canceling the idling state of the arithmetic processing unit.
上記モード切替プログラムでは、前記放送受信端末は、第1のクロック周波数で前記演算処理部が動作する第1のモードと、前記第1のクロック周波数よりも低い第2のクロック周波数で前記演算処理部が動作する第2のモードとの間で切り替えられる。 In the mode switching program, the broadcast receiving terminal uses the first processing mode in which the arithmetic processing unit operates at a first clock frequency and the arithmetic processing unit at a second clock frequency lower than the first clock frequency. Is switched to the second mode in which is operated.
上記モード切替プログラムでは、前記放送受信端末が有する音声処理部を制御して、前記音声処理部が有する付加機能の実行と非実行を切り替える。 In the mode switching program, an audio processing unit included in the broadcast receiving terminal is controlled to switch between execution and non-execution of an additional function included in the audio processing unit.
上記モード切替プログラムでは、前記第1のモードでは、前記放送受信端末が有する音声処理部の付加機能を実行し、前記第2のモードでは、前記音声処理部の付加機能を実行しない。 In the mode switching program, the additional function of the audio processing unit included in the broadcast receiving terminal is executed in the first mode, and the additional function of the audio processing unit is not executed in the second mode.
本発明は、モードに応じて異なるクロック周波数で動作する演算処理部を有する放送受信端末であって、前記演算処理部が動作中にモード切替が指示されたかを判別し、前記モード切替が指示されたとき、前記演算処理部をアイドリング状態に設定し、指示されたモードに前記放送受信端末を切り替え、前記演算処理部のアイドリング状態を解除する制御部を備えた放送受信端末を提供する。 The present invention is a broadcast receiving terminal having an arithmetic processing unit that operates at a different clock frequency according to a mode, and determines whether mode switching is instructed while the arithmetic processing unit is operating, and the mode switching is instructed. And providing the broadcast receiving terminal with a control unit that sets the arithmetic processing unit to an idle state, switches the broadcast receiving terminal to an instructed mode, and cancels the idling state of the arithmetic processing unit.
本発明に係るモード切替方法、モード切替プログラム及び放送受信端末によれば、放送視聴中でもモードを切り替えることができる。 According to the mode switching method, the mode switching program, and the broadcast receiving terminal according to the present invention, the mode can be switched even while the broadcast is being viewed.
以下、本発明の実施形態について、図面を参照して説明する。以下説明する実施形態の放送受信端末は、上記説明した「ワンセグ」によるテレビ放送に対応している。 Hereinafter, embodiments of the present invention will be described with reference to the drawings. The broadcast receiving terminal of the embodiment described below is compatible with the above-described “one-segment” television broadcast.
なお、本実施例の説明では、ソフトウェアのみによる実行を想定しているが、各処理ステップを同等の処理をするハードウェアと前記ハードウェアを制御するソフトウェアにより、実現することも可能である。例えば、判別するステップは、同等の処理をする判別部を備えることにより、設定するステップは、同等の処理をする設定部を判定するための情報を検出するハードウェアとソフトウェアからの制御により設定ができる設定部を備えることにより、ソフトウェアのみによる実行と同等の処理を実現しても良い。 In the description of the present embodiment, it is assumed that execution is performed only by software. However, each processing step may be realized by hardware that performs equivalent processing and software that controls the hardware. For example, the determining step includes a determining unit that performs equivalent processing, and the setting step is set by control from hardware and software that detects information for determining a setting unit that performs equivalent processing. By providing a setting unit that can perform the same processing as that executed only by software may be realized.
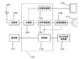
  図1は、一実施形態の放送受信端末を示すブロック図である。図1に示すように、本実施形態の放送受信端末は、アンテナ101と、受信部103と、分離部105と、音声処理部107と、音量調整部109と、スピーカ111と、映像処理部113と、ディスプレイ115と、操作部117と、制御部119と、BIOS設定記憶部121とを備える。なお、分離部105、音声処理部107、映像処理部113及び制御部119は、プログラムを実行することによって動作するCPU等の演算処理装置によって実現されていても良い。  FIG. 1 is a block diagram illustrating a broadcast receiving terminal according to an embodiment. As shown in FIG. 1, the broadcast receiving terminal of this embodiment includes an
  アンテナ101は、デジタル放送電波を受信する。受信部103は、アンテナ101が受信した電波を処理して、トランスポートストリーム信号(TS)を出力する。分離部105は、トランスポートストリーム信号をオーディオエレメンタリストリーム信号(AUDIO ES)とビデオエレメンタリストリーム信号(VIDEO ES)とに分離して、オーディオエレメンタリストリーム信号を音声処理部107に入力し、ビデオエレメンタリストリーム信号を映像処理部113に入力する。  The
  音声処理部107は、オーディオエレメンタリストリーム信号のデータを処理する。音声処理部107に入力されるオーディオエレメンタリストリーム信号は、「MPEG2  AAC+SBR」と呼ばれる音声圧縮方式で圧縮されたデータであり、オーディオ符号化データと帯域拡張情報とを含む。オーディオ符号化データは、AAC(Advanced Audio Coding)と呼ばれる音声圧縮方式で圧縮されたデータである。なお、オーディオデータをAAC圧縮すると高周波部分のデータはなくなってしまうため、オーディオ符号化データを復号化しても高音域は再生されない。帯域拡張情報は、オーディオデータをAAC圧縮した際になくなってしまう高周波部分のデータと低周波部分のデータとの関連性を示す情報を圧縮したSBR(登録商標)(Spectral Band Replication)データである。  The
  図2は、音声処理部107を示すブロック図である。図2に示すように、音声処理部107は、帯域拡張情報分離部151と、AAC復号化部153と、切替部155と、SBR処理部157と、D/A変換部159とを有する。帯域拡張情報分離部151は、オーディオエレメンタリストリーム信号をオーディオ符号化データと帯域拡張情報とに分離して、オーディオ符号化データをAAC復号化部153に入力し、帯域拡張情報をSBR処理部157に入力する。AAC復号化部153は、オーディオ符号化データを復号化して低域オーディオデータを出力する(以下、AAC復号化部153による処理を「AAC処理」という。)。SBR処理部157は、帯域拡張情報及び低域オーディオデータに基づいて高音域を予測して高域オーディオデータを生成する(以下、SBR処理部157による処理を「SBR処理」という。)。D/A変換部159は、オーディオデータをD/A変換する。  FIG. 2 is a block diagram showing the
  本実施形態では、放送受信端末の音声再生モードとして、低域オーディオデータ及び高域オーディオデータに基づく音声を再生する通常モードと、低域オーディオデータのみに基づく音声を再生する省電力モードとの2つのモードが用意されている。切替部155は、制御部119からの指示に応じて、通常モードと省電力モードの間で切り替える。放送受信端末が通常モードに設定されている状態では、AAC復号化部153から出力された低域オーディオデータは、SBR処理部157に入力される。一方、放送受信端末が省電力モードに設定されている状態では、AAC復号化部153から出力された低域オーディオデータは、SBR処理部157には入力されず、D/A変換部159に入力される。このため、省電力モード時にはSBR処理は行われない。なお、SBR処理は良好な音質を実現する「音響付加機能」である。音響付加機能を実行する通常モードではSBR処理部157が動作するが、音響付加機能を実行しない省電力モードではSBR処理部157が動作しないため電力消費が小さい。  In the present embodiment, the audio receiving mode of the broadcast receiving terminal includes two modes: a normal mode for reproducing sound based on low-frequency audio data and high-frequency audio data, and a power saving mode for reproducing sound based only on low-frequency audio data. There are two modes available. The
  音量調整部109は、音声処理部107から出力されたアナログオーディオ信号のレベルを調整する。音量調整部109は制御部119によって制御され、ミュートやフェードアウト、フェードイン等の機能を有する。スピーカ111は、アナログオーディオ信号に応じた音を調整されたレベルで出力する。  The
  映像処理部113は、ビデオエレメンタリストリーム信号を復号化してディスプレイ115で表示するための処理を行う。ディスプレイ115は、テレビ映像を表示する。  The
  操作部117は、ユーザが放送受信端末を操作するための入力インターフェースである。ユーザは、操作部117を用いて通常モードか省電力モードを選択することができる。制御部119は、ユーザが操作部117を操作して選択したモードとなるよう各構成要素を制御する。本実施形態では、制御部119がモード切替を行う際に、分離部105、音声処理部107、映像処理部113及び制御部119を含む演算処理部123をソフトウェアからハードウェアに対して新たな制御を行わない動作状態、あるいは、ソフトウェアおよびハードウェアが自身の状態遷移を自律して行わない動作状態であるアイドリング状態に設定する。なお、演算処理部123がアイドリング状態に移行する際、割り込み処理によってソフトウェアがアイドリング状態になった後、ハードウェアがアイドリング状態になる。  The
  BIOS設定記憶部121は、内部クロック及び外部クロックを含むクロック周波数等に関する基本的な情報を記憶する。分離部105や音声処理部107、映像処理部113、制御部119は、BIOS設定記憶部121に設定されたクロック周波数に応じて動作する。本実施形態では、2種類のクロック周波数を設定可能である。制御部119は、通常モードでは高いクロック周波数fHを設定し、省電力モードでは低いクロック周波数fLを設定する。The BIOS setting
  図3は、本実施形態の放送受信端末の動作(モード切替方法)を示すフローチャートである。図3に示すように、テレビ放送の視聴が開始された(ステップS101)後、制御部119は、モード切替が指示されたかを判別する(ステップS103)。モード切替が指示されると、制御部119は、音声をフェードアウト又はミュートするよう音量調整部109を制御する(ステップS105)。次に、制御部119は、分離部105、音声処理部107、映像処理部113及び制御部119を含む演算処理部123をソフトウェア的かつハードウェア的にアイドリング状態に設定する(ステップS107)。  FIG. 3 is a flowchart showing the operation (mode switching method) of the broadcast receiving terminal of this embodiment. As shown in FIG. 3, after the viewing of the television broadcast is started (step S101), the
  演算処理部123がアイドリング状態に移行したことを確認した(ステップS109)後、制御部119は、指定されたモードに切り替える(ステップS111)。通常モードが指定されている場合、制御部119は、BIOS設定記憶部121にクロック周波数fHを設定し(ステップS113)、音響付加機能を実行するよう音声処理部107の切替部155を制御する(ステップS115)。一方、省電力モードが指定されている場合、制御部119は、BIOS設定記憶部121にクロック周波数fLを設定し(ステップS117)、音響付加機能を実行しないよう音声処理部107の切替部155を制御する(ステップS119)。After confirming that the
  ステップS115又はステップS119を行った後、制御部119は、演算処理部123のアイドリング状態を解除する(ステップS121)。演算処理部123がアイドリング状態ではないことを確認した(ステップS123)後、制御部119は、音声をフェードイン又はミュート解除するよう音量調整部109を制御する(ステップS125)。  After performing Step S115 or Step S119, the
以上説明したように、本実施形態の放送受信端末及びモード切替方法によれば、放送視聴中でもモードを切り替えることができる。また、モード切替前にフェードアウト又はミュートするため、モード切替に伴う異音の発生を防ぐことができる。 As described above, according to the broadcast receiving terminal and the mode switching method of the present embodiment, the mode can be switched even while the broadcast is being viewed. In addition, since the sound is faded out or muted before the mode is switched, it is possible to prevent the generation of abnormal noise accompanying the mode switching.
なお、本実施形態では、モード切替時に音響付加機能のオン/オフ設定を行っているが、イコライザ等の音響効果の変更やデータパスの切替等といった電力消費が変化する設定変更を行っても良い。また、ワンセグによるテレビ放送に対応した放送受信端末を例に説明したが、デジタルラジオに対応した放送受信端末であっても良い。 In the present embodiment, the on / off setting of the sound addition function is performed at the time of mode switching. However, a setting change that changes power consumption such as a sound effect change such as an equalizer or a data path change may be performed. . Moreover, although the broadcast receiving terminal corresponding to the television broadcasting by 1seg was demonstrated to the example, the broadcast receiving terminal corresponding to a digital radio may be sufficient.
本発明に係る放送受信端末は、放送視聴中でもモードを切り替えることのできる、放送を受信する端末等として有用である。 The broadcast receiving terminal according to the present invention is useful as a terminal for receiving a broadcast that can switch modes even while the broadcast is being viewed.
101  アンテナ
103  受信部
105  分離部
107  音声処理部
109  音量調整部
111  スピーカ
113  映像処理部
115  ディスプレイ
117  操作部
119  制御部
121  BIOS設定記憶部
151  帯域拡張情報分離部
153  AAC復号化部
155  切替部
157  SBR処理部
159  D/A変換部
| Application Number | Priority Date | Filing Date | Title | 
|---|---|---|---|
| JP2007217400AJP2008141722A (en) | 2006-11-06 | 2007-08-23 | Mode switching method, mode switching program, and broadcast receiving terminal | 
| US11/979,115US20080107208A1 (en) | 2006-11-06 | 2007-10-31 | Mode switching method, mode switching program, and broadcast receiving terminal | 
| CN2007101850643ACN101179344B (en) | 2006-11-06 | 2007-11-06 | Mode switching method and broadcast receiving terminal | 
| Application Number | Priority Date | Filing Date | Title | 
|---|---|---|---|
| JP2006300270 | 2006-11-06 | ||
| JP2007217400AJP2008141722A (en) | 2006-11-06 | 2007-08-23 | Mode switching method, mode switching program, and broadcast receiving terminal | 
| Publication Number | Publication Date | 
|---|---|
| JP2008141722Atrue JP2008141722A (en) | 2008-06-19 | 
| Application Number | Title | Priority Date | Filing Date | 
|---|---|---|---|
| JP2007217400APendingJP2008141722A (en) | 2006-11-06 | 2007-08-23 | Mode switching method, mode switching program, and broadcast receiving terminal | 
| Country | Link | 
|---|---|
| JP (1) | JP2008141722A (en) | 
| CN (1) | CN101179344B (en) | 
| Publication number | Priority date | Publication date | Assignee | Title | 
|---|---|---|---|---|
| JP2010079320A (en)* | 2008-08-01 | 2010-04-08 | Autonetworks Technologies Ltd | Control device and computer program | 
| JP2012205000A (en)* | 2011-03-24 | 2012-10-22 | Seiko Epson Corp | Head-mounted type display device and control method for head-mounted type display device | 
| JP2018160147A (en)* | 2017-03-23 | 2018-10-11 | パイオニア株式会社 | Information processor and processing load distribution method | 
| Publication number | Priority date | Publication date | Assignee | Title | 
|---|---|---|---|---|
| JP2002519808A (en)* | 1998-06-30 | 2002-07-02 | サンディスク コーポレイション | Analog and multilevel storage techniques using integrated circuit technology. | 
| JP2003195971A (en)* | 2001-12-18 | 2003-07-11 | Asustek Computer Inc | Electric power saving method and system for computer | 
| JP2006511998A (en)* | 2002-12-21 | 2006-04-06 | コーニンクレッカ フィリップス エレクトロニクス エヌ ヴィ | Power management in equipment | 
| Publication number | Priority date | Publication date | Assignee | Title | 
|---|---|---|---|---|
| JP3272273B2 (en)* | 1997-07-07 | 2002-04-08 | 松下電器産業株式会社 | Intermittent receiver | 
| JP2007516631A (en)* | 2003-06-27 | 2007-06-21 | コーニンクレッカ フィリップス エレクトロニクス エヌ ヴィ | Receiver and method for reducing power consumption in low power mode | 
| KR20050120087A (en)* | 2004-06-18 | 2005-12-22 | 삼성전자주식회사 | Broadcasting receive apparatus having combined mode set-up function, and method thereof | 
| Publication number | Priority date | Publication date | Assignee | Title | 
|---|---|---|---|---|
| JP2002519808A (en)* | 1998-06-30 | 2002-07-02 | サンディスク コーポレイション | Analog and multilevel storage techniques using integrated circuit technology. | 
| JP2003195971A (en)* | 2001-12-18 | 2003-07-11 | Asustek Computer Inc | Electric power saving method and system for computer | 
| JP2006511998A (en)* | 2002-12-21 | 2006-04-06 | コーニンクレッカ フィリップス エレクトロニクス エヌ ヴィ | Power management in equipment | 
| Publication number | Priority date | Publication date | Assignee | Title | 
|---|---|---|---|---|
| JP2010079320A (en)* | 2008-08-01 | 2010-04-08 | Autonetworks Technologies Ltd | Control device and computer program | 
| JP2012205000A (en)* | 2011-03-24 | 2012-10-22 | Seiko Epson Corp | Head-mounted type display device and control method for head-mounted type display device | 
| JP2018160147A (en)* | 2017-03-23 | 2018-10-11 | パイオニア株式会社 | Information processor and processing load distribution method | 
| Publication number | Publication date | 
|---|---|
| CN101179344B (en) | 2011-10-12 | 
| CN101179344A (en) | 2008-05-14 | 
| Publication | Publication Date | Title | 
|---|---|---|
| US8706272B2 (en) | Adaptive encoding and compression of audio broadcast data | |
| KR101248287B1 (en) | Synchronization of buffered audio data with live broadcast | |
| JP4522439B2 (en) | Electronics | |
| JP2008141722A (en) | Mode switching method, mode switching program, and broadcast receiving terminal | |
| JP4257862B2 (en) | Speech decoder | |
| JP4519934B2 (en) | Audio playback device | |
| JP4468921B2 (en) | Digital broadcast receiver | |
| JP2008092230A (en) | Broadcast receiving apparatus and decoding method for broadcast receiving apparatus | |
| US20080107208A1 (en) | Mode switching method, mode switching program, and broadcast receiving terminal | |
| JP2008141721A (en) | Broadcast receiving terminal | |
| JP2012004750A (en) | Broadcast receiver and broadcast receiving method | |
| JP4435206B2 (en) | Mobile radio terminal device | |
| JP2006333238A (en) | Audio signal processing device | |
| JP4101719B2 (en) | Audio broadcast receiving apparatus and output sound characteristic control method | |
| JP5473090B2 (en) | Electronic equipment and process switching program | |
| JP2007088717A (en) | Information processing apparatus and power saving control method | |
| JP2010004545A (en) | Mobile radio terminal device | |
| JP5036878B2 (en) | Broadcast receiver | |
| KR20080043514A (en) | Broadcast terminal and broadcast alternative method | |
| JP2008236208A (en) | Terminal apparatus and program | |
| JP4929200B2 (en) | Receiving device, audio reproducing method, audio reproducing program and recording medium therefor | |
| JP2008011019A (en) | Television broadcast receiver and television broadcast receiving method | |
| JP2007096802A (en) | Digital broadcasting receiver and control method | |
| JP2008259036A (en) | Receiving apparatus and receiving method | |
| KR20070102349A (en) | Digital broadcasting receiver and its power control method | 
| Date | Code | Title | Description | 
|---|---|---|---|
| A621 | Written request for application examination | Free format text:JAPANESE INTERMEDIATE CODE: A621 Effective date:20091207 | |
| A131 | Notification of reasons for refusal | Free format text:JAPANESE INTERMEDIATE CODE: A131 Effective date:20120515 | |
| A02 | Decision of refusal | Free format text:JAPANESE INTERMEDIATE CODE: A02 Effective date:20120918 |