











































この特許出願は、2002年11月1日に出願され、放棄されている米国仮特許出願第60/423,009号、発明の名称「柔軟な流体輸送及びマイクロチャネルヒートシンクによるホットスポットの冷却方法(METHODS FOR FLEXIBLE FLUID DELIVERY AND HOTSPOT COOLING BY MICROCHANNEL HEAT SINKS)」、2003年1月24日に出願され、放棄されている米国仮特許出願第60/442,382号、発明の名称「CPU冷却用に最適化されたプレートフィン熱交換器(OPTIMIZED PLATE FIN HEAT EXCHANGER FOR CPU COOLING)」及び2003年3月17日に出願され、係属中の米国仮特許出願第60/455,729号、発明の名称「多孔構成を有するマイクロチャネル熱交換器装置及びその製造方法(MICROCHANNEL HEAT EXCHANGER APPARATUS WITH POROUS CONFIGURATION AND METHOD OF MANUFACTURING THEREOF)」について、米国特許法第119条(e)項に基づく優先権を主張した、2003年3月16日に出願され、係属中の米国仮特許出願第60/439,635号、発明の名称「発熱デバイスにおいて必要なホットスポットを冷却するための柔軟な流体輸送のための方法及び装置(METHOD AND APPARATUS FOR FLEXIBLE FLUID DELIVERY FOR COOLING DESIRED HOT SPOTS IN A HEAT PRODUCING DEVICE)」の一部継続出願である、2003年10月6日に出願された、米国特許出願番号第10/680,584号、発明の名称「発熱デバイスを冷却するための効率的な垂直流体輸送のための方法及び装置(METHOD AND APPARATUS FOR EFFICIENT VERTICAL FLUID DELIVERY FOR COOLING A HEAT PRODUCING DEVICE)」の一部継続出願である米国特許出願の一部継続出願である2003年10月30日に出願された第10/698,179号、発明の名称「発熱デバイスを冷却するための効率的な垂直流体輸送のための方法及び装置(METHOD AND APPARATUS FOR EFFICIENT VERTICAL FLUID DELIVERY FOR COOLING A HEAT PRODUCING DEVICE)」の一部継続出願であり、これらの特許文献は全て引用により本願に援用される。2003年3月16日に出願され、係属中の米国仮特許出願第60/439,635号、発明の名称「発熱デバイスにおいて必要なホットスポットを冷却するための柔軟な流体輸送のための方法及び装置(METHOD AND APPARATUS FOR FLEXIBLE FLUID DELIVERY FOR COOLING DESIRED HOT SPOTS IN A HEAT PRODUCING DEVICE)」は、以下全て引用により本願に援用される、2002年11月1日に出願され、放棄されている米国仮特許出願第60/423,009号、発明の名称「柔軟な流体輸送及びマイクロチャネルヒートシンクによるホットスポットの冷却方法(METHODS FOR FLEXIBLE FLUID DELIVERY AND HOTSPOT COOLING BY MICROCHANNEL HEAT SINKS)」、係属中の米国仮特許出願第60/442,383号、発明の名称「CPU冷却用に最適化されたプレートフィン熱交換器(OPTIMIZED PLATE FIN HEAT EXCHANGER FOR CPU COOLING)」及び2003年3月17日に出願され、係属中の米国仮特許出願第60/455,729号、発明の名称「多孔構成を有するマイクロチャネル熱交換器装置及びその製造方法(MICROCHANNEL HEAT EXCHANGER APPARATUS WITH POROUS CONFIGURATION AND METHOD OF MANUFACTURING THEREOF)」について、米国特許法第119条(e)項に基づく優先権を主張する。 This patent application is filed on November 1, 2002 and is abandoned US Provisional Patent Application No. 60 / 423,009, entitled “Flexible Fluid Transport and Cooling of Hot Spots with Microchannel Heat Sink ( METHODS FOR FLEXIBLE FLUID DELIVERY AND HOTSPOT COOLING BY MICROCHANNEL HEAT SINKS), US Provisional Patent Application No. 60 / 442,382, filed January 24, 2003, abandoned OPTIMIZED PLATE FIN HEAT EXCHANGER FOR CPU COOLING "and pending US Provisional Patent Application No. 60 / 455,729, filed March 17, 2003, entitled" Porous " MICROCHANNEL HEAT EXCHANGER APPARATUS WITH POROUS CONFIGURATION AND METHOD OF MANUFACTURING THEREOF " Accordingly, pending US Provisional Patent Application No. 60 / 439,635, filed March 16, 2003, claiming priority under 35 USC 119 (e), title of invention “Fever” 2003, which is a continuation-in-part application of "METHOD AND APPARATUS FOR FLEXIBLE FLUID DELIVERY FOR COOLING DESIRED HOT SPOTS IN A HEAT PRODUCING DEVICE" US patent application Ser. No. 10 / 680,584, filed Oct. 6, 2000, entitled “Method and Apparatus for Efficient Vertical Fluid Transport for Cooling Heating Devices (METHOD AND APPARATUS FOR EFFICIENT VERTICAL FLUID DELIVERY FOR COOLING A HEAT PRODUCING DEVICE) No. 10/69, filed on Oct. 30, 2003, a continuation-in-part of US patent application , 179, part of continuation application of the title "METHOD AND APPARATUS FOR EFFICIENT VERTICAL FLUID DELIVERY FOR COOLING A HEAT PRODUCING DEVICE" Yes, all of these patent documents are incorporated herein by reference. US Patent Application No. 60 / 439,635, filed Mar. 16, 2003 and pending, entitled "Method for flexible fluid transport for cooling hot spots required in heat generating devices and "METHOD AND APPARATUS FOR FLEXIBLE FLUID DELIVERY FOR COOLING DESIRED HOT SPOTS IN A HEAT PRODUCING DEVICE" is a US provisional patent filed and abandoned on November 1, 2002, all incorporated herein by reference. Application 60 / 423,009, title of invention “METHODS FOR FLEXIBLE FLUID DELIVERY AND HOTSPOT COOLING BY MICROCHANNEL HEAT SINKS”, pending US provisional patent application No. 60 / 442,383, Title of Invention “OPTIMIZED PLATE FIN HEAT EXCHANGE R FOR CPU COOLING) and pending US Provisional Patent Application No. 60 / 455,729, filed Mar. 17, 2003, entitled “Microchannel Heat Exchanger Device with Porous Configuration and Method for Producing the Same” Claims priority under § 119 (e) of the US Patent Act for (MICROCHANNEL HEAT EXCHANGER APPARATUS WITH POROUS CONFIGURATION AND METHOD OF MANUFACTURING THEREOF).
本発明は、発熱デバイスを冷却するための冷却方法及び冷却装置に関し、詳しくは、熱交換器内での圧力降下を最小にして、電子機器を冷却する効率的な垂直流体輸送のための冷却方法及び冷却装置、及び1つ以上の熱電デバイスを組み込む装置に関する。 The present invention relates to a cooling method and a cooling apparatus for cooling a heat generating device, and more particularly, to a cooling method for efficient vertical fluid transport that cools an electronic device by minimizing a pressure drop in a heat exchanger. And a cooling device and an apparatus incorporating one or more thermoelectric devices.
マイクロチャネルヒートシンクは、1980年代前半に登場して以来、高い熱流束の冷却用途への適用可能性を示し、産業界において使用されてきた。しかしながら、既存のマイクロチャネルでは、従来の平行チャネル構成(parallel channel arrangements)が用いられており、これは、熱負荷が空間的に変化する発熱デバイスの冷却には適していない。このような発熱デバイスは、他の領域よりも多くの熱を発生する領域を有する。本明細書では、このような、より熱い領域を「ホットスポット(hot spot)」と呼び、ホットスポットより発熱量が少ない領域を「ウォームスポット(warm spot)」と呼ぶ。 Microchannel heat sinks have been used in industry since their appearance in the early 1980s, showing applicability to high heat flux cooling applications. However, existing microchannels use conventional parallel channel arrangements, which are not suitable for cooling exothermic devices where the thermal load varies spatially. Such a heat generating device has a region that generates more heat than other regions. In the present specification, such a hotter region is referred to as a “hot spot”, and a region that generates less heat than the hot spot is referred to as a “warm spot”.
  図1A及び図1Bは、それぞれ、従来の熱交換器10の側面図及び平面図を示している。熱交換器10は、サーマルインタフェースマテリアル(thermal interface material:以下、TIMという。)98を介して、例えば、マイクロプロセッサ等の電子デバイス99に連結されている。図1A及び1Bに示すように、流体は、通常、矢印によって示すように、単一のインレットポート12から流れ込み、平行なマイクロチャネル14を底面11に沿って流れ、アウトレットポート16から流れ出る。熱交換器10は、電子デバイス99を冷却するが、流体は、インレットポート12からアウトレットポート16まで、均一に流れる。換言すれば、流体は、熱交換器10の底面11の全体に沿って実質的に一様に流れ、デバイス99のホットスポットに対応する底面11の領域により多くの流体が供給されることはない。更に、通常、インレットポート12から流入した液体の温度は、熱交換器10の底面11に沿って流れるにつれて、高くなる。したがって、熱源99の下流側、すなわちアウトレットポート16に近い領域には、冷たい流体は供給されず、実際には、上流側で加熱された、より温かい流体又は二相流体が供給される。このように、加熱された流体は、熱交換器10の底面11の全体と熱源99の領域に亘って熱を輸送し、アウトレットポート16の近傍では、流体が非常に熱くなり、熱源99を冷却する効力がなくなる。このような温度の上昇によって、底面11に流れる液体が沸騰することにより、最も多くの熱が発生している領域から流体が離れる二相流不安定性(two-phase flow instabilities)が生じる。更に、1つのインレットポート12と1つのアウトレットしか有さない熱交換器10では、流体は、熱交換器10の全長に亘って、底面11の長い平行なマイクロチャネル14に沿って移動し、この結果、流体が移動する長さのために大きな圧力降下が生じる。熱交換器10において大きな圧力降下が生じると、熱交換器10に流体をポンピングすることが困難になり、不安定性が高まる。  1A and 1B show a side view and a plan view of a
  図1Cは、従来のマルチレベル熱交換器20の側面図である。流体は、ポート22を通ってマルチレベル熱交換器20に流入し、中間層26の複数の噴出口28を通って下方向に進み、底面27及び流出ポート24から流出される。更に、噴出口28に沿って底面27に移動する流体は、一様には流れない。更に、この図1Cに示すマルチレベル熱交換器20は、図1A及び図1Bの熱交換器10に関して説明した問題と同じ問題を有している。  FIG. 1C is a side view of a conventional
本発明の目的は、熱源を効率的に冷却しながら、インレットポートとアウトレットポートの間の圧力降下を小さくできる熱交換器を提供することである。更に、本発明の目的は、熱源の観点から適切な温度均一性を実現する熱交換器を提供することである。更に、本発明の目的は、熱源のホットスポットの観点から適切な温度均一性を実現する熱交換器を提供することである。 An object of the present invention is to provide a heat exchanger that can reduce a pressure drop between an inlet port and an outlet port while efficiently cooling a heat source. Furthermore, an object of the present invention is to provide a heat exchanger that realizes appropriate temperature uniformity from the viewpoint of a heat source. Furthermore, an object of the present invention is to provide a heat exchanger that realizes appropriate temperature uniformity from the viewpoint of a hot spot of a heat source.
本発明の一側面として、本発明は、熱源を冷却するための冷却装置を提供する。冷却装置は、流体熱交換器と、流体熱交換器に連結され、内部に流体が流されるポンプと、冷却部分及び加熱部分を有し、冷却部分の少なくとも一部が流体熱交換器と熱接触し、流体熱交換器を冷却する熱電デバイスと、熱電デバイスの加熱部分の少なくとも一部と熱接触する除熱器とを備える。 As one aspect of the present invention, the present invention provides a cooling device for cooling a heat source. The cooling device includes a fluid heat exchanger, a pump connected to the fluid heat exchanger, and a fluid flowing therein, a cooling portion and a heating portion, and at least a part of the cooling portion is in thermal contact with the fluid heat exchanger. And a thermoelectric device that cools the fluid heat exchanger and a heat remover that is in thermal contact with at least a portion of the heating portion of the thermoelectric device.
本発明では、熱電デバイス、除熱器及び流体熱交換器を様々に構成することができる。例えば、これらに限定されるわけではないが、以下の構成が可能である。すなわち、熱電デバイス及び流体熱交換器は、一体に形成してもよい。熱電デバイス及び流体熱交換器は、それぞれモジュールとして形成し、互いに連結してもよい。熱電デバイス及び除熱器は、一体に形成してもよい。熱電デバイス及び除熱器は、それぞれモジュールとして形成し、互いに連結してもよい。熱電デバイス、除熱器及び流体熱交換器は、一体に形成してもよい。 In the present invention, a thermoelectric device, a heat remover, and a fluid heat exchanger can be variously configured. For example, but not limited to these, the following configurations are possible. That is, the thermoelectric device and the fluid heat exchanger may be integrally formed. The thermoelectric device and the fluid heat exchanger may each be formed as a module and connected to each other. The thermoelectric device and the heat remover may be integrally formed. The thermoelectric device and the heat remover may each be formed as a module and connected to each other. The thermoelectric device, the heat remover, and the fluid heat exchanger may be integrally formed.
更に、流体熱交換器、除熱器及び熱電デバイスは、複数の可能な構成が想定され、例えば、冷却装置が熱源を冷却する際、熱電デバイスと熱源の間に流体熱交換器が位置するように配設してもよく、熱電デバイスは、流体熱交換器と除熱器との間に配設してもよい。 Furthermore, the fluid heat exchanger, the heat remover, and the thermoelectric device are assumed to have a plurality of possible configurations. For example, when the cooling device cools the heat source, the fluid heat exchanger is located between the thermoelectric device and the heat source. The thermoelectric device may be disposed between the fluid heat exchanger and the heat remover.
更に、本発明に係る冷却装置では、熱交換器は、流体輸送のためのマニホルド領域及びマイクロスケール領域を含んでいてもよい。マイクロスケール領域は、マイクロチャネル、マイクロピラー、マイクロ格子及び微細多孔領域のうちの1つを含んでいてもよい。本発明において用いるポンプは、好ましくは、電気機械ポンプであるが、例えば、イオンポンプを含む如何なる種類のポンプであってもよい。なお、本発明は、上述した特別な構成の実施の形態に制限されず、添付の特許請求の範囲の範囲によってのみ定義される。 Furthermore, in the cooling device according to the present invention, the heat exchanger may include a manifold region and a microscale region for fluid transportation. The microscale region may include one of microchannels, micropillars, microlattices, and microporous regions. The pump used in the present invention is preferably an electromechanical pump, but may be any type of pump including, for example, an ion pump. Note that the present invention is not limited to the embodiments having the special configuration described above, and is defined only by the scope of the appended claims.
更に、本発明に係る冷却装置は、電子デバイスを冷却するための冷却装置において、熱交換器と、ポンプと、第1の熱電デバイスと、除熱器と、第2の熱電デバイスとを備える。ポンプは、流体熱交換器に連結され、内部に流体が流される。各熱電デバイスは、冷却部分と、加熱部分とを備える。第1の熱電デバイスは、冷却部分の少なくとも一部が流体熱交換器と熱接触し、流体熱交換器を冷却し、加熱部分の少なくとも一部が除熱器と接触するように構成される。第2の熱電デバイスは、冷却部分及び加熱部分を有し、加熱部分の少なくとも一部が流体熱交換器と熱接触し、流体熱交換器を加熱し、冷却部分の少なくとも一部が電子デバイスと熱接触し、電子機器を冷却するように構成される。 Furthermore, the cooling device according to the present invention is a cooling device for cooling an electronic device, and includes a heat exchanger, a pump, a first thermoelectric device, a heat removal device, and a second thermoelectric device. The pump is connected to a fluid heat exchanger, and a fluid is flowed therein. Each thermoelectric device includes a cooling portion and a heating portion. The first thermoelectric device is configured such that at least a portion of the cooling portion is in thermal contact with the fluid heat exchanger, cools the fluid heat exchanger, and at least a portion of the heating portion contacts the heat sink. The second thermoelectric device has a cooling portion and a heating portion, at least a portion of the heating portion is in thermal contact with the fluid heat exchanger, heats the fluid heat exchanger, and at least a portion of the cooling portion is with the electronic device. It is configured to be in thermal contact and cool the electronic device.
本発明では、熱電デバイス、除熱器及び流体熱交換器を様々に構成することができる。例えば、これらに限定されるわけではないが、以下の構成が可能である。すなわち、第1の熱電デバイス及び流体熱交換器は、一体に形成してもよい。第1の熱電デバイス及び流体熱交換器は、それぞれモジュールとして形成し、互いに連結してもよい。すなわち、第2の熱電デバイス及び流体熱交換器は、一体に形成してもよい。第2の熱電デバイス及び流体熱交換器は、それぞれモジュールとして形成し、互いに連結してもよい。第1の熱電デバイス及び除熱器は、一体に形成してもよい。第1の熱電デバイス及び除熱器は、それぞれモジュールとして形成し、互いに連結してもよい。第1の熱電デバイス、第2の熱電デバイス、除熱器及び流体熱交換器は、一体に形成してもよい。 In the present invention, a thermoelectric device, a heat remover, and a fluid heat exchanger can be variously configured. For example, but not limited to these, the following configurations are possible. That is, the first thermoelectric device and the fluid heat exchanger may be integrally formed. The first thermoelectric device and the fluid heat exchanger may each be formed as a module and connected to each other. That is, the second thermoelectric device and the fluid heat exchanger may be integrally formed. The second thermoelectric device and the fluid heat exchanger may each be formed as a module and connected to each other. The first thermoelectric device and the heat remover may be integrally formed. The first thermoelectric device and the heat remover may each be formed as a module and connected to each other. The first thermoelectric device, the second thermoelectric device, the heat remover, and the fluid heat exchanger may be integrally formed.
更に、流体熱交換器、除熱器及び熱電デバイスは、複数の可能な構成が想定され、例えば、熱電デバイスは、電子機器を冷却する際、流体熱交換器と電子機器との間に位置するように配設してもよく、流体熱交換器は、熱電デバイスと除熱器との間に配設してもよい。 In addition, fluid heat exchangers, heat removers, and thermoelectric devices are envisioned in multiple possible configurations, for example, a thermoelectric device is located between a fluid heat exchanger and an electronic device when cooling the electronic device. The fluid heat exchanger may be disposed between the thermoelectric device and the heat remover.
熱交換器は、流体輸送のためのマニホルド領域及びマイクロスケール領域を含んでいてもよい。マイクロスケール領域は、マイクロチャネル、マイクロピラー、マイクロ格子及び微細多孔領域のうちの1つを含んでいてもよい。本発明において用いるポンプは、好ましくは、電気機械ポンプであるが、例えば、イオンポンプを含む如何なる種類のポンプであってもよい。なお、本発明は、上述した特別な構成の実施の形態に制限されず、添付の特許請求の範囲の範囲によってのみ定義される。 The heat exchanger may include a manifold region and a microscale region for fluid transport. The microscale region may include one of microchannels, micropillars, microlattices, and microporous regions. The pump used in the present invention is preferably an electromechanical pump, but may be any type of pump including, for example, an ion pump. Note that the present invention is not limited to the embodiments having the special configuration described above, and is defined only by the scope of the appended claims.
更に、本発明に係る冷却装置は、流体熱交換器と、流体導管構造と、ポンプと、除熱器と、熱電デバイスとを備える。ポンプは、流体導管構造に連結され、自ら及び流体熱交換器に流体を流す。除熱器及び熱電デバイスの両方は、流体導管構造に連結され、及び流体導管構造に流される流体と熱伝導可能に連結されている。 Furthermore, the cooling device according to the present invention includes a fluid heat exchanger, a fluid conduit structure, a pump, a heat remover, and a thermoelectric device. The pump is connected to the fluid conduit structure and flows fluid to itself and the fluid heat exchanger. Both the heat remover and the thermoelectric device are coupled to the fluid conduit structure and are coupled in heat conduction with the fluid flowing through the fluid conduit structure.
本発明では、熱電デバイス、流体導管構造、除熱器及び流体熱交換器を様々に構成することができる。例えば、これらに限定されるわけではないが、以下の構成が可能である。熱電デバイス及び導管構造は、一体に形成してもよい。熱電デバイス及び導管構造は、それぞれモジュールとして形成し、互いに連結してもよい。 In the present invention, the thermoelectric device, the fluid conduit structure, the heat remover, and the fluid heat exchanger can be variously configured. For example, but not limited to these, the following configurations are possible. The thermoelectric device and the conduit structure may be integrally formed. The thermoelectric device and the conduit structure may each be formed as a module and connected to each other.
本発明に係る冷却装置において、熱交換器は、流体輸送のためのマニホルド領域及びマイクロスケール領域を含んでいてもよい。マイクロスケール領域は、マイクロチャネル、マイクロピラー、マイクロ格子及び微細多孔領域のうちの1つを含んでいてもよい。本発明において用いるポンプは、好ましくは、電気機械ポンプであるが、例えば、イオンポンプを含む如何なる種類のポンプであってもよい。なお、本発明は、上述した特別な構成の実施の形態に制限されず、添付の特許請求の範囲の範囲によってのみ定義される。 In the cooling device according to the present invention, the heat exchanger may include a manifold region and a microscale region for fluid transportation. The microscale region may include one of microchannels, micropillars, microlattices, and microporous regions. The pump used in the present invention is preferably an electromechanical pump, but may be any type of pump including, for example, an ion pump. Note that the present invention is not limited to the embodiments having the special configuration described above, and is defined only by the scope of the appended claims.
更に、本発明は、マイクロプロセッサを冷却するマイクロプロセッサ冷却装置を提供する。マイクロプロセッサ冷却装置は、流体熱交換器と、熱電デバイスと、除熱器と、流体熱交換器を介して流体を流すポンプとを備える。流体熱交換器は、マイクロプロセッサに熱伝導可能に連結可能であり、熱電デバイスは、流体熱交換器に熱伝導可能に連結され、及びマイクロプロセッサに熱伝導可能に連結可能である。除熱器は、流体熱交換器及び熱電デバイスの両方に熱伝導可能に連結されている。 Furthermore, the present invention provides a microprocessor cooling device for cooling the microprocessor. The microprocessor cooling apparatus includes a fluid heat exchanger, a thermoelectric device, a heat remover, and a pump that causes fluid to flow through the fluid heat exchanger. The fluid heat exchanger can be coupled to the microprocessor in a heat conducting manner, and the thermoelectric device can be coupled to the fluid heat exchanger in a heat conducting manner and can be coupled to the microprocessor in a heat conducting manner. The heat remover is coupled to both the fluid heat exchanger and the thermoelectric device so as to conduct heat.
本発明では、熱電デバイス、除熱器及び流体熱交換器を様々に構成することができる。例えば、これらに限定されるわけではないが、以下の構成が可能である。流体熱交換器、除熱器及び熱電デバイスは、一体に形成してもよい。流体熱交換器、除熱器及び熱電デバイスは、それぞれモジュールとして形成し、互いに連結してもよい。 In the present invention, a thermoelectric device, a heat remover, and a fluid heat exchanger can be variously configured. For example, but not limited to these, the following configurations are possible. The fluid heat exchanger, the heat remover, and the thermoelectric device may be integrally formed. The fluid heat exchanger, the heat remover, and the thermoelectric device may each be formed as a module and connected to each other.
マイクロプロセッサ冷却装置において、熱交換器は、流体輸送のためのマニホルド領域及びマイクロスケール領域を含んでいてもよい。マイクロスケール領域は、マイクロチャネル、マイクロピラー、マイクロ格子及び微細多孔領域のうちの1つを含んでいてもよい。本発明において用いるポンプは、好ましくは、電気機械ポンプであるが、例えば、イオンポンプを含む如何なる種類のポンプであってもよい。なお、本発明は、上述した特別な構成の実施の形態に制限されず、添付の特許請求の範囲の範囲によってのみ定義される。 In the microprocessor cooling device, the heat exchanger may include a manifold region and a microscale region for fluid transport. The microscale region may include one of microchannels, micropillars, microlattices, and microporous regions. The pump used in the present invention is preferably an electromechanical pump, but may be any type of pump including, for example, an ion pump. Note that the present invention is not limited to the embodiments having the special configuration described above, and is defined only by the scope of the appended claims.
本発明のこの他の特徴及び利点は、以下に示す好適な実施の形態の詳細によって明らかとなる。 Other features and advantages of the present invention will become apparent from the following detailed description of the preferred embodiment.
熱交換器は、包括的に言えば、好ましくは熱源に連結された接触層の選択的な領域に流体を通過させることによって、熱源から発生した熱エネルギを捕捉する。詳しくは、流体は、熱交換器内の圧力降下を小さく保ちながら、熱源に亘って、温度均一性を実現するように、ホットスポット及びホットスポットの周囲の領域を冷却するために接触層の特定の領域に流される。後述する様々な実施の形態で説明するように、熱交換器は、マニホルド層内で複数のアパーチャ、チャネル及び/又はフィンガを用いて、並びに中間層内の導管を用いて、接触層の選択されたホットスポット領域に及びこの領域から流体を流通及び循環させる。これに代えて、熱交換器は、ホットスポットに流体を直接流入させ、及びホットスポットから流体を流出させることによって、効果的に熱源を冷却するために所定の位置に特別に配置された幾つかのポートを備えていてもよい。 The heat exchanger generally captures the thermal energy generated from the heat source, preferably by passing the fluid through selective regions of the contact layer that are coupled to the heat source. Specifically, the fluid identifies the contact layer to cool the hot spot and the area around the hot spot so as to achieve temperature uniformity across the heat source while keeping the pressure drop in the heat exchanger small. Shed in the area. As will be described in the various embodiments described below, the heat exchanger selects the contact layer using a plurality of apertures, channels and / or fingers in the manifold layer and using conduits in the intermediate layer. Fluid is circulated and circulated into and out of the hot spot area. Alternatively, heat exchangers are specially placed in place to cool the heat source effectively by allowing fluid to flow directly into and out of the hot spot. You may have the port of.
ここでは、デバイスのホットスポット位置を冷却するためのマイクロチャネル熱交換器を説明するが、これに代えて、本発明の熱交換器は、デバイスのコールドスポット位置を加熱するために用いてもよいことは、当業者にとって明らかである。ここでは、デバイスのホットスポット位置を冷却するためのマイクロチャネル熱交換器を説明するが、本発明は、他の応用例に適用してもよく、ここに説明する実施の形態に限定されないことは明らかである。 Here, a microchannel heat exchanger for cooling the hot spot position of the device will be described, but alternatively, the heat exchanger of the present invention may be used to heat the cold spot position of the device. This will be apparent to those skilled in the art. Here, a microchannel heat exchanger for cooling the hot spot position of the device will be described. However, the present invention may be applied to other application examples and is not limited to the embodiments described herein. it is obvious.
  図2Aは、本発明に基づく、封水的に密閉された好適な柔軟な流体輸送マイクロチャネル熱交換器(flexible fluid delivery microchannel heat exchanger)100を備える循環型冷却装置30の概略を示している。更に、図2Bは、本発明に基づく複数のポート108’、109’を有する他の柔軟な流体輸送マイクロチャネル熱交換器100を備える循環型冷却装置30’の概略を示している。なお、システムは、ここに示す熱交換器100に制限されず、他の熱交換器の実施の形態を備えていてもよい。  FIG. 2A shows a schematic of a circulating
  図2Aに示すように、流体ポート108、109は、流体ライン38に連結され、流体ライン38は、ポンプ32及び熱コンデンサ36に連結されている。ポンプ32は、循環型冷却装置30内で流体をポンピングし、循環させる。一実施の形態においては、流体を熱交換器100に供給するために、1つの流体ポート108を用いる。更に、熱交換器100から流体を排出するために、1つの流体ポート109を用いる。一実施の形態においては、各流体ポート108、109を介して、均一で一定の流量の流体が熱交換器100に流入し、熱交換器100から排出される。これに代えて、所定の時刻に、各流体ポート108、109を介して、流量の異なる流体を熱交換器100に流入させ及び熱交換器100から排出してもよい。これに代えて、図2Bに示すように、1つのポンプが複数の指定されたインレットポート108’に流体を提供してもよい。これに代えて、複数のポンプ(図示せず)がそれぞれの対応するインレットポート108及びアウトレットポート109に流体を提供してもよい。更に、これに代えて、このシステムにおいて、様々なホットスポット又はホットスポット位置の熱量の変化、及びホットスポットの位置に応じて、動的感知及び制御モジュール34を用いて好適な又は代替の熱交換器に出入りする流体の流量を動的に変化させ、及び制御してもよい。  As shown in FIG. 2A, the
  図3Bは、本発明に基づく好適なマニホルド層を備える好適な三層式熱交換器100の分解図である。図3Bに一実施の形態として示す三層式熱交換器100は、接触層102と、少なくとも1つの中間層104と、少なくとも1つのマニホルド層106とを備える。これに代えて、後述するように、熱交換器100は、接触層102とマニホルド層106を含む二層の装置であってもよい。図2A及び図2Bに示すように、熱交換器100は、例えば、これらに限定されるのではないが、マイクロチップ又は集積回路等の電子デバイスである熱源99に連結され、熱源99と熱交換器100の間には、好ましくは、サーマルインタフェースマテリアル98が挟み込まれる。これに代えて、熱交換器100は、熱源99の表面に直接連結してもよい。また、これに代えて、熱交換器100を熱源99に一体に形成し、すなわち、熱交換器100と熱源99を1つの部品として形成してもよいことは当業者にとって明らかである。この場合、接触層102は、熱源99と一体に設けられ、熱源99と同じ部品に含まれるように形成される。更に、サーマルインタフェースマテリアル98と熱源99との間に熱電デバイス(thermoelectric device)97を配設することが好ましい。熱電デバイス97の詳細については、後に説明する。  FIG. 3B is an exploded view of a preferred three-
  好ましくは、本発明に基づく熱交換器100は、図に示すように、長方形状の熱源99に直接又は間接的に、接触するように構成される。なお、熱交換器100が熱源99の形状に応じた他の如何なる形状を有していてもよいことは、当業者にとって明らかである。例えば、本発明に基づく熱交換器は、半円状の形状を有するように構成してもよく、これにより、熱交換器(図示せず)は、対応する半円状の熱源(図示せず)に直接又は間接的に接触することができる。更に、熱交換器100は、0.5ミリメートル以上5.0ミリメートル以下の範囲で、熱源より僅かに大きい寸法を有していることが好ましい。  Preferably, the
  図3Aは、本発明に基づく好適なマニホルド層106の平面図である。詳しくは、マニホルド層106は、図3Bに示すように、上面130及び底面132に加えて、4つの側面を備えている。なお、図3Aでは、マニホルド層106の機能を適切に表し、説明するために、上面130を取り除いて示している。図3Aに示すように、マニホルド層106は、一連のチャネル又は流路116、118、120、122と、これらの流路内に形成されたポート108、109とを備える。図3Bに示すように、フィンガ118、120は、マニホルド層106のボディを完全に貫通して、Z方向に延びている。これに代えて、図3Aに示すように、フィンガ118、120は、マニホルド層106の一部に形成され、Z方向に延び、アパーチャを有していてもよい。更に、流路116、122を、マニホルド層106の一部に延びるように形成してもよい。インレット流路116及びアウトレット流路120の間の残りの領域107は、上面130から底面132まで延び、マニホルド層106のボディを構成する。  FIG. 3A is a plan view of a
  図3Aに示すように、流体は、インレットポート108を介してマニホルド層106に入り、インレットチャネル116に沿って流れ、インレットチャネル116からX方向及びY方向として示す幾つかの方向に分岐する幾つかのフィンガ118に流れ込み、これにより、接触層102の選択された領域に流体が供給される。フィンガ118は、異なる所定の方向に形成され、熱源のホットスポット及びその近傍の領域に対応する接触層102の位置に流体を提供する。接触層102のこれらの位置を、以下では、接触層ホットスポット領域(interface hot spot regions)と呼ぶ。フィンガは、静止した接触層ホットスポット領域を冷却するとともに、時間的に変換する接触層ホットスポット領域をも冷却するよう構成される。図3Aに示すように、チャネル116、122及びフィンガ118、120は、マニホルド層106において、X方向及びY方向に配設される。このようにチャネル116、122及びフィンガ118、120を様々な方向に形成することにより、流体を輸送し、熱源99のホットスポットを冷却し、及び/又は熱交換器100内の圧力降下を最小化することができる。これに代えて、図4及び図5の具体例に示すように、マニホルド層106内でチャネル116、122、フィンガ118、120を一定の間隔で配置し、所定のパターンを形成してもよい。  As shown in FIG. 3A, fluid enters the
  フィンガ118、120の構成及び寸法は、冷却する必要がある熱源99のホットスポットに応じて決定される。マニホルド層106は、ホットスポットの位置及び各ホットスポット又はその近傍で発生する熱量に基づき、フィンガ118、120が接触層102内の接触層ホットスポット領域上又はその近傍に配置されるように構成される。マニホルド層106は、熱交換器100と循環型冷却装置30(図2A)内で実質的な圧力降下を生じさせることなく、単相流体及び/又は二相流体を接触層102に循環させる。接触層ホットスポット領域に流体を輸送することにより、接触層ホットスポット領域に隣接した熱源の領域と同様に、接触層ホットスポット領域の温度が均一になる。  The configuration and dimensions of the
  チャネル116とフィンガ118の数及び寸法は、多くの要因に基づいて決定される。一実施の形態においては、インレットフィンガ118及びアウトレットフィンガ120は、同じ幅寸法を有する。これに代えて、インレットフィンガ118及びアウトレットフィンガ120は、異なる幅寸法を有していてもよい。フィンガ118、120の幅寸法は、好ましくは、0.25ミリメートル以上0.50ミリメートル以下の範囲とする。一実施の形態においては、インレットフィンガ118及びアウトレットフィンガ120は、同じ長さ及び深さ寸法を有する。これに代えて、インレットフィンガ118及びアウトレットフィンガ120は、異なる長さ及び深さ寸法を有していてもよい。他の実施の形態においては、インレットフィンガ118及びアウトレットフィンガ120は、フィンガの長さに沿って様々な幅寸法を有していてもよい。インレットフィンガ118及びアウトレットフィンガ120の長さ寸法は、0.5ミリメートル以上熱源の長さ寸法の三倍以内の範囲内に形成するとよい。更に、フィンガ118、120は、0.25ミリメートル以上0.50ミリメートル以下の範囲内の高さ又は深さ寸法を有するように形成するとよい。更に、マニホルド層106内では、1センチメートルあたり10個未満又は30個より多くのフィンガを配設する。但し、マニホルド層において、1センチメートルあたり、10個〜30個のフィンガを設けてもよいことは、当業者にとって明らかである。  The number and size of the
  また、本発明においては、熱源のホットスポットの冷却効率を最適化するために、フィンガ118、120及びチャネル116、122を不規則な構成に形成してもよい。熱源99に亘る均一な温度を実現するために、流体への熱輸送の空間的分布は、熱の発生の空間的分布に一致させるとよい。流体は、接触層に沿って、マイクロチャネル111を流れるにつれて、温度が高くなり、二相条件の下で、蒸気に変化し始める。したがって、流体は、著しく膨張し、この結果、流速が著しく速くなる。接触層から流体への熱輸送の効率は、通常、流体の流速が速くなると向上する。したがって、熱交換器100における流体の流入及び排出のためのフィンガ118、120及びチャネル116、122の横断面の寸法を調整することによって、流体への熱輸送効率を調整することができる。  In the present invention, the
  例えば、インレットの近傍でより高い熱が発生する熱源のために特定のフィンガを設計してもよい。更に、液体と蒸気の混合が予想される領域については、フィンガ118、120及びチャネル116、122の断面を大きくした方が有利である場合がある。図には示さないが、フィンガの断面をインレット側で小さくすることによって、流体の流速を速めることもできる。また、特定のフィンガ又はチャネルの断面を下流のアウトレット側で大きくすることにより、流体の流速を遅くすることもできる。フィンガ又はチャネルをこのように設計することにより、熱交換器内の、二相流における液体から蒸気への変化のために、流体の体積、加速度及び速度が増加する領域において、圧力降下を最小化でき、及びホットスポット冷却効率を最適化できる。  For example, a particular finger may be designed for a heat source that generates higher heat near the inlet. In addition, for areas where liquid and vapor mixing is expected, it may be advantageous to increase the cross-section of
  更に、フィンガ118、120、及びチャネル116、122をそれらの長さに沿って、一時的に広く、続いて再び狭くすることにより、マイクロチャネル熱交換器100内の異なる所望の位置で流体の流速を速めることができる。これに代えて、フィンガとチャネルの寸法を大から小、小から大と幾度も変化させることで、熱源99に亘る予想された熱消散分布に応じて、熱輸送効率を調整することが適切である場合もある。なお、フィンガとチャネルの寸法の変化に関する説明は、この実施の形態に制限されず、後に説明する他の実施の形態にも同様に適用することができる。  In addition, fluid flow rates at different desired locations within the
  これに代えて、図3Aに示すように、マニホルド層106は、インレットフィンガ118内に1以上のアパーチャ119を備えていてもよい。三層式熱交換器100では、フィンガ118に沿って流れる流体は、アパーチャ119を介して、中間層104に流れ込む。これに代えて、二層式熱交換器100では、フィンガ118に沿って流れる流体は、アパーチャ119から接触層102に直接流れ込む。更に、図3Aに示すように、マニホルド層106は、アウトレットフィンガ120内にアパーチャ121を備えている。三層式熱交換器100では、中間層104から流れ出る流体は、アパーチャ121を介して、アウトレットフィンガ120に流れ込む。これに代えて、二層式熱交換器100では、接触層102から流れ出る流体は、アパーチャ121を介して、アウトレットフィンガ120に直接流れ込む。  Alternatively, as shown in FIG. 3A, the
  変形例では、インレットフィンガ118及びアウトレットフィンガ120は、アパーチャを有さないオープンチャネルである。マニホルド層106の底面132は、三層式熱交換器100では、中間層104の上面に当接し、二層式熱交換器では、接触層102に当接する。このようにして、三層式熱交換器100では、流体は、中間層104とマニホルド層106の間を自由に行き来することができる。流体は、中間層104の導管105によって、適切な接触層ホットスポット領域に適切に出入りするように流される。当業者にとって明らかであるが、導管105は、後述するように、フィンガに直接整列するように配設してもよく又は三層式システム内の他の場所に配設してもよい。  In a variation, the
  図3Bは、変形例として示すマニホルド層を有する三層式熱交換器100を示しているが、これに代えて、熱交換器100は、マニホルド層106と接触層102からなる二層構造を有していてもよく、この場合、流体は、中間層104を介さず、マニホルド層106と接触層102の間を直接行き来する。ここに示すマニホルド層、中間層及び接触層の構成は、例示的なものであり、実際の構成は、ここに示した構成に制限されないことは当業者にとって明らかである。  FIG. 3B shows a three-
  図3Bに示すように、中間層104は、好ましくは、中間層104自体を貫通して延びる複数の導管105を備えている。流入導管(inflow conduit)105は、マニホルド層106から接触層102の指定された接触層ホットスポット領域に流体を流通させる。同様にアパーチャ105は、接触層102からアウトレットポート109に流体を流通させる。このようにして、中間層104は、接触層102から、マニホルド層106に連結されたアウトレットポート109への流体の輸送を提供している。  As shown in FIG. 3B, the
  導管105は、多くの因子に基づいて、所定のパターンで中間層104内に配設される。これらの因子とは、以下に限定されるものではないが、接触層ホットスポット領域の位置、接触層ホットスポット領域において熱源99を適切に冷却するために必要な流量、流体の温度等である。他の部分の幅寸法は、最大で数ミリメートルに設計されるが、導管105は、数百ミクロン程度の幅寸法を有することが好ましい。但し、導管105は、少なくとも上述した因子に基づいて、この他の寸法に形成してもよい。中間層104の各導管105は、同じ形状及び/又は寸法を有しているが、この条件は、必ずしも必要ではないことは当業者にとって明らかである。例えば、上述したフィンガと同様、導管は、この実施の形態に代えて、様々に変化する長さ及び/又は幅寸法を有していてもよい。或いは、導管105は、中間層104を通して一定の深さ又は高さ寸法を有していてもよい。これに代えて、導管105は、異なる深さ寸法を有していてもよく、例えば、中間層104の厚さ方向において、台形又はノズル形の形状を有していてもよい。導管105の水平方向の形状は、図3Bでは、長方形として示しているが、この導管105の水平方向の形状は、円形(図3A)、曲線を含む形状、楕円形等、他の如何なる形状であってもよい。これに代えて、1又は複数の導管105を上部の1又は複数のフィンガの一部又は全体の形状に応じた形状に成形してもよい。  The conduit 105 is disposed in the
  中間層104は、好ましくは、導管105が垂直になるように、熱交換器100内で水平に配置される。これに代えて、中間層104は、以下に限定されるものではないが、斜めに又は湾曲させる等、熱交換器100内で他の如何なる方向に配置してもよい。これに代えて、導管105は、中間層104内で、水平に、斜めに、湾曲させて、又は他の如何なる方向に配設してもよい。更に、中間層104は、好ましくは、熱交換器100の全長に沿って、水平に延び、中間層104は、接触層102をマニホルド層106から完全に分離し、これにより流体を強制的に導管105に流通させてもよい。これに代えて、熱交換器100の一部は、マニホルド層106と接触層102の間に中間層104を含まず、これにより、マニホルド層106と接触層102の間で流体を自由に行き来させるようにしてもよい。更に、これに代えて、中間層104は、マニホルド層106と接触層102の間で垂直に延び、独立した、個別の中間層領域を形成するようにしてもよい。これに代えて、中間層104は、マニホルド層106から接触層102までに完全には延びていなくてもよい。  The
  図10Aは、本発明に基づく接触層302の好適な実施の形態の斜視図である。図10Aに示すように、接触層302は、接触層302の底面301から上方に延びる一連のピラー303を備える。更に、図10Aは、接触層302の底面に設けられた微孔構造301を示している。なお、接触層302は、微孔構造301のみを備えていてもよく、この微孔構造と共に、他の如何なる接触層構造体(例えば、マイクロチャネル、ピラー等)を備えていてもよいことは明らかである。微孔構造に関する詳細については、後に説明する。  FIG. 10A is a perspective view of a preferred embodiment of a
  後により詳細に説明するように、流体は、一連のインレットアパーチャを介して接触層302に移動し、インレットアパーチャに対して最適な距離だけ離間して配設されている一連のアウトレットアパーチャを介して接触層302から排出される。換言すれば流体は、各インレットアパーチャから、最も近いアウトレットアパーチャに向かって流れる。好ましくは、各インレットアパーチャは、アウトレットアパーチャに取り囲まれている。このようにして接触層302に入る流体は、周囲のアウトレットアパーチャに向かって流れる。したがって、流体に十分な熱を輸送するとともに、流体がインレットアパーチャからアウトレットアパーチャに流れる際の流体の圧力降下を最小化するために、接触層302には、ピラー303を設けることが好ましい。  As will be described in more detail later, the fluid travels through the series of inlet apertures to the
  接触層302は、好ましくは、底面301から垂線に延び、マニホルド層の底面に接触する、高くて幅狭のピラー303の高密度なアレイを備える。これに代えてピラー303は、マニホルド層の底面に接触していなくてもよい。更に、ピラー303の少なくとも1つは、接触層302の底面301に対して所定の角度で延びてもよい。また、ピラー303は、好ましくは、接触層302に沿って互いから等距離の間隔で配設され、これにより、底面301に亘って、接触層302の熱輸送能力を一定にするとよい。これに代えて、ピラー303は、非等間隔に配置してもよく、例えば図10Bに示す具体例では、接触層302の中央のピラー303は、周縁のピラー303より間隔を広く空けて配設されている。ピラー303の間隔は、熱源99の寸法、流体への抵抗、ホットスポットのサイズ及び位置、並びに熱源99からの熱流束密度等に基づいて決定される。例えば、ピラー303の密度を下げると、流体抵抗は小さくなるが、接触層302から流体への熱輸送のための表面積は小さくなる。なお、非等間隔に配設されたピラー303の構成は、図10Bの実施の形態には制限されず、熱源に関する条件及び循環型冷却装置30(図2A)の必要な動作に応じて、他の如何なる構成としてもよい。  
  更に、ピラー303は、図10Aに示すように、円筒状に形成することが好ましく、これにより、流体は、最小限の抵抗でインレットアパーチャからアウトレットアパーチャに流れる。但し、ピラー303は、以下に限定されるものではないが、方形303B(図10B)、ダイヤモンド形、楕円形303C(図l0C)、六角形303D(図10D)又は他の如何なる形状を有していてもよい。更に、接触層302は、底面301に沿って、異なる形状のピラーの組合せを備えていてもよい。  Furthermore, the
  例えば、図10Eに示すように、接触層302は、矩形フィン303Eの幾つかの組を備え、各組内の矩形フィン303Eを互いに放射状に配置してもよい。更に、接触層302は、一組の矩形フィン303Eの間に配置された複数のピラー303Bを備えていてもよい。一実施の形態においては、放射状に構成された矩形フィン303E内の開いた円形の領域を各インレットアパーチャの下に配置し、フィン303Eによって、流体をアウトレットアパーチャに誘導することを助けてもよい。このように、放射状に構成されたフィン303Eは、接触層302において、冷却用の流体の略々均一な供給を実現しながら圧力降下を最小化することに寄与する。インレット及びアウトレットアパーチャのサイズ及び相対的な位置に応じて、ピラー及び/又はフィンの構成は様々に選択でき、及び流体が単相流であるか二相流であるかに応じて、接触層302の最適の構成を選択できる。ここに説明する如何なる実施の形態及びその変形例にも、様々なピン303構成を組み合わせることができることは当業者にとって明らかである。  For example, as shown in FIG. 10E, the
  本発明に基づく熱交換器100は、好ましくは、熱源99より大きな幅を有する。熱交換器100が熱源99より大きい場合、張り出し寸法(overhang dimension)が存在する。張り出し寸法とは、熱源99の1つの外壁と、例えば、インレットポート316(図12A)の内壁等、熱交換器100の内部の流体チャネル壁との間の最も遠い距離である。好適な実施の形態では、張り出し寸法は、単相流の場合、0〜5ミリメートルであり、二相流の場合0〜15ミリメートルである。更に、本発明の接触層102の厚さ寸法は、好ましくは、単相流の場合、0.3〜0.7ミリメートルであり、二相流の場合、0.3〜1.0ミリメートルである。  The
  本発明の実施の形態における熱交換器100は、接触層302上に設けられた微孔構造301を用いる。微孔構造301は、単層流の場合も二相流の場合も、10〜200ミクロンの範囲内の平均孔寸法を有する。更に、微孔構造301の多孔度は、単層流の場合も二相流の場合も、50〜80パーセントの範囲内とすることが望ましい。微孔構造301の高さは、単層流の場合も二相流の場合も、0.25〜2.00ミリメートルの範囲内とすることが望ましい。  The
  接触層302に沿ってピラー及び/又はマイクロチャネルを用いる実施の形態では、本発明に基づく接触層102は、単相流の場合、0.3〜0.7ミリメートルの範囲内の厚さ寸法を有し、二相流の場合、0.3〜1.0ミリメートルの範囲内の厚さ寸法を有する。更に、単相流の場合も、二相流の場合も、少なくとも1つのピラーは、(10ミクロン)2〜(100ミクロン)2の範囲内の面積を有する。更に、ピラー及び/又はマイクロチャネルの少なくとも2つの間の離間寸法は、単相流の場合も、二相流の場合も、10〜150ミクロンの範囲内とする。マイクロチャネルの幅寸法は、単相流の場合も、二相流の場合も、10〜100ミクロンの範囲内とする。マイクロチャネル及び/又はピラーの高さ寸法は、単相流の場合、50〜800ミクロンの範囲内とし、二相流の場合、50ミクロン〜2ミリメートルの範囲内とする。なお、上述した以外の寸法を用いてもよいことは、当業者にとって明らかである。In embodiments using pillars and / or microchannels along the
  図3Bは、本発明に基づく接触層102の変形例の斜視図を示している。図3Bに示すように、接触層102は、底面103と、好ましくは、複数のマイクロチャネル壁110とを備え、マイクロチャネル壁110の間の領域は、流体の流路に沿って、流体を流し、又は流通させる。底面103は、平坦であり、熱源99からの十分な熱輸送を実現する高い熱伝導率を有している。これに代えて、底面103は、特定の位置に流体を集め、又は特定の位置から流体を退けるために設計された凹面(troughs)及び/又は凸面(crests)を備えていてもよい。マイクロチャネル壁110は、図3Bに示すように、平行に形成され、これにより、流体は、流路に沿って、マイクロチャネル壁110間を流れる。  FIG. 3B shows a perspective view of a variation of the
  また、これに代えて、上述した因子に基づき、他の如何なる適切な構成でマイクロチャネル壁110を構成してもよいことは、当業者にとって明らかである。例えば、図8Cに示すように、接触層202では、マイクロチャネル壁210のセクションの間に溝を設けてもよい。更に、マイクロチャネル壁110は、接触層102内の圧力降下又は圧力差を最小化するための寸法を有していてもよい。また、以下に限定されるものではないが、粗い表面、例えば、焼結金属及びシリコン泡(silicon foam)等の微孔構造等、マイクロチャネル壁110以外の他の構造を用いてもよいことは明らかである。なお、ここでは、例示的に、図3Bに示す平行なマイクロチャネル壁110を用いて、本発明における接触層102を説明する。これに代えて、マイクロチャネル壁110は、平行でない構成を有していてもよい。  Alternatively, it will be apparent to those skilled in the art that the
  マイクロチャネル壁110により、流体は、接触層ホットスポット領域の選択されたホットスポット位置に沿って、熱交換を行い、その位置で熱源99を冷却する。マイクロチャネル壁110は、好ましくは、熱源99の熱量に応じて、100ミクロン〜1ミリメートルの範囲内の高さ寸法と、50ミクロン〜2ミリメートルの範囲内の幅寸法とを有する。マイクロチャネル壁110は、熱源の寸法及びホットスポットのサイズ及び熱源からの熱流束密度に応じて、100ミクロンから数センチメートルの範囲内の長さ寸法を有する。これに代えて、他の如何なるマイクロチャネル壁寸法を用いてもよい。マイクロチャネル壁110は、熱源99の熱量に応じて、50〜500ミクロンの範囲内の間隔で区切られるが、この間隔は、他の如何なる値に設定してもよい。  Through the
  図3Bでは、マニホルド層106のボディ内のチャネル116、122及びフィンガ118、120を示すために、マニホルド層106の上面を切り取って示している。ここでは、高い熱を発生する熱源99の位置をホットスポットとし、これより低い熱を発生する熱源99の位置をウォームスポットとする。図3Bに示すように、熱源99は、ホットスポット領域である位置Aと、ウォームスポット領域である位置Bとを有する。ホットスポット及びウォームスポットに当接する接触層102の領域は、接触層ホットスポット領域として示されている。すなわち、図3Bに示すように、接触層102は、位置A上の接触層ホットスポット領域Aと、位置B上の接触層ホットスポット領域Bとを含む。  In FIG. 3B, the top surface of the
  図3A及び図3Bに示すように、流体は、まず、好ましくは、1つのインレットポート108を介して、熱交換器100に流入する。そして、流体は、好ましくは1つのインレットチャネル116に流入する。これに代えて、熱交換器100は、2つ以上のインレットチャネル116を備えていてもよい。図3A及び図3Bに示すように、インレットポート108からインレットチャネル116に沿って流れる流体は、まず、フィンガ118Aに分岐する。更に、インレットチャネル116の残りの部分に沿って流れる流体は、フィンガ118B及びフィンガ118C等の個々のフィンガに注ぎ込まれる。  As shown in FIGS. 3A and 3B, the fluid first flows into the
  図3Bに示す具体例では、流体をフィンガ118Aに注ぎ込むことによって、接触層ホットスポット領域Aに流体を供給する。すなわち、流体は、フィンガ118Aを介して、中間層104に流れ下る。流体は、フィンガ118Aの下に配設されたインレット導管105Aを介して、接触層102に流れ込み、熱源99と熱交換を行う。上述のように、接触層102のマイクロチャネルは、如何なる方向に配設してもよい。例えば、接触層ホットスポット領域Aのマイクロチャネル111は、接触層102の他のマイクロチャネル壁110に直交する方向に配設されている。これにより、導管105Aからの流体は、図3Bに示すように、マイクロチャネル111に沿って移動し、接触層102の他の領域では、流体は異なる方向に移動する。そして、加熱された流体は、アウトレット導管105Dを介してアウトレットフィンガ120Aに流れ上がる。  In the example shown in FIG. 3B, the fluid is supplied to the contact layer hot spot region A by pouring the fluid into the
  同様に、流体は、フィンガ118E及び118Fを介して、中間層104に、Z方向に流れ下る。次に、流体は、Z方向に、インレット導管105Cを介して、接触層102に流れ下る。そして、加熱された流体は、接触層102からアウトレット導管105Dを介してアウトレットフィンガ120E、120Fに、Z方向に流れ上がる。熱交換器100は、アウトレットフィンガ120を介して、マニホルド層106で加熱された流体を取り除き、アウトレットフィンガ120は、アウトレットチャネル122に連結されている。アウトレットチャネル122により、流体は、好ましくは、1つのアウトレットポート109を介して、熱交換器から排出される。  Similarly, fluid flows down in the Z direction to the
  また、一実施の形態においては、流入及び流出導管105は、適切な接触層ホットスポット領域上に直接又は略々直接、配設され、熱源99のホットスポットに流体を直接供給する。更に、圧力降下を最小化するために、各アウトレットフィンガ120は、特定の接触層ホットスポット領域に対応する各インレットフィンガ118の近傍に配設される。このように、流体は、インレットフィンガ118Aを介して接触層102に流入し、接触層102の底面103に沿って、接触層102からアウトレットフィンガ120Aに最短の距離を移動する。流体が底面103に沿って移動する距離により、不要な量の圧力降下を発生させることなく、熱源99から熱が適切に取り除かれることは明らかである。更に、図3A及び図3Bに示すように、フィンガ118に沿って流れる流体の圧力降下を減少させるために、フィンガ118、120内のコーナ部分は、好ましくは、曲面となるように形成する。  Also, in one embodiment, the inflow and outflow conduits 105 are disposed directly or nearly directly over a suitable contact layer hotspot area to supply fluid directly to the hot spot of the
  当業者にとって明らかなように、図3A及び3Bに示すマニホルド層106の構成は、例示的なものに過ぎない。マニホルド層106内のチャネル116とフィンガ118の構成は、以下に限定されるものではないが、接触層ホットスポット領域の位置、接触層ホットスポット領域への及び接触層ホットスポット領域からの流体の流量、接触層ホットスポット領域の熱源が発生する熱量等の多くの要因に依存する。例えば、図4〜図7Aに示し、後述するように、マニホルド層106の1つの可能な構成として、平行なインレットフィンガ及びアウトレットフィンガをマニホルド層の幅に沿って交互に配置された、相互に組み合うようなパターン(interdigitated pattern)に構成してもよい。なお、チャネル116とフィンガ118は、他の如何なる構成で配設してもよい。  As will be apparent to those skilled in the art, the configuration of
  図4は、本発明に基づく熱交換器の他のマニホルド層406の斜視図である。図4のマニホルド層406は、互いに組み合う又は噛み合う複数の平行な流体フィンガ411、412を備え、これにより、熱交換器400と循環型冷却装置30(図2A)内で実質的な圧力降下を生じることなく、単相流体及び/又は二相流体を接触層402に循環させることができる。図4に示すように、インレットフィンガ411とアウトレットフィンガ412とは、交互に配置されている。但し、任意の数のインレットフィンガ又はアウトレットフィンガを連続して隣り合うように配置してもよく、したがって、本発明は、図4に示す交互の構成に制限されないことは、当業者にとって明らかである。更に、平行なフィンガが他の平行なフィンガから分岐し、又は平行なフィンガが他の平行なフィンガに連結されるようにフィンガを交互に配置してもよい。したがって、アウトレットフィンガより多くのインレットフィンガを設けてもよく、逆にインレットフィンガより多くのアウトレットフィンガを設けてもよい。  FIG. 4 is a perspective view of another
  流路又はインレットフィンガ411は、熱交換器に流入する流体を接触層402に供給し、流路又はアウトレットフィンガ412は、熱交換器400から排出される流体を接触層402から取り出す。ここに示すマニホルド層406の構成により、流体は、接触層402に流入し、接触層402において非常に短い距離を移動した後、アウトレット流路412に流入することができる。流体が接触層402に沿って移動する長さを実質的に短くすることにより、熱交換器400及び循環型冷却装置30(図2A)における圧力降下を実質的に低減することができる。  The channel or
  図4及び図5に示すように、変形例として示すマニホルド層406は、2つのインレット流路411に連結され、ここに流体を供給するための流路414を備える。また、図4及び図5に示すマニホルド層406は、流路418に連結された3つのアウトレット流路412を備える。マニホルド層406の流路414は、フィンガ411、412に流体を流通させる平らな底面を有する。これに代えて、選択された流体流路411に流体を流通させるために、流路414には、緩やかな斜面を設けてもよい。これに代えて、流体の一部を接触層402に流れ落とすために、インレット流路414の底面に1以上のアパーチャを設けてもよい。同様にマニホルド層の流路418は、流体を収容し、流体をポート409に流通させるフラットな底面を有していてもよい。これに代えて、選択されたアウトレットポート409に流体を流通させるために、流路418には、緩やかな斜面を設けてもよい。更に、この具体例では、流路414、418の幅を約2ミリメートルとする。但し、他の具体例では、他の如何なる幅寸法を用いてもよい。  As shown in FIGS. 4 and 5, the
  流路414、418は、ポート408、409に連結され、ポート408、409は、循環型冷却装置30の流体ライン(fluid lines)38(図2A)に連結される。マニホルド層406は、水平方向に配設された流体ポート408、409を備える。これに代えて、図4〜図7には示していないが、マニホルド層406は、後述するように、垂直及び/又は斜めに構成された流体ポート408、409を備えていてもよい。これに代えて、マニホルド層406は流路414を備えていなくてもよい。この場合、流体は、ポート408からフィンガ411に直接供給される。更に、これに代えて、マニホルド層406は、流路418を備えていなくてもよく、この場合、フィンガ412内の流体は、ポート408を介して、熱交換器400から直接排出される。ここでは、2つのポート408が流路414、418に連結されているが、これに代えて、他の如何なる数のポートを設けてもよい。  The
  インレット流路411は、流路411及び循環型冷却装置30(図2A)に沿って大きな圧力降下を発生させることなく、流体が接触層に移動できるようにするための寸法を有する。インレット流路411の幅寸法は、例えば、0.25ミリメートル以上5.00ミリメートル以下の範囲とする。但し、他の如何なる寸法を用いてもよい。更に、インレット流路411の長さ寸法は、0.5ミリメートル以上熱源の長さ寸法の三倍以内の範囲内に形成するとよい。これに代えて、この長さ寸法は、如何なる値としてもよい。更に、上述のように、流体がマイクロチャネル410に直接流れるように、インレット流路411は、マイクロチャネル410に向けて下方に延び、又はマイクロチャネル410の高さより僅かに高い位置に延びる。インレット流路411の高さ寸法は、0.25ミリメートル以上5.00ミリメートル以下の範囲内とするとよい。なお、流路411は、マイクロチャネル410に向けて下方に延びていなくてもよく、ここに示した以外の如何なる高さ寸法を用いてもよいことは、当業者にとって明らかである。また、ここでは、インレット流路411は、同じ寸法を有しているが、インレット流路411は、異なる寸法を有していてもよいことは、当業者にとって明らかである。更に、これに代えて、インレット流路411は、幅、横断面の寸法及び/又は隣接するフィンガの間の距離を様々に変化させてもよい。特に流路411は、長手方向に沿って、より広い幅又はより深い深さを有する領域と、より狭い幅又はより浅い深さを有する領域とを備えていてもよい。このように寸法を変化させることにより、より広い部分を介して、接触層402内の所定の接触層ホットスポット領域に多くの流体を提供するとともに、狭い部分によって、ウォームスポット接触層ホットスポット領域への流量を制限することができる。  The
  更に、アウトレット流路412は、循環型冷却装置30(図2A)及び流路412に沿って大きな圧力降下を発生させることなく、流体を接触層に移動させるために適した寸法を有する。このアウトレット流路412は、0.25ミリメートル以上5.00以下ミリメートルの範囲内の幅寸法を有するが、他の如何なる幅寸法を用いてもよい。更に、アウトレット流路412の長さ寸法は、0.5ミリメートル以上熱源の長さ寸法の三倍以内の範囲内に形成するとよい。更に、上述のように、流体がマイクロチャネル410に直接流れるように、アウトレット流路412は、マイクロチャネル410に向けて下方に延び、又はマイクロチャネル410の高さより僅かに高い位置に延びる。インレット流路411の高さ寸法は、0.25ミリメートル以上5.00ミリメートル以下の範囲内とするとよい。また、ここでは、アウトレット流路412は、同じ寸法を有しているが、アウトレット流路412は、異なる寸法を有していてもよいことは、当業者にとって明らかである。更に、これに代えて、インレット流路411は、幅、横断面の寸法及び/又は隣接するフィンガの間の距離を様々に変化させてもよい。  Further, the
  図4及び5に示すように、インレット流路411及びアウトレット流路412は、それぞれセグメント化され、互いに分離されているため、これらの流路内の流体は、混じり合うことはない。詳しくは、図4に示すように、2つのアウトレット流路412は、マニホルド層406の外側のエッジ側に設けられ、1つのアウトレット流路412は、マニホルド層406の中央に設けられている。更に、2つのインレット流路411は、中央のアウトレット流路412の両側に隣接するように設けられている。この特定の構成により、接触層402に入る流体は、アウトレット流路412を介して接触層402から流れ出る前に接触層402内で短い距離を移動する。但し、インレット流路及びアウトレット流路は、他の如何なる適切な構成に配置してもよく、したがって、これらは、ここに示し及び説明する構成に制限されないことは、当業者にとって明らかである。マニホルド層406内のインレットフィンガ411及びアウトレットフィンガ412の数は、3個より多いことが望ましく、マニホルド層406における1センチメートルあたり10個未満であることが望ましい。また、インレット流路とアウトレット流路の数は、ここに示し、説明した構成に制限されるものではなく、他の如何なる数としてもよいことは、当業者にとって明らかである。  As shown in FIGS. 4 and 5, the
  マニホルド層406は、中間層(図示せず)に連結され、中間層(図示せず)は、接触層402に連結され、これにより三層式熱交換器400が形成される。この中間層は、図3Bに示す実施の形態に関連して説明したものである。これに代えて、図7Aに示すように、マニホルド層406を接触層402に連結し、接触層402上に配置して、二層式熱交換器400を形成してもよい。二層式熱交換器の接触層402に連結される好適なマニホルド層406の断面を図6A〜図6Cに示す。詳しくは、図6Aは、図5の線A−Aに沿った熱交換器400の断面図である。更に、図6Bは、図5の線B−Bに沿った熱交換器400の断面図であり、図6Cは、図5の線C−Cに沿った熱交換器400の断面図である。上述のように、インレット流路411及びアウトレット流路412は、マニホルド層406の上面から底面に延びる。マニホルド層406及び接触層402が互いに連結される場合、インレット流路411及びアウトレット流路412は、接触層402のマイクロチャネル410の高さと同じ高さか、僅かに高い高さを有する。この構成により、インレット流路411からの流体は、マイクロチャネル410を介してインレット流路411から容易に流れ出る。更に、この構成により、マイクロチャネル410を介して流れる流体は、マイクロチャネル410を流れた後に、アウトレット流路412に容易に流れ上がる。  The
  図には示さないが、変形例として、中間層104(図3B)は、マニホルド層406及び接触層402の間に配設してもよい。中間層104(図3B)は、接触層402内の指定された接触層ホットスポット領域に流体を流通させる。更に、中間層104(図3B)を用いて、接触層402に流体の均一なフローを供給することができる。また、中間層104を用いて、接触層402の接触層ホットスポット領域に流体を提供し、ホットスポットを適切に冷却し、熱源99における温度を均一にすることができる。インレット流路411及びアウトレット流路412は、必ずしも必要ではないが、適切にホットスポットを冷却するために、熱源99のホットスポット上又はその近傍に配設される。  Although not shown in the figure, as an alternative, the intermediate layer 104 (FIG. 3B) may be disposed between the
  図7Aは、本発明に基づく他の接触層102を備える他のマニホルド層406の分解図である。接触層102は、図3Bに示すように、マイクロチャネル壁110の連続した構成を含んでいる。この構成では、概略的に言えば、図3Bに示すマニホルド層106と同様に、流体は、流体ポート408を介してマニホルド層406に流入し、流路414を移動し、流体フィンガ又は流路411に向かう。流体は、インレットフィンガ411の開口(opening)に流入し、矢印によって示すように、X−方向に、フィンガ411の長さに沿って流れる。更に、流体は、Z方向に、マニホルド層406の下に設けられた接触層402に流れ下る。図7Aに示すように、接触層402において、流体は、接触層402のX及びY方向の底面に沿って流れ、熱源99と熱交換を行う。加熱された流体は、アウトレットフィンガ412を介してZ方向を上向きに流れ上がって接触層402から流出し、アウトレットフィンガ412は、X−方向に沿って、マニホルド層406の流路418に加熱された流体を流す。そして、流体は、流路418に沿って流れ、ポート409から流れ出ることによって熱交換器から排出される。  FIG. 7A is an exploded view of another
  図7Aに示すように、接触層は、一組のマイクロチャネル410間に配置された一連の溝416を備え、これらの溝416によって、流体は、流路411、412へ流れ込み及び流路411、412から流れ出る。詳しくは、溝416Aは、他のマニホルド層406のインレット流路411の真下に位置し、これにより、接触層402に入る流体は、インレット流路411を介して、溝416Aに隣接するマイクロチャネルに直接流入する。このように、溝416Aにより、流体は、図7Aに示すように、インレット流路411から特定の指定された流路に直接流通される。同様に接触層402は、Z方向に、アウトレット流路412の真下に設けられた溝416Bを有する。これにより、アウトレット流路に向かってマイクロチャネル410に沿って水平に流れる流体は、溝416Bに水平に流れ、及び溝416Bの上のアウトレット流路412に垂直に流れる。  As shown in FIG. 7A, the contact layer comprises a series of grooves 416 disposed between a set of
  図6Aは、マニホルド層406及び接触層402を備える熱交換器400の断面図である。詳しくは、図6Aは、アウトレット流路412と相互に組み合わされたインレット流路411を示しており、これにより、流体は、インレット流路411に流れ下り、及びアウトレット流路412に流れ上がる。更に、図6Aに示すように、流体は、インレット流路及びアウトレット流路の間に配置され、溝416A、416Bによって分離されたマイクロチャネル410を介して水平に流れる。これに代えて、マイクロチャネル壁は、溝によって分離されず、連続していてもよい(図3B)。図6Aに示すように、インレット流路411及びアウトレット流路412の両方又は一方は、溝416の近くの位置の端部に曲面420を有する。この曲面420により、流体は、流路411に隣接するマイクロチャネル410に向かって、流路411を流れ下る。このように、接触層102に入る流体は、溝416Aに直接流入させるより、より容易にマイクロチャネル410に向かって流れる。同様に、アウトレット流路412の曲面420によって、流体は、マイクロチャネル410から外側の流路412に向けられる。同様に、アウトレット流路412の曲面420によって、流体は、マイクロチャネル410から外側の流路412に向けられる。  FIG. 6A is a cross-sectional view of a heat exchanger 400 that includes a
  変形例では、図7Bに示すように、接触層402’は、マニホルド層406(図4及び図5)に関して上述したように、インレット流路411及びアウトレット流路412を備える。変形例では、流体は、流体ポート408’から接触層402’に直接供給される。流体は、流路414’に沿って、インレット流路411’に向けて流れる。次に、流体は、一組のマイクロチャネル410’を横切り、熱源(図示せず)と熱交換を行い、アウトレット流路412’に流れ込む。次に、流体は、アウトレット流路412’に沿って流路418’に流れ、流体ポート409’を介して、接触層402’から排出される。流体ポート408’、409’は、構成される接触層402’に形成してもよく、或いはマニホルド層406(図7A)に形成してもよい。  In a variation, as shown in FIG. 7B, the contact layer 402 'includes an
なお、本発明に基づく熱交換器は、ここでは全てが水平方向に動作するように示しているが、この熱交換器は、垂直方向に動作してもよいことは、当業者にとって明らかである。熱交換器は、垂直方向に動作する場合、各インレット流路が隣接するアウトレット流路の上に位置するように構成される。したがって、流体は、インレット流路を介して接触層に入り、アウトレット流路に自然に流れ込む。熱交換器を垂直方向に動作させるために、マニホルド層及び接触層の他の如何なる構成を用いてもよいことは明らかである。 Note that although the heat exchanger according to the present invention is shown here to operate in all horizontal directions, it will be apparent to those skilled in the art that this heat exchanger may operate in the vertical direction. . When operating in the vertical direction, the heat exchanger is configured such that each inlet channel is located above an adjacent outlet channel. Thus, fluid enters the contact layer via the inlet channel and naturally flows into the outlet channel. Obviously, any other configuration of the manifold layer and contact layer may be used to operate the heat exchanger in the vertical direction.
  図8A〜図8Cは、本発明に基づく熱交換器の他の実施の形態の平面図である。詳しくは、図8Aは、本発明に基づく他のマニホルド層206の平面図である。また、図8B及び図8Cは、それぞれ中間層204及び接触層202の平面図である。更に、図9Aは、他のマニホルド層206を用いた三層式熱交換器を示し、図9Bは、他のマニホルド層206を用いた二層式熱交換器を示す。  8A to 8C are plan views of other embodiments of the heat exchanger according to the present invention. Specifically, FIG. 8A is a plan view of another
  図8A及び図9Aに示すように、マニホルド層206は、水平及び垂直に構成された複数の流体ポート208を備える。これに代えて、流体ポート208は、マニホルド層206に対して斜めに又は他の如何なる方向に配設してもよい。流体ポート208は、熱交換器200の所定の接触層ホットスポット領域に流体を効果的に提供するよう、マニホルド層206内の選択された位置に配設される。複数の流体ポート208は、熱交換器200に大きな圧力降下を発生させることなく、流体ポートから特定の接触層ホットスポット領域に直接流体を提供できるという重要な利点を有している。更に、流体ポート208は、接触層ホットスポット領域内の流体が、排出ポート208までの最短距離を移動できるように、マニホルド層206内に配設され、これにより、流体は、インレット及びアウトレットポート208の間で最小の圧力降下を維持しながら、温度均一性を実現する。更に、マニホルド層206を用いることにより、接触層202に亘って均等に均一なフローを提供しながら、熱交換器200内の二相流を安定化できる。なお、これに代えて、2つ以上のマニホルド層206を熱交換器200に設け、一方のマニホルド層206が熱交換器200へ及び熱交換器200から流体を流通させ、他方のマニホルド層(図示せず)が熱交換器200への流体循環の速度を制御するようにしてもよい。これに代えて、複数のマニホルド層206の全てが、接触層202内の対応する選択された接触層ホットスポット領域に流体を循環させるようにしてもよい。  As shown in FIGS. 8A and 9A, the
  変形例として示すマニホルド層206は、接触層202の寸法に対応する横寸法を有する。更に、マニホルド層206は、熱源99と同じ寸法を有している。これに代えて、マニホルド層206は、熱源99より大きくてもよい。マニホルド層206の垂直寸法は、0.1〜10ミリメートルの範囲内とするとよい。更に、流体ポート208に連結されるマニホルド層206内のアパーチャの寸法は、1ミリメートルから熱源99の全幅又は全長の間の範囲内とするとよい。  The
  図11は、本発明に基づく他のマニホルド層206を有する三層式熱交換器200の一部を切欠いて示す透視図である。図11に示すように、熱交換器200は、熱源99のボディに沿って発生する熱量に基づいて個別の領域に分割される。これらの領域は、垂直な中間層204及び/又は接触層203のマイクロチャネル壁構造体210によって分離される。但し、当業者には明らかであるが、本発明の構成は、図11に示すアセンブリに制限されず、このアセンブリは、例示的な目的のために示しているに過ぎない。熱交換器200は、1つ以上のポンプに連結され、一方のポンプは、インレット208Aに連結され、他方のポンプは、インレット208Bに連結されている。  FIG. 11 is a perspective view with a portion cut away of a three-
  図3Bに示すように、熱源99は、位置Aのホットスポットと、位置Bのウォームスポットとを有し、位置Aのホットスポットは、位置Bのウォームスポットより高い熱を発生する。なお、熱源99は、如何なる時刻及び如何なる位置において、2つ以上のホットスポット及びウォームスポットを有していてもよいことは明らかである。この具体例では、位置Aがホットスポットであり、位置Aから、より多くの熱が位置A上の接触層102(図11では、接触層ホットスポット領域Aとして示している。)に輸送されるので、熱交換器200では、位置Aを適切に冷却するために、より多くの流体及び/又はより高い流量の流体を接触層ホットスポット領域Aに提供する。なお、この具体例では、接触層ホットスポット領域Bは、接触層ホットスポット領域Aより大きく示されているが、熱交換器200内の接触層ホットスポット領域A、B及び他のあらゆる接触層ホットスポット領域は、如何なるサイズを有していてもよく及び/又は相対的に如何なる構成を有していてもよいことは明らかである。  As shown in FIG. 3B, the
  これに代えて、図11に示すように、流体は、流体ポート208Aを介して熱交換器に入り、中間層204に沿って流入導管205Aに流れることによって接触層ホットスポット領域Aに流入させてもよい。次に、流体は、流入導管205AをZ方向に流れ下り、接触層203の接触層ホットスポット領域Aに至る。流体は、マイクロチャネル210Aの間を流れ、これにより、位置Aからの熱は、接触層203を介した熱伝導によって、流体に輸送される。加熱された流体は、接触層ホットスポット領域A内の接触層203に沿って、アウトレットポート209Aに向かって流れ、熱交換器200から排出される。特定の接触層ホットスポット領域又は一組の接触層ホットスポット領域について、如何なる数のインレットポート208及びアウトレットポート209を用いてもよいことは、当業者にとって明らかである。更に、アウトレットポート209Aは、接触層203Aの近くに配設されているが、これに代えて、アウトレットポート209Aは、以下に限定されるものではないが、例えばマニホルド層206等の他の如何なる位置に垂直に配設してもよい。  Alternatively, as shown in FIG. 11, fluid enters the heat exchanger via
  また、図11に示す具体例では、熱源99は、熱源99の位置Aより低い熱を発生するウォームスポットを位置Bに有している。ポート208Bを介して流入する流体は、中間層204Bに沿って流入導管205Bに流れることによって、接触層ホットスポット領域Bに供給される。次に、流体は、流入導管205BをZ方向に流れ下り、接触層203の接触層ホットスポット領域Bに至る。流体は、X方向及びY方向に、マイクロチャネル210Aの間を流れ、これにより、位置Bからの熱は、接触層203を介した熱伝導によって、流体に輸送される。加熱された流体は、中間層204の流出導管205Bを介して接触層ホットスポット領域B内の全体の接触層203Bに沿って、排出ポート209BをZ方向に流れ上がり、熱交換器200から排出される。  In the specific example shown in FIG. 11, the
  これに代えて、図9Aに示すように、熱交換器200は、接触層203上に配設された蒸気透過膜214を備えていてもよい。蒸気透過膜214は、熱交換器200の内壁に封水的に接触している。蒸気透過膜214は、幾つかの小さいアパーチャを有し、接触層202に沿って発生した蒸気は、このアパーチャを介して流体ポート208に流入する。また、蒸気透過膜214は、疎水性を有するように構成され、これにより、蒸気透過膜214は、接触層202に沿って流れる液体がアパーチャを通り抜けることを防いでいる。蒸気透過膜214のこの他の詳細については、2003年2月12日に出願された、同時に係属中である米国特許出願番号第10/366,128号、発明の名称、「蒸気透過マイクロチャネル熱交換器(VAPOR ESCAPE MICROCHANNEL HEAT EXCHANGER)」に開示されており、この文献は、引用により本願に援用されるものとする。  Instead, as shown in FIG. 9A, the
  図12Aは、本発明に基づく好適な熱交換器300の分解図である。図12Bは、本発明に基づく他の熱交換器300’の分解図である。図12A及び図12Bに示すように、熱交換器300、300’は、接触層302、302’及びこれらに連結されるマニホルド層306、306’を備える。上述のように、熱交換器300、300’は、熱源(図示せず)に連結されていてもよく、熱源と一体に構成されていてもよい(例えば、マイクロプロセッサに組み込まれていてもよい)。なお、接触層302、302’は、実質的に外部には露出しないが、図12Aでは、説明のために、接触層302、302’を露出させて示していることは当業者にとって明らかである。一実施の形態においては、接触層302、302’は、底面301(図示せず)に沿って配設された複数のピラー303を備える。更に、ピラー303は、図10A〜図10Eを用いて説明したように、如何なる形状を有していてもよく、及び/又は放射状に構成されたフィン303Eを設けてもよい。更に、接触層302は、(例えば、マイクロチャネル、粗い表面等)上述した他の如何なる特徴を有していてもよい。接触層302及び接触層302内の構造体は、好ましくは、好適な実施の形態に関して上述したように、同じ熱伝導率特性を有する。ここに示す具体例では、接触層302は、マニホルド層306に比べて小さな寸法を有しているが、接触層302及びマニホルド層306の寸法は、互いに及び熱源99に対して、他の如何なる関係を有していてもよいことは当業者にとって明らかである。接触層302、302’は、上述した接触層と同じ特性を有しており、ここでは同じ説明は繰り返さない。  FIG. 12A is an exploded view of a
  多くの場合、熱交換器300は、マニホルド層306の輸送チャネル(delivery channels)322を用いて、熱交換器内での圧力降下を最小化する。輸送チャネル322は、マニホルド層306内で垂直方向に配設され、接触層302に垂直に流体を供給して、熱交換器300での圧力降下を低減する。上述のように、流体が少なくない時間及び/又は距離に亘って、接触層に沿ってX方向及びY方向に流れると、熱交換器300において圧力降下が発生又は上昇する。マニホルド層306は、幾つかの輸送チャネル322によって、接触層302に垂直に流体を流すことによって、X方向及びY方向におけるフローを最小化する。換言すれば接触層302には、上方から、流体が個別に直接吹き付けられる。輸送チャネル322は、相互に最適な距離に配設され、これにより、X方向及びY方向の流体の流れを最小限にし、多くが接触層302に対して垂直に流れるようにする。したがって、最適に配置されたチャネル322からの個々の流路の力により、流体は、接触層302から離れる上向きの方向に流れる。更に、個々のチャネル322は、接触層302内で流量を幾つかのチャネル322に最大限に分割し、これにより、熱源99を効果的に冷却しながら、熱交換器300における圧力降下を低減させることができる。更に、熱交換器300の構成では、熱源99を適切に冷却するために、流体が水平方向であるX方向及びY方向に移動する距離を短くできるので熱交換器300は、他の熱交換器より小さくすることができる。  Often, the
  図12Aに示す好適なマニホルド層306は、2つの独立したレベルを有している。具体的には、マニホルド層306は、レベル308及びレベル312を有している。レベル308は、接触層302及びレベル312に連結されている。図12Aでは、レベル312は、レベル308の上に配設されているが、レベル308をレベル312の上に配設してもよいことは当業者にとって明らかである。また、本発明に基づいて、幾つのレベルを設けてもよいことも当業者にとって明らかである。  The
  図12Bに変形例として示すマニホルド層306’は、3つの独立したレベルを有する。具体的には、マニホルド層306’は、循環レベル304’、レベル308’及びレベル312’を有している。循環レベル304’は、接触層302’及びレベル308’に連結されている。レベル308’は、循環レベル304’及びレベル312’に連結されている。図12Bでは、レベル312’は、レベル308’の上に配設されているが、レベル308’をレベル312’の上に配設してもよいことは当業者にとって明らかである。また、本発明に基づいて、幾つのレベルを設けてもよいことも当業者にとって明らかである。  The manifold layer 306 'shown as a variation in FIG. 12B has three independent levels. Specifically, the manifold layer 306 'has a circulation level 304', a level 308 ', and a level 312'. Circulation level 304 'is coupled to
  図12Cは、本発明に基づく循環レベル304’の斜視図である。循環レベル304’は上面304A’及び底面304B’を有する。また、図12B及び図12Cに示すように、循環レベル304’内には、幾つかのアパーチャ322’が開設されている。一実施の形態においては、アパーチャ322’の開口は、底面304B’と同一平面に設けられる。これに代えてアパーチャ322’は、底面304B’を超えて突出し、より近くから接触層302’に流体を供給するようにしてもよい。更に、循環レベル304’は、上面304A’から底面304B’に垂直に貫通する幾つかのアパーチャ324’有していてもよく、アパーチャ324’は、Z方向に、所定の距離だけ突出していてもよい。或いは、アパーチャ322’、324’は、循環レベルにおいて、所定の角度で延びていてもよく、完全に垂直である必要はないことは当業者にとって明らかである。上述のように、一実施の形態では、接触層302’(図12B)は、循環レベル304’の底面304B’に連結される。このように、流体は、Z方向にアパーチャ322’を介して接触層302’に流入し、Z方向にアパーチャ324’のみを介して、接触層302’から排出される。後述するように、アパーチャ322’を介して接触層302’に入る流体は、循環レベル304’のアパーチャ324’を介して接触層302’から排出される流体とは分離される。  FIG. 12C is a perspective view of a circulation level 304 'according to the present invention. The circulation level 304 'has a
  図12Cに示すように、アパーチャ324’の一部は、循環レベル304’の上面304A’から、Z方向に延びる筒状の部材を有し、これにより、流体は、アパーチャ324’を介して、レベル312’のコリダ328’(図12F及び図12G)に直接流れる。図12Cに示す具体例では、筒状の突起の断面は円形であるが、この形状は如何なる形状であってもよい。なお、流体は、接触層302’に沿って各アパーチャ322’から隣接するアパーチャ324’に水平方向及び垂直方向に流れる。一実施の形態においては、アパーチャ322’及びアパーチャ324’は、互いに熱的に絶縁され、これにより、マニホルド層306’を介して接触層302’から排出された加熱された流体からの熱は、マニホルド層306’を介して接触層302’に注ぐ冷却された流体に伝播しない。  As shown in FIG. 12C, a portion of the
  図12Dは、本発明に基づくレベル308の他の実施の形態を示している。図12Dに示すように、レベル308は、上面308A及び底面308Bを有している。レベル308の底面308Bは、図12Aに示すように、接触層302に直接連結される。レベル308は、窪んだコリダ320を備え、コリダ320は、流体を接触層302に供給する数個の流体輸送チャネル322を備える。窪んだコリダ320は、接触層302に封水的に接触し、接触層302から排出される流体は、コリダ320内のチャネル322の周り及びチャネル322間を流れ、ポート314を介して外に排出される。なお、接触層302から排出される流体は、輸送チャネル322には流入しない。  FIG. 12D shows another embodiment of
  図12Eは、本発明に基づくレベル308’の裏面の斜視図である。レベル308’は、上面308A’及び底面308B’を有し、レベル308’の底面308B’は、循環レベル304’(図12C)に直接連結される。レベル308’は、好ましくは、ポート314’、コリダ320’及び底面308B’側の複数のアパーチャ322’、324’を有する。レベル308’に幾つのポート及びコリダを設けてもよいことは当業者にとって明らかである。図12Eに示すアパーチャ322’、324’は、循環レベル304’に面するように構成される。具体的には、図12Eに示すように、アパーチャ322’は、コリダ320’に流入する流体を接触層302’に流し、アパーチャ324’は、接触層302’からの流体をレベル312’に流す。アパーチャ324’は、レベル308’のコリダ320’を貫通して延びている。アパーチャ324’は、個別に分離され、これにより、アパーチャ324’を介して流れる流体は、アパーチャ324’に関連するシリンダを介して流れる流体に接触したり混じり合ったりすることはない。また、各アパーチャ324’を分離することにより、各アパーチャ324’を介して流れ込む流体が、アパーチャ324’によって提供される流路に沿って流れることを確実にすることができる。一実施の形態においては、アパーチャ324’は、垂直に構成される。これにより、流体は、マニホルド層306’の大部分において、垂直に流れる。特に、接触層及びレベルの間にアパーチャ322’を設ける場合、アパーチャ322’にも同様の手法を適用できることは明らかである。  FIG. 12E is a perspective view of the back side of level 308 'according to the present invention. Level 308 'has a
  この具体例では、各孔又はアパーチャ322は、同じサイズを有しているが、各アパーチャ322は、長さに沿って異なる又は変化する径を有していてもよい。例えば、ポート314に近いアパーチャ322の径を小さくし、ここを通る流量を制限してもよい。アパーチャ322を小さくすると、流体は、ポート314から遠い、アパーチャ322の下側に流れやすくなる。アパーチャ322の径をこのように変化させることにより、流体を接触層302に、より一様に供給することができる。接触層302における既知の接触層ホットスポット領域を効果的に冷却するためにアパーチャ322の径を変更してもよいことは当業者にとって明らかである。上の説明は、アパーチャ324’にも適用でき、アパーチャ324’の寸法を異ならせ又は変化させて、接触層302から流出する流体を一定にしてもよいことは当業者にとって明らかである。  In this example, each hole or
  一実施の形態では、ポート314は、レベル308及び接触層302に流体を提供する。図12Dに示すポート314は、上面308Aから、レベル308のボディの一部を介してコリダ320に延びる。これに代えてポート314は、レベル308の側面又は底面からコリダ320に接続されてもよい。好ましくは、ポート314は、レベル312(図12A、図12B)においてポート315に連結される。ポート314は、図12Cに示すように、密閉され、又は図12Dに示すように、窪みとして形成されたコリダ320に接続される。コリダ320は、好ましくは、接触層302からポート314に流体を流す役割を果たす。或いは、コリダ320は、ポート314から接触層302に流体を流す。  In one embodiment,
  図12F及び図12Gに示すように、レベル312のポート315は、ポート314に揃えられ、接続される。図12Aに示すように、流体は、ポート316を介して熱交換器300に流入し、コリダ328を介して、レベル308の輸送チャネル322、そして最終的に接触層302に流れ下る。或いは、図12Bに示すように、流体は、ポート315’を介して、熱交換器300’に流入し、レベル308’のポート314’を介して、接触層302’に流れる。図12Fに示すポート315は、上面312Aからレベル312のボディに延びる。これに代えてポート315は、レベル312の側面から延ばしてもよい。これに代えて、レベル312は、ポート315を有していなくてもよく、この場合、流体は、ポート314(図12D及び図12E)を介して熱交換器300に入る。更に、レベル312は、ポート316を備え、ポート316は、好ましくは、コリダ328’に流体を流す。このレベルは、幾つのポート及びコリダを含んでいてもよいことは当業者にとって明らかである。コリダ328は、輸送チャネル322から、最終的に接触層302に流体を流通させる。  As shown in FIGS. 12F and 12G, the
  図12Gは、本発明に基づくレベル312’の変形例の裏面の斜視図である。レベル312’は、図12Eに示すレベル308’に連結される。図12Fに示すように、レベル312’は、底面312B’に沿って露出する窪んだコリダ328’をボディ内に備えている。窪んだコリダ328’は、ポート316’に接続され、流体は、窪んだコリダ328’からポート316’に直接移動する。窪んだコリダ328’は、レベル308’の上面308A’の上に配設され、これにより、流体は、アパーチャ324’からコリダ328’に自由に移動することができる。窪んだコリダ328’及び底面312B’の周囲はレベル312’の上面308A’に対して密封されており、これにより、アパーチャ324’からの流体の全てがコリダ328’を介してポート316’に流入する。底面312B’の各アパーチャ330’は、レベル308’(図12E)のアパーチャ321’に揃えられ、接続され、アパーチャ330’は、レベル308’の上面308A’(図12E)と同一平面に設けられる。これに代えてアパーチャ330’は、対応するアパーチャ324’の直径より僅かに大きい直径を有していてもよく、これにより、アパーチャ324’は、アパーチャ330’を貫いてコリダ328’に延びる。  FIG. 12G is a rear perspective view of a variation of level 312 'according to the present invention. Level 312 'is linked to level 308' shown in FIG. 12E. As shown in FIG. 12F, the level 312 'includes a recessed corridor 328' exposed in the body along the
  図12Hは、本発明に基づく図12Aの熱交換器の線H−Hにおける断面を示している。図12Hに示すように、接触層302は、熱源99に連結される。上述のように、熱交換器300は、1つのコンポーネントとして熱源99と一体に形成してもよい。接触層302は、レベル308の底面308Bに連結される。更に、レベル312は、レベル308に連結され、レベル308の上面308Aは、レベル312の底面312Bに対して密封されている。レベル308のコリダ320の周縁は、接触層302に接続されている。更に、レベル312のコリダ328は、レベル308のアパーチャ322に連結されている。レベル312の底面312Bは、流体が2つのレベル308、312間で漏れないように、レベル308の上面308Aに対して密封されている。  FIG. 12H shows a cross-section at line HH of the heat exchanger of FIG. 12A according to the present invention. As shown in FIG. 12H, the
  図12Iは、本発明に基づく図12Bに示す熱交換器の変形例の線I−Iにおける断面を示している。図12Iに示すように、接触層302’は、熱源99’に連結されている。接触層302’は、循環レベル304’の底面304B’に連結されている。また、循環レベル304’は、レベル308’に連結され、循環レベル304’の上面304A’は、レベル308’の底面308B’に対して密封されている。更に、レベル312’は、レベル308’に連結され、レベル308’の上面308A’は、レベル312’の底面312B’に対して密封されている。流体が2つのレベル308’、304’間で漏れないように、レベル308’のコリダ320’の周縁は、循環レベル304’の上面304A’のアパーチャに接続されている。更に、流体が2つのレベル312’、308’間で漏れないように、レベル312’のコリダ328’の周縁は、循環レベル308’の上面308A’のアパーチャに接続されている。  FIG. 12I shows a cross section along line II of a variation of the heat exchanger shown in FIG. 12B according to the present invention. As shown in FIG. 12I, the
  実際の動作では、図12A及び図12Hの矢印で示すように、冷却された流体は、レベル312のポート316を介して熱交換器300に入る。冷却された流体は、ポート316からコリダ328に流れ下り、更に輸送チャネル322を介して接触層302に注ぎ込まれる。コリダ320内の冷却された流体は、熱交換器300から排出される加熱された流体に接触したり混じり合ったりすることはない。接触層302に入る流体は、熱源99と熱交換を行い、熱源99から発生した熱を吸収する。アパーチャ322の構成は、熱源99を効果的に冷却するとともに、接触層302において、流体がX方向及びY方向で最短距離を移動し、熱交換器300における圧力降下を最小化するように最適化される。加熱された流体は、接触層302からレベル308のコリダ320に、Z方向に流れ上がる。マニホルド層306から排出される加熱された流体は、マニホルド層306に流入する冷却された流体に接触したり混じり合ったりすることはない。加熱された流体は、コリダ320に流入し、ポート314、315を介して、熱交換器300から排出される。なお、本発明の範囲から逸脱することなく、図12A及び図12Hに示す方向とは反対の方向に流体を流してもよいことは当業者にとって明らかである。  In actual operation, the cooled fluid enters the
  変形例における動作では、図12B及び図12Iの矢印で示すように、冷却された流体は、レベル312’のポート315’を介して熱交換器300’に入る。冷却された流体は、ポート315’からレベル308’のポート314’に流れ下る。次に、流体は、コリダ320’に流れ込み、循環レベル304’のアパーチャ322’を介して接触層302’に流れ下る。但し、コリダ320’の冷却された流体は、熱交換器300’から排出される加熱された流体に接触したり混じり合ったりすることはない。接触層302’に入る流体は、熱源99と熱交換を行い、熱源99から発生した熱を吸収する。後述するように、アパーチャ322’及びアパーチャ324’の構成は、熱源99を効果的に冷却するとともに、接触層302’に沿って流体が各アパーチャ322’から隣接するアパーチャ324’まで、最短距離を移動し、この間の圧力降下を最小化するように最適化される。加熱された流体は、レベル308’を介して、接触層302’からZ方向に流れ上がり、幾つかのアパーチャ324’を介してレベル312’のコリダ328’に至る。加熱された流体は、アパーチャ324’を流れ上がる際、マニホルド層306’に流入する冷却された流体に接触したり混じり合ったりすることはない。加熱された流体は、レベル312’のコリダ328’に入り、ポート316’を介して熱交換器300’から排出される。なお、本発明の範囲から逸脱することなく、図12B及び図12Iに示す方向とは反対の方向に流体を流してもよいことは当業者にとって明らかである。  In operation in the variation, as shown by the arrows in FIGS. 12B and 12I, the cooled fluid enters the heat exchanger 300 'via the port 315' at level 312 '. The cooled fluid flows from port 315 'down to level 308' port 314 '. The fluid then flows into the corridor 320 'and down to the
  マニホルド層306では、アパーチャ322は、熱源99を適切に冷却しながら、流体が接触層302を流れる距離を最短にするように構成される。変形例として示すマニホルド層306’では、アパーチャ322’及びアパーチャ324’は、流体が接触層302’を流れる距離を最短にするように構成される。具体的には、アパーチャ322’及び324’は、実質的に垂直な流路を提供し、熱交換器300’における流路の長さは、水平方向であるX方向及びY方向において最短にされる。これにより、熱交換器300、300’は、熱源99を適切に冷却するとともに、流体が流れる距離を大幅に短縮し、したがって、熱交換器300、300’及び循環型冷却装置30、30’(2A−2Bについて計算する)内における圧力降下を大幅に低減させることができる。アパーチャ322及び/又はアパーチャ324の特定の構成及び断面寸法は、以下に限定されるものではないが、例えば、フロー条件、温度、熱源99から発生する熱量、流体の流量等の様々な要素に基づいて決定される。なお、以下、アパーチャ322、324に関する説明を行うが、この説明は、アパーチャ322又はアパーチャ324の何れか一方のみに適用してもよい。  In the
  アパーチャ322、324は、熱源99を所望の温度に適切に冷却するとともに、圧力降下を最小化するように、互いから最適な距離だけ離間して配設される。アパーチャ322及び/又はアパーチャ324の構成及び最適な距離の実施の形態では、個々のアパーチャの寸法及び位置を変えることによって、アパーチャ322、324及び多くの場合、接触層302を介した流路を個別に最適化できる。更に、一実施の形態におけるアパーチャの構成により、接触層に入る流体の全流量及び各アパーチャ322を介して流入する流体によって冷却される面積を最適化することができる。  
  一実施の形態においては、アパーチャ322、324は、図13及び14に示すように、マニホルド層306において、交互の構成、すなわち市松模様状のパターンで構成してもよい。アパーチャ322、324は、それぞれ流体が市松模様状のパターン内で移動する必要がある最短距離だけ離間して配設される。但し、アパーチャ322、324は、十分な時間、接触層302に冷却液を供給するために十分な距離だけ、互いから離間している必要がある。図13及び図14に示すように、接触層302に入る流体が接触層302から排出される前に、接触層302に沿って最短距離を移動するために、1つの以上のアパーチャ322を対応する数のアパーチャ324に隣接させ、また、この逆も成立するような構成としてもよい。このため、図13及び図14に示すように、アパーチャ322、324は、互いの周囲に放射状に配置され、流体が全てのアパーチャ322から最も近いアパーチャ324に、最短距離を移動する。例えば、図13に示すように、1つの特定のアパーチャ322を介して接触層302に入る流体は、隣接するアパーチャ324までに、最小の抵抗を受けることになる。更に、アパーチャ322、324の断面は円形であることが好ましいが、この断面は、他の如何なる形状であってもよい。  In one embodiment, the
  更に、上述のように、先に説明した図に示すアパーチャ324は、筒状の部材として、循環レベル304又はレベル308、312から突出しているが、アパーチャは、マニホルド層306の何れのレベルからも突出していなくてもよい。また、マニホルド層306は、流体が方向を変える領域の付近に丸められた表面を有していてもよく、これにより、熱交換器300における圧力降下の低減の効果を高めることができる。  Further, as described above, the
  アパーチャ322、324の寸法及び最適な距離構成は、流体が接触層302に沿って晒される温度の高さに依存する。また、アパーチャ322、324における流路の断面寸法は、熱交換器300での圧力降下を低減させるために十分な大きさを有する必要がある。接触層302に沿って流体が単相流の状態のみである場合、各アパーチャ322は、図13に示すように、対称性を有する六角形の構成で複数の隣接するアパーチャ324に囲まれる。更に、単相流の場合、循環レベル304におけるアパーチャの数は、略々等しい。更に、単相流の場合、アパーチャ322、324は、好ましくは、同じ直径を有する。但し、アパーチャ322、324の構成及び比率は、上述の実施の形態に限定されないことは当業者にとって明らかである。  The dimensions of the
  接触層302に沿って、流体が二相流状態となる場合、アパーチャ322、324は、二相流の加速度に対応するために、非対称構成にする。但し、二相流の場合であってもアパーチャ322、324を対称的な構成としてもよい。例えば、循環レベル304において、アパーチャ322、324を対称的に配置し、アパーチャ324の開口をアパーチャ322の開口より大きくしてもよい。これに代えて二相流について、循環レベル304において、図13に示す六角形の対称的の構成を用いて、循環レベル304において、アパーチャ324の数をアパーチャ322より多くしてもよい。  When the fluid is in a two-phase flow along the
  なお、循環レベル304のアパーチャ322、324を交互に配置して、熱源99のホットスポットを冷却してもよい。すなわち、例えば、循環レベル304において、2つのアパーチャ322を互いに隣接させて交互に配置し、両方のアパーチャ322を接触層ホットスポット領域又は接触層ホットスポット領域近傍の上に位置するように構成してもよい。両方のアパーチャ322に適切な数のアパーチャ324を隣接して配置し、接触層302での圧力降下を減少させることは言うまでもない。したがって、2つのアパーチャ322は、接触層ホットスポット領域に冷たい流体を供給し、上述のように、接触層ホットスポット領域を均一で実質的に等しい温度に冷却する。  The hot spots of the
  上述のように、熱交換器300は、他の熱交換器に対して重要な利点を有している。熱交換器300では、垂直な流路を用いるために、圧力降下が低減されるため、比較的性能が低いポンプを用いることができる。更に、熱交換器300の構成により、接触層302に沿ってインレット及び流路を個別に最適化することができる。更に、個別のレベルによって、カスタマイズ可能な設計が実現され、熱輸送の均質性、圧力降下の低減、及び個々のコンポーネントの寸法を最適化することができる。また、熱交換器300の構成により、流体が二相流状態となるシステムにおける圧力降下を低減することができ、したがって、この構成は、単相流システム及び二相流システムの何れでも用いることができる。更に、後述するように、熱交換器は、多くの異なる製造方法に対応し、公差を補正するためにコンポーネントの幾何学的構造を調整することができる。  As described above, the
  図18は、本発明に基づく実施の形態の熱交換器600の斜視図である。図18に示すように、熱交換器600は、ボトムマニホルド層604、接触層602及びトップマニホルド層606を備える。トップマニホルド層606は、ボトムマニホルド層604に連結され、接触層602は、上下のマニホルド層604、606の間に配設される。図18及び図19に示すように、トップマニホルド層606は、好ましくは、トップマニホルド層606内部を貫通して延びる2つのアパーチャ608、609を備えている。詳しくは、好ましくは、インレットアパーチャ608は、熱交換器600に冷却された流体を流し、アウトレットアパーチャ609は、熱交換器600から温められた又は熱い流体を受け取る。なお、図18及び図19にはそれぞれ1つのインレットアパーチャ608及びアウトレットアパーチャ609を示しているが、インレットアパーチャ608及びアウトレットアパーチャ609の数は、幾つであってもよい。更に、ここでは、インレットアパーチャ608及びアウトレットアパーチャ609は、垂直に構成されているが、これに代えて、トップマニホルド層606において、アパーチャ608、609は、水平に及び/又は斜めに設けてもよい。更に、トップマニホルド層606は、アウトレットチャンバ612及びアウトレットアパーチャ609に接続された複数のアウトレット流体チャネル610を備える。図19では、流体チャネル610は、直線状に互いに平行に構成されているように示されているが、これに代えて、流体チャネル610は、如何なるパターンで構成してもよく、如何なる形状を有していてもよい。  FIG. 18 is a perspective view of a
  ボトムマニホルド層604は、トップマニホルド層606の底面615(図19)に対応する上面614を備える。ボトムマニホルド層604は、上面614からボトムマニホルド層604のボディに食い込む窪み領域616を備える。窪み領域616には、接触層602を受け入れるための適切な深さを有し、接触層602は、図20に示すように、ボトムマニホルド層604に連結されると上面614と同一平面になる。図18に示すように、窪み領域616は、複数の流体チャネル618を有する突出した表面620を備え、突出した表面620と、流体チャネル618は、互いに平行に構成されている。突出した表面620は、接触層602の底面が突出した表面620に接触するように、窪み領域616の底面から適切な距離だけ突出している。ボトムマニホルド層604及び突出した表面620は、高い熱伝導率を有する材料で形成され、これにより、熱源99によって生成された熱は、突出した表面620を介して接触層602に直接輸送される。更に、窪み領域616内の流体は、突出した表面620を介して、流体チャネル618に沿って流れる窪み領域616で熱を吸収し、ここで、窪み領域616における熱交換のために、この流体の温度が高くなる。  The
  このため、より高い温度の流体が流体チャネル618から接触層602に流れる。接触層602は、ボトムマニホルド層604の窪み領域616からトップマニホルド層606の流体チャネル610(図19)に流体を流す。接触層602は、ボトムマニホルド層604内の、熱伝導性を有する突出した表面620にも接触している。接触層602は、熱交換環境を提供し、流体は、熱源99から適切に熱を吸収できる。このため、接触層602は、微孔構造を有することが好ましく、これにより、接触層602は、上述したように、高い表面−体積比を有するようになる。これに代えて接触層602は、マイクロチャネル(図示せず)、ピラー(図示せず)、又はこれらの任意の組合せを備えていてもよい。  Thus, higher temperature fluid flows from the
  なお、図18〜図20に示す具体例では、流体は、トップマニホルド層606を介して熱交換器600に出入りしているが、流体は、ボトムマニホルド層604を介して出入りしてもよく、又は上下のマニホルド層604、606の組合せを介して出入りしてもよい。例えば、変形例では、流体は、下部のボトムマニホルド層604から熱交換器600に入り、トップマニホルド層606のアパーチャ609を介して熱交換器600から排出される。  In the specific examples shown in FIGS. 18 to 20, the fluid enters and exits the
  以下、図18〜図20を用いて、好適な熱交換器600の動作について説明する。冷却された流体は、インレットポート608を介して熱交換器600に入る。上述のように、トップマニホルド層606の底面615は、ボトムマニホルド層604の上面614に接触し、係合する。したがって、流体は、Z方向に、トップマニホルド層606からボトムマニホルド層604の窪み領域616に直接流れる。流体は、窪み領域616に達すると、窪み領域616に沿って、熱交換を行う突出した表面620内に配設された流体溝618に向かってX方向を移動する。図20に示すように、接触層602は、熱交換を行う突出した表面620に接触するように配置され、熱は、熱交換を行う突出した表面620から接触層602に輸送される。上述のように、熱交換を行う突出した表面620及びボトムマニホルド層604自体は、適切な熱伝導率を有し、これにより熱源99から接触層602に十分な熱輸送が行われる。したがって、熱源99からの熱は、接触層602に輸送され、冷却された流体は、流体溝618を介して流れ、加熱された熱交換を行う突出した表面620において、熱交換を行う。流体は、流体溝618から接触層602にZ方向に移動し、流体は、接触層602に対して更なる熱交換を行う。上述のように、接触層602は、好ましくは、表面−体積比を高める微孔構造を有し、これにより、ボトムマニホルド層604から流体及び熱が吸収され、このため、流体は、熱源99から熱を十分取り除くことができる。加熱された流体は、流体チャネル610に沿ってアウトレットチャンバ612に流れ、アウトレットポート609を介して熱交換器600から排出される。  Hereinafter, the operation | movement of the
  以下、熱交換器100及び熱交換器100の個々の層を製造及び組立方法を説明する。以下では、説明を簡潔にするために、本発明に基づく好適な及び代替の熱交換器について、図3Bの熱交換器100及びその個々の層を用いて説明する。また、以下では、本発明に関連して組立/製造の詳細を説明するが、この組立及び製造の詳細は、図1A−図1Cに示すような1つの流体インレットポートと、1つの流体アウトレットポートとを用いる二層式熱交換器及び三層式熱交換器、並びに従来の熱交換器にも同様に適用されることは、当業者にとって明らかである。  Hereinafter, a method for manufacturing and assembling the
  接触層は、好ましくは、熱源99に等しい又は近似する熱膨張率(coefficient of thermal expansion:以下、CTEという。)を有する。これにより、接触層は、好ましくは、熱源99の伸縮に応じて同様に伸縮する。これに代えて、接触層302の材料は、熱源99の材料のCTEとは異なるCTEを有していてもよい。シリコン等の材料から作成された接触層302は、熱源99のCTEに対応するCTEを有し、及び熱源99から流体に適切に熱を輸送するために十分な熱伝導率を有している。但し、これに代えて、熱源99のCTEに一致するCTEを有する他の材料を用いて接触層302を形成してもよい。  The contact layer preferably has a coefficient of thermal expansion (hereinafter referred to as CTE) equal to or close to that of the
  接触層302は、熱源99がオーバーヒートしないように、熱源99と、接触層302に沿って流れる流体との間で十分な熱伝導を実現する高い熱伝導率を有することが好ましい。接触層302は、好ましくは、100W/m−K程度の高い熱伝導率を有する材料から形成される。但し、接触層302の熱伝導率は、100W/m−K以上でも以下でもよく、この値に制限されないことは当業者にとって明らかである。  The
  好適な高い熱伝導率を達成するために、接触層102は、好ましくは、シリコン等の半導体基板から形成される。これに代えて、接触層は、これらに限定されるものではないが、単結晶誘電材料、金属、アルミニウム、ニッケル銅、コバー(Kovar:商標)、黒鉛、ダイヤモンド、これらの複合体及びあらゆる適切な合金を含む他の如何なる材料から作成してもよい。接触層302の他の材料としては、パターン化され又は成型された有機メッシュ(patterned or molded organic mesh)がある。  In order to achieve a suitable high thermal conductivity, the
  図15に示すように、接触層102は、接触層102の材料を保護し、及び接触層102の熱交換特性を向上させるために、コーティング材料層112でコーティングすることが好ましい。具体的には、コーティング材料層112は、流体及び接触層102の間の化学的相互作用を防ぐ化学保護を提供する。例えば、アルミニウムから形成された接触層102は、これに接触する流体によって削られ、接触層102は、時間が経つにつれて劣化する虞がある。ここで、約25ミクロンのニッケル薄膜によるコーティング材料層112を接触層102の表面に電気メッキすることにより、接触層102の熱的性質を大幅に変化させることなく、化学的な如何なる潜在的反応も防止することができる。なお、接触層102の材料に応じて、適切な層厚を有する他の如何なるコーティング材料を用いてもよいことは明らかである。  As shown in FIG. 15, the
  接触層102は、好ましくは、接触層102を保護するために、ニッケル薄膜でコーティングされた銅材をエッチング加工することによって形成される。これに代えて、接触層102は、アルミニウム、シリコン基板、プラスチック又は他の如何なる適切な材料から形成してもよい。また、熱伝導率が低い材料から形成されている接触層102は、接触層102の熱伝導率を向上させるために、適切なコーティング材料でコーティングするとよい。接触層を電気鋳造する一手法として、クロム又は他の適切な材料のシード層を接触層102の底面に沿って適用し、このシード層に適切な電圧の電気的接続を適用してもよい。この電気的接続により、接触層102上に熱伝導性コーティング材料層112の層が形成される。また、電気鋳造法によって、10〜100ミクロンの範囲の様々な構造体を形成することができる。接触層102は、パターン化された電気メッキ等の電気鋳造法によって形成できる。更に、これに代えて、接触層は、光化学エッチング又は化学切削を単独で、又はこれと電気鋳造法とを組み合わせて形成してもよい。化学切削のための標準リゾグラフィセットを用いて、接触層102内の構造を加工してもよい。更に、レーザで補助された化学切削処理を用いることで、アスペクト比を変更し及び公差の精度を高めることができる。  The
  上述したピラー303は、様々な手法で製造できる。但し、ピラー303は、高い熱伝導率を有するように形成する必要がある。好ましくは、ピラー303は、例えば、銅等の非常に熱伝導率が高い材料で形成する。但し、ここで、例えば、シリコン等の他の材料を用いてもよいことは、当業者にとって明らかである。ピラー303は、以下に限定されるものではないが、例えば、電気鋳造、放電加工ワイヤ法、スタンピング、MIM及び機械加工を含む様々な手法で形成できる。更に、のこ盤及び/又はフライス盤を用いた切断によって、接触層302を所望の構成に形成してもよい。シリコン製の接触層302の場合、ピラー303は、接触層302におけるピラー303の必要なアスペクト比に応じて、例えば、プラズマエッチング、ソーイング、リトグラフによるパターニング、様々なウエットエッチング等、様々な手法で形成することができる。放射状に構成された矩形フィン303E(図10E)は、リトグラフによるパターニングを用いて形成でき、リトグラフによって確定された鋳型内では、プラズマエッチング又は電気メッキ法を採用することができる。  The
  変形例においては、接触層102において用いられるマイクロチャネル壁110をシリコンから形成する。また、これに代えて、マイクロチャネル壁110は、以下に限定されるものではないが、パターン化されたガラス、ポリマ及び成型されたポリマメッシュを含む他の如何なる材料で形成してもよい。マイクロチャネル壁110は、接触層102の底面103の材料と同じ材料から形成されているが、これに代えて、マイクロチャネル壁110は、接触層102の他の部分の材料とは異なる材料から形成してもよい。  In a variation, the
  変形例では、マイクロチャネル壁110は、少なくとも10W/m−Kの熱伝導率特性を有する。これに代えて、マイクロチャネル壁110は、10W/m−Kより大きい熱伝導率特性を有していてもよい。当業者にとって明らかであるが、これに代えて、マイクロチャネル壁110は、10W/m−K未満の熱伝導率特性を有していてもよく、この場合、図15に示すように、マイクロチャネル壁110の熱伝導率を向上させるために、マイクロチャネル壁110にコーティング材料層112を適用するとよい。また、既に高い熱伝導率を有する材料から形成されたマイクロチャネル壁110に対して、マイクロチャネル壁110の表面を保護する少なくとも25ミクロンの厚さのコーティング材料層112を適用してもよい。熱伝導率が低い材料から形成されたマイクロチャネル壁110については、少なくとも50W/m−Kの熱伝導率と、25ミクロン以上の厚さを有するコーティング材料層112を適用するとよい。他の種類及び他の厚さのコーティング材料を用いてもよいことは当業者にとって明らかである。  In a variation, the
  少なくとも10W/m−Kの適切な熱伝導率を有するマイクロチャネル壁110を形成するためには、マイクロチャネル壁110は、例えば、ニッケル又は上述した他の金属のコーティング材料層112(図15)によって電気鋳造される。また、少なくとも50W/m−Kの適切な熱伝導率を有するマイクロチャネル壁110を形成するためには、マイクロチャネル壁110は、薄膜金属フィルムシード層上に銅を電気メッキすることによって形成される。これに代えて、マイクロチャネル壁110をコーティング材料でコーティングしなくてもよい。  In order to form a
  マイクロチャネル壁110は、熱エンボシング法によって形成され、これにより、接触層102の底面103に沿ってマイクロチャネル壁110の高アスペクト比が実現される。これに代えて、マイクロチャネル壁110は、ガラス表面に蒸着されたシリコン構造体として形成してもよく、この構造体は、ガラス上で所望の構成にエッチングされる。また、これに代えて、マイクロチャネル壁110は、標準リゾグラフィ法、スタンピング又は鋳造法、又は他の如何なる適切な技術によって形成してもよい。また、マイクロチャネル壁110は、接触層102とは別に作成し、陽極結合又はエポキシ樹脂接着によって接触層102に連結してもよい。これに代えて、マイクロチャネル壁110は、電気メッキ等の従来の電鋳技術によって接触層102に連結してもよい。  The
  中間層104は、様々な手法を用いて形成できる。中間層104は、好ましくは、シリコンによって形成される。また、中間層104には、以下に限定されるものではないが、ガラス又はレーザでパターン化されたガラス、ポリマ、金属、ガラス、プラスチック、成形された有機材料又はこれらの複合体を含む他の如何なる適切な材料を用いてもよいことは当業者にとって明らかである。これに代えて、中間層104は、プラズマエッチング技術を用いて形成してもよい。これに代えて、中間層104は、化学エッチング法を用いて形成してもよい。他の手法として、機械加工、エッチング、押出及び/又は鍛造等によって金属を所望の構成に形成してもよい。また、これに代えて、中間層104は、プラスチックメッシュの射出成形によって所望の構成に形成してもよい。これに代えて、中間層104は、ガラス板に対するレーザドリルによって所望の構成に形成してもよい。  The
  マニホルド層106は、様々な手法で作成することができる。好適なマニホルド層306は、完全に一体に形成してもよい。これに代えて、図12に示すように、複数の独立した部品を形成した後、これらを連結してマニホルド層306を形成してもよい。マニホルド層306は、プラスチック、金属、ポリマ複合体又は他の何らかの適切な材料を用いた射出成形法によって形成され、ここで、各層は、同じ材料から形成することが好ましい。これに代えて、上述したように、各層は、異なる材料から形成してもよい。マニホルド層306は、機械加工又はエッチング等の金属加工技術を用いて形成してもよい。マニホルド層306を他の如何なる適切な手法により形成してもよいことは当業者にとって明らかである。  The
  中間層104は、様々な手法で接触層102及びマニホルド層106に連結され、これにより、熱交換器100が形成される。接触層102、中間層104及びマニホルド層106は、陽極結合、接着材又は共晶結合法等によって互いに連結される。或いは、中間層104は、マニホルド層106及び接触層102の構造体内に一体に形成してもよい。中間層104は、化学結合処理によって接触層102に連結させてもよい。これに代えて、中間層104は、熱エンボシング又はソフトリソグラフィ技術によって形成してもよく、ここで、ワイヤ放電加工機EDM又はシリコンマスタを用いて中間層104をスタンプしてもよい。更に、必要であれば、中間層104を金属又は他の適切な材料で電気メッキし、中間層104の熱伝導率を向上させてもよい。  The
  これに代えて、中間層104は、射出成形法によって、接触層102内のマイクロチャネル壁110の作成と同時に形成してもよい。これに代えて、他の何らかの適切な手法によって、マイクロチャネル壁110の作成と共に中間層104を形成してもよい。熱交換器を形成する他の手法としては、以下に限定されるものではないが、はんだ付け、融接、共晶接合、金属間接合(intermetallic bonding)及び各層で用いられる材料の種類に応じた他の如何なる適切な技術を用いてもよい。  Alternatively, the
  本発明に基づく熱交換器の他の製造方法を図16に示す。図16に示すように、この熱交換器の他の製造方法は、接触層として、シリコン基板から形成されたハードマスクを製造する工程(ステップ500)を有する。ハードマスクは、酸化シリコン又はスピンオンガラスから形成される。一旦、ハードマスクを形成した後、ハードマスク内に複数のアンダーチャネル(under-channels)を形成する。これらのアンダーチャネルは、マイクロチャネル壁110間で流路を形成する(ステップ502)。アンダーチャネルは、以下に限定されるものではないが、HFエッチング技術、化学切削、ソフトリソグラフィ、二フッ化キセノンエッチング等の如何なる適切な手法によって形成してもよい。更に、隣接するアンダーチャネルが互いにブリッジされないように、各アンダーチャネル間には、十分な間隔を設ける必要がある。次に、何らかの周知の手法を用いて、ハードマスクの上面上に、スピンオンガラスを設け、中間体及びマニホルド層を形成する(ステップ504)。続いて、橋かけ法(curing method)によって、中間層及びマニホルド層を硬化する(ステップ506)。中間層及びマニホルド層を完全に形成し、硬化した後に、この硬化された層に1又は複数の流体ポートを形成する(ステップ508)。流体ポートは、マニホルド層をエッチングし又は穿孔することによって形成される。以上、接触層102、中間層104及びマニホルド層106を作成するための特定の手法を説明したが、当分野で周知の他の手法を用いて熱交換器100を製造してもよい。  FIG. 16 shows another manufacturing method of the heat exchanger according to the present invention. As shown in FIG. 16, another manufacturing method of this heat exchanger includes a step (step 500) of manufacturing a hard mask formed from a silicon substrate as a contact layer. The hard mask is formed from silicon oxide or spin-on glass. Once the hard mask is formed, a plurality of under-channels are formed in the hard mask. These underchannels form a flow path between the microchannel walls 110 (step 502). The under channel may be formed by any suitable method such as, but not limited to, HF etching technology, chemical cutting, soft lithography, xenon difluoride etching, and the like. Furthermore, it is necessary to provide a sufficient space between the under channels so that adjacent under channels are not bridged with each other. Next, using some known technique, spin-on glass is provided on the upper surface of the hard mask to form an intermediate and a manifold layer (step 504). Subsequently, the intermediate layer and the manifold layer are cured by a curing method (step 506). After the intermediate layer and manifold layer are completely formed and cured, one or more fluid ports are formed in the cured layer (step 508). The fluid port is formed by etching or drilling the manifold layer. While specific techniques for creating the
  本発明の他の実施の形態に基づく熱交換器の変形例を図17に示す。図17に示す実施の形態では、2つの熱交換器200、200’が1つの熱源99に連結されている。詳しくは、電子デバイス等の熱源99は、回路板96に連結され、垂直に配設され、熱源99の両面は、必然的に外部に晒される。本発明に基づく熱交換器200、200’は、それぞれ、熱源99の晒された面に連結され、この熱交換器200、200’によって、熱源99の冷却効率が最大化される。これに代えて、熱源が水平に回路板に連結されている場合、2つ以上の熱交換器(図示せず)を熱源99上にスタックし、各熱交換器を熱源99に電気的に連結してもよい。この実施の形態に関するこの他の詳細は、2002年2月7日に出願された、同時に係属中である米国特許出願第10/072,137号、発明の名称「電力調整モジュール(POWER CONDITIONING MODULE)」に開示されており、この文献は、引用により本願に援用される。  FIG. 17 shows a modification of the heat exchanger according to another embodiment of the present invention. In the embodiment shown in FIG. 17, two
  図17に示す具体例では、3つの層を有する熱交換器200が熱源99の左側に連結され、2つの層を有する熱交換器200’が熱源99の右側に連結されている。熱源99の何れの面に好適な又は代替の熱交換器を連結してもよいことは当業者にとって明らかである。また、変形例として、他の熱交換器200’を熱源99の側面に連結してもよいことは当業者にとって明らかである。図17に示す変形例では、熱源99の厚さに沿って存在するホットスポットを冷却するように流体を供給することによって、熱源99のホットスポットをより正確に冷却することができる。すなわち、図17に示す実施の形態では、熱源99の両面で熱交換を行うことによって、熱源99の中心でホットスポットを適切に冷却することができる。なお、図17に示す実施の形態では、図2A及び図2Bの循環型冷却装置30を用いているが、他の循環システムを用いてもよいことは当業者にとって明らかである。  In the specific example shown in FIG. 17, the
  上述のように、熱源99は、熱源99において実行する必要がある異なるタスクのために、1又は複数のホットスポットの位置が変化する場合がある。熱源99を適切に冷却するために、循環型冷却装置30(図2A及び図2B)は、ホットスポットの位置の変化に応じて、熱交換器100に入る流体の流量及び/又は流速を動的に変更する感知及び制御モジュール34を備える。  As described above, the
  詳しくは、図17に示すように、熱交換器200内の各接触層ホットスポット領域に及び/又は熱源99の各潜在的なホットスポット位置に1つの以上のセンサを接触層124上に配設する。これに代えて、熱源及び熱交換器の間で及び/又は熱交換器自体の中に、複数のセンサを均等に配置してもよい。また、制御モジュール34(図2A及び図2B)を熱交換器100への流体のフローを制御する循環型冷却装置30内の1又は複数のバルブに連結してもよい。この具体例では、これらの1つの以上のバルブは、流体ライン内に配設されるが、これに代えて、他の如何なる箇所に配設してもよい。接触層124上に配設された複数のセンサは、制御モジュール34に連結され、制御モジュール34は、好ましくは、図2に示すように、熱交換器100のアップストリーム側に配設される。これに代えて、制御モジュール34は、循環型冷却装置30内の他の如何なる位置に配設してもよい。  Specifically, as shown in FIG. 17, one or more sensors are disposed on the
  接触層124上に配設されたセンサは、以下に限定されるものではないが、例えば、接触層ホットスポット領域を流れる流体の流量、接触層102及び/又は熱源99のホットスポット領域の温度、流体の温度等の情報を制御モジュール34に提供する。例えば、図17に示す具体例では、接触層124上に配設されたセンサは、熱交換器200の特定の接触層ホットスポット領域の温度が高くなり、熱交換器200’の特定の接触層ホットスポット領域の温度が低くなっているといった情報を制御モジュール34に提供する。これに応じて、制御モジュール34は、熱交換器200への流体の流量を増加させ、熱交換器200’への流体の流量を減少させる。これに代えて、制御モジュール34は、接触層124上に配設されたセンサから受け取った情報に応じて、1又は複数の熱交換器内の1又は複数の接触層ホットスポット領域への流体の流量を変更してもよい。図17に示す具体例では、接触層124上に配設されたセンサを2つの熱交換器200、200’に接続しているが、これに代えて、接触層124上に配設されたセンサを1つの熱交換器だけに接続してもよいことは明らかである。  Sensors disposed on
  変形例では、本発明に基づく熱交換器100は、図2Aに示すように、熱電デバイス97に連結され、熱電デバイス97は、熱源99に連結される。熱電デバイス97は、熱源99と同じ寸法を有し、熱電デバイス97を駆動する電源96に接続されている。熱電デバイス97は、熱交換器100の最も熱い表面の下で接合温度を抑制するよう作用し、或いは、熱源99に亘る温度差を低減するために用いることができる。これに代えて、熱電デバイス97は、熱源99の1つ以上のホットスポットを冷却するために利用してもよい。一実施の形態においては、熱電デバイス97は、接触層102の一部として、熱交換器100内に一体に形成してもよい。他の実施の形態として、熱電デバイス97は、マイクロプロセッサ又は熱源99内に一体に形成してもよい。熱電デバイス97としては、熱源99及び熱交換器100とともに適切に用いられるものであれば、周知の如何なる熱電デバイスを用いてもよいことは当業者にとって明らかである。また、熱電デバイス97は、ここに開示し、説明した何れの熱交換器とともに用いてもよいことも当業者にとって明らかである。  In a variant, the
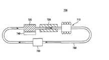
  図21は、本発明に基づく発熱デバイス740を冷却するシステムを示している。このシステムは、流体熱交換器730に流体を循環させるポンプ(図示せず)を備えている。流体熱交換器730は、発熱デバイス740に熱接触している。更に、熱電デバイス720は、流体熱交換器730に熱接触し、及び除熱器710に熱接触している。  FIG. 21 illustrates a system for cooling a
  熱電デバイス720は、冷却部分及び加熱部分を有する。熱電デバイス720は、電源(図示せず)から供給された電気エネルギを加熱部分と冷却部分との間の温度差に変換する。この温度差は、均衡を維持しようとし、すなわち、温度差を維持するために、冷却部分に吸収された熱を消散させ、加熱部分から生じた熱を補う必要がある。熱電デバイス内での電気的及び熱力学的メカニズムにより、冷却部分に吸収された熱は、加熱部分に移動し、及びこの逆方向の熱の移動が引き起こる。システム700では、加熱部分は、除熱器710と熱伝導可能に連結されており、冷却部分は、流体熱交換器730と熱伝導可能に連結されている。  
  動作時には、発熱デバイス740内で熱が発生する。発熱デバイス740で発生した熱の少なくとも一部は、流体熱交換器730に放熱される。流体熱交換器730に流れる流体は、流体熱交換器730から熱の一部を吸収する。残りの熱は、熱電デバイス720の冷却部分に伝導される。冷却部分に伝導された熱の一部は、熱電デバイス720によって、加熱部分に移動する。冷却部分に伝導した熱の他の部分は、他の原理によって放熱される。加熱部分及び除熱器710は、熱接触しているので、加熱部分からの熱は、除熱器710に流れ、周囲の空気に放熱される。  In operation, heat is generated within the
  図22は、本発明に基づくシステム701を示しており、システム701は、流体熱交換器730と、流体熱交換器730に連結された流体導管構造760と、流体導管構造760に連結され、流体を流体熱交換器730に流すポンプ750と、流体導管構造760に連結され、内部に流体が流され、流体に熱を伝導する除熱器710とを備える。更に、システムは、流体導管構造760に連結され、内部に流される流体と熱伝導可能に接触する熱電デバイス720を備える。  FIG. 22 illustrates a system 701 according to the present invention that includes a
  システム701は、好ましくは、流体熱交換器730と熱伝導可能に連結された発熱デバイス740を冷却するように動作する。発熱デバイス内で発生した熱は、流体熱交換器730に伝導され、ここから、導管構造760を介して流れる流体に伝導される。流体導管構造760を流れる流体は、熱電デバイス720の冷却部分と熱伝導可能に接触する。上述したように、熱は、熱電デバイス720の冷却部分から熱電デバイス720の加熱部分に輸送される。  System 701 preferably operates to cool a
  システム701では、熱の一部は、流体導管構造760内の流体から熱電デバイス760の冷却部分に伝導される。熱は、冷却部分から加熱部分に移動し、更に加熱部分から、放熱及び対流によって、周囲の空気に散逸する。  In system 701, some of the heat is conducted from the fluid in
熱伝導及び放熱は、主に、温度差に依存する。このため、除熱器、熱交換器等、熱輸送に頼る冷却装置の効率は、主に、冷却を担う物体と、冷却すべきデバイスとの間の温度差をどれほど十分に維持できるかに依存する。本発明の実施の形態では、効率的な冷却を実現するために、熱電デバイスを用いて、十分な温度差を維持する。 Heat conduction and heat dissipation mainly depend on the temperature difference. For this reason, the efficiency of cooling devices that rely on heat transport, such as heat removers and heat exchangers, mainly depends on how well the temperature difference between the object responsible for cooling and the device to be cooled can be maintained. To do. In an embodiment of the present invention, a sufficient temperature difference is maintained using a thermoelectric device in order to achieve efficient cooling.
本発明の構成及び動作原理を明瞭に説明するために、様々な詳細を含む特定の実施例を用いて本発明を説明した。このような特定の実施例の説明及びその詳細は、特許請求の範囲を制限するものではない。本発明の主旨及び範囲から逸脱することなく、例示的に選択された実施例を変更できることは、当業者にとって明らかである。 The invention has been described in terms of specific embodiments, including various details, in order to provide a clear explanation of the structure and operating principles of the invention. Such reference herein to specific embodiments and details thereof is not intended to limit the scope of the claims appended hereto. It will be apparent to those skilled in the art that the exemplary selected embodiments can be modified without departing from the spirit and scope of the present invention.
| Application Number | Priority Date | Filing Date | Title | 
|---|---|---|---|
| US11/582,657US8464781B2 (en) | 2002-11-01 | 2006-10-17 | Cooling systems incorporating heat exchangers and thermoelectric layers | 
| Publication Number | Publication Date | 
|---|---|
| JP2008111653Atrue JP2008111653A (en) | 2008-05-15 | 
| Application Number | Title | Priority Date | Filing Date | 
|---|---|---|---|
| JP2007270407AWithdrawnJP2008111653A (en) | 2006-10-17 | 2007-10-17 | Cooler | 
| Country | Link | 
|---|---|
| JP (1) | JP2008111653A (en) | 
| Publication number | Priority date | Publication date | Assignee | Title | 
|---|---|---|---|---|
| EP2015294A1 (en) | 2007-07-09 | 2009-01-14 | Nitto Denko Corporation | Producing method of suspension board with circuit | 
| JP2012528458A (en)* | 2009-05-26 | 2012-11-12 | シーレイト リミテッド ライアビリティー カンパニー | System and method for changing the temperature of an electrical energy storage device or electrochemical energy generation device using a microchannel | 
| JP2013546167A (en)* | 2010-10-04 | 2013-12-26 | ビーエーエスエフ ソシエタス・ヨーロピア | Thermoelectric module for exhaust system | 
| US9476617B2 (en) | 2010-10-04 | 2016-10-25 | Basf Se | Thermoelectric modules for an exhaust system | 
| CN106642809A (en)* | 2016-12-28 | 2017-05-10 | 江苏康泰热交换设备工程有限公司 | Microchannel heat pipe heating method and device | 
| JP2020509329A (en)* | 2017-02-28 | 2020-03-26 | ゼネラル・エレクトリック・カンパニイ | Additional manufactured heat exchanger including a flow turbulator defining an internal fluid passage | 
| CN115681919A (en)* | 2022-11-01 | 2023-02-03 | 光之能(厦门)照明有限公司 | Micro-flow tube substrate | 
| CN116182615A (en)* | 2023-04-26 | 2023-05-30 | 四川优浦达科技有限公司 | High-efficiency recovery device and method for waste liquid and waste heat of wastewater treatment plant | 
| Publication number | Priority date | Publication date | Assignee | Title | 
|---|---|---|---|---|
| EP2015294A1 (en) | 2007-07-09 | 2009-01-14 | Nitto Denko Corporation | Producing method of suspension board with circuit | 
| KR101749298B1 (en)* | 2009-05-26 | 2017-08-17 | 딥 사이언스, 엘엘씨 | System and method of altering temperature of an electrical energy storage device or an electrochemical energy generation device using high thermal conductivity materials | 
| JP2012528459A (en)* | 2009-05-26 | 2012-11-12 | シーレイト リミテッド ライアビリティー カンパニー | System and method for changing the temperature of an electrical energy storage device or electrochemical energy generator using a high thermal conductivity material | 
| US9065159B2 (en) | 2009-05-26 | 2015-06-23 | The Invention Science Fund I, Llc | System and method of altering temperature of an electrical energy storage device or an electrochemical energy generation device using microchannels | 
| US9093725B2 (en) | 2009-05-26 | 2015-07-28 | The Invention Science Fund I, Llc | System for altering temperature of an electrical energy storage device or an electrochemical energy generation device using microchannels based on states of the device | 
| US9433128B2 (en) | 2009-05-26 | 2016-08-30 | Deep Science, Llc | System and method of operating an electrical energy storage device or an electrochemical energy generation device, during charge or discharge using microchannels and high thermal conductivity materials | 
| JP2012528458A (en)* | 2009-05-26 | 2012-11-12 | シーレイト リミテッド ライアビリティー カンパニー | System and method for changing the temperature of an electrical energy storage device or electrochemical energy generation device using a microchannel | 
| JP2013546167A (en)* | 2010-10-04 | 2013-12-26 | ビーエーエスエフ ソシエタス・ヨーロピア | Thermoelectric module for exhaust system | 
| US9476617B2 (en) | 2010-10-04 | 2016-10-25 | Basf Se | Thermoelectric modules for an exhaust system | 
| CN106642809A (en)* | 2016-12-28 | 2017-05-10 | 江苏康泰热交换设备工程有限公司 | Microchannel heat pipe heating method and device | 
| JP2020509329A (en)* | 2017-02-28 | 2020-03-26 | ゼネラル・エレクトリック・カンパニイ | Additional manufactured heat exchanger including a flow turbulator defining an internal fluid passage | 
| CN115681919A (en)* | 2022-11-01 | 2023-02-03 | 光之能(厦门)照明有限公司 | Micro-flow tube substrate | 
| CN116182615A (en)* | 2023-04-26 | 2023-05-30 | 四川优浦达科技有限公司 | High-efficiency recovery device and method for waste liquid and waste heat of wastewater treatment plant | 
| CN116182615B (en)* | 2023-04-26 | 2023-06-27 | 四川优浦达科技有限公司 | High-efficiency recovery device and method for waste liquid and waste heat of wastewater treatment plant | 
| Publication | Publication Date | Title | 
|---|---|---|
| JP2006515054A (en) | Method and apparatus for efficient vertical fluid transport for cooling a heat generating device | |
| JP2006086503A (en) | Method and equipment for efficient perpendicular fluid transfer for cooling exoergic device | |
| US8464781B2 (en) | Cooling systems incorporating heat exchangers and thermoelectric layers | |
| US6988534B2 (en) | Method and apparatus for flexible fluid delivery for cooling desired hot spots in a heat producing device | |
| JP2006506603A5 (en) | ||
| US6986382B2 (en) | Interwoven manifolds for pressure drop reduction in microchannel heat exchangers | |
| JP2006049861A (en) | Interwoven manifold for pressure drop reduction in microchannel heat exchanger | |
| US7836597B2 (en) | Method of fabricating high surface to volume ratio structures and their integration in microheat exchangers for liquid cooling system | |
| US20040112571A1 (en) | Method and apparatus for efficient vertical fluid delivery for cooling a heat producing device | |
| JP2006054434A (en) | Method and apparatus for flexibly transferring fluid for cooling desired hot spot in heat generating device | |
| US10420253B2 (en) | Loop heat pipe, manufacturing method thereof, and electronic device | |
| JP2008111653A (en) | Cooler | |
| US8528628B2 (en) | Carbon-based apparatus for cooling of electronic devices | |
| CN100565856C (en) | Microstructured cooler and use thereof | |
| JP2006516068A (en) | Method and apparatus for achieving temperature uniformity and hot spot cooling in a heat generating device | |
| JP2006515054A5 (en) | ||
| JP2006522463A (en) | Optimal spreader system, apparatus and method for micro heat exchange cooled by fluid | |
| JP2006522463A5 (en) | ||
| WO2005104323A2 (en) | Improved microchannel heat sink | |
| JP2008530482A (en) | Heat exchanger manufacturing method, micro heat exchanger manufacturing method, and micro heat exchanger | |
| JP4013883B2 (en) | Heat exchanger | |
| JP2010080455A (en) | Cooling device and cooling method for electronic equipment | |
| TWI295725B (en) | Method and apparatus for efficient vertical fluid delivery for cooling a heat producing device | |
| TWI786526B (en) | Ultra-thin vapor chamber device with two phase unidirectional flow | |
| KR102605791B1 (en) | Semiconductor device thermal management module and manufacturing method thereof | 
| Date | Code | Title | Description | 
|---|---|---|---|
| A300 | Application deemed to be withdrawn because no request for examination was validly filed | Free format text:JAPANESE INTERMEDIATE CODE: A300 Effective date:20110104 |