













本発明は、リアプロジェクタに関し、より具体的には、キャビネットのスクリーンが設けられた側から着脱可能なプロジェクタを備えた薄型のリアプロジェクタに関するものである。 The present invention relates to a rear projector, and more specifically, to a thin rear projector including a projector that can be attached and detached from a side of a cabinet provided with a screen.
従来から、軽量で安価な大画面テレビを実現する技術として、リアプロジェクタが知られている。一般的なリアプロジェクタは、キャビネット前面に設けられた透過型スクリーンの背後に設置されたプロジェクタから、キャビネットの上部後方に、スクリーンに対して斜めに配置されたミラーに向かって画像光を投射し、このミラーで反射された画像光によって、スクリーン上に画像を表示させている。このプロジェクタをキャビネットから取り出して、フロントプロジェクタ(前面投射用プロジェクタ)としても使用できれば、大変便利である。そこで、キャビネットに収容されたプロジェクタを前面投射用としても使用可能なリアプロジェクタが提案されている(例えば、特許文献1参照)。 Conventionally, a rear projector is known as a technology for realizing a light-weight and inexpensive large-screen television. A general rear projector projects image light from a projector installed behind a transmissive screen provided at the front of the cabinet to a mirror disposed obliquely with respect to the screen at the upper rear of the cabinet, An image is displayed on the screen by the image light reflected by the mirror. If this projector can be taken out of the cabinet and used as a front projector (front projection projector), it is very convenient. In view of this, a rear projector that can use a projector housed in a cabinet for front projection has been proposed (see, for example, Patent Document 1).
また、リアプロジェクタにおいては、さらなる薄型化や軽量化が目標とされている。しかしながら、通常のフロントプロジェクタは画角が小さいため、ある程度の大きさの画像を表示するには、相応の投射距離が必要となる。すなわち、これをそのままリアプロジェクタに使用した場合、キャビネット内で必要な光路長を確保するためにキャビネット内部の空間を広く設けねばならず、薄型化が困難である。また、従来のように、ミラーをスクリーンのすぐ後ろに斜めに配置すると、ミラー自体が大きく、重くなる。よって、薄型化、軽量化を達成する一つの方法として、プロジェクタに広角レンズを採用し、1枚以上のミラーを、レンズ光軸に対して垂直、かつスクリーンに対して平行に配置したリアプロジェクタが提案されている(例えば、特許文献2参照)。
しかしながら、特許文献1に記載のリアプロジェクタが備えるプロジェクタは、特許文献1の図3に示されるように、プロジェクタ全体を斜め上方へ向け、画角全角を用いて投射する、いわゆるあおり投射を行っている。よって、このプロジェクタを例えば机上に載置して前面投射に使用すると、画像光の下部が載置面(机)によって阻害されて画像が欠け、所望の画像が得られないという問題があった。また、前面投射に使用する場合に、あおり投射を行うと、プロジェクタの投射光軸が投影面に対して傾くことに起因して、画像が上下方向に歪み(いわゆる台形歪み)を生じるため、正常な画像を投影するためには、歪み補正が必要であった。 However, as shown in FIG. 3 of
一方、特許文献2に記載されているリアプロジェクタはあおり投射を行わないため、プロジェクタからの画像光が1枚以上のミラーを経由して、スクリーンに投射される際、適切な角度で画像光を投射しないと、光路上で、プロジェクタのレンズやミラーに阻害され、画像が欠けてしまう虞があった。 On the other hand, since the rear projector described in
本発明は、上記問題点を解決するためになされたものであり、前面投射及び背面投射に兼用可能なプロジェクタを備えた薄型のリアプロジェクタ、前記リアプロジェクタ用のキャビネットおよびプロジェクタを提供することを目的とする。 The present invention has been made to solve the above-described problems, and an object thereof is to provide a thin rear projector including a projector that can be used for both front projection and rear projection, a cabinet for the rear projector, and a projector. And
上記目的を達成するために、請求項1に係る発明のリアプロジェクタは、キャビネットと、前記キャビネットの一側面に設けられ、内部から投射される画像光によって画像を表示するスクリーンと、前記キャビネットの前記スクリーンが設けられた側から着脱可能な状態で前記キャビネットに収容され、広角の投射レンズを有し、光変調素子によって形成された画像光を前記スクリーンに拡大投射するプロジェクタと、前記スクリーンに対して平行かつ前記投射レンズの光軸に対して垂直に前記キャビネット内に設けられ、前記プロジェクタにより投射された前記画像光を反射するx枚(xは1以上の整数)のミラーとを備え、前記投射レンズの射出瞳と前記射出瞳から前記画像光が反射される順番が1番目のミラーとの距離をg1(mm)、前記順番がn−1番目のミラーとn番目(nは2からxまでの整数)のミラーの距離をgn(mm)、最後のミラーからスクリーンまでの距離をgx+1(mm)、前記スクリーンの対角寸法をa(インチ)、前記スクリーンの横:縦の比をe:fとした場合に、前記プロジェクタが前記画像光の投射に用いる対角画角(半角)θが、次の数式を満たしている。
また、請求項2に係る発明のリアプロジェクタは、請求項1に記載の発明の構成に加え、前記投射レンズ及び前記光変調素子が、前記投射レンズの光軸と前記光変調素子の中心軸をずらして配置されていることを特徴とする。 According to a second aspect of the present invention, in addition to the configuration of the first aspect of the invention, the projection lens and the light modulation element have an optical axis of the projection lens and a central axis of the light modulation element. It is characterized by being shifted.
また、請求項3に係る発明のリアプロジェクタは、請求項1または2に記載の発明の構成に加え、前記投射レンズの光軸から前記プロジェクタの最上端までの高さをh、前記投射レンズの光軸と、前記射出瞳から前記順番が1番目のミラーに投射された画像の下辺中心に入射する光線とが成す角をφ1、前記投射レンズの光軸と、前記射出瞳から前記順番が1番目のミラーに投射された画像の上辺中心に入射する光線とが成す角をφ2、とした場合、ミラーの枚数xが1のとき、h<2g1・tanφ1を満たし、xが2以上のとき、h<2g1・tanφ1および次の数式を満たすことを特徴とする。
また、請求項4に係る発明のリアプロジェクタは、請求項1乃至3のいずれかに記載の発明の構成に加え、前記プロジェクタを前記スクリーンに対して垂直方向に平行移動する案内手段をさらに備えている。 A rear projector according to a fourth aspect of the present invention further includes guide means for translating the projector in a vertical direction with respect to the screen in addition to the configuration of the invention according to any one of the first to third aspects. Yes.
そして、請求項5に係る発明のリアプロジェクタは、請求項4に記載の発明の構成に加え、前記案内手段が、前記スクリーンに表示される画像のサイズに対応した前記プロジェクタの設置位置を表示する位置表示手段をさらに備えることを特徴とする。 In the rear projector according to the fifth aspect of the invention, in addition to the configuration of the invention according to the fourth aspect, the guide means displays the installation position of the projector corresponding to the size of the image displayed on the screen. A position display means is further provided.
また、請求項6に係る発明のリアプロジェクタは、請求項1乃至5のいずれかに記載の発明の構成に加え、前記プロジェクタのサイズに応じて、前記プロジェクタの投影面が前記順番が1番目のミラーに重なるように前記プロジェクタの高さを調整するための治具をさらに備えている。 According to a sixth aspect of the present invention, there is provided a rear projector according to any one of the first to fifth aspects, wherein the projection surface of the projector has the first order according to the size of the projector. A jig is further provided for adjusting the height of the projector so as to overlap the mirror.
また、請求項7に係る発明のリアプロジェクタは、請求項1乃至6のいずれかに記載の発明の構成に加え、前記ミラーの枚数が偶数の場合には、前記プロジェクタの前記キャビネット着脱時に、前記スクリーンに表示される画像を左右反転する左右反転手段をさらに備えている。 According to a seventh aspect of the present invention, in addition to the configuration of the first aspect of the present invention, in the case where the number of the mirrors is an even number, Further provided is a left / right reversing means for reversing the image displayed on the screen.
そして、請求項8に係る発明のリアプロジェクタは、請求項7に記載の発明の構成に加え、前記画像を左右反転するか否かを示す画像処理モードを設定する処理モード設定手段をさらに備え、前記左右反転手段は、前記操作手段により設定された前記画像処理モードに基づいて左右反転を行う手段であることを特徴とする。 The rear projector according to an eighth aspect of the invention further includes processing mode setting means for setting an image processing mode indicating whether or not the image is reversed left and right in addition to the configuration of the invention according to the seventh aspect, The left-right reversing means is means for performing left-right reversal based on the image processing mode set by the operation means.
さらに、請求項9に係る発明のリアプロジェクタは、請求項7または8に記載の発明の構成に加え、前記キャビネット又は前記プロジェクタが、前記プロジェクタの前記キャビネットへの着脱を検知する検知手段をさらに備え、前記左右反転手段は、前記検知手段の検知結果に基づいて、自動的に左右反転を行う手段であることを特徴とする。 Further, a rear projector according to a ninth aspect of the present invention further includes a detection unit that detects whether the cabinet or the projector is attached to or detached from the cabinet, in addition to the configuration of the invention according to the seventh or eighth aspect. The left / right reversing means is a means for automatically performing left / right reversal based on the detection result of the detecting means.
また、請求項10に係る発明のリアプロジェクタ用キャビネットは、広角の投射レンズを有し、キャビネットの前側から着脱可能な、光変調素子によって形成された画像光を投影面に拡大投射するプロジェクタが装着される装着部と、前記投射レンズの光軸に対して垂直に配置され、前記プロジェクタにより投射された画像光を反射するx枚(xは1以上の整数)のミラーと、前記x枚のミラーと平行に設置され、前記x枚のミラーにより反射された前記画像光によって画像を表示するスクリーンと、前記プロジェクタの装着時に前記プロジェクタに電気的に接続する手段とを備えている。 The rear projector cabinet of the invention according to claim 10 is equipped with a projector that has a wide-angle projection lens and that is detachable from the front side of the cabinet and that enlarges and projects the image light formed by the light modulation element onto the projection surface. A mounting unit, x mirrors (x is an integer equal to or greater than 1) that are arranged perpendicular to the optical axis of the projection lens and reflect the image light projected by the projector, and the x mirrors And a screen for displaying an image by the image light reflected by the x mirrors, and means for electrically connecting to the projector when the projector is mounted.
さらに、請求項11に係る発明のリアプロジェクタ用キャビネットは、請求項10に記載の発明の構成に加え、前記プロジェクタを前記スクリーンに対して垂直方向に平行移動する案内手段をさらに備えている。 The rear projector cabinet according to an eleventh aspect of the invention further includes guide means for translating the projector in a direction perpendicular to the screen in addition to the configuration of the invention according to the tenth aspect.
そして、請求項12に係る発明のリアプロジェクタ用キャビネットは、請求項11に記載の発明の構成に加え、前記案内手段が、前記スクリーンに表示される画像のサイズに対応した前記プロジェクタの設置位置を表示する位置表示手段を備えることを特徴とする。 In the rear projector cabinet according to the twelfth aspect of the invention, in addition to the configuration of the invention of the eleventh aspect, the guide means determines the installation position of the projector corresponding to the size of the image displayed on the screen. Position display means for displaying is provided.
また、請求項13に係る発明のフロントプロジェクタは、リアプロジェクタ用キャビネットの前側から着脱可能な状態で前記キャビネットに収容され、広角の投射レンズを有する、光変調素子によって形成された画像光を投影面に拡大投射するフロントプロジェクタであって、前記キャビネットへの着脱時に、前記スクリーンに表示される画像を左右反転する左右反転手段を備えている。 According to a thirteenth aspect of the present invention, there is provided a front projector that projects image light formed by a light modulation element that is housed in the cabinet in a detachable state from the front side of the rear projector cabinet and has a wide-angle projection lens. A front projector for enlarging and projecting the image to the cabinet includes a left / right reversing means for reversing the image displayed on the screen in the left / right direction when being attached to or detached from the cabinet.
また、請求項14に係る発明のフロントプロジェクタは、請求項13に記載の発明の構成に加え、前記画像を左右反転するか否かを示す画像処理モードを設定する処理モード設定手段をさらに備え、前記左右反転手段は、前記操作手段により設定された前記画像処理モードに基づいて左右反転を行う手段であることを特徴とする。 The front projector of the invention according to
さらに、請求項15に係る発明のフロントプロジェクタは、請求項13または14に記載の発明の構成に加え、前記プロジェクタの前記キャビネットへの着脱を検知する手段をさらに備え、前記左右反転手段は、前記検知結果に基づいて、自動的に左右反転を行う手段であることを特徴とする。 Further, the front projector of the invention according to
請求項1に係る発明のリアプロジェクタによれば、プロジェクタがキャビネットから着脱可能なため、これを取り出して、前面投射用のフロントプロジェクタとして使用することができる。このとき、スクリーンの設置された側、すなわち操作者と対向する前面側からプロジェクタを取り出すことが可能なため、取り出し操作が簡便である。また、プロジェクタの投射レンズを広角レンズとし、少なくとも1枚のミラーとスクリーンを、レンズの光軸に対して垂直に、かつ互いに平行に配置したことにより、リアプロジェクタ全体を薄型化することができる。それに加えて、プロジェクタの投射光軸が投影面に対して傾いている場合(あおり投射を行った場合)に問題となる台形歪みが生じることがない。さらに、投射レンズの対角画角(半角)θを請求項1に記載の通り特定することにより、画像光は、プロジェクタの投射レンズの上半分の領域のみから発せられ、さらに画像光の下端の光線が投射光軸よりも上方に位置する。これにより、プロジェクタを取り出して机上に載置し、前面投射に使用しても、載置面に阻害されて画像が欠けることがない。また、少なくとも1枚のミラーにより反射された画像光がスクリーンに至るまでに、プロジェクタや中間のミラーに阻害される画像光の領域を低減させることができる。 According to the rear projector of the first aspect of the invention, since the projector is detachable from the cabinet, it can be taken out and used as a front projector for front projection. At this time, since the projector can be taken out from the side where the screen is installed, that is, the front side facing the operator, the taking-out operation is simple. Further, the projection lens of the projector is a wide-angle lens, and at least one mirror and screen are arranged perpendicular to the optical axis of the lens and parallel to each other, so that the entire rear projector can be reduced in thickness. In addition, trapezoidal distortion that becomes a problem when the projection optical axis of the projector is tilted with respect to the projection plane (when tilting projection is performed) does not occur. Further, by specifying the diagonal field angle (half angle) θ of the projection lens as described in
また、請求項2に係る発明のリアプロジェクタでは、請求項1に記載の発明の効果に加え、投射レンズの光軸を光変調素子の中心軸からずらすことによってオフセットを設けることができる。 In the rear projector of the invention according to
さらに、請求項3に係る発明のリアプロジェクタによれば、請求項1または2に記載の発明の効果に加え、プロジェクタの投射レンズから発せられ、少なくとも1枚のミラーにより反射された画像光がスクリーンに至るまでに、プロジェクタや中間のミラーに阻害されて画像が欠けるのを確実に防ぐことができる。 Further, according to the rear projector of the invention of claim 3, in addition to the effect of the invention of
また、請求項4に係る発明のリアプロジェクタによれば、請求項1乃至3のいずれかに記載の発明の効果に加え、プロジェクタの位置をずらすことによって投影される画像のサイズを変更するとき、常に画像光が適切な光路を形成する位置にプロジェクタを配置することができる。 According to the rear projector of the invention according to
さらに、請求項5に係る発明のリアプロジェクタによれば、請求項4に記載の発明の効果に加え、所定のサイズの画像を得られる位置が位置表示手段によって特定されるので、プロジェクタの位置決めを簡便に行うことができる。 Further, according to the rear projector of the invention according to claim 5, in addition to the effect of the invention of
また、請求項6に係る発明のリアプロジェクタによれば、請求項1乃至5のいずれかに記載の発明の効果に加え、プロジェクタの投射レンズの位置が低く、そのままでは画像光の光路がミラーに重ならない場合でも、プロジェクタを持ち上げて適切な位置に配置することができる。 Further, according to the rear projector of the invention according to claim 6, in addition to the effect of the invention according to any one of
請求項7に係る発明のリアプロジェクタによれば、請求項1乃至6のいずれかに記載の発明の効果に加え、ミラーを偶数枚備えている場合には、プロジェクタのキャビネットへの着脱時に画像の左右反転を行い、前面投射、背面投射のいずれの場合も適切な画像を表示することができる。すなわち、ミラーを偶数枚設けた場合には、同一の画像光を前面投射した場合と背面投射とした場合で視聴者から見た画像の左右が反転するため、請求項7に係る発明のリアプロジェクタのように左右反転手段を設け、適切な処理を施すことによって、視聴者から見て常に左右が正しい画像を得ることができる。 According to the rear projector of the invention according to claim 7, in addition to the effect of the invention according to any one of
さらに、請求項8に係る発明のリアプロジェクタによれば、請求項7に記載の発明の効果に加え、操作者が前記画像を左右反転するか否かを示す画像処理モードを設定することにより、必要に応じて容易に左右反転を指示することができる。 Further, according to the rear projector of the invention according to claim 8, in addition to the effect of the invention of claim 7, by setting an image processing mode indicating whether the operator reverses the image horizontally, It is possible to easily instruct left-right reversal as necessary.
また、請求項9に係る発明のリアプロジェクタでは、請求項7または8に記載の発明の効果に加え、プロジェクタがキャビネットに着脱されたときに画像の左右反転を行い、前面投射、背面投射のいずれの場合も適切な画像を表示することができる。 Further, in the rear projector of the invention according to claim 9, in addition to the effect of the invention of claim 7 or 8, when the projector is attached to or detached from the cabinet, the image is reversed left and right, and either front projection or rear projection is performed. In this case, an appropriate image can be displayed.
また、請求項10に係る発明のリアプロジェクタ用キャビネットは、プロジェクタを装着したときにプロジェクタに電気的に接続する。この接続を検知して、プロジェクタが自動的に左右反転処理を行うため、他の操作を必要とすることなく、適切な画像を得ることができる。 The rear projector cabinet of the invention according to claim 10 is electrically connected to the projector when the projector is mounted. By detecting this connection and the projector automatically performs the left / right reversing process, an appropriate image can be obtained without requiring another operation.
また、請求項11に係る発明のリアプロジェクタ用キャビネットによれば、請求項10に記載の発明の効果に加え、プロジェクタの位置をずらすことによって投影される画像のサイズを変更するとき、常に画像光が適切な光路を形成する位置にプロジェクタを配置することができる。 Further, according to the rear projector cabinet of the invention of
さらに、請求項12に係る発明のリアプロジェクタ用キャビネットによれば、請求項11に記載の発明の効果に加え、所定のサイズの画像を得られる位置が位置表示手段によって特定されるので、プロジェクタの位置決めを簡便に行うことができる。 Furthermore, according to the rear projector cabinet of the twelfth aspect of the invention, in addition to the effect of the invention of the eleventh aspect, the position where the image of a predetermined size can be obtained is specified by the position display means. Positioning can be performed easily.
また、請求項13に係る発明のフロントプロジェクタによれば、プロジェクタがキャビネットに着脱されたときに、自動的に着脱が検知されて左右反転が行われるため、他の操作を必要とすることなく、適切な画像を得ることができる。 Further, according to the front projector of the invention according to
さらに、請求項14に係る発明のフロントプロジェクタでは、請求項13に記載の発明の効果に加え、操作者が前記画像を左右反転するか否かを示す画像処理モードを設定することにより、必要に応じて容易に左右反転を指示することができる。 Furthermore, in the front projector of the invention according to
また、請求項15に係る発明のフロントプロジェクタでは、請求項13または14に記載の発明の効果に加え、プロジェクタがキャビネットに着脱されたときに、自動的に着脱が検知されて左右反転が行われるため、他の操作を必要とすることなく、適切な画像を得ることができる。 In the front projector according to the fifteenth aspect, in addition to the effect of the thirteenth or fourteenth aspect, when the projector is attached to or detached from the cabinet, the attachment or detachment is automatically detected and the left and right are reversed. Therefore, an appropriate image can be obtained without requiring other operations.
以下、本発明を具体化したリアプロジェクタ、リアプロジェクタ用キャビネット、およびプロジェクタの実施の形態について、図面を参照して説明する。なお、各図面において、共通する構成要素については、同一の符号を付している。また、これらの図面は、本発明が採用しうる技術的特徴を説明するために用いられるものであり、記載されている構成要素の寸法、形状、その相対配置などは特に特定的な記載がない限り、それのみに限定する趣旨ではなく、単なる説明例である。 Embodiments of a rear projector, a rear projector cabinet, and a projector embodying the present invention will be described below with reference to the drawings. In addition, in each drawing, the same code | symbol is attached | subjected about the common component. Further, these drawings are used to explain technical features that can be adopted by the present invention, and there are no specific descriptions of the dimensions, shapes, relative arrangements, and the like of the described components. As long as it is not limited to that, it is merely an illustrative example.
<第1の実施形態>
以下、図1〜図5を参照して、本発明の第1の実施形態について説明する。図1は、第1の実施形態に係るリアプロジェクタ1の概略構成を示す部分縦断面図である。図2は、第1の実施形態に係るプロジェクタ31内部の構造を示す模式図である。また、図3および図4は、各々オフセットがない場合とある場合の、光軸とスクリーンとの位置関係を説明する説明図である。図5は、投射レンズ55の対角画角θと図4に示す長さY2の関係を説明する説明図である。図6は、プロジェクタ31の電気的構成を示すブロック図である。<First Embodiment>
Hereinafter, a first embodiment of the present invention will be described with reference to FIGS. FIG. 1 is a partial longitudinal sectional view showing a schematic configuration of a
まず、図1〜図2を参照して、本実施形態に係るリアプロジェクタ1の概略構成について説明する。図1に示すように、リアプロジェクタ1は、箱形状で内部が中空のキャビネット11と、キャビネット11の一側面に設けられたスクリーン21と、キャビネット11内に収容されたプロジェクタ31と、キャビネット内のスクリーン21が設けられた一側面に対向する側面に設置された1枚のミラー41とを備えている。なお、これ以降、キャビネット11において、スクリーン21が設けられた側面を「前面11A」、ミラー41が設けられた側面を「背面11B」、視聴者がスクリーン21に対面したときに右側に位置する側面を「右側面11C」、その反対側の側面を「左側面11D」、キャビネット11の地面等の平面への載置面を「底面11E」、底面に対向する面を「上面11F」という。 First, a schematic configuration of the
図1に示すように、キャビネット11の前面11Aのスクリーン21の下側には、外側に向かって開く扉16が設けられている。扉16は、後述するプロジェクタ31をキャビネット11に出し入れするための開口部である。また、キャビネット11の底面11Eには、図1および図2に示すように、キャビネット11内部に向かって突出する、略直方体形状の位置決め突起15が設けられている。この位置決め突起15は、プロジェクタ31をキャビネット11内に設置する際に使用するものである。なお、プロジェクタ31のキャビネット11への着脱方法については後述する。 As shown in FIG. 1, a
スクリーン21は、キャビネット11内に収容されたプロジェクタ31から投射され、ミラー41によって反射された画像光をが背面から投影される透過型のスクリーンである。つまり、視聴者はキャビネット11の前面11Aに対面する状態で視聴するため、画像が投影されている面の裏側から、スクリーン21の画像を視聴することになる。 The
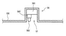
プロジェクタ31は、図2に示すように、内部が中空の筐体51と、その内部に収容されたランプ52、ランプ52から射出された照明光を平行光にする照明レンズ53、本発明の「光変調素子」に相当する透過型液晶パネル(Liquid Crystal Display:以下、LCDと略称する)54、および投射レンズ55を備えている。なお、プロジェクタ31において、投射レンズ55の射出瞳55Aが位置する側を「前面31A」、これに対向する側面を「背面31B」、操作者が投射レンズ55の射出瞳55Aに対面したときに右側に位置する側面を「右側面31C」、その反対側の側面を「左側面31D」、プロジェクタ31のキャビネット11の底面11Eや机上等の平面への載置面を「底面31E」、底面に対向する面を「上面31F」というものとする。 As shown in FIG. 2, the
プロジェクタ31の筐体51の底面31Eには、図1および図2に示すように、前述したキャビネット11の位置決め突起15に嵌合する略直方体形状の固定穴57が設けられている。そして、この固定穴57を前述したキャビネット11の底面11Eに突設された位置決め突起15に嵌合することにより、プロジェクタ31をキャビネット11の適切な位置に設置できるようになっている。 As shown in FIGS. 1 and 2, the
ランプ52としては、キセノンランプ、メタルハライドランプ、超高圧水銀ランプ等、通常のプロジェクタに用いられる光源が使用される。この中では、高輝度で長寿命の超高圧水銀ランプが特に優れている。 As the
LCD54は、カラーフィルタを内蔵する透過型のカラー液晶パネルである。LCD54は、ランプ52から発せられ、照明レンズ53を介して入射した照明光を変調し、後述するように、別途入力された映像信号に応じて、ミラー41に反射されて図1に示すスクリーン21に投射される画像光を形成する。 The
投射レンズ55は広角レンズであり、近距離で大きなサイズの画像を投影することができる。換言すれば、同一サイズの画像を得るための投射距離を、通常のレンズに比べて短くすることができる。また、本実施形態では、後述するオフセットを設けるため、図2に示すように、投射レンズ55の光軸とLCD54の中心軸とがずれるように、LCD54および投射レンズ55が配置されている。 The
プロジェクタ31から投射された画像光を反射させ、スクリーン21に投影するミラー41は、図1に示すように、キャビネット11の背面11Bに設置されている。その反射面は、キャビネット11の前面11Aに設けられたスクリーン21に対して平行であって、かつ、投射レンズ55の光軸に対して垂直である。このような構成とすることで、キャビネット11の薄型化を実現するとともに、投射光軸に対して投射面が傾斜している場合に生じる台形歪みの問題を解消することができる。 A
さらに、リアプロジェクタ1においては、図1に示す投射レンズ55の対角画角θ、スクリーン21の対角寸法a(インチ)及びアスペクト比(e:f)、投射レンズ55の射出瞳55Aからミラー41までの距離g1(mm)、およびミラー41からスクリーン21までの距離g2(mm)の間で、次に示す関係式(1)が成り立っている。
tan−1[25.4a√{{(e/2)2+f2}/(e2+f2)}/(g1+g2)]<θ<90° ・・・(1)Further, in the
tan−1 [25.4a√ {{(e / 2)2 + f2 } / (e2 + f2 )} / (g1 + g2 )] <θ <90 ° (1)
以下、図3〜図5を参照して、上記の式(1)について説明する。ここで、プロジェクタ31の正面にスクリーンを配置し、この仮想的に配置したスクリーンに画像を投影する場合を考える。図3において、投射レンズ55の光軸は、図の正面からスクリーンSの投影面に対して垂直に延び、スクリーンSの左右方向の中心軸である直線Lと、点P1で交わるものとする。そして、スクリーンSと同一平面にあって、点P1で直線Lに直交する直線を直線Mとする。図3に示すように、投射レンズ55の光軸(投射光軸)とスクリーンSの下端との距離がゼロ(0)、すなわち、スクリーンSの下辺が直線Mに接している場合を、オフセットがない状態という。一方、図4に示すように、投射光軸とスクリーンSの下端との間に距離が設けられている場合、すなわち、スクリーンSの下辺が直線Mより上にある場合を、オフセットがある状態といい、この距離HDをオフセット値という。本実施形態においては、プロジェクタ31の投射光軸は、ミラー41及び実際のスクリーン21に対して垂直である。つまり、プロジェクタ31全体を上方又は下方に傾け、投射光軸を投射面に対して傾斜させる、いわゆるあおり投射は行っていない。したがって、オフセットを設けないと、投射レンズ55の射出瞳55Aからの発せられた画像光の下方の光線は、ミラー41に反射された後、スクリーン21に到達する前にプロジェクタ31に阻害され、画像が欠けてしまうことになる。 Hereinafter, the above formula (1) will be described with reference to FIGS. Here, consider a case where a screen is arranged in front of the
よって、図3(オフセットのない状態)に示す、投射光軸とスクリーン中心軸Lとの交点P1と、P1とスクリーンSの上辺左側の頂点P2とを結ぶ線分の長さをY1(mm)、図4(オフセットのある状態)に示す、交点P1と、図3のP2からオフセット値HD分だけ上方へ移動した頂点P3とを結ぶ線分の長さをY2(mm)としたとき、オフセットを有する条件である次の式(2)を満たす必要がある。
Y2>Y1 ・・・(2)Therefore, the length of the line segment connecting the intersection P1 between the projection optical axis and the screen center axis L and the vertex P2 on the left side of the upper side of the screen S shown in FIG. 3 (state without offset) is Y1 (mm). When the length of the line segment connecting the intersection P1 shown in FIG. 4 (offset state) and the vertex P3 moved upward by the offset value HD from P2 in FIG. 3 is Y2 (mm), the offset It is necessary to satisfy the following formula (2), which is a condition having
Y2> Y1 (2)
ここで、1インチ=25.4mm、実際のスクリーン21のアスペクト比がe:fであるから、次の式(3)が導かれる。
Y1=25.4a√{{(e/2)2+f2}/(e2+f2)} ・・・(3)
また、図5に示すように、投射レンズ55の投射瞳55AからスクリーンSと同一平面にある点P1までの距離は、射出瞳55Aとミラー41との距離g1およびミラー41からスクリーン21までの距離g2の和に等しい。さらに、投射瞳55Aと点P3とを結ぶ直線と投射光軸とが成す角が対角画角θであるから、次の式(4)が導かれる。
Y2=(g1+g2)・tanθ ・・・(4)Here, since 1 inch = 25.4 mm and the actual aspect ratio of the
Y1 = 25.4a√ {{(e / 2)2 + f2 } / (e2 + f2 )} (3)
Further, as shown in FIG. 5, the distance from the
Y2 = (g1 + g2 ) · tan θ (4)
よって、式(3)及び(4)を(2)に代入して整理し、さらに、対角画角θが90度を超えることはないことから、前述の式(1)が得られる。 Therefore, since the expressions (3) and (4) are substituted into (2) and rearranged, and the diagonal angle of view θ does not exceed 90 degrees, the above-described expression (1) is obtained.
このようにオフセットを設けることで、投射レンズ55から発せられた画像光の下方の光線が、ミラー41に反射されてスクリーン21に到達する前に、プロジェクタ31に阻害され、画像が欠けてしまう危険性を低減することができる。 By providing the offset in this way, the light beam below the image light emitted from the
また、上述の式(1)に基づいて、リアプロジェクタ1の構成要素の配置を容易に定めることが可能である。例えば、リアプロジェクタ1が、56インチワイド(アスペクト比16:9)のスクリーンを備えている場合、前述の式(1)において、a=56、e=16、f=9である。また、g2については、キャビネット11の前面11Aから背面11Bまでの奥行きとして所望の値に定められる。よって、プロジェクタ31のキャビネット内での設置位置、すなわち投射レンズ55の射出瞳55Aとミラー41との距離g1を定めれば、プロジェクタ31の投射レンズ55の画角θの範囲を容易に定めることができる。または、投射レンズ55の画角θを定めてから、これに対応するプロジェクタ31のキャビネット11内での設置位置を定めてもよい。あるいは、まず投射レンズ55の画角θを所望の値に定め、キャビネット11の奥行きg2およびプロジェクタ31のキャビネット11内での設置位置に対応するg1を調整することも可能である。Further, it is possible to easily determine the arrangement of the components of the
通常のリアプロジェクタのスクリーンサイズは、対角寸法、アスペクト比がいくつかの特定の組み合わせに限定されているため、装置の薄型化を達成するには、まず所望の奥行きを定めて、前述のように、投射レンズ55の画角とキャビネット11内部のプロジェクタ31の設置位置を順次定めればよい。このように、本実施形態のリアプロジェクタ1では、簡便に各構成要素の配置を決定することができる。 Since the screen size of a normal rear projector is limited to some specific combinations of diagonal dimensions and aspect ratios, in order to achieve thinning of the device, a desired depth is first determined, as described above. In addition, the angle of view of the
さらに、本実施形態においては、図1に示す投射光軸からプロジェクタ31の最上端までの高さをh、投射光軸と、投射レンズ55の射出瞳からミラー41に投射された画像の下辺中心に入射する光線とが成す角をφ1としたとき、次に示す関係式(5)が成立する。
h<2・g1・tanφ1 ・・・(5)Furthermore, in the present embodiment, the height from the projection optical axis shown in FIG. 1 to the uppermost end of the
h <2 · g1 · tanφ1 (5)
以下、図1を参照して、上記の式(5)について説明する。上述のように、プロジェクタ31はオフセットを有するため、図1に示すように、投射レンズ55の射出瞳55Aから発せられた画像光の下端の光線は、斜め上方に進行し、ミラー41に反射されて、プロジェクタ31の背後に位置するスクリーン21に入射する。ところが、投射光軸とミラー41に入射する画像光の下端の光線とが成す角φ1が小さすぎると、ミラー41に反射された光線は、プロジェクタ31の上部に阻害され、画像の下部が欠けてしまう。よって、これを防ぐためには、投射レンズ55の射出瞳55Aから発せられた画像光の下端の光線が、少なくとも投射光軸からプロジェクタ31の最上端までの高さhの1/2よりも高い位置で、ミラー41に入射する必要がある。すなわち、投射光軸と前述の光線とが成す角φ1と、前述の高さhの間には、次の関係式(6)が成立する。
h/2<g1・tanθ ・・・(6)
これを整理すると、前述の式(5)が得られる。Hereinafter, the equation (5) will be described with reference to FIG. As described above, since the
h / 2 <g1 · tan θ (6)
If this is rearranged, the aforementioned equation (5) is obtained.
次に、図6のブロック図を参照して、プロジェクタ31の電気的構成について、説明する。図6に示すように、プロジェクタ31は、プロジェクタ31の電源のON/OFFを切り替えるための電源スイッチ61、操作者がプロジェクタ31の操作を行う操作パネル62、図示外のCPU、ROM、およびRAMを有するマイクロコンピュータ63、映像信号が入力される映像信号入力回路64、映像信号をLCD54の駆動に必要な信号に変換する画像処理回路65、LCD54を駆動するLCD駆動回路66、およびランプ52の駆動を行うランプ駆動回路67とを備えている。これらは、図6に示すように、データバス60を介して接続されている。 Next, the electrical configuration of the
次に、図1および図6を参照して、プロジェクタ31のキャビネット11への着脱動作と、画像投影動作について説明する。 Next, with reference to FIG. 1 and FIG. 6, the attachment / detachment operation | movement to the
前述したように、プロジェクタ31は、前述したキャビネット11の前面11Aに設けられた扉16を介して、キャビネット11から着脱することができる。通常、プロジェクタ31は、図1に示すように、底面31Eの固定穴57を前述したキャビネット11の底面11Eに設けられた位置決め突起15に嵌合させて、キャビネット11の背面11Bに対してその前面31Aが対向するようにキャビネット11内部に収容され、全体としてリアプロジェクタ1を構成している。プロジェクタ31の固定穴57をキャビネット11の位置決め突起15に嵌合させてその位置に固定することにより、プロジェクタ31とミラー41との距離が適切に設定され、投射光軸がミラー41およびスクリーン21に対して垂直となる。 As described above, the
プロジェクタ31に設けられた各種の入力端子にはケーブルが接続されており(図示外)、操作者によりプロジェクタ31の電源スイッチ61により電源が入れられ、プロジェクタ31が作動すると、外部から映像信号、音声信号等の各種信号が入力される。このうち、スクリーン21に投影される画像の映像信号は、図6に示すように、映像信号入力回路64に入力され、画像処理回路65へと転送される。画像処理回路65は、マイクロコンピュータ63のCPUからの指令に従って、映像信号入力回路64から転送された映像信号を加工して、LCD54の駆動に必要な映像信号に変換する。そして、この変換された映像信号がLCD駆動回路66へ入力されると、LCD駆動回路66は、入力された変換後の映像信号に基づいて、LCD54を駆動する。この結果、LCD54には、スクリーン21に投影する画像が表示される。LCD54は、前述したように、照明レンズ53を介してランプ52によって照明されている。LCD54は、この照明光を変調し、表示された画像の画像光を形成する。そして、形成された画像光が、投射レンズ55により射出された後、ミラー41で反射され、スクリーン21に背面から投影される。このとき、視聴者が対向するスクリーン21の前面には、視聴者から見て正しい向きの画像が表示される。 Cables are connected to various input terminals provided in the projector 31 (not shown). When an operator turns on the power by the
一方、プロジェクタ31をフロントプロジェクタとして使用する場合には、操作者は、図1に示すように、キャビネット11の前面11Aに設けられた扉16を外側へ開き、プロジェクタ31を取り出す。このように、扉16は、操作者が対面する前面11Aに設けられているため、操作者は、キャビネット11の背後へ回り込む必要がなく、プロジェクタ31の着脱を容易に行うことができる。 On the other hand, when the
操作者がプロジェクタ31に設けられた各種の入力端子にケーブルを接続し(図示外)、電源スイッチ61により電源を入れると、プロジェクタ31が作動し、外部から映像信号、音声信号等が入力される。その後、前述したのと同様にLCD54によって形成され、投射レンズ55から射出された画像光は、別途設けられたスクリーンや壁面等に対して正面から直接投射され、視聴者から見て正しい向きの画像が表示される。 When an operator connects cables to various input terminals provided on the projector 31 (not shown) and the power is turned on by the
なお、本実施形態のプロジェクタ31がフロントプロジェクタとして使用される場合には、プロジェクタ31と視聴者はともにスクリーンや壁面等、画像の投影面の方向を向いているため、プロジェクタ31からスクリーンや壁面等に投影される画像の左右は、視聴者の左右と一致している。また、キャビネット11内に収容され、リアプロジェクタ1の構成要素としてプロジェクタ31が用いられる場合には、視聴者は、ミラー41に映った画像を透過型のスクリーン21を通して見るのと同じであるため、この場合も、画像と視聴者の左右とは一致する。よって、本実施形態においては、プロジェクタ31をキャビネット11から取り出してフロントプロジェクタとして使用するときに、画像の左右反転処理を施す必要はない。 When the
以上説明したように、本実施形態に係るリアプロジェクタ1は、プロジェクタ31の投射レンズ55として広角レンズを採用し、ミラー41及びスクリーン21を、投射レンズ55の光軸に対して垂直に、かつ互いに平行に配置したことにより、薄型化を実現している。さらに、スクリーン21、プロジェクタ31及びミラー41の配置関係、並びに投射レンズ55から投射される画像光の角度を前述のように規定することによって、画像が欠けるのを防ぐことができる。また、プロジェクタ31をキャビネット11から着脱可能とすることにより、背面投射、前面投射のいずれにも使用することができる。 As described above, the
<第2の実施形態>
次に、図7および図8を参照して、本発明の第2の実施形態に係るリアプロジェクタ2について、第1の実施形態と異なる点を主として説明する。図7は、リアプロジェクタ2の概略構成を示す部分縦断面図である。また、図8は、リアプロジェクタ2を、図7に示す位置からミラー41側に移動させた状態を示す説明図である。<Second Embodiment>
Next, with reference to FIG. 7 and FIG. 8, the difference from the first embodiment will be mainly described for the
第1の実施形態に係るリアプロジェクタ1では、位置決め突起15と固定穴57を用いて、プロジェクタ31キャビネット11内の特定の位置に固定していたが、本実施形態に係るリアプロジェクタ2は、プロジェクタ32をミラー41に対して平行移動させるガイド板17を、キャビネット12内に設けたところに特徴を有する。以下に、この特徴について、詳細を説明する。 In the
図7に示すように、本実施形態に係るリアプロジェクタ2は、第1実施形態のリアプロジェクタ1と同様に、キャビネット12と、キャビネット12の前面12Aに設けられたスクリーン21と、キャビネット12内に収容されたプロジェクタ32と、キャビネット12の背面12Bに設けられたミラー41を備えている。さらに、リアプロジェクタ2のキャビネット12の底面12Eには、底面12Eの左右方向中心軸を中心として、プロジェクタ32の底面32Eと同じ横幅と一定の厚みを有する板状のガイド板17が、キャビネットの前面12Aと背面12Bとの間に敷設されている。なお、本実施形態におけるガイド板17が、本発明の「案内手段」に相当する。 As shown in FIG. 7, the
ガイド板17上には、図7に示すように、略直方体形状の3つの位置決め穴171が、ガイド板17の幅方向の中心軸に沿って、所定の間隔を空けて設けられている。一方、プロジェクタ32の底面32Eには、前面32Aの下端部中心近傍に、底面32Eに設けられた凹状の収納部(図示外)に折り畳んで収納できる固定片59が連結されている。この固定片59の基部は、収納部の側面間に渡設された回転軸(図示外)により回転可能に支持されている。よって、この回転軸を基点として回転させることにより、固定片59を底面32Eから突出させたり、折り畳んで収納部内に収納することができる。そして、底面32Eから突出させた場合には、固定片59の突出部が前述の位置決め穴171に嵌合する略直方体形状となるように構成されている。なお、本実施形態における位置決め穴171が、本発明の「位置表示手段」に相当する。 As shown in FIG. 7, three
なお、リアプロジェクタ2において、投影画像がスクリーン21の大きさに適合する最大の大きさになる図7のときと、最小の大きさになる図8のときのいずれにおいても、第1実施形態と同様に、投射レンズ55の対角画角θ、スクリーン21の対角寸法a(インチ)及びアスペクト比(e:f)、投射レンズ55の射出瞳からミラー41までの距離g1(mm)、及びミラー41からスクリーン21までの距離g2(mm)の間で、上述した次の関係式(1)が成り立っている。
tan−1[25.4a√{{(e/2)2+f2}/(e2+f2)}/(g1+g2)]<θ<90° ・・・(1)It should be noted that in the
tan−1 [25.4a√ {{(e / 2)2 + f2 } / (e2 + f2 )} / (g1 + g2 )] <θ <90 ° (1)
また、投射光軸からプロジェクタ2の最上端までの高さh、投射光軸と投射レンズ55の射出瞳からミラー41に投射された画像の下辺中心に入射する光線とが成す角φ1の間には、上述した次の関係式(5)が成立する。
h<2・g1・tanφ1 ・・・(5)Further, the height h from the projection optical axis to the uppermost end of the
h <2 · g1 · tanφ1 (5)
以下、図7および図8を参照して、プロジェクタ32のキャビネット12内での移動動作および着脱動作について説明する。操作者はまず、前述したプロジェクタ32の固定片59を底面32Eの収納部から引き出し、プロジェクタ32と同じ幅を有するガイド板17上の位置決め穴171のいずれかに固定片59を嵌合させてプロジェクタ32をガイド板17上に固定する。これにより、プロジェクタ32の投射レンズ55の光軸が、ミラー41およびスクリーン21に平行となる。図7は、スクリーン21に最も近い位置決め穴171にプロジェクタ32の固定片59を嵌合させたときを示している。このとき、スクリーンに投影される画像の大きさは最大となる。そして、操作者が、固定片59を位置決め穴171から外し、スクリーン21から最も遠い位置決め穴171に嵌合させて、プロジェクタ32をガイド板17上に固定すると、図8のように、投影される画像の大きさを縮小することができる。本実施形態では、このようにして、プロジェクタ32の固定位置に応じて投影画像の大きさを変更することができる。 Hereinafter, the moving operation and the attaching / detaching operation of the
また、操作者がプロジェクタ32をキャビネット12から取り出して、フロントプロジェクタとして使用する場合には、操作者は、固定片59を畳んで収納部に収納し、底面32Eに突起物がなくなった状態で、机等の平面に載置すればよい。 Further, when the operator takes out the
このように、本実施形態に係るリアプロジェクタ2によれば、ガイド板17がキャビネット前面12Aと背面12Bとに垂直に配置され、位置決め穴171が、このガイド板17の幅方向の中心軸に沿って1直線上に所定間隔を空けて設けられているため、ガイド板17に沿ってプロジェクタ32を平行移動させ、固定片59をいずれかの位置決め穴171に嵌合させて固定するだけで、プロジェクタ32の投射光軸を常にミラー41に対して垂直に保つことができる。これにより、画像に台形歪みを生じさせることなく、画像を所定の大きさに調節することができる。 As described above, according to the
次に、図9を参照して、第2の実施形態に係るリアプロジェクタ2の変形例について説明する。図9は、リアプロジェクタ2の変形例であるリアプロジェクタ2Aの概略構成を示す部分縦断面図である。図9に示すように、変形例のリアプロジェクタ2Aは、リアプロジェクタ2のガイド板17上に固定可能な、プロジェクタ321用の高さ調整治具19を設けたところに特徴を有する。 Next, a modification of the
図9に示すように、リアプロジェクタ2Aが収容するプロジェクタ321の高さが低く、そのままキャビネット12の底面12Eに設置したのでは、画像光の下部がミラー41に入射しない場合がある。すなわち、スクリーン21に投影される画像の下部が欠けてしまう。高さ調整治具19は、このような場合にプロジェクタ321の下に設置して、適切な高さまで持ち上げる治具である。 As shown in FIG. 9, if the height of the
高さ調整治具19は略方体形状を有し、高さ調整治具19の6つの面のうちの1つにはガイド板17の位置決め穴171に嵌合する固定突起191が設けられ、これに対向する面にはプロジェクタ321の固定片59に嵌合する固定穴192が設けられている。また、高さ調整治具19の固定突起191が設けられた底面および固定穴192が設けられた上面の形状は、プロジェクタ321の底面の形状と同じである。 The
次に、高さ調整治具19の使用方法について説明する。操作者はまず、高さ調整治具19の固定突起191を、所望の画像の大きさに対応するガイド板17の位置決め穴171に嵌合させ、固定する。そして、高さ調整治具19の固定穴192にプロジェクタ321の固定片59を嵌合させて、プロジェクタ321を高さ調整治具19の上に設置する。 Next, a method for using the
このように高さ調整治具19を用いることにより、プロジェクタ321の投射光軸の位置が高さ調整治具19の高さ分だけ高くなるため、画像光が適切にミラー41に入射され、画像の下部が欠けるという不都合を回避することができる。 By using the
<第3の実施形態>
以下、図10〜図13を参照して、本発明の第3の実施形態について、第1の実施形態と異なる点を主として説明する。図10は、第3の実施形態に係るリアプロジェクタ3の概略構成を示す部分縦断面図である。また、図11は、プロジェクタ33の備えるセンサスイッチ56の概略構成図である。図12は、プロジェクタ33をキャビネット13内に設置したときのセンサスイッチ56の動作の説明図である。図13は、プロジェクタ33の電気的構成を示すブロック図である。<Third Embodiment>
Hereinafter, the third embodiment of the present invention will be described mainly with respect to differences from the first embodiment with reference to FIGS. FIG. 10 is a partial longitudinal sectional view showing a schematic configuration of the rear projector 3 according to the third embodiment. FIG. 11 is a schematic configuration diagram of the
本実施形態に係るリアプロジェクタ3は、第1の実施形態に係るリアプロジェクタ1が、1枚のミラー41を備えていたのに対して、2枚のミラー431および432を備えている。また、画像光が2枚のミラーで反射された後、透過型スクリーンの背面から投射されるため、そのままでは、視聴者は正常な画像とは左右が反転した画像を見ることになる。したがって、本実施形態では、プロジェクタ33がキャビネット13に収容されて背面投射を行う場合には、プロジェクタ33において画像の左右反転処理が施される点に特徴を有する。 The rear projector 3 according to the present embodiment includes two
図10に示すように、リアプロジェクタ3は、第1の実施形態と同様、箱形状で内部が中空のキャビネット13、キャビネット13の一側面に設けられたスクリーン21、およびキャビネット13内に収容されたプロジェクタ33を備えているのに加え、キャビネットの前面13Aに第1ミラー431、背面13Bに第2ミラー432を備えている。 As shown in FIG. 10, the rear projector 3 is housed in a
キャビネット13の前面13Aの第1ミラー431の下側には、外側に向かって開く扉16が設けられており、この扉16を介して、プロジェクタ33をキャビネット13に出し入れすることができる。また、第1の実施形態と同様、キャビネット13の底面13Eには、プロジェクタ33をキャビネット13内に設置する際に使用する位置決め突起15が設けられている。 A
一方、図11に示すように、プロジェクタ33の底面33Eには、前述した位置決め突起15に嵌合する略直方体形状の固定穴57が設けられ、その内部に、プロジェクタ33のキャビネット13からの着脱を検知するセンサスイッチ56が嵌め込まれている。図11に示すように、センサスイッチ56は、略直方体形状を有し、内部にスイッチ機構を内蔵する本体部561と、円筒形状のスリーブ562と、スリーブ562に退出可能に保持されたスイッチ端子軸563を備えている。スイッチ端子軸563の基部は、本体部561内で、図示外のバネにより付勢されており、スイッチ端子軸563は、通常、最も長く突出するようになっている(図11の状態)。また、本体部561は図示外の2つの端子を備え、各端子には、配線が接続されている。 On the other hand, as shown in FIG. 11, the
センサスイッチ56は、図11に示す、スイッチ端子軸563が突出した状態では、本体部561に設けられた2つの端子の間は阻止状態となり、スイッチはオフである。反対に、図12のように、スイッチ端子軸563が押し込まれた状態では、端子間が導通し、スイッチがオンの状態となる。このセンサスイッチ56の検知結果に基づき、後述する画像処理回路65が画像の左右反転処理を行っている。なお、本実施形態におけるセンサスイッチ56が、本発明の「検知手段」に相当する。 In the state where the
また、図10に示すように、プロジェクタ33の上面33Fには、ツマミを切り替えることにより、「自動」、「反転」、および「通常」の3種類の画像処理モードのいずれかを選択できる切替スイッチ58が設けられている。この切替スイッチ58を「自動」に設定すると、前述したセンサスイッチ56により、プロジェクタ33のキャビネット13への設置が検知された場合に、後述する画像処理回路65による左右反転処理が自動的に行われる。一方、「反転」が選択された場合には、強制的に画像処理回路65による左右反転処理が行われ、「通常」が選択された場合には、左右反転処理はまったく行われないように構成されている。なお、切替スイッチ58が、本発明の「処理モード設定手段」に相当する。 Further, as shown in FIG. 10, a changeover switch that can select one of three types of image processing modes of “automatic”, “inverted”, and “normal” is provided on the
プロジェクタ33の投射レンズ55(図示外)から発せられた画像光を反射する第1ミラー431は、キャビネット13の前面13Aに設置され、第1ミラー431により反射された画像光をさらに反射する第2ミラー432は、キャビネット13の背面13Bに設置されている。その反射面は互いに平行であり、第2ミラー432の反射面はキャビネット13の前面13Aに設けられたスクリーン21に対して平行である。そしてさらに、第1ミラー431および第2ミラー432の反射面およびスクリーン21は、いずれも投射レンズ55の光軸に対して垂直である。このような構成とすることで、画像光の光路上にミラーを複数枚設けても、投射光軸に対して投影面が傾斜している場合に生じる台形歪みの問題を解消することができる。 The
また、リアプロジェクタ3においては、投射レンズ55の射出瞳55Aから第1ミラー431との距離をg1(mm)、第1ミラー431と第2ミラー432との距離をg2(mm)、第2ミラー432からスクリーンまでの距離をg3(mm)、前記スクリーンの対角寸法をa(インチ)、前記スクリーンの横:縦の比をe:fとした場合に、プロジェクタ33が画像光の投射に用いる対角画角(半角)θが、第1実施形態において説明したのと同様にして得られる次の関係式(7)を満たしている。
tan−1[25.4a√{{(e/2)2+f2}/(e2+f2)}/(g1+g2+g3)]<θ<90° ・・・(7)In the rear projector 3, the distance from the
tan−1 [25.4a√ {{(e / 2)2 + f2 } / (e2 + f2 )} / (g1 + g2 + g3 )] <θ <90 ° (7)
また、投射光軸からプロジェクタ33の最上端までの高さをh、投射光軸と、投射レンズ55の射出瞳55Aから第1ミラー431に投射された画像の下辺中心に入射する光線とが成す角をφ1としたとき、第1の実施形態と同様に、射出瞳55Aから射出され、第1ミラー431に反射された光線が、プロジェクタ33の上部に阻害されて画像の下部が欠けてしまうことを回避するための条件である前述の式(5)が成立する。
h<2・g1・tanφ1 ・・・(5)In addition, the height from the projection optical axis to the uppermost end of the
h <2 · g1 · tanφ1 (5)
さらに、本実施形態においては、投射光軸と、射出瞳55Aから第1ミラー431に投射された画像の上辺中心に入射する光線とが成す角をφ2としたとき、次に示す関係式(8)を満たしている。
g1・tanφ2−g1・tanφ1<(g2+g3)tanφ1 ・・・(8)Further, in the present embodiment, the projection optical axis, when the angle made by the ray incident on the upper center of the image projected on the
g1 · tan φ2 −g1 · tan φ1 <(g2 + g3 ) tan φ1 (8)
以下、図10を参照して、上記の式(8)について説明する。本実施形態では、第1ミラー431の後、画像光はさらに第2ミラー432に反射されてスクリーン21に達することになる。よって、図10に示すように、第1ミラー431で反射された画像光の下端の光線が、第2ミラー432で反射されてスクリーン21に入射する時点で、第1ミラー431の高さより上に位置しないと、画像の下部が第1ミラー431に阻害されて欠けてしまう。第1ミラー431の高さはg1・tanφ2−g1・tanφ1、画像光の下端の光線が第1ミラー431で反射される位置(点Q1)から、さらに第2ミラー432(点Q2)で反射されてスクリーン21に入射する位置(点Q3)までの高さ(点Q1と点Q3を結ぶ線分の長さ)は(g2+g3)tanφ1であることから、前述の式(8)が得られる。Hereinafter, the equation (8) will be described with reference to FIG. In the present embodiment, after the
次に、図13のブロック図を参照して、本実施形態に係るプロジェクタ33の電気的構成について説明する。第1の実施形態と同様、図13に示すように、プロジェクタ33は、プロジェクタ33の電源のON/OFFを切り替えるための電源スイッチ61、操作者がプロジェクタ33の操作を行う操作パネル62、図示外のCPU、ROM、及びRAMを有するマイクロコンピュータ63、映像信号が入力される映像信号入力回路64、映像信号をLCD54の駆動に必要な信号に変換する画像処理回路65、LCD54を駆動するLCD駆動回路66、及びランプ52の駆動を行うランプ駆動回路67とを備えている。そしてさらに、前述したセンサスイッチ56および切替スイッチ58を備えており、これらは、図13に示すように、データバス60を介して接続されている。 Next, the electrical configuration of the
次に、図10〜図13を参照して、プロジェクタ33のキャビネット13への着脱動作と、画像投影動作について説明する。 Next, the attaching / detaching operation of the
通常、図10に示すように、プロジェクタ33は、底面31Eの固定穴57を前述したキャビネット13の底面13Eに設けられた位置決め突起15に嵌合させてキャビネット13内部に収容され、全体としてリアプロジェクタ3を構成している。プロジェクタ31の固定穴57をキャビネット13の位置決め突起15に嵌合させてその位置に固定することにより、プロジェクタ33と第1ミラー431との距離が適切に設定され、投射光軸が第1ミラー431、第2ミラー432およびスクリーン21に対して垂直となる。なお、第1の実施形態とは異なり、プロジェクタ33は、前面33Aがキャビネット13の前面13Aに対向するように設置されている。 Normally, as shown in FIG. 10, the
このとき、図12に示すように、センサスイッチ56は、スイッチ端子軸563が位置決め突起15により押し込まれたオン状態となっている。この状態で、プロジェクタ33の電源スイッチ61により電源が入れられ、切替スイッチ58で「自動」が選択されていると、オン状態を示すセンサスイッチ56からの電気信号が、図13に示すデータバス60を介してマイクロコンピュータ63に送られる。 At this time, as shown in FIG. 12, the
一方、プロジェクタ33に設けられた各種の入力端子(図示外)を介して、外部から映像信号、音声信号等の各種信号が入力される。このうち、スクリーン21に投影される画像の映像信号は、図13に示すように、映像信号入力回路64に入力され、画像処理回路65へと転送される。前述のように、センサスイッチ56からの信号がデータバス60を介して入力されたマイクロコンピュータ63のCPUは、画像の左右反転処理を施してLCD54を駆動するよう、画像処理回路65に指令する。画像処理回路65は、マイクロコンピュータ63のCPUからの指令に従って、映像信号入力回路64から転送された映像信号を加工し、LCD54の駆動に必要な映像信号に変換する。この変換された映像信号がLCD駆動回路66へ入力されると、LCD駆動回路66は、入力された変換後の映像信号に基づいて、通常の画像に対して左右が反転した画像が投射されるように、LCD54を駆動する。そして、LCD54によって左右が反転した画像光が形成された後、投射レンズ55から射出され、まず第1ミラー431へ入射する。そして、第1ミラー431で反射された画像光は、さらに第2ミラー432で反射された後、透過型のスクリーン21に背面から投影される。この結果、視聴者が対向するスクリーン21の前面には、視聴者から見て正しい向きの画像が表示される。なお、本実施形態において、前述の画像の左右反転処理を行う画像処理回路65およびLCD駆動回路66が、本発明の「左右反転手段」に相当する。 On the other hand, various signals such as video signals and audio signals are input from the outside via various input terminals (not shown) provided in the
一方、切替スイッチ58で「反転」が選択されている場合は、マイクロコンピュータ63のCPUはこの信号を認識し、前述の左右反転処理を行うよう、画像処理回路65に指令する。また、切替スイッチ58で「通常」が選択されている場合は、マイクロコンピュータ63のCPUはこの信号を認識し、左右反転処理を施さずにLCD54を駆動するよう画像処理回路65に指令する。この結果、リアプロジェクタ3のスクリーン21には、視聴者から見ると、通常の画像とは左右が反転した状態の画像が表示されることになる。 On the other hand, when “invert” is selected by the
プロジェクタ33をフロントプロジェクタとして使用する場合には、操作者は、図10に示すように、キャビネット13の前面13Aに設けられた扉16を外側へ開き、プロジェクタ31を取り出す。そして、プロジェクタ33に設けられた各種の入力端子にケーブルを接続し、電源スイッチ61により電源を入れると、プロジェクタ33が作動し、外部から映像信号、音声信号等が入力される。このとき、図11に示すように、センサスイッチ56のスイッチ端子軸563は、スリーブ562から突出したオフ状態である。よって、切替スイッチ58で「自動」が選択されている場合には、マイクロコンピュータ63のCPUはこのオフ状態を示す信号を認識し、左右反転処理を施さずにLCD54を駆動するよう画像処理回路65に指令する。そして、LCD54によって形成され、投射レンズ55から射出された画像光は、別途設けられたスクリーンや壁面等に対して直接投射され、視聴者から見て正しい向きの画像が表示される。 When the
一方、切替スイッチ58で「通常」が選択されている場合は、マイクロコンピュータ63のCPUはこの信号を認識し、左右反転処理を施さずにLCD54を駆動するよう画像処理回路65に指令する。この結果、「自動」が選択された場合と同様に、別途設けられたスクリーンや壁面等には、視聴者から見て正しい向きの画像が表示される。また、切替スイッチ58で「反転」が選択されている場合は、マイクロコンピュータ63のCPUはこの信号を認識し、強制的に前述の左右反転処理が行われる。よってこの場合は、別途設けられたスクリーンや壁面等に、視聴者から見ると、通常の画像とは左右が反転した状態の画像が表示されることになる。 On the other hand, when “normal” is selected by the
以上説明したように、本実施形態に係るリアプロジェクタ3は、2枚のミラー431および432によってキャビネット13の内部で光路を折り返しているため、リアプロジェクタ3のさらなる薄型化を実現することができる。また、センサスイッチ56を設けることで、プロジェクタ33のキャビネット13への着脱を検知し、必要に応じて、画像処理回路65により、画像の左右反転処理を施し、常に視聴者にとって正しい向きの画像を表示することができる。また、切替スイッチ58でも左右反転処理を指示することができるため、別途設けた透過型スクリーンに背面から直接画像を投影する場合等、自動では対応しきれない場合であっても、適切な画像処理を行うことができる。 As described above, since the rear projector 3 according to the present embodiment has the optical path folded back inside the
次に、図14を参照して、第3の実施形態に係るリアプロジェクタ3の変形例について説明する。図14は、リアプロジェクタ3の変形例であるリアプロジェクタ3Aの概略構成を説明する模式図である。 Next, a modification of the rear projector 3 according to the third embodiment will be described with reference to FIG. FIG. 14 is a schematic diagram illustrating a schematic configuration of a rear projector 3 </ b> A that is a modification of the rear projector 3.
図14に示すように、リアプロジェクタ3Aのキャビネット14は、スクリーン21の下部に、左右両側へ開く扉16Bを備えており、そこからプロジェクタ34を着脱できるように構成されている。また、キャビネット14は、本発明の「電気的接続手段」に相当するUSB端子18を備えている。一方、プロジェクタ34も、第3の実施形態に係るプロジェクタ33のセンサスイッチ56に替えて、USB接続端子38を備えている。そして、本実施形態では、両者を電気的に接続することにより、プロジェクタ34がキャビネット14内に設置されたことを検知し、前述のように、画像の左右反転処理を行う。これにより、USB端子18および38という簡略な構成で、プロジェクタ34の着脱の検知を行うことができる。なお、プロジェクタ34の備えるUSB端子は、本発明の「検知手段」に相当する。 As shown in FIG. 14, the
なお、上記第1〜第3の実施形態に示されるリアプロジェクタ、リアプロジェクタ用のキャビネットおよびプロジェクタの構成は例示であり、本発明は各種の変形が可能なことはいうまでもない。 The configurations of the rear projector, the rear projector cabinet, and the projector shown in the first to third embodiments are merely examples, and it goes without saying that the present invention can be variously modified.
例えば、第1および第3の実施形態において、プロジェクタ31(33)をキャビネット11(13)内に適切に設置するために、位置決め突起15および固定穴57を用いたが、プロジェクタ31とミラー41との距離が適切に設定され、投射光軸がミラー41およびスクリーン21に対して垂直となればよい。よって、例えば、プロジェクタ31の底面31Eと同じ形状の浅い凹状の設置部をキャビネット11の底面11Eに設け、プロジェクタ31をその設置部におさめることにより、適切な位置設定を行うこととしてもよい。 For example, in the first and third embodiments, the
また、第2の実施形態では、位置決め穴171を設けた板状のガイド板17を設けているが、本発明の「案内手段」としては、プロジェクタ32の投射光軸が、ミラー41およびスクリーン21に平行な状態を維持できればよい。よって、例えば、プロジェクタ32の横幅に等しい間隔を設けて、2本のガイドレールを設け、プロジェクタ32をガイドレールに沿って移動させてもよい。 In the second embodiment, the plate-shaped
また、第2の実施形態の固定片59および位置決め穴171に替えて、例えば、所定の大きさの画像に対応するプロジェクタ32の前面32A下端部の設置位置を、キャビネット12の底面12Eに線を引いて記し、「位置表示手段」としてもよい。 Further, instead of the fixing
さらに、第2実施形態の変形例で説明した固定的な高さを有する高さ調整治具19に替えて、高さを数段階に調節できる治具を設ければ、様々な高さのプロジェクタをキャビネット12内に設置して、リアプロジェクタ2として使用することができる。 Furthermore, instead of the
また、第1〜第3の実施形態に係るプロジェクタ31〜34は、光変調素子として、透過型液晶パネルを用いているが、光変調素子として、DMD(Digital Micromirror Device))を用いたDLP方式、もしくは反射型液晶を用いたLCOS(Liquid Crystal On Silicon)方式を採用してもよい。
The
1〜3、2A、3A リアプロジェクタ
17 ガイド板
171 位置決め穴
18 USB端子
19 高さ調整治具
21 スクリーン
31〜34、321 プロジェクタ
38 USB接続端子
41、431、432ミラー
55 投射レンズ
56 センサスイッチ
58 切替スイッチ
65 画像処理回路
66 LCD駆動回路1-3, 2A,
| Application Number | Priority Date | Filing Date | Title |
|---|---|---|---|
| JP2006263703AJP2008083428A (en) | 2006-09-28 | 2006-09-28 | Rear projector, rear projector cabinet and projector |
| Application Number | Priority Date | Filing Date | Title |
|---|---|---|---|
| JP2006263703AJP2008083428A (en) | 2006-09-28 | 2006-09-28 | Rear projector, rear projector cabinet and projector |
| Publication Number | Publication Date |
|---|---|
| JP2008083428Atrue JP2008083428A (en) | 2008-04-10 |
| Application Number | Title | Priority Date | Filing Date |
|---|---|---|---|
| JP2006263703APendingJP2008083428A (en) | 2006-09-28 | 2006-09-28 | Rear projector, rear projector cabinet and projector |
| Country | Link |
|---|---|
| JP (1) | JP2008083428A (en) |
| Publication number | Priority date | Publication date | Assignee | Title |
|---|---|---|---|---|
| JP2011075669A (en)* | 2009-09-29 | 2011-04-14 | Hitachi Consumer Electronics Co Ltd | Projection type image display device |
| JP2011186027A (en)* | 2010-03-05 | 2011-09-22 | Seiko Epson Corp | Projector, projection unit and electronic blackboard |
| WO2012042643A1 (en)* | 2010-09-30 | 2012-04-05 | 日立コンシューマエレクトロニクス株式会社 | Projection image displaying device |
| CN102736376A (en)* | 2011-04-01 | 2012-10-17 | 精工爱普生株式会社 | Projector, projection unit, and interactive board |
| JP2012215746A (en)* | 2011-04-01 | 2012-11-08 | Seiko Epson Corp | Projector, projection unit and electronic blackboard |
| JP2014238559A (en)* | 2013-06-10 | 2014-12-18 | 株式会社リコー | Installation device |
| US9417513B2 (en) | 2010-03-05 | 2016-08-16 | Seiko Epson Corporation | Projector, projection unit and interactive board |
| US10466574B2 (en) | 2017-07-21 | 2019-11-05 | Canon Kabushiki Kaisha | Image projection apparatus |
| Publication number | Priority date | Publication date | Assignee | Title |
|---|---|---|---|---|
| JP2011075669A (en)* | 2009-09-29 | 2011-04-14 | Hitachi Consumer Electronics Co Ltd | Projection type image display device |
| JP2011186027A (en)* | 2010-03-05 | 2011-09-22 | Seiko Epson Corp | Projector, projection unit and electronic blackboard |
| US9417513B2 (en) | 2010-03-05 | 2016-08-16 | Seiko Epson Corporation | Projector, projection unit and interactive board |
| WO2012042643A1 (en)* | 2010-09-30 | 2012-04-05 | 日立コンシューマエレクトロニクス株式会社 | Projection image displaying device |
| JP5535330B2 (en)* | 2010-09-30 | 2014-07-02 | 日立コンシューマエレクトロニクス株式会社 | Projection display device |
| US9217915B2 (en) | 2010-09-30 | 2015-12-22 | Hitachi Maxell, Ltd. | Projection-type video display apparatus having a transmission-type screen |
| CN102736376A (en)* | 2011-04-01 | 2012-10-17 | 精工爱普生株式会社 | Projector, projection unit, and interactive board |
| JP2012215746A (en)* | 2011-04-01 | 2012-11-08 | Seiko Epson Corp | Projector, projection unit and electronic blackboard |
| US8955981B2 (en) | 2011-04-01 | 2015-02-17 | Seiko Epson Corporation | Projector, projection unit, and interactive board |
| US9128365B2 (en) | 2011-04-01 | 2015-09-08 | Seiko Epson Corporation | Projector, projection unit, and interactive board |
| JP2014238559A (en)* | 2013-06-10 | 2014-12-18 | 株式会社リコー | Installation device |
| US10466574B2 (en) | 2017-07-21 | 2019-11-05 | Canon Kabushiki Kaisha | Image projection apparatus |
| Publication | Publication Date | Title |
|---|---|---|
| JP2008083428A (en) | Rear projector, rear projector cabinet and projector | |
| US6814449B2 (en) | Rear projector | |
| JP5381375B2 (en) | Projector ceiling hanger | |
| JP4428434B2 (en) | Optical device and projector | |
| CN100565329C (en) | Image offset adjustment apparatus and mobile phone with it | |
| JP2017169024A (en) | Projector and projector control method | |
| JP5002319B2 (en) | Projection display | |
| JP2005055643A (en) | Projection type video display device | |
| JP2018072804A (en) | Mounted structure of picture display | |
| JP5185586B2 (en) | Electronic blackboard | |
| US20110063580A1 (en) | Projection display apparatus | |
| US8454168B2 (en) | Stereo display apparatus | |
| JP3772614B2 (en) | projector | |
| JP2014170097A (en) | projector | |
| US7329010B2 (en) | Rear projection apparatus | |
| JP2001092002A (en) | Image projection device having positioning and holding mechanism | |
| JP2003207847A (en) | Image display device and deflection device | |
| JP2003207846A (en) | Image display device, deflection device and image display system | |
| JPH11327048A (en) | Rear projection display | |
| KR102531925B1 (en) | Projector and method for operating thereof | |
| JP2004354437A (en) | Rear projection device | |
| JP3501788B2 (en) | Rear projection type projector | |
| JP4590671B2 (en) | Projector device | |
| KR200356648Y1 (en) | system for image | |
| KR100739559B1 (en) | projection television |
| Date | Code | Title | Description |
|---|---|---|---|
| RD04 | Notification of resignation of power of attorney | Free format text:JAPANESE INTERMEDIATE CODE: A7424 Effective date:20080223 |