





本発明は、有機エレクトロルミネッセンス素子材料、有機エレクトロルミネッセンス素子、表示装置及び照明装置に関する The present invention relates to an organic electroluminescence element material, an organic electroluminescence element, a display device, and a lighting device.
従来、発光型の電子ディスプレイデバイスとして、エレクトロルミネッセンスディスプレイ(以下、ELDという)がある。ELDの構成要素としては、無機エレクトロルミネッセンス素子や有機エレクトロルミネッセンス素子(以下、有機EL素子ともいう)が挙げられる。無機エレクトロルミネッセンス素子は平面型光源として使用されてきたが、発光素子を駆動させるためには交流の高電圧が必要である。有機EL素子は発光する化合物を含有する発光層を陰極と陽極で挟んだ構成を有し、発光層に電子及び正孔を注入して、再結合させることにより励起子(エキシトン)を生成させ、このエキシトンが失活する際の光の放出(蛍光・リン光)を利用して発光する素子であり、数V〜数十V程度の電圧で発光が可能であり、更に自己発光型であるために視野角に富み、視認性が高く、薄膜型の完全固体素子であるために、省スペース、携帯性等の観点から注目されている。 Conventionally, as a light-emitting electronic display device, there is an electroluminescence display (hereinafter referred to as ELD). Examples of the constituent elements of ELD include inorganic electroluminescent elements and organic electroluminescent elements (hereinafter also referred to as organic EL elements). Inorganic electroluminescent elements have been used as planar light sources, but an alternating high voltage is required to drive the light emitting elements. An organic EL device has a structure in which a light emitting layer containing a compound that emits light is sandwiched between a cathode and an anode, injects electrons and holes into the light emitting layer, and recombines them to generate excitons (exciton). It is an element that emits light by using light emission (fluorescence / phosphorescence) when this exciton is deactivated, and can emit light at a voltage of several volts to several tens of volts, and is also self-luminous. In addition, it has a wide viewing angle, has high visibility, and is a thin-film type completely solid element, and thus has been attracting attention from the viewpoints of space saving and portability.
しかしながら、今後の実用化に向けた有機EL素子においては、更に低消費電力で効率よく高輝度に発光する有機EL素子の開発が望まれている。 However, in organic EL elements for practical use in the future, development of organic EL elements that emit light efficiently and with high luminance with lower power consumption is desired.
特許第3093796号公報では、スチルベン誘導体、ジスチリルアリーレン誘導体またはトリススチリルアリーレン誘導体に微量の蛍光体をドープし、発光輝度の向上、素子の長寿命化を達成している。また、8−ヒドロキシキノリンアルミニウム錯体をホスト化合物として、これに微量の蛍光体をドープした有機発光層を有する素子(例えば、特開昭63−264692号公報)、8−ヒドロキシキノリンアルミニウム錯体をホスト化合物として、これにキナクリドン系色素をドープした有機発光層を有する素子(例えば、特開平3−255190号公報)等が知られている。 In Japanese Patent No. 3093796, a small amount of a phosphor is doped into a stilbene derivative, a distyrylarylene derivative or a tristyrylarylene derivative to achieve an improvement in light emission luminance and a longer device lifetime. Further, an element having an organic light-emitting layer in which an 8-hydroxyquinoline aluminum complex is used as a host compound and a small amount of phosphor is doped thereto (for example, JP-A 63-264692), and an 8-hydroxyquinoline aluminum complex is used as a host compound. For example, an element having an organic light emitting layer doped with a quinacridone dye (for example, JP-A-3-255190) is known.
上記文献に開示されている技術では、励起一重項からの発光を用いる場合一重項励起子と三重項励起子の生成比が1:3であるため、発光性励起種の生成確率が25%であることと、光の取り出し効率が約20%であるため外部取り出し量子効率(ηext)の限界は5%とされている。 In the technique disclosed in the above document, when the emission from the excited singlet is used, the generation ratio of the singlet exciton and the triplet exciton is 1: 3. Therefore, the generation probability of the luminescent excited species is 25%. In addition, since the light extraction efficiency is about 20%, the limit of the external extraction quantum efficiency (ηext) is set to 5%.
以上のように、励起一重項からの発光を用いる場合、一重項励起子と三重項励起子の生成比が1:3であるため発光性励起種の生成確率が25%であり、光の取り出し効率が約20%であるため、外部取り出し量子効率(ηext)の限界は5%とされている。 As described above, when light emission from excited singlet is used, the generation ratio of singlet excitons and triplet excitons is 1: 3, and thus the generation probability of luminescent excited species is 25%. Since the efficiency is about 20%, the limit of the external extraction quantum efficiency (ηext) is set to 5%.
ところが、プリンストン大より励起三重項からのリン光発光を用いる有機EL素子の報告(M.A.Baldo et al.,Nature、395巻、151〜154頁(1998年))がされて以来、室温でリン光を示す材料の研究が活発になってきている。 However, since Princeton University reported on an organic EL device using phosphorescence emission from an excited triplet (MA Baldo et al., Nature, 395, 151-154 (1998)), Research on materials that exhibit phosphorescence has become active.
例えば、M.A.Baldo et al.,Nature、403巻、17号、750〜753頁(2000年)、また米国特許第6,097,147号明細書等にも開示されている。 For example, M.M. A. Baldo et al. , Nature, 403, 17, 750-753 (2000), US Pat. No. 6,097,147, and the like.
励起三重項を使用すると、内部量子効率の上限が100%となるため励起一重項の場合に比べて原理的に発光効率が4倍となり、冷陰極管とほぼ同等の性能が得られる可能性があることから照明用途としても注目されている。 When the excited triplet is used, the upper limit of the internal quantum efficiency is 100%. In principle, the luminous efficiency is four times that of the excited singlet, and there is a possibility that almost the same performance as a cold cathode tube can be obtained. Therefore, it is attracting attention as a lighting application.
例えば、S.Lamansky et al.,J.Am.Chem.Soc.,123巻、4304頁(2001年)等においては、多くの化合物がイリジウム錯体系等重金属錯体を中心に合成検討されている。また、前述のM.A.Baldo et al.,Nature,403巻、17号、750〜753頁(2000年)においては、ドーパントとして、トリス(2−フェニルピリジン)イリジウムを用いた検討がされている。 For example, S.M. Lamansky et al. , J .; Am. Chem. Soc. , 123, 4304 (2001), etc., many compounds are being studied for synthesis centering on heavy metal complexes such as iridium complexes. In addition, the aforementioned M.I. A. Baldo et al. , Nature, 403, 17, 750-753 (2000), studies have been made using tris (2-phenylpyridine) iridium as a dopant.
中心金属をイリジウムの代わりに、白金としたオルトメタル化錯体も注目されている。この種の錯体に関しては、配位子に特徴を持たせた例が多数知られている。 Ortho-metalated complexes with platinum instead of iridium as the central metal are also attracting attention. With respect to this type of complex, many examples are known in which ligands are characterized.
これらリン光発光性ドーパントのホスト化合物として、CBP、m−CPに代表されるカルバゾール誘導体がよく知られている(例えば、特許文献1、2参照。)。特に、青発光のホスト化合物としては、バンドギャップの大きなm−CPやその誘導体が知られている。 As host compounds of these phosphorescent dopants, carbazole derivatives represented by CBP and m-CP are well known (for example, see Patent Documents 1 and 2). In particular, as a blue light emitting host compound, m-CP having a large band gap and derivatives thereof are known.
一方、正孔阻止層(エキシトン阻止層)の導入により高い発光輝度を得る技術も開示されている。例えば、パイオニア社により、ある種のアルミニウム錯体を使用する例、フッ素置換化合物を用いることにより、高効率な発光を達成している(例えば、特許文献3、非特許文献1参照。)。 On the other hand, a technique for obtaining high luminance by introducing a hole blocking layer (exciton blocking layer) is also disclosed. For example, Pioneer has achieved high-efficiency light emission by using an example of using a certain aluminum complex and a fluorine-substituted compound (for example, see Patent Document 3 and Non-Patent Document 1).
しかしながら、これらの有機EL材料を用いても効率と寿命を十分に満足する性能に至っておらず、更なる改善が求められていた。
本発明は、高い発光輝度を示し、且つ半減寿命の長い有機エレクトロルミネッセンス素子材料、有機エレクトロルミネッセンス素子、及び該素子を用いた照明装置、表示装置を提供することである。 An object of the present invention is to provide an organic electroluminescent element material, an organic electroluminescent element, an illuminating device using the element, and a display device that exhibit high emission luminance and have a long half-life.
本発明の上記目的は、下記の構成により達成される。 The above object of the present invention can be achieved by the following constitution.
1.下記一般式(1)で表される構造を置換基として分子内に有する化合物を含有することを特徴とする有機エレクトロルミネッセンス素子材料。 1. An organic electroluminescent element material comprising a compound having a structure represented by the following general formula (1) as a substituent in a molecule.
(式中、Xaは酸素原子、硫黄原子、セレン原子またはテルル原子を表す。Z1、Z2は芳香族炭化水素環または芳香族複素環を表すが、いずれか一方は芳香族複素環である。Z3は2価の連結基または単なる結合手を表す。)
2.前記一般式(1)において、Z3が単なる結合手を表すことを特徴とする前記1に記載の有機エレクトロルミネッセンス素子材料。(In the formula, Xa represents an oxygen atom, a sulfur atom, a selenium atom or a tellurium atom. Z1 and Z2 represent an aromatic hydrocarbon ring or an aromatic heterocyclic ring, and either one is an aromatic heterocyclic ring. Z3 represents a divalent linking group or a simple bond.)
2. 2. The organic electroluminescent element material as described in 1 above, wherein in the general formula (1), Z3 represents a simple bond.
3.前記一般式(1)において、Z1、Z2の少なくとも一方が六員環であることを特徴とする前記1または2に記載の有機エレクトロルミネッセンス素子材料。3. 3. The organic electroluminescent element material as described in 1 or 2 above, wherein in the general formula (1), at least one of Z1 and Z2 is a six-membered ring.
4.前記一般式(1)が下記一般式(2)で表されることを特徴とする前記1〜3のいずれか1項に記載の有機エレクトロルミネッセンス素子材料。 4). 4. The organic electroluminescence element material according to any one of 1 to 3, wherein the general formula (1) is represented by the following general formula (2).
(式中、Xbは酸素原子、硫黄原子、セレン原子またはテルル原子を表す。X11、X12、X13、X14、X15、X16、X17、X18は各々炭素原子または窒素原子を表すが、その少なくとも一つは窒素原子である。R1、R2は各々置換基を表す。n、mは0≦n+m≦7を満たす0から4の整数を表す。)
5.前記一般式(2)が下記一般式(3)で表されることを特徴とする前記3に記載の有機エレクトロルミネッセンス素子材料。(In the formula, Xb represents an oxygen atom, a sulfur atom, a selenium atom or a tellurium atom. X11 , X12 , X13 , X14 , X15 , X16 , X17 and X18 are each a carbon atom or a nitrogen atom. Wherein at least one is a nitrogen atom, R1 and R2 each represent a substituent, and n and m each represents an integer of 0 to 4 satisfying 0 ≦ n + m ≦ 7.)
5. 4. The organic electroluminescent element material according to 3, wherein the general formula (2) is represented by the following general formula (3).
(式中、Xcは酸素原子、硫黄原子、セレン原子またはテルル原子を表す。R31、R32は各々置換基を表す。n31は0から3の整数、m31は0から4の整数を表す。)
6.前記一般式(2)が下記一般式(4)で表されることを特徴とする前記3に記載の有機エレクトロルミネッセンス素子材料。(In the formula, Xc represents an oxygen atom, a sulfur atom, a selenium atom or a tellurium atom. R31 and R32 each represent a substituent. N31 represents an integer of 0 to 3, and m31 represents an integer of 0 to 4. )
6). 4. The organic electroluminescence element material as described in 3 above, wherein the general formula (2) is represented by the following general formula (4).
(式中、Xdは酸素原子、硫黄原子、セレン原子またはテルル原子を表す。R41、R42は各々置換基を表す。n41は0から3の整数、m41は0から4の整数を表す。)
7.前記一般式(2)が下記一般式(5)で表されることを特徴とする前記3に記載の有機エレクトロルミネッセンス素子材料。(Wherein, Xd represents an oxygen atom, a sulfur atom, a selenium atom or a tellurium atom represents .R41, R42 are each an integer of .n41 representing a substituent from 0 3, m41 represents an integer of 0 to 4. )
7). 4. The organic electroluminescent element material as described in 3 above, wherein the general formula (2) is represented by the following general formula (5).
(式中、Xeは酸素原子、硫黄原子、セレン原子またはテルル原子を表す。R51、R52は各々置換基を表す。n51は0から3の整数、m51は0から4の整数を表す。)
8.前記一般式(2)が下記一般式(6)で表されることを特徴とする前記3に記載の有機エレクトロルミネッセンス素子材料。(In the formula, Xe represents an oxygen atom, a sulfur atom, a selenium atom or a tellurium atom. R51 and R52 each represent a substituent. N51 represents an integer of 0 to 3, and m51 represents an integer of 0 to 4. )
8). 4. The organic electroluminescent element material as described in 3 above, wherein the general formula (2) is represented by the following general formula (6).
(式中、Xfは酸素原子、硫黄原子、セレン原子またはテルル原子を表す。R61、R62は各々置換基を表す。n61は0から3の整数、m61は0から4の整数を表す。)
9.前記一般式(1)が下記一般式(7)で表されることを特徴とする前記1〜3のいずれか1項に記載の有機エレクトロルミネッセンス素子材料。(In the formula, Xf represents an oxygen atom, a sulfur atom, a selenium atom or a tellurium atom. R61 and R62 each represent a substituent. N61 represents an integer of 0 to 3, and m61 represents an integer of 0 to 4. )
9. 4. The organic electroluminescent element material according to any one of 1 to 3, wherein the general formula (1) is represented by the following general formula (7).
(式中、Xgは酸素原子、硫黄原子、セレン原子またはテルル原子を表す。X21、X22、X23、X24、X25、X26、X27、X28は各々炭素原子または窒素原子を表すが、X21、X22、X23、X24の少なくとも一つ、且つX25、X26、X27、X28の少なくとも一つは窒素原子である。R3、R4は各々置換基を表す。p、qは0≦p+q≦6を満たす0から3の整数を表す。)
10.ホスト化合物及びリン光性化合物を含有する発光層を有する有機エレクトロルミネッセンス素子であって、該素子を構成するいずれかの層に前記1〜9のいずれか1項に記載の有機エレクトロルミネッセンス素子材料を含有することを特徴とする有機エレクトロルミネッセンス素子。(In the formula, Xg represents an oxygen atom, a sulfur atom, a selenium atom or a tellurium atom. X21 , X22 , X23 , X24 , X25 , X26 , X27 and X28 are each a carbon atom or a nitrogen atom. In which at least one of X21 , X22 , X23 , and X24 and at least one of X25 , X26 , X27 , and X28 is a nitrogen atom, and R3 and R4 are each substituted. (P and q represent an integer of 0 to 3 satisfying 0 ≦ p + q ≦ 6)
10. It is an organic electroluminescent element which has a light emitting layer containing a host compound and a phosphorescent compound, Comprising: The organic electroluminescent element material of any one of said 1-9 is set in any layer which comprises this element. An organic electroluminescence device containing the organic electroluminescence device.
11.前記いずれかの層が発光層であることを特徴とする前記10に記載の有機エレクトロルミネッセンス素子。 11. 11. The organic electroluminescence device as described in 10 above, wherein any one of the layers is a light emitting layer.
12.前記いずれかの層が正孔阻止層であることを特徴とする前記10に記載の有機エレクトロルミネッセンス素子。 12 11. The organic electroluminescence device as described in 10 above, wherein any one of the layers is a hole blocking layer.
13.前記リン光性化合物がイリジウム錯体化合物または白金錯体化合物であることを特徴とする前記10〜12のいずれか1項に記載の有機エレクトロルミネッセンス素子。 13. 13. The organic electroluminescence device according to any one of 10 to 12, wherein the phosphorescent compound is an iridium complex compound or a platinum complex compound.
14.発光が白色であることを特徴とする前記10〜13のいずれか1項に記載の有機エレクトロルミネッセンス素子。 14 14. The organic electroluminescence device according to any one of 10 to 13, wherein the light emission is white.
15.前記10〜14のいずれか1項に記載の有機エレクトロルミネッセンス素子を有することを特徴とする表示装置。 15. A display device comprising the organic electroluminescence element according to any one of 10 to 14 above.
16.前記10〜14のいずれか1項に記載の有機エレクトロルミネッセンス素子を有することを特徴とする照明装置。 16. An illumination device comprising the organic electroluminescence element according to any one of 10 to 14 above.
本発明の有機エレクトロルミネッセンス素子材料により、高い発光輝度を示し、且つ半減寿命の長い有機エレクトロルミネッセンス素子、及び該素子を用いた照明装置、表示装置を提供することができた。 With the organic electroluminescence element material of the present invention, it was possible to provide an organic electroluminescence element exhibiting high emission luminance and a long half-life, and an illumination device and a display apparatus using the element.
以下、本発明を詳細に説明する。 Hereinafter, the present invention will be described in detail.
本発明者等は、鋭意検討の結果、前記一般式(1)〜(7)で表される構造を置換基として分子内に有する化合物を少なくとも1種用いることにより、高い発光輝度を示し、且つ半減寿命の長い有機EL素子、及び該有機EL素子を有する照明装置、表示装置を提供できることを見いだした。併せて、上記の化合物を組み合わせることにより、高効率なフルカラー画像表示装置が得られることが判った。 As a result of intensive studies, the present inventors show high emission luminance by using at least one compound having a structure represented by the general formulas (1) to (7) in the molecule as a substituent, and It has been found that an organic EL element having a long half-life, and an illumination device and a display device having the organic EL element can be provided. In addition, it was found that a highly efficient full-color image display device can be obtained by combining the above compounds.
本発明の有機EL素子とは、該有機EL素子を構成する少なくとも一つの層に、前記一般式(1)〜(7)で表される構造を置換基として分子内に有する化合物の少なくとも1種を含有することが、本発明に記載の効果を得るための必須要件であるが、好ましくは上記の化合物を発光層、または正孔阻止層に含有せしめることである。 The organic EL device of the present invention is at least one compound having a structure represented by the general formulas (1) to (7) in a molecule as a substituent in at least one layer constituting the organic EL device. Although it is an essential requirement for obtaining the effects described in the present invention, it is preferable to contain the above-mentioned compound in the light emitting layer or the hole blocking layer.
カルバゾール誘導体は、リン光性有機EL素子の発光ホストとして効率や寿命の面で優れた性能を示す。我々はこの特性を更に向上させるために、種々の置換基を導入して改良を検討した。その結果、本発明で開示した前記一般式(1)〜(7)で表される構造を置換基として分子内に有する化合物を有機EL素子材料の発光ホストとして評価した結果、発光効率、及び発光寿命の改善効果が認められた。更に、カルバゾール誘導体以外の母核を有する化合物へも適用したところ、同様な改善効果が得られることが見出された。 The carbazole derivative exhibits excellent performance in terms of efficiency and life as a light-emitting host of a phosphorescent organic EL device. In order to further improve this property, we studied various improvements by introducing various substituents. As a result, as a result of evaluating a compound having a structure represented by the general formulas (1) to (7) disclosed in the present invention as a substituent in a molecule as a light-emitting host of an organic EL device material, light emission efficiency and light emission The improvement effect of the life was recognized. Furthermore, when applied to compounds having a mother nucleus other than carbazole derivatives, it has been found that the same improvement effect can be obtained.
また、前記一般式(1)〜(7)で表される構造は複素環の一種であることから、この構造の導入により電位が下がるため、正孔阻止層への適用も期待できる。実際に、本発明で開示した前記一般式(1)〜(7)で表される構造を置換基として分子内に有する化合物を有機EL素子材料の正孔阻止材料として評価した結果、発光ホストとして使用した場合と同様の改善効果が得られることが見出された。 Moreover, since the structure represented by the general formulas (1) to (7) is a kind of heterocyclic ring, the potential is lowered by the introduction of this structure, so that application to a hole blocking layer can also be expected. Actually, as a light-emitting host, as a result of evaluating a compound having a structure represented by the general formulas (1) to (7) disclosed in the present invention as a substituent in a molecule as a hole blocking material of an organic EL device material, It has been found that the same improvement effect as when used can be obtained.
本発明に係る一般式(1)〜(7)で表される構造を置換基として分子内に有する化合物は、一般式(1)〜(7)で表される構造の置換基と後述する中心骨格とを結合した構造である。 The compound having the structure represented by the general formulas (1) to (7) according to the present invention as a substituent in the molecule includes the substituent having the structure represented by the general formulas (1) to (7) and the center described later. It is a structure that combines the skeleton.
前記一般式(1)において、Xaは酸素原子、硫黄原子、セレン原子またはテルル原子を表す。Z1、Z2は芳香族炭化水素環または芳香族複素環を表すが、いずれか一方は芳香族複素環である。Z3は2価の連結基または単なる結合手を表す。In the general formula (1), Xa represents an oxygen atom, a sulfur atom, a selenium atom or a tellurium atom. Z1 and Z2 represent an aromatic hydrocarbon ring or an aromatic heterocyclic ring, and either one is an aromatic heterocyclic ring. Z3 represents a divalent linking group or a simple bond.
Z1、Z2が表す芳香族炭化水素環は、具体的にはベンゼン環、ナフタレン環、アントラセン環、フェナントレン環、トリフェニレン環、ペリレン環等が挙げられる。更に該芳香族炭化水素環基は、例えば、下記Gで説明する置換基によって置換されていてもよく、更に縮合環(例えば、9−フェナントリルに炭化水素環を縮合させた9−ピレニル環、ベンゼン環に複素環を縮合させた8−キノリル環等)を形成してもよい。Specific examples of the aromatic hydrocarbon ring represented by Z1 and Z2 include a benzene ring, a naphthalene ring, an anthracene ring, a phenanthrene ring, a triphenylene ring, and a perylene ring. Further, the aromatic hydrocarbon ring group may be substituted with, for example, a substituent described in G below, and is further condensed (for example, a 9-pyrenyl ring obtained by condensing a hydrocarbon ring to 9-phenanthryl, benzene Or an 8-quinolyl ring in which a heterocyclic ring is condensed to a ring).
Z1、Z2が表す芳香族複素環は、具体的には、ピリジン環、ピリミジン環、ピリダジン環、イソオキサゾリン環、イソチアゾリン環、ピラゾリン環、ピロール環、フラン環、チオフェン環等が挙げられる。更に該芳香族複素環は、例えば、置換基によって置換されていてもよく、更に縮合環を形成してもよい。Specific examples of the aromatic heterocycle represented by Z1 and Z2 include a pyridine ring, a pyrimidine ring, a pyridazine ring, an isoxazoline ring, an isothiazoline ring, a pyrazoline ring, a pyrrole ring, a furan ring, and a thiophene ring. Further, the aromatic heterocyclic ring may be substituted with a substituent, for example, and may further form a condensed ring.
置換基としては、アルキル基(例えば、メチル基、エチル基、プロピル基、イソプロピル基、t−ブチル基、ペンチル基、ヘキシル基、オクチル基、ドデシル基、トリデシル基、テトラデシル基、ペンタデシル基等)、シクロアルキル基(例えば、シクロペンチル基、シクロヘキシル基等)、アルケニル基(例えば、ビニル基、アリル基等)、アルキニル基(例えば、エチニル基、プロパルギル基等)、アリール基(例えば、フェニル基、キシリル基、メシチル基等)、ヘテロアリール基(例えば、フリル基、チエニル基、ピリジル基、ピリダジル基、ピリミジル基、ピラジル基、トリアジル基、イミダゾリル基、ピラゾリル基、チアゾリル基、キナゾリル基、フタラジル基、カルバゾリル基、ジベンゾフリル基等)、ヘテロ環基(例えば、ピロリジル基、イミダゾリジル基、モルホリル基、オキサゾリジル基等)、アルコキシ基(例えば、メトキシ基、エトキシ基、プロピルオキシ基、ペンチルオキシ基、ヘキシルオキシ基、オクチルオキシ基、ドデシルオキシ基等)、シクロアルコキシ基(例えば、シクロペンチルオキシ基、シクロヘキシルオキシ基等)、アリールオキシ基(例えば、フェノキシ基、ナフチルオキシ基等)、アルキルチオ基(例えば、メチルチオ基、エチルチオ基、プロピルチオ基、ペンチルチオ基、ヘキシルチオ基、オクチルチオ基、ドデシルチオ基等)、シクロアルキルチオ基(例えば、シクロペンチルチオ基、シクロヘキシルチオ基等)、アリールチオ基(例えば、フェニルチオ基、ナフチルチオ基等)、アルコキシカルボニル基(例えば、メチルオキシカルボニル基、エチルオキシカルボニル基、ブチルオキシカルボニル基、オクチルオキシカルボニル基、ドデシルオキシカルボニル基等)、アリールオキシカルボニル基(例えば、フェニルオキシカルボニル基、ナフチルオキシカルボニル基等)、スルファモイル基(例えば、アミノスルホニル基、メチルアミノスルホニル基、ジメチルアミノスルホニル基、ブチルアミノスルホニル基、ヘキシルアミノスルホニル基、シクロヘキシルアミノスルホニル基、オクチルアミノスルホニル基、ドデシルアミノスルホニル基、フェニルアミノスルホニル基、ナフチルアミノスルホニル基、2−ピリジルアミノスルホニル基等)、アシル基(例えば、アセチル基、エチルカルボニル基、プロピルカルボニル基、ペンチルカルボニル基、シクロヘキシルカルボニル基、オクチルカルボニル基、2−エチルヘキシルカルボニル基、ドデシルカルボニル基、フェニルカルボニル基、ナフチルカルボニル基、ピリジルカルボニル基等)、アシルオキシ基(例えば、アセチルオキシ基、エチルカルボニルオキシ基、ブチルカルボニルオキシ基、オクチルカルボニルオキシ基、ドデシルカルボニルオキシ基、フェニルカルボニルオキシ基等)、アミド基(例えば、メチルカルボニルアミノ基、エチルカルボニルアミノ基、ジメチルカルボニルアミノ基、プロピルカルボニルアミノ基、ペンチルカルボニルアミノ基、シクロヘキシルカルボニルアミノ基、2−エチルヘキシルカルボニルアミノ基、オクチルカルボニルアミノ基、ドデシルカルボニルアミノ基、フェニルカルボニルアミノ基、ナフチルカルボニルアミノ基等)、カルバモイル基(例えば、アミノカルボニル基、メチルアミノカルボニル基、ジメチルアミノカルボニル基、プロピルアミノカルボニル基、ペンチルアミノカルボニル基、シクロヘキシルアミノカルボニル基、オクチルアミノカルボニル基、2−エチルヘキシルアミノカルボニル基、ドデシルアミノカルボニル基、フェニルアミノカルボニル基、ナフチルアミノカルボニル基、2−ピリジルアミノカルボニル基等)、ウレイド基(例えば、メチルウレイド基、エチルウレイド基、ペンチルウレイド基、シクロヘキシルウレイド基、オクチルウレイド基、ドデシルウレイド基、フェニルウレイド基ナフチルウレイド基、2−ピリジルアミノウレイド基等)、スルフィニル基(例えば、メチルスルフィニル基、エチルスルフィニル基、ブチルスルフィニル基、シクロヘキシルスルフィニル基、2−エチルヘキシルスルフィニル基、ドデシルスルフィニル基、フェニルスルフィニル基、ナフチルスルフィニル基、2−ピリジルスルフィニル基等)、アルキルスルホニル基(例えば、メチルスルホニル基、エチルスルホニル基、ブチルスルホニル基、シクロヘキシルスルホニル基、2−エチルヘキシルスルホニル基、ドデシルスルホニル基等)、アリールスルホニル基(フェニルスルホニル基、ナフチルスルホニル基、2−ピリジルスルホニル基等)、アミノ基(例えば、アミノ基、エチルアミノ基、ジメチルアミノ基、ブチルアミノ基、シクロペンチルアミノ基、2−エチルヘキシルアミノ基、ドデシルアミノ基、アニリノ基、ナフチルアミノ基、2−ピリジルアミノ基等)、ハロゲン原子(例えば、フッ素原子、塩素原子、臭素原子等)、フッ化炭化水素基(例えば、フルオロメチル基、トリフルオロメチル基、ペンタフルオロエチル基、ペンタフルオロフェニル基等)、シアノ基、ニトロ基、ヒドロキシ基、メルカプト基、シリル基(例えば、トリメチルシリル基、トリイソプロピルシリル基、トリフェニルシリル基、フェニルジエチルシリル基等)等が挙げられる。 Examples of the substituent include an alkyl group (for example, methyl group, ethyl group, propyl group, isopropyl group, t-butyl group, pentyl group, hexyl group, octyl group, dodecyl group, tridecyl group, tetradecyl group, pentadecyl group, etc.), A cycloalkyl group (eg, cyclopentyl group, cyclohexyl group, etc.), an alkenyl group (eg, vinyl group, allyl group, etc.), an alkynyl group (eg, ethynyl group, propargyl group, etc.), an aryl group (eg, phenyl group, xylyl group). , Mesityl group, etc.), heteroaryl group (for example, furyl group, thienyl group, pyridyl group, pyridazyl group, pyrimidyl group, pyrazyl group, triazyl group, imidazolyl group, pyrazolyl group, thiazolyl group, quinazolyl group, phthalazyl group, carbazolyl group , Dibenzofuryl group, etc.), heterocyclic group (for example, Loridyl group, imidazolidyl group, morpholyl group, oxazolidyl group, etc.), alkoxy group (for example, methoxy group, ethoxy group, propyloxy group, pentyloxy group, hexyloxy group, octyloxy group, dodecyloxy group, etc.), cycloalkoxy group (Eg, cyclopentyloxy group, cyclohexyloxy group, etc.), aryloxy group (eg, phenoxy group, naphthyloxy group, etc.), alkylthio group (eg, methylthio group, ethylthio group, propylthio group, pentylthio group, hexylthio group, octylthio group) , Dodecylthio group, etc.), cycloalkylthio group (eg, cyclopentylthio group, cyclohexylthio group, etc.), arylthio group (eg, phenylthio group, naphthylthio group, etc.), alkoxycarbonyl group (eg, methyloxy group, etc.) Carbonyl group, ethyloxycarbonyl group, butyloxycarbonyl group, octyloxycarbonyl group, dodecyloxycarbonyl group etc.), aryloxycarbonyl group (eg phenyloxycarbonyl group, naphthyloxycarbonyl group etc.), sulfamoyl group (eg amino Sulfonyl group, methylaminosulfonyl group, dimethylaminosulfonyl group, butylaminosulfonyl group, hexylaminosulfonyl group, cyclohexylaminosulfonyl group, octylaminosulfonyl group, dodecylaminosulfonyl group, phenylaminosulfonyl group, naphthylaminosulfonyl group, 2- Pyridylaminosulfonyl group, etc.), acyl groups (for example, acetyl group, ethylcarbonyl group, propylcarbonyl group, pentylcarbonyl group, cyclohexyl) Carbonyl group, octylcarbonyl group, 2-ethylhexylcarbonyl group, dodecylcarbonyl group, phenylcarbonyl group, naphthylcarbonyl group, pyridylcarbonyl group, etc.), acyloxy group (for example, acetyloxy group, ethylcarbonyloxy group, butylcarbonyloxy group, Octylcarbonyloxy group, dodecylcarbonyloxy group, phenylcarbonyloxy group, etc.), amide group (for example, methylcarbonylamino group, ethylcarbonylamino group, dimethylcarbonylamino group, propylcarbonylamino group, pentylcarbonylamino group, cyclohexylcarbonylamino) Group, 2-ethylhexylcarbonylamino group, octylcarbonylamino group, dodecylcarbonylamino group, phenylcarbonylamino group, naphthylcarbo Carbamoyl group (for example, aminocarbonyl group, methylaminocarbonyl group, dimethylaminocarbonyl group, propylaminocarbonyl group, pentylaminocarbonyl group, cyclohexylaminocarbonyl group, octylaminocarbonyl group, 2-ethylhexylaminocarbonyl group) , Dodecylaminocarbonyl group, phenylaminocarbonyl group, naphthylaminocarbonyl group, 2-pyridylaminocarbonyl group, etc.), ureido group (for example, methylureido group, ethylureido group, pentylureido group, cyclohexylureido group, octylureido group, dodecyl group) Ureido group, phenylureido group, naphthylureido group, 2-pyridylaminoureido group, etc.), sulfinyl group (for example, methylsulfinyl group, ethylsulfide group) Group, butylsulfinyl group, cyclohexylsulfinyl group, 2-ethylhexylsulfinyl group, dodecylsulfinyl group, phenylsulfinyl group, naphthylsulfinyl group, 2-pyridylsulfinyl group, etc.), alkylsulfonyl group (for example, methylsulfonyl group, ethylsulfonyl group) , Butylsulfonyl group, cyclohexylsulfonyl group, 2-ethylhexylsulfonyl group, dodecylsulfonyl group, etc.), arylsulfonyl group (phenylsulfonyl group, naphthylsulfonyl group, 2-pyridylsulfonyl group etc.), amino group (for example, amino group, ethyl group) Amino group, dimethylamino group, butylamino group, cyclopentylamino group, 2-ethylhexylamino group, dodecylamino group, anilino group, naphthylamino group, 2-pyridylamino group Etc.), halogen atoms (eg fluorine atom, chlorine atom, bromine atom etc.), fluorinated hydrocarbon groups (eg fluoromethyl group, trifluoromethyl group, pentafluoroethyl group, pentafluorophenyl group etc.), cyano group Nitro group, hydroxy group, mercapto group, silyl group (for example, trimethylsilyl group, triisopropylsilyl group, triphenylsilyl group, phenyldiethylsilyl group, etc.).
Z3が表す2価の連結基としては、アルキレン、アルケニレン、アルキニレン、アリーレンなどの炭化水素基のほか、ヘテロ原子を含むものであってもよい。例えば、チオフェン−2,5−ジイル基や、ピラジン−2,3−ジイル基のような、ヘテロ芳香族化合物に由来する2価の連結基であってもよいし、酸素や硫黄などのカルコゲン原子であってもよい。また、アルキルイミノ基、ジアルキルシランジイル基やジアリールゲルマンジイル基のような、ヘテロ原子を会して連結する基であってもよい。Z3が表す単なる結合手とは、連結する置換基同士を直接結合する結合手である。The divalent linking group represented by Z3 may contain a hetero atom in addition to hydrocarbon groups such as alkylene, alkenylene, alkynylene, and arylene. For example, it may be a divalent linking group derived from a heteroaromatic compound, such as a thiophene-2,5-diyl group or a pyrazine-2,3-diyl group, or a chalcogen atom such as oxygen or sulfur. It may be. Moreover, the group which meets and connects a hetero atom like the alkylimino group, the dialkyl silane diyl group, and the diaryl germane diyl group may be sufficient. The simple bond represented by Z3 is a bond that directly bonds the connecting substituents together.
本発明ではZ3が単なる結合手であることが好ましい。また、Z1、Z2の少なくとも一方が六員環であることが好ましく、ともに六員環であることがより好ましい。これにより、より一層発光効率と高くすることができ、またより一層長寿命化させることができる。In the present invention, Z3 is preferably a simple bond. In addition, at least one of Z1 and Z2 is preferably a six-membered ring, and more preferably a six-membered ring. As a result, the luminous efficiency can be further increased, and the lifetime can be further increased.
前記一般式(1)は、より具体的には前記一般式(2)または一般式(7)で表される。そして、一般式(2)は、より具体的には一般式(3)〜一般式(6)のいずれかで表される。 More specifically, the general formula (1) is represented by the general formula (2) or the general formula (7). The general formula (2) is more specifically represented by any one of the general formulas (3) to (6).
一般式(2)において、Xbは酸素原子、硫黄原子、セレン原子またはテルル原子を表す。X11、X12、X13、X14、X15、X16、X17、X18は各々炭素原子または窒素原子を表すが、その少なくとも一つは窒素原子である。R1、R2は各々置換基を表す。n、mは0≦n+m≦7を満たす0から4の整数を表す。R1、R2が表す置換基は、一般式(1)で挙げられた置換基と同義である。In the general formula (2), Xb represents an oxygen atom, a sulfur atom, a selenium atom or a tellurium atom. X11 , X12 , X13 , X14 , X15 , X16 , X17 and X18 each represent a carbon atom or a nitrogen atom, at least one of which is a nitrogen atom. R1 and R2 each represent a substituent. n and m represent an integer of 0 to 4 that satisfies 0 ≦ n + m ≦ 7. The substituent which R <1 >, R <2 > represents is synonymous with the substituent quoted by General formula (1).
一般式(3)において、Xcは酸素原子、硫黄原子、セレン原子またはテルル原子を表す。R31、R32は各々置換基を表す。n31は0から3の整数、m31は0から4の整数を表す。R31、R32が表す置換基は、一般式(1)で挙げられた置換基と同義である。In the general formula (3), Xc represents an oxygen atom, a sulfur atom, a selenium atom or a tellurium atom. R31 and R32 each represent a substituent. n31 represents an integer of 0 to 3, and m31 represents an integer of 0 to 4. The substituents represented by R31 and R32 have the same meanings as the substituents exemplified in the general formula (1).
一般式(4)において、Xdは酸素原子、硫黄原子、セレン原子またはテルル原子を表す。R41、R42は各々置換基を表す。n41は0から3の整数、m41は0から4の整数を表す。R41、R42が表す置換基は、一般式(1)で挙げられた置換基と同義である。In the general formula (4), Xd represents an oxygen atom, a sulfur atom, a selenium atom or a tellurium atom. R41 and R42 each represent a substituent. n41 represents an integer of 0 to 3, and m41 represents an integer of 0 to 4. The substituents represented by R41 and R42 have the same meanings as the substituents exemplified in the general formula (1).
一般式(5)において、Xeは酸素原子、硫黄原子、セレン原子またはテルル原子を表す。R51、R52は各々置換基を表す。n51は0から3の整数、m51は0から4の整数を表す。R51、R52が表す置換基は、一般式(1)で挙げられた置換基と同義である。In the general formula (5), Xe represents an oxygen atom, a sulfur atom, a selenium atom or a tellurium atom. R51 and R52 each represent a substituent. n51 represents an integer of 0 to 3, and m51 represents an integer of 0 to 4. The substituents represented by R51 and R52 have the same meanings as the substituents exemplified in the general formula (1).
一般式(6)において、Xfは酸素原子、硫黄原子、セレン原子またはテルル原子を表す。R61、R62は各々置換基を表す。n61は0から3の整数、m61は0から4の整数を表す。R61、R62が表す置換基は、一般式(1)で挙げられた置換基と同義である。In the general formula (6), Xf represents an oxygen atom, a sulfur atom, a selenium atom or a tellurium atom. R61 and R62 each represent a substituent. n61 represents an integer of 0 to 3, and m61 represents an integer of 0 to 4. The substituents represented by R61 and R62 have the same meanings as the substituents exemplified in the general formula (1).
一般式(7)において、Xgは酸素原子、硫黄原子、セレン原子またはテルル原子を表す。X21、X22、X23、X24、X25、X26、X27、X28は各々炭素原子または窒素原子を表すが、X21、X22、X23、X24の少なくとも一つ、且つX25、X26、X27、X28の少なくとも一つは窒素原子である。R3、R4は各々置換基を表す。p、qは0≦p+q≦6を満たす0から3の整数を表す。R3、R4が表す置換基は、一般式(1)で挙げられた置換基と同義である。In the general formula (7), Xg represents an oxygen atom, a sulfur atom, a selenium atom or a tellurium atom. X21 , X22 , X23 , X24 , X25 , X26 , X27 , X28 each represents a carbon atom or a nitrogen atom, but at least one of X21 , X22 , X23 , X24 , And at least one of X25 , X26 , X27 and X28 is a nitrogen atom. R3 and R4 each represent a substituent. p and q represent an integer of 0 to 3 that satisfies 0 ≦ p + q ≦ 6. The substituent which R <3 >, R <4 > represents is synonymous with the substituent mentioned by General formula (1).
以下に、一般式(1)〜(7)で表される構造の置換基の具体例を列挙する。 Specific examples of substituents having structures represented by the general formulas (1) to (7) are listed below.
中心骨格としては、以下にその具体例が挙げられる。なお、*は一般式(1)〜(7)で表される構造の置換基の結合点を表す。 Specific examples of the central skeleton are given below. In addition, * represents the bonding point of the substituent of the structure represented by general formula (1)-(7).
一般式(1)〜(7)で表される構造の置換基と中心骨格から形成される、本発明に係る化合物の具体例を以下に示す。 Specific examples of the compound according to the present invention formed from the substituents having the structures represented by the general formulas (1) to (7) and the central skeleton are shown below.
本発明に係る上記化合物は、例えば、Organic Lettersの第7巻、23号、5241〜5244頁(2005年)に記載の参考文献等の方法を適用することにより合成できる。 The above-mentioned compound according to the present invention can be synthesized, for example, by applying a method such as a reference described in Organic Letters, Vol. 7, No. 23, pages 5241-5244 (2005).
《有機EL素子材料の有機EL素子への適用》
本発明の有機EL素子材料を用いて本発明の有機EL素子を作製する場合、有機EL素子の構成層(詳細は後述する)の中で、発光層または正孔阻止層に本発明の有機EL素子材料を用いることが好ましい。また、発光層中では上記のようにホスト化合物(発光ホストともいう)として好ましく用いられる。<< Application of organic EL element materials to organic EL elements >>
When the organic EL element of the present invention is produced using the organic EL element material of the present invention, the organic EL of the present invention is formed on the light emitting layer or the hole blocking layer in the constituent layers (details will be described later) of the organic EL element. It is preferable to use an element material. In the light emitting layer, it is preferably used as a host compound (also referred to as a light emitting host) as described above.
(発光ホストと発光ドーパント)
発光層中の主成分であるホスト化合物である発光ホストに対するリン光性化合物(発光ドーパントともいう)との混合比は、好ましくは質量で0.1〜30質量%未満の範囲に調整することである。(Light emitting host and light emitting dopant)
The mixing ratio of the phosphorescent compound (also referred to as a light-emitting dopant) to the light-emitting host that is the host compound that is the main component in the light-emitting layer is preferably adjusted to a range of less than 0.1 to 30% by mass. is there.
発光ドーパントは大きく分けて、蛍光を発光する蛍光性ドーパントとリン光を発光するリン光性ドーパントの2種類がある。 Luminescent dopants are roughly classified into two types: fluorescent dopants that emit fluorescence and phosphorescent dopants that emit phosphorescence.
前者(蛍光性ドーパント)の代表例としては、クマリン系色素、ピラン系色素、シアニン系色素、クロコニウム系色素、スクアリウム系色素、オキソベンツアントラセン系色素、フルオレセイン系色素、ローダミン系色素、ピリリウム系色素、ペリレン系色素、スチルベン系色素、ポリチオフェン系色素、または希土類錯体系蛍光体等が挙げられる。 Representative examples of the former (fluorescent dopant) include coumarin dyes, pyran dyes, cyanine dyes, croconium dyes, squalium dyes, oxobenzanthracene dyes, fluorescein dyes, rhodamine dyes, pyrylium dyes, Examples include perylene dyes, stilbene dyes, polythiophene dyes, and rare earth complex phosphors.
後者(リン光性ドーパント)の代表例としては、好ましくは元素周期表で8族、9族、10族の遷移金属元素を含有する錯体系化合物であり、更に好ましくはイリジウム錯体化合物、白金錯体化合物である。 A typical example of the latter (phosphorescent dopant) is preferably a complex compound containing a transition metal element of
具体的には以下の特許公報に記載されている化合物である。 Specifically, it is a compound described in the following patent publications.
国際公開第00/70655号パンフレット、特開2002−280178号公報、特開2001−181616号公報、特開2002−280179号公報、特開2001−181617号公報、特開2002−280180号公報、特開2001−247859号公報、特開2002−299060号公報、特開2001−313178号公報、特開2002−302671号公報、特開2001−345183号公報、特開2002−324679号公報、国際公開第02/15645号パンフレット、特開2002−332291号公報、特開2002−50484号公報、特開2002−332292号公報、特開2002−83684号公報、特表2002−540572号公報、特開2002−117978号公報、特開2002−338588号公報、特開2002−170684号公報、特開2002−352960号公報、国際公開第01/93642号パンフレット、特開2002−50483号公報、特開2002−100476号公報、特開2002−173674号公報、特開2002−359082号公報、特開2002−175884号公報、特開2002−363552号公報、特開2002−184582号公報、特開2003−7469号公報、特表2002−525808号公報、特開2003−7471号公報、特表2002−525833号公報、特開2003−31366号公報、特開2002−226495号公報、特開2002−234894号公報、特開2002−235076号公報、特開2002−241751号公報、特開2001−319779号公報、特開2001−319780号公報、特開2002−62824号公報、特開2002−100474号公報、特開2002−203679号公報、特開2002−343572号公報、特開2002−203678号公報等。 WO 00/70655 pamphlet, JP 2002-280178, JP 2001-181616, JP 2002-280179, JP 2001-181617, JP 2002-280180, JP 2001-247859, JP 2002-299060, JP 2001-313178, JP 2002-302671, JP 2001-345183, JP 2002-324679, International Publication No. 02/15645 pamphlet, JP 2002-332291 A, JP 2002-50484 A, JP 2002-332292 A, JP 2002-83684 A, JP 2002-540572 A, JP 2002-2002 A. No. 117978, JP 20 JP-A-2-338588, JP-A-2002-170684, JP-A-2002-352960, WO01 / 93642, JP-A-2002-50483, JP-A-2002-1000047, JP-A-2002. No. -173744, JP-A No. 2002-359082, JP-A No. 2002-17584, JP-A No. 2002-363552, JP-A No. 2002-184582, JP-A No. 2003-7469, JP-T-2002-525808. Gazette, JP2003-7471, JP2002-525833, JP2003-31366, JP2002-226495, JP2002-234894, JP2002-2335076 JP 2002-241751 A JP 2001-319779, JP 2001-319780, JP 2002-62824, JP 2002-1000047, JP 2002-203679, JP 2002-343572, JP 2002-203678 gazette etc.
以下に、具体例の一部を示す。 Some specific examples are shown below.
更に、下記化合物も本発明において用いられる。 Furthermore, the following compounds are also used in the present invention.
(発光ホスト)
本発明に用いられるホスト化合物とは、発光層に含有される化合物のうちで室温(25℃)においてリン光発光のリン光量子収率が、0.01未満の化合物を表す。(Light emitting host)
The host compound used in the present invention represents a compound having a phosphorescence quantum yield of phosphorescence emission of less than 0.01 at room temperature (25 ° C.) among compounds contained in the light emitting layer.
本発明に係る化合物と併用してもよい発光ホストとしては構造的には特に制限はないが、代表的にはカルバゾール誘導体、トリアリールアミン誘導体、芳香族ボラン誘導体、含窒素複素環化合物、チオフェン誘導体、フラン誘導体、オリゴアリーレン化合物等の基本骨格を有するもの、またはカルボリン誘導体や該カルボリン誘導体のカルボリン環を構成する炭化水素環の炭素原子の少なくとも一つが窒素原子で置換されている環構造を有する誘導体等が挙げられる。中でも、カルバゾール誘導体、カルボリン誘導体や該カルボリン誘導体のカルボリン環を構成する炭化水素環の炭素原子の少なくとも一つが窒素原子で置換されている環構造を有する誘導体が好ましく用いられる。 The light-emitting host that may be used in combination with the compound according to the present invention is not particularly limited in terms of structure, but is typically a carbazole derivative, a triarylamine derivative, an aromatic borane derivative, a nitrogen-containing heterocyclic compound, or a thiophene derivative. , Furan derivatives, oligoarylene compounds, etc. having a basic skeleton, or carboline derivatives or derivatives having a ring structure in which at least one of the carbon atoms of the hydrocarbon ring constituting the carboline ring of the carboline derivative is substituted with a nitrogen atom Etc. Among these, carbazole derivatives, carboline derivatives, and derivatives having a ring structure in which at least one carbon atom of the hydrocarbon ring constituting the carboline ring of the carboline derivative is substituted with a nitrogen atom are preferably used.
以下に、本発明に係る化合物と併用してもよい発光ホストの具体例を挙げるが、本発明はこれらに限定されない。これらの化合物は正孔阻止材料として使用することも好ましい。 Although the specific example of the light emission host which may be used together with the compound concerning this invention is given to the following, this invention is not limited to these. These compounds are also preferably used as hole blocking materials.
本発明に係る発光層においては、ホスト化合物として公知のホスト化合物を複数種併用して用いてもよい。ホスト化合物を複数種用いることで、電荷の移動を調整することが可能であり、有機EL素子を高効率化することができる。これらの公知のホスト化合物としては、正孔輸送能、電子輸送能を有しつつ、且つ発光の長波長化を防ぎ、なお且つ高Tg(ガラス転移温度)である化合物が好ましい。 In the light emitting layer according to the present invention, a plurality of known host compounds may be used in combination as a host compound. By using a plurality of types of host compounds, it is possible to adjust the movement of charges, and the organic EL element can be made highly efficient. As these known host compounds, compounds having a hole transporting ability and an electron transporting ability, preventing the emission of longer wavelengths, and having a high Tg (glass transition temperature) are preferable.
また、本発明に用いられる発光ホストは低分子化合物でも、繰り返し単位をもつ高分子化合物でもよく、ビニル基やエポキシ基のような重合性基を有する低分子化合物(蒸着重合性発光ホスト)でもいい。 The light emitting host used in the present invention may be a low molecular compound, a high molecular compound having a repeating unit, or a low molecular compound having a polymerizable group such as a vinyl group or an epoxy group (evaporation polymerizable light emitting host). .
発光ホストとしては、正孔輸送能、電子輸送能を有しつつ、且つ発光の長波長化を防ぎ、なお且つ高Tg(ガラス転移温度)である化合物が好ましい。 As the light-emitting host, a compound having a hole transporting ability and an electron transporting ability, preventing a long wavelength of light emission, and having a high Tg (glass transition temperature) is preferable.
発光ホストの具体例としては、以下の文献に記載されている化合物が好適である。例えば、特開2001−257076号公報、特開2002−308855号公報、特開2001−313179号公報、特開2002−319491号公報、特開2001−357977号公報、特開2002−334786号公報、特開2002−8860号公報、特開2002−334787号公報、特開2002−15871号公報、特開2002−334788号公報、特開2002−43056号公報、特開2002−334789号公報、特開2002−75645号公報、特開2002−338579号公報、特開2002−105445号公報、特開2002−343568号公報、特開2002−141173号公報、特開2002−352957号公報、特開2002−203683号公報、特開2002−363227号公報、特開2002−231453号公報、特開2003−3165号公報、特開2002−234888号公報、特開2003−27048号公報、特開2002−255934号公報、特開2002−260861号公報、特開2002−280183号公報、特開2002−299060号公報、特開2002−302516号公報、特開2002−305083号公報、特開2002−305084号公報、特開2002−308837号公報等。 As specific examples of the light-emitting host, compounds described in the following documents are suitable. For example, Japanese Patent Laid-Open Nos. 2001-257076, 2002-308855, 2001-313179, 2002-319491, 2001-357777, 2002-334786, JP2002-8860, JP2002-334787, JP2002-15871, JP2002-334788, JP2002-43056, JP2002-334789, JP JP 2002-75645 A, JP 2002-338579 A, JP 2002-105445 A, JP 2002-343568 A, JP 2002-141173 A, JP 2002-352957 A, JP 2002-2002 A. No. 203683, JP-A-2002-3632 7, JP 2002-231453, JP 2003-3165, JP 2002-234888, JP 2003-27048, JP 2002-255934, JP 2002-286061. JP, JP-A-2002-280183, JP-A-2002-299060, JP-A-2002-302516, JP-A-2002-305083, JP-A-2002-305084, JP-A-2002-308837, etc. .
また、発光層はホスト化合物として更に蛍光極大波長を有するホスト化合物を含有していてもよい。この場合、他のホスト化合物とリン光性化合物から蛍光性化合物へのエネルギー移動で、有機EL素子としての電界発光は蛍光極大波長を有する他のホスト化合物からの発光も得られる。蛍光極大波長を有するホスト化合物として好ましいのは、溶液状態で蛍光量子収率が高いものである。ここで、蛍光量子収率は10%以上、特に30%以上が好ましい。具体的な蛍光極大波長を有するホスト化合物としては、クマリン系色素、ピラン系色素、シアニン系色素、クロコニウム系色素、スクアリウム系色素、オキソベンツアントラセン系色素、フルオレセイン系色素、ローダミン系色素、ピリリウム系色素、ペリレン系色素、スチルベン系色素、ポリチオフェン系色素等が挙げられる。蛍光量子収率は、前記第4版実験化学講座7の分光IIの362頁(1992年版、丸善)に記載の方法により測定することができる。 The light emitting layer may further contain a host compound having a fluorescence maximum wavelength as a host compound. In this case, the energy transfer from the other host compound and the phosphorescent compound to the fluorescent compound allows electroluminescence as an organic EL element to be emitted from the other host compound having a fluorescence maximum wavelength. A host compound having a fluorescence maximum wavelength is preferably a compound having a high fluorescence quantum yield in a solution state. Here, the fluorescence quantum yield is preferably 10% or more, particularly preferably 30% or more. Specific host compounds having a maximum fluorescence wavelength include coumarin dyes, pyran dyes, cyanine dyes, croconium dyes, squalium dyes, oxobenzanthracene dyes, fluorescein dyes, rhodamine dyes, and pyrylium dyes. Perylene dyes, stilbene dyes, polythiophene dyes, and the like. The fluorescence quantum yield can be measured by the method described in 362 (1992, Maruzen) of Spectroscopic II of the Fourth Edition Experimental Chemistry Course 7.
次に、代表的な有機EL素子の構成について述べる。 Next, a configuration of a typical organic EL element will be described.
《有機EL素子の構成層》
本発明の有機EL素子の構成層について説明する。<< Constituent layers of organic EL elements >>
The constituent layers of the organic EL element of the present invention will be described.
本発明の有機EL素子の層構成の好ましい具体例を以下に示すが、本発明はこれらに限定されない。 Although the preferable specific example of the layer structure of the organic EL element of this invention is shown below, this invention is not limited to these.
(i)陽極/正孔輸送層/発光層/正孔阻止層/電子輸送層/陰極
(ii)陽極/電子阻止層/発光層/正孔阻止層/電子輸送層/陰極
(iii)陽極/正孔輸送層/電子阻止層/発光層/正孔阻止層/電子輸送層/陰極
(iv)陽極/正孔輸送層/電子阻止層/発光層/正孔阻止層/電子輸送層/陰極
(v)陽極/正孔輸送層/電子阻止層/発光層/正孔阻止層/電子輸送層/陰極バッファー層/陰極
(vi)陽極/陽極バッファー層/正孔輸送層/電子阻止層/発光層/正孔阻止層/電子輸送層/陰極バッファー層/陰極
(vii)陽極/陽極バッファー層/正孔輸送層/電子阻止層/発光層/正孔阻止層/電子輸送層/陰極バッファー層/陰極
《阻止層(電子阻止層、正孔阻止層)》
本発明に係る阻止層(例えば、電子阻止層、正孔阻止層)について説明する。(I) Anode / hole transport layer / light emitting layer / hole blocking layer / electron transport layer / cathode (ii) Anode / electron blocking layer / light emitting layer / hole blocking layer / electron transport layer / cathode (iii) Anode / Hole transport layer / electron blocking layer / light emitting layer / hole blocking layer / electron transport layer / cathode (iv) Anode / hole transport layer / electron blocking layer / light emitting layer / hole blocking layer / electron transport layer / cathode ( v) Anode / hole transport layer / electron blocking layer / light emitting layer / hole blocking layer / electron transport layer / cathode buffer layer / cathode (vi) Anode / anode buffer layer / hole transport layer / electron blocking layer / light emitting layer / Hole blocking layer / electron transport layer / cathode buffer layer / cathode (vii) Anode / anode buffer layer / hole transport layer / electron blocking layer / light emitting layer / hole blocking layer / electron transport layer / cathode buffer layer / cathode 《Blocking layer (electron blocking layer, hole blocking layer)》
The blocking layer (for example, electron blocking layer, hole blocking layer) according to the present invention will be described.
本発明においては、正孔阻止層に本発明の有機EL素子材料を用いることが好ましく、特に好ましくは正孔阻止層に用いることである。 In the present invention, the organic EL device material of the present invention is preferably used for the hole blocking layer, and particularly preferably used for the hole blocking layer.
本発明の有機EL素子材料を正孔阻止層に含有させる場合、請求項1〜9のいずれか1項に記載されている本発明の有機EL素子材料を、正孔阻止層の層構成成分として100質量%の状態で含有させてもよいし、他の有機化合物等と混合してもよい。 When the organic EL element material of the present invention is contained in the hole blocking layer, the organic EL element material of the present invention described in any one of claims 1 to 9 is used as a layer constituent component of the hole blocking layer. You may make it contain in the state of 100 mass%, and you may mix with another organic compound etc.
本発明に係る阻止層の膜厚としては好ましくは3〜100nmであり、更に好ましくは5〜30nmである。 The thickness of the blocking layer according to the present invention is preferably 3 to 100 nm, and more preferably 5 to 30 nm.
《正孔阻止層》
正孔阻止層とは広い意味では電子輸送層の機能を有し、電子を輸送する機能を有しつつ正孔を輸送する能力が著しく小さい材料からなり、電子を輸送しつつ正孔を阻止することで電子と正孔の再結合確率を向上させることができる。《Hole blocking layer》
The hole blocking layer has the function of an electron transport layer in a broad sense, and is made of a material that has a function of transporting electrons but has a very small ability to transport holes, and blocks holes while transporting electrons. Thus, the probability of recombination of electrons and holes can be improved.
《電子阻止層》
一方、電子阻止層とは広い意味では正孔輸送層の機能を有し、正孔を輸送する機能を有しつつ電子を輸送する能力が著しく小さい材料からなり、正孔を輸送しつつ電子を阻止することで電子と正孔の再結合確率を向上させることができる。また、後述する正孔輸送層の構成を必要に応じて電子阻止層として用いることができる。《Electron blocking layer》
On the other hand, the electron blocking layer has a function of a hole transport layer in a broad sense, and is made of a material that has a function of transporting holes and has an extremely small ability to transport electrons, and transports electrons while transporting holes. By blocking, the recombination probability of electrons and holes can be improved. Moreover, the structure of the positive hole transport layer mentioned later can be used as an electron blocking layer as needed.
《正孔輸送層》
正孔輸送層とは正孔を輸送する機能を有する材料を含み、広い意味で正孔注入層、電子阻止層も正孔輸送層に含まれる。正孔輸送層は単層もしくは複数層設けることができる。《Hole transport layer》
The hole transport layer includes a material having a function of transporting holes, and in a broad sense, a hole injection layer and an electron blocking layer are also included in the hole transport layer. The hole transport layer can be provided as a single layer or a plurality of layers.
正孔輸送材料としては特に制限はなく、従来、光導伝材料において正孔の電荷注入輸送材料として慣用されているものや、有機EL素子の正孔注入層、正孔輸送層に使用される公知のものの中から任意のものを選択して用いることができる。 The hole transport material is not particularly limited, and is conventionally used as a hole charge injection / transport material in a photoconductive material, or a well-known material used for a hole injection layer or a hole transport layer of an organic EL element. Any one can be selected and used.
正孔輸送材料は正孔の注入もしくは輸送、電子の障壁性のいずれかを有するものであり、有機物、無機物のいずれであってもよい。例えば、トリアゾール誘導体、オキサジアゾール誘導体、イミダゾール誘導体、ポリアリールアルカン誘導体、ピラゾリン誘導体及びピラゾロン誘導体、フェニレンジアミン誘導体、アリールアミン誘導体、アミノ置換カルコン誘導体、オキサゾール誘導体、スチリルアントラセン誘導体、フルオレノン誘導体、ヒドラゾン誘導体、スチルベン誘導体、シラザン誘導体、アニリン系共重合体、また導電性高分子オリゴマー、特にチオフェンオリゴマー等が挙げられる。 The hole transport material has one of hole injection or transport and electron barrier properties, and may be either organic or inorganic. For example, triazole derivatives, oxadiazole derivatives, imidazole derivatives, polyarylalkane derivatives, pyrazoline derivatives and pyrazolone derivatives, phenylenediamine derivatives, arylamine derivatives, amino-substituted chalcone derivatives, oxazole derivatives, styrylanthracene derivatives, fluorenone derivatives, hydrazone derivatives, Examples thereof include stilbene derivatives, silazane derivatives, aniline copolymers, and conductive polymer oligomers, particularly thiophene oligomers.
正孔輸送材料としては上記のものを使用することができるが、ポルフィリン化合物、芳香族第三級アミン化合物及びスチリルアミン化合物、特に芳香族第三級アミン化合物を用いることが好ましい。 The above-mentioned materials can be used as the hole transport material, but it is preferable to use a porphyrin compound, an aromatic tertiary amine compound and a styrylamine compound, particularly an aromatic tertiary amine compound.
芳香族第三級アミン化合物及びスチリルアミン化合物の代表例としては、N,N,N′,N′−テトラフェニル−4,4′−ジアミノフェニル;N,N′−ジフェニル−N,N′−ビス(3−メチルフェニル)−〔1,1′−ビフェニル〕−4,4′−ジアミン(TPD);2,2−ビス(4−ジ−p−トリルアミノフェニル)プロパン;1,1−ビス(4−ジ−p−トリルアミノフェニル)シクロヘキサン;N,N,N′,N′−テトラ−p−トリル−4,4′−ジアミノビフェニル;1,1−ビス(4−ジ−p−トリルアミノフェニル)−4−フェニルシクロヘキサン;ビス(4−ジメチルアミノ−2−メチルフェニル)フェニルメタン;ビス(4−ジ−p−トリルアミノフェニル)フェニルメタン;N,N′−ジフェニル−N,N′−ジ(4−メトキシフェニル)−4,4′−ジアミノビフェニル;N,N,N′,N′−テトラフェニル−4,4′−ジアミノジフェニルエーテル;4,4′−ビス(ジフェニルアミノ)クオードリフェニル;N,N,N−トリ(p−トリル)アミン;4−(ジ−p−トリルアミノ)−4′−〔4−(ジ−p−トリルアミノ)スチリル〕スチルベン;4−N,N−ジフェニルアミノ−(2−ジフェニルビニル)ベンゼン;3−メトキシ−4’−N,N−ジフェニルアミノスチルベンゼン;N−フェニルカルバゾール、更には米国特許第5,061,569号明細書に記載されている2個の縮合芳香族環を分子内に有するもの、例えば、4,4′−ビス〔N−(1−ナフチル)−N−フェニルアミノ〕ビフェニル(NPD)、特開平4−308688号公報に記載されているトリフェニルアミンユニットが3つスターバースト型に連結された4,4′,4′−トリス〔N−(3−メチルフェニル)−N−フェニルアミノ〕トリフェニルアミン(MTDATA)等が挙げられる。 Representative examples of aromatic tertiary amine compounds and styrylamine compounds include N, N, N ′, N′-tetraphenyl-4,4′-diaminophenyl; N, N′-diphenyl-N, N′— Bis (3-methylphenyl)-[1,1′-biphenyl] -4,4′-diamine (TPD); 2,2-bis (4-di-p-tolylaminophenyl) propane; 1,1-bis (4-di-p-tolylaminophenyl) cyclohexane; N, N, N ′, N′-tetra-p-tolyl-4,4′-diaminobiphenyl; 1,1-bis (4-di-p-tolyl) Aminophenyl) -4-phenylcyclohexane; bis (4-dimethylamino-2-methylphenyl) phenylmethane; bis (4-di-p-tolylaminophenyl) phenylmethane; N, N'-diphenyl-N, N ' − (4-methoxyphenyl) -4,4'-diaminobiphenyl; N, N, N ', N'-tetraphenyl-4,4'-diaminodiphenyl ether; 4,4'-bis (diphenylamino) quadriphenyl; N, N, N-tri (p-tolyl) amine; 4- (di-p-tolylamino) -4 '-[4- (di-p-tolylamino) styryl] stilbene; 4-N, N-diphenylamino- (2-diphenylvinyl) benzene; 3-methoxy-4′-N, N-diphenylaminostilbenzene; N-phenylcarbazole, as well as two of those described in US Pat. No. 5,061,569 Having a condensed aromatic ring in the molecule, for example, 4,4'-bis [N- (1-naphthyl) -N-phenylamino] biphenyl (NPD), JP-A-4-3086 4,4 ′, 4′-tris [N- (3-methylphenyl) -N-phenylamino] triphenylamine in which three triphenylamine units described in Japanese Patent No. 8 are linked in a starburst type ( MTDATA) and the like.
更にこれらの材料を高分子鎖に導入した、またはこれらの材料を高分子の主鎖とした高分子材料を用いることもできる。また、p型−Si、p型−SiC等の無機化合物も正孔注入材料、正孔輸送材料として使用することができる。 Furthermore, a polymer material in which these materials are introduced into a polymer chain or these materials are used as a polymer main chain can also be used. In addition, inorganic compounds such as p-type-Si and p-type-SiC can also be used as the hole injection material and the hole transport material.
この正孔輸送層は上記正孔輸送材料を、例えば、真空蒸着法、スピンコート法、キャスト法、インクジェット法、LB法等の公知の方法により、薄膜化することにより形成することができる。正孔輸送層の膜厚については特に制限はないが、通常は5〜5000nm程度である。この正孔輸送層は上記材料の一種または二種以上からなる一層構造であってもよい。 This hole transport layer can be formed by thinning the hole transport material by a known method such as a vacuum deposition method, a spin coating method, a casting method, an ink jet method, or an LB method. Although there is no restriction | limiting in particular about the film thickness of a positive hole transport layer, Usually, it is about 5-5000 nm. The hole transport layer may have a single layer structure composed of one or more of the above materials.
《電子輸送層》
電子輸送層とは電子を輸送する機能を有する材料からなり、広い意味で電子注入層、正孔阻止層も電子輸送層に含まれる。電子輸送層は単層もしくは複数層を設けることができる。《Electron transport layer》
The electron transport layer is made of a material having a function of transporting electrons, and in a broad sense, an electron injection layer and a hole blocking layer are also included in the electron transport layer. The electron transport layer can be provided with a single layer or a plurality of layers.
従来、単層の電子輸送層、及び複数層とする場合は発光層に対して陰極側に隣接する電子輸送層に用いられる電子輸送材料(正孔阻止材料を兼ねる)としては、下記の材料が知られている。 Conventionally, in the case of a single-layer electron transport layer and a plurality of layers, the following materials are used as the electron transport material (also serving as a hole blocking material) used for the electron transport layer adjacent to the cathode side with respect to the light emitting layer. Are known.
更に、電子輸送層は陰極より注入された電子を発光層に伝達する機能を有していればよく、その材料としては従来公知の化合物の中から任意のものを選択して用いることができる。 Further, the electron transport layer only needs to have a function of transmitting electrons injected from the cathode to the light emitting layer, and any material can be selected and used from conventionally known compounds.
この電子輸送層に用いられる材料(以下、電子輸送材料という)の例としては、ニトロ置換フルオレン誘導体、ジフェニルキノン誘導体、チオピランジオキシド誘導体、ナフタレンペリレン等の複素環テトラカルボン酸無水物、カルボジイミド、フレオレニリデンメタン誘導体、アントラキノジメタン及びアントロン誘導体、オキサジアゾール誘導体、カルボリン誘導体、または該カルボリン誘導体のカルボリン環を構成する炭化水素環の炭素原子の少なくとも一つが窒素原子で置換されている環構造を有する誘導体等が挙げられる。更に上記オキサジアゾール誘導体において、オキサジアゾール環の酸素原子を硫黄原子に置換したチアジアゾール誘導体、電子吸引性基として知られているキノキサリン環を有するキノキサリン誘導体も電子輸送材料として用いることができる。 Examples of materials used for this electron transport layer (hereinafter referred to as electron transport materials) include heterocyclic tetracarboxylic acid anhydrides such as nitro-substituted fluorene derivatives, diphenylquinone derivatives, thiopyran dioxide derivatives, naphthalene perylene, carbodiimides, Fluorenylidenemethane derivative, anthraquinodimethane and anthrone derivative, oxadiazole derivative, carboline derivative, or a ring in which at least one carbon atom of the hydrocarbon ring constituting the carboline ring of the carboline derivative is substituted with a nitrogen atom Examples thereof include derivatives having a structure. Furthermore, in the above oxadiazole derivative, a thiadiazole derivative in which the oxygen atom of the oxadiazole ring is substituted with a sulfur atom, or a quinoxaline derivative having a quinoxaline ring known as an electron-withdrawing group can also be used as an electron transport material.
更にこれらの材料を高分子鎖に導入した、またはこれらの材料を高分子の主鎖とした高分子材料を用いることもできる。 Furthermore, a polymer material in which these materials are introduced into a polymer chain or these materials are used as a polymer main chain can also be used.
また8−キノリノール誘導体の金属錯体、例えば、トリス(8−キノリノール)アルミニウム(Alq)、トリス(5,7−ジクロロ−8−キノリノール)アルミニウム、トリス(5,7−ジブロモ−8−キノリノール)アルミニウム、トリス(2−メチル−8−キノリノール)アルミニウム、トリス(5−メチル−8−キノリノール)アルミニウム、ビス(8−キノリノール)亜鉛(Znq)等、及びこれらの金属錯体の中心金属がIn、Mg、Cu、Ca、Sn、GaまたはPbに置き替わった金属錯体も電子輸送材料として用いることができる。その他、メタルフリーもしくはメタルフタロシアニン、またはそれらの末端がアルキル基やスルホン酸基等で置換されているものも電子輸送材料として好ましく用いることができる。また、発光層の材料として例示したジスチリルピラジン誘導体も、電子輸送材料として用いることができるし、正孔注入層、正孔輸送層と同様にn型−Si、n型−SiC等の無機半導体も電子輸送材料として用いることができる。 Also, metal complexes of 8-quinolinol derivatives such as tris (8-quinolinol) aluminum (Alq), tris (5,7-dichloro-8-quinolinol) aluminum, tris (5,7-dibromo-8-quinolinol) aluminum, Tris (2-methyl-8-quinolinol) aluminum, tris (5-methyl-8-quinolinol) aluminum, bis (8-quinolinol) zinc (Znq), etc., and the central metals of these metal complexes are In, Mg, Cu , Ca, Sn, Ga, or Pb can also be used as an electron transport material. In addition, metal-free or metal phthalocyanine, or those having terminal ends substituted with an alkyl group or a sulfonic acid group can be preferably used as the electron transport material. In addition, the distyrylpyrazine derivative exemplified as the material of the light emitting layer can also be used as an electron transport material, and an inorganic semiconductor such as n-type-Si, n-type-SiC, etc. as in the case of the hole injection layer and the hole transport layer. Can also be used as an electron transporting material.
この電子輸送層は上記電子輸送材料を、例えば、真空蒸着法、スピンコート法、キャスト法、インクジェット法、LB法等の公知の方法により、薄膜化することにより形成することができる。電子輸送層の膜厚については特に制限はないが、通常は5〜5000nm程度である。この電子輸送層は上記材料の一種または二種以上からなる一層構造であってもよい。 This electron transport layer can be formed by thinning the electron transport material by a known method such as a vacuum deposition method, a spin coating method, a casting method, an ink jet method, or an LB method. Although there is no restriction | limiting in particular about the film thickness of an electron carrying layer, Usually, it is about 5-5000 nm. This electron transport layer may have a single layer structure composed of one or more of the above materials.
次に、本発明の有機EL素子の構成層として用いられる注入層について説明する。 Next, an injection layer used as a constituent layer of the organic EL element of the present invention will be described.
《注入層》:電子注入層、正孔注入層
注入層は必要に応じて設け、電子注入層と正孔注入層があり、上記のごとく陽極と発光層または正孔輸送層の間、及び陰極と発光層または電子輸送層との間に存在させてもよい。<< Injection Layer >>: Electron Injection Layer, Hole Injection Layer An injection layer is provided as necessary, and includes an electron injection layer and a hole injection layer, and as described above, between the anode and the light emitting layer or the hole transport layer, and the cathode. Between the light emitting layer and the electron transport layer.
注入層とは駆動電圧低下や発光輝度向上のために電極と有機層間に設けられる層のことで、「有機EL素子とその工業化最前線(1998年11月30日 エヌ・ティー・エス社発行)」の第2編第2章「電極材料」(123〜166頁)に詳細に記載されており、正孔注入層(陽極バッファー層)と電子注入層(陰極バッファー層)とがある。 An injection layer is a layer that is provided between an electrode and an organic layer in order to lower drive voltage and improve light emission brightness. “Organic EL elements and the forefront of their industrialization (issued by NTT Corporation on November 30, 1998) 2 of Chapter 2, “Electrode Materials” (pages 123 to 166) in detail, and includes a hole injection layer (anode buffer layer) and an electron injection layer (cathode buffer layer).
陽極バッファー層(正孔注入層)は特開平9−45479号、同9−260062号、同8−288069号の各公報等にもその詳細が記載されており、具体例として、銅フタロシアニンに代表されるフタロシアニンバッファー層、酸化バナジウムに代表される酸化物バッファー層、アモルファスカーボンバッファー層、ポリアニリン(エメラルディン)やポリチオフェン等の導電性高分子を用いた高分子バッファー層等が挙げられる。 The details of the anode buffer layer (hole injection layer) are described in JP-A Nos. 9-45479, 9-260062, and 8-288069. Representative examples thereof include copper phthalocyanine. Phthalocyanine buffer layers, oxide buffer layers typified by vanadium oxide, amorphous carbon buffer layers, polymer buffer layers using conductive polymers such as polyaniline (emeraldine) and polythiophene, and the like.
陰極バッファー層(電子注入層)は特開平6−325871号、同9−17574号、同10−74586号の各公報等にもその詳細が記載されており、具体的にはストロンチウムやアルミニウム等に代表される金属バッファー層、フッ化リチウムに代表されるアルカリ金属化合物バッファー層、フッ化マグネシウムに代表されるアルカリ土類金属化合物バッファー層、酸化アルミニウムに代表される酸化物バッファー層等が挙げられる。 The details of the cathode buffer layer (electron injection layer) are also described in JP-A-6-325871, JP-A-9-17574, and JP-A-10-74586, and more specifically, strontium, aluminum, etc. Examples include a metal buffer layer represented by an alkali metal compound buffer layer represented by lithium fluoride, an alkaline earth metal compound buffer layer represented by magnesium fluoride, and an oxide buffer layer represented by aluminum oxide.
上記バッファー層(注入層)はごく薄い膜であることが望ましく、素材にもよるがその膜厚は0.1〜100nmの範囲が好ましい。 The buffer layer (injection layer) is preferably a very thin film, and the film thickness is preferably in the range of 0.1 to 100 nm although it depends on the material.
この注入層は上記材料を、例えば、真空蒸着法、スピンコート法、キャスト法、インクジェット法、LB法等の公知の方法により、薄膜化することにより形成することができる。注入層の膜厚については特に制限はないが、通常は5〜5000nm程度である。この注入層は上記材料の一種または二種以上からなる一層構造であってもよい。 This injection layer can be formed by thinning the above material by a known method such as a vacuum deposition method, a spin coating method, a casting method, an ink jet method, or an LB method. Although there is no restriction | limiting in particular about the film thickness of an injection | pouring layer, Usually, it is about 5-5000 nm. The injection layer may have a single layer structure composed of one or more of the above materials.
《陽極》
本発明の有機EL素子に係る陽極としては、仕事関数の大きい(4eV以上)金属、合金、電気伝導性化合物及びこれらの混合物を電極物質とするものが好ましく用いられる。このような電極物質の具体例としては、Au等の金属、CuI、インジウムチンオキシド(ITO)、SnO2、ZnO等の導電性透明材料が挙げられる。また、IDIXO(In2O3−ZnO)等非晶質で透明導電膜を作製可能な材料を用いてもよい。"anode"
As the anode according to the organic EL device of the present invention, an electrode having a work function (4 eV or more) metal, alloy, electrically conductive compound and a mixture thereof as an electrode material is preferably used. Specific examples of such electrode substances include metals such as Au, and conductive transparent materials such as CuI, indium tin oxide (ITO), SnO2 , and ZnO. Alternatively, an amorphous material such as IDIXO (In2 O3 —ZnO) capable of forming a transparent conductive film may be used.
陽極はこれらの電極物質を蒸着やスパッタリング等の方法により薄膜を形成させ、フォトリソグラフィー法で所望の形状のパターンを形成してもよく、あるいはパターン精度をあまり必要としない場合は(100μm以上程度)、上記電極物質の蒸着やスパッタリング時に所望の形状のマスクを介してパターンを形成してもよい。この陽極より発光を取り出す場合には、透過率を10%より大きくすることが望ましく、また陽極としてのシート抵抗は数百Ω/□以下が好ましい。更に膜厚は材料にもよるが、通常10〜1000nm、好ましくは10〜200nmの範囲で選ばれる。 For the anode, these electrode materials may be formed into a thin film by a method such as vapor deposition or sputtering, and a pattern having a desired shape may be formed by a photolithography method, or when pattern accuracy is not so high (about 100 μm or more) A pattern may be formed through a mask having a desired shape at the time of vapor deposition or sputtering of the electrode material. When light emission is extracted from the anode, it is desirable that the transmittance be greater than 10%, and the sheet resistance as the anode is preferably several hundred Ω / □ or less. Further, although the film thickness depends on the material, it is usually selected in the range of 10 to 1000 nm, preferably 10 to 200 nm.
《陰極》
一方、本発明に係る陰極としては、仕事関数の小さい(4eV以下)金属(電子注入性金属と称する)、合金、電気伝導性化合物及びこれらの混合物を電極物質とするものが用いられる。このような電極物質の具体例としては、ナトリウム、ナトリウム−カリウム合金、マグネシウム、リチウム、マグネシウム/銅混合物、マグネシウム/銀混合物、マグネシウム/アルミニウム混合物、マグネシウム/インジウム混合物、アルミニウム/酸化アルミニウム(Al2O3)混合物、インジウム、リチウム/アルミニウム混合物、希土類金属等が挙げられる。これらの中で、電子注入性及び酸化等に対する耐久性の点から、電子注入性金属とこれより仕事関数の値が大きく安定な金属である第二金属との混合物、例えば、マグネシウム/銀混合物、マグネシウム/アルミニウム混合物、マグネシウム/インジウム混合物、アルミニウム/酸化アルミニウム(Al2O3)混合物、リチウム/アルミニウム混合物、アルミニウム等が好適である。"cathode"
On the other hand, as the cathode according to the present invention, a cathode having a work function (4 eV or less) metal (referred to as an electron injecting metal), an alloy, an electrically conductive compound, and a mixture thereof is used. Specific examples of such electrode materials include sodium, sodium-potassium alloy, magnesium, lithium, magnesium / copper mixture, magnesium / silver mixture, magnesium / aluminum mixture, magnesium / indium mixture, aluminum / aluminum oxide (Al2 O3 ) Mixtures, indium, lithium / aluminum mixtures, rare earth metals and the like. Among these, from the point of durability against electron injection and oxidation, etc., a mixture of an electron injecting metal and a second metal which is a stable metal having a larger work function than this, for example, a magnesium / silver mixture, Suitable are a magnesium / aluminum mixture, a magnesium / indium mixture, an aluminum / aluminum oxide (Al2 O3 ) mixture, a lithium / aluminum mixture, aluminum and the like.
陰極はこれらの電極物質を蒸着やスパッタリング等の方法により、薄膜を形成させることにより作製することができる。また、陰極としてのシート抵抗は数百Ω/□以下が好ましく、膜厚は通常10〜1000nm、好ましくは50〜200nmの範囲で選ばれる。なお発光を透過させるため、有機EL素子の陽極または陰極のいずれか一方が透明または半透明であれば、発光輝度が向上し好都合である。 The cathode can be produced by forming a thin film of these electrode materials by a method such as vapor deposition or sputtering. The sheet resistance as the cathode is preferably several hundred Ω / □ or less, and the film thickness is usually selected in the range of 10 to 1000 nm, preferably 50 to 200 nm. In order to transmit light, if either one of the anode or the cathode of the organic EL element is transparent or translucent, the light emission luminance is improved, which is convenient.
《基体(基板、基材、支持体等ともいう)》
本発明の有機EL素子に係る基体としては、ガラス、プラスチック等の種類には特に限定はなく、また透明のものであれば特に制限はないが、好ましく用いられる基板としては、例えば、ガラス、石英、光透過性樹脂フィルムを挙げることができる。特に好ましい基体は、有機EL素子にフレキシブル性を与えることが可能な樹脂フィルムである。<< Substrate (also referred to as substrate, substrate, support, etc.) >>
The substrate of the organic EL device of the present invention is not particularly limited as to the type of glass, plastic and the like, and is not particularly limited as long as it is transparent. Examples of the substrate preferably used include glass and quartz. And a light transmissive resin film. A particularly preferable substrate is a resin film that can give flexibility to the organic EL element.
樹脂フィルムとしては、例えば、ポリエチレンテレフタレート(PET)、ポリエチレンナフタレート(PEN)、ポリエーテルスルホン(PES)、ポリエーテルイミド、ポリエーテルエーテルケトン、ポリフェニレンスルフィド、ポリアリレート、ポリイミド、ポリカーボネート(PC)、セルローストリアセテート(TAC)、セルロースアセテートプロピオネート(CAP)等からなるフィルム等が挙げられる。 Examples of the resin film include polyethylene terephthalate (PET), polyethylene naphthalate (PEN), polyethersulfone (PES), polyetherimide, polyetheretherketone, polyphenylene sulfide, polyarylate, polyimide, polycarbonate (PC), and cellulose. Examples include films made of triacetate (TAC), cellulose acetate propionate (CAP), and the like.
樹脂フィルムの表面には、無機物もしくは有機物の被膜またはその両者のハイブリッド被膜が形成されていてもよく、水蒸気透過率が0.01g/m2・day以下の高バリア性フィルムであることが好ましい。An inorganic or organic film or a hybrid film of both may be formed on the surface of the resin film, and it is preferably a high barrier film having a water vapor transmission rate of 0.01 g / m2 · day or less.
本発明の有機EL素子の発光の室温における外部取り出し効率は、1%以上であることが好ましく、より好ましくは2%以上である。ここに、外部取り出し量子効率(%)=有機EL素子外部に発光した光子数/有機EL素子に流した電子数×100である。 The external extraction efficiency at room temperature for light emission of the organic EL device of the present invention is preferably 1% or more, more preferably 2% or more. Here, the external extraction quantum efficiency (%) = the number of photons emitted to the outside of the organic EL element / the number of electrons sent to the organic EL element × 100.
また、カラーフィルター等の色相改良フィルター等を併用してもよい。 Further, a hue improving filter such as a color filter may be used in combination.
照明用途で用いる場合には、発光ムラを低減させるために粗面加工したフィルム(アンチグレアフィルム等)を併用することもできる。 When used in lighting applications, a film (such as an antiglare film) that has been roughened to reduce unevenness in light emission can be used in combination.
多色表示装置として用いる場合は、少なくとも2種類の異なる発光極大波長を有する有機EL素子からなるが、有機EL素子を作製する好適な例を説明する。 When used as a multicolor display device, it is composed of at least two types of organic EL elements having different light emission maximum wavelengths. A suitable example for producing an organic EL element will be described.
《有機EL素子の作製方法》
本発明の有機EL素子の作製方法の一例として、陽極/正孔注入層/正孔輸送層/発光層/正孔阻止層/電子輸送層/陰極バッファー層/陰極からなる有機EL素子の作製法について説明する。<< Method for producing organic EL element >>
As an example of the method for producing the organic EL device of the present invention, a method for producing an organic EL device comprising an anode / hole injection layer / hole transport layer / light emitting layer / hole blocking layer / electron transport layer / cathode buffer layer / cathode. Will be described.
まず適当な基体上に所望の電極物質、例えば、陽極用物質からなる薄膜を1μm以下、好ましくは10〜200nmの膜厚になるように、蒸着やスパッタリング等の方法により形成させ、陽極を作製する。次に、この上に素子材料である正孔注入層、正孔輸送層、発光層、正孔阻止層、電子輸送層等の有機化合物を含有する薄膜を形成させる。 First, a thin film made of a desired electrode material, for example, a material for an anode is formed on a suitable substrate by a method such as vapor deposition or sputtering so as to have a film thickness of 1 μm or less, preferably 10 to 200 nm to produce an anode. . Next, a thin film containing an organic compound such as a hole injection layer, a hole transport layer, a light emitting layer, a hole blocking layer, or an electron transport layer, which is an element material, is formed thereon.
この有機化合物を含有する膜の薄膜化の方法としては、スピンコート法、キャスト法、インクジェット法、蒸着法、印刷法等があるが、均質な膜が得られやすく、且つピンホールが生成しにくい等の点から真空蒸着法またはスピンコート法が特に好ましい。更に層ごとに異なる製膜法を適用してもよい。製膜に蒸着法を採用する場合、その蒸着条件は使用する化合物の種類等により異なるが、一般にボート加熱温度50〜450℃、真空度10-6〜10-2Pa、蒸着速度0.01〜50nm/秒、基板温度−50〜300℃、膜厚0.1〜5μmの範囲で適宜選ぶことが望ましい。As a method for thinning the film containing the organic compound, there are a spin coating method, a casting method, an ink jet method, a vapor deposition method, a printing method, and the like, but a homogeneous film can be easily obtained and pinholes are hardly generated. In view of the above, the vacuum deposition method or the spin coating method is particularly preferable. Further, a different film forming method may be applied for each layer. When employing a vapor deposition method for film formation, the vapor deposition conditions vary depending on the type of compound used, but generally a boat heating temperature of 50 to 450 ° C., a degree of vacuum of 10−6 to 10−2 Pa, and a vapor deposition rate of 0.01 to It is desirable to select appropriately within the range of 50 nm / second, substrate temperature of −50 to 300 ° C., and film thickness of 0.1 to 5 μm.
これらの層の形成後、その上に陰極用物質からなる薄膜を1μm以下好ましくは50〜200nmの範囲の膜厚になるように、例えば、蒸着やスパッタリング等の方法により形成させ、陰極を設けることにより所望の有機EL素子が得られる。この有機EL素子の作製は、一回の真空引きで一貫して正孔注入層から陰極まで作製するのが好ましいが、途中で取り出して異なる製膜法を施しても構わない。その際、作業を乾燥不活性ガス雰囲気下で行う等の配慮が必要となる。 After forming these layers, a thin film made of a cathode material is formed thereon by a method such as vapor deposition or sputtering so as to have a film thickness of 1 μm or less, preferably 50 to 200 nm, and a cathode is provided. Thus, a desired organic EL element can be obtained. The organic EL element is preferably produced from the hole injection layer to the cathode consistently by a single evacuation, but may be taken out halfway and subjected to different film forming methods. At that time, it is necessary to consider that the work is performed in a dry inert gas atmosphere.
《表示装置》
本発明の表示装置について説明する。本発明の表示装置は上記有機EL素子を有する。<Display device>
The display device of the present invention will be described. The display device of the present invention has the organic EL element.
本発明の表示装置は単色でも多色でもよいが、ここでは多色表示装置について説明する。多色表示装置の場合は発光層形成時のみシャドーマスクを設け、一面に蒸着法、キャスト法、スピンコート法、インクジェット法、印刷法等で膜を形成できる。 Although the display device of the present invention may be single color or multicolor, the multicolor display device will be described here. In the case of a multicolor display device, a shadow mask is provided only at the time of forming a light emitting layer, and a film can be formed on one surface by vapor deposition, casting, spin coating, ink jet, printing, or the like.
発光層のみパターニングを行う場合、その方法に限定はないが、好ましくは蒸着法、インクジェット法、印刷法である。蒸着法を用いる場合においては、シャドーマスクを用いたパターニングが好ましい。 When patterning is performed only on the light-emitting layer, the method is not limited, but a vapor deposition method, an inkjet method, and a printing method are preferable. In the case of using a vapor deposition method, patterning using a shadow mask is preferable.
また、作製順序を逆にして、陰極、電子輸送層、正孔阻止層、発光層、正孔輸送層、陽極の順に作製することも可能である。 Moreover, it is also possible to reverse the production order and produce the cathode, the electron transport layer, the hole blocking layer, the light emitting layer, the hole transport layer, and the anode in this order.
このようにして得られた多色表示装置に直流電圧を印加する場合には、陽極を+、陰極を−の極性として電圧2〜40V程度を印加すると発光が観測できる。また、逆の極性で電圧を印加しても電流は流れずに発光は全く生じない。更に交流電圧を印加する場合には、陽極が+、陰極が−の状態になったときのみ発光する。なお、印加する交流の波形は任意でよい。 When a DC voltage is applied to the multicolor display device thus obtained, light emission can be observed by applying a voltage of about 2 to 40 V with the positive polarity of the anode and the negative polarity of the cathode. Further, even when a voltage is applied with the opposite polarity, no current flows and no light emission occurs. Further, when an AC voltage is applied, light is emitted only when the anode is in the + state and the cathode is in the-state. The alternating current waveform to be applied may be arbitrary.
多色表示装置は表示デバイス、ディスプレイ、各種発光光源として用いることができる。表示デバイス、ディスプレイにおいて、青、赤、緑発光の3種の有機EL素子を用いることによりフルカラーの表示が可能となる。 The multicolor display device can be used as a display device, a display, and various light emission sources. In a display device or display, full-color display is possible by using three types of organic EL elements of blue, red, and green light emission.
表示デバイス、ディスプレイとしては、テレビ、パソコン、モバイル機器、AV機器、文字放送表示、自動車内の情報表示等が挙げられる。特に静止画像や動画像を再生する表示装置として使用してもよく、動画再生用の表示装置として使用する場合の駆動方式は、単純マトリクス(パッシブマトリクス)方式でもアクティブマトリクス方式でもどちらでもよい。 Examples of the display device and display include a television, a personal computer, a mobile device, an AV device, a character broadcast display, and an information display in an automobile. In particular, it may be used as a display device for reproducing still images and moving images, and the driving method when used as a display device for reproducing moving images may be either a simple matrix (passive matrix) method or an active matrix method.
発光光源としては家庭用照明、車内照明、時計や液晶用のバックライト、看板広告、信号機、光記憶媒体の光源、電子写真複写機の光源、光通信処理機の光源、光センサーの光源等が挙げられるが、これに限定するものではない。 Light sources include home lighting, interior lighting, clock and liquid crystal backlights, billboard advertisements, traffic lights, light sources for optical storage media, light sources for electrophotographic copying machines, light sources for optical communication processors, light sources for optical sensors, etc. For example, it is not limited to this.
《照明装置》
本発明の照明装置について説明する。本発明の照明装置は上記有機EL素子を有する。《Lighting device》
The lighting device of the present invention will be described. The illuminating device of this invention has the said organic EL element.
本発明の有機EL素子に共振器構造を持たせた有機EL素子として用いてもよく、このような共振器構造を有した有機EL素子の使用目的としては、光記憶媒体の光源、電子写真複写機の光源、光通信処理機の光源、光センサーの光源等が挙げられるが、これらに限定されない。また、レーザー発振をさせることにより上記用途に使用してもよい。 The organic EL element of the present invention may be used as an organic EL element having a resonator structure. The purpose of use of the organic EL element having such a resonator structure is as follows. The light source of a machine, the light source of an optical communication processing machine, the light source of a photosensor, etc. are mentioned, However It is not limited to these. Moreover, you may use for the said use by making a laser oscillation.
また、本発明の有機EL素子は照明用や露光光源のような一種のランプとして使用してもよいし、画像を投影するタイプのプロジェクション装置や、静止画像や動画像を直接視認するタイプの表示装置(ディスプレイ)として使用してもよい。動画再生用の表示装置として使用する場合の駆動方式は、単純マトリクス(パッシブマトリクス)方式でもアクティブマトリクス方式でもどちらでもよい。または、異なる発光色を有する本発明の有機EL素子を2種以上使用することにより、フルカラー表示装置を作製することが可能である。 Further, the organic EL element of the present invention may be used as a kind of lamp for illumination or exposure light source, a projection device for projecting an image, or a display for directly viewing a still image or a moving image. It may be used as a device (display). The driving method when used as a display device for moving image reproduction may be either a simple matrix (passive matrix) method or an active matrix method. Alternatively, a full color display device can be produced by using two or more organic EL elements of the present invention having different emission colors.
以下、本発明の有機EL素子を有する表示装置の一例を図面に基づいて説明する。 Hereinafter, an example of a display device having the organic EL element of the present invention will be described with reference to the drawings.
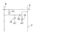
図1は有機EL素子から構成される表示装置の一例を示した模式図である。有機EL素子の発光により画像情報の表示を行う、例えば、携帯電話等のディスプレイの模式図である。 FIG. 1 is a schematic view showing an example of a display device composed of organic EL elements. It is a schematic diagram of a display such as a mobile phone that displays image information by light emission of an organic EL element.
ディスプレイ1は複数の画素を有する表示部A、画像情報に基づいて表示部Aの画像走査を行う制御部B等からなる。制御部Bは表示部Aと電気的に接続され、複数の画素それぞれに外部からの画像情報に基づいて走査信号と画像データ信号を送り、走査信号により走査線毎の画素が画像データ信号に応じて順次発光して画像走査を行って画像情報を表示部Aに表示する。 The display 1 includes a display unit A having a plurality of pixels, a control unit B that performs image scanning of the display unit A based on image information, and the like. The control unit B is electrically connected to the display unit A, and sends a scanning signal and an image data signal to each of a plurality of pixels based on image information from the outside, and the pixels for each scanning line respond to the image data signal by the scanning signal. The image information is sequentially emitted to scan the image and display the image information on the display unit A.
図2は表示部Aの模式図である。 FIG. 2 is a schematic diagram of the display unit A.
表示部Aは基板上に、複数の走査線5及びデータ線6を含む配線部と複数の画素3等とを有する。表示部Aの主要な部材の説明を以下に行う。 The display unit A includes a wiring unit including a plurality of
図においては、画素3の発光した光が白矢印方向(下方向)へ取り出される場合を示している。 In the figure, the light emitted from the pixel 3 is extracted in the direction of the white arrow (downward).
配線部の走査線5及び複数のデータ線6はそれぞれ導電材料からなり、走査線5とデータ線6は格子状に直交して、直交する位置で画素3に接続している(詳細は図示していない)。画素3は走査線5から走査信号が印加されると、データ線6から画像データ信号を受け取り、受け取った画像データに応じて発光する。発光の色が赤領域の画素、緑領域の画素、青領域の画素を適宜同一基板上に並置することによって、フルカラー表示が可能となる。 The
次に、画素の発光プロセスを説明する。 Next, the light emission process of the pixel will be described.
図3は画素の模式図である。 FIG. 3 is a schematic diagram of a pixel.
画素は有機EL素子10、スイッチングトランジスタ11、駆動トランジスタ12、コンデンサ13等を備えている。複数の画素に有機EL素子10として、赤色、緑色、青色発光の有機EL素子を用い、これらを同一基板上に並置することでフルカラー表示を行うことができる。 The pixel includes an
図3において、制御部Bからデータ線6を介してスイッチングトランジスタ11のドレインに画像データ信号が印加される。そして、制御部Bから走査線5を介してスイッチングトランジスタ11のゲートに走査信号が印加されると、スイッチングトランジスタ11の駆動がオンし、ドレインに印加された画像データ信号がコンデンサ13と駆動トランジスタ12のゲートに伝達される。 In FIG. 3, an image data signal is applied from the control unit B to the drain of the switching transistor 11 through the data line 6. When a scanning signal is applied from the control unit B to the gate of the switching transistor 11 via the
画像データ信号の伝達により、コンデンサ13が画像データ信号の電位に応じて充電されるとともに、駆動トランジスタ12の駆動がオンする。駆動トランジスタ12は、ドレインが電源ライン7に接続され、ソースが有機EL素子10の電極に接続されており、ゲートに印加された画像データ信号の電位に応じて電源ライン7から有機EL素子10に電流が供給される。 By transmitting the image data signal, the
制御部Bの順次走査により走査信号が次の走査線5に移ると、スイッチングトランジスタ11の駆動がオフする。しかし、スイッチングトランジスタ11の駆動がオフしてもコンデンサ13は充電された画像データ信号の電位を保持するので、駆動トランジスタ12の駆動はオン状態が保たれて、次の走査信号の印加が行われるまで有機EL素子10の発光が継続する。順次走査により次に走査信号が印加されたとき、走査信号に同期した次の画像データ信号の電位に応じて駆動トランジスタ12が駆動して有機EL素子10が発光する。 When the scanning signal is moved to the
即ち、有機EL素子10の発光は複数の画素それぞれの有機EL素子10に対して、アクティブ素子であるスイッチングトランジスタ11と駆動トランジスタ12を設けて、複数の画素3それぞれの有機EL素子10の発光を行っている。このような発光方法をアクティブマトリクス方式と呼んでいる。 That is, the
ここで、有機EL素子10の発光は複数の階調電位を持つ多値の画像データ信号による複数の階調の発光でもよいし、2値の画像データ信号による所定の発光量のオン、オフでもよい。また、コンデンサ13の電位の保持は次の走査信号の印加まで継続して保持してもよいし、次の走査信号が印加される直前に放電させてもよい。 Here, the light emission of the
本発明においては、上述したアクティブマトリクス方式に限らず、走査信号が走査されたときのみデータ信号に応じて有機EL素子を発光させるパッシブマトリクス方式の発光駆動でもよい。 In the present invention, not only the active matrix method described above, but also a passive matrix light emission drive in which the organic EL element emits light according to the data signal only when the scanning signal is scanned.
図4はパッシブマトリクス方式による表示装置の模式図である。図4において、複数の走査線5と複数の画像データ線6が画素3を挟んで対向して格子状に設けられている。 FIG. 4 is a schematic diagram of a passive matrix display device. In FIG. 4, a plurality of
順次走査により走査線5の走査信号が印加されたとき、印加された走査線5に接続している画素3が画像データ信号に応じて発光する。 When the scanning signal of the
パッシブマトリクス方式では画素3にアクティブ素子が無く、製造コストの低減が計れる。 In the passive matrix system, the pixel 3 has no active element, and the manufacturing cost can be reduced.
また、本発明の有機EL材料は照明装置として、実質白色の発光を生じる有機EL素子に適用できる。複数の発光材料により複数の発光色を同時に発光させて混色により白色発光を得る。複数の発光色の組み合わせとしては、青色、緑色、青色の3原色の3つの発光極大波長を含有させたものでもよいし、青色と黄色、青緑と橙色等の補色の関係を利用した2つの発光極大波長を含有したものでもよい。 The organic EL material of the present invention can be applied to an organic EL element that emits substantially white light as a lighting device. A plurality of light emitting colors are simultaneously emitted by a plurality of light emitting materials to obtain white light emission by color mixing. The combination of a plurality of emission colors may include three emission maximum wavelengths of the three primary colors of blue, green, and blue, or two using the relationship of complementary colors such as blue and yellow, blue green and orange, etc. The thing containing the light emission maximum wavelength may be used.
また、複数の発光色を得るための発光材料の組み合わせは、複数のリン光または蛍光で発光する材料を複数組み合わせたもの、蛍光またはリン光で発光する発光材料と、発光材料からの光を励起光として発光する色素材料との組み合わせたもののいずれでもよいが、本発明に係る白色有機EL素子においては、発光ドーパントを複数組み合わせ混合するだけでよい。発光層もしくは正孔輸送層あるいは電子輸送層等の形成時のみマスクを設け、マスクにより塗り分ける等単純に配置するだけでよく、他層は共通であるのでマスク等のパターニングは不要であり、一面に蒸着法、キャスト法、スピンコート法、インクジェット法、印刷法等で、例えば、電極膜を形成でき、生産性も向上する。この方法によれば、複数色の発光素子をアレー状に並列配置した白色有機EL装置と異なり、素子自体が発光白色である。 In addition, the combination of luminescent materials for obtaining multiple luminescent colors is a combination of multiple phosphorescent or fluorescent materials that emit light, fluorescent materials or phosphorescent materials, and light from the luminescent materials. Any combination with a dye material that emits light as light may be used, but in the white organic EL device according to the present invention, it is only necessary to mix and mix a plurality of light emitting dopants. It is only necessary to provide a mask only when forming a light emitting layer, a hole transport layer, an electron transport layer, etc., and simply arrange them separately by coating with the mask. Since other layers are common, patterning of the mask or the like is not necessary. In addition, for example, an electrode film can be formed by a vapor deposition method, a cast method, a spin coating method, an ink jet method, a printing method, etc., and productivity is also improved. According to this method, unlike a white organic EL device in which light emitting elements of a plurality of colors are arranged in parallel in an array, the elements themselves are luminescent white.
発光層に用いる発光材料としては特に制限はなく、例えば、液晶表示素子におけるバックライトであれば、CF(カラーフィルター)特性に対応した波長範囲に適合するように、本発明に係る金属錯体、また公知の発光材料の中から任意のものを選択して組み合わせて白色化すればよい。 There is no restriction | limiting in particular as a luminescent material used for a light emitting layer, For example, if it is a backlight in a liquid crystal display element, the metal complex which concerns on this invention so that it may suit the wavelength range corresponding to CF (color filter) characteristic, Any one of known luminescent materials may be selected and combined to whiten.
このように、本発明に係る白色発光有機EL素子は、前記表示デバイス、ディスプレイに加えて、各種発光光源、照明装置として、家庭用照明、車内照明、また露光光源のような一種のランプとして、また液晶表示装置のバックライト等、表示装置にも有用に用いられる。 As described above, the white light emitting organic EL element according to the present invention is used as a kind of lamp such as household illumination, interior lighting, and exposure light source as various light emitting light sources and lighting devices in addition to the display device and display. It is also useful for display devices such as backlights for liquid crystal display devices.
その他、時計等のバックライト、看板広告、信号機、光記憶媒体等の光源、電子写真複写機の光源、光通信処理機の光源、光センサーの光源等、更には表示装置を必要とする一般の家庭用電気器具等広い範囲の用途が挙げられる。 Others such as backlights for watches, signboard advertisements, traffic lights, light sources for optical storage media, light sources for electrophotographic copying machines, light sources for optical communication processors, light sources for optical sensors, etc. There are a wide range of uses such as household appliances.
以下、実施例により本発明を説明するが、本発明はこれらに限定されない。 EXAMPLES Hereinafter, although an Example demonstrates this invention, this invention is not limited to these.
実施例1
《有機EL素子1−1の作製》
陽極としてガラス上にITOを150nm成膜した基板(NHテクノグラス社製:NA−45)にパターニングを行った後、このITO透明電極を設けた透明支持基板をiso−プロピルアルコールで超音波洗浄し、乾燥窒素ガスで乾燥し、UVオゾン洗浄を5分間行った。この透明支持基板を市販の真空蒸着装置の基板ホルダーに固定し、一方5つのタンタル製抵抗加熱ボートにα−NPD、H4、Ir−12、BAlq、Alq3をそれぞれ入れ、真空蒸着装置(第1真空槽)に取り付けた。Example 1
<< Production of Organic EL Element 1-1 >>
After patterning on a substrate (made by NH Techno Glass Co., Ltd .: NA-45) having a 150 nm ITO film formed on glass as an anode, the transparent support substrate provided with this ITO transparent electrode was ultrasonically cleaned with iso-propyl alcohol. Then, it was dried with dry nitrogen gas, and UV ozone cleaning was performed for 5 minutes. This transparent support substrate is fixed to a substrate holder of a commercially available vacuum deposition apparatus, while α-NPD, H4, Ir-12, BAlq, and Alq3 are placed in five tantalum resistance heating boats, respectively, and a vacuum deposition apparatus (first (Vacuum chamber).
更に、タンタル製抵抗加熱ボートにフッ化リチウムを、タングステン製抵抗加熱ボートにアルミニウムをそれぞれ入れ、真空蒸着装置の第2真空槽に取り付けた。 Further, lithium fluoride was placed in a resistance heating boat made of tantalum, and aluminum was placed in a resistance heating boat made of tungsten, and attached to the second vacuum tank of the vacuum evaporation apparatus.
まず、第1の真空槽を4×10-4Paまで減圧した後、α−NPDの入った前記加熱ボートに通電して加熱し、蒸着速度0.1〜0.2nm/秒で透明支持基板に膜厚20nmの厚さになるように蒸着し、正孔注入/輸送層を設けた。First, after reducing the pressure of the first vacuum tank to 4 × 10−4 Pa, the heating boat containing α-NPD was energized and heated, and the transparent support substrate was deposited at a deposition rate of 0.1 to 0.2 nm / sec. The film was deposited to a thickness of 20 nm, and a hole injection / transport layer was provided.
更に、H4の入った前記加熱ボートとIr−12の入ったボートをそれぞれ独立に通電して発光ホストであるH4と発光ドーパントであるIr−12の蒸着速度が100:6になるように調節し、膜厚30nmの厚さになるように蒸着し、発光層を設けた。 Further, the heating boat containing H4 and the boat containing Ir-12 are energized independently to adjust the deposition rate of H4 as a light emitting host and Ir-12 as a light emitting dopant to 100: 6. The light emitting layer was provided by vapor deposition to a thickness of 30 nm.
次いで、BAlqの入った前記加熱ボートに通電して加熱し、蒸着速度0.1〜0.2nm/秒で厚さ10nmの正孔阻止層を設けた。更にAlq3の入った前記加熱ボートを通電して加熱し、蒸着速度0.1〜0.2nm/秒で膜厚20nmの電子輸送層を設けた。Subsequently, the said heating boat containing BAlq was heated by supplying electricity, and a hole blocking layer having a thickness of 10 nm was provided at a deposition rate of 0.1 to 0.2 nm / second. Further, the heating boat containing Alq3 was energized and heated to provide an electron transport layer having a film thickness of 20 nm at a deposition rate of 0.1 to 0.2 nm / second.
次に、電子輸送層まで成膜した素子を真空のまま第2真空槽に移した後、電子輸送層の上にステンレス鋼製の長方形穴あきマスクが配置されるように装置外部からリモートコントロールして設置した。 Next, after the element deposited up to the electron transport layer was transferred to the second vacuum chamber while being vacuumed, it was remotely controlled from the outside of the apparatus so that a stainless steel rectangular perforated mask was placed on the electron transport layer. Installed.
第2真空槽を2×10-4Paまで減圧した後、フッ化リチウム入りのボートに通電して蒸着速度0.01〜0.02nm/秒で膜厚0.5nmの陰極バッファー層を設け、次いでアルミニウムの入ったボートに通電して、蒸着速度1〜2nm/秒で膜厚150nmの陰極をつけ、有機EL素子1−1を作製した。After depressurizing the second vacuum tank to 2 × 10−4 Pa, a cathode buffer layer having a film thickness of 0.5 nm was provided at a deposition rate of 0.01 to 0.02 nm / second by energizing a boat containing lithium fluoride. Next, a boat containing aluminum was energized, a cathode having a film thickness of 150 nm was attached at a deposition rate of 1 to 2 nm / second, and an organic EL device 1-1 was produced.
《有機EL素子1−2〜1−16の作製》
有機EL素子1−1の作製において、ホスト化合物のH4を表1に記載のホスト化合物に変更した以外は同様にして、有機EL素子1−2〜1−16を作製した。<< Production of Organic EL Elements 1-2 to 1-16 >>
In the production of the organic EL element 1-1, organic EL elements 1-2 to 1-16 were produced in the same manner except that the host compound H4 was changed to the host compounds shown in Table 1.
《有機EL素子の評価》
得られた有機EL素子1−1〜1−16を評価するに際しては、作製後の各有機EL素子の非発光面をガラスケースで覆い、厚み300μmのガラス基板を封止用基板として用いて、周囲にシール材として、エポキシ系光硬化型接着剤(東亞合成社製ラックストラックLC0629B)を適用し、これを上記陰極上に重ねて前記透明支持基板と密着させ、ガラス基板側からUV光を照射して、硬化させて、封止して、図5、図6に示すような照明装置を形成して評価した。<< Evaluation of organic EL elements >>
When evaluating the obtained organic EL elements 1-1 to 1-16, the non-light-emitting surface of each organic EL element after production was covered with a glass case, and a glass substrate having a thickness of 300 μm was used as a sealing substrate. An epoxy-based photo-curing adhesive (Lux Track LC0629B manufactured by Toagosei Co., Ltd.) is applied as a sealing material in the periphery, and this is placed on the cathode to be in close contact with the transparent support substrate and irradiated with UV light from the glass substrate side. Then, it was cured and sealed, and an illumination device as shown in FIGS. 5 and 6 was formed and evaluated.
図5は照明装置の概略図を示し、有機EL素子101はガラスカバー102で覆われている(なお、ガラスカバーでの封止作業は、有機EL素子101を大気に接触させることなく窒素雰囲気下のグローブボックス(純度99.999%以上の高純度窒素ガスの雰囲気下)で行った)。図6は照明装置の断面図を示し、図6において、105は陰極、106は有機EL層、107は透明電極付きガラス基板を示す。なお、ガラスカバー102内には窒素ガス108が充填され、捕水剤109が設けられている。 FIG. 5 is a schematic view of the lighting device, and the
(外部取り出し量子効率)
有機EL素子を室温(約23〜25℃)、2.5mA/cm2の定電流条件下による点灯を行い、点灯開始直後の発光輝度(L)[cd/m2]を測定することにより、外部取り出し量子効率(η)を算出した。ここで、発光輝度の測定はCS−1000(コニカミノルタセンシング製)を用いた。外部取り出し量子効率は有機EL素子1−1を100とする相対値で表した。(External quantum efficiency)
By lighting the organic EL element under a constant current condition of room temperature (about 23 to 25 ° C.) and2.5 mA / cm2 , and measuring the emission luminance (L) [cd / m2 ] immediately after the start of lighting, The external extraction quantum efficiency (η) was calculated. Here, CS-1000 (manufactured by Konica Minolta Sensing) was used for measurement of light emission luminance. The external extraction quantum efficiency was expressed as a relative value with the organic EL element 1-1 as 100.
(発光寿命)
有機EL素子を室温下、2.5mA/cm2の定電流条件下による連続点灯を行い、初期輝度の半分の輝度になるのに要する時間(τ1/2)を測定した。発光寿命は有機EL素子1−1を100と設定する相対値で表した。(Luminescent life)
The organic EL element was continuously lit at a constant current of2.5 mA / cm2 at room temperature, and the time (τ1/2 ) required to achieve half the initial luminance was measured. The light emission lifetime was expressed as a relative value at which the organic EL element 1-1 was set to 100.
得られた結果を表9に示す。 Table 9 shows the obtained results.
表9から、本発明に係る化合物を用いて作製した有機EL素子は、比較例の有機EL素子に比べ、高い発光効率と発光寿命の長寿命化が達成できることが明らかである。 From Table 9, it is clear that the organic EL device produced using the compound according to the present invention can achieve higher luminous efficiency and longer lifetime than the organic EL device of the comparative example.
実施例2
《有機EL素子2−1の作製》
陽極としてガラス上にITOを150nm成膜した基板(NHテクノグラス社製:NA−45)にパターニングを行った後、このITO透明電極を設けた透明支持基板をiso−プロピルアルコールで超音波洗浄し、乾燥窒素ガスで乾燥し、UVオゾン洗浄を5分間行った。この透明支持基板を市販の真空蒸着装置の基板ホルダーに固定し、一方5つのタンタル製抵抗加熱ボートにα−NPD、H4、Ir−1、BAlq、Alq3をそれぞれ入れ、真空蒸着装置(第1真空槽)に取り付けた。Example 2
<< Preparation of Organic EL Element 2-1 >>
After patterning on a substrate (made by NH Techno Glass Co., Ltd .: NA-45) having a 150 nm ITO film formed on glass as an anode, the transparent support substrate provided with this ITO transparent electrode was ultrasonically cleaned with iso-propyl alcohol. Then, it was dried with dry nitrogen gas, and UV ozone cleaning was performed for 5 minutes. The transparent support substrate is fixed to a substrate holder of a commercially available vacuum deposition apparatus, while α-NPD, H4, Ir-1, BAlq, and Alq3 are placed in five tantalum resistance heating boats, respectively, and a vacuum deposition apparatus (first (Vacuum chamber).
更に、タンタル製抵抗加熱ボートにフッ化リチウムを、タングステン製抵抗加熱ボートにアルミニウムをそれぞれ入れ、真空蒸着装置の第2真空槽に取り付けた。 Further, lithium fluoride was placed in a resistance heating boat made of tantalum, and aluminum was placed in a resistance heating boat made of tungsten, and attached to the second vacuum tank of the vacuum evaporation apparatus.
まず、第1の真空槽を4×10-4Paまで減圧した後、α−NPDの入った前記加熱ボートに通電して加熱し、蒸着速度0.1〜0.2nm/秒で透明支持基板に膜厚20nmの厚さになるように蒸着し、正孔注入/輸送層を設けた。First, after reducing the pressure of the first vacuum tank to 4 × 10−4 Pa, the heating boat containing α-NPD was energized and heated, and the transparent support substrate was deposited at a deposition rate of 0.1 to 0.2 nm / sec. The film was deposited to a thickness of 20 nm, and a hole injection / transport layer was provided.
更に、H4の入った前記加熱ボートとIr−1の入ったボートをそれぞれ独立に通電して発光ホストであるH4と発光ドーパントであるIr−1の蒸着速度が100:6になるように調節し、膜厚30nmの厚さになるように蒸着し、発光層を設けた。 Further, the heating boat containing H4 and the boat containing Ir-1 are energized independently to adjust the deposition rate of H4 as a light emitting host and Ir-1 as a light emitting dopant to 100: 6. The light emitting layer was provided by vapor deposition to a thickness of 30 nm.
次いで、BAlqの入った前記加熱ボートに通電して加熱し、蒸着速度0.1〜0.2nm/秒で厚さ10nmの正孔阻止層を設けた。更にAlq3の入った前記加熱ボートを通電して加熱し、蒸着速度0.1〜0.2nm/秒で膜厚20nmの電子輸送層を設けた。Subsequently, the said heating boat containing BAlq was heated by supplying electricity, and a hole blocking layer having a thickness of 10 nm was provided at a deposition rate of 0.1 to 0.2 nm / second. Further, the heating boat containing Alq3 was energized and heated to provide an electron transport layer having a film thickness of 20 nm at a deposition rate of 0.1 to 0.2 nm / second.
次に、電子輸送層まで成膜した素子を真空のまま第2真空槽に移した後、電子輸送層の上にステンレス鋼製の長方形穴あきマスクが配置されるように装置外部からリモートコントロールして設置した。 Next, after the element deposited up to the electron transport layer was transferred to the second vacuum chamber while being vacuumed, it was remotely controlled from the outside of the apparatus so that a stainless steel rectangular perforated mask was placed on the electron transport layer. Installed.
第2真空槽を2×10-4Paまで減圧した後、フッ化リチウム入りのボートに通電して蒸着速度0.01〜0.02nm/秒で膜厚0.5nmの陰極バッファー層を設け、次いでアルミニウムの入ったボートに通電して、蒸着速度1〜2nm/秒で膜厚150nmの陰極をつけ、有機EL素子1−1を作製した。After depressurizing the second vacuum tank to 2 × 10−4 Pa, a cathode buffer layer having a film thickness of 0.5 nm was provided at a deposition rate of 0.01 to 0.02 nm / second by energizing a boat containing lithium fluoride. Next, a boat containing aluminum was energized, a cathode having a film thickness of 150 nm was attached at a deposition rate of 1 to 2 nm / second, and an organic EL device 1-1 was produced.
《有機EL素子2−2〜2−9の作製》
有機EL素子2−1の作製において、正孔阻止化合物のBAlqを表2に記載の正孔阻止化合物に変更した以外は同様にして、有機EL素子2−2〜2−9を作製した。<< Production of Organic EL Elements 2-2 to 2-9 >>
In the production of the organic EL element 2-1, organic EL elements 2-2 to 2-9 were produced in the same manner except that the hole blocking compound BAlq was changed to the hole blocking compounds shown in Table 2.
《有機EL素子の評価》
実施例1と同様の評価を行った。得られた結果を表10に示す。<< Evaluation of organic EL elements >>
Evaluation similar to Example 1 was performed. Table 10 shows the obtained results.
表10から、本発明に係る化合物を用いて作製した有機EL素子は、比較例の有機EL素子に比べ、高い発光効率と発光寿命の長寿命化が達成できることが明らかである。 From Table 10, it is clear that the organic EL device produced by using the compound according to the present invention can achieve higher luminous efficiency and longer lifetime compared to the organic EL device of the comparative example.
実施例3
《フルカラー表示装置の作製》
(青色発光素子の作製)
実施例1の有機EL素子1−11を青色発光素子として用いた。Example 3
<Production of full-color display device>
(Production of blue light emitting element)
The organic EL element 1-11 of Example 1 was used as a blue light emitting element.
(緑色発光素子の作製)
実施例2の有機EL素子2−2を緑色発光素子として用いた。(Production of green light emitting element)
The organic EL element 2-2 of Example 2 was used as a green light emitting element.
(赤色発光素子の作製)
実施例2の有機EL素子2−2において、Ir−1をIr−9に変更した以外は同様にして、赤色発光素子を作製し、これを赤色発光素子として用いた。(Production of red light emitting element)
In the organic EL device 2-2 of Example 2, a red light emitting device was produced in the same manner except that Ir-1 was changed to Ir-9, and this was used as a red light emitting device.
上記で作製した赤色、緑色、青色発光有機EL素子を同一基板上に並置し、図1に記載のような形態を有するアクティブマトリクス方式フルカラー表示装置を作製した。図2には、作製した前記表示装置の表示部Aの模式図のみを示した。即ち、同一基板上に複数の走査線5及びデータ線6を含む配線部と並置した複数の画素3(発光の色が赤領域の画素、緑領域の画素、青領域の画素等)とを有し、配線部の走査線5及び複数のデータ線6はそれぞれ導電材料からなり、走査線5とデータ線6は格子状に直交して、直交する位置で画素3に接続している(詳細は図示せず)。前記複数画素3は、それぞれの発光色に対応した有機EL素子、アクティブ素子であるスイッチングトランジスタと駆動トランジスタそれぞれが設けられたアクティブマトリクス方式で駆動されており、走査線5から走査信号が印加されるとデータ線6から画像データ信号を受け取り、受け取った画像データに応じて発光する。このように赤、緑、青の画素を適宜、並置することによって、フルカラー表示装置を作製した。 The red, green, and blue light-emitting organic EL elements produced above were juxtaposed on the same substrate to produce an active matrix type full-color display device having a configuration as shown in FIG. In FIG. 2, only the schematic diagram of the display part A of the produced display device is shown. That is, a plurality of pixels 3 (light emission color is a red region pixel, a green region pixel, a blue region pixel, etc.) juxtaposed with a wiring portion including a plurality of
このフルカラー表示装置は駆動することにより、輝度が高く、高耐久性を有し、且つ鮮明なフルカラー動画表示が得られることが分かった。 It has been found that when this full-color display device is driven, a high-brightness, high durability, and clear full-color moving image display can be obtained.
実施例4
《白色発光素子及び白色照明装置の作製−1》
実施例1の透明電極基板の電極を20mm×20mmにパターニングし、その上に実施例1と同様に正孔注入/輸送層としてα−NPDを25nmの厚さで成膜し、更に化合物12の入った前記加熱ボートと例示化合物Ir−13の入ったボート及びIr−9の入ったボートをそれぞれ独立に通電して、発光ホストである化合物12と発光ドーパントであるIr−13及びIr−9の蒸着速度が100:5:0.6になるように調節し、膜厚30nmの厚さになるように蒸着し、発光層を設けた。Example 4
<< Preparation of White Light Emitting Element and White Lighting Device-1 >>
The electrode of the transparent electrode substrate of Example 1 was patterned to 20 mm × 20 mm, and α-NPD was formed as a hole injection / transport layer with a thickness of 25 nm thereon as in Example 1, and The heated boat, the boat containing Illustrated Compound Ir-13, and the boat containing Ir-9 were energized independently, and the compound 12 as the light emitting host and Ir-13 and Ir-9 as the light emitting dopants The vapor deposition rate was adjusted to 100: 5: 0.6, vapor deposition was performed to a thickness of 30 nm, and a light emitting layer was provided.
次いで、BCPを10nm成膜して正孔阻止層を設けた。更に、Alq3を40nmで成膜し電子輸送層を設けた。Next, BCP was deposited to a thickness of 10 nm to provide a hole blocking layer. Further, Alq3 was formed at 40 nm to provide an electron transport layer.
次に、実施例1と同様に電子注入層の上に、ステンレス鋼製の透明電極とほぼ同じ形状の正方形穴あきマスクを設置し、陰極バッファー層としてフッ化リチウム0.5nm及び陰極としてアルミニウム150nmを蒸着成膜した。 Next, a square perforated mask having substantially the same shape as the transparent electrode made of stainless steel was placed on the electron injection layer in the same manner as in Example 1, and lithium fluoride 0.5 nm as the cathode buffer layer and aluminum 150 nm as the cathode. Was deposited.
この素子を実施例1と同様な方法及び同様な構造の封止缶を具備させ、図5、図6に示すような平面ランプを作製した。この平面ランプに通電したところほぼ白色の光が得られ、照明装置として使用できることが分かった。 This element was provided with a sealing can having the same method and the same structure as in Example 1, and a flat lamp as shown in FIGS. 5 and 6 was produced. When this flat lamp was energized, almost white light was obtained, and it was found that it could be used as a lighting device.
実施例5
《白色発光素子及び白色照明装置の作製−2》
陽極として100mm×100mm×1.1mmのガラス基板上にITO(インジウムチンオキシド)を100nm製膜した基板(NHテクノグラス社製NA−45)にパターニングを行った後、このITO透明電極を設けた透明支持基板をイソプロピルアルコールで超音波洗浄し、乾燥窒素ガスで乾燥し、UVオゾン洗浄を5分間行った。Example 5
<< Production of White Light Emitting Element and White Lighting Device-2 >>
After patterning on a substrate (NA-45 manufactured by NH Techno Glass Co., Ltd.) formed by depositing 100 nm of ITO (indium tin oxide) on a 100 mm × 100 mm × 1.1 mm glass substrate as an anode, this ITO transparent electrode was provided. The transparent support substrate was ultrasonically cleaned with isopropyl alcohol, dried with dry nitrogen gas, and subjected to UV ozone cleaning for 5 minutes.
この透明支持基板上に、ポリ(3,4−エチレンジオキシチオフェン)−ポリスチレンスルホネート(PEDOT/PSS、Bayer社製、Baytron P Al 4083)を純水で70%に希釈した溶液を3000rpm、30秒でスピンコート法により製膜した後、200℃にて1時間乾燥し、膜厚30nmの第1正孔輸送層を設けた。 On this transparent support substrate, a solution obtained by diluting poly (3,4-ethylenedioxythiophene) -polystyrene sulfonate (PEDOT / PSS, Bayer, Baytron P Al 4083) to 70% with pure water at 3000 rpm for 30 seconds. After the film formation by spin coating, the film was dried at 200 ° C. for 1 hour to provide a first hole transport layer having a thickness of 30 nm.
この基板を窒素雰囲気下に移し、第1正孔輸送層上に50mgの化合物Aを10mlのトルエンに溶解した溶液を1000rpm、30秒の条件下、スピンコート法により製膜した。180秒間紫外光を照射し、光重合・架橋を行った後、60℃で1時間真空乾燥し第2正孔輸送層とした。 The substrate was transferred to a nitrogen atmosphere, and a solution of 50 mg of compound A dissolved in 10 ml of toluene was formed on the first hole transport layer by spin coating at 1000 rpm for 30 seconds. After irradiating with ultraviolet light for 180 seconds to carry out photopolymerization / crosslinking, vacuum drying was performed at 60 ° C. for 1 hour to form a second hole transport layer.
次に、化合物B(60mg)、Ir−14(3.0mg)、Ir−15(3.0mg)をトルエン6mlに溶解した溶液を用い、1000rpm、30秒の条件下、スピンコート法により製膜した。15秒間紫外光を照射し、光重合・架橋を行わせ、更に真空中150℃で1時間加熱を行い、発光層とした。 Next, using a solution obtained by dissolving Compound B (60 mg), Ir-14 (3.0 mg), and Ir-15 (3.0 mg) in 6 ml of toluene, a film is formed by spin coating under conditions of 1000 rpm and 30 seconds. did. Irradiated with ultraviolet light for 15 seconds to cause photopolymerization / crosslinking, and further heated in vacuum at 150 ° C. for 1 hour to obtain a light emitting layer.
更に、化合物C(20mg)をトルエン6mlに溶解した溶液を用い、1000rpm、30秒の条件下、スピンコート法により製膜した。15秒間紫外光を照射し、光重合・架橋を行わせ、更に真空中80℃で1時間加熱を行い、正孔阻止層とした。 Further, a solution of compound C (20 mg) dissolved in 6 ml of toluene was used to form a film by spin coating under conditions of 1000 rpm and 30 seconds. It was irradiated with ultraviolet light for 15 seconds to cause photopolymerization / crosslinking, and further heated in vacuum at 80 ° C. for 1 hour to form a hole blocking layer.
続いて、この基板を真空蒸着装置の基板ホルダーに固定し、モリブデン製抵抗加熱ボートにAlq3を200mg入れ、真空蒸着装置に取り付けた。真空槽を4×10-4Paまで減圧した後、Alq3の入った前記加熱ボートに通電して加熱し、蒸着速度0.1nm/秒で前記電子輸送層の上に蒸着して、更に膜厚40nmの電子輸送層を設けた。なお、蒸着時の基板温度は室温であった。引き続き、フッ化リチウム0.5nm及びアルミニウム110nmを蒸着して陰極を形成し、白色発光有機EL素子を作製した。Subsequently, this substrate was fixed to a substrate holder of a vacuum deposition apparatus, 200 mg of Alq3 was placed in a molybdenum resistance heating boat, and attached to the vacuum deposition apparatus. After reducing the vacuum chamber to 4 × 10−4 Pa, the heating boat containing Alq3 was heated by heating, evaporated onto the electron transport layer at a deposition rate of 0.1 nm / second, and further coated with a film. An electron transport layer having a thickness of 40 nm was provided. In addition, the substrate temperature at the time of vapor deposition was room temperature. Then, 0.5 nm of lithium fluoride and 110 nm of aluminum were vapor-deposited, the cathode was formed, and the white light emitting organic EL element was produced.
この素子に通電したところほぼ白色の光が得られ、照明装置として使用できることが判った。 When this element was energized, almost white light was obtained, and it was found that it could be used as a lighting device.
実施例6
《有機EL素子6−1〜6−5の作製》
陽極として100mm×100mm×1.1mmのガラス基板上にITO(インジウムチンオキシド)を100nm製膜した基板(NHテクノグラス社製NA45)にパターニングを行った後、このITO透明電極を設けた透明支持基板をイソプロピルアルコールで超音波洗浄し、乾燥窒素ガスで乾燥し、UVオゾン洗浄を5分間行った。Example 6
<< Production of Organic EL Elements 6-1 to 6-5 >>
Transparent support provided with this ITO transparent electrode after patterning on a substrate (NH45 manufactured by NH Techno Glass) made of ITO (indium tin oxide) with a thickness of 100 nm on a glass substrate of 100 mm × 100 mm × 1.1 mm as an anode The substrate was ultrasonically cleaned with isopropyl alcohol, dried with dry nitrogen gas, and subjected to UV ozone cleaning for 5 minutes.
この基板を市販のスピンコータに取り付け、Baytron P(PEDOT/PSS溶液(ポリ(3,4)エチレンジオキシチオフェン−ポリスチレンスルホン酸ドープ体)/バイエル社製)をスピンコートで塗布した後、150℃で1.5時間真空乾燥し、ホール注入層を作製した(膜厚50nm)。 This substrate was attached to a commercially available spin coater, and Baytron P (PEDOT / PSS solution (poly (3,4) ethylenedioxythiophene-polystyrenesulfonic acid dope) / manufactured by Bayer) was applied by spin coating at 150 ° C. The hole injection layer was produced by vacuum-drying for 1.5 hours (film thickness 50 nm).
次いで、CBP(60mg)とIr−1(3.0mg)をトルエン6mlに溶解した溶液を用い、1000rpm、30秒の条件下、スピンコートし(膜厚約60nm)、60℃で1時間真空乾燥し発光層とした。 Next, using a solution of CBP (60 mg) and Ir-1 (3.0 mg) dissolved in 6 ml of toluene, spin coating was performed at 1000 rpm for 30 seconds (film thickness of about 60 nm) and vacuum-dried at 60 ° C. for 1 hour. The light emitting layer was used.
この透明支持基板を市販の真空蒸着装置の基板ホルダーに固定し、モリブデン製抵抗加熱ボートにバソキュプロイン(BCP)を200mg入れ、別のモリブデン製抵抗加熱ボートにAlq3を200mg入れ、真空蒸着装置に取り付けた。This transparent support substrate is fixed to a substrate holder of a commercially available vacuum deposition apparatus, 200 mg of bathocuproine (BCP) is put into a molybdenum resistance heating boat, 200 mg of Alq3 is put into another resistance heating boat made of molybdenum, and attached to the vacuum deposition apparatus. It was.
次いで、真空槽を4×10-4Paまで減圧した後、Alq3の入った前記加熱ボートに通電して加熱し、蒸着速度0.1nm/秒で前記電子輸送層の上に蒸着して、更に膜厚40nmの電子注入層を設けた。なお、蒸着時の基板温度は室温であった。引き続きフッ化リチウム0.5nm及びアルミニウム110nmを蒸着して陰極を形成し、有機EL素子6−1を作製した。Next, after depressurizing the vacuum chamber to 4 × 10−4 Pa, it was heated by energizing the heating boat containing Alq3 , and deposited on the electron transport layer at a deposition rate of 0.1 nm / second, Further, an electron injection layer having a thickness of 40 nm was provided. In addition, the substrate temperature at the time of vapor deposition was room temperature. Subsequently, 0.5 nm of lithium fluoride and 110 nm of aluminum were deposited to form a cathode, and an organic EL element 6-1 was produced.
有機EL素子6−1の作製において、発光層のCBPを表9に示す化合物に置き換えた以外は、有機EL素子6−1と同じ方法で6−2〜6−5を作製した。 In the production of the organic EL element 6-1, 6-2 to 6-5 were produced in the same manner as the organic EL element 6-1, except that the CBP of the light emitting layer was replaced with the compounds shown in Table 9.
《有機EL素子の評価》
以下のようにして作製した有機EL素子6−1〜6−5の評価を行い、その結果を表9に示す。<< Evaluation of organic EL elements >>
The organic EL elements 6-1 to 6-5 produced as follows were evaluated, and the results are shown in Table 9.
(外部取り出し量子効率)
作製した有機EL素子について、23℃、乾燥窒素ガス雰囲気下で2.5mA/cm2定電流を印加した時の外部取り出し量子効率(%)を測定した。なお測定には同様に分光放射輝度計CS−1000(コニカミノルタセンシング製)を用いた。(External quantum efficiency)
About the produced organic EL element, the external extraction quantum efficiency (%) when a2.5 mA / cm2 constant current was applied in a dry nitrogen gas atmosphere at 23 ° C. was measured. In addition, the spectral radiance meter CS-1000 (made by Konica Minolta Sensing) was similarly used for the measurement.
表11の外部取り出し量子効率の測定結果は、有機EL素子6−1の測定値を100とした時の相対値で表した。 The measurement results of the external extraction quantum efficiency in Table 11 were expressed as relative values when the measurement value of the organic EL element 6-1 was 100.
表11から、本発明の有機EL素子は、高効率化が達成されていることが分かった。 From Table 11, it was found that the organic EL device of the present invention achieved high efficiency.
1 ディスプレイ
3 画素
5 走査線
6 データ線
7 電源ライン
10 有機EL素子
11 スイッチングトランジスタ
12 駆動トランジスタ
13 コンデンサ
A 表示部
B 制御部
102 ガラスカバー
105 陰極
106 有機EL層
107 透明電極付きガラス基板
108 窒素ガス
109 捕水剤DESCRIPTION OF SYMBOLS 1 Display 3
| Application Number | Priority Date | Filing Date | Title |
|---|---|---|---|
| JP2006255132AJP5589251B2 (en) | 2006-09-21 | 2006-09-21 | Organic electroluminescence element material |
| Application Number | Priority Date | Filing Date | Title |
|---|---|---|---|
| JP2006255132AJP5589251B2 (en) | 2006-09-21 | 2006-09-21 | Organic electroluminescence element material |
| Application Number | Title | Priority Date | Filing Date |
|---|---|---|---|
| JP2013096118ADivisionJP5648707B2 (en) | 2013-05-01 | 2013-05-01 | Organic electroluminescence element material |
| Publication Number | Publication Date |
|---|---|
| JP2008074939Atrue JP2008074939A (en) | 2008-04-03 |
| JP5589251B2 JP5589251B2 (en) | 2014-09-17 |
| Application Number | Title | Priority Date | Filing Date |
|---|---|---|---|
| JP2006255132AActiveJP5589251B2 (en) | 2006-09-21 | 2006-09-21 | Organic electroluminescence element material |
| Country | Link |
|---|---|
| JP (1) | JP5589251B2 (en) |
| Publication number | Priority date | Publication date | Assignee | Title |
|---|---|---|---|---|
| JP2010098223A (en)* | 2008-10-20 | 2010-04-30 | Konica Minolta Holdings Inc | Organic electroluminescence device, organic electroluminescence material, display device and illuminating device |
| US20100187984A1 (en)* | 2009-01-16 | 2010-07-29 | Universal Display Corporation | Materials with aza-dibenzothiophene or aza-dibenzofuran core for pholed |
| WO2010090077A1 (en)* | 2009-02-06 | 2010-08-12 | コニカミノルタホールディングス株式会社 | Organic electroluminescent element, and illumination device and display device each comprising the element |
| JP2011084531A (en)* | 2009-10-19 | 2011-04-28 | Konica Minolta Holdings Inc | Material for organic electroluminescent element, organic electroluminescent element, illumination device and display device |
| WO2011051404A1 (en) | 2009-10-28 | 2011-05-05 | Basf Se | Heteroleptic carbene complexes and use thereof in organic electronics |
| WO2011073149A1 (en) | 2009-12-14 | 2011-06-23 | Basf Se | Metal complexes comprising diazabenzimidazol carbene-ligands and the use thereof in oleds |
| US8007927B2 (en) | 2007-12-28 | 2011-08-30 | Universal Display Corporation | Dibenzothiophene-containing materials in phosphorescent light emitting diodes |
| WO2012090967A1 (en) | 2010-12-28 | 2012-07-05 | 出光興産株式会社 | Material for organic electroluminescent elements, and organic electroluminescent element using same |
| US8221905B2 (en) | 2007-12-28 | 2012-07-17 | Universal Display Corporation | Carbazole-containing materials in phosphorescent light emitting diodes |
| WO2012102967A1 (en) | 2011-01-24 | 2012-08-02 | Universal Display Corporation | Aza - dibenzothiophene, aza - dibenzofuran and aza - dibenzoselenophene derivatives for use in oled ' s |
| US8269317B2 (en) | 2010-11-11 | 2012-09-18 | Universal Display Corporation | Phosphorescent materials |
| JP2012190843A (en)* | 2011-03-08 | 2012-10-04 | Toshiba Corp | Organic electroluminescent element, display unit, and lighting device |
| WO2012153780A1 (en)* | 2011-05-11 | 2012-11-15 | 出光興産株式会社 | Novel compound, material for organic electroluminescence device, and organic electroluminescence device |
| US8367223B2 (en) | 2008-11-11 | 2013-02-05 | Universal Display Corporation | Heteroleptic phosphorescent emitters |
| US8409729B2 (en) | 2011-07-28 | 2013-04-02 | Universal Display Corporation | Host materials for phosphorescent OLEDs |
| US8432095B2 (en) | 2011-05-11 | 2013-04-30 | Universal Display Corporation | Process for fabricating metal bus lines for OLED lighting panels |
| US8440326B2 (en) | 2008-06-30 | 2013-05-14 | Universal Display Corporation | Hole transport materials containing triphenylene |
| JP2013138230A (en)* | 2013-02-12 | 2013-07-11 | Konica Minolta Inc | Organic electroluminescent element material, organic electroluminescent element, display device, and luminaire |
| US8492006B2 (en) | 2011-02-24 | 2013-07-23 | Universal Display Corporation | Germanium-containing red emitter materials for organic light emitting diode |
| JP2013145890A (en)* | 2013-02-12 | 2013-07-25 | Konica Minolta Inc | Organic electroluminescent element material, organic electroluminescent element, display device and lighting system |
| JP2013157634A (en)* | 2013-05-01 | 2013-08-15 | Konica Minolta Inc | Organic electroluminescent element material |
| US8545996B2 (en) | 2009-11-02 | 2013-10-01 | The University Of Southern California | Ion-pairing soft salts based on organometallic complexes and their applications in organic light emitting diodes |
| US8552420B2 (en) | 2011-08-09 | 2013-10-08 | Universal Display Corporation | OLED light panel with controlled brightness variation |
| US8563737B2 (en) | 2011-02-23 | 2013-10-22 | Universal Display Corporation | Methods of making bis-tridentate carbene complexes of ruthenium and osmium |
| US8564192B2 (en) | 2011-05-11 | 2013-10-22 | Universal Display Corporation | Process for fabricating OLED lighting panels |
| US8580399B2 (en) | 2011-04-08 | 2013-11-12 | Universal Display Corporation | Substituted oligoazacarbazoles for light emitting diodes |
| US8580394B2 (en) | 2009-11-19 | 2013-11-12 | Universal Display Corporation | 3-coordinate copper(I)-carbene complexes |
| WO2014012972A1 (en) | 2012-07-19 | 2014-01-23 | Basf Se | Dinuclear metal complexes comprising carbene ligands and the use thereof in oleds |
| US8652656B2 (en) | 2011-11-14 | 2014-02-18 | Universal Display Corporation | Triphenylene silane hosts |
| US8659036B2 (en) | 2011-06-17 | 2014-02-25 | Universal Display Corporation | Fine tuning of emission spectra by combination of multiple emitter spectra |
| WO2014030666A1 (en) | 2012-08-24 | 2014-02-27 | コニカミノルタ株式会社 | Transparent electrode, electronic device, and method for manufacturing transparent electrode |
| US20140054563A1 (en)* | 2012-08-24 | 2014-02-27 | Universal Display Corporation | Phosphorescent emitters with phenylimidazole ligands |
| US8673458B2 (en) | 2010-06-11 | 2014-03-18 | Universal Display Corporation | Delayed fluorescence OLED |
| US8692241B1 (en) | 2012-11-08 | 2014-04-08 | Universal Display Corporation | Transition metal complexes containing triazole and tetrazole carbene ligands |
| US8691401B2 (en) | 2010-04-16 | 2014-04-08 | Basf Se | Bridged benzimidazole-carbene complexes and use thereof in OLEDS |
| US8709615B2 (en) | 2011-07-28 | 2014-04-29 | Universal Display Corporation | Heteroleptic iridium complexes as dopants |
| US8716484B1 (en) | 2012-12-05 | 2014-05-06 | Universal Display Corporation | Hole transporting materials with twisted aryl groups |
| US8723209B2 (en) | 2012-04-27 | 2014-05-13 | Universal Display Corporation | Out coupling layer containing particle polymer composite |
| US20140131676A1 (en)* | 2012-11-09 | 2014-05-15 | Universal Display Corporation | Iridium complexes with aza-benzo fused ligands |
| US20140131663A1 (en)* | 2012-11-09 | 2014-05-15 | Universal Display Corporation | Iridium Complexes With Aza-Benzo Fused Ligands |
| US8742657B2 (en) | 2010-06-11 | 2014-06-03 | Universal Display Corporation | Triplet-Triplet annihilation up conversion (TTA-UC) for display and lighting applications |
| US8748011B2 (en) | 2011-02-23 | 2014-06-10 | Universal Display Corporation | Ruthenium carbene complexes for OLED material |
| US8748012B2 (en) | 2011-05-25 | 2014-06-10 | Universal Display Corporation | Host materials for OLED |
| JP2014131079A (en)* | 2014-03-13 | 2014-07-10 | Konica Minolta Inc | Material for organic electroluminescent element, organic electroluminescent element, illuminating device and display device |
| US8795850B2 (en) | 2011-05-19 | 2014-08-05 | Universal Display Corporation | Phosphorescent heteroleptic phenylbenzimidazole dopants and new synthetic methodology |
| JP2014158039A (en)* | 2014-04-04 | 2014-08-28 | Konica Minolta Inc | Organic electroluminescent element material, organic electroluminescent element, display device and lighting system |
| US8822708B2 (en) | 2007-08-08 | 2014-09-02 | Universal Display Corporation | Benzo-fused thiophene / triphenylene hybrid materials |
| JP2014170946A (en)* | 2014-04-04 | 2014-09-18 | Konica Minolta Inc | Organic electroluminescent element material, organic electroluminescent element, display device and luminaire |
| WO2014147134A1 (en) | 2013-03-20 | 2014-09-25 | Basf Se | Azabenzimidazole carbene complexes as efficiency booster in oleds |
| WO2014157494A1 (en) | 2013-03-29 | 2014-10-02 | コニカミノルタ株式会社 | Material for organic electroluminescent elements, organic electroluminescent element, display device and lighting device |
| WO2014157618A1 (en) | 2013-03-29 | 2014-10-02 | コニカミノルタ株式会社 | Organic electroluminescent element, and lighting device and display device which are provided with same |
| US8871361B2 (en) | 2011-02-23 | 2014-10-28 | Universal Display Corporation | Tetradentate platinum complexes |
| WO2014177518A1 (en) | 2013-04-29 | 2014-11-06 | Basf Se | Transition metal complexes with carbene ligands and the use thereof in oleds |
| US8884316B2 (en) | 2011-06-17 | 2014-11-11 | Universal Display Corporation | Non-common capping layer on an organic device |
| US8883322B2 (en) | 2011-03-08 | 2014-11-11 | Universal Display Corporation | Pyridyl carbene phosphorescent emitters |
| US8927749B2 (en) | 2013-03-07 | 2015-01-06 | Universal Display Corporation | Organic electroluminescent materials and devices |
| US8927308B2 (en) | 2011-05-12 | 2015-01-06 | Universal Display Corporation | Method of forming bus line designs for large-area OLED lighting |
| US8926119B2 (en) | 2011-08-04 | 2015-01-06 | Universal Display Corporation | Extendable light source with variable light emitting area |
| WO2015000955A1 (en) | 2013-07-02 | 2015-01-08 | Basf Se | Monosubstituted diazabenzimidazole carbene metal complexes for use in organic light emitting diodes |
| US8932734B2 (en) | 2010-10-08 | 2015-01-13 | Universal Display Corporation | Organic electroluminescent materials and devices |
| US8946697B1 (en) | 2012-11-09 | 2015-02-03 | Universal Display Corporation | Iridium complexes with aza-benzo fused ligands |
| US8952362B2 (en) | 2012-08-31 | 2015-02-10 | The Regents Of The University Of Michigan | High efficiency and brightness fluorescent organic light emitting diode by triplet-triplet fusion |
| US8963132B2 (en) | 2010-03-25 | 2015-02-24 | Universal Display Corporation | Solution processable doped triarylamine hole injection materials |
| US8969592B2 (en) | 2012-01-10 | 2015-03-03 | Universal Display Corporation | Heterocyclic host materials |
| US8968887B2 (en) | 2010-04-28 | 2015-03-03 | Universal Display Corporation | Triphenylene-benzofuran/benzothiophene/benzoselenophene compounds with substituents joining to form fused rings |
| US8987451B2 (en) | 2012-01-03 | 2015-03-24 | Universal Display Corporation | Synthesis of cyclometallated platinum(II) complexes |
| US9005772B2 (en) | 2011-02-23 | 2015-04-14 | Universal Display Corporation | Thioazole and oxazole carbene metal complexes as phosphorescent OLED materials |
| WO2015063046A1 (en) | 2013-10-31 | 2015-05-07 | Basf Se | Azadibenzothiophenes for electronic applications |
| US9040962B2 (en) | 2010-04-28 | 2015-05-26 | Universal Display Corporation | Depositing premixed materials |
| US9054323B2 (en) | 2012-03-15 | 2015-06-09 | Universal Display Corporation | Secondary hole transporting layer with diarylamino-phenyl-carbazole compounds |
| US9059412B2 (en) | 2012-07-19 | 2015-06-16 | Universal Display Corporation | Transition metal complexes containing substituted imidazole carbene as ligands and their application in OLEDs |
| US9076973B2 (en) | 2008-09-03 | 2015-07-07 | Universal Display Corporation | Phosphorescent materials |
| JP2015151352A (en)* | 2014-02-13 | 2015-08-24 | 国立大学法人山形大学 | Benzofuropyrimidine derivative, host material comprising the same and organic electroluminescent element using the same |
| US9118017B2 (en) | 2012-02-27 | 2015-08-25 | Universal Display Corporation | Host compounds for red phosphorescent OLEDs |
| US9130177B2 (en) | 2011-01-13 | 2015-09-08 | Universal Display Corporation | 5-substituted 2 phenylquinoline complexes materials for light emitting diode |
| US9142792B2 (en) | 2010-06-18 | 2015-09-22 | Basf Se | Organic electronic devices comprising a layer comprising at least one metal organic compound and at least one metal oxide |
| US9142786B2 (en) | 2007-03-08 | 2015-09-22 | Universal Display Corporation | Phosphorescent materials |
| US9156870B2 (en) | 2010-02-25 | 2015-10-13 | Universal Display Corporation | Phosphorescent emitters |
| US9163174B2 (en) | 2012-01-04 | 2015-10-20 | Universal Display Corporation | Highly efficient phosphorescent materials |
| US9166175B2 (en) | 2012-11-27 | 2015-10-20 | Universal Display Corporation | Organic electroluminescent materials and devices |
| US9175211B2 (en) | 2010-03-03 | 2015-11-03 | Universal Display Corporation | Phosphorescent materials |
| US9181270B2 (en) | 2014-02-28 | 2015-11-10 | Universal Display Corporation | Method of making sulfide compounds |
| US9184399B2 (en) | 2012-05-04 | 2015-11-10 | Universal Display Corporation | Asymmetric hosts with triaryl silane side chains |
| US9190620B2 (en) | 2014-03-01 | 2015-11-17 | Universal Display Corporation | Organic electroluminescent materials and devices |
| US9190623B2 (en) | 2012-11-20 | 2015-11-17 | Universal Display Corporation | Organic electroluminescent materials and devices |
| US9190621B2 (en) | 2007-03-08 | 2015-11-17 | Universal Display Corporation | Materials for organic light emitting diode |
| US9193745B2 (en) | 2011-11-15 | 2015-11-24 | Universal Display Corporation | Heteroleptic iridium complex |
| US9196860B2 (en) | 2012-12-04 | 2015-11-24 | Universal Display Corporation | Compounds for triplet-triplet annihilation upconversion |
| US9209411B2 (en) | 2012-12-07 | 2015-12-08 | Universal Display Corporation | Organic electroluminescent materials and devices |
| US9212197B2 (en) | 2011-05-19 | 2015-12-15 | Universal Display Corporation | Phosphorescent heteroleptic phenylbenzimidazole dopants |
| US9217004B2 (en) | 2011-11-21 | 2015-12-22 | Universal Display Corporation | Organic light emitting materials |
| US9224958B2 (en) | 2013-07-19 | 2015-12-29 | Universal Display Corporation | Organic electroluminescent materials and devices |
| US9231218B2 (en) | 2012-07-10 | 2016-01-05 | Universal Display Corporation | Phosphorescent emitters containing dibenzo[1,4]azaborinine structure |
| US9252377B2 (en) | 2011-07-14 | 2016-02-02 | Universal Display Corporation | Inorganic hosts in OLEDs |
| WO2016016791A1 (en) | 2014-07-28 | 2016-02-04 | Idemitsu Kosan Co., Ltd (Ikc) | 2,9-functionalized benzimidazolo[1,2-a]benzimidazoles as hosts for organic light emitting diodes (oleds) |
| EP2982676A1 (en) | 2014-08-07 | 2016-02-10 | Idemitsu Kosan Co., Ltd. | Benzimidazo[2,1-B]benzoxazoles for electronic applications |
| KR20160018458A (en)* | 2013-06-11 | 2016-02-17 | 이데미쓰 고산 가부시키가이샤 | Material for organic electroluminescent elements, organic electroluminescent element using same, and electronic device |
| US9281483B2 (en) | 2006-02-10 | 2016-03-08 | Universal Display Corporation | Organic electroluminescent materials and devices |
| EP2993215A1 (en) | 2014-09-04 | 2016-03-09 | Idemitsu Kosan Co., Ltd. | Azabenzimidazo[2,1-a]benzimidazoles for electronic applications |
| US9287513B2 (en) | 2012-09-24 | 2016-03-15 | Universal Display Corporation | Organic electroluminescent materials and devices |
| US9293712B2 (en) | 2013-10-11 | 2016-03-22 | Universal Display Corporation | Disubstituted pyrene compounds with amino group containing ortho aryl group and devices containing the same |
| US9306179B2 (en) | 2013-11-08 | 2016-04-05 | Universal Display Corporation | Organic electroluminescent materials and devices |
| US9312499B1 (en) | 2015-01-05 | 2016-04-12 | Universal Display Corporation | Organic electroluminescent materials and devices |
| US9312505B2 (en) | 2012-09-25 | 2016-04-12 | Universal Display Corporation | Organic electroluminescent materials and devices |
| US9315724B2 (en) | 2011-06-14 | 2016-04-19 | Basf Se | Metal complexes comprising azabenzimidazole carbene ligands and the use thereof in OLEDs |
| US9318710B2 (en) | 2012-07-30 | 2016-04-19 | Universal Display Corporation | Organic electroluminescent materials and devices |
| US9324949B2 (en) | 2013-07-16 | 2016-04-26 | Universal Display Corporation | Organic electroluminescent materials and devices |
| US20160118594A1 (en)* | 2014-10-22 | 2016-04-28 | Samsung Display Co., Ltd. | Material for organic electroluminescent device and organic electroluminescent device using the same |
| EP3015469A1 (en) | 2014-10-30 | 2016-05-04 | Idemitsu Kosan Co., Ltd. | 5-((benz)imidazol-2-yl)benzimidazo[1,2-a]benzimidazoles for electronic applications |
| WO2016079667A1 (en) | 2014-11-17 | 2016-05-26 | Idemitsu Kosan Co., Ltd. | Indole derivatives for electronic applications |
| WO2016079169A1 (en) | 2014-11-18 | 2016-05-26 | Basf Se | Pt- or pd-carbene complexes for use in organic light emitting diodes |
| US9373802B2 (en) | 2011-02-07 | 2016-06-21 | Idemitsu Kosan Co., Ltd. | Biscarbazole derivatives and organic electroluminescence device employing the same |
| EP3034507A1 (en) | 2014-12-15 | 2016-06-22 | Idemitsu Kosan Co., Ltd | 1-functionalized dibenzofurans and dibenzothiophenes for organic light emitting diodes (OLEDs) |
| EP3034506A1 (en) | 2014-12-15 | 2016-06-22 | Idemitsu Kosan Co., Ltd | 4-functionalized carbazole derivatives for electronic applications |
| US9386657B2 (en) | 2012-03-15 | 2016-07-05 | Universal Display Corporation | Organic Electroluminescent materials and devices |
| US9397310B2 (en) | 2011-07-14 | 2016-07-19 | Universal Display Corporation | Organice electroluminescent materials and devices |
| US9397309B2 (en) | 2014-03-13 | 2016-07-19 | Universal Display Corporation | Organic electroluminescent devices |
| US9397302B2 (en) | 2014-10-08 | 2016-07-19 | Universal Display Corporation | Organic electroluminescent materials and devices |
| US9406892B2 (en) | 2015-01-07 | 2016-08-02 | Universal Display Corporation | Organic electroluminescent materials and devices |
| US9406893B2 (en) | 2010-09-09 | 2016-08-02 | Semiconductor Energy Laboratory Co., Ltd. | Heterocyclic compound, light-emitting element, light-emitting device, electronic device, and lighting device |
| EP3053918A1 (en) | 2015-02-06 | 2016-08-10 | Idemitsu Kosan Co., Ltd | 2-carbazole substituted benzimidazoles for electronic applications |
| EP3054498A1 (en) | 2015-02-06 | 2016-08-10 | Idemitsu Kosan Co., Ltd. | Bisimidazodiazocines |
| US9419225B2 (en) | 2013-03-14 | 2016-08-16 | Universal Display Corporation | Organic electroluminescent materials and devices |
| EP3056498A1 (en)* | 2015-02-13 | 2016-08-17 | Samsung SDI Co., Ltd. | Diazadibenzofurane and diazadibenzothiophene derivatives and their use in organic optoelectronic devices |
| EP3061759A1 (en) | 2015-02-24 | 2016-08-31 | Idemitsu Kosan Co., Ltd | Nitrile substituted dibenzofurans |
| US9435021B2 (en) | 2010-07-29 | 2016-09-06 | University Of Southern California | Co-deposition methods for the fabrication of organic optoelectronic devices |
| US9444075B2 (en) | 2014-11-26 | 2016-09-13 | Universal Display Corporation | Emissive display with photo-switchable polarization |
| US9450195B2 (en) | 2014-12-17 | 2016-09-20 | Universal Display Corporation | Organic electroluminescent materials and devices |
| EP3070144A1 (en) | 2015-03-17 | 2016-09-21 | Idemitsu Kosan Co., Ltd. | Seven-membered ring compounds |
| US9455411B2 (en) | 2008-09-25 | 2016-09-27 | Universal Display Corporation | Organic electroluminescent materials and devices |
| US9455417B2 (en) | 2011-12-13 | 2016-09-27 | Universal Display Corporation | Split electrode for organic devices |
| EP3072943A1 (en) | 2015-03-26 | 2016-09-28 | Idemitsu Kosan Co., Ltd. | Dibenzofuran/carbazole-substituted benzonitriles |
| US9461254B2 (en) | 2012-01-03 | 2016-10-04 | Universal Display Corporation | Organic electroluminescent materials and devices |
| EP3075737A1 (en) | 2015-03-31 | 2016-10-05 | Idemitsu Kosan Co., Ltd | Benzimidazolo[1,2-a]benzimidazole carrying aryl- or heteroarylnitril groups for organic light emitting diodes |
| US9478758B1 (en) | 2015-05-08 | 2016-10-25 | Universal Display Corporation | Organic electroluminescent materials and devices |
| US9484541B2 (en) | 2014-10-20 | 2016-11-01 | Universal Display Corporation | Organic electroluminescent materials and devices |
| US9493698B2 (en) | 2011-08-31 | 2016-11-15 | Universal Display Corporation | Organic electroluminescent materials and devices |
| US9502672B2 (en) | 2012-06-21 | 2016-11-22 | Universal Display Corporation | Organic electroluminescent materials and devices |
| US9502656B2 (en) | 2014-02-24 | 2016-11-22 | Universal Display Corporation | Organic electroluminescent materials and devices |
| US9512136B2 (en) | 2012-11-26 | 2016-12-06 | Universal Display Corporation | Organic electroluminescent materials and devices |
| US9512355B2 (en) | 2011-12-09 | 2016-12-06 | Universal Display Corporation | Organic light emitting materials |
| WO2016193243A1 (en) | 2015-06-03 | 2016-12-08 | Udc Ireland Limited | Highly efficient oled devices with very short decay times |
| US9537106B2 (en) | 2013-05-09 | 2017-01-03 | Universal Display Corporation | Organic electroluminescent materials and devices |
| US9540329B2 (en) | 2012-07-19 | 2017-01-10 | Universal Display Corporation | Organic electroluminescent materials and devices |
| US9553274B2 (en) | 2013-07-16 | 2017-01-24 | Universal Display Corporation | Organic electroluminescent materials and devices |
| US9590195B2 (en) | 2014-02-28 | 2017-03-07 | Universal Display Corporation | Organic electroluminescent materials and devices |
| US9590194B2 (en) | 2014-02-14 | 2017-03-07 | Universal Display Corporation | Organic electroluminescent materials and devices |
| US9590180B2 (en) | 2007-06-23 | 2017-03-07 | Universal Display Corporation | Organic electroluminescent materials and devices |
| EP3150606A1 (en) | 2015-10-01 | 2017-04-05 | Idemitsu Kosan Co., Ltd. | Benzimidazolo[1,2-a]benzimidazoles carrying benzofurane or benzothiophene groups for organic light emitting diodes |
| EP3150604A1 (en) | 2015-10-01 | 2017-04-05 | Idemitsu Kosan Co., Ltd. | Benzimidazolo[1,2-a]benzimidazole carrying benzimidazolo[1,2-a]benzimidazolyl groups, carbazolyl groups, benzofurane groups or benzothiophene groups for organic light emitting diodes |
| WO2017056055A1 (en) | 2015-10-01 | 2017-04-06 | Idemitsu Kosan Co., Ltd. | Benzimidazolo[1,2-a]benzimidazole carrying triazine groups for organic light emitting diodes |
| WO2017056053A1 (en) | 2015-10-01 | 2017-04-06 | Idemitsu Kosan Co., Ltd. | Benzimidazolo[1,2-a]benzimidazole carrying benzimidazolo[1,2-a]benzimidazolyl groups, carbazolyl groups, benzofurane groups or benzothiophene groups for organic light emitting diodes |
| US9634265B2 (en) | 2009-04-28 | 2017-04-25 | Universal Display Corporation | Organic electroluminescent materials and devices |
| US9647218B2 (en) | 2013-11-14 | 2017-05-09 | Universal Display Corporation | Organic electroluminescent materials and devices |
| US9647221B2 (en) | 2011-07-14 | 2017-05-09 | Universal Display Corporation | Organic light-emitting devices |
| US9647217B2 (en) | 2014-02-24 | 2017-05-09 | Universal Display Corporation | Organic electroluminescent materials and devices |
| US9647227B2 (en) | 2005-04-13 | 2017-05-09 | Universal Display Corporation | Organic light emitting devices |
| WO2017078182A1 (en) | 2015-11-04 | 2017-05-11 | Idemitsu Kosan Co., Ltd. | Benzimidazole fused heteroaryls |
| US9653691B2 (en) | 2012-12-12 | 2017-05-16 | Universal Display Corporation | Phosphorescence-sensitizing fluorescence material system |
| US9663544B2 (en) | 2012-07-25 | 2017-05-30 | Universal Display Corporation | Organic electroluminescent materials and devices |
| US9673407B2 (en) | 2014-02-28 | 2017-06-06 | Universal Display Corporation | Organic electroluminescent materials and devices |
| US9673406B2 (en) | 2009-05-20 | 2017-06-06 | Universal Display Corporation | Metal complexes with boron-nitrogen heterocycle containing ligands |
| US9670404B2 (en) | 2012-06-06 | 2017-06-06 | Universal Display Corporation | Organic electroluminescent materials and devices |
| US9673401B2 (en) | 2013-06-28 | 2017-06-06 | Universal Display Corporation | Organic electroluminescent materials and devices |
| WO2017093958A1 (en) | 2015-12-04 | 2017-06-08 | Idemitsu Kosan Co., Ltd. | Benzimidazolo[1,2-a]benzimidazole derivatives for organic light emitting diodes |
| US9691993B2 (en) | 2014-04-09 | 2017-06-27 | Universal Display Corporation | Organic electroluminescent materials and devices |
| WO2017109727A1 (en) | 2015-12-21 | 2017-06-29 | Idemitsu Kosan Co., Ltd. | Hetero-condensed phenylquinazolines and their use in electronic devices |
| US9711730B2 (en) | 2015-01-25 | 2017-07-18 | Universal Display Corporation | Organic electroluminescent materials and devices |
| EP3200255A2 (en) | 2016-01-06 | 2017-08-02 | Konica Minolta, Inc. | Organic electroluminescent element, method for producing organic electroluminescent element, display, and lighting device |
| US9725476B2 (en) | 2012-07-09 | 2017-08-08 | Universal Display Corporation | Silylated metal complexes |
| US9735377B2 (en) | 2005-05-06 | 2017-08-15 | Universal Display Corporation | Phosphorescent emitters and host materials with improved stability |
| US9735373B2 (en) | 2013-06-10 | 2017-08-15 | Universal Display Corporation | Organic electroluminescent materials and devices |
| US9735378B2 (en) | 2013-09-09 | 2017-08-15 | Universal Display Corporation | Organic electroluminescent materials and devices |
| US9741941B2 (en) | 2014-04-29 | 2017-08-22 | Universal Display Corporation | Organic electroluminescent materials and devices |
| US9748503B2 (en) | 2013-09-13 | 2017-08-29 | Universal Display Corporation | Organic electroluminescent materials and devices |
| US9748500B2 (en) | 2015-01-15 | 2017-08-29 | Universal Display Corporation | Organic light emitting materials |
| US9748504B2 (en) | 2014-03-25 | 2017-08-29 | Universal Display Corporation | Organic electroluminescent materials and devices |
| US9755164B2 (en) | 2011-06-08 | 2017-09-05 | Universal Display Corporation | Organic electroluminescent materials and devices |
| US9755159B2 (en) | 2014-01-23 | 2017-09-05 | Universal Display Corporation | Organic materials for OLEDs |
| US9761807B2 (en) | 2013-07-15 | 2017-09-12 | Universal Display Corporation | Organic light emitting diode materials |
| US9761814B2 (en) | 2014-11-18 | 2017-09-12 | Universal Display Corporation | Organic light-emitting materials and devices |
| US9773985B2 (en) | 2012-05-21 | 2017-09-26 | Universal Display Corporation | Organic electroluminescent materials and devices |
| US9780316B2 (en) | 2015-03-16 | 2017-10-03 | Universal Display Corporation | Organic electroluminescent materials and devices |
| US9783564B2 (en) | 2011-07-25 | 2017-10-10 | Universal Display Corporation | Organic electroluminescent materials and devices |
| WO2017178864A1 (en) | 2016-04-12 | 2017-10-19 | Idemitsu Kosan Co., Ltd. | Seven-membered ring compounds |
| EP3239161A1 (en) | 2013-07-31 | 2017-11-01 | UDC Ireland Limited | Luminescent diazabenzimidazole carbene metal complexes |
| JP2017533893A (en)* | 2014-10-30 | 2017-11-16 | エルジー・ケム・リミテッド | Ring compound and organic light emitting device including the same |
| US9831447B2 (en) | 2013-10-08 | 2017-11-28 | Universal Display Corporation | Organic electroluminescent materials and devices |
| US9831437B2 (en) | 2013-08-20 | 2017-11-28 | Universal Display Corporation | Organic electroluminescent materials and devices |
| US9847496B2 (en) | 2013-12-23 | 2017-12-19 | Universal Display Corporation | Organic electroluminescent materials and devices |
| US9847498B2 (en) | 2014-04-14 | 2017-12-19 | Universal Display Corporation | Organic electroluminescent materials and devices |
| US9847497B2 (en) | 2014-02-18 | 2017-12-19 | Universal Display Corporation | Organic electroluminescent materials and devices |
| US9853229B2 (en) | 2013-10-23 | 2017-12-26 | University Of Southern California | Organic electroluminescent materials and devices |
| US9859510B2 (en) | 2015-05-15 | 2018-01-02 | Universal Display Corporation | Organic electroluminescent materials and devices |
| US9862739B2 (en) | 2014-03-31 | 2018-01-09 | Udc Ireland Limited | Metal complexes, comprising carbene ligands having an O-substituted non-cyclometalated aryl group and their use in organic light emitting diodes |
| US9871212B2 (en) | 2014-11-14 | 2018-01-16 | Universal Display Corporation | Organic electroluminescent materials and devices |
| US9871214B2 (en) | 2015-03-23 | 2018-01-16 | Universal Display Corporation | Organic electroluminescent materials and devices |
| KR20180009519A (en) | 2016-07-19 | 2018-01-29 | 한남대학교 산학협력단 | Enantiomer Mixture, The Preparation thereof, and Organic Light Emitting Device containing same |
| US9899612B2 (en) | 2006-12-08 | 2018-02-20 | Universal Display Corporation | Organic electroluminescent materials and devices |
| US9905784B2 (en) | 2013-11-15 | 2018-02-27 | Universal Display Corporation | Organic electroluminescent materials and devices |
| US9911931B2 (en) | 2014-06-26 | 2018-03-06 | Universal Display Corporation | Organic electroluminescent materials and devices |
| US9911928B2 (en) | 2015-03-19 | 2018-03-06 | Universal Display Corporation | Organic electroluminescent materials and devices |
| US9929357B2 (en) | 2014-07-22 | 2018-03-27 | Universal Display Corporation | Organic electroluminescent materials and devices |
| US9929361B2 (en) | 2015-02-16 | 2018-03-27 | Universal Display Corporation | Organic electroluminescent materials and devices |
| US9929360B2 (en) | 2016-07-08 | 2018-03-27 | Universal Display Corporation | Organic electroluminescent materials and devices |
| US9929353B2 (en) | 2014-04-02 | 2018-03-27 | Universal Display Corporation | Organic electroluminescent materials and devices |
| US9935276B2 (en) | 2013-02-21 | 2018-04-03 | Universal Display Corporation | Organic electroluminescent materials and devices |
| US9935277B2 (en) | 2014-01-30 | 2018-04-03 | Universal Display Corporation | Organic electroluminescent materials and devices |
| US9932359B2 (en) | 2013-08-30 | 2018-04-03 | University Of Southern California | Organic electroluminescent materials and devices |
| US9954180B2 (en) | 2010-08-20 | 2018-04-24 | Universal Display Corporation | Bicarbazole compounds for OLEDs |
| EP3318566A1 (en) | 2012-09-20 | 2018-05-09 | UDC Ireland Limited | Azadibenzofurans for electronic applications |
| US9978961B2 (en) | 2014-01-08 | 2018-05-22 | Universal Display Corporation | Organic electroluminescent materials and devices |
| US9978956B2 (en) | 2015-07-15 | 2018-05-22 | Universal Display Corporation | Organic electroluminescent materials and devices |
| US9997716B2 (en) | 2014-05-27 | 2018-06-12 | Universal Display Corporation | Organic electroluminescent materials and devices |
| US9997712B2 (en) | 2013-03-27 | 2018-06-12 | Universal Display Corporation | Organic electroluminescent materials and devices |
| US10003033B2 (en) | 2014-02-18 | 2018-06-19 | Universal Display Corporation | Organic electroluminescent materials and devices |
| US10003034B2 (en) | 2013-09-30 | 2018-06-19 | Universal Display Corporation | Organic electroluminescent materials and devices |
| US10008679B2 (en) | 2014-04-14 | 2018-06-26 | Universal Display Corporation | Organic electroluminescent materials and devices |
| US10008678B2 (en) | 2008-12-12 | 2018-06-26 | Universal Display Corporation | Organic electroluminescent materials and devices |
| US10008677B2 (en) | 2011-01-13 | 2018-06-26 | Universal Display Corporation | Materials for organic light emitting diode |
| US10033004B2 (en) | 2015-06-01 | 2018-07-24 | Universal Display Corporation | Organic electroluminescent materials and devices |
| US10038151B2 (en) | 2014-11-12 | 2018-07-31 | Universal Display Corporation | Organic electroluminescent materials and devices |
| US10043987B2 (en) | 2014-09-29 | 2018-08-07 | Universal Display Corporation | Organic electroluminescent materials and devices |
| US10056565B2 (en) | 2013-11-20 | 2018-08-21 | Universal Display Corporation | Organic electroluminescent materials and devices |
| US10069090B2 (en) | 2012-11-20 | 2018-09-04 | Universal Display Corporation | Organic electroluminescent materials and devices |
| US10074806B2 (en) | 2013-08-20 | 2018-09-11 | Universal Display Corporation | Organic electroluminescent materials and devices |
| US10079349B2 (en) | 2011-05-27 | 2018-09-18 | Universal Display Corporation | Organic electroluminescent materials and devices |
| US10084143B2 (en) | 2008-09-16 | 2018-09-25 | Universal Display Corporation | Phosphorescent materials |
| US10109799B2 (en) | 2015-05-21 | 2018-10-23 | Universal Display Corporation | Organic electroluminescent materials and devices |
| US10121975B2 (en) | 2013-07-03 | 2018-11-06 | Universal Display Corporation | Organic electroluminescent materials and devices |
| US10135007B2 (en) | 2014-09-29 | 2018-11-20 | Universal Display Corporation | Organic electroluminescent materials and devices |
| US10135006B2 (en) | 2016-01-04 | 2018-11-20 | Universal Display Corporation | Organic electroluminescent materials and devices |
| US10135008B2 (en) | 2014-01-07 | 2018-11-20 | Universal Display Corporation | Organic electroluminescent materials and devices |
| US10144867B2 (en) | 2015-02-13 | 2018-12-04 | Universal Display Corporation | Organic electroluminescent materials and devices |
| US10147892B2 (en) | 2010-12-07 | 2018-12-04 | The University Of Southern California | Organic electroluminescent materials and devices |
| US10153443B2 (en) | 2016-07-19 | 2018-12-11 | Universal Display Corporation | Organic electroluminescent materials and devices |
| US10153445B2 (en) | 2016-11-21 | 2018-12-11 | Universal Display Corporation | Organic electroluminescent materials and devices |
| US10158089B2 (en) | 2011-05-27 | 2018-12-18 | Universal Display Corporation | Organic electroluminescent materials and devices |
| EP3415521A1 (en) | 2011-06-14 | 2018-12-19 | UDC Ireland Limited | Metal complexes comprising azabenzimidazole carbene ligands and the use thereof in oleds |
| US10177318B2 (en) | 2015-10-29 | 2019-01-08 | Universal Display Corporation | Organic electroluminescent materials and devices |
| US10177316B2 (en) | 2015-02-09 | 2019-01-08 | Universal Display Corporation | Organic electroluminescent materials and devices |
| US10181564B2 (en) | 2015-08-26 | 2019-01-15 | Universal Display Corporation | Organic electroluminescent materials and devices |
| US10199581B2 (en) | 2013-07-01 | 2019-02-05 | Universal Display Corporation | Organic electroluminescent materials and devices |
| US10199582B2 (en) | 2013-09-03 | 2019-02-05 | University Of Southern California | Organic electroluminescent materials and devices |
| US10205105B2 (en) | 2016-08-15 | 2019-02-12 | Universal Display Corporation | Organic electroluminescent materials and devices |
| US10211413B2 (en) | 2012-01-17 | 2019-02-19 | Universal Display Corporation | Organic electroluminescent materials and devices |
| US10208026B2 (en) | 2014-03-18 | 2019-02-19 | Universal Display Corporation | Organic electroluminescent materials and devices |
| US10236456B2 (en) | 2016-04-11 | 2019-03-19 | Universal Display Corporation | Organic electroluminescent materials and devices |
| US10236458B2 (en) | 2016-10-24 | 2019-03-19 | Universal Display Corporation | Organic electroluminescent materials and devices |
| US10256419B2 (en) | 2014-05-08 | 2019-04-09 | Universal Display Corporation | Organic electroluminescent materials and devices |
| US10256427B2 (en) | 2014-04-15 | 2019-04-09 | Universal Display Corporation | Efficient organic electroluminescent devices |
| US10256411B2 (en) | 2015-05-21 | 2019-04-09 | Universal Display Corporation | Organic electroluminescent materials and devices |
| US10253252B2 (en) | 2014-12-30 | 2019-04-09 | Universal Display Corporation | Organic electroluminescent materials and devices |
| US10270046B2 (en) | 2015-03-06 | 2019-04-23 | Universal Display Corporation | Organic electroluminescent materials and devices |
| US10276809B2 (en) | 2016-04-05 | 2019-04-30 | Universal Display Corporation | Organic electroluminescent materials and devices |
| US10297770B2 (en) | 2015-03-27 | 2019-05-21 | Universal Display Corporation | Organic electroluminescent materials and devices |
| US10297762B2 (en) | 2014-07-09 | 2019-05-21 | Universal Display Corporation | Organic electroluminescent materials and devices |
| US10301338B2 (en) | 2014-05-08 | 2019-05-28 | Universal Display Corporation | Organic electroluminescent materials and devices |
| US10340464B2 (en) | 2016-11-10 | 2019-07-02 | Universal Display Corporation | Organic electroluminescent materials and devices |
| US10347851B2 (en) | 2013-12-20 | 2019-07-09 | Udc Ireland Limited | Highly efficient OLED devices with very short decay times |
| US10355227B2 (en) | 2013-12-16 | 2019-07-16 | Universal Display Corporation | Metal complex for phosphorescent OLED |
| US10355222B2 (en) | 2015-02-06 | 2019-07-16 | Universal Display Corporation | Organic electroluminescent materials and devices |
| US10361381B2 (en) | 2015-09-03 | 2019-07-23 | Universal Display Corporation | Organic electroluminescent materials and devices |
| US10361375B2 (en) | 2014-10-06 | 2019-07-23 | Universal Display Corporation | Organic electroluminescent materials and devices |
| JP2019135768A (en)* | 2008-09-05 | 2019-08-15 | 株式会社半導体エネルギー研究所 | Light emitting element, light emitting device, and lighting device |
| US10388892B2 (en) | 2015-10-29 | 2019-08-20 | Universal Display Corporation | Organic electroluminescent materials and devices |
| US10388893B2 (en) | 2015-10-29 | 2019-08-20 | Universal Display Corporation | Organic electroluminescent materials and devices |
| US10403825B2 (en) | 2014-02-27 | 2019-09-03 | Universal Display Corporation | Organic electroluminescent materials and devices |
| US10400163B2 (en) | 2013-02-08 | 2019-09-03 | Universal Display Corporation | Organic electroluminescent materials and devices |
| US10403830B2 (en) | 2014-05-08 | 2019-09-03 | Universal Display Corporation | Organic electroluminescent materials and devices |
| US10403826B2 (en) | 2015-05-07 | 2019-09-03 | Universal Display Corporation | Organic electroluminescent materials and devices |
| US10411201B2 (en) | 2014-11-12 | 2019-09-10 | Universal Display Corporation | Organic electroluminescent materials and devices |
| US10411200B2 (en) | 2014-08-07 | 2019-09-10 | Universal Display Corporation | Electroluminescent (2-phenylpyridine)iridium complexes and devices |
| US10418568B2 (en) | 2015-06-01 | 2019-09-17 | Universal Display Corporation | Organic electroluminescent materials and devices |
| US10418562B2 (en) | 2015-02-06 | 2019-09-17 | Universal Display Corporation | Organic electroluminescent materials and devices |
| US10418569B2 (en) | 2015-01-25 | 2019-09-17 | Universal Display Corporation | Organic electroluminescent materials and devices |
| US10457699B2 (en) | 2014-05-02 | 2019-10-29 | Universal Display Corporation | Organic electroluminescent materials and devices |
| US10461260B2 (en) | 2014-06-03 | 2019-10-29 | Universal Display Corporation | Organic electroluminescent materials and devices |
| US10457864B2 (en) | 2016-02-09 | 2019-10-29 | Universal Display Corporation | Organic electroluminescent materials and devices |
| US10468609B2 (en) | 2016-06-02 | 2019-11-05 | Universal Display Corporation | Organic electroluminescent materials and devices |
| US10476010B2 (en) | 2015-11-30 | 2019-11-12 | Universal Display Corporation | Organic electroluminescent materials and devices |
| US10490753B2 (en) | 2016-12-15 | 2019-11-26 | Universal Display Corporation | Organic electroluminescent materials and devices |
| US10505127B2 (en) | 2016-09-19 | 2019-12-10 | Universal Display Corporation | Organic electroluminescent materials and devices |
| WO2019235875A1 (en)* | 2018-06-07 | 2019-12-12 | 주식회사 엘지화학 | Compound and organic light-emitting diode comprising same |
| US10522769B2 (en) | 2015-08-18 | 2019-12-31 | Universal Display Corporation | Organic electroluminescent materials and devices |
| US10529931B2 (en) | 2015-03-24 | 2020-01-07 | Universal Display Corporation | Organic Electroluminescent materials and devices |
| US10566547B2 (en) | 2016-07-11 | 2020-02-18 | Universal Display Corporation | Organic electroluminescent materials and devices |
| US10566546B2 (en) | 2014-07-14 | 2020-02-18 | Universal Display Corporation | Organic electroluminescent materials and devices |
| US10566552B2 (en) | 2016-04-13 | 2020-02-18 | Universal Display Corporation | Organic electroluminescent materials and devices |
| US10593890B2 (en) | 2015-04-06 | 2020-03-17 | Universal Display Corporation | Organic electroluminescent materials and devices |
| US10593892B2 (en) | 2015-10-01 | 2020-03-17 | Universal Display Corporation | Organic electroluminescent materials and devices |
| US10600967B2 (en) | 2016-02-18 | 2020-03-24 | Universal Display Corporation | Organic electroluminescent materials and devices |
| US10600966B2 (en) | 2015-02-27 | 2020-03-24 | Universal Display Corporation | Organic electroluminescent materials and devices |
| US10608188B2 (en) | 2017-09-11 | 2020-03-31 | Universal Display Corporation | Organic electroluminescent materials and devices |
| US10608185B2 (en) | 2016-10-17 | 2020-03-31 | Univeral Display Corporation | Organic electroluminescent materials and devices |
| US10608186B2 (en) | 2016-09-14 | 2020-03-31 | Universal Display Corporation | Organic electroluminescent materials and devices |
| US10629820B2 (en) | 2017-01-18 | 2020-04-21 | Universal Display Corporation | Organic electroluminescent materials and devices |
| US10636978B2 (en) | 2014-12-30 | 2020-04-28 | Universal Display Corporation | Organic electroluminescent materials and devices |
| US10636983B2 (en) | 2014-05-08 | 2020-04-28 | Universal Display Corporation | Organic electroluminescent materials and devices |
| US10644247B2 (en) | 2015-02-06 | 2020-05-05 | Universal Display Corporation | Organic electroluminescent materials and devices |
| US10644251B2 (en) | 2013-12-04 | 2020-05-05 | Universal Display Corporation | Organic electroluminescent materials and devices |
| US10651403B2 (en) | 2016-06-20 | 2020-05-12 | Universal Display Corporation | Organic electroluminescent materials and devices |
| US10662196B2 (en) | 2016-11-17 | 2020-05-26 | Universal Display Corporation | Organic electroluminescent materials and devices |
| US10672997B2 (en) | 2016-06-20 | 2020-06-02 | Universal Display Corporation | Organic electroluminescent materials and devices |
| US10672998B2 (en) | 2017-03-23 | 2020-06-02 | Universal Display Corporation | Organic electroluminescent materials and devices |
| US10680190B2 (en) | 2014-08-06 | 2020-06-09 | Samsung Sdi Co., Ltd. | Organic compound, organic optoelectronic element, and display device |
| US10680188B2 (en) | 2016-11-11 | 2020-06-09 | Universal Display Corporation | Organic electroluminescent materials and devices |
| US10680183B2 (en) | 2015-02-15 | 2020-06-09 | Universal Display Corporation | Organic electroluminescent materials and devices |
| US10686140B2 (en) | 2016-06-20 | 2020-06-16 | Universal Display Corporation | Organic electroluminescent materials and devices |
| US10686143B2 (en) | 2015-03-05 | 2020-06-16 | Universal Display Corporation | Organic electroluminescent materials and devices |
| DE102013200085B4 (en) | 2012-01-06 | 2020-06-18 | Universal Display Corporation | Highly efficient phosphorescent materials |
| US10707423B2 (en) | 2014-02-21 | 2020-07-07 | Universal Display Corporation | Organic electroluminescent materials and devices |
| US10707427B2 (en) | 2016-02-09 | 2020-07-07 | Universal Display Corporation | Organic electroluminescent materials and devices |
| US10720587B2 (en) | 2016-07-19 | 2020-07-21 | Universal Display Corporation | Organic electroluminescent materials and devices |
| US10727423B2 (en) | 2016-06-20 | 2020-07-28 | Universal Display Corporation | Organic electroluminescent materials and devices |
| US10741780B2 (en) | 2017-03-10 | 2020-08-11 | Universal Display Corporation | Organic electroluminescent materials and devices |
| US10745431B2 (en) | 2017-03-08 | 2020-08-18 | Universal Display Corporation | Organic electroluminescent materials and devices |
| US10749113B2 (en) | 2014-09-29 | 2020-08-18 | Universal Display Corporation | Organic electroluminescent materials and devices |
| US10770664B2 (en) | 2015-09-21 | 2020-09-08 | Universal Display Corporation | Organic electroluminescent materials and devices |
| US10777754B2 (en) | 2017-04-11 | 2020-09-15 | Universal Display Corporation | Organic electroluminescent materials and devices |
| US10777749B2 (en) | 2015-05-07 | 2020-09-15 | Universal Display Corporation | Organic electroluminescent materials and devices |
| US10790455B2 (en) | 2017-05-18 | 2020-09-29 | Universal Display Corporation | Organic electroluminescent materials and devices |
| US10804475B2 (en) | 2017-01-11 | 2020-10-13 | Universal Display Corporation | Organic electroluminescent materials and devices |
| US10811618B2 (en) | 2016-12-19 | 2020-10-20 | Universal Display Corporation | Organic electroluminescent materials and devices |
| US10822362B2 (en) | 2017-05-11 | 2020-11-03 | Universal Display Corporation | Organic electroluminescent materials and devices |
| US10825997B2 (en) | 2015-06-25 | 2020-11-03 | Universal Display Corporation | Organic electroluminescent materials and devices |
| US10822361B2 (en) | 2017-02-22 | 2020-11-03 | Universal Display Corporation | Organic electroluminescent materials and devices |
| US10833276B2 (en) | 2016-11-21 | 2020-11-10 | Universal Display Corporation | Organic electroluminescent materials and devices |
| US10840459B2 (en) | 2017-05-18 | 2020-11-17 | Universal Display Corporation | Organic electroluminescent materials and devices |
| US10840458B2 (en) | 2016-05-25 | 2020-11-17 | Universal Display Corporation | Organic electroluminescent materials and devices |
| US10847728B2 (en) | 2015-10-01 | 2020-11-24 | Universal Display Corporation | Organic electroluminescent materials and devices |
| US10844085B2 (en) | 2017-03-29 | 2020-11-24 | Universal Display Corporation | Organic electroluminescent materials and devices |
| US10854826B2 (en) | 2014-10-08 | 2020-12-01 | Universal Display Corporation | Organic electroluminescent compounds, compositions and devices |
| US10862054B2 (en) | 2016-06-20 | 2020-12-08 | Universal Display Corporation | Organic electroluminescent materials and devices |
| US10862046B2 (en) | 2017-03-30 | 2020-12-08 | Universal Display Corporation | Organic electroluminescent materials and devices |
| US10862055B2 (en) | 2017-05-05 | 2020-12-08 | Universal Display Corporation | Organic electroluminescent materials and devices |
| US10868261B2 (en) | 2014-11-10 | 2020-12-15 | Universal Display Corporation | Organic electroluminescent materials and devices |
| US10873036B2 (en) | 2015-07-07 | 2020-12-22 | Universal Display Corporation | Organic electroluminescent materials and devices |
| US10873037B2 (en) | 2017-03-28 | 2020-12-22 | Universal Display Corporation | Organic electroluminescent materials and devices |
| US10870668B2 (en) | 2017-05-05 | 2020-12-22 | Universal Display Corporation | Organic electroluminescent materials and devices |
| US10910577B2 (en) | 2017-03-28 | 2021-02-02 | Universal Display Corporation | Organic electroluminescent materials and devices |
| US10910570B2 (en) | 2017-04-28 | 2021-02-02 | Universal Display Corporation | Organic electroluminescent materials and devices |
| US10930862B2 (en) | 2017-06-01 | 2021-02-23 | Universal Display Corporation | Organic electroluminescent materials and devices |
| US10930866B2 (en) | 2013-07-25 | 2021-02-23 | Universal Display Corporation | Organic electroluminescent materials and devices |
| US10930864B2 (en) | 2017-05-10 | 2021-02-23 | Universal Display Corporation | Organic electroluminescent materials and devices |
| US10934293B2 (en) | 2017-05-18 | 2021-03-02 | Universal Display Corporation | Organic electroluminescent materials and devices |
| US10944062B2 (en) | 2017-05-18 | 2021-03-09 | Universal Display Corporation | Organic electroluminescent materials and devices |
| US10941170B2 (en) | 2017-05-03 | 2021-03-09 | Universal Display Corporation | Organic electroluminescent materials and devices |
| US10944060B2 (en) | 2017-05-11 | 2021-03-09 | Universal Display Corporation | Organic electroluminescent materials and devices |
| US10950803B2 (en) | 2014-10-13 | 2021-03-16 | Universal Display Corporation | Compounds and uses in devices |
| US10957861B2 (en) | 2015-12-29 | 2021-03-23 | Universal Display Corporation | Organic electroluminescent materials and devices |
| US10957870B2 (en) | 2012-09-07 | 2021-03-23 | Universal Display Corporation | Organic light emitting device |
| US10957866B2 (en) | 2016-06-30 | 2021-03-23 | Universal Display Corporation | Organic electroluminescent materials and devices |
| US10964904B2 (en) | 2017-01-20 | 2021-03-30 | Universal Display Corporation | Organic electroluminescent materials and devices |
| US10964893B2 (en) | 2016-11-17 | 2021-03-30 | Universal Display Corporation | Organic electroluminescent materials and devices |
| US10971687B2 (en) | 2017-12-14 | 2021-04-06 | Universal Display Corporation | Organic electroluminescent materials and devices |
| US10968226B2 (en) | 2017-06-23 | 2021-04-06 | Universal Display Corporation | Organic electroluminescent materials and devices |
| US10975113B2 (en) | 2017-04-21 | 2021-04-13 | Universal Display Corporation | Organic electroluminescent materials and devices |
| US10978647B2 (en) | 2017-02-15 | 2021-04-13 | Universal Display Corporation | Organic electroluminescent materials and devices |
| CN112679511A (en)* | 2020-12-14 | 2021-04-20 | 阜阳欣奕华材料科技有限公司 | Organic electroluminescent material and application thereof |
| US10991895B2 (en) | 2015-10-06 | 2021-04-27 | Universal Display Corporation | Organic electroluminescent materials and devices |
| US10998507B2 (en) | 2015-11-23 | 2021-05-04 | Universal Display Corporation | Organic electroluminescent materials and devices |
| CN112794814A (en)* | 2019-11-14 | 2021-05-14 | 环球展览公司 | Organic Electroluminescent Materials and Devices |
| US11011709B2 (en) | 2016-10-07 | 2021-05-18 | Universal Display Corporation | Organic electroluminescent materials and devices |
| US11018309B2 (en) | 2015-08-03 | 2021-05-25 | Universal Display Corporation | Organic electroluminescent materials and devices |
| US11024808B2 (en) | 2015-12-29 | 2021-06-01 | Universal Display Corporation | Organic electroluminescent materials and devices |
| US11038117B2 (en) | 2017-04-11 | 2021-06-15 | Universal Display Corporation | Organic electroluminescent materials and devices |
| US11038137B2 (en) | 2017-04-28 | 2021-06-15 | Universal Display Corporation | Organic electroluminescent materials and devices |
| US11038115B2 (en) | 2017-05-18 | 2021-06-15 | Universal Display Corporation | Organic electroluminescent materials and device |
| US11050028B2 (en) | 2017-01-24 | 2021-06-29 | Universal Display Corporation | Organic electroluminescent materials and devices |
| US11056657B2 (en) | 2015-02-27 | 2021-07-06 | University Display Corporation | Organic electroluminescent materials and devices |
| US11056658B2 (en) | 2017-03-29 | 2021-07-06 | Universal Display Corporation | Organic electroluminescent materials and devices |
| US11053268B2 (en) | 2017-01-20 | 2021-07-06 | Universal Display Corporation | Organic electroluminescent materials and devices |
| US11081659B2 (en) | 2018-01-10 | 2021-08-03 | Universal Display Corporation | Organic electroluminescent materials and devices |
| US11081658B2 (en) | 2016-10-03 | 2021-08-03 | Universal Display Corporation | Organic electroluminescent materials and devices |
| US11081647B2 (en) | 2016-04-22 | 2021-08-03 | Universal Display Corporation | Organic electroluminescent materials and devices |
| US11084838B2 (en) | 2017-04-21 | 2021-08-10 | Universal Display Corporation | Organic electroluminescent materials and device |
| US11094891B2 (en) | 2016-03-16 | 2021-08-17 | Universal Display Corporation | Organic electroluminescent materials and devices |
| US11101434B2 (en) | 2017-04-21 | 2021-08-24 | Universal Display Corporation | Organic electroluminescent materials and devices |
| US11108000B2 (en) | 2014-08-07 | 2021-08-31 | Unniversal Display Corporation | Organic electroluminescent materials and devices |
| US11117897B2 (en) | 2017-05-01 | 2021-09-14 | Universal Display Corporation | Organic electroluminescent materials and devices |
| US11127906B2 (en) | 2016-10-03 | 2021-09-21 | Universal Display Corporation | Organic electroluminescent materials and devices |
| US11127905B2 (en) | 2015-07-29 | 2021-09-21 | Universal Display Corporation | Organic electroluminescent materials and devices |
| US11139443B2 (en) | 2017-03-31 | 2021-10-05 | Universal Display Corporation | Organic electroluminescent materials and devices |
| US11142538B2 (en) | 2018-03-12 | 2021-10-12 | Universal Display Corporation | Organic electroluminescent materials and devices |
| US11152579B2 (en) | 2016-12-28 | 2021-10-19 | Universal Display Corporation | Organic electroluminescent materials and devices |
| US11158820B2 (en) | 2017-03-29 | 2021-10-26 | Universal Display Corporation | Organic electroluminescent materials and devices |
| US11165028B2 (en) | 2018-03-12 | 2021-11-02 | Universal Display Corporation | Organic electroluminescent materials and devices |
| US11168103B2 (en) | 2017-11-17 | 2021-11-09 | Universal Display Corporation | Organic electroluminescent materials and devices |
| US11174259B2 (en) | 2017-06-23 | 2021-11-16 | Universal Display Corporation | Organic electroluminescent materials and devices |
| US11183642B2 (en) | 2016-10-03 | 2021-11-23 | Universal Display Corporation | Organic electroluminescent materials and devices |
| US11183646B2 (en) | 2017-11-07 | 2021-11-23 | Universal Display Corporation | Organic electroluminescent materials and devices |
| US11180519B2 (en) | 2018-02-09 | 2021-11-23 | Universal Display Corporation | Organic electroluminescent materials and devices |
| US11189804B2 (en) | 2016-10-03 | 2021-11-30 | Universal Display Corporation | Organic electroluminescent materials and devices |
| US11196010B2 (en) | 2016-10-03 | 2021-12-07 | Universal Display Corporation | Organic electroluminescent materials and devices |
| US11201299B2 (en) | 2017-05-04 | 2021-12-14 | Universal Display Corporation | Organic electroluminescent materials and devices |
| US11201298B2 (en) | 2017-01-09 | 2021-12-14 | Universal Display Corporation | Organic electroluminescent materials and devices |
| US11217757B2 (en) | 2018-03-12 | 2022-01-04 | Universal Display Corporation | Host materials for electroluminescent devices |
| US11214587B2 (en) | 2017-11-07 | 2022-01-04 | Universal Display Corporation | Organic electroluminescent materials and devices |
| US11228010B2 (en) | 2017-07-26 | 2022-01-18 | Universal Display Corporation | Organic electroluminescent materials and devices |
| US11228004B2 (en) | 2018-06-22 | 2022-01-18 | Universal Display Corporation | Organic electroluminescent materials and devices |
| US11228002B2 (en) | 2016-04-22 | 2022-01-18 | Universal Display Corporation | Organic electroluminescent materials and devices |
| US11228003B2 (en) | 2016-04-22 | 2022-01-18 | Universal Display Corporation | Organic electroluminescent materials and devices |
| US11233203B2 (en) | 2018-09-06 | 2022-01-25 | Universal Display Corporation | Organic electroluminescent materials and devices |
| US11233204B2 (en) | 2017-12-14 | 2022-01-25 | Universal Display Corporation | Organic electroluminescent materials and devices |
| US11233205B2 (en) | 2017-12-14 | 2022-01-25 | Universal Display Corporation | Organic electroluminescent materials and devices |
| US11239433B2 (en) | 2017-07-26 | 2022-02-01 | Universal Display Corporation | Organic electroluminescent materials and devices |
| US11239432B2 (en) | 2016-10-14 | 2022-02-01 | Universal Display Corporation | Organic electroluminescent materials and devices |
| US11239434B2 (en) | 2018-02-09 | 2022-02-01 | Universal Display Corporation | Organic electroluminescent materials and devices |
| US11261207B2 (en) | 2018-06-25 | 2022-03-01 | Universal Display Corporation | Organic electroluminescent materials and devices |
| US11271177B2 (en) | 2018-01-11 | 2022-03-08 | Universal Display Corporation | Organic electroluminescent materials and devices |
| US11276829B2 (en) | 2017-03-31 | 2022-03-15 | Universal Display Corporation | Organic electroluminescent materials and devices |
| US11279722B2 (en) | 2018-03-12 | 2022-03-22 | Universal Display Corporation | Organic electroluminescent materials and devices |
| US11296283B2 (en) | 2018-06-04 | 2022-04-05 | Universal Display Corporation | Organic electroluminescent materials and devices |
| US11302872B2 (en) | 2015-09-09 | 2022-04-12 | Universal Display Corporation | Organic electroluminescent materials and devices |
| US11322691B2 (en) | 2017-07-26 | 2022-05-03 | Universal Display Corporation | Organic electroluminescent materials and devices |
| US11325932B2 (en) | 2019-02-08 | 2022-05-10 | Universal Display Corporation | Organic electroluminescent materials and devices |
| US11339182B2 (en) | 2018-06-07 | 2022-05-24 | Universal Display Corporation | Organic electroluminescent materials and devices |
| US11342513B2 (en) | 2018-05-04 | 2022-05-24 | Universal Display Corporation | Organic electroluminescent materials and devices |
| US11342509B2 (en) | 2018-02-09 | 2022-05-24 | Universal Display Corporation | Organic electroluminescent materials and devices |
| US11349083B2 (en) | 2017-08-10 | 2022-05-31 | Universal Display Corporation | Organic electroluminescent materials and devices |
| US11367840B2 (en) | 2018-01-26 | 2022-06-21 | Universal Display Corporation | Organic electroluminescent materials and devices |
| US11374181B2 (en) | 2019-08-14 | 2022-06-28 | Universal Display Corporation | Organic electroluminescent materials and devices |
| US11370809B2 (en) | 2019-02-08 | 2022-06-28 | Universal Display Corporation | Organic electroluminescent materials and devices |
| US11390639B2 (en) | 2018-04-13 | 2022-07-19 | Universal Display Corporation | Organic electroluminescent materials and devices |
| US11424420B2 (en) | 2017-09-07 | 2022-08-23 | Universal Display Corporation | Organic electroluminescent materials and devices |
| US11437591B2 (en) | 2017-08-24 | 2022-09-06 | Universal Display Corporation | Organic electroluminescent materials and devices |
| US11444249B2 (en) | 2017-09-07 | 2022-09-13 | Universal Display Corporation | Organic electroluminescent materials and devices |
| US11450822B2 (en) | 2018-05-25 | 2022-09-20 | Universal Display Corporation | Organic electroluminescent materials and devices |
| US11459349B2 (en) | 2018-05-25 | 2022-10-04 | Universal Display Corporation | Organic electroluminescent materials and devices |
| US11462697B2 (en) | 2017-08-22 | 2022-10-04 | Universal Display Corporation | Organic electroluminescent materials and devices |
| US11469383B2 (en) | 2018-10-08 | 2022-10-11 | Universal Display Corporation | Organic electroluminescent materials and devices |
| US11469382B2 (en) | 2017-07-12 | 2022-10-11 | Universal Display Corporation | Organic electroluminescent materials and devices |
| US11469384B2 (en) | 2018-11-02 | 2022-10-11 | Universal Display Corporation | Organic electroluminescent materials and devices |
| US11476430B2 (en) | 2018-10-15 | 2022-10-18 | Universal Display Corporation | Organic electroluminescent materials and devices |
| US11482683B2 (en) | 2016-06-20 | 2022-10-25 | Universal Display Corporation | Organic electroluminescent materials and devices |
| US11485706B2 (en) | 2018-09-11 | 2022-11-01 | Universal Display Corporation | Organic electroluminescent materials and devices |
| US11495749B2 (en) | 2015-04-06 | 2022-11-08 | Universal Display Corporation | Organic electroluminescent materials and devices |
| US11495757B2 (en) | 2017-06-23 | 2022-11-08 | Universal Display Corporation | Organic electroluminescent materials and devices |
| US11495752B2 (en) | 2018-10-08 | 2022-11-08 | Universal Display Corporation | Organic electroluminescent materials and devices |
| US11495756B2 (en) | 2019-05-07 | 2022-11-08 | Universal Display Corporation | Organic electroluminescent materials and devices |
| US11508913B2 (en) | 2017-08-10 | 2022-11-22 | Universal Display Corporation | Organic electroluminescent materials and devices |
| US11515494B2 (en) | 2018-05-04 | 2022-11-29 | Universal Display Corporation | Organic electroluminescent materials and devices |
| US11512093B2 (en) | 2019-03-04 | 2022-11-29 | Universal Display Corporation | Compound used for organic light emitting device (OLED), consumer product and formulation |
| US11515489B2 (en) | 2018-11-28 | 2022-11-29 | Universal Display Corporation | Host materials for electroluminescent devices |
| US11515482B2 (en) | 2018-10-23 | 2022-11-29 | Universal Display Corporation | Deep HOMO (highest occupied molecular orbital) emitter device structures |
| US11515493B2 (en) | 2018-01-11 | 2022-11-29 | Universal Display Corporation | Organic electroluminescent materials and devices |
| US11522140B2 (en) | 2015-08-17 | 2022-12-06 | Universal Display Corporation | Organic electroluminescent materials and devices |
| US11545636B2 (en) | 2016-12-15 | 2023-01-03 | Universal Display Corporation | Organic electroluminescent materials and devices |
| US11545637B2 (en) | 2017-01-13 | 2023-01-03 | Universal Display Corporation | Organic electroluminescent materials and devices |
| US11542289B2 (en) | 2018-01-26 | 2023-01-03 | Universal Display Corporation | Organic electroluminescent materials and devices |
| US11548905B2 (en) | 2016-12-15 | 2023-01-10 | Universal Display Corporation | Organic electroluminescent materials and devices |
| US11552261B2 (en) | 2017-06-23 | 2023-01-10 | Universal Display Corporation | Organic electroluminescent materials and devices |
| US11555048B2 (en) | 2016-12-01 | 2023-01-17 | Universal Display Corporation | Organic electroluminescent materials and devices |
| US11557733B2 (en) | 2018-03-12 | 2023-01-17 | Universal Display Corporation | Organic electroluminescent materials and devices |
| US11557738B2 (en) | 2019-02-22 | 2023-01-17 | Universal Display Corporation | Organic electroluminescent materials and devices |
| US11560398B2 (en) | 2019-05-07 | 2023-01-24 | Universal Display Corporation | Organic electroluminescent materials and devices |
| US11569480B2 (en) | 2019-03-12 | 2023-01-31 | Universal Display Corporation | Plasmonic OLEDs and vertical dipole emitters |
| US11600787B2 (en) | 2019-08-30 | 2023-03-07 | Universal Display Corporation | Organic electroluminescent materials and devices |
| US11605791B2 (en) | 2017-09-01 | 2023-03-14 | Universal Display Corporation | Organic electroluminescent materials and devices |
| CN115819430A (en)* | 2023-02-07 | 2023-03-21 | 烟台显华科技集团股份有限公司 | Azadibenzo five-membered ring compound and application thereof |
| US11608321B2 (en) | 2017-06-23 | 2023-03-21 | Universal Display Corporation | Organic electroluminescent materials and devices |
| US11616203B2 (en) | 2018-04-17 | 2023-03-28 | Universal Display Corporation | Organic electroluminescent materials and devices |
| US11613550B2 (en) | 2019-04-30 | 2023-03-28 | Universal Display Corporation | Organic electroluminescent materials and devices comprising benzimidazole-containing metal complexes |
| US11623936B2 (en) | 2018-12-11 | 2023-04-11 | Universal Display Corporation | Organic electroluminescent materials and devices |
| US11637251B2 (en) | 2009-03-23 | 2023-04-25 | Universal Display Corporation | Organic electroluminescent materials and devices |
| US11634445B2 (en) | 2019-05-21 | 2023-04-25 | Universal Display Corporation | Organic electroluminescent materials and devices |
| US11637261B2 (en) | 2019-03-12 | 2023-04-25 | Universal Display Corporation | Nanopatch antenna outcoupling structure for use in OLEDs |
| US11639363B2 (en) | 2019-04-22 | 2023-05-02 | Universal Display Corporation | Organic electroluminescent materials and devices |
| US11647667B2 (en) | 2019-06-14 | 2023-05-09 | Universal Display Corporation | Organic electroluminescent compounds and organic light emitting devices using the same |
| WO2023096454A1 (en)* | 2021-11-29 | 2023-06-01 | 주식회사 엘지화학 | Novel compound and organic light-emitting device using same |
| US11672176B2 (en) | 2018-11-28 | 2023-06-06 | Universal Display Corporation | Host materials for electroluminescent devices |
| US11672165B2 (en) | 2018-11-28 | 2023-06-06 | Universal Display Corporation | Organic electroluminescent materials and devices |
| US11678565B2 (en) | 2017-06-23 | 2023-06-13 | Universal Display Corporation | Organic electroluminescent materials and devices |
| US11685754B2 (en) | 2019-07-22 | 2023-06-27 | Universal Display Corporation | Heteroleptic organic electroluminescent materials |
| US11690285B2 (en) | 2018-11-28 | 2023-06-27 | Universal Display Corporation | Electroluminescent devices |
| US11696492B2 (en) | 2017-09-07 | 2023-07-04 | Universal Display Corporation | Organic electroluminescent materials and devices |
| US11697653B2 (en) | 2019-10-21 | 2023-07-11 | Universal Display Corporation | Organic electroluminescent materials and devices |
| US11700765B2 (en) | 2018-01-10 | 2023-07-11 | Universal Display Corporation | Organic electroluminescent materials and devices |
| US11706972B2 (en) | 2015-09-08 | 2023-07-18 | Universal Display Corporation | Organic electroluminescent materials and devices |
| US11708355B2 (en) | 2019-08-01 | 2023-07-25 | Universal Display Corporation | Organic electroluminescent materials and devices |
| US11716900B2 (en) | 2018-05-30 | 2023-08-01 | Universal Display Corporation | Host materials for electroluminescent devices |
| US11716899B2 (en) | 2018-11-28 | 2023-08-01 | Universal Display Corporation | Organic electroluminescent materials and devices |
| US11718634B2 (en) | 2018-09-14 | 2023-08-08 | Universal Display Corporation | Organic electroluminescent materials and devices |
| US11723269B2 (en) | 2017-08-22 | 2023-08-08 | Universal Display Corporation | Organic electroluminescent materials and devices |
| US11725022B2 (en) | 2017-06-23 | 2023-08-15 | Universal Display Corporation | Organic electroluminescent materials and devices |
| US11737349B2 (en) | 2018-12-12 | 2023-08-22 | Universal Display Corporation | Organic electroluminescent materials and devices |
| US11744142B2 (en) | 2017-08-10 | 2023-08-29 | Universal Display Corporation | Organic electroluminescent materials and devices |
| US11744141B2 (en) | 2017-08-09 | 2023-08-29 | Universal Display Corporation | Organic electroluminescent materials and devices |
| US11739081B2 (en) | 2019-03-11 | 2023-08-29 | Universal Display Corporation | Organic electroluminescent materials and devices |
| US11758804B2 (en) | 2017-06-23 | 2023-09-12 | Universal Display Corporation | Organic electroluminescent materials and devices |
| US11753427B2 (en) | 2018-05-04 | 2023-09-12 | Universal Display Corporation | Organic electroluminescent materials and devices |
| US11753425B2 (en) | 2018-07-11 | 2023-09-12 | Universal Display Corporation | Organic electroluminescent materials and devices |
| US11765965B2 (en) | 2019-10-30 | 2023-09-19 | Universal Display Corporation | Organic electroluminescent materials and devices |
| US11765970B2 (en) | 2017-07-26 | 2023-09-19 | Universal Display Corporation | Organic electroluminescent materials and devices |
| US11765968B2 (en) | 2017-01-23 | 2023-09-19 | Universal Display Corporation | Organic electroluminescent materials and devices |
| US11778895B2 (en) | 2020-01-13 | 2023-10-03 | Universal Display Corporation | Organic electroluminescent materials and devices |
| US11773320B2 (en) | 2019-02-21 | 2023-10-03 | Universal Display Corporation | Organic electroluminescent materials and devices |
| US11778897B2 (en) | 2017-09-20 | 2023-10-03 | Universal Display Corporation | Organic electroluminescent materials and devices |
| US11780829B2 (en) | 2019-01-30 | 2023-10-10 | The University Of Southern California | Organic electroluminescent materials and devices |
| US11780865B2 (en) | 2017-01-09 | 2023-10-10 | Universal Display Corporation | Organic electroluminescent materials and devices |
| US11793073B2 (en) | 2018-05-06 | 2023-10-17 | Universal Display Corporation | Host materials for electroluminescent devices |
| US11802136B2 (en) | 2017-06-23 | 2023-10-31 | Universal Display Corporation | Organic electroluminescent materials and devices |
| EP4271160A2 (en) | 2015-02-13 | 2023-11-01 | Merck Patent GmbH | Aromatic heterocyclic derivative, and organic electroluminescent element, illumination device, and display device using aromatic heterocyclic derivative |
| US11812624B2 (en) | 2019-01-30 | 2023-11-07 | The University Of Southern California | Organic electroluminescent materials and devices |
| US11812622B2 (en) | 2015-09-25 | 2023-11-07 | Universal Display Corporation | Organic electroluminescent compounds and devices |
| US11818949B2 (en) | 2015-04-06 | 2023-11-14 | Universal Display Corporation | Organic electroluminescent materials and devices |
| US11814403B2 (en) | 2017-06-23 | 2023-11-14 | Universal Display Corporation | Organic electroluminescent materials and devices |
| US11825736B2 (en) | 2018-11-19 | 2023-11-21 | Universal Display Corporation | Organic electroluminescent materials and devices |
| US11820783B2 (en) | 2019-09-06 | 2023-11-21 | Universal Display Corporation | Organic electroluminescent materials and devices |
| US11832510B2 (en) | 2017-06-23 | 2023-11-28 | Universal Display Corporation | Organic electroluminescent materials and devices |
| US11827651B2 (en) | 2019-05-13 | 2023-11-28 | Universal Display Corporation | Organic electroluminescent materials and devices |
| CN117177978A (en)* | 2021-11-12 | 2023-12-05 | 株式会社Lg化学 | Compounds and organic light-emitting devices containing the same |
| US11834459B2 (en) | 2018-12-12 | 2023-12-05 | Universal Display Corporation | Host materials for electroluminescent devices |
| US11845764B2 (en) | 2018-01-26 | 2023-12-19 | Universal Display Corporation | Organic electroluminescent materials and devices |
| US11864458B2 (en) | 2019-10-08 | 2024-01-02 | Universal Display Corporation | Organic electroluminescent materials and devices |
| US11871653B2 (en) | 2019-02-22 | 2024-01-09 | Universal Display Corporation | Organic electroluminescent materials and devices |
| US11882759B2 (en) | 2018-04-13 | 2024-01-23 | Universal Display Corporation | Organic electroluminescent materials and devices |
| US11889708B2 (en) | 2019-11-14 | 2024-01-30 | Universal Display Corporation | Organic electroluminescent materials and devices |
| US11903305B2 (en) | 2018-09-24 | 2024-02-13 | Universal Display Corporation | Organic electroluminescent materials and devices |
| US11910700B2 (en) | 2009-03-23 | 2024-02-20 | Universal Display Corporation | Heteroleptic iridium complexes as dopants |
| US11910699B2 (en) | 2017-08-10 | 2024-02-20 | Universal Display Corporation | Organic electroluminescent materials and devices |
| US11910702B2 (en) | 2017-11-07 | 2024-02-20 | Universal Display Corporation | Organic electroluminescent devices |
| US11917843B2 (en) | 2017-07-26 | 2024-02-27 | Universal Display Corporation | Organic electroluminescent materials and devices |
| US11917900B2 (en) | 2020-01-28 | 2024-02-27 | Universal Display Corporation | Organic electroluminescent materials and devices |
| US11919914B2 (en) | 2019-10-25 | 2024-03-05 | Universal Display Corporation | Organic electroluminescent materials and devices |
| US11925103B2 (en) | 2018-06-05 | 2024-03-05 | Universal Display Corporation | Organic electroluminescent materials and devices |
| US11925102B2 (en) | 2015-06-04 | 2024-03-05 | Universal Display Corporation | Organic electroluminescent materials and devices |
| US11925105B2 (en) | 2019-08-26 | 2024-03-05 | Universal Display Corporation | Organic electroluminescent materials and devices |
| US11920070B2 (en) | 2019-07-12 | 2024-03-05 | The University Of Southern California | Luminescent janus-type, two-coordinated metal complexes |
| US11926638B2 (en) | 2019-07-22 | 2024-03-12 | Universal Display Corporation | Organic electroluminescent materials and devices |
| US11930699B2 (en) | 2019-08-15 | 2024-03-12 | Universal Display Corporation | Organic electroluminescent materials and devices |
| US11932660B2 (en) | 2020-01-29 | 2024-03-19 | Universal Display Corporation | Organic electroluminescent materials and devices |
| US11937494B2 (en) | 2019-08-28 | 2024-03-19 | Universal Display Corporation | Organic electroluminescent materials and devices |
| US11937503B2 (en) | 2017-11-30 | 2024-03-19 | Universal Display Corporation | Organic electroluminescent materials and devices |
| US11944000B2 (en) | 2013-10-29 | 2024-03-26 | Universal Display Corporation | Organic electroluminescent materials and devices |
| US11950493B2 (en) | 2019-10-15 | 2024-04-02 | Universal Display Corporation | Organic electroluminescent materials and devices |
| US11957050B2 (en) | 2018-02-09 | 2024-04-09 | Universal Display Corporation | Organic electroluminescent materials and devices |
| US11963441B2 (en) | 2018-11-26 | 2024-04-16 | Universal Display Corporation | Organic electroluminescent materials and devices |
| US11963438B2 (en) | 2019-03-26 | 2024-04-16 | The University Of Southern California | Organic electroluminescent materials and devices |
| US11968883B2 (en) | 2017-07-26 | 2024-04-23 | Universal Display Corporation | Organic electroluminescent materials and devices |
| US11970508B2 (en) | 2020-04-22 | 2024-04-30 | Universal Display Corporation | Organic electroluminescent materials and devices |
| US11980094B2 (en) | 2016-11-14 | 2024-05-07 | Universal Display Corporation | Organic electroluminescent materials and devices |
| US11985888B2 (en) | 2019-08-12 | 2024-05-14 | The Regents Of The University Of Michigan | Organic electroluminescent device |
| US11999886B2 (en) | 2019-09-26 | 2024-06-04 | Universal Display Corporation | Organic electroluminescent materials and devices |
| US12010859B2 (en) | 2019-05-24 | 2024-06-11 | Universal Display Corporation | Organic electroluminescent materials and devices |
| US12018035B2 (en) | 2020-03-23 | 2024-06-25 | Universal Display Corporation | Organic electroluminescent materials and devices |
| US12029055B2 (en) | 2018-01-30 | 2024-07-02 | The University Of Southern California | OLED with hybrid emissive layer |
| US12035613B2 (en) | 2020-05-26 | 2024-07-09 | Universal Display Corporation | Organic electroluminescent materials and devices |
| US12048237B2 (en) | 2016-05-05 | 2024-07-23 | Universal Display Corporation | Organic electroluminescent materials and devices |
| US12058929B2 (en) | 2015-06-04 | 2024-08-06 | Universal Display Corporation | Organic electroluminescent materials and devices |
| US12065451B2 (en) | 2020-08-19 | 2024-08-20 | Universal Display Corporation | Organic electroluminescent materials and devices |
| US12075690B2 (en) | 2017-12-14 | 2024-08-27 | Universal Display Corporation | Organic electroluminescent materials and devices |
| US12075691B2 (en) | 2019-04-30 | 2024-08-27 | Universal Display Corporation | Organic electroluminescent materials and devices |
| US12077550B2 (en) | 2019-07-02 | 2024-09-03 | Universal Display Corporation | Organic electroluminescent materials and devices |
| US12089486B2 (en) | 2017-02-08 | 2024-09-10 | Universal Display Corporation | Organic electroluminescent materials and devices |
| US12084465B2 (en) | 2020-02-24 | 2024-09-10 | Universal Display Corporation | Organic electroluminescent materials and devices |
| US12098157B2 (en) | 2017-06-23 | 2024-09-24 | Universal Display Corporation | Organic electroluminescent materials and devices |
| US12103942B2 (en) | 2019-05-13 | 2024-10-01 | Universal Display Corporation | Organic electroluminescent materials and devices |
| US12122793B2 (en) | 2019-03-27 | 2024-10-22 | Universal Display Corporation | Organic electroluminescent materials and devices |
| US12137606B2 (en) | 2020-10-20 | 2024-11-05 | Universal Display Corporation | Organic electroluminescent materials and devices |
| US12137605B2 (en) | 2019-02-08 | 2024-11-05 | Universal Display Corporation | Organic electroluminescent materials and devices |
| US12139501B2 (en) | 2019-08-16 | 2024-11-12 | Universal Display Corporation | Organic electroluminescent materials and devices |
| US12144244B2 (en) | 2019-09-10 | 2024-11-12 | Universal Display Corporation | Organic electroluminescent materials and devices |
| US12156463B2 (en) | 2020-02-07 | 2024-11-26 | Universal Display Corporation | Organic electroluminescent materials and devices |
| US12156464B2 (en) | 2014-11-25 | 2024-11-26 | Universal Display Corporation | Organic electroluminescent materials and devices |
| US12157748B2 (en) | 2020-07-30 | 2024-12-03 | Universal Display Corporation | Organic electroluminescent materials and devices |
| US12167673B2 (en) | 2018-12-19 | 2024-12-10 | Universal Display Corporation | Organic electroluminescent materials and devices |
| US12171137B2 (en) | 2018-09-10 | 2024-12-17 | Universal Display Corporation | Organic electroluminescent materials and devices |
| US12171138B2 (en) | 2005-05-06 | 2024-12-17 | Universal Display Corporation | Organic electroluminescent materials and devices |
| US12187751B2 (en) | 2020-01-08 | 2025-01-07 | Universal Display Corporation | Organic electroluminescent materials and devices |
| US12201013B2 (en) | 2020-01-08 | 2025-01-14 | Universal Display Corporation | Organic electroluminescent materials and devices |
| US12221455B2 (en) | 2020-09-24 | 2025-02-11 | Universal Display Corporation | Organic electroluminescent materials and devices |
| US12227525B2 (en) | 2019-08-14 | 2025-02-18 | Universal Display Corporation | Organic electroluminescent materials and devices |
| US12234249B2 (en) | 2019-08-21 | 2025-02-25 | Universal Display Corporation | Organic electroluminescent materials and devices |
| US12234251B2 (en) | 2020-03-04 | 2025-02-25 | Universal Display Corporation | Organic electroluminescent materials and devices |
| US12245504B2 (en) | 2020-10-26 | 2025-03-04 | Universal Display Corporation | Organic electroluminescent materials and devices |
| US12245502B2 (en) | 2020-02-03 | 2025-03-04 | Universal Display Corporation | Organic electroluminescent materials and devices |
| US12240865B2 (en) | 2019-03-27 | 2025-03-04 | Universal Display Corporation | Organic electroluminescent materials and devices |
| US12247043B2 (en) | 2020-06-11 | 2025-03-11 | Universal Display Corporation | Organic electroluminescent material and formulations, and its various uses as hosts, fluorescent dopants, and acceptors in organic light emitting diodes |
| US12247042B2 (en) | 2020-10-26 | 2025-03-11 | Universal Display Corporation | Organic electroluminescent materials and devices |
| US12250872B2 (en) | 2019-02-22 | 2025-03-11 | Universal Display Corporation | Organic electroluminescent materials and devices |
| US12252499B2 (en) | 2020-09-29 | 2025-03-18 | Universal Display Corporation | Organic electroluminescent materials and devices |
| US12262631B2 (en) | 2020-11-10 | 2025-03-25 | Universal Display Corporation | Organic electroluminescent materials and devices |
| US12279516B2 (en) | 2020-06-17 | 2025-04-15 | Universal Display Corporation | Organic electroluminescent materials and devices |
| US12275747B2 (en) | 2020-06-02 | 2025-04-15 | Universal Display Corporation | Organic electroluminescent materials and devices |
| US12279520B2 (en) | 2020-04-22 | 2025-04-15 | Universal Display Corporation | Organic electroluminescent materials and devices |
| US12281129B2 (en) | 2018-12-12 | 2025-04-22 | Universal Display Corporation | Organic electroluminescent materials and devices |
| US12281128B2 (en) | 2019-07-30 | 2025-04-22 | Universal Display Corporation | Organic electroluminescent materials and devices |
| US12286447B2 (en) | 2020-10-06 | 2025-04-29 | Universal Display Corporation | Organic electroluminescent materials and devices |
| US12286410B2 (en) | 2020-05-18 | 2025-04-29 | Universal Display Corporation | Organic electroluminescent materials and devices |
| US12289986B2 (en) | 2020-08-25 | 2025-04-29 | Universal Display Corporation | Organic electroluminescent materials and devices |
| US12295251B2 (en) | 2019-08-01 | 2025-05-06 | Universal Display Corporation | Organic electroluminescent materials and devices |
| US12312365B2 (en) | 2020-10-12 | 2025-05-27 | Universal Display Corporation | Organic electroluminescent materials and devices |
| US12317745B2 (en) | 2016-11-09 | 2025-05-27 | Universal Display Corporation | Organic electroluminescent materials and devices |
| US12324348B2 (en) | 2020-02-28 | 2025-06-03 | Universal Display Corporation | Organic electroluminescent materials and devices |
| US12325717B2 (en) | 2020-11-24 | 2025-06-10 | Universal Display Corporation | Organic electroluminescent materials and devices |
| US12336427B2 (en) | 2020-07-09 | 2025-06-17 | Universal Display Corporation | Organic electroluminescent materials and devices |
| US12331065B2 (en) | 2019-09-26 | 2025-06-17 | Universal Display Corporation | Organic electroluminescent materials and devices |
| US12331064B2 (en) | 2020-12-09 | 2025-06-17 | University Of Southern California | Tandem carbene phosphors |
| US12342716B2 (en) | 2020-12-09 | 2025-06-24 | University Of Southern California | Tandem-carbene phosphors |
| US12349589B2 (en) | 2020-01-28 | 2025-07-01 | Universal Display Corporation | Organic electroluminescent materials and devices |
| US12369488B2 (en) | 2020-09-09 | 2025-07-22 | Universal Display Corporation | Organic electroluminescent materials and devices |
| US12369487B2 (en) | 2020-08-05 | 2025-07-22 | Universal Display Corporation | Organic electroluminescent materials and devices |
| US12378197B2 (en) | 2018-07-13 | 2025-08-05 | Universal Display Corporation | Organic electroluminescent materials and devices |
| US12384809B2 (en) | 2019-09-06 | 2025-08-12 | Universal Display Corporation | Organic electroluminescent materials and devices |
| US12389791B2 (en) | 2017-09-21 | 2025-08-12 | Universal Display Corporation | Organic electroluminescent materials and devices |
| US12391876B2 (en) | 2017-01-03 | 2025-08-19 | Universal Display Corporation | Organic electroluminescent materials and devices |
| US12398164B2 (en) | 2021-02-01 | 2025-08-26 | Universal Display Corporation | Organic electroluminescent materials and devices |
| US12414433B2 (en) | 2022-02-11 | 2025-09-09 | Universal Display Corporation | Organic electroluminescent devices |
| US12419188B2 (en) | 2020-06-30 | 2025-09-16 | Universal Display Corporation | Organic electroluminescent materials and devices |
| US12421262B2 (en) | 2021-03-15 | 2025-09-23 | Universal Display Corporation | Organic electroluminescent materials and devices |
| US12435102B2 (en) | 2020-10-02 | 2025-10-07 | Universal Display Corporation | Organic electroluminescent materials and devices |
| Publication number | Priority date | Publication date | Assignee | Title |
|---|---|---|---|---|
| US11279709B2 (en) | 2016-09-05 | 2022-03-22 | Idemitsu Kosan Co., Ltd. | Specifically substituted aza-dibenzofurans and aza-dibenzothiophenes for organic electronic devices |
| Publication number | Priority date | Publication date | Assignee | Title |
|---|---|---|---|---|
| JP2002284862A (en)* | 2001-03-23 | 2002-10-03 | Tdk Corp | Polymer compound and producing method and using method thereof |
| JP2004002703A (en)* | 2002-03-15 | 2004-01-08 | Sumitomo Chem Co Ltd | Polymer compound and polymer light emitting device using the same |
| JP2004059899A (en)* | 2002-06-05 | 2004-02-26 | Sumitomo Chem Co Ltd | Polymer compound and polymer light emitting device using the same |
| WO2004074399A1 (en)* | 2003-02-20 | 2004-09-02 | Idemitsu Kosan Co., Ltd. | Material for organic electroluminescent device and organic electroluminescent device using same |
| JP2005126686A (en)* | 2003-09-12 | 2005-05-19 | Sumitomo Chemical Co Ltd | Luminescent material and light emitting device using the same |
| JP2005132829A (en)* | 2003-10-06 | 2005-05-26 | Sumitomo Chemical Co Ltd | Aromatic compounds |
| WO2005113531A1 (en)* | 2004-05-21 | 2005-12-01 | Toray Industries, Inc. | Light-emitting device material and light-emitting device |
| JP2007177225A (en)* | 2005-12-01 | 2007-07-12 | Sumitomo Chemical Co Ltd | Polymer compound and polymer light emitting device using the same |
| Publication number | Priority date | Publication date | Assignee | Title |
|---|---|---|---|---|
| JP2002284862A (en)* | 2001-03-23 | 2002-10-03 | Tdk Corp | Polymer compound and producing method and using method thereof |
| JP2004002703A (en)* | 2002-03-15 | 2004-01-08 | Sumitomo Chem Co Ltd | Polymer compound and polymer light emitting device using the same |
| JP2004059899A (en)* | 2002-06-05 | 2004-02-26 | Sumitomo Chem Co Ltd | Polymer compound and polymer light emitting device using the same |
| WO2004074399A1 (en)* | 2003-02-20 | 2004-09-02 | Idemitsu Kosan Co., Ltd. | Material for organic electroluminescent device and organic electroluminescent device using same |
| JP2005126686A (en)* | 2003-09-12 | 2005-05-19 | Sumitomo Chemical Co Ltd | Luminescent material and light emitting device using the same |
| JP2005132829A (en)* | 2003-10-06 | 2005-05-26 | Sumitomo Chemical Co Ltd | Aromatic compounds |
| WO2005113531A1 (en)* | 2004-05-21 | 2005-12-01 | Toray Industries, Inc. | Light-emitting device material and light-emitting device |
| JP2007177225A (en)* | 2005-12-01 | 2007-07-12 | Sumitomo Chemical Co Ltd | Polymer compound and polymer light emitting device using the same |
| Publication number | Priority date | Publication date | Assignee | Title |
|---|---|---|---|---|
| US9871219B2 (en) | 2005-04-13 | 2018-01-16 | Universal Display Corporation | Organic light emitting devices |
| US9647227B2 (en) | 2005-04-13 | 2017-05-09 | Universal Display Corporation | Organic light emitting devices |
| US12171138B2 (en) | 2005-05-06 | 2024-12-17 | Universal Display Corporation | Organic electroluminescent materials and devices |
| US9735377B2 (en) | 2005-05-06 | 2017-08-15 | Universal Display Corporation | Phosphorescent emitters and host materials with improved stability |
| US9548462B2 (en) | 2006-02-10 | 2017-01-17 | Universal Display Corporation | Organic electroluminescent materials and devices |
| US10158090B2 (en) | 2006-02-10 | 2018-12-18 | Universal Display Corporation | Organic electroluminescent materials and devices |
| US9281483B2 (en) | 2006-02-10 | 2016-03-08 | Universal Display Corporation | Organic electroluminescent materials and devices |
| US10749121B2 (en) | 2006-02-10 | 2020-08-18 | Universal Display Corporation | Organic electroluminescent materials and devices |
| US10978649B2 (en) | 2006-02-10 | 2021-04-13 | Universal Display Corporation | Organic electroluminescent materials and devices |
| US9893306B2 (en) | 2006-02-10 | 2018-02-13 | Universal Display Corporation | Organic electroluminescent materials and devices |
| US10403831B2 (en) | 2006-02-10 | 2019-09-03 | Universal Display Corporation | Organic electroluminescent materials and devices |
| US9899612B2 (en) | 2006-12-08 | 2018-02-20 | Universal Display Corporation | Organic electroluminescent materials and devices |
| US9190621B2 (en) | 2007-03-08 | 2015-11-17 | Universal Display Corporation | Materials for organic light emitting diode |
| US9853227B2 (en) | 2007-03-08 | 2017-12-26 | Universal Display Corporation | Organic electroluminescent materials and devices |
| US9577201B2 (en) | 2007-03-08 | 2017-02-21 | Universal Display Corporation | Organic electroluminescent materials and devices |
| US10600975B2 (en) | 2007-03-08 | 2020-03-24 | Universal Display Corporation | Organic electroluminescent materials and devices |
| US9911930B2 (en) | 2007-03-08 | 2018-03-06 | Universal Display Corporation | Organic electroluminescent materials and devices |
| US11495755B2 (en) | 2007-03-08 | 2022-11-08 | Universal Display Corporation | Organic electroluminescent materials and devices |
| US9142786B2 (en) | 2007-03-08 | 2015-09-22 | Universal Display Corporation | Phosphorescent materials |
| US10230060B2 (en) | 2007-03-08 | 2019-03-12 | Universal Display Corporation | Organic electroluminescent materials and devices |
| US9590180B2 (en) | 2007-06-23 | 2017-03-07 | Universal Display Corporation | Organic electroluminescent materials and devices |
| US11690286B2 (en) | 2007-08-08 | 2023-06-27 | Universal Display Corporation | Organic electroluminescent materials and devices |
| US10374171B2 (en) | 2007-08-08 | 2019-08-06 | Universal Display Corporation | Organic electroluminescent materials and devices |
| US9997727B2 (en) | 2007-08-08 | 2018-06-12 | Universal Display Corporation | Organic electroluminescent materials and devices |
| US9577200B2 (en) | 2007-08-08 | 2017-02-21 | Universal Display Corporation | Organic electroluminescent materials and devices |
| US10312450B2 (en) | 2007-08-08 | 2019-06-04 | Universal Display Corporation | Organic electroluminescent materials and devices |
| US12082493B2 (en) | 2007-08-08 | 2024-09-03 | Universal Display Corporation | Organic electroluminescent materials and devices |
| US8822708B2 (en) | 2007-08-08 | 2014-09-02 | Universal Display Corporation | Benzo-fused thiophene / triphenylene hybrid materials |
| US10957858B2 (en) | 2007-08-08 | 2021-03-23 | Universal Display Corporation | Organic electroluminescent materials and devices |
| US9608206B2 (en) | 2007-08-08 | 2017-03-28 | Universal Display Corporation | Organic electroluminescent materials and devices |
| US8580402B2 (en) | 2007-12-28 | 2013-11-12 | Universal Display Corporation | Dibenzothiophene-containing materials in phosphorescent light emitting diodes |
| US8007927B2 (en) | 2007-12-28 | 2011-08-30 | Universal Display Corporation | Dibenzothiophene-containing materials in phosphorescent light emitting diodes |
| US9123903B2 (en) | 2007-12-28 | 2015-09-01 | Universal Display Corporation | Dibenzothiophene-containing materials in phosphorescent light emitting diodes |
| US9997726B2 (en) | 2007-12-28 | 2018-06-12 | Universal Display Corporation | Dibenzothiophene-containing materials in phosphorescent light emitting diodes |
| US8221905B2 (en) | 2007-12-28 | 2012-07-17 | Universal Display Corporation | Carbazole-containing materials in phosphorescent light emitting diodes |
| US8440326B2 (en) | 2008-06-30 | 2013-05-14 | Universal Display Corporation | Hole transport materials containing triphenylene |
| US9076973B2 (en) | 2008-09-03 | 2015-07-07 | Universal Display Corporation | Phosphorescent materials |
| US12127470B2 (en) | 2008-09-03 | 2024-10-22 | Universal Display Corporation | Organic electroluminescent materials and devices |
| US10892426B2 (en) | 2008-09-03 | 2021-01-12 | Universal Display Corporation | Organic electroluminescent materials and devices |
| US10186672B2 (en) | 2008-09-03 | 2019-01-22 | Universal Display Corporation | Organic electroluminescent materials and devices |
| US9630983B2 (en) | 2008-09-03 | 2017-04-25 | Universal Display Corporation | Organic electroluminescent material and devices |
| US11482685B2 (en) | 2008-09-03 | 2022-10-25 | Universal Display Corporation | Organic electroluminescent materials and devices |
| US10593896B2 (en) | 2008-09-03 | 2020-03-17 | Universal Display Corporation | Organic electroluminescent materials and devices |
| JP2019135768A (en)* | 2008-09-05 | 2019-08-15 | 株式会社半導体エネルギー研究所 | Light emitting element, light emitting device, and lighting device |
| US10084143B2 (en) | 2008-09-16 | 2018-09-25 | Universal Display Corporation | Phosphorescent materials |
| US9455411B2 (en) | 2008-09-25 | 2016-09-27 | Universal Display Corporation | Organic electroluminescent materials and devices |
| JP2010098223A (en)* | 2008-10-20 | 2010-04-30 | Konica Minolta Holdings Inc | Organic electroluminescence device, organic electroluminescence material, display device and illuminating device |
| US8367223B2 (en) | 2008-11-11 | 2013-02-05 | Universal Display Corporation | Heteroleptic phosphorescent emitters |
| US10008678B2 (en) | 2008-12-12 | 2018-06-26 | Universal Display Corporation | Organic electroluminescent materials and devices |
| KR20180102210A (en)* | 2009-01-16 | 2018-09-14 | 유니버셜 디스플레이 코포레이션 | New materials with aza-dibenzothiophene or aza-dibenzofuran core for pholed |
| KR20170062553A (en)* | 2009-01-16 | 2017-06-07 | 유니버셜 디스플레이 코포레이션 | New materials with aza-dibenzothiophene or aza-dibenzofuran core for pholed |
| US20100187984A1 (en)* | 2009-01-16 | 2010-07-29 | Universal Display Corporation | Materials with aza-dibenzothiophene or aza-dibenzofuran core for pholed |
| KR20110116177A (en)* | 2009-01-16 | 2011-10-25 | 유니버셜 디스플레이 코포레이션 | Novel Substances for PHOOD with Aza-Dibenzothiophene or Aza-Dibenzofuran Core |
| US9518063B2 (en) | 2009-01-16 | 2016-12-13 | Universal Display Corporation | Organic electroluminescent materials and devices |
| KR102025997B1 (en)* | 2009-01-16 | 2019-09-26 | 유니버셜 디스플레이 코포레이션 | New materials with aza-dibenzothiophene or aza-dibenzofuran core for pholed |
| JP2012515216A (en)* | 2009-01-16 | 2012-07-05 | ユニバーサル ディスプレイ コーポレイション | New materials with aza-dibenzothiophene or aza-dibenzofuran nuclei for PHOLED |
| KR101702148B1 (en)* | 2009-01-16 | 2017-02-03 | 유니버셜 디스플레이 코포레이션 | New materials with aza-dibenzothiophene or aza-dibenzofuran core for pholed |
| KR101744463B1 (en) | 2009-01-16 | 2017-06-07 | 유니버셜 디스플레이 코포레이션 | New materials with aza-dibenzothiophene or aza-dibenzofuran core for pholed |
| JP2017071642A (en)* | 2009-01-16 | 2017-04-13 | ユニバーサル ディスプレイ コーポレイション | New materials with aza-dibenzothiophene or aza-dibenzofuran core for pholed |
| KR20200123491A (en)* | 2009-01-16 | 2020-10-29 | 유니버셜 디스플레이 코포레이션 | New materials with aza-dibenzothiophene or aza-dibenzofuran core for pholed |
| US9067947B2 (en) | 2009-01-16 | 2015-06-30 | Universal Display Corporation | Organic electroluminescent materials and devices |
| KR102310829B1 (en)* | 2009-01-16 | 2021-10-08 | 유니버셜 디스플레이 코포레이션 | New materials with aza-dibenzothiophene or aza-dibenzofuran core for pholed |
| CN106397453A (en)* | 2009-01-16 | 2017-02-15 | 通用显示公司 | Materials with aza-dibenzothiophene or aza-dibenzofuran core for PHOLED |
| KR102171146B1 (en)* | 2009-01-16 | 2020-10-29 | 유니버셜 디스플레이 코포레이션 | New materials with aza-dibenzothiophene or aza-dibenzofuran core for pholed |
| US8952363B2 (en) | 2009-01-16 | 2015-02-10 | Universal Display Corporation | Organic electroluminescent materials and devices |
| TWI570126B (en)* | 2009-01-16 | 2017-02-11 | 環球展覽公司 | Method for preparing azadibenzothiophene compound or azadibenzofuran compound |
| JP2015017114A (en)* | 2009-01-16 | 2015-01-29 | ユニバーサル ディスプレイ コーポレイション | New materials with aza-dibenzothiophene or aza-dibenzofuran core for pholed |
| US9831442B2 (en) | 2009-01-16 | 2017-11-28 | Universal Display Corporation | Organic electroluminescent materials and devices |
| JP5541167B2 (en)* | 2009-02-06 | 2014-07-09 | コニカミノルタ株式会社 | ORGANIC ELECTROLUMINESCENCE ELEMENT, LIGHTING DEVICE AND DISPLAY DEVICE HAVING THE ELEMENT |
| US9617255B2 (en) | 2009-02-06 | 2017-04-11 | Konica Minolta, Inc. | Organic electroluminescent element, and illumination device and display device each comprising the element |
| WO2010090077A1 (en)* | 2009-02-06 | 2010-08-12 | コニカミノルタホールディングス株式会社 | Organic electroluminescent element, and illumination device and display device each comprising the element |
| US11637251B2 (en) | 2009-03-23 | 2023-04-25 | Universal Display Corporation | Organic electroluminescent materials and devices |
| US11910701B2 (en) | 2009-03-23 | 2024-02-20 | Universal Display Corporation | Organic electroluminescent materials and devices |
| US9184397B2 (en) | 2009-03-23 | 2015-11-10 | Universal Display Corporation | Heteroleptic iridium complexes as dopants |
| US11380854B2 (en) | 2009-03-23 | 2022-07-05 | Universal Display Corporation | Heteroleptic iridium complexes as dopants |
| US11910700B2 (en) | 2009-03-23 | 2024-02-20 | Universal Display Corporation | Heteroleptic iridium complexes as dopants |
| US12408242B2 (en) | 2009-03-23 | 2025-09-02 | Universal Display Corporation | Heteroleptic iridium complexes as dopants |
| US10312458B2 (en) | 2009-03-23 | 2019-06-04 | Universal Display Corporation | Organic electroluminescent materials and devices |
| US12201011B2 (en) | 2009-04-28 | 2025-01-14 | Universal Display Corporation | Organic electroluminescent materials and devices |
| US10374173B2 (en) | 2009-04-28 | 2019-08-06 | Universal Display Corporation | Organic electroluminescent materials and devices |
| US9634265B2 (en) | 2009-04-28 | 2017-04-25 | Universal Display Corporation | Organic electroluminescent materials and devices |
| US9673406B2 (en) | 2009-05-20 | 2017-06-06 | Universal Display Corporation | Metal complexes with boron-nitrogen heterocycle containing ligands |
| JP2011084531A (en)* | 2009-10-19 | 2011-04-28 | Konica Minolta Holdings Inc | Material for organic electroluminescent element, organic electroluminescent element, illumination device and display device |
| US12376484B2 (en) | 2009-10-28 | 2025-07-29 | Basf Se | Heteroleptic carbene complexes and the use thereof in organic electronics |
| WO2011051404A1 (en) | 2009-10-28 | 2011-05-05 | Basf Se | Heteroleptic carbene complexes and use thereof in organic electronics |
| US11871654B2 (en) | 2009-10-28 | 2024-01-09 | Udc Ireland Limited | Heteroleptic carbene complexes and the use thereof in organic electronics |
| US11189806B2 (en) | 2009-10-28 | 2021-11-30 | Udc Ireland Limited | Heteroleptic carbene complexes and the use thereof in organic electronics |
| US8545996B2 (en) | 2009-11-02 | 2013-10-01 | The University Of Southern California | Ion-pairing soft salts based on organometallic complexes and their applications in organic light emitting diodes |
| US8580394B2 (en) | 2009-11-19 | 2013-11-12 | Universal Display Corporation | 3-coordinate copper(I)-carbene complexes |
| US9773986B2 (en) | 2009-11-19 | 2017-09-26 | The University Of Southern California | Copper(I)-carbene complexes and organic electroluminescent devices |
| WO2011073149A1 (en) | 2009-12-14 | 2011-06-23 | Basf Se | Metal complexes comprising diazabenzimidazol carbene-ligands and the use thereof in oleds |
| US11839140B2 (en) | 2009-12-14 | 2023-12-05 | Udc Ireland Limited | Metal complexes comprising diazabenzmidazolocarbene ligands and the use thereof in OLEDS |
| US11444254B2 (en) | 2009-12-14 | 2022-09-13 | Udc Ireland Limited | Metal complexes comprising diazabenzmidazolocarbene ligands and the use thereof in OLEDs |
| US9487548B2 (en) | 2009-12-14 | 2016-11-08 | Udc Ireland Limited | Metal complexes comprising diazabenzimidazolocarbene ligands and the use thereof in OLEDs |
| US10090476B2 (en) | 2009-12-14 | 2018-10-02 | Udc Ireland Limited | Metal complexes comprising diazabenzmidazolocarbene ligands and the use thereof in OLEDs |
| US10916716B2 (en) | 2009-12-14 | 2021-02-09 | Udc Ireland Limited | Metal complexes comprising diazabenzmidazolocarbene ligands and the use thereof in OLEDS |
| US9156870B2 (en) | 2010-02-25 | 2015-10-13 | Universal Display Corporation | Phosphorescent emitters |
| US9175211B2 (en) | 2010-03-03 | 2015-11-03 | Universal Display Corporation | Phosphorescent materials |
| US8963132B2 (en) | 2010-03-25 | 2015-02-24 | Universal Display Corporation | Solution processable doped triarylamine hole injection materials |
| US8691401B2 (en) | 2010-04-16 | 2014-04-08 | Basf Se | Bridged benzimidazole-carbene complexes and use thereof in OLEDS |
| US9040962B2 (en) | 2010-04-28 | 2015-05-26 | Universal Display Corporation | Depositing premixed materials |
| US8968887B2 (en) | 2010-04-28 | 2015-03-03 | Universal Display Corporation | Triphenylene-benzofuran/benzothiophene/benzoselenophene compounds with substituents joining to form fused rings |
| US9543532B2 (en) | 2010-06-11 | 2017-01-10 | Universal Display Corporation | Organic electroluminescent materials and devices |
| US9140428B2 (en) | 2010-06-11 | 2015-09-22 | Universal Display Corporation | Triplet-triplet annihilation up-conversation for display and lighting applications |
| US8742657B2 (en) | 2010-06-11 | 2014-06-03 | Universal Display Corporation | Triplet-Triplet annihilation up conversion (TTA-UC) for display and lighting applications |
| US8673458B2 (en) | 2010-06-11 | 2014-03-18 | Universal Display Corporation | Delayed fluorescence OLED |
| US9142792B2 (en) | 2010-06-18 | 2015-09-22 | Basf Se | Organic electronic devices comprising a layer comprising at least one metal organic compound and at least one metal oxide |
| US9435021B2 (en) | 2010-07-29 | 2016-09-06 | University Of Southern California | Co-deposition methods for the fabrication of organic optoelectronic devices |
| US9954180B2 (en) | 2010-08-20 | 2018-04-24 | Universal Display Corporation | Bicarbazole compounds for OLEDs |
| US11316113B2 (en) | 2010-08-20 | 2022-04-26 | Universal Display Corporation | Organic electroluminescent materials and devices |
| US11289659B2 (en) | 2010-08-20 | 2022-03-29 | Universal Display Corporation | Organic electroluminescent materials and devices |
| US9406893B2 (en) | 2010-09-09 | 2016-08-02 | Semiconductor Energy Laboratory Co., Ltd. | Heterocyclic compound, light-emitting element, light-emitting device, electronic device, and lighting device |
| US9401482B2 (en) | 2010-10-08 | 2016-07-26 | Universal Display Corporation | Organic electroluminescent materials and devices |
| US8932734B2 (en) | 2010-10-08 | 2015-01-13 | Universal Display Corporation | Organic electroluminescent materials and devices |
| US8269317B2 (en) | 2010-11-11 | 2012-09-18 | Universal Display Corporation | Phosphorescent materials |
| US10147892B2 (en) | 2010-12-07 | 2018-12-04 | The University Of Southern California | Organic electroluminescent materials and devices |
| WO2012090967A1 (en) | 2010-12-28 | 2012-07-05 | 出光興産株式会社 | Material for organic electroluminescent elements, and organic electroluminescent element using same |
| KR20140015285A (en) | 2010-12-28 | 2014-02-06 | 이데미쓰 고산 가부시키가이샤 | Material for organic electroluminescent elements, and organic electroluminescent element using same |
| US9923151B2 (en) | 2010-12-28 | 2018-03-20 | Idemitsu Kosan Co., Ltd. | Material for organic electroluminescent elements, and organic electroluminescent element using same |
| US10008677B2 (en) | 2011-01-13 | 2018-06-26 | Universal Display Corporation | Materials for organic light emitting diode |
| US11374180B2 (en) | 2011-01-13 | 2022-06-28 | Universal Display Corporation | Organic electroluminescent materials and devices |
| US10680189B2 (en) | 2011-01-13 | 2020-06-09 | Universal Display Corporation | Materials for organic light emitting diodes |
| US9130177B2 (en) | 2011-01-13 | 2015-09-08 | Universal Display Corporation | 5-substituted 2 phenylquinoline complexes materials for light emitting diode |
| US11997918B2 (en) | 2011-01-13 | 2024-05-28 | Universal Display Corporation | Organic electroluminescent materials and devices |
| US8415031B2 (en) | 2011-01-24 | 2013-04-09 | Universal Display Corporation | Electron transporting compounds |
| WO2012102967A1 (en) | 2011-01-24 | 2012-08-02 | Universal Display Corporation | Aza - dibenzothiophene, aza - dibenzofuran and aza - dibenzoselenophene derivatives for use in oled ' s |
| JP2018088526A (en)* | 2011-01-24 | 2018-06-07 | ユニバーサル ディスプレイ コーポレイション | Electron transporting compound |
| US9373802B2 (en) | 2011-02-07 | 2016-06-21 | Idemitsu Kosan Co., Ltd. | Biscarbazole derivatives and organic electroluminescence device employing the same |
| US9818958B2 (en) | 2011-02-07 | 2017-11-14 | Idemitsu Kosan Co., Ltd. | Biscarbazole derivatives and organic electroluminescence device employing the same |
| US10230057B2 (en) | 2011-02-07 | 2019-03-12 | Idemitsu Kosan Co., Ltd. | Biscarbazole derivatives and organic electroluminescence device employing the same |
| US8754232B2 (en) | 2011-02-23 | 2014-06-17 | Universal Display Corporation | Methods of making bis-tridentate carbene complexes of ruthenium and osmium |
| US9005772B2 (en) | 2011-02-23 | 2015-04-14 | Universal Display Corporation | Thioazole and oxazole carbene metal complexes as phosphorescent OLED materials |
| US10381580B2 (en) | 2011-02-23 | 2019-08-13 | Universal Display Corporation | Organic electroluminescent materials and devices |
| US9947880B2 (en) | 2011-02-23 | 2018-04-17 | Universal Display Corporation | Organic electroluminescent materials and devices |
| US8563737B2 (en) | 2011-02-23 | 2013-10-22 | Universal Display Corporation | Methods of making bis-tridentate carbene complexes of ruthenium and osmium |
| US8748011B2 (en) | 2011-02-23 | 2014-06-10 | Universal Display Corporation | Ruthenium carbene complexes for OLED material |
| US8871361B2 (en) | 2011-02-23 | 2014-10-28 | Universal Display Corporation | Tetradentate platinum complexes |
| US10388890B2 (en) | 2011-02-23 | 2019-08-20 | Universal Display Corporation | Organic electroluminescent heterocyclic carbene metal complexes and devices containing the same |
| US8492006B2 (en) | 2011-02-24 | 2013-07-23 | Universal Display Corporation | Germanium-containing red emitter materials for organic light emitting diode |
| US11600791B2 (en) | 2011-03-08 | 2023-03-07 | Universal Display Corporation | Organic electroluminescent materials and devices |
| US10873038B2 (en) | 2011-03-08 | 2020-12-22 | Universal Display Corporation | Organic electroluminescent materials and devices |
| US8883322B2 (en) | 2011-03-08 | 2014-11-11 | Universal Display Corporation | Pyridyl carbene phosphorescent emitters |
| US9972793B2 (en) | 2011-03-08 | 2018-05-15 | Universal Display Corporation | Organic electroluminescent materials and devices |
| JP2012190843A (en)* | 2011-03-08 | 2012-10-04 | Toshiba Corp | Organic electroluminescent element, display unit, and lighting device |
| US8580403B2 (en) | 2011-03-08 | 2013-11-12 | Kabushiki Kaisha Toshiba | Organic light-emitting diode, display and illuminating device |
| US8580399B2 (en) | 2011-04-08 | 2013-11-12 | Universal Display Corporation | Substituted oligoazacarbazoles for light emitting diodes |
| US9397312B2 (en) | 2011-05-11 | 2016-07-19 | Universal Display Corporation | Process for fabricating metal bus lines for OLED lighting panels |
| WO2012153780A1 (en)* | 2011-05-11 | 2012-11-15 | 出光興産株式会社 | Novel compound, material for organic electroluminescence device, and organic electroluminescence device |
| US8432095B2 (en) | 2011-05-11 | 2013-04-30 | Universal Display Corporation | Process for fabricating metal bus lines for OLED lighting panels |
| US8564192B2 (en) | 2011-05-11 | 2013-10-22 | Universal Display Corporation | Process for fabricating OLED lighting panels |
| CN103502233A (en)* | 2011-05-11 | 2014-01-08 | 出光兴产株式会社 | Novel compound, material for organic electroluminescent element, and organic electroluminescent element |
| US9537111B2 (en) | 2011-05-11 | 2017-01-03 | Idemitsu Kosan Co., Ltd. | Compound, material for organic electroluminescence device, and organic electroluminescence device |
| US8927308B2 (en) | 2011-05-12 | 2015-01-06 | Universal Display Corporation | Method of forming bus line designs for large-area OLED lighting |
| US9450027B2 (en) | 2011-05-12 | 2016-09-20 | Universal Display Corporation | Method of forming bus line designs for large-area OLED lighting |
| US9257658B2 (en) | 2011-05-19 | 2016-02-09 | Universal Display Corporation | Method of making organic electroluminescent materials |
| US9212197B2 (en) | 2011-05-19 | 2015-12-15 | Universal Display Corporation | Phosphorescent heteroleptic phenylbenzimidazole dopants |
| US8795850B2 (en) | 2011-05-19 | 2014-08-05 | Universal Display Corporation | Phosphorescent heteroleptic phenylbenzimidazole dopants and new synthetic methodology |
| DE112012002237B4 (en) | 2011-05-25 | 2022-12-22 | Universal Display Corporation | Host Materials for OLEDS |
| US8748012B2 (en) | 2011-05-25 | 2014-06-10 | Universal Display Corporation | Host materials for OLED |
| US11189805B2 (en) | 2011-05-27 | 2021-11-30 | Universal Display Corporation | Organic electroluminescent materials and devices |
| US12439813B2 (en) | 2011-05-27 | 2025-10-07 | Universal Display Corpration | Organic electroluminescent materials and devices |
| US10079349B2 (en) | 2011-05-27 | 2018-09-18 | Universal Display Corporation | Organic electroluminescent materials and devices |
| US10158089B2 (en) | 2011-05-27 | 2018-12-18 | Universal Display Corporation | Organic electroluminescent materials and devices |
| US11063229B2 (en) | 2011-06-08 | 2021-07-13 | Universal Display Corporation | Organic electroluminescent materials and devices |
| US10297769B2 (en) | 2011-06-08 | 2019-05-21 | Universal Display Corporation | Organic electroluminescent materials and devices |
| US9812656B2 (en) | 2011-06-08 | 2017-11-07 | Universal Display Corporation | Organic electroluminescent materials and devices |
| US9755164B2 (en) | 2011-06-08 | 2017-09-05 | Universal Display Corporation | Organic electroluminescent materials and devices |
| US10978648B2 (en) | 2011-06-08 | 2021-04-13 | Universal Display Corporation | Organic electroluminescent materials and devices |
| US9847495B2 (en) | 2011-06-08 | 2017-12-19 | Universal Display Corporation | Organic electroluminescent materials and devices |
| US9315724B2 (en) | 2011-06-14 | 2016-04-19 | Basf Se | Metal complexes comprising azabenzimidazole carbene ligands and the use thereof in OLEDs |
| EP3415521A1 (en) | 2011-06-14 | 2018-12-19 | UDC Ireland Limited | Metal complexes comprising azabenzimidazole carbene ligands and the use thereof in oleds |
| US9054343B2 (en) | 2011-06-17 | 2015-06-09 | Universal Display Corporation | Fine tuning of emission spectra by combination of multiple emitter spectra |
| US8884316B2 (en) | 2011-06-17 | 2014-11-11 | Universal Display Corporation | Non-common capping layer on an organic device |
| US11751455B2 (en) | 2011-06-17 | 2023-09-05 | Universal Display Corporation | Non-common capping layer on an organic device |
| US10340313B2 (en) | 2011-06-17 | 2019-07-02 | Universal Display Corporation | Non-common capping layer on an organic device |
| US8659036B2 (en) | 2011-06-17 | 2014-02-25 | Universal Display Corporation | Fine tuning of emission spectra by combination of multiple emitter spectra |
| US9397310B2 (en) | 2011-07-14 | 2016-07-19 | Universal Display Corporation | Organice electroluminescent materials and devices |
| US9647221B2 (en) | 2011-07-14 | 2017-05-09 | Universal Display Corporation | Organic light-emitting devices |
| US9252377B2 (en) | 2011-07-14 | 2016-02-02 | Universal Display Corporation | Inorganic hosts in OLEDs |
| US10214551B2 (en) | 2011-07-25 | 2019-02-26 | Universal Display Corporation | Organic electroluminescent materials and devices |
| US9783564B2 (en) | 2011-07-25 | 2017-10-10 | Universal Display Corporation | Organic electroluminescent materials and devices |
| US8709615B2 (en) | 2011-07-28 | 2014-04-29 | Universal Display Corporation | Heteroleptic iridium complexes as dopants |
| US8409729B2 (en) | 2011-07-28 | 2013-04-02 | Universal Display Corporation | Host materials for phosphorescent OLEDs |
| US9313857B2 (en) | 2011-08-04 | 2016-04-12 | Universal Display Corporation | Organic electroluminescent materials and devices |
| US8926119B2 (en) | 2011-08-04 | 2015-01-06 | Universal Display Corporation | Extendable light source with variable light emitting area |
| US8552420B2 (en) | 2011-08-09 | 2013-10-08 | Universal Display Corporation | OLED light panel with controlled brightness variation |
| US9493698B2 (en) | 2011-08-31 | 2016-11-15 | Universal Display Corporation | Organic electroluminescent materials and devices |
| US9142788B2 (en) | 2011-11-14 | 2015-09-22 | Universal Display Corporation | Host materials for OLEDs |
| US8652656B2 (en) | 2011-11-14 | 2014-02-18 | Universal Display Corporation | Triphenylene silane hosts |
| US9193745B2 (en) | 2011-11-15 | 2015-11-24 | Universal Display Corporation | Heteroleptic iridium complex |
| US9217004B2 (en) | 2011-11-21 | 2015-12-22 | Universal Display Corporation | Organic light emitting materials |
| US10454046B2 (en) | 2011-12-09 | 2019-10-22 | Universal Display Corporation | Organic electroluminescent materials and devices |
| US9512355B2 (en) | 2011-12-09 | 2016-12-06 | Universal Display Corporation | Organic light emitting materials |
| US11482684B2 (en) | 2011-12-09 | 2022-10-25 | Universal Display Corporation | Organic electroluminescent materials and devices |
| US9455417B2 (en) | 2011-12-13 | 2016-09-27 | Universal Display Corporation | Split electrode for organic devices |
| US9461254B2 (en) | 2012-01-03 | 2016-10-04 | Universal Display Corporation | Organic electroluminescent materials and devices |
| US8987451B2 (en) | 2012-01-03 | 2015-03-24 | Universal Display Corporation | Synthesis of cyclometallated platinum(II) complexes |
| US9163174B2 (en) | 2012-01-04 | 2015-10-20 | Universal Display Corporation | Highly efficient phosphorescent materials |
| DE102013200085B4 (en) | 2012-01-06 | 2020-06-18 | Universal Display Corporation | Highly efficient phosphorescent materials |
| US8969592B2 (en) | 2012-01-10 | 2015-03-03 | Universal Display Corporation | Heterocyclic host materials |
| US9447113B2 (en) | 2012-01-10 | 2016-09-20 | Universal Display Corporation | Organic electroluminescent materials and devices |
| US10211413B2 (en) | 2012-01-17 | 2019-02-19 | Universal Display Corporation | Organic electroluminescent materials and devices |
| US9118017B2 (en) | 2012-02-27 | 2015-08-25 | Universal Display Corporation | Host compounds for red phosphorescent OLEDs |
| DE102013003605B4 (en) | 2012-03-15 | 2023-08-17 | Universal Display Corporation | Secondary hole transport layer with tricarbazole compounds |
| US9548459B2 (en) | 2012-03-15 | 2017-01-17 | Universal Display Corporation | Organic materials for organic light emitting devices |
| US9386657B2 (en) | 2012-03-15 | 2016-07-05 | Universal Display Corporation | Organic Electroluminescent materials and devices |
| US9054323B2 (en) | 2012-03-15 | 2015-06-09 | Universal Display Corporation | Secondary hole transporting layer with diarylamino-phenyl-carbazole compounds |
| US8723209B2 (en) | 2012-04-27 | 2014-05-13 | Universal Display Corporation | Out coupling layer containing particle polymer composite |
| US9184399B2 (en) | 2012-05-04 | 2015-11-10 | Universal Display Corporation | Asymmetric hosts with triaryl silane side chains |
| US9773985B2 (en) | 2012-05-21 | 2017-09-26 | Universal Display Corporation | Organic electroluminescent materials and devices |
| US9670404B2 (en) | 2012-06-06 | 2017-06-06 | Universal Display Corporation | Organic electroluminescent materials and devices |
| US9502672B2 (en) | 2012-06-21 | 2016-11-22 | Universal Display Corporation | Organic electroluminescent materials and devices |
| US9725476B2 (en) | 2012-07-09 | 2017-08-08 | Universal Display Corporation | Silylated metal complexes |
| US9231218B2 (en) | 2012-07-10 | 2016-01-05 | Universal Display Corporation | Phosphorescent emitters containing dibenzo[1,4]azaborinine structure |
| WO2014012972A1 (en) | 2012-07-19 | 2014-01-23 | Basf Se | Dinuclear metal complexes comprising carbene ligands and the use thereof in oleds |
| DE102013214144B4 (en) | 2012-07-19 | 2023-02-16 | Universal Display Corp. | Diarylamino-substituted metal complexes |
| US9590196B2 (en) | 2012-07-19 | 2017-03-07 | Udc Ireland Limited | Dinuclear metal complexes comprising carbene ligands and the use thereof in OLEDs |
| US9540329B2 (en) | 2012-07-19 | 2017-01-10 | Universal Display Corporation | Organic electroluminescent materials and devices |
| EP3133079A1 (en) | 2012-07-19 | 2017-02-22 | UDC Ireland Limited | Dinuclear metal complexes comprising carbene ligands and the use thereof in oleds |
| US9059412B2 (en) | 2012-07-19 | 2015-06-16 | Universal Display Corporation | Transition metal complexes containing substituted imidazole carbene as ligands and their application in OLEDs |
| US9663544B2 (en) | 2012-07-25 | 2017-05-30 | Universal Display Corporation | Organic electroluminescent materials and devices |
| US9318710B2 (en) | 2012-07-30 | 2016-04-19 | Universal Display Corporation | Organic electroluminescent materials and devices |
| US9627631B2 (en) | 2012-07-30 | 2017-04-18 | Universal Display Corporation | Organic electroluminescent materials and devices |
| CN103626784A (en)* | 2012-08-24 | 2014-03-12 | 通用显示公司 | Phosphorescent emitters with phenylimidazole ligands |
| US20140054563A1 (en)* | 2012-08-24 | 2014-02-27 | Universal Display Corporation | Phosphorescent emitters with phenylimidazole ligands |
| WO2014030666A1 (en) | 2012-08-24 | 2014-02-27 | コニカミノルタ株式会社 | Transparent electrode, electronic device, and method for manufacturing transparent electrode |
| US9978958B2 (en) | 2012-08-24 | 2018-05-22 | Universal Display Corporation | Phosphorescent emitters with phenylimidazole ligands |
| US8952362B2 (en) | 2012-08-31 | 2015-02-10 | The Regents Of The University Of Michigan | High efficiency and brightness fluorescent organic light emitting diode by triplet-triplet fusion |
| US10957870B2 (en) | 2012-09-07 | 2021-03-23 | Universal Display Corporation | Organic light emitting device |
| US12295199B2 (en) | 2012-09-07 | 2025-05-06 | Universal Display Corporation | Phosphorescence-sensitized delayed fluorescence light emitting system |
| US11696459B2 (en) | 2012-09-07 | 2023-07-04 | Universal Display Corporation | Phosphorescence-sensitized delayed fluorescence light emitting system |
| EP3318566A1 (en) | 2012-09-20 | 2018-05-09 | UDC Ireland Limited | Azadibenzofurans for electronic applications |
| US10249827B2 (en) | 2012-09-20 | 2019-04-02 | Udc Ireland Limited | Azadibenzofurans for electronic applications |
| US9287513B2 (en) | 2012-09-24 | 2016-03-15 | Universal Display Corporation | Organic electroluminescent materials and devices |
| US9312505B2 (en) | 2012-09-25 | 2016-04-12 | Universal Display Corporation | Organic electroluminescent materials and devices |
| US11917902B2 (en) | 2012-09-25 | 2024-02-27 | Universal Display Corporation | Organic electroluminescent materials and devices |
| US12421263B2 (en) | 2012-09-25 | 2025-09-23 | Universal Display Corporation | Organic electroluminescent materials and devices |
| US10388894B2 (en) | 2012-09-25 | 2019-08-20 | Universal Display Corporation | Organic electroluminescent materials and devices |
| US8692241B1 (en) | 2012-11-08 | 2014-04-08 | Universal Display Corporation | Transition metal complexes containing triazole and tetrazole carbene ligands |
| US11380855B2 (en) | 2012-11-09 | 2022-07-05 | Universal Display Corporation | Organic electroluminescent materials and devices |
| US8946697B1 (en) | 2012-11-09 | 2015-02-03 | Universal Display Corporation | Iridium complexes with aza-benzo fused ligands |
| US10033002B2 (en) | 2012-11-09 | 2018-07-24 | Universal Display Corporation | Organic electroluminescent materials and devices |
| US9634264B2 (en) | 2012-11-09 | 2017-04-25 | Universal Display Corporation | Organic electroluminescent materials and devices |
| US9685617B2 (en) | 2012-11-09 | 2017-06-20 | Universal Display Corporation | Organic electronuminescent materials and devices |
| US10510968B2 (en) | 2012-11-09 | 2019-12-17 | Universal Display Corporation | Organic electroluminescent materials and devices |
| US20140131676A1 (en)* | 2012-11-09 | 2014-05-15 | Universal Display Corporation | Iridium complexes with aza-benzo fused ligands |
| US20140131663A1 (en)* | 2012-11-09 | 2014-05-15 | Universal Display Corporation | Iridium Complexes With Aza-Benzo Fused Ligands |
| US9190623B2 (en) | 2012-11-20 | 2015-11-17 | Universal Display Corporation | Organic electroluminescent materials and devices |
| US10847729B2 (en) | 2012-11-20 | 2020-11-24 | Universal Display Corporation | Organic electroluminescent materials and devices |
| US10069090B2 (en) | 2012-11-20 | 2018-09-04 | Universal Display Corporation | Organic electroluminescent materials and devices |
| US11145831B2 (en) | 2012-11-20 | 2021-10-12 | Universal Display Corporation | Osmium(IV) complexes for OLED materials |
| US9512136B2 (en) | 2012-11-26 | 2016-12-06 | Universal Display Corporation | Organic electroluminescent materials and devices |
| US9166175B2 (en) | 2012-11-27 | 2015-10-20 | Universal Display Corporation | Organic electroluminescent materials and devices |
| US9196860B2 (en) | 2012-12-04 | 2015-11-24 | Universal Display Corporation | Compounds for triplet-triplet annihilation upconversion |
| US8716484B1 (en) | 2012-12-05 | 2014-05-06 | Universal Display Corporation | Hole transporting materials with twisted aryl groups |
| US10910564B2 (en) | 2012-12-07 | 2021-02-02 | Universal Display Corporation | Organic electroluminescent materials and devices |
| US9670185B2 (en) | 2012-12-07 | 2017-06-06 | Universal Display Corporation | Organic electroluminescent materials and devices |
| US10069081B2 (en) | 2012-12-07 | 2018-09-04 | Universal Display Corporation | Organic electroluminescent materials and devices |
| US9209411B2 (en) | 2012-12-07 | 2015-12-08 | Universal Display Corporation | Organic electroluminescent materials and devices |
| US11716902B2 (en) | 2012-12-07 | 2023-08-01 | Universal Display Corporation | Organic electroluminescent materials and devices |
| US9653691B2 (en) | 2012-12-12 | 2017-05-16 | Universal Display Corporation | Phosphorescence-sensitizing fluorescence material system |
| DE102014001468B4 (en) | 2013-02-08 | 2024-08-08 | Universal Display Corporation | HETEROLEPTIC PHENYLBENZIMIDAZOLE COMPLEX |
| US10400163B2 (en) | 2013-02-08 | 2019-09-03 | Universal Display Corporation | Organic electroluminescent materials and devices |
| JP2013145890A (en)* | 2013-02-12 | 2013-07-25 | Konica Minolta Inc | Organic electroluminescent element material, organic electroluminescent element, display device and lighting system |
| JP2013138230A (en)* | 2013-02-12 | 2013-07-11 | Konica Minolta Inc | Organic electroluminescent element material, organic electroluminescent element, display device, and luminaire |
| US9935276B2 (en) | 2013-02-21 | 2018-04-03 | Universal Display Corporation | Organic electroluminescent materials and devices |
| US11871652B2 (en) | 2013-02-21 | 2024-01-09 | Universal Display Corporation | Organic electroluminescent materials and devices |
| US10367154B2 (en) | 2013-02-21 | 2019-07-30 | Universal Display Corporation | Organic electroluminescent materials and devices |
| US8927749B2 (en) | 2013-03-07 | 2015-01-06 | Universal Display Corporation | Organic electroluminescent materials and devices |
| US9419225B2 (en) | 2013-03-14 | 2016-08-16 | Universal Display Corporation | Organic electroluminescent materials and devices |
| WO2014147134A1 (en) | 2013-03-20 | 2014-09-25 | Basf Se | Azabenzimidazole carbene complexes as efficiency booster in oleds |
| US9997712B2 (en) | 2013-03-27 | 2018-06-12 | Universal Display Corporation | Organic electroluminescent materials and devices |
| WO2014157618A1 (en) | 2013-03-29 | 2014-10-02 | コニカミノルタ株式会社 | Organic electroluminescent element, and lighting device and display device which are provided with same |
| WO2014157494A1 (en) | 2013-03-29 | 2014-10-02 | コニカミノルタ株式会社 | Material for organic electroluminescent elements, organic electroluminescent element, display device and lighting device |
| WO2014177518A1 (en) | 2013-04-29 | 2014-11-06 | Basf Se | Transition metal complexes with carbene ligands and the use thereof in oleds |
| JP2013157634A (en)* | 2013-05-01 | 2013-08-15 | Konica Minolta Inc | Organic electroluminescent element material |
| US9537106B2 (en) | 2013-05-09 | 2017-01-03 | Universal Display Corporation | Organic electroluminescent materials and devices |
| US9735373B2 (en) | 2013-06-10 | 2017-08-15 | Universal Display Corporation | Organic electroluminescent materials and devices |
| KR102245875B1 (en) | 2013-06-11 | 2021-04-28 | 이데미쓰 고산 가부시키가이샤 | Material for organic electroluminescent elements, organic electroluminescent element using same, and electronic device |
| EP3010055B1 (en)* | 2013-06-11 | 2021-10-20 | Idemitsu Kosan Co., Ltd | Material for organic electroluminescent elements, organic electroluminescent element using same, and electronic device |
| KR20160018458A (en)* | 2013-06-11 | 2016-02-17 | 이데미쓰 고산 가부시키가이샤 | Material for organic electroluminescent elements, organic electroluminescent element using same, and electronic device |
| US9673401B2 (en) | 2013-06-28 | 2017-06-06 | Universal Display Corporation | Organic electroluminescent materials and devices |
| US10991896B2 (en) | 2013-07-01 | 2021-04-27 | Universal Display Corporation | Organic electroluminescent materials and devices |
| US10199581B2 (en) | 2013-07-01 | 2019-02-05 | Universal Display Corporation | Organic electroluminescent materials and devices |
| US12262630B2 (en) | 2013-07-01 | 2025-03-25 | Universal Display Corporation | Organic electroluminescent materials and devices |
| WO2015000955A1 (en) | 2013-07-02 | 2015-01-08 | Basf Se | Monosubstituted diazabenzimidazole carbene metal complexes for use in organic light emitting diodes |
| EP3608329A1 (en) | 2013-07-02 | 2020-02-12 | UDC Ireland Limited | Monosubstituted diazabenzimidazole carbene metal complexes for use in organic light emitting diodes |
| EP3266789A1 (en) | 2013-07-02 | 2018-01-10 | UDC Ireland Limited | Monosubstituted diazabenzimidazole carbene metal complexes for use in organic light emitting diodes |
| US10121975B2 (en) | 2013-07-03 | 2018-11-06 | Universal Display Corporation | Organic electroluminescent materials and devices |
| US9761807B2 (en) | 2013-07-15 | 2017-09-12 | Universal Display Corporation | Organic light emitting diode materials |
| US9324949B2 (en) | 2013-07-16 | 2016-04-26 | Universal Display Corporation | Organic electroluminescent materials and devices |
| US9553274B2 (en) | 2013-07-16 | 2017-01-24 | Universal Display Corporation | Organic electroluminescent materials and devices |
| US9224958B2 (en) | 2013-07-19 | 2015-12-29 | Universal Display Corporation | Organic electroluminescent materials and devices |
| US10930866B2 (en) | 2013-07-25 | 2021-02-23 | Universal Display Corporation | Organic electroluminescent materials and devices |
| EP3239161A1 (en) | 2013-07-31 | 2017-11-01 | UDC Ireland Limited | Luminescent diazabenzimidazole carbene metal complexes |
| US10074806B2 (en) | 2013-08-20 | 2018-09-11 | Universal Display Corporation | Organic electroluminescent materials and devices |
| US9831437B2 (en) | 2013-08-20 | 2017-11-28 | Universal Display Corporation | Organic electroluminescent materials and devices |
| US10749114B2 (en) | 2013-08-20 | 2020-08-18 | Universal Display Corporation | Organic electroluminescent materials and devices |
| US11611042B2 (en) | 2013-08-20 | 2023-03-21 | Universal Display Corporation | Organic electroluminescent materials and devices |
| US9932359B2 (en) | 2013-08-30 | 2018-04-03 | University Of Southern California | Organic electroluminescent materials and devices |
| US10199582B2 (en) | 2013-09-03 | 2019-02-05 | University Of Southern California | Organic electroluminescent materials and devices |
| US9735378B2 (en) | 2013-09-09 | 2017-08-15 | Universal Display Corporation | Organic electroluminescent materials and devices |
| US9748503B2 (en) | 2013-09-13 | 2017-08-29 | Universal Display Corporation | Organic electroluminescent materials and devices |
| US10003034B2 (en) | 2013-09-30 | 2018-06-19 | Universal Display Corporation | Organic electroluminescent materials and devices |
| US9831447B2 (en) | 2013-10-08 | 2017-11-28 | Universal Display Corporation | Organic electroluminescent materials and devices |
| US9293712B2 (en) | 2013-10-11 | 2016-03-22 | Universal Display Corporation | Disubstituted pyrene compounds with amino group containing ortho aryl group and devices containing the same |
| US10128450B2 (en) | 2013-10-23 | 2018-11-13 | University Of Southern California | Organic electroluminescent materials and devices |
| US9853229B2 (en) | 2013-10-23 | 2017-12-26 | University Of Southern California | Organic electroluminescent materials and devices |
| US11944000B2 (en) | 2013-10-29 | 2024-03-26 | Universal Display Corporation | Organic electroluminescent materials and devices |
| WO2015063046A1 (en) | 2013-10-31 | 2015-05-07 | Basf Se | Azadibenzothiophenes for electronic applications |
| US9306179B2 (en) | 2013-11-08 | 2016-04-05 | Universal Display Corporation | Organic electroluminescent materials and devices |
| US9647218B2 (en) | 2013-11-14 | 2017-05-09 | Universal Display Corporation | Organic electroluminescent materials and devices |
| US9905784B2 (en) | 2013-11-15 | 2018-02-27 | Universal Display Corporation | Organic electroluminescent materials and devices |
| US10033000B2 (en) | 2013-11-15 | 2018-07-24 | Universal Display Corporation | Organic electroluminescent materials and devices |
| US10056565B2 (en) | 2013-11-20 | 2018-08-21 | Universal Display Corporation | Organic electroluminescent materials and devices |
| US10644251B2 (en) | 2013-12-04 | 2020-05-05 | Universal Display Corporation | Organic electroluminescent materials and devices |
| US11653558B2 (en) | 2013-12-16 | 2023-05-16 | Universal Display Corporation | Organic electroluminescent materials and devices |
| US10355227B2 (en) | 2013-12-16 | 2019-07-16 | Universal Display Corporation | Metal complex for phosphorescent OLED |
| US10347851B2 (en) | 2013-12-20 | 2019-07-09 | Udc Ireland Limited | Highly efficient OLED devices with very short decay times |
| US11075346B2 (en) | 2013-12-20 | 2021-07-27 | Udc Ireland Limited | Highly efficient OLED devices with very short decay times |
| EP4600326A2 (en) | 2013-12-20 | 2025-08-13 | UDC Ireland Limited | Highly efficient oled devices with very short decay times |
| US11765967B2 (en) | 2013-12-20 | 2023-09-19 | Udc Ireland Limited | Highly efficient OLED devices with very short decay times |
| EP3916822A1 (en) | 2013-12-20 | 2021-12-01 | UDC Ireland Limited | Highly efficient oled devices with very short decay times |
| US12342715B2 (en) | 2013-12-20 | 2025-06-24 | Udc Ireland Limited | Highly efficient OLED devices with very short decay times |
| US9847496B2 (en) | 2013-12-23 | 2017-12-19 | Universal Display Corporation | Organic electroluminescent materials and devices |
| US11943999B2 (en) | 2014-01-07 | 2024-03-26 | Universal Display Corporation | Organic electroluminescent materials and devices |
| US10749122B2 (en) | 2014-01-07 | 2020-08-18 | Universal Display Corporation | Organic electroluminescent materials and devices |
| US10135008B2 (en) | 2014-01-07 | 2018-11-20 | Universal Display Corporation | Organic electroluminescent materials and devices |
| US10985331B2 (en) | 2014-01-07 | 2021-04-20 | Universal Display Corporation | Organic electroluminescent materials and devices |
| US11005051B2 (en) | 2014-01-08 | 2021-05-11 | Universal Display Corporation | Organic electroluminescent materials and devices |
| US9978961B2 (en) | 2014-01-08 | 2018-05-22 | Universal Display Corporation | Organic electroluminescent materials and devices |
| US9755159B2 (en) | 2014-01-23 | 2017-09-05 | Universal Display Corporation | Organic materials for OLEDs |
| US9935277B2 (en) | 2014-01-30 | 2018-04-03 | Universal Display Corporation | Organic electroluminescent materials and devices |
| JP2015151352A (en)* | 2014-02-13 | 2015-08-24 | 国立大学法人山形大学 | Benzofuropyrimidine derivative, host material comprising the same and organic electroluminescent element using the same |
| US9590194B2 (en) | 2014-02-14 | 2017-03-07 | Universal Display Corporation | Organic electroluminescent materials and devices |
| US10003033B2 (en) | 2014-02-18 | 2018-06-19 | Universal Display Corporation | Organic electroluminescent materials and devices |
| US11024816B2 (en) | 2014-02-18 | 2021-06-01 | Universal Display Corporation | Organic electroluminescent materials and devices |
| US9847497B2 (en) | 2014-02-18 | 2017-12-19 | Universal Display Corporation | Organic electroluminescent materials and devices |
| US10707423B2 (en) | 2014-02-21 | 2020-07-07 | Universal Display Corporation | Organic electroluminescent materials and devices |
| US9502656B2 (en) | 2014-02-24 | 2016-11-22 | Universal Display Corporation | Organic electroluminescent materials and devices |
| US9647217B2 (en) | 2014-02-24 | 2017-05-09 | Universal Display Corporation | Organic electroluminescent materials and devices |
| US12274165B2 (en) | 2014-02-27 | 2025-04-08 | Universal Display Corporation | Organic electroluminescent materials and devices |
| US10403825B2 (en) | 2014-02-27 | 2019-09-03 | Universal Display Corporation | Organic electroluminescent materials and devices |
| US11600782B2 (en) | 2014-02-27 | 2023-03-07 | Universal Display Corporation | Organic electroluminescent materials and devices |
| US9590195B2 (en) | 2014-02-28 | 2017-03-07 | Universal Display Corporation | Organic electroluminescent materials and devices |
| US9673407B2 (en) | 2014-02-28 | 2017-06-06 | Universal Display Corporation | Organic electroluminescent materials and devices |
| US9181270B2 (en) | 2014-02-28 | 2015-11-10 | Universal Display Corporation | Method of making sulfide compounds |
| US9190620B2 (en) | 2014-03-01 | 2015-11-17 | Universal Display Corporation | Organic electroluminescent materials and devices |
| JP2014131079A (en)* | 2014-03-13 | 2014-07-10 | Konica Minolta Inc | Material for organic electroluminescent element, organic electroluminescent element, illuminating device and display device |
| US9397309B2 (en) | 2014-03-13 | 2016-07-19 | Universal Display Corporation | Organic electroluminescent devices |
| US10208026B2 (en) | 2014-03-18 | 2019-02-19 | Universal Display Corporation | Organic electroluminescent materials and devices |
| US9748504B2 (en) | 2014-03-25 | 2017-08-29 | Universal Display Corporation | Organic electroluminescent materials and devices |
| US10370396B2 (en) | 2014-03-31 | 2019-08-06 | Udc Ireland Limited | Metal complexes, comprising carbene ligands having an O-substituted non-cyclometallated aryl group and their use in organic light emitting diodes |
| US10118939B2 (en) | 2014-03-31 | 2018-11-06 | Udc Ireland Limited | Metal complexes, comprising carbene ligands having an o-substituted non-cyclometalated aryl group and their use in organic light emitting diodes |
| US9862739B2 (en) | 2014-03-31 | 2018-01-09 | Udc Ireland Limited | Metal complexes, comprising carbene ligands having an O-substituted non-cyclometalated aryl group and their use in organic light emitting diodes |
| US9929353B2 (en) | 2014-04-02 | 2018-03-27 | Universal Display Corporation | Organic electroluminescent materials and devices |
| JP2014170946A (en)* | 2014-04-04 | 2014-09-18 | Konica Minolta Inc | Organic electroluminescent element material, organic electroluminescent element, display device and luminaire |
| JP2014158039A (en)* | 2014-04-04 | 2014-08-28 | Konica Minolta Inc | Organic electroluminescent element material, organic electroluminescent element, display device and lighting system |
| US9691993B2 (en) | 2014-04-09 | 2017-06-27 | Universal Display Corporation | Organic electroluminescent materials and devices |
| US11793066B2 (en) | 2014-04-14 | 2023-10-17 | Universal Display Corporation | Organic electroluminescent materials and devices |
| US10825998B2 (en) | 2014-04-14 | 2020-11-03 | Universal Display Corporation | Organic electroluminescent materials and devices |
| US11005052B2 (en) | 2014-04-14 | 2021-05-11 | Universal Display Corporation | Organic electroluminescent materials and devices |
| US10008679B2 (en) | 2014-04-14 | 2018-06-26 | Universal Display Corporation | Organic electroluminescent materials and devices |
| US9905785B2 (en) | 2014-04-14 | 2018-02-27 | Universal Display Corporation | Organic electroluminescent materials and devices |
| US9847498B2 (en) | 2014-04-14 | 2017-12-19 | Universal Display Corporation | Organic electroluminescent materials and devices |
| US10256427B2 (en) | 2014-04-15 | 2019-04-09 | Universal Display Corporation | Efficient organic electroluminescent devices |
| US9741941B2 (en) | 2014-04-29 | 2017-08-22 | Universal Display Corporation | Organic electroluminescent materials and devices |
| US10457699B2 (en) | 2014-05-02 | 2019-10-29 | Universal Display Corporation | Organic electroluminescent materials and devices |
| US11919916B2 (en) | 2014-05-02 | 2024-03-05 | Universal Display Corporation | Organic electroluminescent materials and devices |
| US11427607B2 (en) | 2014-05-02 | 2022-08-30 | Universal Display Corporation | Organic electroluminescent materials and devices |
| US10276805B2 (en) | 2014-05-08 | 2019-04-30 | Universal Display Corporation | Organic electroluminescent materials and devices |
| US10301338B2 (en) | 2014-05-08 | 2019-05-28 | Universal Display Corporation | Organic electroluminescent materials and devices |
| US11495754B2 (en) | 2014-05-08 | 2022-11-08 | Universal Display Corporation | Organic electroluminescent materials and devices |
| US10263198B2 (en) | 2014-05-08 | 2019-04-16 | Universal Display Corporation | Organic electroluminescent materials and devices |
| US10403830B2 (en) | 2014-05-08 | 2019-09-03 | Universal Display Corporation | Organic electroluminescent materials and devices |
| US10256419B2 (en) | 2014-05-08 | 2019-04-09 | Universal Display Corporation | Organic electroluminescent materials and devices |
| US10636983B2 (en) | 2014-05-08 | 2020-04-28 | Universal Display Corporation | Organic electroluminescent materials and devices |
| US9997716B2 (en) | 2014-05-27 | 2018-06-12 | Universal Display Corporation | Organic electroluminescent materials and devices |
| US10461260B2 (en) | 2014-06-03 | 2019-10-29 | Universal Display Corporation | Organic electroluminescent materials and devices |
| US10700293B2 (en) | 2014-06-26 | 2020-06-30 | Universal Display Corporation | Organic electroluminescent materials and devices |
| US9911931B2 (en) | 2014-06-26 | 2018-03-06 | Universal Display Corporation | Organic electroluminescent materials and devices |
| US11957047B2 (en) | 2014-07-09 | 2024-04-09 | Universal Display Corporation | Organic electroluminescent materials and devices |
| US11024811B2 (en) | 2014-07-09 | 2021-06-01 | Universal Display Corporation | Organic electroluminescent materials and devices |
| US11456423B2 (en) | 2014-07-09 | 2022-09-27 | Universal Display Corporation | Organic electroluminescent materials and devices |
| US10297762B2 (en) | 2014-07-09 | 2019-05-21 | Universal Display Corporation | Organic electroluminescent materials and devices |
| US10566546B2 (en) | 2014-07-14 | 2020-02-18 | Universal Display Corporation | Organic electroluminescent materials and devices |
| US9929357B2 (en) | 2014-07-22 | 2018-03-27 | Universal Display Corporation | Organic electroluminescent materials and devices |
| WO2016016791A1 (en) | 2014-07-28 | 2016-02-04 | Idemitsu Kosan Co., Ltd (Ikc) | 2,9-functionalized benzimidazolo[1,2-a]benzimidazoles as hosts for organic light emitting diodes (oleds) |
| US10680190B2 (en) | 2014-08-06 | 2020-06-09 | Samsung Sdi Co., Ltd. | Organic compound, organic optoelectronic element, and display device |
| US10411200B2 (en) | 2014-08-07 | 2019-09-10 | Universal Display Corporation | Electroluminescent (2-phenylpyridine)iridium complexes and devices |
| EP2982676A1 (en) | 2014-08-07 | 2016-02-10 | Idemitsu Kosan Co., Ltd. | Benzimidazo[2,1-B]benzoxazoles for electronic applications |
| US12029108B2 (en) | 2014-08-07 | 2024-07-02 | Universal Display Corporation | Organic electroluminescent materials and devices |
| US11108000B2 (en) | 2014-08-07 | 2021-08-31 | Unniversal Display Corporation | Organic electroluminescent materials and devices |
| EP2993215A1 (en) | 2014-09-04 | 2016-03-09 | Idemitsu Kosan Co., Ltd. | Azabenzimidazo[2,1-a]benzimidazoles for electronic applications |
| US10043987B2 (en) | 2014-09-29 | 2018-08-07 | Universal Display Corporation | Organic electroluminescent materials and devices |
| US11641774B2 (en) | 2014-09-29 | 2023-05-02 | Universal Display Corporation | Organic electroluminescent materials and devices |
| US10135007B2 (en) | 2014-09-29 | 2018-11-20 | Universal Display Corporation | Organic electroluminescent materials and devices |
| US10749113B2 (en) | 2014-09-29 | 2020-08-18 | Universal Display Corporation | Organic electroluminescent materials and devices |
| US10361375B2 (en) | 2014-10-06 | 2019-07-23 | Universal Display Corporation | Organic electroluminescent materials and devices |
| US11342510B2 (en) | 2014-10-06 | 2022-05-24 | Universal Display Corporation | Organic electroluminescent materials and devices |
| US10854826B2 (en) | 2014-10-08 | 2020-12-01 | Universal Display Corporation | Organic electroluminescent compounds, compositions and devices |
| US11342516B2 (en) | 2014-10-08 | 2022-05-24 | Universal Display Corporation | Organic electroluminescent materials and devices |
| US9397302B2 (en) | 2014-10-08 | 2016-07-19 | Universal Display Corporation | Organic electroluminescent materials and devices |
| US12082485B2 (en) | 2014-10-08 | 2024-09-03 | Universal Display Corporation | Organic electroluminescent materials and devices |
| US9799838B2 (en) | 2014-10-08 | 2017-10-24 | Universal Display Corporation | Fluorinated organic electroluminescent materials and devices |
| US10998508B2 (en) | 2014-10-08 | 2021-05-04 | Universal Display Corporation | Organic electroluminescent materials and devices |
| US10950803B2 (en) | 2014-10-13 | 2021-03-16 | Universal Display Corporation | Compounds and uses in devices |
| US9484541B2 (en) | 2014-10-20 | 2016-11-01 | Universal Display Corporation | Organic electroluminescent materials and devices |
| US20160118594A1 (en)* | 2014-10-22 | 2016-04-28 | Samsung Display Co., Ltd. | Material for organic electroluminescent device and organic electroluminescent device using the same |
| KR102410933B1 (en)* | 2014-10-22 | 2022-06-21 | 삼성디스플레이 주식회사 | Material for organic electroluminiscent device and organic electroluminiscent device using the same |
| JP2016082205A (en)* | 2014-10-22 | 2016-05-16 | 三星ディスプレイ株式會社Samsung Display Co.,Ltd. | Material for organic electroluminescence device and organic electroluminescence device using the same |
| US10084140B2 (en)* | 2014-10-22 | 2018-09-25 | Samsung Display Co., Ltd. | Material for organic electroluminescent device and organic electroluminescent device using the same |
| KR20160047971A (en)* | 2014-10-22 | 2016-05-03 | 삼성디스플레이 주식회사 | Material for organic electroluminiscent device and organic electroluminiscent device using the same |
| EP3015469A1 (en) | 2014-10-30 | 2016-05-04 | Idemitsu Kosan Co., Ltd. | 5-((benz)imidazol-2-yl)benzimidazo[1,2-a]benzimidazoles for electronic applications |
| JP2017533893A (en)* | 2014-10-30 | 2017-11-16 | エルジー・ケム・リミテッド | Ring compound and organic light emitting device including the same |
| WO2016067261A1 (en) | 2014-10-30 | 2016-05-06 | Idemitsu Kosan Co., Ltd. | 5-((benz)imidazol-2-yl)benzimidazo[1,2-a]benzimidazoles for electronic applications |
| US10431748B2 (en) | 2014-10-30 | 2019-10-01 | Lg Chem, Ltd. | Cyclic compound and organic light-emitting element comprising same |
| US10868261B2 (en) | 2014-11-10 | 2020-12-15 | Universal Display Corporation | Organic electroluminescent materials and devices |
| US12201012B2 (en) | 2014-11-10 | 2025-01-14 | Universal Display Corporation | Organic electroluminescent materials and devices |
| US10038151B2 (en) | 2014-11-12 | 2018-07-31 | Universal Display Corporation | Organic electroluminescent materials and devices |
| US11043641B2 (en) | 2014-11-12 | 2021-06-22 | Universal Display Corporation | Organic electroluminescent materials and devices |
| US11832507B2 (en) | 2014-11-12 | 2023-11-28 | Universal Display Corporation | Organic electroluminescent materials and devices |
| US10411201B2 (en) | 2014-11-12 | 2019-09-10 | Universal Display Corporation | Organic electroluminescent materials and devices |
| US9871212B2 (en) | 2014-11-14 | 2018-01-16 | Universal Display Corporation | Organic electroluminescent materials and devices |
| WO2016079667A1 (en) | 2014-11-17 | 2016-05-26 | Idemitsu Kosan Co., Ltd. | Indole derivatives for electronic applications |
| US9761814B2 (en) | 2014-11-18 | 2017-09-12 | Universal Display Corporation | Organic light-emitting materials and devices |
| WO2016079169A1 (en) | 2014-11-18 | 2016-05-26 | Basf Se | Pt- or pd-carbene complexes for use in organic light emitting diodes |
| US12156464B2 (en) | 2014-11-25 | 2024-11-26 | Universal Display Corporation | Organic electroluminescent materials and devices |
| US9444075B2 (en) | 2014-11-26 | 2016-09-13 | Universal Display Corporation | Emissive display with photo-switchable polarization |
| US9825260B2 (en) | 2014-11-26 | 2017-11-21 | Universal Display Corporation | Emissive display with photo-switchable polarization |
| EP3034507A1 (en) | 2014-12-15 | 2016-06-22 | Idemitsu Kosan Co., Ltd | 1-functionalized dibenzofurans and dibenzothiophenes for organic light emitting diodes (OLEDs) |
| EP3034506A1 (en) | 2014-12-15 | 2016-06-22 | Idemitsu Kosan Co., Ltd | 4-functionalized carbazole derivatives for electronic applications |
| WO2016097983A1 (en) | 2014-12-15 | 2016-06-23 | Idemitsu Kosan Co., Ltd. | 1-functionalized dibenzofurans and dibenzothiophenes for organic light emitting diodes (oleds) |
| US9680113B2 (en) | 2014-12-17 | 2017-06-13 | Universal Display Corporation | Organic electroluminescent materials and devices |
| US9450195B2 (en) | 2014-12-17 | 2016-09-20 | Universal Display Corporation | Organic electroluminescent materials and devices |
| US10000517B2 (en) | 2014-12-17 | 2018-06-19 | Universal Display Corporation | Organic electroluminescent materials and devices |
| US10636978B2 (en) | 2014-12-30 | 2020-04-28 | Universal Display Corporation | Organic electroluminescent materials and devices |
| US10253252B2 (en) | 2014-12-30 | 2019-04-09 | Universal Display Corporation | Organic electroluminescent materials and devices |
| US9312499B1 (en) | 2015-01-05 | 2016-04-12 | Universal Display Corporation | Organic electroluminescent materials and devices |
| US9406892B2 (en) | 2015-01-07 | 2016-08-02 | Universal Display Corporation | Organic electroluminescent materials and devices |
| US9748500B2 (en) | 2015-01-15 | 2017-08-29 | Universal Display Corporation | Organic light emitting materials |
| US9711730B2 (en) | 2015-01-25 | 2017-07-18 | Universal Display Corporation | Organic electroluminescent materials and devices |
| US10418569B2 (en) | 2015-01-25 | 2019-09-17 | Universal Display Corporation | Organic electroluminescent materials and devices |
| EP3053918A1 (en) | 2015-02-06 | 2016-08-10 | Idemitsu Kosan Co., Ltd | 2-carbazole substituted benzimidazoles for electronic applications |
| US10355222B2 (en) | 2015-02-06 | 2019-07-16 | Universal Display Corporation | Organic electroluminescent materials and devices |
| EP3054498A1 (en) | 2015-02-06 | 2016-08-10 | Idemitsu Kosan Co., Ltd. | Bisimidazodiazocines |
| WO2016125110A1 (en) | 2015-02-06 | 2016-08-11 | Idemitsu Kosan Co., Ltd. | Bisimidazolodiazocines |
| US11245081B2 (en) | 2015-02-06 | 2022-02-08 | Universal Display Corporation | Organic electroluminescent materials and devices |
| US10418562B2 (en) | 2015-02-06 | 2019-09-17 | Universal Display Corporation | Organic electroluminescent materials and devices |
| US10644247B2 (en) | 2015-02-06 | 2020-05-05 | Universal Display Corporation | Organic electroluminescent materials and devices |
| US10177316B2 (en) | 2015-02-09 | 2019-01-08 | Universal Display Corporation | Organic electroluminescent materials and devices |
| JP2016147851A (en)* | 2015-02-13 | 2016-08-18 | 三星エスディアイ株式会社Samsung SDI Co., Ltd. | Compound for organic optoelectronic device, organic optoelectronic device, and display device |
| US10144867B2 (en) | 2015-02-13 | 2018-12-04 | Universal Display Corporation | Organic electroluminescent materials and devices |
| EP3056498A1 (en)* | 2015-02-13 | 2016-08-17 | Samsung SDI Co., Ltd. | Diazadibenzofurane and diazadibenzothiophene derivatives and their use in organic optoelectronic devices |
| CN105884803B (en)* | 2015-02-13 | 2019-10-18 | 三星Sdi株式会社 | Compounds for organic optoelectronic devices and their applications |
| US11535797B2 (en) | 2015-02-13 | 2022-12-27 | Universal Display Corporation | Organic electroluminescent materials and devices |
| US10889754B2 (en) | 2015-02-13 | 2021-01-12 | Universal Display Corporation | Organic electroluminescent materials and devices |
| US11795385B2 (en) | 2015-02-13 | 2023-10-24 | Universal Display Corporation | Organic electroluminescent materials and devices |
| CN105884803A (en)* | 2015-02-13 | 2016-08-24 | 三星Sdi株式会社 | Compound For Organic Optoelectronic Device And Application Thereof |
| KR101842584B1 (en) | 2015-02-13 | 2018-03-27 | 삼성에스디아이 주식회사 | Organic compound for optoelectric device and organic optoelectric device and display device |
| US12319857B2 (en) | 2015-02-13 | 2025-06-03 | Universal Display Corporation | Organic electroluminescent materials and devices |
| EP4271160A2 (en) | 2015-02-13 | 2023-11-01 | Merck Patent GmbH | Aromatic heterocyclic derivative, and organic electroluminescent element, illumination device, and display device using aromatic heterocyclic derivative |
| US10680183B2 (en) | 2015-02-15 | 2020-06-09 | Universal Display Corporation | Organic electroluminescent materials and devices |
| US9929361B2 (en) | 2015-02-16 | 2018-03-27 | Universal Display Corporation | Organic electroluminescent materials and devices |
| EP3061759A1 (en) | 2015-02-24 | 2016-08-31 | Idemitsu Kosan Co., Ltd | Nitrile substituted dibenzofurans |
| US11678567B2 (en) | 2015-02-27 | 2023-06-13 | Universal Display Corporation | Organic electroluminescent materials and devices |
| US11056657B2 (en) | 2015-02-27 | 2021-07-06 | University Display Corporation | Organic electroluminescent materials and devices |
| US10600966B2 (en) | 2015-02-27 | 2020-03-24 | Universal Display Corporation | Organic electroluminescent materials and devices |
| US10686143B2 (en) | 2015-03-05 | 2020-06-16 | Universal Display Corporation | Organic electroluminescent materials and devices |
| US10270046B2 (en) | 2015-03-06 | 2019-04-23 | Universal Display Corporation | Organic electroluminescent materials and devices |
| US9780316B2 (en) | 2015-03-16 | 2017-10-03 | Universal Display Corporation | Organic electroluminescent materials and devices |
| EP3070144A1 (en) | 2015-03-17 | 2016-09-21 | Idemitsu Kosan Co., Ltd. | Seven-membered ring compounds |
| US9911928B2 (en) | 2015-03-19 | 2018-03-06 | Universal Display Corporation | Organic electroluminescent materials and devices |
| US9871214B2 (en) | 2015-03-23 | 2018-01-16 | Universal Display Corporation | Organic electroluminescent materials and devices |
| US10529931B2 (en) | 2015-03-24 | 2020-01-07 | Universal Display Corporation | Organic Electroluminescent materials and devices |
| EP3072943A1 (en) | 2015-03-26 | 2016-09-28 | Idemitsu Kosan Co., Ltd. | Dibenzofuran/carbazole-substituted benzonitriles |
| US10297770B2 (en) | 2015-03-27 | 2019-05-21 | Universal Display Corporation | Organic electroluminescent materials and devices |
| WO2016157113A1 (en) | 2015-03-31 | 2016-10-06 | Idemitsu Kosan Co., Ltd. | Benzimidazolo[1,2-a]benzimidazole carrying aryl- or heteroarylnitril groups for organic light emitting diodes |
| EP3075737A1 (en) | 2015-03-31 | 2016-10-05 | Idemitsu Kosan Co., Ltd | Benzimidazolo[1,2-a]benzimidazole carrying aryl- or heteroarylnitril groups for organic light emitting diodes |
| US12295262B2 (en) | 2015-04-06 | 2025-05-06 | Universal Display Corporation | Organic electroluminescent materials and devices |
| US11818949B2 (en) | 2015-04-06 | 2023-11-14 | Universal Display Corporation | Organic electroluminescent materials and devices |
| US11672175B2 (en) | 2015-04-06 | 2023-06-06 | Universal Display Corporation | Organic electroluminescent materials and devices |
| US10693082B2 (en) | 2015-04-06 | 2020-06-23 | Universal Display Corporation | Organic electroluminescent materials and devices |
| US11245080B2 (en) | 2015-04-06 | 2022-02-08 | Universal Display Corporation | Organic electroluminescent materials and devices |
| US11495749B2 (en) | 2015-04-06 | 2022-11-08 | Universal Display Corporation | Organic electroluminescent materials and devices |
| US10593890B2 (en) | 2015-04-06 | 2020-03-17 | Universal Display Corporation | Organic electroluminescent materials and devices |
| US12284913B2 (en) | 2015-04-06 | 2025-04-22 | Universal Display Corporation | Organic electroluminescent materials and devices |
| US10403826B2 (en) | 2015-05-07 | 2019-09-03 | Universal Display Corporation | Organic electroluminescent materials and devices |
| US11744151B2 (en) | 2015-05-07 | 2023-08-29 | Universal Display Corporation | Organic electroluminescent materials and devices |
| US10777749B2 (en) | 2015-05-07 | 2020-09-15 | Universal Display Corporation | Organic electroluminescent materials and devices |
| US9478758B1 (en) | 2015-05-08 | 2016-10-25 | Universal Display Corporation | Organic electroluminescent materials and devices |
| US11335864B2 (en) | 2015-05-15 | 2022-05-17 | Universal Display Corporation | Organic electroluminescent materials and devices |
| US9859510B2 (en) | 2015-05-15 | 2018-01-02 | Universal Display Corporation | Organic electroluminescent materials and devices |
| US12035614B2 (en) | 2015-05-15 | 2024-07-09 | Universal Display Corporation | Organic electroluminescent materials and devices |
| US10547013B2 (en) | 2015-05-15 | 2020-01-28 | Universal Display Corporation | Organic electroluminescent materials and devices |
| USRE48809E1 (en) | 2015-05-15 | 2021-11-02 | Universal Display Corporation | Organic electroluminescent materials and devices |
| US10109799B2 (en) | 2015-05-21 | 2018-10-23 | Universal Display Corporation | Organic electroluminescent materials and devices |
| US10256411B2 (en) | 2015-05-21 | 2019-04-09 | Universal Display Corporation | Organic electroluminescent materials and devices |
| US10033004B2 (en) | 2015-06-01 | 2018-07-24 | Universal Display Corporation | Organic electroluminescent materials and devices |
| US10418568B2 (en) | 2015-06-01 | 2019-09-17 | Universal Display Corporation | Organic electroluminescent materials and devices |
| WO2016193243A1 (en) | 2015-06-03 | 2016-12-08 | Udc Ireland Limited | Highly efficient oled devices with very short decay times |
| EP4060757A1 (en) | 2015-06-03 | 2022-09-21 | UDC Ireland Limited | Highly efficient oled devices with very short decay times |
| US11925102B2 (en) | 2015-06-04 | 2024-03-05 | Universal Display Corporation | Organic electroluminescent materials and devices |
| US12058929B2 (en) | 2015-06-04 | 2024-08-06 | Universal Display Corporation | Organic electroluminescent materials and devices |
| US10825997B2 (en) | 2015-06-25 | 2020-11-03 | Universal Display Corporation | Organic electroluminescent materials and devices |
| US10873036B2 (en) | 2015-07-07 | 2020-12-22 | Universal Display Corporation | Organic electroluminescent materials and devices |
| US9978956B2 (en) | 2015-07-15 | 2018-05-22 | Universal Display Corporation | Organic electroluminescent materials and devices |
| US11127905B2 (en) | 2015-07-29 | 2021-09-21 | Universal Display Corporation | Organic electroluminescent materials and devices |
| US11018309B2 (en) | 2015-08-03 | 2021-05-25 | Universal Display Corporation | Organic electroluminescent materials and devices |
| US11522140B2 (en) | 2015-08-17 | 2022-12-06 | Universal Display Corporation | Organic electroluminescent materials and devices |
| US10522769B2 (en) | 2015-08-18 | 2019-12-31 | Universal Display Corporation | Organic electroluminescent materials and devices |
| US10181564B2 (en) | 2015-08-26 | 2019-01-15 | Universal Display Corporation | Organic electroluminescent materials and devices |
| US10672996B2 (en) | 2015-09-03 | 2020-06-02 | Universal Display Corporation | Organic electroluminescent materials and devices |
| US10361381B2 (en) | 2015-09-03 | 2019-07-23 | Universal Display Corporation | Organic electroluminescent materials and devices |
| US11605789B2 (en) | 2015-09-03 | 2023-03-14 | Universal Display Corporation | Organic electroluminescent materials and devices |
| US11626563B2 (en) | 2015-09-03 | 2023-04-11 | Universal Display Corporation | Organic electroluminescent materials and devices |
| US11706972B2 (en) | 2015-09-08 | 2023-07-18 | Universal Display Corporation | Organic electroluminescent materials and devices |
| US11302872B2 (en) | 2015-09-09 | 2022-04-12 | Universal Display Corporation | Organic electroluminescent materials and devices |
| US10770664B2 (en) | 2015-09-21 | 2020-09-08 | Universal Display Corporation | Organic electroluminescent materials and devices |
| US11812622B2 (en) | 2015-09-25 | 2023-11-07 | Universal Display Corporation | Organic electroluminescent compounds and devices |
| WO2017056055A1 (en) | 2015-10-01 | 2017-04-06 | Idemitsu Kosan Co., Ltd. | Benzimidazolo[1,2-a]benzimidazole carrying triazine groups for organic light emitting diodes |
| EP3150606A1 (en) | 2015-10-01 | 2017-04-05 | Idemitsu Kosan Co., Ltd. | Benzimidazolo[1,2-a]benzimidazoles carrying benzofurane or benzothiophene groups for organic light emitting diodes |
| US11889747B2 (en) | 2015-10-01 | 2024-01-30 | Universal Display Corporation | Organic electroluminescent materials and devices |
| EP3150604A1 (en) | 2015-10-01 | 2017-04-05 | Idemitsu Kosan Co., Ltd. | Benzimidazolo[1,2-a]benzimidazole carrying benzimidazolo[1,2-a]benzimidazolyl groups, carbazolyl groups, benzofurane groups or benzothiophene groups for organic light emitting diodes |
| US12063853B2 (en) | 2015-10-01 | 2024-08-13 | Universal Display Corporation | Organic electroluminescent materials and devices |
| US10847728B2 (en) | 2015-10-01 | 2020-11-24 | Universal Display Corporation | Organic electroluminescent materials and devices |
| US10593892B2 (en) | 2015-10-01 | 2020-03-17 | Universal Display Corporation | Organic electroluminescent materials and devices |
| WO2017056052A1 (en) | 2015-10-01 | 2017-04-06 | Idemitsu Kosan Co., Ltd. | Benzimidazolo[1,2-a]benzimidazole carrying benzimidazolo[1,2-a]benzimidazolyl groups, carbazolyl groups, benzofurane groups or benzothiophene groups for organic light emitting diodes |
| WO2017056053A1 (en) | 2015-10-01 | 2017-04-06 | Idemitsu Kosan Co., Ltd. | Benzimidazolo[1,2-a]benzimidazole carrying benzimidazolo[1,2-a]benzimidazolyl groups, carbazolyl groups, benzofurane groups or benzothiophene groups for organic light emitting diodes |
| US10991895B2 (en) | 2015-10-06 | 2021-04-27 | Universal Display Corporation | Organic electroluminescent materials and devices |
| US10388893B2 (en) | 2015-10-29 | 2019-08-20 | Universal Display Corporation | Organic electroluminescent materials and devices |
| US10388892B2 (en) | 2015-10-29 | 2019-08-20 | Universal Display Corporation | Organic electroluminescent materials and devices |
| US10177318B2 (en) | 2015-10-29 | 2019-01-08 | Universal Display Corporation | Organic electroluminescent materials and devices |
| US11349087B2 (en) | 2015-10-29 | 2022-05-31 | Universal Display Corporation | Organic electroluminescent materials and devices |
| WO2017078182A1 (en) | 2015-11-04 | 2017-05-11 | Idemitsu Kosan Co., Ltd. | Benzimidazole fused heteroaryls |
| US11832456B2 (en) | 2015-11-23 | 2023-11-28 | Universal Display Corporation | Organic electroluminescent materials and devices |
| US10998507B2 (en) | 2015-11-23 | 2021-05-04 | Universal Display Corporation | Organic electroluminescent materials and devices |
| US10476010B2 (en) | 2015-11-30 | 2019-11-12 | Universal Display Corporation | Organic electroluminescent materials and devices |
| WO2017093958A1 (en) | 2015-12-04 | 2017-06-08 | Idemitsu Kosan Co., Ltd. | Benzimidazolo[1,2-a]benzimidazole derivatives for organic light emitting diodes |
| WO2017109727A1 (en) | 2015-12-21 | 2017-06-29 | Idemitsu Kosan Co., Ltd. | Hetero-condensed phenylquinazolines and their use in electronic devices |
| WO2017109722A1 (en) | 2015-12-21 | 2017-06-29 | Idemitsu Kosan Co., Ltd. | Nitrogen-containing heterocyclic compounds and organic electroluminescence devices containing them |
| US10957861B2 (en) | 2015-12-29 | 2021-03-23 | Universal Display Corporation | Organic electroluminescent materials and devices |
| US11024808B2 (en) | 2015-12-29 | 2021-06-01 | Universal Display Corporation | Organic electroluminescent materials and devices |
| US11818948B2 (en) | 2015-12-29 | 2023-11-14 | Universal Display Corporation | Organic electroluminescent materials and devices |
| US10135006B2 (en) | 2016-01-04 | 2018-11-20 | Universal Display Corporation | Organic electroluminescent materials and devices |
| EP3200255A2 (en) | 2016-01-06 | 2017-08-02 | Konica Minolta, Inc. | Organic electroluminescent element, method for producing organic electroluminescent element, display, and lighting device |
| US12247150B2 (en) | 2016-02-09 | 2025-03-11 | Universal Display Corporation | Organic electroluminescent materials and devices |
| US11692132B2 (en) | 2016-02-09 | 2023-07-04 | Universal Display Corporation | Organic electroluminescent materials and devices |
| US11098245B2 (en) | 2016-02-09 | 2021-08-24 | Universal Display Corporation | Organic electroluminescent materials and devices |
| US10707427B2 (en) | 2016-02-09 | 2020-07-07 | Universal Display Corporation | Organic electroluminescent materials and devices |
| US11716898B2 (en) | 2016-02-09 | 2023-08-01 | Universal Display Corporation | Organic electroluminescent materials and devices |
| US10457864B2 (en) | 2016-02-09 | 2019-10-29 | Universal Display Corporation | Organic electroluminescent materials and devices |
| US12302750B2 (en) | 2016-02-18 | 2025-05-13 | Universal Display Corporation | Organic electroluminescent materials and devices |
| US10600967B2 (en) | 2016-02-18 | 2020-03-24 | Universal Display Corporation | Organic electroluminescent materials and devices |
| US12284911B2 (en) | 2016-03-16 | 2025-04-22 | Universal Display Corporation | Organic electroluminescent materials and devices |
| US11094891B2 (en) | 2016-03-16 | 2021-08-17 | Universal Display Corporation | Organic electroluminescent materials and devices |
| US10276809B2 (en) | 2016-04-05 | 2019-04-30 | Universal Display Corporation | Organic electroluminescent materials and devices |
| US10236456B2 (en) | 2016-04-11 | 2019-03-19 | Universal Display Corporation | Organic electroluminescent materials and devices |
| WO2017178864A1 (en) | 2016-04-12 | 2017-10-19 | Idemitsu Kosan Co., Ltd. | Seven-membered ring compounds |
| US11825734B2 (en) | 2016-04-13 | 2023-11-21 | Universal Display Corporation | Organic electroluminescent materials and devices |
| US11342515B2 (en) | 2016-04-13 | 2022-05-24 | Universal Display Corporation | Organic electroluminescent materials and devices |
| US10566552B2 (en) | 2016-04-13 | 2020-02-18 | Universal Display Corporation | Organic electroluminescent materials and devices |
| US11081647B2 (en) | 2016-04-22 | 2021-08-03 | Universal Display Corporation | Organic electroluminescent materials and devices |
| US11228002B2 (en) | 2016-04-22 | 2022-01-18 | Universal Display Corporation | Organic electroluminescent materials and devices |
| US11228003B2 (en) | 2016-04-22 | 2022-01-18 | Universal Display Corporation | Organic electroluminescent materials and devices |
| US12048237B2 (en) | 2016-05-05 | 2024-07-23 | Universal Display Corporation | Organic electroluminescent materials and devices |
| US10985328B2 (en) | 2016-05-25 | 2021-04-20 | Universal Display Corporation | Organic electroluminescent materials and devices |
| US11711977B2 (en) | 2016-05-25 | 2023-07-25 | Universal Display Corporation | Organic electroluminescent materials and devices |
| US10840458B2 (en) | 2016-05-25 | 2020-11-17 | Universal Display Corporation | Organic electroluminescent materials and devices |
| US10468609B2 (en) | 2016-06-02 | 2019-11-05 | Universal Display Corporation | Organic electroluminescent materials and devices |
| US10862054B2 (en) | 2016-06-20 | 2020-12-08 | Universal Display Corporation | Organic electroluminescent materials and devices |
| US11424419B2 (en) | 2016-06-20 | 2022-08-23 | Universal Display Corporation | Organic electroluminescent materials and devices |
| US10686140B2 (en) | 2016-06-20 | 2020-06-16 | Universal Display Corporation | Organic electroluminescent materials and devices |
| US11114624B2 (en) | 2016-06-20 | 2021-09-07 | Universal Display Corporation | Organic electroluminescent materials and devices |
| US11839139B2 (en) | 2016-06-20 | 2023-12-05 | Universal Display Corporation | Organic electroluminescent materials and devices |
| US10672997B2 (en) | 2016-06-20 | 2020-06-02 | Universal Display Corporation | Organic electroluminescent materials and devices |
| US11903306B2 (en) | 2016-06-20 | 2024-02-13 | Universal Display Corporation | Organic electroluminescent materials and devices |
| US11588121B2 (en) | 2016-06-20 | 2023-02-21 | Universal Display Corporation | Organic electroluminescent materials and devices |
| US12398319B2 (en) | 2016-06-20 | 2025-08-26 | Universal Display Corporation | Tetradentate organic electroluminescent materials and devices |
| US12171139B2 (en) | 2016-06-20 | 2024-12-17 | Universal Display Corporation | Organic electroluminescent materials and devices |
| US10727423B2 (en) | 2016-06-20 | 2020-07-28 | Universal Display Corporation | Organic electroluminescent materials and devices |
| US12274157B2 (en) | 2016-06-20 | 2025-04-08 | Universal Display Corporation | Organic electroluminescent materials and devices |
| US11683981B2 (en) | 2016-06-20 | 2023-06-20 | Universal Display Corporation | Organic electroluminescent materials and devices |
| US11482683B2 (en) | 2016-06-20 | 2022-10-25 | Universal Display Corporation | Organic electroluminescent materials and devices |
| US12101999B2 (en) | 2016-06-20 | 2024-09-24 | Universal Display Corporation | Organic electroluminescent materials and devices |
| US11690284B2 (en) | 2016-06-20 | 2023-06-27 | Universal Display Corporation | Organic electroluminescent materials and devices |
| US10651403B2 (en) | 2016-06-20 | 2020-05-12 | Universal Display Corporation | Organic electroluminescent materials and devices |
| US10957866B2 (en) | 2016-06-30 | 2021-03-23 | Universal Display Corporation | Organic electroluminescent materials and devices |
| US9929360B2 (en) | 2016-07-08 | 2018-03-27 | Universal Display Corporation | Organic electroluminescent materials and devices |
| US10680184B2 (en) | 2016-07-11 | 2020-06-09 | Universal Display Corporation | Organic electroluminescent materials and devices |
| US10566547B2 (en) | 2016-07-11 | 2020-02-18 | Universal Display Corporation | Organic electroluminescent materials and devices |
| US10720587B2 (en) | 2016-07-19 | 2020-07-21 | Universal Display Corporation | Organic electroluminescent materials and devices |
| KR20180009519A (en) | 2016-07-19 | 2018-01-29 | 한남대학교 산학협력단 | Enantiomer Mixture, The Preparation thereof, and Organic Light Emitting Device containing same |
| US10153443B2 (en) | 2016-07-19 | 2018-12-11 | Universal Display Corporation | Organic electroluminescent materials and devices |
| US10205105B2 (en) | 2016-08-15 | 2019-02-12 | Universal Display Corporation | Organic electroluminescent materials and devices |
| US10608186B2 (en) | 2016-09-14 | 2020-03-31 | Universal Display Corporation | Organic electroluminescent materials and devices |
| US11024807B2 (en) | 2016-09-14 | 2021-06-01 | Universal Display Corporation | Organic electroluminescent materials and devices |
| US10505127B2 (en) | 2016-09-19 | 2019-12-10 | Universal Display Corporation | Organic electroluminescent materials and devices |
| US11711969B2 (en) | 2016-10-03 | 2023-07-25 | Universal Display Corporation | Organic electroluminescent materials and devices |
| US11189804B2 (en) | 2016-10-03 | 2021-11-30 | Universal Display Corporation | Organic electroluminescent materials and devices |
| US11196010B2 (en) | 2016-10-03 | 2021-12-07 | Universal Display Corporation | Organic electroluminescent materials and devices |
| US11081658B2 (en) | 2016-10-03 | 2021-08-03 | Universal Display Corporation | Organic electroluminescent materials and devices |
| US11127906B2 (en) | 2016-10-03 | 2021-09-21 | Universal Display Corporation | Organic electroluminescent materials and devices |
| US11183642B2 (en) | 2016-10-03 | 2021-11-23 | Universal Display Corporation | Organic electroluminescent materials and devices |
| US11011709B2 (en) | 2016-10-07 | 2021-05-18 | Universal Display Corporation | Organic electroluminescent materials and devices |
| US12239011B2 (en) | 2016-10-07 | 2025-02-25 | Universal Display Corporation | Organic electroluminescent materials and devices |
| US11239432B2 (en) | 2016-10-14 | 2022-02-01 | Universal Display Corporation | Organic electroluminescent materials and devices |
| US10608185B2 (en) | 2016-10-17 | 2020-03-31 | Univeral Display Corporation | Organic electroluminescent materials and devices |
| US10236458B2 (en) | 2016-10-24 | 2019-03-19 | Universal Display Corporation | Organic electroluminescent materials and devices |
| US12317745B2 (en) | 2016-11-09 | 2025-05-27 | Universal Display Corporation | Organic electroluminescent materials and devices |
| US10340464B2 (en) | 2016-11-10 | 2019-07-02 | Universal Display Corporation | Organic electroluminescent materials and devices |
| US11069864B2 (en) | 2016-11-11 | 2021-07-20 | Universal Display Corporation | Organic electroluminescent materials and devices |
| US10680188B2 (en) | 2016-11-11 | 2020-06-09 | Universal Display Corporation | Organic electroluminescent materials and devices |
| US11980094B2 (en) | 2016-11-14 | 2024-05-07 | Universal Display Corporation | Organic electroluminescent materials and devices |
| US10964893B2 (en) | 2016-11-17 | 2021-03-30 | Universal Display Corporation | Organic electroluminescent materials and devices |
| US10662196B2 (en) | 2016-11-17 | 2020-05-26 | Universal Display Corporation | Organic electroluminescent materials and devices |
| US10153445B2 (en) | 2016-11-21 | 2018-12-11 | Universal Display Corporation | Organic electroluminescent materials and devices |
| US10833276B2 (en) | 2016-11-21 | 2020-11-10 | Universal Display Corporation | Organic electroluminescent materials and devices |
| US12428438B2 (en) | 2016-12-01 | 2025-09-30 | Universal Display Corporation | Organic electroluminescent materials and devices |
| US11555048B2 (en) | 2016-12-01 | 2023-01-17 | Universal Display Corporation | Organic electroluminescent materials and devices |
| US10490753B2 (en) | 2016-12-15 | 2019-11-26 | Universal Display Corporation | Organic electroluminescent materials and devices |
| US11548905B2 (en) | 2016-12-15 | 2023-01-10 | Universal Display Corporation | Organic electroluminescent materials and devices |
| US11545636B2 (en) | 2016-12-15 | 2023-01-03 | Universal Display Corporation | Organic electroluminescent materials and devices |
| US10811618B2 (en) | 2016-12-19 | 2020-10-20 | Universal Display Corporation | Organic electroluminescent materials and devices |
| US11152579B2 (en) | 2016-12-28 | 2021-10-19 | Universal Display Corporation | Organic electroluminescent materials and devices |
| US12391876B2 (en) | 2017-01-03 | 2025-08-19 | Universal Display Corporation | Organic electroluminescent materials and devices |
| US11201298B2 (en) | 2017-01-09 | 2021-12-14 | Universal Display Corporation | Organic electroluminescent materials and devices |
| US11780865B2 (en) | 2017-01-09 | 2023-10-10 | Universal Display Corporation | Organic electroluminescent materials and devices |
| US10804475B2 (en) | 2017-01-11 | 2020-10-13 | Universal Display Corporation | Organic electroluminescent materials and devices |
| US11545637B2 (en) | 2017-01-13 | 2023-01-03 | Universal Display Corporation | Organic electroluminescent materials and devices |
| US10629820B2 (en) | 2017-01-18 | 2020-04-21 | Universal Display Corporation | Organic electroluminescent materials and devices |
| US11566034B2 (en) | 2017-01-20 | 2023-01-31 | Universal Display Corporation | Organic electroluminescent materials and devices |
| US10964904B2 (en) | 2017-01-20 | 2021-03-30 | Universal Display Corporation | Organic electroluminescent materials and devices |
| US11053268B2 (en) | 2017-01-20 | 2021-07-06 | Universal Display Corporation | Organic electroluminescent materials and devices |
| US11765968B2 (en) | 2017-01-23 | 2023-09-19 | Universal Display Corporation | Organic electroluminescent materials and devices |
| US11050028B2 (en) | 2017-01-24 | 2021-06-29 | Universal Display Corporation | Organic electroluminescent materials and devices |
| US11765966B2 (en) | 2017-01-24 | 2023-09-19 | Universal Display Corporation | Organic electroluminescent materials and devices |
| US12089486B2 (en) | 2017-02-08 | 2024-09-10 | Universal Display Corporation | Organic electroluminescent materials and devices |
| US10978647B2 (en) | 2017-02-15 | 2021-04-13 | Universal Display Corporation | Organic electroluminescent materials and devices |
| US11760770B2 (en) | 2017-02-22 | 2023-09-19 | Universal Display Corporation | Organic electroluminescent materials and devices |
| US10822361B2 (en) | 2017-02-22 | 2020-11-03 | Universal Display Corporation | Organic electroluminescent materials and devices |
| US11697661B2 (en) | 2017-02-22 | 2023-07-11 | Universal Display Corporation | Organic electroluminescent materials and devices |
| US11254697B2 (en) | 2017-02-22 | 2022-02-22 | Universal Display Corporation | Organic electroluminescent materials and devices |
| US10745431B2 (en) | 2017-03-08 | 2020-08-18 | Universal Display Corporation | Organic electroluminescent materials and devices |
| US10741780B2 (en) | 2017-03-10 | 2020-08-11 | Universal Display Corporation | Organic electroluminescent materials and devices |
| US10672998B2 (en) | 2017-03-23 | 2020-06-02 | Universal Display Corporation | Organic electroluminescent materials and devices |
| US10873037B2 (en) | 2017-03-28 | 2020-12-22 | Universal Display Corporation | Organic electroluminescent materials and devices |
| US10910577B2 (en) | 2017-03-28 | 2021-02-02 | Universal Display Corporation | Organic electroluminescent materials and devices |
| US12041846B2 (en) | 2017-03-29 | 2024-07-16 | Universal Display Corporation | Organic electroluminescent materials and devices |
| US10844085B2 (en) | 2017-03-29 | 2020-11-24 | Universal Display Corporation | Organic electroluminescent materials and devices |
| US11158820B2 (en) | 2017-03-29 | 2021-10-26 | Universal Display Corporation | Organic electroluminescent materials and devices |
| US11725021B2 (en) | 2017-03-29 | 2023-08-15 | Universal Display Corporation | Organic electroluminescent materials and devices |
| US11056658B2 (en) | 2017-03-29 | 2021-07-06 | Universal Display Corporation | Organic electroluminescent materials and devices |
| US12247041B2 (en) | 2017-03-29 | 2025-03-11 | Universal Display Corporation | Organic electroluminescent materials and devices |
| US11192910B2 (en) | 2017-03-29 | 2021-12-07 | Universal Display Corporation | Organic electroluminescent materials and devices |
| US11678563B2 (en) | 2017-03-29 | 2023-06-13 | Universal Display Corporation | Organic electroluminescent materials and devices |
| US10862046B2 (en) | 2017-03-30 | 2020-12-08 | Universal Display Corporation | Organic electroluminescent materials and devices |
| US11276829B2 (en) | 2017-03-31 | 2022-03-15 | Universal Display Corporation | Organic electroluminescent materials and devices |
| US11139443B2 (en) | 2017-03-31 | 2021-10-05 | Universal Display Corporation | Organic electroluminescent materials and devices |
| US11038117B2 (en) | 2017-04-11 | 2021-06-15 | Universal Display Corporation | Organic electroluminescent materials and devices |
| US10777754B2 (en) | 2017-04-11 | 2020-09-15 | Universal Display Corporation | Organic electroluminescent materials and devices |
| US11084838B2 (en) | 2017-04-21 | 2021-08-10 | Universal Display Corporation | Organic electroluminescent materials and device |
| US10975113B2 (en) | 2017-04-21 | 2021-04-13 | Universal Display Corporation | Organic electroluminescent materials and devices |
| US11566035B2 (en) | 2017-04-21 | 2023-01-31 | Universal Display Corporation | Organic electroluminescent materials and devices |
| US11591356B2 (en) | 2017-04-21 | 2023-02-28 | Universal Display Corporation | Organic electroluminescent materials and devices |
| US11101434B2 (en) | 2017-04-21 | 2021-08-24 | Universal Display Corporation | Organic electroluminescent materials and devices |
| US11038137B2 (en) | 2017-04-28 | 2021-06-15 | Universal Display Corporation | Organic electroluminescent materials and devices |
| US10910570B2 (en) | 2017-04-28 | 2021-02-02 | Universal Display Corporation | Organic electroluminescent materials and devices |
| US11117897B2 (en) | 2017-05-01 | 2021-09-14 | Universal Display Corporation | Organic electroluminescent materials and devices |
| US11702420B2 (en) | 2017-05-01 | 2023-07-18 | Universal Display Corporation | Organic electroluminescent materials and devices |
| US10941170B2 (en) | 2017-05-03 | 2021-03-09 | Universal Display Corporation | Organic electroluminescent materials and devices |
| US11201299B2 (en) | 2017-05-04 | 2021-12-14 | Universal Display Corporation | Organic electroluminescent materials and devices |
| US10870668B2 (en) | 2017-05-05 | 2020-12-22 | Universal Display Corporation | Organic electroluminescent materials and devices |
| US10862055B2 (en) | 2017-05-05 | 2020-12-08 | Universal Display Corporation | Organic electroluminescent materials and devices |
| US11377459B2 (en) | 2017-05-05 | 2022-07-05 | Universal Display Corporation | Organic electroluminescent materials and devices |
| US10930864B2 (en) | 2017-05-10 | 2021-02-23 | Universal Display Corporation | Organic electroluminescent materials and devices |
| US10822362B2 (en) | 2017-05-11 | 2020-11-03 | Universal Display Corporation | Organic electroluminescent materials and devices |
| US10944060B2 (en) | 2017-05-11 | 2021-03-09 | Universal Display Corporation | Organic electroluminescent materials and devices |
| US10840459B2 (en) | 2017-05-18 | 2020-11-17 | Universal Display Corporation | Organic electroluminescent materials and devices |
| US10944062B2 (en) | 2017-05-18 | 2021-03-09 | Universal Display Corporation | Organic electroluminescent materials and devices |
| US11038115B2 (en) | 2017-05-18 | 2021-06-15 | Universal Display Corporation | Organic electroluminescent materials and device |
| US10790455B2 (en) | 2017-05-18 | 2020-09-29 | Universal Display Corporation | Organic electroluminescent materials and devices |
| US10934293B2 (en) | 2017-05-18 | 2021-03-02 | Universal Display Corporation | Organic electroluminescent materials and devices |
| US10930862B2 (en) | 2017-06-01 | 2021-02-23 | Universal Display Corporation | Organic electroluminescent materials and devices |
| US11731975B2 (en) | 2017-06-23 | 2023-08-22 | Universal Display Corporation | Organic electroluminescent materials and devices |
| US12098157B2 (en) | 2017-06-23 | 2024-09-24 | Universal Display Corporation | Organic electroluminescent materials and devices |
| US11678565B2 (en) | 2017-06-23 | 2023-06-13 | Universal Display Corporation | Organic electroluminescent materials and devices |
| US11608321B2 (en) | 2017-06-23 | 2023-03-21 | Universal Display Corporation | Organic electroluminescent materials and devices |
| US11802136B2 (en) | 2017-06-23 | 2023-10-31 | Universal Display Corporation | Organic electroluminescent materials and devices |
| US11814403B2 (en) | 2017-06-23 | 2023-11-14 | Universal Display Corporation | Organic electroluminescent materials and devices |
| US11552261B2 (en) | 2017-06-23 | 2023-01-10 | Universal Display Corporation | Organic electroluminescent materials and devices |
| US11758804B2 (en) | 2017-06-23 | 2023-09-12 | Universal Display Corporation | Organic electroluminescent materials and devices |
| US10968226B2 (en) | 2017-06-23 | 2021-04-06 | Universal Display Corporation | Organic electroluminescent materials and devices |
| US11832510B2 (en) | 2017-06-23 | 2023-11-28 | Universal Display Corporation | Organic electroluminescent materials and devices |
| US11958825B2 (en) | 2017-06-23 | 2024-04-16 | Universal Display Corporation | Organic electroluminescent materials and devices |
| US11174259B2 (en) | 2017-06-23 | 2021-11-16 | Universal Display Corporation | Organic electroluminescent materials and devices |
| US11725022B2 (en) | 2017-06-23 | 2023-08-15 | Universal Display Corporation | Organic electroluminescent materials and devices |
| US11495757B2 (en) | 2017-06-23 | 2022-11-08 | Universal Display Corporation | Organic electroluminescent materials and devices |
| US11469382B2 (en) | 2017-07-12 | 2022-10-11 | Universal Display Corporation | Organic electroluminescent materials and devices |
| US11968883B2 (en) | 2017-07-26 | 2024-04-23 | Universal Display Corporation | Organic electroluminescent materials and devices |
| US12096681B2 (en) | 2017-07-26 | 2024-09-17 | Universal Display Corporation | Organic electroluminescent materials and devices |
| US11239433B2 (en) | 2017-07-26 | 2022-02-01 | Universal Display Corporation | Organic electroluminescent materials and devices |
| US11765970B2 (en) | 2017-07-26 | 2023-09-19 | Universal Display Corporation | Organic electroluminescent materials and devices |
| US11322691B2 (en) | 2017-07-26 | 2022-05-03 | Universal Display Corporation | Organic electroluminescent materials and devices |
| US11917843B2 (en) | 2017-07-26 | 2024-02-27 | Universal Display Corporation | Organic electroluminescent materials and devices |
| US11228010B2 (en) | 2017-07-26 | 2022-01-18 | Universal Display Corporation | Organic electroluminescent materials and devices |
| US11744141B2 (en) | 2017-08-09 | 2023-08-29 | Universal Display Corporation | Organic electroluminescent materials and devices |
| US11910699B2 (en) | 2017-08-10 | 2024-02-20 | Universal Display Corporation | Organic electroluminescent materials and devices |
| US11349083B2 (en) | 2017-08-10 | 2022-05-31 | Universal Display Corporation | Organic electroluminescent materials and devices |
| US12161047B2 (en) | 2017-08-10 | 2024-12-03 | Universal Display Corporation | Organic electroluminescent materials and devices |
| US11744142B2 (en) | 2017-08-10 | 2023-08-29 | Universal Display Corporation | Organic electroluminescent materials and devices |
| US11508913B2 (en) | 2017-08-10 | 2022-11-22 | Universal Display Corporation | Organic electroluminescent materials and devices |
| US11723269B2 (en) | 2017-08-22 | 2023-08-08 | Universal Display Corporation | Organic electroluminescent materials and devices |
| US11462697B2 (en) | 2017-08-22 | 2022-10-04 | Universal Display Corporation | Organic electroluminescent materials and devices |
| US11437591B2 (en) | 2017-08-24 | 2022-09-06 | Universal Display Corporation | Organic electroluminescent materials and devices |
| US11605791B2 (en) | 2017-09-01 | 2023-03-14 | Universal Display Corporation | Organic electroluminescent materials and devices |
| US11696492B2 (en) | 2017-09-07 | 2023-07-04 | Universal Display Corporation | Organic electroluminescent materials and devices |
| US11444249B2 (en) | 2017-09-07 | 2022-09-13 | Universal Display Corporation | Organic electroluminescent materials and devices |
| US11424420B2 (en) | 2017-09-07 | 2022-08-23 | Universal Display Corporation | Organic electroluminescent materials and devices |
| US12069949B2 (en) | 2017-09-07 | 2024-08-20 | Universal Display Corporation | Organic electroluminescent materials and devices |
| US10608188B2 (en) | 2017-09-11 | 2020-03-31 | Universal Display Corporation | Organic electroluminescent materials and devices |
| US10964895B2 (en) | 2017-09-11 | 2021-03-30 | Universal Display Corporation | Organic electroluminescent materials and devices |
| US11778897B2 (en) | 2017-09-20 | 2023-10-03 | Universal Display Corporation | Organic electroluminescent materials and devices |
| US12389791B2 (en) | 2017-09-21 | 2025-08-12 | Universal Display Corporation | Organic electroluminescent materials and devices |
| US12239013B2 (en) | 2017-11-07 | 2025-02-25 | Universal Display Corporation | Organic electroluminescent devices |
| US11685756B2 (en) | 2017-11-07 | 2023-06-27 | Universal Display Corporation | Organic electroluminescent materials and devices |
| US11910702B2 (en) | 2017-11-07 | 2024-02-20 | Universal Display Corporation | Organic electroluminescent devices |
| US11183646B2 (en) | 2017-11-07 | 2021-11-23 | Universal Display Corporation | Organic electroluminescent materials and devices |
| US11214587B2 (en) | 2017-11-07 | 2022-01-04 | Universal Display Corporation | Organic electroluminescent materials and devices |
| US11168103B2 (en) | 2017-11-17 | 2021-11-09 | Universal Display Corporation | Organic electroluminescent materials and devices |
| US11937503B2 (en) | 2017-11-30 | 2024-03-19 | Universal Display Corporation | Organic electroluminescent materials and devices |
| US12075690B2 (en) | 2017-12-14 | 2024-08-27 | Universal Display Corporation | Organic electroluminescent materials and devices |
| US11233204B2 (en) | 2017-12-14 | 2022-01-25 | Universal Display Corporation | Organic electroluminescent materials and devices |
| US10971687B2 (en) | 2017-12-14 | 2021-04-06 | Universal Display Corporation | Organic electroluminescent materials and devices |
| US11233205B2 (en) | 2017-12-14 | 2022-01-25 | Universal Display Corporation | Organic electroluminescent materials and devices |
| US12239012B2 (en) | 2018-01-10 | 2025-02-25 | Universal Display Corporation | Organic electroluminescent materials and devices |
| US11700765B2 (en) | 2018-01-10 | 2023-07-11 | Universal Display Corporation | Organic electroluminescent materials and devices |
| US11081659B2 (en) | 2018-01-10 | 2021-08-03 | Universal Display Corporation | Organic electroluminescent materials and devices |
| US11271177B2 (en) | 2018-01-11 | 2022-03-08 | Universal Display Corporation | Organic electroluminescent materials and devices |
| US11818946B2 (en) | 2018-01-11 | 2023-11-14 | Universal Display Corporation | Organic electroluminescent materials and devices |
| US11515493B2 (en) | 2018-01-11 | 2022-11-29 | Universal Display Corporation | Organic electroluminescent materials and devices |
| US11542289B2 (en) | 2018-01-26 | 2023-01-03 | Universal Display Corporation | Organic electroluminescent materials and devices |
| US11845764B2 (en) | 2018-01-26 | 2023-12-19 | Universal Display Corporation | Organic electroluminescent materials and devices |
| US11367840B2 (en) | 2018-01-26 | 2022-06-21 | Universal Display Corporation | Organic electroluminescent materials and devices |
| US12325719B2 (en) | 2018-01-26 | 2025-06-10 | Universal Display Corporation | Organic electroluminescent materials and devices |
| US12029055B2 (en) | 2018-01-30 | 2024-07-02 | The University Of Southern California | OLED with hybrid emissive layer |
| US11342509B2 (en) | 2018-02-09 | 2022-05-24 | Universal Display Corporation | Organic electroluminescent materials and devices |
| US12302752B2 (en) | 2018-02-09 | 2025-05-13 | Universal Display Corporation | Organic electroluminescent materials and devices |
| US11180519B2 (en) | 2018-02-09 | 2021-11-23 | Universal Display Corporation | Organic electroluminescent materials and devices |
| US12122794B2 (en) | 2018-02-09 | 2024-10-22 | Universal Display Corporation | Organic electroluminescent materials and devices |
| US11910708B2 (en) | 2018-02-09 | 2024-02-20 | Universal Display Corporation | Organic electroluminescent materials and devices |
| US11239434B2 (en) | 2018-02-09 | 2022-02-01 | Universal Display Corporation | Organic electroluminescent materials and devices |
| US11697662B2 (en) | 2018-02-09 | 2023-07-11 | Universal Display Corporation | Organic electroluminescent materials and devices |
| US11957050B2 (en) | 2018-02-09 | 2024-04-09 | Universal Display Corporation | Organic electroluminescent materials and devices |
| US11557733B2 (en) | 2018-03-12 | 2023-01-17 | Universal Display Corporation | Organic electroluminescent materials and devices |
| US11700766B2 (en) | 2018-03-12 | 2023-07-11 | Universal Display Corporation | Host materials for electroluminescent devices |
| US12297212B2 (en) | 2018-03-12 | 2025-05-13 | Universal Display Corporation | Organic electroluminescent materials and devices |
| US11165028B2 (en) | 2018-03-12 | 2021-11-02 | Universal Display Corporation | Organic electroluminescent materials and devices |
| US11279722B2 (en) | 2018-03-12 | 2022-03-22 | Universal Display Corporation | Organic electroluminescent materials and devices |
| US12108668B2 (en) | 2018-03-12 | 2024-10-01 | Universal Display Corporation | Host materials for electroluminescent devices |
| US11217757B2 (en) | 2018-03-12 | 2022-01-04 | Universal Display Corporation | Host materials for electroluminescent devices |
| US11142538B2 (en) | 2018-03-12 | 2021-10-12 | Universal Display Corporation | Organic electroluminescent materials and devices |
| US11746122B2 (en) | 2018-03-12 | 2023-09-05 | Universal Display Corporation | Organic electroluminescent materials and devices |
| US11882759B2 (en) | 2018-04-13 | 2024-01-23 | Universal Display Corporation | Organic electroluminescent materials and devices |
| US11390639B2 (en) | 2018-04-13 | 2022-07-19 | Universal Display Corporation | Organic electroluminescent materials and devices |
| US12325718B2 (en) | 2018-04-13 | 2025-06-10 | Universal Display Corporation | Organic electroluminescent materials and devices |
| US11616203B2 (en) | 2018-04-17 | 2023-03-28 | Universal Display Corporation | Organic electroluminescent materials and devices |
| US12274158B2 (en) | 2018-05-04 | 2025-04-08 | Universal Display Corporation | Organic electroluminescent materials and devices |
| US11342513B2 (en) | 2018-05-04 | 2022-05-24 | Universal Display Corporation | Organic electroluminescent materials and devices |
| US11515494B2 (en) | 2018-05-04 | 2022-11-29 | Universal Display Corporation | Organic electroluminescent materials and devices |
| US11839142B2 (en) | 2018-05-04 | 2023-12-05 | Universal Display Corporation | Organic electroluminescent materials and devices |
| US11753427B2 (en) | 2018-05-04 | 2023-09-12 | Universal Display Corporation | Organic electroluminescent materials and devices |
| US12317747B2 (en) | 2018-05-06 | 2025-05-27 | Universal Display Corporation | Host materials for electroluminescent devices |
| US11793073B2 (en) | 2018-05-06 | 2023-10-17 | Universal Display Corporation | Host materials for electroluminescent devices |
| US11450822B2 (en) | 2018-05-25 | 2022-09-20 | Universal Display Corporation | Organic electroluminescent materials and devices |
| US11844267B2 (en) | 2018-05-25 | 2023-12-12 | Universal Display Corporation | Organic electroluminescent materials and devices |
| US11459349B2 (en) | 2018-05-25 | 2022-10-04 | Universal Display Corporation | Organic electroluminescent materials and devices |
| US11716900B2 (en) | 2018-05-30 | 2023-08-01 | Universal Display Corporation | Host materials for electroluminescent devices |
| US12022727B2 (en) | 2018-06-04 | 2024-06-25 | Universal Display Corporation | Organic electroluminescent materials and devices |
| US11404653B2 (en) | 2018-06-04 | 2022-08-02 | Universal Display Corporation | Organic electroluminescent materials and devices |
| US11296283B2 (en) | 2018-06-04 | 2022-04-05 | Universal Display Corporation | Organic electroluminescent materials and devices |
| US11925103B2 (en) | 2018-06-05 | 2024-03-05 | Universal Display Corporation | Organic electroluminescent materials and devices |
| WO2019235875A1 (en)* | 2018-06-07 | 2019-12-12 | 주식회사 엘지화학 | Compound and organic light-emitting diode comprising same |
| US11339182B2 (en) | 2018-06-07 | 2022-05-24 | Universal Display Corporation | Organic electroluminescent materials and devices |
| US11228004B2 (en) | 2018-06-22 | 2022-01-18 | Universal Display Corporation | Organic electroluminescent materials and devices |
| US11261207B2 (en) | 2018-06-25 | 2022-03-01 | Universal Display Corporation | Organic electroluminescent materials and devices |
| US11753425B2 (en) | 2018-07-11 | 2023-09-12 | Universal Display Corporation | Organic electroluminescent materials and devices |
| US12378197B2 (en) | 2018-07-13 | 2025-08-05 | Universal Display Corporation | Organic electroluminescent materials and devices |
| US11233203B2 (en) | 2018-09-06 | 2022-01-25 | Universal Display Corporation | Organic electroluminescent materials and devices |
| US12171137B2 (en) | 2018-09-10 | 2024-12-17 | Universal Display Corporation | Organic electroluminescent materials and devices |
| US11485706B2 (en) | 2018-09-11 | 2022-11-01 | Universal Display Corporation | Organic electroluminescent materials and devices |
| US12319653B2 (en) | 2018-09-11 | 2025-06-03 | Universal Display Corporation | Organic electroluminescent materials and devices |
| US11939293B2 (en) | 2018-09-11 | 2024-03-26 | Universal Display Corporation | Organic electroluminescent materials and devices |
| US11718634B2 (en) | 2018-09-14 | 2023-08-08 | Universal Display Corporation | Organic electroluminescent materials and devices |
| US11903305B2 (en) | 2018-09-24 | 2024-02-13 | Universal Display Corporation | Organic electroluminescent materials and devices |
| US11469383B2 (en) | 2018-10-08 | 2022-10-11 | Universal Display Corporation | Organic electroluminescent materials and devices |
| US11495752B2 (en) | 2018-10-08 | 2022-11-08 | Universal Display Corporation | Organic electroluminescent materials and devices |
| US11476430B2 (en) | 2018-10-15 | 2022-10-18 | Universal Display Corporation | Organic electroluminescent materials and devices |
| US11515482B2 (en) | 2018-10-23 | 2022-11-29 | Universal Display Corporation | Deep HOMO (highest occupied molecular orbital) emitter device structures |
| US11469384B2 (en) | 2018-11-02 | 2022-10-11 | Universal Display Corporation | Organic electroluminescent materials and devices |
| US11839141B2 (en) | 2018-11-02 | 2023-12-05 | Universal Display Corporation | Organic electroluminescent materials and devices |
| US11825736B2 (en) | 2018-11-19 | 2023-11-21 | Universal Display Corporation | Organic electroluminescent materials and devices |
| US11963441B2 (en) | 2018-11-26 | 2024-04-16 | Universal Display Corporation | Organic electroluminescent materials and devices |
| US11515489B2 (en) | 2018-11-28 | 2022-11-29 | Universal Display Corporation | Host materials for electroluminescent devices |
| US12048246B2 (en) | 2018-11-28 | 2024-07-23 | Universal Display Corporation | Host materials for electroluminescent devices |
| US11716899B2 (en) | 2018-11-28 | 2023-08-01 | Universal Display Corporation | Organic electroluminescent materials and devices |
| US11706980B2 (en) | 2018-11-28 | 2023-07-18 | Universal Display Corporation | Host materials for electroluminescent devices |
| US12193319B2 (en) | 2018-11-28 | 2025-01-07 | Universal Display Corporation | Organic electroluminescent materials and devices |
| US11672176B2 (en) | 2018-11-28 | 2023-06-06 | Universal Display Corporation | Host materials for electroluminescent devices |
| US11690285B2 (en) | 2018-11-28 | 2023-06-27 | Universal Display Corporation | Electroluminescent devices |
| US11672165B2 (en) | 2018-11-28 | 2023-06-06 | Universal Display Corporation | Organic electroluminescent materials and devices |
| US11623936B2 (en) | 2018-12-11 | 2023-04-11 | Universal Display Corporation | Organic electroluminescent materials and devices |
| US12281129B2 (en) | 2018-12-12 | 2025-04-22 | Universal Display Corporation | Organic electroluminescent materials and devices |
| US11737349B2 (en) | 2018-12-12 | 2023-08-22 | Universal Display Corporation | Organic electroluminescent materials and devices |
| US11834459B2 (en) | 2018-12-12 | 2023-12-05 | Universal Display Corporation | Host materials for electroluminescent devices |
| US12167673B2 (en) | 2018-12-19 | 2024-12-10 | Universal Display Corporation | Organic electroluminescent materials and devices |
| US11812624B2 (en) | 2019-01-30 | 2023-11-07 | The University Of Southern California | Organic electroluminescent materials and devices |
| US11780829B2 (en) | 2019-01-30 | 2023-10-10 | The University Of Southern California | Organic electroluminescent materials and devices |
| US11370809B2 (en) | 2019-02-08 | 2022-06-28 | Universal Display Corporation | Organic electroluminescent materials and devices |
| US11325932B2 (en) | 2019-02-08 | 2022-05-10 | Universal Display Corporation | Organic electroluminescent materials and devices |
| US12137605B2 (en) | 2019-02-08 | 2024-11-05 | Universal Display Corporation | Organic electroluminescent materials and devices |
| US11773320B2 (en) | 2019-02-21 | 2023-10-03 | Universal Display Corporation | Organic electroluminescent materials and devices |
| US12250872B2 (en) | 2019-02-22 | 2025-03-11 | Universal Display Corporation | Organic electroluminescent materials and devices |
| US11758807B2 (en) | 2019-02-22 | 2023-09-12 | Universal Display Corporation | Organic electroluminescent materials and devices |
| US11871653B2 (en) | 2019-02-22 | 2024-01-09 | Universal Display Corporation | Organic electroluminescent materials and devices |
| US12167678B2 (en) | 2019-02-22 | 2024-12-10 | Universal Display Corporation | Organic electroluminescent materials and devices |
| US11557738B2 (en) | 2019-02-22 | 2023-01-17 | Universal Display Corporation | Organic electroluminescent materials and devices |
| US11512093B2 (en) | 2019-03-04 | 2022-11-29 | Universal Display Corporation | Compound used for organic light emitting device (OLED), consumer product and formulation |
| US11739081B2 (en) | 2019-03-11 | 2023-08-29 | Universal Display Corporation | Organic electroluminescent materials and devices |
| US12232348B2 (en) | 2019-03-12 | 2025-02-18 | Universal Display Corporation | Organic electroluminescent devices |
| US11569480B2 (en) | 2019-03-12 | 2023-01-31 | Universal Display Corporation | Plasmonic OLEDs and vertical dipole emitters |
| US11968851B2 (en) | 2019-03-12 | 2024-04-23 | Universal Display Corporation | Organic electroluminescent devices |
| US11963389B2 (en) | 2019-03-12 | 2024-04-16 | Universal Display Corporation | Plasmonic OLEDs and vertical dipole emitters |
| US12225760B2 (en) | 2019-03-12 | 2025-02-11 | Universal Display Corporation | Organic electroluminescent devices |
| US11637261B2 (en) | 2019-03-12 | 2023-04-25 | Universal Display Corporation | Nanopatch antenna outcoupling structure for use in OLEDs |
| US11963438B2 (en) | 2019-03-26 | 2024-04-16 | The University Of Southern California | Organic electroluminescent materials and devices |
| US12240865B2 (en) | 2019-03-27 | 2025-03-04 | Universal Display Corporation | Organic electroluminescent materials and devices |
| US12122793B2 (en) | 2019-03-27 | 2024-10-22 | Universal Display Corporation | Organic electroluminescent materials and devices |
| US11639363B2 (en) | 2019-04-22 | 2023-05-02 | Universal Display Corporation | Organic electroluminescent materials and devices |
| US12075691B2 (en) | 2019-04-30 | 2024-08-27 | Universal Display Corporation | Organic electroluminescent materials and devices |
| US12006333B2 (en) | 2019-04-30 | 2024-06-11 | Universal Display Corporation | Organic electroluminescent materials and devices comprising imidazole-containing metal complexes |
| US11613550B2 (en) | 2019-04-30 | 2023-03-28 | Universal Display Corporation | Organic electroluminescent materials and devices comprising benzimidazole-containing metal complexes |
| US11495756B2 (en) | 2019-05-07 | 2022-11-08 | Universal Display Corporation | Organic electroluminescent materials and devices |
| US11560398B2 (en) | 2019-05-07 | 2023-01-24 | Universal Display Corporation | Organic electroluminescent materials and devices |
| US12103942B2 (en) | 2019-05-13 | 2024-10-01 | Universal Display Corporation | Organic electroluminescent materials and devices |
| US11827651B2 (en) | 2019-05-13 | 2023-11-28 | Universal Display Corporation | Organic electroluminescent materials and devices |
| US11634445B2 (en) | 2019-05-21 | 2023-04-25 | Universal Display Corporation | Organic electroluminescent materials and devices |
| US12010859B2 (en) | 2019-05-24 | 2024-06-11 | Universal Display Corporation | Organic electroluminescent materials and devices |
| US11647667B2 (en) | 2019-06-14 | 2023-05-09 | Universal Display Corporation | Organic electroluminescent compounds and organic light emitting devices using the same |
| US12077550B2 (en) | 2019-07-02 | 2024-09-03 | Universal Display Corporation | Organic electroluminescent materials and devices |
| US11920070B2 (en) | 2019-07-12 | 2024-03-05 | The University Of Southern California | Luminescent janus-type, two-coordinated metal complexes |
| US11685754B2 (en) | 2019-07-22 | 2023-06-27 | Universal Display Corporation | Heteroleptic organic electroluminescent materials |
| US11926638B2 (en) | 2019-07-22 | 2024-03-12 | Universal Display Corporation | Organic electroluminescent materials and devices |
| US12018036B2 (en) | 2019-07-22 | 2024-06-25 | Universal Display Corporation | Heteroleptic organic electroluminescent materials and devices |
| US12281128B2 (en) | 2019-07-30 | 2025-04-22 | Universal Display Corporation | Organic electroluminescent materials and devices |
| US11708355B2 (en) | 2019-08-01 | 2023-07-25 | Universal Display Corporation | Organic electroluminescent materials and devices |
| US12295251B2 (en) | 2019-08-01 | 2025-05-06 | Universal Display Corporation | Organic electroluminescent materials and devices |
| US11985888B2 (en) | 2019-08-12 | 2024-05-14 | The Regents Of The University Of Michigan | Organic electroluminescent device |
| US11374181B2 (en) | 2019-08-14 | 2022-06-28 | Universal Display Corporation | Organic electroluminescent materials and devices |
| US12227525B2 (en) | 2019-08-14 | 2025-02-18 | Universal Display Corporation | Organic electroluminescent materials and devices |
| US12250875B2 (en) | 2019-08-15 | 2025-03-11 | Universal Display Corporation | Organic electroluminescent materials and devices |
| US11930699B2 (en) | 2019-08-15 | 2024-03-12 | Universal Display Corporation | Organic electroluminescent materials and devices |
| US12139501B2 (en) | 2019-08-16 | 2024-11-12 | Universal Display Corporation | Organic electroluminescent materials and devices |
| US12234249B2 (en) | 2019-08-21 | 2025-02-25 | Universal Display Corporation | Organic electroluminescent materials and devices |
| US11925105B2 (en) | 2019-08-26 | 2024-03-05 | Universal Display Corporation | Organic electroluminescent materials and devices |
| US11937494B2 (en) | 2019-08-28 | 2024-03-19 | Universal Display Corporation | Organic electroluminescent materials and devices |
| US12262628B2 (en) | 2019-08-28 | 2025-03-25 | Universal Display Corporation | Organic electroluminescent materials and devices |
| US11600787B2 (en) | 2019-08-30 | 2023-03-07 | Universal Display Corporation | Organic electroluminescent materials and devices |
| US11820783B2 (en) | 2019-09-06 | 2023-11-21 | Universal Display Corporation | Organic electroluminescent materials and devices |
| US12384809B2 (en) | 2019-09-06 | 2025-08-12 | Universal Display Corporation | Organic electroluminescent materials and devices |
| US12144244B2 (en) | 2019-09-10 | 2024-11-12 | Universal Display Corporation | Organic electroluminescent materials and devices |
| US12331065B2 (en) | 2019-09-26 | 2025-06-17 | Universal Display Corporation | Organic electroluminescent materials and devices |
| US11999886B2 (en) | 2019-09-26 | 2024-06-04 | Universal Display Corporation | Organic electroluminescent materials and devices |
| US12331237B2 (en) | 2019-09-26 | 2025-06-17 | Universal Display Corporation | Organic electroluminescent materials and devices |
| US11864458B2 (en) | 2019-10-08 | 2024-01-02 | Universal Display Corporation | Organic electroluminescent materials and devices |
| US11950493B2 (en) | 2019-10-15 | 2024-04-02 | Universal Display Corporation | Organic electroluminescent materials and devices |
| US11697653B2 (en) | 2019-10-21 | 2023-07-11 | Universal Display Corporation | Organic electroluminescent materials and devices |
| US11919914B2 (en) | 2019-10-25 | 2024-03-05 | Universal Display Corporation | Organic electroluminescent materials and devices |
| US11765965B2 (en) | 2019-10-30 | 2023-09-19 | Universal Display Corporation | Organic electroluminescent materials and devices |
| US11889708B2 (en) | 2019-11-14 | 2024-01-30 | Universal Display Corporation | Organic electroluminescent materials and devices |
| CN112794814A (en)* | 2019-11-14 | 2021-05-14 | 环球展览公司 | Organic Electroluminescent Materials and Devices |
| US12201013B2 (en) | 2020-01-08 | 2025-01-14 | Universal Display Corporation | Organic electroluminescent materials and devices |
| US12187751B2 (en) | 2020-01-08 | 2025-01-07 | Universal Display Corporation | Organic electroluminescent materials and devices |
| US11778895B2 (en) | 2020-01-13 | 2023-10-03 | Universal Display Corporation | Organic electroluminescent materials and devices |
| US11917900B2 (en) | 2020-01-28 | 2024-02-27 | Universal Display Corporation | Organic electroluminescent materials and devices |
| US12349589B2 (en) | 2020-01-28 | 2025-07-01 | Universal Display Corporation | Organic electroluminescent materials and devices |
| US12426495B2 (en) | 2020-01-28 | 2025-09-23 | Universal Display Corporation | Organic electroluminescent materials and devices |
| US11932660B2 (en) | 2020-01-29 | 2024-03-19 | Universal Display Corporation | Organic electroluminescent materials and devices |
| US12245502B2 (en) | 2020-02-03 | 2025-03-04 | Universal Display Corporation | Organic electroluminescent materials and devices |
| US12156463B2 (en) | 2020-02-07 | 2024-11-26 | Universal Display Corporation | Organic electroluminescent materials and devices |
| US12084465B2 (en) | 2020-02-24 | 2024-09-10 | Universal Display Corporation | Organic electroluminescent materials and devices |
| US12324348B2 (en) | 2020-02-28 | 2025-06-03 | Universal Display Corporation | Organic electroluminescent materials and devices |
| US12234251B2 (en) | 2020-03-04 | 2025-02-25 | Universal Display Corporation | Organic electroluminescent materials and devices |
| US12018035B2 (en) | 2020-03-23 | 2024-06-25 | Universal Display Corporation | Organic electroluminescent materials and devices |
| US11970508B2 (en) | 2020-04-22 | 2024-04-30 | Universal Display Corporation | Organic electroluminescent materials and devices |
| US12279520B2 (en) | 2020-04-22 | 2025-04-15 | Universal Display Corporation | Organic electroluminescent materials and devices |
| US12286410B2 (en) | 2020-05-18 | 2025-04-29 | Universal Display Corporation | Organic electroluminescent materials and devices |
| US12035613B2 (en) | 2020-05-26 | 2024-07-09 | Universal Display Corporation | Organic electroluminescent materials and devices |
| US12275747B2 (en) | 2020-06-02 | 2025-04-15 | Universal Display Corporation | Organic electroluminescent materials and devices |
| US12247043B2 (en) | 2020-06-11 | 2025-03-11 | Universal Display Corporation | Organic electroluminescent material and formulations, and its various uses as hosts, fluorescent dopants, and acceptors in organic light emitting diodes |
| US12279516B2 (en) | 2020-06-17 | 2025-04-15 | Universal Display Corporation | Organic electroluminescent materials and devices |
| US12419188B2 (en) | 2020-06-30 | 2025-09-16 | Universal Display Corporation | Organic electroluminescent materials and devices |
| US12336427B2 (en) | 2020-07-09 | 2025-06-17 | Universal Display Corporation | Organic electroluminescent materials and devices |
| US12157748B2 (en) | 2020-07-30 | 2024-12-03 | Universal Display Corporation | Organic electroluminescent materials and devices |
| US12369487B2 (en) | 2020-08-05 | 2025-07-22 | Universal Display Corporation | Organic electroluminescent materials and devices |
| US12065451B2 (en) | 2020-08-19 | 2024-08-20 | Universal Display Corporation | Organic electroluminescent materials and devices |
| US12289986B2 (en) | 2020-08-25 | 2025-04-29 | Universal Display Corporation | Organic electroluminescent materials and devices |
| US12369488B2 (en) | 2020-09-09 | 2025-07-22 | Universal Display Corporation | Organic electroluminescent materials and devices |
| US12221455B2 (en) | 2020-09-24 | 2025-02-11 | Universal Display Corporation | Organic electroluminescent materials and devices |
| US12252499B2 (en) | 2020-09-29 | 2025-03-18 | Universal Display Corporation | Organic electroluminescent materials and devices |
| US12435102B2 (en) | 2020-10-02 | 2025-10-07 | Universal Display Corporation | Organic electroluminescent materials and devices |
| US12286447B2 (en) | 2020-10-06 | 2025-04-29 | Universal Display Corporation | Organic electroluminescent materials and devices |
| US12312365B2 (en) | 2020-10-12 | 2025-05-27 | Universal Display Corporation | Organic electroluminescent materials and devices |
| US12137606B2 (en) | 2020-10-20 | 2024-11-05 | Universal Display Corporation | Organic electroluminescent materials and devices |
| US12245504B2 (en) | 2020-10-26 | 2025-03-04 | Universal Display Corporation | Organic electroluminescent materials and devices |
| US12391873B2 (en) | 2020-10-26 | 2025-08-19 | Universal Display Corporation | Organic electroluminescent materials and devices |
| US12247042B2 (en) | 2020-10-26 | 2025-03-11 | Universal Display Corporation | Organic electroluminescent materials and devices |
| US12262631B2 (en) | 2020-11-10 | 2025-03-25 | Universal Display Corporation | Organic electroluminescent materials and devices |
| US12325717B2 (en) | 2020-11-24 | 2025-06-10 | Universal Display Corporation | Organic electroluminescent materials and devices |
| US12342716B2 (en) | 2020-12-09 | 2025-06-24 | University Of Southern California | Tandem-carbene phosphors |
| US12331064B2 (en) | 2020-12-09 | 2025-06-17 | University Of Southern California | Tandem carbene phosphors |
| CN112679511A (en)* | 2020-12-14 | 2021-04-20 | 阜阳欣奕华材料科技有限公司 | Organic electroluminescent material and application thereof |
| US12398164B2 (en) | 2021-02-01 | 2025-08-26 | Universal Display Corporation | Organic electroluminescent materials and devices |
| US12421262B2 (en) | 2021-03-15 | 2025-09-23 | Universal Display Corporation | Organic electroluminescent materials and devices |
| CN117177978A (en)* | 2021-11-12 | 2023-12-05 | 株式会社Lg化学 | Compounds and organic light-emitting devices containing the same |
| WO2023096454A1 (en)* | 2021-11-29 | 2023-06-01 | 주식회사 엘지화학 | Novel compound and organic light-emitting device using same |
| US12414433B2 (en) | 2022-02-11 | 2025-09-09 | Universal Display Corporation | Organic electroluminescent devices |
| CN115819430A (en)* | 2023-02-07 | 2023-03-21 | 烟台显华科技集团股份有限公司 | Azadibenzo five-membered ring compound and application thereof |
| Publication number | Publication date |
|---|---|
| JP5589251B2 (en) | 2014-09-17 |
| Publication | Publication Date | Title |
|---|---|---|
| JP5589251B2 (en) | Organic electroluminescence element material | |
| JP5099013B2 (en) | ORGANIC ELECTROLUMINESCENT ELEMENT MATERIAL, ORGANIC ELECTROLUMINESCENT ELEMENT, DISPLAY DEVICE AND LIGHTING DEVICE | |
| JP5402639B2 (en) | Organic electroluminescence element, display device and lighting device | |
| JP5304653B2 (en) | Organic electroluminescence element, display device and lighting device | |
| JP5983369B2 (en) | Organic electroluminescence element, display device and lighting device | |
| JP5273052B2 (en) | Organic electroluminescence element, display device and lighting device | |
| JP4923478B2 (en) | Organic electroluminescence element, display device and lighting device | |
| JP5181448B2 (en) | Organic electroluminescence element material | |
| JP5228281B2 (en) | ORGANIC ELECTROLUMINESCENT ELEMENT, DISPLAY DEVICE AND LIGHTING DEVICE USING ORGANIC ELECTROLUMINESCENT ELEMENT | |
| JP4961664B2 (en) | Organic electroluminescence element, display device and lighting device | |
| JP5151045B2 (en) | Organic electroluminescence element, display device and lighting device | |
| JPWO2007004380A1 (en) | ORGANIC ELECTROLUMINESCENT ELEMENT MATERIAL, ORGANIC ELECTROLUMINESCENT ELEMENT, DISPLAY DEVICE AND LIGHTING DEVICE | |
| JPWO2006100888A1 (en) | Organic EL element material, organic EL element, display device and lighting device | |
| JP2005044791A (en) | Organic electroluminescent element, illuminator, and display device | |
| JP2008074921A (en) | Organic electroluminescent element material, organic electroluminescent element, displaying device and illuminating device | |
| JP2009182088A (en) | Organic electroluminescent element, display device, and lighting device | |
| JP2006120762A (en) | Organic electroluminescent element, display and lighting device | |
| JP5347262B2 (en) | Organic electroluminescence element, display device and lighting device | |
| JP2006182921A (en) | Material for organic el element, organic el element, display device and lighting device | |
| JP4552436B2 (en) | Organic electroluminescence element, display device and lighting device | |
| JP2006282965A (en) | Organic electroluminescent device material, organic electroluminescent device, display device and lighting device | |
| JP2006080271A (en) | Organic electroluminescence element, lighting system and display device | |
| JPWO2006100925A1 (en) | Organic EL element material, organic EL element, display device and lighting device | |
| JP4862381B2 (en) | Organic electroluminescence element, display device and lighting device | |
| JP2009076624A (en) | Organic electroluminescent device, display device, and illuminating device |
| Date | Code | Title | Description |
|---|---|---|---|
| A621 | Written request for application examination | Free format text:JAPANESE INTERMEDIATE CODE: A621 Effective date:20090914 | |
| RD02 | Notification of acceptance of power of attorney | Free format text:JAPANESE INTERMEDIATE CODE: A7422 Effective date:20110818 | |
| A977 | Report on retrieval | Free format text:JAPANESE INTERMEDIATE CODE: A971007 Effective date:20120330 | |
| A131 | Notification of reasons for refusal | Free format text:JAPANESE INTERMEDIATE CODE: A131 Effective date:20120417 | |
| A521 | Request for written amendment filed | Free format text:JAPANESE INTERMEDIATE CODE: A523 Effective date:20120605 | |
| A131 | Notification of reasons for refusal | Free format text:JAPANESE INTERMEDIATE CODE: A131 Effective date:20130305 | |
| A521 | Request for written amendment filed | Free format text:JAPANESE INTERMEDIATE CODE: A523 Effective date:20130501 | |
| A02 | Decision of refusal | Free format text:JAPANESE INTERMEDIATE CODE: A02 Effective date:20140114 | |
| A521 | Request for written amendment filed | Free format text:JAPANESE INTERMEDIATE CODE: A523 Effective date:20140404 | |
| A911 | Transfer to examiner for re-examination before appeal (zenchi) | Free format text:JAPANESE INTERMEDIATE CODE: A911 Effective date:20140411 | |
| TRDD | Decision of grant or rejection written | ||
| A01 | Written decision to grant a patent or to grant a registration (utility model) | Free format text:JAPANESE INTERMEDIATE CODE: A01 Effective date:20140701 | |
| A61 | First payment of annual fees (during grant procedure) | Free format text:JAPANESE INTERMEDIATE CODE: A61 Effective date:20140714 | |
| R150 | Certificate of patent or registration of utility model | Ref document number:5589251 Country of ref document:JP Free format text:JAPANESE INTERMEDIATE CODE: R150 | |
| R250 | Receipt of annual fees | Free format text:JAPANESE INTERMEDIATE CODE: R250 | |
| S111 | Request for change of ownership or part of ownership | Free format text:JAPANESE INTERMEDIATE CODE: R313113 | |
| R360 | Written notification for declining of transfer of rights | Free format text:JAPANESE INTERMEDIATE CODE: R360 | |
| R360 | Written notification for declining of transfer of rights | Free format text:JAPANESE INTERMEDIATE CODE: R360 | |
| R371 | Transfer withdrawn | Free format text:JAPANESE INTERMEDIATE CODE: R371 | |
| S111 | Request for change of ownership or part of ownership | Free format text:JAPANESE INTERMEDIATE CODE: R313113 | |
| R350 | Written notification of registration of transfer | Free format text:JAPANESE INTERMEDIATE CODE: R350 | |
| R250 | Receipt of annual fees | Free format text:JAPANESE INTERMEDIATE CODE: R250 | |
| R250 | Receipt of annual fees | Free format text:JAPANESE INTERMEDIATE CODE: R250 | |
| R250 | Receipt of annual fees | Free format text:JAPANESE INTERMEDIATE CODE: R250 | |
| R250 | Receipt of annual fees | Free format text:JAPANESE INTERMEDIATE CODE: R250 |