



















本発明は、充電式の電動ドライバおよび電動ドライバ装置に関する。 The present invention relates to a rechargeable electric driver and an electric driver device.
一般に、充電式の電動ドライバは、駆動電源にニッケル・カドミウム電池等の蓄電池(二次電池)を用いており、蓄電池が消耗してトルクつまりねじ締付能力が低下したときは、随時外部の電源により蓄電池を再充電して、トルクを回復するようにしている。 Generally, a rechargeable electric driver uses a storage battery (secondary battery) such as a nickel-cadmium battery as a driving power source. When the storage battery is consumed and the torque, that is, the screw tightening capacity is reduced, an external power source is always required. Thus, the storage battery is recharged to recover the torque.
しかしながら、蓄電池は、重い、充電時間が長い、充放電寿命が短い、重金属や有害物質を使用するため環境によくないなど多くの問題点があることから、充電式電動ドライバの駆動電源として電気二重層コンデンサが最近注目されている。電気二重層コンデンサは、蓄電池とは反対に、小型軽量で、急速充電可能、充放電寿命が長い、重金属や有害物質を使用しないため環境に優しいなどの特長を有している。 However, storage batteries have many problems such as heavy, long charging time, short charge / discharge life, and the use of heavy metals and harmful substances, which is not good for the environment. Multilayer capacitors have recently attracted attention. Contrary to storage batteries, electric double layer capacitors have features such as being small and light, capable of rapid charging, having a long charge / discharge life, and being environmentally friendly because they do not use heavy metals or harmful substances.
従来の充電式電動ドライバは、駆動電源に電気二重層コンデンサを用いるときは、これを蓄電池と並列接続で併用し、電気二重層コンデンサの充電電圧を蓄電池の出力電圧に合わせて管理している(たとえば、特許文献1参照)。
上記のように、従来の充電式電動ドライバは、電気二重層コンデンサを備える場合には、蓄電池を併有し、蓄電池の出力電圧で電気二重層コンデンサの充電電圧を管理するようにしており、これによって電気二重層コンデンサ専用の充電器や充電制御回路を不要としている。しかしながら、このことは、別な見方をすれば、電気二重層コンデンサを正確に定格電圧に充電する制御技術が確立していないことや、電気二重層コンデンサ特有の短い充放電サイクルに対する充電操作上の使い勝手の改善がなされていないことの裏返しでもある。いずれにせよ、蓄電池を併有するのでは、電気二重層コンデンサの長所を生かしきれない。 As described above, when a conventional rechargeable electric driver is provided with an electric double layer capacitor, it has a storage battery and manages the charging voltage of the electric double layer capacitor by the output voltage of the storage battery. This eliminates the need for chargers and charge control circuits dedicated to electric double layer capacitors. However, from another point of view, there is no established control technology for accurately charging the electric double layer capacitor to the rated voltage, and the charging operation for the short charge / discharge cycle peculiar to the electric double layer capacitor. It is also the flip side of the lack of usability improvements. In any case, having the storage battery together cannot take full advantage of the electric double layer capacitor.
本発明は、上記のような従来技術の問題点を解決するものであり、小型軽量、急速充電可能で、ランニングコストの低減を図れる充電式の電動ドライバおよび電動ドライバ装置を提供することを目的とする。 An object of the present invention is to solve the above-described problems of the prior art, and to provide a rechargeable electric driver and an electric driver device that can be reduced in size and weight, can be rapidly charged, and can reduce running costs. To do.
本発明の別の目的は、電気二重層コンデンサを正確に所定の基準電圧に充電するようにして、過大な充電電圧に起因する電気二重層コンデンサの破壊や故障を防止するとともに、過小の充電電圧に起因するねじ締付能力の不足や早期低下を防止する充電式の電動ドライバおよび電動ドライバ装置を提供することにある。 Another object of the present invention is to accurately charge the electric double layer capacitor to a predetermined reference voltage, thereby preventing the electric double layer capacitor from being destroyed or broken due to an excessive charging voltage, and an excessive charging voltage. It is an object of the present invention to provide a rechargeable electric driver and an electric driver device that prevent shortage and early decline of screw tightening capability due to the above.
本発明の他の目的は、電気二重層コンデンサの出力電圧の大きさに応じてモータ回転特性を適確に制御してねじ締付能力の安定性を向上させるようにした充電式の電動ドライバおよび電動ドライバ装置を提供することにある。 Another object of the present invention is to provide a rechargeable electric screwdriver that improves the stability of the screw tightening capability by appropriately controlling the motor rotation characteristics according to the magnitude of the output voltage of the electric double layer capacitor. An object is to provide an electric driver device.
本発明の他の目的は、充電操作上の使い勝手を改善して、短い充放電サイクルでもユーザに煩わしい思いをさせないようにし、ひいては本来のねじ締付作業の作業性を向上させるようにした電動ドライバおよび電動ドライバ装置を提供することにある。 Another object of the present invention is to improve the usability of the charging operation so as not to bother the user even in a short charge / discharge cycle, and to improve the workability of the original screw tightening work. It is another object of the present invention to provide an electric driver device.
上記の目的を達成するために、本発明の電動ドライバは、ドライバビットを着脱可能に保持するためのビットホルダと、前記ビットホルダを回転駆動するためのモータと、前記モータに電力を供給するための電気二重層コンデンサと、前記電気二重層コンデンサを外部の直流電源に電気的に接続するためのドライバ接続端子と、前記電気二重層コンデンサの充電電圧を制御し、前記モータの回転動作を制御するための制御部と、前記ビットホルダ、前記モータ、前記電気二重層コンデンサ、前記ドライバ接続端子および前記制御部を収容または支持するハウジングとを有し、前記制御部が、前記直流電源に対して前記電気二重層コンデンサと直列に接続される第1のスイッチ回路と、前記直流電源に対して前記電気二重層コンデンサと並列に接続される電圧モニタ回路と、前記直流電源より前記電気二重層コンデンサに充電電流を供給するために前記第1のスイッチ回路をオンにし、前記電圧モニタ回路に前記電気二重層コンデンサの充電電圧を監視させるために前記第1のスイッチ回路をオフにし、前記電気二重層コンデンサの充電電圧が第1の基準電圧に達したことを前記電圧モニタ回路が検出した時に前記電気二重層コンデンサに対する充電を停止する充電制御回路とを有する。 In order to achieve the above object, an electric driver according to the present invention includes a bit holder for detachably holding a driver bit, a motor for rotationally driving the bit holder, and supplying electric power to the motor. An electric double layer capacitor, a driver connection terminal for electrically connecting the electric double layer capacitor to an external DC power source, a charging voltage of the electric double layer capacitor, and a rotational operation of the motor And a control unit for housing or supporting the bit holder, the motor, the electric double layer capacitor, the driver connection terminal, and the control unit, wherein the control unit is connected to the DC power source. A first switch circuit connected in series with the electric double layer capacitor, and in parallel with the electric double layer capacitor with respect to the DC power supply A voltage monitor circuit to be connected; and the first switch circuit is turned on to supply a charging current from the DC power source to the electric double layer capacitor, and the charge voltage of the electric double layer capacitor is monitored by the voltage monitor circuit The first switch circuit is turned off, and the charging of the electric double layer capacitor is stopped when the voltage monitor circuit detects that the charging voltage of the electric double layer capacitor has reached the first reference voltage. A charge control circuit.
本発明の電動ドライバにおいては、電気二重層コンデンサの充電電圧とモータの回転動作とを統括的に制御する制御部を内蔵し、電気二重層コンデンサのみでモータ駆動電源を構成するので、小型軽量、急速充電可能、ランニングコスト低減を図ることができる。 In the electric driver of the present invention, a built-in control unit that comprehensively controls the charging voltage of the electric double layer capacitor and the rotational operation of the motor, and the motor drive power supply is configured only by the electric double layer capacitor, so that it is compact and lightweight. Fast charging is possible, and running costs can be reduced.
本発明の好適な一態様によれば、第1のスイッチ回路が一定のサイクルでオン状態とオフ状態を繰り返す。特に好ましい一態様として、電圧モニタ回路が、第1のスイッチ回路をオン状態からオフ状態に切り替えたのち所定の遅延時間を経過してから(特に好ましくはオフ期間の終了間際に)電気二重層コンデンサの充電電圧を監視する。このように、第1のスイッチ回路がオフしてから所定の遅延時間が経過して電気二重層コンデンサの端子間電圧が安定してから電圧モニタ回路にモニタリングを行わせるので、確実に満充電に達した時点で充電を終了させ、充電終了直後の電気二重層コンデンサの充電電圧を過不足なく第1の基準電圧(たとえば最大定格電圧)に一致させることができる。また、オン・オフサイクルの繰り返し回数が増えるにしたがってオフ期間の比率を増大させたり、あるいはサイクルの周期を短縮させるのも好ましい。 According to a preferred aspect of the present invention, the first switch circuit repeats the on state and the off state in a constant cycle. As a particularly preferable aspect, the electric double layer capacitor is used after a predetermined delay time elapses after the voltage monitor circuit switches the first switch circuit from the on state to the off state (particularly preferably at the end of the off period). Monitor the charging voltage. As described above, since the voltage monitor circuit performs monitoring after a predetermined delay time has elapsed after the first switch circuit is turned off and the voltage between the terminals of the electric double layer capacitor is stabilized, it is ensured that the battery is fully charged. The charging is terminated at the time when it reaches, and the charging voltage of the electric double layer capacitor immediately after the charging can be matched with the first reference voltage (for example, the maximum rated voltage) without excess or deficiency. It is also preferable to increase the off period ratio or shorten the cycle period as the number of on / off cycle repetitions increases.
本発明の好適な一態様として、電圧モニタ回路は、印加される電圧が第1の基準電圧より低いときは第1論理値の信号を出力し、印加される電圧が前記第1の基準電圧以上であるときは第2論理値の信号を出力する基準電圧検出回路と、基準電圧検出回路に直列に接続される第2のスイッチ回路とを有し、電気二重層コンデンサから基準電圧検出回路を電気的に遮断するために第2のスイッチ回路をオフにし、電気二重層コンデンサの充電電圧を基準電圧検出回路に印加するために第2のスイッチ回路をオンにする。 As a preferred aspect of the present invention, the voltage monitor circuit outputs a signal of a first logic value when the applied voltage is lower than the first reference voltage, and the applied voltage is equal to or higher than the first reference voltage. A reference voltage detection circuit for outputting a signal of the second logic value and a second switch circuit connected in series to the reference voltage detection circuit, and the reference voltage detection circuit is electrically connected from the electric double layer capacitor. The second switch circuit is turned off in order to cut off the power, and the second switch circuit is turned on in order to apply the charging voltage of the electric double layer capacitor to the reference voltage detection circuit.
この場合、好適な一態様として、基準電圧検出回路は、スイッチング素子を含み、印加電圧の電圧レベルに応じてスイッチング素子に導通状態もしくは非導通状態のいずれかの状態をとらせるシャントレギュレータと、このシャントレギュレータのスイッチング素子に直列に接続される第1の発光素子と、この第1の発光素子と組み合わさって第1のフォトカプラを構成する第1の受光素子と、この第1の受光素子に接続され、第1の受光素子が非導通状態のときは第1論理値の信号を生成し、第1の受光素子が導通状態のときは第2論理値の信号を生成する二値信号生成回路とを有する。この場合、電気二重層コンデンサの電圧が第1の基準電圧より低い時はシャントレギュレータがスイッチング素子を非導通状態に保って、これにより第1のフォトカプラにおいて発光素子が発光しないで第1の受光素子が非導通状態を保ち、二値信号生成回路より第1論理値の信号が生成される。そして、電気二重層コンデンサの電圧が基準電圧に達した時は、シャントレギュレータがスイッチング素子を導通させ、これにより第1のフォトカプラにおいて発光素子が発光して第1の受光素子が導通し、二値信号生成回路より第2の論理値信号が生成される。また、第2のスイッチ回路は、基準電圧検出回路に直列に接続される第2の受光素子と、この第2の受光素子と組み合わさって第2のフォトカプラを構成する第2の発光素子とを有し、第2の発光素子を発光状態または非発光状態のいずれかに選択的に制御することにより、第2の受光素子を導通状態または非導通状態のいずれかに選択的に切り替える。 In this case, as a preferred embodiment, the reference voltage detection circuit includes a switching element, and causes the switching element to take either the conductive state or the non-conductive state according to the voltage level of the applied voltage, and the shunt regulator A first light-emitting element connected in series to the switching element of the shunt regulator, a first light-receiving element that is combined with the first light-emitting element to form a first photocoupler, and the first light-receiving element A binary signal generation circuit that is connected and generates a first logic value signal when the first light receiving element is non-conductive, and generates a second logic value signal when the first light receiving element is conductive. And have. In this case, when the voltage of the electric double layer capacitor is lower than the first reference voltage, the shunt regulator keeps the switching element in a non-conductive state, whereby the light emitting element does not emit light in the first photocoupler and the first light reception The element is kept in a non-conductive state, and a signal having the first logic value is generated from the binary signal generation circuit. When the voltage of the electric double layer capacitor reaches the reference voltage, the shunt regulator causes the switching element to conduct, whereby the light emitting element emits light and the first light receiving element conducts in the first photocoupler. A second logic value signal is generated from the value signal generation circuit. The second switch circuit includes a second light receiving element connected in series to the reference voltage detection circuit, and a second light emitting element that forms a second photocoupler in combination with the second light receiving element. And selectively controlling the second light-emitting element to either the light-emitting state or the non-light-emitting state, thereby selectively switching the second light-receiving element to either the conductive state or the non-conductive state.
また、本発明の好適な一態様によれば、制御部が、電気二重層コンデンサに対してモータと直列に接続されるスイッチング素子と、電気二重層コンデンサのモータに対する出力電圧を検出する電圧検出回路と、モータに回転トルクを発生させるために、電気二重層コンデンサの出力電圧が第2の基準電圧より高い時は、モータの無負荷回転速度が予め設定した基準回転速度を保つようにスイッチング素子をパルス幅制御方式によりオン・オフ制御し、電気二重層コンデンサの出力電圧が第2の基準電圧より低い時は、スイッチング素子をオン状態に保持するモータ制御回路とを有する。かかる構成においては、電気二重層コンデンサの出力電圧のレンジが大きくても、モータ回転速度の変動幅を少なくし、ねじ締付能力の安定性(均一性ないし再現性)を向上させることができる。 According to a preferred aspect of the present invention, the control unit includes a switching element connected in series to the electric double layer capacitor and the voltage detection circuit that detects an output voltage of the electric double layer capacitor to the motor. When the output voltage of the electric double layer capacitor is higher than the second reference voltage in order to generate rotational torque in the motor, the switching element is set so that the no-load rotational speed of the motor is maintained at the preset reference rotational speed. A motor control circuit that performs on / off control by a pulse width control method and holds the switching element in an on state when the output voltage of the electric double layer capacitor is lower than the second reference voltage. In such a configuration, even if the output voltage range of the electric double layer capacitor is large, the fluctuation range of the motor rotation speed can be reduced and the stability (uniformity or reproducibility) of the screw tightening ability can be improved.
本発明の第1の観点における電動ドライバ装置は、上記のように充電制御機能を内蔵する本発明の電動ドライバと、前記直流電源と、前記電動ドライバを着脱可能に係合するためのドライバ係合部と、前記直流電源に電気的に接続され、前記電動ドライバのドライバ接続端子と物理的かつ電気的に接続可能に構成されたユニット接続端子とを収容または支持する充電ユニットとを有し、前記電動ドライバが前記ドライバ係合部に係合されることにより、前記電動ドライバのドライバ接続端子と前記充電ユニットのユニット接続端子とが物理的かつ電気的に接続される。 An electric driver device according to a first aspect of the present invention is a driver engagement for detachably engaging the electric driver of the present invention having a built-in charge control function as described above, the DC power source, and the electric driver. And a charging unit that accommodates or supports a unit connection terminal that is electrically connected to the DC power source and configured to be physically and electrically connectable to a driver connection terminal of the electric driver, When the electric driver is engaged with the driver engaging portion, the driver connection terminal of the electric driver and the unit connection terminal of the charging unit are physically and electrically connected.
また、本発明の第2の観点における電動ドライバ装置は、ドライバビットを着脱可能に保持するためのビットホルダと、前記ビットホルダを回転駆動するためのモータと、前記モータに電力を供給するための電気二重層コンデンサと、前記電気二重層コンデンサを外部の直流電源に電気的に接続するためのドライバ接続端子と、前記モータの回転動作を制御するための第1の制御部と、前記ビットホルダ、前記モータ、前記電気二重層コンデンサ、前記ドライバ接続端子および前記第1の制御部を収容または支持するハウジングとを有する電動ドライバと、前記直流電源と、前記電動ドライバを着脱可能に係合するためのドライバ係合 部と、前記電動ドライバの前記電気二重層コンデンサの充電電圧を制御するための第2の制御部と、前記直流電源および前記第2の制御部に電気的に接続され、前記電動ドライバのドライバ接続端子と物理的かつ電気的に接続可能に構成されたユニット接続端子とを収容または支持する充電ユニットとを有し、前記第2の制御部が、前記直流電源に対して前記電気二重層コンデンサと直列に接続される第1のスイッチ回路と、前記直流電源に対して前記電気二重層コンデンサと並列に接続される電圧モニタ回路と、前記直流電源より前記電気二重層コンデンサに充電電流を供給するために前記第1のスイッチ回路をオンにし、前記電圧モニタ回路に前記電気二重層コンデンサの充電電圧を監視させるために前記第1のスイッチ回路をオフにし、前記電気二重層コンデンサの充電電圧が第1の基準電圧に達したことを前記電圧モニタ回路が検出した時に前記電気二重層コンデンサに対する充電を停止する充電制御回路とを有し、前記電動ドライバが前記ドライバ係合部に係合されることにより、前記電動ドライバのドライバ接続端子と前記充電ユニットのユニット接続端子とが物理的かつ電気的に接続される。 An electric driver device according to a second aspect of the present invention includes a bit holder for detachably holding a driver bit, a motor for rotationally driving the bit holder, and for supplying electric power to the motor. An electric double layer capacitor, a driver connection terminal for electrically connecting the electric double layer capacitor to an external DC power source, a first control unit for controlling the rotational operation of the motor, the bit holder, An electric driver having a housing that houses or supports the motor, the electric double layer capacitor, the driver connection terminal, and the first control unit, the DC power source, and the electric driver for detachably engaging the electric driver A driver engaging portion; and a second control portion for controlling a charging voltage of the electric double layer capacitor of the electric driver; A charging unit that is electrically connected to the DC power supply and the second control unit, and that houses or supports a unit connection terminal configured to be physically and electrically connectable to a driver connection terminal of the electric driver; A first switch circuit connected in series with the electric double layer capacitor with respect to the DC power supply; and a parallel connection with the electric double layer capacitor with respect to the DC power supply. A voltage monitor circuit that is turned on, and the first switch circuit is turned on to supply a charging current from the DC power source to the electric double layer capacitor, and the voltage monitor circuit monitors the charging voltage of the electric double layer capacitor Therefore, the voltage monitor circuit detects that the charging voltage of the electric double layer capacitor has reached the first reference voltage by turning off the first switch circuit. A charging control circuit that stops charging the electric double layer capacitor when the electric driver is engaged with the driver engaging portion, so that the driver connecting terminal of the electric driver and the unit of the charging unit The connection terminal is physically and electrically connected.
本発明の電動ドライバ装置においては、電動ドライバを充電ユニットのドライバ係合部に係合させると、電動ドライバのドライバ接続端子が充電ユニットのユニット接続端子に物理的かつ電気的に接続して、充電ユニット内の直流電源より電動ドライバ内の電気二重層コンデンサへ充電電流が供給される。この場合、上記第1の電動ドライバ装置では電動ドライバ内の制御部が、記第1の電動ドライバ装置では充電ユニット内の第2の制御部が電気二重層コンデンサに対する充電動作の一切を制御する。 In the electric driver device of the present invention, when the electric driver is engaged with the driver engaging portion of the charging unit, the driver connecting terminal of the electric driver is physically and electrically connected to the unit connecting terminal of the charging unit, and charging is performed. Charging current is supplied from the DC power supply in the unit to the electric double layer capacitor in the electric driver. In this case, in the first electric driver device, the control unit in the electric driver controls the charging operation for the electric double layer capacitor in the first electric driver device.
本発明の好適な一態様によれば、前記電動ドライバのドライバ接続端子が、正極側のドライバ接続端子と負極側のドライバ接続端子とを含み、前記充電ユニットのユニット接続端子が、正極側のユニット接続端子と負極側のドライバ接続端子とを含む。そして、電動ドライバを充電ユニットに正常に係合させたときに、正極側ユニット接続端子が正極側ドライバ接続端子に接触するよりも先に負極側ユニット接続端子が負極側ドライバ接続端子に接触する。かかる構成においては、サージ電圧等の異常な高圧が充電ユニットから電動ドライバ内に入ってきても確実にグランドラインに逃がし、電動ドライバ内の回路部品を安全に保護することができる。 According to a preferred aspect of the present invention, the driver connection terminal of the electric driver includes a positive driver connection terminal and a negative driver connection terminal, and the unit connection terminal of the charging unit is a positive unit. It includes a connection terminal and a driver connection terminal on the negative electrode side. When the electric driver is normally engaged with the charging unit, the negative unit connection terminal comes into contact with the negative driver connection terminal before the positive unit connection terminal comes into contact with the positive driver connection terminal. In such a configuration, even if an abnormal high voltage such as a surge voltage enters the electric driver from the charging unit, it can surely escape to the ground line, and the circuit components in the electric driver can be safely protected.
また、好適な一態様によれば、ドライバ接続端子もしくは前記ユニット接続端子の近傍にマイクロスイッチが配置され、電動ドライバが充電ユニットのドライバ係合部に正しく係合したときに、ユニット接続端子もしくドライバ接続端子がマイクロスイッチをオン操作し、マイクロスイッチのオン操作に応動して電気二重層コンデンサに対する充電動作が開始される。 Further, according to a preferred aspect, when the microswitch is disposed in the vicinity of the driver connection terminal or the unit connection terminal and the electric driver is correctly engaged with the driver engagement portion of the charging unit, the unit connection terminal may be used. The driver connection terminal turns on the micro switch, and the charging operation for the electric double layer capacitor is started in response to the on operation of the micro switch.
また、好適な一態様によれば、電動ドライバにおいて、ハウジングが、ビットホルダに保持されるドライバビットと同軸方向に延びて、少なくともビットホルダとモータと接続端子とを収容または支持する筒部と、ビットホルダ側から見て略直角または鈍角の角度で筒部から分岐するグリップ部とを有し、充電ユニットにおいて、ドライバ係合部が前記ハウジングの筒部を前記ドライバ接続端子および前記ユニット接続端子の極性に関して正しい姿勢または向きでハウジングの筒部をビットホルダ側から軸方向に挿抜可能に受け入れるための受容部を有し、受容部の内側にユニット接続端子が取り付けられ、受容部の中でユニット接続端子が電動ドライバのドライバ接続端子と接続する。 Further, according to a preferred aspect, in the electric driver, the housing extends in the same direction as the driver bit held by the bit holder, and at least accommodates or supports the bit holder, the motor, and the connection terminal, A grip portion that branches from the cylindrical portion at a substantially right angle or an obtuse angle when viewed from the bit holder side, and in the charging unit, the driver engaging portion connects the cylindrical portion of the housing to the driver connection terminal and the unit connection terminal. It has a receiving part for receiving the cylindrical part of the housing in the correct orientation or orientation with respect to the polarity so that it can be inserted / removed in the axial direction from the bit holder side, and a unit connection terminal is attached inside the receiving part, and the unit connection is made in the receiving part The terminal is connected to the driver connection terminal of the electric driver.
また、好適な一態様によれば、電動ドライバにおいて、ハウジングが筒部から径方向外側に隆起して筒部の長手方向に延びる隆起部を有し、ビットホルダ側から見て隆起部の少なくともに筒部の長手方向に延びるスリットが形成され、スリットの内奥に前記ドライバ接続端子が配置される、一方、充電ユニットにおいては、ドライバ係合部の受容部が電動ドライバのハウジングの隆起部を案内するための案内溝を有し、案内溝の中にユニット接続端子が配置される。そして、電動ドライバのハウジングの隆起部がドライバ係合部の案内溝に案内されるようにして、電動ドライバのハウジングの筒部をドライバ係合部の受容部に挿入したときに、ユニット接続端子が相対的に隆起部のスリットの中に入ってドライバ接続端子と接続する。また、電動ドライバにおいて、ハウジングが筒部の外周の異なる位置に第1および第2の隆起部を有し、第1の隆起部のスリットの内奥に正極側のドライバ接続端子が配置され、第2の隆起部のスリットの内奥に負極側のドライバ接続端子が配置される。一方、充電ユニットにおいては、ドライバ係合部の受容部が第1および第2の隆起部をそれぞれ案内するための第1および第2の案内溝を有し、第1の案内溝の中に正極側のユニット接続端子が配置され、第2の案内溝の中に負極側のユニット接続端子が配置される。そして、電動ドライバの第1および第2の隆起部が充電ユニットの第1および第2の案内溝にそれぞれ案内されるようにして、電動ドライバのハウジングの筒部をドライバ係合部の受容部に挿入したときに、充電ユニットの正極側および負極側のユニット接続端子が相対的に第1および第2の隆起部のスリットの中に入って正極側および負極側ドライバ接続端子とそれぞれ接続する。さらに、電動ドライバにおいて第1の隆起部と第2の隆起部とがハウジングの筒部の外周方向で異なる幅を有する一方で、充電ユニットにおいて第1の案内溝が受容部の内周方向で第1の隆起部に対応した幅を有し、第2の案内溝が受容部の内周方向で第2の隆起部に対応した幅を有する。 According to a preferred aspect, in the electric driver, the housing has a raised portion that protrudes radially outward from the tubular portion and extends in the longitudinal direction of the tubular portion, and is at least on the raised portion when viewed from the bit holder side. A slit extending in the longitudinal direction of the cylindrical portion is formed, and the driver connection terminal is disposed inside the slit. On the other hand, in the charging unit, the receiving portion of the driver engaging portion guides the raised portion of the housing of the electric driver. And a unit connection terminal is disposed in the guide groove. When the cylindrical portion of the electric driver housing is inserted into the receiving portion of the driver engaging portion so that the raised portion of the electric driver housing is guided in the guide groove of the driver engaging portion, the unit connection terminal is Relatively enters the slit of the raised portion and is connected to the driver connection terminal. Further, in the electric driver, the housing has first and second raised portions at different positions on the outer periphery of the cylindrical portion, and a positive-side driver connection terminal is disposed inside the slit of the first raised portion, A driver connection terminal on the negative electrode side is disposed in the back of the slit of the two raised portions. On the other hand, in the charging unit, the receiving portion of the driver engagement portion has first and second guide grooves for guiding the first and second raised portions, respectively, and the positive electrode is located in the first guide groove. The unit connection terminal on the side is disposed, and the unit connection terminal on the negative electrode side is disposed in the second guide groove. Then, the first and second raised portions of the electric driver are guided by the first and second guide grooves of the charging unit, respectively, so that the cylindrical portion of the housing of the electric driver is used as the receiving portion of the driver engaging portion. When inserted, the positive and negative unit connection terminals of the charging unit relatively enter the slits of the first and second raised portions and are connected to the positive and negative driver connection terminals, respectively. Further, in the electric driver, the first raised portion and the second raised portion have different widths in the outer peripheral direction of the cylindrical portion of the housing, while in the charging unit, the first guide groove is first in the inner peripheral direction of the receiving portion. The second guide groove has a width corresponding to the second raised portion in the inner circumferential direction of the receiving portion.
また、好適な一態様によれば、充電ユニットにおいて、受容部がドライバ係合部を貫通し、ドライバ係合部の受容部の第1の開口付近に案内溝とユニット接続端子がそれぞれ所定位置に設けられるとともに、第1の開口と反対側の第2の開口付近にも案内溝とユニット接続端子がそれぞれ所定位置に設けられる。そして、第1および第2の開口のいずれかの側からも充電ユニットの受容部に電動ドライバのハウジングの筒部を挿入可能とし、かつ受容部の中で各々のユニット接続端子をそれと対応する電動ドライバのドライバ接続端子に接続可能とする。 According to a preferred aspect, in the charging unit, the receiving portion penetrates the driver engaging portion, and the guide groove and the unit connection terminal are respectively positioned in the vicinity of the first opening of the receiving portion of the driver engaging portion. In addition to being provided, a guide groove and a unit connection terminal are also provided at predetermined positions in the vicinity of the second opening opposite to the first opening. The cylindrical portion of the housing of the electric driver can be inserted into the receiving portion of the charging unit from either side of the first and second openings, and each unit connection terminal in the receiving portion corresponds to the electric motor corresponding thereto. It can be connected to the driver connection terminal of the driver.
また、好適な一態様によれば、充電ユニットが、ドライバ係合部をその受容部の中心軸と直交する支軸の回りに回転可能に支持し、かつ任意の角度で固定する支持部を有する。 According to a preferred aspect, the charging unit includes a support portion that supports the driver engagement portion so as to be rotatable around a support shaft orthogonal to the central axis of the receiving portion and fixes the driver engagement portion at an arbitrary angle. .
本発明の電動ドライバおよび電動ドライバ装置によれば、上述したような構成および作用により、小型軽量、急速充電可能で、ランニングコストの低減を図ることができる。さらには、電気二重層コンデンサを過不足なく所定の基準電圧に充電できるので、電気二重層コンデンサの破壊や故障を防止し、ねじ締付能力の不足や早期低下を防止することができる。また、電気二重層コンデンサの出力電圧の大きさに応じてモータ回転速度を所定の特性に制御するようにしたので、ねじ締付能力の安定性を向上させることができる。さらには、充電操作上の使い勝手を改善して、ねじ締付作業の作業性を向上させることができる。 According to the electric driver and the electric driver device of the present invention, with the configuration and operation as described above, it is possible to reduce the running cost by being small and light and quick charging. Furthermore, since the electric double layer capacitor can be charged to a predetermined reference voltage without excess or deficiency, the electric double layer capacitor can be prevented from being broken or broken, and the screw tightening capability can be prevented from being insufficient or early lowered. Further, since the motor rotation speed is controlled to a predetermined characteristic in accordance with the magnitude of the output voltage of the electric double layer capacitor, the stability of the screw tightening ability can be improved. Furthermore, the usability of the charging operation can be improved and the workability of the screw tightening work can be improved.
以下、添付図を参照して本発明の好適な実施形態を説明する。 Hereinafter, preferred embodiments of the present invention will be described with reference to the accompanying drawings.
図1に、本発明の一実施形態における電動ドライバの外観構成を示す。この電動ドライバ10は、たとえば樹脂性のハウジング12を有し、このハウジング12に後述する充電器78を除く電動ドライバ機能の全てを収容または取付(支持)している。ハウジング12は、前面の開口部にビットホルダ14を回転可能に支持する略円筒状の筒部16と、ビットホルダ14側から見て略直角または鈍角の角度で筒部16から下方に分岐するグリップ部18とを有する。筒部16の後端およびグリップ部18の下端は閉塞されている。なお、この実施形態では、筒部16を基準にして、ビットホルダ14側をハウジング12の前部とし、グリップ部18側をハウジング12の下部とする。 In FIG. 1, the external appearance structure of the electric driver in one Embodiment of this invention is shown. The
ビットホルダ14は、締付対象のねじまたはビスに応じたドライバビット20を着脱可能に挿入して固定保持するように構成されている。ハウジング筒部16の長手方向の中心部には、筒部16から上方へ略一定の高さおよび幅で隆起して筒部16の長手方向にまっすぐ延びる上部隆起部22が形成されている。この上部隆起部22には、その前部から中間部にかけて上部隆起部22の幅方向の中心線に沿って筒部16の長手方向にまっすぐ延びる上部スリット24が形成されている。この上部スリット24の内奥には、後述する正極側の上部コネクタ端子56(図2)が配置されている。上部隆起部22の前部の側面には、その内側に設けられている上部コネクタ端子56が正極性であることを示す“+”のマーク26が付けられている。 The
この“+”マーク26の直ぐ後方には、ハウジング筒部16の側面が後方に向かって一段と大径になる略半円ないし円弧状の段差部28が形成されている。後述するように、この段差部28は、電動ドライバ10が充電ユニット70(図3〜図10)のドライバ保持部の筒穴に挿入される際の挿入深さ位置を規定するストッパとして機能する。また、上部隆起部22の直ぐ後方には、たとえば発光ダイオードからなるステータス表示ランプ30(後述する図14の発光ダイオード196,198)が発光面を露出させて筒部16の上面に取り付けられている。後述するように、電動ドライバ10内の状態、特に充電動作時の各状態(充電中、充電終了、異常充電等)がステータス表示ランプ30の発光形態を通じてユーザに報知されるようになっている。 Immediately behind the “+”
上部隆起部22の反対側つまり筒部16の下面には、略一定の高さおよび幅で隆起して筒部16の長手方向にまっすぐ延びる下部隆起部32が形成されている。この下部隆起部32には、その前部から中間部にかけて下部隆起部32の幅方向の中心線に沿って筒部16の長手方向にまっすぐ延びる下部スリット34が形成されている。この下部スリット34の内奥には、後述する負極側の下部コネクタ端子60(図2)が配置されている。下部隆起部32の前部の側面には、その内側に設けられている下部コネクタ端子60が負極性であることを示す“−”のマーク36が付けられている。 On the opposite side of the upper protruding
下部隆起部32は、上部隆起部22よりも幅サイズが小さいうえ長さサイズも小さく、グリップ部18の手前で終端している。下部隆起部32の終端付近でグリップ部18の前部付け根にトリガ38が取り付けられている。グリップ部18を把持し、トリガ38を人差し指で引くと、ハウジング12に内蔵されている後述するモータ46(図2)が作動して、ドライバビット20をビットホルダ14と一体的に回転駆動するようになっている。 The lower raised
図2に、この電動ドライバ10に収容される主な部品または機構の配置構成を示す。ハウジング12の筒体16の中には、ビットホルダ14から内奥または後方に向かって順にブレーキスイッチ40、クラッチ42、ギヤ44、モータ46、プリント配線板48、第1の電気二重層コンデンサ(Electric Double Layer Capacitor、以下「EDLC」と称する。)50Aが配置されている。プリント配線板48には後述する制御部110(図14)を構成する電子部品が実装されている。 FIG. 2 shows an arrangement configuration of main components or mechanisms accommodated in the
グリップ部18は中空になっており、その中に第2の電気二重層コンデンサ50Bが収容される。このように第1および第2の電気二重層コンデンサ50A,50Bはハウジング12内で離れた場所に収容されるが、電気的には電気配線(図示せず)を介して直列に接続されている。トリガ38の内奥には、このトリガと連動して切り替わるねじ締付けスタート用のマイクロスイッチ52が配置されている。グリップ部18の後部上端の付け根にはドライバビット20の回転方向(正転/逆転)を切り替えるためのスライドスイッチ54が取り付けられている。 The
ハウジング筒体16において、上部隆起部22の内側には、上部スリット24(図1)の直下の位置に上部コネクタ端子56が配置され、この上部コネクタ端子56のすぐ後方に充電動作開始用のマイクロスイッチ58が配置されている。一方、下部隆起部32の内側には、下部スリット34(図1)の直上の位置に下部コネクタ端子60が配置されている。後述するように、この電動ドライバ10が充電ユニット70(図3〜図10)に正しく装着されたときに、充電ユニット70の正極側のコンタクトが上部コネクタ端子56に物理的かつ電気的に接続し、かつマイクロスイッチ58を開(オフ)位置から閉(オン)位置に切り替えるようになっており、下部コネクタ端子60にも充電ユニット70の負極側のコンタクトが物理的かつ電気的に接続するようになっている。 In the
図3〜図8に、この実施形態における充電ユニット70の構成を示す。この充電ユニット70と上記した電動ドライバ10とがセットになって、この実施形態の電動ドライバ装置を構成する。 The structure of the charging
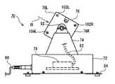
この充電ユニット70は、直方体形状の筐体72と、この筐体72の上面に一定の間隔を空けて垂直かつ互いに平行に立設された一対の支持板74と、これら一対の支持板74の間に架け渡された水平な支軸(図示せず)を中心として回転変位可能に支持されるドライバ保持部76とを有する。 The charging
筐体72の中には、たとえばスイッチング電源からなる充電器78が収容されている。この充電器78は、電源コード80を介して商用交流電源よりたとえば100Vあるいは200Vの商用交流電圧を入力し、たとえば6.5Vの一定直流電圧を出力する。なお、EDLC50(50A,50B)の最大定格電圧つまり充電基準電圧VSは充電器78の出力電圧よりは低く、たとえば5.4ボルトである。充電器78の出力端子は、ユニット内の電気ケーブル82を介してドライバ保持部76内の後述するコンクタクト(98R,100R)、(98L,100L)に電気的に接続されている。筐体72の底面には取付板84が固着されている。In the
ドライバ保持部76は、相対向する一対(左右)の端面が開口して中が貫通している筒穴86を有しており、この筒穴86にたとえば図9または図10に示すような姿勢または向きで電動ドライバ10を差し込めるようになっている。ここで、図9は台88の上に充電ユニット70を略水平に設置する据置型の使用例を示し、図10は壁90に充電ユニット70を略垂直に立て掛ける壁掛け型の使用例を示す。 The
図3〜図5に、据置型(図9)の使用形態で採る充電ユニット70(特にドライバ保持部76)の姿勢を示す。この場合は、図3に示すように、ドライバ保持部76に、その一方(右側)の端面76Rが斜め上を向き、他方(左側)の端面76Lが斜め下を向くような姿勢を採らせる。この姿勢変換または調整のために、支持板74の上端部に取り付けられているちょうボルト92をいったん緩めてドライバ保持部76を回転変位させ、適当な角度位置でちょうボルト92を締めて固定する。このように斜め上を向いている右側端面76R側から矢印Aで示すように電動ドライバ10(図3〜図5では図示せず)をドライバ保持部76の筒穴86に差し込む。 The attitude | position of the charging unit 70 (especially driver holding | maintenance part 76) taken with the usage type of a stationary type (FIG. 9) is shown in FIGS. In this case, as shown in FIG. 3, the
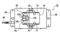
図4および図5に示すように、ドライバ保持部76の右側端面76Rから筒穴86の内奥に向かって上下一対の溝94R,96Rが形成されている。これらの溝94R,96Rは、据置型の使用形態において電動ドライバ10のハウジング筒部16の上部隆起部22および下部隆起部32をそれぞれ受け入れて案内するための上部右側案内溝および下部右側案内溝である。上記のように電動ドライバ10において上部隆起部22が下部隆起部32よりも大きな幅を有していることに対応して、充電ユニット70においては上部右側案内溝94Rが下部右側案内溝96Rよりも大きな幅に形成されている。 As shown in FIGS. 4 and 5, a pair of upper and lower grooves 94 </ b> R and 96 </ b> R are formed from the
上部右側案内溝94Rおよび下部右側案内溝96Rの底の幅方向中央部には、筒穴86の中心軸と平行に延びる板状の導体からなる正極側の上部右側コンタクト98Rおよび負極側の下部右側コンタクト100Rがそれぞれ取り付けられている。これらの上部右側コンタクト98Rおよび下部右側コンタクト100Rは、電気ケーブル82を介して筐体72の充電器78の正極側出力端子および負極側出力端子にそれぞれ電気的に接続されている。 At the center in the width direction of the bottom of the upper
図3に示すように、ドライバ保持部76の側面の上部右側角隅部には、その内側の上部右側案内溝94Rに設けられている上部右側コンタクト98Rが正極性であることを示す“+”のマーク102Rが付けられている。一方、ドライバ保持部76の側面の下部右側角隅部には、その内側の下部右側案内溝96Rに設けられている下部右側コンタクト100Rが負極性であることを示す“−”のマーク104Rが付けられている。 As shown in FIG. 3, “+” indicates that the upper
図6〜図8に、壁掛型(図10)の使用形態で採る充電ユニット70(特にドライバ保持部76)の姿勢を示す。この場合は、図6に示すように、ドライバ保持部76に、その左側の端面76Lが斜め上を向き、右側の端面76Rが斜め下を向くような姿勢をとらせる。この姿勢変換または調整でも、上記と同様にちょうボルト92を操作してよい。このように斜め上を向いている左側端面76L側から矢印Bで示すように電動ドライバ10(図6〜図8では図示せず)をドライバ保持部76の筒穴86に挿入する。 FIGS. 6 to 8 show the posture of the charging unit 70 (particularly the driver holding portion 76) that is used in the usage mode of the wall-hanging type (FIG. 10). In this case, as shown in FIG. 6, the
図7および図8に示すように、ドライバ保持部76の左側端面76Lから筒穴86の内奥に向かって上下一対の溝94L,96Lが形成されている。これらの溝94L,96Lは、壁掛型の使用形態において電動ドライバ10のハウジング筒部16の下部隆起部32および上部隆起部22をそれぞれ受け入れて案内するための上部左側案内溝および下部左側案内溝である。上記のように電動ドライバ10において上部隆起部22が下部隆起部32よりも大きな幅を有していることに対応して、ドライバ保持部76の左側では、下部左側案内溝96Lが上部左側案内溝94Lよりも大きな幅に形成されている。 As shown in FIGS. 7 and 8, a pair of upper and lower grooves 94 </ b> L and 96 </ b> L are formed from the
上部左側案内溝94Lおよび下部左側案内溝96Lの底の幅方向中央部には筒穴86の中心軸と平行に延びる板状の導体からなる負極性の上部左側コンタクト98Lおよび正極性の下部左側コンタクト100Lが取り付けられている。これら上部左側コンタクト98Lおよび下部右側コンタクト100Lは、電気ケーブル82を介して筐体72の充電器78の負極側出力端子および正極側出力端子にそれぞれ電気的に接続されている。 At the center in the width direction of the bottom of the upper
図6に示すように、ドライバ保持部76の側面の上部左側角隅部には、その内側の上部左側案内溝94Lに設けられている上部左側コンタクト98Lが負極性であることを示す“−”のマーク102Lが付けられている。一方、ドライバ保持部76の側面の下部左側角隅部には、その内側の下部左側案内溝96Lに設けられている下部左側コンタクト100Lが正極性であることを示す“+”のマーク104Lが付けられている。 As shown in FIG. 6, "-" indicating that the upper
なお、上部左側案内溝94Lの上部左側コンタクト94Lを正極性とし、下部左側案内溝96Lを負極性とし、上部左側案内溝94Lが電動ドライバ10のハウジング筒部16の上部隆起部22を受け入れるようにし、下部左側案内溝96Lが下部隆起部32を受け入れるように構成してもよい。 Note that the upper
ここで、図11、図12および図13につき、電動ドライバ10を充電ユニット70のドライバ保持部76に装着した際に両者の間で電気的接続が確立される仕組み(作用)を詳細に説明する。図示の例は、据置型(図9)の使用形態の場合、つまり電動ドライバ10が充電ユニット70のドライバ保持部76に右側端面76R側から差し込まれる場合である。 Here, with reference to FIGS. 11, 12, and 13, a mechanism (action) in which electrical connection is established between the two when the
この場合、上記したように、電動ドライバ10のハウジング筒部16の上部隆起部22および下部隆起部32がドライバ保持部76の上部右側案内溝94Rおよび下部右側案内溝96Rにそれぞれ案内されながら筒穴86の内奥へ入っていく。そうすると、上部右側案内溝94Rに設けられている上部右側コンタクト98Rが、電動ドライバ10の上部スリット24の中に入り込む。一方で、下部右側案内溝96Rに設けられている下部右側コンタクト100Rが、電動ドライバ10の下部スリット32の中に相対的に入り込む。上記したように、電動ドライバ10においては、下部コネクタ端子上60が上部コネクタ端子56よりも幾らか(たとえば数ミリメートル)前方の位置に配置されている。これにより、図11に示すように、上部コネクタ端子56に上部右側コンタクト98Rが接続するよりも前(一足先)に下部コネクタ端子60に下部右側コンタクト100Rが接続するようになっている。なお、上部コネクタ端子56および下部コネクタ端子60は、たとえば図示のように双子接点の片持梁形コンタクトとして構成されている。 In this case, as described above, the upper raised
そして、図12に示すように、上部右側コンタクト98Rの先端が上部コネクタ端子56の接点部に達する(接触)すると、下部コネクタ端子60は相対的に下部右側コンタクト100Rの接点部に擦接しながら更に前進する。その後、上部右側コンタクト98Rも上部コネクタ端子56の接点部に擦接しながら前進し、終には図13に示すように上部右側コンタクト98Rの先端がマイクロスイッチ58の操作レバー58aを介して押しボタン58bを押し込むようになっている。マイクロスイッチ58は、押しボタン58bを押されることによって、その接点位置をそれまでの開(オフ)位置から閉(オン)位置に切り替えるようになっている。この段階で、電動ドライバ10のハウジング筒部16の側面に形成されているストッパ用の突出段差部28がドライバ保持部76の右側端面76aつまり筒穴86の縁部に当接する。こうして、充電ユニット70に対する電動ドライバ10の装着が完了する。 Then, as shown in FIG. 12, when the tip of the upper
なお、この実施形態では、上記のように、電動ドライバ10側のドライバ接続端子つまり正極側コネクタ端子56および負極側コネクタ端子60の配置位置をそれぞれ示す“+”マーク26および“−”マーク36をハウジング筒部16に付けるとともに、充電ユニット70側のユニット接続端子つまり正極側コンタクト98R(100L)56および負極側コンタクト100R(98L)の配置位置をそれぞれ示す“+” マーク102R(104L)および“−”マーク104R(102L)をユニット保持部76の側面に付けている。これらの極性表示を目印にして、ユーザは電動ドライバ10のハウジング筒部16を正しい姿勢ないし向きで充電ユニット70のドライバ保持部76に装着することができる。 In this embodiment, as described above, the “+”
もっとも、ユーザがねじ締付け作業に気をとられ、誤って電動ドライバ10のハウジング筒部16を逆向きで充電ユニット70のドライバ保持部76に差し込もうとする場合もあり得る。しかし、その場合は、電動ドライバ10の比較的大きい幅の上部隆起部22が充電ユニット70の比較的小さい幅の案内溝96R(94L)の入口に突き当たって内奥に入っていかないため、逆極性での装着が防止されるとともに、ユーザは直ぐに自分の間違いに気づくことができる。 However, there is a case where the user is concerned about the screw tightening operation and mistakenly tries to insert the
次に、図14〜図18につき、この実施形態の電動ドライバ10における制御部の構成および作用を説明する。 Next, with reference to FIGS. 14 to 18, the configuration and operation of the control unit in the
図14に、電動ドライバ10に搭載される制御部110の回路構成を示す。この制御部110は、上記したように、プリント配線板48(図2)上に搭載される多数の電子回路および電子部品によって構成される。とりわけ、マイクロコンピュータ(以下、「マイコン」と称する。)112が、制御部110の主制御機能の全てを司るようになっている。 FIG. 14 shows a circuit configuration of the
正極側の上部コネクタ端子56は正極側電源ライン114に接続され、負極極側の下部コネクタ端子60はグランド電位の負極側電源ライン116に接続されている。上記したように、電動ドライバ10が充電ユニット70に正しく装着されている状態では、充電ユニット70の正極側コンタクト98R(または100L)に電動ドライバ10の正極側コネクタ端子56が接続し、充電ユニット70の負極側コンタクト100R(または98L)に電動ドライバ10の負極側コネクタ端子60が接続する。 The
EDLC50(50A,50B)は、正極側電源ライン114と負極側電源ライン116との間でたとえば電界効果型トランジスタ(FET)118からなるスイッチ回路と直列に接続される。そして、EDLC50と並列に電圧モニタ回路120が接続される。FET118のゲート端子は、抵抗119を介してマイコン112の信号出力端子RB0に接続されている。マイコン112が信号出力端子RB0よりLレベルの信号を出力しているときは、FET118がオフ状態で、EDLC50は充電器78から電気的に遮断される。マイコン112が信号出力端子RB0よりHレベルの信号を出力すると、FET118がオンし、充電器78からEDLC50に充電電流が供給されるようになっている。The EDLC 50 (50A, 50B) is connected in series with a switch circuit including, for example, a field effect transistor (FET) 118 between the positive
この電圧モニタ回路120は、定格電圧検出回路122とフォトカプラ124の出力側受光素子(フォトトランジスタ)とを直列接続している。定格電圧検出回路122は、抵抗126とフォトカプラ128の入力側発光素子(フォトダイオード)とシャントレギュレータ130とを直列に接続している。 The
シャントレギュレータ130は、たとえばトランジスタからなるスイッチング素子と、電圧比較器と、基準電圧発生回路とを内蔵している。より詳細には、スイッチング素子はフォトカプラ128のフォトダイオードに接続されている。電圧比較器は、その一方の入力端子に基準電圧発生回路の出力端子が接続され、他方の入力端子に2つの抵抗132,134からなる抵抗分圧回路の分圧点のノードNaが接続され、出力端子がスイッチング素子の制御端子に接続されている。ここで、基準電圧発生回路は、EDLC50の最大定格電圧VCに対応した所定の基準電圧を発生する。また、抵抗分圧回路(132,134)のノードNaにはEDLC50の充電電圧VEDに比例した分圧電圧が得られる。この分圧電圧が上記基準電圧より低い間は、電圧比較器がたとえばLレベルの出力信号を発生し、スイッチング素子が非導通状態に保たれる。そして、EDLC50の充電電圧VEDが最大定格電圧VS(5.4ボルト)に達すると、ノードNaの分圧電圧が上記基準電圧と等しくなって、電圧比較器がHレベルの出力信号を発生し、スイッチング素子が導通状態になるように構成されている。The
フォトカプラ128の出力側受光素子(フォトトランジスタ)はNPNトランジスタからなり、そのコレクタ端子は抵抗136を介してレギュレータ138の出力端子に接続されるとともに抵抗140を介してマイコン112の信号入力端子RA3に接続されている。シャントレギュレータ130のスイッチング素子が非導通状態であるうちは、フォトカプラ128においてフォトダイオードが発光せずフォトトランジスタはオフ状態にあり、抵抗136,140間のノードNbにはHレベルの信号が得られ、このHレベルの信号がマイコン112の信号入力端子RA3に入力される。シャントレギュレータ130のスイッチング素子が導通して電流が流れると、フォトカプラ128においてフォトダイオードが発光してフォトトランジスタがオン(導通)し、ノードNbからLレベルの信号がマイコン112の信号入力端子RA3に入力されるようになっている。The output-side light receiving element (phototransistor) of the
電圧モニタ回路120に設けられる抵抗126は、シャントレギュレータ130のスイッチング素子が導通した際の電流を制限するために挿入されている。また、後述するレギュレータ138の出力端子とノードNbとの間に接続される抵抗136は、フォトカプラ128のフォトトランジスタの出力端子つまりノードNbに二値(H/L)信号を得るための二値信号生成回路を形成する。The
フォトカプラ124においては、入力側発光素子(フォトダイオード)のアノード端子は抵抗142を介してレギュレータ138の出力端子に接続され、カソード端子はマイコン112の信号出力端子RB4に接続されている。マイコン112が信号出力端子RB4にHレベルの信号を出力している時は、フォトカプラ124においてフォトダイオードが発光せずフォトトランジスタはオフ状態にあり、これにより定格電圧検出回路122がEDLC50から電気的に分離される。マイコン112が信号出力端子RB4にLレベルの信号を出力すると、フォトカプラ124においてフォトダイオードが発光してフォトトランジスタがオン(導通)し、これにより定格電圧検出回路122がEDLC50に電気的に接続されるようになっている。In the
フォトカプラ124,128がEDLC50とマイコン112とを電気的に絶縁しているので、マイコン112が影響を受けることはない。 Since the
レギュレータ138の出力端子は、マイコン112の電源電圧端子VCCにも接続されている。レギュレータ138の入力端子には、昇圧用DC−DCコンバータ144の出力電圧が入力される。DC−DCコンバータ144は、たとえばチョッパ方式のスイッチング電源からなり、正極側電源ライン114上の直流電圧をたとえば0.8〜9.5ボルトのレンジで入力し、9.5ボルトの直流電圧を出力する。レギュレータ138は、たとえばドロッパ型レギュレータあるいはシリーズレギュレータからなり、DC−DCコンバータ144の出力電圧の変動を除去して、電圧レベルの安定したたとえば5ボルトの内部電源電圧を出力する。The output terminal of the
レギュレータ138の出力端子は、抵抗146,148,150を介してノードNc,Nd,Neにも接続されている。これらのノードNc,Nd,Neは、抵抗152,154,156を介してマイコン112の信号入力端子RA4,RA6,RA7に接続されるとともに、スイッチ58,52,40を介してグランド電位に接続されている。なお、抵抗140,152,154,156はマイコン112側の端子がコンデンサを介してグランド電位に接続されており、ノイズ低減用のローパスフィルタを構成している。The output terminal of the
スイッチ58は、上記したように、上部コネクタ端子56の後方近傍に設けられる充電開始用のマイクロスイッチである。このスイッチ58が開いているときは、ノードNcからHレベルの信号がマイコン112の信号入力端子RA4に入力される。電動ドライバ10が充電ユニット70に装着されてスイッチ58が閉じると、ノードNcの電位はLレベルになり、Lレベルの信号がマイコン112の信号入力端子RA4に入力される。マイコン112は、信号入力端子RA4にLレベルの信号を入力すると、これに応動してEDLC50に対する充電動作の制御を開始するようになっている。As described above, the
スイッチ52は、上記したように、トリガ38と連動して切り替わる締付けスタート用のマイクロスイッチ52である(図2)。このスイッチ52が開いているときは、ノードNdからHレベルの信号がマイコン112の信号入力端子RA6に入力される。トリガ38が引かれてスイッチ52が閉じると、ノードNdの電位はLレベルになり、Lレベルの信号がマイコン112の信号入力端子RA6に入力される。マイコン112は、信号入力端子RA6にLレベルの信号を入力すると、これに応動してモータ46に対する駆動制御を開始するようになっている。As described above, the
スイッチ40は、ビットホルダ14とクラッチ44の間に設けられるブレーキスイッチである(図2)。定常時、このスイッチ40は開いており、ノードNeからHレベルの信号がマイコン112の信号入力端子RA7に入力される。ねじ締付け作業において、ねじが着座して負荷トルクが所定値に達すると、このスイッチ40が閉じて、ノードNeの電位がLレベルになり、Lレベルの信号がマイコン112の信号入力端子RA7に入力される。マイコン112は、信号入力端子RA7にLレベルの信号を入力すると、これに応動してモータ46の回転駆動を停止するようになっている。モータ46は、ブラシ付き直流モータである。The
この制御部110では、モータ46の回転動作を制御するために、正極側電源ライン114と負極側電源ライン116との間でモータ46と直列に正転/逆転切替スイッチ160およびスイッチング素子たとえばFET162が接続されている。正転/逆転切替スイッチ160において、第1および第2の正極側固定接点Sc,Sfは正極側電源ライン114に共通接続され、第1および第2の負極側固定接点Sd,SeはFET162の正極側端子に共通接続され、第1および第2の可動接点Sa,Sbはモータ46の両端子にそれぞれ接続されている。両可動接点Sa,Sbは、スライドスイッチ54(図2)の操作に応じて、第1固定接点(Sc,Se)に接続する位置(たとえば正転位置)または第2固定接点(Sd,Sf)に接続する位置(逆転位置)のどちらかに選択的に切り替わるようになっている。FET162の負極側端子は負極側電源ライン(つまりグランド電位)に接続されている。In this
FET162のゲート端子は、抵抗164を介してマイコン112の信号出力端子RB3に接続されるとともに、抵抗166を介してグランド電位に接続されている。マイコン112の信号出力端子RB3よりHレベルの信号が出力されるとFET162がオンし、信号出力端子RB3よりLレベルの信号が出力されるとFET162がオフする。後述するように、マイコン112は、EDLC50からのモータ駆動電圧の電圧レベルに応じて、FET162をパルス幅制御(PWM)方式でスイチング制御するか、あるいは持続的にオン状態に保持するようになっている。The gate terminal of the
正転/逆転切替スイッチ160の正極側固定接点Sc,Sfと負極側固定接点Sd,Seとの間にはモータ46の発電制動を制御するためのスイッチング素子たとえばFET168が接続されている。モータ駆動用のFET162を通電状態からオフさせると、モータ46とFET168との間に正転/逆転切替スイッチ160を介して閉回路が形成される。マイコン112は、信号出力端子RB1から出力する信号により、抵抗170、172およびNPN型トランジスタ174からなる駆動回路を介してFET168をスイッチング制御するようになっている。Positive side fixed contact Sc of the forward /
この制御部110は、正極側電源ライン114上の電位または電圧を随時検出するための電源電圧検出回路176を備えている。この電源電圧検出回路176は、正極側電源ライン114とグランド電位との間に、たとえばPNP型トランジスタ178と抵抗180,182からなる抵抗分圧回路とを直列に入力し、分圧抵抗180,182の間のノードNfに得られる分圧電圧(検出電圧)をA/D変換器184によりディジタル信号に変換してマイコン112の信号入力端子RA0に入力するようにしている。抵抗186,188およびNPN型トランジスタ190は、マイコン112が信号出力端子RA1から出力する信号よりPNP型トランジスタ178を駆動するための駆動回路を構成する。抵抗192とコンデンサ194はノイズ低減用のローパスフィルタを構成している。PNP型トランジスタ178は、正極側電源ライン114に対して電源電圧検出回路176を電気的に繋いだり切ったりするためのスイッチ回路を構成している。このスイッチ回路178をオフにしている期間中は、抵抗分圧回路(180,182)に電流を流さなく済み、消費電力を節減することができる。The
マイコン112の信号出力端子RB6,RB7には、ステータス表示ランプ30(図1)を構成するたとえば2個(2色)の発光ダイオード(LED)196,198が接続されている。信号出力端子RB6よりHレベルの信号が出力されると、LED196が抵抗200を介して通電し、たとえば緑色の光を発生する。
信号出力端子RB7よりHレベルの信号が出力されると、LED198が抵抗200を介して通電し、たとえば赤色の光を発生するようになっている。For example, two (two colors) light emitting diodes (LEDs) 196 and 198 constituting the status display lamp 30 (FIG. 1) are connected to the signal output terminals RB6 and RB7 of the
When an H level signal is output from the signal output terminal RB7 , the
次に、この制御部110における主な作用を説明する。先ずEDLC50を充電する場合の作用を説明する。上記のように、電動ドライバ10が充電ユニット70に装着されてスイッチ58が閉じると、それに応動してマイコン112は充電動作の制御を開始する。 Next, main actions in the
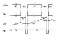
この充電動作において、マイコン112は、FET118を一定のサイクル(たとえば1秒)および一定のデューティ(たとえば90%)でオン・オフさせる。FET118がオンしている期間中は、充電器78からEDLC50に充電電流が供給され、EDLC50の充電電圧は単調に上昇する。FET118がオフしている期間中は、充電器78からEDLC50に充電電流は供給されず、EDLC50の充電電圧は上昇しない。 In this charging operation, the
マイコン112は、FET118がオフしている期間中に、信号出力端子RB4よりフォトカプラ124に与える制御信号を通じて、電圧モニタ回路120にEDLC端子間電圧VEDを監視させる。この場合、図15に示すように、FET118がオフしてから直ぐにではなく一定の遅延時間tdの経過後に、フォトカプラ124をオンさせて、電圧モニタ回路120をEDLC50の両端子51a,51bに接続する。The
一般に、EDLCは、電解液を含んだ活性炭の粒子が電極間に重なるようにして充填されており、全ての粒子が均一には充電されるわけではなく、充電がある程度進行すると、すでに充電された粒子からまだ十分に充電されていない粒子への放電→充電の反応(拡散)が生じる。このような拡散現象により、満充電に達する前に充電をいったん停止すると、図15に概念的に示すようにEDLC50の端子間電圧VEDがホールドされるのではなく下降(ドロップ)する。このため、FET118がオフした直後から直ちに電圧モニタ回路120にモニタリングをさせたならば、EDLC端子間電圧VEDが最大定格電圧VSを達したものと皮相的な(早とちりの)モニタ結果を出してしまい、そのモニタ結果を受けてマイコン112が充電動作を終了させるおそれがある。なお、充電動作を終了させるときは、FET118のオン・オフサイクルを止めて、FET118をオフ状態に保持する。In general, EDLC is filled with activated carbon particles containing electrolyte so as to overlap between electrodes, and not all particles are charged uniformly. When the charging proceeds to some extent, it is already charged. Discharge from particles to particles that are not yet fully charged → charge reaction (diffusion) occurs. Due to such a diffusion phenomenon, once charging is stopped before full charge is reached, the voltage VED between terminals of the
この実施形態では、FET118がオフしてから一定時間tdが経過してEDLC端子間電圧VEDが安定した状態の下で電圧モニタ回路120にモニタリングを行わせるので、確実に満充電に達した時点で充電を終了させ、充電終了直後のEDLC50の充電電圧を最大定格電圧VSに一致させることができる。EDLC50は急速充電が可能なので、充電開始からたとえば10〜15秒程度で充電が終了する。In this embodiment, since the
電圧モニタ回路120においては、EDLC50の端子間電圧VEDが最大定格電圧VSに達する前は、定格電圧検出回路122のシャントレギュレータ130内のスイッチング素子がオフしているため、フォトカプラ128もオフ状態にあり、出力回路(二値信号生成回路)のノードNbにHレベルの信号が得られる。EDLC50の端子間電圧VEDが最大定格電圧VSに達すると、シャントレギュレータ130内のスイッチング素子がオン(導通)し、これによってフォトカプラ128もオンし、出力回路(二値信号生成回路)のノードNbにLレベルの信号が得られる。モニタリングを止めている間、つまりフォトカプラ124をオフさせている間は、抵抗分圧回路(132,134)に電流は流れないので、消費電力は少ない。In the
図16および図17に、この実施形態におけるEDLC充電/EDLC電圧モニタリング法の変形例を示す。 16 and 17 show a modification of the EDLC charging / EDLC voltage monitoring method in this embodiment.
図16は、FET118のオン・オフサイクルの繰り返し回数が増えるにしたがってオフ期間T(Ti,Ti+1,・・)の比率を次第に増大させる手法である。つまり、充電初期はオン期間の比率(デューティ)を大きくしてEDLC充電の効率を優先し、充電終期が近づくにつれてオフ期間の比率を増大させる(したがって遅延時間tdを増大させる)ことによりEDLC電圧モニタリングの精度ないし信頼性を優先させるものである。FIG. 16 shows a method of gradually increasing the ratio of the off period T (Ti , Ti + 1 ,...) As the number of ON / OFF cycle repetitions of the
図17は、FET118のオン・オフサイクルの繰り返し回数が増えるにしたがってサイクルの周期C(Ci,Ci+1,・・)を次第に短縮する手法である。この場合も、充電終期が近づくにつれてEDLC電圧モニタリングの時間間隔を狭めることによって、充電終点検出の精度を向上させることができる。FIG. 17 shows a method of gradually shortening the cycle period C (Ci , Ci + 1 ,...) As the number of on / off cycles of the
また、FET118のオン・オフサイクルの繰り返し回数が増えるにしたがって、サイクルの周期C(Ci,Ci+1,・・)を次第に短縮するとともに、オフ期間T(Ti,Ti+1,・・)の比率を次第に増大させることも可能である。Further, as the number of repetitions of the on / off cycle of the
なお、マイコン112は、EDLC50に対する充電動作を開始した直後から電源電圧検出回路176を通じて電源電圧ライン114上の電圧を監視する。すなわち、充電中に、電源電圧検出回路176は電源電圧ライン114を介して充電回路78の出力電圧を検出することができる。電動ドライバ10を充電ユニット70に正しく装着しても、たとえば充電回路78が故障していたり、あるいは電源コード80のプラグが商用交流電源のソケットに差し込まれていなかった場合には、充電ユニット70から電力は供給されてこない。このとき、電源電圧ライン114の電圧は異常な低い値になっているので、マイコン112は電源電圧検出回路176を通じてそのような異常事態を検出し、警報用の赤色発光ダイオード198を発光させる。そのような異常がないときは、電源電圧ライン114上の電圧が一定値を超えているので、マイコン112はEDLC充電が正常に行われているものとみなし、緑色発光ダイオード196を発光させる。この場合、緑色発光ダイオード196を充電中は点滅させ、充電終了後は連続点灯させることができる。 The
次に、EDLC充電を終えた後の制御部110における作用を説明する。上記のように、電動ドライバ10のEDLC充電が終了すると、ステータス表示ランプ30(発光ダイオード196)が緑色の点滅から連続点灯に変わるので、その後は何時でも電動ドライバ10を充電ユニット70から取り外してねじ締付作業に用いることができる。 Next, the effect | action in the
電動ドライバ10を充電ユニット70のドライバ保持部76から引き抜く際には、電動ドライバ10と充電ユニット70との間では、各部で装着時の動作を時間的に巻戻すような逆の動作が行われる。この場合、電動ドライバ10の正極側コネクタ端子56が充電ユニット70の正極側コンタクト98R(または100L)から分離するよりも少し遅れて電動ドライバ10の負極側コネクタ端子60が充電ユニット70の負極側コンタクト100R(または98L)から分離する。このことにより、サージ電圧等の異常な高圧が制御部110に入ってきても確実にグランドラインに逃がすことができるので、制御部110内の回路部品を安全に保護することができる。また、電動ドライバ10を充電ユニット70に装着する際には、電動ドライバ10の正極側コネクタ端子56が充電ユニット70の正極側コンタクト98R(または100L)に接続するよりも少し早く負極側コネクタ端子60が充電ユニット70の負極側コンタクト100R(または98L)に接続するので、やはりサージ電圧等の異常な高圧から制御部110内の回路部品を安全に保護することができる。 When the
電動ドライバ10の使用時において、ユーザがトリガ38を引くと、スイッチ52が閉じ、これに応動してマイコン112がFET162をオンさせてモータ46に駆動電流を流し、モータ46を回転駆動する。この実施形態においては、図18に示すように、モータ46に対するEDLC50の出力電圧VEDの動作範囲内に適当な基準電圧VF(図示の例は3.5ボルト)を設定し、EDLC50の出力電圧VEDが中間基準電圧VFより高くなっている時は、無負荷回転速度が一定の回転速度(図示の例は480rpm)になるようにマイコン112がFET162をPWM制御方式により(可変のデューティ比で)スイッチング制御する。すなわち、中間基準電圧VFより高い電圧範囲内では、EDLC50の出力電圧VEDが最大定格電圧VSから低下するにつれてPWM制御のデューティ比を増大させることにより、無負荷回転速度を基準速度に保つようにする。マイコン112は、電源電圧検出回路176を通じてEDLC50の出力電圧VEDを測定し、たとえばルック・アップ・テーブル等で予め設定してある電圧−デューティ比特性からPWM制御のデューティ比またはパルス幅を決定することができる。そして、EDLC50の出力電圧VEDが中間基準電圧VFを割った後は、FET162をオン状態に保持して、EDLC出力電圧VEDをそのままの直流(100%のデューティ比)でモータ46に供給する。なお、EDLC50よりモータ46に供給される駆動電流は、FET118と並列に接続されているバイパス用のダイオード115を流れる。When the
この実施形態によれば、上記したように、電動ドライバ10が充電ユニット70のドライバ保持部76に差し込まれると、電動ドライバ10内のEDLC50が正確に最大定格電圧VSに満充電される。これにより、EDLC50の破壊や故障を招くことなく、充電後はEDLC電圧を必ず最大定格電圧VSからモータ駆動電圧に用いることができる。しかし、上記のようなPWM制御を行わないならば、つまりEDLC出力電圧VEDを常に100%のデューティ比でモータ46に供給したならば、電動ドライバ10の1回の使用サイクル(たとえば数十本のねじ締付け作業)の中でねじ締付け回転速度(ひいてはトルク)の変動幅は大きなものとなり、ユーザにとってはむしろ使い勝手のよくない面も生じる。その点、この実施形態は、EDLC電圧が中間基準電圧VFより高くなるレンジでは上記のようなPWM制御法により一律にフラッットまたは一定なドライバ回転速度に制御するので、締付け能力の安定性(均一性、再現性)を向上させることができる。なお、マイコン112は、電源電圧検出回路176を通じてEDLC50の出力電圧を監視しており、EDLC電圧VEDが中間基準電圧VFより高いか低いかを常時または随時判定することができる。さらには、EDLC電圧VEDが使用上の下限電圧(たとえば2.5ボルト)まで下がったときも、その事態を検出して、ステータス表示ランプ30を通じて(たとえばランプ30を赤色に点灯させて)ユーザに通報することができる。According to this embodiment, as described above, when the
1回のねじ締付け作業において、ねじが着座してブレーキスイッチ40が閉じると、マイコン112はモータ駆動用のFET162をオフにし、これと入れ替わりに発電制動用のFET168をオンにする。この実施形態では、FET168をパルス幅制御方式でスイッチング制御して、モータ46の発電制動または回生制動の効き加減を適度に制御するようにしている。なお、FET168がオフしている期間中は、FET118をオンにする。そうすると、FET162の寄生ダイオードを通って電流が流れ、モータ46からEDLC50へエネルギーが返還される。 In one screw tightening operation, when the screw is seated and the
上述したように、この実施形態における電動ドライバ10は、モータ駆動用電源としてEDLCのみを内蔵し、蓄電池を併有しないので、小型軽量、急速充電可能、長いライフサイクル(電池交換の必要がない、つまりランニングコスト低減)などのEDLCの長所をそのまま電動ドライバの長所として享有することができる。 As described above, the
また、電動ドライバ10内のEDLC50が常に最大定格電圧VSに過不足なく充電されるので、EDLC50が過大な充電電圧によって破壊や故障するのを防止できるとともに、EDLC50の充電電圧が過少なためにトルクや使用回数等の面で締付け能力が不足する事態を回避できる。In addition, since the
また、電動ドライバ10がねじ締付け作業に使用される場面では、EDLC50の出力電圧が予め設定した中間基準電圧VFよりも高くなっている間はPWM制御方式を用いてドライバ回転速度を一定値に保つようにしたので、ねじ締付能力の安定性を向上させることができる。Further, in a scene where the
さらには、ユーザにおいては、電動ドライバ10を作業時と同様にそのグリップ部28を把持したまま充電ユニット70のドライバ保持部76に差し込むだけで、簡単に電動ドライバ10を充電モードにセットすることができる。そして、電動ドライバ10のステータス表示ランプ30が緑色の点滅から連続点灯に切り替わった後(充電完了後)は何時でも電動ドライバ10のグリップ部18を把持して充電ユニット70のドライバ保持部76から抜き取れば、そのまま電動ドライバ10を任意にねじ締付け作業に使用できる。しかも、充電ユニット70は、1台で据置型(図9)および壁掛け型(図10)のいずれの使用形態にも対応(切替使用)できる。このように、上記実施形態における電動ドライバおよび電動ドライバ装置は、充電モードと使用モードとを合わせた総合的な使い勝手や取り扱い性に優れており、充放電サイクルが短くてもユーザは大して苦にならず、本来のねじ締付け作業の作業性を向上させることができる。 Furthermore, the user can easily set the
以上、本発明の好適な実施形態について説明したが、本発明は上記した実施形態に限定されるものでは決してなく、その技術的思想の範囲内で種々の変形・変更が可能である。たとえば、電動ドライバ10に収容するEDLCの個数は任意に選定可能であり、電動ドライバ10および充電ユニット70を構成する各部の構造・形状・材質等も任意に変形可能である。たとえば、上記した実施形態における電動ドライバ10側のコネクタ端子56,60および充電ユニット70側のコンタクト98R(100L),100R(98L)の形状および構造は一例であり、任意の接続端子の形態を採ることが可能である。また、充電ユニット70において、電動ドライバ10のハウジング筒部16を受け入れるのは、上記実施形態においてはドライバ保持部76の筒穴86であるが、貫通した筒穴に限るものではなく、たとえば側面の壁の一部が開口していたり、フレーム構造のものであってもよい。充電ユニットに対する電動ドライバ10の係合形態は、上記実施形態におけるような挿抜型に限定されず、種々の態様が可能である。 The preferred embodiments of the present invention have been described above. However, the present invention is not limited to the above-described embodiments, and various modifications and changes can be made within the scope of the technical idea. For example, the number of EDLCs accommodated in the
また、上記した実施形態は、EDLC50の充電電圧を制御するための充電制御回路を電動ドライバ10内に設けた。しかしながら、図19および図20に示すように、充電ユニット70側にEDLC充電制御回路を設ける構成も可能である。この構成例は、充電ユニット70および電動ドライバ10にマイコン112A,112Bをそれぞれ搭載し、電動ドライバ10側のマイコン112Bにはモータ46の回転動作を制御する機能を分担させ、EDLC50の充電電圧を制御する機能を充電ユニット70側のマイコン112Aに分担させる。より詳細には、図19に示すように、充電ユニット70には、マイコン112Aおよび電圧モニタ回路120、充電開始用スイッチ58等の外に、これらに電源電圧ないし動作電圧を供給するためのDC−DCコンバータ144Aおよびレギュレータ138Aを設ける。マイコン112Aは、発光ダイオード196A,198Aを充電時のときだけ上記実施形態の発光ダイオード196,198とそれぞれ同様に働かせる。 In the above-described embodiment, a charge control circuit for controlling the charging voltage of the
なお、電動ドライバ10側において、発光ダイオード196Bは、赤色発光ダイオードであり、たとえばEDLC50の電圧VEDが使用上の下限電圧まで低下した場合に点灯する。また、発光ダイオード198Bは、緑色発光ダイオードであり、ブレーキスイッチ40がONした場合に点灯する。符号200Bは抵抗である。 On the
10 電動ドライバ
12 ハウジング
14 ビットホルダ
16 筒部
18 グリップ部
20 ドライバビット
22 上部隆起部
24 上部スリット
32 下部隆起部
34 下部スリット
46 モータ
48 プリント配線板
56 上部コネクタ端子(ドライバ接続端子)
58 充電開始用マイクロスイッチ
60 下部コネクタ端子(ドライバ接続端子)
70 充電ユニット
74 支持板(支持部)
76 ドライバ保持部(ドライバ係合部)
78 充電器
82 電気ケーブル
86 筒穴(受容部)
94R 上部右側案内溝部
94L 上部左側案内溝部
96R 下部右側案内溝部
96L 下部右側案内溝部
98R 上部右側コンタクト(ユニット接続端子)
98L 上部左側コンタクト(ユニット接続端子)
100R 下部右側コンタクト(ユニット接続端子)
100L 下部左側コンタクト(ユニット接続端子)
110 制御部
112 マイコン(マイクロコンピュータ)
118 FET(スイッチ回路)
120 電圧モニタ回路
122 定格電圧検出回路(基準電圧検出回路)
124 フォトカプラ(スイッチ回路)
162 FET(スイッチング素子)
176 電源電圧検出回路
196,198 発光ダイオード
112A,112B マイコン(マイクロコンピュータ)DESCRIPTION OF
34 Lower slit 46
58 Microswitch for charging
70
76 Driver holding part (driver engaging part)
78
86 Tube hole (receiving part)
94R Upper
98L Upper left contact (unit connection terminal)
100R Lower right contact (unit connection terminal)
100L Lower left contact (unit connection terminal)
110
118 FET (switch circuit)
120
124 Photocoupler (switch circuit)
162 FET (switching element)
176 Power supply
| Application Number | Priority Date | Filing Date | Title |
|---|---|---|---|
| JP2006243020AJP4603521B2 (en) | 2006-09-07 | 2006-09-07 | Electric driver and electric driver device |
| TW096131202ATWI388407B (en) | 2006-09-07 | 2007-08-23 | Electric drive tools and electric drive tools |
| PCT/JP2007/000960WO2008029513A1 (en) | 2006-09-07 | 2007-09-05 | Electric driver and electric driver device |
| CN2007800009324ACN101346215B (en) | 2006-09-07 | 2007-09-05 | Electric driver and electric driver device |
| KR1020087027165AKR101345681B1 (en) | 2006-09-07 | 2007-09-05 | Electric driver and electric driver device |
| HK09102541.1AHK1121991B (en) | 2006-09-07 | 2007-09-05 | Electric driver and electric driver device |
| Application Number | Priority Date | Filing Date | Title |
|---|---|---|---|
| JP2006243020AJP4603521B2 (en) | 2006-09-07 | 2006-09-07 | Electric driver and electric driver device |
| Publication Number | Publication Date |
|---|---|
| JP2008062341Atrue JP2008062341A (en) | 2008-03-21 |
| JP4603521B2 JP4603521B2 (en) | 2010-12-22 |
| Application Number | Title | Priority Date | Filing Date |
|---|---|---|---|
| JP2006243020AActiveJP4603521B2 (en) | 2006-09-07 | 2006-09-07 | Electric driver and electric driver device |
| Country | Link |
|---|---|
| JP (1) | JP4603521B2 (en) |
| KR (1) | KR101345681B1 (en) |
| CN (1) | CN101346215B (en) |
| TW (1) | TWI388407B (en) |
| WO (1) | WO2008029513A1 (en) |
| Publication number | Priority date | Publication date | Assignee | Title |
|---|---|---|---|---|
| JP2016002629A (en)* | 2014-06-18 | 2016-01-12 | 勝行 戸津 | Power source system of power tool |
| CN106470801A (en)* | 2014-02-17 | 2017-03-01 | 维达保健公司 | Power drive actuated by force on drive shaft and related kits, components and methods |
| JP2021525178A (en)* | 2018-06-06 | 2021-09-24 | ヒルティ アクチエンゲゼルシャフト | Fixing tool |
| JP2021526085A (en)* | 2018-06-06 | 2021-09-30 | ヒルティ アクチエンゲゼルシャフト | Fixing tool |
| Publication number | Priority date | Publication date | Assignee | Title |
|---|---|---|---|---|
| GB2489970A (en)* | 2011-04-14 | 2012-10-17 | Kenwood Ltd | Driving a portable kitchen appliance with an enhanced storage capacitive device |
| DE102011102275A1 (en)* | 2011-05-23 | 2012-11-29 | C. & E. Fein Gmbh | Screwdriver and method for controlling a screwdriver |
| CN103386672A (en)* | 2012-05-11 | 2013-11-13 | 苏州宝时得电动工具有限公司 | Method for placing electric tool on charging seat and combination of electric tool and charging seat |
| US11797469B2 (en) | 2013-05-07 | 2023-10-24 | Snap-On Incorporated | Method and system of using USB user interface in electronic torque wrench |
| CN104647308A (en)* | 2015-02-16 | 2015-05-27 | 江苏苏美达五金工具有限公司 | Handheld electric tool |
| JP2019155533A (en)* | 2018-03-13 | 2019-09-19 | 株式会社マキタ | Screw fastening tool |
| CN108466216B (en)* | 2018-03-28 | 2019-11-05 | 徐州鼎力模具有限公司 | It is a kind of based on the gear-driven electric screw driver with calibration function |
| JP7207106B2 (en)* | 2019-04-02 | 2023-01-18 | 株式会社デンソー | Control device |
| AU2021200856B2 (en)* | 2020-02-28 | 2022-12-01 | Snap-On Incorporated | Method and system of using usb user interface in electronic torque wrench |
| EP4241140A4 (en) | 2020-11-05 | 2024-09-25 | Techtronic Cordless GP | POWER TOOL CONTROL SYSTEM |
| US12368347B2 (en)* | 2022-12-01 | 2025-07-22 | Norbar Torque Tools Limited | Cooling electronics of power tools |
| Publication number | Priority date | Publication date | Assignee | Title |
|---|---|---|---|---|
| JPH11266543A (en)* | 1998-03-18 | 1999-09-28 | Makita Corp | Power tool charging system |
| JP2002369405A (en)* | 2001-06-12 | 2002-12-20 | Max Co Ltd | Motor drive circuit for power tool |
| JP2002369404A (en)* | 2001-06-12 | 2002-12-20 | Max Co Ltd | Motor drive circuit for power tool |
| JP2004242402A (en)* | 2003-02-04 | 2004-08-26 | Max Co Ltd | Charge control circuit for electric double-layer capacitor |
| JP2005073350A (en)* | 2003-08-22 | 2005-03-17 | Matsushita Electric Works Ltd | Power tool |
| Publication number | Priority date | Publication date | Assignee | Title |
|---|---|---|---|---|
| CN87213840U (en)* | 1987-09-25 | 1988-04-20 | 上海华茂实用电器厂 | Power-driven screw driver and its auxiliary chargeable power supply |
| JP3783576B2 (en)* | 2001-05-25 | 2006-06-07 | 日立工機株式会社 | DC power supply with charging function |
| EP1363386B1 (en)* | 2002-05-13 | 2005-01-05 | Luxon Energy Devices Corporation | High current pulse generator |
| JP2003346850A (en)* | 2002-05-23 | 2003-12-05 | Sony Corp | Fuel cell device and method of operating the device |
| Publication number | Priority date | Publication date | Assignee | Title |
|---|---|---|---|---|
| JPH11266543A (en)* | 1998-03-18 | 1999-09-28 | Makita Corp | Power tool charging system |
| JP2002369405A (en)* | 2001-06-12 | 2002-12-20 | Max Co Ltd | Motor drive circuit for power tool |
| JP2002369404A (en)* | 2001-06-12 | 2002-12-20 | Max Co Ltd | Motor drive circuit for power tool |
| JP2004242402A (en)* | 2003-02-04 | 2004-08-26 | Max Co Ltd | Charge control circuit for electric double-layer capacitor |
| JP2005073350A (en)* | 2003-08-22 | 2005-03-17 | Matsushita Electric Works Ltd | Power tool |
| Publication number | Priority date | Publication date | Assignee | Title |
|---|---|---|---|---|
| CN106470801A (en)* | 2014-02-17 | 2017-03-01 | 维达保健公司 | Power drive actuated by force on drive shaft and related kits, components and methods |
| US10092320B2 (en) | 2014-02-17 | 2018-10-09 | Teleflex Medical Devices S.A.R.L. | Powered driver actuated by force on driveshaft and related kits, components, and methods |
| US10653448B2 (en) | 2014-02-17 | 2020-05-19 | Teleflex Life Sciences Limited | Powered driver actuated by force on driveshaft and related kits, components, and methods |
| US11547445B2 (en) | 2014-02-17 | 2023-01-10 | Teleflex Life Sciences Limited | Powered driver actuated by force on driveshaft and related kits, components, and methods |
| JP2016002629A (en)* | 2014-06-18 | 2016-01-12 | 勝行 戸津 | Power source system of power tool |
| JP2021525178A (en)* | 2018-06-06 | 2021-09-24 | ヒルティ アクチエンゲゼルシャフト | Fixing tool |
| JP2021526085A (en)* | 2018-06-06 | 2021-09-30 | ヒルティ アクチエンゲゼルシャフト | Fixing tool |
| US11667022B2 (en) | 2018-06-06 | 2023-06-06 | Hilti Aktiengesellschaft | Fastener driving tool |
| Publication number | Publication date |
|---|---|
| HK1121991A1 (en) | 2009-05-08 |
| JP4603521B2 (en) | 2010-12-22 |
| KR20090051003A (en) | 2009-05-20 |
| CN101346215B (en) | 2012-01-25 |
| KR101345681B1 (en) | 2013-12-30 |
| WO2008029513A1 (en) | 2008-03-13 |
| TW200821099A (en) | 2008-05-16 |
| CN101346215A (en) | 2009-01-14 |
| TWI388407B (en) | 2013-03-11 |
| Publication | Publication Date | Title |
|---|---|---|
| JP4603521B2 (en) | Electric driver and electric driver device | |
| US7176656B2 (en) | Tool with battery pack | |
| US6950030B2 (en) | Battery charge indicating circuit | |
| JP3666307B2 (en) | Portable electronic device having a method for displaying the remaining amount of secondary battery and a method for displaying the remaining amount of secondary battery | |
| CN110547847A (en) | Bone drill | |
| CN114497782A (en) | Voltage regulating device and rechargeable battery having the same | |
| JP2009119571A (en) | Power tool | |
| JP2012095433A (en) | Secondary battery pack | |
| JP2014150678A (en) | Electric machinery and appliances, and body thereof | |
| US20220190612A1 (en) | Multi-Port Charger and Battery Pack Multi-Port Charger Set | |
| JP4933298B2 (en) | Communication system, battery pack, and battery pack connection device | |
| US20230231211A1 (en) | Hybrid Battery Cartridge | |
| JP2008139261A (en) | Voltage-measuring device for battery pack | |
| WO2015180391A1 (en) | Battery pack charging/discharging system and method for electric tool, and electric tool | |
| US20040251040A1 (en) | High torsion electromotive opener | |
| US20050194928A1 (en) | Power tool capable of charging a rechargeable battery unit that includes at least a standard-sized battery cell | |
| JP3100119U (en) | Electric screwdriver | |
| HK1121991B (en) | Electric driver and electric driver device | |
| JP2005151740A (en) | Charger | |
| JPH11233159A (en) | Rechargeable battery pack | |
| EP1765038A2 (en) | Light assembly with rechargeable battery | |
| CN110856439B (en) | a power tool | |
| JP6273643B2 (en) | Charge control device and emergency lighting device using the same | |
| CN220604855U (en) | Detachable automatic detection battery box | |
| JP2001211606A (en) | Device with generator |
| Date | Code | Title | Description |
|---|---|---|---|
| A131 | Notification of reasons for refusal | Free format text:JAPANESE INTERMEDIATE CODE: A131 Effective date:20100629 | |
| A521 | Request for written amendment filed | Free format text:JAPANESE INTERMEDIATE CODE: A523 Effective date:20100803 | |
| TRDD | Decision of grant or rejection written | ||
| A01 | Written decision to grant a patent or to grant a registration (utility model) | Free format text:JAPANESE INTERMEDIATE CODE: A01 Effective date:20100921 | |
| A01 | Written decision to grant a patent or to grant a registration (utility model) | Free format text:JAPANESE INTERMEDIATE CODE: A01 | |
| A61 | First payment of annual fees (during grant procedure) | Free format text:JAPANESE INTERMEDIATE CODE: A61 Effective date:20101001 | |
| FPAY | Renewal fee payment (event date is renewal date of database) | Free format text:PAYMENT UNTIL: 20131008 Year of fee payment:3 | |
| R150 | Certificate of patent or registration of utility model | Ref document number:4603521 Country of ref document:JP Free format text:JAPANESE INTERMEDIATE CODE: R150 Free format text:JAPANESE INTERMEDIATE CODE: R150 | |
| R250 | Receipt of annual fees | Free format text:JAPANESE INTERMEDIATE CODE: R250 | |
| R250 | Receipt of annual fees | Free format text:JAPANESE INTERMEDIATE CODE: R250 | |
| R250 | Receipt of annual fees | Free format text:JAPANESE INTERMEDIATE CODE: R250 | |
| R250 | Receipt of annual fees | Free format text:JAPANESE INTERMEDIATE CODE: R250 | |
| R250 | Receipt of annual fees | Free format text:JAPANESE INTERMEDIATE CODE: R250 | |
| R250 | Receipt of annual fees | Free format text:JAPANESE INTERMEDIATE CODE: R250 | |
| R250 | Receipt of annual fees | Free format text:JAPANESE INTERMEDIATE CODE: R250 | |
| R250 | Receipt of annual fees | Free format text:JAPANESE INTERMEDIATE CODE: R250 | |
| R250 | Receipt of annual fees | Free format text:JAPANESE INTERMEDIATE CODE: R250 | |
| R250 | Receipt of annual fees | Free format text:JAPANESE INTERMEDIATE CODE: R250 | |
| R250 | Receipt of annual fees | Free format text:JAPANESE INTERMEDIATE CODE: R250 | |
| R250 | Receipt of annual fees | Free format text:JAPANESE INTERMEDIATE CODE: R250 | |
| R250 | Receipt of annual fees | Free format text:JAPANESE INTERMEDIATE CODE: R250 |