







本発明は、不揮発性メモリ及びその製造方法に関し、特に標準CMOSプロセスで不揮発性メモリを実現するための技術に関するものである。 The present invention relates to a nonvolatile memory and a manufacturing method thereof, and more particularly to a technique for realizing a nonvolatile memory by a standard CMOS process.
EEPROM(Electrically Erasable Programmable Read Only Memory)に代表される不揮発性メモリは、電源を切っても記憶されたデータが消えないため、多くの用途に用いられている。例えば、EEPROMの代表的な用途としては、ICカードがある。また、いつでも用途に応じて書き換えが出来る便利さから、マイコン内のマスクROMの置き換えとしてもEEPROMやフラッシュメモリが使われている。さらに、近年では、システムLSIや論理ICの一部に不揮発性メモリを取り込んだ、埋め込み型の所謂ロジック混載メモリ(Embedded Memory)に対する要請が高まっている。 Nonvolatile memories represented by EEPROM (Electrically Erasable Programmable Read Only Memory) are used for many purposes because stored data does not disappear even when the power is turned off. For example, a typical application of an EEPROM is an IC card. Also, because of the convenience of rewriting at any time according to the application, EEPROM or flash memory is used as a replacement for the mask ROM in the microcomputer. Further, in recent years, there has been a growing demand for an embedded type so-called embedded memory in which a nonvolatile memory is incorporated in a part of a system LSI or logic IC.
しかしながら、一般的に不揮発性メモリは2層ポリシリコンあるいは3層ポリシリコンを用いたセル構造を有しており、製造工程はロジックICの作製に用いられる標準CMOSプロセス(1層ポリシリコンプロセス)より複雑で工程数も多い。そのため、不揮発性メモリと標準ロジックを1チップの中に同時に埋め込もうとすると、製造工程が多くなり、歩留まりも低下し、製品の価格(コスト)が上昇するという問題が生じていた。 However, in general, the nonvolatile memory has a cell structure using two-layer polysilicon or three-layer polysilicon, and the manufacturing process is more than a standard CMOS process (one-layer polysilicon process) used for manufacturing a logic IC. Complex and many processes. For this reason, when the nonvolatile memory and the standard logic are simultaneously embedded in one chip, there are problems that the manufacturing process increases, the yield decreases, and the price (cost) of the product increases.
このような問題を解決する従来技術として、1層ポリシリコンを用いたEEPROMが提案されている(特許文献1参照)。この1層ポリシリコンプロセスを用いたEEPROMによれば、2層ポリシリコンプロセスを用いる場合よりも製造工程を削減できる。
しかしながら、上述の従来技術に係る1層ポリシリコンを用いたEEPROMによれば、コントロールゲートとして使用されている2層目のポリシリコンを省略したために、フローティングゲートの下の半導体基板に拡散層からなるコントロールゲートを埋め込む必要があり、ロジックIC製造に用いられる標準CMOSプロセスより複雑な製造工程が必要になるという問題がある。さらに、高濃度で埋め込まれた拡散層を酸化して作製された酸化膜は品質が低下するため、不良の発生する確率が高くなり、信頼性も低下するという問題がある。 However, according to the above-described EEPROM using the single-layer polysilicon, the second-layer polysilicon used as the control gate is omitted, so that the semiconductor substrate under the floating gate is made of a diffusion layer. There is a problem that it is necessary to embed a control gate, and a more complicated manufacturing process is required than a standard CMOS process used for manufacturing logic ICs. Furthermore, since the quality of the oxide film produced by oxidizing the diffusion layer buried at a high concentration is lowered, there is a problem that the probability of occurrence of a defect is increased and the reliability is also lowered.
本発明は上記事情を考慮してなされたもので、その目的は、ロジックIC製造に用いられる標準CMOSプロセスで製造可能な不揮発性メモリを提供する事である。 The present invention has been made in view of the above circumstances, and an object thereof is to provide a nonvolatile memory that can be manufactured by a standard CMOS process used for manufacturing logic ICs.
本発明は上記の課題を解決するためになされたもので、本発明に係る不揮発性メモリは、MOS構造の第一トランジスタと第二トランジスタとキャパシタとからなるメモリセルを備えた不揮発性メモリであって、前記第一トランジスタは、半導体基板の主表面に形成された第一ソース及び第一ドレインと、前記第一ソースと第一ドレインとの間の前記主表面上に絶縁膜を介して形成されたセレクトゲートと、から構成され、前記第二トランジスタは、前記半導体基板の主表面に形成された第二ソースと、前記半導体基板の主表面に前記第一ソースと一体的に形成された第二ドレインと、前記第二ソースと第二ドレインとの間の前記主表面上に絶縁膜を介して形成されたフローティングゲートと、から構成され、
前記キャパシタは、前記半導体基板の主表面に前記トランジスタのコントロールゲートとして形成された不純物領域からなる第一電極と、前記不純物領域上に絶縁膜を介して前記フローティングゲートと一体的に形成された第二電極と、から構成される。The present invention has been made to solve the above-described problems, and a nonvolatile memory according to the present invention is a nonvolatile memory including a memory cell including a first transistor, a second transistor, and a capacitor having a MOS structure. The first transistor is formed on the main surface between the first source and the first drain and an insulating film on the main surface between the first source and the first drain formed on the main surface of the semiconductor substrate. A second gate formed on the main surface of the semiconductor substrate, and a second source formed integrally with the first source on the main surface of the semiconductor substrate. A drain, and a floating gate formed on the main surface between the second source and the second drain via an insulating film,
The capacitor includes a first electrode formed of an impurity region formed as a control gate of the transistor on a main surface of the semiconductor substrate, and a first electrode formed integrally with the floating gate on the impurity region via an insulating film. And two electrodes.
上記不揮発性メモリにおいて、前記第一トランジスタと第二トランジスタとキャパシタは、標準的なCMOSプロセスを用いて形成されたことを特徴とする。 In the nonvolatile memory, the first transistor, the second transistor, and the capacitor are formed using a standard CMOS process.
上記不揮発性メモリにおいて、前記メモリセルをマトリックス状に配列してなるメモリアレイと、前記メモリアレイの各列に沿って形成され、前記第一トランジスタの第一ドレインが接続された複数のビット線と、前記メモリアレイの各行に沿って形成され、前記第二トランジスタの第二ソースが接続された複数のソース線と、前記メモリアレイの各行に沿って形成され、前記コントロールゲートとしての前記第一電極が接続された複数のコントロールゲート線と、前記メモリアレイの各行に沿って形成され、前記第一トランジスタのセレクトゲートが接続された複数のセレクトゲート線と、を備え、前記第一電極を構成する前記不純物領域が、同一行内の隣り合うメモリセル間で一体的に形成され、前記第一トランジスタの第一ドレインが、前記メモリアレイの同一列内の隣り合うメモリセル間で一体的に形成されたことを特徴とする。 In the nonvolatile memory, a memory array in which the memory cells are arranged in a matrix, and a plurality of bit lines formed along each column of the memory array and connected to the first drain of the first transistor; A plurality of source lines formed along each row of the memory array and connected to a second source of the second transistor; and the first electrode as the control gate formed along each row of the memory array. And a plurality of select gate lines formed along each row of the memory array and connected to a select gate of the first transistor, and constitutes the first electrode. The impurity region is integrally formed between adjacent memory cells in the same row, and the first drain of the first transistor is And wherein the integrally formed between adjacent memory cells in the same column of the memory array.
上記不揮発性メモリにおいて、前記メモリセルをマトリックス状に配列してなるメモリアレイと、前記メモリアレイの各列に沿って形成され、前記第一トランジスタの第一ドレインが接続された複数のビット線と、前記メモリアレイの各列に沿って形成され、前記第二トランジスタの第二ソースが接続された複数のソース線と、前記メモリアレイの各行に沿って形成され、前記コントロールゲートとしての前記第一電極が接続された複数のコントロールゲート線と、前記メモリアレイの各行に沿って形成され、前記第一トランジスタのセレクトゲートが接続された複数のセレクトゲート線と、を備え、前記第一電極を構成する前記不純物領域が、同一行内の隣り合うメモリセル間で一体的に形成され、前記第一トランジスタの第一ドレインが、前記メモリアレイの同一列内の隣り合うメモリセル間で一体的に形成されたことを特徴とする。 In the nonvolatile memory, a memory array in which the memory cells are arranged in a matrix, and a plurality of bit lines formed along each column of the memory array and connected to the first drain of the first transistor; A plurality of source lines formed along each column of the memory array to which a second source of the second transistor is connected, and formed along each row of the memory array, and the first as the control gate A plurality of control gate lines to which electrodes are connected; and a plurality of select gate lines formed along each row of the memory array to which the select gates of the first transistors are connected. The impurity region is integrally formed between adjacent memory cells in the same row, and the first drain of the first transistor is And wherein the integrally formed between adjacent memory cells in the same column of the memory array.
上記不揮発性メモリにおいて、書き込み時に、前記セレクトゲート線に所定の第一の正電圧が印加され、前記コントロールゲート線に所定の第二の正電圧が印加され、前記ビット線に所定の第三の正電圧が印加され、前記ソース線に接地電圧が印加され、消去時に、前記セレクトゲート線と前記コントロールゲート線と前記ビット線とに接地電圧が印加され、前記ソース線に所定の第四の正電圧が印加され、読み出し時に、前記セレクトゲート線に所定の第五の正電圧が印加され、前記コントロールゲート線に接地電圧又は所定の第六の正電圧が印加され、前記ビット線に所定の第七の正電圧が印加され、前記ソース線に接地電圧が印加される事を特徴とする。 In the nonvolatile memory, at the time of writing, a predetermined first positive voltage is applied to the select gate line, a predetermined second positive voltage is applied to the control gate line, and a predetermined third positive voltage is applied to the bit line. A positive voltage is applied, a ground voltage is applied to the source line, and at the time of erasing, a ground voltage is applied to the select gate line, the control gate line, and the bit line, and a predetermined fourth positive voltage is applied to the source line. At the time of reading, a predetermined fifth positive voltage is applied to the select gate line, a ground voltage or a predetermined sixth positive voltage is applied to the control gate line, and a predetermined first positive voltage is applied to the bit line. Seven positive voltages are applied, and a ground voltage is applied to the source line.
上記不揮発性メモリにおいて、前記第二電極は、その角部が素子分離用のフィールド酸化膜上に位置するように形成されたことを特徴とする。 In the non-volatile memory, the second electrode is formed such that a corner portion thereof is positioned on a field oxide film for element isolation.
上記不揮発性メモリにおいて、前記キャパシタはMOSキャパシタにより形成されたことを特徴とする。 In the nonvolatile memory, the capacitor is formed of a MOS capacitor.
上記不揮発性メモリの製造方法は、前記半導体基板の所定の領域に前記キャパシタの第一電極となる前記不純物領域を形成する工程と、素子分離用のフィールド酸化膜を形成する工程と、前記トランジスタのゲート酸化膜及び前記キャパシタの絶縁層となる酸化膜を形成する工程と、前記トランジスタのフローティングゲートと前記キャパシタの第二電極と前記トランジスタのセレクトゲートとを形成する工程と、前記トランジスタのソース及びドレインを形成する工程と、第一層間絶縁膜を形成する工程と、前記第一層間絶縁膜に、前記不純物領域と前記第一トランジスタのソースと第二トランジスタのソース及びドレインとにそれぞれ通じる第一コンタクトホールを形成する工程と、第一層メタル配線を形成する工程と、第二層間絶縁膜を形成する工程と、前記第二層間絶縁膜に、前記第一トランジスタのドレインに通じる第二コンタクトホールを形成する工程と、第二層メタル配線を形成する工程と、を含む。 The non-volatile memory manufacturing method includes a step of forming the impurity region serving as the first electrode of the capacitor in a predetermined region of the semiconductor substrate, a step of forming a field oxide film for element isolation, Forming a gate oxide film and an oxide film serving as an insulating layer of the capacitor; forming a floating gate of the transistor; a second electrode of the capacitor; and a select gate of the transistor; and a source and a drain of the transistor Forming a first interlayer insulating film; and connecting the first interlayer insulating film to the impurity region, the source of the first transistor, and the source and drain of the second transistor, respectively. A step of forming one contact hole, a step of forming a first layer metal wiring, and a second interlayer insulating film And forming, on the second interlayer insulating film, forming a second contact hole leading to the drain of the first transistor, and forming a second layer metal wiring, a.
上記不揮発性メモリの製造方法において、前記不純物領域の形成後に該不純物領域と同じ導電型の不純物をさらに注入することを特徴とする。 In the method for manufacturing a nonvolatile memory, an impurity having the same conductivity type as that of the impurity region is further implanted after the impurity region is formed.
本発明によれば、ロジックIC製造に用いられる標準CMOSプロセスで不揮発性メモリを製造することが可能となる。従って、高い信頼性を備えたロジック混載メモリが容易且つ安価に実現出来る。 According to the present invention, it is possible to manufacture a nonvolatile memory by a standard CMOS process used for logic IC manufacturing. Therefore, a logic embedded memory having high reliability can be realized easily and inexpensively.
以下、図面を参照して本発明の一実施形態について説明する。
図1(a)は、本発明に係る不揮発性メモリのメモリセルであるEEPROMセルの平面図である。図1(b)は本EEPROMセルの等価回路図であり、図1(c)は図1(a)のA−A’に沿った断面図であり、図1(d)は図1(a)のB−B’に沿った断面図である。Hereinafter, an embodiment of the present invention will be described with reference to the drawings.
FIG. 1A is a plan view of an EEPROM cell which is a memory cell of a nonvolatile memory according to the present invention. 1B is an equivalent circuit diagram of the present EEPROM cell, FIG. 1C is a cross-sectional view taken along the line AA ′ of FIG. 1A, and FIG. It is sectional drawing along BB 'of).
本EEPROMセルは、図1(b)の等価回路図に示すように、電気回路上、セレクトトランジスタTr1と、メモリセルトランジスタTr2と、キャパシタCpとから構成される。セレクトトランジスタTr1は、ドレインDと、ソース(符号なし)と、セレクトゲートSGとを備え、メモリセルトランジスタTr2は、ドレイン(符号なし)と、ソースSと、ゲートとを備え、キャパシタCpは、絶縁体(誘電体)を介して対向する一対の電極を備えて構成される。ここで、キャパシタCpの一方の電極はメモリセルトランジスタTr2のゲートに接続され、これらキャパシタCpの一方の電極とトランジスタTrのゲートは本EEPROMセルのフローティングゲートFGとして機能する。また、キャパシタCpの他方の電極は本EEPROMセルのコントロールゲートCGとして機能する。また、セレクトトランジスタTr1のソースは、メモリセルトランジスタTr2のドレインに接続される。 As shown in the equivalent circuit diagram of FIG. 1B, the present EEPROM cell is composed of a select transistor Tr1, a memory cell transistor Tr2, and a capacitor Cp on an electric circuit. The select transistor Tr1 includes a drain D, a source (unsigned), and a select gate SG. The memory cell transistor Tr2 includes a drain (unsigned), a source S, and a gate, and the capacitor Cp is insulated. A pair of electrodes facing each other via a body (dielectric) is provided. Here, one electrode of the capacitor Cp is connected to the gate of the memory cell transistor Tr2, and one electrode of the capacitor Cp and the gate of the transistor Tr function as the floating gate FG of the EEPROM cell. The other electrode of the capacitor Cp functions as the control gate CG of the EEPROM cell. The source of the select transistor Tr1 is connected to the drain of the memory cell transistor Tr2.
図1(a)、(c)、(d)に、本EEPROMセルのデバイス構造を示す。
同図において、1は、p型半導体基板0中に形成されたn型半導体領域であるn型ウェル1(不純物領域、以下n−wellと称す。)、2は、n−well1中に形成されたn+拡散層、3は、上記フローティングゲートFGとなるポリシリコンゲート、4は、上記セレクトゲートSGとなるポリシリコンゲート、5は、セレクトトランジスタTr1のドレインDとなるn+拡散層、6は、セレクトトランジスタTr1とメモリセルトランジスタTr2とを接続するn+拡散層、7は、メモリセルトランジスタTr2のソースSとなるn+拡散層、8は、セレクトトランジスタTr1のゲート部、9は、メモリセルトランジスタTr2のゲート部、10は、n+拡散層5と第二層メタル配線12とを接続するコンタクト、11は、n+拡散層7と第一層メタル配線13及びn+拡散層2と第一層メタル配線15を接続するコンタクト、12は、セレクトトランジスタTr1のドレインDに接続される第二層メタル配線、13は、メモリセルトランジスタTr2のソースSに接続される第一層メタル配線、14は、キャパシタCpとなるキャパシタ部、15は、上記コントロールゲートCGとなる第一層メタル配線、16は、素子分離用のフィールド酸化膜、17は、セレクトトランジスタTr1とメモリセルトランジスタTr2のゲート酸化膜及びキャパシタCpの絶縁層となる薄い酸化膜(ゲート酸化膜)を示す。なお、ゲート部8は、ポリシリコンゲート4のうち、セレクトトランジスタTr1のゲートとして機能する部分を指しており、ゲート部9は、ポリシリコンゲート3のうち、メモリセルトランジスタTr2のゲートとして機能する部分を指している。1A, 1C, and 1D show the device structure of the present EEPROM cell.
In the figure, 1 is an n-type well 1 (impurity region, hereinafter referred to as n-well) which is an n-type semiconductor region formed in a p-
ここで、ポリシリコンゲート3(ゲート部9)と、ポリシリコンゲート4(ゲート部8)と、n+拡散層5と、n+拡散層6と、n+拡散層7と、コンタクト10と、コンタクト11と、第二層メタル配線12と、第一層メタル配線13と、薄い酸化膜17とからn型MOS構造のセレクトトランジスタTr1とメモリセルトランジスタTr2とが構成され、この構造はロジックICのMOSトランジスタ構造と同一である。 Here, the polysilicon gate 3 (gate portion 9), the polysilicon gate 4 (gate portion 8), the n +
又、ポリシリコンゲート3を上部電極とし、薄い酸化膜17を挟んでn−well1を下部電極としてキャパシタCpが構成される。キャパシタCpの下部電極であるn−well1中に形成されるn+拡散層2と、コンタクト11とを用いて、n−well1を第一層メタル配線15に接続して上記コントロールゲートCGとする。つまり、n−well1がメモリセルトランジスタTr2のコントロールゲートCGとなる。
なお、キャパシタCpの上部電極となるポリシリコンゲート3の直下には拡散層が存在しない。これは、周知のMOS構造トランジスタのゲート直下に拡散層が存在しない点と同一である。即ち、本実施形態では、キャパシタCpは所謂MOSキャパシタにより実現されている。Further, the capacitor Cp is configured with the
Note that there is no diffusion layer immediately below the
そして、メモリセルトランジスタTr2のポリシリコンゲート3を共通に用いてキャパシタCpの上部電極とメモリセルトランジスタTr2のゲート部9を構成しているため、ポリシリコンゲート3は周囲を絶縁体に囲まれており、電気的にどこにも接続されないフローティング状態となる。このポリシリコンゲート3がEEPROMセルのフローティングゲートFGとして働き、この部分に電荷の蓄積を行う事によってデータの記録(保持)を行う事が出来る。 Since the
上述の通り、本EEPROMセルは1層ポリシリコンを用いた一般的な構造のMOSトランジスタTr1、Tr2とキャパシタCpのみで実現でき、特殊なデバイス構造が必要ないため、ロジックICの製造に用いられる標準的なCMOSプロセスで製造可能である。本EEPROMセルの製造工程の詳細については後述する。 As described above, this EEPROM cell can be realized only with MOS transistors Tr1 and Tr2 having a general structure using one-layer polysilicon and a capacitor Cp, and does not require a special device structure. It can be manufactured by a typical CMOS process. Details of the manufacturing process of the EEPROM cell will be described later.
次に、本EEPROMセルの動作を、表1を参照して説明する。表1に、書き込み動作時、消去動作時及び読み出し動作時の各端子の電圧関係(動作方式1)を示す。 Next, the operation of the present EEPROM cell will be described with reference to Table 1. Table 1 shows the voltage relationship (operation method 1) of each terminal during the write operation, the erase operation, and the read operation.
書き込み動作時には、例えばセレクトゲートSG=5V、コントロールゲートCG=5V、ドレインD=3V、ソースS=0Vに設定する。この状態では、セレクトトランジスタTr1はオン状態であり、さらにカップリング用のキャパシタCpによってフローティングゲートの電圧が約3V位になるため、メモリセルトランジスタTr2もオン状態となる。このとき、フローティングゲートFG及びドレインDの電圧が3Vなので、メモリセルトランジスタTr2は飽和領域での動作となり過剰電圧が印加されるため、ホットエレクトロンが発生しフローティングゲートFGに電子が注入される。この状態を書き込み状態とする。 At the time of the write operation, for example, the selection gate SG = 5V, the control gate CG = 5V, the drain D = 3V, and the source S = 0V are set. In this state, the select transistor Tr1 is in the on state, and the voltage of the floating gate is about 3V by the coupling capacitor Cp, so that the memory cell transistor Tr2 is also in the on state. At this time, since the voltage of the floating gate FG and the drain D is 3V, the memory cell transistor Tr2 operates in a saturation region, and an excessive voltage is applied. Therefore, hot electrons are generated and electrons are injected into the floating gate FG. This state is referred to as a write state.
一方、例えばセレクトゲートSG=5V、コントロールゲートCG=5V、ドレインD=0V、ソースS=0Vに設定すれば、セレクトトランジスタTr1とメモリセルトランジスタTr2には電流が流れないので、ホットエレクトロンは発生せず、電子はフローティングゲートに注入されない。すなわち、各セルのドレインDの電圧を制御する事によって、任意のEEPROMセルにのみ選択的に書き込みを行う事が出来る。 On the other hand, for example, if the select gate SG = 5V, the control gate CG = 5V, the drain D = 0V, and the source S = 0V, no current flows through the select transistor Tr1 and the memory cell transistor Tr2, so hot electrons are not generated. The electrons are not injected into the floating gate. That is, by controlling the voltage of the drain D of each cell, it is possible to selectively write only to an arbitrary EEPROM cell.
又、消去動作時には、例えばセレクトゲートSG=10V、コントロールゲートCG=0V、ドレインD=7V、ソースS=open(電気的にフローティング状態)の条件に設定する。この状態では、フロ−ティングゲートFGの電圧は、カップリング用のキャパシタCpによりほぼ0Vに固定されるため、フロ−ティングゲートFGとドレインDとの電位差が7Vとなり、ファウラノルトハイム(Fauler-Northeim)のトンネル電流が流れ、フローティングゲートFGからドレインDへ電子が放出されてデータが消去された事になる。 In the erase operation, for example, the conditions are set such that the select gate SG = 10 V, the control gate CG = 0 V, the drain D = 7 V, and the source S = open (electrically floating state). In this state, since the voltage of the floating gate FG is fixed to approximately 0 V by the coupling capacitor Cp, the potential difference between the floating gate FG and the drain D becomes 7 V, and Fauler-Northeim (Fauler-Northeim) ) Tunnel current flows, electrons are discharged from the floating gate FG to the drain D, and data is erased.
一方、このときにドレインD=0Vであれば、フローティングゲートFGに蓄積された電子は放出されず、データの消去は行われない。すなわち、各EEPROMセルのドレインDの電圧を制御する事によって、任意のEEPROMセルのみから選択的にデータの消去を行う事が出来る。 On the other hand, if the drain D = 0V at this time, the electrons accumulated in the floating gate FG are not emitted, and data is not erased. That is, by controlling the voltage of the drain D of each EEPROM cell, data can be selectively erased from only an arbitrary EEPROM cell.
又、読み出し動作時には、例えばセレクトゲートSG=コントロールゲートCG=3V、ドレインD=0.5V、ソースS=0Vと設定する事によって、対象となるEEPROMセルにデータが書き込まれていればドレイン電流(トランジスタTrのチャネル電流)が流れず、消去されていればドレイン電流が流れるので、このドレイン電流の有無により書き込み状態であるか消去状態であるかを判断できる。
なお、上述の例に限定されず、書き込み動作、消去動作、読み出し動作が行える条件であれば、各端子への印加電圧は上述の電圧のみに限定されるものではない。In the read operation, for example, by setting the select gate SG = control gate CG = 3 V, drain D = 0.5 V, and source S = 0 V, the drain current (if the data is written in the target EEPROM cell) Since the drain current flows if the channel current of the transistor Tr does not flow and is erased, it can be determined whether the memory cell is in the written state or the erased state based on the presence or absence of the drain current.
Note that the present invention is not limited to the above example, and the voltage applied to each terminal is not limited to the above voltage as long as a write operation, an erase operation, and a read operation are performed.
ここで、図2を用いて上述の読み出し動作をさらに詳細に説明する。
図2は、本EEPROMセルに用いられているセレクトトランジスタTr1とメモリセルトランジスタTr2のゲート電圧−ドレイン電流特性図(ドレイン電圧一定)である。グラフの横軸にはゲート電圧VGを、縦軸にはドレイン電流Iを示す。そして、セレクトトランジスタTr1のゲート電圧−ドレイン電流特性と、メモリセルトランジスタTr2の書き込み状態及び消去状態におけるそれぞれのゲート電圧−ドレイン電流特性を同時に示す。
この内、セレクトトランジスタTr1の閾値は、常に約0.7Vであるため、それ以上の電圧がセレクトゲートSGとセレクトトランジスタTr1のソース間に印加されれば、セレクトトランジスタTr1は必ずオン状態となる。Here, the above read operation will be described in more detail with reference to FIG.
FIG. 2 is a gate voltage-drain current characteristic diagram (constant drain voltage) of the select transistor Tr1 and the memory cell transistor Tr2 used in the EEPROM cell. The horizontal axis of the graph represents the gate voltage VG, and the vertical axis represents the drain current I. The gate voltage-drain current characteristics of the select transistor Tr1 and the gate voltage-drain current characteristics of the memory cell transistor Tr2 in the write state and the erase state are simultaneously shown.
Among these, since the threshold value of the select transistor Tr1 is always about 0.7 V, if a voltage higher than that is applied between the select gate SG and the source of the select transistor Tr1, the select transistor Tr1 is always turned on.
又、メモリセルトランジスタTr2の2つの特性の内、書き込み状態を示す特性では見かけ上の閾値が大きくなるのでドレイン電流が流れ難くなり、消去状態を示す特性では見かけ上の閾値が小さくなるのでドレイン電流が流れやすくなる。例えばゲート電圧を3Vとすると、書き込み状態ではドレイン電流は流れず、消去状態ではドレイン電流が流れる。本EEPROMセルに用いられているメモリセルトランジスタが、このようなトランジスタ特性を有する事から、上述の様にEEPROMセルにデータが書き込まれているか消去されているかを判定可能である。 Of the two characteristics of the memory cell transistor Tr2, the apparent threshold value increases in the characteristic indicating the write state, so that the drain current hardly flows, and the apparent threshold value decreases in the characteristic indicating the erased state. Becomes easier to flow. For example, when the gate voltage is 3 V, the drain current does not flow in the write state, and the drain current flows in the erase state. Since the memory cell transistor used in the present EEPROM cell has such transistor characteristics, it can be determined whether data is written or erased in the EEPROM cell as described above.
さらに、同図に示す様に、メモリセルトランジスタTr2の閾値が負の値にシフトする程度に過剰消去された場合には、コントロールゲートCG=0VであってもメモリセルトランジスタTr2はオン状態となり、ドレイン電流が流れる。
ここで、本EEPROMセルは、正の閾値を有するセレクトトランジスタTr1がメモリセルトランジスタTr2に直列に接続されているため、セレクトゲートSGにセレクトトランジスタTr1がオン状態となる電圧を印加する事によって選択したEEPROMセルのみから読み出しが行える。つまり、セレクトゲートSGに印加される電圧が0V(選択されない)の状態では、上述の様にコントロールゲートCG=0Vの条件でメモリセルトランジスタTr2がオン状態となる場合であっても、ドレイン電流が流れないため選択性が保たれる。Further, as shown in the figure, when the memory cell transistor Tr2 is over-erased to such an extent that it shifts to a negative value, the memory cell transistor Tr2 is turned on even when the control gate CG = 0V. A drain current flows.
Here, since the select transistor Tr1 having a positive threshold value is connected in series to the memory cell transistor Tr2, this EEPROM cell is selected by applying a voltage at which the select transistor Tr1 is turned on to the select gate SG. Reading from only EEPROM cells is possible. That is, in the state where the voltage applied to the select gate SG is 0V (not selected), even when the memory cell transistor Tr2 is turned on under the condition of the control gate CG = 0V as described above, the drain current is Selectivity is maintained because it does not flow.
次に、本EEPROMセルの別の動作を、表2を参照して説明する。表2に、書き込み動作時、消去動作時及び読み出し動作時の各端子の電圧関係(動作方式2)を示す。 Next, another operation of the present EEPROM cell will be described with reference to Table 2. Table 2 shows the voltage relationship (operation method 2) of each terminal during the write operation, the erase operation, and the read operation.
書き込み動作時と読み出し動作時は、表1を用いて説明した動作方式1と同一である。
消去動作時には、SG=CG=D=0V、S=7Vとする。この状態では、フロ−ティングゲートFGはカップリングキャパシタCpによりほぼ0Vに固定されるため、フロ−ティングゲートFGとソースSとの電位差が7Vとなり、ファウラノルトハイム(Fauler-Northeim)のトンネル電流が流れ、フローティングゲートFGからソースSへ電子が放出される。このとき、ソースS=0Vであれば、消去は行われない。この方式では、セレクトゲートSGに10V(高電圧)を印加する必要が無いので、EEPROMセルの信頼性を考慮した場合にはこの方式が好ましい。The write operation and the read operation are the same as the
During the erase operation, SG = CG = D = 0V and S = 7V. In this state, the floating gate FG is fixed to almost 0V by the coupling capacitor Cp, so that the potential difference between the floating gate FG and the source S becomes 7V, and the tunnel current of Fauler-Northeim is The electrons flow from the floating gate FG to the source S. At this time, if the source S = 0V, the erasure is not performed. In this method, since it is not necessary to apply 10 V (high voltage) to the select gate SG, this method is preferable in consideration of the reliability of the EEPROM cell.
次に、本EEPROMセルを組み合わせてメモリアレイを構成したレイアウトの適用例を示す。
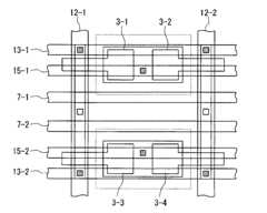
図3は、本発明のEEPROMセル(メモリセル)をマトリックス状に並べて構成したメモリアレイの第一の適用例を示す構造図である。本来は複数のEEPROMセルをマトリックス状に配置するが、説明を簡単にするために4ビット構成としている。
基本となるフローティングゲートFGは、3−1〜3−4で示される。本適用例では、列方向に2つのEEPROMセルをドレインD同士が向かい合い、それぞれのキャパシタCpが同じ方向に配置される様に線対称に並べ、そのEEPROMセルの組を2組用意してキャパシタCp同士が向かい合う様に行方向に線対称に配置して、基本メモリアレイを構成している。Next, an application example of a layout in which a memory array is configured by combining this EEPROM cell will be described.
FIG. 3 is a structural diagram showing a first application example of a memory array in which EEPROM cells (memory cells) of the present invention are arranged in a matrix. Originally, a plurality of EEPROM cells are arranged in a matrix, but a 4-bit configuration is used to simplify the description.
The basic floating gate FG is indicated by 3-1 to 3-4. In this application example, two EEPROM cells in the column direction are arranged in line symmetry so that the drains D face each other and the capacitors Cp are arranged in the same direction, and two sets of the EEPROM cells are prepared, and the capacitor Cp The basic memory array is configured by arranging them symmetrically in the row direction so that they face each other.
そして、ドレインDを構成するn+拡散層5は、列方向に向かい合う2つのセルでそれぞれ一体的に形成し、メタル配線でそれぞれのn+拡散層5に接続してメモリアレイの各列に沿ったドレイン配線12−1(D1)、12−2(D2)(これらをビット線と称す)を構成する。又、メモリセルトランジスタTr2のソースSのメタル配線は行方向で隣に配置されたセル同士をそれぞれ接続し、各行に沿ったソース配線13−1(S1)、13−2(S2)(これらをソース線と称す)を構成する。又、セレクトゲートSG及びコントロールゲートCGは、それぞれ行方向で隣に配置されたセル同士を接続し、各行に沿ったセレクトゲート7−1(SG1)、7−2(SG2)(これらをセレクトゲート線と称す)、コントロールゲート15−1(CG1)、15−2(CG2)(これらをコントロールゲート線と称す)とする。 The n +
さらに、同一行内の隣に配置されたEEPROMセル同士は、キャパシタの下部電極を構成するn−well1及びn+拡散層2をそれぞれ一体的に形成してレイアウト面積の削減を図っている。
上述の基本メモリアレイを複数組マトリクス状に設けて、必要な容量のメモリを構成する。Further, the n-well 1 and the n +
A memory having a necessary capacity is configured by providing a plurality of basic memory arrays in a matrix form.
図4は、図3に示したメモリアレイの等価回路図である。
図3の構造図に示した左上のEEPROMセルがCell1、右上のEEPROMセルがCell2、左下のEEPROMセルがCell3、右下のEEPROMセルがCell4に相当する。又、前述の様に、Cell1とCell2のコントロールゲートCG1、セレクトゲートSG1、ソースS1は、それぞれ接続されている。又、Cell3とCell4のコントロールゲートCG2、セレクトゲートSG2、ソースS2は、それぞれ接続されている。さらに、Cell1とCell3のドレインD1は、それぞれ接続されており、Cell2とCell4のドレインD2は、それぞれ接続されている。FIG. 4 is an equivalent circuit diagram of the memory array shown in FIG.
The upper left EEPROM cell shown in the structural diagram of FIG. 3 corresponds to Cell1, the upper right EEPROM cell corresponds to Cell2, the lower left EEPROM cell corresponds to Cell3, and the lower right EEPROM cell corresponds to Cell4. As described above, the control gate CG1, the select gate SG1, and the source S1 of Cell1 and Cell2 are connected to each other. The control gate CG2, the select gate SG2, and the source S2 of Cell3 and Cell4 are connected to each other. Further, the drains D1 of Cell1 and Cell3 are connected to each other, and the drains D2 of Cell2 and Cell4 are connected to each other.
次に、図3と図4に示したメモリアレイの動作を表3に示す。表3では、書き込み動作、消去動作、読み出し動作のそれぞれにおいて、SG1、SG2、CG1、CG2、D1、D2、S1、S2の各ノードに所定の一組の電圧を印加した状態を示している。なお、各セルの斜線を引いてある部分が、該当するセルの3端子に印加される電圧である。 Next, Table 3 shows the operation of the memory array shown in FIGS. Table 3 shows a state in which a predetermined set of voltages is applied to the nodes SG1, SG2, CG1, CG2, D1, D2, S1, and S2 in each of the write operation, the erase operation, and the read operation. The hatched portion of each cell is the voltage applied to the three terminals of the corresponding cell.
表3に示した例では、書き込み動作時には、SG1=CG1=5V、D1=3V、S1=0V、SG2=CG2=D2=S2=0Vとなる様に電圧を印加する事で、選択されたCell1に対してはSG1=CG1=5V、D1=3V、S1=0Vの電圧が印加されるため、前述の通り電子注入状態となって書き込みが行われるが、他のCell2〜4は注入条件が満たされず、電子注入は起こらない。例えば、Cell2に対しては、SG1=CG1=5V、S2=D2=0Vが印加されるため、電子注入が起こらずに書き込みが行われない。 In the example shown in Table 3, during the write operation, the selected Cell1 is selected by applying voltages such that SG1 = CG1 = 5V, D1 = 3V, S1 = 0V, SG2 = CG2 = D2 = S2 = 0V. Since SG1 = CG1 = 5V, D1 = 3V, and S1 = 0V are applied, writing is performed in the electron injection state as described above, but the
ここで、例えば、SG1=CG1=5V、D1=S1=0V、CG2=0V、D2=3V、S2=0Vと印加電圧を変化させると、Cell2のみが選択され、電子注入状態となって書き込みが行われる。この場合には、他のCell1、3、4は注入条件が満たされず、電子注入は起きない。同様に、各電極に印加する電圧を制御する事によって、Cell3のみ、Cell4のみにも選択的に書き込みを行う事が出来る。 Here, for example, when the applied voltage is changed to SG1 = CG1 = 5V, D1 = S1 = 0V, CG2 = 0V, D2 = 3V, S2 = 0V, only Cell2 is selected, and writing is performed in an electron injection state. Done. In this case, the injection conditions of the
又、消去動作時は、表3に記載の様にSG1=CG1=D1=0V、S1=7V、SG2=CG2=D2=0V、S2=open(電気的にフローティング状態)とした場合、Cell1とCell2については前述の通り電子放出状態になり消去されるが、他のCell3とCell4については消去条件が満たされず、消去されない。なお、S2=0Vでも良い。 In the erase operation, as shown in Table 3, when SG1 = CG1 = D1 = 0V, S1 = 7V, SG2 = CG2 = D2 = 0V, S2 = open (electrically floating state), As described above,
又、読み出し動作時は、Cell1が過剰消去されているものとして、表3に記載の様にSG1=3V、CG1=0V、D1=0.5V、S1=SG2=CG2=S2=0V、D2=open(電気的にフローティング状態)とした場合、Cell1のみが選択されて読み出される。一方、Cell1が過剰消去されていない場合には、CG1=3Vの条件が必要となる。
読み出し動作時においても、各電極に印加される電圧を制御する事によって、Cell1〜4の内の1つのセルに対して選択的に読み出しを行う事が可能である。
なお、前述の通り、各電極に印加する電圧は例で述べた電圧のみに限定されるものではない。At the time of read operation, it is assumed that Cell1 is excessively erased, and SG1 = 3V, CG1 = 0V, D1 = 0.5V, S1 = SG2 = CG2 = S2 = 0V, D2 = In the case of open (electrically floating state), only Cell1 is selected and read. On the other hand, when Cell1 is not overerased, the condition of CG1 = 3V is required.
Even during the read operation, it is possible to selectively read out one of the
As described above, the voltage applied to each electrode is not limited to the voltage described in the example.
次に、図5を参照して本発明に係るEEPROMセルの第二の適用例について説明する。
図5は、本発明のEEPROMセルを用いたメモリアレイの第二の適用例を示す構造図である。この例においても、本来は複数のEEPROMセルを配置するが、説明を簡単にするために4ビット構成としている。
本適用例では、第一の適用例に示したメモリアレイと同じEEPROMセルの配置として、ソース線の接続のみが変更されている。具体的には、メモリアレイの各列に沿ったメタル配線であるソース線13−1、13−2が、同一の列に配置されているEEPROMセルのソース同士を接続している。Next, a second application example of the EEPROM cell according to the present invention will be described with reference to FIG.
FIG. 5 is a structural diagram showing a second application example of the memory array using the EEPROM cell of the present invention. In this example as well, a plurality of EEPROM cells are originally arranged, but in order to simplify the description, a 4-bit configuration is used.
In this application example, only the connection of the source lines is changed in the same arrangement of the EEPROM cells as the memory array shown in the first application example. Specifically, source lines 13-1 and 13-2, which are metal wirings along each column of the memory array, connect the sources of EEPROM cells arranged in the same column.
図6は、図5に示したメモリアレイの等価回路図である。
前述の通り、本等価回路図において第一の適用例から変更されている点は、ソース線S1がCell1とCell3のソース同士を接続し、ソース線S2がCell2とCell4のソース同士を接続している点である。FIG. 6 is an equivalent circuit diagram of the memory array shown in FIG.
As described above, the change from the first application example in the equivalent circuit diagram is that the source line S1 connects the sources of Cell1 and Cell3, and the source line S2 connects the sources of Cell2 and Cell4. It is a point.
次に、図5と図6に示したメモリアレイの動作を表4に示す。 Next, Table 4 shows the operation of the memory array shown in FIGS.
表4に示した例では、書き込み動作時と読み出し動作時は、前述の適用例1の動作と同一である。
消去動作時は、表4に記載の様にSG1=CG1=D1=D2=S2=0V、S1=7V、SG2=CG2=5Vとすることで、Cell1に対しては消去条件が満たされるが、Cell3に対してはCG2=5V、S1=7Vであるため、フローティングゲートFGが約3Vになるので、フローティングゲート−ソース間の電位差が4Vとなり、消去までは至らない。又、Cell2とCell4に対しては消去条件を満たさない。そのため、Cell1のみを選択的に消去する事が出来る。
すなわち、ソースに7V、ドレインに0Vが印加されるにも関わらず消去を希望しないセルの場合には、そのセルに接続されるセレクトゲートとコントロールゲートに5Vを印加しておく事で、データを保持する事が出来る。In the example shown in Table 4, the write operation and the read operation are the same as those in the first application example.
At the time of erasing operation, as shown in Table 4, SG1 = CG1 = D1 = D2 = S2 = 0V, S1 = 7V, SG2 = CG2 = 5V, so that the erasing condition is satisfied for Cell1. Since CG2 = 5V and S1 = 7V with respect to Cell3, the floating gate FG is about 3V, so the potential difference between the floating gate and the source is 4V, and erasure is not achieved. Further, the erasure condition is not satisfied for Cell2 and Cell4. Therefore, only Cell1 can be selectively deleted.
That is, in the case of a cell that does not want to be erased even though 7V is applied to the source and 0V to the drain, 5V is applied to the select gate and the control gate connected to the cell, so that data can be stored. Can be held.
次に、図7を参照して本発明に係るEEPROMセルの変形例について説明する。
図7は、酸化膜の信頼性を向上させたEEPROMセルの構造図である。図1と異なるのは、フローティングゲートを構成するポリシリコンゲート73の角部が、n−well1上に位置する様に形成されている点である。
この様な配置を行う事によって、ポリシリコンゲート73の4つの角部及び上下方向と左方向のエッジが薄い酸化膜の上に配置されず、厚い酸化膜である素子分離用のフィールド酸化膜の上に配置されるため、ポリシリコンゲート73の角部及びエッジに電界が集中して薄い酸化膜が破壊される現象を防ぐ効果があり、酸化膜の信頼性を向上出来る。Next, a modification of the EEPROM cell according to the present invention will be described with reference to FIG.
FIG. 7 is a structural diagram of an EEPROM cell in which the reliability of the oxide film is improved. The difference from FIG. 1 is that the corner of the
With this arrangement, the four corners and the vertical and left edges of the
次に、本発明に係る上述のEEPROMセルの製造方法を説明する。
図8は、本発明に係るEEPROMセルの製造工程図である。図中に示す構成要素において、図1と同一の要素に関しては同一の符号を付す。
まず、図8(a)に示すように、p型のシリコン基板0上に図示しないマスクPEP(Photo Engraving Process)工程を経てレジストをパターンニングし、イオンインプランテーション等によってキャパシタの下部電極となるn−well1領域を形成する。Next, a method for manufacturing the above-described EEPROM cell according to the present invention will be described.
FIG. 8 is a manufacturing process diagram of the EEPROM cell according to the present invention. In the constituent elements shown in the figure, the same elements as those in FIG.
First, as shown in FIG. 8A, a resist is patterned on a p-
次に、図8(b)に示すように、素子分離用のフィールド酸化膜16を形成し、次に、図示している断面図には現れないセレクトトランジスタTr1のゲート部8及びメモリセルトランジスタTr2のゲート部9及びキャパシタ部14となる薄い酸化膜17を形成する。その後、メモリセルトランジスタTr2のゲート及びキャパシタCpの上部電極であってフローティングゲートFGとなるポリシリコンゲート3を形成する。又、図示している断面図には現れないが、この工程により、セレクトトランジスタTr1のセレクトゲートSGとなるポリシリコンゲート4も形成される。 Next, as shown in FIG. 8B, a
次に、図8(c)に示すように、n型の不純物(例えば砒素等)をイオンインプランテーション15により注入し、その後熱を加えてn−well1領域中にn+拡散層2を形成する。このn+拡散層2は、n−well1への接続領域となる。又、図示している断面図には現れないが、この工程により、セレクトトランジスタTr1のドレインDとなるn+拡散層5及びメモリセルトランジスタTr2のソースSとなるn+拡散層7及びそれぞれのトランジスタの接続部となるn+拡散層6も同時に形成される。 Next, as shown in FIG. 8C, an n-type impurity (such as arsenic) is implanted by
次に、図8(d)に示すように、第一層間絶縁膜18を形成し、図示しないマスクとレジストによりn+拡散層2の上の第一層間絶縁膜18に選択的にコンタクト11を形成するためのコンタクトホールが開けられる。図示している断面図には現れないが、この工程により、メモリセルトランジスタTr2のソースSとなるn+拡散層7の上の第一層間絶縁膜18にも同時にコンタクト11を形成するためのコンタクトホールが開けられる。 Next, as shown in FIG. 8D, a first
次に、図8(e)に示すように、配線用の第一層メタル配線15(Al或いはCu等)が、コンタクト11を通してn+拡散層2に接続され、必要な領域に形成される。図示している断面図には現れないが、この工程により、メモリセルトランジスタTr2のソースSに接続される第一層メタル配線13も同時に形成される。 Next, as shown in FIG. 8E, a first-layer metal wiring 15 (Al or Cu or the like) for wiring is connected to the n +
次に、図8(f)に示すように、さらに第二層間絶縁膜19を形成し、図示している断面図には現れないコンタクト10を形成するためのコンタクトホールが、メモリセルトランジスタTr2のドレインDとなるn+拡散層5の上の第二層間絶縁膜19に開けられる。そして、第二層メタル配線12が、そのコンタクトホールを通してn+拡散層5に接続されて必要な領域に形成される。
このように、本発明に係るEEPROMの製造には特殊な工程が必要なく、ロジックICの製造に標準的に用いられる1層ポリシリコンのCMOSプロセスを用いて実現できる。Next, as shown in FIG. 8F, a second
As described above, the manufacturing of the EEPROM according to the present invention does not require any special process, and can be realized by using a single-layer polysilicon CMOS process that is used as a standard for manufacturing a logic IC.
なお、本EEPROMセルは、n−well1及びn+拡散層2で構成されるキャパシタCpの下部電極をコントロールゲートCGとして使用しており、通常の状態ではキャパシタ部10の直下のn−well1領域がAccumulation領域で動作をするが、n−well1の不純物濃度が薄い場合には、Depletion領域で動作することもある。 This EEPROM cell uses the lower electrode of the capacitor Cp composed of the n-well 1 and the n +
Depletion領域で動作する場合には、キャパシタCpの周波数応答特性が悪化するので、高速動作が必要な場合は、前述の図8(b)の工程で、このn−well1の領域に低濃度のn型不純物(例えばAs等)をインプランテーションによって注入すれば、どの状況においても十分なAccumulation領域で動作を行なわせることが出来る。しかも、標準製造工程に対してインプランテーション工程を1工程追加するだけなので、歩留の悪化や工程増による価格高にはならない。 When operating in the depletion region, the frequency response characteristic of the capacitor Cp deteriorates. Therefore, when high-speed operation is required, a low-concentration n is added to the n-well 1 region in the step of FIG. If a type impurity (for example, As) is implanted by implantation, the operation can be performed in a sufficient accumulation region in any situation. In addition, since only one implantation process is added to the standard manufacturing process, the yield does not deteriorate and the price increases due to an increase in processes.
以上、本発明の実施形態を詳述してきたが、具体的な構成は本実施形態に限られるものではなく、本発明の要旨を逸脱しない範囲の設計変更等も含まれる。例えば、n型半導体基板を用いて本EEPROMを構成しても良い。また、ゲート材料としてタングステンシリサイド等の低抵抗の材料を用いても良い。 As mentioned above, although embodiment of this invention was explained in full detail, the concrete structure is not restricted to this embodiment, The design change etc. of the range which does not deviate from the summary of this invention are included. For example, the EEPROM may be configured using an n-type semiconductor substrate. Further, a low resistance material such as tungsten silicide may be used as the gate material.
本発明は、不揮発性メモリに用いて好適である。 The present invention is suitable for use in a nonvolatile memory.
0 p型半導体基板、1 n型ウェル、2 n+拡散層、3 ポリシリコンゲート、4 ポリシリコンゲート、5 n+拡散層、6 n+拡散層、7 n+拡散層、8 ゲート部8、9 ゲート部、10 コンタクト、11 コンタクト、12 第二層メタル配線、13 第一層メタル配線、14 キャパシタ部、15 第一層メタル配線、16 素子分離用のフィールド酸化膜、17 薄い酸化膜17、18 第一層間絶縁膜、19 第二層間絶縁膜、Tr1 セレクトトランジスタ、Tr2 メモリセルトランジスタ、D ドレイン、S ソース、SG セレクトゲート、CG コントロールゲート、FG フローティングゲート、Cp キャパシタ
0 p-type semiconductor substrate, 1 n-type well, 2 n + diffusion layer, 3 polysilicon gate, 4 polysilicon gate, 5 n + diffusion layer, 6 n + diffusion layer, 7 n + diffusion layer, 8
| Application Number | Priority Date | Filing Date | Title |
|---|---|---|---|
| JP2006167240AJP2007335718A (en) | 2006-06-16 | 2006-06-16 | Nonvolatile memory and manufacturing method thereof |
| Application Number | Priority Date | Filing Date | Title |
|---|---|---|---|
| JP2006167240AJP2007335718A (en) | 2006-06-16 | 2006-06-16 | Nonvolatile memory and manufacturing method thereof |
| Publication Number | Publication Date |
|---|---|
| JP2007335718Atrue JP2007335718A (en) | 2007-12-27 |
| Application Number | Title | Priority Date | Filing Date |
|---|---|---|---|
| JP2006167240APendingJP2007335718A (en) | 2006-06-16 | 2006-06-16 | Nonvolatile memory and manufacturing method thereof |
| Country | Link |
|---|---|
| JP (1) | JP2007335718A (en) |
| Publication number | Priority date | Publication date | Assignee | Title |
|---|---|---|---|---|
| WO2010007769A1 (en)* | 2008-07-14 | 2010-01-21 | 凸版印刷株式会社 | Nonvolatile semiconductor memory element, nonvolatile semiconductor memory cell, and nonvolatile semiconductor memory device |
| JP2010045326A (en)* | 2008-07-14 | 2010-02-25 | Toppan Printing Co Ltd | Nonvolatile semiconductor memory element and nonvolatile semiconductor memory |
| JP2010050134A (en)* | 2008-08-19 | 2010-03-04 | Toppan Printing Co Ltd | Nonvolatile semiconductor memory cell, and nonvolatile semiconductor memory device |
| JP2010056518A (en)* | 2008-07-29 | 2010-03-11 | Toppan Printing Co Ltd | Nonvolatile semiconductor memory element and nonvolatile semiconductor memory device |
| JP2010073971A (en)* | 2008-09-19 | 2010-04-02 | Toppan Printing Co Ltd | Nonvolatile semiconductor memory cell and nonvolatile semiconductor memory device |
| JP2010165837A (en)* | 2009-01-15 | 2010-07-29 | Toppan Printing Co Ltd | Nonvolatile semiconductor memory cell, and nonvolatile semiconductor memory device |
| JP2010165836A (en)* | 2009-01-15 | 2010-07-29 | Toppan Printing Co Ltd | Nonvolatile semiconductor memory cell, and nonvolatile semiconductor memory device |
| JP2010231872A (en)* | 2009-03-30 | 2010-10-14 | Toppan Printing Co Ltd | Nonvolatile semiconductor memory device |
| JP2010238278A (en)* | 2009-03-30 | 2010-10-21 | Toppan Printing Co Ltd | Nonvolatile semiconductor memory device |
| US8320191B2 (en) | 2007-08-30 | 2012-11-27 | Infineon Technologies Ag | Memory cell arrangement, method for controlling a memory cell, memory array and electronic device |
| Publication number | Priority date | Publication date | Assignee | Title |
|---|---|---|---|---|
| JPH05145047A (en)* | 1991-11-21 | 1993-06-11 | Toshiba Corp | Nonvolatile semiconductor storage device |
| JPH05145046A (en)* | 1991-11-21 | 1993-06-11 | Toshiba Corp | Nonvolatile semiconductor storage device |
| JPH06177399A (en)* | 1993-05-26 | 1994-06-24 | Hitachi Ltd | Semiconductor memory device |
| JPH0846067A (en)* | 1994-07-29 | 1996-02-16 | Ricoh Co Ltd | Nonvolatile semiconductor memory device |
| JP2004153283A (en)* | 1990-07-12 | 2004-05-27 | Renesas Technology Corp | Semiconductor integrated circuit device |
| JP2005197624A (en)* | 2004-01-09 | 2005-07-21 | Genusion:Kk | Nonvolatile storage |
| JP2005317921A (en)* | 2004-04-30 | 2005-11-10 | Yield Microelectronics Corp | Nonvolatile memory and its operating method |
| Publication number | Priority date | Publication date | Assignee | Title |
|---|---|---|---|---|
| JP2004153283A (en)* | 1990-07-12 | 2004-05-27 | Renesas Technology Corp | Semiconductor integrated circuit device |
| JPH05145047A (en)* | 1991-11-21 | 1993-06-11 | Toshiba Corp | Nonvolatile semiconductor storage device |
| JPH05145046A (en)* | 1991-11-21 | 1993-06-11 | Toshiba Corp | Nonvolatile semiconductor storage device |
| JPH06177399A (en)* | 1993-05-26 | 1994-06-24 | Hitachi Ltd | Semiconductor memory device |
| JPH0846067A (en)* | 1994-07-29 | 1996-02-16 | Ricoh Co Ltd | Nonvolatile semiconductor memory device |
| JP2005197624A (en)* | 2004-01-09 | 2005-07-21 | Genusion:Kk | Nonvolatile storage |
| JP2005317921A (en)* | 2004-04-30 | 2005-11-10 | Yield Microelectronics Corp | Nonvolatile memory and its operating method |
| Publication number | Priority date | Publication date | Assignee | Title |
|---|---|---|---|---|
| US8320191B2 (en) | 2007-08-30 | 2012-11-27 | Infineon Technologies Ag | Memory cell arrangement, method for controlling a memory cell, memory array and electronic device |
| US9030877B2 (en) | 2007-08-30 | 2015-05-12 | Infineon Technologies Ag | Memory cell arrangement, method for controlling a memory cell, memory array and electronic device |
| WO2010007769A1 (en)* | 2008-07-14 | 2010-01-21 | 凸版印刷株式会社 | Nonvolatile semiconductor memory element, nonvolatile semiconductor memory cell, and nonvolatile semiconductor memory device |
| JP2010045326A (en)* | 2008-07-14 | 2010-02-25 | Toppan Printing Co Ltd | Nonvolatile semiconductor memory element and nonvolatile semiconductor memory |
| JP2010056518A (en)* | 2008-07-29 | 2010-03-11 | Toppan Printing Co Ltd | Nonvolatile semiconductor memory element and nonvolatile semiconductor memory device |
| JP2010050134A (en)* | 2008-08-19 | 2010-03-04 | Toppan Printing Co Ltd | Nonvolatile semiconductor memory cell, and nonvolatile semiconductor memory device |
| JP2010073971A (en)* | 2008-09-19 | 2010-04-02 | Toppan Printing Co Ltd | Nonvolatile semiconductor memory cell and nonvolatile semiconductor memory device |
| JP2010165837A (en)* | 2009-01-15 | 2010-07-29 | Toppan Printing Co Ltd | Nonvolatile semiconductor memory cell, and nonvolatile semiconductor memory device |
| JP2010165836A (en)* | 2009-01-15 | 2010-07-29 | Toppan Printing Co Ltd | Nonvolatile semiconductor memory cell, and nonvolatile semiconductor memory device |
| JP2010231872A (en)* | 2009-03-30 | 2010-10-14 | Toppan Printing Co Ltd | Nonvolatile semiconductor memory device |
| JP2010238278A (en)* | 2009-03-30 | 2010-10-21 | Toppan Printing Co Ltd | Nonvolatile semiconductor memory device |
| Publication | Publication Date | Title |
|---|---|---|
| US8189399B2 (en) | EEPROM having single gate structure and method of operating the same | |
| US5412600A (en) | Non-volatile semiconductor device with selecting transistor formed between adjacent memory transistors | |
| US8218370B2 (en) | Memory array of floating gate-based non-volatile memory cells | |
| JP5259081B2 (en) | EEPROM having a single gate structure, method of operating the EEPROM, and method of manufacturing the EEPROM | |
| JP2007335718A (en) | Nonvolatile memory and manufacturing method thereof | |
| US7639541B2 (en) | Semiconductor device | |
| TWI716981B (en) | Non-volatile memory cell and non-volatile memory array | |
| JP2005501403A (en) | Nonvolatile semiconductor memory and method of operating the same | |
| JPH07249745A (en) | Nonvolatile semiconductor memory device | |
| JPH0864699A (en) | Nonvolatile semiconductor memory device | |
| JP2005093808A (en) | Memory cell unit, nonvolatile semiconductor memory device including the same, and memory cell array driving method | |
| US6376295B1 (en) | Method for manufacturing a semiconductor memory device with a fine structure | |
| US20060050559A1 (en) | Nonvolatile semiconductor memory device | |
| JP2007335717A (en) | Nonvolatile memory and manufacturing method thereof | |
| JP4504518B2 (en) | Method for erasing non-volatile memory cells in a field programmable gate array | |
| US7671399B2 (en) | Semiconductor storage device | |
| US7869279B1 (en) | EEPROM memory device and method of programming memory cell having N erase pocket and program and access transistors | |
| US6323517B1 (en) | Non-volatile memory device with single-layered overwriting transistor | |
| JP2001284473A (en) | Nonvolatile semiconductor memory | |
| JPH10125812A (en) | Semiconductor device and manufacturing method thereof | |
| JP2809802B2 (en) | Nonvolatile semiconductor memory device | |
| JP3467479B2 (en) | Nonvolatile semiconductor memory device | |
| JP3940477B2 (en) | Semiconductor device | |
| JPH11145312A (en) | Nonvolatile semiconductor memory device | |
| JP2001308209A (en) | Nonvolatile semiconductor memory device |
| Date | Code | Title | Description |
|---|---|---|---|
| A621 | Written request for application examination | Free format text:JAPANESE INTERMEDIATE CODE: A621 Effective date:20090525 | |
| A521 | Request for written amendment filed | Free format text:JAPANESE INTERMEDIATE CODE: A523 Effective date:20100525 | |
| A977 | Report on retrieval | Free format text:JAPANESE INTERMEDIATE CODE: A971007 Effective date:20110623 | |
| A131 | Notification of reasons for refusal | Free format text:JAPANESE INTERMEDIATE CODE: A131 Effective date:20110705 | |
| A521 | Request for written amendment filed | Free format text:JAPANESE INTERMEDIATE CODE: A523 Effective date:20110905 | |
| A02 | Decision of refusal | Free format text:JAPANESE INTERMEDIATE CODE: A02 Effective date:20120306 |