


















本発明は、医療分野における検査計画あるいは治療計画の立案に利用し得るシステムであって、過去の診断において収集され、データベースに登録された症例情報の中から、類似する症例において行われた検査あるいは治療に係る情報を検索して提供するシステムに関する。 The present invention is a system that can be used in the planning of examination plans or treatment plans in the medical field, and the examinations performed in similar cases from the case information collected in the past diagnosis and registered in the database. The present invention relates to a system for searching and providing information related to treatment.
病院や診療所では、診察を受けた患者の個人情報、診療記録(受けた検査あるいは治療の履歴)を、カルテに記録することにより管理しているが、近年、カルテを電子データとして作成、管理することにより、単なる診療記録としてではなく、他の目的に利用することが提案されている。 In hospitals and clinics, personal information and medical records of patients who have been examined are managed by recording them in medical records. Recently, medical records have been created and managed as electronic data. By doing so, it is proposed to use it for other purposes, not just as medical records.
例えば、特許文献1には、患者に対して実施すべき診療行為の計画を、ある時点までの診療記録が似ている他の患者の診療記録に記載されている診療行為およびその実施時期に基づいて、自動的に作成する診療支援システムが示されている。ここで、診療記録とは、同文献の説明によれば、年齢、性別、主訴、生活習慣、家族歴等の入院時記録、診療行為実施記録、検査結果等のいずれか1つ以上を含むものである。
上記診療記録は、いずれも診察あるいは読影を行った医師が入力した情報である。このため、その内容は医師の読影能力、診察能力、患者とのコミュニケーション能力、さらには文章作成能力などに影響されることがある。すなわち、特許文献1のシステムは、医師が似たような判断をした症例の情報を利用して診療行為の計画を作成しているに過ぎず、患者の実際の病状が類似する症例の情報を利用して計画を作成しているわけではない。 Each of the medical records is information input by a doctor who has performed a medical examination or interpretation. For this reason, the content may be influenced by the doctor's interpretation ability, medical examination ability, communication ability with the patient, and sentence writing ability. That is, the system of Patent Document 1 merely creates a plan of medical practice using information on cases that doctors make similar decisions, and stores information on cases where the actual medical condition of the patient is similar. I do not use it to create a plan.
本発明は、患者の実際の病状、すなわち人間の意思に左右されない確固たる事実に基づいて、病状の経過が類似する症例情報を選択できる機能を提供し、検査計画あるいは治療計画の立案の際に参考情報として利用できるようにするためのシステムを提供することを課題とする。 The present invention provides a function that allows selection of case information with a similar medical condition based on the patient's actual medical condition, that is, a firm fact that does not depend on human intentions. It is an object to provide a system that can be used as information.
本発明の計画立案支援システムは、データベースに登録された症例情報を表示することにより、所定患者に対し実施予定の検査および/または治療の計画立案を支援する医療用の計画立案支援システムであって、以下に説明する関心領域設定手段、類似症例検索手段および症例情報表示手段を備えたことを特徴とするものである。 The planning support system of the present invention is a medical planning support system that supports examination planning and / or treatment planning planned for a predetermined patient by displaying case information registered in a database. The present invention is characterized by comprising a region-of-interest setting means, a similar case search means, and a case information display means described below.
関心領域設定手段は、時系列に取得された複数の医用画像をモニタ画面に表示して、その複数の医用画像のうち少なくとも1つの医用画像に対する領域指定操作を受け付けることにより、前記各医用画像について関心領域を設定するものである。時系列に取得された複数の医用画像は、同一患者の同一部位について異なる日もしくは異なる時刻に行われた検査で取得された医用画像のことであるが、被写体が同じであれば検査に使用されたモダリティの種類は必ずしも同じでなくてよい。 The region-of-interest setting means displays a plurality of medical images acquired in time series on a monitor screen, and accepts an area specifying operation for at least one medical image among the plurality of medical images. It sets the region of interest. Multiple medical images acquired in chronological order are medical images acquired at different days or at different times for the same part of the same patient. The types of modalities are not necessarily the same.
また、関心領域は、読影を行うときに注目され、その領域の特徴が診断に与える影響が大きい領域であり、通常ROI(Region of Interest)と称されている領域のことである。関心領域は、必ずしも医用画像の一部分である必要はなく、全部であってもよい。例えば胸部画像の読影で、肺に肥大傾向がみられるときには、肺全体が関心領域として設定され得る。 In addition, the region of interest is a region that is noticed when interpretation is performed and has a large influence on the diagnosis by the feature of the region, and is usually a region called ROI (Region of Interest). The region of interest does not necessarily have to be a part of the medical image, and may be the whole. For example, when an enlargement tendency is seen in the lung in interpretation of a chest image, the entire lung can be set as a region of interest.
関心領域は、通常は領域指定操作により指定された領域と同じであるが、必ずしも同じでなくてもよい。例えば、指定された領域において画像解析による病変の輪郭抽出処理を実行し、抽出された輪郭内の領域を関心領域として設定してもよい。領域指定操作は、必ずしもすべての画像に対して行わなくてもよい。例えば、上記計画立案支援システムに、第1の医用画像上で指定された領域を特定する座標情報から、第2の医用画像上の前記第1の医用画像上で指定された領域が表す対象と同じ対象を表す領域を推定する対応領域推定手段をさらに設け、関心領域設定手段が、一の医用画像についてのみ領域指定操作による関心領域の指定を受け付け、その関心領域を特定する座標情報を前記対応領域推定手段に供給して他の医用画像の関心領域を推定させることにより、各医用画像の関心領域を設定するようにしてもよい。 The region of interest is usually the same as the region specified by the region specifying operation, but it is not necessarily the same. For example, a lesion contour extraction process based on image analysis may be executed in a specified region, and a region in the extracted contour may be set as a region of interest. The area specifying operation does not necessarily have to be performed on all images. For example, in the planning support system, an object represented by the area specified on the first medical image on the second medical image from the coordinate information specifying the area specified on the first medical image. Corresponding region estimation means for estimating a region representing the same object is further provided, and the region of interest setting means accepts designation of a region of interest by region designation operation for only one medical image, and coordinates information specifying the region of interest is The region of interest of each medical image may be set by supplying the region estimation means to estimate the region of interest of another medical image.
類似症例検索手段は、データベースの検索により、関心領域設定手段により設定された全ての関心領域について、それぞれ、その関心領域における画像的特徴と類似する画像的特徴を備えた領域を有する症例画像を含む症例情報を抽出するものである。例えば、関心領域設定手段により第1、第2および第3の医用画像についてそれぞれ関心領域が設定されたときは、第1の医用画像の関心領域における画像的特徴と類似する画像的特徴を備えた領域を有する第1の症例画像、第2の医用画像の関心領域における画像的特徴と類似する画像的特徴を備えた領域を有する第2の症例画像、第3の医用画像の関心領域における画像的特徴と類似する画像的特徴を備えた領域を有する第3の症例画像の3つの症例画像を抽出するべく検索を行う。 The similar case search means includes case images each having a region having an image feature similar to the image feature in the region of interest for all the regions of interest set by the region of interest setting means by searching the database. Case information is extracted. For example, when the region of interest is set for each of the first, second, and third medical images by the region of interest setting means, an image feature similar to the image feature in the region of interest of the first medical image is provided. A first case image having a region, a second case image having a region similar to the image feature in the region of interest of the second medical image, and an image in the region of interest of the third medical image A search is performed to extract three case images of a third case image having a region with an image feature similar to the feature.
類似症例検索手段による検索の手順は種々考えられるが、例えば、関心領域設定手段により設定された各関心領域について、それぞれ、その関心領域における画像的特徴と類似する画像的特徴を備えた領域を有する症例画像を探索し、症例画像の探索により検出された症例画像の中から、同一患者に係る症例画像の組であって、前記全ての関心領域について、それぞれ、その関心領域における画像的特徴と類似する画像的特徴を備えた領域を有する症例画像を含む組を識別し、識別された組に属する症例画像を含む症例情報を、データベースの検索により抽出された症例情報として症例情報表示手段に供給するという手順が考えられる。 Various search procedures by the similar case search means can be considered. For example, each region of interest set by the region-of-interest setting means has a region having an image feature similar to the image feature in the region of interest. A case image is a set of case images related to the same patient among case images detected by searching for a case image, and each of the regions of interest is similar to an image feature in the region of interest. A set including case images having a region having an image characteristic to be identified, and case information including case images belonging to the identified set is supplied to the case information display means as case information extracted by searching the database The procedure can be considered.
あるいは、関心領域設定手段により設定された一の医用画像の関心領域について、その関心領域における画像的特徴と類似する画像的特徴を備えた領域を有する症例画像を探索し、症例画像の探索により抽出された症例画像を含む症例情報を検索範囲として、前記一の医用画像以外の医用画像の関心領域における画像的特徴と類似する画像的特徴を備えた領域を有する症例画像をさらに探索し、その探索により前記一の医用画像以外の医用画像の全てについて、その医用画像の関心領域における画像的特徴と類似する画像的特徴を備えた領域を有する症例画像が抽出された症例情報を、前記検索により抽出された症例情報として症例情報表示手段に供給するという手順も考えられる。 Alternatively, for a region of interest of one medical image set by the region-of-interest setting means, a case image having a region having an image characteristic similar to that of the region of interest is searched, and extracted by searching for the case image A case image including an image feature similar to the image feature in the region of interest of the medical image other than the one medical image is further searched using the case information including the case image as a search range, and the search The case information obtained by extracting the case image having a region having an image feature similar to the image feature in the region of interest of the medical image from all the medical images other than the one medical image is extracted by the search. A procedure of supplying the information to the case information display means as the case information that has been made is also conceivable.
症例情報表示手段は、類似症例検索手段により抽出された症例情報の中から前記検査および/または治療の履歴情報を抽出して表示することにより検査計画や治療計画の立案を支援する。本発明の一実施形態におけるシステムでは、症例情報表示手段は、類似症例検索手段により抽出された症例情報の中の一の症例情報から、検査および/または治療の履歴情報を抽出する処理と、抽出した履歴情報に含まれる検査項目および/または治療項目を、前記患者に対して実施済みの検査項目および/または治療項目と対比することにより、検査および/または治療の実施時期を対応付ける処理と、その実施時期の対応付けに基づいて、前記患者に対し未実施の検査項目および/または治療項目の推奨実施時期を判定する処理と、未実施の検査項目および/または治療項目を実施推奨項目として前記推奨実施時期の情報とともに表示する処理とを実行することにより、検査計画等の立案を支援する。 The case information display means supports the planning of examination plans and treatment plans by extracting and displaying the examination and / or treatment history information from the case information extracted by the similar case retrieval means. In the system according to the embodiment of the present invention, the case information display means includes processing for extracting history information of examination and / or treatment from one case information among the case information extracted by the similar case search means, and extraction A process of associating the timing of the examination and / or treatment by comparing the examination item and / or treatment item included in the history information with the examination item and / or treatment item that has been performed on the patient; Based on the association of the execution time, the process for determining the recommended execution time of the test item and / or treatment item that has not been performed for the patient, and the recommended test item and / or treatment item that has not been performed are recommended By executing the processing to be displayed together with the information of the execution time, the planning of the inspection plan and the like is supported.
また、上記計画立案支援システムに、複数の医用画像の取得時間間隔を設定する時間間隔設定手段をさらに設け、類似症例検索手段が、データベースの検索により、関心領域設定手段により設定された全ての関心領域について、それぞれ、その関心領域における画像的特徴と類似する画像的特徴を備えた領域を有する症例画像を含み、且つその症例画像の取得時間間隔が前記時間間隔設定手段により設定された時間間隔と等しい症例情報を検索することとすれば、病変部の変化のしかた(例えば拡大、変色など)が類似するだけでなく病気の進行速度が類似する症例を検索により抽出することができる。これにより、より近い症例を参考情報とする計画の立案を支援する。 The planning support system further includes time interval setting means for setting the acquisition time intervals of a plurality of medical images, and the similar case search means is configured to search all the interests set by the region of interest setting means by searching the database. Each of the regions includes a case image having a region having an image feature similar to the image feature in the region of interest, and the acquisition time interval of the case image is a time interval set by the time interval setting means If the same case information is searched, it is possible to extract cases that have similar disease progression speeds as well as similar changes in lesions (for example, enlargement, discoloration, etc.). This supports the planning of a plan that uses the closer case as reference information.
本発明の計画立案支援システムは、時系列に取得された複数の画像についてそれぞれ関心領域を設定し得る関心領域設定手段と、その関心領域設定手段により設定されたすべての関心領域について一括して類似検索を行う類似症例検索手段とを備えているので、画像の特徴の時間的な変化を類似症例検索のクエリーとすることができ、検索により病気の経過が類似する症例の情報を取得、提供することができる。特に、画像が取得された時間間隔をも類似症例検索のクエリーとして設定する形態では、病状の変化のみならず病状の進行速度も類似する症例を検索でき、検査暦が極めて似通った症例を抽出することができる。患者を撮影することにより得られた画像の画像的な特徴は、医師の能力や行為に左右されることがない確固たる情報であるため、本発明のシステムを使用すれば、真に類似する症例の情報を参考にして、検査計画や治療計画を立案することができる。 The planning support system of the present invention includes a region-of-interest setting unit that can set a region of interest for each of a plurality of images acquired in time series, and all regions of interest set by the region-of-interest setting unit are similar in a batch. Similar case search means is provided for searching, so that temporal changes in image features can be used as similar case search queries, and information on cases with similar disease courses is acquired and provided by the search. be able to. In particular, in the form in which the time interval at which images are acquired is also set as a query for similar case search, it is possible to search for cases that have similar disease progression rates as well as changes in disease states, and extract cases that have very similar examination calendars. be able to. Since the image characteristics of the image obtained by photographing the patient are firm information that does not depend on the ability or action of the doctor, if the system of the present invention is used, With reference to the information, an examination plan and a treatment plan can be made.
図1に、本発明の一実施形態における計画立案支援システムが導入された医療情報処理システムの概略構成を示す。図に示すように、このシステムは、撮影装置(以下、モダリティ)(M)1、検査技師用ワークステーション(WS:WorkStation)2、放射線科医用ワークステーション(WS)3、診察医用ワークステーション(WS)4、画像情報データベース5、読影レポートデータベース6、カルテ情報データベース7、およびそれら3種類のデータベースを管理するデータベースマネージメントサーバ8(DBMS:DataBase Management Server)により構成され、各装置は、ネットワーク9を介して互いに通信可能な状態で接続されている。図1は、説明の便宜上、各種装置が1台ずつしかない構成を示しているが、ネットワーク9には、モダリティ1として複数且つ多種類のモダリティが接続されている。また、検査技師用ワークステーション2、放射線科医用ワークステーション3、診察医用ワークステーション4も、検査技師、放射線科医、診察医の人数に応じて、それぞれ複数台あるものとする。 FIG. 1 shows a schematic configuration of a medical information processing system in which a planning support system according to an embodiment of the present invention is introduced. As shown in the figure, this system includes an imaging apparatus (hereinafter referred to as modality) (M) 1, a laboratory technician workstation (WS: WorkStation) 2, a radiologist workstation (WS) 3, and a diagnostic physician workstation (WS). ) 4, an
本実施形態では、ネットワーク9は病院内の各種装置を接続するローカルエリアネットワークである。但し、診察医用ワークステーション4が他の病院あるいは診療所にも設置されている場合には、ネットワーク9は、各病院のローカルエリアネットワーク同士をインターネットもしくは専用回線で接続した構成としてもよい。いずれの場合にも、ネットワーク9は光ネットワークなど画像情報の高速転送を実現できるものとすることが望ましい。 In the present embodiment, the network 9 is a local area network that connects various apparatuses in a hospital. However, when the medical doctor workstation 4 is also installed in another hospital or clinic, the network 9 may be configured by connecting local area networks of each hospital via the Internet or a dedicated line. In any case, it is desirable that the network 9 can realize high-speed transfer of image information such as an optical network.
また、モダリティ1は、被写体を撮影することにより画像データを生成し、その画像データにDICOM規格で規定された付帯情報を付加して、画像情報として出力する装置である。なお、本明細書では、被写体を表す画像データと画像データの付帯情報の組を「画像情報」と称することとする。すなわち「画像情報」の中には画像に係るテキスト情報も含まれる。モダリティ1は、被写体撮影から画像データの生成までの処理を一括して行うタイプのモダリティでも、撮影画像を記録シートに記録する撮像装置と記録シートから画像を読み取って画像データを生成する読取装置とが分離したタイプのモダリティでもよい。具体例としては、X線単純撮影装置、CT(Computed Tomography)、MR(Magnetic Resonance)、PET(Positron Emission Tomography)、超音波撮影装置などが挙げられる。 The modality 1 is a device that generates image data by photographing a subject, adds incidental information defined by the DICOM standard to the image data, and outputs the image information as image information. In this specification, a set of image data representing a subject and accompanying information of the image data is referred to as “image information”. That is, the “image information” includes text information related to the image. The modality 1 is a type of modality that collectively performs processes from subject photographing to image data generation, an imaging device that records a captured image on a recording sheet, and a reading device that reads the image from the recording sheet and generates image data. May be a separate type of modality. Specific examples include an X-ray simple imaging apparatus, CT (Computed Tomography), MR (Magnetic Resonance), PET (Positron Emission Tomography), and an ultrasonic imaging apparatus.
検査技師用ワークステーション2は、汎用の処理装置(コンピュータ)と1台または2台の高精細ディスプレイとキーボード・マウスなどの入力機器により構成される。処理装置には、検査技師の作業を支援するためのソフトウェアが組み込まれている。検査技師用ワークステーション2は、そのソフトウェアプログラムの機能により、モダリティ1からDICOMに準拠した画像情報を受信し、受信した画像情報に含まれる画像データと付帯情報の内容を画面に表示することで検査技師に確認を促す。そして、検査技師による確認が済んだ画像情報をネットワーク9を介してDBMS8に転送し、その画像情報の画像情報データベース5への登録を要求する。 The inspection technician workstation 2 includes a general-purpose processing device (computer), one or two high-definition displays, and input devices such as a keyboard and a mouse. The processing apparatus incorporates software for supporting the work of the laboratory technician. The inspection engineer's workstation 2 receives the DICOM-compliant image information from the modality 1 by the function of the software program, and displays the image data included in the received image information and the contents of the incidental information on the screen. Encourage engineers to confirm. Then, the image information confirmed by the inspection engineer is transferred to the
DBMS8は、汎用の比較的処理能力の高いコンピュータにDBMSの機能を提供するソフトウェアプログラムを組み込んだものである。DBMS8は、登録を要求されたデータをDBMS8に接続された大容量ストレージに保存し、登録済みのデータに対し閲覧要求があったときには検索条件に適ったデータを抽出して提供する。但し、データの保存場所は、ネットワーク9に接続されているNAS(Network Attached Storage)やSAN(Storage Area Network)であってもよい。 The
DBMS8は、画像情報の登録要求を受け付けると、その画像情報をデータベース用のフォーマットに整えて画像情報データベース5に登録する。図2に、画像情報データベース5に登録される画像情報の例を示す。 When the
画像情報10は、例えばXMLやSGMLデータとして管理され、図に例示するように、被写体画像を表す画像データと、少なくとも被写体を識別するための患者番号、検査を識別するための検査番号、個々の画像を識別するための画像番号を含む付帯情報とにより構成される。付帯情報としては、この他、画像情報ごとに割り振られるユニークなID(UID)、その画像情報が生成された検査日、検査時刻、その画像情報を取得するための検査で使用されたモダリティの種類、患者氏名、年齢、性別などの患者情報、検査部位(撮影部位)、撮影条件(造影剤の使用有無/使用された色素、放射線核種、放射線量など)、1回の検査で複数の画像を取得したときのシリーズ番号あるいは採取番号などの情報が含まれている。 The
DBMS8は、放射線科医用ワークステーション3からの閲覧要求をネットワーク9を介して受信すると、上記画像情報データベース5に登録されている画像情報を検索し、抽出された画像情報を要求元の放射線科医用ワークステーション3に送信する。 When the
放射線科医用ワークステーション3は、放射線科医が画像の読影に利用する装置であり、処理装置と1台または2台の高精細ディスプレイとキーボード・マウスなどの入力機器により構成される。この処理装置には、放射線科医による診断を支援する機能、例えば画像中の病変らしき部分を自動検出して強調表示する機能や、読影レポートの作成を支援する機能が組み込まれている。放射線科医用ワークステーション3は、読影画面において読影対象画像その他診断に使用する情報の閲覧を要求する操作が行われると、DBMS8に対して閲覧要求を送信し、読影もしくは診断に必要な画像情報を取得する。そして、その画像情報をモニタ画面に表示し、放射線科医からの要求に応じて病変の自動検出処理などを実行する。 The
さらに、放射線科医用ワークステーション3は、読影レポートの作成を支援するレポート作成画面をモニタに表示し、放射線科医から読影に基づいて行った診断(所見など)の内容を示すテキストが入力されたときに、入力された情報と読影の対象とされた画像(以下、読影対象画像)を記録した読影レポートを生成する。読影対象画像が複数あるときは、読影レポートには、診断に与えた影響が最も大きい代表的な画像(以下、代表画像)を記録する。放射線科医用ワークステーション3は、生成した読影レポートを、ネットワーク9を介してDBMS8に転送し、その読影レポートの読影レポートデータベース6への登録を要求する。DBMS8は、読影レポートの登録要求を受け付けると、その読影レポートをデータベース用のフォーマットに整えて読影レポートデータベース6に登録する。図3に、読影レポートデータベース6に登録される読影レポートの例を示す。 Furthermore, the
読影レポート11は、例えばXMLやSGMLデータとして管理され、図に例示するように、読影対象画像もしくは代表画像を表す画像データと、画像の読影時に画像情報の付帯情報を参照することで取得された検査番号、患者番号、画像番号などの情報と、所見、所見の確信度を示す情報などにより構成される。このうち、画像データは、画像情報10に含まれている画像データをそのままコピーしたものでもよいが、画像情報10に含まれている画像データよりも画素数が少ない(間引きされた)縮小画像データでもよい。また、画像データは、画像情報データベース5内の画像データの保管場所(フォルダなど)およびファイル名を示すリンク情報であってもよい。また、読影レポート11には、画像データとともに、読影の際に、その画像データについて設定されたROIを示す座標情報を記録しておくことが好ましい。なお、ROIを示す座標情報は、読影レポート11のみならず、画像情報10の付帯情報に記録しておいてもよい。 The
DBMS8は、診察医用ワークステーション4からの閲覧要求をネットワークを介して受信すると、読影レポートデータベース6に登録されている読影レポートを検索し、抽出された画像情報を要求元の診察医用ワークステーション4に送信する。 When the
診察医用ワークステーション4は、診察医が読影レポートおよび読影の対象とされた画像を参照するのに利用する装置であり、処理装置と1台または2台の高精細ディスプレイとキーボード・マウスなどの入力機器により構成される。この処理装置には、各患者の診察、検査、治療(投薬など)の履歴を電子データとして記録に残すためのカルテ情報作成機能と、検査のオーダー情報を作成して放射線科のオーダーシステム(図示せず)に送信する検査オーダー機能が組み込まれている。 The examiner's workstation 4 is an apparatus used by the examiner to refer to the interpretation report and the image that is the subject of the interpretation, and inputs such as a processing device, one or two high-definition displays, and a keyboard / mouse. Consists of equipment. This processing device includes a medical record information creation function for recording the history of examinations, examinations, and treatments (medications, etc.) of each patient as electronic data, and an order system for radiology by creating examination order information. The inspection order function to transmit to (not shown) is incorporated.
診察医用ワークステーション4は、患者の初診時に、患者情報、診察目的などを記録したカルテ情報を新規に作成し、ネットワーク9を介してDBMS8に転送し、そのカルテ情報のカルテ情報データベース7への登録を要求する。DBMS8は、カルテ情報の登録要求を受け付けると、そのカルテ情報をデータベース用のフォーマットに整えてカルテ情報データベース7に登録する。 The medical examination workstation 4 creates new medical record information recording patient information and the purpose of medical examination at the first visit of the patient, transfers it to the
また、診察医用ワークステーション4は、診察の過程で、上記検査オーダー機能により検査がオーダーされたときは、放射線科のシステムから通知された検査番号、検査日などをカルテ情報に追加する。さらに、検査が終了して放射線科医により読影レポート11が作成され、診察医により読影レポート11が参照されたときに、読影レポートに記録されている一部の情報(例えば放射線科医の所見情報)を、カルテ情報に追加する。 Further, when an examination is ordered by the examination order function in the course of the examination, the examination medical workstation 4 adds the examination number, the examination date, and the like notified from the radiology system to the medical chart information. Further, when the examination is completed and an
一方、カルテ情報には、診察医が自ら入力した情報も随時追加される。例えば、血液検査など撮影を伴わない検査の場合には、診察医が検査結果を参照して入力した所見情報が、カルテ情報に追加される。また、投薬その他の治療の記録も、診察医が入力した情報が、カルテ情報に追加される。診察医用ワークステーション4は、更新されたカルテ情報もしくは変更部分のみを示す差分情報をDBMS8に転送し、該当するカルテ情報の更新を要求する。 On the other hand, information entered by the examiner himself / herself is added to the chart information as needed. For example, in the case of a test that does not involve imaging, such as a blood test, finding information input by a doctor referring to the test result is added to the chart information. In addition, for the record of medication and other treatments, information input by the doctor is added to the chart information. The medical examination workstation 4 transfers the updated chart information or the difference information indicating only the changed part to the
DBMS8は、カルテ情報の更新要求を受け付けたときには、カルテ情報データベース7を検索して該当するカルテ情報をメモリ上に呼び出し、メモリ上で内容を更新した後、更新されたカルテ情報をストレージに書き込む。これにより、カルテ情報データベース7の内容が更新される。 When the
図4に、カルテ情報データベース7に登録されるカルテ情報の例を示す。カルテ情報12は、例えばXMLやSGMLデータとして管理され、前述したように、初診時に登録された患者情報、その患者の受信歴、検査歴、投薬をはじめとする治療暦、その他、既往症、持病、アレルギーなど、診察、治療に必要な情報が記録されている。本実施形態では、カルテ情報12の中に、少なくとも患者番号と、過去に行われた検査を特定する検査番号の2つの情報が記録されているものとする。なお、図に例示したカルテ情報12には、画像データは含まれていないが、検査歴の一項目として、読影レポート11と同様の縮小画像データや画像情報へのリンク情報を記録しておいてもよい。 FIG. 4 shows an example of chart information registered in the
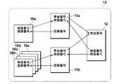
ここで、前述したとおり、画像情報データベース5に登録されている画像情報と読影レポートデータベース6に登録されている読影レポートは、放射線科医用ワークステーション3による画像診断の過程で互いに関連付けられる。また、読影レポートデータベース6に登録されている読影レポートとカルテ情報データベース7に登録されているカルテ情報は、診察医ワークステーション4によりカルテ情報が作成、更新される過程で互いに関連付けられる。これにより、画像情報、読影レポート、カルテ情報の3種類の情報が関連付けられることになる。 Here, as described above, the image information registered in the
図5は、3種類の情報の関連付けに用いるデータと、関連付けの方法を例示した図である。本実施形態では、図に示すように、単純撮影画像に係る画像情報10a、CT検査などで得られたシリーズ画像を構成する画像情報10b〜10e、読影レポート11aおよび11bは、いずれも検査ごとに割り当てられる検査番号の情報を含んでいる。このため、所与の画像情報の読影レポートを取得したいときには、検査番号を検索キーとして読影レポートデータベース6を検索すれば、その読影レポートを取得することができる。 FIG. 5 is a diagram illustrating data used for associating three types of information and an associating method. In the present embodiment, as shown in the figure, the
一方、読影レポート11aおよび11bには、読影の対象とされた画像の画像番号が記録されている。このため、所与の読影レポートからその読影レポートの作成時に参照された画像情報を取得したいときには、画像番号を検索キーとして画像情報データベース5を検索すれば、その画像情報を取得することができる。あるいは、読影レポートに、画像情報の保管場所へのリンク情報が記録されているときには、そのリンク情報を辿ることにより直ちに、読影レポート作成時に参照された画像情報を取得することができる。1つの読影レポートに複数の画像番号もしくはリンク情報が記録されているときも、同様である。 On the other hand, in the interpretation reports 11a and 11b, the image numbers of the images to be interpreted are recorded. For this reason, when it is desired to obtain the image information referred to when creating the interpretation report from a given interpretation report, the image information can be obtained by searching the
また、図に例示した読影レポート11bのように、シリーズ画像の中の代表画像の画像番号しか記録されていない読影レポートから、シリーズを構成する全画像を取得することが必要な場合には、検査番号を検索キーとして画像情報データベース5を検索すれば、シリーズを構成する全ての画像情報を取得することができる。 If it is necessary to obtain all images constituting the series from an interpretation report in which only the image number of the representative image in the series image is recorded, such as the
さらに、図に示すように、読影レポート11aおよび11bと、カルテ情報12は、いずれも、患者番号と検査番号の情報を含んでいる。このため、所与の読影レポートからカルテ情報を取得したいときには、患者番号を検索キーとしてカルテ情報データベース7を検索すれば、該当するカルテ情報を取得することができる。一方、カルテ情報12からそのカルテ情報に記録されている検査の情報を取得したいときには、検査番号を検索キーとして読影レポートデータベース6を、さらには画像情報データベース5を検索することにより、各検査において得られた画像情報および作成された読影レポートを取得することができる。 Furthermore, as shown in the figure, each of the image interpretation reports 11a and 11b and the
すなわち、本実施形態において、画像情報10、読影レポート11およびカルテ情報12は、データ管理上それぞれ別々のデータベースに登録されているが、相互に関連付けされているため、1つの画像情報10、1つの読影レポート11あるいは1つのカルテ情報12を特定することにより、それに関連するすべての症例情報を取得し、参照することができる。以下、この互いに関連付けられた1組の情報を症例情報13と称することとする。 That is, in the present embodiment, the
なお、症例情報は、上記のとおり画像情報、患者番号あるいは検査番号によっても特定することができるが、症例を参照する際に患者を特定できてしまうことは個人情報保護の観点からは必ずしも好ましいこととは言えない。このため、本実施形態では、患者番号とは別に、症例情報13に対し症例番号を割り当て、必要に応じて、症例情報を参照する者が患者番号を知ることなく症例番号のみにより症例を区別できるようにしている。症例番号は、電子カルテ情報12に記録される。 Case information can be specified by image information, patient number, or examination number as described above, but it is not always preferable from the viewpoint of personal information protection to be able to specify a patient when referring to a case. It can not be said. For this reason, in the present embodiment, a case number is assigned to the
以下、放射線科医用ワークステーション3の診断支援機能の1つとして提供される類似症例検索機能の実現方法について、さらに説明する。 Hereinafter, the realization method of the similar case search function provided as one of the diagnosis support functions of the
図6は、類似症例検索機能を実現するための、放射線科医用ワークステーション3およびDBMS8の構成の一例を示す図である。前述のとおり放射線科医用ワークステーション3は、類似症例検索機能以外にも多数の診断支援機能を備えているが、ここでは説明および図示を省略する。 FIG. 6 is a diagram showing an example of the configuration of the
図に示すように、本実施形態では、放射線科医用ワークステーション3には、マウスなどの入力機器14およびモニタ15が接続されている。また、放射線科医用ワークステーション3は、症例検索時のクエリーとなる領域画像(以下、クエリー画像)を設定する関心領域設定手段21と、検索により抽出された症例情報の表示出力を制御する症例情報表示手段22を備える。また、DBMS8は、放射線科医用ワークステーション3の関心領域設定手段21から供給されるクエリー画像に基づいて症例情報を検索し、抽出された症例情報を放射線科医用ワークステーション3の症例情報表示手段22に転送する類似症例検索手段23を備える。 As shown in the drawing, in this embodiment, an
本実施形態では、関心領域設定手段21、症例情報表示手段22および類似症例検索手段23の機能は、いずれも各装置のCPUがプログラムに規定された処理を実行することにより実現される。但し、関心領域設定手段21、症例情報表示手段22および類似症例検索手段23の機能は、それらの手段が行う処理のみを実行する専用プロセッサなど、ハードウェアにより実現することもできる。 In the present embodiment, the functions of the region-of-
類似症例検索機能を実現するための構成としては、この他、図7に示すような構成も考えられる。すなわち、類似症例検索手段23は、放射線科医用ワークステーション3の側にあってもよい。但し、図7の構成では、類似症例検索手段23が各データベースを参照する度に、ネットワーク9を介したデータ転送が発生する。よって、ネットワークの伝送効率およびシステム全体の処理効率の点では、図6に示す構成のほうが好ましい。 In addition to this, a configuration as shown in FIG. 7 is also conceivable as a configuration for realizing the similar case search function. That is, the similar case search means 23 may be on the side of the
図8は、関心領域設定手段21の処理の概要を示すフローチャートである。放射線科医用ワークステーション3に対し類似症例の表示を要求する操作が行われると、関心領域設定手段21は、モニタ15に検索条件の設定画面を表示する(S101)。検索条件の設定画面には、個々の画像ごとに割り振られる画像番号を入力する入力枠を表示する。もしくは、選択可能な画像の縮小画像を一覧表示する。関心領域設定手段11は、入力枠への情報入力や、縮小画像一覧に対する選択操作を受け付ける(S102)。 FIG. 8 is a flowchart showing an outline of processing of the region-of-interest setting means 21. When an operation for requesting display of similar cases to the
続いて、関心領域設定手段21は、画像情報データベース5にアクセスして、指定された画像が含まれる画像情報10を取得する。そして、画像情報10の付帯情報のモダリティ情報(図2に例示)を参照することにより、その画像情報10の画像データを生成したモダリティを判別する(S103)。 Subsequently, the region-of-
関心領域設定手段11は、ステップS102で選択された画像が、選択された1つ目の画像であれば(S104)、取得した画像情報10の画像データをモニタ15の画面に出力して、ROIの指定操作を受け付ける(S105)。 If the image selected in step S102 is the first selected image (S104), the region-of-
なお、類似症例の表示が要求される以前の操作で、既に該当する画像情報6が取得されており、且つその画像情報に含まれる画像データについてROIが設定されていた場合には、関心領域設定手段21は、設定済みのROIを示す枠とともに、その医用画像をモニタ15の画面に表示する。この際、ROIの再設定操作を受け付けることにより、必要に応じてROIを修正できるようにしてもよい。 If the
続いて、関心領域設定手段21は、ステップS105において設定されたROIに含まれる陰影の特徴を表す複数種類の特徴量を算出する(S106)。算出する特徴量としては、陰影の大きさ(径)、輝度ヒストグラムなどがあるが、陰影の特徴を最もよく表すことができる特徴量の種類は陰影の(すなわち疾患の)種類ごとに異なる。このため、関心領域設定手段21は、設定されたROIにおいて画像解析を行って陰影のタイプ(例えば、腫瘤状、線状、蜂窩状など)を判別し、各タイプの陰影の識別に適した特徴量を選択した上で、その特徴量を算出する。 Subsequently, the region-of-
次に、関心領域設定手段21は、次のクエリー画像の選択設定を行うか否かを問い合わせるメッセージを、モニタ画面に表示する(S107)。この際、モニタ画面にはメッセージとともに、回答を入力する操作ボタン(例えば、YESボタンとNOボタン)も表示する。関心領域設定手段21は、ステップS107において、次の設定を行うことを示す操作が行われた場合には、ステップS102に戻り、次の画像の選択操作を受け付ける。 Next, the region-of-interest setting means 21 displays a message for inquiring whether or not to select and set the next query image on the monitor screen (S107). At this time, an operation button (for example, a YES button and a NO button) for inputting an answer is also displayed on the monitor screen together with a message. In step S107, the region-of-
本実施形態では、関心領域設定手段21は、2つ目以降の画像選択では(S104)、ステップS105の操作に代えて、ステップS110のROI推定処理を実行する。ROI推定処理は、1つ目の画像に対しステップS105において設定されたROIに基づいて、2つ目の画像のROIを推定する処理である。 In the present embodiment, the region-of-interest setting means 21 executes the ROI estimation process in step S110 instead of the operation in step S105 in the second and subsequent image selection (S104). The ROI estimation process is a process of estimating the ROI of the second image based on the ROI set in step S105 for the first image.
図9は、ステップS110のROI推定処理について説明するための図である。例えば、図9(a)に例示するように、選択された第1の画像がX線単純撮影画像であり、その画像について座標点(xa,ya)を基点とする所定の縦幅V、横幅HのROIが指定されたとする。この場合、選択された第2の画像が第1の画像と同じくX線単純撮影画像であれば、同じ座標(xa,ya)を基点とし、同じ縦幅Vおよび横幅Hの領域を第2の画像上に自動的に設定する。あるいは、特開2002−092589号公報に示されている手法で位置合わせを行った後に、同じ縦幅Vおよび横幅Hの領域を第2の画像上に自動的に設定してもよい。 FIG. 9 is a diagram for explaining the ROI estimation processing in step S110. For example, as illustrated in FIG. 9A, the selected first image is an X-ray simple photographed image, and the image has a predetermined vertical width V and horizontal width based on the coordinate point (xa, ya). Assume that the ROI of H is specified. In this case, if the selected second image is an X-ray simple photographed image like the first image, the region having the same vertical width V and horizontal width H is set as the second point with the same coordinates (xa, ya) as a base point. Automatically set on the image. Alternatively, after performing alignment by the method disclosed in Japanese Patent Application Laid-Open No. 2002-092589, regions having the same vertical width V and horizontal width H may be automatically set on the second image.
また、第1の画像がX線単純撮影画像であり、第2の画像が図9(c)に例示するようにCT検査で得られたシリーズ画像であるときは、画像情報10の付帯情報に含まれるシリーズ番号や採取番号に基づいて、シリーズを構成する各画像が図9(a)に示すスライス位置(ya、yb、yc)のどの位置において取得された画像かを判別する。そして、X線単純撮影画像上で定義された座標系とCTシリーズ画像上で定義された座標系とを大まかに対応付け、シリーズ画像上に自動的にROIを設定する。異なる画像上の同じ対象を表す領域同士を対応付ける技術は、この他例えば特開2004−180932号公報などにも示されているので(但し、同公報は、類似症例検索のクエリー画像としてROIを設定するものではない。)、詳細な説明は省略する。 Further, when the first image is an X-ray simple photographed image and the second image is a series image obtained by CT examination as illustrated in FIG. Based on the included series number and collection number, it is determined at which position of the slice positions (ya, yb, yc) shown in FIG. Then, the coordinate system defined on the X-ray simple photographed image is roughly associated with the coordinate system defined on the CT series image, and the ROI is automatically set on the series image. Another technique for associating regions representing the same object on different images is also shown in, for example, Japanese Patent Application Laid-Open No. 2004-180932 (however, this publication sets an ROI as a query image for similar case search) The detailed description is omitted.
ここで、ステップS102では時系列に取得された画像が選択されるため、通常は、被写体、ROIともに同じはずであるが、病変の大きさの時間的な変化に伴いROIの大きさの変更が必要になる場合もある。よって、本実施形態では、ステップS110のROI推定処理では、推定したROIを示す枠を、選択された画像と重ねてモニタ画面に表示し、表示した枠に対する拡大縮小操作を受け付けることにより、必要に応じてROIの大きさを調整できるようにしている。 Here, since the images acquired in time series are selected in step S102, the subject and the ROI should normally be the same, but the change in the size of the ROI is accompanied by the temporal change in the size of the lesion. It may be necessary. Therefore, in the present embodiment, in the ROI estimation process in step S110, a frame indicating the estimated ROI is displayed on the monitor screen so as to overlap the selected image, and is necessary by accepting an enlargement / reduction operation for the displayed frame. Accordingly, the size of the ROI can be adjusted.
なお、1つ目の画像か2つ目以降の画像かによらず(ステップS104の判定を行わず)、常にステップS105のROI指定操作受付処理を行うようにしてもよい。すなわち、ステップS110のROI推定処理は、画面上でROIを指定する操作の負担を軽減するための処理であり、類似症例機能において必須の処理ではない。 Note that the ROI designation operation acceptance process in step S105 may always be performed regardless of whether the image is the first image or the second and subsequent images (the determination in step S104 is not performed). That is, the ROI estimation process in step S110 is a process for reducing the burden of an operation for designating the ROI on the screen, and is not an essential process in the similar case function.
以下、再び図8に戻って説明する。関心領域設定手段21は、ステップS107において、次の画像選択を行わないことを示す操作が行われた場合には、続いて、選択された画像が取得された時間間隔を算出する(S108)。 Hereinafter, the description will return to FIG. 8 again. If an operation indicating that the next image selection is not performed is performed in step S107, the region-of-
時間間隔を算出するためには、まず、各画像が属する画像情報の付帯情報のうち、図2に例示した検査日および検査時刻の情報を参照し、検索条件として設定された複数の画像を検査日および検査時刻に基づいて時系列に並び替える。本実施形態では、画像は、検査日時が新しい順に配列する。続いて、隣接する画像の検査日時の値の差分を計算することにより、それら複数の画像が取得された時間間隔を求める。 In order to calculate the time interval, first, among the supplementary information of the image information to which each image belongs, the information on the examination date and examination time illustrated in FIG. Sort in chronological order based on date and inspection time. In the present embodiment, the images are arranged in the order from the latest examination date. Subsequently, by calculating the difference between the values of the inspection dates and times of adjacent images, the time interval at which the plurality of images are acquired is obtained.
そして、ステップS108において算出された時間間隔と、ステップS106において算出された特徴量を1組の検索条件とする検索条件情報を生成する(S109)。但し、時間間隔を検索条件として設定するときには、計算により求められた差分時間を、所定の時間単位に直してから設定する。本実施形態では、時間間隔を、半月単位で設定する。例えば、計算により求められた時間間隔が、18日間と15時間20分のときには0.5月、35日と3時間13分のときには1月、72日と2時間1分のときには2.5月というように、計算された時間間隔に最も近い半月単位の時間間隔を設定する。 Then, search condition information is generated using the time interval calculated in step S108 and the feature amount calculated in step S106 as a set of search conditions (S109). However, when the time interval is set as a search condition, the difference time obtained by calculation is set after being changed to a predetermined time unit. In this embodiment, the time interval is set in units of half a month. For example, the calculated time interval is 0.5 months when 18 days and 15 hours and 20 minutes, January when 35 days and 3 hours and 13 minutes, and 2.5 months when 72 days and 2 hours and 1 minute. In this way, the half-month time interval closest to the calculated time interval is set.
ステップS109において生成された検索条件情報は、図6の矢印で示されるようにDBMS8に転送され、類似症例検索手段23に供給される。 The search condition information generated in step S109 is transferred to the
図10は、関心領域設定処理において設定された画像およびROIの例を、取得日時順に並べて示した図である。図は、図8のステップS102において、検査日が2006年3月24日の胸部CT画像と、検査日が2005年12月20日の胸部単純X線画像と、検査日が2005年4月10日の胸部単純X線画像とが選択され、ステップS105またはS110において図に例示するような矩形状のROIが設定されたケースを例示している。この例では、画像の取得時間間隔は、3ヶ月と8ヶ月である。また、設定されたROIは、病変の疑いがある陰影が徐々に大きくなったために、取得日時が新しい画像ほど大きく設定されているものとする。 FIG. 10 is a diagram in which images and ROIs set in the region of interest setting process are arranged in order of acquisition date and time. The figure shows a chest CT image with an examination date of March 24, 2006, a chest X-ray image with an examination date of December 20, 2005, and an examination date of April 10, 2005 in step S102 of FIG. A case where a chest simple X-ray image of the day is selected and a rectangular ROI as illustrated in the figure in step S105 or S110 is set as an example. In this example, the image acquisition time interval is 3 months and 8 months. In addition, the set ROI is assumed to be set larger for an image with a newer acquisition date because the shadow with a suspected lesion gradually increases.
図11に、図10に例示した3つの画像とROIが設定されたときに、関心領域設定手段21により生成される検索条件情報16を例示する。本実施形態では、関心領域設定手段21は、複数のクエリー画像が設定されたときには、画像の取得時間間隔の情報161を含む検索条件情報16を生成する。画像の取得時間間隔の情報161は、例えば図に示すようにコンマにより区切られた数値として設定される。図10に示した例では、画像の取得時間間隔は3ヶ月と8ヶ月なので、図に示すように、取得時間間隔の情報161は、「3,8」と設定される。 FIG. 11 illustrates
検索条件情報16は、さらに、画像データを生成したモダリティの情報162と、図8のステップS106で算出された特徴量の値163を含んでいる。これらの情報は、検査日が昇順または降順となるような順番で並んでいる。図は、それらの情報が、検査日が降順となる順番で設定された例を示している。 The
なお、本実施形態では、関心領域設定手段が時間間隔を計算し、類似症例検索手段23に時間間隔の情報を供給しているが、時間間隔の計算および検索クエリーとしての設定は、類似症例検索手段23側で行ってもよい。検索条件情報16に、時間間隔の情報161に代えて、クエリー画像ごとに検査日時の情報を設定しておけば、検索条件情報16を受信した類似症例検索手段23は、検査日時の差分を計算することにより、画像の取得時間間隔を求め、求めた時間間隔を検索のクエリーとして検索を実行することができる。 In this embodiment, the region-of-interest setting unit calculates the time interval and supplies the time interval information to the similar
以下、類似症例検索手段23の処理について説明する。類似症例検索手段23は、検索条件情報16に含まれるクエリー画像の情報が1組のみの場合には、そのクエリー画像の特徴量の値と、画像情報データベース5に登録されている各画像情報から算出された特徴量の値とを所定の演算式に当てはめることで、2つの画像の関心領域における画像的特徴の類似度を求め、類似度が高い画像の画像情報を抽出する。 Hereinafter, the process of the similar case search means 23 will be described. When the
続いて、類似症例検索手段23は、図5を参照して説明した関連付けを利用して、データベースの検索により、抽出した症例画像と関連付けられている読影レポート、カルテ情報、さらにはそのカルテ情報と関連付けられている他の読影レポートおよび画像情報を取得する。すなわち、症例情報13を取得し、症例情報表示手段22に対し送信する。 Subsequently, the similar
類似症例検索手段23は、検索条件情報16に含まれるクエリー画像の情報が2組以上ある場合には、全クエリー画像について、それぞれ類似する画像を含む症例情報を取得する。 When there are two or more sets of query image information included in the
例えば、図10に例示した3つのクエリー画像が設定された場合であれば、2005年4月10日に取得されたX線単純撮影画像のROI内の画像(以下ROI画像)と画像的特徴が類似する対象に対してROIが設定されているX線単純撮影画像と、2005年12月20日に取得されたX線単純撮影画像のROI画像と画像的特徴が類似する対象に対してROIが設定されているX線単純撮影画像と、2006年3月24日に取得されたX線CT画像のROI画像と画像的特徴が類似する対象に対してROIが設定されているX線CT画像の3種類の画像が含まれる症例情報13を取得する。これは、すなわち、画像から観察される病状の経過が類似する症例の症例情報13を取得するということである。取得した症例情報は、症例情報表示手段22に送信する。 For example, if the three query images illustrated in FIG. 10 are set, the image within the ROI (hereinafter referred to as the ROI image) of the X-ray simple photographed image acquired on April 10, 2005 and the image features are the same. An ROI is applied to an object having similar image characteristics to an X-ray simple image obtained by setting an ROI for a similar object and an ROI image acquired on December 20, 2005. An X-ray CT image in which an ROI is set for an object having similar image characteristics to the set X-ray simple image and the ROI image acquired on March 24, 2006.
以下、複数のクエリー画像が設定されている場合の検索処理手順として、2通りの手順を例示する。但し、検索方法は他にも考えられ、類似症例検索手段23は、そのいずれの方法を採用して検索を行ってもよい。 Hereinafter, two procedures will be exemplified as a search processing procedure when a plurality of query images are set. However, other search methods are conceivable, and the similar case search means 23 may use any of the methods to perform the search.
図12および図13は、第1の検索処理手順について説明するための図で、図12は処理の概念図を、図13はフローチャートを示している。第1の検索処理手順では、まず、検索範囲を画像情報データベース5内の画像情報とし、検索条件情報16の中に設定されている最初のクエリー画像を検索のクエリーとして、ROIの画像的特徴が類似する画像を検索する。正確には、画像情報データベース5から、そのような画像を表す画像データが含まれた画像情報を検索して抽出する(S201)。なお、以下の説明では、必要に応じて、「画像を表す画像データが含まれた画像情報」を「画像」と省略する。 12 and 13 are diagrams for explaining the first search processing procedure, FIG. 12 is a conceptual diagram of the processing, and FIG. 13 is a flowchart. In the first search processing procedure, first, the search range is set as image information in the
ステップS201の画像検索処理は、検索により該当する画像情報が抽出されたか否かに拘わらず、検索クエリーとして設定すべきクエリー画像がなくなるまで(S202)行う。すなわち、ステップS201の画像検索処理は、検索条件情報において設定されている複数のクエリー画像のすべてについて行う。 The image search process in step S201 is performed until there is no query image to be set as a search query regardless of whether or not the corresponding image information is extracted by the search (S202). That is, the image search process in step S201 is performed for all of the plurality of query images set in the search condition information.
図12は、患者番号4000の患者(以下患者4000などと称する)の2006年3月24日に取得された画像のROI画像(以下これを第1のクエリー画像と称する)を検索クエリーとして行った1回目の画像検索処理により、異なる日に撮影された4人の患者の4組のX線CT画像が抽出され、2005年12月20日に取得された画像のROI画像(以下これを第2のクエリー画像と称する)を検索クエリーとして行った2回目の画像検索処理により、異なる日に撮影された3人の患者の3枚のX線単純撮影画像が抽出され、2005年4月10日に撮影された画像のROI画像(以下これを第3のクエリー画像と称する)を検索クエリーとして行った3回目の画像検索処理により、異なる日に撮影された4人の患者の4枚のX線単純撮影画像が抽出された例を示している。なお、本実施形態では、画像的特徴の類似/非類似をクエリー画像、すなわちROI画像から算出された特徴量に基づいて判断するため、図の例示のようにROIの位置が異なっているときでも、ROI画像の画像的特徴が類似している画像の画像情報は、検索により抽出されることとなる。 FIG. 12 shows an ROI image (hereinafter referred to as a first query image) of an image acquired on March 24, 2006 for a patient with a patient number 4000 (hereinafter referred to as a patient 4000), as a search query. In the first image search process, four sets of X-ray CT images of four patients photographed on different days are extracted, and ROI images (hereinafter referred to as second images) of images acquired on December 20, 2005. In the second image search process performed as a search query, three X-ray simple images of three patients taken on different days were extracted. On April 10, 2005, Four X-ray single images of four patients photographed on different days are obtained by the third image retrieval process using the ROI image (hereinafter referred to as a third query image) of the photographed image as a retrieval query. Shows an example in which captured image is extracted. In the present embodiment, since the similarity / dissimilarity of the image features is determined based on the feature amount calculated from the query image, that is, the ROI image, even when the position of the ROI is different as illustrated in the figure. The image information of images having similar image characteristics of the ROI image is extracted by the search.
次に、類似症例検索手段23は、ステップS201の検索結果、すなわち抽出された画像を、患者番号に基づいて分別する(S203)。図12の例では、患者2501について3つの画像情報が抽出されているので、これらの画像は同じ組に分別する。また、患者3254についても2つの画像情報が抽出されているので、これらの画像も同じ組に分別する。同様に、他の画像も患者ごとの組に分別する。 Next, the similar case search means 23 classifies the search result of step S201, that is, the extracted image based on the patient number (S203). In the example of FIG. 12, since three pieces of image information are extracted for the patient 2501, these images are classified into the same set. Also, since two pieces of image information are extracted for the patient 3254, these images are also sorted into the same set. Similarly, other images are classified into sets for each patient.
続いて、類似症例検索手段23は、検索範囲をステップS203において定義した各組とし、検索クエリーを第1のクエリー画像として、ROIの画像的特徴が類似する画像を検索する(S204)。画像的特徴が類似する画像が抽出されたときには(S205)、検索条件情報において他のクエリー画像が検索条件として設定されているか否かを判定し(S206)、さらには検索条件情報で設定されている先のクエリー画像とそのクエリー画像との取得時間間隔の値を参照し、そのクエリー画像と取得時間間隔とを検索のクエリーとしてステップS204の画像検索処理を繰り返す。但し、ステップS204における1回目の画像検索処理と異なり2回目以降の画像検索処理では取得時間間隔が検索のクエリーとして追加されるため、画像同士が類似していても取得時間間隔が異なる画像は抽出されない。 Subsequently, the similar case search means 23 searches for images with similar ROI image characteristics, with the search range as each set defined in step S203 and the search query as the first query image (S204). When an image having similar image characteristics is extracted (S205), it is determined whether or not another query image is set as a search condition in the search condition information (S206), and is further set in the search condition information. The value of the acquisition time interval between the previous query image and the query image is referred to, and the image search processing in step S204 is repeated using the query image and the acquisition time interval as a search query. However, since the acquisition time interval is added as a search query in the second and subsequent image search processing unlike the first image search processing in step S204, images having different acquisition time intervals are extracted even if the images are similar. Not.
取得時間間隔の対比は、例えば1週間、1ヶ月あるいは1年といった時間単位で行う。本実施形態では、前述のとおり検索条件情報16において半月単位で取得時間間隔が設定されているので、取得時間間隔が同じか否かの判定も半月単位で行う。図12の例では、患者2501の検査日は、2002年5月9日、2002年2月2日、2001年6月7日であり、画像の取得時間間隔は3ヶ月と8ヶ月である。これはクエリー画像の取得時間間隔と同じであるため、ステップS205では取得時間間隔が同じ画像情報が存在すると判定される。 The acquisition time interval is compared in units of time such as one week, one month, or one year. In the present embodiment, as described above, the acquisition time interval is set in half-month units in the
クエリー画像と取得時間間隔の2つの条件が一致する画像情報が抽出されたときには(S205)、他のクエリー画像が検索条件として設定されているか否か再度判定する(S206)。検索クエリーとするべきクエリー画像がなくなれば、それは検索条件情報において設定されているすべてのクエリー画像に対応する画像情報が抽出されたことになるので、類似症例検索手段23は、この時点で抽出された画像情報の付帯情報に含まれる患者番号を参照し、DBMS8のメモリなどに記録する(S207)。例えば、図12の例では、破線で囲まれた3組の画像が、図13のステップS204〜S206の処理において抽出される。 When image information that matches two conditions of the query image and the acquisition time interval is extracted (S205), it is determined again whether another query image is set as a search condition (S206). If there is no query image to be used as the search query, it means that image information corresponding to all the query images set in the search condition information has been extracted. Therefore, the similar case search means 23 is extracted at this time. The patient number included in the accompanying information of the image information is referred to and recorded in the memory of the DBMS 8 (S207). For example, in the example of FIG. 12, three sets of images surrounded by a broken line are extracted in the processing of steps S204 to S206 of FIG.
類似症例検索手段23は次の組の有無を判定し(S208)、次の組があればS204〜S207の処理を繰り返す。例えば、図12の例では、次に、患者3254の組に含まれる画像情報を対象とした画像検索処理が行われることになるが、患者3254の組では第1のクエリー画像に対応する画像(2001年12月13日取得)と第2のクエリー画像に対応する画像(2006年2月14日取得)の取得時間間隔が4年2ヶ月と長く、したがって、3ヶ月の取得時間間隔を検索クエリーとして行うステップS204の画像検索処理では、2006年2月14日取得の画像は抽出されない。このため、患者3254の組は、ステップS205で該当する画像情報はないと判断され、ステップS207では患者番号の記録は行われない。 The similar case search means 23 determines whether or not there is a next group (S208), and if there is a next group, repeats the processing of S204 to S207. For example, in the example of FIG. 12, image search processing for image information included in the group of patients 3254 is performed next. In the group of patients 3254, an image corresponding to the first query image ( The acquisition time interval of the image acquired on December 13, 2001) and the image corresponding to the second query image (acquired on February 14, 2006) is as long as 4 years and 2 months. In the image search process in step S204 performed as described above, an image acquired on February 14, 2006 is not extracted. Therefore, it is determined that there is no corresponding image information for the group of patients 3254 in step S205, and no patient number is recorded in step S207.
ステップS204の画像検索処理を行うべき組がなくなると(S208)、類似症例検索手段23は、検索範囲を画像情報データベース5、読影レポートデータベース6およびカルテ情報データベース7のすべてに設定し、検索のクエリーをステップS207においてメモリに記録しておいた患者番号に設定して、症例情報13の検索を行う(S209)。詳細には、まずカルテ情報データベース7を検索して該当する患者のカルテ情報を取得し、図5を参照して説明したようにカルテ情報の中の検査番号の情報を利用して、さらに読影レポートデータベース6や画像情報データベース5の検索を行うことにより、そのカルテ情報により管理されている全ての症例情報を取得する。 When there are no more pairs to be subjected to the image search processing in step S204 (S208), the similar case search means 23 sets the search range to all of the
類似症例検索手段23は、ステップS209の検索により取得した症例情報を、類似症例検索の検索結果として出力する。出力された症例情報は、放射線科医用ワークステーション3へと転送され、症例情報表示手段22に供給される。 The similar case search means 23 outputs the case information acquired by the search in step S209 as a search result of the similar case search. The outputted case information is transferred to the
図14および図15は、類似症例検索手段23の第2の検索処理手順について説明するための図で、図14は処理の概念図を、図15はフローチャートを示している。第2の検索処理手順は、最初に画像情報データベース5を検索範囲に設定し第1のクエリー画像を検索クエリーとして画像検索を行うところまでは、第1の検索処理手順と同じである。しかし、前述した第1の検索処理手順が、画像情報データベース5の検索を、該当する画像情報が抽出されたか否かに拘わらず、検索クエリーとして設定し得るクエリー画像がなくなるまで行うものであったのに対し、第2の検索処理手順では、最初の検索で該当する画像情報(類似画像)が抽出されなければ(S302)、該当する画像情報なしという検索結果を出力して(S309)、処理を終了する。また、ステップS302において、該当する画像情報が抽出されたと判定した場合も、第2、第3のクエリー画像を検索クエリーとした画像情報データベース5の検索は行わない。 14 and 15 are diagrams for explaining a second search processing procedure of the similar case search means 23, FIG. 14 is a conceptual diagram of the processing, and FIG. 15 is a flowchart. The second search processing procedure is the same as the first search processing procedure until the
第2の検索処理手順では、ステップS301、S302の処理で該当する画像情報が抽出されると、類似症例検索手段23は、その画像情報の付帯情報に含まれる検査番号を取得し、その検査番号を検索クエリーとして症例情報の検索を行う(S303)。詳細には、図5に例示した関連付けを利用して、検査番号を検索クエリーとして読影レポートデータベース6の検索を行うことにより、まずその画像の読影レポートを取得し、さらにその読影レポートに記録されている患者番号を参照し、その患者番号を検索クエリーとしてカルテ情報データベース7の検索を行うことにより、その患者のカルテ情報を取得する。そして、そのカルテ情報に記録されている他の検査番号を検索クエリーとして、再度読影レポートデータベース6の検索を行い、そのカルテ情報と関連付けられている他の読影レポートを取得する。さらには、画像情報データベース5を検索して、その他の読影レポートにおける読影対象画像の画像情報を取得する。これにより、類似症例検索手段23は、ステップS302において抽出された画像情報が属する症例情報を取得する。 In the second search processing procedure, when the corresponding image information is extracted in the processing of steps S301 and S302, the similar case search means 23 acquires the examination number included in the incidental information of the image information, and the examination number The case information is searched by using as a search query (S303). Specifically, by using the association illustrated in FIG. 5 and searching the
続いて、類似症例検索手段23は、ステップS303において収集し、取得した症例情報を検索範囲とし、第2のクエリー画像および時間間隔の2つを検索クエリーとして、画像の検索を行う(S304)。この検索により該当する画像情報が抽出されたときには(S305)、検索条件として他のクエリー画像が設定されているか否か再度判定する(S306)。検索クエリーとするべきクエリー画像がなくなれば、それは検索条件情報において設定されているすべてのクエリー画像に対応する画像情報が抽出されたことになる。このため、類似症例検索手段23は、この時点で抽出された画像情報の付帯情報に含まれる患者番号を参照し、DBMS8のメモリなどに記録する(S307)。例えば、図14の例では、実線で囲まれた3つの画像情報が、図15のステップS304〜S306の処理において抽出される。 Subsequently, the similar case search means 23 searches for an image using the case information collected and acquired in step S303 as a search range and using the second query image and the time interval as a search query (S304). When relevant image information is extracted by this search (S305), it is determined again whether another query image is set as a search condition (S306). If there is no query image to be used as a search query, it means that image information corresponding to all the query images set in the search condition information is extracted. For this reason, the similar case search means 23 refers to the patient number included in the supplementary information of the image information extracted at this time, and records it in the memory of the
類似症例検索手段23は、ステップS301において他にも抽出された画像情報があったか否かを判定し(S308)、次の画像があればS304〜S307の処理を繰り返す。例えば、図14の例では、次に、患者3254の症例情報に含まれる画像情報を対象とした画像検索処理が行われることになる。しかし、患者3254の場合には、第1のクエリー画像に対応する画像(2001年12月13日撮影)と第2のクエリー画像に対応する画像(2006年2月14日撮影)の取得時間間隔が3ヶ月ではないため、2006年2月14日生成の画像情報は抽出されない。このため、ステップS305では該当する画像情報はないと判断され、ステップS307では患者番号の記録は行われない。 The similar case search means 23 determines whether there is any other image information extracted in step S301 (S308), and repeats the processing of S304 to S307 if there is a next image. For example, in the example of FIG. 14, image search processing for image information included in the case information of the patient 3254 is performed next. However, in the case of the patient 3254, the acquisition time interval between the image corresponding to the first query image (captured on December 13, 2001) and the image corresponding to the second query image (captured on February 14, 2006). Is not three months, image information generated on February 14, 2006 is not extracted. For this reason, it is determined that there is no corresponding image information in step S305, and no patient number is recorded in step S307.
類似症例検索手段23は、ステップS301において他に抽出された画像情報がないと判断すると(S308)、それまでの症例検索処理で抽出された症例情報を、検索結果として出力する(S309)。出力された症例情報は、放射線科医用ワークステーション3へと転送され、症例情報表示手段22に供給される。 When the similar case search means 23 determines that there is no other image information extracted in step S301 (S308), it outputs the case information extracted in the case search process so far as a search result (S309). The outputted case information is transferred to the
続いて、症例情報表示手段22が行う画面制御について、表示される画面を例示しながら説明する。本実施形態では、症例情報表示手段22は、オペレーティングシステムにより表示制御されるウィンドウを複数のフレームに分割し、各フレームに上記類似症例検索手段23から供給された症例情報を所定のレイアウトで表示する。症例情報の表示方法としては、類似症例検索手段23から供給された全情報を表示する方法も考えられるが、本実施形態の症例情報表示手段22は、検索結果の概要を示す一覧表示画面と、検索結果の詳細を示す詳細表示画面の2種類の画面の切り替えにより、取得した症例情報が段階的に表示されるように表示制御を行っている。 Next, screen control performed by the case
図16に、一覧表示画面17のレイアウト例を示す。図の例は、ウィンドウを上段3つと下段1つの計4つのフレームに分割し、上段左のフレームには、検索クエリーとして利用された画像が表す被写体の情報34を、上段中央のフレームには検索クエリーとして利用された画像のうち検査日が最新の医用画像31を、上段右のフレームには検索クエリーとして利用された画像のうち検査日が古い過去画像32および33を、下段のフレームには検索により抽出された類似症例の一覧35を、それぞれ配置したものである。また、本実施形態では、下段のフレームには治療計画の立案支援画面を呼び出すための操作ボタン37が配置されている。 FIG. 16 shows a layout example of the
本実施形態において、一覧表示画面の上段の各フレームに表示される情報は、関心領域設定手段21により設定された情報であるので、症例情報表示制御手段22は、関心領域設定手段21から直接それらの情報を取得して各フレームの所定位置に配置する。症例情報表示手段22は、上段中央のフレームと上段左のフレームについては、症例情報を構成する画像情報が予め定義された位置に配置、表示されるように制御を行う。また、上段右のフレームについては、初期段階では過去画像が所定の位置に配置されるように制御を行い、その後表示中の各過去画像に対する選択操作を受け付ける。ポインティングデバイスなどによる選択操作を検出したときには、選択された過去画像が上段中央のフレームに拡大表示され、上段中央のフレームに表示中の画像が上段右のフレームに縮小表示されるように、各画像の表示位置および画像サイズの入替えを行う。 In the present embodiment, since the information displayed in the upper frames of the list display screen is information set by the region-of-
下段のフレームについては、類似症例検索手段23から供給された各症例情報のカルテ情報の中から症例の識別子として用い得る症例番号を抽出し、その症例番号がフレーム内に一覧表示されるように制御を行う。この一覧は、症例番号のみをリストボックスやコンボボックスの選択項目として表示したものよいが、本実施形態では、図に示すように、カルテ情報から抽出した患者番号も表示し、さらにはカルテ情報もしくは読影レポートに代表画像として記録されている医用画像の縮小画像を、ROIを示す枠とともに表示する。この際、表示すべき症例数が多ければ、一部の症例のみを表示し、下段のフレーム内に横方向のスクロールバーを設置することにより症例一覧の閲覧を可能にする。 For the lower frame, control is performed so that case numbers that can be used as case identifiers are extracted from the chart information of each case information supplied from the similar case search means 23, and the case numbers are displayed in a list in the frame. I do. In this list, only the case number is displayed as a selection item of the list box or combo box, but in the present embodiment, as shown in the figure, the patient number extracted from the chart information is also displayed, and further, the chart information or A reduced image of the medical image recorded as the representative image in the interpretation report is displayed together with a frame indicating the ROI. At this time, if the number of cases to be displayed is large, only a part of cases are displayed, and a case list can be browsed by installing a horizontal scroll bar in the lower frame.
そして、図中の枠36で囲われた症例番号、患者番号および縮小画像を単位とする選択操作を受け付け、ポインティングデバイスなどによる選択操作を検出したときには第2のウィンドウを開き、その第2のウィンドウにおいて詳細表示画面の表示制御を行う。 Then, a selection operation in units of a case number, a patient number, and a reduced image enclosed by a
また、下段のフレームについては、症例情報表示手段22は、操作ボタン37に対する選択操作も受け付け、選択操作を検出したときには第3のウィンドウを開き、その第3のウィンドウにおいて治療計画の支援機能を提供する。 For the lower frame, the case information display means 22 also accepts a selection operation for the
続いて、図17に、詳細表示画面18のレイアウト例を示す。図の例は、ウィンドウを左右2つのフレームに分割し、右のフレームには、検索クエリーとして利用された画像が表す被写体の情報と検索クエリーとして利用された画像31、32および33を配置し、左のフレームには一覧表示画面17において選択された症例の詳細情報を配置した例を示している。図は、一覧表示画面17において枠36で囲われた症例番号1005が選択されたときの詳細表示画面を例示したものであり、検索クエリーとして利用された画像に限らず、症例番号1005の症例情報の中に記録されている全ての検査情報が、画面の上から順に時系列に並んだレイアウトとなっている。 Next, FIG. 17 shows a layout example of the
症例情報表示手段22は、左側のフレームについては、選択された症例番号により特定された症例情報からすべての画像情報およびその画像情報に関連する読影レポートを抽出し、全画像情報の少なくとも一部の項目が、その画像情報に対応する読影レポートの少なくとも一部の項目とともに、時系列に画面に表示されるように制御を行う。図の例は、画像情報については画像データ、検査日およびモダリティの3項目を、読影レポートについては検査目的と所見の2項目を、表示したものである。 The case information display means 22 extracts all image information and an interpretation report related to the image information from the case information specified by the selected case number for the left frame, and at least a part of the entire image information. Control is performed so that the items are displayed on the screen in time series together with at least a part of the interpretation report corresponding to the image information. In the example of the figure, three items of image data, examination date, and modality are displayed for image information, and two items of examination purpose and findings are displayed for an interpretation report.
画像データ、検査日、モダリティ、検査目的および所見のセットからなる検査結果情報38a〜38eの並び順は、検査日の情報に基づいて、検査日が昇順または降順となるように決定する。また、表示する検査情報が多数ある場合には、一部の検査情報のみを表示し、図に示すように縦方向のスクロールバーを設置することにより、その症例情報に含まれる全検査情報の閲覧が可能になるように表示制御を行う。 The arrangement order of the inspection result
また、症例情報表示手段22は、上記検査結果情報を時系列に表示するときに、類似症例検索手段23による類似度判定に利用された画像を含む検査結果情報を強調表示する。例えば、図は、クエリー画像と対比された画像を含む検査結果情報38b、38cおよび38dについて検査結果情報を取り囲むような枠39を表示することにより、それらの検査結果情報を強調した画面を例示している。 Further, the case information display means 22 highlights the examination result information including the image used for similarity determination by the similar case retrieval means 23 when displaying the examination result information in time series. For example, the figure exemplifies a screen that emphasizes the inspection result information by displaying a
図18は、本実施形態において、一覧表示画面17の操作ボタン37が操作されたときに呼び出される治療計画の立案支援画面19を例示した図である。図に示すように、この画面には検索により抽出された類似症例の検査歴と治療歴が、チャートとして表示される。症例表示手段22は、類似症例検索手段23から供給された各症例情報に含まれるカルテ情報から、検査歴、治療歴の情報を抽出し、これを横方向に時系列に並べることにより画面上にチャート40を構成する。本実施形態では、症例表示手段22は、診断中の患者の検査および治療の履歴のチャート41を、画面下部に表示することで、診断中のケースの検査および治療の履歴との対比を可能にしている。 FIG. 18 is a diagram illustrating a treatment plan
さらに、症例表示手段22は、チャート40に表示されている検査項目や治療項目に対する指定操作を受け付ける。ポインティングデバイスによる選択操作を受け付けた場合には、図に示すように指定された検査あるいは治療に関する詳細項目42を吹き出し表示する。詳細項目42は、症例情報の中から指定された検査に対応する画像情報および読影レポートを抽出し、画像情報の付帯情報や読影レポートに記録されている項目の内容を抽出して表示する。 Furthermore, the case display means 22 accepts designation operations for the examination items and treatment items displayed on the
また、図は、検索により抽出された症例情報の中から治療計画を立案する上で有用な情報を画面に表示しただけの状態を示しているが、本実施形態では、この画面において、表示されているチャート40の中から一の症例を選択すると、今後行うことが推奨される検査および治療の項目名が、チャート41上のその検査あるいは治療の実施が推奨される時期に相当する位置に表示される。推奨検査項目や推奨治療項目は、既に行った検査や治療とは異なる色の文字により表示される。 In addition, the figure shows a state in which information useful for planning a treatment plan is simply displayed on the screen from case information extracted by the search. In this embodiment, the information is displayed on this screen. When one case is selected from the
図19は、症例情報表示手段22が図18に例示した画面を制御する過程で実行する計画立案支援処理の概要を示すフローチャートである。図に示すように、症例情報表示手段22は、チャート40の指定による症例の選択を受け付けると(S401)、診断中の患者のチャート40に表示中の、すなわち実施済みの検査項目および治療項目を、選択された症例情報のカルテ情報や読影レポートに記録されている検査項目や治療項目と対比することにより検査および治療の実施時期を対応付け(S402)、選択された症例で行われた検査あるいは治療であって診断中の患者について未だ行っていない検査や治療を抽出するとともに、その推奨実施時期を判定する(S403)。例えば、診断中の患者は初めてのCT検査を受けたところであり、選択された症例情報には、3ヶ月おきに定期的に実施されたCT検査の履歴が記録されていれば、実施が推奨される次の検査はCT検査であり、その推奨実施時期は3ヵ月後と判定する。 FIG. 19 is a flowchart showing an outline of the planning support process executed in the process in which the case information display means 22 controls the screen illustrated in FIG. As shown in the figure, when the case information display means 22 accepts the selection of the case by the designation of the chart 40 (S401), the examination items and treatment items that are being displayed on the
続いて、症例情報表示手段22は、診断中の患者のカルテ情報を参照して、患者の年齢、既往症、アレルギー、ペースメーカ装着の有無などの情報を取得する(S404)。そして、症例情報表示手段22は、ステップS403において抽出された検査や治療を、その患者に対して行っても問題ないかどうかを判定する(S405)。 Subsequently, the case information display means 22 refers to the medical record information of the patient under diagnosis, and acquires information such as the patient's age, past illness, allergies, and whether or not a pacemaker is attached (S404). Then, the case information display means 22 determines whether there is no problem even if the examination and treatment extracted in step S403 are performed on the patient (S405).
この判定は、カルテ情報に記録され得るデータと、そのようなデータが記録されていたときの禁止事項、制限事項とを対応づけたテーブルを予め作成して放射線科医用ワークステーション3のメモリなどに記憶しておき、ステップS405においてこのテーブルを参照することにより禁止、制限事項の有無を判定することにより実現する。例えば、対応付けテーブルにおいて、心臓ペースメーカの着用者に対するMR検査の禁止、所定のアレルギー保有者に対する所定の薬の投薬禁止、所定年齢以下の患者に対し放射線を照射するときの放射線量の許容上限値などを予め定義しておく。 This determination is made in advance by creating a table that associates the data that can be recorded in the chart information with the prohibited items and the restricted items when such data is recorded, and stores it in the memory of the
そして、例えば、カルテ情報の中に心臓ペースメーカの着用を示す記号、文字などが記録されており、且つステップS403において抽出された検査の中にMR検査が含まれていた場合には、ステップS407においてメッセージ表示、警告音、音声などによる警告を行う。 For example, in the case where symbols, characters, and the like indicating wearing of the cardiac pacemaker are recorded in the medical record information, and the MR examination is included in the examination extracted in step S403, in step S407 Alerts with message display, warning sound, voice, etc.
また、放射線量の許容上限値のように、値を調整すれば抽出された検査を行なっても問題ない場合には、ステップS406において検査内容の最適化を行う。例えば、類似症例として抽出された症例情報には、成人患者に対し放射線を照射する検査あるいは治療を行ったことが記録されているとする。これに対し、診断中の患者は高齢者や子供であれば、放射線の照射量や照射回数として少な目の量や回数を設定する。特に最適化の必要がない場合には、ステップS406の処理は実質的に省略される。 If there is no problem even if the extracted inspection is performed by adjusting the value, such as the allowable upper limit value of the radiation dose, the inspection content is optimized in step S406. For example, it is assumed that the case information extracted as a similar case records that an examination or treatment for irradiating an adult patient was performed. On the other hand, if the patient under diagnosis is an elderly person or a child, a small amount or number of times is set as the radiation dose or the number of times of radiation. When there is no need for optimization, the process of step S406 is substantially omitted.
以上の処理により、推奨される検査項目、治療項目およびそれらの実施時期が決まると、症例情報表示手段22は、診断中の患者のチャート41に、推奨検査項目および推奨治療項目を、実施済みの項目と色分けして表示する(S408)。 When the recommended examination items and treatment items and their implementation timing are determined by the above processing, the case information display means 22 has already implemented the recommended examination items and the recommended treatment items on the
なお、ステップS401においてチャート40の指定を受け付ける代わりに、類似症例検索時に最も類似度が高いと判定された症例の症例情報を自動的に選択し、その症例情報についてステップS402以降の処理を行うようにしてもよい。 Instead of accepting the designation of the
以上に説明したように、本実施形態のシステムは、時系列に取得された複数の画像を検索のクエリーとして設定し、画像の特徴の時間的な変化、すなわち病気の経過が類似する症例を検索することができる。この際、画像的な特徴は、医師が入力する所見などと異なり、医師の主観や経験に左右されることがないので、客観的事実に基づいて、経過が類似する症例を検索することができる。 As described above, the system of the present embodiment sets a plurality of images acquired in time series as a search query, and searches for cases in which the temporal change of image characteristics, that is, the course of disease is similar. can do. At this time, unlike the findings input by the doctor, the image characteristics are not influenced by the subjectivity or experience of the doctor, so that cases with similar progress can be searched based on objective facts. .
従来システムのように、ある時点において取得された画像の特徴が類似する症例の情報を提供することは、診断を支援する上で、もちろん有用である。しかし、ある時点において同じ陰影が観察されながら、その後異なる経過を辿り、最終的には異なる病気と診断されるケースは少なくない。このため、一時点における画像の特徴が類似しているというだけでは、同じ病気であるとの診断に確信が持てないことがある。しかし、複数の時点において類似する陰影が観察されたのであれば、同じ病気であるとの診断に確信を持ちやすい。すなわち、本実施形態のシステムは、医師に対し、診断を行う上で、従来よりも有用な情報を提供することができ、これにより医師の診断に、より一層貢献することができる。 As in the conventional system, providing information on cases having similar image characteristics acquired at a certain point in time is naturally useful in supporting diagnosis. However, there are many cases in which the same shadow is observed at a certain point in time, followed by a different course, and finally diagnosed with a different disease. For this reason, it may not be confident in the diagnosis that the disease is the same just because the features of the image at the point in time are similar. However, if similar shadows are observed at multiple time points, it is easy to be confident in the diagnosis of the same disease. That is, the system according to the present embodiment can provide more useful information than before when making a diagnosis to a doctor, thereby further contributing to the diagnosis of the doctor.
そして、経過が類似する症例の情報は、単に診断に役立つのみならず、次に行うべき検査の計画を立案する際にも役立つ。例えば、次にどのような検査を行うべきかを検討しているときに、経過が類似する症例の情報として、X線単純撮影による検査を何度も繰り返した挙句に癌と診断された症例と、2回目の検査でPET検査を取り入れて早期に癌と診断された症例の情報が提供されれば、医師は早い段階でPET検査を行うことを検討するであろう。また、患者に対し検査の必要性を説明して了解を得るときにも、そのような症例の情報を患者に提供することで、患者の了解を得やすくなる。 Information on cases with similar courses is not only useful for diagnosis, but also for planning the next examination to be performed. For example, when examining what kind of examination should be performed next, as information on cases with similar courses, a case where cancer was diagnosed after repeated examinations by X-ray simple radiography If information about cases diagnosed with cancer at an early stage by providing a PET examination in the second examination is provided, doctors will consider conducting a PET examination at an early stage. In addition, even when the necessity of the examination is explained to the patient and the consent is obtained, providing the patient with such case information makes it easier to obtain the consent of the patient.
同様に、経過が類似する症例の情報は、治療計画を立案する際にも役立つ。例えば、癌の治療法としては、手術により病変を除去する方法と、手術は行わず放射線治療により癌細胞を消滅させる方法が知られているが、病変の大きさ、位置、患者の年齢(体力)によっては、いずれの治療法を選択すべきか判断に迷うことがある。そのような場合に、経過が類似する症例の情報が提供されれば、医師は、患者の年齢が近い症例で治療に成功した症例の情報を参照することにより、自らの診断に対する迷いを払拭することができる。 Similarly, information on cases with similar courses is also useful when planning treatment plans. For example, there are two known cancer treatment methods: removing the lesion by surgery and eliminating the cancer cells by radiation therapy without surgery, but the size, location, and age of the patient (physical fitness) ), It may be difficult to decide which treatment to choose. In such a case, if information on cases with similar courses is provided, doctors will dispel their doubts about their diagnosis by referring to information on cases that have been treated successfully in cases where the patient's age is near be able to.
また、本実施形態のシステムでは、図19に例示した計画立案支援機能により、今後行うことが推奨される検査あるいは治療の案が提示される。このため、治療経験が浅い診察医でも、経過が類似する症例についてベテラン医師が行った治療を参考にしながら、治療計画を立案することができる。また、治療の効果が顕著に現れた症例があるときには、そのような症例を患者に紹介することで、患者の不安を解消することもできる。 Further, in the system according to the present embodiment, an examination or treatment plan that is recommended to be performed in the future is presented by the planning support function illustrated in FIG. For this reason, even a doctor who has little treatment experience can make a treatment plan with reference to treatment performed by a veteran doctor for cases with similar courses. In addition, when there is a case in which the effect of treatment appears remarkably, the patient's anxiety can be resolved by introducing such a case to the patient.
この際、推奨案作成のベースとなる症例情報は、医師が入力した情報に基づく類否判断により抽出されたものではなく、いずれも画像的な特徴に基づく類否判断により抽出されたものであるため、真に経過が類似する症例の情報をベースにして検査計画あるいは治療計画を立案することができる。 At this time, the case information that is the basis for creating the recommendation is not extracted by similarity determination based on information input by the doctor, but is extracted by similarity determination based on image characteristics. Therefore, an examination plan or a treatment plan can be made based on information of cases that are truly similar in course.
また、本実施形態のシステムでは、経過が類似する症例において行われた検査や治療が、診断中の患者に合わないときには、その旨が警告され、もしくは診断中の患者に合うように調整された推奨案が作成されるので、判断ミスによる医療事故を防止することもできる。 Further, in the system of the present embodiment, when examinations and treatments performed in cases with similar progress are not suitable for the patient being diagnosed, the fact is warned or adjusted to suit the patient being diagnosed. Since a recommendation is made, it is possible to prevent medical accidents due to misjudgment.
なお、上記実施形態は、図1を参照して説明したように、登録された画像情報、読影レポートおよびカルテ情報を、互いに関連づけることにより、そのまま症例情報として利用するものであるが、この他、例えば治療が完了した時点で、初診から完治までの間に登録された画像情報、読影レポートおよびカルテ情報を1つの症例情報として、別途データベースに登録する形態も考えられる。後者の方法は、治療中の症例の情報を症例情報として参照できないというデメリットはあるが、画像情報、読影レポートおよびカルテ情報が1箇所にまとめて登録されることで類似症例検索時の検索範囲が狭くなり、また類似症例情報のフォーマットを検索に適したフォーマットとすることで高速な検索が可能になる。 In the above embodiment, as described with reference to FIG. 1, the registered image information, interpretation report, and medical chart information are used as they are as case information by associating them with each other. For example, when treatment is completed, the image information, the interpretation report, and the medical record information registered between the first diagnosis and the complete cure may be separately registered in the database as one piece of case information. The latter method has a demerit that the information of the case under treatment cannot be referred to as case information, but the search range at the time of similar case search is reduced by registering the image information, the interpretation report, and the medical record information together in one place. By narrowing the format of similar case information to a format suitable for search, high-speed search becomes possible.
また、データベースに登録される情報のフォーマットや、類似症例検索手段による検索手順は、検索速度を考慮して、あるいは既存のデータベースやシステムの制約を考慮して、任意に定めることができる。関心領域設定手段21のユーザインタフェースや、症例情報表示手段22が表示制御する画面のレイアウトも、任意に定めることができる。すなわち、上記実施形態における例示は、あくまでも一例に過ぎず、本発明の範囲を限定するものではない。 In addition, the format of information registered in the database and the search procedure by the similar case search means can be arbitrarily determined in consideration of the search speed or the restrictions of the existing database or system. The user interface of the region-of-interest setting means 21 and the screen layout controlled by the case information display means 22 can be arbitrarily determined. That is, the illustrations in the above embodiment are merely examples, and do not limit the scope of the present invention.
1 モダリティ、 2 検査技師用ワークステーション、
3 放射線科医用ワークステーション、 4 診察医用ワークステーション、
5 画像情報データベース、 6 読影レポートデータベース、
7 カルテ情報データベース、 8 DBMS、 9 ネットワーク、
10 医用画像情報、 11 読影レポート、 12 カルテ情報、 13 症例情報、
16 一覧表示画面、 17 詳細表示画面、 18 計画立案支援画面、
31−33 検索クエリーとなる画像、 34 被写体情報、
35 類似症例識別子一覧、 36 選択枠、 37 操作ボタン、
38 検査結果情報、 39 強調表示枠、 40,41 チャート、 42 詳細項目1 modality, 2 laboratory workstation,
3 Radiologist workstation, 4 Physician workstation,
5 Image information database, 6 Interpretation report database,
7 chart information database, 8 DBMS, 9 network,
10 medical image information, 11 interpretation report, 12 medical record information, 13 case information,
16 List display screen, 17 Detailed display screen, 18 Planning support screen,
31-33 Image as a search query, 34 Subject information,
35 List of similar case identifiers, 36 selection frames, 37 operation buttons,
38 Test result information, 39 Highlight display frame, 40, 41 chart, 42 Detailed items
| Application Number | Priority Date | Filing Date | Title |
|---|---|---|---|
| JP2006115714AJP2007287027A (en) | 2006-04-19 | 2006-04-19 | Medical planning support system |
| Application Number | Priority Date | Filing Date | Title |
|---|---|---|---|
| JP2006115714AJP2007287027A (en) | 2006-04-19 | 2006-04-19 | Medical planning support system |
| Publication Number | Publication Date |
|---|---|
| JP2007287027Atrue JP2007287027A (en) | 2007-11-01 |
| Application Number | Title | Priority Date | Filing Date |
|---|---|---|---|
| JP2006115714AWithdrawnJP2007287027A (en) | 2006-04-19 | 2006-04-19 | Medical planning support system |
| Country | Link |
|---|---|
| JP (1) | JP2007287027A (en) |
| Publication number | Priority date | Publication date | Assignee | Title |
|---|---|---|---|---|
| JP2008102665A (en)* | 2006-10-18 | 2008-05-01 | Fujifilm Corp | Medical image radiography support system and program |
| JP2010092344A (en)* | 2008-10-09 | 2010-04-22 | Fujifilm Corp | Medical service support system, medical service support method, and program |
| JP2010172559A (en)* | 2009-01-30 | 2010-08-12 | Toshiba Corp | Medical diagnosis support system and apparatus |
| JP2010237930A (en)* | 2009-03-31 | 2010-10-21 | Fujifilm Corp | Case image retrieval apparatus, method and program |
| JP2012521248A (en)* | 2009-03-26 | 2012-09-13 | コーニンクレッカ フィリップス エレクトロニクス エヌ ヴィ | PET / CT treatment monitoring system supported by medical guidelines |
| JP2013164755A (en)* | 2012-02-10 | 2013-08-22 | Crust Inc | Diagnosis support system, diagnosis support program and diagnosis support method |
| JP2013178796A (en)* | 2013-04-15 | 2013-09-09 | Toshiba Corp | Medical information system |
| JP2013180167A (en)* | 2012-03-05 | 2013-09-12 | Toshiba Corp | Imaging diagnostic supporting system, and imaging diagnostic supporting program |
| JP2014503894A (en)* | 2010-12-16 | 2014-02-13 | コーニンクレッカ フィリップス エヌ ヴェ | System and method for medical decision support for treatment planning using case-based reasoning |
| KR20140030042A (en)* | 2012-08-30 | 2014-03-11 | 캐논 가부시끼가이샤 | Diagnosis support apparatus and method |
| JP2015531661A (en)* | 2012-09-17 | 2015-11-05 | デピュイ・シンセス・プロダクツ・インコーポレイテッド | Systems and methods for surgery and intervention planning, support, postoperative follow-up, and functional recovery tracking |
| JP2015201093A (en)* | 2014-04-09 | 2015-11-12 | 日本メディカルソリューションズ株式会社 | Medical examination support system |
| WO2017110082A1 (en)* | 2015-12-25 | 2017-06-29 | 富士フイルム株式会社 | Cell image retrieval device, method, and program |
| JP2019149130A (en)* | 2018-02-28 | 2019-09-05 | 富士フイルム株式会社 | Medical image display device, method, and program |
| CN111192689A (en)* | 2018-11-15 | 2020-05-22 | 零氪科技(北京)有限公司 | Patient identification method based on medical data |
| JPWO2020203223A1 (en)* | 2019-04-05 | 2020-10-08 | ||
| JP2020187687A (en)* | 2019-05-17 | 2020-11-19 | キヤノンメディカルシステムズ株式会社 | Medical information processing device |
| JP2020187550A (en)* | 2019-05-14 | 2020-11-19 | キヤノンメディカルシステムズ株式会社 | Medical information processing apparatus and program |
| WO2021066039A1 (en)* | 2019-09-30 | 2021-04-08 | 株式会社ニデック | Medical information processing program, and medical information processing device |
| JP2021174073A (en)* | 2020-04-20 | 2021-11-01 | 富士通株式会社 | Similar case search program, similar case search method, and similar case search system |
| JPWO2021246047A1 (en)* | 2020-06-04 | 2021-12-09 | ||
| WO2022049932A1 (en)* | 2020-09-04 | 2022-03-10 | 富士フイルム株式会社 | Image processing device, image processing method and program, and image processing system |
| WO2022064926A1 (en)* | 2020-09-28 | 2022-03-31 | 富士フイルム株式会社 | Treatment assistance device, treatment assistance method, and treatment assistance program |
| CN114366951A (en)* | 2022-01-11 | 2022-04-19 | 济源市人民医院 | Children atomizing device |
| CN115691741A (en)* | 2023-01-03 | 2023-02-03 | 四川大学华西医院 | Medical information-based information transmission and information combination method |
| JP2023115376A (en)* | 2019-09-27 | 2023-08-18 | 富士フイルム株式会社 | Medical support device, its operation method and operation program |
| CN118588225A (en)* | 2024-08-06 | 2024-09-03 | 成都知视界信息科技有限公司 | A disease analysis system based on biomedical big data |
| WO2025192540A1 (en)* | 2024-03-15 | 2025-09-18 | 株式会社ジャパン・メディカル・カンパニー | Cranial correction effect estimation system and cranial correction effect estimation method |
| Publication number | Priority date | Publication date | Assignee | Title |
|---|---|---|---|---|
| JP2008102665A (en)* | 2006-10-18 | 2008-05-01 | Fujifilm Corp | Medical image radiography support system and program |
| JP2010092344A (en)* | 2008-10-09 | 2010-04-22 | Fujifilm Corp | Medical service support system, medical service support method, and program |
| US8650039B2 (en) | 2008-10-09 | 2014-02-11 | Fujifilm Corporation | Medical service support system, medical service support method and computer readable medium |
| JP2010172559A (en)* | 2009-01-30 | 2010-08-12 | Toshiba Corp | Medical diagnosis support system and apparatus |
| US10311971B2 (en) | 2009-03-26 | 2019-06-04 | Koninklijke Philips N.V. | PET/CT based monitoring system supported by a clinical guideline navigator |
| JP2012521248A (en)* | 2009-03-26 | 2012-09-13 | コーニンクレッカ フィリップス エレクトロニクス エヌ ヴィ | PET / CT treatment monitoring system supported by medical guidelines |
| JP2010237930A (en)* | 2009-03-31 | 2010-10-21 | Fujifilm Corp | Case image retrieval apparatus, method and program |
| JP2014503894A (en)* | 2010-12-16 | 2014-02-13 | コーニンクレッカ フィリップス エヌ ヴェ | System and method for medical decision support for treatment planning using case-based reasoning |
| JP2013164755A (en)* | 2012-02-10 | 2013-08-22 | Crust Inc | Diagnosis support system, diagnosis support program and diagnosis support method |
| JP2013180167A (en)* | 2012-03-05 | 2013-09-12 | Toshiba Corp | Imaging diagnostic supporting system, and imaging diagnostic supporting program |
| US9439562B2 (en) | 2012-08-30 | 2016-09-13 | Canon Kabushiki Kaisha | Diagnosis support apparatus and method |
| KR101644466B1 (en)* | 2012-08-30 | 2016-08-01 | 캐논 가부시끼가이샤 | Information processing apparatus and method |
| KR20140030042A (en)* | 2012-08-30 | 2014-03-11 | 캐논 가부시끼가이샤 | Diagnosis support apparatus and method |
| US10588505B2 (en) | 2012-08-30 | 2020-03-17 | Canon Kabushiki Kaisha | Diagnosis support apparatus and method |
| US11923068B2 (en) | 2012-09-17 | 2024-03-05 | DePuy Synthes Products, Inc. | Systems and methods for surgical and interventional planning, support, post-operative follow-up, and functional recovery tracking |
| US11749396B2 (en) | 2012-09-17 | 2023-09-05 | DePuy Synthes Products, Inc. | Systems and methods for surgical and interventional planning, support, post-operative follow-up, and, functional recovery tracking |
| US11798676B2 (en) | 2012-09-17 | 2023-10-24 | DePuy Synthes Products, Inc. | Systems and methods for surgical and interventional planning, support, post-operative follow-up, and functional recovery tracking |
| JP2015531661A (en)* | 2012-09-17 | 2015-11-05 | デピュイ・シンセス・プロダクツ・インコーポレイテッド | Systems and methods for surgery and intervention planning, support, postoperative follow-up, and functional recovery tracking |
| US10166019B2 (en) | 2012-09-17 | 2019-01-01 | DePuy Synthes Products, Inc. | Systems and methods for surgical and interventional planning, support, post-operative follow-up, and, functional recovery tracking |
| US10595844B2 (en) | 2012-09-17 | 2020-03-24 | DePuy Synthes Products, Inc. | Systems and methods for surgical and interventional planning, support, post-operative follow-up, and functional recovery tracking |
| JP2013178796A (en)* | 2013-04-15 | 2013-09-09 | Toshiba Corp | Medical information system |
| JP2015201093A (en)* | 2014-04-09 | 2015-11-12 | 日本メディカルソリューションズ株式会社 | Medical examination support system |
| JP2017117302A (en)* | 2015-12-25 | 2017-06-29 | 富士フイルム株式会社 | Cell image retrieval apparatus and method, and program |
| US10885103B2 (en) | 2015-12-25 | 2021-01-05 | Fujifilm Corporation | Cell image search apparatus, method, and program |
| WO2017110082A1 (en)* | 2015-12-25 | 2017-06-29 | 富士フイルム株式会社 | Cell image retrieval device, method, and program |
| JP2019149130A (en)* | 2018-02-28 | 2019-09-05 | 富士フイルム株式会社 | Medical image display device, method, and program |
| US11139067B2 (en) | 2018-02-28 | 2021-10-05 | Fujifilm Corporation | Medical image display device, method, and program |
| CN111192689A (en)* | 2018-11-15 | 2020-05-22 | 零氪科技(北京)有限公司 | Patient identification method based on medical data |
| CN111192689B (en)* | 2018-11-15 | 2023-11-24 | 零氪科技(北京)有限公司 | Patient identification method based on medical data |
| JPWO2020203223A1 (en)* | 2019-04-05 | 2020-10-08 | ||
| JP7196287B2 (en) | 2019-04-05 | 2022-12-26 | Phcホールディングス株式会社 | Biological information measuring device and biological information measuring method |
| JP2020187550A (en)* | 2019-05-14 | 2020-11-19 | キヤノンメディカルシステムズ株式会社 | Medical information processing apparatus and program |
| JP7304203B2 (en) | 2019-05-14 | 2023-07-06 | キヤノンメディカルシステムズ株式会社 | Medical information processing device and program |
| JP2020187687A (en)* | 2019-05-17 | 2020-11-19 | キヤノンメディカルシステムズ株式会社 | Medical information processing device |
| JP7341720B2 (en) | 2019-05-17 | 2023-09-11 | キヤノンメディカルシステムズ株式会社 | Medical information processing equipment |
| JP2023115376A (en)* | 2019-09-27 | 2023-08-18 | 富士フイルム株式会社 | Medical support device, its operation method and operation program |
| JP7709047B2 (en) | 2019-09-30 | 2025-07-16 | 株式会社ニデック | Medical information processing program and medical information processing device |
| WO2021066039A1 (en)* | 2019-09-30 | 2021-04-08 | 株式会社ニデック | Medical information processing program, and medical information processing device |
| JPWO2021066039A1 (en)* | 2019-09-30 | 2021-04-08 | ||
| JP7409211B2 (en) | 2020-04-20 | 2024-01-09 | 富士通株式会社 | Similar case search program, similar case search method, and similar case search system |
| JP2021174073A (en)* | 2020-04-20 | 2021-11-01 | 富士通株式会社 | Similar case search program, similar case search method, and similar case search system |
| WO2021246047A1 (en)* | 2020-06-04 | 2021-12-09 | 富士フイルム株式会社 | Progression prediction device, method, and program |
| JPWO2021246047A1 (en)* | 2020-06-04 | 2021-12-09 | ||
| US12347560B2 (en) | 2020-06-04 | 2025-07-01 | Fujifilm Corporation | Progression prediction apparatus, progression prediction method, and progression prediction program |
| JP7376715B2 (en) | 2020-06-04 | 2023-11-08 | 富士フイルム株式会社 | Progress prediction device, method of operating the progress prediction device, and progress prediction program |
| WO2022049932A1 (en)* | 2020-09-04 | 2022-03-10 | 富士フイルム株式会社 | Image processing device, image processing method and program, and image processing system |
| JPWO2022064926A1 (en)* | 2020-09-28 | 2022-03-31 | ||
| JP7430811B2 (en) | 2020-09-28 | 2024-02-13 | 富士フイルム株式会社 | Treatment support devices, treatment support methods, and treatment support programs |
| WO2022064926A1 (en)* | 2020-09-28 | 2022-03-31 | 富士フイルム株式会社 | Treatment assistance device, treatment assistance method, and treatment assistance program |
| CN114366951A (en)* | 2022-01-11 | 2022-04-19 | 济源市人民医院 | Children atomizing device |
| CN114366951B (en)* | 2022-01-11 | 2023-08-25 | 济源市人民医院 | Child atomizing device |
| CN115691741A (en)* | 2023-01-03 | 2023-02-03 | 四川大学华西医院 | Medical information-based information transmission and information combination method |
| WO2025192540A1 (en)* | 2024-03-15 | 2025-09-18 | 株式会社ジャパン・メディカル・カンパニー | Cranial correction effect estimation system and cranial correction effect estimation method |
| CN118588225A (en)* | 2024-08-06 | 2024-09-03 | 成都知视界信息科技有限公司 | A disease analysis system based on biomedical big data |
| Publication | Publication Date | Title |
|---|---|---|
| JP2007287027A (en) | Medical planning support system | |
| JP2007287018A (en) | Diagnosis support system | |
| US8751259B2 (en) | Method, apparatus, and program for generating diagnostic result explanation reports | |
| JP5670079B2 (en) | MEDICAL IMAGE DISPLAY DEVICE AND METHOD, AND PROGRAM | |
| JP4906404B2 (en) | Diagnosis support method, diagnosis support apparatus, diagnosis support system, and diagnosis support program | |
| JP6347755B2 (en) | Medical support device, operating method and program of medical support device, medical support system | |
| CN104823211B (en) | Medical examination result display device and working method thereof | |
| US8934687B2 (en) | Image processing device, method and program including processing of tomographic images | |
| JP3495327B2 (en) | Image acquisition devices, databases and workstations | |
| US20150269325A1 (en) | Medical test result display device and method for operating the same | |
| JP6892518B2 (en) | Medical support device and its operation method and operation program | |
| JP6453668B2 (en) | Measured value management device, operating method and operating program thereof, and measured value management system | |
| JP2009070201A (en) | Interpretation report creation system, interpretation report creation device, and interpretation report creation method | |
| JP2008200373A (en) | Similar case search device, method, and program, and similar case database registration device, method, and program | |
| WO2019193983A1 (en) | Medical document display control device, medical document display control method, and medical document display control program | |
| JP2008234309A (en) | Case collection system | |
| JP6956200B2 (en) | Medical support device and its operation method and operation program | |
| JP5855976B2 (en) | Medical information management system | |
| JP3192834B2 (en) | Reference image preparation support device | |
| JP7415787B2 (en) | medical imaging system | |
| JP7462424B2 (en) | Medical information processing device, learning data generation program, and learning data generation method | |
| JP2017182233A (en) | Training support system, composite training support method and composite training support program | |
| JP2008217426A (en) | Case registration system | |
| JP5635030B2 (en) | Case database management system and method | |
| JP7670082B2 (en) | Medical image display device, medical image display system, medical image display method and program |
| Date | Code | Title | Description |
|---|---|---|---|
| A621 | Written request for application examination | Free format text:JAPANESE INTERMEDIATE CODE: A621 Effective date:20090217 | |
| A761 | Written withdrawal of application | Free format text:JAPANESE INTERMEDIATE CODE: A761 Effective date:20091217 |