








  本発明は、車両用空調装置の蒸発器などに用いられる熱交換器に関し、とくにCO2などの高圧流体を冷媒とする熱交換器に関する。  The present invention relates to a heat exchanger used for an evaporator of a vehicle air conditioner, and more particularly to a heat exchanger using a high-pressure fluid such as
  近年、車両用空調装置の冷凍サイクルに用いられる冷媒として、環境への影響が少ないCO2などの自然冷媒が注目されている。このようなCO2冷媒は現行冷媒よりも高温高圧で使用されるため、熱交換器においても高い耐圧性が求められている。  In recent years, natural refrigerants such as
  こうした高温高圧の冷媒圧力に耐え得る熱交換器の従来技術として、熱交換器のヘッダ間をU字形に連続して蛇行させた複数のチューブで並列に連結したサーペンタイン形の熱交換器が提案されている(特許文献1参照)。また、冷媒の流入パイプを複数の入口パイプにより分岐するとともに、冷媒チューブを各入口パイプの入口端を接続した複数のチューブサブユニットとして構成し、且つこれら複数のチューブサブユニットの出口端を接続した複数の出口パイプを流出パイプに集合させて、複数のチューブサブユニットからなる並列な冷媒通路を形成するように構成した熱交換器が提案されている(特許文献2参照)。さらに、上下のヘッダ間をS字形のチューブで接続したコアユニットを複数隣接配置し、各コアユニットの上側ヘッダを分配管に接続するとともに、各コアユニットの下側ヘッダを集合管に接続し、分配管の入口部をコアユニットの並び方向の一側に、また集合管の出口部をコアユニットの並び方向の他側にそれぞれ配置した熱交換器が提案されている(特許文献3参照)。
しかしながら、特開2000−28226号公報に示された熱交換器では、多穴管のチューブを複数回蛇行させているために冷媒通路が長くなり、通路抵抗が高くなる。また熱交換器として奥行きがある場合にはヘッダとなるパイプの耐圧を確保するためにチューブを複数に分割する必要があり、部品点数が多くなるという課題があった。 However, in the heat exchanger disclosed in Japanese Patent Laid-Open No. 2000-28226, the multi-hole tube is meandered a plurality of times, so that the refrigerant passage becomes longer and the passage resistance becomes higher. Further, when there is a depth as a heat exchanger, it is necessary to divide the tube into a plurality of parts in order to ensure the pressure resistance of the pipe serving as a header, and there is a problem that the number of parts increases.
また、特開2000−304472公報に示された熱交換器では、耐圧性を確保するためにパイプ径を大きくすることができず、径の小さな1本のパイプに2本のチューブを接合しなければならないため組み付け工数が増え、部品点数も多くなるという課題があった。 Further, in the heat exchanger disclosed in Japanese Patent Laid-Open No. 2000-304472, the pipe diameter cannot be increased in order to ensure pressure resistance, and two tubes must be joined to one pipe having a small diameter. As a result, the assembly man-hours increase and the number of parts increases.
また、特開2002−349998公報に示された熱交換器では、各コアユニットごとに上下にヘッダー部材を設ける必要があるため、部品点数が多くなるという課題があった。 Moreover, in the heat exchanger shown by Unexamined-Japanese-Patent No. 2002-349998, since it was necessary to provide a header member up and down for every core unit, there existed a subject that a number of parts increased.
  この発明の目的は、CO2冷媒に耐え得る耐圧性を確保しながら、部品点数を少なくして軽量且つ低コストな熱交換器を提供することにある。  An object of the present invention is to provide a heat exchanger that is light in weight and low in cost by reducing the number of components while ensuring pressure resistance that can withstand
上記目的を達成するため、請求項1に係わる発明は、内部に冷媒通路が形成され且つ略U字形に成形されたチューブ及び冷却用のフィンを隣接して交互に複数列設してなるコア部と、前記各チューブの冷媒入口端部と連通する複数の第1冷媒通路、及び前記各チューブの冷媒出口端部と連通する複数の第2冷媒通路を備え、前記第1冷媒通路及び前記第2冷媒通路を前記チューブの列設方向に沿って交互に設けるとともに、前記各第1冷媒通路及び各第2冷媒通路と前記各チューブとを連通させるチューブ挿入孔を設けたヘッダタンクと、前記ヘッダタンクに接合され、前記複数の第1冷媒通路と連通し且つ前記複数の第2冷媒通路と連通しない第1サブタンクと、前記ヘッダタンクに接合され、前記複数の第2冷媒通路と連通し且つ前記複数の第1冷媒通路と連通しない第2サブタンクとを備えることを特徴とする熱交換器である。 In order to achieve the above object, the invention according to claim 1 is a core portion in which a refrigerant passage is formed therein and a tube formed in a substantially U shape and cooling fins are alternately arranged in rows. And a plurality of first refrigerant passages communicating with the refrigerant inlet ends of the tubes, and a plurality of second refrigerant passages communicating with the refrigerant outlet ends of the tubes, the first refrigerant passages and the second refrigerant passages. A header tank provided with a tube insertion hole for alternately connecting the refrigerant passages along the direction in which the tubes are arranged and communicating the first refrigerant passages and the second refrigerant passages with the tubes; and the header tank Connected to the plurality of first refrigerant passages and not to communicate with the plurality of second refrigerant passages; and joined to the header tank; communicated with the plurality of second refrigerant passages; A heat exchanger, characterized in that it comprises a first refrigerant passage and communicating with no second subtank.
本発明によれば、チューブの形状を略U字形としているため、複数回蛇行させたチューブに比べて1本あたりの冷媒通路が短くなり、通路抵抗を低くすることができる。 According to the present invention, since the shape of the tube is substantially U-shaped, the refrigerant passage per one is shortened and the passage resistance can be reduced as compared with the tube meandered a plurality of times.
また、パイプ材からなるヘッダタンクのようにヘッダタンクの耐圧性を確保するためにチューブを複数に分割する必要がないので、部品点数を少なくすることができる。 Further, since it is not necessary to divide the tube into a plurality of parts in order to ensure the pressure resistance of the header tank unlike a header tank made of a pipe material, the number of parts can be reduced.
また、ヘッダタンクが1つ(入口出口共用)となり、更に各チューブごとに第1冷媒通路、第2冷媒通路を形成しているため、冷媒通路の径を小さくすることができる。したがって、ヘッダタンク自体の厚みを薄くすることができるので、軽量化を図ることができる。また、ヘッダタンクに複数のチューブを接合するようにしたので、チューブに冷媒を分配するために複数のパイプを接続する構成に比べて組み付け工数を少なくすることができ、また部品点数を少なくすることもできる。 Moreover, since the number of header tanks is one (shared inlet and outlet) and the first refrigerant passage and the second refrigerant passage are formed for each tube, the diameter of the refrigerant passage can be reduced. Therefore, since the thickness of the header tank itself can be reduced, the weight can be reduced. In addition, since a plurality of tubes are joined to the header tank, the number of assembling steps can be reduced and the number of parts can be reduced compared to a configuration in which a plurality of pipes are connected to distribute refrigerant to the tubes. You can also.
さらには、1つのヘッダタンクですべてのチューブと接続させることができるため、各チューブごとにヘッダタンクを設けた構成と比べて部品点数を少なくすることができる。 Furthermore, since it can connect with all the tubes with one header tank, compared with the structure which provided the header tank for every tube, a number of parts can be decreased.
したがって、本発明に係わる熱交換器によれば、CO2冷媒に耐え得る耐圧性を確保しながらも、部品点数を少なくすることができるため、軽量化と低コストを実現することができる。 Therefore, according to the heat exchanger according to the present invention, it is possible to reduce the number of parts while ensuring the pressure resistance that can withstand the CO2 refrigerant, and thus it is possible to realize weight reduction and low cost.
以下、本発明に係わる熱交換器の実施形態について図面を参照しながら説明する。 Hereinafter, embodiments of a heat exchanger according to the present invention will be described with reference to the drawings.
[実施形態1]
  図1は実施形態1に係わる熱交換器1の構成図、図2は熱交換器から入口サブタンクを除いた構成図である。[Embodiment 1]
 FIG. 1 is a configuration diagram of a heat exchanger 1 according to the first embodiment, and FIG. 2 is a configuration diagram in which an inlet sub tank is removed from the heat exchanger.
  本実施形態の熱交換器1は、図1に示すように、内部に冷媒を流通させて通過空気との間で熱交換を行うコア部10と、コア部10に冷媒を供給し、またコア部10で熱交換した冷媒を吐出するヘッダタンク20と、ヘッダタンク20に冷媒を供給する入口サブタンク30と、ヘッダタンク20から吐出された冷媒を外部に排出する出口サブタンク40とを備えている。  As shown in FIG. 1, the heat exchanger 1 of the present embodiment has a
  コア部10は、内部に複数の冷媒流路が形成されたチューブ11と、冷却用のフィン12とが隣接するように交互に複数列設したものである。チューブ11は、多穴管の扁平チューブであり、略U字形に成形されている。各チューブ11では、一方の端から冷媒が流入し、内部に形成された複数の冷媒流路を流れ、他方の端から吐出される。このように、チューブ11の一端は冷媒入口端部となり、他端は冷媒出口端部となる。また、列設方向の最外側となるフィン12の更に外側には補強部材としてサイドプレート13が取り付けられている。これら各部は炉中でのロウ付けにより一体に接合されている。  The
  ヘッダタンク20は、板厚の厚い金属部材により構成され、図2に示すように、断面略円形の入口用冷媒通路21と、出口用冷媒通路22とがそれぞれ複数形成されると共に、これら各冷媒通路とコア部10との接合面側とを連通するチューブ挿入孔(図示せず)が形成されている。  The
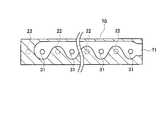
  ここで、ヘッダタンク20内における各冷媒通路の配置について説明する。図3は、ヘッダタンク20とコア部10との接続部分の構成を示す部分側面図である。図3に示すように、ヘッダタンク20の下段には、幅方向に貫通する複数の入口用冷媒通路21がチューブ11の列設方向に沿って一列に形成されている。また上段には、同じく幅方向に貫通する複数の出口用冷媒通路22がチューブ11の列設方向に沿って一列に形成されている。これら入口用冷媒通路21、出口用冷媒通路22は、チューブ11の列設方向に沿って一つおきに交互に且つ上下に分かれて並ぶように形成されている。また、ヘッダタンク20の底部には、チューブ11を挿入する複数のチューブ挿入孔23が形成されている。これら各チューブ挿入孔23は、入口用冷媒通路21、出口用冷媒通路22と連通している。  Here, the arrangement of the refrigerant passages in the
  ヘッダタンク20に形成されたチューブ挿入孔23には、コア部10の各チューブ11の端部が挿入されている。図3に示すように、チューブ11の冷媒入口端部11aは入口用冷媒通路21とつながるチューブ挿入孔23に挿入され、入口用冷媒通路21と連通している。またチューブ11の冷媒出口端部11bは出口用冷媒通路22とつながるチューブ挿入孔23に挿入され、出口用冷媒通路22と連通している。これにより、下段の入口用冷媒通路21から供給された冷媒は、チューブ11の冷媒入口端部11aから流入してチューブ内を流れ、同じチューブ11の冷媒出口端部11bから吐出して上段の出口用冷媒通路22から吐出されることになる。  End portions of the
  次に、入口サブタンク30、出口サブタンク40の構成を図4、図5により説明する。ただし各図においてコア部10の図示を省略する。  Next, the configuration of the
  図4は、入口サブタンク30の構成を示す断面図であり、図1のA−A線断面図に相当する。入口サブタンク30は、板厚の厚い金属部材により構成され、内部には長手方向に沿って入口側冷媒通路32が形成されている。この入口側冷媒通路32の側壁面には、入口用冷媒通路21と連通する入口連通孔31が複数形成されている。この入口連通孔31の孔径、配置間隔は、ヘッダタンク20の入口用冷媒通路21の孔径、配置間隔と同一となるように設定されている。なお、入口側冷媒通路32の側壁面には出口用冷媒通路22と連通する孔は形成されていない。  4 is a cross-sectional view showing the configuration of the
  図5は、出口サブタンク40の構成を示す断面図であり、図1のB−B線断面図に相当する。出口サブタンク40は、板厚の厚い金属部材により構成され、内部には長手方向に沿って出口側冷媒通路42が形成されている。この出口側冷媒通路42の側壁面には、出口用冷媒通路22と連通する出口連通孔41が複数形成されている。この出口連通孔41の孔径、配置間隔は、ヘッダタンク20の出口用冷媒通路22の孔径、配置間隔と同一となるように設定されている。なお、出口側冷媒通路42の側壁面には入口用冷媒通路21と連通する孔は形成されていない。  FIG. 5 is a cross-sectional view showing the configuration of the
  上記各サブタンクはヘッダタンク20のどちらの側に配置してもよいが、熱交換効率を高めるためには、入口サブタンク30はコア部10を通過する空気の流れ方向に対して風下側に配置し、出口サブタンク40は風上側に配置することが望ましい。  The sub tanks may be arranged on either side of the
  上述したコア部10、ヘッダタンク20、入口サブタンク30、及び出口サブタンク40は一体のユニットとして組み付けられ、仮止め等が施された後、炉中でのロウ付けにより一体に接合される。  The
次に、上記のように構成された熱交換器1における冷媒の流れについて説明する。 Next, the flow of the refrigerant in the heat exchanger 1 configured as described above will be described.
  図1に示すように、冷媒は入口サブタンク30から供給される(IN)。入口サブタンク30内に供給された冷媒は各入口連通孔31(図4)に分配され、ヘッダタンク20の各入口用冷媒通路21へ流入する。ここで、入口用冷媒通路21の反対側の開口端は出口サブタンク40の側壁により塞がれているため、入口用冷媒通路21へ流入した冷媒は各チューブ11の冷媒入口端部11aへ流入する。そして、チューブ内の図示しない冷媒流路を流通し、同じチューブ11の冷媒出口端部11bから上段の出口用冷媒通路22に吐出される。ここで、出口用冷媒通路22の反対側の開口端は入口サブタンク30の側壁により塞がれているため、出口用冷媒通路22へ流入した冷媒は各出口連通孔41(図5)を通って出口サブタンク40に流れ込み、この出口サブタンク40内で集合して外部に排出される(OUT)。このように、外部から供給された冷媒は各チューブ11に分配され、それぞれのチューブを流通する間にコア部10を通過する図示しない空気との間で熱交換を行い、再び集められて外部に排出される。  As shown in FIG. 1, the refrigerant is supplied from the inlet sub-tank 30 (IN). The refrigerant supplied into the
  本実施形態に係わる熱交換器1では、チューブ11の形状を略U字形としているため、複数回蛇行させたチューブに比べて1本あたりの冷媒通路が短くなり、通路抵抗を低くすることができる。  In the heat exchanger 1 according to this embodiment, since the shape of the
また、ヘッダタンクや各サブタンクは板厚の厚い金属部材により構成されているため、ヘッダタンクをパイプ等で構成した場合に比べて高い耐圧性を確保することができる。したがって、熱交換器として奥行きのある設計とした場合でも、ヘッダタンクの耐圧性を確保するためにチューブを複数に分割する必要がなく、部品点数を少なくすることができる。 In addition, since the header tank and each sub tank are made of a metal member having a large plate thickness, it is possible to ensure a higher pressure resistance than when the header tank is made of a pipe or the like. Accordingly, even when the heat exchanger has a deep design, it is not necessary to divide the tube into a plurality of parts in order to ensure the pressure resistance of the header tank, and the number of parts can be reduced.
  また、ヘッダタンク20が1つ(入口出口共用)となり、更に各チューブごとに入口用冷媒通路21、出口用冷媒通路22を形成しているため、冷媒通路の径を小さくすることができる。したがって、ヘッダタンク自体の厚みを薄くすることができるので、軽量化を図ることができる。また、ヘッダタンク20に複数のチューブ11を接合するようにしたので、チューブに冷媒を分配するために複数のパイプを接続する構成に比べて組み付け工数を少なくすることができ、また部品点数を少なくすることもできる。  Moreover, since the
  さらには、1つのヘッダタンク20ですべてのチューブ11と接続させることができるため、各チューブごとにヘッダタンクを設けた構成と比べて部品点数を少なくすることができる。  Furthermore, since all the
したがって、本実施形態に係わる熱交換器1によれば、CO2冷媒に耐え得る耐圧性を確保しながらも、部品点数を少なくすることができるため、軽量化と低コストを実現することができる。 Therefore, according to the heat exchanger 1 according to the present embodiment, the number of parts can be reduced while ensuring the pressure resistance that can withstand the CO2 refrigerant, and thus, weight reduction and low cost can be realized.
  また、本実施形態では、図2に示すように、入口用冷媒通路21及び出口用冷媒通路22をチューブ11の列設方向に沿って一つおきに交互に且つ上下に分かれて並ぶように配置しているため、これらの冷媒通路をチューブ11の列設方向に沿って交互に一列に配置した場合に比べて入口側冷媒と出口側冷媒との間で熱が伝わりにくくなり、熱交換効率を向上させることができる。  Further, in this embodiment, as shown in FIG. 2, the inlet
  さらに、入口サブタンク30、出口サブタンク40により、ヘッダタンク20の下方における隙間(タンク下面とフィンとの間の空間)を覆うことができるため、上記隙間に熱交換に寄与しないバイパス風が通るのを防ぐことができる。加えて、バイパス風を防ぐために隙間に設けるパッキン等が不要となるため、部品点数を少なくすることができる。  Further, since the
[実施形態2]
  図6は実施形態2に係わる熱交換器2の構成図であり、実施形態1と同等部分を同一符号で示している。以下、実施形態1と異なる構成、作用効果について説明し、共通する構成、作用効果については適宜に説明を省略する。[Embodiment 2]
 FIG. 6 is a configuration diagram of the
  本実施形態の熱交換器2は、図6に示すように、内部に冷媒を流通させて通過空気との間で熱交換を行うコア部10と、コア部10に冷媒を供給し、またコア部10で熱交換した冷媒を吐出するヘッダタンク50と、ヘッダタンク50に冷媒を供給するとともに、ヘッダタンク50から吐出された冷媒を外部に排出する共用サブタンク60とを備えている。  As shown in FIG. 6, the
  ヘッダタンク50は、板厚の厚い金属部材により構成され、実施形態1と同様に、断面略円形の入口用冷媒通路21と、出口用冷媒通路22とがそれぞれ複数形成されると共に、各冷媒通路とコア部10との接合面側とを連通するチューブ挿入孔23が形成されている。ただし、各冷媒通路はヘッダタンク50の幅方向を貫通しておらず、共用サブタンク60と接続する側は開口し、反対側には壁部が残されている。  The
  図7は、共用サブタンク60の構成を示す断面図であり、図6のC−C線断面図に相当する。共用サブタンク60は板厚の厚い金属部材からなり、内部には入口側冷媒通路61、出口側冷媒通路62が形成されている。これら通路は中間壁63により連通しない空間として仕切られている。本実施形態では、中間壁63の下段が入口側冷媒通路61、上段が出口側冷媒通路62となっている。  FIG. 7 is a cross-sectional view showing the configuration of the shared
  入口側冷媒通路61の側壁面には、ヘッダタンク20の入口用冷媒通路21と連通する入口連通孔31が複数形成されている。この入口連通孔31の孔径、配置間隔は、ヘッダタンク20の入口用冷媒通路21の孔径、配置間隔と同一となるように設定されている。  A plurality of inlet communication holes 31 communicating with the
  出口側冷媒通路62の側壁面には、ヘッダタンク20の出口用冷媒通路22と連通する出口連通孔41が複数形成されている。この出口連通孔41の孔径、配置間隔は、ヘッダタンク20の出口用冷媒通路22の孔径、配置間隔と同一となるように設定されている。  A plurality of outlet communication holes 41 communicating with the outlet
  次に、上記のように構成された熱交換器2における冷媒の流れについて説明する。  Next, the flow of the refrigerant in the
  図6に示すように、冷媒は共用サブタンク60の下段側から供給される(IN)。共用サブタンク60内に供給された冷媒は入口側冷媒通路61(図7)から入口連通孔31に分配され、ヘッダタンク20の各入口用冷媒通路21へ流入する。そして、入口用冷媒通路21へ流入した冷媒は各チューブ11の冷媒入口端部11aへ流入し、チューブ内の図示しない冷媒流路を流通した後、同じチューブ11の冷媒出口端部11bから上段の出口用冷媒通路22に吐出される。出口用冷媒通路22へ流入した冷媒は各出口連通孔41(図7)を通って共用サブタンク60の出口サブタンク部63に流れ込み、この出口サブタンク部63内で集合して外部に排出される(OUT)。  As shown in FIG. 6, the refrigerant is supplied from the lower side of the shared sub tank 60 (IN). The refrigerant supplied into the shared
  本実施形態に係わる熱交換器2では、ヘッダタンク20への冷媒の入口/出口が片側のみとなり、サブタンクを一つにすることができるため、熱交換器をより軽量化することができると共に、更なる低コスト化を実現することができる。  In the
上記各実施形態におけるヘッダタンク、サブタンクは、耐圧性を確保するために押し出し材により製作することが望ましいが、プレス材により製作されたものであってもよい。 The header tank and the sub-tank in each of the above embodiments are desirably manufactured from an extruded material in order to ensure pressure resistance, but may be manufactured from a pressed material.
[実施形態3]
  図8、図9は実施形態3に係わる各サブタンクの構成を示す断面図である。本実施形態における熱交換器の基本構成は実施形態1と同じであり、実施形態1と同等部分を同一符号で示している。以下、実施形態1と異なる構成、作用効果について説明し、共通する構成、作用効果については適宜に説明を省略する。[Embodiment 3]
 8 and 9 are cross-sectional views showing the configuration of each sub tank according to the third embodiment. The basic configuration of the heat exchanger in the present embodiment is the same as that in the first embodiment, and the same parts as those in the first embodiment are denoted by the same reference numerals. Hereinafter, configurations and operational effects different from those of the first embodiment will be described, and descriptions of common configurations and operational effects will be omitted as appropriate.
  本実施形態におけるヘッダタンクは図示していないが、入口用冷媒通路21と出口用冷媒通路22とが長手方向に沿って直線状に並べられている。  Although the header tank in this embodiment is not illustrated, the
  図8は、入口サブタンク70の構成を示す断面図であり、図1のA−A線断面図に相当する。入口サブタンク70は、板厚の厚い金属部材により構成され、内部には長手方向に沿って波形形状の入口側冷媒通路71が形成されている。この入口側冷媒通路71の側壁面には、入口用冷媒通路21と連通する入口連通孔31が複数形成されている。この入口連通孔31の孔径、配置間隔は、ヘッダタンクの入口用冷媒通路21の孔径、配置間隔と同一となるように設定されている。なお、入口側冷媒通路71の側壁面には出口用冷媒通路22と連通する孔は形成されていない。  FIG. 8 is a cross-sectional view showing a configuration of the
  図9は、出口サブタンク80の構成を示す断面図であり、図1のB−B線断面図に相当する。出口サブタンク80は、板厚の厚い金属部材により構成され、内部には長手方向に沿って波形形状の出口側冷媒通路81が形成されている。この出口側冷媒通路81の側壁面には、出口用冷媒通路22と連通する出口連通孔41が複数形成されている。この出口連通孔41の孔径、配置間隔は、ヘッダタンクの出口用冷媒通路22の孔径、配置間隔と同一となるように設定されている。なお、出口側冷媒通路81の側壁面には入口用冷媒通路21と連通する孔は形成されていない。  FIG. 9 is a cross-sectional view showing the configuration of the outlet sub-tank 80, and corresponds to a cross-sectional view taken along line BB in FIG. The outlet sub-tank 80 is made of a thick metal member, and a corrugated outlet-
  このような構成とすることにより、入口連通孔31と出口連通孔41とが直線状に並べられ、ヘッダタンク及び各サブタンクを他の実施形態に比べて薄くすることができる。よって、同一の外径寸法において、熱交換面積を大きくすることができるとともに、軽量化することができる。  By adopting such a configuration, the
  1、2…熱交換器
  10…コア部
  11…チューブ
  11a…冷媒入口端部
  11b…冷媒出口端部
  12…フィン
  13…サイドプレート
  20、50…ヘッダタンク
  21…入口用冷媒通路
  22…出口用冷媒通路
  23…チューブ挿入孔
  30、70…入口サブタンク
  31…入口連通孔
  32、61、71…入口側冷媒通路
  40、80…出口サブタンク
  41…出口連通孔
  42、62、81…出口側冷媒通路
  60…共用サブタンク
  63…中間壁
DESCRIPTION OF
| Application Number | Priority Date | Filing Date | Title | 
|---|---|---|---|
| JP2006088743AJP2007263453A (en) | 2006-03-28 | 2006-03-28 | Heat exchanger | 
| Application Number | Priority Date | Filing Date | Title | 
|---|---|---|---|
| JP2006088743AJP2007263453A (en) | 2006-03-28 | 2006-03-28 | Heat exchanger | 
| Publication Number | Publication Date | 
|---|---|
| JP2007263453Atrue JP2007263453A (en) | 2007-10-11 | 
| Application Number | Title | Priority Date | Filing Date | 
|---|---|---|---|
| JP2006088743APendingJP2007263453A (en) | 2006-03-28 | 2006-03-28 | Heat exchanger | 
| Country | Link | 
|---|---|
| JP (1) | JP2007263453A (en) | 
| Publication number | Priority date | Publication date | Assignee | Title | 
|---|---|---|---|---|
| WO2025022993A1 (en)* | 2023-07-21 | 2025-01-30 | サンデン株式会社 | Heat exchanger | 
| Publication number | Priority date | Publication date | Assignee | Title | 
|---|---|---|---|---|
| WO2025022993A1 (en)* | 2023-07-21 | 2025-01-30 | サンデン株式会社 | Heat exchanger | 
| Publication | Publication Date | Title | 
|---|---|---|
| JP5002797B2 (en) | Heat exchanger | |
| JP5142109B2 (en) | Evaporator | |
| JPH11294984A (en) | Juxtaposed integrated heat exchanger | |
| JP2006132920A (en) | Heat exchanger | |
| JP2006138620A (en) | Heat exchanger | |
| JP2004225961A (en) | Multi-flow type heat exchanger | |
| JP2006170598A (en) | Heat exchanger | |
| JP4533726B2 (en) | Evaporator and manufacturing method thereof | |
| JPH0345300B2 (en) | ||
| CN108709445B (en) | Cold insulation heat exchanger | |
| JP2005030741A (en) | Heat exchanger | |
| JP4786234B2 (en) | Heat exchanger | |
| JP5194279B2 (en) | Evaporator | |
| JP2007263453A (en) | Heat exchanger | |
| JP4774295B2 (en) | Evaporator | |
| EP1657513B1 (en) | Heat exchanger | |
| JP5508818B2 (en) | Evaporator | |
| JPH0345302B2 (en) | ||
| JP2006170601A (en) | Evaporator | |
| JP2005090946A (en) | Heat exchanger and evaporator | |
| JPH0345301B2 (en) | ||
| JP2009113625A (en) | Evaporator | |
| JP2005195317A (en) | Heat exchanger | |
| JP2006194576A (en) | Evaporator | |
| JPH11294991A (en) | Integrally juxtaposed heat exchanger |