






本発明は、発光ダイオードランプなどの発光装置に関する。 The present invention relates to a light emitting device such as a light emitting diode lamp.
発光ダイオード(LED:Light Emitting Diode)を用いたLEDランプは、液晶ディスプレイ、携帯電話、情報端末などのバックライト、屋内外広告など、多方面への展開が飛躍的に進んでいる。さらに、LEDランプは、長寿命で信頼性が高く、また低消費電力、耐衝撃性、高純度表示色、軽薄短小化の実現などの特徴を有することから、産業用途のみならず一般照明用途への適用も試みられている。このようなLEDランプを種々の用途に適用する場合、白色発光を得ることが重要となる。 LED lamps using light emitting diodes (LEDs) are rapidly expanding in various fields such as backlights for liquid crystal displays, mobile phones, information terminals, and indoor / outdoor advertisements. In addition, LED lamps have features such as long life and high reliability, and low power consumption, impact resistance, high purity display color, lightness, thinness, and other features. Application of is also being attempted. When such an LED lamp is applied to various uses, it is important to obtain white light emission.
LEDランプで白色発光を実現する代表的な方式としては、(1)青、緑および赤の各色に発光する3つのLEDチップを使用する方式、(2)青色発光のLEDチップと黄色発光の蛍光体とを組合せる方式、(3)紫外線発光のLEDチップと青色、緑色および赤色発光の三色混合蛍光体とを組合せる方式、の3つが挙げられる。これらのうち、一般には(2)の方式が広く実用化されている(例えば、特許文献1参照)。 As a typical method for realizing white light emission with an LED lamp, (1) a method using three LED chips emitting blue, green and red colors, and (2) a blue light emitting LED chip and yellow light emitting fluorescence. There are three methods: a method of combining the body, and (3) a method of combining an LED chip that emits ultraviolet light and a three-color mixed phosphor that emits blue, green, and red light. Of these, the method (2) is generally widely used (see, for example, Patent Document 1).
このようなLEDランプの構造としては、表面実装型(SMD)や砲弾型のようなカップ形状の中にLEDチップを配置し、所望の色を発する蛍光体を混合した透明樹脂を流し込み、これを固化させて蛍光体を含有する蛍光体層を形成した構造が一般的である。 As a structure of such an LED lamp, an LED chip is arranged in a cup shape such as a surface mount type (SMD) or a shell type, and a transparent resin mixed with a phosphor emitting a desired color is poured, and this is used. A structure in which a phosphor layer containing a phosphor is formed by solidification is generally used.
ところで、一般照明用の発光装置に求められている特性として、高効率性に加え、演色性と呼ばれる色の見え方が重視されている。演色性は、太陽光、白熱灯に近い白色光を基準光として、その基準光の色彩を忠実に再現しているかを評価したものである。 By the way, as a characteristic required for a light-emitting device for general illumination, in addition to high efficiency, a color appearance called color rendering is emphasized. The color rendering is an evaluation of whether the color of the reference light is faithfully reproduced using sunlight or white light close to an incandescent lamp as the reference light.
現在主流となっている白色LEDは上記(2)の方式であるが、この方式では、青色光及びその補色関係にある黄色光の成分が多くなるので、赤み成分が不足することとなり、演色性が十分ではない。演色性を向上させるために、黄色発光の蛍光体に加えて、窒化物系や硫化物系などの赤色発光の蛍光体を配合することが行われている。しかし、赤色蛍光体を使用するとLEDランプの発光効率が大幅に下がるという問題を抱えている。すなわち、演色性が良く、かつ、効率の良い白色光を得ることが困難である。 The white LED currently in the mainstream is the method of (2) above. However, in this method, the amount of blue light and yellow light components complementary to each other increases, so the redness component is insufficient and the color rendering property is reduced. Is not enough. In order to improve color rendering properties, in addition to a yellow light emitting phosphor, a red light emitting phosphor such as a nitride or sulfide is compounded. However, when a red phosphor is used, there is a problem that the luminous efficiency of the LED lamp is significantly lowered. That is, it is difficult to obtain white light with good color rendering properties and high efficiency.
そこで、LEDランプの発光効率を低下させずに、赤み成分を補って演色性を向上させる対策として、赤色蛍光体ではなく赤色LEDチップを用いることも提案されている(例えば特許文献2)。
しかし、青色と赤色というようなそれぞれ異なる色を発する2つのLEDチップを、例えば同一基板に並べて配設するなど、LEDランプの光の取り出し方向に対して垂直な同一面上で離間させて配設すると、色むらが生じやすく、均一な白色光を得ることが難しい。 However, two LED chips that emit different colors such as blue and red are arranged on the same substrate, for example, arranged side by side on the same plane perpendicular to the light extraction direction of the LED lamp. Then, uneven color is likely to occur, and it is difficult to obtain uniform white light.
本発明はこのような状況を考慮してなされたもので、発光効率の低下を抑制しつつ、色むらの発生を抑え、演色性のよい発光装置を提供することを目的としている。 The present invention has been made in consideration of such a situation, and an object of the present invention is to provide a light-emitting device with good color rendering properties by suppressing the occurrence of color unevenness while suppressing a decrease in luminous efficiency.
請求項1記載の発光装置は、基体と;前記基体に対向して配設された透光板と;前記透光板側に配置され、可視光を放射する第1の発光素子と;前記基体側に配置され、前記第1の発光素子とは異なる波長の可視光を放射する第2の発光素子と;前記第1又は第2の発光素子を覆うように形成され、前記第1又は第2の発光素子から放射された光により励起されて可視光を発する蛍光体を含有する蛍光体含有樹脂層と;を具備することを特徴としている。 The light-emitting device according to
請求項2記載の発光装置は、請求項1記載の発光装置において、前記第1の発光素子と前記第2の発光素子とは、正対し、光の取り出し方向に互いに離間して配設されていることを特徴としている。 The light emitting device according to
請求項3記載の発光装置は、請求項1乃至3いずれか1項記載の発光装置において、光を放射する面を互いに対向させ、間に前記蛍光体を介在させて配設されていることを特徴としている。 The light-emitting device according to
請求項4記載の発光装置は、請求項1乃至3いずれか1項記載の発光装置において、前記第1の発光素子は青色光を放射する青色発光素子であり、前記第2の発光素子は赤色光を放射する赤色発光素子であることを特徴としている。すなわち、請求項1乃至3いずれか1項記載の発光装置において、光の取り出し方向に対して、手前側には青色発光素子が配設され、奥側には赤色発光素子が配設されていることを特徴としている。 The light-emitting device according to
本発明において、用語の定義および技術的意味は、特に指定しない限り以下の通りである。 In the present invention, definitions and technical meanings of terms are as follows unless otherwise specified.
基体は、例えば回路パターンやリード端子のような配線部を有する基板と、この基板上に設けられ外部に開口した凹部を有するフレームとから構成されるものである。この凹部内に発光素子が配置され実装される。なお、基体は、フレームを使用せずに基板上に直接凹部を形成したものであってもよい。 The base is composed of a substrate having a wiring portion such as a circuit pattern or a lead terminal, and a frame having a recess provided on the substrate and opened to the outside. A light emitting element is disposed and mounted in the recess. The base may be one in which a recess is formed directly on the substrate without using a frame.
発光素子は、可視光を放射するもので、例えば、LEDチップなどが挙げられるが、これに限定されるものではない。青色光を放射する青色発光素子や、緑色光を放射する緑色発光素子のように、蛍光体を励起して、それより長波長の可視光に変換させることが可能な発光素子であってもよいし、赤色光を放射する赤色発光素子のように、蛍光体を励起させない発光素子であってもよい。 The light emitting element emits visible light and includes, for example, an LED chip, but is not limited thereto. It may be a light emitting element that can excite a phosphor and convert it into visible light having a longer wavelength, such as a blue light emitting element that emits blue light or a green light emitting element that emits green light. However, it may be a light emitting element that does not excite the phosphor, such as a red light emitting element that emits red light.
蛍光体は、発光素子から放射された光により励起されて可視光を発し、この蛍光体から発せられる可視光と、発光素子から放射される光との混色によって、あるいは蛍光体から発せられる可視光または可視光自体の混色によって、発光装置として所望の発光色を得るものである。蛍光体の種類は特に限定されるものではなく、目的とする発光色や発光素子から放射される光等に応じて適宜に選択される。 The phosphor is excited by the light emitted from the light emitting element to emit visible light, and the visible light emitted from the phosphor by the color mixture of the visible light emitted from the phosphor and the light emitted from the light emitting element. Alternatively, a desired light emitting color is obtained as a light emitting device by mixing visible light itself. The type of the phosphor is not particularly limited, and is appropriately selected according to the intended emission color, light emitted from the light emitting element, and the like.
本発明において、互いに異なる波長の可視光を放射する2種類の発光素子と、1種類以上の蛍光体とが用いられる。 In the present invention, two types of light emitting elements that emit visible light having different wavelengths and one or more types of phosphors are used.
2種類の発光素子のうちの一方としては、青色光を放射する青色発光素子が用いられる。青色発光素子としては、例えば、波長420nm〜480nmの範囲に発光のピークを有する青色LEDチップが用いられる。 As one of the two types of light emitting elements, a blue light emitting element that emits blue light is used. As the blue light emitting element, for example, a blue LED chip having a light emission peak in a wavelength range of 420 nm to 480 nm is used.
青色発光素子と共に用いられる他方の発光素子としては、例えば赤色光を放射する赤色発光素子が挙げられる。赤色発光素子としては、例えば、波長610nm〜700nmの範囲に発光のピークを有する赤色LEDチップが用いられる。この場合、蛍光体として、波長490nm〜510nmの範囲に発光のピークを有する緑色蛍光体や波長530nm〜580nmの範囲に発光のピークを有する黄色蛍光体などが用いられる。 Examples of the other light emitting element used together with the blue light emitting element include a red light emitting element that emits red light. As the red light emitting element, for example, a red LED chip having a light emission peak in a wavelength range of 610 nm to 700 nm is used. In this case, as the phosphor, a green phosphor having an emission peak in the wavelength range of 490 nm to 510 nm, a yellow phosphor having an emission peak in the wavelength range of 530 nm to 580 nm, or the like is used.
青色発光素子と共に用いられる他方の発光素子としては、緑色光を放射する緑色発光素子を用いてもよい。緑色発光素子としては、例えば、波長490nm以上540nm未満の範囲に発光のピークを有する緑色LEDチップが用いられる。この場合、蛍光体として、波長590nm〜610nmの範囲に発光のピークを有する橙色蛍光体や波長620nm〜670nmの範囲に発光のピークを有する赤色蛍光体などが用いられる。 As the other light-emitting element used together with the blue light-emitting element, a green light-emitting element that emits green light may be used. As the green light emitting element, for example, a green LED chip having a light emission peak in a wavelength range of 490 nm or more and less than 540 nm is used. In this case, an orange phosphor having an emission peak in the wavelength range of 590 nm to 610 nm, a red phosphor having an emission peak in the wavelength range of 620 nm to 670 nm, or the like is used as the phosphor.
請求項2に記載の発光装置において、第1の発光素子と第2の発光素子とは、正対している。正対とは、まっすぐ対向していることをいうが、発光素子の中心同士が完全に重なり合うほどまっすぐ対向している必要はなく、多少ずれていてもよい。 The light emitting device according to
上記1種類以上の蛍光体の透明樹脂に対する配合割合は、発光装置からの発光の平均演色評価数Raが高く、かつ高い発光効率が得られるように調整される。 The blending ratio of the one or more phosphors to the transparent resin is adjusted so that the average color rendering index Ra of light emission from the light emitting device is high and high light emission efficiency is obtained.
蛍光体を含む蛍光体層は、前記1種類または2種類の蛍光体を、シリコーン樹脂やエポキシ樹脂のような透明樹脂に加えて混合・分散させた層として形成される。発光素子の外側を覆うように形成することができるが、発光素子を直接覆うようにして透明樹脂層を形成し、その上に前記した1種類または2種類の蛍光体を含む層を設けることも可能である。 The phosphor layer containing the phosphor is formed as a layer in which the one or two phosphors are mixed and dispersed in addition to a transparent resin such as a silicone resin or an epoxy resin. Although it can be formed so as to cover the outside of the light emitting element, a transparent resin layer is formed so as to directly cover the light emitting element, and a layer containing one or two kinds of phosphors may be provided thereon. Is possible.
そして、2種類の発光素子は、光の取り出し側からみて、手前側と奥側とに、離間して配設されている。青色発光素子は、手前側と奥側のいずれに配置することもできるが、手前側に配置したほうが好ましい。 The two types of light-emitting elements are disposed apart from each other on the near side and the far side as viewed from the light extraction side. The blue light emitting element can be arranged on either the near side or the far side, but is preferably arranged on the near side.
請求項1記載の発明によれば、互いに異なる波長の可視光を放射する2種類の発光素子を用いているので、発光効率の低下を抑制しつつ、演色性のよい発光装置を提供することができる。それと共に、これらの発光素子を凹部内の底面側と透光板側にそれぞれ配置しているので、光の取り出し方向に沿って離間して対向させて配置することが可能となる。 According to the first aspect of the present invention, since two types of light emitting elements that emit visible light having different wavelengths are used, it is possible to provide a light emitting device with good color rendering while suppressing a decrease in light emission efficiency. it can. At the same time, since these light emitting elements are respectively arranged on the bottom surface side and the light transmitting plate side in the recess, it is possible to dispose them facing each other along the light extraction direction.
請求項2記載の発明によれば、請求項1記載の発明において、前記第1の発光素子と前記第2の発光素子とは、正対し、光の取り出し方向に互いに離間して配設されているので、光の取り出し効率を向上させつつ、色むらを低減することができる。 According to a second aspect of the present invention, in the first aspect of the invention, the first light emitting element and the second light emitting element face each other and are spaced apart from each other in the light extraction direction. Therefore, color unevenness can be reduced while improving the light extraction efficiency.
請求項3記載の発明によれば、請求項1又は2記載の発明において、前記第1の発光素子と前記第2の発光素子とを、光を放射する面を互いに対向させ、間に前記蛍光体を介在させて配設しているので、色むらが生じにくくなる。これにより、発光効率の低下を抑制しつつ、色むらの発生を抑え、演色性のよい発光装置を提供することができる。 According to a third aspect of the present invention, in the first or second aspect of the present invention, the first light emitting element and the second light emitting element are arranged such that light emitting surfaces are opposed to each other, and the fluorescent light is interposed therebetween. Since the body is interposed, uneven color is less likely to occur. As a result, it is possible to provide a light emitting device with good color rendering properties by suppressing the occurrence of color unevenness while suppressing a decrease in light emission efficiency.
請求項4記載の発明によれば、請求項1乃至3いずれか1項記載の発明において、光の取り出し方向に対して、手前側には青色発光素子を、奥側には赤色発光素子を配設しているので、発光効率の低下を抑制しつつ、色むらの発生を抑え、演色性のよい発光装置を提供することができる。 According to the invention described in
すなわち、本発明によれば、1種類の発光素子のみを使う場合に比べて発光効率を向上させつつ、異なる2色の発光素子を用いる場合に生じやすい色むらの発生を抑え、演色性を向上させることが可能な発光装置を提供することができる。 That is, according to the present invention, while improving the light emission efficiency as compared with the case of using only one type of light emitting element, the occurrence of color unevenness that tends to occur when using light emitting elements of two different colors is suppressed, and the color rendering is improved. It is possible to provide a light emitting device that can be used.
以下、本発明を実施するための形態について、図面を参照して説明する。なお、複数の図面中、同一または相当する部分には同一の符号を付している。 Hereinafter, embodiments for carrying out the present invention will be described with reference to the drawings. In addition, the same code | symbol is attached | subjected to the part which is the same or it corresponds in several drawing.
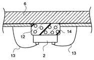
図1は、本発明の発光装置をLEDランプに適用した一実施形態の構成を示す断面図である。図1において、符号Lで示す矢印は、LEDランプ1の光の取り出し方向を示している。図2は、図1に示すLEDランプを光の取り出し側から見た平面図である。図3は、図1に示すLEDランプ1の複数個を、例えば一平面上に3行3列のマトリックス状に配置したLEDモジュールの一例を示す平面図、図4は、図3のA−A’線断面図である。なお、LEDジュールは、複数個のLEDランプ1を1列状に配置して形成してもよく、さらにLEDランプ1は単数でもよい。 FIG. 1 is a cross-sectional view showing a configuration of an embodiment in which a light emitting device of the present invention is applied to an LED lamp. In FIG. 1, an arrow indicated by a symbol L indicates a light extraction direction of the
図1に示すようにLEDランプ1は、互いに異なる波長域の可視光を放射する発光素子として、青色発光タイプのLEDチップ(青色LEDチップ)2と、赤色発光タイプのLEDチップ(赤色LEDチップ)3とを有している。図1及び図2に示すように、青色LEDチップ2と赤色LEDチップ3とは、正対し、光の取り出し方向に互いに離間して配設されている。 As shown in FIG. 1, an
また、図1に示すようにLEDランプ1は、表面に凹部4を備えた基体5を有している。凹部4の開口端には、LEDランプ1からの光が取り出される面を構成する透光板6が配設され、凹部4の開口部は透光板6によって覆われている。基体5は、例えば、基板7上に電気絶縁層8、回路パターン9及びフレーム10が順に設けられた構造を有し、凹部4はフレーム10に形成されている。凹部4を有するフレーム10は、例えばPBT(ポリブチレンテレフタレート)、PPA(ポリフタルアミド)、PC(ポリカーボネート)などの合成樹脂から構成されている。 As shown in FIG. 1, the
凹部4は、その底面から開口部側に向かって広がった形状であり、その開口端が、例えば直径2.5〜3.5mm程度の円形とされている。この凹部4の深さ(開口端から底面までの距離)は、例えば0.5〜1.5mmとされている。このように凹部4の大きさを設定することにより、必要かつ十分な量の蛍光体を確保することができるので、色温度の調整(特に、低い色温度の調整)がし易いうえに高い発光効率を得ることができる。 The
このような凹部4内の底面及び内壁面には、LEDチップ2、3や蛍光体から発せられた可視光を反射する反射層が形成されている(図示せず)。これにより、凹部4内で発せられる光を効果的に取り出すことができる。 On the bottom surface and the inner wall surface in the
凹部4内には、青色LEDチップ2及び赤色LEDチップ3が配置され、収容されている。そして、青色LEDチップ2及び赤色LEDチップ3が収容された凹部4内には、青色LEDチップ2から放射された光の一部を吸収して励起されて可視光を発する蛍光体を透明樹脂に混合し分散させた蛍光体含有樹脂が塗布・充填されている。青色LEDチップ2及び赤色LEDチップ3はこのような蛍光体含有樹脂層11により覆われている。透明樹脂としては、例えばシリコーン樹脂やエポキシ樹脂などが用いられる。 In the
透光板6は、全光線透過率が70%以上であることが好ましい。全光線透過率が70%未満だと、発光装置として十分な光を取り出すことが困難になる。透光板としては、アクリル樹脂性などの硬質な平板を用いることができるが、透光性アルミナなどにより構成してもよい。この透光板6に、第1の発光素子としての青色LEDチップ2を接続するための、陰極側と陽極側の回路パターン9が例えば、CuとNiの合金やAuなどにより形成されている。この回路パターン9は、光の取り出しの妨げとならないようにするため、例えば10μm〜50μm程度の細さの線状に形成される。ITO(Indium Tin Oxide)などの透明な導電体で構成してもよい。 The
基板7は、例えば放熱性と剛性を有するアルミニウム(Al)やニッケル(Ni)、ガラスエポキシなどの平板から成り、その上に電気絶縁層8を介して、第2の発光素子としての赤色LEDチップ3を接続するための陰極側と陽極側の回路パターン9が、例えばCuとNiの合金やAuなどの導体により、それぞれ形成されている。 The
青色LEDチップ2は、透光板6の凹部4側の面に接着材12により固定され、陰極側と陽極側のそれぞれの電極側の回路パターン9に、金線などのボンディングワイヤ13を介して電気的に接続されている。赤色LEDチップ3は、基板7の凹部4側の面に接着材12により固定され、陰極側と陽極側のそれぞれの電極側の回路パターン9に、金線などのボンディングワイヤ13を介して電気的に接続されている。青色LEDチップ2の電極接続構造としては、フリップチップ接続構造を適用することもできる。赤色LEDチップ3の接続についても同様である。回路パターン9は、上記したように青色LEDチップ2用が透光板6に、赤色LEDチップ3用が基板7に、それぞれ別個に形成されているが、青色LEDチップ2と赤色LEDチップ3とを同時に発光できるように構成されている。 The
発光素子として、青色LEDチップと赤色LEDチップとの2種類を用いる場合には、蛍光体として、黄色光を発する黄色蛍光体を用いることで白色光を得ることができるが、緑色光を発する緑色蛍光体も用いるとよい。そうすることで、発光効率の低下を抑制しつつ演色性を高めることができる。 When two types of blue LED chip and red LED chip are used as the light emitting element, white light can be obtained by using a yellow phosphor that emits yellow light as a phosphor, but green that emits green light. A phosphor may also be used. By doing so, it is possible to improve color rendering while suppressing a decrease in luminous efficiency.
緑色蛍光体としては、例えば、(AEx(Si,Al)12(N,O)16:Eu蛍光体等のサイアロン蛍光体(AEは、Sr、Ba、Caなどのアルカリ土類元素を示す。)、RE3(Al,Ga)5O12:Ce蛍光体(REは、Y、GdおよびLaから選ばれる少なくとも1種を示す。)などのYAG蛍光体、(Cax,Cey)Scz(SinGem)O12蛍光体(ただし3≧x,y,z,n,m≧0)、(Sr,Ba,Ca)SiO4:EuxCey蛍光体(ただし1≧x,y≧0、1≧xy≧0)等の珪酸塩蛍光体が用いられる。Examples of the green phosphor include sialon phosphors such as (AEx (Si, Al)12 (N, O)16 : Eu phosphor (AE represents an alkaline earth element such as Sr, Ba, and Ca).), RE 3 (Al, Ga ) 5 O 12:. Ce phosphor (RE is, Y, indicating at least one selected from Gd and La) YAG phosphor, suchas, (Ca x, Ce y) Sc z(Si nGem) O 12 phosphor (where 3 ≧ x, y, z, n, m ≧ 0), (Sr, Ba, Ca) SiO 4: Eu x Ce y phosphor (where 1 ≧ x, y Silicate phosphors such as ≧ 0, 1 ≧ xy ≧ 0) are used.
黄色蛍光体としては、例えばRE3(Al,Ga)5O12:Ce蛍光体(REはY、GdおよびLaから選ばれる少なくとも1種を示す。)等のYAG蛍光体、AE2SiO4:Eu蛍光体(AEはSr、Ba、Ca等のアルカリ土類元素である。)等の珪酸塩蛍光体、n−UVLEDBGR、窒化物蛍光体、酸窒化物蛍光体等が用いられる。Examples of yellow phosphors include YAG phosphors such as RE3 (Al, Ga)5 O12 : Ce phosphor (RE represents at least one selected from Y, Gd and La), AE2 SiO4 : Silicate phosphors such as Eu phosphor (AE is an alkaline earth element such as Sr, Ba and Ca), n-UVLEDBGR, nitride phosphor, oxynitride phosphor and the like are used.
図5は、本実施形態のLEDランプ1の製造方法を概略的に示す図である。図5に示すように、本実施形態のLEDランプ1は、次のようにして製造される。まず、透光板6に青色LEDチップ2を実装したものと、基体5の凹部4底面に赤色LEDチップ3が実装されたものをそれぞれ用意する。一方、上記蛍光体をシリコーン樹脂中に所定の配合比で混合し、分散させる。次に、こうして得られた蛍光体含有シリコーン樹脂を、ディスペンサで、赤色LEDチップ3が実装された凹部4内に充填した後、シリコーン樹脂を硬化させて蛍光体含有樹脂層11を形成する(図5下側参照)。次に、蛍光体含有樹脂層11が形成された凹部4の開口部を覆うように、そして、青色LEDチップ2と赤色LED3チップとが正対するように、青色LEDチップ2が搭載された透光板6と基体5とを対向させて、透光板6を基体5上に積層し、固定する。このようにして、図1に模式的に示す構成を有するLEDランプが作成される。 FIG. 5 is a view schematically showing a method for manufacturing the
本実施形態のLEDランプ1では、印加された電気エネルギーが青色LEDチップ2で主波長が420〜480nm(例えば460nm)の青色光に変換されて放射される。放射された青色光は、蛍光体含有樹脂層11中に含有された蛍光体により、より長波長の光に変換される。また、印加された電気エネルギーが赤色LEDチップ3で主波長が600〜700nm(例えば630nm)の赤色光に変換されて放射される。そして、青色LEDチップ2から放射される青色光と、赤色LEDチップ3から放射される赤色光と、上記蛍光体の発光色とが交じり合った色である白色光(混色光)が、透光板6を透過してLEDランプ1から放出される。 In the
そして、青色LEDチップ2と赤色LEDチップ3とは、正対している。青色LEDチップ2と赤色LEDチップ3とは、互いに対向し離間して配置された2つの異なる基板(透光板6および基板7)にそれぞれ配置されているから、光の取り出し方向に互いに離間して配設されている。すなわち、LEDランプ1の光の取り出し方向に対して重なるように両LEDチップが配置されているので、同一基板上に並べて配置されている場合に生じるような色むらは生じにくい。なお、完全に正対している必要はなく、多少ずれていてもよい。 The
また、青色LEDチップ2及び赤色LEDチップ3は、それぞれ、開口端または底面のほぼ中央に配置されている。このように、配置することで、LEDチップからの光がほぼ均等に放射され取り出されるので、色むらを低減することができる。 Further, the
また、青色LEDチップ2は、LEDランプ1の光の取り出し側から見て手前側(図1に示す上側)に配設され、赤色LEDチップ3は、奥側(図1に示す下側)に配設されている。この場合において、青色LEDチップ2は、青色光が放射される面を手前側に向けて配設することもできるが、奥側に向けたほうが好ましい。そうすることにより、青色LEDチップ2からの青色光は、より確実に凹部4内の蛍光体含有樹脂層11に向けて放射されるから、上記蛍光体を励起させることができる。蛍光体間の隙間を通った青色光、蛍光体により発せられた可視光、および、赤色LEDチップ3から放射された赤色光は、凹部4の底面側又は内壁面に反射されて凹部4の開口部側から放出されるので、より好ましく混色された白色光が得られる。 The
なお、この場合、図6に示すように、蛍光体含有樹脂層11は、青色LEDチップ2を覆うように、青色LEDチップ2の周辺に形成されていればよく、符号15に示すように、凹部4内の青色LEDチップ2から遠い領域には、蛍光体を含有させなくて良い。そのような構成は、図5上部に示す段階で、透光板6側に蛍光体含有樹脂層11を形成することで製造できる。その場合でも、凹部4内にはシリコーンなどの透明樹脂を充填したほうが好ましい。 In this case, as shown in FIG. 6, the phosphor-containing
なお、青色LEDチップ2を青色光が放射される面を手前側(透光板6側)に向けて配設する場合には、青色光が蛍光体含有樹脂層11に含有された蛍光体に放射されにくくなる。たとえば図7に示すように、青色LEDチップ2を透光板6に固定するための接着材12に、蛍光体14を含有させるとよい。そうすることで、青色LEDチップ2から放射された青色光は、接着材12に含有された蛍光体14によって、より長波長の可視光に変換されるから、より好ましい混色光(白色光)を取り出すことができる。 In the case where the
本実施形態のLEDランプ1は、上記のように構成されているので、本実施形態のLEDランプ1によれば、発光効率の低下を抑制しつつ、色むらの発生を抑え、演色性のよい発光装置を提供することができる。 Since the
本発明は上記実施の形態の記載内容に限定されるものではなく、構造や材質、各部材の配置等は、本発明の要旨を逸脱しない範囲で適宜変更可能である。 The present invention is not limited to the description of the above embodiment, and the structure, material, arrangement of each member, and the like can be appropriately changed without departing from the gist of the present invention.
例えば、上記実施形態では、LEDランプ1の光の取り出し側から見たとき、手前側に青色LEDチップ2を、奥側に赤色LEDチップを配置したが、逆でもよい。その場合でも、両LEDチップは、光が放射される面を互いに対向させて配置すると良い。 For example, in the above embodiment, when viewed from the light extraction side of the
また、発光素子として、青色LEDチップと緑色発光タイプの緑色LEDチップとの2種類を用いることもできる。その場合には、蛍光体として、黄色光を発する黄色蛍光体を用いることで白色光を得ることができるが、緑色光を発する緑色蛍光体も用いるとよい。そうすることで、発光効率の低下を抑制しつつ演色性を高めることができる。 Two types of light emitting elements, a blue LED chip and a green light emitting type green LED chip, can also be used. In that case, white light can be obtained by using a yellow phosphor that emits yellow light as the phosphor, but a green phosphor that emits green light may also be used. By doing so, it is possible to improve color rendering while suppressing a decrease in luminous efficiency.
1…LEDランプ、2…青色LEDチップ、3…赤色LEDチップ、4…凹部、5…基体、6…透光板、7…基板、8…電気絶縁層、9…回路パターン、10…フレーム、11…蛍光体含有樹脂層、12…接着材、13…ボンディングワイヤ、20…LEDモジュール。 DESCRIPTION OF
| Application Number | Priority Date | Filing Date | Title |
|---|---|---|---|
| JP2006084291AJP2007258620A (en) | 2006-03-24 | 2006-03-24 | Light emitting device |
| Application Number | Priority Date | Filing Date | Title |
|---|---|---|---|
| JP2006084291AJP2007258620A (en) | 2006-03-24 | 2006-03-24 | Light emitting device |
| Publication Number | Publication Date |
|---|---|
| JP2007258620Atrue JP2007258620A (en) | 2007-10-04 |
| Application Number | Title | Priority Date | Filing Date |
|---|---|---|---|
| JP2006084291AWithdrawnJP2007258620A (en) | 2006-03-24 | 2006-03-24 | Light emitting device |
| Country | Link |
|---|---|
| JP (1) | JP2007258620A (en) |
| Publication number | Priority date | Publication date | Assignee | Title |
|---|---|---|---|---|
| WO2011112342A3 (en)* | 2010-03-09 | 2011-12-22 | Cree, Inc. | High cri lighting device with added long-wavelength blue color |
| US8410680B2 (en) | 2005-01-10 | 2013-04-02 | Cree, Inc. | Multi-chip light emitting device lamps for providing high-CRI warm white light and light fixtures including the same |
| US8491140B2 (en) | 2010-11-05 | 2013-07-23 | Cree, Inc. | Lighting device with multiple emitters and remote lumiphor |
| US8513873B2 (en) | 2005-01-10 | 2013-08-20 | Cree, Inc. | Light emission device |
| US8664846B2 (en) | 2011-04-11 | 2014-03-04 | Cree, Inc. | Solid state lighting device including green shifted red component |
| US8884508B2 (en) | 2011-11-09 | 2014-11-11 | Cree, Inc. | Solid state lighting device including multiple wavelength conversion materials |
| US9030103B2 (en) | 2013-02-08 | 2015-05-12 | Cree, Inc. | Solid state light emitting devices including adjustable scotopic / photopic ratio |
| US9039746B2 (en) | 2013-02-08 | 2015-05-26 | Cree, Inc. | Solid state light emitting devices including adjustable melatonin suppression effects |
| US9240528B2 (en) | 2013-10-03 | 2016-01-19 | Cree, Inc. | Solid state lighting apparatus with high scotopic/photopic (S/P) ratio |
| US9648673B2 (en) | 2010-11-05 | 2017-05-09 | Cree, Inc. | Lighting device with spatially segregated primary and secondary emitters |
| Publication number | Priority date | Publication date | Assignee | Title |
|---|---|---|---|---|
| US8410680B2 (en) | 2005-01-10 | 2013-04-02 | Cree, Inc. | Multi-chip light emitting device lamps for providing high-CRI warm white light and light fixtures including the same |
| US8513873B2 (en) | 2005-01-10 | 2013-08-20 | Cree, Inc. | Light emission device |
| US8847478B2 (en) | 2005-01-10 | 2014-09-30 | Cree, Inc. | Multi-chip light emitting device lamps for providing high-CRI warm white light and light fixtures including the same |
| US8508117B2 (en) | 2010-03-09 | 2013-08-13 | Cree, Inc. | High CRI lighting device with added long-wavelength blue color |
| US8508127B2 (en) | 2010-03-09 | 2013-08-13 | Cree, Inc. | High CRI lighting device with added long-wavelength blue color |
| WO2011112342A3 (en)* | 2010-03-09 | 2011-12-22 | Cree, Inc. | High cri lighting device with added long-wavelength blue color |
| US9648673B2 (en) | 2010-11-05 | 2017-05-09 | Cree, Inc. | Lighting device with spatially segregated primary and secondary emitters |
| US8491140B2 (en) | 2010-11-05 | 2013-07-23 | Cree, Inc. | Lighting device with multiple emitters and remote lumiphor |
| US8664846B2 (en) | 2011-04-11 | 2014-03-04 | Cree, Inc. | Solid state lighting device including green shifted red component |
| US8884508B2 (en) | 2011-11-09 | 2014-11-11 | Cree, Inc. | Solid state lighting device including multiple wavelength conversion materials |
| US9030103B2 (en) | 2013-02-08 | 2015-05-12 | Cree, Inc. | Solid state light emitting devices including adjustable scotopic / photopic ratio |
| US9039746B2 (en) | 2013-02-08 | 2015-05-26 | Cree, Inc. | Solid state light emitting devices including adjustable melatonin suppression effects |
| US9661715B2 (en) | 2013-02-08 | 2017-05-23 | Cree, Inc. | Solid state light emitting devices including adjustable melatonin suppression effects |
| US9240528B2 (en) | 2013-10-03 | 2016-01-19 | Cree, Inc. | Solid state lighting apparatus with high scotopic/photopic (S/P) ratio |
| Publication | Publication Date | Title |
|---|---|---|
| JP5181505B2 (en) | Light emitting device | |
| JP2007258620A (en) | Light emitting device | |
| JP2007067204A (en) | Light emitting diode device | |
| JP2007214524A (en) | Light emitting device and manufacturing method thereof | |
| JP2009065137A (en) | Light emitting device | |
| JP2007266579A (en) | Light emitting device | |
| JP2008071954A (en) | Light source device | |
| JP6211795B2 (en) | LED light source module | |
| JP2007116133A (en) | Light emitting device | |
| JP2007116117A (en) | Light emitting device | |
| JP5194675B2 (en) | Light emitting device | |
| JP2009111273A (en) | Light emitting device | |
| JP2007288138A (en) | Light emitting device | |
| JP2008218998A (en) | Light emitting device | |
| JP4670251B2 (en) | Light emitting device | |
| EP2720266B1 (en) | Luminescence device | |
| JP2008235552A (en) | LIGHT EMITTING DEVICE MANUFACTURING METHOD AND LIGHT EMITTING DEVICE | |
| JP2008244468A (en) | Light emitting device | |
| EP2713411B1 (en) | Luminescence device | |
| JP2007116116A (en) | Light emitting device | |
| JP2008244469A (en) | Light emitting device | |
| JP2007234818A (en) | Light emitting device | |
| JP2007088060A (en) | Light emitting device | |
| JP2008171931A (en) | Light emitting device | |
| KR100645657B1 (en) | White light emitting diode module with flip chip printed circuit board and flip chip printed circuit board |
| Date | Code | Title | Description |
|---|---|---|---|
| A300 | Withdrawal of application because of no request for examination | Free format text:JAPANESE INTERMEDIATE CODE: A300 Effective date:20090602 |