






























本発明は、直流入力電圧をスイッチングして得られるスイッチング出力を電力変換トランスの出力巻線に取り出すように構成されたスイッチング電源装置に関する。 The present invention relates to a switching power supply device configured to extract a switching output obtained by switching a DC input voltage to an output winding of a power conversion transformer.
従来より、スイッチング電源装置として種々のタイプのものが提案され、実用に供されている。その多くは、電力変換トランスの入力巻線に接続されたスイッチ回路のスイッチング動作により直流入力電圧をスイッチングし、スイッチング出力を電力変換トランスの出力巻線に取り出す方式である。このようなスイッチ回路のスイッチング動作に伴い、出力巻線に現れる電圧は、整流回路によって整流された後、平滑回路によって直流に変換されて出力される。 Conventionally, various types of switching power supply devices have been proposed and put into practical use. Most of them are systems in which a DC input voltage is switched by a switching operation of a switch circuit connected to an input winding of a power conversion transformer and a switching output is taken out to an output winding of the power conversion transformer. Along with the switching operation of such a switch circuit, the voltage appearing in the output winding is rectified by the rectifier circuit, then converted into direct current by the smoothing circuit and output.
この種のスイッチング電源装置では、一定の出力電圧を維持可能な入力電圧範囲の広範化が望まれている。そこで例えば特許文献1では、2つのスイッチング素子(スイッチング回路)に対応してトランスの1次側に同一巻数の巻線を2つ設け、入力電圧の大きさに応じてこれら2つの1次側巻線同士を直列または並列に接続するようにしたスイッチング電源装置が提案されている。 In this type of switching power supply device, it is desired to widen the input voltage range in which a constant output voltage can be maintained. Therefore, for example, in
上記特許文献1の技術によれば、入力電圧の大きさに応じてトランスの1次側巻線と2次側巻線との巻数比を切り換えることができ、一定の出力電圧を維持可能な入力電圧範囲が広範になると考えられる。 According to the technique disclosed in
しなしながらこのスイッチング電源装置では、巻線同士の接続状態としては直列接続状態および並列接続状態の2状態しかないので、変換可能な電圧範囲を十分に広げるのが困難であった。 However, in this switching power supply device, there are only two connection states between the windings, a series connection state and a parallel connection state, and it is difficult to sufficiently expand the convertible voltage range.
また、このスイッチング電源装置では、直列接続状態と並列接続状態との間で接続切換を行う際にトランスの1次側巻線と2次側巻線との巻数比が急激に変化するため、装置内に応答速度が遅い素子があるような場合には、その素子が巻数比の変化に追随できず、出力電圧が不安定になってしまう(出力電圧を一定に保つことが困難になる)という問題があった。 Further, in this switching power supply device, since the turn ratio between the primary side winding and the secondary side winding of the transformer changes abruptly when the connection is switched between the series connection state and the parallel connection state, the device When there is an element with a slow response speed, the element cannot follow the change in the turns ratio, and the output voltage becomes unstable (it becomes difficult to keep the output voltage constant). There was a problem.
本発明はかかる問題点に鑑みてなされたもので、その第1の目的は、変換可能な電圧範囲をより広げることが可能なスイッチング電源装置を提供することにある。 The present invention has been made in view of such problems, and a first object thereof is to provide a switching power supply device capable of further widening a convertible voltage range.
また、本発明の第2の目的は、装置内の各素子の応答速度によらず出力電圧を安定化させることが可能なスイッチング電源装置を提供することにある。 A second object of the present invention is to provide a switching power supply device capable of stabilizing the output voltage regardless of the response speed of each element in the device.
本発明の第1のスイッチング電源装置は、第1および第2の端子対を備え、この第1の端子対側の第1の直流電圧と第2の端子対側の第2の直流電圧との間の電圧変換を行うものであって、第1の端子対側に配置された第1の巻線と、第2の端子対側に配置された互いに巻数の等しい複数の第2の巻線とを有するトランスと、上記複数の第2の巻線側にこれら複数の第2の巻線にそれぞれ対応して設けられた複数の回路と、複数の回路とこれら複数の回路にそれぞれ対応する第2の巻線とから構成される複数の電流経路同士が互いに並列接続、直列接続または直列と並列との混合接続となるように接続切換を行う接続切換手段とを備えたものである。 The first switching power supply device of the present invention includes first and second terminal pairs, and a first DC voltage on the first terminal pair side and a second DC voltage on the second terminal pair side A first winding disposed on the first terminal pair side, and a plurality of second windings disposed on the second terminal pair side and having the same number of turns. A plurality of circuits provided corresponding to the plurality of second windings on the plurality of second winding sides, respectively, and a plurality of circuits and a second corresponding to each of the plurality of circuits. And a connection switching means for switching the connection so that a plurality of current paths composed of the windings of the windings are connected in parallel, in series, or mixed in series and parallel.
本発明の第1のスイッチング電源装置では、複数の回路がそれぞれインバータ回路または整流回路として機能し、トランスの変圧作用によって、第1の端子側の第1の直流電圧と第2の端子側の第2の直流電圧との間で電圧変換がなされる。また、接続切換手段によって、上記複数の電流経路同士が互いに並列接続、直列接続または直列と並列との混合接続となるように接続切換がなされる。ここで、トランスの複数の第2の巻線が、それぞれ複数の回路に対応すると共に互いに巻数が等しいことから、第1の巻線と第2の巻線との巻数比は、直列接続、上記混合接続および並列接続の順に大きくなる。 In the first switching power supply device of the present invention, the plurality of circuits function as an inverter circuit or a rectifier circuit, respectively, and the first DC voltage on the first terminal side and the second DC voltage on the second terminal side by the transformer transformation action. Voltage conversion is performed between the two DC voltages. Further, connection switching is performed by the connection switching means so that the plurality of current paths are connected in parallel to each other, in series connection, or in mixed connection in series and parallel. Here, since the plurality of second windings of the transformer respectively correspond to a plurality of circuits and have the same number of turns, the turns ratio between the first winding and the second winding is the series connection, the above It becomes larger in the order of mixed connection and parallel connection.
本発明の第1のスイッチング電源装置では、入力された第1の直流電圧を電圧変換して第2の直流電圧を出力する場合、すなわち上記複数のスイッチング回路がそれぞれ整流回路として機能する場合には、上記接続切換手段が、この第1の直流電圧の大きさに応じて接続切換を行うようにしてもよい。具体的には、上記接続切換手段が、第1の直流電圧が大きくなるのに従って、直列接続、上記混合接続および並列接続の順に接続切換を行うようにしてもよい。このように構成した場合、第1の直流電圧が大きくなるのに従って第1の巻線と第2の巻線との巻数比も大きくなるため、一定の出力電圧(第2の直流電圧)を維持可能な入力電圧(第1の直流電圧)の範囲が、従来と比べて広くなる。 In the first switching power supply device of the present invention, when the input first DC voltage is voltage-converted to output the second DC voltage, that is, when the plurality of switching circuits function as rectifier circuits, respectively. The connection switching means may perform connection switching according to the magnitude of the first DC voltage. Specifically, the connection switching unit may perform connection switching in the order of series connection, mixed connection, and parallel connection as the first DC voltage increases. When configured in this manner, the turn ratio of the first winding and the second winding increases as the first DC voltage increases, so that a constant output voltage (second DC voltage) is maintained. The range of possible input voltages (first DC voltage) is wider than in the past.
また、逆に入力された第2の直流電圧を電圧変換して第1の直流電圧を出力する場合、すなわち上記複数の回路がそれぞれインバータ回路として機能する場合には、上記接続切換手段が、この第2の直流電圧の大きさに応じて接続切換を行うようにしてもよい。具体的には、上記接続切換手段が、第2の直流電圧が大きくなるのに従って、並列接続、上記混合接続および直列接続の順に接続切換を行うようにしてもよい。このように構成した場合、第2の直流電圧が大きくなるのに従って第1の巻線と第2の巻線との巻数比が小さくなるため、一定の出力電圧(第1の直流電圧)を維持可能な入力電圧(第2の直流電圧)の範囲が、従来と比べて広くなる。 On the other hand, when the second DC voltage inputted in reverse is converted to output the first DC voltage, that is, when each of the plurality of circuits functions as an inverter circuit, the connection switching means Connection switching may be performed according to the magnitude of the second DC voltage. Specifically, the connection switching means may perform connection switching in the order of parallel connection, mixed connection, and series connection as the second DC voltage increases. In this configuration, the turn ratio between the first winding and the second winding decreases as the second DC voltage increases, so that a constant output voltage (first DC voltage) is maintained. The range of possible input voltage (second DC voltage) is wider than in the past.
なお、これらの場合において、上記接続切換手段を、複数の接続切換素子と、上記第1の直流電圧または第2の直流電圧を検出する電圧検出回路と、この電圧検出回路により検出された第1または第2の直流電圧の大きさに応じて上記複数の接続切換素子のオン・オフ状態をそれぞれ制御する第1の制御部とから構成することが可能である。 In these cases, the connection switching means includes a plurality of connection switching elements, a voltage detection circuit for detecting the first DC voltage or the second DC voltage, and a first detected by the voltage detection circuit. Or it is possible to comprise from the 1st control part which controls the ON / OFF state of said several connection switching element according to the magnitude | size of a 2nd DC voltage, respectively.
本発明の第1のスイッチング電源装置では、上記接続切換手段が、第1または第2の直流電圧と所定の複数のしきい値電圧との間で値の大小をそれぞれ比較してその比較結果に基づいて接続切換を行うようにしてもよく、第1または第2の直流電圧の大きさに応じて並列接続の状態のデューティ比、混合接続の状態のデューティ比および直列接続の状態のデューティ比のうちの少なくとも2つがそれぞれ変化するように接続切換を行うようにしてもよい。後者の場合、第1または第2の直流電圧の大きさに応じて接続状態のデューティ比がそれぞれ変化するため、これらの値が急激に変化することはない(連続的に変化する)。なお、後者の場合、上記接続切換手段が、第1の直流電圧が大きくなるのに従って第1の巻線と前記第2の巻線との巻数比が連続的に増加すると共に第2の直流電圧が大きくなるのに従って上記巻数比が連続的に減少するように接続状態のデューティ比をそれぞれ変化させるように構成可能である。 In the first switching power supply device of the present invention, the connection switching means compares the magnitudes of the values between the first or second DC voltage and a plurality of predetermined threshold voltages, respectively. The connection switching may be performed based on the duty ratio in the parallel connection state, the duty ratio in the mixed connection state, and the duty ratio in the series connection state according to the magnitude of the first or second DC voltage. Connection switching may be performed so that at least two of them change. In the latter case, since the duty ratio of the connection state changes according to the magnitude of the first or second DC voltage, these values do not change abruptly (changes continuously). In the latter case, the connection switching means continuously increases the turn ratio between the first winding and the second winding as the first DC voltage increases, and the second DC voltage. It is possible to change the duty ratio of the connected state so that the turn ratio continuously decreases as the value increases.
本発明の第1のスイッチング電源装置では、入力された第2の直流電圧を電圧変換して第1の直流電圧を出力する場合に、上記接続切換手段が、この第1の直流電圧が所定の目標電圧値となるように接続切換を行ってもよい。このように構成した場合、一定の入力電圧(第2の直流電圧)から変換可能な出力電圧(第1の直流電圧)の範囲が、従来と比べて広くなる。 In the first switching power supply device of the present invention, when the input second DC voltage is voltage-converted to output the first DC voltage, the connection switching means has the first DC voltage set to a predetermined value. Connection switching may be performed so that the target voltage value is obtained. When configured in this manner, the range of the output voltage (first DC voltage) that can be converted from a constant input voltage (second DC voltage) is wider than in the past.
この場合には、上記接続切換手段を、複数の接続切換素子と、上記目標電圧値の大きさに応じてこれら複数の接続切換素子のオン・オフ状態をそれぞれ制御する第2の制御部とから構成することが可能である。また、上記接続切換手段が、この目標電圧値が大きくなるのに従って、直列接続、前記混合接続および並列接続の順に接続切換を行うのが好ましい。このように構成した場合、出力電圧(第1の直流電圧)の目標電圧値が大きくなるのにしたがって、第1の巻線と第2の巻線との巻数比も大きくなる。 In this case, the connection switching means includes a plurality of connection switching elements and a second control unit that controls the on / off states of the plurality of connection switching elements according to the magnitude of the target voltage value. It is possible to configure. The connection switching means preferably performs connection switching in the order of serial connection, mixed connection and parallel connection as the target voltage value increases. When configured in this manner, the turn ratio between the first winding and the second winding increases as the target voltage value of the output voltage (first DC voltage) increases.
本発明の第1のスイッチング電源装置では、上記第1の巻線側に、フルブリッジ型やハーフブリッジ型の回路を備えるようにしてもよい。そのように構成した場合、この回路はインバータ回路または整流回路として機能する。また、上記複数の回路をそれぞれ、センタタップ型またはプッシュプル型の回路としてもよく、また、フルブリッジ型の回路としてもよい。なお、センタタップ型の回路の場合にはこの回路は整流回路として機能する一方、プッシュプル回路の場合にはインバータ回路として機能する。また、フルブリッジ型の場合には、この回路は整流回路またはインバータ回路として機能する。 In the first switching power supply device of the present invention, a full bridge type or half bridge type circuit may be provided on the first winding side. In such a configuration, this circuit functions as an inverter circuit or a rectifier circuit. Each of the plurality of circuits may be a center tap type or push-pull type circuit, or may be a full bridge type circuit. In the case of a center tap type circuit, this circuit functions as a rectifier circuit, while in the case of a push-pull circuit, it functions as an inverter circuit. In the case of the full bridge type, this circuit functions as a rectifier circuit or an inverter circuit.
本発明の第2のスイッチング電源装置は、第1および第2の端子対を備え、この第1の端子対側の第1の直流電圧と第2の端子対側の第2の直流電圧との間の電圧変換を行うものであって、第1の端子対側に配置された第1の巻線と、第2の端子対側に配置された互いに巻数の等しい2つの第2の巻線とを有するトランスと、上記2つの第2の巻線側にこれら2つの第2の巻線にそれぞれ対応して設けられ、各々が複数のスイッチング素子を含む2つの回路と、上記第1の直流電圧の大きさに応じて、2つの回路とこれら2つの回路にそれぞれ対応する第2の巻線とから構成される2つの電流経路同士が互いに並列接続された並列接続状態のデューティ比、および2つの電流経路同士が互いに直列接続された直列接続状態のデューティ比がそれぞれ変化するように接続切換を行う接続切換手段とを備えたものである。 The second switching power supply device of the present invention includes first and second terminal pairs, and the first DC voltage on the first terminal pair side and the second DC voltage on the second terminal pair side are A first winding disposed on the first terminal pair side and two second windings disposed on the second terminal pair side and having the same number of turns. A transformer having a plurality of switching elements each provided on the two second winding sides corresponding to the two second windings, and the first DC voltage In accordance with the size of the two current paths composed of two circuits and second windings corresponding to the two circuits, respectively, and a duty ratio in a parallel connection state in which the two current paths are connected in parallel with each other, and two The duty ratio of the serial connection state in which the current paths are connected in series is the same. It is obtained and a connection switching means for performing a connection switching so as to change, respectively.
本発明の第2のスイッチング電源装置では、上記2つの回路がそれぞれインバータ回路または整流回路として機能し、トランスの変圧作用によって、第1の端子側の第1の直流電圧と第2の端子側の第2の直流電圧との間で電圧変換がなされる。また、接続切換手段によって、上記2つの電流経路同士が互いに並列接続または直列接続となるように接続切換がなされる。ここで、トランスの2つの第2の巻線がそれぞれ2つの回路に対応すると共に互いに巻数が等しいことから、第1の巻線と第2の巻線との巻数比は、直列接続、並列接続の順に大きくなる。また、第1の直流電圧の大きさに応じて並列接続状態および直列接続状態のデューティ比がそれぞれ変化するため、上記巻数比が急激に変化することはない(連続的に変化する)。 In the second switching power supply device of the present invention, the two circuits function as an inverter circuit or a rectifier circuit, respectively, and the first DC voltage on the first terminal side and the second terminal side are transformed by the transformer action. Voltage conversion is performed with the second DC voltage. Further, connection switching is performed by the connection switching means so that the two current paths are connected in parallel or in series. Here, since the two second windings of the transformer correspond to two circuits, respectively, and the number of turns is equal to each other, the turns ratio of the first winding and the second winding can be connected in series or in parallel. It becomes large in order. Further, since the duty ratios of the parallel connection state and the series connection state change according to the magnitude of the first DC voltage, the turn ratio does not change abruptly (changes continuously).
本発明の第1のスイッチング電源装置によれば、複数の回路にそれぞれ対応させて互いに巻数の等しい複数の第2の巻線を有するトランスを設け、接続切換手段によって、複数の電流経路同士を互いに並列接続、直列接続または直列と並列との混合接続させるようにしたので、第1の巻線と第2の巻線との巻数比を、並列接続、混合接続および直列接続の順に大きくすることができ、従来と比べて変換可能な電圧範囲をより広げることが可能となる。 According to the first switching power supply device of the present invention, a transformer having a plurality of second windings having the same number of turns is provided corresponding to each of the plurality of circuits, and the plurality of current paths are mutually connected by the connection switching means. Since the parallel connection, the series connection, or the mixed connection of the series and the parallel connection is made, the turns ratio of the first winding and the second winding can be increased in the order of the parallel connection, the mixed connection, and the series connection. Therefore, it is possible to further expand the voltage range that can be converted compared to the conventional case.
また、本発明の第2のスイッチング電源装置によれば、第1の直流電圧の大きさに応じて並列接続状態および直列接続状態のデューティ比をそれぞれ変化させるようにしたので、上記巻数比を連続的に変化させることができ、急激な変化を回避することができる。よって、装置内に応答速度が遅い素子があるような場合であっても、上記巻数比を問題なく変化させることができ、各素子の応答速度によらずに出力電圧を安定化させることが可能となる。 Further, according to the second switching power supply device of the present invention, the duty ratio in the parallel connection state and the series connection state is changed according to the magnitude of the first DC voltage, so that the turn ratio is continuously set. Can be changed automatically, and a sudden change can be avoided. Therefore, even when there is an element with a slow response speed in the device, the turn ratio can be changed without any problem, and the output voltage can be stabilized regardless of the response speed of each element. It becomes.
以下、本発明を実施するための最良の形態(以下、単に実施の形態という。)について、図面を参照して詳細に説明する。
Hereinafter, the best mode for carrying out the present invention (hereinafter simply referred to as an embodiment) will be described in detail with reference to the drawings.
[第1の実施の形態]
図1は、本発明の第1の実施の形態に係るスイッチング電源装置の構成を表すものである。このスイッチング電源装置は、高圧バッテリ51から入出力端子T1,T2間に印加される直流高圧電圧VHに基づいて直流低圧電圧VLを生成し、これを入出力端子T3,T4から出力して低圧バッテリ52へ供給する順方向動作と、逆にこの低圧バッテリ52から入出力端子T3,T4間に印加される直流低圧電圧VLに基づいて直流高圧電圧VHを生成し、これを入出力端子T1,T2から出力して高圧バッテリ51へ供給する逆方向動作とを行うことが可能な双方向型のスイッチング電源装置(DC−DCコンバータ)である。[First embodiment]
FIG. 1 shows a configuration of a switching power supply apparatus according to the first embodiment of the present invention. This switching power supply device generates a DC low voltage VL based on a DC high voltage VH applied from the
このスイッチング電源装置は、高圧バッテリ51側(高圧側)の高圧ラインL1Hおよび低圧ラインL1Lの間に設けられた平滑コンデンサCH、スイッチング回路1およびインダクタLrと、高圧側の巻線31および低圧バッテリ52側(低圧側)の巻線32A〜32Hを有するトランス3と、低圧側に設けられた4つのスイッチング回路41〜44、接続切換スイッチS51〜S53,S61〜S63、インダクタLchおよび平滑コンデンサCLと、直流高圧電圧VHを検出する電圧検出回路61と、直流低圧電圧VLを検出する電圧検出回路62と、スイッチング回路1,41〜44および接続切換スイッチS51〜S53,S61〜S63の動作をそれぞれ制御するための制御部7とを備えている。 The switching power supply includes a smoothing capacitor CH, a
平滑コンデンサCHは、直流高圧電圧VHを平滑化するためのものである。 The smoothing capacitor CH is for smoothing the DC high voltage VH.
スイッチング回路1は、4つのスイッチング素子S1〜S4と、これらスイッチング素子S1〜S4に対してそれぞれ並列接続されたダイオードD1〜D4とを有しており、フルブリッジ型の回路構成となっている。具体的には、スイッチング素子S1,S2の一端同士が互いに接続点P5で接続されると共に、スイッチング素子S3,S4の一端同士が互いに接続点P8で接続されている。また、スイッチング素子S1,S3の他端同士が接続点P3(P6)で互いに接続されると共に、スイッチング素子S2,S4の他端同士が接続点P4(P7)で互いに接続され、これら他端同士はそれぞれ入出力端子T1,T2に接続されている。スイッチング回路1はこのような構成により、制御部7から供給される駆動信号(駆動信号SG1〜SG4)に応じて、後述するように、順方向動作時にはフルブリッジ型のインバータ回路として機能する一方、逆方向動作時にはフルブリッジ型の整流回路として機能するようになっている。 The
なお、スイッチング素子S1〜S4は、例えば電界効果型トランジスタ(MOS−FET;Metal Oxide Semiconductor-Field Effect Transistor)やIGBT(Insulated Gate Bipolor Transistor)などのスイッチ素子から構成される。また、これらスイッチ素子としてMOS―FETを用いた場合には、上記ダイオードD1〜D4をそれぞれ、このMOS―FETの寄生ダイオードから構成することが可能である。また、このように構成した場合、スイッチ素子とは別個にダイオードD1〜D4を設ける必要がなくなり、回路構成を簡素化することができる。また、このようにダイオードD1〜D4をそれぞれMOS―FETの寄生ダイオードから構成するようにした場合、これらMOS−FETの寄生ダイオードが導通する期間と同期して、MOS−FET自身もオン状態とすることが好ましい。より少ない電圧降下で整流することができるからである。 The switching elements S1 to S4 are composed of switching elements such as a field effect transistor (MOS-FET) or an insulated gate bipolar transistor (IGBT). Further, when MOS-FETs are used as these switch elements, the diodes D1 to D4 can each be constituted by a parasitic diode of the MOS-FET. Moreover, when comprised in this way, it becomes unnecessary to provide the diodes D1-D4 separately from a switch element, and can simplify a circuit structure. Further, when each of the diodes D1 to D4 is composed of a MOS-FET parasitic diode, the MOS-FET itself is turned on in synchronization with a period in which the MOS-FET parasitic diode is conducted. It is preferable. This is because rectification can be performed with a smaller voltage drop.
インダクタLrは、一端が接続点P5に接続されると共に他端がトランス3の巻線31Aを介して接続点P8に接続され、スイッチング素子S1〜S4から構成されるブリッジ回路(スイッチング回路1)にHブリッジ接続されている。なお、このインダクタLrの代わりに、もしくはインダクタLrに加えて、巻線31のリーケージインダクタンス(図示せず)を用いるようにしてもよい。 The inductor Lr has one end connected to the connection point P5 and the other end connected to the connection point P8 via the winding 31A of the
トランス3は、1つの高圧側の巻線31と、後述するスイッチング回路41〜44にそれぞれ対応して設けられると共に互いに巻数の等しい4対の低圧側の巻線32A,32E、32B,32F、32C,32Gおよび32D,32Hを有している。このうち、高圧側の巻線31は、インダクタLrを介して接続点P5と接続点P8との間に配置されている。一方、低圧側の巻線32Aは、一端が後述するスイッチング回路41内のダイオードD12のカソードに接続されると共に、他端がスイッチング回路41内の接続点P9に接続されている。巻線32Eは、一端がスイッチング回路41内のダイオードD14のカソードに接続されると共に、他端がスイッチング回路41内の接続点P15に接続されている。また、巻線32Bは、一端が後述するスイッチング回路42内の接続点P10に接続されると共に、他端がスイッチング回路42内の接続点P11に接続されている。巻線32Fは、一端がスイッチング回路42内の接続点P16に接続されると共に、他端がスイッチング回路42内の接続点P17に接続されている。また、巻線32Cは、一端が後述するスイッチング回路43内の接続点P12に接続されると共に、他端がスイッチング回路43内の接続点P13に接続されている。巻線32Gは、一端がスイッチング回路43内の接続点P18に接続されると共に、他端がスイッチング回路43内の接続点P19に接続されている。また、巻線32Dは、一端が後述するスイッチング回路44内の接続点P14に接続されると共に、他端がスイッチング回路44内のダイオードD41のアノードに接続されている。巻線32Hは、一端がスイッチング回路44内の接続点P20に接続されると共に、他端がスイッチング回路44内のダイオードD41のアノードに接続されている。このような構成によりトランス3は、スイッチング回路1または後述するスイッチング回路41〜44によって生成された入力交流電圧を降圧し、巻線32A〜32Hの各端部または巻線31の端部から、互いに180度位相が異なる出力交流電圧を出力するようになっている。なお、この場合の降圧または昇圧の度合いは、巻線31と巻線32A〜32Hとの巻数比によって定まる。 The
4つのスイッチング回路41〜44は、低圧側の高圧ラインL2Hと低圧ラインL2Lとの間において、トランス3の4対の低圧側の巻線32A,32E、32B,32F、32C,32Gおよび32D,32Hにそれぞれ対応すると共に互いに並列して配置されている。 The four
スイッチング回路41は、巻線32Aに対応して配置され、2つのスイッチング素子S11,S12とこれらスイッチング素子S11,S12に対してそれぞれ並列接続されたダイオードD11,D12とを有する回路と、巻線32Eに対応して配置され、2つのスイッチング素子S13,S14とこれらスイッチング素子S13,S14に対してそれぞれ並列接続されたダイオードD13,D14とを有する回路とから構成され、センタタップ型の回路構成となっている。具体的には、スイッチング素子S11の一端およびダイオードD11のアノードはそれぞれ接続点P9に接続され、スイッチング素子S11の他端およびダイオードD11のカソードはそれぞれ高圧ラインL2Hに接続されている。また、スイッチング素子S12の一端およびダイオードD12のカソードはそれぞれ巻線32Aの一端に接続され、スイッチング素子S12の他端およびダイオードD12のアノードはそれぞれ低圧ラインL2Lに接続されている。また、スイッチング素子S13の一端およびダイオードD13のアノードはそれぞれ接続点P15に接続され、スイッチング素子S13の他端およびダイオードD13のカソードはそれぞれ高圧ラインL2Hに接続されている。また、スイッチング素子S14の一端およびダイオードD14のカソードはそれぞれ巻線32Eの一端に接続され、スイッチング素子S14の他端およびダイオードD14のアノードはそれぞれ低圧ラインL2Lに接続されている。このような構成によりスイッチング回路41は、後述するように、順方向動作時にはセンタタップ型の整流回路として機能する一方、逆方向動作時にはプッシュプル型のインバータ回路として機能するようになっている。 The switching
また、スイッチング回路42は、巻線32Bに対応して配置され、2つのスイッチング素子S21,S22とこれらスイッチング素子S21,S22に対してそれぞれ並列接続されたダイオードD21,D22とを有する回路と、巻線32Fに対応して配置され、2つのスイッチング素子S23,S24とこれらスイッチング素子S23,S24に対してそれぞれ並列接続されたダイオードD23,D24とを有する回路とから構成され、センタタップ型の回路構成となっている。具体的には、スイッチング素子S21の一端およびダイオードD21のアノードはそれぞれ接続点P11に接続され、スイッチング素子S21の他端およびダイオードD21のカソードはそれぞれ高圧ラインL2Hに接続されている。また、スイッチング素子S22の一端およびダイオードD22のカソードはそれぞれ接続点P10に接続され、スイッチング素子S22の他端およびダイオードD22のアノードはそれぞれ低圧ラインL2Lに接続されている。また、スイッチング素子S23の一端およびダイオードD23のアノードはそれぞれ接続点P17に接続され、スイッチング素子S23の他端およびダイオードD23のカソードはそれぞれ高圧ラインL2Hに接続されている。また、スイッチング素子S24の一端およびダイオードD24のカソードはそれぞれ接続点P16に接続され、スイッチング素子S24の他端およびダイオードD24のアノードはそれぞれ低圧ラインL2Lに接続されている。このような構成によりスイッチング回路42も、後述するように、順方向動作時にはセンタタップ型の整流回路として機能する一方、逆方向動作時にはプッシュプル型のインバータ回路として機能するようになっている。 The switching
また、スイッチング回路43は、巻線32Cに対応して配置され、2つのスイッチング素子S31,S32とこれらスイッチング素子S31,S32に対してそれぞれ並列接続されたダイオードD31,D32とを有する回路と、巻線32Gに対応して配置され、2つのスイッチング素子S33,S34とこれらスイッチング素子S33,S34に対してそれぞれ並列接続されたダイオードD33,D34とを有する回路とから構成され、センタタップ型の回路構成となっている。具体的には、スイッチング素子S31の一端およびダイオードD31のアノードはそれぞれ接続点P13に接続され、スイッチング素子S31の他端およびダイオードD31のカソードはそれぞれ高圧ラインL2Hに接続されている。また、スイッチング素子S32の一端およびダイオードD32のカソードはそれぞれ接続点P12に接続され、スイッチング素子S32の他端およびダイオードD32のアノードはそれぞれ低圧ラインL2Lに接続されている。また、スイッチング素子S33の一端およびダイオードD33のアノードはそれぞれ接続点P19に接続され、スイッチング素子S33の他端およびダイオードD33のカソードはそれぞれ高圧ラインL2Hに接続されている。また、スイッチング素子S34の一端およびダイオードD34のカソードはそれぞれ接続点P18に接続され、スイッチング素子S34の他端およびダイオードD34のアノードはそれぞれ低圧ラインL2Lに接続されている。このような構成によりスイッチング回路43も、後述するように、順方向動作時にはセンタタップ型の整流回路として機能する一方、逆方向動作時にはプッシュプル型のインバータ回路として機能するようになっている。 The switching
また、スイッチング回路44は、巻線32Dに対応して配置され、2つのスイッチング素子S41,S42とこれらスイッチング素子S41,S42に対してそれぞれ並列接続されたダイオードD41,D42とを有する回路と、巻線32Hに対応して配置され、2つのスイッチング素子S43,S44とこれらスイッチング素子S43,S44に対してそれぞれ並列接続されたダイオードD43,D44とを有する回路とから構成され、センタタップ型の回路構成となっている。具体的には、スイッチング素子S41の一端およびダイオードD41のアノードはそれぞれ巻線32Dの一端に接続され、スイッチング素子S41の他端およびダイオードD41のカソードはそれぞれ高圧ラインL2Hに接続されている。また、スイッチング素子S42の一端およびダイオードD42のカソードはそれぞれ接続点P14に接続され、スイッチング素子S42の他端およびダイオードD42のアノードはそれぞれ低圧ラインL2Lに接続されている。また、スイッチング素子S43の一端およびダイオードD43のアノードはそれぞれ巻線32Hの一端に接続され、スイッチング素子S43の他端およびダイオードD43のカソードはそれぞれ高圧ラインL2Hに接続されている。また、スイッチング素子S44の一端およびダイオードD44のカソードはそれぞれ接続点P20に接続され、スイッチング素子S44の他端およびダイオードD44のアノードはそれぞれ低圧ラインL2Lに接続されている。このような構成によりスイッチング回路44も、後述するように、順方向動作時にはセンタタップ型の整流回路として機能する一方、逆方向動作時にはプッシュプル型のインバータ回路として機能するようになっている。 The switching
なお、スイッチング素子S11〜S14,S21〜S24,S31〜S34,S41〜S44も、例えばMOS−FETやIGBTなどのスイッチ素子から構成される。また、これらスイッチ素子としてMOS―FETを用いた場合には、上記ダイオードD11〜D14,D21〜D24,D31〜D34,D41〜D44をそれぞれ、このMOS―FETの寄生ダイオードから構成することが可能である。そのように構成した場合も、スイッチ素子とは別個にダイオードD11〜D14,D21〜D24,D31〜D34,D41〜D44を設ける必要がなくなり、回路構成を簡素化することができる。また、このようにダイオードD11〜D14,D21〜D24,D31〜D34,D41〜D44をそれぞれMOS―FETの寄生ダイオードから構成するようにした場合、これらMOS−FETの寄生ダイオードが導通する期間と同期して、MOS−FET自身もオン状態とすることが好ましい。より少ない電圧降下で整流することができるからである。 The switching elements S11 to S14, S21 to S24, S31 to S34, and S41 to S44 are also composed of switching elements such as MOS-FETs and IGBTs. Further, when MOS-FETs are used as the switching elements, the diodes D11 to D14, D21 to D24, D31 to D34, and D41 to D44 can be formed from parasitic diodes of the MOS-FET. is there. Even in such a configuration, it is not necessary to provide the diodes D11 to D14, D21 to D24, D31 to D34, and D41 to D44 separately from the switch elements, and the circuit configuration can be simplified. In addition, when the diodes D11 to D14, D21 to D24, D31 to D34, and D41 to D44 are each composed of a parasitic diode of MOS-FET, they are synchronized with a period in which the parasitic diode of the MOS-FET is conductive. Thus, it is preferable that the MOS-FET itself is also turned on. This is because rectification can be performed with a smaller voltage drop.
接続切換スイッチS51〜S53,S61〜S63は、スイッチング回路41〜44間に接続されている。具体的には、接続切換スイッチS51は接続点P9,P10間に配置され、接続切換スイッチS52は接続点P11,P12間に配置され、接続切換スイッチS53は接続点P13,P14間に配置されている。また、接続切換スイッチS61は接続点P15,P16間に配置され、接続切換スイッチS62は接続点P17,P18間に配置され、接続切換スイッチS63は接続点P19,P20間に配置されている。このような構成により接続切換スイッチS51〜S53,S61〜S63も、制御部7から供給される駆動信号(駆動信号SG51〜SG53,SG61〜SG63)によってそのオン・オフ状態が制御されるようになっており、これにより詳細は後述するが、スイッチング回路41〜44をそれぞれ通る複数の電流経路同士の接続を切り換えるようになっている。なお、これら接続切換スイッチS51〜S53,S61〜S63も、例えばMOS−FETやIGBTなどのスイッチ素子から構成される。 The connection changeover switches S51 to S53 and S61 to S63 are connected between the switching
インダクタLchは、高圧ラインL2H上、具体的にはスイッチング回路44と入出力端子T3との間に挿入配置されている。また、平滑コンデンサCLは、高圧ラインL2Hと低圧ラインL2Lとの間に設けられ、低圧ラインL2Lの端部には、入出力端子T4が設けられている。このような構成によりインダクタLchは、後述するように順方向動作時にチョークコイルとして機能し、平滑コンデンサCLと共に平滑回路を構成することで、スイッチング回路41〜44で整流された直流電圧を平滑化して直流低圧電圧VLを生成し、これを入出力端子T3,T4から低圧バッテリ52に給電するようになっている。 The inductor Lch is inserted and disposed on the high-voltage line L2H, specifically between the switching
電圧検出回路61は、高圧側の高圧ラインL1H上の接続点P1と低圧ラインL1L上の接続点P2との間に挿入配置されると共に、制御部7に接続されている。電圧検出回路61はこのような構成により、直流高圧電圧VHを検出すると共にこの直流高圧電圧VHの大きさに対応する電圧を制御部7へ出力するようになっている。なお、この電圧検出回路61の具体的な回路構成としては、例えば、接続点P1と接続点P2との間に配置された分圧抵抗(図示せず)によって、直流高圧電圧VHを検出すると共にこれに応じた電圧を生成するものなどが挙げられる。 The
電圧検出回路62は、低圧側の高圧ラインL2H上の接続点(具体的には、インダクタLchと入出力端子T3との間の接続点)と、制御部7との間に挿入配置されている。電圧検出回路62はこのような構成により、直流低圧電圧VLを検出すると共にこの直流低圧電圧VLの大きさに対応する電圧を制御部7へ出力するようになっている。なお、この電圧検出回路62の具体的な回路構成としては、上記した電圧検出回路61の場合と同様に、例えば上記した高圧ラインL2H上の接続点と接地との間に配置された分圧抵抗(図示せず)よって、直流低圧電圧VLを検出すると共にこれに応じた電圧を生成するものなどが挙げられる。 The
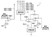
ここで、図2および図3を参照して、制御部7について詳細に説明する。図2は、制御部7の回路構成を表したものであり、図3は、制御部7による電流経路の接続切換制御の詳細を表したものである。 Here, the
図2に示したように、制御部7は、発振回路71と、演算回路72と、比較器Comp1,Comp2と、差動増幅器(エラーアンプ)Amp1と、比較器Comp1の基準電源Ref1と、差動増幅器Amp1の基準電源Ref2と、抵抗器R1とを有している。比較器Comp1の正極入力端子は電圧検出回路61の出力端子に接続され、負極入力端子は基準電源Ref1の一端に接続され、出力端子は接続切換スイッチS51〜S53,S61〜S63に接続されている。差動増幅器Amp1の正極入力端子は基準電源Ref2の一端に接続され、負極入力端子は電圧検出回路62の出力端子に接続され、出力端子は比較器Comp2の負極入力端子に接続されている。比較器Comp2の正極入力端子は発振器71の出力端子に接続され、出力端子は演算回路72の入力端子に接続されている。演算回路72の5つの出力端子はそれぞれ、スイッチング回路1,11〜14に接続されている。抵抗器R1は差動増幅器Amp1の負極入力端子と出力端子との間に配置され、基準電源Ref1,Ref2の他端はそれぞれ接地されている。 As shown in FIG. 2, the
比較器Comp1は、しきい値電圧Vth11やしきい値電圧Vth12の電位に対応する基準電源Ref1からの基準電位V1と、電圧検出回路61から出力される直流高圧電圧VHに対応する電圧の電位とを比較し、その比較結果に基づいて接続切換スイッチS51〜S53,S61〜S63の駆動信号SG51〜SG53,SG61〜SG63をそれぞれ出力するものである。具体的には、直流高圧電圧VHがしきい値電圧Vth12よりも高い場合には、駆動信号SG51,SG53,SG61,SG63は「L」レベルとなる一方、逆に直流高圧電圧VHがしきい値電圧Vth12よりも低い場合には、駆動信号SG51,SG53,SG61,SG63は「H」レベルとなる。また、直流高圧電圧VHがしきい値電圧Vth11よりも高い場合には、駆動信号SG52,SG62は「L」レベルとなる一方、逆に直流高圧電圧VHがしきい値電圧Vth11よりも低い場合には、駆動信号SG52,SG62は「H」レベルとなる。 The comparator Comp1 includes a reference potential V1 from the reference power source Ref1 corresponding to the threshold voltage Vth11 and the threshold voltage Vth12, and a voltage potential corresponding to the DC high voltage VH output from the
差動増幅器Amp1は、基準電源Ref2からの基準電位V2と、電圧検出回路62から出力される直流低圧電圧VLに対応する電圧の電位との電位差を増幅して出力するものである。 The differential amplifier Amp1 amplifies and outputs the potential difference between the reference potential V2 from the reference power supply Ref2 and the potential of the voltage corresponding to the DC low voltage VL output from the
比較器Comp2は、発振回路71から出力されるパルス電圧PLS1の電位と、差動増幅器Amp1からの出力電圧の電位とを比較し、その比較結果に基づいてスイッチング素子S11〜S14,S21〜S24,S31〜S34,S41〜S44の駆動信号SG11〜SG14,SG21〜SG24,SG31〜SG34,SG41〜SG44のもととなるパルス電圧を出力するものである。具体的には、差動増幅器Amp1からの出力電圧がパルス電圧PLS1よりも高い場合には出力は「L」レベルとなる一方、逆に差動増幅器Amp1からの出力電圧がパルス電圧PLS1よりも低い場合には直流入力出力は「H」レベルとなる。 The comparator Comp2 compares the potential of the pulse voltage PLS1 output from the
演算回路72は、比較器Comp2から出力されるパルス電圧の信号に対して論理演算を行い、スイッチング素子S11〜S14,S21〜S24,S31〜S34,S41〜S44の駆動信号SG11〜SG14,SG21〜SG24,SG31〜SG34,SG41〜SG44を出力するものである。また、この演算回路72は、スイッチング素子S1〜S4の駆動信号SG1〜SG4も出力するようになっている。 The
制御部7はこのような構成により、スイッチング回路1内のスイッチング素子S1〜S4、スイッチング回路41内のスイッチング素子S11〜S14、スイッチング回路42内のスイッチング素子S21〜S24、スイッチング回路43内のスイッチング素子S31〜S34およびスイッチング回路44内のスイッチング素子S41〜S44の動作をそれぞれ制御するようになっている。具体的には、順方向動作時には、駆動信号SG1〜SG4によってスイッチング素子S1〜S4をオン・オフ制御し、直流低圧電圧VLを安定化させる(一定に保つ)ようになっている。より具体的には、電圧検出回路62によって検出された直流低圧電圧VLが高くなると、制御部7から出力される駆動信号SG1〜SG4のデューティ比が小さくなり、逆に検出された直流低圧電圧VLが低くなると、駆動信号SG1〜SG4のデューティ比が大きくなり、直流低圧電圧VLが一定に保たれるようになっている。なお、この制御部7が、スイッチング回路1内のダイオードD1〜D4やスイッチング回路41〜44内のダイオードD11〜D14,D21〜D24,D31〜D34,D41〜D44の導通期間にそれぞれ同期してスイッチング素子S1〜S4やスイッチング素子S11〜S14,S21〜S24,S31〜S34,S41〜S44がオン状態となるように制御した場合(同期整流)には、これらD1〜D4,D11〜D14,D21〜D24,D31〜D34,D41〜D44での電力損失を低減することができる。 With this configuration, the
また、この制御部7は、順方向動作時には、電圧検出回路61から出力される直流高圧電圧VHに応じた電圧の大きさ(入力電圧の大きさ)に従って、駆動信号SG51〜SG53,SG61〜SG63によって接続切換スイッチS51〜S53,S61〜S63の動作をそれぞれ制御し、スイッチング回路41と巻線32Aまたは巻線32Eとを通る電流経路(第1の電流経路)と、スイッチング回路42と巻線32Bまたは巻線32Fとを通る電流経路(第2の電流経路)と、スイッチング回路43と巻線32Cまたは巻線32Gとを通る電流経路(第3の電流経路)と、スイッチング回路44と巻線32Dまたは巻線32Hとを通る電流経路(第4の電流経路)との接続状態を切り換える一方、逆方向動作時には、出力電圧である直流高圧電圧VHが所定の目標電圧値となるように、この目標電圧値の大きさに応じて、順方向動作時と同様の接続状態の切換を行うようになっている。 Further, during forward operation, the
図2は、制御部7による電流経路の接続切換制御の詳細を表したものである。 FIG. 2 shows details of the connection switching control of the current path by the
具体的には、図3に示したように、まず、順方向動作時には電圧検出回路61によって検出された直流高圧電圧VH(逆方向動作時には直流高圧電圧VHの目標電圧値が)が所定のしきい値電圧Vth11(逆方向動作時は所定のしきい値電圧Vth21とする)よりも低い場合には、制御部7は、接続切換スイッチS51〜S53,S61〜S63がそれぞれオン状態となるように制御する。すると、上記第1〜第4の電流経路が互いに直列接続状態(4直列接続状態)となる。また、検出された直流高圧電圧VH(逆方向動作時には直流高圧電圧VHの目標電圧値)がしきい値電圧Vth11(逆方向動作時はしきい値電圧Vth21)以上かつ所定のしきい値電圧Vth12(逆方向動作時は所定のしきい値電圧Vth22とする)未満の場合には、制御部7は、接続切換スイッチS52,S62がそれぞれオフ状態となるように制御する。すると、第1の電流経路および第2の電流経路、ならびに第3の電流経路および第4の電流経路がそれぞれ直列接続状態となり、これらの直列接続同士が互いに並列接続状態となる。すなわち、これら第1〜第4の電流経路が、互いに直列と並列との混合接続状態(2直列2並列接続状態)となる。さらに、検出された直流高圧電圧VH(逆方向動作時には直流高圧電圧VHの目標電圧値)がしきい値電圧Vth12(逆方向動作時はしきい値電圧Vth22)以上の場合には、制御部7は、接続切換スイッチS51〜S53,S61〜S63がいずれもオフ状態となるように制御する。すると、第1〜第4の電流経路が互いに並列接続状態(4並列接続状態)となる。ここで、トランス3における巻線31の巻数npと巻線32A〜32Hの巻数nsとの巻数比(np/ns)を、4並列接続状態、2直列2並列状態、および4直列接続状態で比較すると、4並列接続状態(巻数比=4n)では4直列接続状態(巻数比=n)と比べて4倍の大きさとなり、2直列2並列接続状態(巻数比=2n)では4直列接続状態と比べて2倍の大きさとなっている。なお、この制御部7による接続切換制御の詳細については、後述する。 Specifically, as shown in FIG. 3, first, the DC high voltage VH detected by the
ここで、スイッチング回路41〜44が本発明における「複数の回路」の一具体例に対応する。また、巻線31が本発明における「第1の巻線」の一具体例に対応し、巻線32A〜32Hが本発明における「複数の第2の巻線」の一具体例に対応する。また、制御部7が、本発明における「第1の制御部」および「第2の制御部」の一具体例に対応する。また、接続切換スイッチS51〜S53,S61〜S63が本発明における「複数の接続切換素子」の一具体例に対応し、接続切換スイッチS51〜S53,S61〜S63、電圧検出回路61,62および制御部7が、本発明における「接続切換手段」の一具体例に対応する。また、入出力端子T1,T2が本発明における「第1の端子対」の一具体例に対応し、入出力端子T3,T4が本発明における「第2の端子対」の一具体例に対応する。また、直流高圧電圧VHが本発明における「第1の直流電圧」の一具体例に対応し、直流低圧電圧VLが本発明における「第2の直流電圧」の一具体例に対応する。 Here, the switching
次に、以上のような構成のスイッチング電源装置の動作について説明する。まず、スイッチング電源装置の基本動作を、順方向動作および逆方向動作に分けて説明する。 Next, the operation of the switching power supply device configured as described above will be described. First, the basic operation of the switching power supply device will be described by dividing it into forward operation and reverse operation.
まず、順方向動作(直流高圧電圧VHから直流低圧電圧VLへの降圧動作)時には、スイッチング回路1内のスイッチング素子S1〜S4は、制御部7からの駆動信号SG1〜SG4によってオン・オフ動作し、インバータ回路として機能する一方、スイッチング回路41〜44内のスイッチング素子S11〜S14,S21〜S24,S31〜S34,S41〜S44は、それぞれ駆動信号SG11〜SG14,SG21〜SG24,SG31〜SG34,SG41〜SG44によっていずれもオフ状態となり、整流回路として機能する。また、インダクタLchはチョークコイルとして機能する。なお、前述した同期整流の場合には、スイッチング素子S11〜S14,S21〜S24,S31〜S34,S41〜S44もオン・オフ動作することになる。 First, during forward operation (step-down operation from the DC high voltage VH to the DC low voltage VL), the switching elements S1 to S4 in the
よって、この順方向動作時には、以下のような基本動作となる。まず、高圧バッテリ51から入出力端子T1,T2間に直流高圧電圧VHが印加され、インバータ回路として機能するスイッチング回路1によって、入力交流電圧が生成される。 Therefore, during this forward operation, the following basic operation is performed. First, a DC high voltage VH is applied from the
次に、この入力交流電圧がトランス3の巻線31に入力すると変圧(この場合、降圧)され、巻線32A〜32Hから出力交流電圧が出力される。そしてこの出力交流電圧が、整流回路として機能するスイッチング回路41〜44内のダイオードD11〜D14,D21〜D24,D31〜D34,D41〜D44によって整流され、チョークコイルとして機能するインダクタLchと平滑コンデンサCLとによって平滑化されることで、入出力端子T3,T4から直流低圧電圧VLとして出力され、低圧バッテリ52に給電される。 Next, when this input AC voltage is input to the winding 31 of the
一方、逆方向動作(直流低圧電圧VLから直流高圧電圧VHへの昇圧動作)時には、逆にスイッチング回路1内のスイッチング素子S1〜S4は、駆動信号SG1〜SG4によっていずれもオフ状態となり、整流回路として機能する一方、スイッチング回路41〜44内のスイッチング素子S11〜S14,S21〜S24,S31〜S34,S41〜S44は、それぞれ駆動信号SG11〜SG14,SG21〜SG24,SG31〜SG34,SG41〜SG44によってオン・オフ動作し、インバータ回路として機能する。また、インダクタLchは昇圧用インダクタとして機能する。なお、前述した同期整流の場合には、スイッチング素子S1〜S4もオン・オフ動作することになる。 On the other hand, during reverse operation (step-up operation from the DC low voltage VL to the DC high voltage VH), the switching elements S1 to S4 in the
よって、この逆方向動作時には、以下のような基本動作となる。まず、低圧バッテリ52から入出力端子T3,T4間に直流低圧電圧VLが印加され、昇圧用インダクタとして機能するインダクタLchおよびインバータ回路として機能するスイッチング回路41〜44によって、入力交流電圧が生成される。 Therefore, the basic operation is as follows during this backward operation. First, a DC low voltage VL is applied from the
次に、この入力交流電圧がトランス3の巻線32A〜32Hにそれぞれ入力すると変圧(この場合、昇圧)され、巻線31から出力交流電圧が出力される。そしてこの出力交流電圧が、整流回路として機能するスイッチング回路1内のダイオードD1〜D4によって整流され、入出力端子T1,T2から直流高圧電圧VHとして出力され、高圧バッテリ51に給電される。 Next, when this input AC voltage is respectively input to the
このようにして、本実施の形態のスイッチング電源装置において、順方向動作および逆方向動作がなされるようになっている。 In this way, the forward operation and the backward operation are performed in the switching power supply device of the present embodiment.
次に、図3〜図17を参照して、本発明の主な特徴である電流経路の接続切換動作を、順方向動作および逆方向動作に分けて詳細に説明する。 Next, with reference to FIGS. 3 to 17, the current path connection switching operation, which is the main feature of the present invention, will be described in detail by dividing it into a forward operation and a backward operation.
<順方向動作時の接続切換動作>
まず、図3〜図10を参照して、順方向動作時の電流経路の接続切換動作について説明する。<Connection switching operation during forward operation>
First, with reference to FIGS. 3 to 10, the connection switching operation of the current path during the forward operation will be described.
図4〜図9はそれぞれ、本実施の形態のスイッチング電源装置における順方向時の動作状態を表したものである。このうち、図4,図5は、前述の第1〜第4の電流経路が互いに4直列接続状態にある場合を、図6,図7は、これらが互いに2直列2並列接続状態にある場合を、図8,図9は、これらが互いに4並列接続状態にある場合を、それぞれ表している。また、図10は、これら4直列接続状態、2直列2並列接続状態、および4並列接続状態における、順方向動作時の直流高圧電圧VHとデューティ比(駆動信号SG1〜SG4におけるオン・デューティ比)との関係を表したものである。 4 to 9 each show an operation state in the forward direction in the switching power supply device of the present embodiment. 4 and 5 show the case where the above-mentioned first to fourth current paths are in a 4-series connection state, and FIGS. 6 and 7 show the case where they are in a 2-series 2-parallel connection state. 8 and FIG. 9 respectively show the case where these are in the state of four parallel connections. FIG. 10 shows the DC high voltage VH and the duty ratio (on-duty ratio in the drive signals SG1 to SG4) during forward operation in the four series connection state, the two series two parallel connection state, and the four parallel connection state. It represents the relationship.
まず、図4,図5に示した4直列接続状態は、例えば図10に示したように、電圧検出回路61によって検出された直流高圧電圧VHがしきい値電圧Vth11よりも低い場合である。この場合、制御部7によって、接続切換スイッチS51〜S53,S61〜S63がそれぞれオン状態となるように設定され(図3参照)、スイッチング回路41〜44同士が互いに結合した直列動作を行う。 First, the 4 series connection state shown in FIGS. 4 and 5 is a case where the DC high voltage VH detected by the
具体的には、図4に示した動作状態では、スイッチング回路41および巻線32Aを通る電流経路(第1の電流経路に対応)と、スイッチング回路42および巻線32Bを通る電流経路(第2の電流経路に対応)と、スイッチング回路43および巻線32Cを通る電流経路(第3の電流経路に対応)と、スイッチング回路44および巻線32Dを通る電流経路(第4の電流経路に対応)とが、接続切換スイッチS51〜S53を通る電流経路によって結合され、互いに直列接続状態となる。すなわち、平滑コンデンサCL、ダイオードD12、巻線32A、接続切換スイッチS51、巻線32B、接続切換スイッチS52、巻線32C、接続切換スイッチS53、巻線32D、ダイオードD41およびインダクタLchを通る電流経路Is1が形成される。 Specifically, in the operation state shown in FIG. 4, a current path (corresponding to the first current path) passing through the switching
また、図5に示した動作状態では、スイッチング回路41および巻線32Eを通る電流経路(第1の電流経路に対応)と、スイッチング回路42および巻線32Fを通る電流経路(第2の電流経路に対応)と、スイッチング回路43および巻線32Gを通る電流経路(第3の電流経路に対応)と、スイッチング回路44および巻線32Hを通る電流経路(第4の電流経路に対応)とが、接続切換スイッチS61〜S63を通る電流経路によって結合され、互いに直列接続状態となる。すなわち、平滑コンデンサCL、ダイオードD14、巻線32E、接続切換スイッチS61、巻線32F、接続切換スイッチS62、巻線32G、接続切換スイッチS63、巻線32H、ダイオードD43およびインダクタLchを通る電流経路Is2が形成される。 Further, in the operation state shown in FIG. 5, a current path (corresponding to the first current path) passing through the switching
ここで、トランス3内の低圧側の4対の巻線32A,32E、32B,32F、32C,32Gおよび巻線32D,32Hは、それぞれスイッチング回路41〜44に対応すると共に互いに巻数が等しいことから、高圧側の巻線31の巻数npと、この4直列接続状態における低圧側の巻線32A,32E、32B,32F、32C,32Gおよび巻線32D,32Hの巻数nsとの巻数比は、そのまま(np/ns)(=nとする)となる(図3参照)。 Here, four pairs of
また、図6,図7に示した2直列2並列接続状態は、例えば図10に示したように、電圧検出回路61によって検出された直流高圧電圧VHがしきい値電圧Vth11以上でしきい値電圧Vth12よりも低い場合である。この場合、制御部7によって、接続切換スイッチS51,S61,S53,S63がそれぞれオン状態となるように設定される一方、接続切換スイッチS52,S62がそれぞれオフ状態となるように設定され(図3参照)、スイッチング回路41,42とスイッチング回路43,44とが互いに独立した並列動作を行う。 Further, the two series two parallel connection states shown in FIGS. 6 and 7 are, for example, as shown in FIG. 10, when the DC high voltage VH detected by the
具体的には、図6に示した動作状態では、上記第1の電流経路と第2の電流経路とが、接続切換スイッチS51を通る電流経路によって結合され、互いに直列接続状態となる。また、上記第3の電流経路と第4の電流経路とが、接続切換スイッチS53を通る電流経路によって結合され、互いに直列接続状態となる。すなわち、平滑コンデンサCL、ダイオードD12、巻線32A、接続切換スイッチS51、巻線32B、ダイオードD21およびインダクタLchを通る電流経路Isp11と、平滑コンデンサCL、ダイオードD32、巻線32C、接続切換スイッチS53、巻線32D、ダイオードD41およびインダクタLchを通る電流経路Isp12とが形成される。 Specifically, in the operation state shown in FIG. 6, the first current path and the second current path are coupled by a current path passing through the connection changeover switch S51, and are in series connection with each other. Further, the third current path and the fourth current path are coupled by a current path passing through the connection changeover switch S53 and are connected in series with each other. That is, the smoothing capacitor CL, the diode D12, the winding 32A, the connection changeover switch S51, the winding 32B, the diode D21, and the current path Isp11 passing through the inductor Lch, the smoothing capacitor CL, the diode D32, the winding 32C, the connection changeover switch S53, A winding 32D, a diode D41, and a current path Isp12 passing through the inductor Lch are formed.
また、図7に示した動作状態では、上記第1の電流経路と第2の電流経路とが、接続切換スイッチS61を通る電流経路によって結合され、互いに直列接続状態となる。また、上記第3の電流経路と第4の電流経路とが、接続切換スイッチS63を通る電流経路によって結合され、互いに直列接続状態となる。すなわち、平滑コンデンサCL、ダイオードD14、巻線32E、接続切換スイッチS61、巻線32F、ダイオードD23およびインダクタLchを通る電流経路Isp21と、平滑コンデンサCL、ダイオードD34、巻線32G、接続切換スイッチS63、巻線32H、ダイオードD43およびインダクタLchを通る電流経路Isp22とが形成される。 Further, in the operation state shown in FIG. 7, the first current path and the second current path are coupled by a current path passing through the connection changeover switch S61, and are in series connection with each other. Further, the third current path and the fourth current path are coupled by a current path passing through the connection changeover switch S63 and are connected in series with each other. That is, the smoothing capacitor CL, the diode D14, the winding 32E, the connection changeover switch S61, the winding 32F, the current path Isp21 passing through the diode D23 and the inductor Lch, the smoothing capacitor CL, the diode D34, the winding 32G, the connection changeover switch S63, A current path Isp22 passing through winding 32H, diode D43, and inductor Lch is formed.
ここで、前述のようにトランス3の巻線31A〜31Hはそれぞれ4つのスイッチング回路41〜44に対応すると共に互いに巻数が等しいことから、この2直列2並列接続状態における高圧側の巻線31の巻数npと低圧側の巻線32A,32E、32B,32F、32C,32Gおよび巻線32D,32Hの巻数nsとの巻数比は、2×(np/ns)=2nとなる(図3参照)。すなわち、この2直列2並列接続状態における巻数比は、4直列接続状態の場合(巻数比=n)と比べ、2倍の大きさとなる。 Here, as described above, the windings 31A to 31H of the
また、図8,図9に示した4並列接続状態は、例えば図10に示したように、電圧検出回路61によって検出された直流高圧電圧VHがしきい値電圧Vth12以上の場合である。この場合、制御部7によって、接続切換スイッチS51〜S53,S61〜S63がそれぞれオフ状態となるように設定され(図3参照)、スイッチング回路41〜44同士は互いに独立した並列動作を行う。 Further, the four parallel connection states shown in FIGS. 8 and 9 are cases where the DC high voltage VH detected by the
具体的には、図8に示した動作状態では、平滑コンデンサCL、ダイオードD12、巻線32A、ダイオードD11およびインダクタLchを通る電流経路Ip11(第1の電流経路に対応)と、平滑コンデンサCL、ダイオードD22、巻線32B、ダイオードD21およびインダクタLchを通る電流経路Ip12(第2の電流経路に対応)と、平滑コンデンサCL、ダイオードD32、巻線32C、ダイオードD31およびインダクタLchを通る電流経路Ip13(第3の電流経路に対応)と、平滑コンデンサCL、ダイオードD42、巻線32D、ダイオードD41およびインダクタLchを通る電流経路Ip14(第4の電流経路に対応)とが形成され、互いに並列状態となる。 Specifically, in the operation state shown in FIG. 8, the current path Ip11 (corresponding to the first current path) passing through the smoothing capacitor CL, the diode D12, the winding 32A, the diode D11, and the inductor Lch, and the smoothing capacitor CL, A current path Ip12 (corresponding to the second current path) passing through the diode D22, the winding 32B, the diode D21 and the inductor Lch, and a current path Ip13 (corresponding to the smoothing capacitor CL, the diode D32, the winding 32C, the diode D31 and the inductor Lch) Corresponding to the third current path) and a current path Ip14 (corresponding to the fourth current path) passing through the smoothing capacitor CL, the diode D42, the winding 32D, the diode D41, and the inductor Lch are formed and are in parallel with each other. .
また、図9に示した動作状態では、平滑コンデンサCL、ダイオードD14、巻線32E、ダイオードD13およびインダクタLchを通る電流経路Ip21(第1の電流経路に対応)と、平滑コンデンサCL、ダイオードD24、巻線32F、ダイオードD23およびインダクタLchを通る電流経路Ip22(第2の電流経路に対応)と、平滑コンデンサCL、ダイオードD34、巻線32G、ダイオードD33およびインダクタLchを通る電流経路Ip23(第3の電流経路に対応)と、平滑コンデンサCL、ダイオードD44、巻線32H、ダイオードD43およびインダクタLchを通る電流経路Ip24(第4の電流経路に対応)とが形成され、互いに並列状態となる。 In the operation state shown in FIG. 9, the smoothing capacitor CL, the diode D14, the winding 32E, the diode D13, and the current path Ip21 (corresponding to the first current path) passing through the inductor Lch, the smoothing capacitor CL, the diode D24, Current path Ip22 (corresponding to the second current path) passing through winding 32F, diode D23, and inductor Lch, and current path Ip23 (third state) passing through smoothing capacitor CL, diode D34, winding 32G, diode D33, and inductor Lch Current path) and a current path Ip24 (corresponding to the fourth current path) passing through the smoothing capacitor CL, the diode D44, the winding 32H, the diode D43, and the inductor Lch are formed in parallel with each other.
ここで、前述のようにトランス3の巻線31A〜31Hはそれぞれ4つのスイッチング回路41〜44に対応すると共に互いに巻数が等しいことから、この4並列接続状態における高圧側の巻線31の巻数npと低圧側の巻線32A,32E、32B,32F、32C,32Gおよび巻線32D,32Hの巻数nsとの巻数比は、4×(np/ns)=4nとなる(図3参照)。すなわち、4並列接続状態における巻数比は、4直列接続状態の場合(巻数比=n)と比べ、4倍の大きさとなる。 Here, since the windings 31A to 31H of the
このようにして、例えば図10のグラフG1に示したように、4直列接続状態よりも2直列2並列接続状態のほうが、そして2直列2並列接続状態よりも4並列接続状態のほうが、入力電圧である直流高圧電圧VHが高くなった場合に駆動信号SG1〜SG4のオン・デューティ比を高く維持することができ、このような接続切換制御を行うことにより、一定の出力電圧(直流低圧電圧VL)を維持可能な入力電圧(直流高圧電圧VH)の範囲が広くなる(電圧Vmin1から電圧Vmax11までの入力電圧範囲VH11から、電圧Vmin1から電圧Vmax12までの入力電圧範囲VH12へと広範化する)。 In this way, for example, as shown in the graph G1 of FIG. 10, the input voltage is more in the 2
<逆方向動作時の接続切換動作>
次に、図11〜図17を参照して、逆方向動作時の電流経路の接続切換動作について説明する。<Connection switching operation during reverse operation>
Next, with reference to FIGS. 11 to 17, the connection switching operation of the current path during the backward operation will be described.
図11〜図17はそれぞれ、本実施の形態のスイッチング電源装置における逆方向時の動作状態を表したものである。このうち、図11,図12は、前述の第1〜第4の電流経路が互いに4直列接続状態にある場合を、図13,図14は、これらが互いに2直列2並列接続状態にある場合を、図15,図16は、これらが互いに4並列接続状態にある場合を、それぞれ表している。また、図17は、これら4直列接続状態、2直列2並列接続状態、および4並列接続状態における、逆方向動作時の直流高圧電圧VHとデューティ比(駆動信号SG11〜SG14,SG21〜SG24,駆動信号SG31〜SG34,SG41〜SG44におけるオン・デューティ比)との関係を表したものである。 FIG. 11 to FIG. 17 each show an operation state in the reverse direction in the switching power supply device of the present embodiment. Of these, FIGS. 11 and 12 show the case where the first to fourth current paths described above are in a 4-series connection state, and FIGS. 13 and 14 show the case where they are in a 2-series 2-parallel connection state. FIGS. 15 and 16 respectively show the case where these are in a 4-parallel connection state. FIG. 17 shows the DC high voltage VH and the duty ratio (drive signals SG11 to SG14, SG21 to SG24, drive in the reverse operation) in these 4 series connection state, 2
まず、図11,図12に示した4直列接続状態は、例えば図17に示したように、直流高圧電圧VHの目標電圧値がしきい値電圧Vth21よりも低い場合である。この場合、制御部7によって、接続切換スイッチS51〜S53,S61〜S63がそれぞれオン状態となるように設定され、スイッチング回路41〜44同士が互いに結合した直列動作を行う。 First, the 4-series connection state shown in FIGS. 11 and 12 is a case where the target voltage value of the DC high voltage VH is lower than the threshold voltage Vth21, for example, as shown in FIG. In this case, the connection changeover switches S51 to S53 and S61 to S63 are set by the
具体的には、図11に示した動作状態では、スイッチング回路41および巻線32Aを通る電流経路(第1の電流経路に対応)と、スイッチング回路42および巻線32Bを通る電流経路(第2の電流経路に対応)と、スイッチング回路43および巻線32Cを通る電流経路(第3の電流経路に対応)と、スイッチング回路44および巻線32Dを通る電流経路(第4の電流経路に対応)とが、接続切換スイッチS51〜S53を通る電流経路によって結合され、互いに直列接続状態となる。すなわち、平滑コンデンサCL、インダクタLch、スイッチング素子S41、巻線32D、接続切換スイッチS53、巻線32C、接続切換スイッチS52、巻線32B、接続切換スイッチS51、巻線32Aおよびスイッチング素子S12を通る電流経路Is3が形成される。 Specifically, in the operation state shown in FIG. 11, a current path (corresponding to the first current path) passing through the switching
また、図12に示した動作状態では、スイッチング回路41および巻線32Eを通る電流経路(第1の電流経路に対応)と、スイッチング回路42および巻線32Fを通る電流経路(第2の電流経路に対応)と、スイッチング回路43および巻線32Gを通る電流経路(第3の電流経路に対応)と、スイッチング回路44および巻線32Hを通る電流経路(第4の電流経路に対応)とが、接続切換スイッチS61〜S63を通る電流経路によって結合され、互いに直列接続状態となる。すなわち、平滑コンデンサCL、インダクタLch、スイッチング素子S43、巻線32H、接続切換スイッチS63、巻線32G、接続切換スイッチS62、巻線32F、接続切換スイッチS61、巻線32Eおよびスイッチング素子S14を通る電流経路Is3が形成される。 Further, in the operation state shown in FIG. 12, a current path (corresponding to the first current path) passing through the switching
ここで、順方向動作時と同様に、4対の巻線32A,32E、32B,32F、32C,32Gおよび巻線32D,32Hは、それぞれスイッチング回路41〜44に対応すると共に互いに巻数が等しいことから、高圧側の巻線31の巻数npと、この4直列接続状態における低圧側の巻線32A,32E、32B,32F、32C,32Gおよび巻線32D,32Hの巻数nsとの巻数比は、そのまま(np/ns)(=nとする)となる(図3参照)。 Here, as in the forward operation, the four pairs of
また、図13,図14に示した2直列2並列接続状態は、例えば図17に示したように、直流高圧電圧VHの目標電圧値がしきい値電圧Vth21以上でしきい値電圧Vth22よりも低い場合である。この場合、制御部7によって、接続切換スイッチS51,S61,S53,S63がそれぞれオン状態となるように設定される一方、接続切換スイッチS52,S62がそれぞれオフ状態となるように設定され、スイッチング回路41,42とスイッチング回路43,44とが互いに独立した並列動作を行う。 Further, in the two-series two-parallel connection state shown in FIGS. 13 and 14, for example, as shown in FIG. 17, the target voltage value of the DC high voltage VH is equal to or higher than the threshold voltage Vth21 and higher than the threshold voltage Vth22. It is a low case. In this case, the
具体的には、図13に示した動作状態では、上記第1の電流経路と第2の電流経路とが、接続切換スイッチS51を通る電流経路によって結合され、互いに直列接続状態となる。また、上記第3の電流経路と第4の電流経路とが、接続切換スイッチS53を通る電流経路によって結合され、互いに直列接続状態となる。すなわち、平滑コンデンサCL、インダクタLch、スイッチング素子S21、巻線32B、接続切換スイッチS51、巻線32Aおよびスイッチング素子S12を通る電流経路Isp31と、平滑コンデンサCL、スイッチング素子S41、巻線32D、接続切換スイッチS53、巻線32Cおよびスイッチング素子S32を通る電流経路Isp32とが形成される。 Specifically, in the operation state shown in FIG. 13, the first current path and the second current path are coupled by a current path passing through the connection changeover switch S51, and are in a serial connection state. Further, the third current path and the fourth current path are coupled by a current path passing through the connection changeover switch S53 and are connected in series with each other. That is, the smoothing capacitor CL, the inductor Lch, the switching element S21, the winding 32B, the connection selector switch S51, the current path Isp31 passing through the winding 32A and the switching element S12, the smoothing capacitor CL, the switching element S41, the winding 32D, and the connection switching A current path Isp32 passing through the switch S53, the winding 32C, and the switching element S32 is formed.
また、図14に示した動作状態では、上記第1の電流経路と第2の電流経路とが、接続切換スイッチS61を通る電流経路によって結合され、互いに直列接続状態となる。また、上記第3の電流経路と第4の電流経路とが、接続切換スイッチS63を通る電流経路によって結合され、互いに直列接続状態となる。すなわち、平滑コンデンサCL、インダクタLch、スイッチング素子S23、巻線32F、接続切換スイッチS61、巻線32Eおよびスイッチング素子S14を通る電流経路Isp41と、平滑コンデンサCL、スイッチング素子S43、巻線32H、接続切換スイッチS63、巻線32Gおよびスイッチング素子S34を通る電流経路Isp32とが形成される。 Further, in the operation state shown in FIG. 14, the first current path and the second current path are coupled by a current path passing through the connection changeover switch S61, and are in series connection with each other. Further, the third current path and the fourth current path are coupled by a current path passing through the connection changeover switch S63 and are connected in series with each other. That is, the smoothing capacitor CL, the inductor Lch, the switching element S23, the winding 32F, the connection switching switch S61, the winding 32E, and the current path Isp41 passing through the switching element S14, the smoothing capacitor CL, the switching element S43, the winding 32H, and the connection switching A current path Isp32 passing through the switch S63, the winding 32G, and the switching element S34 is formed.
ここで、順方向動作時と同様に、トランス3の巻線32A〜32Hはそれぞれ4つのスイッチング回路41〜44に対応すると共に互いに巻数が等しいことから、この2直列2並列接続状態における高圧側の巻線31と低圧側の巻線32A〜32Hの巻数nsとの巻数比は、2×(np/ns)=2nとなる。すなわち、この2直列2並列接続状態における巻数比は、4直列接続状態の場合(巻数比=n)と比べ、2倍の大きさとなる。 Here, as in the forward operation, the
また、図15,図16に示した4並列接続状態は、例えば図17に示したように、直流高圧電圧VHの目標電圧値がしきい値電圧Vth22以上の場合である。この場合、制御部7によって、接続切換スイッチS51〜S53,S61〜S63がそれぞれオフ状態となるように設定され、スイッチング回路41〜44同士は互いに独立した並列動作を行う。 Further, the four parallel connection states shown in FIGS. 15 and 16 are cases where the target voltage value of the DC high voltage VH is equal to or higher than the threshold voltage Vth22 as shown in FIG. 17, for example. In this case, the connection selector switches S51 to S53 and S61 to S63 are set by the
具体的には、図15に示した動作状態では、平滑コンデンサCL、インダクタLch、スイッチング素子S11、巻線32Aおよびスイッチング素子S12を通る電流経路Ip11(第1の電流経路に対応)と、平滑コンデンサCL、インダクタLch、スイッチング素子S21、巻線32Bおよびスイッチング素子S22を通る電流経路Ip22(第1の電流経路に対応)と、平滑コンデンサCL、スイッチング素子S11、巻線32Aおよびスイッチング素子S22を通る電流経路Ip61(第2の電流経路に対応)と、平滑コンデンサCL、インダクタLch、スイッチング素子S21、巻線32Cおよびスイッチング素子S32を通る電流経路Ip33(第3の電流経路に対応)と、平滑コンデンサCL、インダクタLch、スイッチング素子S41、巻線32Dおよびスイッチング素子S42を通る電流経路Ip34(第4の電流経路に対応)とが形成され、並列状態となる。 Specifically, in the operating state shown in FIG. 15, the current path Ip11 (corresponding to the first current path) passing through the smoothing capacitor CL, the inductor Lch, the switching element S11, the winding 32A and the switching element S12, and the smoothing capacitor Current path Ip22 (corresponding to the first current path) passing through CL, inductor Lch, switching element S21, winding 32B and switching element S22, and current passing through smoothing capacitor CL, switching element S11, winding 32A and switching element S22 The path Ip61 (corresponding to the second current path), the smoothing capacitor CL, the inductor Lch, the switching element S21, the winding 32C, the current path Ip33 (corresponding to the third current path) passing through the switching element S32, and the smoothing capacitor CL , Inductor Lch, switch Ring element S41, a current path Ip34 through the winding 32D and the switching element S42 (corresponding to the fourth current path) and is formed, and parallel state.
また、図16に示した動作状態では、平滑コンデンサCL、インダクタLch、スイッチング素子S13、巻線32Eおよびスイッチング素子S14を通る電流経路Ip41(第1の電流経路に対応)と、平滑コンデンサCL、インダクタLch、スイッチング素子S23、巻線32Fおよびスイッチング素子S24を通る電流経路Ip42(第1の電流経路に対応)と、平滑コンデンサCL、スイッチング素子S23、巻線32Fおよびスイッチング素子S24を通る電流経路Ip42(第2の電流経路に対応)と、平滑コンデンサCL、インダクタLch、スイッチング素子S31、巻線32Cを通る電流経路3p33(第3の電流経路に対応)と、平滑コンデンサCL、インダクタLch、スイッチング素子S41、巻線32Dおよびスイッチング素子S42を通る電流経路Ip34(第4の電流経路に対応)とが形成され、並列状態となる。 In the operating state shown in FIG. 16, the smoothing capacitor CL, the inductor Lch, the switching element S13, the winding 32E and the current path Ip41 (corresponding to the first current path) passing through the switching element S14, the smoothing capacitor CL, the inductor Current path Ip42 (corresponding to the first current path) passing through Lch, switching element S23, winding 32F and switching element S24, and current path Ip42 (passing through smoothing capacitor CL, switching element S23, winding 32F and switching element S24) Corresponding to the second current path), the smoothing capacitor CL, the inductor Lch, the switching element S31, the current path 3p33 passing through the winding 32C (corresponding to the third current path), the smoothing capacitor CL, the inductor Lch, and the switching element S41. ,
ここで、順方向動作時と同様に、トランス3の巻線32A〜32Hはそれぞれ4つのスイッチング回路41〜44に対応すると共に互いに巻数が等しいことから、この4並列接続状態における高圧側の巻線31と低圧側の巻線32A〜32Hの巻数nsとの巻数比は、2×(np/ns)=4nとなる(図3参照)。すなわち、4並列接続状態における巻数比は、4直列接続状態の場合(巻数比=n)と比べ、4倍の大きさとなる。 Here, similarly to the forward operation, the
このようにして、例えば図17のグラフG2に示したように逆方向動作時においても、4並列接続状態よりも2直列2並列接続状態のほうが、そして2直列2並列接続状態よりも4直列接続状態のほうが、2直列接続状態よりも2並列接続状態のほうが、出力電圧である直流高圧電圧VHを高く設定した場合にも駆動信号SG1〜SG4のオン・デューティ比を低く維持することができ、このような接続切換制御を行うことにより、一定の入力電圧(直流低圧電圧VL)から生成可能な出力電圧(直流低圧電圧VL)の範囲が広くなる(電圧Vmin2から電圧Vmax21までの出力電圧範囲VH21から、電圧Vmin2から電圧Vmax22までの出力電圧範囲VH22へと広範化する)。 In this way, for example, as shown in the graph G2 of FIG. 17, even when operating in the reverse direction, the 2-series 2-parallel connection state is more than the 4-parallel connection state, and the 4-series connection is more than the 2-series 2-parallel connection state. In the state, the on-duty ratio of the drive signals SG1 to SG4 can be kept low even when the DC high voltage VH, which is the output voltage, is set higher in the two parallel connection state than in the two series connection state, By performing such connection switching control, the range of output voltage (DC low voltage VL) that can be generated from a constant input voltage (DC low voltage VL) is widened (output voltage range VH21 from voltage Vmin2 to voltage Vmax21). To the output voltage range VH22 from the voltage Vmin2 to the voltage Vmax22).
以上のように、本実施の形態では、4つのスイッチング回路41〜44にそれぞれ対応させて互いに巻数の等しい4対の低圧側の巻線32A,32E、32B,32F、32C,32Gおよび巻線32D,32Hを有するトランス3を設け、電圧検出回路61、制御部7および接続切換スイッチS51〜S53,S61〜S63によって、順方向動作時には入力電圧(直流高圧電圧VH)、逆方向動作時には出力電圧(直流高圧電圧VH)の目標電圧値に応じて、4つの電流経路同士を互いに4並列接続、4直列接続または直列と並列との混合接続(2直列2並列接続)させるようにしたので、巻線31と巻線32A〜32Hとの巻数比を、4直列接続、2直列2並列接続および4並列接続の順に大きくすることができ、直列接続と並列接続との間でのみ切換可能な従来と比べ、変換可能な電圧範囲(順方向動作時における入力電圧範囲、および逆方向動作時における出力電圧範囲)をより広げることが可能となる。 As described above, in the present embodiment, four pairs of low-
[第2の実施の形態]
次に、本発明の第2の実施の形態について説明する。本実施の形態のスイッチング電源装置は、第1の実施の形態のスイッチング電源装置において、制御部7の代わりに制御部7Aを設けるようにしたものである。[Second Embodiment]
Next, a second embodiment of the present invention will be described. The switching power supply according to the present embodiment is configured such that a
図18は、本実施の形態に係る制御部7Aの構成を表すものである。この図において、図2に示した構成要素と同一の構成要素には同一の符号を付し、適宜説明を省略する。この制御部7Aは、第1の実施の形態における制御部7において、さらに基準電源Ref3、発振回路73、差動増幅器Amp2、抵抗器R2、比較器Comp3および演算回路74を設けるようにしたものである。 FIG. 18 illustrates a configuration of the
比較器Comp1の正極入力端子は、基準電源Ref1の代わりに基準電源Ref3の一端に接続されている。差動増幅器Amp2の正極入力端子は基準電源Ref2の一端に接続され、負極入力端子は電圧検出回路62の出力端子に接続され、出力端子は比較器Comp2の負極入力端子に接続されている。ただし、差動増幅器Amp2の負極入力端子へ供給される電圧は、例えば電圧検出回路62内の分圧抵抗からの取り出し位置等の違いにより、差動増幅器Amp1の負極入力端子へ供給される電圧よりもわずかに高くなるように設定されている。また、比較器Comp3の正極入力端子は発振器73の出力端子に接続され、出力端子は演算回路74の入力端子に接続されている。演算回路74の2つの入力端子は、この比較器Comp3の出力端子と、比較器Comp1の出力端子とに接続されている。抵抗器R2は差動増幅器Amp2の負極入力端子と出力端子との間に配置されている。 The positive input terminal of the comparator Comp1 is connected to one end of the reference power supply Ref3 instead of the reference power supply Ref1. The positive input terminal of the differential amplifier Amp2 is connected to one end of the reference power supply Ref2, the negative input terminal is connected to the output terminal of the
本実施の形態の比較器Comp1は、後述する電圧VthHまたは電圧VthLの電位に対応する基準電源Ref3からの基準電位V3と、電圧検出回路61から出力される直流高圧電圧VHに対応する電圧の電位とを比較し、その比較結果を演算回路74へ出力するものである。具体的には、直流高圧電圧VHが電圧VthHよりも高い場合には、駆動信号SG51〜SG53,SG61〜SG63は「L」レベルとなる一方、逆に直流高圧電圧VHが電圧VthLよりも低い場合には、駆動信号SG51〜SG53,SG61〜SG63は「H」レベルとなる。 The comparator Comp1 of the present embodiment includes a reference potential V3 from a reference power supply Ref3 corresponding to the potential of the voltage VthH or voltage VthL described later, and a potential of a voltage corresponding to the DC high voltage VH output from the
差動増幅器Amp2は、差動増幅器Amp1と同様に、基準電源Ref2からの基準電位V2と、電圧検出回路62から出力される直流低圧電圧VLに対応する電圧の電位との電位差を増幅して出力するものである。 Similar to the differential amplifier Amp1, the differential amplifier Amp2 amplifies and outputs the potential difference between the reference potential V2 from the reference power supply Ref2 and the voltage corresponding to the DC low voltage VL output from the
比較器Comp3は、発振回路73から出力されるパルス電圧PLS3の電位と、差動増幅器Amp2からの出力電圧の電位とを比較し、その比較結果に基づいて接続切換スイッチS51〜S53,S61〜S63の駆動信号SG51〜SG53,SG61〜SG63のもととなるパルス電圧を出力するものである。具体的には、差動増幅器Amp2からの出力電圧がパルス電圧PLS2よりも高い場合には出力は「L」レベルとなる一方、逆に差動増幅器Amp2からの出力電圧がパルス電圧PLS2よりも低い場合には直流入力出力は「H」レベルとなる。 The comparator Comp3 compares the potential of the pulse voltage PLS3 output from the
演算回路74は、比較器Comp1からの出力信号(「H」または「L」)および比較器Comp3からの出力信号(パルス電圧の信号)に基づいて論理演算を行い、接続切換スイッチS51〜S53,S61〜S63の駆動信号SG51〜SG53,SG61〜SG63を出力するものである。 The arithmetic circuit 74 performs a logical operation based on the output signal (“H” or “L”) from the comparator Comp1 and the output signal (pulse voltage signal) from the comparator Comp3, and performs connection changeover switches S51 to S53, The drive signals SG51 to SG53 and SG61 to SG63 of S61 to S63 are output.
ここで図19を参照して、順方向動作時おける制御部7Aによる接続切換動作について詳細に説明する。図19は、順方向動作時の入力電圧である直流高圧電圧VHの大きさに応じた、スイッチング素子S1〜S4および接続切換スイッチS51〜S53,S61〜S63の動作状態、前述の第1〜第4の電流経路の接続状態、ならびにトランス3における巻線31と巻線32A〜32Hとの巻数比(np/ns)をそれぞれ表したものである。 Here, with reference to FIG. 19, the connection switching operation by the
まず、直流高圧電圧VHが電圧VthHよりも高い場合(VH≧VthH)には、第1の実施の形態と同様に、スイッチング素子S1〜S4がそれぞれ直流高圧電圧VHの大きさに応じてデューティ比が変動するPWM(Pulse Width Modulation;パルス幅変調)動作を行うように、演算回路72が駆動信号SG1〜SG4をそれぞれ出力する。また、接続切換スイッチS51〜S53,S61〜S63がいずれもオフ状態となり、第1〜第4の電流経路が互いに4並列接続状態となるように、演算回路74が駆動信号SG51〜SG53,SG61〜SG63をそれぞれ出力する。なお、この場合は4並列接続状態であることから、巻数比は4nとなる。 First, when the DC high voltage VH is higher than the voltage VthH (VH ≧ VthH), as in the first embodiment, the switching elements S1 to S4 each have a duty ratio according to the magnitude of the DC high voltage VH. The
また、直流高圧電圧VHが電圧VthLよりも低い場合(VthL>VH)にも、第1の実施の形態と同様に、スイッチング素子S1〜S4がそれぞれ直流高圧電圧VHの大きさに応じてデューティ比が変動するPWM動作を行うように、演算回路72が駆動信号SG1〜SG4をそれぞれ出力する。また、接続切換スイッチS51〜S53,S61〜S63がいずれもオン状態となり、第1〜第4の電流経路が互いに4直列接続状態となるように、演算回路74が駆動信号SG51〜SG53,SG61〜SG63をそれぞれ出力する。なお、この場合は4直列接続状態であることから、巻数比はnとなる。 In addition, when the DC high voltage VH is lower than the voltage VthL (VthL> VH), the switching elements S1 to S4 have duty ratios according to the magnitude of the DC high voltage VH, respectively, as in the first embodiment. The
一方、直流高圧電圧VHが電圧VthHと電圧VthMとの間にある場合(VthH>VH≧VthM)には、スイッチング素子S1〜S4がそれぞれ直流高圧電圧VHの大きさによらずデューティ比が一定のPWM動作を行うように、演算回路72が駆動信号SG1〜SG4をそれぞれ出力する。また、演算回路74が、接続切換スイッチS52,S62がそれぞれオフ状態となるように駆動信号SG52,SG62をそれぞれ出力する一方、接続切換スイッチS51,S53,S61,S63がそれぞれ直流高圧電圧VHの大きさに応じてデューティ比が変動するPWM動作を行うように、駆動信号SG51,SG53,SG61,SG63をそれぞれ出力する。したがって、直流高圧電圧VHがこの電圧範囲にある場合、接続切換スイッチS51,S53,S61,S63がオン状態・オフ状態のいずれであるかによって、第1〜第4の電流経路の接続状態が4並列と2直列2並列との間で時間的に変動し、これにより巻数比も4n〜2nの間で連続的に変化することになる。 On the other hand, when the DC high voltage VH is between the voltage VthH and the voltage VthM (VthH> VH ≧ VthM), the switching elements S1 to S4 have a constant duty ratio regardless of the magnitude of the DC high voltage VH. The
また、直流高圧電圧VHが電圧VthMと電圧VthLとの間にある場合(VthM>VH≧VthL)には、スイッチング素子S1〜S4がそれぞれ直流高圧電圧VHの大きさによらずデューティ比が一定のPWM動作を行うように、演算回路72が駆動信号SG1〜SG4をそれぞれ出力する。また、演算回路74が、接続切換スイッチS51,S53,S61,S63がそれぞれオン状態となるように駆動信号SG51,SG53,SG61,SG63をそれぞれ出力する一方、接続切換スイッチS52,S62がそれぞれ直流高圧電圧VHの大きさに応じてデューティ比が変動するPWM動作を行うように、駆動信号SG52,SG62をそれぞれ出力する。したがって、直流高圧電圧VHがこの電圧範囲にある場合、接続切換スイッチS52,S62がオン状態・オフ状態のいずれであるかによって、第1〜第4の電流経路の接続状態が2直列2並列と4直列の間で時間的に変動し、これにより巻数比も2n〜nの間で連続的に変化することになる。 When the DC high voltage VH is between the voltage VthM and the voltage VthL (VthM> VH ≧ VthL), the switching elements S1 to S4 have a constant duty ratio regardless of the magnitude of the DC high voltage VH. The
このような構成により制御部7Aは、制御部7と同様に、電圧検出回路62から出力される直流低圧電圧VLに応じた電圧に基づいて駆動信号SG1〜SG4を生成し、これによってスイッチング素子S1〜S4をオン・オフ制御することにより、直流低圧電圧VLを安定化させる(一定に保つ)ようになっている。 With this configuration, similarly to the
また、電圧検出回路61から出力される直流高圧電圧VHに応じた電圧の大きさ、および電圧検出回路62から出力される直流低圧電圧VLに応じた電圧の大きさに基づいて駆動信号SG51〜SG53,SG61〜SG63を生成し、これによって接続切換スイッチS51〜S53,S61〜S63の動作を制御することにより、スイッチング回路41と巻線32Aまたは巻線32Eとを通る電流経路(第1の電流経路)、スイッチング回路42と巻線32Bまたは巻線32Fとを通る電流経路(第2の電流経路)、スイッチング回路43と巻線32Cまたは巻線32Gとを通る電流経路(第3の電流経路)、およびスイッチング回路44と巻線32Dまたは巻線32Hとを通る電流経路(第4の電流経路)の接続状態を切り換えるようになっている。具体的には、第1〜第4の電流経路が互いに4直列接続された4直列接続状態のデューティ比、互いに2直列2並列接続された2直列2並列接続状態、および互いに4並列接続された4並列接続状態のデューティ比をそれぞれ変化させることにより、トランス3における巻線31の巻数npと巻線32A〜32Hの巻数nsとの巻数比(np/ns)を連続的に変化させるようになっている。 The drive signals SG51 to SG53 are based on the magnitude of the voltage according to the DC high voltage VH output from the
次に、図20〜図26を参照して、本実施の形態のスイッチング電源装置(図18に示した制御部7Aを有する)と、第1の実施の形態のスイッチング電源装置(比較例;図2に示した制御部7を有する)とにおいて、順方向動作時に入力電圧である直流高圧電圧VHが変化する際の接続切換制御に関して比較しつつ説明する。 Next, referring to FIGS. 20 to 26, the switching power supply device of this embodiment (having the
ここで、図20,図21は、比較例に係る接続切換制御のタイミング波形を表したものであり、図20は直流高圧電圧VHがしきい値電圧Vth12よりも大きい場合からこれよりも小さくなるまでのタイミング波形を、図21は直流高圧電圧VHがしきい値電圧Vth11よりも大きい場合からこれよりも小さくなるまでのタイミング波形を、それぞれ表している。一方、図22,図23は、本実施の形態に係る接続切換制御のタイミング波形を表したものであり、図22は直流高圧電圧VHが電圧VthHよりも大きい場合から電圧VthMまで低下する際のタイミング波形を、図23は直流高圧電圧VHが電圧VthMから電圧VthLよりも小さくなるまでのタイミング波形を、それぞれ表している。具体的には、これら図20〜図23では、(A)は直流高圧電圧VHを、(B)は駆動信号SG1,SG3を、(C)は駆動信号SG2,SG4を、(D)は駆動信号SG51,SG61を、(E)は駆動信号SG52,SG62を、(F)は駆動信号SG53,SG63を、(G)は低圧側の高圧ラインL2H上の点(センタタップCT)での電位VCTを、(H)は直流低圧電圧VLを、それぞれ表している。また、図24は、本実施の形態の制御部7Aによる入力電圧とデューティ比および接続状態との関係を表したものであり、比較例(第1の実施の形態)における図10に対応するものである。なお、図20〜図23において、4直列接続状態を「4s」と表し、2直列2並列接続状態を「2s2p」と表し、4並列接続状態を「4p」と表している。 20 and 21 show timing waveforms of connection switching control according to the comparative example. FIG. 20 shows that the DC high voltage VH is larger than the threshold voltage Vth12 and is smaller than this. FIG. 21 shows timing waveforms until the DC high voltage VH is higher than the threshold voltage Vth11 until it becomes smaller than this. On the other hand, FIGS. 22 and 23 show timing waveforms of connection switching control according to the present embodiment, and FIG. 22 shows a case where the DC high voltage VH is lower than the voltage VthH to the voltage VthM. FIG. 23 shows a timing waveform, and FIG. 23 shows a timing waveform until the DC high voltage VH becomes smaller than the voltage VthL from the voltage VthM. Specifically, in FIGS. 20 to 23, (A) shows the DC high voltage VH, (B) shows the drive signals SG1 and SG3, (C) shows the drive signals SG2 and SG4, and (D) shows the drive. The signals SG51 and SG61, (E) the drive signals SG52 and SG62, (F) the drive signals SG53 and SG63, and (G) the potential VCT at the point (center tap CT) on the low-voltage side high-voltage line L2H. (H) represents the DC low voltage VL. FIG. 24 shows the relationship between the input voltage, the duty ratio, and the connection state by the
まず、図20に示した比較例では、直流高圧電圧VH((A))がしきい値電圧Vth12よりも高いとき(タイミングt120〜t121)には、接続切換スイッチS51〜S53,S61〜S63の駆動信号SG51〜SG53,SG61〜SG63はオフ状態となり((D)〜(F))、第1〜第4の電流経路が互いに4並列接続状態となる一方、直流高圧電圧VHがしきい値電圧Vth12よりも低くなると(タイミングt121以降)、駆動信号SG51,SG53,SG61,SG63がオン状態となり((D),(F))、第1〜第4の電流経路が互いに2直列2並列接続状態となる。つまり、接続切換スイッチS51〜S53,S61〜S63はそれぞれ、直流高圧電圧VHが所定のしきい値電圧Vth12よりも高いか否かにより、制御部7によってそのオン・オフ状態が切り替わるような制御がなされる。 First, in the comparative example shown in FIG. 20, when the DC high voltage VH ((A)) is higher than the threshold voltage Vth12 (timing t120 to t121), the connection changeover switches S51 to S53 and S61 to S63 are switched. The drive signals SG51 to SG53, SG61 to SG63 are turned off ((D) to (F)), and the first to fourth current paths are connected in parallel to each other, while the DC high voltage VH is the threshold voltage. When it becomes lower than Vth12 (after timing t121), the drive signals SG51, SG53, SG61, SG63 are turned on ((D), (F)), and the first to fourth current paths are connected in two series and two in parallel. It becomes. That is, the connection changeover switches S51 to S53 and S61 to S63 are controlled so that the
また、図21に示した比較例では、直流高圧電圧VH((A))がしきい値電圧Vth11よりも高いとき(タイミングt123〜t124)には、駆動信号SG51,SG53,SG61,SG63がオン状態であると共に駆動信号SG52,SG63がオフ状態であり((D)〜(F))、第1〜第4の電流経路が互いに2直列2並列接続状態である一方、直流高圧電圧VHがしきい値電圧Vth11よりも低くなると(タイミングt124以降)、駆動信号SG52,SG62もオン状態となり((E))、第1〜第4の電流経路が互いに4直列接続状態となる。つまりこの場合も、接続切換スイッチS51〜S53,S61〜S63はそれぞれ、直流高圧電圧VHが所定のしきい値電圧Vth11よりも高いか否かにより、制御部7によってそのオン・オフ状態が切り替わるような制御がなされる。 In the comparative example shown in FIG. 21, when the DC high voltage VH ((A)) is higher than the threshold voltage Vth11 (timing t123 to t124), the drive signals SG51, SG53, SG61, SG63 are turned on. And the drive signals SG52 and SG63 are in the off state ((D) to (F)), and the first to fourth current paths are connected in two series and two in parallel, while the DC high voltage VH is When it becomes lower than the threshold voltage Vth11 (after timing t124), the drive signals SG52 and SG62 are also turned on ((E)), and the first to fourth current paths are in a 4-series connection state. That is, also in this case, the connection changeover switches S51 to S53 and S61 to S63 are switched on and off by the
そしてスイッチング素子S1〜S4の駆動信号SG1〜SG4((B),(C))は、直流高圧電圧VHが変化することによって直流低圧電圧VLも変動してしまうのを回避するため、制御部7によってそれらのデューティ比が変化するように制御がなされ、直流低圧電圧VL((H))が一定に保たれるようになっている。 The drive signals SG1 to SG4 ((B) and (C)) of the switching elements S1 to S4 are controlled by the
しかしながら、例えばタイミングt121において4並列接続状態から2直列2並列接続状態へと切り替わる際や、タイミングt124において2直列2並列接続状態から4直列接続状態へと切り替わる際に、それぞれ符号G3,G4で示したように、直流低圧電圧VLにオーバーシュートが生じ、タイミングt121〜t122,t124〜t125の期間では一定に保たれなくなっている。これは、接続状態がタイミングt121,t124において急激に切り替わるため、制御部7内の差動増幅器Amp1(エラーアンプ)の応答速度が追いつかず、センタ図中のタップ電圧VCT((G))において矢印で示したように、駆動信号SG1〜SG4のデューティ比が急激に変化すること(図10に示したしきい値電圧Vth11,Vth12における急激な変化)ができないからである。このようにして比較例では、タイミングt121〜t122,t124〜t125においてわずかながら駆動信号SG1〜SG4のデューティ比が大きくなるため、直流低圧電圧VLにオーバーシュートが生じてしまうこととなる。 However, for example, when switching from the 4 parallel connection state to the 2
これに対して本実施の形態では、図22に示したように直流高圧電圧VHが電圧VthHと電圧VthMとの間で変化する場合には、前述のように、直流低圧電圧VLの大きさ(つまり間接的に直流高圧電圧VHの大きさ)に応じて接続切換スイッチS51〜S53,S61〜S63の動作を制御し、4並列接続状態および2直列2並列接続状態のデューティ比をそれぞれ変化させることにより、トランス3における巻線31の巻数npと巻線32A〜32Hの巻数nsとの巻数比(np/ns)を連続的に変化させるようになっている。 On the other hand, in the present embodiment, when the DC high voltage VH changes between the voltage VthH and the voltage VthM as shown in FIG. 22, as described above, the magnitude of the DC low voltage VL ( That is, the operation of the connection changeover switches S51 to S53, S61 to S63 is indirectly controlled according to the DC high voltage VH), and the duty ratios in the 4 parallel connection state and the 2
また、図23に示したように直流高圧電圧VHが電圧VthMと電圧VthLとの間で変化する場合にも、直流低圧電圧VLの大きさ(間接的に直流高圧電圧VHの大きさ)に応じて接続切換スイッチS51〜S53,S61〜S63の動作を制御し、2直列2並列接続状態および4直列接続状態のデューティ比をそれぞれ変化させることにより、トランス3における巻数比(np/ns)を連続的に変化させるようになっている。 Also, as shown in FIG. 23, when the DC high voltage VH changes between the voltage VthM and the voltage VthL, it depends on the magnitude of the DC low voltage VL (indirect magnitude of the DC high voltage VH). By controlling the operation of the connection changeover switches S51 to S53, S61 to S63 and changing the duty ratios of the 2
さらに、差動増幅器Amp2の負極入力端子へ供給される電圧が差動増幅器Amp1の負極入力端子へ供給される電圧よりもわずかに高くなるように設定されているため、駆動信号SG1〜SG4(図22,図23の(B),(C))のデューティ比は一定となっている。よって、センタタップ電圧VCTの電圧波形は図22(G),図23(G)でそれぞれ示したようになり、その積分値(面積)が常に一定となることから、直流低圧電圧VL((H))にはオーバーシュートは生じず、常に一定に保たれるようになっている。 Further, since the voltage supplied to the negative input terminal of the differential amplifier Amp2 is set to be slightly higher than the voltage supplied to the negative input terminal of the differential amplifier Amp1, the drive signals SG1 to SG4 (FIG. 22, the duty ratio of (B) and (C) in FIG. 23 is constant. Therefore, the voltage waveform of the center tap voltage VCT is as shown in FIGS. 22 (G) and 23 (G), and since the integral value (area) is always constant, the DC low voltage VL ((H )) Does not cause an overshoot and is always kept constant.
このようにして本実施の形態のスイッチング電源装置では、例えば図24中の符号G5に示したように、直流高圧電圧VHが電圧VthHと電圧VthLとの間では、駆動信号SG1〜SG4のデューティ比は一定となる一方、図中の符号G6,G7でそれぞれ示したように、駆動信号SG51,SG53,SG61,SG63のデューティ比および駆動信号SG52,SG62のデューティ比は連続的に変化する。 Thus, in the switching power supply of the present embodiment, for example, as indicated by reference numeral G5 in FIG. 24, when the DC high voltage VH is between the voltage VthH and the voltage VthL, the duty ratio of the drive signals SG1 to SG4 Is constant, but the duty ratios of the drive signals SG51, SG53, SG61, and SG63 and the duty ratios of the drive signals SG52 and SG62 change continuously as indicated by reference numerals G6 and G7 in the figure.
なお、図22,図23では直流高圧電圧VHが電圧VthHと電圧VthLとの間で変化する場合について示したが、直流高圧電圧VHがVthH以上やVthL以下の場合には、例えば図24に示したように、駆動信号SG1〜SG4のデューティ比も一定の変化量で変位することになる。 22 and 23 show the case where the DC high voltage VH changes between the voltage VthH and the voltage VthL. However, when the DC high voltage VH is equal to or higher than VthH or lower than VthL, for example, FIG. As described above, the duty ratio of the drive signals SG1 to SG4 is also displaced by a constant change amount.
以上のように、本実施の形態では、直流高圧電圧VHの大きさに応じて4直列接続状態、2直列2並列接続状態および4並列接続状態のデューティ比をそれぞれ変化させるようにしたので、これらの値を連続的に変化させることができ、急激な変化を回避することができる。よって、スイッチング装置内に応答速度が遅い素子(例えば、前述のエラーアンプなど)があるような場合であっても、トランス3における巻線31の巻数npと巻線32A〜32Hの巻数nsとの巻数比(np/ns)を連続的に変化(増加または減少)させることができ、各素子の応答速度によらずに直流低圧電圧VLを安定化させることが可能となる。 As described above, in the present embodiment, the duty ratios of the 4 series connection state, the 2
なお、本実施の形態では、駆動信号SG51〜SG53,SG61〜SG63のデューティ比が変化する場合と駆動信号SG1〜SG4のデューティ比が変化する場合とを、直流高圧電圧VHの範囲で分けた場合で説明したが、両者のデューティ比とも変化させるようにしてもよい。 In the present embodiment, the case where the duty ratios of drive signals SG51 to SG53, SG61 to SG63 change and the case where the duty ratios of drive signals SG1 to SG4 change are divided within the range of DC high voltage VH. As described above, both the duty ratios may be changed.
また、本実施の形態では、制御部7Aによる切換制御は、図22,図23に示したようなセンタタップ電圧VCTの電圧波形には限られず、例えば図22に対応するものとして図25や図26に示したようなものでもよい。これらのように構成した場合でも、本実施の形態と同様の効果を得ることが可能である。ただし、スイッチング回路1が前述した位相シフト動作をする場合には、図25,図26に示した電圧波形においてゼロボルトスイッチング動作を行うことができるため、この場合にすることが好ましい。 In the present embodiment, the switching control by the
また、本実施の形態では、制御部7A内に比較器Comp1および基準電源Ref3を設けたが、直流高圧電圧VHを電圧VthHと電圧VthLとの間で変化させるような場合にはこれらを設けず、演算回路74が比較器Comp3からの出力信号のみに基づいて駆動信号SG51〜SG53,SG61〜SG63を生成するようにしてもよい。 In the present embodiment, the comparator Comp1 and the reference power supply Ref3 are provided in the
さらに、本実施の形態では、直流高圧電圧VHから直流低圧電圧VLを生成する順方向動作について説明したが、直流低圧電圧VLから直流高圧電圧VHを生成する逆方向動作の場合も、順方向動作の場合と同様の作用により同様の効果を得ることが可能である。 Further, in the present embodiment, the forward operation for generating the DC low voltage VL from the DC high voltage VH has been described. However, the forward operation is also applied to the reverse operation for generating the DC high voltage VH from the DC low voltage VL. It is possible to obtain the same effect by the same operation as in the above case.
以上、第1および第2の実施の形態を挙げて本発明を説明したが、本発明はこれらの実施の形態に限定されず、種々の変形が可能である。 Although the present invention has been described with reference to the first and second embodiments, the present invention is not limited to these embodiments, and various modifications can be made.
例えば上記実施の形態では、低圧側のスイッチング回路の個数が4つの場合(スイッチング回路41〜44)で説明したが、この低圧側のスイッチング回路の個数はこれらの場合には限られない。例えば図27に示したように、この低圧側のスイッチング回路を2つ(スイッチング回路41,42)設けると共に、これらにそれぞれ対応してトランス3の低圧側に互いに巻数の等しい2対の巻線(巻線32A,32Eおよび巻線32B,32F)を設けるようにした場合には、例えば図28に示したような演算部74,75を有する制御部7Bによって、これら2つのスイッチング回路41,42と2対の巻線32A,32E、巻線32B,32Fとから構成される低圧側の2つの電流経路同士が、例えば図29に示したような所定のしきい値電圧Vth3と大小により互いに2並列接続または2直列接続となるように接続切換を行うことができる。また、例えば図30に示したように、第2の実施の形態と同様にして、直流高圧電圧VHの大きさに応じて2直列接続状態および2並列接続状態のデューティ比をそれぞれ変化させることにより、これらの値を連続的に変化させ、急激な変化を回避することも可能である。よって、この場合もスイッチング装置内に応答速度が遅い素子があるような場合であっても、トランス3における巻線31の巻数npと巻線32A,32E、巻線32B,32Fとの巻数比を連続的に変化(増加または減少)させ、各素子の応答速度によらずに直流低圧電圧VLを安定化させることが可能となる。なお、このように低圧側のスイッチング回路を2つ設けた場合、図27に示したようなスイッチング回路41,42の代わりに例えば図31に示したようなスイッチング回路45,46を設けると共に、接続切換スイッチS5,S6に加えて接続切換スイッチS7,S8および2直列接続時用のダイオードD7,D8を設けるようにしてもよい。このような構成とした場合、2直列接続状態および2並列接続状態の場合とも、各電流経路において通過する素子数が減るため、素子における電力損失を抑え、スイッチング電源装置の効率を向上させることが可能となる。 For example, in the above embodiment, the case where the number of low-voltage side switching circuits is four (switching
また、上記実施の形態では、スイッチング回路1内のスイッチング素子S1〜S4において、スイッチング素子S1,S4間またはスイッチング素子S2,S3間が互いに同期してオン・オフ動作を行う場合について説明したが、これらスイッチング素子S1〜S4に対して並列にコンデンサC1〜C4を接続すると共に、これらのスイッチング素子が互いに位相シフト動作(位相差φ、デッドタイムTd)するようにしてもよい。このように構成した場合、インダクタLrとコンデンサC1〜C4とがLC共振回路を構成し、共振動作を行うようになる。よって、スイッチング素子S1〜S4がそれぞれいわゆるZVS(Zero Volt Switching;ゼロボルトスイッチング)動作をするようになり、上記実施の形態における効果に加え、これらのスイッチング素子における短絡損失を抑制し、装置の効率をより向上させることが可能となる。 In the above-described embodiment, the switching elements S1 to S4 in the
また、上記実施の形態では、逆方向動作時には出力電圧(直流高圧電圧VH)の目標電圧値に応じて接続切換を行う場合で説明したが、この逆方向動作時にも順方向動作時と同様に、入力電圧(直流低圧電圧VL)の大きさに応じて接続切換を行うようにしてもよい。そのように構成した場合、例えば順方向動作時と同様に、一定の出力電圧(直流高圧電圧VH)を維持可能な入力電圧(直流低圧電圧VL)の範囲を従来と比べて広げることが可能となる。なお、この場合には、トランス3の低圧側(例えば、高圧ラインL2Hと低圧ラインL2Lとの間)に、入力電圧(直流低圧電圧VL)を検出する電圧検出回路を設けるようにすればよい。 In the above-described embodiment, the case where the connection is switched according to the target voltage value of the output voltage (DC high voltage VH) during the reverse operation has been described. However, the reverse operation is the same as the forward operation. The connection switching may be performed according to the magnitude of the input voltage (DC low voltage VL). In the case of such a configuration, for example, as in the forward operation, the range of the input voltage (DC low voltage VL) that can maintain a constant output voltage (DC high voltage VH) can be expanded compared to the conventional case. Become. In this case, a voltage detection circuit for detecting the input voltage (DC low voltage VL) may be provided on the low voltage side of the transformer 3 (for example, between the high voltage line L2H and the low voltage line L2L).
また、上記実施の形態では、スイッチング回路1がフルブリッジ型の回路であると共にスイッチング回路41〜44がそれぞれセンタタップ型の回路である場合について説明したが、これらスイッチング回路1,41〜44の構成はこれには限られず、例えばスイッチング回路1をハーフブリッジ型の回路としてもよく、また、スイッチング回路41〜44をそれぞれフルブリッジ型の回路としてもよい。 In the above embodiment, the switching
また、上記実施の形態では、スイッチング電源装置が降圧型の場合で説明したが、本発明は昇圧型のスイッチング電源装置に適用することも可能である。 In the above embodiment, the switching power supply device is described as a step-down type, but the present invention can also be applied to a step-up type switching power supply device.
1,41〜46…スイッチング回路、3,30…トランス、31…第1の巻線、32A〜32H…第2の巻線、51…高圧バッテリ、52…低圧バッテリ、61,62…電圧検出回路、7,7A,7B…制御部、71,73…発振回路、72,74〜76…演算回路、S1〜S4,S11〜S14,S21〜S24,S31〜S34,S41〜S44…スイッチング素子、S5,S51〜S53,S6,S61〜S63,S7,S8…接続切換スイッチ、D1〜D4,D11〜S14,D21〜S24,D31〜S34,D41〜S44,D7,D8…ダイオード、CH,CL…平滑コンデンサ、T1〜T4…入出力端子、L1H,L2H…高圧ライン、L1L,L2L…低圧ライン、Lr,Lch…インダクタ、P1〜P25…接続点、VH…直流高圧電圧、VL…直流低圧電圧、VCT…センタタップ電圧、Comp1〜Comp3…比較器、Amp1,Amp2…差動増幅器(エラーアンプ)、Ref1〜Ref3…基準電源、V1〜V3…基準電位、R1…抵抗器、PLS1,PLS2…パルス電圧、Ip11〜Ip14,Ip21〜Ip24,Ip31〜Ip34,Ip41〜Ip44,Isp11,Isp12,Isp21,Isp22,Isp31,Isp32,Isp41,Isp42,Is1〜Is4,Ia〜Id…電流、SG1〜SG4,SG11〜SG14,SG21〜SG24,SG31〜SG34,SG41〜SG44,SG5,SG51〜SG53,SG6,SG61〜SG63,SG7,SG8…スイッチング信号、t20〜t31…タイミング。 DESCRIPTION OF
| Application Number | Priority Date | Filing Date | Title |
|---|---|---|---|
| JP2006053649AJP4797698B2 (en) | 2006-02-28 | 2006-02-28 | Switching power supply |
| US11/711,114US7558092B2 (en) | 2006-02-28 | 2007-02-27 | Switching power supply unit |
| EP07004195.9AEP1826895B1 (en) | 2006-02-28 | 2007-02-28 | Switching power supply unit |
| Application Number | Priority Date | Filing Date | Title |
|---|---|---|---|
| JP2006053649AJP4797698B2 (en) | 2006-02-28 | 2006-02-28 | Switching power supply |
| Publication Number | Publication Date |
|---|---|
| JP2007236091Atrue JP2007236091A (en) | 2007-09-13 |
| JP2007236091A5 JP2007236091A5 (en) | 2009-04-23 |
| JP4797698B2 JP4797698B2 (en) | 2011-10-19 |
| Application Number | Title | Priority Date | Filing Date |
|---|---|---|---|
| JP2006053649AExpired - Fee RelatedJP4797698B2 (en) | 2006-02-28 | 2006-02-28 | Switching power supply |
| Country | Link |
|---|---|
| JP (1) | JP4797698B2 (en) |
| Publication number | Priority date | Publication date | Assignee | Title |
|---|---|---|---|---|
| JP2011234564A (en)* | 2010-04-28 | 2011-11-17 | Ihi Corp | Power supply unit |
| US8339808B2 (en) | 2009-06-19 | 2012-12-25 | Tdk Corporation | Switching power supply unit |
| Publication number | Priority date | Publication date | Assignee | Title |
|---|---|---|---|---|
| JPS61124265A (en)* | 1984-11-21 | 1986-06-12 | Hitachi Ltd | Multioutput switching power source |
| JPH11136939A (en)* | 1997-10-28 | 1999-05-21 | Canon Inc | Switching power supply |
| JP2001211645A (en)* | 2000-01-25 | 2001-08-03 | Hitachi Ltd | DC power supply |
| JP2004282931A (en)* | 2003-03-18 | 2004-10-07 | Iwatsu Electric Co Ltd | DC-DC converter power supply method and device |
| Publication number | Priority date | Publication date | Assignee | Title |
|---|---|---|---|---|
| JPS61124265A (en)* | 1984-11-21 | 1986-06-12 | Hitachi Ltd | Multioutput switching power source |
| JPH11136939A (en)* | 1997-10-28 | 1999-05-21 | Canon Inc | Switching power supply |
| JP2001211645A (en)* | 2000-01-25 | 2001-08-03 | Hitachi Ltd | DC power supply |
| JP2004282931A (en)* | 2003-03-18 | 2004-10-07 | Iwatsu Electric Co Ltd | DC-DC converter power supply method and device |
| Publication number | Priority date | Publication date | Assignee | Title |
|---|---|---|---|---|
| US8339808B2 (en) | 2009-06-19 | 2012-12-25 | Tdk Corporation | Switching power supply unit |
| JP2011234564A (en)* | 2010-04-28 | 2011-11-17 | Ihi Corp | Power supply unit |
| Publication number | Publication date |
|---|---|
| JP4797698B2 (en) | 2011-10-19 |
| Publication | Publication Date | Title |
|---|---|---|
| JP4797663B2 (en) | Switching power supply | |
| JP7439671B2 (en) | Switching power supplies and power supply systems | |
| US8780585B2 (en) | Double phase-shifting full-bridge DC-to-DC converter | |
| JP4910525B2 (en) | Resonant switching power supply | |
| EP3048714B1 (en) | Switching power supply unit and voltage converting method | |
| JP7306316B2 (en) | Switching power supply and power supply system | |
| JP5434371B2 (en) | Resonant switching power supply | |
| JPWO2018216294A1 (en) | DC / DC converter | |
| US8724345B2 (en) | Self power source apparatus | |
| JP2010011625A (en) | Dc-to-dc converter, switching power supply, and uninterruptible power supply apparatus | |
| CN114696601B (en) | Power conversion device | |
| JP6107848B2 (en) | Bidirectional DC / DC converter | |
| JP2006180599A (en) | Power supply | |
| US20140133190A1 (en) | Isolated switch-mode dc/dc converter with sine wave transformer voltages | |
| JP4797698B2 (en) | Switching power supply | |
| TWI816965B (en) | Dc pulse power supply device | |
| JP4797699B2 (en) | Switching power supply | |
| EP1826895B1 (en) | Switching power supply unit | |
| JP2006158137A (en) | Switching power supply | |
| JP6488960B2 (en) | Bidirectional DC-DC converter | |
| JP2025099809A (en) | DC/DC Converter | |
| JP2025095144A (en) | Current resonant DC/DC converter | |
| JP2025042369A (en) | LLC type DC/DC converter | |
| JP4097442B2 (en) | Switching power supply device and control circuit used therefor | |
| JP2022063977A (en) | Switching power supply and power supply system |
| Date | Code | Title | Description |
|---|---|---|---|
| A621 | Written request for application examination | Free format text:JAPANESE INTERMEDIATE CODE: A621 Effective date:20081016 | |
| A521 | Written amendment | Free format text:JAPANESE INTERMEDIATE CODE: A523 Effective date:20090306 | |
| A977 | Report on retrieval | Free format text:JAPANESE INTERMEDIATE CODE: A971007 Effective date:20110126 | |
| A131 | Notification of reasons for refusal | Free format text:JAPANESE INTERMEDIATE CODE: A131 Effective date:20110201 | |
| A521 | Written amendment | Free format text:JAPANESE INTERMEDIATE CODE: A523 Effective date:20110315 | |
| TRDD | Decision of grant or rejection written | ||
| A01 | Written decision to grant a patent or to grant a registration (utility model) | Free format text:JAPANESE INTERMEDIATE CODE: A01 Effective date:20110705 | |
| A01 | Written decision to grant a patent or to grant a registration (utility model) | Free format text:JAPANESE INTERMEDIATE CODE: A01 | |
| A61 | First payment of annual fees (during grant procedure) | Free format text:JAPANESE INTERMEDIATE CODE: A61 Effective date:20110718 | |
| FPAY | Renewal fee payment (event date is renewal date of database) | Free format text:PAYMENT UNTIL: 20140812 Year of fee payment:3 | |
| R150 | Certificate of patent or registration of utility model | Ref document number:4797698 Country of ref document:JP Free format text:JAPANESE INTERMEDIATE CODE: R150 Free format text:JAPANESE INTERMEDIATE CODE: R150 | |
| LAPS | Cancellation because of no payment of annual fees |