


この発明は、ハロゲン含有ガス等の原料成分に水蒸気を添加してプラズマ化し、被処理物と接触させて、該被処理物の表面処理を行なう方法及び装置に関する。 The present invention relates to a method and apparatus for performing surface treatment of a material to be treated by adding water vapor to a raw material component such as a halogen-containing gas to form a plasma and bringing it into contact with the material to be treated.
CF4等のハロゲンを含む原料成分と水蒸気の混合ガスを大気圧近傍下でプラズマ化して、HF等の反応性のハロゲン化水素を生成し、これをガラス基板や半導体基板等の被処理物に吹き付け、エッチング等の表面処理を行なう技術は公知である(特許文献1参照)。A mixed gas of a raw material component containing halogen such as CF4 and water vapor is converted into plasma under atmospheric pressure to generate reactive hydrogen halide such as HF, and this is applied to an object to be processed such as a glass substrate or a semiconductor substrate. Techniques for performing surface treatment such as spraying and etching are known (see Patent Document 1).
エッチング等の処理速度は、HF等のハロゲン化水素の濃度が高いほど向上する。ハロゲン化水素濃度を高くするには、原料となるCF4等への水蒸気の混合比を増やす必要がある。したがって、露点が高くなる。一方、基板の温度は一般に低温であるほど、ハロゲン化水素の基板への吸着が良く、エッチング等の処理速度が向上する。しかし、高露点ガスを低温の基板に吹き付けると、基板に結露が発生してしまうおそれがある。そのため、基板温度>ガス露点の条件で処理せざるを得ず、処理速度を高速化するのは困難であった。The processing speed such as etching improves as the concentration of hydrogen halide such as HF increases. In order to increase the hydrogen halide concentration, it is necessary to increase the mixing ratio of water vapor to CF4 or the like as a raw material. Therefore, the dew point becomes high. On the other hand, in general, the lower the temperature of the substrate, the better the adsorption of hydrogen halide to the substrate, and the higher the processing speed such as etching. However, if high dew point gas is sprayed onto a low temperature substrate, condensation may occur on the substrate. Therefore, the substrate must be processed under the condition of substrate temperature> gas dew point, and it has been difficult to increase the processing speed.
発明者らは、CF4と水の混合ガスをプラズマに通し、そこから吹き出されたガス中の水蒸気濃度を測定した。その結果、図3に示すように、吹出しガス中の水蒸気濃度は、プラズマ生成を開始した後、急激に減少し、ほぼゼロに落ち着くことが判明した。
本発明は、この知見に基づいてなされたものであり、
プラズマにより水分子と反応して被処理物との反応性(被処理物が半導体基板やガラス基板等である場合、該基板に被膜された酸化物や絶縁物等の層との反応性を含む)を有する水素化合物となるべき原料成分を含むとともに水蒸気が添加されるべき処理ガスを用いて、前記被処理物の表面処理を行なう方法であって、
前記処理ガスの原料成分を、一対の電極間の空間に通し、前記電極間の空間の下流の吹出し口から前記被処理物に向けて吹き出す原料供給工程と、
前記一対の電極間に電界を印加することによって前記電極間空間にプラズマを生成するプラズマ生成工程と、
前記処理ガスに水蒸気を添加する水蒸気添加工程と、を実行し、
前記原料供給工程及び前記プラズマ生成工程の開始後に前記水蒸気添加工程を開始し、前記プラズマ生成工程及び前記原料供給工程の停止前に前記水蒸気添加工程を停止することを特徴とする。
これによって、処理ガスを高露点にすることができ、高濃度の反応性水素化合物を生成でき、処理速度を向上させることができる。一方、被処理物に対しては上記高露点の処理ガスとの接触を回避でき、被処理物に結露が生じるのを防止することができる。The inventors passed a mixed gas of CF4 and water through plasma and measured the water vapor concentration in the gas blown out from the plasma. As a result, as shown in FIG. 3, it was found that the water vapor concentration in the blown-out gas rapidly decreased after the start of plasma generation and settled to almost zero.
The present invention has been made based on this finding,
Reactivity with the object to be processed by reacting with water molecules by plasma (when the object to be processed is a semiconductor substrate, a glass substrate, etc., it includes reactivity with a layer such as an oxide or an insulator coated on the substrate. A surface treatment of the object to be treated using a treatment gas containing a raw material component to be a hydrogen compound and having water vapor added thereto,
A raw material supply step of passing the raw material component of the processing gas through a space between a pair of electrodes and blowing the raw material toward the object to be processed from a blowout port downstream of the space between the electrodes,
A plasma generation step of generating plasma in the inter-electrode space by applying an electric field between the pair of electrodes;
Performing a water vapor addition step of adding water vapor to the processing gas,
The water vapor addition step is started after the raw material supply step and the plasma generation step are started, and the water vapor addition step is stopped before the plasma generation step and the raw material supply step are stopped.
As a result, the processing gas can have a high dew point, a high concentration reactive hydrogen compound can be generated, and the processing speed can be improved. On the other hand, contact with the processing gas with the high dew point can be avoided for the object to be processed, and condensation can be prevented from occurring on the object to be processed.
例えば、前記原料成分は、フッ素、塩素、臭素等のハロゲンを含有するハロゲン含有ガスであり、前記水素化合物は、ハロゲン化水素である。ハロゲン含有ガスは、ハロゲン化合物だけでなくハロゲン分子単体をも含む。ハロゲン化合物としては、例えばCF4が挙げられる。CF4を原料成分とした場合の水素化合物は、HFである。
被処理物は、例えば、表面にSiO2等の膜が被膜されたガラス基板や半導体基板であり、前記水素化合物は、例えば前記膜との反応性を有している。For example, the raw material component is a halogen-containing gas containing a halogen such as fluorine, chlorine or bromine, and the hydrogen compound is a hydrogen halide. The halogen-containing gas includes not only a halogen compound but also a halogen molecule alone. An example of the halogen compound is CF4 . The hydrogen compound when CF4 is used as a raw material component is HF.
The object to be processed is, for example, a glass substrate or a semiconductor substrate whose surface is coated with a film such as SiO2 , and the hydrogen compound has reactivity with the film, for example.
前記水蒸気添加工程において、前記電極間空間より上流側の前記処理ガスの露点が前記被処理物の温度より高くなるとともに前記原料成分と水分子の反応比率に対応する露点以下になるように、前記水蒸気の添加量を調節することが好ましい。
これによって、確実に高濃度の反応性水素化合物を得ることができ、処理速度を確実に向上させることができるとともに、電極間に導入した水蒸気を残さず反応に寄与させて消費するように出来、未反応のまま被処理物に吹き出される水蒸気量を低減することができ、被処理物への結露を一層確実に防止することができる。特に、a−SiをSiO2に対し選択エッチングする場合、H2Oの通過量をなるべく少なくすることによって、大きな選択比を得ることができ、有効である。
前記処理ガスの露点は、水の蒸気圧の関係上、100℃以下に制限される。例えば、前記処理ガスがCF4とH2Oで構成される場合、CF4とH2Oの反応比率は2:1(モル比)であるので、前記露点は、水蒸気が処理ガス全体の3分の1を占める状態における露点(=70℃程度)以下であることが好ましい。In the water vapor addition step, the dew point of the processing gas upstream from the inter-electrode space is higher than the temperature of the object to be processed and is equal to or lower than the dew point corresponding to the reaction ratio of the raw material components and water molecules. It is preferable to adjust the amount of water vapor added.
As a result, it is possible to reliably obtain a high concentration reactive hydrogen compound, to improve the processing speed reliably, and to contribute to the reaction without consuming the water vapor introduced between the electrodes, The amount of water vapor blown to the object to be processed can be reduced without being reacted, and condensation on the object to be processed can be more reliably prevented. In particular, when a-Si is selectively etched with respect to SiO2 , it is effective because a large selection ratio can be obtained by reducing the passage amount of H2 O as much as possible.
The dew point of the processing gas is limited to 100 ° C. or less due to the vapor pressure of water. For example, if the process gas is composed of CF4 andH 2 O, CF4 andH 2 reaction ratio of O 2: 1 because it is (molar ratio), the dew point, water vapor in the entire processing gas 3 It is preferable that it is below the dew point (= about 70 degreeC) in the state which occupies a fraction.
前記水蒸気添加工程の停止から所定の時間経過後に、前記プラズマ生成工程を停止し、前記原料供給工程を停止することが好ましい。
これによって、前記電極間空間を含むガス流路から水蒸気を確実にパージできるまで電極間空間で水蒸気を分解可能な状態にしておくことができ、被処理物への結露を一層確実に防止することができる。上記所定の時間は、前記電極間空間を含むガス流路の容量及び前記水蒸気添加工程の停止後の処理ガス流量によって決められる。It is preferable that the plasma generation process is stopped and the raw material supply process is stopped after a predetermined time has elapsed since the stop of the water vapor addition process.
As a result, the water vapor can be decomposed in the inter-electrode space until the water vapor can be reliably purged from the gas flow path including the inter-electrode space, and condensation on the object to be processed can be more reliably prevented. Can do. The predetermined time is determined by the capacity of the gas flow path including the interelectrode space and the processing gas flow rate after the water vapor addition process is stopped.
また、本発明は、プラズマにより水分子と反応して被処理物との反応性を有する水素化合物となるべき原料成分を含むとともに水蒸気が添加されるべき処理ガスを用いて、前記被処理物の表面処理を行なう方法であって、
前記処理ガスを一対の電極間の空間に通し、前記電極間の空間の下流の吹出し口から前記被処理物に向けて吹き出し、前記一対の電極間に電界を印加することによって前記電極間空間にプラズマを生成するとともに、
前記電極間空間より上流側の前記処理ガスの露点が、前記プラズマ生成の開始時には前記被処理物の温度より低くなるようにし、前記プラズマ生成の開始後該プラズマ生成の停止前までの間は前記水蒸気添加よって前記被処理物の温度より高くなるようにし、前記プラズマ生成の停止時には前記被処理物の温度より低くなるようにすることを特徴とする。
これによって、高濃度の反応性水素化合物を生成でき、処理速度を向上させることができるとともに、被処理物に対しては上記高露点の処理ガスとの接触を回避でき、被処理物に結露が生じるのを防止することができる。
前記プラズマ生成の開始前及び停止後の処理ガスには、露点が前記被処理物の温度より低くなる程度の水蒸気が含まれていてもよい。Further, the present invention includes a raw material component that should react with water molecules by plasma to become a hydrogen compound having reactivity with the object to be processed, and using a processing gas to which water vapor is to be added, A method for performing a surface treatment,
The processing gas is passed through a space between a pair of electrodes, blown out from a blowout port downstream of the space between the electrodes toward the object to be processed, and an electric field is applied between the pair of electrodes to the space between the electrodes. While generating plasma,
The dew point of the processing gas upstream of the inter-electrode space is set to be lower than the temperature of the object to be processed at the start of the plasma generation, and until the plasma generation is stopped after the plasma generation is started. The temperature is higher than the temperature of the object to be processed by adding water vapor, and the temperature is lower than the temperature of the object to be processed when the plasma generation is stopped.
As a result, a high-concentration reactive hydrogen compound can be generated, the processing speed can be improved, and the object to be processed can be prevented from coming into contact with the processing gas having the high dew point. It can be prevented from occurring.
The processing gas before and after the start of plasma generation may contain water vapor that has a dew point lower than the temperature of the object to be processed.
また、本発明は、プラズマにより水分子と反応して被処理物との反応性を有する水素化合物となるべき原料成分を含むとともに水蒸気が添加されるべき処理ガスを用いて、前記被処理物の表面処理を行なう装置であって、
互いの間の空間にプラズマを生成する一対の電極を含み、前記電極間の空間の下流に前記基板を向くべき吹出し口が設けられたプラズマ生成部と、
前記処理ガスの原料成分を前記電極間空間に導入する原料供給系と、
前記水蒸気を前記処理ガスに添加する水蒸気供給系と、を備え、
前記水蒸気供給系が、前記原料供給系による原料成分導入及び前記プラズマ生成部によるプラズマ生成の開始後に、前記水蒸気添加を開始し、前記プラズマ生成及び前記原料成分導入の停止前に、前記水蒸気添加を停止することを特徴とする。
これによって、高濃度の反応性水素化合物を生成でき、処理速度を向上させることができるとともに、被処理物に対しては上記高露点の処理ガスとの接触を回避でき、被処理物に結露が生じるのを防止することができる。Further, the present invention includes a raw material component that should react with water molecules by plasma to become a hydrogen compound having reactivity with the object to be processed, and using a processing gas to which water vapor is to be added, An apparatus for performing surface treatment,
A plasma generation unit including a pair of electrodes for generating plasma in a space between each other, and provided with an outlet to face the substrate downstream of the space between the electrodes;
A raw material supply system for introducing a raw material component of the processing gas into the interelectrode space;
A water vapor supply system for adding the water vapor to the processing gas,
The water vapor supply system starts the water vapor addition after starting the raw material component introduction by the raw material supply system and the plasma generation by the plasma generation unit, and before the plasma generation and the raw material component introduction stop, It is characterized by stopping.
As a result, a high-concentration reactive hydrogen compound can be generated, the processing speed can be improved, and the object to be processed can be prevented from coming into contact with the processing gas having the high dew point. It can be prevented from occurring.
前記水蒸気供給系は、前記電極間空間より上流側の前記処理ガスの露点が、前記被処理物の温度より高くなるとともに前記原料成分と水分子の反応比率に対応する露点以下になるように、前記水蒸気の添加量を調節することが好ましい。
これによって、確実に高濃度の反応性水素化合物を得ることができ、処理速度を確実に向上させることができるとともに、電極間に導入した水蒸気を残さず反応に寄与させて消費するように出来、未反応のまま被処理物に吹き出される水蒸気量を低減することができ、被処理物への結露を一層確実に防止することができる。In the water vapor supply system, the dew point of the processing gas upstream from the inter-electrode space is higher than the temperature of the object to be processed and is equal to or less than the dew point corresponding to the reaction ratio of the raw material components and water molecules. It is preferable to adjust the amount of water vapor added.
As a result, it is possible to reliably obtain a high concentration reactive hydrogen compound, to improve the processing speed reliably, and to contribute to the reaction without consuming the water vapor introduced between the electrodes, The amount of water vapor blown to the object to be processed can be reduced without being reacted, and condensation on the object to be processed can be more reliably prevented.
前記被処理物の温度を、前記水蒸気添加中にける前記電極間空間より上流側の前記処理ガスの露点より低くなるように調節する温度調節手段を、更に備えるのが好ましい。
これによって、高速処理を確保できるとともに、被処理物への結露を一層確実に防止することができる。
前記被処理物の温度は、前記水蒸気添加工程実行中の前記電極間空間より上流側の前記処理ガスの露点より低く、前記吹出し口での前記処理ガスの露点より高いのが好ましい。
前記被処理物の温度は、約25℃以上、好ましくは約30℃以上、約60℃以下であることが望ましい。被処理物温度の下限を約25℃、好ましくは約30℃とすることによって、大気中の水分が被処理物に結露するのを防止することができる。被処理物温度の上限を約60℃とすることによって、HF等のハロゲン化水素の基板表面への付着性を確保でき、処理速度を確実に高速化することができる。It is preferable to further comprise temperature adjusting means for adjusting the temperature of the object to be processed to be lower than the dew point of the processing gas upstream of the interelectrode space during the addition of water vapor.
As a result, high-speed processing can be ensured, and condensation on the object to be processed can be more reliably prevented.
The temperature of the object to be processed is preferably lower than the dew point of the processing gas upstream of the inter-electrode space during execution of the water vapor addition step and higher than the dew point of the processing gas at the outlet.
The temperature of the object to be treated is about 25 ° C. or higher, preferably about 30 ° C. or higher and about 60 ° C. or lower. By setting the lower limit of the temperature of the workpiece to about 25 ° C., preferably about 30 ° C., it is possible to prevent moisture in the atmosphere from condensing on the workpiece. By setting the upper limit of the temperature of the object to be processed to about 60 ° C., adhesion of hydrogen halide such as HF to the substrate surface can be secured, and the processing speed can be surely increased.
本発明は、大気圧近傍下でプラズマを生成し表面処理するのに好適である。大気圧近傍(略常圧)とは、1.013×104〜50.663×104Paの範囲を言い、圧力調整の容易化や装置構成の簡便化を考慮すると、1.333×104〜10.664×104Pa(100〜800Torr)が好ましく、9.331×104〜10.397×104Pa(700〜780Torr)がより好ましい。The present invention is suitable for generating plasma and performing surface treatment near atmospheric pressure. Near atmospheric pressure (substantially normal pressure) refers to a range of 1.013 × 104 to 50.663 × 104 Pa, and considering the ease of pressure adjustment and the simplification of the apparatus configuration, 1.333 × 10 6.4 to 10.664 × 104 Pa (100 to 800 Torr) is preferable, and 9.331 × 104 to 10.9797 × 104 Pa (700 to 780 Torr) is more preferable.
本発明によれば、高濃度のハロゲン化水素を生成でき、処理速度を向上させることができるとともに、被処理物への結露を防止することができる。 According to the present invention, high-concentration hydrogen halide can be generated, the processing speed can be improved, and condensation on the object to be processed can be prevented.
以下、本発明の第1実施形態を説明する。
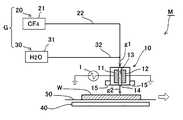
図1は、表面処理装置Mを示したものである。表面処理装置Mは、プラズマ生成部10と、処理ガス供給系Gを備えている。プラズマ生成部10は、一対の電極11,12を有し、これら電極11,12どうしの間に数mm幅の空間13が形成されている。少なくとも一方の電極の空間13形成面には固体誘電体(図示省略)が設けられている。詳細な図示は省略するが、一対の電極11,12は、例えば図1の紙面と直交する前後方向に延びている。したがって、電極間空間13も前後方向に延びている。電極間空間13の下流端に吹出し口14が連なっている。吹出し口14は、前後に延びるスリット状になっている。一方の電極11に電源1が接続され、他方の電極12が電気的に接地されている。電源1から電極11への電圧供給によって電極11,12間に電界が印加され、通路13内に大気圧プラズマ放電が生成されるようになっている。プラズマ生成部10の下面の左右側部には吸引口15が設けられている。Hereinafter, a first embodiment of the present invention will be described.
FIG. 1 shows a surface treatment apparatus M. The surface processing apparatus M includes a
プラズマ生成部10の下方に被処理物として例えば液晶パネル用のガラス基板Wが配置されるようになっている。基板Wの上面には、エッチングされるべきシリコン酸化物(図示省略)が被膜されている。基板Wは、温度調節手段40によって加熱又は冷却され、所望の温度に調節されるようになっている。温度調節手段40は、テーブル等の基板Wの設置手段50に組み込んでもよく、基板設置手段から離れて設置されていてもよい。基板Wは、プラズマ生成部10に対し図1の左右方向に相対移動されるようになっている。基板Wが静止される一方、プラズマ生成部10が左右に移動されるようにしてもよく、プラズマ生成部10が静止される一方、基板Wが移動されるようにしてよい。
プラズマ生成部10及び基板Wは、略大気圧の雰囲気下に配置されている。For example, a glass substrate W for a liquid crystal panel is disposed below the
The
処理ガス供給系Gは、処理ガスg1をプラズマ生成部10に供給するものであり、原料供給系20と、水蒸気供給系30とを含んでいる。
原料供給系20は、原料ガス源21と、このガス源21から延びる原料導入路22とを有している。原料ガス源21には、処理ガスg1中の原料成分としてハロゲン含有ガスのCF4が蓄えられている。原料導入路22の下流端は、プラズマ生成部10の電極間空間13の上流端に連なっている。原料供給系20には、開閉弁等の開閉手段やMFCや流量制御弁等の流量制御手段を設けるのが好ましい。The processing gas supply system G supplies the processing gas g <b> 1 to the
The raw
水蒸気供給系30は、水蒸気源31を備えている。水蒸気源31は、処理ガスg1中の水蒸気となるべき水を蓄えた水槽や蒸発手段等で構成されている。水蒸気源31から水蒸気混合路32が延び、この水蒸気混合路32が上記原料導入路22と合流し、プラズマ生成部10の電極間空間13の上流端に連なっている。水蒸気供給系30には、開閉弁等の開閉手段やMFCや流量制御弁等の流量制御手段を設けるのが好ましい。
原料ガス源21からのCF4の一部又は全部を水蒸気源31に導き、水蒸気源31内においてCF4とH2Oが混合されるようにしてもよい。窒素等のキャリアガスに水蒸気を含ませ、この水蒸気を含むキャリアガスをCF4と混合するようにしてもよい。The water
A part or all of CF4 from the
上記構成の表面処理装置Mにて基板Wを処理する方法を説明する。
基板設置手段50に基板Wを設置し、温度調節手段40によって基板Wの温度を調節する。基板温度は、25〜60℃程度が好ましい。基板温度を25℃以上にすることによって、大気中の水分が基板W上に結露するのを防止できる。より好ましくは基板温度を30℃以上にする。これによって、大気中の水分が基板W上に結露するのを一層確実に防止することができる。A method of processing the substrate W by the surface processing apparatus M having the above configuration will be described.
The substrate W is set on the substrate setting means 50, and the temperature adjusting means 40 adjusts the temperature of the substrate W. The substrate temperature is preferably about 25 to 60 ° C. By setting the substrate temperature to 25 ° C. or higher, it is possible to prevent moisture in the atmosphere from condensing on the substrate W. More preferably, the substrate temperature is set to 30 ° C. or higher. This can more reliably prevent moisture in the atmosphere from condensing on the substrate W.
基板Wの上方には、プラズマ生成部10を配置する。
原料供給工程
そして、図2のタイムチャートに示すように、原料供給系20のCF4を導入路22から電極間空間13に導入する(CF4導入on)。CF4は、電極間空間13を通って吹出し口14から吹き出される。この時点では、CF4に水蒸気が添加されておらず、基板Wに結露が発生するおそれはない。Above the substrate W, the
2. Raw material supply process And, as shown in the time chart of FIG. 2, CF4 of the raw
プラズマ生成工程
次いで、電源1から電極11への電圧供給により電極間空間13内にプラズマを生成する(プラズマ生成on)。Plasma generation step Next, plasma is generated in the
水蒸気添加工程
前記プラズマ生成の開始後に、水蒸気供給系30の水蒸気を上記導入路22のCF4に添加する(H2O導入on)。これによって、CF4と水蒸気の混合ガスからなる処理ガスg1が生成される。(以下、この処理ガスg1を、後記プラズマ化後の処理ガスg2と区別するため、「一次処理ガスg1」という。)一次処理ガスg1全体に対する水蒸気の流量比は、4〜30vol%程度になるようにするのが好ましく、一次処理ガスg1の露点は、30〜70℃程度になるようにするのが好ましい。この一次処理ガスg1の露点は、上記基板温度より高い。Water vapor addition step After the start of the plasma generation, the water vapor of the water
この高露点の一次処理ガスg1が、電極間空間13に導入され、プラズマによってCF4と水蒸気から反応性水素化合物としてHFが生成される反応が起き、CF4と水蒸気が消費されるとともに、HFを含む二次処理ガスg2が生成される。一次処理ガスg1が高露点であり水蒸気を十分に含んでいるため、二次処理ガスg2中のHFを高濃度にすることができる。一方、プラズマ中での水蒸気の分解によって、二次処理ガスg2の露点は十分に低くなり、基板温度を下回らせることができる。Primary treatment gas g1 of the high dew point, is introduced into the
上記の高HF濃度かつ低露点の二次処理ガスg2が、吹出し口14から吹き出され、基板Wの表面に接触する。これにより、基板WのSiO2が二次処理ガスg2中のHFと反応してエッチングされる。高濃度のHFを基板Wに供給することができるので、エッチング速度を十分に高めることができる。しかも、基板温度が60℃以下の低温になっているので、HFの基板表面への付着性が良く、高速エッチングを十分に確保することができる。
一方、二次処理ガスg2の露点は、基板温度を十分に下回っているため、エッチング処理の期間中、基板Wに結露が生じることはない。The secondary processing gas g2 having the high HF concentration and the low dew point is blown out from the
On the other hand, since the dew point of the secondary processing gas g2 is sufficiently lower than the substrate temperature, no condensation occurs on the substrate W during the etching process.
処理済みのガスは、吸引口15から吸引され、排気される。
基板Wをプラズマ生成部10に対し相対移動させることにより、基板Wの全面を処理することができる。The treated gas is sucked from the
By moving the substrate W relative to the
水蒸気添加工程の停止
基板Wのエッチングが終了したとき、先ず、水蒸気供給系20による水蒸気の電極間空間13への導入を停止する(H2O導入off)。
水蒸気導入の停止から一定期間t1(ガス配管の容量とCF4量から決まる)、CF4の導入及びプラズマ生成を継続する。これによって、原料導入路22の水蒸気混合路32との合流部分から吹出し口14までの間、更にはプラズマ生成部10と基板Wとの間の空間から水蒸気が除去される。これによって、もはや基板Wに結露が生じるおそれがなくなる。When the etchingof the stop substrate W in thewater vapor addition process is completed, first, the introduction of water vapor into the
(Determined from the capacitance and CF4 of the gas pipe) fixed period t1 from the stop of the steam introduced to continue the introduction and plasma generation of CF4. As a result, the water vapor is removed from the portion where the raw
プラズマ生成工程の停止
一定期間t1が経過した後、電源1から電極11への電圧供給を停止する。これによって、電極間空間13でのプラズマ生成が停止される(プラズマ生成off)。Stopping the plasma generation process After a certain period t1 has elapsed, the voltage supply from the power source 1 to the
原料供給工程の停止
その後、CF4の導入を停止する(CF4導入off)。CF4の導入停止は、プラズマ生成の停止動作と同時であってもよい。Afterstopping the raw material supply process, the introduction of CF4 is stopped (CF4 introduction off). The introduction stop of CF4 may be performed simultaneously with the stop operation of plasma generation.
このように、水蒸気導入の開始タイミングを、CF4導入及びプラズマ生成の開始後に設定するとともに、水蒸気導入の停止タイミングを、プラズマ生成の停止前及びCF4導入の停止前に設定することによって、処理の全期間を通じて高露点の一次処理ガスg2が基板Wに触れるのを回避でき、基板Wに結露が生じるのを防止することができる。As described above, the start timing of the water vapor introduction is set after the CF4 introduction and the plasma generation start, and the stop timing of the water vapor introduction is set before the plasma generation stop and before the CF4 introduction stop. It is possible to avoid the high dew point primary processing gas g2 from touching the substrate W throughout the entire period, and to prevent dew condensation on the substrate W.
本発明は、上記実施形態に限定されるものでなく、種々の改変をなすことができる。
例えば、ハロゲン含有ガスは、少なくともハロゲン原子を含むものであればよく、CF4以外のフッ素化合物を用いてもよく、フッ素以外の、塩素、臭素等の他のハロゲン化合物を用いてもよく、ハロゲン化合物に代えてハロゲン単体を用いてもよい。
原料成分は、処理内容に応じて選択してよく、ハロゲン含有ガス以外の、水分子とプラズマ反応可能な物質を用いてもよい。
原料供給系20からの原料成分ガスには、露点が基板温度を下回る程度の水分が含まれていてもよい。水蒸気添加工程実行時には、この原料成分ガスに元々含まれる水分と水蒸気供給系30からの水蒸気とを合わせて、一次処理ガスg1の露点が基板温度を上回るようにすればよい。
一次処理ガスg1の露点が、プラズマ生成の開始時には基板温度より低くなるようにし、プラズマ生成の開始〜プラズマ生成の停止までの間は水蒸気添加によって基板温度より高くなるようにし、プラズマ生成の停止時には基板温度より低くなるようにしてもよい。
処理ガスは、CF4等の原料成分及びH2O以外に、窒素等の他のガス成分を含んでいてもよい。
本発明は、エッチングだけでなく、表面改質、洗浄などの他の表面処理にも適用できる。
被処理物は、ガラス基板に限られず、半導体基板等であってもよい。The present invention is not limited to the above embodiment, and various modifications can be made.
For example, the halogen-containing gas only needs to contain at least a halogen atom, a fluorine compound other than CF4 may be used, and other halogen compounds other than fluorine, such as chlorine and bromine, may be used. Instead of the compound, a halogen simple substance may be used.
The raw material component may be selected according to the content of the treatment, and a substance capable of undergoing plasma reaction with water molecules other than the halogen-containing gas may be used.
The raw material component gas from the raw
The dew point of the primary processing gas g1 is made lower than the substrate temperature at the start of plasma generation, and is made higher than the substrate temperature by adding water vapor from the start of plasma generation to the stop of plasma generation, and at the stop of plasma generation The temperature may be lower than the substrate temperature.
The processing gas may contain other gas components such as nitrogen in addition to the raw material components such as CF4 and H2 O.
The present invention can be applied not only to etching but also to other surface treatments such as surface modification and cleaning.
The object to be processed is not limited to a glass substrate, and may be a semiconductor substrate or the like.
実施例を説明する。
図1の装置Mと実質的に同様の装置を用いた。吹出し口14の幅は、5mmであり、前後方向の長さは750mmであった。ガラス基板Wの大きさは、730mm×920mmであり、その表面に被膜されたSiO2をエッチングすることにした。基板温度は、50℃とした。
まず、水無添加のCF4をプラズマ生成部10に導入した。CF4の流量は、4SLMとした。
次いで、電源1から電極11に電圧を印加し、電極間空間13内に常圧プラズマを生成した。印加電圧は、Vpp=10kV、30kHz、パルス幅10の矩形パルスとした。
プラズマ放電発生の信号を受けて、上記のCF4(4SLM)に、露点が60℃となる量のH2Oを添加し、CF4とH2Oの混合ガスからなる温度70℃の一次処理ガスg1を生成し、これを電極間のプラズマ空間13でプラズマ化し、基板Wに吹き付けた。これにより、基板Wの表面の吹出し口14と吸引口15の間に対応する部分のSiO2をエッチングすることができた。基板Wとプラズマ生成部10が互いに静止している場合、エッチング速度は、3μm/minであった。基板Wをプラズマ生成部10に対し1000mm/minで相対移動させた場合、600AのSiO2膜を除去できた。エッチング終了時は、まず、水添加を停止し、一定時間t1の経過後にプラズマを停止し、その後CF4の供給を停止した。
処理の全期間を通して、基板Wの表面に結露が生じることはなかった。Examples will be described.
A device substantially similar to the device M of FIG. 1 was used. The width | variety of the
First, CF4 without water was introduced into the
Next, a voltage was applied from the power source 1 to the
In response to the signal of the occurrence of plasma discharge, H2 O having an amount of dew point of 60 ° C. is added to the above CF4 (4SLM), and the primary treatment at a temperature of 70 ° C. made of a mixed gas of CF4 and H2 O A gas g1 was generated, which was turned into plasma in the
Condensation did not occur on the surface of the substrate W throughout the entire treatment period.
本発明は、例えば液晶テレビやプラズマテレビ用のフラットパネルや半導体製品の製造に適用可能である。 The present invention is applicable to the manufacture of flat panels and semiconductor products for liquid crystal televisions and plasma televisions, for example.
M 表面処理装置
W ガラス基板(被処理物)
g1 処理ガス
10 プラズマ生成部
11,12 電極
13 電極間空間
14 吹出し口
20 原料供給系
30 水蒸気供給系
40 温度調節手段M Surface treatment equipment W Glass substrate (object to be treated)
| Application Number | Priority Date | Filing Date | Title |
|---|---|---|---|
| JP2006016258AJP2007201067A (en) | 2006-01-25 | 2006-01-25 | Surface treatment method and equipment |
| Application Number | Priority Date | Filing Date | Title |
|---|---|---|---|
| JP2006016258AJP2007201067A (en) | 2006-01-25 | 2006-01-25 | Surface treatment method and equipment |
| Publication Number | Publication Date |
|---|---|
| JP2007201067Atrue JP2007201067A (en) | 2007-08-09 |
| Application Number | Title | Priority Date | Filing Date |
|---|---|---|---|
| JP2006016258APendingJP2007201067A (en) | 2006-01-25 | 2006-01-25 | Surface treatment method and equipment |
| Country | Link |
|---|---|
| JP (1) | JP2007201067A (en) |
| Publication number | Priority date | Publication date | Assignee | Title |
|---|---|---|---|---|
| WO2009113402A1 (en)* | 2008-03-13 | 2009-09-17 | 積水化学工業株式会社 | Method and apparatus for etching silicon-containing films |
| KR20160138119A (en) | 2014-04-16 | 2016-12-02 | 아사히 가라스 가부시키가이샤 | Etching apparatus, etching method, substrate manufacturing method, and substrate |
| JP2019071346A (en)* | 2017-10-10 | 2019-05-09 | 積水化学工業株式会社 | Surface treatment method and apparatus |
| Publication number | Priority date | Publication date | Assignee | Title |
|---|---|---|---|---|
| JPH06338478A (en)* | 1993-03-31 | 1994-12-06 | Fujitsu Ltd | Manufacture of semiconductor device manufacturing apparatus and semiconductor device |
| JPH0837176A (en)* | 1994-07-25 | 1996-02-06 | Fujitsu Ltd | Hydrogen plasma downflow apparatus cleaning method and semiconductor device manufacturing method |
| JP2005011827A (en)* | 2002-07-17 | 2005-01-13 | Sekisui Chem Co Ltd | Method and device for supplying atmospheric pressure plasma etching gas |
| Publication number | Priority date | Publication date | Assignee | Title |
|---|---|---|---|---|
| JPH06338478A (en)* | 1993-03-31 | 1994-12-06 | Fujitsu Ltd | Manufacture of semiconductor device manufacturing apparatus and semiconductor device |
| JPH0837176A (en)* | 1994-07-25 | 1996-02-06 | Fujitsu Ltd | Hydrogen plasma downflow apparatus cleaning method and semiconductor device manufacturing method |
| JP2005011827A (en)* | 2002-07-17 | 2005-01-13 | Sekisui Chem Co Ltd | Method and device for supplying atmospheric pressure plasma etching gas |
| Publication number | Priority date | Publication date | Assignee | Title |
|---|---|---|---|---|
| WO2009113402A1 (en)* | 2008-03-13 | 2009-09-17 | 積水化学工業株式会社 | Method and apparatus for etching silicon-containing films |
| JP2009246331A (en)* | 2008-03-13 | 2009-10-22 | Sekisui Chem Co Ltd | Method and apparatus for etching silicon-containing films |
| KR101209351B1 (en) | 2008-03-13 | 2012-12-07 | 세키스이가가쿠 고교가부시키가이샤 | Method and apparatus for etching silicon-containing films |
| KR20160138119A (en) | 2014-04-16 | 2016-12-02 | 아사히 가라스 가부시키가이샤 | Etching apparatus, etching method, substrate manufacturing method, and substrate |
| JP2019071346A (en)* | 2017-10-10 | 2019-05-09 | 積水化学工業株式会社 | Surface treatment method and apparatus |
| JP7032095B2 (en) | 2017-10-10 | 2022-03-08 | 積水化学工業株式会社 | Surface treatment method and equipment |
| Publication | Publication Date | Title |
|---|---|---|
| JP5476152B2 (en) | Silicon nitride etching method and apparatus | |
| KR101956837B1 (en) | Selective etch of silicon by way of metastable hydrogen termination | |
| KR101004159B1 (en) | Silicon etching method | |
| WO2011105331A1 (en) | Etching method and etching apparatus | |
| US20030211748A1 (en) | Method of plasma etching of high-K dielectric materials | |
| CN103137415A (en) | Apparatus and method for manufacturing semiconductor devices | |
| JP5416590B2 (en) | Etching method of silicon | |
| KR20210019398A (en) | Etching method and plasma processing apparatus | |
| TW202125627A (en) | Systems and methods to form airgaps | |
| WO2009113402A1 (en) | Method and apparatus for etching silicon-containing films | |
| TW201705276A (en) | Adjustable remote dissociation | |
| KR100731331B1 (en) | Dry etching method | |
| JP2007201067A (en) | Surface treatment method and equipment | |
| WO2010035522A1 (en) | Method and apparatus for etching silicon-containing film | |
| CN102834902B (en) | Etching method and device | |
| JP2004128281A (en) | Substrate treatment method and apparatus thereof | |
| JP2009099880A (en) | Plasma etching apparatus | |
| JP7321059B2 (en) | Plasma processing method and plasma processing apparatus | |
| JP2010062433A (en) | Method and apparatus for etching silicon-containing film | |
| JP2022544673A (en) | Multi-state RF pulsing to control mask shape and destroy selectivity versus process margin trade-offs | |
| JP2012216582A (en) | Etching method for silicon-containing material | |
| JP2009094209A (en) | Etching method of silicon | |
| JP7032095B2 (en) | Surface treatment method and equipment | |
| JP2009060145A (en) | Method for removing oxide film | |
| JP2005129662A (en) | Normal pressure plasma etching method |
| Date | Code | Title | Description |
|---|---|---|---|
| A621 | Written request for application examination | Free format text:JAPANESE INTERMEDIATE CODE: A621 Effective date:20081017 | |
| A977 | Report on retrieval | Free format text:JAPANESE INTERMEDIATE CODE: A971007 Effective date:20090401 | |
| A131 | Notification of reasons for refusal | Free format text:JAPANESE INTERMEDIATE CODE: A131 Effective date:20110524 | |
| A02 | Decision of refusal | Free format text:JAPANESE INTERMEDIATE CODE: A02 Effective date:20111011 |