















この発明は対象物認識システムに関する。 The present invention relates to an object recognition system.
従来の対象物認識システムとして下記の公開特許公報に記載されたものが知られている。 A conventional object recognition system described in the following published patent publication is known.
花と葉のデジタル画像からクラスタリング法を用いて対象物である花と葉の画像を抽出し、その抽出された花と葉の画像から単数又は複数の特徴量を求め、その求められた特徴量と、あらかじめデータベースに登録してある各種の植物の特徴量とを統計的手法を用いて解析して野草の種類を判別する。
上記従来の対象物認識システムでは、データベースに登録された全ての特徴量毎に、画像から所定のパラメータを有する確率を求め、野草の種類を判別する。そのため、判別結果がでるまでに多くの演算時間が必要になる。 In the above-described conventional object recognition system, the probability of having a predetermined parameter is obtained from an image for every feature amount registered in the database, and the type of wild grass is determined. For this reason, a lot of calculation time is required until a discrimination result is obtained.
この発明はこのような事情に鑑みてなされたもので、迅速に検索を行うことができる対象物認識システムを提供することである。 This invention is made in view of such a situation, and is providing the target object recognition system which can search quickly.
上記課題を解決するため請求項1記載の発明は、対象物の画像を撮像する撮像手段と、前記撮像手段で撮像された画像から前記対象物の特徴量を抽出する特徴量抽出手段と、前記対象物が属するカテゴリに含まれる複数の種について、少なくとも前記特徴量に対応する特徴量情報が登録されたデータベースと、前記データベースに登録された前記特徴量情報からデータ群を抽出するデータベース絞込み手段と、前記データベース絞込み手段による抽出の条件を設定する絞込み条件設定手段と、前記データベース絞込み手段によって抽出された前記データ群に対してそれぞれ特徴量分布データを形成する分布データ形成手段と、前記分布データ形成手段によって形成された前記特徴量分布データに基づいて前記特徴量抽出手段によって抽出された前記特徴量と前記データベース絞込み手段によって抽出された前記データ群の中の前記特徴量情報とを対比して前記データ群の中の前記特徴量情報から前記特徴量と同じ特徴量を有する特徴量情報を検索する検索手段とを備えていることを特徴とする。 In order to solve the above-mentioned problem, an invention according to
請求項2記載の発明は、請求項1記載の対象物認識システムにおいて、前記分布データ形成手段は前記特徴量情報ごとに形成された前記特徴量分布データのうち最も均等に分布する特徴量分布データから順に前記特徴量に順位を付け、前記検索手段は前記分布データ形成手段で順位付けされた順序で検索を行うことを特徴とする。 According to a second aspect of the present invention, in the object recognition system according to the first aspect, the distribution data forming means distributes the feature quantity distribution data most evenly distributed among the feature quantity distribution data formed for each feature quantity information. The feature amounts are ranked in order, and the search means searches in the order ranked by the distribution data forming means.
請求項3記載の発明は、請求項1記載の対象物認識システムにおいて、前記分布データ形成手段は前記特徴量情報ごとに形成された前記特徴量分布データのうち最も多く出現するパラメータを有する特徴量分布データのデータ数が少ない順に前記特徴量に順位を付け、前記検索手段は前記分布データ形成手段で順位付けされた順序で検索を行うことを特徴とする。 According to a third aspect of the present invention, in the object recognition system according to the first aspect, the distribution data forming means has a feature quantity having a parameter that appears most frequently among the feature quantity distribution data formed for each of the feature quantity information. The feature amounts are ranked in ascending order of the number of distribution data, and the search means searches in the order ranked by the distribution data forming means.
請求項4記載の発明は、対象物の画像を撮像する撮像手段と、前記撮像手段で撮像された画像を表示する画像表示手段と、前記対象物が属するカテゴリに含まれる複数の種について、少なくとも前記対象物の特徴量に対応する特徴量情報が登録されたデータベースと、前記データベースに登録された前記特徴量情報に対してそれぞれ特徴量分布データを形成する分布データ形成手段と、前記特徴量毎の特徴量分布データを表示する表示手段と、前記特徴量分布データに基づいて、前記表示手段に表示された画像の一部を選択する選択手段と、前記選択手段で選択された前記画像の一部の情報に基づいて前記対象物の特徴量を抽出する特徴量抽出手段と、前記特徴量抽出手段によって抽出された前記特徴量と前記データベースに登録された前記特徴量情報とを対比して前記データ群の中の前記特徴量情報から前記特徴量と同じ特徴量を有する特徴量情報を検索する検索手段とを備えていることを特徴とする。 According to a fourth aspect of the present invention, there is provided at least an imaging unit that captures an image of an object, an image display unit that displays an image captured by the imaging unit, and a plurality of species included in a category to which the object belongs. A database in which feature amount information corresponding to the feature amount of the object is registered; distribution data forming means for forming feature amount distribution data for the feature amount information registered in the database; and for each feature amount Display means for displaying the feature quantity distribution data, selection means for selecting a part of the image displayed on the display means based on the feature quantity distribution data, and one of the images selected by the selection means. Feature quantity extraction means for extracting the feature quantity of the object based on the information of the part, the feature quantity extracted by the feature quantity extraction means and the database registered in the database By comparing the symptoms amount information, characterized by comprising a search unit for searching the feature amount information having the same characteristic quantity and the characteristic quantity from the feature amount information in the data group.
請求項5記載の発明は、請求項4記載の対象物認識システムにおいて、前記画像の一部は少なくとも1つの部位であることを特徴とする。 According to a fifth aspect of the present invention, in the object recognition system according to the fourth aspect, a part of the image is at least one part.
請求項6記載の発明は、請求項4記載の対象物認識システムにおいて、前記画像の一部は前記選択手段で選択した閉曲線で囲まれた少なくとも1つの領域であることを特徴とする。 A sixth aspect of the present invention is the object recognition system according to the fourth aspect, wherein a part of the image is at least one region surrounded by a closed curve selected by the selection means.
請求項7記載の発明は、請求項5又は6記載の対象物認識システムにおいて、前記特徴量は前記画像中の選択された部位又は領域から抽出された色情報であることを特徴とする。 A seventh aspect of the present invention is the object recognition system according to the fifth or sixth aspect, wherein the feature amount is color information extracted from a selected part or region in the image.
請求項8記載の発明は、請求項5又は6記載の対象物認識システムにおいて、前記特徴量は選択された少なくとも2つの部位又は領域間の距離情報であることを特徴とする。 The invention according to
請求項9記載の発明は、請求項6記載の対象物認識システムにおいて、前記特徴量は前記画像中の選択された少なくとも1つの領域の最小径、最大径、平均径、面積のうちの少なくとも1つであることを特徴とする。 According to a ninth aspect of the present invention, in the object recognition system according to the sixth aspect, the feature amount is at least one of a minimum diameter, a maximum diameter, an average diameter, and an area of at least one selected region in the image. It is characterized by being one.
請求項10記載の発明は、請求項6記載の対象物認識システムにおいて、前記特徴量は前記画像中の選択された少なくとも1つの領域の形状であることを特徴とする。 According to a tenth aspect of the present invention, in the object recognition system according to the sixth aspect, the feature amount is a shape of at least one selected region in the image.
請求項11記載の発明は、請求項4〜6のいずれか1項記載の対象物認識システムにおいて、前記特徴量は選択された複数の部位又は/及び領域の分布情報であることを特徴とする。 The invention according to
請求項12記載の発明は、請求項4記載の対象物認識システムにおいて、前記画像表示手段において、前記選択手段で選択された部位又は及び領域の輪郭、又は選択されない部位又は及び領域の色又は明るさが変化することを特徴とする。 According to a twelfth aspect of the present invention, in the object recognition system according to the fourth aspect, in the image display means, the outline of the part or area selected by the selection means, or the color or brightness of the non-selected part or area. It is characterized by the change.
この発明によれば迅速に検索を行うことができる。 According to this invention, it is possible to search quickly.
以下、この発明の実施の形態を図面に基づいて説明する。 Hereinafter, embodiments of the present invention will be described with reference to the drawings.
図1はこの発明の第1実施形態に係る対象物認識システムの全体構成図、図2(a)は地域別植生データ及び元データベースの一例を示す図、図2(b)は地域別植物群情報71と元データベース60とから絞込みデータベース50を作成する手順の一例を示す図である。 FIG. 1 is an overall configuration diagram of an object recognition system according to the first embodiment of the present invention, FIG. 2 (a) is a diagram showing an example of regional vegetation data and an original database, and FIG. 2 (b) is a regional plant group. It is a figure which shows an example of the procedure which produces the narrowing-down
この対象物認識システムは、撮像装置(撮像手段)10と画像表示部(画像表示手段)20と特徴量抽出部(特徴量抽出手段)30と検索エンジン(検索手段)40と絞込みデータベース50と元データベース60とデータ抽出部(データベース絞込み手段)70とGPSモジュール(絞込み条件設定手段)80とを備えている。 This object recognition system includes an imaging device (imaging unit) 10, an image display unit (image display unit) 20, a feature amount extraction unit (feature amount extraction unit) 30, a search engine (search unit) 40, a
撮像装置10は撮影レンズ(撮像光学系)11と撮像部12と画像処理回路13とを備えている。 The
撮影レンズ11は花等の対象物の光学像を撮像部12の受光面上に結像させる。なお、図1には撮影レンズ11は1つのレンズとして描かれているが、実際には複数のレンズで構成される。 The taking
撮像部12としてはCCD(Charge Coupled Device)を用いることができる。CCDは複数の受光素子を含み、撮影レンズ11によって結像された対象物の光学像によってそれぞれの受光素子に蓄積された電荷を、アナログの電気信号として画像処理回路13に出力する。 As the
画像処理回路13はCCDから受け取った、対象物のアナログ電気信号をR、G、Bの各成分に分解する。画像処理回路13はR、G、Bの各成分に分解されたアナログ電気信号をデジタル信号に変換し、対象物の像を示すデジタルの画像データをメモリ(図示せず)に記憶させて各種の処理を行なった後、デジタル信号をアナログ信号に変換してアナログの画像データを画像表示部20に出力する。 The
画像表示部20としてはCRTディスプレイやLCDパネルを用いることができる。画像表示部20に撮像装置10によって撮像された画像データが出力され、対象物の画像(対象植物画像)21が検索者に提供される。また、画像表示部20には検索エンジン40によって検索されたデータ、例えば画像(検索結果画像22、検索結果画像23)や名称等を含む情報が表示される。 As the
特徴量抽出部30は対象物の画像から特徴量を抽出する。特徴量は例えば花の色情報、花の輪郭から抽出される花弁の枚数、形状、大きさ等である。 The feature
検索エンジン40は特徴量抽出部30で抽出された例えば色情報(特徴量)と絞込みデータベース50に登録された色情報(特徴量)とを対比し、抽出された色情報と同じ色情報を有するデータを検索する。 The
絞込みデータベース50にはデータ抽出部70で抽出された地域毎の植生情報が入力されている。この情報に基づいて、絞込みデータベース50には所定の地域に生える植物群に絞り込まれた絞込みデータ(名前、科、特徴量、開花時期(結実時期)等)51が登録される。 Vegetation information for each region extracted by the
また、絞込みデータベース50では分布データ形成部(分布データ形成手段)52を用いて所定の地域に生える植物群に絞り込まれたデータに基づいて分布データ(特徴量分布データ)が形成される。 In the narrowing-down
元データベース60には例えば日本全国の野草に対応するデータ(名前、科、特徴量(色情報、形状情報等)、開花時期(結実時期)等の時期情報、解説、サンプル画像)が登録されている(図2(a)参照)。日本には代表的な野草として約2000種の植物が自生している。例えば、フウロソウ科の植物は、ハクサンフウロ、イヨフウロ、アサマフウロ、タチフウロ、グンナイフウロ、ヒメフウロ、イチゲフウロ、ミツバフウロ、コフウロの10種、亜種を含めると17種ある(参考文献:山渓ハンディ図鑑2“山に咲く花”)。 For example, data (name, family, feature amount (color information, shape information, etc.), time information such as flowering time (fruiting time), commentary, sample images) corresponding to wild grasses throughout Japan are registered in the
したがって、元データベース60の花の色、形等の特徴量と対象物の画像の花の色、形等の特徴量とを比較して植物の同定を行うことは難しい。しかし、花は特定の地方や山域に分布しており、所定の山域に限定すれば多くとも数種の花に絞ることができる。 Therefore, it is difficult to identify a plant by comparing the feature amount such as the color and shape of the flower of the
データ抽出部70はGPSモジュール80で取得した場所情報を入力する。データ抽出部70には複数の地域データと各地域に生える野草群データとが格納されている。データ抽出部70は選択された地域の野草群データに基づいて元データベース60から選択された地域に生える野草の情報(地域別植物群情報)71だけを選択して絞込みデータ51を作成する。地域別植物群情報71は例えば図2(a)に示すように、各地域a,b,c…に生育する植物群の植生情報である。 The
絞込みデータベース50は地域別植物群情報71と元データベース60とから作成される。GPSモジュール80によって検出された位置が例えば地域cである場合を例に絞込みデータベース50の作成手順を説明する。地域cに生育する植物群は植物群c(植物1、3、5、7…)である(図2(a)参照)。データ抽出部70は元データベース60から植物1、3、5、7…を地域cの絞込みデータとして抽出する。この絞込みデータを得る作業は地域を変更しない場合には最初に検索作業を行ったときの絞込みデータを用いて行われる。 The narrowing-down
GPSモジュール80は複数の人工衛星からの信号に基づいて画像を取得した場所情報を取得する。 The
次に、画像から花の大きさや草丈の高さを抽出する方法を説明する。 Next, a method for extracting the size of the flower and the height of the plant height from the image will be described.
図3は画像から花の大きさや草丈の高さを抽出する方法を説明するための図である。 FIG. 3 is a diagram for explaining a method of extracting the size of the flower and the height of the plant height from the image.
花の直径φは、画像21上の花の直径φ’、倍率β、又はレンズ11の焦点距離f及びレンズから対象物までの距離dとしたとき、以下の1式で算出される。 The diameter φ of the flower is calculated by the following equation, where the diameter φ ′ of the flower on the
φ = φ’/β
= fφ’/(d−f) ・・・(1式)
ここで、dはレンズ11から対象物までの距離として、撮像装置10に搭載された自動焦点機構(AF)により、焦点の合った状態でのレンズ11の繰り出し量から求めることができる。また、焦点距離fは、単焦点レンズの場合は固定値で、ズームレンズでも、通常デジタルカメラのレンズデータとして撮影されたデジタル画像とともに保存されている。φ = φ '/ β
= Fφ '/ (df) (1 formula)
Here, d can be obtained as the distance from the
花の大きさは、抽出された花の画像の外形からその直径がmm単位で計測され、データベース50内の花の大きさ情報と照合され、他の特徴量とともに検索作業が行われる。 The diameter of the flower is measured in mm from the outer shape of the extracted flower image, collated with the flower size information in the
また、セリ科やトウダイグサ科に代表されるように、花や実が房状につくものについては、大きさの情報として花単体および花房の大きさをデータベース50の特徴量に予め入力しておくことによって、その大きさ情報を、マクロレンズ(レンズ11)による花単体の画像及びそれ以外のレンズ(レンズ11)による花房全体から花房の大きさの計測に用いることができる。更に、植物全体の画像から、対象物である草丈の高さを求めることもできる。In addition, for flowers and fruits that have a tuft shape, as represented by the Apiaceae and Euphorbiaceae, the size of the single flower and the tuft is input in advance into the feature quantity of the
次に、分布データ形成部52について説明する。 Next, the distribution
図4は絞込みデータベースが有する特徴量の分布データの一例を示す図である。 FIG. 4 is a diagram illustrating an example of distribution data of feature amounts included in the narrowing-down database.
分布データ形成部52は絞込みデータベース50の特徴量毎に分布データを作成する。例えば、地域cの所定の地域における絞込みデータベース50から、所定の特徴量の分布データが形成される。分布データ形成部52は各々の特徴量に対する分布データから、以下の2式で表される分散値Veを求める。 The distribution
Ve=Se/(n−1) ・・・(2式)
ここで、Seはデータ間の差の大きさであり、以下の3式で表される。Ve = Se / (n-1) (2 formulas)
Here, Se is the magnitude of the difference between the data and is expressed by the following three equations.
Se=ST−Sm・・・(3式)
(但し、ST=y12+y22+y32+・・・+yn2、Sm=(y1+y2+y3+・・・+yn)2/n)
図4に示す各々の特徴量について分散値Veを求めた。分散値Veは、特徴量「花の形状と分布」の分散値Veは17.0、「花の色」の分散値Veは24.1、「花(又は花序)の大きさ」の分散値Veは97.8であった。分布データ形成部52は、絞込みデータベース50のデータの分散が最も小さい順、すなわち「花の形状と分布」、「花の色」、「花(又は花序)の大きさ」の順にデータの検索を行うように、検索エンジン40に指示する。Se = ST −Sm (3 formulas)
(However, ST = y12 + y22 + y32 +... + Yn2 , Sm = (y1 + y2 + y3 +... + Yn )2 / n)
The variance value Ve was obtained for each feature amount shown in FIG. The variance value Ve is the variance value Ve of the feature value “flower shape and distribution” is 17.0, the variance value Ve of “flower color” is 24.1, and the “flower (or inflorescence) size” variance value. Ve was 97.8. The distribution
まず、検索エンジン40は「花の形状と分布」による検索を行う。対象物の画像から抽出された花の形状と分布と、絞込みデータベース50の花の形状と分布とを照合させて同じ特徴を有するデータを抽出し、不図示のデータ格納部に保存する。図1に示す検索エンジン40は絞込みデータベース50の植物群の絞込みデータと対象物との特徴量同士を対比することによって、対象物の同定作業を行う。 First, the
次に、検索エンジン40は「花の色」による検索を行なう。データ格納部に存在するデータのうち、対象植物の画像21から抽出された色データの条件に合致するデータが抽出され、それ以外のデータはデータ格納部から取り除かれる。その後、「花(又は花序)の大きさ」に対しても同様の抽出作業が行われる。 Next, the
選択された対象物のサンプル画像は、LCDパネル等の画像表示部20に表示される。 A sample image of the selected object is displayed on the
検索された対象物の候補が複数ある場合には、それらを例えば図1に示すように画面を分割して一度に画像表示部20に表示させたり、図示しない送りボタンを押す毎に候補となるサンプル画像を順次表示させたりすることができる。なお、画像表示部20には、撮像された対象物の画像21も同時に表示される。 If there are a plurality of candidates for the searched object, the screen is divided and displayed on the
検索者はサンプル画像と対象物の画像21、又はサンプル画像と対象物の画像とを対比して対象物と同じサンプル画像を選択する。画像からの同定が困難な植物の場合は、サンプル画像とともに、同定のポイントとなる特徴を記載した文章が画像表示部20に表示される。同定のポイントとなる特徴は例えば、茎の毛の有無や、葉の裏の色等である。 The searcher selects the same sample image as the target object by comparing the sample image and the
検索者は、対象物が目の前にある場合には、対象物を観察して同定作業を行う。サンプル画像とサンプル画像に付随する植物の情報とは、撮影した対象物の画像21の情報としてデジタルカメラの図示しない記憶部に記録される。したがって、撮影者は、帰宅後であっても、デジタルカメラに記録された対象植物の情報に基づいて写真の整理を行うことができる。 When the object is in front of the eyes, the searcher observes the object and performs identification work. The sample image and the plant information accompanying the sample image are recorded in a storage unit (not shown) of the digital camera as information of the photographed
検索作業の途中で、データ数が設定された所定の数よりも少ない場合には検索処理が中断され、画像表示部20に抽出に用いられた特徴量と同定候補となるデータ数が表示される。検索者はそのデータ数で十分と判断すれば、候補となる対象物の画像(サンプル画像)を表示して、その中から対象植物の画像と同定される画像を見つける。このとき、対象物の候補となる植物の数が多い場合には画面をスクロールして表示するようにしてもよい。また、対象物と同定された候補となる植物を対象物の画像21の付随データとして登録し、後で対象物の画像21を読み出したときに、登録された付随データを同時に表示させるようにしてもよい。 If the number of data is less than the predetermined number during the search operation, the search process is interrupted, and the feature quantity used for extraction and the number of identification candidate data are displayed on the
この実施形態によれば、分布データを用いて検索を行うので、演算時間を短縮でき、迅速に検索結果を求めることができる。また、絞込みデータベース50の絞込みデータの特徴量毎の分布データを形成し、それぞれの分布について分散値Veを求め、分散値Veの小さい順に特徴量を順位付けして検索を行うので、効率的に検索を行うことができる。 According to this embodiment, since the search is performed using the distribution data, the calculation time can be shortened and the search result can be quickly obtained. Further, distribution data for each feature amount of the refined data in the
なお、この実施形態では、絞込みデータベース50の各特徴量の分布データを形成し、その分散値Veに基いて検索の順位を付けたが、例えば各々の特徴量の分布データのうち最多の特徴(パラメータ)を示すデータ数を比較し、このデータ数が最も小さいものから順に検索を行うようにしてもよい。この場合には、分散値Veを求めなくてもよいので、更に簡易に検索結果を求めることができる。 In this embodiment, the distribution data of each feature quantity in the narrowing-
また、この実施形態においては、元データベース60から地域別植物群情報71だけを選択して絞込みデータ51を作成し、この絞込みデータ51の分布データを形成したが、対象物の画像21の撮影時期、又は撮影時期と位置情報とに基づいて絞込みデータ51を作成してもよい。時期情報と位置情報とをリンクさせるようにすれば、検索の精度を更に向上させることができる。このとき、形成される特徴量の分布データは時期、場所等の条件の違いにより変化する。 In this embodiment, only the regional
更に、この実施形態では、全国に2000種ある植物を例に、元データベース60から地域による絞込みデータベース50を作成する場合で説明したが、母集団の限られた元データベース60であれば、絞込みデータベース50を作成せずに、元データベース60のデータから直接特徴量ごとの分布データを予め形成して検索の順位付けを行うようにしてもよい。 Furthermore, in this embodiment, the case where the narrowed-down
図5はこの発明の第2実施形態に係る対象物認識システムの全体構成図であり、第1実施形態と共通する部分には同一符合を付してその説明を省略する。 FIG. 5 is an overall configuration diagram of the object recognition system according to the second embodiment of the present invention, and the same reference numerals are given to portions common to the first embodiment, and description thereof is omitted.
この対象物認識システムは、撮像装置10と画像表示部20とデータベース150と分布データ作成部(分布データ作成手段)152とタッチペン(選択手段)25と選択領域画像抽出部(選択領域画像抽出手段)90と特徴量抽出部(特徴量抽出手段)30と検索エンジン(検索手段)40と同定候補表示部(表示手段)45とを備えている。 The object recognition system includes an
データベース150には、対象物が属するカテゴリ(この実施形態では植物のカテゴリ)に含まれる複数の種のそれぞれについて、その種の特徴となる複数の特徴量データ(名前、科、特徴量、開花時期、(結実時期)等の時期情報)151が登録されている。分布データ作成部152は、データベース150に収められた特徴量に基づいて、各々の特徴量ごとに分布データ(例えば、第1実施形態の図4の分布データ)を作成する。分布データ作成部150は分布データに基づいて特徴量毎に分散値を計算する。図4の分布データにおいては、前述のように分散値の大小関係は、「花の形状と分布」<「花の色」<「花(又は花序)の大きさ」の順になる。例えば、分散値の大きい順に、画像表示部20に対象植物の画像26から取得する特徴量を表示する。検索者は画像表示部20の表示を参考にして最初に取得する特徴量を決定する。 In the
選択領域画像抽出部90は画像表示部20に表示された表示画像26からタッチペン25によって選択された特定の領域を抽出する。 The selection area
特徴量抽出部30は選択領域画像抽出部90によって抽出された画素に対する特徴量となる例えば色情報を抽出する。 The feature
同定候補表示部45には検索エンジン40で検索されたデータ、例えば画像、分布データ等が表示される。 The identification
以下、分布データによる特徴量の表示及び検索について述べる。 Hereinafter, the display and search of the feature value based on the distribution data will be described.
まず、検索者の対象物表示画面の選択による特徴量の抽出について、色情報を抽出する場合を例にとって説明する。なお、以下の説明では便宜上点又は塊状の領域(例えばタッチペン25を用いて選択された領域が1〜数個だけの画素で構成された領域)を部位と称する。また、タッチペン25で描かれた閉曲線で囲まれることにより選択された部分を領域と称する。 First, the extraction of the feature amount by selecting the searcher's object display screen will be described by taking an example of extracting color information. In the following description, a point-like or block-like area (for example, an area selected by using the
まず、対象物の画像が撮影レンズ11によって撮像部12の受光面上に結像され、撮像部12で光電変換された画像データが画像処理回路13へ出力される。画像処理回路13から出力された画像データは画像表示部20の表示画像26として表示される。 First, an image of the object is formed on the light receiving surface of the
次に、表示画像26中の対象物の画像からタッチペン25を用いて所望の部位を選択する。表示画像26のうち、選択された部位の色は変化するので、検索者は選択された部位を認識することができる。 Next, a desired part is selected from the image of the object in the
選択した部位が正しくない場合、検索者は選択された部位を不図示の選択解除ボタンによりクリアする。一方、選択された部位が正しい場合、検索者は不図示の抽出ボタンを操作して選択された領域の部位を抽出する抽出指示を行う。 If the selected part is not correct, the searcher clears the selected part with a selection release button (not shown). On the other hand, if the selected part is correct, the searcher operates an extraction button (not shown) to give an extraction instruction for extracting the part of the selected region.
特徴量が色情報の場合、表示画像26上では選択されない部位の色や輝度(明るさ)が変化し、選択された領域だけが元の画像の色のままになったりする。これは、検索者が選択した部位の色を明確にするためである。したがって、選択した部位の輪郭を囲むように枠が表示されてもよい。また、選択された部位の画素数が1〜数個だけである場合には、正確な色を表示することができないので、少なくとも選択された部位の画素に隣接する画素を含む部位が選択される。 When the feature amount is color information, the color or luminance (brightness) of the part not selected on the
このようにすることにより、選択された部位が、検索者が選択した色であるかどうかを判断できる。検索者は、この色が意図した色でない場合、不図示の抽出解除ボタン(前記選択解除ボタンと同じであってもよい)により選択された部位をクリアし、再度検索操作を行う。一方、選択した部位の色が検索者が意図した色であれば、検索処理を続行する。 By doing in this way, it can be judged whether the selected part is the color which the searcher selected. If this color is not the intended color, the searcher clears the part selected by an extraction cancellation button (not shown) (may be the same as the selection cancellation button), and performs the search operation again. On the other hand, if the color of the selected part is the color intended by the searcher, the search process is continued.
検索エンジン40は抽出された色情報とデータベース150のデータ群に登録された色情報とを対比して、抽出された色情報と同じ色情報を有するデータをデータベース150のデータ群から選択する。 The
そして、選択された候補の画像や名称等を含む情報が同定候補表示部45に表示される。選択された候補が多い場合、その数に応じて、同定候補表示部45に選択された候補がスクロール方式で順次表示されたり、選択された候補の数だけが表示されたり、候補の名称だけが表示されたりする。表示の方法については検索者によって選択できるようにしてもよい。 Information including the selected candidate image and name is displayed on the identification
また、検索者は最初に抽出された特徴量とは異なる特徴量を抽出できる部位を選択し、最初に抽出された特徴量と新たに抽出された特徴量とを複合した特徴量を用いて対象物の画像や名称等の検索を行うこともできる。この検索方法を図6、7を用いて説明する。 In addition, the searcher selects a part that can extract a feature quantity different from the feature quantity extracted first, and uses the feature quantity that is a combination of the feature quantity extracted first and the newly extracted feature quantity. It is also possible to search for images and names of objects. This search method will be described with reference to FIGS.
図6、7はこの発明の第2実施形態に係る対象物認識システムの他の特徴量の抽出方法を説明する図である。 6 and 7 are diagrams for explaining another feature amount extraction method of the object recognition system according to the second embodiment of the present invention.
検索者は図6のメニュー画面MPのうちタッチペン25で色情報を選択する。色情報がアクティブになり、選択した部位から色情報が特徴量として抽出される。 The searcher selects color information with the
図6では対象物(花)が白と黄色の複数の色を有している。 In FIG. 6, the object (flower) has a plurality of colors of white and yellow.
検索者がタッチペン25を用いて表示画像26上の色の異なる2つの部位21−1,21−2を選択すると、各々の部位毎の色情報が選択され、この特徴量に基づいてデータベース150から候補の抽出が行われる。このように各々の部位毎の色情報を抽出して検索が行われるので、より精度の高い検索精度が得られる。 When the searcher selects two parts 21-1 and 21-2 having different colors on the
ここで、選択された部位21−1,21−2の色の処理について説明する。選択された部位21−1,21−2が複数の画素を含む場合には、その部位での画素R,G,Bの組合せ(ピクセル)を複数選択し、それぞれの組合せにおける色を求め、それらの色の平均値をその部位の色とする。処理は予め組合せごとに求めたRGB値をHSV変換やLab変換等により均等色空間へ変換し、各座標値の平均をとってもよい。なお、HSV変換のHはheu(色相)、Sはsaturation(彩度)、Vはvalue(明度)である。LabのLは輝度の要素、aはグリーンからレッドへ、bはブルーからイエローへの色相の要素をそれぞれ表している。 Here, the color processing of the selected parts 21-1 and 21-2 will be described. When the selected parts 21-1, 21-2 include a plurality of pixels, a plurality of combinations (pixels) of the pixels R, G, B in the part are selected, and the colors in the respective combinations are obtained. The average value of the colors is the color of the part. In the processing, RGB values obtained for each combination in advance may be converted into a uniform color space by HSV conversion, Lab conversion, or the like, and the average of each coordinate value may be taken. In the HSV conversion, H is heu (hue), S is saturation (saturation), and V is value (lightness). In the Lab, L represents a luminance element, a represents an element of hue from green to red, and b represents an element of hue from blue to yellow.
また、各組合せ毎にRGB値を求め、その平均値をHSV変換やLab変換等により均等色空間へ変換して色座標を求めてもよい。選択された部位21−1,21−2が数画素だけの場合、その1つの画素が少なくとも隣接する周辺の画素を含めた部位を色の部位として、同様の処理を行う。 Alternatively, RGB values may be obtained for each combination, and the average value may be converted into a uniform color space by HSV conversion, Lab conversion, or the like to obtain color coordinates. When the selected parts 21-1 and 21-2 are only a few pixels, the same process is performed with a part including at least neighboring pixels adjacent to the one pixel as a color part.
図6ではタッチペン25で接触した部位21−1,21−2を選択したが、例えば図7に示すようにタッチペン25で描いた閉曲線で囲まれた領域(22−1,22−2,22−3)を選択することもできる。この場合には、選択された領域から抽出される色は、選択された領域22−1,22−2、22−3における各画素の色の平均値又は最も多くの領域を占める画素の色である。また、画素R,G,Bの各々1画素を1組としたピクセル単位で色を検出し、ピクセル毎の色とその色に対応するピクセル数を表示してもよい。更に、領域22−1,22−2,22−3の他に部位22−4を選択してもよい。なお、選択する領域は1つであってもよい。 In FIG. 6, the parts 21-1 and 21-2 that have been touched with the
検索者はこのようにして抽出された候補の中から、対象物と同じ特徴を有する候補を選択し、画像表示部20上に候補のサンプル画像及びそのデータを表示することができる。 The searcher can select a candidate having the same characteristics as the target object from the candidates extracted in this manner, and display the candidate sample image and its data on the
この実施形態によれば、第1実施形態と同様の効果を奏する。また、表示された表示画像26にタッチペン25を当てて対象物の特徴量を抽出するので、選択のための演算の必要がなく、簡易かつ正確に特徴量を抽出することができる。更に、表示された画像の所定部位をタッチペン25で選択して必要な特徴量を抽出するので、背景が複雑な画像においても良好に特徴量を抽出できる。また、タッチペン25を使用することにより検索者が任意に抽出する特徴量を選択できる。更に、タッチペン25を使用することにより検索者が必要な対象の形状に応じて自由に輪郭抽出することができる。また、タッチペン25を使用することにより色の部位の選択や、大きさ情報を得るための領域を自由に選択することが可能であり、簡易に特徴量の抽出を行うことができる。 According to this embodiment, the same effects as those of the first embodiment can be obtained. In addition, since the feature amount of the object is extracted by applying the
図8、9、10はこの発明の第3実施形態に係る対象物認識システムの他の特徴量の抽出方法を説明する図である。なお、図10(a)、(b)は図9(a),(b)の画像から選択された領域だけを示す図である。 8, 9, and 10 are diagrams for explaining another feature amount extraction method of the object recognition system according to the third embodiment of the present invention. FIGS. 10A and 10B are diagrams showing only regions selected from the images of FIGS. 9A and 9B.
この実施形態は選択された部位同士の位置関係(例えば2つの部位同士の距離)から特徴量を抽出する点で第2実施形態と相違する。 This embodiment is different from the second embodiment in that a feature amount is extracted from a positional relationship between selected parts (for example, a distance between two parts).
まず、図8に基づいて対象物の大きさを求める方法を説明する。検索者はメニュー画面MPの花の径をタッチペン25で選択してアクティブにする。検索者は対象物の画像のうち、特徴量となる距離情報を得るための2つの部位23−1、23−2を選択する。2つの部位23−1、23−2は表示画像26上の対象物と背景との境界線の近傍にそれぞれ位置する。 First, a method for obtaining the size of an object will be described with reference to FIG. The searcher selects the diameter of the flower on the menu screen MP with the
実際の花の径φは、表示画像26上での2つの部位23−1、23−2間の距離φ’、倍率β、又は2つの部位23−1、23−2間の距離φ’、レンズ11の焦点距離f、レンズ11から対象物までの距離dとしたとき、以下の4式で算出される。 The actual flower diameter φ is the distance φ ′ between the two parts 23-1 and 23-2 on the
φ = φ’/β
= fφ’/(d−f) ・・・(4式)
ここで、dはレンズ11から対象物までの距離として、撮像装置10に搭載された図示しない自動焦点機構(AF)により、焦点の合った状態でのレンズ11の繰り出し量から求めることができる。φ = φ '/ β
= Fφ '/ (df) (4 formulas)
Here, d can be obtained as the distance from the
また、焦点距離fは、単焦点レンズの場合は固定値であるが、ズームレンズの場合でも、通常デジタルカメラのレンズデータとして撮影されたデジタル画像とともに保存されている。 Further, the focal length f is a fixed value in the case of a single focus lens, but is stored together with a digital image photographed as lens data of a digital camera, even in the case of a zoom lens.
このようにして抽出された距離情報、例えば、草丈情報や花の大きさ情報に基づいて検索を行う。図8では頭花の径を計測しているが、筒状花部位の径や、草丈等、対象物の種類により、抽出される特徴量は異なる。抽出可能な特徴量は全てメニュー画面MPで選択することができる。 A search is performed based on the distance information extracted in this way, for example, plant height information and flower size information. Although the diameter of the head flower is measured in FIG. 8, the extracted feature amount differs depending on the type of the object such as the diameter of the tubular flower part and the plant height. All the feature quantities that can be extracted can be selected on the menu screen MP.
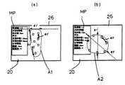
また、検索の対象物が花序形状を有する花の場合には、検索者はメニュー画面MPの分布情報をアクティブにし、図9(a)、(b)に示すようにタッチペン25で各花の中心位置P1〜P7、P11〜P17の画素を選択することによって花の分布状態から花序の形状がわかる。図9においては、タッチペン25で花序の輪郭(点線で示している)を指定して、花序の領域A1,A2を選択した。このように花序の領域A1,A2を選択することによって、花序全体の大きさを計測することができる。 When the search target is a flower having an inflorescence shape, the searcher activates the distribution information on the menu screen MP, and the center of each flower is touched with the
特徴量抽出部30により抽出された領域A1,A2の最小径φ1’及び最大径φ2’を計測する(図10(a)、(b)参照)。実際の花序の最小径φ1及び最大径φ2は、表示画像26上の花序(領域A1,A2)φ1’、φ2’から上述の(4式)を用いて求められる。更に、特徴量抽出部30において、最小径φ1’と最大径φ2’との比を求めることにより、対象物の花序の形状が線形であるか、面状に広がるものであるかを判定し、これを花序の特徴量とする。最小径φ1’と最大径φ2’との比から、図10(a)に示すように花が線形に分布していたり、図10(b)に示すように花が面(略円形)に分布していたりすることが容易にわかる。また、選択された領域A1,A2に含まれる画素数を計測して、1画素に対応する面積がわかるので、選択された領域A1,A2の面積を求めることもできる。 The minimum diameter φ1 ′ and the maximum diameter φ2 ′ of the regions A1 and A2 extracted by the feature
また、選択された花の中心位置(P1〜P7、P11〜P17)情報から、更に詳細な花の分布情報を抽出することもできる。花の分布情報は、上述の(4式)から表示画像26上の距離φ3’により求められる隣接する花同士の距離φ3’と花の中心位置(P1〜P7、P11〜P17)情報から抽出される。花の位置は例えばセリ科の一部の植物のような散形状花序である植物においては、小散形花序ごとの重心位置でもよい。また、例えば花の中心位置でなく各花の輪郭をなぞるように抽出してもよい。この花の分布情報から花の分布の規則性を抽出し、花序の形状を特定することができる。 Further, more detailed flower distribution information can be extracted from the information on the center positions (P1 to P7, P11 to P17) of the selected flowers. The flower distribution information is extracted from the distance φ3 ′ between adjacent flowers obtained by the distance φ3 ′ on the
なお、この実施形態のように、選択された部位同士の位置の検出が目的である場合には、色の検出と異なり、選択された部位に含まれる画素が1〜数個であっても、それに隣接する画素を選択する必要はない。 As in this embodiment, when the purpose is to detect the positions of the selected parts, unlike the color detection, even if one to several pixels are included in the selected part, There is no need to select a pixel adjacent to it.
このようにして求められる各種の特徴量に対応する特徴量のデータを登録特徴量として予めデータベース150に登録し、抽出された特徴量とデータベース150の特徴量のデータのうちの少なくとも1つの登録特徴量とを対比させることにより、精度の高い検索が可能となる。 Feature quantity data corresponding to the various feature quantities thus obtained is registered in the
この第3実施形態によれば、第2実施形態と同様の効果を奏するとともに、簡易に得られる花の大きさ情報や分布情報等から特徴量を求めるようにしたので、撮像装置10で得られた画像から対象物の切り出し作業を行う必要がなく、対象物を同定するための特徴量を第1実施形態よりも容易に得ることができる。 According to the third embodiment, the same effect as that of the second embodiment is obtained, and the feature amount is obtained from easily obtained flower size information and distribution information. Therefore, it is not necessary to cut out an object from the obtained image, and a feature amount for identifying the object can be obtained more easily than in the first embodiment.
図11、12、13はこの発明の第4実施形態に係る対象物認識システムの他の特徴量の抽出方法を説明する図である。 11, 12, and 13 are diagrams for explaining another feature amount extraction method of the object recognition system according to the fourth embodiment of the present invention.
この実施形態では、対象物の輪郭の近傍をタッチペン25でなぞって領域を選択し、輪郭を抽出する。 In this embodiment, a region is selected by tracing the vicinity of the contour of the object with the
検索者は、表示画像26に検索すべき対象物の画像が表示されているとき、まず、表示画像26に設けられた不図示の領域選択モード切替ボタンを押して輪郭抽出モードにする。 When the image of the object to be searched is displayed on the
次に、図11に示すように、タッチペン25で対象物の輪郭をなぞって点線で囲まれた領域24を選択する。対象物の輪郭をなぞった線が検索者の意図する線であれば、不図示の領域選択ボタンを押す。領域選択ボタンを押すことにより領域選択の指示が出されると、選択領域選画像抽出部90はなぞられた線の位置に基づいて領域選択を開始する。領域選択は以下の方法で行われる。 Next, as shown in FIG. 11, the
まず、タッチペン25で描かれた輪郭を構成する各点(例えば画素)において、それぞれの点に最も近接する不連続な部位が選択される。ここで、不連続な部位とは、例えば、色、コントラストが急激に変化する部位、フォーカスが急激に変化する部位である。この不連続な部位を選択する処理が対象物の輪郭をなぞった線に沿って行われることによって、対象物の輪郭を抽出することができる。 First, at each point (for example, pixel) constituting the outline drawn with the
輪郭抽出後は輪郭に囲まれた領域の大きさ(径や面積)、形状等の特徴量を自動的に抽出することができる。また、この領域内の色情報、各色の割合(画素数情報、面積情報等)を得ることができるので、色情報の自動抽出も可能となる。このように、輪郭内の特徴的な色や形状、大きさを自動的に抽出することができるため、対象物の特徴量を効率的に抽出することができる。 After the contour extraction, feature quantities such as the size (diameter and area) and shape of the region surrounded by the contour can be automatically extracted. Further, since color information in this region and the ratio of each color (pixel number information, area information, etc.) can be obtained, color information can be automatically extracted. Thus, since the characteristic color, shape, and size in the contour can be automatically extracted, the feature amount of the object can be efficiently extracted.
なお、輪郭抽出を行う前に、輪郭内の特徴的な色の部位(例えば24−1)を指定して色情報を登録すれば、輪郭抽出の際に、登録された色とは異なる色調を不連続点として認識できるので、輪郭抽出作業の効率が向上する(図12参照)。 Note that if color information is registered by specifying a characteristic color part (for example, 24-1) in the contour before contour extraction, a color tone different from the registered color is obtained during contour extraction. Since it can be recognized as a discontinuous point, the efficiency of contour extraction work is improved (see FIG. 12).
更に、図13に示すように、抽出された第1の領域25−1内に不連続な第2の領域25−2が存在する場合には、上記抽出処理を第2の領域25−2に対しても行う。このように2つの領域25−1、25−2及び部位25−3、25−4の色を抽出することにより、2つの領域25−1、25−2の位置関係が認識されるので、この認識された特徴量とデータベース150の特徴量とを対比させることにより認識率を高めることができる。 Further, as shown in FIG. 13, when the discontinuous second region 25-2 exists in the extracted first region 25-1, the extraction process is performed on the second region 25-2. Do it also. By extracting the colors of the two areas 25-1, 25-2 and the parts 25-3, 25-4 in this way, the positional relationship between the two areas 25-1, 25-2 is recognized. The recognition rate can be increased by comparing the recognized feature quantity with the feature quantity of the
この実施形態によれば、第2実施形態と同様の効果を奏する。また、対象物の輪郭の抽出を行うことにより更に特徴量を自動化できる効果をも奏する。 According to this embodiment, there exists an effect similar to 2nd Embodiment. In addition, the feature amount can be further automated by extracting the contour of the object.
図14、15はこの発明の第5実施形態に係る対象物認識システムの他の特徴量の抽出方法を説明する図である。 14 and 15 are diagrams for explaining another feature amount extraction method of the object recognition system according to the fifth embodiment of the present invention.
この実施形態では、分布情報に基づいて、領域及び部位選択による特徴量の抽出及び検索を行う。 In this embodiment, feature amounts are extracted and searched by selecting regions and parts based on distribution information.
データベース150は予めそのデータベース150に格納された各種の特徴量ごとに分布データを有しており、分布データの分散値に基づいて、検索のために抽出される特徴量の順位付けが行われている。 The
検索者はまず、対象物の画像26を撮像する。撮像した対象物について検索を行う場合、不図示の検索開始ボタンを押す。検索開始ボタンを押すと、抽出可能な特徴量がメニュー画面MPに表示される(図14(a)参照)。データベース150の特徴量は、例えば「花の色」、「花の大きさ」、「花の形状と分布」である。検索者はメニュー画面MPに表示された特徴量のうち最初に抽出を行いたい特徴量をタッチペン25でアクティブにする。例えば、最初に色情報をアクティブにする。図14(a)の表示画像26上の第1の部位26−1をタッチペン25で選択し、表示画像26の右下の特徴量抽出ボタン20aを押す。選択された部位26−1に対応する色情報が特徴量抽出部30に登録されるとともに、メニュー画面MPには認識された色情報が表示される。 The searcher first takes an
他に認識すべき色情報がない場合には、表示画像26の左下の検索実行ボタン20bを押して選択した色情報で検索を行う。他に抽出すべき色情報がある場合、第2の部位26−2をタッチペン25で選択し(図14(b)参照)、再度特徴量抽出ボタン20aを押す。この処理は抽出したい色がなくなるまで繰り返される。 If there is no other color information to be recognized, a search is performed with the color information selected by pressing the
必要な部位を全て選択し、表示画像26の特徴量抽出ボタン20aをタッチペン25で押すと検索が実行され(図14(c)参照)、登録された特徴量である色情報に基づいて、データベース150から同定候補が選択される。選択された同定候補の数に応じて、サンプル画像、名称、候補数が表示される。同定候補の数が少ない場合、同定候補の画像と名称等が同定候補表示部45に表示される。同定候補の数が多い場合、同定候補をスクロール方式で順次表示させたり、同定された候補の数だけが表示させたり、同定候補の数と名称だけを表示させたりすることができる(図14(d)参照)。また、同定候補の名称だけを表示させ、検索者が記憶している名称から同定作業を行うことも可能である。なお、名称の表示についても、同定候補が多い場合にはスクロール表示が可能である。 When all necessary parts are selected and the feature
一方、検索者が、同定候補数が多く、名称や画像による同定が困難と判断した場合、前の情報(色情報)を残したまま、別の特徴量の抽出作業を行う。別の特徴量の抽出を行うには、検索結果表示画面EP中の消去の項目21eをタッチペン25で選択して検索結果表示画面EPを消去する(図14(d)参照)。そして新たに、次の特徴量(この実施形態では「花の大きさ」)を抽出する(図15(a)参照)。花の大きさの抽出は、前述したように花の輪郭のうち、径方向の2つの部位26−3、26−4をタッチペン25で選択し、特徴量抽出ボタン20aを押すことによって行われる(輪郭抽出モードに切り替え、抽出した輪郭から径を自動抽出してもよい)。花の大きさが抽出された後、検索者は検索実行ボタン20bを押す(図15(b)参照)。 On the other hand, when the searcher determines that the number of identification candidates is large and identification by name or image is difficult, another feature amount is extracted while the previous information (color information) remains. In order to extract another feature amount, the
上述した色の抽出結果と花の大きさの抽出結果との2つの特徴量に基づいて再度検索が行われて、同定候補が絞られ、その検索結果が検索結果表示画面EPに表示される(図15(c)参照)。検索者は、検索結果の画像表示を行うか、それとも次の条件で検索を行うかを選択する。検索者が検索結果表示画面EP中の画像表示の項目を選択した場合の画像表示部20の表示は例えば図15(d)に示すようになる。図15(d)に示されるように、同定候補のサンプル画像27と説明文28とが表示され、検索者は、この表示に基づいて同定作業を行う。対象物の同定作業が終了したとき、例えばサンプル画像27の右上のチェックボックス27aにタッチペン25を当て、そのサンプル画像27と対象物の画像26とを結び付ける。対象物の画像26は所定のデータ(開花時期、結実時期、生育地等の情報)とともに、画像記憶部(図示せず)に保存される。 The search is performed again based on the two feature values of the color extraction result and the flower size extraction result described above, identification candidates are narrowed down, and the search result is displayed on the search result display screen EP ( (Refer FIG.15 (c)). The searcher selects whether to display an image of the search result or to perform a search under the following conditions. When the searcher selects an image display item on the search result display screen EP, the display on the
なお、この実施形態では所定のカテゴリのデータベース150をそのまま用いて検索を行っているが、第1実施形態のように撮像する場所や時期でデータの抽出を行った絞込みデータベース(図示せず)を用いて検索を行ってもよい。この場合、条件に従って作成された絞込みデータベースから、各々の特徴量について分布データを作成し、作成した分布データに基づいて、特徴量の順位付けを行う。 In this embodiment, the search is performed using the
この実施形態によれば、第2実施形態と同様の効果を奏する。 According to this embodiment, there exists an effect similar to 2nd Embodiment.
図16はこの発明の第6実施形態に係る対象物認識システムにおける処理の流れの一例を示すフローチャートである。 FIG. 16 is a flowchart showing an example of the flow of processing in the object recognition system according to the sixth embodiment of the present invention.
電源が入り、対象物の検索を行う時期・場所に関する情報が入力されると、以下のシーケンスで同定作業が行われる。 When the power is turned on and information on the time and place for searching for an object is input, the identification operation is performed in the following sequence.
まず、入力された情報に基いて元データベース60からデータ群が抽出され、絞込みデータベース50が形成される(ステップ1)。 First, a data group is extracted from the
次に、絞込みデータベース50の特徴量の分布データが形成される(ステップ2)。 Next, feature quantity distribution data of the narrowing-
その後、形成された分布データに基いて特徴量の順位付けが行われる(ステップ3)。 Thereafter, the feature amounts are ranked based on the formed distribution data (step 3).
ステップ1〜3は電源を入れ、所定の情報を入力することによって自動的に行われる。なお、元データベース60から直接検索を行う場合や所定の場所における固有データベース(固有の分布データが予め形成されているデータベース)が形成されている場合にはステップ1〜3は省略される。
また、ステップ1〜3は、対象物の種類を変えたり、対象物の画像を取得する場所を変えたりしない限り、最初に1回行うだけでよい。
次に、同定したい対象物の画像を取得する(ステップ4)。取得された対象物の画像は画像表示部20に表示される。 Next, an image of the object to be identified is acquired (step 4). The acquired image of the object is displayed on the
特徴量抽出ボタンを押して第1特徴量(例えば色)の抽出を行う(ステップ5)。画像から自動的に第1特徴量の抽出を行う場合にはステップ7に進む。 The feature amount extraction button is pressed to extract the first feature amount (for example, color) (step 5). If the first feature value is automatically extracted from the image, the process proceeds to step 7.
検索者が画像から任意に特徴量を抽出する部位を指定する場合には他に抽出する領域があるか否かを判断する(ステップ6)。他に抽出する領域があるときにはステップ5に戻る。 When the searcher arbitrarily designates a part from which an amount of feature is extracted from the image, it is determined whether there is another area to be extracted (step 6). If there is another area to be extracted, the process returns to step 5.
十分に特徴量が抽出されて他に抽出する領域がなくなったときには絞込みデータベース50からの第1特徴量による検索を行う(ステップ7)。検索の結果として絞込みデータベース50から得られた候補数が表示画像26に表示される。 When the feature quantity is sufficiently extracted and there are no other areas to be extracted, a search using the first feature quantity from the refined
検索者は画像表示部20に表示された候補数を見て、更に別の特徴量の抽出を行うか否かを判断する(ステップ8)。第1特徴量だけで同定作業を行う場合には候補の画像を画像表示部20に表示させる。候補の画像を画像表示部20に分割して表示させたり、スクロールして候補の画像を順次画像表示部20に表示させたりする等、検索者が表示方法を任意に選択することができる。検索された同定候補を閲覧するときにはステップ14に進む。 The searcher looks at the number of candidates displayed on the
検索された同定候補を閲覧しないときには第2特徴量(例えば分布情報)の抽出を行う(ステップ9)。ステップ5と同様に画像から自動的に特徴量を抽出する場合にはステップ11に進む。 When the retrieved identification candidate is not browsed, the second feature amount (for example, distribution information) is extracted (step 9). If the feature amount is automatically extracted from the image as in
検索者が画像から任意に特徴量を抽出する部位を指定する場合には他に抽出する領域があるか否かを判断する(ステップ10)。他に抽出する領域があるときにはステップ9に戻る。 When the searcher arbitrarily designates a part from which an amount of feature is extracted from the image, it is determined whether there is another area to be extracted (step 10). When there is another area to be extracted, the process returns to step 9.
十分に特徴量が抽出されて他に抽出する領域がなくなったときには絞込みデータベース50からの第1、2特徴量による検索を行う(ステップ11)。 When the feature quantity is sufficiently extracted and there are no other areas to be extracted, a search based on the first and second feature quantities from the narrowed-down
検索者は画像表示部20に表示された候補数を見て、更に別の特徴量の抽出を行うか否かを判断する(ステップ12)。検索された同定候補を閲覧するときにはステップ14に進む。 The searcher looks at the number of candidates displayed on the
検索された同定候補を閲覧しないときには第3特徴量(例えば対象物の大きさ)の抽出を行う(ステップ13)。 When the retrieved identification candidate is not browsed, the third feature amount (for example, the size of the object) is extracted (step 13).
上記処理が抽出を行う特徴量の数だけ繰り返され、同定作業が行われる(ステップ14)。 The above process is repeated by the number of feature quantities to be extracted, and identification work is performed (step 14).
検索者は候補画像の中から対象物の同定を行う。The searcher identifies an object from the candidate images.
この実施形態によれば、第1実施形態と同様の効果を奏する。 According to this embodiment, the same effects as those of the first embodiment can be obtained.
なお、上記第2実施形態では、表示画像26に入力手段としてのタッチペン25を接触させて画像の一部の選択を行ったが、タッチペン25に代え、表示画像26に圧力センサや温度センサ等を設け、それに指等を接触させて画像の一部の選択を行ってもよい。このようにすれば、選択作業をカメラの操作の一環として行え、タッチペン25を持つ手間が省け、検索時間の短縮を図ることができる。 In the second embodiment, a part of the image is selected by bringing the
10: 撮像装置(撮像手段)、20:画像表示部(画像表示手段)、21,26:表示画像、25:タッチペン(入力手段)、90:選択領域画像抽出部(選択領域画像抽出手段)、30:特徴量抽出部(特徴量抽出手段)、40:検索エンジン(検索手段)、45:同定候補表示部(表示手段)、50:絞込みデータベース、52,152:分布データ作成部(分布データ作成手段)、60:元データベース、70:データ抽出部(データベース絞込み手段)、80:データ抽出部(絞込み条件設定手段)、150:データベース。10: Imaging device (imaging unit), 20: Image display unit (image display unit), 21, 26: Display image, 25: Touch pen (input unit), 90: Selection region image extraction unit (selection region image extraction unit), 30: Feature extraction unit (feature extraction unit), 40: Search engine (search unit), 45: Identification candidate display unit (display unit), 50: Refinement database, 52, 152: Distribution data generation unit (distribution data generation) Means), 60: original database, 70: data extraction unit (database narrowing means), 80: data extraction unit (squeezing condition setting means), 150: database.
| Application Number | Priority Date | Filing Date | Title |
|---|---|---|---|
| JP2006017827AJP4831314B2 (en) | 2006-01-26 | 2006-01-26 | Object recognition system |
| Application Number | Priority Date | Filing Date | Title |
|---|---|---|---|
| JP2006017827AJP4831314B2 (en) | 2006-01-26 | 2006-01-26 | Object recognition system |
| Publication Number | Publication Date |
|---|---|
| JP2007200020Atrue JP2007200020A (en) | 2007-08-09 |
| JP4831314B2 JP4831314B2 (en) | 2011-12-07 |
| Application Number | Title | Priority Date | Filing Date |
|---|---|---|---|
| JP2006017827AExpired - Fee RelatedJP4831314B2 (en) | 2006-01-26 | 2006-01-26 | Object recognition system |
| Country | Link |
|---|---|
| JP (1) | JP4831314B2 (en) |
| Publication number | Priority date | Publication date | Assignee | Title |
|---|---|---|---|---|
| JP2009259096A (en)* | 2008-04-18 | 2009-11-05 | Fujifilm Corp | Image information providing system, image information server, imaging apparatus, and image information providing method |
| JP2009272931A (en)* | 2008-05-08 | 2009-11-19 | Olympus Corp | Imaging apparatus, and data providing system |
| WO2011049046A1 (en)* | 2009-10-20 | 2011-04-28 | 楽天株式会社 | Image processing device, image processing method, image processing program, and recording medium |
| JP2011192091A (en)* | 2010-03-15 | 2011-09-29 | Omron Corp | Image attribute determination apparatus, attribute determination support apparatus, image attribute determination method, attribute determination support apparatus control method, and control program |
| JP2012022251A (en)* | 2010-07-16 | 2012-02-02 | Mitsubishi Electric Corp | Speech retrieval interface device and speech input retrieval method |
| JP2012150552A (en)* | 2011-01-17 | 2012-08-09 | Horiuchi Denki Seisakusho:Kk | Object recognition processing device and object recognition processing method |
| JP2012208589A (en)* | 2011-03-29 | 2012-10-25 | Hitachi Omron Terminal Solutions Corp | Business form recognition apparatus, business form recognition method and program therefor |
| CN103324655A (en)* | 2012-03-21 | 2013-09-25 | 卡西欧计算机株式会社 | Image search system, image search apparatus, image search method and computer-readable storage medium |
| JP2019192162A (en)* | 2018-04-27 | 2019-10-31 | 株式会社日立製作所 | Data accumulation system and data searching method |
| Publication number | Priority date | Publication date | Assignee | Title |
|---|---|---|---|---|
| JP2001101191A (en)* | 1999-09-27 | 2001-04-13 | Cadix Inc | Image identifying device and database system used for image identification |
| JP2004192284A (en)* | 2002-12-10 | 2004-07-08 | Nec Corp | Information distribution system, information distribution method and information distribution program |
| JP2005267374A (en)* | 2004-03-19 | 2005-09-29 | Mitsubishi Electric Corp | Information retrieval support device |
| Publication number | Priority date | Publication date | Assignee | Title |
|---|---|---|---|---|
| JP2001101191A (en)* | 1999-09-27 | 2001-04-13 | Cadix Inc | Image identifying device and database system used for image identification |
| JP2004192284A (en)* | 2002-12-10 | 2004-07-08 | Nec Corp | Information distribution system, information distribution method and information distribution program |
| JP2005267374A (en)* | 2004-03-19 | 2005-09-29 | Mitsubishi Electric Corp | Information retrieval support device |
| Publication number | Priority date | Publication date | Assignee | Title |
|---|---|---|---|---|
| JP2009259096A (en)* | 2008-04-18 | 2009-11-05 | Fujifilm Corp | Image information providing system, image information server, imaging apparatus, and image information providing method |
| JP2009272931A (en)* | 2008-05-08 | 2009-11-19 | Olympus Corp | Imaging apparatus, and data providing system |
| US8660309B2 (en) | 2009-10-20 | 2014-02-25 | Rakuten, Inc. | Image processing apparatus, image processing method, image processing program and recording medium |
| WO2011049046A1 (en)* | 2009-10-20 | 2011-04-28 | 楽天株式会社 | Image processing device, image processing method, image processing program, and recording medium |
| JP2011090374A (en)* | 2009-10-20 | 2011-05-06 | Rakuten Inc | Image processor, image processing method, and image processing program |
| CN102656605A (en)* | 2009-10-20 | 2012-09-05 | 乐天株式会社 | Image processing device, image processing method, image processing program, and recording medium |
| CN102656605B (en)* | 2009-10-20 | 2015-12-16 | 乐天株式会社 | Image processing device, image processing method |
| JP2011192091A (en)* | 2010-03-15 | 2011-09-29 | Omron Corp | Image attribute determination apparatus, attribute determination support apparatus, image attribute determination method, attribute determination support apparatus control method, and control program |
| JP2012022251A (en)* | 2010-07-16 | 2012-02-02 | Mitsubishi Electric Corp | Speech retrieval interface device and speech input retrieval method |
| JP2012150552A (en)* | 2011-01-17 | 2012-08-09 | Horiuchi Denki Seisakusho:Kk | Object recognition processing device and object recognition processing method |
| JP2012208589A (en)* | 2011-03-29 | 2012-10-25 | Hitachi Omron Terminal Solutions Corp | Business form recognition apparatus, business form recognition method and program therefor |
| JP2013196458A (en)* | 2012-03-21 | 2013-09-30 | Casio Comput Co Ltd | Image search system, image search device, image search method and program |
| CN103324655A (en)* | 2012-03-21 | 2013-09-25 | 卡西欧计算机株式会社 | Image search system, image search apparatus, image search method and computer-readable storage medium |
| US9002071B2 (en) | 2012-03-21 | 2015-04-07 | Casio Computer Co., Ltd. | Image search system, image search apparatus, image search method and computer-readable storage medium |
| JP2019192162A (en)* | 2018-04-27 | 2019-10-31 | 株式会社日立製作所 | Data accumulation system and data searching method |
| Publication number | Publication date |
|---|---|
| JP4831314B2 (en) | 2011-12-07 |
| Publication | Publication Date | Title |
|---|---|---|
| JP4831314B2 (en) | Object recognition system | |
| RU2421775C2 (en) | Information processing device and method, and computer programme | |
| CN105052123B (en) | Camera device, composition assistance device, composition assistance method, and storage medium | |
| US20110243397A1 (en) | Searching digital image collections using face recognition | |
| KR102499560B1 (en) | Detection apparatus and detection method | |
| KR101475939B1 (en) | A control method of an image processing apparatus, an image processing apparatus, | |
| TW201514759A (en) | Method and device for recording reading behavior | |
| US20160179881A1 (en) | Information processing apparatus, information processing method, and non-transitory computer readable storage medium | |
| JP2005269604A (en) | Imaging device, imaging method, and imaging program | |
| JP6272635B2 (en) | Infrared recording apparatus and infrared recording method | |
| CN103888682B (en) | Image processing equipment and image processing method | |
| CN104541501B (en) | Infrared photographing device and infrared photographing method | |
| KR101881356B1 (en) | Method for providing User Interface and display apparatus applying the same | |
| JP2008141635A (en) | Camera and image search program | |
| JP2008015599A (en) | Electronic equipment and search assistance program | |
| JP6564275B2 (en) | Image processing apparatus and image processing method | |
| JPH10254903A (en) | Image retrieval method and device therefor | |
| JP2008152713A (en) | Electronic picture book | |
| CN105637344B (en) | Image processing apparatus, program, storage medium, and image processing method | |
| JP2012142739A (en) | Image processing device, image processing method and imaging apparatus | |
| JP2007179455A (en) | Object recognition system | |
| JP5428243B2 (en) | Image processing apparatus, electronic camera, and image distribution program | |
| CN103428434B (en) | Infrared photographing apparatus and infrared photographing method | |
| JP2009003601A (en) | Object search system | |
| JP6930349B2 (en) | Subject identification device, subject identification method, and program |
| Date | Code | Title | Description |
|---|---|---|---|
| A621 | Written request for application examination | Free format text:JAPANESE INTERMEDIATE CODE: A621 Effective date:20081225 | |
| A977 | Report on retrieval | Free format text:JAPANESE INTERMEDIATE CODE: A971007 Effective date:20101203 | |
| A131 | Notification of reasons for refusal | Free format text:JAPANESE INTERMEDIATE CODE: A131 Effective date:20101210 | |
| A521 | Written amendment | Free format text:JAPANESE INTERMEDIATE CODE: A523 Effective date:20110208 | |
| TRDD | Decision of grant or rejection written | ||
| A01 | Written decision to grant a patent or to grant a registration (utility model) | Free format text:JAPANESE INTERMEDIATE CODE: A01 Effective date:20110824 | |
| A01 | Written decision to grant a patent or to grant a registration (utility model) | Free format text:JAPANESE INTERMEDIATE CODE: A01 | |
| A61 | First payment of annual fees (during grant procedure) | Free format text:JAPANESE INTERMEDIATE CODE: A61 Effective date:20110906 | |
| R150 | Certificate of patent or registration of utility model | Ref document number:4831314 Country of ref document:JP Free format text:JAPANESE INTERMEDIATE CODE: R150 Free format text:JAPANESE INTERMEDIATE CODE: R150 | |
| FPAY | Renewal fee payment (event date is renewal date of database) | Free format text:PAYMENT UNTIL: 20140930 Year of fee payment:3 | |
| FPAY | Renewal fee payment (event date is renewal date of database) | Free format text:PAYMENT UNTIL: 20140930 Year of fee payment:3 | |
| R250 | Receipt of annual fees | Free format text:JAPANESE INTERMEDIATE CODE: R250 | |
| R250 | Receipt of annual fees | Free format text:JAPANESE INTERMEDIATE CODE: R250 | |
| R250 | Receipt of annual fees | Free format text:JAPANESE INTERMEDIATE CODE: R250 | |
| R250 | Receipt of annual fees | Free format text:JAPANESE INTERMEDIATE CODE: R250 | |
| R250 | Receipt of annual fees | Free format text:JAPANESE INTERMEDIATE CODE: R250 | |
| R250 | Receipt of annual fees | Free format text:JAPANESE INTERMEDIATE CODE: R250 | |
| LAPS | Cancellation because of no payment of annual fees |