


本発明は、一次光を発する発光素子と、一次光を吸収して二次光を発する波長変換部とを備えた発光装置に関する。 The present invention relates to a light emitting device including a light emitting element that emits primary light and a wavelength conversion unit that absorbs primary light and emits secondary light.
一次光を発する発光素子と、一次光を吸収して二次光を発する波長変換部とを組み合わせた発光装置は、低消費電力、小型、高輝度かつ広範囲な色再現性が期待される次世代の発光装置として注目され、活発に研究、開発が行なわれている。発光素子から発せられる一次光は、通常、長波長の紫外線から青色の範囲、すなわち380nmから480nmのものが用いられる。また波長変換部に、用途に適した様々な蛍光体が用いられる。 A light-emitting device that combines a light-emitting element that emits primary light and a wavelength converter that absorbs primary light and emits secondary light is the next generation that is expected to have low power consumption, small size, high brightness, and wide color reproducibility It is attracting attention as a light-emitting device and is actively researched and developed. The primary light emitted from the light emitting element is usually in the range of long wavelength ultraviolet to blue, that is, 380 nm to 480 nm. In addition, various phosphors suitable for the application are used for the wavelength conversion unit.
最近では、この種の発光装置に対して変換効率(明るさ)のみならず、入力のエネルギをより高くし、さらに明るくしようとする試みがなされている。入力エネルギを高くした場合、波長変換部を含めた発光装置全体の効率的な放熱が必要となってくる。このために、発光装置全体の構造、材質などの開発も進められているが、動作時における発光素子の発熱と発光素子の発熱から受ける波長変換部の温度上昇は避けられないのが現状である。 Recently, attempts have been made to increase not only the conversion efficiency (brightness) but also the input energy to make this type of light emitting device brighter. When the input energy is increased, efficient heat dissipation of the entire light emitting device including the wavelength conversion unit is required. For this reason, the structure and material of the entire light emitting device are being developed, but the current situation is that the temperature rise of the wavelength conversion unit due to the heat generation of the light emitting element and the heat generation of the light emitting element during operation is inevitable. .
現在、白色発光を呈する発光装置としては、青色発光の発光素子(ピーク波長:450nm前後)とその青色により励起され黄色発光を示す3価のセリウムで付活された(Y,Gd)3(Al,Ga)5O12蛍光体または2価のユーロピウムで付活された(Sr,Ba,Ca)2SiO4蛍光体を用いた波長変換部とを組み合わせた発光装置が主として用いられている。Currently, as a light emitting device that emits white light, a blue light emitting element (peak wavelength: around 450 nm) and (Y, Gd)3 (Al , Ga)5 O12 phosphor or a light emitting device combined with a wavelength conversion unit using (Sr, Ba, Ca)2 SiO4 phosphor activated with divalent europium is mainly used.
しかしながら上述した白色発光を呈する発光装置の中でも、特に、3価のセリウムで付活された(Y,Gd)3(Al,Ga)5O12蛍光体を用いた発光装置では、100℃では25℃での輝度(明るさ)を100%としたときに、その輝度は85%前後に低下するために、入力エネルギを高く設定できないという技術課題を有している。したがって、この種の発光装置に対して、用いられる蛍光体の温度特性の改善も急務となっている。However, among the light-emitting devices exhibiting white light emission described above, in particular, in a light-emitting device using a (Y, Gd)3 (Al, Ga)5 O12 phosphor activated with trivalent cerium, 25 at 100 ° C. When the luminance (brightness) at 0 ° C. is set to 100%, the luminance decreases to around 85%, and thus there is a technical problem that the input energy cannot be set high. Therefore, it is urgent to improve the temperature characteristics of the phosphor used for this type of light emitting device.
この種の発光装置において、耐熱性に着目したものとしては、特許文献1(特開2004−182780号公報)がある。その中で、発光効率が高く、化学的・熱的に安定な蛍光体を提供することが記載されている。すなわち、500nm以下にピーク波長を有する第1の発光スペクトルの少なくとも一部を波長変換し、520〜780nmの波長範囲に少なくとも1以上のピーク波長を有する第2の発光スペクトルを有する、一般式LxMyN((2/3)x+(4/3)y):RもしくはLxMyOzN((2/3)x+(4/3)y-(2/3)z):R(LはMg、Ca、Sr、Ba、Znからなる第Ii族元素から選ばれる少なくとも1種以上を有する。MはC、Si、CeのうちSiを必須とする第IV族元素から選ばれる少なくとも1種以上を有する。RはY、La、Ge、Pr、Nd、Sm、Eu、Gd、Tb、Dy、Ho、Er、LuのうちEuを必須とする希土類元素から選ばれる少なくとも1種以上を有する。)なる蛍光体が記載されている。さらに具体的には、特許文献1の第13頁、第26頁において青色LED+3価のセリウムで付活された(Y,Gd)3(Al,Ga)5O12蛍光体+発明の窒化物蛍光体の組合せが推奨されている。しかしながら、上述のように3価のセリウムで付活された(Y,Gd)3(Al,Ga)5O12蛍光体は温度特性に技術課題を抱えており、さらには、赤色系発光蛍光体(Sr2Si5N8:EuあるいはCa2Si5N8:Eu)を添加することにより、白色光の効率が低下するという問題を有している。In this type of light-emitting device, Patent Document 1 (Japanese Patent Application Laid-Open No. 2004-182780) discloses a technique that focuses on heat resistance. Among them, it is described that a phosphor having high luminous efficiency and chemically and thermally stable is provided. That is, wavelength conversion of the first at least a portion of the emission spectrum having a peak wavelength in 500nm or less, having a second emission spectrum having at least one or more peak wavelengths in the wavelength range of 520~780Nm, general formula LxM y N ((2/3) x + (4/3) y): R orL x M y O z N ( (2/3) x + (4/3) y- (2/3) z): R (L has at least one selected from Group Ii elements consisting of Mg, Ca, Sr, Ba, and Zn. M is at least selected from Group IV elements essential for Si among C, Si, and Ce. R is at least one selected from rare earth elements essential for Eu among Y, La, Ge, Pr, Nd, Sm, Eu, Gd, Tb, Dy, Ho, Er, and Lu. The phosphor is described. More specifically, (Y, Gd)3 (Al, Ga)5 O12 phosphor activated by blue LED + trivalent cerium on
また近年では、小型LCD(Liquid Crystal Display)用バックライトの開発競争が激
化している。この分野においては、様々な方式が提案されているが、明るさと色再現性(NTSC比)とを同時に満足する方式は見つかっていない。なお、NTSC比とは、NTSC(National Television System Committee)が定めた赤、緑、青、各色のXYZ表色式色度図における色度座標(x,y)(赤(0.670,0.330)、緑(0.210,0.710)、青(0.140,0.080))を結んで得られる三角形の面積に対する比率を指す。In recent years, competition for development of backlights for small LCDs (Liquid Crystal Displays) has intensified. Various systems have been proposed in this field, but no system that satisfies both brightness and color reproducibility (NTSC ratio) has been found. The NTSC ratio refers to chromaticity coordinates (x, y) (red (0.670, 0...) In the XYZ color system chromaticity diagram of red, green, blue, and each color defined by the National Television System Committee (NTSC). 330), green (0.210, 0.710), and blue (0.140, 0.080)).
しかしながら、上述したような青色発光の発光素子とその青色により励起され黄色発光を示す3価のセリウムで付活された(Y,Gd)3(Al,Ga)5O12蛍光体または2価のユーロピウムで付活された(Sr,Ba,Ca)2SiO4蛍光体を用いた波長変換部とを組み合わせた、白色発光を呈する発光装置では、色再現性(NTSC比)は50%弱である。このような背景の中、小型LCD用バックライトの色再現性(NTSC比)の改善についても急務となっている。However, the blue light emitting element as described above and the (Y, Gd)3 (Al, Ga)5 O12 phosphor activated by the blue light and emitting trivalent cerium that emits yellow light or the divalent phosphor. In a light emitting device that emits white light in combination with a wavelength conversion unit using (Sr, Ba, Ca)2 SiO4 phosphor activated by europium, the color reproducibility (NTSC ratio) is less than 50%. . Against this background, there is an urgent need to improve color reproducibility (compared to NTSC) of small LCD backlights.
LCDにおける色再現性(NTSC比)に着目した従来技術としては、たとえば特開2003−121838号公報(特許文献2)が挙げられる。その中で、バックライト光源として、505〜535nmの範囲にスペクトルピークを有すること、およびその光源に使用する緑蛍光体の付活剤としてユーロピウム、タングステン、スズ、アンチモン、マンガンのいずれかを含むこと、さらには実施例には緑蛍光体として、MgGa2O4:Mn、Zn2SiO4:Mnを用いることが記載されている。For example, Japanese Patent Application Laid-Open No. 2003-121838 (Patent Document 2) is given as a conventional technique focusing on color reproducibility (NTSC ratio) in LCD. Among them, it has a spectrum peak in the range of 505 to 535 nm as a backlight light source, and contains any of europium, tungsten, tin, antimony, and manganese as an activator of a green phosphor used for the light source. Furthermore, it is described in the examples that MgGa2 O4 : Mn, Zn2 SiO4 : Mn is used as the green phosphor.
しかしながら、発光素子のピーク波長が430〜480nmの範囲の場合には、ユーロピウム、タングステン、スズ、アンチモン、マンガンのいずれかを含む蛍光体が全て適用されるものではない。すなわち、特許文献2の実施例に記載されているMgGa2O4:Mn、Zn2SiO4:Mnは430〜480nmの範囲の励起光では、その発光効率は著しく低い。However, when the peak wavelength of the light-emitting element is in the range of 430 to 480 nm, not all phosphors containing any of europium, tungsten, tin, antimony, and manganese are applied. In other words, MgGa2 O4 : Mn and Zn2 SiO4 : Mn described in the examples of
また特開2004−287323号公報(特許文献3)には、バックライトとして、赤発光LEDチップと緑発光LEDチップと青発光LEDチップとが1パッケージとなったRGB−LEDの他に、3波長型蛍光管、紫外光LED+RGB蛍光体、有機EL光源などがあると記載されている。しかしながら特許文献3には、青色光を励起源とするRG蛍光体に関する具体的な記述はない。
本発明は、上記課題を解決するためになされたものであって、その目的とするところは、半導体発光素子からの430〜480nmの範囲の光によって、高効率で発光し、かつ温度特性の良好な特定の蛍光体を用いることにより、高効率かつ動作時においても安定した特性を有する発光装置、好ましくはさらに色再現性(NTSC比)にも優れた発光装置を提供することである。 The present invention has been made to solve the above-described problems, and the object of the present invention is to emit light with high efficiency by light in the range of 430 to 480 nm from a semiconductor light emitting element and to have good temperature characteristics. By using such a specific phosphor, it is to provide a light-emitting device having high efficiency and stable characteristics even during operation, preferably a light-emitting device excellent in color reproducibility (NTSC ratio).
本発明の第1の局面に従った発光装置(以下、「第1の態様の発光装置」と呼称する)は、一次光を発する発光素子と、前記一次光の一部を吸収して、一次光の波長以上の波長を有する二次光を発する波長変換部とを備える発光装置であって、前記波長変換部は複数の緑色系発光蛍光体および赤色系発光蛍光体を含み、前記緑色系発光蛍光体は、
一般式:EuaSibAlcOdNe
(式中、0.005≦a≦0.4、b+c=12、d+e=16である。)
で実質的に表されるβ型SIALON(サイアロン)である2価のユーロピウム付活酸窒化物蛍光体からなり、前記赤色系発光蛍光体は、
一般式:(MI1-fEuf)MIISiN3
(式中、MIは、Mg、Ca、SrおよびBaから選ばれる少なくとも1種の元素を示し、MIIはAl、Ga、In、Sc、Y、La、GdおよびLuから選ばれる少なくとも1種の元素を示し、0.001≦f≦0.05である。)
で実質的に表される2価のユーロピウム付活窒化物蛍光体からなることを特徴とする。A light-emitting device according to the first aspect of the present invention (hereinafter referred to as a “light-emitting device of a first embodiment”) absorbs a part of the primary light and a light-emitting element that emits primary light. A wavelength conversion unit that emits secondary light having a wavelength equal to or greater than a wavelength of light, wherein the wavelength conversion unit includes a plurality of green light emitting phosphors and red light emitting phosphors, and the green light emission The phosphor
General formula: Eua Sib Alc Od Ne
(In the formula, 0.005 ≦ a ≦ 0.4, b + c = 12, and d + e = 16.)
Is a β-type SIALON (sialon) substantially represented by a divalent europium-activated oxynitride phosphor,
General formula: (MI1-f Euf ) MIISiN3
(In the formula, MI represents at least one element selected from Mg, Ca, Sr and Ba, and MII represents at least one element selected from Al, Ga, In, Sc, Y, La, Gd and Lu. And 0.001 ≦ f ≦ 0.05.)
It consists of the bivalent europium activated nitride fluorescent substance substantially represented by these.
また、上述した本発明の第1の態様の発光装置は、前記赤色系発光蛍光体として、上記一般式中、MIIがAl、GaおよびInから選ばれる少なくとも1種の元素である、2価のユーロピウム付活窒化物蛍光体を用いたものであることが好ましい。 The light emitting device according to the first aspect of the present invention described above is a divalent phosphor in which MII is at least one element selected from Al, Ga and In as the red light emitting phosphor. It is preferable to use a europium activated nitride phosphor.
また上述した本発明の第1の態様の発光装置は、前記波長変換部に用いられる複数の蛍光体は、波長変換部の一次光の入射側から出射側に向かって、二次光の波長の長い蛍光体順に積層されたものであることが好ましい。 Further, in the light emitting device according to the first aspect of the present invention described above, the plurality of phosphors used in the wavelength conversion unit have a wavelength of secondary light from the primary light incident side to the emission side of the wavelength conversion unit. It is preferable that the layers are laminated in the order of long phosphors.
さらに、上述した本発明の第1の態様の発光装置は、発光素子が430〜480nmのピーク波長を有する一次光を発する窒化ガリウム(GaN)系半導体であることが好ましい。 Furthermore, the above-described light emitting device of the first aspect of the present invention is preferably a gallium nitride (GaN) semiconductor in which the light emitting element emits primary light having a peak wavelength of 430 to 480 nm.
本発明の第1の態様の発光装置は、白色LEDであることが好ましく、LCD用バックライト光源に用いられるものであることがより好ましい。 The light emitting device according to the first aspect of the present invention is preferably a white LED, and more preferably used for a backlight light source for LCD.
本発明の第2の局面に従った発光装置(以下、「第2の態様の発光装置」と呼称する。)は、一次光を発する発光素子と、前記一次光の一部を吸収して、一次光の波長以上の波長を有する二次光を発する波長変換部とを備える発光装置であって、前記波長変換部は黄色系発光蛍光体を含み、前記黄色系発光蛍光体は、
一般式:MIIIgEuhSijAlkOmNn
(式中、MIIIはアルカリ土類金属元素であり、Mg、Ca、SrおよびBaから選ばれる少なくとも1種の元素を示し、0<g≦3.0、0.005≦h≦0.4、j+k=12、m+n=16を満足する数である。)
で実質的に表されるα型SIALON(サイアロン)である2価のユーロピウム付活酸窒化物蛍光体からなることを特徴とする。A light-emitting device according to the second aspect of the present invention (hereinafter referred to as “light-emitting device of a second embodiment”) absorbs a part of the primary light, a light-emitting element that emits primary light, and A wavelength conversion unit that emits secondary light having a wavelength equal to or greater than the wavelength of the primary light, the wavelength conversion unit including a yellow light-emitting phosphor, the yellow light-emitting phosphor,
General formula: MIIIg Euh Sij Alk Om Nn
(Wherein MIII is an alkaline earth metal element and represents at least one element selected from Mg, Ca, Sr and Ba, and 0 <g ≦ 3.0, 0.005 ≦ h ≦ 0.4, (j + k = 12, m + n = 16)
It is characterized by comprising a divalent europium activated oxynitride phosphor which is substantially α-type SIALON (Sialon).
本発明の第2の態様の発光装置においては、前記黄色系発光蛍光体として、上記一般式中、MIIIがCaである、α型SIALONである2価のユーロピウム付活酸窒化物蛍光体を用いることが好ましい。また、発光素子が430〜480nmのピーク波長を有する一次光を発する窒化ガリウム(GaN)系半導体であることが、好ましい。 In the light emitting device according to the second aspect of the present invention, as the yellow light emitting phosphor, a divalent europium activated oxynitride phosphor of α-type SIALON in which MIII is Ca in the above general formula is used. It is preferable. The light-emitting element is preferably a gallium nitride (GaN) semiconductor that emits primary light having a peak wavelength of 430 to 480 nm.
本発明の発光装置は、発光素子からの発光を効率よく吸収して、高効率な白色光を発光するとともに、温度特性に優れる。また、本発明では、温度特性に加えて、色再現性(NTSC比)が著しく良好な白色を得ることができ、さらには、平均演色評価数(Ra)も優れており、一般照明用としても良好な白色を得ることができる発光装置も提供することができる。 The light emitting device of the present invention efficiently absorbs light emitted from the light emitting element, emits white light with high efficiency, and has excellent temperature characteristics. Further, in the present invention, in addition to the temperature characteristics, a white color having remarkably good color reproducibility (NTSC ratio) can be obtained, and the average color rendering index (Ra) is excellent. A light-emitting device capable of obtaining a good white color can also be provided.
図1は、本発明の第1の態様の発光装置1の好ましい一例を模式的に示す断面図である。本発明の第1の態様の発光装置1は、一次光を発する発光素子2と、前記一次光の一部
を吸収して、一次光の波長以上の長さの波長を有する二次光を発する波長変換部3とを基本的に備える。本発明の発光装置1における波長変換部3は、複数の緑色系発光蛍光体4および赤色系発光蛍光体5を含む。FIG. 1 is a cross-sectional view schematically showing a preferred example of the light emitting device 1 of the first aspect of the present invention. The light-emitting device 1 according to the first aspect of the present invention emits secondary light having a wavelength longer than that of the primary light by absorbing the light-emitting
本発明の発光装置1における波長変換部3に用いられる緑色系発光蛍光体4は、以下の一般式で実質的に表されるβ型SIALONである2価のユーロピウム付活酸窒化物蛍光体である。 The green light-emitting phosphor 4 used in the wavelength conversion unit 3 in the light-emitting device 1 of the present invention is a divalent europium-activated oxynitride phosphor that is a β-type SIALON substantially represented by the following general formula. is there.
一般式:EuaSibAlcOdNe
上記一般式中、aの値は、0.005≦a≦0.4であり、0.01≦a≦0.2であるのが好ましい。aの値が0.005未満であると、十分な明るさが得られないという不具合があり、またaの値が0.4を超えると、濃度消光により、明るさが大きく低下するという不具合がある。また、上記一般式中、b+c=12であり、d+e=16である。General formula: Eua Sib Alc Od Ne
In the above general formula, the value of a is 0.005 ≦ a ≦ 0.4, and preferably 0.01 ≦ a ≦ 0.2. When the value of a is less than 0.005, there is a problem that sufficient brightness cannot be obtained, and when the value of a exceeds 0.4, there is a problem that the brightness greatly decreases due to concentration quenching. is there. In the above general formula, b + c = 12, and d + e = 16.
このようなβ型SIALONである2価のユーロピウム付活酸窒化物蛍光体としては、具体的には、Eu0.05Si11.50Al0.50O0.05N15.95、Eu0.10Si11.00Al1.00O0.10N15.90、Eu0.30Si9.80Al2.20O0.30N15.70、Eu0.15Si10.00Al2.00O0.20N15.80、Eu0.01Si11.60Al0.40O0.01N15.90、Eu0.005Si11.70Al0.30O0.03N15.97などを挙げることができるが、勿論これらに限定されるものではない。Specific examples of such β-type SIALON divalent europium activated oxynitride phosphors include Eu0.05 Si11.50 Al0.50 O0.05 N15.95 , Eu0.10 Si11.00 Al1.00 O0.10 N15.90 , Eu0.30 Si9.80 Al2.20 O0.30 N15.70 , Eu0.15 Si10.00 Al2.00 O0.20 N15.80 , Eu0.01 Si11.60 Al0.40 O0.01 N15.90 , Eu0.005 Si11.70 Al0.30 O0.03 N15.97 Of course, it is not limited to these.
また、本発明の発光装置1の波長変換部3における緑色系発光蛍光体4の粒径(平均粒径、通気法にて測定)についても特に制限されるものではないが、2〜8μmの範囲内であるのが好ましく、3〜6μmの範囲内であるのがより好ましい。緑色系発光蛍光体4の粒径が2μm未満であると、結晶成長が不十分であり、明るさが大きく低下する傾向にある。一方、8μmを超えると、異常成長した粗大粒子が生成し易く実用的ではない。 Further, the particle size (average particle size, measured by aeration method) of the green light-emitting phosphor 4 in the wavelength conversion unit 3 of the light-emitting device 1 of the present invention is not particularly limited, but is in the range of 2 to 8 μm. Is preferably within the range of 3 to 6 μm. When the particle size of the green light-emitting phosphor 4 is less than 2 μm, crystal growth is insufficient and the brightness tends to decrease greatly. On the other hand, when it exceeds 8 μm, abnormally grown coarse particles are easily generated, which is not practical.
本発明の第1の態様の発光装置1において、波長変換部3における緑色系発光蛍光体4の含有率は特に制限されるものではないが、30〜98重量%の範囲内であることが好ましく、60〜95重量%の範囲内であることがより好ましい。波長変換部3における緑色系発光蛍光体4の含有率が30重量%未満である場合には、赤色成分の寄与が大きすぎ、良好な白色発光が得られないという傾向にあり、また、波長変換部3における緑色系発光蛍光体4の含有率が98重量%を超える場合には、緑色成分の寄与が大きすぎ、良好な白色発光が得られないという傾向にあるためである。 In the light emitting device 1 according to the first aspect of the present invention, the content of the green light-emitting phosphor 4 in the wavelength conversion unit 3 is not particularly limited, but is preferably in the range of 30 to 98% by weight. More preferably, it is in the range of 60 to 95% by weight. When the content of the green light-emitting phosphor 4 in the wavelength conversion unit 3 is less than 30% by weight, the red component contributes too much, and good white light emission tends not to be obtained. This is because, when the content of the green light-emitting phosphor 4 in the part 3 exceeds 98% by weight, the contribution of the green component is too large and good white light emission tends not to be obtained.
また本発明の発光装置1における波長変換部3に用いられる赤色系発光蛍光体5は、以下の一般式で実質的に表される2価のユーロピウム付活窒化物蛍光体である。 The red light-emitting
一般式:(MI1-fEuf)MIISiN3
上記一般式中、MIはアルカリ土類金属であり、Mg、Ca、SrおよびBaから選ばれる少なくとも1種の元素を示す。General formula: (MI1-f Euf ) MIISiN3
In the above general formula, MI is an alkaline earth metal and represents at least one element selected from Mg, Ca, Sr and Ba.
また一般式中、MIIは3価の金属元素であり、Al、Ga、In、Sc、Y、La、GdおよびLuから選ばれる少なくとも1種の元素を示す。中でも、より一層高効率に赤色系を発光することができることから、MIIはAl、GaおよびInから選ばれる少なくとも1種の元素であることが好ましい。 In the general formula, MII is a trivalent metal element and represents at least one element selected from Al, Ga, In, Sc, Y, La, Gd, and Lu. Among these, it is preferable that MII is at least one element selected from Al, Ga and In since red light can be emitted more efficiently.
また上記一般式中、fの値は、0.001≦f≦0.05であり、0.005≦f≦0.02であるのが好ましい。fの値が0.001未満であると、十分な明るさが得られないという不具合があり、fの値が0.05を越えると、濃度消光等により、明るさが大きく低下するという不具合がある。 In the above general formula, the value of f is 0.001 ≦ f ≦ 0.05, and preferably 0.005 ≦ f ≦ 0.02. If the value of f is less than 0.001, there is a problem that sufficient brightness cannot be obtained, and if the value of f exceeds 0.05, there is a problem that the brightness is greatly reduced due to concentration quenching or the like. is there.
2価のユーロピウム付活窒化物蛍光体としては、具体的には、(Ca0.98Eu0.02)AlSiN3、(Ca0.94Mg0.05Eu0.01)(Al0.99In0.01)SiN3、(Ca0.94Mg0.05Eu0.01)(Al0.99Ga0.01)SiN3、(Ca0.97Mg0.01Eu0.02)(Al0.99Ga0.01)SiN3、(Ca0.97Sr0.01Eu0.02)(Al0.98In0.02)SiN3、(Ca0.995Eu0.005)AlSiN3、(Ca0.989Sr0.010Eu0.001)(Al0.98Ga0.02)SiN3、(Ca0.93Mg0.02Eu0.05)AlSiN3、(Ca0.99Eu0.01)AlSiN3、(Ca0.985Eu0.015)(Al0.99Ga0.01)SiN3、(Ca0.97Mg0.02Eu0.01)(Al0.99In0.01)SiN3、(Ca0.99Eu0.01)(Al0.99Ga0.01)SiN3、(Ca0.97Mg0.02Eu0.01)(Al0.99Ga0.01)SiN3などを挙げることができるが、勿論これらに限定されるものではない。Specific examples of the divalent europium activated nitride phosphor include (Ca0.98 Eu0.02 ) AlSiN3 , (Ca0.94 Mg0.05 Eu0.01 ) (Al0.99 In0.01 ) SiN3 , and (Ca0.94 Mg0.05 Eu).0.01) (Al 0.99 Ga 0.01) SiN 3, (Ca 0.97 Mg 0.01 Eu 0.02) (Al 0.99 Ga 0.01) SiN 3, (Ca 0.97 Sr 0.01 Eu 0.02) (Al 0.98 In 0.02) SiN 3, (Ca 0.995 Eu 0.005 ) AlSiN3 , (Ca0.989 Sr0.010 Eu0.001 ) (Al0.98 Ga0.02 ) SiN3 , (Ca0.93 Mg0.02 Eu0.05 ) AlSiN3 , (Ca0.99 Eu0.01 ) AlSiN3 , (Ca0.985 Eu0.015 ) (Al0.99 Ga0.01 ) SiN3 , (Ca0.97 Mg0.02 Eu0.01 ) (Al0.99 In0.01 ) SiN3 , (Ca0.99 Eu0.01 ) (Al0.99 Ga0.01 ) SiN3 , (Ca0.97 Mg0.02 Eu0.01 ) (Al0.99 Ga0.01 ) SiN3 and the like can be mentioned, but of course not limited thereto.
また、本発明の発光装置1の波長変換部3における赤色系発光蛍光体5の粒径(平均粒径、通気法にて測定)についても特に制限されるものではないが、3〜10μmの範囲内であるのが好ましく、4〜7μmの範囲内であるのがより好ましい。赤色系発光蛍光体5の粒径が3μm未満であると、結晶成長が不十分であり、明るさが大きく低下する傾向にある。一方、10μmを超える粒径のものを調製する場合には、異常成長した粗大粒子が生成しやすく、実用的ではない。 Further, the particle diameter (average particle diameter, measured by aeration method) of the red light-emitting
本発明の第1の態様の発光装置1において、波長変換部3における赤色系発光蛍光体5の含有率は特に制限されるものではないが、1〜60重量%の範囲内であることが好ましく、5〜30重量%の範囲内であることがより好ましい。波長変換部3における赤色系発光蛍光体5の含有率が1重量%未満である場合には、緑色成分の寄与が大きすぎ、良好な白色発光が得られないという傾向にあり、また、波長変換部3における赤色系発光蛍光体5の含有率が60重量%を超える場合には、赤色成分の寄与が大きすぎ、良好な白色発光が得られないという傾向にあるためである。 In the light emitting device 1 of the first aspect of the present invention, the content of the red light-emitting
本発明の第1の態様の発光装置において用いられる上述した緑色系発光蛍光体および赤色系発光蛍光体は、セラミックス材料であるので耐熱性が高く、また、熱膨張係数が小さい材料なので、バンドギャップの差異が小さい。本発明の第1の態様の発光装置では、このような蛍光体を用いることで、温度に対する蛍光発光の効率低下が小さく、従来と比較して温度特性が格段に改善された発光装置を実現することができる。 Since the above-described green light-emitting phosphor and red light-emitting phosphor used in the light-emitting device according to the first aspect of the present invention are ceramic materials, they have high heat resistance and a low thermal expansion coefficient. The difference is small. In the light emitting device according to the first aspect of the present invention, the use of such a phosphor realizes a light emitting device in which the decrease in the efficiency of fluorescence emission with respect to temperature is small and the temperature characteristics are remarkably improved as compared with the conventional one. be able to.
また本発明の第1の態様の発光装置において用いられる上述した緑色系発光蛍光体は、発光スペクトルの半値幅が狭いため、上述した温度特性が良好であると同時に、色再現性(NTSC比)も良好である。したがって、本発明の第1の態様の発光装置は、発光素子からの発光を効率よく吸収して、高効率な白色光を発光するとともに、色再現性(NTSC比)が著しく良好な白色を得ることができ、さらには、平均演色評価数(Ra)も優れており、一般照明用としても良好な白色を得ることができる。このような本発明の第1の態様の発光装置は、白色LEDとして実現されることが好ましく、中でも、LCD用のバックライト用光源として特に好適に用いることができるものである。 Further, since the above-described green light-emitting phosphor used in the light-emitting device according to the first aspect of the present invention has a narrow half-value width of the emission spectrum, the above-described temperature characteristics are good and color reproducibility (NTSC ratio). Is also good. Therefore, the light-emitting device according to the first aspect of the present invention efficiently absorbs light emitted from the light-emitting element, emits high-efficiency white light, and obtains white with extremely good color reproducibility (NTSC ratio). Furthermore, the average color rendering index (Ra) is excellent, and a good white color can be obtained for general illumination. Such a light emitting device according to the first aspect of the present invention is preferably realized as a white LED, and can be particularly suitably used as a backlight light source for LCD.
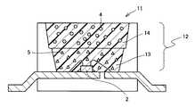
ここで、図2は、本発明の第1の態様の発光装置11の好ましい他の例を模式的に示す断面図である。なお、図2に示す例の発光装置11は、一部を除いては図1に示した例の発光装置1と同様の構造を備えるものであり、同様の構造を備える部分については同一の参照符を付して説明を省略する。本発明の発光装置において前記波長変換部に用いられる複数の蛍光体は、波長変換部の一次光の入射側から出射側に向かって、二次光の波長の長い蛍光体順に積層されたものであることが好ましい。このように積層されてなることによって、蛍光体層から発せられた可視光はその上に積層された蛍光体層に殆ど吸収されることなく、良好に外部に取り出すことができるという効果を発揮する発光装置を提供するこ
とができる。図2には、たとえば、赤色系発光蛍光体5を含む層13、緑色系発光蛍光体4を含む層14の順で、波長変換部12の一次光の入射側から出射側に向かって積層されてなる例の発光装置11を示している。なお、緑色系発光蛍光体4を含む層14の上にさらに青色系発光蛍光体を含む層を積層して波長変換部を形成するようにしてもよい。Here, FIG. 2 is a cross-sectional view schematically showing another preferred example of the
また図3は、本発明の第2の態様の発光装置21の好ましい一例を模式的に示す断面図である。なお、図3に示す例の発光装置21は、一部を除いては図1に示した例の発光装置1と同様の構造を備えるものであり、同様の構造を備える部分については同一の参照符を付して説明を省略する。本発明の第2の態様の発光装置21は、一次光を発する発光素子2と、前記一次光の一部を吸収して、一次光の波長以上の長さの波長を有する二次光を発する波長変換部22とを基本的に備え、当該波長変換部22が、黄色系発光蛍光体23のみを含むことを特徴とする。 Moreover, FIG. 3 is sectional drawing which shows typically a preferable example of the light-emitting
本発明の発光装置21における波長変換部22に用いられる黄色系発光蛍光体23は、以下の一般式で実質的に表されるα型SIALONである2価のユーロピウム付活酸窒化物蛍光体である。 The yellow light-emitting
一般式:MIIIgEuhSijAlkOmNn
上記一般式中、MIIIはアルカリ土類金属であり、Mg、Ca、SrおよびBaから選ばれる少なくとも1種の元素を示す。中でも、Caを用いることにより、より明るいものが得られることから、MIIIはCaであることが好ましい。General formula: MIIIg Euh Sij Alk Om Nn
In the above general formula, MIII is an alkaline earth metal and represents at least one element selected from Mg, Ca, Sr and Ba. Especially, since a brighter thing is obtained by using Ca, it is preferable that MIII is Ca.
また上記一般式中、gの値は、0<g≦3.0であり、0.1≦g≦2.0であるのが好ましい。gの値が0である(すなわち、アルカリ土類金属であるMIIIが含まれない)場合、またgの値が3.0を超える場合には、十分な明るさが得られないという不具合がある。 In the above general formula, the value of g is 0 <g ≦ 3.0, and preferably 0.1 ≦ g ≦ 2.0. When the value of g is 0 (that is, the alkaline earth metal MIII is not included), and when the value of g exceeds 3.0, there is a problem that sufficient brightness cannot be obtained. .
また上記一般式中、hの値は0.005≦h≦0.4であり、0.02≦h≦0.2であるのが好ましい。hの値が0.005未満である場合には、十分な明るさが得られないという不具合があり、hの値が0.4を超える場合には濃度消光により、明るさが著しく低下するという不具合がある。 In the above general formula, the value of h is 0.005 ≦ h ≦ 0.4, and preferably 0.02 ≦ h ≦ 0.2. When the value of h is less than 0.005, there is a problem that sufficient brightness cannot be obtained, and when the value of h exceeds 0.4, the brightness is significantly reduced due to concentration quenching. There is a bug.
また、上記一般式中、j+k=12であり、m+n=16である。
このようなα型SIALONである2価のユーロピウム付活酸窒化物蛍光体としては、具体的には、Ca0.6Eu0.05Si10.50Al1.50O0.80N15.20、Ca1.0Eu0.06Si10.70Al1.30O1.20N14.80、Ca0.2Sr0.1Eu0.10Si10.20Al1.80O0.40N15.60、Ca0.4Mg0.1Eu0.03Si10.00Al2.00O1.10N14.90、Ca1.5Eu0.3Si10.70Al1.30O2.20N13.80、Ca0.1Sr0.05Eu0.08Si10.40Al1.60O0.50N13.50、Ca2.0Eu0.15Si10.85Al1.15O2.50N13.50、Ca0.05Eu0.02Si11.20Al0.80O0.20N15.80などを挙げることができるが、勿論これらに限定されるものではない。In the above general formula, j + k = 12, and m + n = 16.
Specific examples of such α-type SIALON divalent europium activated oxynitride phosphors include Ca0.6 Eu0.05 Si10.50 Al1.50 O0.80 N15.20 , Ca1.0 Eu0.06 Si10.70 Al1.30 O1.20. N14.80 , Ca0.2 Sr0.1 Eu0.10 Si10.20 Al1.80 O0.40 N15.60 , Ca0.4 Mg0.1 Eu0.03 Si10.00 Al2.00 O1.10 N14.90 , Ca1.5 Eu0.3 Si10.70 Al1.30 O2.20 N13.80 , Ca0.1 Sr0.05 Eu0.08 Si10.40 Al1.60 O0.50 N13.50 , Ca2.0 Eu0.15 Si10.85 Al1.15 O2.50 N13.50 , Ca0.05 Eu0.02 Si11.20 Al0.80 O0.20 N15.80 and the like are of course limited thereto. It is not a thing.
また、本発明の発光装置21の波長変換部22における黄色系発光蛍光体23の粒径(平均粒径、通気法にて測定)についても特に制限されるものではないが、2〜8μmの範囲内であるのが好ましく、3〜6μmの範囲内であるのがより好ましい。黄色系発光蛍光体23の粒径が2μm未満であると、結晶成長が不十分であり、明るさが大きく低下する傾向にある。一方、8μmを超えると、異常成長した粗大粒子が生成しやすく、実用的ではないという傾向にある。 Further, the particle diameter (average particle diameter, measured by aeration method) of the yellow light-emitting
本発明の第2の態様の発光装置において用いられる上述した黄色系発光蛍光体も、セラミックス材料であるので耐熱性が高く、また、熱膨張係数が小さい材料なので、バンドギ
ャップの差異が小さいものである。したがって、本発明の第2の態様の発光装置でも、このような蛍光体を用いることで、温度に対する蛍光発光の効率低下が小さく、従来と比較して温度特性が格段に改善された発光装置を実現することができる。The above-described yellow light-emitting phosphor used in the light-emitting device of the second aspect of the present invention is also a ceramic material, so it has high heat resistance and a material with a small coefficient of thermal expansion. is there. Therefore, even in the light emitting device according to the second aspect of the present invention, by using such a phosphor, a light emitting device in which the decrease in the efficiency of fluorescence emission with respect to temperature is small and the temperature characteristics are remarkably improved as compared with the conventional one. Can be realized.
本発明の発光装置における波長変換部は、上述した複数の蛍光体((1)緑色系発光蛍光体および赤色系発光蛍光体、または、(2)黄色系発光蛍光体)を含有し、発光素子2から発せられる一次光の一部を吸収して、一次光の波長以上の長さの波長を有する二次光を発し得るものであれば、その媒質6は特に制限されるものではない。媒質(透明樹脂)6としては、たとえばエポキシ樹脂、シリコーン樹脂、尿素樹脂等を用いることができるが、これらに限定されるものではない。 The wavelength conversion unit in the light emitting device of the present invention contains the above-described plurality of phosphors ((1) green light emitting phosphor and red light emitting phosphor, or (2) yellow light emitting phosphor), and a light emitting element The
また、波長変換部は、上述した蛍光体および媒質以外に、本発明の効果を阻害しない範囲で、適宜のSiO2、TiO2、ZrO2、Al2O3、Y2O3などの添加剤を含有していても勿論よい。In addition to the phosphor and the medium described above, the wavelength conversion unit is a suitable additive such as SiO2 , TiO2 , ZrO2 , Al2 O3 , and Y2 O3 as long as the effects of the present invention are not impaired. Of course, it may be contained.
本発明の発光装置1,11,21に用いられる発光素子2としては、効率の観点から、窒化ガリウム(GaN)系半導体を好ましく用いることができる。 As the light-emitting
本発明の発光装置1,11,21を効率的に発光させる観点から、本発明の発光装置1,11,21に用いられる発光素子2はピーク波長が430nm〜480nmの範囲の一次光を発するものであることが好ましく、440nm〜470nmの範囲の一次光を発するものであることがより好ましい。発光素子2が発する一次光のピーク波長が430nm未満の場合には、演色性が悪くなり、実用的ではない。また、480nmを超えると、白色での明るさが低下し、実用的でなくなる傾向にある。 From the viewpoint of efficiently emitting the
本発明の発光装置に用いられる緑色系発光蛍光体、赤色系発光蛍光体および黄色系発光蛍光体は、従来公知の適宜の方法にて作製したものを用いてもよいし、また市販のものを用いても勿論よい。また、本発明の発光装置における波長変換部は、上述した複数の蛍光体((1)緑色系発光蛍光体および赤色系発光蛍光体、または、(2)黄色系発光蛍光体)を適宜の樹脂中に分散させ、適宜の条件で成形することによって作製することが可能であり、その作製方法は特に制限されるものではない。 The green light-emitting phosphor, the red light-emitting phosphor and the yellow light-emitting phosphor used in the light-emitting device of the present invention may be those prepared by a conventionally known appropriate method, or commercially available ones. Of course, it may be used. Moreover, the wavelength conversion part in the light-emitting device of this invention is a resin suitable for the above-mentioned plurality of phosphors ((1) green light-emitting phosphor and red light-emitting phosphor or (2) yellow light-emitting phosphor). It can be produced by being dispersed therein and molded under appropriate conditions, and the production method is not particularly limited.
以下、実施例および比較例を挙げて本発明をより詳細に説明するが、本発明はこれらに限定されるものではない。 EXAMPLES Hereinafter, although an Example and a comparative example are given and this invention is demonstrated in detail, this invention is not limited to these.
<実施例1>
発光素子として、450nmにピーク波長を有する窒化ガリウム(GaN)系半導体を用いた。波長変換部には、緑色系発光蛍光体としてEu0.05Si11.50Al0.50O0.05N15.95(β型SIALON)(粒径:3.6μm)、赤色系発光蛍光体として(Ca0.99Eu0.01)AlSiN3(粒径:4.5μm)を含むものを用いた。これらの緑色系発光蛍光体と赤色系発光蛍光体とを1:0.25の重量比で混合したものをエポキシ樹脂中に分散し、成形して波長変換部を作製した。このようにして実施例1の発光装置を作製した。<Example 1>
As the light-emitting element, a gallium nitride (GaN) -based semiconductor having a peak wavelength at 450 nm was used. In the wavelength conversion section, Eu0.05 Si11.50 Al0.50 O0.05 N15.95 (β-type SIALON) (particle size: 3.6 μm) as a green light-emitting phosphor, and (Ca0.99 Eu0.01 ) AlSiN3 as a red light-emitting phosphor. The one containing (particle size: 4.5 μm) was used. A mixture of these green light-emitting phosphors and red light-emitting phosphors in a weight ratio of 1: 0.25 was dispersed in an epoxy resin and molded to prepare a wavelength conversion part. In this way, the light emitting device of Example 1 was manufactured.
<比較例1>
(Y0.40Gd0.45Ce0.15)3Al5O12で表される黄色系発光蛍光体のみを樹脂中に分散させ、波長変換部を形成した以外は、実施例1と同様にして発光装置を作製した。<Comparative Example 1>
(Y0.40 Gd0.45 Ce0.15 )3 A light-emitting device was produced in the same manner as in Example 1 except that only a yellow light-emitting phosphor represented by Al5 O12 was dispersed in a resin to form a wavelength conversion part. did.
実施例1、比較例1についての結果を表1に示す。 The results for Example 1 and Comparative Example 1 are shown in Table 1.
表1から、本発明の発光装置は従来品に比し、色再現性(NTSC比)が飛躍的に向上することが分かる。このことは、中、小型LCD用バックライトとして好適な特性を有している。さらには、平均演色評価数(Ra)も優れており、一般照明用としても十分適するものである。 It can be seen from Table 1 that the color reproducibility (NTSC ratio) of the light emitting device of the present invention is dramatically improved as compared with the conventional product. This has characteristics suitable as a backlight for a medium-sized LCD. Furthermore, the average color rendering index (Ra) is also excellent, and it is well suited for general lighting.
<実施例2>
発光素子として、440nmにピーク波長を有する窒化ガリウム(GaN)系半導体を用いた。波長変換部には、緑色系発光蛍光体としてEu0.10Si11.00Al1.00O1.10N15.90(β型SIALON)(粒径:3.1μm)、赤色系発光蛍光体として(Ca0.985Eu0.015)(Al0.99Ga0.01)SiN3(粒径:4.0μm)を含むものを用いた。また、まず最初に赤色系発光蛍光体をエポキシ樹脂中に分散、成形して第1の層を形成し、その上に緑色系発光蛍光体をエポキシ樹脂中に分散、成形して第2の層を形成することで、二層構造の波長変換部を作製した。<Example 2>
As the light-emitting element, a gallium nitride (GaN) -based semiconductor having a peak wavelength at 440 nm was used. In the wavelength conversion section, Eu0.10 Si11.00 Al1.00 O1.10 N15.90 (β-type SIALON) (particle size: 3.1 μm) as a green light-emitting phosphor, and (Ca0.985 Eu0.015 ) (Al A material containing0.99 Ga0.01 ) SiN3 (particle diameter: 4.0 μm) was used. First, a red light emitting phosphor is dispersed and molded in an epoxy resin to form a first layer, and then a green light emitting phosphor is dispersed and molded in an epoxy resin to form a second layer. As a result, a wavelength conversion unit having a two-layer structure was produced.
<実施例3>
また、実施例2との比較として、同じ緑色系発光蛍光体と赤色系発光蛍光体とを1:0.26の重量比で混合したものをエポキシ樹脂中に分散し、成形して波長変換部を作製した。<Example 3>
Further, as a comparison with Example 2, a mixture of the same green light-emitting phosphor and red light-emitting phosphor in a weight ratio of 1: 0.26 was dispersed in an epoxy resin and molded to form a wavelength conversion unit. Was made.
実施例2、3についての結果を表2に示す。 The results for Examples 2 and 3 are shown in Table 2.
表2から、本発明の蛍光体を光路順に二次光の波長の長い蛍光体順に積層することにより、明るさが著しく向上することが分かる。 From Table 2, it can be seen that the brightness is remarkably improved by laminating the phosphors of the present invention in the order of the phosphors having the longest secondary light wavelength in the order of the optical paths.
<実施例4>
発光素子として、430nmにピーク波長を有する窒化ガリウム(GaN)系半導体を用いた。波長変換部には、緑色系発光蛍光体としてEu0.30Si9.80Al2.20O3.30N15.70(β型SIALON)(粒径:3.3μm)、赤色系発光蛍光体として(Ca0.97Mg0.02Eu0.01)(Al0.99In0.01)SiN3(粒径:3.9μm)を含むものを用いた。これらの緑色系発光蛍光体と赤色系発光蛍光体とを1:0.23の重量比で混合したものをエポキシ樹脂中に分散し、成形して波長変換部を作製した。このようにして実施例4の発光装置を作製した。<Example 4>
As the light emitting element, a gallium nitride (GaN) semiconductor having a peak wavelength at 430 nm was used. In the wavelength conversion section, Eu0.30 Si9.80 Al2.20 O3.30 N15.70 (β-type SIALON) (particle size: 3.3 μm) as a green light emitting phosphor, and (Ca0.97 Mg0.02 Eu0.01 ) as a red light emitting phosphor. A material containing (Al0.99 In0.01 ) SiN3 (particle size: 3.9 μm) was used. A mixture of these green light-emitting phosphor and red light-emitting phosphor in a weight ratio of 1: 0.23 was dispersed in an epoxy resin and molded to prepare a wavelength conversion part. In this way, the light emitting device of Example 4 was produced.
<比較例2>
2(Sr0.92Ba0.06Eu0.02)O・SiO2で表される黄色系発光蛍光体のみを樹脂中に分散させ、波長変換部を形成した以外は、実施例4と同様にして発光装置を作製した。<Comparative example 2>
A light emitting device was fabricated in the same manner as in Example 4 except that only the yellow light emitting phosphor represented by 2 (Sr0.92 Ba0.06 Eu0.02 ) O · SiO2 was dispersed in the resin to form the wavelength conversion part. did.
<実施例5>
発光素子として、480nmにピーク波長を有する窒化ガリウム(GaN)系半導体を用いた。波長変換部には、緑色系発光蛍光体としてEu0.15Si10.00Al2.00O0.20N15.80(β型SIALON)(粒径:3.8μm)、赤色系発光蛍光体として(Ca0.98Eu0.02)AlSiN3(粒径:4.3μm)を含むものを用いた。これらの緑色系発光蛍光体と赤色系発光蛍光体とを1:0.28の重量比で混合したものをエポキシ樹脂中に分散し、成形して波長変換部を作製した。このようにして実施例5の発光装置を作製した。<Example 5>
As the light emitting element, a gallium nitride (GaN) semiconductor having a peak wavelength at 480 nm was used. In the wavelength conversion section, Eu0.15 Si10.00 Al2.00 O0.20 N15.80 (β-type SIALON) (particle size: 3.8 μm) as a green light-emitting phosphor, and (Ca0.98 Eu0.02 ) AlSiN3 as a red light-emitting phosphor. The one containing (particle size: 4.3 μm) was used. A mixture of these green light-emitting phosphor and red light-emitting phosphor in a weight ratio of 1: 0.28 was dispersed in an epoxy resin and molded to prepare a wavelength conversion part. In this way, the light emitting device of Example 5 was produced.
<比較例3>
(Y0.40Gd0.40Ce0.20)3Al5O12で表される黄色系発光蛍光体のみを樹脂中に分散させ、波長変換部を形成した以外は、実施例5と同様にして発光装置を作製した。<Comparative Example 3>
(Y0.40 Gd0.40 Ce0.20 )3 A light-emitting device was produced in the same manner as in Example 5 except that only the yellow light-emitting phosphor represented by Al5 O12 was dispersed in the resin to form a wavelength conversion part. did.
<実施例6>
発光素子として、460nmにピーク波長を有する窒化ガリウム(GaN)系半導体を用いた。波長変換部には、緑色系発光蛍光体としてEu0.01Si11.60Al0.40O0.01N15.99(β型SIALON)(粒径:3.5μm)、赤色系発光蛍光体として(Ca0.99Eu0.01)(Al0.99Ga0.01)SiN3(粒径:4.1μm)を含むものを用いた。これらの緑色系発光蛍光体と赤色系発光蛍光体とを1:0.29の重量比で混合したものをエポキシ樹脂中に分散し、成形して波長変換部を作製した。このようにして実施例6の発光装置を作製した。<Example 6>
As the light emitting element, a gallium nitride (GaN) semiconductor having a peak wavelength at 460 nm was used. In the wavelength conversion section, Eu0.01 Si11.60 Al0.40 O0.01 N15.99 (β-type SIALON) (particle size: 3.5 μm) is used as a green light-emitting phosphor, and (Ca0.99 Eu0.01 ) (Al A material containing0.99 Ga0.01 ) SiN3 (particle diameter: 4.1 μm) was used. A mixture of these green light-emitting phosphor and red light-emitting phosphor in a weight ratio of 1: 0.29 was dispersed in an epoxy resin and molded to prepare a wavelength conversion part. In this way, the light emitting device of Example 6 was manufactured.
<比較例4>
(Y0.40Gd0.45Ce0.15)3Al5O12で表される黄色系発光蛍光体のみを樹脂中に分散させ、波長変換部を形成した以外は、実施例6と同様にして発光装置を作製した。<Comparative example 4>
(Y0.40 Gd0.45 Ce0.15 )3 A light-emitting device was produced in the same manner as in Example 6 except that only the yellow light-emitting phosphor represented by Al5 O12 was dispersed in the resin to form a wavelength conversion part. did.
<実施例7>
発光素子として、470nmにピーク波長を有する窒化ガリウム(GaN)系半導体を用いた。波長変換部には、緑色系発光蛍光体としてEu0.005Si11.70Al0.30O0.03N15.97(β型SIALON)(粒径:3.6μm)、赤色系発光蛍光体として(Ca0.98Eu0.02)AlSiN3(粒径:4.3μm)を含むものを用いた。これらの緑色系発光蛍光体と赤色系発光蛍光体とを1:0.21の重量比で混合したものをエポキシ樹脂中に分散し、成形して波長変換部を作製した。このようにして実施例7の発光装置を作製した。<Example 7>
As the light emitting element, a gallium nitride (GaN) semiconductor having a peak wavelength at 470 nm was used. In the wavelength conversion section, Eu0.005 Si11.70 Al0.30 O0.03 N15.97 (β-type SIALON) (particle size: 3.6 μm) as a green light-emitting phosphor, and (Ca0.98 Eu0.02 ) AlSiN3 as a red light-emitting phosphor. The one containing (particle size: 4.3 μm) was used. A mixture of these green light-emitting phosphor and red light-emitting phosphor in a weight ratio of 1: 0.21 was dispersed in an epoxy resin and molded to prepare a wavelength conversion part. In this way, the light emitting device of Example 7 was manufactured.
<比較例5>
(Y0.40Gd0.45Ce0.15)3Al5O12で表される黄色系発光蛍光体のみを樹脂中に分散させ、波長変換部を形成した以外は、実施例7と同様にして発光装置を作製した。<Comparative Example 5>
(Y0.40 Gd0.45 Ce0.15 )3 A light-emitting device was produced in the same manner as in Example 7 except that only the yellow light-emitting phosphor represented by Al5 O12 was dispersed in the resin to form a wavelength conversion part. did.
実施例4〜7、比較例2〜5についての結果を表3に示す。 The results for Examples 4 to 7 and Comparative Examples 2 to 5 are shown in Table 3.
表3から、本発明の発光装置は従来品に比し、色再現性(NTSC比)が飛躍的に向上することが分かる。このことは、中、小型LCD用バックライトとして好適な特性を有している。さらには、平均演色評価数(Ra)も優れており、一般照明用としても十分適するものである。 It can be seen from Table 3 that the color reproducibility (NTSC ratio) of the light emitting device of the present invention is dramatically improved as compared with the conventional product. This has characteristics suitable as a backlight for a medium-sized LCD. Furthermore, the average color rendering index (Ra) is also excellent, and it is well suited for general lighting.
なお、上述した特性評価において、明るさは順電流(IF)20mAの条件にて点灯し、発光装置からの白色光を光電流に変換することにより求めた。また、Tc−duv、平均演色評価数(Ra)および特殊演色評価数(R9)については、順電流(IF)20mAの条件にて点灯し、発光装置からの白色光を大塚電子製MCPD−2000にて測定し、その値を求めた。 Note that in the above-described characteristic evaluation, the brightness was obtained by turning on the light at a forward current (IF) of 20 mA and converting white light from the light-emitting device into a photocurrent. In addition, Tc-duv, average color rendering index (Ra), and special color rendering index (R9) are turned on under the condition of forward current (IF) 20 mA, and white light from the light emitting device is MCPD-2000 manufactured by Otsuka Electronics. And measured the value.
<実施例8>
発光素子として、450nmにピーク波長を有する窒化ガリウム(GaN)系半導体を用いた。波長変換部には、黄色系発光蛍光体としてCa0.6Eu0.05Si10.50Al1.50O0.80N15.20(α型SIALON)なる組成のものを用いた。この黄色系発光蛍光体を所定の樹脂中に分散し、波長変換部を作製した。この波長変換部を組み込んだ発光装置について、その特性を評価した。<Example 8>
As the light-emitting element, a gallium nitride (GaN) -based semiconductor having a peak wavelength at 450 nm was used. For the wavelength conversion part, a yellow light emitting phosphor having a composition of Ca0.6 Eu0.05 Si10.50 Al1.50 O0.80 N15.20 (α-type SIALON) was used. This yellow light-emitting phosphor was dispersed in a predetermined resin to produce a wavelength conversion part. The characteristics of the light emitting device incorporating this wavelength conversion unit were evaluated.
<比較例6>
(Y0.45Gd0.40Ce0.15)3Al5O12で表される黄色系発光蛍光体のみを樹脂中に分散させ、波長変換部を形成した以外は、実施例8と同様にして発光装置を作製した。<Comparative Example 6>
(Y0.45 Gd0.40 Ce0.15 )3 A light-emitting device was produced in the same manner as in Example 8 except that only a yellow light-emitting phosphor represented by Al5 O12 was dispersed in a resin to form a wavelength conversion part. did.
実施例8および比較例6について、上述したTc−duvおよび順電流(IF)20mAにおける明るさ(相対値)を測定し、さらに順電流100mAにおける明るさ(相対値)も測定した。なお、明るさ(相対値)(100mA)は、下記の式から求めた。 For Example 8 and Comparative Example 6, the brightness (relative value) at Tc-duv and the forward current (IF) of 20 mA was measured, and the brightness (relative value) at a forward current of 100 mA was also measured. The brightness (relative value) (100 mA) was obtained from the following equation.
明るさ(相対値)(100mA)
={明るさ(実測値)(100mA)/明るさ(実測値)(20mA)×5}×100
実施例8および比較例6についての結果を表4に示す。Brightness (relative value) (100mA)
= {Brightness (actual value) (100 mA) / Brightness (actual value) (20 mA) × 5} × 100
The results for Example 8 and Comparative Example 6 are shown in Table 4.
表4より、本発明の発光装置は従来品と比較して温度特性が良好であることが分かる。
<実施例9>
発光素子として、460nmにピーク波長を有する窒化ガリウム(GaN)系半導体を用いた。波長変換部には、緑色系発光蛍光体としてEu0.05Si11.50Al0.50O0.50N15.90(β型SIALON)(粒径:3.6μm)、赤色系発光蛍光体として(Ca0.99Eu0.01)AlSiN3(粒径:4.5μm)を含むものを用いた。また、まず最初に赤色系発光蛍光体をエポキシ樹脂中に分散、成形して第1の層を形成し、その上に緑色系発光蛍光体をエポキシ樹脂中に分散、成形して第2の層を形成することで、二層構造の波長変換部を作製した。Table 4 shows that the light-emitting device of the present invention has better temperature characteristics than the conventional product.
<Example 9>
As the light emitting element, a gallium nitride (GaN) semiconductor having a peak wavelength at 460 nm was used. In the wavelength conversion section, Eu0.05 Si11.50 Al0.50 O0.50 N15.90 (β-type SIALON) (particle size: 3.6 μm) as a green light-emitting phosphor and (Ca0.99 Eu0.01 ) AlSiN3 as a red light-emitting phosphor. The one containing (particle size: 4.5 μm) was used. First, a red light emitting phosphor is dispersed and molded in an epoxy resin to form a first layer, and then a green light emitting phosphor is dispersed and molded in an epoxy resin to form a second layer. As a result, a wavelength conversion unit having a two-layer structure was produced.
実施例9についてのTc−duv、順電流20mA、100mAの各場合における明るさ(相対値)の測定結果を表5に示す。なお、比較として上述した比較例4について同様に測定した結果も表5に示している。 Table 5 shows the measurement results of brightness (relative value) in each case of Tc-duv, forward current 20 mA, and 100 mA for Example 9. For comparison, the results of the same measurement for Comparative Example 4 described above are also shown in Table 5.
表5より、本発明の発光装置は従来品と比較して温度特性が良好であることが分かる。
<実施例10>
発光素子として、440nmにピーク波長を有する窒化ガリウム(GaN)系半導体を用いた。波長変換部には、黄色系発光蛍光体としてCa1.0Eu0.06Si10.70Al1.30O1.20N14.80(α型SIALON)なる組成のものを用いた。この黄色系発光蛍光体を所定の樹脂中に分散し、波長変換部を作製した。この波長変換部を組み込んだ発光装置について、その特性を評価した。From Table 5, it can be seen that the light-emitting device of the present invention has better temperature characteristics than the conventional product.
<Example 10>
As the light-emitting element, a gallium nitride (GaN) -based semiconductor having a peak wavelength at 440 nm was used. For the wavelength conversion part, a yellow light emitting phosphor having a composition of Ca1.0 Eu0.06 Si10.70 Al1.30 O1.20 N14.80 (α-type SIALON) was used. This yellow light-emitting phosphor was dispersed in a predetermined resin to produce a wavelength conversion part. The characteristics of the light emitting device incorporating this wavelength conversion unit were evaluated.
<比較例7>
(Y0.38Gd0.45Ce0.17)3Al5O12で表される黄色系発光蛍光体のみを樹脂中に分散させ、波長変換部を形成した以外は、実施例10と同様にして発光装置を作製した。<Comparative Example 7>
(Y0.38 Gd0.45 Ce0.17 )3 A light emitting device was produced in the same manner as in Example 10 except that only the yellow light-emitting phosphor represented by Al5 O12 was dispersed in the resin to form a wavelength conversion part. did.
実施例10、比較例7についてのTc−duv、順電流20mA、100mAの各場合における明るさ(相対値)の測定結果を表6に示す。 Table 6 shows the measurement results of brightness (relative value) in each case of Tc-duv, forward current 20 mA, and 100 mA for Example 10 and Comparative Example 7.
表6より、本発明の発光装置は従来品と比較して温度特性が良好であることが分かる。
<実施例11>
発光素子として、430nmにピーク波長を有する窒化ガリウム(GaN)系半導体を用いた。波長変換部には、黄色系発光蛍光体としてCa0.2Sr0.1Eu0.10Si10.20Al1.80O0.40N15.60(α型SIALON)なる組成のものを用いた。この黄色系発光蛍光体を所定の樹脂中に分散し、波長変換部を作製した。この波長変換部を組み込んだ発光装置について、その特性を評価した。Table 6 shows that the light-emitting device of the present invention has better temperature characteristics than the conventional product.
<Example 11>
As the light emitting element, a gallium nitride (GaN) semiconductor having a peak wavelength at 430 nm was used. In the wavelength conversion part, a yellow light emitting phosphor having a composition of Ca0.2 Sr0.1 Eu0.10 Si10.20 Al1.80 O0.40 N15.60 (α-type SIALON) was used. This yellow light-emitting phosphor was dispersed in a predetermined resin to produce a wavelength conversion part. The characteristics of the light emitting device incorporating this wavelength conversion unit were evaluated.
<比較例8>
(Y0.40Gd0.50Ce0.10)3Al5O12で表される黄色系発光蛍光体のみを樹脂中に分散させ、波長変換部を形成した以外は、実施例11と同様にして発光装置を作製した。<Comparative Example 8>
(Y0.40 Gd0.50 Ce0.10 )3 A light-emitting device was produced in the same manner as in Example 11 except that only a yellow light-emitting phosphor represented by Al5 O12 was dispersed in a resin to form a wavelength conversion part. did.
<実施例12>
発光素子として、470nmにピーク波長を有する窒化ガリウム(GaN)系半導体を用いた。波長変換部には、黄色系発光蛍光体としてCa0.4Mg0.1Eu0.03Si10.00Al2.00O1.10N14.90(α型SIALON)なる組成のものを用いた。この黄色系発光蛍光体を所定の樹脂中に分散し、波長変換部を作製した。この波長変換部を組み込んだ発光装置について、その特性を評価した。<Example 12>
As the light emitting element, a gallium nitride (GaN) semiconductor having a peak wavelength at 470 nm was used. For the wavelength conversion part, a yellow light emitting phosphor having a composition of Ca0.4 Mg0.1 Eu0.03 Si10.00 Al2.00 O1.10 N14.90 (α-type SIALON) was used. This yellow light-emitting phosphor was dispersed in a predetermined resin to produce a wavelength conversion part. The characteristics of the light emitting device incorporating this wavelength conversion unit were evaluated.
<比較例9>
(Y0.45Gd0.40Ce0.15)3Al5O12で表される黄色系発光蛍光体のみを樹脂中に分散させ、波長変換部を形成した以外は、実施例12と同様にして発光装置を作製した。<Comparative Example 9>
(Y0.45 Gd0.40 Ce0.15 )3 A light-emitting device was produced in the same manner as in Example 12 except that only a yellow light-emitting phosphor represented by Al5 O12 was dispersed in a resin to form a wavelength conversion part. did.
<実施例13>
発光素子として、480nmにピーク波長を有する窒化ガリウム(GaN)系半導体を用いた。波長変換部には、緑色系発光蛍光体としてEu0.10Si11.00Al1.00O0.10N15.90(β型SIALON)、赤色系発光蛍光体として(Ca0.97Mg0.02Eu0.01)(Al0.99Ga0.01)SiN3を含むものを用いた。また、まず最初に赤色系発光蛍光体をエポキシ樹脂中に分散、成形して第1の層を形成し、その上に緑色系発光蛍光体をエポキシ樹脂中に分散、成形して第2の層を形成することで、二層構造の波長変換部を作製した。<Example 13>
As the light emitting element, a gallium nitride (GaN) semiconductor having a peak wavelength at 480 nm was used. The wavelength conversion section includes Eu0.10 Si11.00 Al1.00 O0.10 N15.90 (β-type SIALON) as a green light-emitting phosphor, and (Ca0.97 Mg0.02 Eu0.01 ) (Al0.99 Ga0.01 ) SiN3 as a red light-emitting phosphor. The thing containing was used. First, a red light emitting phosphor is dispersed and molded in an epoxy resin to form a first layer, and then a green light emitting phosphor is dispersed and molded in an epoxy resin to form a second layer. As a result, a wavelength conversion unit having a two-layer structure was produced.
<比較例10>
(Y0.45Gd0.45Ce0.10)3Al5O12で表される黄色系発光蛍光体のみを樹脂中に分散させ、波長変換部を形成した以外は、実施例13と同様にして発光装置を作製した。<Comparative Example 10>
(Y0.45 Gd0.45 Ce0.10 )3 A light emitting device was produced in the same manner as in Example 13 except that only a yellow light emitting phosphor represented by Al5 O12 was dispersed in a resin to form a wavelength conversion part. did.
<実施例14>
発光素子として、430nmにピーク波長を有する窒化ガリウム(GaN)系半導体を用いた。波長変換部には、緑色系発光蛍光体としてEu0.30Si9.80Al2.20O0.30N15.70(β型SIALON)、赤色系発光蛍光体として(Ca0.99Eu0.01)AlSiN3を含むものを用いた。また、まず最初に赤色系発光蛍光体をエポキシ樹脂中に分散、成形して第1の層を形成し、その上に緑色系発光蛍光体をエポキシ樹脂中に分散、成形して第2の層を形成することで、二層構造の波長変換部を作製した。<Example 14>
As the light emitting element, a gallium nitride (GaN) semiconductor having a peak wavelength at 430 nm was used. In the wavelength conversion section, a green light emitting phosphor containing Eu0.30 Si9.80 Al2.20 O0.30 N15.70 (β-type SIALON) and a red light emitting phosphor containing (Ca0.99 Eu0.01 ) AlSiN3 was used. First, a red light emitting phosphor is dispersed and molded in an epoxy resin to form a first layer, and then a green light emitting phosphor is dispersed and molded in an epoxy resin to form a second layer. As a result, a wavelength conversion unit having a two-layer structure was produced.
<比較例11>
(Y0.45Gd0.40Ce0.15)3Al5O12で表される黄色系発光蛍光体のみを樹脂中に分散させ、波長変換部を形成した以外は、実施例14と同様にして発光装置を作製した。<Comparative Example 11>
(Y0.45 Gd0.40 Ce0.15 )3 A light emitting device was produced in the same manner as in Example 14 except that only the yellow light-emitting phosphor represented by Al5 O12 was dispersed in the resin to form a wavelength conversion part. did.
実施例11〜14および比較例8〜11についても、上述と同様にTc−duv、順電流20mA、100mAの各場合における明るさ(相対値)を測定した。結果を表7に示す。 For Examples 11 to 14 and Comparative Examples 8 to 11, the brightness (relative value) in each case of Tc-duv, forward current 20 mA, and 100 mA was measured in the same manner as described above. The results are shown in Table 7.
表7より、本発明の発光装置は従来品と比較して温度特性が良好であることが分かる。
今回開示された実施の形態、実施例および比較例はすべての点で例示であって制限的なものではないと考えられるべきである。本発明の範囲は上記した説明ではなくて特許請求の範囲によって示され、特許請求の範囲と均等の意味および範囲内でのすべての変更が含まれることが意図される。From Table 7, it can be seen that the light-emitting device of the present invention has better temperature characteristics than the conventional product.
The embodiments, examples, and comparative examples disclosed this time should be considered as illustrative in all points and not restrictive. The scope of the present invention is defined by the terms of the claims, rather than the description above, and is intended to include any modifications within the scope and meaning equivalent to the terms of the claims.
1,11,21 発光装置、2 発光素子、3,12,22 波長変換部、4 緑色系発光蛍光体、5 赤色系発光蛍光体、13,14 層、23 黄色系発光蛍光体。 1,11,21 light emitting device, 2 light emitting element, 3,12,22 wavelength conversion unit, 4 green light emitting phosphor, 5 red light emitting phosphor, 13, 14 layers, 23 yellow light emitting phosphor.
| Application Number | Priority Date | Filing Date | Title |
|---|---|---|---|
| JP2006183685AJP4769132B2 (en) | 2005-11-30 | 2006-07-03 | Light emitting device |
| Application Number | Priority Date | Filing Date | Title |
|---|---|---|---|
| JP2005345884 | 2005-11-30 | ||
| JP2005345884 | 2005-11-30 | ||
| JP2006183685AJP4769132B2 (en) | 2005-11-30 | 2006-07-03 | Light emitting device |
| Application Number | Title | Priority Date | Filing Date |
|---|---|---|---|
| JP2010254758ADivisionJP2011091414A (en) | 2005-11-30 | 2010-11-15 | Light-emitting device |
| Publication Number | Publication Date |
|---|---|
| JP2007180483Atrue JP2007180483A (en) | 2007-07-12 |
| JP2007180483A5 JP2007180483A5 (en) | 2010-09-16 |
| JP4769132B2 JP4769132B2 (en) | 2011-09-07 |
| Application Number | Title | Priority Date | Filing Date |
|---|---|---|---|
| JP2006183685AActiveJP4769132B2 (en) | 2005-11-30 | 2006-07-03 | Light emitting device |
| Country | Link |
|---|---|
| JP (1) | JP4769132B2 (en) |
| Publication number | Priority date | Publication date | Assignee | Title |
|---|---|---|---|---|
| JP2008189700A (en)* | 2007-01-31 | 2008-08-21 | Nichia Chem Ind Ltd | Nitride-based phosphor, oxynitride-based phosphor, and light-emitting device using the same |
| WO2008146571A1 (en)* | 2007-05-22 | 2008-12-04 | Showa Denko K.K. | Fluorescent substance, method for production of the same, and light-emitting device using the same |
| JP2009019163A (en)* | 2007-07-13 | 2009-01-29 | Sharp Corp | Phosphor particle assembly for light emitting device, light emitting device, and backlight device for liquid crystal display |
| JP2010045328A (en)* | 2008-07-18 | 2010-02-25 | Sharp Corp | Light-emitting device and method of manufacturing the same |
| JP2010080935A (en)* | 2008-08-28 | 2010-04-08 | Panasonic Corp | Semiconductor light emitting device, backlight source using the same, backlight source system, display, and electronic apparatus |
| JP2010538453A (en)* | 2007-08-31 | 2010-12-09 | エルジー イノテック カンパニー リミテッド | Light emitting device package |
| JP2011091414A (en)* | 2005-11-30 | 2011-05-06 | Sharp Corp | Light-emitting device |
| JP2011515848A (en)* | 2008-03-26 | 2011-05-19 | パナソニック株式会社 | Semiconductor light emitting device |
| WO2011105157A1 (en)* | 2010-02-26 | 2011-09-01 | シャープ株式会社 | Light-emitting device |
| CN102403429A (en)* | 2010-09-08 | 2012-04-04 | 株式会社东芝 | Light emitting device |
| JP2012077289A (en)* | 2010-09-08 | 2012-04-19 | Toshiba Corp | Light emitting device |
| JP2013120812A (en)* | 2011-12-07 | 2013-06-17 | Mitsubishi Electric Corp | Light emitting device |
| WO2013118329A1 (en) | 2012-02-09 | 2013-08-15 | 電気化学工業株式会社 | Fluorophore and light emitting device |
| WO2013118330A1 (en) | 2012-02-09 | 2013-08-15 | 電気化学工業株式会社 | Fluorophore and light emitting device |
| US8513872B2 (en) | 2010-08-05 | 2013-08-20 | Sharp Kabushiki Kaisha | Light emitting apparatus and method for manufacturing thereof |
| JP2013163721A (en)* | 2012-02-09 | 2013-08-22 | Denki Kagaku Kogyo Kk | Phosphor and light-emitting device |
| JP2013163738A (en)* | 2012-02-09 | 2013-08-22 | Denki Kagaku Kogyo Kk | Phosphor and light-emitting device |
| JP2013163720A (en)* | 2012-02-09 | 2013-08-22 | Denki Kagaku Kogyo Kk | Phosphor and light-emitting device |
| US8663498B2 (en) | 2006-11-24 | 2014-03-04 | Sharp Kabushiki Kaisha | Phosphor, method of producing the same, and light emitting apparatus |
| US8729788B2 (en) | 2005-05-30 | 2014-05-20 | Sharp Kabushiki Kaisha | Light emitting device provided with a wavelength conversion unit incorporating plural kinds of phosphors |
| US8901591B2 (en) | 2010-07-26 | 2014-12-02 | Sharp Kabushiki Kaisha | Light-emitting device |
| US8928005B2 (en) | 2009-07-02 | 2015-01-06 | Sharp Kabushiki Kaisha | Light-emitting device |
| US8981639B2 (en) | 2008-03-03 | 2015-03-17 | Sharp Kabushiki Kaisha | Light-emitting device |
| KR20180101489A (en) | 2016-01-15 | 2018-09-12 | 덴카 주식회사 | Phosphor and light emitting device |
| JP2018150431A (en)* | 2017-03-10 | 2018-09-27 | デンカ株式会社 | Green phosphor and light-emitting device |
| Publication number | Priority date | Publication date | Assignee | Title |
|---|---|---|---|---|
| WO2020054350A1 (en) | 2018-09-12 | 2020-03-19 | デンカ株式会社 | Fluorescent material and light-emitting device |
| Publication number | Priority date | Publication date | Assignee | Title |
|---|---|---|---|---|
| JP2004048040A (en)* | 2003-08-26 | 2004-02-12 | Toshiba Electronic Engineering Corp | Semiconductor light emitting device |
| JP2004228464A (en)* | 2003-01-27 | 2004-08-12 | Rohm Co Ltd | Semiconductor light emitting device |
| WO2005052087A1 (en)* | 2003-11-26 | 2005-06-09 | Independent Administrative Institution National Institute For Materials Science | Phosphor and light emission appliance using phosphor |
| JP2005255895A (en)* | 2004-03-12 | 2005-09-22 | National Institute For Materials Science | Phosphor and production method thereof |
| WO2005090517A1 (en)* | 2004-03-22 | 2005-09-29 | Fujikura Ltd. | Light-emitting device and illuminating device |
| Publication number | Priority date | Publication date | Assignee | Title |
|---|---|---|---|---|
| JP2004228464A (en)* | 2003-01-27 | 2004-08-12 | Rohm Co Ltd | Semiconductor light emitting device |
| JP2004048040A (en)* | 2003-08-26 | 2004-02-12 | Toshiba Electronic Engineering Corp | Semiconductor light emitting device |
| WO2005052087A1 (en)* | 2003-11-26 | 2005-06-09 | Independent Administrative Institution National Institute For Materials Science | Phosphor and light emission appliance using phosphor |
| JP2005255895A (en)* | 2004-03-12 | 2005-09-22 | National Institute For Materials Science | Phosphor and production method thereof |
| WO2005090517A1 (en)* | 2004-03-22 | 2005-09-29 | Fujikura Ltd. | Light-emitting device and illuminating device |
| Publication number | Priority date | Publication date | Assignee | Title |
|---|---|---|---|---|
| US9281456B2 (en) | 2005-05-30 | 2016-03-08 | Sharp Kabushiki Kaisha | Light emitting device and fabricating method thereof |
| US9722149B2 (en) | 2005-05-30 | 2017-08-01 | Sharp Kabushiki Kaisha | Light emitting device and fabricating method thereof |
| US8729788B2 (en) | 2005-05-30 | 2014-05-20 | Sharp Kabushiki Kaisha | Light emitting device provided with a wavelength conversion unit incorporating plural kinds of phosphors |
| US10008644B2 (en) | 2005-05-30 | 2018-06-26 | Sharp Kabushiki Kaisha | Light emitting device and fabricating method thereof |
| JP2011091414A (en)* | 2005-11-30 | 2011-05-06 | Sharp Corp | Light-emitting device |
| US10259997B2 (en) | 2006-11-24 | 2019-04-16 | Ge Phosphors Technology, Llc | Phosphor, method of producing the same, and light emitting apparatus |
| US8663498B2 (en) | 2006-11-24 | 2014-03-04 | Sharp Kabushiki Kaisha | Phosphor, method of producing the same, and light emitting apparatus |
| US9624427B2 (en) | 2006-11-24 | 2017-04-18 | Ge Phosphors Technology, Llc | Phosphor, method of producing the same, and light emitting apparatus |
| US9884990B2 (en) | 2006-11-24 | 2018-02-06 | Ge Phosphors Technology, Llc | Phosphor, method of producing the same, and light emitting apparatus |
| JP2008189700A (en)* | 2007-01-31 | 2008-08-21 | Nichia Chem Ind Ltd | Nitride-based phosphor, oxynitride-based phosphor, and light-emitting device using the same |
| EP2163595A4 (en)* | 2007-05-22 | 2010-09-29 | Showa Denko Kk | FLUORESCENT SUBSTANCE, PROCESS FOR PRODUCING THE SAME, AND LIGHT-EMITTING DEVICE USING THE SAME |
| JP2009256558A (en)* | 2007-05-22 | 2009-11-05 | Showa Denko Kk | Fluorescent substance, method for producing the same, and light emitting device using the same |
| WO2008146571A1 (en)* | 2007-05-22 | 2008-12-04 | Showa Denko K.K. | Fluorescent substance, method for production of the same, and light-emitting device using the same |
| US8513876B2 (en) | 2007-05-22 | 2013-08-20 | National Institute For Materials Science | Fluorescent substance, method for producing the same, and light-emitting device using the same |
| JP2009019163A (en)* | 2007-07-13 | 2009-01-29 | Sharp Corp | Phosphor particle assembly for light emitting device, light emitting device, and backlight device for liquid crystal display |
| JP2010538453A (en)* | 2007-08-31 | 2010-12-09 | エルジー イノテック カンパニー リミテッド | Light emitting device package |
| US9455381B2 (en) | 2008-03-03 | 2016-09-27 | Ge Phosphors Technology, Llc | Light-emitting device |
| US9184353B2 (en) | 2008-03-03 | 2015-11-10 | Sharp Kabushiki Kaisha | Light-emitting device |
| US8981639B2 (en) | 2008-03-03 | 2015-03-17 | Sharp Kabushiki Kaisha | Light-emitting device |
| JP2011515848A (en)* | 2008-03-26 | 2011-05-19 | パナソニック株式会社 | Semiconductor light emitting device |
| JP2010045328A (en)* | 2008-07-18 | 2010-02-25 | Sharp Corp | Light-emitting device and method of manufacturing the same |
| US8427042B2 (en) | 2008-07-18 | 2013-04-23 | Sharp Kabushiki Kaisha | Light-emitting device and method for manufacturing light-emitting device |
| JP2010080935A (en)* | 2008-08-28 | 2010-04-08 | Panasonic Corp | Semiconductor light emitting device, backlight source using the same, backlight source system, display, and electronic apparatus |
| US8928005B2 (en) | 2009-07-02 | 2015-01-06 | Sharp Kabushiki Kaisha | Light-emitting device |
| JP5791034B2 (en)* | 2010-02-26 | 2015-10-07 | 国立研究開発法人物質・材料研究機構 | Light emitting device |
| WO2011105157A1 (en)* | 2010-02-26 | 2011-09-01 | シャープ株式会社 | Light-emitting device |
| US8674392B2 (en) | 2010-02-26 | 2014-03-18 | Sharp Kabushiki Kaisha | Light-emitting device |
| US8901591B2 (en) | 2010-07-26 | 2014-12-02 | Sharp Kabushiki Kaisha | Light-emitting device |
| US8513872B2 (en) | 2010-08-05 | 2013-08-20 | Sharp Kabushiki Kaisha | Light emitting apparatus and method for manufacturing thereof |
| US8471277B2 (en) | 2010-09-08 | 2013-06-25 | Kabushiki Kaisha Toshiba | Light emitting device |
| CN102403429B (en)* | 2010-09-08 | 2014-07-16 | 株式会社东芝 | Light emitting device |
| CN102403429A (en)* | 2010-09-08 | 2012-04-04 | 株式会社东芝 | Light emitting device |
| JP2012077289A (en)* | 2010-09-08 | 2012-04-19 | Toshiba Corp | Light emitting device |
| JP2013120812A (en)* | 2011-12-07 | 2013-06-17 | Mitsubishi Electric Corp | Light emitting device |
| JP5697765B2 (en)* | 2012-02-09 | 2015-04-08 | 電気化学工業株式会社 | Phosphor and light emitting device |
| WO2013118329A1 (en) | 2012-02-09 | 2013-08-15 | 電気化学工業株式会社 | Fluorophore and light emitting device |
| JP2013163721A (en)* | 2012-02-09 | 2013-08-22 | Denki Kagaku Kogyo Kk | Phosphor and light-emitting device |
| TWI453269B (en)* | 2012-02-09 | 2014-09-21 | Denki Kagaku Kogyo Kk | Phosphor and illuminating device |
| WO2013118330A1 (en) | 2012-02-09 | 2013-08-15 | 電気化学工業株式会社 | Fluorophore and light emitting device |
| US9309459B2 (en) | 2012-02-09 | 2016-04-12 | Denka Company, Limited | Phosphor for light-emitting device |
| US9401459B2 (en) | 2012-02-09 | 2016-07-26 | Denka Company Limited | Phosphor and light-emitting device |
| JP5697766B2 (en)* | 2012-02-09 | 2015-04-08 | 電気化学工業株式会社 | Phosphor and light emitting device |
| KR20140124776A (en) | 2012-02-09 | 2014-10-27 | 덴끼 가가꾸 고교 가부시키가이샤 | Fluorophore and light emitting device |
| JP2013163738A (en)* | 2012-02-09 | 2013-08-22 | Denki Kagaku Kogyo Kk | Phosphor and light-emitting device |
| JP2013163720A (en)* | 2012-02-09 | 2013-08-22 | Denki Kagaku Kogyo Kk | Phosphor and light-emitting device |
| TWI454555B (en)* | 2012-02-09 | 2014-10-01 | Denki Kagaku Kogyo Kk | Phosphor and illuminating device |
| KR20140124775A (en) | 2012-02-09 | 2014-10-27 | 덴끼 가가꾸 고교 가부시키가이샤 | Fluorophore and light emitting device |
| KR20180101489A (en) | 2016-01-15 | 2018-09-12 | 덴카 주식회사 | Phosphor and light emitting device |
| JP2018150431A (en)* | 2017-03-10 | 2018-09-27 | デンカ株式会社 | Green phosphor and light-emitting device |
| Publication number | Publication date |
|---|---|
| JP4769132B2 (en) | 2011-09-07 |
| Publication | Publication Date | Title |
|---|---|---|
| JP4769132B2 (en) | Light emitting device | |
| US9455381B2 (en) | Light-emitting device | |
| US7808012B2 (en) | Group of phosphor particles for light-emitting device, light-emitting device and backlight for liquid crystal display | |
| JP4832995B2 (en) | Light emitting device | |
| TWI420710B (en) | White light and its use of white light-emitting diode lighting device | |
| JP5106773B2 (en) | Phosphorescence conversion light emitting device | |
| US20070052342A1 (en) | Light-emitting device | |
| JP5547756B2 (en) | Phosphor particles and light emitting device using the same | |
| KR20070041737A (en) | Novel phosphor system for a white light emitting diode | |
| JP2008127547A (en) | Phosphor, method for producing the same, and light emitting device | |
| JP2008081631A (en) | Light emitting device | |
| CN103311413A (en) | White light emitting device | |
| JP5331089B2 (en) | Phosphor and light emitting device using the same | |
| JP2009280763A (en) | Phosphor preparation and light emitting device using it | |
| JP2014209660A (en) | Phosphor, light-emitting device, and liquid crystal display device arranged by use thereof | |
| JP2013187358A (en) | White light-emitting device | |
| JP2021502446A (en) | Fluorescent combination, conversion element, optoelectronic device | |
| JP4890152B2 (en) | Light emitting device | |
| JP2005146172A (en) | Light emitting device and phosphor for light emitting device | |
| JP2008120949A (en) | Phosphor and light emitting device using the same | |
| JP2011091414A (en) | Light-emitting device |
| Date | Code | Title | Description |
|---|---|---|---|
| A621 | Written request for application examination | Free format text:JAPANESE INTERMEDIATE CODE: A621 Effective date:20080806 | |
| A521 | Request for written amendment filed | Free format text:JAPANESE INTERMEDIATE CODE: A523 Effective date:20100803 | |
| A871 | Explanation of circumstances concerning accelerated examination | Free format text:JAPANESE INTERMEDIATE CODE: A871 Effective date:20100803 | |
| A975 | Report on accelerated examination | Free format text:JAPANESE INTERMEDIATE CODE: A971005 Effective date:20100818 | |
| A131 | Notification of reasons for refusal | Free format text:JAPANESE INTERMEDIATE CODE: A131 Effective date:20100914 | |
| A521 | Request for written amendment filed | Free format text:JAPANESE INTERMEDIATE CODE: A523 Effective date:20101115 | |
| A521 | Request for written amendment filed | Free format text:JAPANESE INTERMEDIATE CODE: A523 Effective date:20101222 | |
| A02 | Decision of refusal | Free format text:JAPANESE INTERMEDIATE CODE: A02 Effective date:20110201 | |
| A521 | Request for written amendment filed | Free format text:JAPANESE INTERMEDIATE CODE: A523 Effective date:20110428 | |
| A911 | Transfer to examiner for re-examination before appeal (zenchi) | Free format text:JAPANESE INTERMEDIATE CODE: A911 Effective date:20110511 | |
| TRDD | Decision of grant or rejection written | ||
| A01 | Written decision to grant a patent or to grant a registration (utility model) | Free format text:JAPANESE INTERMEDIATE CODE: A01 Effective date:20110607 | |
| A01 | Written decision to grant a patent or to grant a registration (utility model) | Free format text:JAPANESE INTERMEDIATE CODE: A01 | |
| A61 | First payment of annual fees (during grant procedure) | Free format text:JAPANESE INTERMEDIATE CODE: A61 Effective date:20110617 | |
| R150 | Certificate of patent or registration of utility model | Ref document number:4769132 Country of ref document:JP Free format text:JAPANESE INTERMEDIATE CODE: R150 Free format text:JAPANESE INTERMEDIATE CODE: R150 | |
| FPAY | Renewal fee payment (event date is renewal date of database) | Free format text:PAYMENT UNTIL: 20140624 Year of fee payment:3 | |
| SG99 | Written request for registration of restore | Free format text:JAPANESE INTERMEDIATE CODE: R316G99 | |
| R350 | Written notification of registration of transfer | Free format text:JAPANESE INTERMEDIATE CODE: R350 | |
| S531 | Written request for registration of change of domicile | Free format text:JAPANESE INTERMEDIATE CODE: R313531 | |
| R350 | Written notification of registration of transfer | Free format text:JAPANESE INTERMEDIATE CODE: R350 | |
| S803 | Written request for registration of cancellation of provisional registration | Free format text:JAPANESE INTERMEDIATE CODE: R316803 | |
| S111 | Request for change of ownership or part of ownership | Free format text:JAPANESE INTERMEDIATE CODE: R313113 | |
| R371 | Transfer withdrawn | Free format text:JAPANESE INTERMEDIATE CODE: R371 | |
| R371 | Transfer withdrawn | Free format text:JAPANESE INTERMEDIATE CODE: R371 | |
| S803 | Written request for registration of cancellation of provisional registration | Free format text:JAPANESE INTERMEDIATE CODE: R316803 | |
| S111 | Request for change of ownership or part of ownership | Free format text:JAPANESE INTERMEDIATE CODE: R313113 | |
| R350 | Written notification of registration of transfer | Free format text:JAPANESE INTERMEDIATE CODE: R350 | |
| R350 | Written notification of registration of transfer | Free format text:JAPANESE INTERMEDIATE CODE: R350 |