







本発明は、走査光学系により光束を走査して画像を形成する画像表示装置に関するものであり、特に、走査光学系に入射する光束の焦点距離を調整する機能を備えた画像表示装置に関する。 The present invention relates to an image display apparatus that forms an image by scanning a light beam with a scanning optical system, and more particularly, to an image display apparatus having a function of adjusting the focal length of a light beam incident on the scanning optical system.
従来、画像を表示するための、網膜走査型、スクリーン走査型などの画像表示装置には、光束を走査させるための走査光学系などが含まれている。かかる走査光学系は、水平方向に光束を走査させるための水平走査手段や、垂直方向に光束を走査させるための垂直走査手段などを備えていることが一般的である。このような構成は、網膜走査型の画像表示装置については例えば〔特許文献1〕に開示されている。 2. Description of the Related Art Conventionally, image display apparatuses such as a retina scanning type and a screen scanning type for displaying an image include a scanning optical system for scanning a light beam. Such a scanning optical system generally includes a horizontal scanning unit for scanning the light beam in the horizontal direction, a vertical scanning unit for scanning the light beam in the vertical direction, and the like. Such a configuration is disclosed in, for example, [Patent Document 1] for a retinal scanning image display device.
網膜走査型の画像表示装置において、使用者は、画像が空間に浮かんでいるように認識する。そして、使用者の目に入射する光束が平行光である場合には、画像は無限遠に浮かんでいるように認識され、使用者の目に入射する光束が発散光である場合には、画像は所定距離に浮かんでいるように認識される。 In the retinal scanning type image display apparatus, the user recognizes that the image is floating in the space. When the light beam incident on the user's eyes is parallel light, the image is recognized as floating at infinity, and when the light beam incident on the user's eyes is divergent light, Is recognized as floating at a predetermined distance.
かかる距離を調整するため、従来の網膜走査型の画像表示装置においては、〔特許文献1〕に示されているように、波面曲率変調光学系に備えられたレンズ位置を変化させることが行われていた。 In order to adjust the distance, in the conventional retinal scanning type image display device, as shown in [Patent Document 1], the lens position provided in the wavefront curvature modulation optical system is changed. It was.
しかしながら、波面曲率変調光学系は、構造が比較的複雑で小型化が難しいため、網膜走査型の光走査装置は小型化が望まれているにもかかわらず、波面曲率変調光学系を備えていると小型化が困難であるという問題がある。
また、スクリーン走査型の画像表示装置においても、光束がスクリーン上に焦点を結ぶように、その焦点距離を調節する必要があり、かかる調整を行なう構成はできる限り簡易であることが望ましい。However, since the wavefront curvature modulation optical system has a relatively complicated structure and is difficult to reduce in size, the retinal scanning type optical scanning device has a wavefront curvature modulation optical system even though downsizing is desired. There is a problem that downsizing is difficult.
Also in the screen scanning type image display apparatus, it is necessary to adjust the focal length so that the light beam is focused on the screen, and it is desirable that the configuration for performing such adjustment be as simple as possible.
本発明は、上述したような課題に鑑みてなされたものであり、簡易な構成で走査光学系に入射する光束の焦点距離を調整する機能を備えた画像表示装置を提供することを目的とする。 SUMMARY An advantage of some aspects of the invention is that it provides an image display apparatus having a simple configuration and a function of adjusting the focal length of a light beam incident on a scanning optical system. .
以上のような目的を達成するため、請求項1記載の発明は、走査光学系により光束を走査して画像を形成する画像表示装置において、前記走査光学系に向けて前記光束を出射する初段光学系と、前記初段光学系に前記光束を入射させる発光部と、前記発光部と前記初段光学系との位置関係を変化させる変位手段とを有する画像表示装置にある。 In order to achieve the above object, the invention according to
請求項2記載の発明は、前記変位手段は、前記発光部と前記初段光学系の少なくとも一方を前記初段光学系の光軸に沿って変位させることにより前記位置関係を変化させることを特徴とする請求項1記載の画像表示装置にある。 The invention according to
請求項3記載の発明は、前記変位手段は、筒状をなし前記発光部と一体の第1の筒状部材と、筒状をなし前記初段光学系と一体の第2の筒状部材とを有し、第1の筒状部材と第2の筒状部材とが同軸をなすように配設され、前記発光部は第1の筒状部材の径方向の中心に位置し、前記初段光学系の光軸は第2の筒状部材の径方向の中心に位置し、第1の筒状部材と第2の筒状部材との少なくとも一方が軸方向に変位することにより前記位置関係を変化させることを特徴とする請求項1又は請求項2に記載の画像表示装置にある。 According to a third aspect of the present invention, the displacement means includes a first cylindrical member formed in a cylindrical shape and integrated with the light emitting portion, and a second cylindrical member formed in a cylindrical shape and integrated with the first stage optical system. And the first cylindrical member and the second cylindrical member are arranged so as to be coaxial with each other, the light-emitting portion is located at the radial center of the first cylindrical member, and the first-stage optical system Is positioned at the center of the second cylindrical member in the radial direction, and the positional relationship is changed when at least one of the first cylindrical member and the second cylindrical member is displaced in the axial direction. The image display apparatus according to
請求項4記載の発明は、第1の円筒状部材と第2の円筒状部材との何れか一方が他方に挿入されており、内側の円筒状部材が、外側の円筒状部材の外面から突出し、前記内側の円筒状部材を前記外側の円筒状部材に対して変位させるための把持部を有することを特徴とする請求項3に記載の画像表示装置にある。 In the invention according to
請求項5記載の発明は、眼の網膜に前記光束によって形成される画像を投影して画像を表示する網膜走査型画像表示装置であることを特徴とする請求項1〜4のいずれか1項に記載の画像表示装置にある。 The invention according to
請求項6記載の発明は、前記外側の円筒状部材が、前記把持部の可動範囲を規定する規定手段を有することを特徴とする請求項4に記載の画像表示装置にある。 A sixth aspect of the present invention is the image display device according to the fourth aspect, wherein the outer cylindrical member has a defining means for defining a movable range of the grip portion.
請求項7記載の発明は、前記規定手段が、前記可動範囲を、前記光軸に対して傾斜する方向に規定していることを特徴とする請求項6に記載の画像表示装置にある。 The invention according to claim 7 is the image display apparatus according to claim 6, wherein the defining means defines the movable range in a direction inclined with respect to the optical axis.
請求項8記載の発明は、前記規定手段が、前記可動範囲を、この画像表示装置による画像表示距離に応じて規定していることを特徴とする請求項6又は請求項7に記載の画像表示装置にある。 The invention according to
請求項9記載の発明は、前記可動範囲と、前記初段光学系の焦点距離と、前記画像表示距離とが、所定の関係を満たしていることを特徴とする請求項8に記載の画像表示装置にある。 The invention according to
請求項10記載の発明は、前記可動範囲内において前記把持部を複数の位置において離脱自在に位置決めする位置決め手段を有することを特徴とする請求項6〜9のいずれか1項に記載の画像表示装置にある。 The invention according to
請求項11記載の発明は、前記複数の位置に対応して前記画像表示距離に応じた目盛りを有することを特徴とする請求項10に記載の画像表示装置にある。 The invention according to
請求項12記載の発明は、眼の網膜上に前記光束によって形成される画像を投影表示する網膜走査型画像表示装置であることを特徴とする請求項6〜11のいずれか1項に記載の画像表示装置にある。 The invention according to
請求項13記載の発明は、前記規定手段が、前記可動範囲の一端を、前記光束が眼への入射位置において平行光となるように規定していることを特徴とする請求項12に記載の画像表示装置にある。 The invention according to
請求項14記載の発明は、前記規定手段が、前記可動範囲の少なくとも一部を、前記光束が眼への入射位置において発散光となるように規定していることを特徴とする請求項12又は請求項13に記載の画像表示装置にある。 The invention according to
請求項15記載の発明は、耳に係合して画像表示装置本体を頭部に支持する支持部材を有し、前記把持部を前記支持部材に沿って移動させることにより前記位置関係を変化させることを特徴とする請求項12〜14のいずれか1項に記載の画像表示装置にある。 According to a fifteenth aspect of the present invention, there is provided a support member that engages with the ear and supports the image display device main body on the head, and the positional relationship is changed by moving the grip portion along the support member. The image display device according to any one of
請求項16記載の発明は、前記変位手段が、前記発光部を駆動する駆動手段を有することを特徴とする請求項1〜15のいずれか1項に記載の画像表示装置にある。 According to a sixteenth aspect of the present invention, in the image display device according to any one of the first to fifteenth aspects, the displacement unit includes a driving unit that drives the light emitting unit.
請求項17記載の発明は、前記発光部が、光源側からの光束を導くための光ファイバの出射端によって形成されることを特徴とする請求項1〜16のいずれか1項に記載の画像表示装置にある。 The image of any one of
請求項1記載の発明は、走査光学系により光束を走査して画像を形成する画像表示装置において、前記走査光学系に向けて前記光束を出射する初段光学系と、前記初段光学系に前記光束を入射させる発光部と、前記発光部と前記初段光学系との位置関係を変化させる変位手段とを有する画像表示装置にあるので、比較的簡易な構成で走査光学系に入射する光束の焦点距離を調整することが可能な画像表示装置を提供することができる。 According to a first aspect of the present invention, in an image display apparatus that forms an image by scanning a light beam with a scanning optical system, a first-stage optical system that emits the light beam toward the scanning optical system, and the light beam on the first-stage optical system Since the image display apparatus includes a light emitting unit that makes the light incident and a displacement unit that changes a positional relationship between the light emitting unit and the first stage optical system, the focal length of the light beam incident on the scanning optical system with a relatively simple configuration It is possible to provide an image display device capable of adjusting the angle.
請求項2記載の発明は、前記変位手段は、前記発光部と前記初段光学系の少なくとも一方を前記初段光学系の光軸に沿って変位させることにより前記位置関係を変化させることを特徴とする請求項1記載の画像表示装置にあるので、比較的簡易な構成で走査光学系に入射する光束の焦点距離を調整することができる、画像位置のずれのない画像表示装置を提供することができる。 The invention according to
請求項3記載の発明は、前記変位手段は、筒状をなし前記発光部と一体の第1の筒状部材と、筒状をなし前記初段光学系と一体の第2の筒状部材とを有し、第1の筒状部材と第2の筒状部材とが同軸をなすように配設され、前記発光部は第1の筒状部材の径方向の中心に位置し、前記初段光学系の光軸は第2の筒状部材の径方向の中心に位置し、第1の筒状部材と第2の筒状部材との少なくとも一方が軸方向に変位することにより前記位置関係を変化させることを特徴とする請求項1又は請求項2に記載の画像表示装置にあるので、簡易な構成で走査光学系に入射する光束の焦点距離を調整することができる、画像位置のずれのない画像表示装置を提供することができる。 According to a third aspect of the present invention, the displacement means includes a first cylindrical member formed in a cylindrical shape and integrated with the light emitting portion, and a second cylindrical member formed in a cylindrical shape and integrated with the first stage optical system. And the first cylindrical member and the second cylindrical member are arranged so as to be coaxial with each other, the light-emitting portion is located at the radial center of the first cylindrical member, and the first-stage optical system Is positioned at the center of the second cylindrical member in the radial direction, and the positional relationship is changed when at least one of the first cylindrical member and the second cylindrical member is displaced in the axial direction. The image display apparatus according to
請求項4記載の発明は、第1の円筒状部材と第2の円筒状部材との何れか一方が他方に挿入されており、内側の円筒状部材が、外側の円筒状部材の外面から突出し、前記内側の円筒状部材を前記外側の円筒状部材に対して変位させるための把持部を有することを特徴とする請求項3に記載の画像表示装置にあるので、簡易な構成で、把持部を操作することで走査光学系に入射する光束の焦点距離を容易に調整することができる画像表示装置を提供することができる。 In the invention according to
請求項5記載の発明は、眼の網膜に前記光束によって形成される画像を投影して画像を表示する網膜走査型画像表示装置であることを特徴とする請求項1〜4のいずれか1項に記載の画像表示装置にあるので、比較的簡易な構成で走査光学系に入射する光束の焦点距離を調整することが可能な、網膜走査型の画像表示装置を提供することができる。 The invention according to
請求項6記載の発明は、前記外側の円筒状部材が、前記把持部の可動範囲を規定する規定手段を有することを特徴とする請求項4に記載の画像表示装置にあるので、簡易な構成で、把持部を規定手段に従って操作することで、不適切な操作を行うことを防止しながら走査光学系に入射する光束の焦点距離を容易に調整することができる画像表示装置を提供することができる。 The invention according to claim 6 is the image display device according to
請求項7記載の発明は、前記規定手段が、前記可動範囲を、前記光軸に対して傾斜する方向に規定していることを特徴とする請求項6に記載の画像表示装置にあるので、把持部を規定手段に従って操作することで、不適切な操作を行うことを防止しながら走査光学系に入射する光束の焦点距離を容易にかつ細やかに調整することができる画像表示装置を提供することができる。 The invention according to claim 7 is the image display device according to claim 6, wherein the defining means defines the movable range in a direction inclined with respect to the optical axis. To provide an image display device capable of easily and finely adjusting the focal length of a light beam incident on a scanning optical system while preventing an inappropriate operation by operating a gripper according to a defining means. Can do.
請求項8記載の発明は、前記規定手段が、前記可動範囲を、この画像表示装置による画像表示距離に応じて規定していることを特徴とする請求項6又は請求項7に記載の画像表示装置にあるので、把持部を規定手段に従って操作することで、画像表示距離を画像として認識することが不可能な範囲に設定するなどの不適切な操作を行うことを防止しながら走査光学系に入射する光束の焦点距離を容易に調整することができる画像表示装置を提供することができる。 The invention according to
請求項9記載の発明は、前記可動範囲と、前記初段光学系の焦点距離と、前記画像表示距離とが、所定の関係を満たしていることを特徴とする請求項8に記載の画像表示装置にあるので、把持部を規定手段に従って操作することで、画像表示距離を不可能な範囲に設定するなどの不適切な操作を行うことを防止しながら走査光学系に入射する光束の焦点距離を容易に調整することができる、かかる関係に基づく所定の光学特性および所定の画像表示距離特性を備えた画像表示装置を提供することができる。 The invention according to
請求項10記載の発明は、前記可動範囲内において前記把持部を複数の位置において離脱自在に位置決めする位置決め手段を有することを特徴とする請求項6〜9のいずれか1項に記載の画像表示装置にあるので、簡易な構成で、把持部を規定手段に従って位置決め視ながら操作することで、不適切な操作を行うことを防止しながら走査光学系に入射する光束の焦点距離を所望の距離により容易に調整することができる画像表示装置を提供することができる。 The invention according to
請求項11記載の発明は、前記複数の位置に対応して前記画像表示距離に応じた目盛りを有することを特徴とする請求項10に記載の画像表示装置にあるので、簡易な構成で、把持部を規定手段に従って画像表示距離を把握しつつ位置決めしながら操作することで、不適切な操作を行うことを防止しながら走査光学系に入射する光束の焦点距離を所望の距離にさらに容易に調整することができる画像表示装置を提供することができる。 The invention according to
請求項12記載の発明は、眼の網膜上に前記光束によって形成される画像を投影表示する網膜走査型画像表示装置であることを特徴とする請求項6〜11のいずれか1項に記載の画像表示装置にあるので、簡易な構成で、把持部を規定手段に従って操作することで、不適切な操作を行うことを防止しながら走査光学系に入射する光束の焦点距離を容易に調整することができる、網膜走査型の画像表示装置を提供することができる。 The invention according to
請求項13記載の発明は、前記規定手段が、前記可動範囲の一端を、前記光束が眼への入射位置において平行光となるように規定していることを特徴とする請求項12に記載の画像表示装置にあるので、簡易な構成で、把持部を規定手段に従って操作することで、不適切な操作を行うことを防止しながら走査光学系に入射する光束の焦点距離を容易に調整し、投影距離を無限遠等とすることができる、網膜走査型の画像表示装置を提供することができる。 The invention according to
請求項14記載の発明は、前記規定手段が、前記可動範囲の少なくとも一部を、前記光束が眼への入射位置において発散光となるように規定していることを特徴とする請求項12又は請求項13に記載の画像表示装置にあるので、簡易な構成で、把持部を規定手段に従って操作することで、不適切な操作を行うことを防止しながら走査光学系に入射する光束の焦点距離を容易に調整し、投影距離を無限遠より近い所定距離とすることができる、網膜走査型の画像表示装置を提供することができる。 The invention according to
請求項15記載の発明は、耳に係合して画像表示装置本体を頭部に支持する支持部材を有し、前記把持部を前記支持部材に沿って移動させることにより前記位置関係を変化させることを特徴とする請求項12〜14のいずれか1項に記載の画像表示装置にあるので、簡易な構成で、把持部を規定手段に従って操作することで、不適切な操作を行うことを防止しながら走査光学系に入射する光束の焦点距離をより容易に調整することができる、網膜走査型の小型の画像表示装置を提供することができる。 According to a fifteenth aspect of the present invention, there is provided a support member that engages with the ear and supports the image display device main body on the head, and the positional relationship is changed by moving the grip portion along the support member. Since it exists in the image display apparatus of any one of Claims 12-14 characterized by the above-mentioned, by operating a holding part according to a prescription | regulation means with a simple structure, it can prevent improper operation. Accordingly, it is possible to provide a small retinal scanning type image display device capable of more easily adjusting the focal length of the light beam incident on the scanning optical system.
請求項16記載の発明は、前記変位手段が、前記発光部を駆動する駆動手段を有することを特徴とする請求項1〜15のいずれか1項に記載の画像表示装置にあるので、比較的簡易な構成で走査光学系に入射する光束の焦点距離を駆動手段を用いて適切かつ容易に調整することができる画像表示装置を提供することができる。 The invention according to
請求項17記載の発明は、前記発光部が、光源側からの光束を導くための光ファイバの出射端によって形成されることを特徴とする請求項1〜16のいずれか1項に記載の画像表示装置にあるので、比較的簡易な構成で走査光学系に入射する光束の焦点距離を調整することが可能な、光ファイバにより光束を導き設計上の自由度が比較的高い画像表示装置を提供することができる。 The image of any one of
以下に、本発明に好適な実施形態について図面に基づいて説明する。 Hereinafter, preferred embodiments of the present invention will be described with reference to the drawings.
[画像表示装置の構成]
以下、本発明に係る画像表示装置の一実施の形態について図面を用いて説明する。まず、本発明に係る画像表示装置の一例である網膜走査型ディスプレイ1の構成について図1を用いて説明する。[Configuration of image display device]
Hereinafter, an image display apparatus according to an embodiment of the present invention will be described with reference to the drawings. First, the configuration of a
図1に示すように、網膜走査型ディスプレイ1には、外部から供給される映像信号を処理するための光源ユニット部2が設けられている。光源ユニット部2には、外部からの映像信号が入力され、それに基づいて映像を合成するための要素となる各信号を発生する映像信号供給回路3が設けられ、この映像信号供給回路3から映像信号4、垂直同期信号5、及び、水平同期信号6が出力される。また、光源ユニット部2には、映像信号供給回路3から映像信号4として伝達される赤(R),緑(G),青(B)の各映像信号をもとにそれぞれ強度変調されたレーザ光を出射するように、光源としてのRレーザ13,Gレーザ12,Bレーザ11を、それぞれ駆動するためのRレーザドライバ10,Gレーザドライバ9,Bレーザドライバ8が設けられている。さらに、各レーザより出射されたレーザ光を平行光にコリメートするように設けられたコリメート光学系14と、それぞれコリメートされたレーザ光を合波するダイクロイックミラー15と、合波されたレーザ光を後述する光ファイバ17に導く結合光学系16とが設けられている。尚、Rレーザ13,Gレーザ12,Bレーザ11として、レーザダイオード等の半導体レーザや固体レーザを利用してもよい。尚、本実施形態における光源ユニット部2は、少なくとも1つの光源と、当該光源から出射される光束を画像信号に応じて強度変調する変調手段の一例に相当する。 As shown in FIG. 1, the
また、網膜走査型ディスプレイ1には、光源ユニット部2側から光束としてのレーザ光を後述する走査光学系に導くための光ファイバ17と、光ファイバ17によって光源ユニット部2側から導かれたレーザ光を後述する垂直走査系19に導く第1リレー光学系18と、コリメートされたレーザ光を、ガルバノミラー19aを利用して垂直方向に走査する走査光学系としての垂直走査系19と、垂直走査系19によって走査されたレーザ光を後述する水平走査系21に導く第2リレー光学系20と、垂直走査系19に走査され、第2リレー光学系20を介して入射されたレーザ光を、ガルバノミラー21aを利用して水平方向に走査する走査光学系としての水平走査系21と、水平走査系21によって走査されたレーザ光を観察者の瞳孔24に入射させる第3リレー光学系22とが設けられている。第2リレー光学系20は、垂直走査系19のガルバノミラー19aと、水平走査系21のガルバノミラー21aとが共役となるように、また、第3リレー光学系22は、ガルバノミラー21aと、観察者の瞳孔24とが共役となるように、各々設けられている。 The
尚、具体的な一例としては、垂直走査系19は、表示すべき画像の1走査線ごとに、レーザビームを垂直方向に垂直走査する垂直走査(1次走査の一例)を行う光学系である。また、垂直走査系19は、レーザビームを垂直方向に走査する光学部材としてのガルバノミラー19aと、そのガルバノミラー19aの駆動制御を行う垂直走査制御回路19cとを備えている。 As a specific example, the
これに対し、水平走査系21は、表示すべき画像の1フレームごとに、レーザビームを最初の走査線から最後の走査線に向かって水平に走査する水平走査(2次走査の一例)を行う光学系である。また、水平走査系21は、水平走査する光学部材としてのガルバノミラー21aと、そのガルバノミラー21aの駆動制御を行う水平走査制御回路21cとを備えている。 On the other hand, the
垂直走査系19は、水平走査系21より高速にすなわち高周波数でレーザビームを走査するように設計されている。また、垂直走査系19は、ビーム光を垂直走査角度で走査させ、水平走査系21は、ビーム光を水平走査角度で走査させるが、本実施形態においては、垂直走査角度が、水平走査角度よりも小さく設定されている。これは、図2(a)に示すように、画像の表示範囲152が、水平方向Xよりも垂直方向Yのほうが短いため、ビーム光の走査軌跡sも、水平方向Xよりも垂直方向Yのほうが短くなり、垂直方向への垂直走査角度が、水平方向への水平走査角度よりも小さくなる。このため、先に走査角度を大きくしなければならない水平方向に走査させた後に、走査角度が小さくて済む垂直方向に走査させ、図2(b)に示すようにビーム光を走査させる構成と比べて、図2(a)に示すように、先に走査角度が小さくて済む垂直方向に走査させた後に、走査角度を大きくしなければならない水平方向に走査させたほうが、省スペース化を図ることができる。 The
尚、本実施形態においては、ビーム光を高速で走査させる走査系(高速走査系)として、走査角度が小さい垂直走査系19を、ビーム光を低速で走査させる走査系(低速走査系)として、走査角度が大きい水平走査系21を採用したが、例えばNTSC(National Television Standards Committee)などの通常の映像信号は水平走査が高速走査に該当するため、図示はしないが、映像信号供給回路3で水平走査が低速走査に、垂直走査が高速走査になるように映像信号をデジタルデータ化しデータ変換している。もちろん、映像信号供給回路3に入力される映像信号が、垂直走査系19が高速走査であるような信号形式であると想定すれば、上述した変換処理は特に必要とせず実施可能である。 In this embodiment, the
尚、本実施形態においては、ビーム光を高速で走査させる走査系(高速走査系)として、走査角度が小さい垂直走査系19を、ビーム光を低速で走査させる走査系(低速走査系)として、走査角度が大きい水平走査系21を採用したが、これに限らず、例えば、ビーム光を高速で走査させる走査系(高速走査系)として、走査角度が大きい水平走査系21を、ビーム光を低速で走査させる走査系(低速走査系)として、走査角度が小さい垂直走査系19を採用してもよい。 In this embodiment, the
つまり、垂直方向(1次方向の一例)に走査される垂直走査角度(1次走査角度の一例)は、水平方向(2次方向の一例)に走査される水平走査角度(2次走査角度の一例)よりも小さく設定されているので、垂直方向に走査するビーム光の走査幅を、水平方向に走査するビーム光の走査幅より小さくすることができるため、走査されるビーム光の光路を考慮すると、垂直走査系19に向かうビーム光を導く第1リレー光学系18、垂直走査系19、垂直走査系19から水平走査系21に向かうビーム光を導く第2リレー光学系20などが設けられるスペースを小さくすることができ、より一層、装置の小型化が可能である。 That is, the vertical scanning angle (an example of the primary scanning angle) scanned in the vertical direction (an example of the primary direction) is the horizontal scanning angle (the secondary scanning angle) of the horizontal direction (an example of the secondary direction). Since the scanning width of the beam light scanned in the vertical direction can be made smaller than the scanning width of the beam light scanned in the horizontal direction, the optical path of the scanned beam light is considered. Then, the first relay
また、垂直走査系19,水平走査系21は、図1に示すように、各々映像信号供給回路3に接続され、映像信号供給回路3より出力される垂直同期信号5,水平同期信号6にそれぞれ同期してレーザ光を走査するように構成されている。 Further, as shown in FIG. 1, the
尚、本実施形態における垂直走査系19及び水平走査系21などは、入射した光束を、1次方向及びその1次方向に略垂直な2次方向に走査させることによって、前記フレームを形成する光走査装置の一例である。 The
尚、本実施形態における垂直走査系19は、入射されるビーム光を垂直方向に走査させる1次走査手段の一例に相当し、本実施形態における水平走査系21は、その垂直方向に走査されたビーム光を、水平方向に走査させる2次走査手段の一例に相当する。また、本実施形態における第2リレー光学系20は、中継光学系(中継光学手段)の一例に相当する。 The
次に、本発明の一実施形態の網膜走査型ディスプレイ1が、外部からの映像信号を受けてから、観察者の網膜上に映像を投影するまでの過程について図1を用いて説明する。 Next, a process from when the
図1に示すように、本実施形態の網膜走査型ディスプレイ1では、光源ユニット部2に設けられた映像信号供給回路3が外部からの映像信号の供給を受けると、映像信号供給回路3は、赤,緑,青の各色のレーザ光を出力させるためのR映像信号,G映像信号,B映像信号からなる映像信号4と、垂直同期信号5と、水平同期信号6とを出力する。Rレーザドライバ10,Gレーザドライバ9,Bレーザドライバ8は各々入力されたR映像信号,G映像信号,B映像信号に基づいてRレーザ13,Gレーザ12,Bレーザ11に対してそれぞれの駆動信号を出力する。この駆動信号に基づいて、Rレーザ13,Gレーザ12,Bレーザ11はそれぞれ強度変調されたレーザ光を発生し、各々をコリメート光学系14に出力する。また、映像信号供給回路3は、後述するガルバノミラー19aの駆動状態を示すBD信号(図示せず)に応じて、レーザ光を発生し、各々をコリメート光学系14に出力するタイミングを制御する。つまり、このような網膜走査型ディスプレイ1(映像信号供給回路3)は、ガルバノミラー19aなどに光束を出射させるタイミングを制御することとなる。点光源から発生されるレーザ光は、このコリメート光学系14によってそれぞれが平行光にコリメートされ、さらに、ダイクロイックミラー15に入射されて1つの光束となるよう合成された後、結合光学系16によって光ファイバ17に入射されるよう導かれる。 As shown in FIG. 1, in the
光ファイバ17によって伝搬されたレーザ光は、光ファイバ17から第1リレー光学系18によって後述するように平行光化又は発散光化されたうえで垂直走査系19に出射される。この出射されたレーザ光は、垂直走査系19のガルバノミラー19aの偏向面19bに入射される。ガルバノミラー19aの偏向面19bに入射したレーザ光は垂直同期信号に同期して垂直方向に走査されて第2リレー光学系20を介し、水平走査系21のガルバノミラー21aの偏向面21bに入射する。第2リレー光学系20ではガルバノミラー19aの偏向面19bとガルバノミラー21aの偏向面21bとが共役の関係となるように調整され、また、ガルバノミラー19aの面倒れが補正されている。ガルバノミラー21aは、ガルバノミラー19aが垂直同期信号に同期すると同様に水平同期信号6に同期して、その偏向面21bが入射光を水平方向に反射するように往復振動をしており、このガルバノミラー21aによってレーザ光は水平方向に走査される。垂直走査系19及び水平走査系21によって水平方向及び垂直方向に2次元に走査されたレーザ光は、ガルバノミラー21aの偏向面21bと、観察者の瞳孔24とが共役の関係となるように設けられた第3リレー光学系22により観察者の瞳孔24へ入射され、網膜上に投影される。観察者はこのように2次元走査されて網膜上に投影されたレーザ光による画像を認識することができる。尚、垂直走査系19のガルバノミラー19aと、水平走査系21のガルバノミラー21aとは、名称を同じように説明したが、光を走査するように其の反射面が揺動(回転)させられるものであれば、共振タイプ、非共振タイプ等、圧電駆動、電磁駆動、静電駆動等いずれの駆動方式によるものであってもよいことは言うまでもない。 The laser light propagated through the
[各種の光学系の構成]
上述したように、光ファイバ17から出射されたビーム光を、2次元に走査しながら観察者の瞳孔24へ導く各種の光学系の構成について図3から図5を用いて説明する。[Configurations of various optical systems]
As described above, configurations of various optical systems that guide the beam light emitted from the
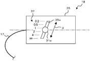
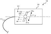
図3に示すように、第1リレー光学系18は、光ファイバ17の出射端によって形成された発光部17aから出射されたレーザ光を同図(a)に示すように平行光化し、または同図(b)に示すように発散光化するものである。 As shown in FIG. 3, the first relay
第1リレー光学系18は、光ファイバ17の出射端部を支持し発光部17aと一体のファイバホルダ31と、発光部17aからのレーザ光を透過する初段光学系としての光学部材である凸レンズ32及び凹レンズ33と、凸レンズ32及び凹レンズ33を固定保持したレンズホルダ34と、ファイバホルダ31をT方向に摺動自在に支持するとともにレンズホルダ34と一体のケーシング35とを有している。 The first relay
ファイバホルダ31と、レンズホルダ34と、ケーシング35とは、発光部17aと凸レンズ32及び凹レンズ33との位置関係を変化させる変位手段36を構成している。変位手段36は、発光部17aを凸レンズ32及び凹レンズ33の光軸に沿って変位させることで、発光部17aと凸レンズ32及び凹レンズ33との位置関係を変化させる。 The
ファイバホルダ31は、有底の円筒状部材であって、その開口部から発光部17aからのレーザ光を出射するように、その底部において、発光部17aを、ファイバホルダ31の径方向の中心に位置するように支持している。 The
ケーシング35及びレンズホルダ34は、互いに同軸をなす円筒状の部材である。
レンズホルダ34は、その内周面において、凸レンズ32及び凹レンズ33の光軸が、レンズホルダ34の径方向の中心に位置するように、凸レンズ32及び凹レンズ33を支持している。The
The
ケーシング35は、内周面に、レンズホルダ34の外周面を固定しており、レンズホルダ34を介して凸レンズ32及び凹レンズ33と一体となっている。よって、凸レンズ32及び凹レンズ33の光軸は、ケーシング35の径方向の中心に位置している。 The
ファイバホルダ31はケーシング35に挿入され、ケーシング35は、内周面に、ファイバホルダ31の外周面を摺動自在に支持しており、ケーシング35とファイバホルダ31とは互いに同軸をなしている。 The
よって、発光部17aは、ケーシング35の径方向の中心に位置しており、凸レンズ32及び凹レンズ33の光軸上に位置している。また、ファイバホルダ31、レンズホルダ34、ケーシング35の軸方向は一致し、この軸方向と凸レンズ32及び凹レンズ33の光軸方向とT方向とは互いに一致している。 Therefore, the
そのため、ファイバホルダ31をケーシング35に対してT方向に変位させると、発光部17aが凸レンズ32及び凹レンズ33の光軸に沿って変位し、この態様で発光部17aと凸レンズ32及び凹レンズ33との位置関係が変化する。 Therefore, when the
ファイバホルダ31をケーシング35に対してT方向に変位させるために、ケーシング35の内側に位置するファイバホルダ31は、ファイバホルダ31の外側に位置するケーシング35の外面から突出した把持部31aを有しているとともに、ケーシング35は、把持部31aを挿通され、把持部31aの移動を許容する長孔35aを有している。 In order to displace the
ファイバホルダ31をケーシング35に対してT方向に変位させると、発光部17aと凸レンズ32及び凹レンズ33との位置関係が変化ため、凹レンズ33から出射するレーザ光の焦点距離が変化する。かかる焦点距離は、網膜走査型ディスプレイ1を使用する観察者によって認識される表示画像の距離感を左右するものであるため、所定の範囲内にある必要がある。 When the
そのため、長孔35aは、網膜走査型ディスプレイ1による画像表示距離に応じて把持部31aの可動範囲を規定する規定手段として機能するようになっている。把持部31aは長孔35a内をスライドするようになっており、この長孔35a内が把持部31aの一端から他端までの範囲が可動範囲となっている。T方向に沿った長孔35aの長さは0.5ミリメートルとなっており、よってファイバホルダ31の可動距離は0.5ミリメートルであり、これが把持部31aの可動範囲に対応している。なお、画像表示距離は画像提示距離とも言われる。 Therefore, the
長孔35aは、図3(a)に示すように、把持部31aが凸レンズ32及び凹レンズ33から遠い方のその一端を占めるときに、凹レンズ33から出射されるレーザ光が平行光となるように規定し、また、例えば図3(b)に示すように、把持部31aが凸レンズ32及び凹レンズ33から遠い方のその一端以外の位置を占めるときに、凹レンズ33から出射されるレーザ光が拡散光となるように規定している。 As shown in FIG. 3A, the
後述するように、第2リレー光学系20及び第3リレー光学系は、入射してきたレーザ光が平行光であるときには平行光を、入射してきたレーザ光が拡散光であるときには拡散光を、出射するように構成されている。 As will be described later, the second relay
したがって、長孔35aは、把持部31aの可動範囲において、凸レンズ32及び凹レンズ33から遠い方のその一端を、観察者の眼すなわち瞳孔24へのレーザ光の入射位置において平行光となるように規定しているとともに、その他の部分を、瞳孔24へのレーザ光の入射位置において散乱光となるように規定している。 Accordingly, the
図4に示すように、長孔35aは、T方向に延在するようにケーシング35に形成されている。ケーシング35の周面には、把持部31aの位置に対応するように、観察者が認識する画像表示距離に応じた目盛り37が形成されている。 As shown in FIG. 4, the
把持部31aが、凸レンズ32及び凹レンズ33から遠い方の、可動範囲の一端を占めるときには、瞳孔24には平行光が入射するため、観察者は、画像が無限遠に表示されていると感じる。よって、かかる一端に対応するように、ケーシング35の周面には、目盛り37として「∞」の表示が形成されている。 When the
把持部31aが、可動範囲のかかる一端以外の位置を占めるときには、瞳孔24には散乱光が入射するため、観察者は、画像が無限遠でなく所定の距離感を持って表示されていると感じる。そこで、かかる一端以外の位置に対応するように、ケーシング35の周面には、目盛り37として「4」、「2」、「1」、「0.5」、「0.2」の表示が形成されている。単位はメートルである。 When the
本例においては、把持部31aが、凸レンズ32及び凹レンズ33から近い方の、可動範囲の一端を占めるときには、観察者は、画像が0.2メートル前方に表示されていると感じるため、長孔35aのかかる一端に対応するように、「0.2」の目盛り37が形成されている。 In this example, when the
このように、本例においては、観察者が認識する画像表示距離の範囲が0.2メートルから無限遠であるため、ケーシング35の表面には上述のようにこれに対応する目盛り37が形成されているが、かかる画像表示距離の最小値が例えば0.1メートルである場合には、これに対応した目盛りを形成することとなる。 Thus, in this example, since the range of the image display distance recognized by the observer is from 0.2 meters to infinity, the
図5に示すように、把持部31aは、凸部31bを有する弾性体31cを一体に有している。弾性体31cは長孔35a内に位置し、長孔35a内を長孔35aの延在方向に沿って摺動するものである。弾性体31cはゴムで形成され、把持部31a本体に固定されている。
長孔35aには、凸部31bが係脱自在に嵌合する凹部35bを有している。凹部35bは、T方向に沿って、複数配設されている。As shown in FIG. 5, the
The
しかして、弾性体31c、特にその凸部31bと、長孔35a、特にその凹部35bとは、把持部31aを、その可動範囲内の、目盛り37に対応する複数の位置において離脱自在に位置決めする位置決め手段38として機能するようになっている。 Thus, the
この位置決め手段38により、把持部31aの操作性が向上し、ファイバホルダ31の可動距離が0.5ミリメートルという小さな距離であるにもかかわらず、観察者等は所望の表示距離に対応する位置で把持部31aを位置決めし、その表示距離で投影画像を観察することが可能となっている。 By this positioning means 38, the operability of the
把持部31aの可動範囲と、凸レンズ32及び凹レンズ33による焦点距離と、画像表示距離とは次の関係を満たしている。この関係は、網膜走査型ディスプレイ1の光学特性、及びこれに関連付けられた画像表示距離特性を示している。 The movable range of the
画像表示距離が∞であるときに把持部31aが占める位置からの把持部31aの移動量をTとし、初段光学系を構成する凸レンズ32及び凹レンズ33のうち、発光点17aから至近の光学部材である凸レンズ32の焦点距離をfとし、画像表示距離をRとすると、移動量T、焦点距離f、画像表示距離Rは、
T=f2/(R+f)
の関係を満たす。なお、移動量T、焦点距離f、画像表示距離Rの単位はメートルである。When the image display distance is ∞, the movement amount of the
T = f2 / (R + f)
Satisfy the relationship. Note that the unit of the movement amount T, the focal length f, and the image display distance R is meters.
したがって、画像表示距離R=∞のとき移動量T=0であり、また、画像表示距離R=0.2[m]のとき移動量T=0.0005[m](=0.5[mm])であるから、焦点距離f≒0.01[m]となる。よって、図3(a)に示す状態において、凸レンズ32及び凹レンズ33から出射されるビーム光を平行光とするため、発光点17aと凸レンズ32との距離が、焦点距離f≒0.01[m]と等しくなるように、第1リレー光学系18が構成されている。なお、各図において、各部材の大きさ及び各部材間の距離は必ずしも正確ではない。 Accordingly, the movement amount T = 0 when the image display distance R = ∞, and the movement amount T = 0.0005 [m] (= 0.5 [mm] when the image display distance R = 0.2 [m]. ]), The focal length f≈0.01 [m]. Therefore, in the state shown in FIG. 3A, since the beam light emitted from the
図1または図6に示すように、第2リレー光学系20は、光学部材としての凸レンズ41、42を有しており、第3リレー光学系22は、光学部材としての凸レンズ51、52を有している。凸レンズ41と凸レンズ42とは互いに同じ光学的パワーを備えている。凸レンズ51と凸レンズ52とは互いに同じ光学的パワーを備えている。 As shown in FIG. 1 or FIG. 6, the second relay
ガルバノミラー19a、ガルバノミラー21aは、反射面が水平方向に向かう状態で、垂直方向に向かって立設されている。
図1に示すように、ガルバノミラー19aは水平方向に延びる軸19dを有し、ガルバノミラー21aは、垂直方向に延びる図1に示す軸21dを有している。The
As shown in FIG. 1, the
図3に示すように、第1リレー光学系18は、凸レンズ32、凹レンズ33に、光ファイバ17の発光部17aから出射されたビーム光を入射させ透過させることによって、図1に示すように、垂直走査系19に向けてビーム光を出射し、ガルバノミラー19aの偏向面19bに導く。 As shown in FIG. 3, the first relay
なお、図3(a)に示す、平行光を出射する状態においては、発光部17aは、凸レンズ32との距離が、上記のように焦点距離fとなる位置を占めており、図3(b)に示す、発散光を出射する状態においては、発光部17aは、凸レンズ32との距離が焦点距離fとなる位置よりも近い位置を占めている。また、凸レンズ32及び凹レンズ33は色収差を補正すること等を目的として採用したものであるが、初段光学系はこの構成に限るものではない。 In addition, in the state which radiate | emits parallel light shown to Fig.3 (a), the
ガルバノミラー19aは、軸19dを中心に回動駆動することによって、第1リレー光学系18によって出射されたビーム光を偏向面19bで反射することによって、垂直方向に走査し、第2リレー光学系20に導く。 The
第2リレー光学系20は、凸レンズ41により偏向面19bで反射され走査されたビーム光を集光する。集光されたビーム光はいったん焦点を結んでから拡散し凸レンズ42に入射する。凸レンズ42は入射したビーム光を集光する向きのパワーを与えガルバノミラー21aに出射する。 The second relay
凸レンズ41と凸レンズ42とは互いに同じパワーを有するので、第2リレー光学系20は、図6(a)に示すように、入射したビーム光が平行光であるときには平行光を出射し、図6(b)に示すように、入射したビーム光が拡散光であるときには拡散光を出射する。 Since the
ビーム光は、図6(a)に示した状態において、凸レンズ41と凸レンズ42との中央位置で焦点を結び、図6(b)に示した状態において、凸レンズ41と凸レンズ42との中央位置よりも凸レンズ42に近い位置で焦点を結ぶ。
なお、図6(a)に示した第1リレー光学系18の内部は、図3(a)に示した状態となっており、図6(b)に示した第1リレー光学系18の内部は、図3(b)に示した状態となっている。In the state shown in FIG. 6A, the light beam is focused at the center position between the
The inside of the first relay
ガルバノミラー21aは、軸21dを中心に回動駆動することによって、第2リレー光学系20によって出射されたビーム光を偏向面21bで反射することによって、水平方向に走査して、第3リレー光学系22に導く。 The
第3リレー光学系22は、凸レンズ51により偏向面21bで反射され走査されたビーム光を集光する。集光されたビーム光はいったん焦点を結んでから拡散し凸レンズ52に入射する。凸レンズ52は入射したビーム光に集光する向きのパワーを与え観察者の瞳孔24に出射する。 The third relay
凸レンズ51と凸レンズ52とは互いに同じパワーを有するので、第3リレー光学系22は、図6(a)に示すように、入射したビーム光が平行光であるときには平行光を出射し、図6(b)に示すように、入射したビーム光が拡散光であるときには拡散光を出射する。 Since the
ビーム光は、図6(a)に示した状態において、凸レンズ51と凸レンズ52との中央位置で焦点を結び、図6(b)に示した状態において、凸レンズ51と凸レンズ52との中央位置よりも凸レンズ52に近い位置で焦点を結ぶ。 In the state shown in FIG. 6A, the light beam is focused at the central position between the
第3リレー光学系22から出射したビーム光は観察者の瞳孔24から眼に入射し、水晶体60を経て網膜上に焦点を結ぶ。観察者は、水晶体60の厚さの変化により、投影された画像の位置が自分よりどの程度前方に表示されているかを認識する。例えば、図6(a)に示した状態では、観察者は、平行光が眼に入射することで水晶体60がそれに対応した厚さとなり、無限遠に画像が投影されていると感じ、図6(b)に示した状態では、観察者は、拡散光が眼に入射することで水晶体60がそれに対応した厚さ、具体的には図6(a)に示した状態より厚い状態となり、0.2メートル前方に画像が投影されていると感じる。 The beam light emitted from the third relay
以上述べた実施の形態においては、把持部31aの可動範囲を規定する長孔35aが、凸レンズ32及び凹レンズ33の光軸と平行なT方向に延在しているが、図7に示すように、長孔35aをかかる光軸に対して傾斜するU方向に設け、かかる可動範囲を光軸に対して傾斜する方向に規定するようにしても良い。 In the embodiment described above, the
上述のように、T方向におけるファイバホルダ31の可動距離は0.5ミリメートルであって、位置決め手段38により操作性が向上しているとはいえ、観察者等が把持部31aを操作するには細かな注意を払う必要があるが、把持部31aの可動範囲を光軸に対して傾斜するU方向とすることで、把持部31aをU方向に移動させた場合、T方向における移動距離はU方向における移動距離よりも小さい。そのため、T方向におけるファイバホルダ31の位置調整を行なうことが上述の実施形態におけるそれよりも容易であり、微調整が可能であって、操作性がさらに向上する。 As described above, the movable distance of the
なお、この構成においては、ファイバホルダ31は、ケーシング35に対して捩れながらT方向に移動する。すなわち凸レンズ32及び凹レンズ33の光軸を中心にしてケーシング35に対して回転しながらT方向に移動する。 In this configuration, the
また、図8に示すように、ファイバホルダ31の移動は、把持部31aを用いて行なうのでなく、駆動手段としてのモータ71を用いて行なってもよい。すなわち、発光部17aと凸レンズ32及び凹レンズ33との位置関係を変化させる変位手段36は、モータ71を備えているものであっても良い。 Further, as shown in FIG. 8, the movement of the
この変位手段36は、モータ71と、モータ71に取付けられた偏心カム74と、ファイバホルダ31を網膜走査型ディスプレイ1内の不動の部材75に向けて付勢する付勢手段としてのばね76と、かかる部材75と、モータ71にパルス状の電流を流す図示しないパルス発生回路と、この回路を制御するための図示しないCPU、メモリ等を有するコントローラ等を有している。 The displacement means 36 includes a motor 71, an eccentric cam 74 attached to the motor 71, and a spring 76 as an urging means for urging the
モータ71は、ステッピングモータであって、ケーシング35の外面に固定された本体72と、ケーシング35の外側から内部に至るように延在した出力軸73とを有している。偏心カム74は出力軸73の先端側に固設されている。ばね76は引っ張りばねであって、一端をファイバホルダ31の底面に、他端を部材75に固定されている。 The motor 71 is a stepping motor, and has a main body 72 fixed to the outer surface of the
このような構成の変位手段36では、ばね76の付勢力により、ファイバホルダ31の底面は常に偏心カム74の周面に当接しており、モータ71を駆動して偏心カム74を回転させれば、出力軸73とファイバホルダ31との間の距離が、偏心カム74の径に応じて決定される。パルス発生回路が発する電流のパルス数と偏心カム74の位相とは関連付けられてメモリに記憶されている。 In the displacement means 36 having such a configuration, the bottom surface of the
よって、モータ71への通電のパルス数を制御することで、発光部17aがT方向に駆動され、発光部17aと凸レンズ32及び凹レンズ33との位置関係を変化させ、観察者が感じる画像の投影距離が制御される。観察者等は、コントローラを操作することで、パルス発生回路を駆動し、所望の投影距離を得る。 Therefore, by controlling the number of energization pulses to the motor 71, the
本網膜走査型ディスプレイ1は、観察者の頭部に、眼鏡やサングラスのような状態で装着されるものとすることができる。この場合、網膜走査型ディスプレイ1は観察者の耳に係合して網膜走査型ディスプレイ1本体を頭部に支持する、眼鏡、サングラスのつるのような支持部材を有する。 The
網膜走査型ディスプレイ1が把持部31aを有する形態においては、かかるつるに少なくとも第1リレー光学系18を配設し、把持部31aの可動方向をつるの延在方向と一致させ、把持部31aをつるに沿って移動させることで発光部17aと凸レンズ32及び凹レンズ33との位置関係を変化させるようにすれば、把持部31aの操作性が向上するとともに、省スペース化を図ることが可能となる。 In the form in which the
特に、把持部31aを前頭部側に移動させれば投影距離が大きく、把持部31aを後頭部側に移動させれば投影距離が小さくなるように構成すると、観察者の感じる投影距離の移動方向と把持部31aの移動方向とが一致し、把持部31aの操作方向を感覚的に把握することが容易となってさらに操作性が向上する。 In particular, if the
網膜走査型ディスプレイ1が把持部31aでなくモータ71を有する形態においても、コントローラをつるに配設することは可能であって、把持部31aの操作性が向上するとともに、省スペース化を図ることが可能となる。 Even in a form in which the
この場合も、例えばコントローラに設けたレバーの移動方向あるいは傾倒方向を、観察者の感じる投影距離の移動方向とを一致させれば、把持部31aの操作方向を感覚的に把握することが容易となってさらに操作性が向上する。 Also in this case, for example, if the moving direction or tilting direction of the lever provided in the controller is matched with the moving direction of the projection distance felt by the observer, it is easy to sensuously grasp the operating direction of the
以上、本発明の好ましい実施の形態について詳述したが、本発明は係る特定の実施形態に限定されるものではなく、特許請求の範囲に記載された本発明の要旨の範囲内において、種々の変形・変更が可能である。 The preferred embodiments of the present invention have been described in detail above. However, the present invention is not limited to the specific embodiments, and various modifications can be made within the scope of the gist of the present invention described in the claims. Deformation / change is possible.
たとえば、上述の実施形態では、発光部と初段光学系とのうち発光部を変位させて両者の位置関係を変化させたが、これらの少なくとも一方を変位させてかかる位置関係を変化させても良いのであり、初段光学系のみを変位させてもよいし、両者をともに変位させても良い。 For example, in the above-described embodiment, the positional relationship between the light emitting unit and the first-stage optical system is changed by displacing the light emitting unit, but at least one of them may be displaced to change the positional relationship. Therefore, only the first-stage optical system may be displaced, or both may be displaced together.
ここで、上述の実施形態では、発光部を、ファイバホルダ31として説明した第1の円筒状部材と一体とし、初段光学系を、ケーシングとして説明した第2の円筒状部材と一体としたため、発光部と初段光学系とのうち少なくとも一方を変位させてかかる位置関係を変化させるということは、第1、第2の円筒状部材の少なくとも一方を変位させてかかる位置関係を変化させることとなり、したがって、この場合、第1の円筒状部材でなく、第2の円筒状部材のみを変位させてもよいし、両者をともに変位させても良い。 Here, in the above-described embodiment, the light emitting unit is integrated with the first cylindrical member described as the
上述の実施形態では、第1の円筒状部材を第2の円筒状部材に挿入したが、第2の円筒状部材を第1の円筒状部材に挿入しても良い。挿入の態様は、円筒状部材の全体でなく、一部を挿入するものであっても良い。 In the above-described embodiment, the first cylindrical member is inserted into the second cylindrical member. However, the second cylindrical member may be inserted into the first cylindrical member. The insertion mode may be to insert a part of the cylindrical member instead of the entire cylindrical member.
上述の実施形態では、上述のように一方が他方に挿入される部材を円筒状の部材としたが、駆動手段によってその一方を駆動する構成や、把持部を有する場合においても把持部を光軸に沿って移動する構成においては、角柱状をなす筒状の部材とすることができる。 In the above-described embodiment, the member inserted into the other is a cylindrical member as described above. However, even when the driving unit is configured to drive one of the members, or when the gripping portion is provided, the gripping portion is positioned on the optical axis. In the configuration that moves along the axis, it can be a cylindrical member having a prismatic shape.
上述した実施形態においては、垂直走査系19によって垂直方向に走査される垂直走査角度は、水平走査系21によって水平方向に走査される水平走査角度よりも小さく設定されていたが、これに限らず、例えば、垂直走査角度が、水平走査角度よりも大きく又は同じように設定されていてもよい。 In the above-described embodiment, the vertical scanning angle scanned in the vertical direction by the
上述した実施形態においては、ビーム光を先に垂直方向に垂直走査系19によって走査され、その後に、ビーム光を先に水平方向に水平走査系21によって走査される構成であったが、これに限らず、例えば、ビーム光を先に水平方向に水平走査系によって走査し、その後に、ビーム光を先に垂直方向に垂直走査系によって走査する構成であってもよい。 In the above-described embodiment, the beam light is first scanned in the vertical direction by the
上述した実施形態においては、入射されるビーム光を垂直方向と水平方向とに走査させるように構成したが、これに限らず、例えば、入射されるビーム光を、1次方向に走査させるとともに、その1次方向と交差する2次方向に走査させるように構成してもよい。 In the embodiment described above, the incident beam light is configured to scan in the vertical direction and the horizontal direction. However, the present invention is not limited to this, and for example, the incident beam light is scanned in the primary direction. You may comprise so that it may scan in the secondary direction which cross | intersects the primary direction.
上述した実施形態においては、画像信号に応じて変調された光束を1次方向及び2次方向に走査することで、眼の網膜に画像を投影し、画像を表示する網膜走査型ディスプレイ1(網膜走査型画像表示装置の一例)について説明したが、これに限らず、例えば、眼の網膜に画像を直接的に投影しなくても、画像信号に応じて変調された光束を1次方向及び2次方向に走査することで画像をスクリーンなどに投影表示するスクリーン投影型のディスプレイ(画像表示装置の一例)に本発明を採用してもよい。 In the above-described embodiment, the light beam modulated according to the image signal is scanned in the primary direction and the secondary direction, thereby projecting an image on the retina of the eye and displaying the image. Although an example of a scanning image display apparatus) has been described, the present invention is not limited to this, and for example, a light beam modulated in accordance with an image signal can be transmitted in the primary direction and 2 without directly projecting an image on the retina of the eye. The present invention may be applied to a screen projection type display (an example of an image display device) that projects and displays an image on a screen or the like by scanning in the next direction.
この場合、第3リレー光学系22から出射される光束は、スクリーン上に焦点を結ぶように、集光光とされる。また、スクリーンまでの距離は、例えば3〜10メートルとされる。 In this case, the light beam emitted from the third relay
上述した実施形態においては、発光点を光ファイバの出射端によって形成される構成としたが、発光点は、LEDによって構成しても良い。この場合、R、G、Bそれぞれの映像信号4は、直接LEDに送られるため、それぞれの信号に対応した、ドライバ8、9、10と、レーザ11、12、13と、コリメート光学系14と、ダイクロイックミラー15と、結合光学系16と、光ファイバ17とがすべて省略でき、画像表示装置の大幅な小型化が達成される。 In the above-described embodiment, the light emitting point is formed by the emission end of the optical fiber, but the light emitting point may be formed by an LED. In this case, since the video signals 4 of R, G, and B are directly sent to the LEDs, the
本発明の実施の形態に記載された効果は、本発明から生じる最も好適な効果を列挙したに過ぎず、本発明による効果は、本発明の実施の形態に記載されたものに限定されるものではない。 The effects described in the embodiments of the present invention are only the most preferable effects resulting from the present invention, and the effects of the present invention are limited to those described in the embodiments of the present invention. is not.
1 画像表示装置、網膜走査型画像表示装置
17 光ファイバ
17a 発光部
19 走査光学系
21 走査光学系
31 第1の円筒状部材、内側の円筒状部材
31a 把持部
32、33 初段光学系
35 第2の円筒状部材、外側の円筒状部材
35a 規定手段
36 変位手段
37 目盛り
38 位置決め手段
61 網膜
71 駆動手段
DESCRIPTION OF
| Application Number | Priority Date | Filing Date | Title |
|---|---|---|---|
| JP2005380249AJP2007178943A (en) | 2005-12-28 | 2005-12-28 | Image display device |
| Application Number | Priority Date | Filing Date | Title |
|---|---|---|---|
| JP2005380249AJP2007178943A (en) | 2005-12-28 | 2005-12-28 | Image display device |
| Publication Number | Publication Date |
|---|---|
| JP2007178943Atrue JP2007178943A (en) | 2007-07-12 |
| Application Number | Title | Priority Date | Filing Date |
|---|---|---|---|
| JP2005380249APendingJP2007178943A (en) | 2005-12-28 | 2005-12-28 | Image display device |
| Country | Link |
|---|---|
| JP (1) | JP2007178943A (en) |
| Publication number | Priority date | Publication date | Assignee | Title |
|---|---|---|---|---|
| JP2012521572A (en)* | 2009-03-25 | 2012-09-13 | ファロ テクノロジーズ インコーポレーテッド | Devices that optically scan and measure the environment |
| US8699007B2 (en) | 2010-07-26 | 2014-04-15 | Faro Technologies, Inc. | Device for optically scanning and measuring an environment |
| US8699036B2 (en) | 2010-07-29 | 2014-04-15 | Faro Technologies, Inc. | Device for optically scanning and measuring an environment |
| US8705016B2 (en) | 2009-11-20 | 2014-04-22 | Faro Technologies, Inc. | Device for optically scanning and measuring an environment |
| US8705012B2 (en) | 2010-07-26 | 2014-04-22 | Faro Technologies, Inc. | Device for optically scanning and measuring an environment |
| US8719474B2 (en) | 2009-02-13 | 2014-05-06 | Faro Technologies, Inc. | Interface for communication between internal and external devices |
| US8730477B2 (en) | 2010-07-26 | 2014-05-20 | Faro Technologies, Inc. | Device for optically scanning and measuring an environment |
| US8830485B2 (en) | 2012-08-17 | 2014-09-09 | Faro Technologies, Inc. | Device for optically scanning and measuring an environment |
| US8896819B2 (en) | 2009-11-20 | 2014-11-25 | Faro Technologies, Inc. | Device for optically scanning and measuring an environment |
| US9009000B2 (en) | 2010-01-20 | 2015-04-14 | Faro Technologies, Inc. | Method for evaluating mounting stability of articulated arm coordinate measurement machine using inclinometers |
| US9113023B2 (en) | 2009-11-20 | 2015-08-18 | Faro Technologies, Inc. | Three-dimensional scanner with spectroscopic energy detector |
| US9210288B2 (en) | 2009-11-20 | 2015-12-08 | Faro Technologies, Inc. | Three-dimensional scanner with dichroic beam splitters to capture a variety of signals |
| USRE45854E1 (en) | 2006-07-03 | 2016-01-19 | Faro Technologies, Inc. | Method and an apparatus for capturing three-dimensional data of an area of space |
| US9329271B2 (en) | 2010-05-10 | 2016-05-03 | Faro Technologies, Inc. | Method for optically scanning and measuring an environment |
| US9372265B2 (en) | 2012-10-05 | 2016-06-21 | Faro Technologies, Inc. | Intermediate two-dimensional scanning with a three-dimensional scanner to speed registration |
| US9417316B2 (en) | 2009-11-20 | 2016-08-16 | Faro Technologies, Inc. | Device for optically scanning and measuring an environment |
| US9417056B2 (en) | 2012-01-25 | 2016-08-16 | Faro Technologies, Inc. | Device for optically scanning and measuring an environment |
| US9513107B2 (en) | 2012-10-05 | 2016-12-06 | Faro Technologies, Inc. | Registration calculation between three-dimensional (3D) scans based on two-dimensional (2D) scan data from a 3D scanner |
| US9529083B2 (en) | 2009-11-20 | 2016-12-27 | Faro Technologies, Inc. | Three-dimensional scanner with enhanced spectroscopic energy detector |
| US9551575B2 (en) | 2009-03-25 | 2017-01-24 | Faro Technologies, Inc. | Laser scanner having a multi-color light source and real-time color receiver |
| US9607239B2 (en) | 2010-01-20 | 2017-03-28 | Faro Technologies, Inc. | Articulated arm coordinate measurement machine having a 2D camera and method of obtaining 3D representations |
| US9628775B2 (en) | 2010-01-20 | 2017-04-18 | Faro Technologies, Inc. | Articulated arm coordinate measurement machine having a 2D camera and method of obtaining 3D representations |
| US10067231B2 (en) | 2012-10-05 | 2018-09-04 | Faro Technologies, Inc. | Registration calculation of three-dimensional scanner data performed between scans based on measurements by two-dimensional scanner |
| US10175037B2 (en) | 2015-12-27 | 2019-01-08 | Faro Technologies, Inc. | 3-D measuring device with battery pack |
| US10281259B2 (en) | 2010-01-20 | 2019-05-07 | Faro Technologies, Inc. | Articulated arm coordinate measurement machine that uses a 2D camera to determine 3D coordinates of smoothly continuous edge features |
| Publication number | Priority date | Publication date | Assignee | Title |
|---|---|---|---|---|
| JPS60156515U (en)* | 1984-03-27 | 1985-10-18 | 日本コロムビア株式会社 | Collimator lens position adjustment device |
| JPH0396913A (en)* | 1989-09-08 | 1991-04-22 | Brother Ind Ltd | Image display device |
| JPH05129664A (en)* | 1991-11-05 | 1993-05-25 | Rohm Co Ltd | Light source unit and its adjustment apparatus |
| JPH11505627A (en)* | 1995-05-09 | 1999-05-21 | ユニバーシティ オブ ワシントン | Virtual retinal display with fiber optic point light source |
| JP2000504856A (en)* | 1996-03-01 | 2000-04-18 | リフレクション・テクノロジー・インコーポレーテッド | Separate lens type visual display system |
| JP2002529801A (en)* | 1998-11-09 | 2002-09-10 | ユニバーシティ・オブ・ワシントン | Scanning beam display with adjustable accommodation |
| JP2003302601A (en)* | 2002-02-06 | 2003-10-24 | Brother Ind Ltd | Wavefront curvature modulation device and image display device equipped with wavefront curvature modulation device |
| JP2005107038A (en)* | 2003-09-29 | 2005-04-21 | Brother Ind Ltd | Retina scanning display device |
| Publication number | Priority date | Publication date | Assignee | Title |
|---|---|---|---|---|
| JPS60156515U (en)* | 1984-03-27 | 1985-10-18 | 日本コロムビア株式会社 | Collimator lens position adjustment device |
| JPH0396913A (en)* | 1989-09-08 | 1991-04-22 | Brother Ind Ltd | Image display device |
| JPH05129664A (en)* | 1991-11-05 | 1993-05-25 | Rohm Co Ltd | Light source unit and its adjustment apparatus |
| JPH11505627A (en)* | 1995-05-09 | 1999-05-21 | ユニバーシティ オブ ワシントン | Virtual retinal display with fiber optic point light source |
| JP2000504856A (en)* | 1996-03-01 | 2000-04-18 | リフレクション・テクノロジー・インコーポレーテッド | Separate lens type visual display system |
| JP2002529801A (en)* | 1998-11-09 | 2002-09-10 | ユニバーシティ・オブ・ワシントン | Scanning beam display with adjustable accommodation |
| JP2003302601A (en)* | 2002-02-06 | 2003-10-24 | Brother Ind Ltd | Wavefront curvature modulation device and image display device equipped with wavefront curvature modulation device |
| JP2005107038A (en)* | 2003-09-29 | 2005-04-21 | Brother Ind Ltd | Retina scanning display device |
| Publication number | Priority date | Publication date | Assignee | Title |
|---|---|---|---|---|
| USRE45854E1 (en) | 2006-07-03 | 2016-01-19 | Faro Technologies, Inc. | Method and an apparatus for capturing three-dimensional data of an area of space |
| US8719474B2 (en) | 2009-02-13 | 2014-05-06 | Faro Technologies, Inc. | Interface for communication between internal and external devices |
| US9551575B2 (en) | 2009-03-25 | 2017-01-24 | Faro Technologies, Inc. | Laser scanner having a multi-color light source and real-time color receiver |
| JP2012521572A (en)* | 2009-03-25 | 2012-09-13 | ファロ テクノロジーズ インコーポレーテッド | Devices that optically scan and measure the environment |
| US9074883B2 (en) | 2009-03-25 | 2015-07-07 | Faro Technologies, Inc. | Device for optically scanning and measuring an environment |
| US9417316B2 (en) | 2009-11-20 | 2016-08-16 | Faro Technologies, Inc. | Device for optically scanning and measuring an environment |
| US9113023B2 (en) | 2009-11-20 | 2015-08-18 | Faro Technologies, Inc. | Three-dimensional scanner with spectroscopic energy detector |
| US9529083B2 (en) | 2009-11-20 | 2016-12-27 | Faro Technologies, Inc. | Three-dimensional scanner with enhanced spectroscopic energy detector |
| US8896819B2 (en) | 2009-11-20 | 2014-11-25 | Faro Technologies, Inc. | Device for optically scanning and measuring an environment |
| US8705016B2 (en) | 2009-11-20 | 2014-04-22 | Faro Technologies, Inc. | Device for optically scanning and measuring an environment |
| US9210288B2 (en) | 2009-11-20 | 2015-12-08 | Faro Technologies, Inc. | Three-dimensional scanner with dichroic beam splitters to capture a variety of signals |
| US10060722B2 (en) | 2010-01-20 | 2018-08-28 | Faro Technologies, Inc. | Articulated arm coordinate measurement machine having a 2D camera and method of obtaining 3D representations |
| US9628775B2 (en) | 2010-01-20 | 2017-04-18 | Faro Technologies, Inc. | Articulated arm coordinate measurement machine having a 2D camera and method of obtaining 3D representations |
| US9009000B2 (en) | 2010-01-20 | 2015-04-14 | Faro Technologies, Inc. | Method for evaluating mounting stability of articulated arm coordinate measurement machine using inclinometers |
| US10281259B2 (en) | 2010-01-20 | 2019-05-07 | Faro Technologies, Inc. | Articulated arm coordinate measurement machine that uses a 2D camera to determine 3D coordinates of smoothly continuous edge features |
| US9607239B2 (en) | 2010-01-20 | 2017-03-28 | Faro Technologies, Inc. | Articulated arm coordinate measurement machine having a 2D camera and method of obtaining 3D representations |
| US9329271B2 (en) | 2010-05-10 | 2016-05-03 | Faro Technologies, Inc. | Method for optically scanning and measuring an environment |
| US9684078B2 (en) | 2010-05-10 | 2017-06-20 | Faro Technologies, Inc. | Method for optically scanning and measuring an environment |
| US8705012B2 (en) | 2010-07-26 | 2014-04-22 | Faro Technologies, Inc. | Device for optically scanning and measuring an environment |
| US8730477B2 (en) | 2010-07-26 | 2014-05-20 | Faro Technologies, Inc. | Device for optically scanning and measuring an environment |
| US8699007B2 (en) | 2010-07-26 | 2014-04-15 | Faro Technologies, Inc. | Device for optically scanning and measuring an environment |
| US8699036B2 (en) | 2010-07-29 | 2014-04-15 | Faro Technologies, Inc. | Device for optically scanning and measuring an environment |
| US9417056B2 (en) | 2012-01-25 | 2016-08-16 | Faro Technologies, Inc. | Device for optically scanning and measuring an environment |
| US8830485B2 (en) | 2012-08-17 | 2014-09-09 | Faro Technologies, Inc. | Device for optically scanning and measuring an environment |
| US9618620B2 (en) | 2012-10-05 | 2017-04-11 | Faro Technologies, Inc. | Using depth-camera images to speed registration of three-dimensional scans |
| US9739886B2 (en) | 2012-10-05 | 2017-08-22 | Faro Technologies, Inc. | Using a two-dimensional scanner to speed registration of three-dimensional scan data |
| US9746559B2 (en) | 2012-10-05 | 2017-08-29 | Faro Technologies, Inc. | Using two-dimensional camera images to speed registration of three-dimensional scans |
| US9513107B2 (en) | 2012-10-05 | 2016-12-06 | Faro Technologies, Inc. | Registration calculation between three-dimensional (3D) scans based on two-dimensional (2D) scan data from a 3D scanner |
| US10067231B2 (en) | 2012-10-05 | 2018-09-04 | Faro Technologies, Inc. | Registration calculation of three-dimensional scanner data performed between scans based on measurements by two-dimensional scanner |
| US10203413B2 (en) | 2012-10-05 | 2019-02-12 | Faro Technologies, Inc. | Using a two-dimensional scanner to speed registration of three-dimensional scan data |
| US9372265B2 (en) | 2012-10-05 | 2016-06-21 | Faro Technologies, Inc. | Intermediate two-dimensional scanning with a three-dimensional scanner to speed registration |
| US11035955B2 (en) | 2012-10-05 | 2021-06-15 | Faro Technologies, Inc. | Registration calculation of three-dimensional scanner data performed between scans based on measurements by two-dimensional scanner |
| US11112501B2 (en) | 2012-10-05 | 2021-09-07 | Faro Technologies, Inc. | Using a two-dimensional scanner to speed registration of three-dimensional scan data |
| US11815600B2 (en) | 2012-10-05 | 2023-11-14 | Faro Technologies, Inc. | Using a two-dimensional scanner to speed registration of three-dimensional scan data |
| US10175037B2 (en) | 2015-12-27 | 2019-01-08 | Faro Technologies, Inc. | 3-D measuring device with battery pack |
| Publication | Publication Date | Title |
|---|---|---|
| JP2007178943A (en) | Image display device | |
| US6657763B2 (en) | Image display apparatus and system | |
| EP2112832B1 (en) | Image display device | |
| US20100177285A1 (en) | Optical scanning device, optical scanning image display device and retinal scanning display | |
| JP2006178346A (en) | Optical scanning device and image display device using the same | |
| JP4840175B2 (en) | Image display device | |
| JP4929878B2 (en) | Image display device and retinal scanning image display device | |
| JP2011075956A (en) | Head-mounted display | |
| US9236028B2 (en) | Image display apparatus | |
| US11187899B2 (en) | Light source device, optical scanner, display system, and mobile object | |
| JP2012118291A (en) | Image display device | |
| JP2011075954A (en) | Head-mounted display | |
| US7903312B2 (en) | Optical scanning device, imaging display device, and retinal scanning display | |
| JP2007178941A (en) | Image display device, retinal scanning image display device, and half mirror | |
| JP2009288520A (en) | Optical scanning type projector | |
| JP2011215194A (en) | Direct viewing type image display device | |
| JP2010134050A (en) | Image display apparatus | |
| JP2016053680A (en) | Image display reproduction device and exit pupil expansion method | |
| JP2007178944A (en) | Optical device and image display device | |
| WO2013179494A1 (en) | Projection device, head-up display, control method, program and storage medium | |
| JP2021184009A (en) | Image projection device | |
| JP2007178939A (en) | Image display device and retinal scanning image display device | |
| JP2007178942A (en) | Optical scanning device, image display device, and retinal scanning image display device | |
| JP2010085785A (en) | Image display apparatus | |
| US20240168278A1 (en) | Light source device and image display device |
| Date | Code | Title | Description |
|---|---|---|---|
| A621 | Written request for application examination | Effective date:20080317 Free format text:JAPANESE INTERMEDIATE CODE: A621 | |
| A977 | Report on retrieval | Effective date:20101027 Free format text:JAPANESE INTERMEDIATE CODE: A971007 | |
| A131 | Notification of reasons for refusal | Free format text:JAPANESE INTERMEDIATE CODE: A131 Effective date:20101102 | |
| A02 | Decision of refusal | Free format text:JAPANESE INTERMEDIATE CODE: A02 Effective date:20110301 |