



本発明は、ルビジウム原子発振器に用いられるルビジウムランプ励振回路に関し、特に、小型でランプの点灯・発光持続動作が安定した優れた特性を有するルビジウムランプ励振回路に関する。The present invention relates to a rubidium lamp excitation circuit used for a rubidium atomic oscillator, and more particularly to a rubidium lamp excitation circuit that has excellent characteristics with a small size and stable operation of sustaining and emitting light.
従来、周波数標準に用いるルビジウム原子発振器において、ルビジウム原子の励起用光源として用いられるルビジウムランプは、ランプ内のルビジウムガスを高周波信号による電磁誘導によって無電極放電させ、発光させている。
図3は、従来のランプ励振器の一例を示す回路構成図である。同図に示されるように、本ランプ励振器10におけるルビジウムランプLP2は、中空のガラス体に励振コイルL5が巻かれて、図示しないヒーターと温度制御回路11によって所定の温度に制御された熱筒12に収容される。
前記励振コイルL5は、発振用トランジスタQ1、トリマコンデンサC1、コンデンサC2、C3及びコイルL3とともにコルピッツ型のLC発振回路を構成する。抵抗R1、R2、R3、R4及びコイルL2は、発振用トランジスタQ1のバイアス回路を構成し、コンデンサC4、コイルL4は直流電源Vccのノイズ除去回路を構成する。
さらに、トランスT1は、ルビジウムランプLP2のガラス体上に設けられた電極A、B間に供給する高圧パルスを生成する。Conventionally, in a rubidium atomic oscillator used for a frequency standard, a rubidium lamp used as a light source for exciting rubidium atoms causes a rubidium gas in the lamp to undergo electrodeless discharge by electromagnetic induction using a high frequency signal to emit light.
FIG. 3 is a circuit configuration diagram showing an example of a conventional lamp exciter. As shown in the figure, the rubidium lamp LP2 in the present lamp exciter 10 is a thermal cylinder in which an excitation coil L5 is wound around a hollow glass body and controlled to a predetermined temperature by a heater and a temperature control circuit 11 (not shown). 12 is accommodated.
The excitation coil L5 constitutes a Colpitts type LC oscillation circuit together with the oscillation transistor Q1, the trimmer capacitor C1, the capacitors C2 and C3, and the coil L3. The resistors R1, R2, R3, R4 and the coil L2 constitute a bias circuit for the oscillation transistor Q1, and the capacitor C4 and the coil L4 constitute a noise removal circuit for the DC power supply Vcc.
Further, the transformer T1 generates a high-pressure pulse supplied between the electrodes A and B provided on the glass body of the rubidium lamp LP2.
前記ランプ励振器10を構成する発振回路は、一般的なコルピッツ型のLC発振回路であって、その回路動作の説明は省略する。
このランプ励振器10は、前記発振回路で生成される高周波エネルギーを励振コイルL5を介してルビジウムランプLP2に供給することによって該ルビジウムランプLP2を点灯し、発光を維持するものである。
しかし、高周波の磁界を励振コイルL5を介してルビジウムランプLP2に供給するだけではランプは点灯しにくいため、前記ルビジウムランプLP2には、融点がおよそ38℃のルビジウム原子とともにランプ点灯を容易にするためのクリプトンガス等のキャリアガスが封入されるのが一般的である。The oscillating circuit constituting the
The lamp exciter 10 turns on the rubidium lamp LP2 by supplying high-frequency energy generated by the oscillation circuit to the rubidium lamp LP2 via the excitation coil L5, and maintains light emission.
However, since it is difficult to light the lamp simply by supplying a high-frequency magnetic field to the rubidium lamp LP2 through the excitation coil L5, the rubidium lamp LP2 includes a rubidium atom having a melting point of about 38 ° C. to facilitate lamp lighting. In general, a carrier gas such as krypton gas is enclosed.
図4は、従来のルビジウムランプの構造例を示す模式図である。同図に示されるように、前記ルビジウムランプLP2は、出力光窓12aを備えた熱筒12に、ブラケット12bで固定されて収容され、前記出力光窓側部分に励振コイルL5が巻かれるとともに、前記出力光窓側の反対側部分に昇圧トランスT1に接続された被覆導線をブラケット12bに固定し、その導線先端部をスパーク電極Aとし、前記ブラケット12bをスパーク電極B(接地)とする構造となっている。
なお、熱筒12を加熱して所定の温度となるよう制御するヒーターと温度制御回路11の図示は省略する。FIG. 4 is a schematic diagram showing a structural example of a conventional rubidium lamp. As shown in the figure, the rubidium lamp LP2 is housed in a
Note that the heater and the
図4に示すように、外部から供給される高圧パルスVHをトランスT1によって昇圧して更に高電圧パルスを生成し、この高電圧パルスがルビジウムランプLP2に設けられた電極Aと接地電極B(ブラケット)間に印加されてスパークを発生させ、この時の高電界によってキャリアガス(クリプトンガス)を放電させ、その熱によって溶融、気化したルビジウム原子を点灯(放電を開始)させる。
ルビジウムランプLP2点灯後は、前記発振回路による高周波の磁界を励振コイルL5を介して供給することによって、その発光を持続(放電を維持)させる。
After the rubidium lamp LP2 is turned on, the high-frequency magnetic field generated by the oscillation circuit is supplied through the excitation coil L5, so that the light emission is maintained (discharge is maintained).
前記ルビジウムランプLP2に封入されたルビジウム原子は、ランプ内で固体状態から液化、気化を繰り返す過程でランプのガラス体に吸収される性質があることが知られており、この経年変化によるルビジウム原子の減少を補充するために、必要量より多めのルビジウム原子が封入される。
このように必要量以上のルビジウム原子が加熱されて飽和蒸気の状態にあるとき、ランプに低温度部分が有ると、その部分にルビジウム原子が再凝縮してランプガラス内壁に付着することになる。
特に、ルビジウムランプLP2の前記出力光窓側の部分にルビジウム原子が付着すると、ルビジウムランプLP2がルビジウム原子発振器のガスセルに向けて出射した励起光を遮ることになって、該励起光の強度が低下する。この励起光の強度が低下すると、ルビジウム原子発振器のガスセルにおいて光・マイクロ波共鳴信号の強度が低下するので、ルビジウム原子発振器の周波数制御が不安定になるという問題があった。It is known that the rubidium atoms enclosed in the rubidium lamp LP2 have the property of being absorbed by the glass body of the lamp in the process of repeated liquefaction and vaporization from the solid state in the lamp. To make up for the decrease, more rubidium atoms are encapsulated than needed.
Thus, when a rubidium atom more than a necessary amount is heated and is in a saturated vapor state, if the lamp has a low temperature portion, the rubidium atom is recondensed in that portion and adheres to the inner wall of the lamp glass.
In particular, when rubidium atoms adhere to the output light window side portion of the rubidium lamp LP2, the rubidium lamp LP2 blocks the excitation light emitted toward the gas cell of the rubidium atomic oscillator, thereby reducing the intensity of the excitation light. . When the intensity of the excitation light is reduced, the intensity of the light / microwave resonance signal is reduced in the gas cell of the rubidium atomic oscillator, which causes a problem that the frequency control of the rubidium atomic oscillator becomes unstable.
そこで、この問題を解決するため、ルビジウムランプの出力光窓側近辺に加熱手段を備えるとともに、ランプの出力光窓側の反対側に放熱部材を固着する手段を用いた技術が、特開平1−158785公報に開示されている。
この手段によれば、ランプの出力光窓側の反対側が、相対的に出力光窓側より低温度になるので、ルビジウムガスの放電中に出力光窓側の部分にルビジウム原子が再凝縮して付着するおそれがなく、励起光の出力強度の低下を防止することができる。
しかしながら、先述のように経年変化を見込んでルビジウム原子をランプに多めに封入すると、ランプの出力光窓側の反対側に再凝縮したルビジウム原子がランプの出力光窓側の方向へ向かって垂れてくることが知られている。この出力光窓側の方向へ移動したルビジウム原子が励振コイルに接近してくると、該励振コイルのQを低下させて発振回路の発振強度が低下し、励起光の出力強度が低下するとともに、ルビジウムガスを再点灯させることができなくなるという問題があった。Therefore, in order to solve this problem, Japanese Patent Application Laid-Open No. 1-158785 discloses a technique using a heating means provided in the vicinity of the output light window side of the rubidium lamp and a means for fixing a heat radiating member on the opposite side of the output light window side of the lamp. Is disclosed.
According to this means, the temperature on the side opposite to the output light window side of the lamp is relatively lower than that on the output light window side. Therefore, a decrease in the output intensity of the excitation light can be prevented.
However, if a large amount of rubidium atoms is encapsulated in the lamp in anticipation of aging as described above, the re-condensed rubidium atoms will hang down in the direction of the lamp output light window side. It has been known. When the rubidium atoms that have moved in the direction toward the output light window approach the excitation coil, the Q of the excitation coil is lowered, the oscillation intensity of the oscillation circuit is reduced, and the output intensity of the excitation light is reduced. There was a problem that the gas could not be turned on again.
さらに、従来のランプ励振器においては、放電を開始させるために、図3、4に示すように、ルビジウムランプLP2の電極A、B間に高電圧のスパークを起こさせるための回路が必要となり、この回路には外部から供給されるパルス電圧HVを昇圧するトランスT1など大型部品を必要とするとともに、前記パルス電圧HVを発生させる外部回路を必要とするためランプ励振器10あるいはルビジウム原子発振器の小型化が困難であるという問題があった。Furthermore, in the conventional lamp exciter, in order to start the discharge, as shown in FIGS. 3 and 4, a circuit for causing a high voltage spark between the electrodes A and B of the rubidium lamp LP2 is required. This circuit requires a large component such as a transformer T1 for boosting the pulse voltage HV supplied from the outside, and an external circuit for generating the pulse voltage HV, so that the lamp exciter 10 or the rubidium atomic oscillator is small. There was a problem that it was difficult to convert.
また、特許第3142296号公報に開示されているランプ発振器においては、トランジスタ発振回路は、ランプの点灯に充分な第1の直流電流とランプ点灯後にはその点灯を維持するための前記第1の直流電流よりレベルが低い第2の直流電流とを発生する可変直流負荷回路を備え、ランプ出力光を検出し、該検出電圧によって前記可変直流負荷回路を制御してランプを点灯・維持し、さらに、発振用トランジスタの励振出力端の直流電圧を、フィードバック回路と位相シフト回路によって、一定に保つようにして、温度変化、発振回路出力の変動等によって生じる励振出力のブロッキング振動を抑圧するようにしている。
しかしながら、上記手段においても、回路構成が複雑であって、小型化、低価格化を進めることが困難となっていた。
本発明は、上記問題を解決するためになされたものであって、簡単な回路構成で、ランプの点灯・発光持続動作が安定した優れた特性を有するルビジウム原子発振器用のランプ励振器を提供することを目的とする。In the lamp oscillator disclosed in Japanese Patent No. 3142296, the transistor oscillation circuit includes a first direct current sufficient for lighting the lamp and the first direct current for maintaining the lighting after the lamp is lit. A variable DC load circuit that generates a second DC current having a level lower than the current, detects lamp output light, controls the variable DC load circuit with the detected voltage, and lights and maintains the lamp; The DC voltage at the excitation output terminal of the oscillation transistor is kept constant by the feedback circuit and the phase shift circuit to suppress blocking vibration of the excitation output caused by temperature change, oscillation circuit output fluctuation, etc. .
However, even in the above-described means, the circuit configuration is complicated, and it has been difficult to reduce the size and the price.
The present invention has been made to solve the above-described problems, and provides a lamp exciter for a rubidium atomic oscillator having a simple circuit configuration and excellent characteristics in which the operation of the lamp is sustained and light emission is stable. For the purpose.
上記課題を解決するため、請求項1においては、ルビジウム原子を封入したルビジウムランプに線材を巻きつけたコイル(インダクタ)を有し、該コイルと一体になって発振回路を形成すると共に前記コイルに高周波信号を供給して前記ルビジウム原子を無電極放電、発光させるルビジウムランプ励振器において、
前記コイルは、前記ルビジウムランプの一端に設けられたルビジウム原子溜り(チップ部)を避けて前記ルビジウムランプに前記線材を巻きつけたものであり、且つ前記コイルのホットエンドの面と前記ルビジウムランプの発光面とがほぼ一致するように配置したことを特徴とする。
また、請求項2においては、請求項1に記載のルビジウムランプ励振器において、前記ルビジウム原子溜り(チップ部)が、前記ルビジウムランプを収容するケースの壁面に熱伝導性接着剤によって固着されていることを特徴とする。In order to solve the above-mentioned problem, in
The coil is obtained by winding the wire around the rubidium lamp while avoiding a rubidium atomic reservoir (tip portion) provided at one end of the rubidium lamp, and the hot end surface of the coil and the rubidium lamp. The light-emitting surface is arranged so as to substantially match.
According to a second aspect of the present invention, in the rubidium lamp exciter according to the first aspect, the rubidium atomic reservoir (tip portion) is fixed to a wall surface of a case housing the rubidium lamp with a heat conductive adhesive. It is characterized by that.
請求項3においては、請求項1または請求項2のいずれかに記載のルビジウムランプ励振器において、前記ルビジウムランプが点灯状態か非点灯状態かを検出して点灯検出信号を出力する点灯検出回路と、前記ルビジウムランプの点灯時に所定の電源電圧を供給すると共に、前記ルビジウムランプの点灯後に前記点灯検出信号に従い前記電源電圧を低減して供給する電源電圧制御回路とを備えたことを特徴とする。
また、請求項4においては、請求項3に記載のルビジウムランプ励振器において、前記低減した電源電圧が、前記電源電圧制御回路の出力に直列挿入された抵抗によって分圧されて生成されたものであることを特徴とする。A rubidium lamp exciter according to
According to a fourth aspect of the present invention, in the rubidium lamp exciter according to the third aspect, the reduced power supply voltage is generated by being divided by a resistor inserted in series with the output of the power supply voltage control circuit. It is characterized by being.
本発明のルビジウム原子発振器用のランプ励振器においては、上述のように、ルビジウムランプにチップ部を設け、該ルビジウムランプを励振する励振コイルのHot Endの面と前記ルビジウムランプの発光面とが一致するように、且つ、励振コイルの巻き線を前記チップ部を除くランプの全域に亘って巻くように構成するとともに、チップ部をルビジウムランプを収容する熱筒の壁面に密着するように固定した。
その結果、ルビジウムランプが点灯中あるいはランプ励振器を電源断としたときに飽和蒸気の状態のルビジウム原子は、チップ部に再凝縮するので、液化状態のルビジウム原子が励振コイルの方向に移動して、該励振コイルの性能を低下させてルビジウムランプの出力光の強度を不安定にしたり、ルビジウムランプの点灯不能の状態になることを防止できる。In the lamp exciter for the rubidium atomic oscillator of the present invention, as described above, the tip portion is provided in the rubidium lamp, and the hot end surface of the excitation coil for exciting the rubidium lamp and the light emitting surface of the rubidium lamp coincide with each other. In addition, the winding of the excitation coil is configured to be wound over the entire area of the lamp except for the tip portion, and the tip portion is fixed so as to be in close contact with the wall surface of the thermal cylinder housing the rubidium lamp.
As a result, when the rubidium lamp is lit or when the lamp exciter is turned off, the rubidium atoms in the saturated vapor state are condensed again in the tip part, so that the liquefied rubidium atoms move in the direction of the excitation coil. Therefore, it is possible to prevent the intensity of the output light of the rubidium lamp from becoming unstable by reducing the performance of the excitation coil and preventing the rubidium lamp from being turned on.
さらに、前記ランプ励振器のLC発振回路に供給するルビジウムランプ点灯中の電源電圧を、ルビジウムランプの点灯光の検出信号に基づいて、前記LC発振回路の電源電圧供給回路に直列に挿入された抵抗によって分圧し低減して供給するように構成した。
その結果、ルビジウムランプを点灯させるための高電圧スパーク回路を用いることなく、ランプを点灯させることができる。また、点灯中も、安定した低電位の電源電圧を供給することによって、ルビジウムガスとキャリアガスとの交互の発光によるブロッキング振動を防止して安定した発光を持続できる。
したがって、本発明によれば、小型で低価格、高安定なルビジウム原子発振器用のランプ励振器を実現する上で著しい効果を発揮する。Further, a power supply voltage during lighting of the rubidium lamp supplied to the LC oscillation circuit of the lamp exciter is connected in series to the power supply voltage supply circuit of the LC oscillation circuit based on a detection signal of the lighting light of the rubidium lamp. The pressure is divided and reduced to supply.
As a result, the lamp can be turned on without using a high voltage spark circuit for turning on the rubidium lamp. Further, even during lighting, by supplying a stable low-potential power supply voltage, it is possible to prevent blocking vibration caused by alternating light emission of the rubidium gas and the carrier gas and to maintain stable light emission.
Therefore, according to the present invention, a remarkable effect can be achieved in realizing a lamp exciter for a rubidium atomic oscillator that is small, inexpensive, and highly stable.
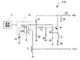
本発明を図面に示した実施の形態に基づいて説明する。図1は、本発明に係わるランプ励振器の実施の一形態例を示す構成概要図である。
同図に示されるように、本ランプ励振器100は、発振用トランジスタQ1、図示しないヒーター及び温度制御回路11によって所定の温度に制御された熱筒12に収容されたルビジウムランプLP1に巻かれた励振コイルL1、トリマコンデンサC1、コンデンサC2、C3及びコイルL3から成るコルピッツ型のLC発振回路13と、バッファアンプIC1、リレーRL1及び抵抗R5から成る電圧制御回路14と、で構成される。抵抗R1、R2、R3、R4及びL2は、発振用トランジスタQ1のバイアス回路を構成し、コンデンサC4、C5、C6、及びコイルL4は直流電源Vccのノイズ除去のための部品で有り、また、抵抗R6は、前記リレーRL1の電流制限用抵抗である。The present invention will be described based on the embodiments shown in the drawings. FIG. 1 is a schematic configuration diagram showing an embodiment of a lamp exciter according to the present invention.
As shown in the figure, the
そして、前記LC発振回路13の各構成部位は、励振コイルL1及びルビジウムランプLP1を除いて、発振用トランジスタQ1、温度制御回路11、熱筒12、トリマコンデンサC1、コンデンサC2、C3、C4、抵抗R1、R2、R3、R4及びコイルL2、L3は、図4に示したものと同一の構成、機能を有する。
したがって、従来のものと同一の符号を有する各構成部位の機能・動作の説明は省略する。The components of the
Therefore, description of the function and operation of each component having the same reference numerals as those of the conventional one is omitted.
前記電圧制御回路14は次のように動作する。同図に示されるように、直流電源Vccは、コイルL4、抵抗R5を経る経路、あるいはコイルL4、リレーRL1の常時閉路接点(a−b)を経る経路の2通りの経路でLC発振回路13へ供給される。
また、前記リレーRL1のリレー駆動回路端(c−d)には、該リレーRL1を駆動する電流を供給するバッファアンプIC1と電流制限用抵抗R6とが接続され、前記バッファアンプIC1には図示しないランプ点灯光検出回路から検出信号が入力される。The
Further, a buffer amplifier IC1 for supplying a current for driving the relay RL1 and a current limiting resistor R6 are connected to a relay drive circuit end (cd) of the relay RL1, and the buffer amplifier IC1 is not illustrated. A detection signal is input from the lamp lighting light detection circuit.
まず、本ランプ励振器100が動作を開始して前記ルビジウムランプLP1が非点灯の状態を考える。電源電圧VccがコイルL4、リレーRL1の常時閉路接点(a−b)を介して、LC発振回路13に供給されると、LC発振回路13は発振を起動する。この結果、励振コイルL1がルビジウムランプLP1を励振するのでルビジウムランプLP1が点灯する。First, consider a state in which the
次に、ルビジウムランプLP1が点灯した状態を考える。ルビジウムランプLP1が点灯すると、前記ランプ点灯光検出回路はルビジウムランプLP1の点灯を検出し、検出電圧をバッファアンプIC1に出力する。バッファアンプIC1は前記検出電圧に応じリレーRL1に駆動電流を出力する。
その結果、リレーRL1が動作して常時閉路接点(a−b)が開放するので、電源電圧VccはコイルL4、抵抗R5を経て、LC発振回路13に供給される。このときLC発振回路13には、抵抗R5と該LC発振回路13の抵抗分によって分圧された電圧が加わる。Next, consider a state in which the rubidium lamp LP1 is lit. When the rubidium lamp LP1 is lit, the lamp lighting light detection circuit detects the lighting of the rubidium lamp LP1 and outputs a detection voltage to the buffer amplifier IC1. The buffer amplifier IC1 outputs a drive current to the relay RL1 according to the detected voltage.
As a result, the relay RL1 operates and the normally closed contact (ab) is opened, so that the power supply voltage Vcc is supplied to the
次に、前記ルビジウムランプLP1に巻かれた励振コイルL1の構造について説明する。
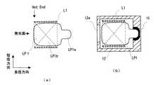
図2は、本発明に係わる励振コイルが巻かれたルビジウムランプの構造例を説明する模式図で、(a)はルビジウムランプの断面図、(b)は(a)のランプを熱筒に収容したときの断面図を示したものである。
同図(a)に示すように、前記ルビジウムランプLP1は、その断面が長円形の形状を有する球形のランプであり、長径方向の一端にチップ部LP1aを備えている。
そして、励振コイルL1は、ルビジウムランプLP1の短径方向の径が太い部分(以降、発光部という)LP1bのみに巻線が施され、コイルの一端( Hot End 側)が発光部のランプ端部(発光面)と一致するような巻線の配置としている。また、前記チップ部には巻線を施さないようにしている。Next, the structure of the excitation coil L1 wound around the rubidium lamp LP1 will be described.
2A and 2B are schematic views for explaining an example of the structure of a rubidium lamp around which an excitation coil according to the present invention is wound. FIG. 2A is a sectional view of the rubidium lamp, and FIG. 2B is a case where the lamp of FIG. FIG. 3 is a cross-sectional view when
As shown in FIG. 2A, the rubidium lamp LP1 is a spherical lamp having an oval cross section, and has a tip portion LP1a at one end in the major axis direction.
The excitation coil L1 is wound only on a portion of the rubidium lamp LP1 whose diameter in the minor axis direction is thick (hereinafter referred to as a light emitting portion) LP1b, and one end (hot end side) of the coil is the lamp end portion of the light emitting portion. The windings are arranged so as to coincide with the (light emitting surface). Further, no winding is applied to the chip portion.
なお、コイルの Hot End(ホットエンド) とは、コイルの両端のうち、高周波電圧の高い側を言い、例えば、図1に示した本実施例では、トリマコンデンサC1の容量値を小さくしてそのインピーダンスを高くすることによって、励振コイルL1のトリマコンデンサC1接続側をコイルの Hot End としている。
また、同図(b)に示すように、前記ルビジウムランプLP1は、出力光窓12aを備えた熱筒12に、発光部と出力光窓12aとが対面するように配置され、チップ部LP1aと該熱筒12の壁面とを熱伝導性接着剤15で固着している。Note that the hot end of the coil refers to the high-frequency voltage side of both ends of the coil. For example, in this embodiment shown in FIG. 1, the trimmer capacitor C1 has a smaller capacitance value. By increasing the impedance, the trimmer capacitor C1 connection side of the excitation coil L1 is used as the hot end of the coil.
Further, as shown in FIG. 4B, the rubidium lamp LP1 is arranged on the
上述のように、前記チップ部LP1aが熱伝導性接着剤15で熱筒12に固着されているため、ランプ励振器100の電源を断としたとき、ルビジウムランプLP1は発光部LP1bよりもチップ部LP1aの方が先に冷却される。このため、ルビジウムランプLP1に封入されて気化していたルビジウム原子は、チップ部LP1aに液化状態で再凝縮することになる。
また、ルビジウムランプLP1の放電中も、一部気化せずに残った液化状態のルビジウム原子(余剰分)は、このチップ部LP1aに留まってランプの発光部LP1bの方向へ流れ出すことがない。
即ち、ルビジウムランプLP1のチップ部LP1aは、余剰分のルビジウム原子溜りとして機能している。As described above, since the chip portion LP1a is fixed to the
Further, even during the discharge of the rubidium lamp LP1, liquefied rubidium atoms (excess) remaining without being partially evaporated remain in the tip portion LP1a and do not flow out toward the light emitting portion LP1b of the lamp.
That is, the tip portion LP1a of the rubidium lamp LP1 functions as a surplus rubidium atom reservoir.
また、ランプ励振器100のLC発振回路13の電源は、ルビジウムランプLP1の点灯時(放電開始時)には電圧Vccが供給され、点灯中は電圧Vccよりも低減された電圧が供給される。
即ち、点灯時には放電に必要な電力を励振コイルL1に供給し、点灯後には点灯を維持するに充分なレベルまで電力を低減している。
一般に、ランプ点灯中に大電力で強い電界をルビジウム原子やキャリアガスに加え続けると、ブロッキング振動の原因となることが知られている。したがって、本発明は、ルビジウムランプL1点灯用のスパーク発生回路を不要とし、ブロッキング振動を防止できるので、その効果は大きい。The power source of the
That is, the power required for discharging is supplied to the excitation coil L1 during lighting, and the power is reduced to a level sufficient to maintain lighting after lighting.
In general, it is known that if a strong electric field with a large electric power is continuously applied to rubidium atoms or a carrier gas while the lamp is lit, blocking vibration will be caused. Therefore, the present invention has a great effect because the spark generating circuit for lighting the rubidium lamp L1 is unnecessary and blocking vibration can be prevented.
10・・ランプ励振器、11・・温度制御回路、12・・熱筒、12a・・出力光窓、
12b・・ブラケット、13・・コルピッツ型のLC発振回路、14・・電圧制御回路、
15・・熱電導性接着剤、100・・ランプ励振器
C1・・トリマコンデンサ、C2、C3、C4、C5、C6・・コンデンサ、
IC1・・バッファアンプ、L1・・励振コイル、L2、L3、L4・・コイル、
L5・・励振コイル、LP1、LP2・・ルビジウムランプ、LP1a・・チップ部、
LP2b・・発光部、Q1・・発振用トランジスタ、
R1、R2、R3、R4、R5、R6・・抵抗、RL1・・リレー、T1・・トランス
10 .. Lamp exciter, 11 .... Temperature control circuit, 12 .... Heat cylinder, 12a ... Output light window,
12b ··· Bracket, 13 · · Colpitts type LC oscillation circuit, 14 · · Voltage control circuit,
15 .. Thermoconductive adhesive, 100 .. Lamp exciter C1 .. Trimmer capacitor, C2, C3, C4, C5, C6 .. Capacitor,
IC1, buffer amplifier, L1, excitation coil, L2, L3, L4, coil
L5 ... Excitation coil, LP1, LP2 ... Rubidium lamp, LP1a ... Tip part,
LP2b..light emitting part, Q1..transistor for oscillation,
R1, R2, R3, R4, R5, R6 ... Resistance, RL1, Relay, T1, Transformer
| Application Number | Priority Date | Filing Date | Title |
|---|---|---|---|
| JP2005282833AJP4591298B2 (en) | 2005-09-28 | 2005-09-28 | Lamp exciter for rubidium atomic oscillator circuit |
| Application Number | Priority Date | Filing Date | Title |
|---|---|---|---|
| JP2005282833AJP4591298B2 (en) | 2005-09-28 | 2005-09-28 | Lamp exciter for rubidium atomic oscillator circuit |
| Publication Number | Publication Date |
|---|---|
| JP2007096702Atrue JP2007096702A (en) | 2007-04-12 |
| JP2007096702A5 JP2007096702A5 (en) | 2008-09-25 |
| JP4591298B2 JP4591298B2 (en) | 2010-12-01 |
| Application Number | Title | Priority Date | Filing Date |
|---|---|---|---|
| JP2005282833AExpired - Fee RelatedJP4591298B2 (en) | 2005-09-28 | 2005-09-28 | Lamp exciter for rubidium atomic oscillator circuit |
| Country | Link |
|---|---|
| JP (1) | JP4591298B2 (en) |
| Publication number | Priority date | Publication date | Assignee | Title |
|---|---|---|---|---|
| JP2014003225A (en)* | 2012-06-20 | 2014-01-09 | Seiko Epson Corp | Atomic oscillator and electronic device |
| JP2016029362A (en)* | 2014-07-24 | 2016-03-03 | セイコーエプソン株式会社 | Gas cell and magnetic measuring device |
| US9350368B2 (en) | 2013-09-26 | 2016-05-24 | Seiko Epson Corporation | Atomic cell, atomic resonance transition device, atomic oscillator, electronic apparatus, and moving object |
| JP2019212863A (en)* | 2018-06-08 | 2019-12-12 | 株式会社ミツトヨ | Light absorbing device and laser device |
| Publication number | Priority date | Publication date | Assignee | Title |
|---|---|---|---|---|
| JPS5529573U (en)* | 1978-08-18 | 1980-02-26 | ||
| JPS5583276A (en)* | 1978-12-19 | 1980-06-23 | Seiko Epson Corp | Circuit for exciting light pumping source |
| JPS59207747A (en)* | 1983-05-10 | 1984-11-24 | Fujitsu Ltd | Light source lamp exciter for atomic oscillator |
| JPH01158785A (en)* | 1987-12-15 | 1989-06-21 | Fujitsu Ltd | Lamp exciter for rubidium atomic oscillator |
| JPH11504470A (en)* | 1994-12-27 | 1999-04-20 | エフラトム タイム アンド フリークエンシー プロダクツ インコーポレイテッド | Ramp oscillator for atomic frequency standards |
| Publication number | Priority date | Publication date | Assignee | Title |
|---|---|---|---|---|
| JPS5529573U (en)* | 1978-08-18 | 1980-02-26 | ||
| JPS5583276A (en)* | 1978-12-19 | 1980-06-23 | Seiko Epson Corp | Circuit for exciting light pumping source |
| JPS59207747A (en)* | 1983-05-10 | 1984-11-24 | Fujitsu Ltd | Light source lamp exciter for atomic oscillator |
| JPH01158785A (en)* | 1987-12-15 | 1989-06-21 | Fujitsu Ltd | Lamp exciter for rubidium atomic oscillator |
| JPH11504470A (en)* | 1994-12-27 | 1999-04-20 | エフラトム タイム アンド フリークエンシー プロダクツ インコーポレイテッド | Ramp oscillator for atomic frequency standards |
| Publication number | Priority date | Publication date | Assignee | Title |
|---|---|---|---|---|
| JP2014003225A (en)* | 2012-06-20 | 2014-01-09 | Seiko Epson Corp | Atomic oscillator and electronic device |
| US9350368B2 (en) | 2013-09-26 | 2016-05-24 | Seiko Epson Corporation | Atomic cell, atomic resonance transition device, atomic oscillator, electronic apparatus, and moving object |
| JP2016029362A (en)* | 2014-07-24 | 2016-03-03 | セイコーエプソン株式会社 | Gas cell and magnetic measuring device |
| JP2019212863A (en)* | 2018-06-08 | 2019-12-12 | 株式会社ミツトヨ | Light absorbing device and laser device |
| JP7132756B2 (en) | 2018-06-08 | 2022-09-07 | 株式会社ミツトヨ | Light absorption device and laser device |
| Publication number | Publication date |
|---|---|
| JP4591298B2 (en) | 2010-12-01 |
| Publication | Publication Date | Title |
|---|---|---|
| HU221364B1 (en) | High-pressure discharge lamp with an auxiliary ignition electrode as well as circuitry and process for operation | |
| US20070145909A1 (en) | Inductively-powered gas discharge lamp circuit | |
| JP4591298B2 (en) | Lamp exciter for rubidium atomic oscillator circuit | |
| US7821208B2 (en) | Inductively-powered gas discharge lamp circuit | |
| US5990632A (en) | Excitation circuit for an electrodeless lamp including a pulsed power source | |
| US4876485A (en) | Ballast for ionic conduction lamps | |
| US5886478A (en) | Integral igniter for electrodeless lamps | |
| JPH0645082A (en) | Electrodeless discharge lamp lighting device | |
| JP2006147454A (en) | Electrodeless discharge lamp device | |
| JP5227112B2 (en) | Electrodeless discharge lamp lighting device and lighting apparatus using the same | |
| JPH0646599B2 (en) | Electrodeless discharge lamp device | |
| JP2619392B2 (en) | Electrodeless discharge lamp lighting device | |
| JP3887862B2 (en) | Electrodeless discharge lamp lighting device | |
| JP5174440B2 (en) | Electrodeless discharge lamp lighting device and lighting fixture | |
| JP4438249B2 (en) | Electrodeless discharge lamp lighting device | |
| JP5330768B2 (en) | Electrodeless discharge lamp lighting device and lighting apparatus using the same | |
| JP2004524669A (en) | Circuit arrangement for a discharge lamp having a resonant half-bridge converter driven by a class E drive circuit | |
| JPH06111968A (en) | Electrodeless lamp lighting device | |
| JP4165151B2 (en) | Electrodeless discharge lamp lighting device | |
| JPH09283291A (en) | Electrodeless discharge lamp lighting device and lighting device | |
| JPH10162980A (en) | Electrodeless discharge lamp lighting device | |
| JPH0765976A (en) | Electrodeless discharge lamp lighting device and lighting equipment | |
| JPH10228985A (en) | Electrodeless discharge lamp lighting device | |
| JP2001093684A (en) | External electrode type discharge lamp device | |
| JPH062598U (en) | Electrodeless discharge lamp lighting device |
| Date | Code | Title | Description |
|---|---|---|---|
| RD04 | Notification of resignation of power of attorney | Free format text:JAPANESE INTERMEDIATE CODE: A7424 Effective date:20070404 | |
| A521 | Written amendment | Free format text:JAPANESE INTERMEDIATE CODE: A523 Effective date:20080807 | |
| A621 | Written request for application examination | Free format text:JAPANESE INTERMEDIATE CODE: A621 Effective date:20080807 | |
| RD03 | Notification of appointment of power of attorney | Free format text:JAPANESE INTERMEDIATE CODE: A7423 Effective date:20080807 | |
| A977 | Report on retrieval | Free format text:JAPANESE INTERMEDIATE CODE: A971007 Effective date:20100204 | |
| A131 | Notification of reasons for refusal | Free format text:JAPANESE INTERMEDIATE CODE: A131 Effective date:20100209 | |
| A521 | Written amendment | Free format text:JAPANESE INTERMEDIATE CODE: A523 Effective date:20100408 | |
| A131 | Notification of reasons for refusal | Free format text:JAPANESE INTERMEDIATE CODE: A131 Effective date:20100518 | |
| A521 | Written amendment | Free format text:JAPANESE INTERMEDIATE CODE: A523 Effective date:20100720 | |
| TRDD | Decision of grant or rejection written | ||
| A01 | Written decision to grant a patent or to grant a registration (utility model) | Free format text:JAPANESE INTERMEDIATE CODE: A01 Effective date:20100817 | |
| A01 | Written decision to grant a patent or to grant a registration (utility model) | Free format text:JAPANESE INTERMEDIATE CODE: A01 | |
| A61 | First payment of annual fees (during grant procedure) | Free format text:JAPANESE INTERMEDIATE CODE: A61 Effective date:20100830 | |
| FPAY | Renewal fee payment (event date is renewal date of database) | Free format text:PAYMENT UNTIL: 20130924 Year of fee payment:3 | |
| R150 | Certificate of patent or registration of utility model | Ref document number:4591298 Country of ref document:JP Free format text:JAPANESE INTERMEDIATE CODE: R150 Free format text:JAPANESE INTERMEDIATE CODE: R150 | |
| FPAY | Renewal fee payment (event date is renewal date of database) | Free format text:PAYMENT UNTIL: 20130924 Year of fee payment:3 | |
| S111 | Request for change of ownership or part of ownership | Free format text:JAPANESE INTERMEDIATE CODE: R313111 | |
| FPAY | Renewal fee payment (event date is renewal date of database) | Free format text:PAYMENT UNTIL: 20130924 Year of fee payment:3 | |
| R371 | Transfer withdrawn | Free format text:JAPANESE INTERMEDIATE CODE: R371 | |
| FPAY | Renewal fee payment (event date is renewal date of database) | Free format text:PAYMENT UNTIL: 20130924 Year of fee payment:3 | |
| S111 | Request for change of ownership or part of ownership | Free format text:JAPANESE INTERMEDIATE CODE: R313111 | |
| FPAY | Renewal fee payment (event date is renewal date of database) | Free format text:PAYMENT UNTIL: 20130924 Year of fee payment:3 | |
| R350 | Written notification of registration of transfer | Free format text:JAPANESE INTERMEDIATE CODE: R350 | |
| S531 | Written request for registration of change of domicile | Free format text:JAPANESE INTERMEDIATE CODE: R313531 | |
| R350 | Written notification of registration of transfer | Free format text:JAPANESE INTERMEDIATE CODE: R350 | |
| LAPS | Cancellation because of no payment of annual fees |