





本発明は、情報が改変されているか否かの検証を可能にする改変検知システムに関するものである。 The present invention relates to a modification detection system that enables verification of whether or not information has been modified.
近年、被写体の光学像をデジタル化して記憶するデジタルカメラが実用化されている。 In recent years, digital cameras that digitize and store optical images of subjects have been put into practical use.
デジタルカメラで撮影された画像データは、パーソナルコンピュータに取り込むことが簡単にできる反面、パーソナルコンピュータ上で簡単に改変することができるという問題があった。そのため、デジタルカメラで撮影された画像データの信頼性は、銀塩写真よりも低く、証拠能力が乏しいという問題があった。そこで、近年、デジタルカメラで撮影された画像データにデジタル署名を付加し、情報が改変されているか否かを検証可能な機能を有する改変検知システムが提案されている。デジタルカメラを用いた従来の改変検知システムは、例えば、米国特許第5,499,294、特開平9−200730号に開示されている。
デジタルカメラで撮影された画像データには、撮影情報や画像処理情報といった多くのメタデータが付加されており、これらメタデータに対して編集が行われることも少なくない。しかしながら、従来の改変検知システムでは、検証データを付加したファイルに対し編集が行われると無条件に改変と判断されるため、上記のような編集と改変検知は両立できないという問題があった。 A lot of metadata such as shooting information and image processing information is added to image data shot by a digital camera, and editing is often performed on these metadata. However, the conventional modification detection system has a problem that the editing and modification detection as described above cannot be performed at the same time, because it is determined that the modification is unconditionally performed when the file to which the verification data is added is edited.
本発明は、上述の問題を解決するためになされたものであり、検証データを含むファイルを読み込み、前記ファイルに対する編集後に改めて検証データを生成可能な改変検知システムを提供することを目的とする。 The present invention has been made to solve the above-described problems, and an object of the present invention is to provide a modification detection system that can read a file including verification data and generate verification data again after editing the file.
請求項1に記載の発明は,改変検知機能を有するシステムにおいて、改変検知に必要な検証データを含むファイルを読み込むファイル読み込み手段と、前記ファイルの改変後の情報に対する検証データを生成する検証データ生成手段と、前記ファイルに前記生成手段により得られた検証データを追記する記録手段とを備えて構成する。 The invention according to claim 1 is a system having a modification detection function, a file reading means for reading a file including verification data necessary for modification detection, and verification data generation for generating verification data for the modified information of the file And a recording means for appending the verification data obtained by the generating means to the file.
請求項2に記載の発明は,改変検知機能を有するシステムにおいて、改変検知に必要な検証データを含むファイルを読み込むファイル読み込み手段と、前記ファイルの改変後の情報に対する検証データを生成する検証データ生成手段と、前記ファイルの検証データを前記生成手段により得られた検証データに書き換える記録手段とを備えて構成する。 According to a second aspect of the present invention, in a system having a modification detection function, file reading means for reading a file including verification data necessary for modification detection, and verification data generation for generating verification data for information after modification of the file And a recording means for rewriting the verification data of the file with the verification data obtained by the generating means.
請求項3に記載の発明は,改変検知機能を有するシステムにおいて、改変検知に必要な検証データを含むファイルを読み込むファイル読み込み手段と、前記ファイルの改変後の情報に対する検証データを生成する検証データ生成手段と、前記ファイルとは別ファイルに記録する記録手段とを備えて構成する。 According to a third aspect of the present invention, in a system having a modification detection function, file reading means for reading a file including verification data necessary for modification detection, and verification data generation for generating verification data for information after modification of the file Means and recording means for recording in a file separate from the file.
請求項4に記載の発明は,改変検知機能を有するシステムにおいて、改変検知に必要な検証データを含むファイルを読み込むファイル読み込み手段と、前記ファイルの改変後の情報に対する検証データを生成する検証データ生成手段と、前記ファイルに対する検証データの履歴情報を記録する記録手段とを備えて構成する。 According to a fourth aspect of the present invention, there is provided a file reading means for reading a file including verification data required for detection of a change and a verification data generation for generating verification data for the information after the change of the file in a system having a change detection function. Means and recording means for recording history information of verification data for the file.
請求項1に記載の改変検知システムでは、デジタル署名付きの情報に対する編集後の情報から新たにデジタル署名を生成し、そのデジタル署名を追記することによって、容易にデジタル署名付き情報を再生成でき、かつ検証システムは編集後のデータに対する改変を検知できる。 In the alteration detection system according to claim 1, by newly generating a digital signature from information after editing the information with a digital signature and adding the digital signature, the information with the digital signature can be easily regenerated, In addition, the verification system can detect alterations to the edited data.
請求項2に記載の改変検知システムでは、デジタル署名付きの情報に対する編集後の情報から新たにデジタル署名を生成し、そのデジタル署名に書き換えることによって、情報量をむやみに増加させることなくデジタル署名付き情報を再生成でき、かつ検証システムは編集後のデータに対する改変を検知できる。 In the alteration detection system according to claim 2, a digital signature is newly generated from information after editing with respect to information with a digital signature, and the digital signature is rewritten to the digital signature so that the amount of information is not increased unnecessarily. Information can be regenerated and the verification system can detect changes to the edited data.
請求項3に記載の改変検知システムでは、デジタル署名付きの情報に対する編集後の情報から新たにデジタル署名を生成し、そのデジタル署名と編集後の情報から成る別ファイルに記録することによって、オリジナルのファイルを残しつつ、新たにデジタル署名付き情報を再生成でき、かつ検証システムは編集後のデータに対する改変を検知できる。 In the alteration detection system according to claim 3, a new digital signature is generated from the edited information with respect to the information with the digital signature, and is recorded in another file including the digital signature and the edited information. The digitally signed information can be newly regenerated while leaving the file, and the verification system can detect alterations to the edited data.
請求項4に記載の改変検知システムでは、1回以上のデジタル署名の生成が行われた情報に履歴情報を記録することによって、デジタル署名付き情報に対する編集の履歴を確認できる。 In the modification detection system according to the fourth aspect, the history of editing the information with the digital signature can be confirmed by recording the history information in the information in which the digital signature is generated one or more times.
(実施例1)
以下、図面を参照し、本発明に好適な第1の実施の形態を説明する。Example 1
Hereinafter, a first exemplary embodiment suitable for the present invention will be described with reference to the drawings.
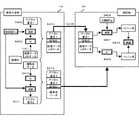
図1は、第1の実施の形態における改変検証システムの一構成例を説明する図である。 FIG. 1 is a diagram illustrating a configuration example of a modification verification system according to the first embodiment.
情報生成部10は、情報データを生成又は編集する機能と、前記情報データのデジタル署名を生成する機能と、デジタル署名付き情報ファイルを生成する機能とを有する。 The
検証部20は、デジタル署名を用いて情報データの完全性を検証し、情報データが改変されているか否かを検出する機能を有する。 The
情報生成部10及び検証部20は、デジタルカメラ、デジタルビデオカメラ、スキャナなどの撮像装置であっても、カメラユニットを有する電子機器であってもよい。さらには、画像読み取りユニットを有するファクシミリ装置、複写機などの電子機器やパーソナルコンピュータであってもよい。 The
図2は、本実施の形態における情報生成部10としてデジタルカメラを取り上げ、その主要な機能構成を説明するブロック図である。 FIG. 2 is a block diagram illustrating a main functional configuration of a digital camera as the
撮像部201は、CCD(電荷結合素子)などの光学センサーや各種処理プロセッサーを有し、ユーザや動作プログラムの指示に従って被写体の画像データを生成する撮像部である。 The
ハッシュ関数演算部202は、ハッシュ関数Hを用いて、画像データのハッシュ値(ダイジェストデータ)を生成する演算部である。なお、ハッシュ関数Hは、MD−2MD−5、SHA−1、RIPEMD−128及びRIPEMD−160の何れかであっても、その他のハッシュ関数であってもよい。 The hash
署名生成部204は、ハッシュ関数演算部202で生成されたダイジェストデータを秘密鍵Ksで演算処理し、画像データのデジタル署名を生成する演算部である。 The
メモリ205は、情報生成部10に固有の情報である固有ID(例えば、情報生成部10の製造番号、シリアル番号など)を記憶するメモリである。 The
画像ファイル生成部206は、画像データ及びデジタル署名を含む画像ファイル(デジタル署名付き画像ファイル)を生成する画像ファイル生成部である。デジタル署名は、例えば、画像ファイルのヘッダ部等に付加される。なお、デジタル署名付き画像ファイルのファイル形式は、JFIF(JPEG File Interchange Format)、TIFF(Tagged Image File Format)及びGIF(Graphics Interchange Format)の何れかであっても、それらを拡張したものであっても、他の画像ファイルフォーマットであってもよい。 The image
リムーバブルメディア207は、磁気ディスク、光ディスク、メモリカードなどのリムーバブルメディア(着脱可能な記憶媒体)である。 The
メディア制御部208は、リムーバブルメディア207にデジタル署名付き画像ファイルを格納する機能と、リムーバブルメディア207からデジタル署名付き画像ファイルを読み出す機能とを有するメディア制御部である。 The
インタフェース部209は、リムーバブルメディア207から読み出されたデジタル署名付き画像ファイルを検証部20に送信するインタフェース部である。 The
操作部210は、被写体の画像データの撮影または生成を指示するトリガースイッチなどを有する操作部である。 The
制御部211は、メモリとこれに記憶された制御プログラムを実行するマイクロコンピュータを有する制御部である。 The
図3は、本実施の形態における検証部20の主要な機能構成を説明するブロック図である。 FIG. 3 is a block diagram illustrating a main functional configuration of the
メディア制御部301は、リムーバブルメディア207からデジタル署名付き画像ファイルを読み出すメディア制御部である。 The
インタフェース部309は、情報生成部10から検証部20に送信されたデジタル署名付き画像ファイルを受信するインタフェース部である。 The
記憶部302は、デジタル署名付き画像ファイルを記憶する記憶部である。 The
ハッシュ関数演算部303は、ハッシュ関数Hを用いて、画像データのハッシュ値(ダイジェストデータ)を生成するハッシュ関数演算部である。 The hash
メモリ304は、テーブルT1を記憶するメモリである。テーブルT1は、複数の固有IDと、各固有IDに対応する公開鍵Kpを登録している管理テーブルである。 The
演算処理部305は、デジタル署名を公開鍵Kpで演算処理して、ダイジェストデータを生成する演算部である。 The
画像検証部306は、画像データが改変されているか否かを検証する画像検証部である。 The
表示部307は、画像検証部306での検証結果を示す表示情報を示す表示情報を表示する表示部である。 The
制御部308は、メモリとこれに記憶された制御プログラムを実行するマイクロコンピュータを有し、検証部20の各部の動作を制御する制御部である。 The
図4は、第1の実施の形態における改変検証システムの処理手順について説明する図である。 FIG. 4 is a diagram for explaining the processing procedure of the modification verification system according to the first embodiment.
ステップS401:撮像部201は、被写体の画像データを生成し、生成した画像データ及びメタデータをハッシュ関数演算部202及び画像ファイル生成部206に供給する。 Step S401: The
ステップS402:ハッシュ関数演算部202は、ハッシュ関数Hを用いて画像データのハッシュ値を生成し、生成したハッシュ値を署名生成部204に供給する。 Step S <b> 402: The hash
ステップS403:署名生成部204は、ダイジェストデータを秘密鍵Ksで演算処理し、画像データのデジタル署名を生成する。署名生成部204は、生成したデジタル署名1を画像ファイル生成部206に供給する。 Step S403: The
ステップS404:画像ファイル生成部206は、デジタル署名1、固有ID、画像データ及びメタデータを含む画像ファイル(デジタル署名付き画像ファイル)を生成し、生成した画像ファイルをメディア制御部208に供給する。メディア制御部208は、画像ファイル生成部206で生成されたデジタル署名付き画像ファイルをリムーバブルメディア207に書き込む。なお、デジタル署名付き画像ファイルは、1枚の画像データを生成するごとに生成されるものとする。 Step S404: The image
ステップS405:ユーザは、リムーバブルメディア207が記憶するデジタル署名付き画像ファイルをリムーバブルメディア207またはインタフェース部209を介して検証部20に入力する。リムーバブルメディア207を介して入力する場合、メディア制御部301はリムーバブルメディア207からデジタル署名付き画像ファイルを読み出し、読み出した画像ファイルを記憶部302に格納する。一方、インタフェース部209を介して入力する場合、インタフェース部309は情報生成部10から検証部20に送信されたデジタル署名付き画像ファイルを受信し、受信した画像ファイルを記憶部302に格納する。 Step S405: The user inputs an image file with a digital signature stored in the
ステップS406:演算処理部305は、メモリ304内のテーブルT1を参照し、固有IDに対応する公開鍵Kpを取得する。テーブルT1の一例を図5に示す。例えば、固有IDが「001」である場合、その固有IDに対応する公開鍵Kpは「0x3333」となる。このようにして検証部20は固有IDから公開鍵Kpを得る。 Step S406: The
ステップS407:演算処理部305は、デジタル署名を公開鍵Kpで演算処理して、ダイジェストデータを復元する。 Step S407: The
ステップS408:ハッシュ関数演算部303は、ハッシュ関数Hを用いて画像データのダイジェストデータを生成する。 Step S408: The hash
ステップS409:画像検証部306は、演算処理部305で復元されたダイジェストデータと、ハッシュ関数演算部303で生成されたダイジェストデータとを比較して、画像データが改変されているか否かを検証する。 Step S409: The
デジタル署名付き画像ファイルが改変されていない場合、2つのダイジェストデータは一致する。この場合、画像検証部306は「改変なし」と判定し、表示部307は画像データの改変が検出されなかったことを示す情報を表示する。 If the digitally signed image file has not been altered, the two digest data match. In this case, the
一方、デジタル署名付き画像ファイルが改変されている場合、ダイジェストデータは一致しない。この場合、画像検証部306は「改変あり」と判定し、表示部307は画像データの改変が検出されたことを示す表示情報を表示する。 On the other hand, digest data does not match when an image file with a digital signature is altered. In this case, the
以降のステップは、「改変なし」と判定された画像ファイルに対する編集がなされた場合の処理手順を示す。 The subsequent steps show a processing procedure when an image file determined to be “no modification” is edited.
ステップS410:編集した画像データ及びメタデータをハッシュ関数演算部202及び画像ファイル生成部206に供給する。 Step S410: The edited image data and metadata are supplied to the hash
ステップS411:前述のデジタル署名1の生成手順ステップS402からステップ404と同様に生成されたデジタル署名2を画像ファイル生成部206に供給する。 Step S411: The digital signature 2 generated in the same manner as in Step S402 to Step 404 described above is supplied to the image
ステップS412:画像ファイル生成部206は、デジタル署名1、デジタル署名2、固有ID、編集後の画像データ及びメタデータを含む画像ファイル(デジタル署名付き画像ファイル)を生成する。 Step S412: The image
以上説明したように、第1の実施の形態における改変検証システムによれば、デジタル署名付き画像ファイルに対して編集がなされたとしても、検証部20内にて改変なしと判定された画像ファイルに対しては、編集後の画像ファイルに対して改めてデジタル署名が追記されるため、編集後の画像ファイルの改変を検証できる。また、検証部にて改変なしであることを検証できるため、悪意ある改変も排除できる。 As described above, according to the modification verification system in the first embodiment, even if an image file with a digital signature is edited, the
本実施例では、検証用データとしてデジタル署名データを使用したが、これに限るものではなく、例えばMACデータを検証用データとして使用することが考えられる。この場合、情報生成部において画像データと、秘密情報A及び秘密情報Bから生成された秘密鍵Ksとを用いた演算を行うことでMACデータを生成し、該データを用いて検証データ付き画像ファイルを作成する。該演算としては、画像データのダイジェストデータに対して、暗号アルゴリズムによる演算処理等が考えられる。この時、秘密鍵Ksを鍵データとして使用する。 In this embodiment, the digital signature data is used as the verification data. However, the present invention is not limited to this. For example, it is conceivable to use MAC data as the verification data. In this case, the information generation unit generates MAC data by performing an operation using the image data and the secret key Ks generated from the secret information A and the secret information B, and uses the data to generate an image file with verification data. Create As the calculation, an arithmetic process using an encryption algorithm may be considered for digest data of image data. At this time, the secret key Ks is used as key data.
一方で検証部20において、検証データ付き画像ファイルからMACデータを抽出し、該データと画像データに対して情報生成部10と同じ演算を行うことで生成したMACデータとを比較を行い改ざん検出を行う。前記2つのMACデータが一致した場合には検証データ付き画像ファイルに対して改変が行われなかったと判断する。一方で、前記2つのMACデータが一致した場合には検証データ付き画像ファイルに対して改変が行われたと判断する。 On the other hand, the
MACデータを検証用データとする時には、情報生成部10と検証部20とは秘密鍵Ksを何らかの方法で秘密裏に共有する必要がある。 When the MAC data is used as verification data, the
また、本実施例では、情報生成部10と検証部20が別装置内にある場合について説明したが、情報生成部10及び検証部20は、同一装置内であっても別装置内であってもよい。 Moreover, although the present Example demonstrated the case where the
(実施例2)
図6は、第2の実施の形態における改変検証システムの処理手順について説明する図である。(Example 2)
FIG. 6 is a diagram for explaining the processing procedure of the modification verification system according to the second embodiment.
ステップS601:撮像部201は、被写体の画像データを生成し、生成した画像データ及びメタデータをハッシュ関数演算部202及び画像ファイル生成部206に供給する。 Step S601: The
ステップS602:ハッシュ関数演算部202は、ハッシュ関数Hを用いて画像データのハッシュ値を生成し、生成したハッシュ値を署名生成部204に供給する。 Step S <b> 602: The hash
ステップS603:署名生成部204は、ダイジェストデータを秘密鍵Ksで演算処理し、画像データのデジタル署名を生成する。署名生成部204は、生成したデジタル署名1を画像ファイル生成部206に供給する。 Step S603: The
ステップS604:画像ファイル生成部206は、デジタル署名1、固有ID、画像データ及びメタデータを含む画像ファイル(デジタル署名付き画像ファイル)を生成し、生成した画像ファイルをメディア制御部208に供給する。メディア制御部208は、画像ファイル生成部206で生成されたデジタル署名付き画像ファイルをリムーバブルメディア207に書き込む。なお、デジタル署名付き画像ファイルは、1枚の画像データを生成するごとに生成されるものとする。 Step S604: The image
ステップS605:ユーザは、リムーバブルメディア207が記憶するデジタル署名付き画像ファイルをリムーバブルメディア207またはインタフェース部209を介して検証部20に入力する。リムーバブルメディア207を介して入力する場合、メディア制御部301はリムーバブルメディア207からデジタル署名付き画像ファイルを読み出し、読み出した画像ファイルを記憶部302に格納する。一方、インタフェース部209を介して入力する場合、インタフェース部309は情報生成部10から検証部20に送信されたデジタル署名付き画像ファイルを受信し、受信した画像ファイルを記憶部302に格納する。 Step S605: The user inputs an image file with a digital signature stored in the
ステップS606:演算処理部305は、メモリ304内のテーブルT1を参照し、固有IDに対応する公開鍵Kpを取得する。テーブルT1の一例を図5に示す。例えば、固有IDが「001」である場合、その固有IDに対応する公開鍵Kpは「0x3333」となる。このようにして検証部20は固有IDから公開鍵Kpを得る。 Step S606: The
ステップS607:演算処理部305は、デジタル署名を公開鍵Kpで演算処理して、ダイジェストデータを復元する。 Step S607: The
ステップS608:ハッシュ関数演算部303は、ハッシュ関数Hを用いて画像データのダイジェストデータを生成する。 Step S608: The hash
ステップS609:画像検証部306は、演算処理部305で復元されたダイジェストデータと、ハッシュ関数演算部303で生成されたダイジェストデータとを比較して、画像データが改変されているか否かを検証する。 Step S609: The
デジタル署名付き画像ファイルが改変されていない場合、2つのダイジェストデータは一致する。この場合、画像検証部306は「改変なし」と判定し、表示部307は画像データの改変が検出されなかったことを示す情報を表示する。 If the digitally signed image file has not been altered, the two digest data match. In this case, the
一方、デジタル署名付き画像ファイルが改変されている場合、ダイジェストデータは一致しない。この場合、画像検証部306は「改変あり」と判定し、表示部307は画像データの改変が検出されたことを示す表示情報を表示する。 On the other hand, digest data does not match when an image file with a digital signature is altered. In this case, the
以降のステップは、「改変なし」と判定された画像ファイルに対する編集がなされた場合の処理手順を示す。 The subsequent steps show a processing procedure when an image file determined to be “no modification” is edited.
ステップS610:編集した画像データ及びメタデータをハッシュ関数演算部202及び画像ファイル生成部206に供給する。 Step S610: The edited image data and metadata are supplied to the hash
ステップS611:前述のデジタル署名1の生成手順ステップS602からステップ604と同様に生成されたデジタル署名2を画像ファイル生成部206に供給する。 Step S611: The digital signature 2 generated in the same manner as in Step S602 to Step 604 described above is supplied to the image
ステップS612:画像ファイル生成部206は、元のデジタル署名1に換わるデジタル署名2、固有ID、編集後の画像データ及びメタデータと、改変の履歴情報を含む画像ファイル(デジタル署名付き画像ファイル)を生成する。 Step S612: The image
以上説明したように、第2の実施の形態における改変検証システムによれば、デジタル署名付き画像ファイルに対して編集がなされたとしても、検証部20内にて改変なしと判定された画像ファイルに対しては、編集後の画像ファイルに対して生成されたデジタル署名に書き換えられ、さらに履歴情報が記録されるため、編集後の画像ファイルの改変の検証ができ、かつ改変の履歴を確認できる。 As described above, according to the modification verification system according to the second embodiment, even if an image file with a digital signature is edited, the
本実施例では、元の画像ファイルに記録されたデジタル署名1を、編集後のデータから生成されたデジタル署名2に書き換える手法を説明したが、元の画像ファイルは編集前のまま残し、別ファイルとして編集後のデータ、デジタル署名2等から成る画像ファイルを生成してもよい。 In the present embodiment, the method of rewriting the digital signature 1 recorded in the original image file with the digital signature 2 generated from the edited data has been described. However, the original image file is left as it is before editing, and another file is created. As an example, an image file composed of edited data, digital signature 2 and the like may be generated.
| Application Number | Priority Date | Filing Date | Title |
|---|---|---|---|
| JP2005268668AJP2007080071A (en) | 2005-09-15 | 2005-09-15 | System with alteration detection function |
| Application Number | Priority Date | Filing Date | Title |
|---|---|---|---|
| JP2005268668AJP2007080071A (en) | 2005-09-15 | 2005-09-15 | System with alteration detection function |
| Publication Number | Publication Date |
|---|---|
| JP2007080071Atrue JP2007080071A (en) | 2007-03-29 |
| Application Number | Title | Priority Date | Filing Date |
|---|---|---|---|
| JP2005268668AWithdrawnJP2007080071A (en) | 2005-09-15 | 2005-09-15 | System with alteration detection function |
| Country | Link |
|---|---|
| JP (1) | JP2007080071A (en) |
| Publication number | Priority date | Publication date | Assignee | Title |
|---|---|---|---|---|
| JP2008124668A (en)* | 2006-11-09 | 2008-05-29 | Canon Inc | Content editing apparatus and content verification apparatus |
| JP2008312064A (en)* | 2007-06-15 | 2008-12-25 | Canon Inc | Information processing apparatus, control method therefor, and computer program |
| JP2014239508A (en)* | 2007-12-20 | 2014-12-18 | エーティーアイ・テクノロジーズ・ユーエルシーAti Technologies Ulc | Method, apparatus, and mechanically readable recording medium for describing video processing |
| JPWO2021039055A1 (en)* | 2019-08-30 | 2021-03-04 |
| Publication number | Priority date | Publication date | Assignee | Title |
|---|---|---|---|---|
| JP2008124668A (en)* | 2006-11-09 | 2008-05-29 | Canon Inc | Content editing apparatus and content verification apparatus |
| JP2008312064A (en)* | 2007-06-15 | 2008-12-25 | Canon Inc | Information processing apparatus, control method therefor, and computer program |
| JP2014239508A (en)* | 2007-12-20 | 2014-12-18 | エーティーアイ・テクノロジーズ・ユーエルシーAti Technologies Ulc | Method, apparatus, and mechanically readable recording medium for describing video processing |
| US9628740B2 (en) | 2007-12-20 | 2017-04-18 | Ati Technologies Ulc | Method, apparatus and machine-readable medium for describing video processing |
| JPWO2021039055A1 (en)* | 2019-08-30 | 2021-03-04 | ||
| WO2021039055A1 (en)* | 2019-08-30 | 2021-03-04 | ソニー株式会社 | Imaging device, image data processing method, and program |
| JP7409385B2 (en) | 2019-08-30 | 2024-01-09 | ソニーグループ株式会社 | Imaging device, image data processing method, program |
| US11889204B2 (en) | 2019-08-30 | 2024-01-30 | Sony Group Corporation | Imaging device, image data processing method, and program |
| Publication | Publication Date | Title |
|---|---|---|
| JP3997085B2 (en) | Image generation device | |
| JP3884955B2 (en) | Image verification system and image verification apparatus | |
| JP4097773B2 (en) | Digital image editing system | |
| US7162637B2 (en) | Image verification system | |
| JP4520259B2 (en) | Multimedia recording apparatus, multimedia recording method, and multimedia recording system | |
| JP2000152148A (en) | Electronic camera | |
| KR100608168B1 (en) | Image generation device and verification data generation method | |
| JP5341615B2 (en) | Information processing apparatus and control method thereof | |
| JP2004310386A (en) | Image verification device, image verification method, computer program, and computer-readable recording medium | |
| US20030204736A1 (en) | Apparatus for authenticated recording and method therefor | |
| JP2006340363A (en) | Digital camera system with recyclable memory card | |
| JP5563361B2 (en) | Imaging apparatus, image storage method, and program | |
| JP2019205140A (en) | Imaging apparatus, information processing apparatus, generation method, and verification method | |
| JP2007080071A (en) | System with alteration detection function | |
| JP2001309159A (en) | Recording device | |
| JP2006191491A (en) | Information processing apparatus and method, program, and storage medium | |
| JP4143516B2 (en) | Image processing apparatus, image verification method, program, and storage medium | |
| JP4632445B2 (en) | Image file generation apparatus, image file generation method, program, and storage medium | |
| JP2006345450A (en) | Image verification system, imaging apparatus, and image verification apparatus | |
| JP4338190B2 (en) | Image processing apparatus, method, program, and recording medium | |
| JP4700542B2 (en) | Imaging device | |
| JP2006302299A (en) | Image verification device | |
| JP2004312500A (en) | Video camera | |
| JP2007067938A (en) | Verification system, electronic data generation apparatus, electronic data verification apparatus, and method thereof | |
| JP2024056698A (en) | Information terminal and program |
| Date | Code | Title | Description |
|---|---|---|---|
| A300 | Application deemed to be withdrawn because no request for examination was validly filed | Free format text:JAPANESE INTERMEDIATE CODE: A300 Effective date:20081202 |