






本発明は、R、G及びBの半導体光源の各色の光をそれぞれR、G及びBの画像信号に応じて変調してスクリーン上に投射する投射型表示装置に関する。 The present invention relates to a projection display device that modulates light of each color of R, G, and B semiconductor light sources in accordance with R, G, and B image signals and projects them onto a screen.
一般的に投射型表示装置の光源としては、発光効率が高く明るいランプが主流であり、このような投射型表示装置では、1つのランプの光をR(赤)、G(緑)、B(青)の3色に分光して各色をそれぞれR、G、Bの画像信号に応じて変調しているが、一方で発熱の問題の他に、寿命の問題などの欠点も持っている。一方、近年、LED(Light Emitting Diode:発光ダイオード)やOLED(Organic LED)、さらにはLD(Laser Diode)といった、従来のランプとは異なる半導体光源が著しく進歩している。特にLEDは青色発光が普及し、光の3原色が揃ったことや、蛍光体との組み合わせによる白色LEDの開発により、目覚ましい普及を遂げている。その市場は、従来のインジケータとしての使用などのみならず、一般照明や車のヘッドライトなどにも拡大しようとしている。一方、LDにおいては、SHG(二次高調波発生)を始めとした波長変換技術により、光の3原色を揃える試みが行われている。 In general, as a light source of a projection display device, a bright lamp with high luminous efficiency is mainstream. In such a projection display device, light from one lamp is R (red), G (green), B ( The color is divided into three colors (blue) and each color is modulated in accordance with the R, G, and B image signals. However, in addition to the problem of heat generation, it also has drawbacks such as a problem of life. On the other hand, in recent years, semiconductor light sources different from conventional lamps such as LEDs (Light Emitting Diodes), OLEDs (Organic LEDs), and LDs (Laser Diodes) have been remarkably advanced. In particular, LEDs emit blue light, and the three primary colors of light are aligned, and the development of white LEDs in combination with phosphors has made a remarkable spread. The market is expanding not only to use as a conventional indicator, but also to general lighting and car headlights. On the other hand, in LD, an attempt is made to align the three primary colors of light by wavelength conversion technology such as SHG (second harmonic generation).
通常、半導体光源はその発光スペクトルが狭く、支配的な発光波長が決まる。そこで白色を得るためには、LEDにおいては青色LEDと蛍光体を組み合わせた擬似白色といった方法もあるが、光の3原色に基づき青緑赤の3種類の発光スペクトルを持つものを、各色1個以上を使用して色合成することで白色光とする。一般的に青緑赤3種類の半導体光源を用いた方が、擬似白色よりも高い色純度が得られる。そして、これら半導体光源は、投射型表示装置の光源としても、従来使用されているランプに比べて演色性が高く、鮮やかな色の画像を得ることができる。また半導体光源はこのような演色性の高さに加えて、寿命が長い、瞬時に点灯するなどの点で従来のランプに勝っており、投射型表示装置の光源に使用する試みが盛んに行われている。ただし半導体光源は、発光効率は高いが投入できる電力に制限があるため、半導体光源1個ではランプに比べて光量が不足することがある。このような場合、要求される光量によっては、1つの色当たり複数個の半導体光源を使用する必要がある。 Usually, a semiconductor light source has a narrow emission spectrum and a dominant emission wavelength is determined. Therefore, in order to obtain white, there is a method such as a pseudo white that combines a blue LED and a phosphor in LED, but each color has three emission spectra of blue, green and red based on the three primary colors of light. Using the above, color synthesis is performed to obtain white light. Generally, the use of three types of blue, green, and red semiconductor light sources provides higher color purity than pseudo white. These semiconductor light sources have high color rendering properties as a light source of a projection display device, and can obtain a vivid color image. In addition to such high color rendering properties, semiconductor light sources are superior to conventional lamps in that they have a long lifespan and are lit instantly. Many attempts have been made to use them as light sources for projection display devices. It has been broken. However, although the semiconductor light source has high luminous efficiency, there is a limit to the power that can be input, so the amount of light may be insufficient with one semiconductor light source compared to the lamp. In such a case, depending on the amount of light required, it is necessary to use a plurality of semiconductor light sources per color.
そして、このような3色の半導体光源を色合成して用いるような投射型表示装置においては、例えば光の波長によって反射・透過が制御されるようなプリズムなどの手段を用いて、投射光学系に光が入射している。従来の技術では、半導体光源の光をレンズを始めとする光学素子を用いて整形した後に、プリズムなどの手段で光学系へ光を入射させている。例えば下記の特許文献1、2に見られるように、半導体光源を用いた光源装置がダイクロイックプリズムの面に対して、3色の光源装置の光軸が別個に垂直となるように配置されている。 In such a projection display device that uses three color semiconductor light sources by color synthesis, for example, a projection optical system is used by using means such as a prism whose reflection and transmission are controlled by the wavelength of light. The light is incident on. In the prior art, light from a semiconductor light source is shaped using an optical element such as a lens, and then light is incident on the optical system by means such as a prism. For example, as can be seen in
図7は特許文献2に記載されている従来の投射型装置の例を示す。ダイクロイックプリズム10は水平面において90°ずつの3方向からのR、G、Bの光を合成して投射レンズ11の方向に反射するように構成され、ダイクロイックプリズム10のR、G、Bの光の入射側にはそれぞれ、R、G、Bの赤色LED1R(以下単にLED1Rと示す)、緑色LED1G(以下単にLED1Gと示す)、青色LED1B(以下単にLED1Bと示す)、集光レンズ2、第1レンズアレイ3、第2レンズアレイ6、PBSプリズムアレイ14、重ね合わせレンズ7、コンデンサレンズ8、透過型液晶パネル9R、9G、9Bが直線上に配置されている。そして、LED1R、LED1G、LED1Bの背面にはそれぞれ、冷却器として放熱フィン12R、12G、12Bが取り付けられている。
ここで、半導体光源の特徴として、温度に対する問題がある。一般に半導体光源は投入された電力の全てが光エネルギーに変わるのではなく、かなりの割合で熱エネルギーとなる。半導体光源はその物性上、温度が上昇すると発光量や発光波長が変わったり、寿命が短くなるといった問題があるため、実際に使用する上で放熱や冷却について考慮する必要がある。具体的には、ヒートシンクやペルチェ素子などを用いた冷却器が半導体光源に取り付けられることとなる。通常この冷却器は効率良く冷却するために、半導体光源の光出射方向と反対の面に取り付けられる。そしてこのような冷却器は、半導体光源から発生した余分な熱を雰囲気中に効率的に逃がすために一定の体積と表面積を必要とする。普通、冷却器の体積は大きければ大きいほど、表面積が大きければ大きいほど冷却効率は高くなる傾向にある。 Here, as a feature of the semiconductor light source, there is a problem with respect to temperature. In general, a semiconductor light source does not convert all of the input electric power into light energy, but rather becomes thermal energy at a considerable rate. Because of the physical properties of semiconductor light sources, when the temperature rises, there are problems that the amount of emitted light and the wavelength of emitted light change and the lifespan is shortened. Therefore, it is necessary to consider heat dissipation and cooling in actual use. Specifically, a cooler using a heat sink or a Peltier element is attached to the semiconductor light source. Usually, this cooler is attached to the surface opposite to the light emitting direction of the semiconductor light source in order to cool efficiently. Such a cooler requires a certain volume and surface area to efficiently release excess heat generated from the semiconductor light source into the atmosphere. Usually, the larger the volume of the cooler and the larger the surface area, the higher the cooling efficiency.
このような冷却器が半導体光源に取り付けられ、従来の形のようにクロスダイクロイックプリズム10に対して別々の方向からストレートに光を入射させると、光学部品の占める割合に比べて、図3に示すように光学系全体が大きなものとなる。さらに、放熱のための、例えば放熱フィン12R、12G、12Bが設けられていると、各色の冷却器である放熱フィン12R、12G、12Bが別々の方向となるため、放熱のための空気の流れを作りづらくなる。 When such a cooler is attached to a semiconductor light source and light is incident straight on the cross
そこで本発明は、小型で容易にR、G及びBの半導体光源を冷却することができる投射型表示装置を提供することを目的とする。 SUMMARY OF THE INVENTION An object of the present invention is to provide a projection display device that is small and can easily cool R, G, and B semiconductor light sources.
本発明は上記目的を達成するために、R、G及びBの半導体光源と、前記半導体光源の各光をそれぞれR、G及びBの画像信号に応じて変調するR、G及びBの光変調素子と、前記光変調素子により変調されたR、G及びBの画像を合成してスクリーン上に投射する手段を備えた投射型表示装置において、
前記R、G及びBの半導体光源の熱をそれぞれ放熱するR、G及びBの放熱部が同方向に配置されることにより冷却のための空気の流れが同一方向に流れるよう構成されていることを特徴とする。In order to achieve the above object, the present invention provides R, G and B semiconductor light sources and R, G and B light modulations for modulating each light of the semiconductor light sources in accordance with R, G and B image signals, respectively. In a projection type display device comprising a device and means for synthesizing the R, G and B images modulated by the light modulation device and projecting them on the screen,
The R, G and B heat radiating portions for radiating the heat of the R, G and B semiconductor light sources are arranged in the same direction, so that the air flow for cooling flows in the same direction. It is characterized by.
本発明によれば、R、G及びBの半導体光源の熱をそれぞれ放熱するR、G及びBの放熱部が同方向に配置されることにより冷却のための空気の流れが同一方向に流れるよう構成されているので、放熱のための空気の流れを作りやすくなり、このため、小型で容易に半導体光源を冷却することができる。 According to the present invention, the R, G, and B heat radiating portions for radiating the heat of the R, G, and B semiconductor light sources are arranged in the same direction so that the cooling air flows in the same direction. Since it is comprised, it becomes easy to make the flow of the air for heat dissipation, and, for this reason, it is small and can cool a semiconductor light source easily.
以下、図面を参照して本発明の実施の形態について説明する。
<第1の実施の形態>
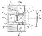
図1は本発明に係る投射型表示装置の第1の実施の形態を示す平面図、図2は図1における緑色LED1Gの主光軸13に沿った側面図である。図1、図2において、ダイクロイックプリズム10は水平面において90°ずつの3方向からのR、G、Bの光を合成して投射レンズ11の方向に反射するように構成されている。LED1R、LED1G、LED1BはそれぞれR、G、Bの光を下方に発光するように配置され、LED1R、LED1G、LED1Bの背面側すなわち上側にはそれぞれ冷却器として放熱フィン12R、12G、12Bが取り付けられている。LED1R、LED1G、LED1Bの上下方向の各光軸にはそれぞれ、集光レンズ2、第1レンズアレイ3、PBS(偏向ビームスプリッタ)プリズム4、平行平板ガラス5が配置され、R、G、Bの光はPBSプリズム4と平行平板ガラス5により水平方向に反射される。そして、その反射方向の各光軸にはそれぞれ、第2レンズアレイ6、重ね合わせレンズ7、コンデンサレンズ8、透過型液晶パネル9R、9G、9B、さらにダイクロイックプリズム10が直線上に配置されている。Embodiments of the present invention will be described below with reference to the drawings.
<First Embodiment>
FIG. 1 is a plan view showing a first embodiment of a projection display device according to the present invention, and FIG. 2 is a side view along the main
上記構成において、LED1R、LED1G、LED1Bより発したR、G、Bの光は、集光レンズ2で光の広がり角が整形され、第1レンズアレイ3、PBSプリズム4、平行平板ガラス5、1/2波長板が貼り合わされた第2レンズアレイ6、重ね合わせレンズ7、コンデンサレンズ8からなる偏光変換インテグレータを通過し、透過型液晶パネル9R、9G、9Bに偏光が入射する。入射した偏光は、それぞれの色における透過型液晶パネル9R、9G、9Bにより、R、G、Bの各映像信号に応じた変調を受け、その後ダイクロイックプリズム10により3色合成された後、投射レンズ11を通り、映像が不図示のスクリーン上に投射される。 In the above configuration, the light of R, G, B emitted from the
このような形で光学系を配置すると、R、G、Bの主光路が90°曲げられることで、放熱フィン12R、12G、12Bは同じ方向を向くこととなる。高さ方向に関しては従来の光学系より大きくなるが、通常、投射型表示装置は直方体を基本とした形状にまとめられるため、余剰の空間が減り、全体として小型化を図ることができる。加えて放熱フィン12R、12G、12Bが同じ方向を向いていることにより、放熱のための空気の流れが基本的に一方向だけ流せば良くなるため、空気の通り道を作る上でも小型化ができる。 When the optical system is arranged in such a manner, the main optical paths of R, G, and B are bent by 90 °, so that the radiation fins 12R, 12G, and 12B face the same direction. Although the height direction is larger than that of the conventional optical system, the projection type display device is usually combined into a shape based on a rectangular parallelepiped, so that an extra space is reduced and the overall size can be reduced. In addition, since the
<第2の実施の形態>
図3は本発明に係る投射型表示装置の第2の実施の形態を示す平面図、図4は図3における緑色LD15Gの主光軸13に沿った側面図である。第2の実施の形態の構成は、半導体光源としてLDを用いた点が第1の実施の形態と異なる。また、LDの冷却器12は一体で構成されている。図3、図4において、R、G、Bの赤色LD15R(以下単にLD15Rと示す)、緑色LD15G(以下単にLD15Gと示す)、青色LD15B(以下単にLD15Bと示す)は直線偏光で光を下方向に発し、LD15R、LD15G、LD15Bより発した光は第1レンズ16で光が広げられ、全反射ミラー19で光軸が90°曲げられ、次いで第2レンズ17で平行光とされ、次いで透過型液晶パネル9R、9G、9Bに偏光が入射する。入射した偏光は、それぞれの色における透過型液晶パネル9R、9G、9Bにより、R、G、Bの各映像信号に応じた変調を受け、その後ダイクロイックプリズム10により3色合成された後、投射レンズ11を通り、映像が不図示のスクリーン上に投射される。<Second Embodiment>
FIG. 3 is a plan view showing a second embodiment of the projection display apparatus according to the present invention, and FIG. 4 is a side view along the main
上記構成では、光学系の配置が一通り終わった後に、LD15R、LD15G、LD15Bに対して1つの共通の冷却器12を取り付ける。結果として冷却器12は、各色のLD15R、LD15G、LD15Bにおいて同じ方向を向くこととなる。高さ方向に関しては従来の光学系より大きくなるが、通常、投射型表示装置は直方体を基本とした形状にまとめられるため、余剰の空間が減り、全体として小型化を図ることができる。加えて冷却器12が同じ方向を向いていることにより、放熱のための空気の流れが基本的に一方向だけ流せば良くなるため、空気の通り道を作る上でも小型化ができる。加えてサイズの大きな冷却器を取り付けても投射型表示装置のシステム全体のサイズにはあまり影響を与えないため、冷却効率も向上する。また冷却器12が十分に大きければ、使用中に光学系に付着する埃に対するカバーにもなる。 In the above configuration, after the arrangement of the optical system is completed, one common cooler 12 is attached to the
<第3の実施の形態>
図5は本発明に係る投射型表示装置の第3の実施の形態を示す平面図、図6は図5における緑色LD15Gの主光軸13に沿った側面図である。第3の実施の形態の構成は、RGBの各光学系は水平方向に配置され、冷却器18R、18G、18Bのみが上を向くように配置されている。このとき、ヒートパイプを用いて、冷却器18R、18G、18Bの放熱部分の向きがLD15R、LD15G、LD15Bの発熱面に対して90°になるように取り付ける。LD15R、LD15G、LD15Bは直線偏光で光を水平方向に発し、LD15R、LD15G、LD15Bより発した光は第1レンズ16で光が広げられ、次いで第2レンズ17で平行光とされて透過型液晶パネル9R、9G、9Bに偏光が入射する。入射した偏光は、それぞれの色における透過型液晶パネル9R、9G、9BによりR、G、Bの各映像信号に応じた変調を受け、その後ダイクロイックプリズム10により3色合成された後、投射レンズ11を通り、映像が不図示のスクリーン上に投射される。<Third Embodiment>
FIG. 5 is a plan view showing a third embodiment of the projection display device according to the present invention, and FIG. 6 is a side view along the main
結果として冷却器18R、18G、18Bの放熱部分は、各色LDモジュールにおいて同じ方向を向くこととなる。高さ方向に関しては従来の光学系より大きくなるが、通常投射型表示装置は直方体を基本とした形状にまとめられるため、余剰の空間が減り、全体として小型化を図ることができる。加えて冷却器18R、18G、18Bが同じ方向を向いていることにより、放熱のための空気の流れが基本的に一方向だけ流せば良くなるため、空気の通り道を作る上でも小型化ができる。 As a result, the heat radiating portions of the
本実施の形態では、R、G及びBを光変調する素子として透過型液晶パネル9R、9G、9Bを用いた例で説明を行ったが、本発明はこれに限るものではなく、透過型液晶パネル9R、9G、9B以外にも、反射型液晶パネルやデジタルミラー方式のパネルやOLEDを用いた自発光パネルなど、他の投射型表示デバイスにおいても有効である。また冷却器の放熱部の向きは、厳密に同じである必要はなく、大体の向きがあっていればよい。 In the present embodiment, an example in which the transmissive
1B 青色LED
1G 緑色LED
1R 赤色LED
2 集光レンズ
3 第1レンズアレイ
4 PBS(偏向ビームスプリッタ)プリズム
5 平行平板ガラス
6 第2レンズアレイ
7 重ね合わせレンズ
8 コンデンサレンズ
9R、9G、9B 透過型液晶パネル
10 ダイクロイックプリズム
11 投射レンズ
12、18R、18G、18B 冷却器
12R、12G、12B 放熱フィン
13 主光軸
14 PBSプリズムアレイ
15B 青色LD
15G 緑色LD
15R 赤色LD
16 第1レンズ
17 第2レンズ
19 全反射ミラー
1B Blue LED
1G green LED
1R red LED
DESCRIPTION OF
15G green LD
15R red LD
16
| Application Number | Priority Date | Filing Date | Title |
|---|---|---|---|
| JP2005262215AJP2007072392A (en) | 2005-09-09 | 2005-09-09 | Projection display apparatus |
| Application Number | Priority Date | Filing Date | Title |
|---|---|---|---|
| JP2005262215AJP2007072392A (en) | 2005-09-09 | 2005-09-09 | Projection display apparatus |
| Publication Number | Publication Date |
|---|---|
| JP2007072392Atrue JP2007072392A (en) | 2007-03-22 |
| Application Number | Title | Priority Date | Filing Date |
|---|---|---|---|
| JP2005262215AWithdrawnJP2007072392A (en) | 2005-09-09 | 2005-09-09 | Projection display apparatus |
| Country | Link |
|---|---|
| JP (1) | JP2007072392A (en) |
| Publication number | Priority date | Publication date | Assignee | Title |
|---|---|---|---|---|
| JP2014514685A (en)* | 2011-03-08 | 2014-06-19 | ノバダック テクノロジーズ インコーポレイテッド | Full spectrum LED illuminator |
| WO2014171151A1 (en)* | 2013-04-18 | 2014-10-23 | パナソニック株式会社 | Projection-type image display device |
| WO2016047195A1 (en)* | 2014-09-26 | 2016-03-31 | 富士フイルム株式会社 | Projection display device and heat dissipation method |
| US9348208B2 (en) | 2008-01-22 | 2016-05-24 | Nikon Corporation | Projector having a light-emitting element, image forming unit and reflecting member |
| US9642532B2 (en) | 2008-03-18 | 2017-05-09 | Novadaq Technologies Inc. | Imaging system for combined full-color reflectance and near-infrared imaging |
| US10694152B2 (en) | 2006-12-22 | 2020-06-23 | Novadaq Technologies ULC | Imaging systems and methods for displaying fluorescence and visible images |
| US10869645B2 (en) | 2016-06-14 | 2020-12-22 | Stryker European Operations Limited | Methods and systems for adaptive imaging for low light signal enhancement in medical visualization |
| USD916294S1 (en) | 2016-04-28 | 2021-04-13 | Stryker European Operations Limited | Illumination and imaging device |
| US10980420B2 (en) | 2016-01-26 | 2021-04-20 | Stryker European Operations Limited | Configurable platform |
| US10992848B2 (en) | 2017-02-10 | 2021-04-27 | Novadaq Technologies ULC | Open-field handheld fluorescence imaging systems and methods |
| US11930278B2 (en) | 2015-11-13 | 2024-03-12 | Stryker Corporation | Systems and methods for illumination and imaging of a target |
| Publication number | Priority date | Publication date | Assignee | Title |
|---|---|---|---|---|
| US11025867B2 (en) | 2006-12-22 | 2021-06-01 | Stryker European Operations Limited | Imaging systems and methods for displaying fluorescence and visible images |
| US10694152B2 (en) | 2006-12-22 | 2020-06-23 | Novadaq Technologies ULC | Imaging systems and methods for displaying fluorescence and visible images |
| US10694151B2 (en) | 2006-12-22 | 2020-06-23 | Novadaq Technologies ULC | Imaging system with a single color image sensor for simultaneous fluorescence and color video endoscopy |
| US11770503B2 (en) | 2006-12-22 | 2023-09-26 | Stryker European Operations Limited | Imaging systems and methods for displaying fluorescence and visible images |
| US9348208B2 (en) | 2008-01-22 | 2016-05-24 | Nikon Corporation | Projector having a light-emitting element, image forming unit and reflecting member |
| US10779734B2 (en) | 2008-03-18 | 2020-09-22 | Stryker European Operations Limited | Imaging system for combine full-color reflectance and near-infrared imaging |
| US9642532B2 (en) | 2008-03-18 | 2017-05-09 | Novadaq Technologies Inc. | Imaging system for combined full-color reflectance and near-infrared imaging |
| JP2014514685A (en)* | 2011-03-08 | 2014-06-19 | ノバダック テクノロジーズ インコーポレイテッド | Full spectrum LED illuminator |
| US9435496B2 (en) | 2011-03-08 | 2016-09-06 | Novadaq Technologies Inc. | Full spectrum LED illuminator |
| US9814378B2 (en)* | 2011-03-08 | 2017-11-14 | Novadaq Technologies Inc. | Full spectrum LED illuminator having a mechanical enclosure and heatsink |
| US9664986B2 (en) | 2013-04-18 | 2017-05-30 | Panasonic Intellectual Property Management Co., Ltd. | Projection-type image display device with single fan |
| WO2014171151A1 (en)* | 2013-04-18 | 2014-10-23 | パナソニック株式会社 | Projection-type image display device |
| JP5838356B2 (en)* | 2013-04-18 | 2016-01-06 | パナソニックIpマネジメント株式会社 | Projection display device |
| US10168604B2 (en) | 2014-09-26 | 2019-01-01 | Fujifilm Corporation | Projection-type display device and heat dissipation method |
| JPWO2016047195A1 (en)* | 2014-09-26 | 2017-07-06 | 富士フイルム株式会社 | Projection display device and heat dissipation method |
| WO2016047195A1 (en)* | 2014-09-26 | 2016-03-31 | 富士フイルム株式会社 | Projection display device and heat dissipation method |
| US11930278B2 (en) | 2015-11-13 | 2024-03-12 | Stryker Corporation | Systems and methods for illumination and imaging of a target |
| US11298024B2 (en) | 2016-01-26 | 2022-04-12 | Stryker European Operations Limited | Configurable platform |
| US10980420B2 (en) | 2016-01-26 | 2021-04-20 | Stryker European Operations Limited | Configurable platform |
| USD916294S1 (en) | 2016-04-28 | 2021-04-13 | Stryker European Operations Limited | Illumination and imaging device |
| USD1065550S1 (en) | 2016-04-28 | 2025-03-04 | Stryker Corporation | Device for illumination and imaging of a target |
| US10869645B2 (en) | 2016-06-14 | 2020-12-22 | Stryker European Operations Limited | Methods and systems for adaptive imaging for low light signal enhancement in medical visualization |
| US11756674B2 (en) | 2016-06-14 | 2023-09-12 | Stryker European Operations Limited | Methods and systems for adaptive imaging for low light signal enhancement in medical visualization |
| US11140305B2 (en) | 2017-02-10 | 2021-10-05 | Stryker European Operations Limited | Open-field handheld fluorescence imaging systems and methods |
| US10992848B2 (en) | 2017-02-10 | 2021-04-27 | Novadaq Technologies ULC | Open-field handheld fluorescence imaging systems and methods |
| US12028600B2 (en) | 2017-02-10 | 2024-07-02 | Stryker Corporation | Open-field handheld fluorescence imaging systems and methods |
| Publication | Publication Date | Title |
|---|---|---|
| US11163226B2 (en) | Light source system and projection display apparatus | |
| JP5527058B2 (en) | Light source device and projector | |
| JP5874058B2 (en) | Light source device and projection display device | |
| JP5914878B2 (en) | Light source device and projection display device | |
| CN102549492B (en) | Light source device and projection display device using same | |
| US11190740B2 (en) | Projection display apparatus | |
| US10890835B2 (en) | Light conversion device, light source apparatus, and projection display apparatus with improved cooling efficiency | |
| US10698307B2 (en) | Wavelength conversion device, light source device, lighting apparatus, and projection image display apparatus | |
| JP6888381B2 (en) | Light source device and projector | |
| JPWO2016185850A1 (en) | Light conversion device, light source device, and projector | |
| US20150181179A1 (en) | Projector having light source including laser diodes | |
| US9817303B2 (en) | Light source device, illumination device and projector | |
| JPWO2016167110A1 (en) | Illumination device and projection display device | |
| WO2015155917A1 (en) | Light source device and image display device | |
| JP2007072392A (en) | Projection display apparatus | |
| JP7052475B2 (en) | Wavelength converters, light source devices and projectors | |
| JP2008181776A (en) | Light source device and projector | |
| JP2009086273A (en) | Light source element for projection type video display device and projection type video display device equipped with light source unit constituted of light source element | |
| JP6186877B2 (en) | Light source device and projector | |
| WO2018061897A1 (en) | Wavelength conversion device, light source device, and projector | |
| US20230236487A1 (en) | Light source apparatus and projector | |
| JP2009042703A (en) | Projection type image display device | |
| JP2018180077A (en) | Light source device and display device using the same | |
| US20210302815A1 (en) | Projector | |
| JP6052345B2 (en) | projector |
| Date | Code | Title | Description |
|---|---|---|---|
| A300 | Withdrawal of application because of no request for examination | Free format text:JAPANESE INTERMEDIATE CODE: A300 Effective date:20081202 |