



本発明は、デジタルカメラ等の電子機器に係り、より詳しくは、使用状況等に応じて増減する環境負荷を演算してユーザ等へ表示する機能を有する電子機器に関する。 The present invention relates to an electronic device such as a digital camera, and more particularly to an electronic device having a function of calculating and displaying to a user or the like an environmental load that increases or decreases according to usage conditions.
近年、地球資源保護および地球環境保護の観点から、家電製品、OA機器等の機器を製造するメーカ、これらの機器を使用するユーザに対して地球環境負荷の低減が強く求められるようになってきた。このような環境負荷を定量的に評価する手法としては、例えば、特許文献1に記載されているように、ライフサイクルアセスメント(LCA:Life Cycle Assessment)が注目されている。 In recent years, from the viewpoint of protecting global resources and protecting the global environment, manufacturers of equipment such as home appliances and OA equipment and users who use these equipment have been strongly required to reduce the global environmental load. . As a method for quantitatively evaluating such an environmental load, for example, as described in Patent Document 1, a life cycle assessment (LCA) has attracted attention.
LCAとは、製品およびサービスが、資源の採取から製品の製造、物流、使用、廃棄、リサイクルなどのライフサイクル全体にわたって、環境に及ぼす影響を客観的に評価する手法の一つである。LCAの原則は、国際標準化機構の規格ISO14040に明文化され、そのまま日本工業規格(JIS Q 14040)となっている。LCAは、製品などの全ライフサイクルの環境負荷の評価及び改善のためのツールとして注目されている。 LCA is one of methods for objectively evaluating the impact of products and services on the environment throughout the entire life cycle, from resource collection to product manufacture, distribution, use, disposal, and recycling. The principle of LCA is clearly stated in ISO 14040 of the International Organization for Standardization, and is directly used as Japanese Industrial Standard (JIS Q 14040). LCA is attracting attention as a tool for evaluating and improving the environmental load of the entire life cycle of products and the like.
ところで、デジタルカメラについても、LCAの手法を適用して環境負荷を定量的に評価することが考えられる。デジタルカメラの場合、製造時の環境負荷(製造環境負荷)については、製造メーカが素材、投入電力量等の環境負荷に影響を与えるファクターを把握し、これらを、例えばCO2の排出量に換算することにより定量的に把握することが可能である。これらを、例えばCO2の排出量に換算することにより定量的に把握することが可能である。その結果をインターネット上で公開するエコリーフ環境ラベル(http://www.jemai.or.jp/CACHE/ecoleaf_news.cfm)という制度も運用されている。また複写機等の基本的に一定の場所に固定された状態で使用される機器については、使用中の環境負荷を測定又は算出し、その結果をユーザに対して表示するという技術(例えば、特許文献1)、使用中の環境負荷を累積してメモリ等にデータとして蓄えておくという技術(例えば、特許文献2)も開示されている。By the way, it is conceivable to apply the LCA technique to the digital camera to quantitatively evaluate the environmental load. In the case of digital cameras, regarding the environmental impact during manufacturing (manufacturing environmental impact), the manufacturer grasps factors that affect the environmental impact such as materials and input power, and converts them into, for example, CO2 emissions. By doing so, it is possible to grasp quantitatively. These can be quantitatively grasped by converting them into CO2 emissions, for example. A system called Eco Leaf Environmental Label (http://www.jemai.or.jp/CACHE/ecoleaf_news.cfm) is also in operation. For equipment that is used in a fixed state such as a copying machine, a technique for measuring or calculating the environmental load during use and displaying the result to the user (for example, patents) Document 1) and a technique (for example, Patent Document 2) of accumulating environmental loads in use and storing them in a memory or the like are also disclosed.
しかし、電子機器単体では、環境に与える影響を評価する上で重要な、製造から廃棄まで含めた全ライフサイクルの環境負荷や製造からユーザーが購入した時点までの環境負荷を表示するものはなく、ユーザーが購入しようとした時に必要な環境負荷をその場で知ることはできなかった。またデジタルカメラ等の携帯型電子機器については、ユーザの購入場所や使用条件によって環境負荷が異なるが、それによる環境負荷の変化をユーザーが理解することはできなかった。
本発明の目的は、上記事実を考慮し、電子機器のライフサイクル全体や購入時点までの環境負荷をCO2排出量などに換算して表示しユーザーに環境負荷を正しく理解させることのできる電子機器を提供することにある。An object of the present invention is to allow the user to correctly understand the environmental load by considering the above facts and displaying the entire life cycle of the electronic device and the environmental load up to the point of purchase in terms of CO2 emissions. Is to provide.
本発明の請求項1に係る電子機器は、電子機器のライフサイクル全体に亘る全環境負荷またはその電子機器の素材製造の環境負荷、またはその電子機器の素材製造からユーザーが購入した時点までの環境負荷を記憶する環境負荷記憶手段と、前記環境負荷記憶手段に記憶された前記環境負荷を任意のタイミングで表示可能とされた環境負荷表示手段と、を有することを特徴とする。 The electronic device according to claim 1 of the present invention is the entire environmental load throughout the life cycle of the electronic device, the environmental load of manufacturing the material of the electronic device, or the environment from the manufacture of the material of the electronic device to the time of purchase by the user. Environmental load storage means for storing a load, and environmental load display means capable of displaying the environmental load stored in the environmental load storage means at an arbitrary timing.
上記請求項1に係る電子機器では、環境負荷表示手段が環境負荷記憶手段に記憶された環境負荷を任意のタイミングで表示可能とされたことにより、ユーザに対してステージ別環境負荷を表示できるので、ユーザの環境意識を高めると共に、環境意識の高いユーザに対しては商品価値を高めることができる。 In the electronic device according to the first aspect, since the environmental load display means can display the environmental load stored in the environmental load storage means at an arbitrary timing, the environmental load according to stage can be displayed to the user. In addition to enhancing the environmental awareness of the user, the product value can be increased for users with high environmental awareness.
本発明の請求項2に係る電子機器は、請求項1記載の電子機器において、前記環境負荷は、電子機器のライフサイクル全体の環境負荷をいくつかのステージ別に分割したことを特徴とする。 An electronic device according to a second aspect of the present invention is the electronic device according to the first aspect, wherein the environmental load is obtained by dividing the environmental load of the entire life cycle of the electronic device into several stages.
本発明の請求項3に係る電子機器は、請求項1又は2記載の電子機器において、前記環境負荷は、製造する際に生じる製造環境負荷、該電子機器を製造工場からユーザへ移送する際に生じる物流環境負荷、該電子機器を廃棄する際に生じる廃棄環境負荷、該電子機器の使用により生じる使用環境負荷のいずれか1つ、または2つ以上を合算したものを含むステージ別環境負荷であることを特徴とする。 The electronic device according to claim 3 of the present invention is the electronic device according to claim 1 or 2, wherein the environmental load is a manufacturing environmental load generated when manufacturing, and when the electronic device is transferred from a manufacturing factory to a user. Environmental impact by stage including any one of the environmental impact of physical distribution generated, the environmental impact of waste generated when the electronic device is discarded, the environmental load of use caused by the use of the electronic device, or the sum of two or more It is characterized by that.
本発明の請求項4に係る電子機器は、請求項3記載の電子機器において、前記ステージ別環境負荷をCO2排出量に換算して出力する環境負荷演算手段を有することを特徴とする。An electronic apparatus according to a fourth aspect of the present invention is the electronic apparatus according to the third aspect, further comprising an environmental load calculation means for converting the environmental load for each stage into a CO2 emission amount and outputting it.
上記請求項4に係る電子機器では、環境負荷演算手段が、ステージ別環境負荷をCO2排出量に換算して出力することにより、ユーザに対してステージ別環境負荷をCO2排出量として表示できるので、ユーザが電子機器の環境へ与える影響を容易に、かつ直感的に理解しやすくなる。In the electronic device according to the fourth aspect, the environmental load calculating means can display the environmental load by stage as the CO2 emission amount to the user by converting the environmental load by stage into the CO2 emission amount and outputting it. Therefore, the user can easily and intuitively understand the influence on the environment of the electronic device.
本発明の請求項5に係る電子機器は、請求項1乃至4の何れか1項記載の電子機器において、光学系を通して受光部に入射した光像を電子的な画像情報に変換する撮像手段を有し、前記環境負荷表示手段は、画像表示部に表示される画像を、前記画像情報に対応する撮影画像を表示する画像表示モード及び、前記環境負荷を表示する環境負荷表示モードのどちらか一方に切り替え、又は撮影画像に環境負荷を重ねて表示するモード設定部と、
前記環境負荷表示モードへの切替時に、前記環境負荷記憶手段に記憶された前記環境負荷を示す画像を前記画像表示部により表示させる表示制御部と、有することを特徴とする。An electronic apparatus according to a fifth aspect of the present invention is the electronic apparatus according to any one of the first to fourth aspects, wherein an imaging means for converting a light image incident on the light receiving section through the optical system into electronic image information. And the environmental load display means is configured to display either one of an image display mode for displaying a captured image corresponding to the image information and an environmental load display mode for displaying the environmental load. Or a mode setting unit that displays the environmental load superimposed on the captured image,
And a display control unit that causes the image display unit to display an image indicating the environmental load stored in the environmental load storage unit when switching to the environmental load display mode.
上記請求項5に係る電子機器では、表示制御部が、モード設定部による環境負荷表示モードへの切替時に、環境負荷記憶手段に記憶された環境負荷を示す画像を画像表示部により表示させることにより、撮像手段により撮像された撮像画像を表示するための画像表示部を用いて環境負荷を表示できる。 In the electronic device according to the fifth aspect, the display control unit causes the image display unit to display an image indicating the environmental load stored in the environmental load storage unit when the mode setting unit switches to the environmental load display mode. The environmental load can be displayed using the image display unit for displaying the captured image captured by the imaging unit.
本発明の請求項6に係る電子機器は、請求項3乃至5の何れか1項記載の電子機器において、前記環境負荷記憶手段には、前記製造環境負荷と、前記物流環境負荷と、前記廃棄環境負荷とが、それぞれ初期値として格納され、前記環境負荷演算手段は、電子機器の使用に伴う環境負荷の増加量を積算し、該積算値を使用環境負荷として前記環境負荷記憶手段に記憶させると共に、該使用環境負荷を、前記製造環境負荷、前記物流環境負荷及び前記廃棄環境負荷に加算して、前記全環境負荷を演算することを特徴とする。 The electronic device according to claim 6 of the present invention is the electronic device according to any one of claims 3 to 5, wherein the environmental load storage means includes the manufacturing environmental load, the physical distribution environmental load, and the disposal. The environmental load is stored as an initial value, and the environmental load calculation means accumulates the increase amount of the environmental load accompanying the use of the electronic device, and stores the accumulated value as the use environmental load in the environmental load storage means. In addition, the total environmental load is calculated by adding the usage environmental load to the manufacturing environmental load, the physical distribution environmental load, and the disposal environmental load.
上記請求項6に係る電子機器では、環境負荷演算手段が、電子機器の使用に伴う環境負荷の増加量を積算し、この積算値を使用環境負荷として環境負荷記憶手段に記憶させると共に、この使用環境負荷を、初期値として環境負荷記憶手段に格納された製造環境負荷、物流環境負荷及び廃棄環境負荷に加算して、全環境負荷を演算することにより、使用条件により変化(増減)する使用環境負荷及び全環境負荷を精度良く演算できる。 In the electronic device according to the sixth aspect, the environmental load calculation means integrates the increase amount of the environmental load accompanying the use of the electronic equipment, and stores the integrated value as the use environmental load in the environmental load storage means. Use environment that changes (increases / decreases) according to use conditions by calculating the total environmental load by adding the environmental load to the manufacturing environmental load, distribution environmental load, and disposal environmental load stored in the environmental load storage means as initial values Load and total environmental load can be calculated accurately.
本発明の請求項7に係る電子機器は、請求項6記載の電子機器において、前記環境負荷表示手段は、ユーザによる表示要求操作に応じて前記使用環境負荷、前記製造環境負荷、前記物流環境負荷、前記廃棄環境負荷及び前記全環境負荷の少なくとも一つの情報を選択的に表示することを特徴とする。 The electronic device according to a seventh aspect of the present invention is the electronic device according to the sixth aspect, wherein the environmental load display means performs the use environmental load, the manufacturing environmental load, and the physical distribution environmental load according to a display request operation by a user. , And selectively displaying at least one information of the waste environmental load and the total environmental load.
上記請求項7に係る電子機器では、ユーザによる表示要求操作に応じて製造環境負荷、物流環境負荷、使用環境負荷、廃棄環境負荷及び全環境負荷の少なくとも一つの情報を表示することにより、ユーザの要求に応じて環境負荷を全環境負荷並びに、使用環境負荷、製造環境負荷、物流環境負荷及び廃棄環境負荷の何れかのステージ毎に選択的に表示できる。 In the electronic device according to the seventh aspect, by displaying at least one information of manufacturing environmental load, physical distribution environmental load, use environmental load, disposal environmental load, and total environmental load according to a display request operation by the user, The environmental load can be selectively displayed at every stage of the total environmental load, use environmental load, manufacturing environmental load, physical distribution environmental load, and disposal environmental load as required.
本発明の請求項8に係る電子機器は、請求項6又は7記載の電子機器において、前記環境負荷表示手段は、電子機器の電源投入時に、前記使用時環境負荷及び電子機器の製造からユーザーが購入した時点までの環境負荷及び前記全環境負荷の少なくとも一つの情報を表示することを特徴とする。 An electronic device according to an eighth aspect of the present invention is the electronic device according to the sixth or seventh aspect, wherein the environmental load display means is configured such that when the electronic device is turned on, the user can determine the environmental load during use and the manufacture of the electronic device. At least one piece of information on the environmental load up to the point of purchase and the total environmental load is displayed.
上記請求項8に係る電子機器では、環境負荷表示手段が、電子機器の電源投入時に、使用時環境負荷及び電子機器の製造からユーザーが購入した時点までの環境負荷及び前記全環境負荷の少なくとも一つの情報を表示することにより、電子機器の使用開始時に、ユーザに対して環境負荷に対する意識を喚起することができる。 In the electronic device according to the eighth aspect, the environmental load display means includes at least one of the environmental load during use, the environmental load from the manufacture of the electronic device to the point of purchase by the user, and the total environmental load when the electronic device is turned on. By displaying one piece of information, the user can be conscious of the environmental load when starting to use the electronic device.
本発明の請求項9に係る電子機器は、前記環境負荷演算手段は、請求項6乃至8の何れか1項記載の電子機器において、前記環境負荷演算手段は、外部の情報処理装置と接続可能とされ、該情報処理装置と接続された状態で情報を通信可能とされた情報通信部を有し、前記情報処理装置により前記情報通信部に入力された設定情報に基づいて、前記使用環境負荷の増加量を演算するための演算係数の設定値を変更可能とされたことを特徴とする。 The electronic device according to claim 9 of the present invention is the electronic device according to any one of claims 6 to 8, wherein the environmental load calculation means is connectable to an external information processing apparatus. An information communication unit configured to be able to communicate information while being connected to the information processing apparatus, and based on the setting information input to the information communication unit by the information processing apparatus, It is possible to change a setting value of a calculation coefficient for calculating the amount of increase of.
上記請求項9に係る電子機器では、環境負荷演算手段が、外部の情報処理装置と接続可能とされ、該情報処理装置と接続された状態で情報を通信可能とされた情報通信部を有し、この情報処理装置により前記情報通信部に入力された設定情報に基づいて、使用環境負荷の増加量を演算するための演算係数の設定値を変更可能とされたことにより、外部環境の変化等により使用環境負荷の増加量を演算するための演算係数の設定値が変化した場合でも、変化した演算係数を新たな設定値として環境設定手段に設定できるので、使用環境負荷の演算精度の低下を防止できる。 In the electronic device according to the ninth aspect, the environmental load calculation means includes an information communication unit that can be connected to an external information processing apparatus and can communicate information while connected to the information processing apparatus. Based on the setting information input to the information communication unit by the information processing device, the setting value of the calculation coefficient for calculating the increase amount of the use environment load can be changed, thereby changing the external environment, etc. Even if the set value of the calculation coefficient for calculating the amount of increase in the use environmental load is changed, the changed calculation coefficient can be set as a new set value in the environment setting means. Can be prevented.
本発明の請求項10に係る電子機器は、請求項6乃至9の何れか1項記載の電子機器において、前記環境負荷演算手段は、電子機器における何らかの部品が交換された際に、前記情報処理装置により前記情報通信部に交換部品に対応する交換部品情報が入力されると、該交換部品情報に基づいて交換部品固有の環境負荷を演算し、該環境負荷を前記使用環境負荷に加算すること特徴とする。 An electronic device according to a tenth aspect of the present invention is the electronic device according to any one of the sixth to ninth aspects, wherein the environmental load calculation means is configured to perform the information processing when any part of the electronic device is replaced. When replacement part information corresponding to the replacement part is input to the information communication unit by the apparatus, the environmental load specific to the replacement part is calculated based on the replacement part information, and the environmental load is added to the use environmental load. Features.
上記請求項10に係る電子機器では、環境負荷演算手段が、電子機器における何らかの部品が交換された際に、情報処理装置により情報通信部に交換部品に対応する交換部品情報が入力されると、この交換部品情報に基づいて交換部品固有の環境負荷を演算し、この環境負荷を使用環境負荷に加算することにより、部品交換に伴う環境負荷の増加を使用環境負荷に反映させることができるので、消耗部品の交換、故障に伴った部品交換を行った場合にも、使用環境負荷の演算精度が低下することを防止できる。また修理をしないで新規に同種の電子機器を購入した場合と修理を行なった場合とで、全体の環境負荷がどのように変化するのか、把握することができるため、ユーザは環境負荷を低減させるために適切な判断をすることができるようになる。 In the electronic device according to
本発明の請求項11に係る電子機器は、請求項6乃至10の何れか1項記載の電子機器において、前記撮像手段による撮像時に画像を記録するために使用される記録画素数の設定値に応じて変化する使用環境負荷の増加量を、記録画素数の設定値毎に表示する負荷増加量表示手段を有することを特徴とする。 An electronic apparatus according to an eleventh aspect of the present invention is the electronic apparatus according to any one of the sixth to tenth aspects, wherein the set value of the number of recording pixels used for recording an image at the time of imaging by the imaging means is set. It is characterized by having a load increase amount display means for displaying the increase amount of the use environment load that changes in response to each set value of the number of recording pixels.
上記請求項11に係る電子機器では、負荷増加量表示手段が撮像手段による撮像時に画像を記録するために使用される記録画素数の設定値に応じて変化する使用環境負荷の増加量を記録画素数の設定値毎に表示することにより、ユーザが撮像時に記録画素数の設定値を変化させて撮像しようとする場合に、ユーザに対して記録画素数を必要以上に大きい値に設定せず、必要最小限の記録画素数を設定するように訴求できる。 In the electronic device according to the eleventh aspect, the load increase amount display unit displays the increase amount of the use environment load that changes in accordance with the set value of the number of recording pixels used for recording an image at the time of imaging by the imaging unit. By displaying for each set value of the number, when the user tries to take an image by changing the set value of the number of recorded pixels at the time of imaging, the recording pixel number is not set to a value larger than necessary for the user, You can appeal to set the minimum number of recorded pixels.
本発明の請求項12に係る電子機器は、請求項6乃至11の何れか1項記載の電子機器において、前記環境負荷演算手段は、電子機器に着脱可能に装填される電源の種類を検出する電源種類検出部を有し、該記電源種類検出部により検出された電源種類に応じて、電子機器の使用に伴う環境負荷の増加量を演算するための演算係数の設定値を変更可能とされたことを特徴とする。 An electronic device according to a twelfth aspect of the present invention is the electronic device according to any one of the sixth to eleventh aspects, wherein the environmental load calculating means detects the type of power source that is detachably loaded in the electronic device. It has a power supply type detection unit, and the setting value of the calculation coefficient for calculating the amount of increase in environmental load accompanying the use of the electronic device can be changed according to the power supply type detected by the power supply type detection unit. It is characterized by that.
上記請求項12に係る電子機器では、環境負荷演算手段が、電源種類検出部により検出された電源種類に応じて、電子機器の使用に伴う環境負荷の増加量を演算するための演算係数の設定値を変更可能とされたことにより、電源の交換に伴う環境負荷の増加及び電源種類に応じて異なる電力原単位の変化を使用環境負荷に反映させることができるので、電源の交換を行った場合にも、使用環境負荷の演算精度が低下することを防止できる。 In the electronic device according to
本発明の請求項13に係る電子機器は、請求項9乃至12の何れか1項記載の電子機器において、前記環境負荷演算手段は、前記情報処理装置によりユーザが電子機器を購入した地域に対応する地域情報が入力されると、該地域情報に基づいて前記物流環境負荷を演算し、該演算値を前記環境負荷記憶手段における前記物流環境負荷の初期値に代えて格納することを特徴とする。 An electronic device according to a thirteenth aspect of the present invention is the electronic device according to any one of the ninth to twelfth aspects, wherein the environmental load calculation means corresponds to a region where the user purchased the electronic device by the information processing apparatus. When the regional information to be input is inputted, the physical distribution environmental load is calculated based on the regional information, and the calculated value is stored instead of the initial value of the physical environmental load in the environmental load storage means. .
上記請求項13に係る電子機器では、環境負荷演算手段が、情報処理装置によりユーザが電子機器を購入した地域に対応する地域情報が入力されると、この地域情報に基づいて物流環境負荷を演算し、この演算値を環境負荷記憶手段における物流環境負荷の初期値に代えて格納することにより、物流環境負荷をユーザの購入地域に応じて補正し、この補正後の物流環境負荷を環境負荷記憶手段における物流環境負荷の初期値に代えて格納できるので、物流環境負荷をより現実の値に近づけることができると共に、この物流環境負荷等に基づいて演算される全環境負荷の演算精度も向上できる。 In the electronic device according to
本発明の請求項14に係る電子機器は、請求項7乃至13の何れか1項記載の電子機器において、ユーザによる記録要求操作に応じて前記ステージ別環境負荷を、画像情報または文字情報として前記環境負荷記憶手段又は外部メモリに記憶させる環境負荷記録手段を有することを特徴とする。 The electronic device according to a fourteenth aspect of the present invention is the electronic device according to any one of the seventh to thirteenth aspects, wherein the environmental load for each stage is set as image information or character information in accordance with a recording request operation by a user. Environmental load storage means or environmental load recording means for storing in an external memory is provided.
上記請求項14に係る電子機器では、環境負荷記録手段が、ユーザによる記録要求操作に応じて前記全環境負荷、前記使用環境負荷、前記製造環境負荷、前記物流環境負荷及び前記廃棄環境負荷を、画像情報として前記環境負荷記憶手段又は外部メモリに記憶させることにより、電子機器を使用することにより変化する全環境負荷等を、画像情報として前記環境負荷記憶手段又は外部メモリに記憶させることができるので、全環境負荷等の履歴を後日画像として再生して確認できる。 In the electronic device according to
以上説明したように、本発明の電子機器によれば、電子機器のライフサイクル全体や購入時点までの環境負荷をCO2排出量などに換算して表示しユーザーに環境負荷を正しく理解させることができる。As described above, according to the electronic device of the present invention, the entire life cycle of the electronic device and the environmental load up to the point of purchase can be converted into CO2 emissions and displayed so that the user can correctly understand the environmental load. it can.
以下、本発明の実施形態に係る電子機器であるデジタルカメラについて図面を参照して詳細に説明する。 Hereinafter, a digital camera which is an electronic apparatus according to an embodiment of the present invention will be described in detail with reference to the drawings.
図1(A)及び(B)には、本発明の実施形態に係るデジタルカメラ10が示されている。このデジタルカメラ10には、外殻部として略箱状に形成された筐体12が設けられている。筐体12には、その前面部に撮影レンズ14、ストロボ発光装置16、受光素子17の受光窓等が配置されている。また筐体12には、上面部にレリーズボタン18及びステイタスディスプレイ20が配置されると共に、背面部には画像表示用の液晶ディスプレイ(LCD)22(図2参照)及びファインダー(図示省略)が配置されている。筐体12には、その底面部に開閉蓋26が開閉可能に配置されており、筐体12の内部には、開閉蓋26に面して電源収容部28が設けられている。電源収容部28には、2本の電池30又はバッテリパック32(図1(C)参照)の何れか一方が装置の電源として着脱可能に装填される。ここで、バッテリパック32は、2本の電池型バッテリ34が連結部材36により連結されることにより構成されており、例えば、デジタルカメラ10をクレードルに装填することにより、又は専用のバッテリチャージャに装填することにより充電可能とされている。 1A and 1B show a
デジタルカメラ10の使用者は、ステイタスディスプレイ20でデジタルカメラ10の各種の設定や状態を視認しつつ、操作スイッチ38を操作して、デジタルカメラ10を所定の作動状態とすることができる。また使用者が、LCD22により表示された画像又は背面部のファインダー内の画像を見ながら、レリーズボタン18を押すと、図示しないシャッターが一定時間開き、画像を撮影することができる。 The user of the
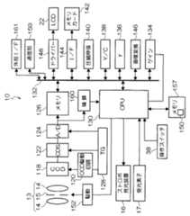
図2のブロック図にはデジタルカメラ10の構成が示されている。デジタルカメラ10の撮影光学系13は撮影レンズ14及び絞り15を含んでいる。撮影レンズ14は1枚又は複数枚のレンズで構成され、例えば単一の焦点距離(固定焦点)のレンズで構成される。 The configuration of the
撮影光学系13を介してCCD118の受光面に結像された被写体像は、各センサで入射光量に応じた量の信号電荷に変換される。このようにして蓄積された信号電荷は、CCD駆動回路120から加えられるCCD駆動パルスによって読み出され、信号電荷に応じた電圧信号(アナログ画像信号)として順次CCD118から出力される。 The subject image formed on the light receiving surface of the
CCD118には、シャッターゲートを介してシャッタードレインが設けられており、シャッターゲートをシャッターゲートパルスによって駆動することにより、蓄積した信号電荷をシャッタードレインに掃き出すことができる。すなわち、CCD118は、シャッターゲートパルスによって各センサに蓄積される電荷の蓄積時間(シャッタースピード)を制御する、いわゆる電子シャッター機能を有している。 The
CCD118から読み出された信号は、CDS回路122において相関二重サンプリング(CDS)処理されるとともに、R,G,Bの各色信号に色分離処理され、各色信号の信号レベルの調整が行われる。 The signal read out from the
これら所定のアナログ信号処理を経た画像信号は、A/D変換器124に加えられ、このA/D変換器124によりR,G,Bのデジタル信号に変換された後、メモリ126に一時的に格納される。 The image signal that has undergone the predetermined analog signal processing is added to the A /
タイミング信号発生回路(TG)128は、CPU130からのコマンドに応じてCCD駆動回路120、CDS回路122及びA/D変換器124に対して適宜のタイミング信号を与えており、各回路はタイミング信号発生回路28から加えられるタイミング信号により同期して駆動されるようになっている。 A timing signal generation circuit (TG) 128 provides appropriate timing signals to the
CPU130は、デジタルカメラ10の各回路を統括制御する制御部であり、バス132を介してゲイン調整回路134、ガンマ補正回路136、輝度・色差信号処理回路(YC処理回路という。)138、圧縮伸張回路140、メモリカード142のカードインターフェース144、LCD22を駆動する表示用ドライバ148、画像変換回路146及び通信部159等と接続されている。 The
また、CPU130には、不揮発性のメモリ157が接続されている。このメモリ157には、後述する制御ルーチンのプログラムや、前述した特性情報等が予め記憶されている。 In addition, a nonvolatile memory 157 is connected to the
CPU130は操作スイッチ38からの入力信号に基づいて対応する回路ブロックを制御するとともに、撮影レンズ14のズーミング動作や自動焦点調節(AF)動作の制御、並びに自動露出調節(AE)の制御等を行う。 The
操作スイッチ38には、画像の記録開始の指示を与えるレリーズボタン18、カメラのモード選択手段(操作スイッチ38)、ズーム操作手段、その他の各種の入力手段が含まれる。これら入力手段は、スイッチボタン、ダイヤル、スライド式ツマミなど種々の形態があり、タッチパネルや液晶モニタ表示部の画面上において設定メニューや選択項目を表示してカーソルで所望の項目を選択する態様もある。この操作スイッチ38はカメラ本体(筐体12)に配設されているが、リモコン送信機としてカメラ本体と分離した構成にすることも可能である。 The
CPU130は、CCD118から出力される画像信号に基づいて、焦点評価演算やAE演算などの各種演算を行い、その演算に基づいて、撮影レンズ14及び絞り16の駆動手段(例えば、AFモータやアイリスモータ等)52を制御してフォーカスレンズを合焦位置に移動させるとともに、絞り16を適正絞り値に設定する。 The
例えば、AF制御には、G信号の高周波成分が最大になるようにフォーカスレンズを移動させるコントラストAF方式が採用される。AE制御には、1フレームのR、G、B信号を積算した積算値に基づいて被写体輝度(撮影EV)を求め、この撮影EVに基づいて絞り値とシャッタースピードを決定し、駆動手段152を介して絞り16を駆動するとともに、決定したシャッタースピードとなるように電子シャッターによってCCD118の電荷の蓄積時間を制御する。したがって、デジタルカメラ10の撮影レンズ14を被写体に向けるだけで、最適な露出調整が行われるとともに、ピント合わせが自動的に行われる。 For example, a contrast AF method in which the focus lens is moved so that the high frequency component of the G signal is maximized is employed for the AF control. In the AE control, the subject brightness (shooting EV) is obtained based on the integrated value obtained by integrating the R, G, and B signals of one frame, the aperture value and the shutter speed are determined based on the taken EV, and the
撮影記録時においては、レリーズボタン18の「半押し」時に上述した測光動作を複数回繰り返して正確な撮影EVを求め、この撮影EVに基づいて撮影時の絞り値とシャッタースピードを最終的に決定する。そして、レリーズボタン18の「全押し」時に前記最終的に決定した絞り値になるように絞り16を駆動し、また、決定したシャッタースピードとなるように電子シャッターによって電荷の蓄積時間を制御する。なお、AE、AFはCCD118から取得される画像信号に基づいて制御する方法の他、周知の測光センサやAF投光/受光センサからなる測距センサ等を用いてもよい。 At the time of shooting recording, when the
また、デジタルカメラ10はストロボ発光装置16と、調光用の受光素子17を有し、操作スイッチ38に含まれるストロボモード設定ボタンの操作に応じて、低輝度時にストロボ発光装置16を自動的に発光させる「低輝度自動発光モード」、被写体輝度にかかわらずストロボ発光装置16を発光させる「強制発光モード」、又はストロボ発光装置16の発光を禁止させる「発光禁止モード」等に設定される。 Further, the
CPU130は、ユーザが選択したストロボモードに応じて、ストロボ発光装置16のメインコンデンサの充電制御や、発光管(例えば、キセノン管)への放電(発光)タイミングを制御するとともに、受光素子17からの測定結果に基づいて発光停止の制御を行う。受光素子17はストロボの発光によって照らされる被写体からの反射光を受光し、受光量に応じた電気信号に変換する。受光素子17の信号は図示せぬ積分回路により積算され、積算受光量が所定の適正受光量に達した時にストロボの発光が停止される。 The
A/D変換器124から出力されたデータはメモリ126に格納されるとともに、積算回路160に加えられる。積算回路160は、撮影画面を複数のブロック(例えば、8×8の64個のブロック)に分割し、複数のブロック毎に受入したG信号の積算演算を行う。なお、R、G、Bのデータから輝度信号(Y信号)を生成して、輝度信号の積算演算を行ってもよい。また、積算回路160はAE演算回路で兼用することもできる。積算回路160で得られた積算値の情報(演算結果)はCPU130に入力される。 The data output from the A /
CPU130は積算回路160からの情報に基づき、所定のアルゴリズムに従って撮影画面の評価値Eを算出し、求めた評価値Eを用いてゲイン調整回路134におけるゲイン値(増幅率)を決定する。CPU130は決定したゲイン値に従ってゲイン調整回路134におけるゲイン量を制御する。 Based on information from the
メモリ126に記憶されたR、G、Bの画像データはゲイン調整回路134に送られ、ここで増幅処理される。増幅処理された画像データは、ガンマ補正回路136において、ガンマ補正処理が施された後、YC処理回路138へ送られ、RGBデータから輝度信号(Y信号)及び色差信号(Cr,Cb信号)に変換される。なお、CPU130は、必要に応じてホワイトバランス処理なども行うことができる。 The R, G, B image data stored in the
YC処理回路138において生成された輝度・色差信号(YC信号と略記する)は、メモリ126に書き戻される。メモリ126に記憶されたYC信号は表示用ドライバ148に供給され、所定方式の信号(例えば、NTSC方式のカラー複合映像信号)に変換されてLCD22に出力される。LCD22には液晶ディスプレイその他のカラー表示可能な表示装置が用いられる。なお、LCD22はYC信号入力対応のタイプのものを適用してもよいし、RGB信号入力タイプのものを適用してもよく、表示装置に対応したドライバが適用される。 The luminance / color difference signal (abbreviated as YC signal) generated in the
CCD118から出力される画像信号によって画像データが定期的に書き換えられ、その画像データから生成される映像信号がLCD22に供給されることにより、CCD118が捉える画像がリアルタイムに動画像(ライブ画像)として、又はリアルタイムではないが、ほぼ連続した画像としてLCD22に表示される。 The image data is periodically rewritten by the image signal output from the
LCD22は電子ビューファインダーとして利用でき、撮影者はLCD22の表示画像又はファインダーによって撮影画角を確認することができる。レリーズボタン18の押下操作など所定の記録指示(撮影開始指示)操作に呼応して、記録用の画像データの取り込みが開始される。 The
撮影者が操作スイッチ38から撮影記録の指示を入力すると、CPU130は必要に応じて圧縮伸張回路140にコマンドを送り、これにより圧縮伸張回路140はメモリ126上のYCデータをJPEGその他の所定の形式に従って圧縮する。圧縮された画像データは、例えば、カードインターフェース144を介してメモリカード142に記録される。 When the photographer inputs a shooting / recording instruction from the
本実施の形態のデジタルカメラ10は、画像データを保存する手段としてメモリカード142が用いられている。具体的には、例えばスマートメディア等の記録メディアが適用される。記録メディアの形態は上記のものに限らず、PCカード、マイクロドライブ、マルチメディアカード(MMC)、磁気ディスク、光ディスク、光磁気ディスク、メモリスティックなど種々の形態が可能であり、使用される媒体に応じた信号処理手段とインターフェースが適用される。 The
また、再生モード時にはメモリカード142から読み出された画像データが圧縮伸張回路140によって伸張処理され、表示用ドライバ148を介してLCD22に出力される。 In the reproduction mode, the image data read from the
CPU130は、バス132を介して通信部159と接続されている。通信部159は、ユーザのパーソナルコンピュータ(PC)又はインターネット等の通信網を通して外部データベース(外部DB)と通信するためのインターフェースであり、例えばUSB(Universal Serial Bus)や、IEEE1394等のインターフェースを用いることができる。CPU130は、通信部159を介して及び外部DB154と情報の授受を行うことができる。 The
CPU130は、デジタルカメラ10のライフサイクル全体に亘る全環境負荷ETを、このデジタルカメラ10が含まれる製造ロット毎に演算してCO2排出量として出力する環境負荷演算手段としての機能を有している。CPU130 is a full environmental impact ET over the entire life cycle of the
ここで、全環境負荷ETは、デジタルカメラ10を製造する際(製造ステージ)に生じる製造環境負荷EPR、デジタルカメラ10を製造工場からユーザまで移送する際(物流ステージ)に生じる物流環境負荷EPD及びデジタルカメラ10を使用する際(使用ステージ)に生じる使用環境負荷EUSに、デジタルカメラ10を廃棄する際(廃棄ステージ)に生じる廃棄環境負荷ERJを加算して演算される。これら各ステージの環境負荷EPR、EPD、ERJ、使用環境負荷EUSは、それぞれ地球環境に対する影響を定量的かつ客観的に評価可能とするためCO2の排出量に換算される。Here, the total environmental load ET is the manufacturing environmental load EPR generated when the
上記環境負荷のうち、製造環境負荷EPR、物流環境負荷EPD、廃棄環境負荷ERJについては、デジタルカメラ10が含まれる製造ロット毎に予め標準的なCO2排出量が初期値として製造メーカにより設定されており、これらの環境負荷EPR、EPD、ERJの初期値は、デジタルカメラ10の不揮発性メモリ157に設けられた環境負荷テーブル150にそれぞれ格納されている。またCPU130は、デジタルカメラ10の使用に伴う環境負荷の増加量を積算し、この積算値を使用環境負荷EUSとして格納済みの値に代えてメモリ157に記憶させると共に、使用環境負荷EUSが所定の単位量以上増加する毎に、増加後の使用環境負荷EUSを製造環境負荷EPR、物流環境負荷EPD及び廃棄環境負荷ERJに加算して全環境負荷ETを演算し、これを格納済みの値に代えてメモリ157に記憶させる。Among the environmental loads described above, the manufacturing environmental load EPR , the distribution environmental load EPD , and the disposal environmental load ERJ are determined by the manufacturer as a standard CO2 emission amount in advance for each manufacturing lot including the
またユーザが操作スイッチ38からモード切替信号を入力すると、CPU130は、デジタルカメラ10の動作状態をLCD22により撮影画像が表示可能となっていた画像表示モードからLCD22により環境負荷を表示するための環境負荷表示モードに切り替える。これにより、CPU130は画像変換回路146及び圧縮伸張回路140にそれぞれ表示命令に対応するコマンドを出力する。このコマンドを受けた画像変換回路146は、
LCD22による表示モードを撮影された撮影画像(図3(D)参照)を表示するための画像表示モードから環境負荷を表示するための環境負荷表示モードに切り替えた後、数値データとしてメモリ126に格納された全環境負荷ETを画像信号(YC信号)に変換してドライバ148に出力し、全環境負荷ETをLCD22により表示させる。図3(A)には、LCD22により表示された全環境負荷ETを示す表示画像の一例が示されている。When the user inputs a mode switching signal from the
The display mode by the
またユーザがLCD22により撮影画像が表示中に操作スイッチ38から環境負荷の表示を要求する信号及び環境負荷種類の選択信号を入力すると、CPU130は、LCD22により表示されている撮影画像に重畳して選択された環境負荷を表示させる。図4には、ディスプレイ22により表示された全環境負荷及び撮影画像が重畳された画像の一例が示されている。 When the user inputs a signal requesting display of environmental load and a selection signal of environmental load type from the
LCD22による全環境負荷ETの表示後に、ユーザが操作スイッチ38から表示切替信号を入力すると、CPU130は、画像変換回路146及び圧縮伸張回路140にそれぞれステージ毎の環境負荷を表示するためのコマンドを送る。このコマンドを受けた画像変換回路146は、数値データとしてメモリ126に格納された製造環境負荷EPR、物流環境負荷EPD、使用環境負荷EUS及び廃棄環境負荷ERJを1画面に示す画像信号(YC信号)に変換してドライバ148に出力し、ドライバ148により各ステージ毎の環境負荷をLCD22に表示させる。図3(B)には、LCD22により表示された製造ステージ、物流ステージ、使用ステージ及び廃棄ステージにおける環境負荷を示す表示画像の一例が示されている。When the user inputs a display switching signal from the
LCD22によるステージ毎の環境負荷の表示後に、ユーザが操作スイッチ38から表示切替信号を再入力すると、CPU130は、LCD22により表示される画像をステージ毎環境負荷(図3(B))から全環境負荷ET(図3(A))に切り替える。またユーザが操作スイッチ38からモード切替信号を再入力すると、CPU130は、デジタルカメラ10の動作状態を環境負荷表示モードから画像表示モードに切り替える。When the user re-inputs a display switching signal from the
またCPU130は、デジタルカメラ10の電源投入時に、デジタルカメラ10の動作状態を環境負荷表示モードとする。これにより、デジタルカメラ10の電源投入直後の時点では、LCD22には必ず全環境負荷ETを示す画像が表示される。In addition, when the
(製造環境負荷の算出方法)
次に、製造環境負荷EPRの算出方法の一例について説明する。デジタルカメラ10の製造環境負荷EPRは、デジタルカメラ10を形成する素材を製造し、これらの素材に加工等の処理を施して部品にするために必要となる環境負荷(素材環境負荷)と、これらの部品を組み立ててデジタルカメラ10を完成させるために必要となる環境負荷(ライン環境負荷)とに大別され、これらを合算することにより算出される。(Method of calculating the environmental impact of manufacturing)
Next, an example of a method for calculating the manufacturing environmental loadEPR will be described. The environmental load EPR of the
ここで、素材環境負荷は、製品(デジタルカメラ10)を構成する全ての部品について、その質量、材料原単位、加工原単位及び組立原単位を用いて下記(表1)に示すように算出する。 Here, the material environmental load is calculated as shown in the following (Table 1) using the mass, material unit, processing unit and assembly unit for all the parts constituting the product (digital camera 10). .
ライン環境負荷は、デジタルカメラ10を製造する製造ラインにおいて使用するエネルギと排出されるエネルギのそれぞれ原単位を用いて、下記(表2)に示すように算出する。 The line environmental load is calculated as shown in the following (Table 2) using the basic units of energy used and discharged energy in the production line for manufacturing the
なお、素材環境負荷及びライン環境負荷は、製造工場が異なったり、製造工場での基本的な製造単位である製造ロットが異なると、この製造ロット毎に消費エネルギ、原単位等も変化することがあり、製造環境負荷EPRも異なったものになることがある。Note that the material environmental load and line environmental load may vary depending on the manufacturing factory or the manufacturing lot that is the basic manufacturing unit in the manufacturing factory. Yes, the manufacturing environmental impactEPR may be different.
(物流環境負荷の算出方法)
次に、物流環境負荷EPDの算出方法の一例について説明する。デジタルカメラ10の物流環境負荷EPDは、重量W(t)の製品(デジタルカメラ10)及び、梱包材等の付帯物をメーカの製造工場から目的地まで搬送する場合には、次の(1)式及び(2)式により算出される。(Distribution environmental load calculation method)
Next, an example of a method for calculating thephysical distribution environmental loadEPD will be described. The distribution environmental loadEPD of the
物流負荷量 = 輸送距離×W/製品の積載個数・・・(1)
物流環境負荷=物流負荷量×物流原単位・・・(2)
ここで、輸送距離は、本来的には、製造工場から目的地(小売店へデジタルカメラ10を出荷する物流センター、大規模小売店の倉庫、卸売り業者の倉庫等の場所)までの距離である、本実施形態に係るデジタルカメラ10の場合には、デジタルカメラ10の出荷先(国内の物流拠点、輸出国の物流拠点等)に応じて、メーカの製造工場からデジタルカメラ10の出荷先までの平均的な距離が予めメモリ157に初期値として格納されている。Logistics load = transport distance x W / number of products loaded (1)
Logistics environmental load = Logistics load x Logistics basic unit (2)
Here, the transport distance is essentially the distance from the manufacturing factory to the destination (a location such as a distribution center for shipping the
(使用環境負荷の算出方法)
次に、使用環境負荷EUSの算出方法の一例について説明する。デジタルカメラ10の使用環境負荷EUSは、基本的に、デジタルカメラ10の使用に伴って消費される電力量基づいて、下記(表3)に示されるように算出される。(Calculation method of environmental load in use)
Next, an example of a method for calculating the use environmental load EUS will be described. The use environmental load EUS of the
CPU130は、(表3)に示される消費エネルギ(消費電力)を算出する際には、下記(表4)に示されるように、デジタルカメラ10の動作モード毎の消費電力に基づいて演算を行う。この動作モード毎の消費電力はメモリ157に予め格納されている。 When calculating the energy consumption (power consumption) shown in (Table 3), the
また使用環境負荷EUSは、デジタルカメラ10を構成する何らかの部品が交換されると、その交換部品の製造に要した環境負荷が加算されることになる。交換部品としては、電池30、バッテリパック32等の消耗部品及び、デジタルカメラ10の故障に伴って交換された場合の修理用部品が含まれる。In addition, when a part of the
デジタルカメラ10は、電源収容部28に装填されていた古い電池30又はバッテリパック32が新しい電源に交換される際に、例えば、バッテリパック32の連結部材36の有無をセンサ(図示省略)により検出することにより、電源が電池30及びバッテリパック32の何れかであるかを判断できるようになっている。このとき、CPU130は、電源の種類に応じて設定された環境負荷をメモリ157に格納(積算)されている使用環境負荷EUSに加算する。またCPU130は、電源収容部28に装填された電源の種類が変化した場合、電池30の電力原単位とバッテリパック32の電力原単位とが異なることから、メモリ157から電源種類に対応する電力原単位を読み取り、この電力原単位を用いて使用環境負荷EUSを演算する。When the
またデジタルカメラ10のメーカのサービスセンター等で部品交換を伴う修理が行われる場合には、サービスセンター等では、交換部品に対応する環境負荷をメモリ157に格納されている使用環境負荷EUSに加算する。このとき、修理作業を行う作業者は、USBケーブル等を通してデジタルカメラ10の通信部159を外部のPCに接続することにより、メモリ157にアクセス可能になり、このアクセス状態で、メモリ157の環境負荷テーブル150に格納されている使用環境負荷EUSに交換部品に対応する環境負荷を加算することができる。When repairs involving parts replacement are performed at the service center of the manufacturer of the
デジタルカメラ10では、撮像時における使用画素数の設定をユーザが変更した場合、CPU130がメモリ157から撮像時に画像を記録するために使用される記録画素数の設定値に応じて変化する使用環境負荷の増加量に対応する情報を読み取り、この記録画素数の設定値毎の環境負荷の増加量をLCD22より表示させる。このとき、LCD22に表示される記録画素数の設定値毎の使用環境負荷の増加量(メモリ157に格納された使用環境負荷EUSへの加算値)に対応する画像の一例を図2(C)に示す。In the
(廃棄環境負荷の算出方法)
次に、廃棄環境負荷ERJの算出方法の一例について説明する。デジタルカメラ10の廃棄環境負荷ERJは、デジタルカメラ10の廃却方法によって異なるものとなり、下記(表4)に示されるように算出される。(Disposal environmental load calculation method)
Next, an example of a method for calculating the disposal environmental load ERJ will be described. The disposal environmental load ERJ of the
ユーザがデジタルカメラ10を廃棄する際には、ユーザは、デジタルカメラ10に対して(表4)に示される何れかの廃却方法を設定可能とされており、廃却方法を設定することにより、CPU130は、メモリ157の環境負荷テーブル150に設定されている廃棄環境負荷ERJを廃却方法に対応する値に書き換える。なお、廃棄方法選択前の初期値としては、図2(B)に示されるように、0.00kg−CO2が環境負荷テーブル150に格納されている。ここで、廃棄環境負荷ERJは、リサイクルを選択した場合に最も小さくなることから、ユーザに対してリサイクルを廃却方法として選択することを強く訴求できる。When the user discards the
またユーザは、デジタルカメラ10の購入後に、PCにドライバ等のユーティリティソフトをインストールした後、デジタルカメラ10をPCに接続すると、ユーティリティソフトによりデジタルカメラ10の購入地域及び主な使用地域を入力するように求められる。ユーザがPCを介して購入地域及び使用地域をCPU130へ入力すると、CPU130は、入力された使用地域に応じてバッテリパック32を使用する際の電力原単位Fを変更する。これは、使用地域(日本又は外国の電力会社)が異なると電力原単位Fが変化することによる。またCPU130は、入力された購入地域に応じて物流環境負荷EPDを演算する際に使用される輸送距離(表3参照)を初期値から実距離の概算値に変更し、この実距離の概算値に基づいて物流環境負荷EPDを再演算し、メモリ157に格納する。In addition, after purchasing the
またデジタルカメラ10では、ユーザがある時点における全環境負荷ET及びステージ毎の環境負荷を記録として残したい場合に、これらの環境負荷を画像情報としてメモリカード142及びメモリ157の一方又は双方に記録することが可能になっている。Also, in the
ユーザは、全環境負荷ET及びステージ毎の環境負荷を画像として記録したい場合、ユーザは、操作スイッチ38に対して環境負荷の画像出力操作を行い、操作スイッチ38からCPU130に画像出力コマンドを入力する。これにより、CPU130は、メモリ157に格納されている全環境負荷ET及び各ステージ毎の環境負荷(製造環境負荷EPR、物流環境負荷EPD、使用環境負荷EUS及び廃棄環境負荷ERJ)に対応する情報を圧縮伸張回路140によりJPEGその他の所定の形式に従って圧縮し、圧縮された画像データをメモリ157及びメモリカード142の一方又は双方に記録する。この画像情報の記録先は、ユーザが操作スイッチ38を操作することにより選択可能となっている。When the user wants to record the total environmental load ET and the environmental load for each stage as an image, the user performs an environmental load image output operation on the
この結果、デジタルカメラ10では、例えば、デジタルカメラ10をPCに接続すれば、メモリ157又はメモリカード142からPCへ全環境負荷等ET及び使用環境負荷EUSを含むステージ別の環境負荷を示す画像情報が出力可能になるので、デジタルカメラ10を使用することにより変化する全環境負荷等ET及びステージ別の環境負荷の履歴を後日画像としてPCのディスプレイにより再生して後日確認できる。またメモリ157又はメモリカード142からPCを介して、又は直接プリンタ等の画像記録装置へ全環境負荷等ET及び使用環境負荷EUSを含むステージ別の環境負荷を示す画像情報を出力し、これらを記録紙等の記録媒体上に記録することによっても、これらの環境負荷の履歴を後日確認できる。As a result, in the
本実施形態に係るデジタルカメラでは、ユーザが操作スイッチ38に対して所定の操作を行うことにより、メモリ157に記憶された全環境負荷ET及びステージ毎の環境負荷(製造環境負荷EPR、物流環境負荷EPD、廃棄環境負荷ERJ及び使用環境負荷EUS)をLCD22に表示可能とされたことにより、ユーザに対して全環境負荷ET及びステージ毎の環境負荷を表示できるので、ユーザの環境意識を高めると共に、環境意識の高いユーザに対しては商品価値を高めることができる。In the digital camera according to the present embodiment, when the user performs a predetermined operation on the
またデジタルカメラ10では、CPU130がデジタルカメラ10の使用に伴う環境負荷の増加量を積算し、この積算値を使用環境負荷EUSとしてメモリ157に記憶させると共に、この使用環境負荷EUSをメモリ157に格納された製造環境負荷EPR、物流環境負荷EPD及び廃棄環境負荷ERJに加算して、全環境負荷ETを演算することにより、使用条件により変化(増減)する使用環境負荷EUS及び全環境負荷ETをそれぞれ精度良く演算できる。Further, in the
またデジタルカメラ10では、その電源投入時に、LCD22により全環境負荷ET及びステージ毎の環境負荷が表示されることにより、デジタルカメラの使用開始時にユーザに対して環境負荷に対する低減意識を喚起することができる。In addition, when the
またデジタルカメラ10では、CPU130が外部のPCと接続可能とされ、PCにより使用環境負荷EUSの増加量を演算するための電力原単位Fの設定値を変更可能とされたことにより、外部環境の変化等により使用環境負荷の増加量を演算するための電力原単位Fの設定値が変化した場合でも、変化した電力原単位Fを新たな設定値として設定できるので、使用環境負荷EUSの演算精度の低下を防止できる。Further, in the
10 デジタルカメラ
22 画像表示ディスプレイ(環境負荷表示手段、負荷増加量表示手段)
30 電池(電源)
32 バッテリパック(電源)
38 操作スイッチ
130 CPU(環境負荷演算手段、表示制御部、環境負荷記録手段)
142 メモリカード(外部メモリ)
144 カードインターフェース(環境負荷記録手段)
146 画像変換回路(表示制御部)
148 表示用ドライバ(環境負荷表示手段)
150 環境負荷テーブル(環境負荷記憶手段)
157 メモリ(環境負記憶示手段)
159 通信部(情報通信部)10
30 battery (power)
32 Battery pack (power supply)
38
142 Memory card (external memory)
144 Card interface (environmental load recording means)
146 Image conversion circuit (display control unit)
148 Display driver (environmental load display means)
150 Environmental load table (Environmental load storage means)
157 Memory (environment negative memory indication means)
159 Communication Department (Information Communication Department)
| Application Number | Priority Date | Filing Date | Title |
|---|---|---|---|
| JP2005235344AJP2007053433A (en) | 2005-08-15 | 2005-08-15 | Electronic equipment |
| Application Number | Priority Date | Filing Date | Title |
|---|---|---|---|
| JP2005235344AJP2007053433A (en) | 2005-08-15 | 2005-08-15 | Electronic equipment |
| Publication Number | Publication Date |
|---|---|
| JP2007053433Atrue JP2007053433A (en) | 2007-03-01 |
| Application Number | Title | Priority Date | Filing Date |
|---|---|---|---|
| JP2005235344APendingJP2007053433A (en) | 2005-08-15 | 2005-08-15 | Electronic equipment |
| Country | Link |
|---|---|
| JP (1) | JP2007053433A (en) |
| Publication number | Priority date | Publication date | Assignee | Title |
|---|---|---|---|---|
| WO2011052696A1 (en)* | 2009-10-29 | 2011-05-05 | パナソニック電工株式会社 | System for proposing energy conservation |
| JP2014094571A (en)* | 2013-12-10 | 2014-05-22 | Sharp Corp | Image forming apparatus |
| US8791938B2 (en) | 2009-09-03 | 2014-07-29 | Nec Display Solutions, Ltd. | Electronic device and control method for the same |
| US8832472B2 (en) | 2009-07-31 | 2014-09-09 | Nec Display Solutions, Ltd. | Electronic device and control method for the same that allows an operation that reduces the amount of a greenhouse gas emission to be selectable in its operation stage |
| JP2014222545A (en)* | 2014-08-20 | 2014-11-27 | パナソニック株式会社 | Power saving proposal system, power saving server and power saving proposal method |
| US20170163831A1 (en)* | 2010-12-27 | 2017-06-08 | Sharp Kabushiki Kaisha | Image forming apparatus having display section displaying environmental certification information during startup |
| Publication number | Priority date | Publication date | Assignee | Title |
|---|---|---|---|---|
| US8832472B2 (en) | 2009-07-31 | 2014-09-09 | Nec Display Solutions, Ltd. | Electronic device and control method for the same that allows an operation that reduces the amount of a greenhouse gas emission to be selectable in its operation stage |
| US8791938B2 (en) | 2009-09-03 | 2014-07-29 | Nec Display Solutions, Ltd. | Electronic device and control method for the same |
| WO2011052696A1 (en)* | 2009-10-29 | 2011-05-05 | パナソニック電工株式会社 | System for proposing energy conservation |
| JP2011096007A (en)* | 2009-10-29 | 2011-05-12 | Panasonic Electric Works Co Ltd | Energy saving proposal system |
| US20170163831A1 (en)* | 2010-12-27 | 2017-06-08 | Sharp Kabushiki Kaisha | Image forming apparatus having display section displaying environmental certification information during startup |
| US9992369B2 (en) | 2010-12-27 | 2018-06-05 | Sharp Kabushiki Kaisha | Image forming apparatus having display section displaying environmental certification information during startup and being foldable into a generally flush accommodated state |
| JP2014094571A (en)* | 2013-12-10 | 2014-05-22 | Sharp Corp | Image forming apparatus |
| JP2014222545A (en)* | 2014-08-20 | 2014-11-27 | パナソニック株式会社 | Power saving proposal system, power saving server and power saving proposal method |
| Publication | Publication Date | Title |
|---|---|---|
| CN100420278C (en) | Image sensing apparatus and control method thereof | |
| US7558475B2 (en) | Image display apparatus and sorting method | |
| US20090268038A1 (en) | Image capturing apparatus, print system and contents server | |
| CN102739939B (en) | Image pickup apparatus, and control method thereof | |
| JP2007019936A (en) | Visible light communication system, imaging apparatus, and visible light communication preparation method and program | |
| CN102036007A (en) | Image picking apparatus | |
| USRE44997E1 (en) | Photographing apparatus | |
| CN102857689B (en) | Picture pick-up device and control method thereof | |
| JP2007053433A (en) | Electronic equipment | |
| US8619174B2 (en) | Method and apparatus for controlling a display for image transmission | |
| JP5094665B2 (en) | Imaging apparatus, control method thereof, and program | |
| CN103248802A (en) | Image photographing device | |
| EP1387563A2 (en) | Photography apparatus with information tabulating device and method | |
| CN102665046B (en) | Imaging apparatus, camera system, and illumination apparatus | |
| JP2010118947A (en) | Electronic equipment, environmental load information calculation method, and environmental load information calculation program | |
| JP2005292740A (en) | Electronic camera | |
| JP2007189409A (en) | Electronics | |
| JP4164178B2 (en) | IMAGING DEVICE AND IMAGING DEVICE CONTROL METHOD | |
| JP2004311136A (en) | Portable electronic equipment | |
| JP2005142831A (en) | Digital camera | |
| JP2007188172A (en) | Electronics | |
| JP2006221103A (en) | Imaging apparatus and imaging apparatus control program | |
| JP4629321B2 (en) | Digital camera | |
| JP4298491B2 (en) | Imaging device | |
| JP2007221467A (en) | Imaging device |
| Date | Code | Title | Description |
|---|---|---|---|
| A711 | Notification of change in applicant | Free format text:JAPANESE INTERMEDIATE CODE: A712 Effective date:20070203 |