


















本発明は、観察者の頭部に装着され、表示素子にて表示された映像を観察者の眼に表示する映像表示装置に関するものである。 The present invention relates to an image display device that is mounted on an observer's head and displays an image displayed on a display element on the eyes of the observer.
観察者の頭部に装着され、表示映像を観察者の眼に提供する映像表示装置は、いわゆるヘッドマウントディスプレイ(以下、HMDと略称する)と呼ばれ、一般に知られている。これまでのHMDは、AV(Audio Visual)機器の表示手段の一つとして開発されたものが多く、HMD本体が観察者の眼前全てを覆うゴーグルタイプのものが主流であった。 2. Description of the Related Art An image display device that is attached to an observer's head and provides a display image to the observer's eyes is called a so-called head mounted display (hereinafter abbreviated as HMD) and is generally known. Many conventional HMDs have been developed as one of display means for AV (Audio Visual) devices, and the mainstream is the goggle type in which the HMD body covers all of the eyes of the observer.
このようなタイプのHMDにおいては、観察者に目の疲労について警告を促したり、装置自体の電力消費について警告を促すものがある。そして、この場合の警告の手法として、例えば、映像表示を中断して警告情報を表示する手法がある。しかし、この手法では、観察者が必要なときに見るべき情報を見逃すといった不都合が生じる。そこで、観察している映像に警告情報を重ねて表示する手法が従来から多く採用されている。なお、このような警告表示は、全て、映像を表示するための表示素子を用いて行われている。 Some of these types of HMDs urge the observer to warn about eye fatigue or to warn about the power consumption of the device itself. As a warning technique in this case, for example, there is a technique of interrupting video display and displaying warning information. However, this method has a disadvantage that the observer misses information to be viewed when necessary. For this reason, many techniques have been employed in the past in which warning information is superimposed on the image being observed. Such warning display is all performed using a display element for displaying an image.
一方、近年では、ユビキタス社会の到来に向けて、常時装着可能であり、かつ、必要なときに必要な情報を見ることができるウェアラブルディスプレイが多く提案されている。例えば、特許文献1では、観察者の耳に装着され、片眼の前方に表示ユニットを配置する小型で軽量のディスプレイ(映像観察装置)が提案されている。また、特許文献2では、薄型、軽量、コンパクトで、眼鏡のレンズのような透明な光学素子で構成され、外界(周囲)を観察可能なシースルータイプの眼鏡型ディスプレイ(情報表示装置)が提案されている。
ところで、片眼タイプの特許文献1のディスプレイ、および両眼タイプの特許文献2のディスプレイのいずれにおいても、観察者に提供される表示映像は、観察者の視野の一部に提供されるため、観察者は、上記表示映像とは別に、視野の残りの部分で周囲の外界像を常時見ることができる。したがって、このようなディスプレイを観察者が装着した場合、観察者は常に映像を集中して見ているとは限らない。 By the way, in any of the display of the single-eye
特に、シースルータイプのディスプレイを観察者が装着した場合、観察者はまるで眼鏡をかけているかのような状態で周囲を観察することができるのと同時に、それに重畳して表示素子(例えばLCD)に表示された映像を観察することができる。したがって、観察者は、通常は周囲を観察し、映像を見たいときだけ映像に集中してそれを観察するという使い方をするのが普通である。 In particular, when an observer wears a see-through type display, the observer can observe the surroundings as if wearing glasses, and at the same time superimposes it on a display element (for example, an LCD). The displayed image can be observed. Therefore, the observer usually observes the surroundings and concentrates on the image only when he / she wants to see the image.
このように、観察者の視野の一部に表示映像を提供するディスプレイでは、観察者は常に映像に集中しているわけではないので、従来のような警告のさせ方を上記ディスプレイに適用しても、つまり、映像の表示領域にのみ警告情報を重ねて表示しても、観察者は映像に集中していないときには、その警告情報は勿論のこと、警告があったこと自体を認識することが困難である。特に、シースルーディスプレイでは、背景(外界像)と表示映像とが重畳するので、その背景によっては警告自体を認識することがさらに困難となる。 In this way, in a display that provides a display image in a part of the observer's field of view, the observer is not always concentrated on the image, so the conventional warning method is applied to the display. In other words, even if warning information is superimposed and displayed only in the video display area, when the observer is not concentrated on the video, the warning information can be recognized as well as the warning information itself. Have difficulty. In particular, in the see-through display, the background (external world image) and the display image are superimposed, so that depending on the background, it is more difficult to recognize the warning itself.
なお、このような問題は、観察者に何らかの警告を促す場合のみならず、情報を単に通知する場合でも同様に起こり得る。つまり、例えば映像表示装置を携帯電話機と接続し、携帯電話機にて通話着信や電子メールの着信があった場合に、その旨を通知すべく、着信情報を映像の表示領域にのみ重ねて表示した場合でも、観察者は映像に集中していないときには、その通知があったこと自体を認識することが困難となる。 Such a problem can occur not only when a warning is given to the observer but also when information is simply notified. In other words, for example, when a video display device is connected to a mobile phone and a mobile phone receives an incoming call or e-mail, the incoming call information is displayed only on the video display area in order to notify that fact. Even in this case, when the observer is not concentrated on the video, it is difficult to recognize that the notification itself has occurred.
本発明は、上記の問題点を解決するためになされたものであって、その目的は、観察者の視野の一部に映像を表示する構成であっても、報知(警告、通知)があったときにはその報知があったこと自体を観察者に容易にかつ確実に認識させることができる映像表示装置を提供することにある。 The present invention has been made in order to solve the above-described problems, and the purpose thereof is to provide notification (warning, notification) even when the video is displayed in a part of the visual field of the observer. It is an object of the present invention to provide a video display device that allows an observer to easily and reliably recognize that the notification itself has occurred.
本発明の映像表示装置は、映像表示素子と、上記映像表示素子からの映像光を、観察者の視野の一部である第1の領域に導く接眼光学系とを有し、観察者の頭部に装着可能な映像表示装置であって、観察者への報知用の光を出射する報知用光源をさらに有しており、上記報知用の光は、観察者の視野の一部である第2の領域に照射され、上記第2の領域の少なくとも一部が、上記第1の領域の外部に位置していることを特徴としている。 An image display device of the present invention includes an image display element and an eyepiece optical system that guides image light from the image display element to a first region that is a part of the visual field of the observer, and the observer's head. A display light source that emits light for notification to an observer, and the light for notification is a part of the visual field of the observer. The second region is irradiated, and at least a part of the second region is located outside the first region.
上記構成の映像表示装置を観察者が頭部に装着したとき、映像表示素子から出射される映像光は、接眼光学系を介して観察者の視野の一部である第1の領域に導かれる。これにより、観察者は、第1の領域に表示された映像を観察することができる。一方、報知用光源から出射される報知用の光は、観察者の視野の一部である第2の領域に照射される。 When the observer wears the image display device having the above configuration on the head, the image light emitted from the image display element is guided to the first region that is a part of the visual field of the observer through the eyepiece optical system. . Thereby, the observer can observe the video displayed in the first region. On the other hand, the notification light emitted from the notification light source is applied to the second region that is a part of the visual field of the observer.
ここで、第2の領域の少なくとも一部が、第1の領域の外部に位置しているので、報知用の光は、観察者の視野の中で、少なくとも第2の領域のみの部分に導かれる。すなわち、上記報知用の光は、第2の領域の中で、映像が表示される第1の領域とは重ならない部分に少なくとも導かれる。したがって、観察者の視野の中には、報知用の光のみが導かれる領域が必ず存在する。これにより、観察者は、上記領域にて報知用の光を容易にかつ確実に認識することができる。この結果、たとえ観察者が第1の領域に表示される映像を集中して観察していない場合でも、観察者は、第2の領域のみの部分での報知用の光の認識に基づき、報知があったこと自体を容易にかつ確実に認識することが可能となる。 Here, since at least a part of the second region is located outside the first region, the light for notification is guided to at least a portion of the second region in the field of view of the observer. It is burned. That is, the notification light is guided at least to a portion of the second area that does not overlap with the first area where the video is displayed. Therefore, there is always an area in the observer's visual field where only the notification light is guided. Accordingly, the observer can easily and reliably recognize the notification light in the region. As a result, even if the observer is not intensively observing the image displayed in the first area, the observer is notified based on the recognition of the light for notification only in the second area. It is possible to easily and reliably recognize that there has been.
また、本発明においては、上記第2の領域の全体が、上記第1の領域の外部に位置していてもよい。この場合、観察者の視野の中で、第1の領域と第2の領域とが完全に分離されるので、観察者は、第1の領域にて表示映像を観察している最中でも、その観察を阻害されることなく、報知があったこと自体を第2の領域にて確実に認識することができる。 In the present invention, the entire second area may be located outside the first area. In this case, since the first region and the second region are completely separated in the visual field of the observer, the observer can observe the display image in the first region even while observing the display image. It is possible to reliably recognize the notification itself in the second region without obstructing the observation.
また、本発明においては、上記接眼光学系は、上記映像表示素子から上記第1の領域に至る上記映像光の光路を折り曲げる第1の光路屈曲部材を有していてもよい。この場合、接眼光学系をコンパクトに構成することができ、装置の小型化、薄型化を図ることができる。 In the present invention, the eyepiece optical system may include a first optical path bending member that bends the optical path of the video light from the video display element to the first region. In this case, the eyepiece optical system can be made compact, and the apparatus can be reduced in size and thickness.
また、本発明の映像表示装置は、上記報知用光源から出射される上記報知用の光を上記第2の領域に導くための報知用光学系をさらに有しており、上記報知用光学系は、上記報知用光源から上記第2の領域に至る上記報知用の光の光路を折り曲げる第2の光路屈曲部材を有していてもよい。この場合、報知用光学系をコンパクトに構成することができ、装置の小型化、薄型化を図ることができる。 The video display device of the present invention further includes a notifying optical system for guiding the notifying light emitted from the notifying light source to the second region, and the notifying optical system includes: A second optical path bending member that bends the optical path of the notification light from the notification light source to the second region may be provided. In this case, the notification optical system can be configured compactly, and the apparatus can be reduced in size and thickness.
また、本発明においては、上記第1の光路屈曲部材は、上記第2の光路屈曲部材を兼ねていてもよい。この場合は、接眼光学系および報知用光学系の構成をともに簡素化することができ、装置のさらなる小型化、薄型化を図ることができる。 In the present invention, the first optical path bending member may also serve as the second optical path bending member. In this case, both the eyepiece optical system and the notification optical system can be simplified, and the apparatus can be further reduced in size and thickness.
また、本発明においては、上記接眼光学系は、上記映像光と外光とを同時に観察者の視野の上記第1の領域に導くコンバイナを有していてもよい。この構成では、観察者は、コンバイナによって映像と外界像とを重畳して観察することができる。また、この構成であっても、観察者は、第2の領域のみの部分にて報知用の光を容易にかつ確実に認識することができるので、いわゆるシースルータイプの映像表示装置であっても、報知があったこと自体を観察者が容易にかつ確実に認識することができる。 In the present invention, the eyepiece optical system may include a combiner that guides the image light and the external light simultaneously to the first region of the observer's visual field. In this configuration, the observer can observe the image and the external image superimposed by the combiner. Even in this configuration, the observer can easily and surely recognize the notification light only in the second region, so that even a so-called see-through type video display device can be used. The observer can easily and reliably recognize that the notification has been made.
また、本発明の映像表示装置は、上記報知用光源から出射される上記報知用の光を上記第2の領域に導くための報知用光学系をさらに有しており、上記報知用光学系は、正の光学パワーを有する光学部材を有しており、上記光学部材を介して上記第2の領域に上記報知用の光を導く構成であってもよい。この場合、報知用の光は、上記光学部材によって明確な形の像に変換され、その像が第2の領域に表示されるので、観察者は、報知があったこと自体をさらに認識しやすくなる。 The video display device of the present invention further includes a notifying optical system for guiding the notifying light emitted from the notifying light source to the second region, and the notifying optical system includes: The optical member having positive optical power may be included, and the notification light may be guided to the second region via the optical member. In this case, the light for notification is converted into an image having a clear shape by the optical member, and the image is displayed in the second region, so that the observer can more easily recognize that the notification has occurred. Become.
また、本発明においては、上記コンバイナは、上記光学部材を兼ねていてもよい。この場合、接眼光学系および報知用光学系の構成をともに簡素化することができ、装置の小型化、薄型化を図ることができる。 In the present invention, the combiner may also serve as the optical member. In this case, both the eyepiece optical system and the notification optical system can be simplified, and the apparatus can be reduced in size and thickness.
また、本発明においては、上記コンバイナは、ホログラム光学素子であってもよい。ホログラム光学素子は、映像表示素子からの光(映像光)のうちで特定の波長の光のみを効率よく回折するので、明るい映像および外界像を観察者に提供することができる。 In the present invention, the combiner may be a hologram optical element. The hologram optical element efficiently diffracts only light having a specific wavelength out of light (image light) from the image display element, so that a bright image and an external image can be provided to the observer.
また、本発明においては、上記報知用光源から出射される光の波長は、上記映像表示素子から出射される映像光の波長と略一致していてもよい。この場合、報知用光源から出射される光のうちで特定の波長の光のみが効率よくコンバイナ(ホログラム光学素子)にて回折されるので、明るい映像および外界像を第1の領域に表示しながら、明るい報知用の像を第2の領域に表示することができ、報知があったこと自体を観察者が容易に認識することができる。 In the present invention, the wavelength of the light emitted from the notification light source may substantially coincide with the wavelength of the video light emitted from the video display element. In this case, only light of a specific wavelength out of the light emitted from the light source for notification is efficiently diffracted by the combiner (hologram optical element), so that a bright image and an external image are displayed in the first region. A bright notification image can be displayed in the second region, and the observer can easily recognize that the notification has been made.
また、本発明の映像表示装置は、装置内部の検知対象(例えば電池)の状態(例えば電池残量)を検知する検知手段と、上記検知対象の状態の基準値を記憶する記憶手段と、上記検知手段での検知結果と上記記憶手段に記憶された上記基準値とを比較し、その比較結果に基づいて上記報知用光源からの上記報知用の光の出射を制御する第1の制御手段とをさらに有していてもよい。 In addition, the video display device of the present invention includes a detection unit that detects a state (for example, remaining battery level) of a detection target (for example, a battery) inside the device, a storage unit that stores a reference value of the detection target state, A first control unit that compares a detection result of the detection unit with the reference value stored in the storage unit, and controls emission of the notification light from the notification light source based on the comparison result; May further be included.
上記の構成では、第1の制御手段は、検知手段にて検知された情報と記憶手段にて記憶された基準値とを比較する。その結果、第1の制御手段は、例えば、検知された情報(例えば電池残量)が基準値以下であれば、報知用光源から報知用の光を出射させる一方、検知された情報が基準値を越えていれば、報知用光源からの報知用の光の出射を停止させる。このような第1の制御手段の制御により、装置内部の検知対象の状態に応じて、観察者に適切に報知(警告)することができる。 In the above configuration, the first control unit compares the information detected by the detection unit with the reference value stored in the storage unit. As a result, for example, if the detected information (for example, the remaining battery level) is equal to or less than a reference value, the first control unit emits notification light from the notification light source, while the detected information is the reference value. If it exceeds, the emission of the notification light from the notification light source is stopped. By such control of the first control means, it is possible to appropriately notify (warn) the observer according to the state of the detection target inside the apparatus.
また、本発明においては、上記記憶手段は、上記基準値を複数記憶しており、上記第1の制御手段は、上記検知手段での検知結果と上記記憶手段に記憶された複数の基準値とを比較して上記検知結果のレベルを判断し、そのレベルに応じて異なるモードで上記報知用光源からの報知用の光の出射を制御してもよい。 In the present invention, the storage means stores a plurality of the reference values, and the first control means includes a detection result of the detection means and a plurality of reference values stored in the storage means. May be determined to determine the level of the detection result, and the emission of the notification light from the notification light source may be controlled in different modes depending on the level.
例えば、上記第1の制御手段は、上記検知結果のレベルを判断した後、そのレベルに応じた波長の光を上記報知用光源から報知用の光として出射させる制御を行ってもよいし、そのレベルに応じて点灯の仕方(例えば点滅速度、明るさ)が異なるように、上記報知用光源から報知用の光を出射させる制御を行ってもよい。 For example, after determining the level of the detection result, the first control unit may perform control to emit light having a wavelength according to the level from the notification light source as notification light. You may perform control which emits the light for an alerting | reporting from the said light source for an alerting | reporting so that the lighting method (for example, blinking speed, brightness) changes according to a level.
このような第1の制御手段の制御により、観察者は、報知用光源から出射された報知用の光の状態(例えば色、点滅速度、明るさ)の認識に基づいて、検知対象の状態が複数のレベルのいずれであるかを容易に把握することができ、直ちに所定の処理(例えば電池交換)を行う必要があるかどうかを判断することができる。 Under such control of the first control means, the observer can determine the state of the detection target based on recognition of the state of the light for notification emitted from the light source for notification (for example, color, blinking speed, brightness). It is possible to easily grasp which of the plurality of levels, and it is possible to immediately determine whether it is necessary to perform a predetermined process (for example, battery replacement).
また、本発明においては、上記第1の制御手段は、上記報知用光源から上記報知用の光を出射させる際に、さらに、映像に重ねて報知情報(例えば警告文字)を表示するように上記映像表示素子を駆動する制御を行ってもよい。 Further, in the present invention, the first control unit further displays the notification information (for example, a warning character) over the video when the notification light is emitted from the notification light source. Control for driving the video display element may be performed.
この場合、映像表示素子に表示された映像と報知情報とは一体的に観察者の視野の第1の領域に表示されるので、観察者は、第2の領域での報知用の光の認識に加えて、その報知の内容を具体的に知ることができ、観察者は速やかに所定の措置を講じる(例えば電池交換や充電を行う)ことができる。なお、映像表示が中断されるわけではないので、観察者が必要なときに見るべき情報を見逃すといった事態はほとんど生じない。 In this case, since the video displayed on the video display element and the notification information are integrally displayed in the first area of the observer's field of view, the observer recognizes the light for notification in the second area. In addition, the contents of the notification can be specifically known, and the observer can take a predetermined measure (for example, perform battery replacement or charging) promptly. It should be noted that since the video display is not interrupted, there is almost no situation where the observer misses information to be viewed when necessary.
また、本発明の映像表示装置は、観察者への報知が必要となる外部機器からの情報を受信する受信手段と、上記受信手段にて上記情報を受信したときに、上記報知用光源から上記報知用の光を出射させる第2の制御手段とをさらに有していてもよい。なお、上記情報としては、外部機器が例えば携帯電話機であれば、携帯電話機の電波状態、通話の着信や電子メールの着信など、観察者に通知すべき情報を想定することができる。 In addition, the video display device of the present invention includes a receiving unit that receives information from an external device that needs to be notified to an observer, and the information source receives the information when the receiving unit receives the information. You may have further the 2nd control means to emit the light for information. As the information, if the external device is, for example, a mobile phone, information that should be notified to the observer, such as a radio wave state of the mobile phone, an incoming call or an incoming e-mail, can be assumed.
この構成では、観察者への報知が必要となる外部機器からの情報を受信手段が受信したときに、第2の制御手段が報知用光源から報知用の光を出射させるので、観察者は、報知用の光の認識に基づき、外部機器を確認する(例えば、電波状態を確認したり、通話の着信や電子メールの着信を確認する)など、必要な措置を速やかに講じることができる。 In this configuration, when the receiving unit receives information from an external device that requires notification to the observer, the second control unit emits notification light from the notification light source. Necessary measures such as confirming external devices (for example, confirming the radio wave state, confirming incoming calls or e-mails) can be taken promptly based on the recognition light for notification.
また、本発明においては、上記第2の制御手段は、上記受信手段にて受信した上記情報の内容に応じて異なるモードで上記報知用光源からの上記報知用の光の出射を制御してもよい。例えば、上記情報が携帯電話機の電波状態に関する情報であれば、第2の制御手段は、その情報の内容(電波状態のレベル)に応じた波長の光を出射するように、あるいは、上記レベルに応じた点滅速度や明るさが実現されるように、報知用光源からの報知用の光の出射を制御する。これにより、観察者は、外部機器の状態(例えば電波状態)を複数のレベルで認識することができる。 In the present invention, the second control unit may control the emission of the notification light from the notification light source in a different mode according to the content of the information received by the reception unit. Good. For example, if the information is information related to the radio wave condition of the mobile phone, the second control means emits light having a wavelength corresponding to the content of the information (the level of the radio wave condition) or at the above level. The emission of the notification light from the notification light source is controlled so that the corresponding blinking speed and brightness are realized. Thereby, the observer can recognize the state (for example, radio wave state) of the external device at a plurality of levels.
また、本発明においては、上記第2の制御手段は、上記報知用光源から上記報知用の光を出射させる際に、さらに、映像に重ねて報知情報を表示するように、上記映像表示素子を駆動してもよい。この場合、映像表示素子に表示された映像と報知情報とは一体的に観察者の視野の第1の領域に表示されるので、観察者は、第2の領域での報知用の光の認識に加えて、その報知の内容を具体的に知ることができ、観察者は速やかに所定の措置を講じる(例えば外部機器の電波状態や着信を確認する)ことができる。なお、映像表示が中断されるわけではないので、観察者が必要なときに見るべき情報を見逃すといった事態はほとんど生じない。 Further, in the present invention, the second control means further includes the video display element so as to display the notification information superimposed on the video when the notification light is emitted from the notification light source. It may be driven. In this case, since the video displayed on the video display element and the notification information are integrally displayed in the first area of the observer's field of view, the observer recognizes the light for notification in the second area. In addition, the contents of the notification can be specifically known, and the observer can take a predetermined measure promptly (for example, confirming the radio wave state of the external device and the incoming call). It should be noted that since the video display is not interrupted, there is almost no situation where the observer misses information to be viewed when necessary.
また、本発明においては、上記報知用光源は、上記映像表示素子から上記第1の領域に至る上記映像光の光路の外部に設けられていることが望ましい。この場合、映像表示素子から観察者への映像光の進行を報知用光源が妨げることがないので、報知用光源が点灯しているか否かに関係なく、観察者における表示映像の視認性を良好に確保することができる。 In the present invention, it is desirable that the notification light source is provided outside the optical path of the video light from the video display element to the first region. In this case, since the notification light source does not hinder the progress of the image light from the image display element to the observer, the visibility of the display image is good for the observer regardless of whether or not the notification light source is turned on. Can be secured.
また、本発明の映像表示装置は、上記報知用光源から出射される光の光量を調整するための光量調整部をさらに有していてもよい。この光量調整部により、上記光量を、例えば装置を使用する観察者の好みに応じた光量に調整することができる。その結果、装置の利便性を向上させることができる。 The video display device of the present invention may further include a light amount adjustment unit for adjusting the amount of light emitted from the notification light source. By this light quantity adjustment unit, the light quantity can be adjusted to a light quantity according to the preference of an observer using the apparatus, for example. As a result, the convenience of the apparatus can be improved.
また、本発明においては、上記報知用光源から出射される光の光量は、上記映像表示素子から出射される映像光の光量よりも多いことが望ましい。この場合、観察者は、上記両者の光量が同程度である場合に比べて、報知用光源からの報知用の光を視認しやすくなる。 In the present invention, the amount of light emitted from the notification light source is preferably larger than the amount of image light emitted from the image display element. In this case, it becomes easier for the observer to visually recognize the light for notification from the light source for notification as compared with the case where the light amounts of both are the same.
本発明によれば、第2の領域の少なくとも一部が第1の領域の外部に位置しているので、観察者は、少なくとも第2の領域のみの部分にて報知用の光を容易にかつ確実に認識することができる。この結果、たとえ観察者が第1の領域に表示される映像を集中して観察していない場合でも、第2の領域のみの部分での報知用の光の認識に基づき、報知があったこと自体を容易にかつ確実に認識することができる。 According to the present invention, since at least a part of the second area is located outside the first area, the observer can easily transmit the notification light at least in the part of the second area and Can be recognized reliably. As a result, even when the observer is not intensively observing the image displayed in the first area, the notification is made based on the recognition of the light for notification only in the second area. It can be easily and reliably recognized.
〔実施の形態1〕
本発明の実施の一形態について、図面に基づいて説明すれば、以下の通りである。
(1−1.HMDについて)
図2は、本実施形態に係る映像表示装置としてのHMD1の概略の構成を示す斜視図である。本実施形態のHMD1は、観察者の頭部に装着することが可能な片眼耳掛けタイプのものであり、映像表示部2と、支持部3と、コントローラボックス4と、接続部5とを有して構成されている。支持部3とコントローラボックス4とは、ケーブル6を介して電気的に接続されており、コントローラボックス4と接続部5とは、ケーブル7を介して電気的に接続されている。[Embodiment 1]
An embodiment of the present invention will be described below with reference to the drawings.
(1-1. About HMD)
FIG. 2 is a perspective view showing a schematic configuration of the
映像表示部2は、観察者に提供する映像を表示するものであり、各種の光学部品を筐体内に収容して構成されている。なお、映像表示部2の詳細な構成については後述する。 The
支持部3は、映像表示部2を観察者の眼前(例えば右眼の前)で支持するものであり、その一端は映像表示部2に接続され、他端は観察者の右耳に掛けることが可能な形状となっている。 The
コントローラボックス4は、観察者がHMD1に対して各種の情報の入力や動作指示を行うために操作されるものである。このコントローラボックス4の各ボタンを操作することにより、HMD1の電源のON/OFF、音量調整、映像の再生、早送り、巻き戻しなどを行うことが可能となる。 The controller box 4 is operated by an observer for inputting various information and operating instructions to the
接続部5は、HMD1を外部機器8に接続するためのコネクタである。本実施形態では、外部機器8として、携帯情報端末(Personal Digital Assistance;以下、PDAと略称する)を用いており、それゆえ、接続部5は、外部機器8のPCIスロットに装着される拡張カード(PCIカード)で構成されている。 The
HMD1の接続部5を外部機器8に接続することにより、外部機器8から出力される映像信号は、接続部5、ケーブル7、コントローラボックス4、ケーブル6、支持部3を介して映像表示部2に取り込まれ、そこで映像が表示される。これにより、観察者は、外部機器8をポケットやバッグに入れたまま、映像表示部2に表示された映像を見ることができる。 By connecting the
このような構成のHMD1においては、観察眼(右眼)の眼前に映像表示部2が配置されるため、観察者がHMD1を装着した状態では、映像表示部2の後方だけは死角となり、その後方の外界像を観察することはできない。しかし、映像表示部2の後方以外の領域の外界像については十分に観察することができるので、観察者はHMD1を常時装着した状態で活動することができる。 In the
なお、本実施形態では、外部機器8をPDAで構成しているが、例えば携帯電話機やポータブルのDVD再生装置で構成しても構わない。この場合は、接続部5をこれらの機器に接続可能なコネクタに適宜変更すればよい。 In the present embodiment, the
(1−2.映像表示部について)
次に、映像表示部2の詳細な構成について説明する。
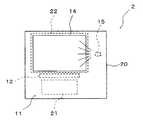
図3(a)は、映像表示部2の一構成例を示す正面図であり、図3(b)は、映像表示部2の縦断面図である。映像表示部2は、照明光学系11と、表示素子12と、接眼光学系13と、観察窓14と、報知用光源15と、報知用光学系16とを筐体20内に有して構成されている。(1-2. Video display unit)
Next, a detailed configuration of the
FIG. 3A is a front view showing a configuration example of the
照明光学系11は、表示素子12に光を供給するものであり、例えばLEDからなる光源21を有している。表示素子12は、入射光すなわち照明光学系11から供給される光を画像データに応じて変調して映像を表示するものであり、例えば透過型のLCDで構成されている。上記の照明光学系11と表示素子12とで、映像を表示する映像表示素子が構成されている。 The illumination
なお、表示素子12は、反射型のLCDや、DMD(Digital Micromirror Device;米国テキサスインスツルメント社製)で構成されても構わない。また、表示素子12は、EL(エレクトロルミネッセンス)表示素子のように自発光タイプのもので構成されても構わない。この場合は、照明光学系11(照明用光源12)は不要であり、表示素子12単独で映像表示素子が構成される。 The
接眼光学系13は、映像表示素子からの映像光を観察者の瞳に導くためのものである。ここで、図1は、観察者の右眼の視野30の一例を模式的に示す説明図である。接眼光学系13は、特に、観察者の視野30の一部である第1の領域31に上記映像光を導くように構成されている。 The eyepiece
より具体的には、接眼光学系13は、反射ミラー22と、接眼レンズ23とを有している。反射ミラー22は、映像表示素子(特に表示素子12)から第1の領域31に至る上記映像光の光路を折り曲げる第1の光路屈曲部材として機能している。接眼レンズ23は、反射ミラー22にて反射された映像光を観察者の第1の領域31に向けて集光する。 More specifically, the eyepiece
接眼光学系13が第1の光路屈曲部材としての反射ミラー22を有していることにより、接眼光学系13をコンパクトに構成することができる。さらに、反射ミラー22の配置に応じて照明光学系11(照明用光源21)の配置を変化させることができ、照明光学系11の配置の自由度を増大させることができる。 Since the eyepiece
観察窓14は、表示素子12に表示された映像、および報知用光源15から照射された光を観察者が視認するための窓であり、筐体20においてHMD1を装着した観察者の眼(ここでは右眼)とほぼ対向する位置に設けられている。 The
報知用光源15は、観察者に報知すべき事態が生じたときに、観察者への報知用の光を出射する光源であり、例えばLEDで構成されている。ここで、「報知」とは、観察者に注意を促すことを目的とする「警告」や、観察者に何らかの情報を知らせることだけを目的とする「通知」を含む概念とする。つまり、報知用光源15は、観察者に警告すべき事態が生じたときや、通知すべき情報が発生したときに点灯する。なお、この報知用光源15の制御の仕方については、後述する実施の形態3および4で説明する。 The
報知用光源15は、筐体20内において、映像表示素子から接眼光学系13を介して観察者の視野30の第1の領域31に至る映像光の光路の外部に設けられている。より詳しくは、報知用光源15は、表示素子12における表示領域の外側(例えば表示素子12の横)に設けられている。このように報知用光源15を配置することにより、表示素子12から出射される映像光の進行を報知用光源15が妨げることがないので、報知用光源15の点灯/非点灯に関係なく、観察者は表示映像を良好に視認することができる。 The
報知用光学系16は、報知用光源15から出射される光(報知用の光)を、観察者の視野30の一部である第2の領域32(図1参照)に導くための光学系であり、反射ミラー22と、接眼レンズ23とを有している。つまり、反射ミラー22および接眼レンズ23は、接眼光学系13と報知用光学系16とで共通して用いられている。 The notifying
反射ミラー22を報知用光学系16の構成部材として考えた場合、反射ミラー22は、報知用光源15から第2の領域32に至る報知用の光の光路を折り曲げる第2の光路屈曲部材として機能する。一方、接眼レンズ23を報知用光学系16の構成部材として考えた場合、接眼レンズ23は、反射ミラー22にて反射された報知用の光を第2の領域32に向けて集光する機能を有する。 When the
このように、報知用光学系16が第2の光路屈曲部材としての反射ミラー22を有していることにより、報知用光学系16をコンパクトに構成することができる。さらに、反射ミラー22の配置に応じて報知用光源15の配置を変化させることができ、報知用光源15の配置の自由度を増大させることができる。 As described above, the notification
特に、本実施形態では、反射ミラー22が第1の光路屈曲部材および第2の光路屈曲部材の両方の機能を兼ねていることにより、接眼光学系13および報知用光学系16の構成をともに簡素化することができ、部品点数の削減によって映像表示部2をコンパクトに構成することができる。 In particular, in the present embodiment, the configuration of the eyepiece
上記の構成において、照明光学系11の照明用光源21から出射された光は、表示素子12に入射し、そこで変調されて映像光として表示素子12から出射される。この映像光は、接眼光学系13の反射ミラー22にて反射され、接眼レンズ23および観察窓14を介して観察者の視野30の第1の領域31に導かれる。これにより、観察者は、この第1の領域31にて、表示素子12に表示された映像を観察することができる。 In the above configuration, the light emitted from the
一方、観察者に報知すべき事態が生じたときには、報知用光源15が点灯し、報知用光源15から報知用の光が出射される。この報知用の光は、報知用光学系16を構成する反射ミラー22にて反射され、接眼レンズ23および観察窓14を介して観察者の視野30の第2の領域32に照射される。これにより、観察者は、この第2の領域32にて、報知用の光の照射、つまり、報知があったこと自体を認識することが可能となる。 On the other hand, when a situation that should be notified to the observer occurs, the
(1−3.第1の領域と第2の領域との位置関係について)
本実施形態では、図1に示すように、観察者の視野30内において、第2の領域32の少なくとも一部が第1の領域31の外部に位置するように、接眼光学系13および報知用光学系16が構成されているとともに、そのような報知用光学系16に合わせて報知用光源15が配置されている。つまり、反射ミラー22の配置、接眼レンズ23の光学パワー、報知用光源15の位置などを適切に規定することにより、第1の領域31と第2の領域32との上記の位置関係を実現することが可能である。このように、第1の領域31と第2の領域32との位置関係を規定した点に、本発明の最も大きな特徴がある。(1-3. Positional relationship between first area and second area)
In the present embodiment, as shown in FIG. 1, the eyepiece
上記のように第2の領域32の少なくとも一部が第1の領域31の外部に位置していることにより、観察者の視野30の中には、第2の領域32のみの部分、すなわち、表示素子12からの映像光が導かれずに報知用の光のみが導かれる領域が必ず存在する。これにより、報知用光源15から報知用の光が出射されたときには、観察者は、少なくとも第2の領域32のみの部分で報知用の光を容易にかつ確実に認識することができる。したがって、たとえ観察者が第1の領域31に表示される映像を集中して観察していない場合でも、観察者は、第2の領域32のみの部分での報知用の光の認識に基づき、報知があったこと自体を容易にかつ確実に認識することができる。また、観察者が映像を注視している場合でも、その映像表示を中断することなく観察者に報知することができ、観察者が見るべき情報を見逃すといったことも生じない。 Since at least a part of the
このように、観察者の視野30内で第2の領域32のみが形成される部分があれば、上述した本発明の効果が得られると言えるので、第1の領域31と第2の領域32とは、観察者の視野30の中で互いに分離されていてもよい。例えば、図4は、観察者の右眼の視野30の他の例を模式的に示す説明図である。同図では、観察者の視野30の中で、第2の領域32の全体が第1の領域31の外部に位置している。つまり、観察者の視野30の中で第1の領域31と第2の領域32とが完全に分離されるように、接眼光学系13および報知用光学系16が構成されているとともに、そのような報知用光学系16に合わせて報知用光源15が配置されている。 As described above, if there is a portion where only the
このように、第1の領域31と第2の領域32とが図4のような位置関係であっても、観察者の視野30の中には、映像光が導かれない第2の領域32のみの部分が必ず存在するので、観察者は、第2の領域32のみの部分で報知用の光を容易にかつ確実に認識することができる。しかも、第1の領域31と第2の領域32とは完全に分離されているので、観察者は、第1の領域31にて表示映像を観察している最中でも、その観察を阻害されることなく、報知があったこと自体を第2の領域32にて確実に認識することができる。 As described above, even if the
(1−4.他の構成について)
ところで、報知用光源15から出射される光の光量は、例えばHMD1の上述したコントローラボックス4(図2参照)での入力に基づいて調整することが可能である。この場合、コントローラボックス4は、報知用の光の光量を調整するための光量調整部として機能する。なお、光量調整部は、例えば、観察者により操作される操作部と、報知用光源15を駆動する光源駆動部と、操作部での操作に基づいて光源駆動部を制御する制御部とで構成される。(1-4. Other configurations)
Incidentally, the amount of light emitted from the
このような光量調整部としての機能をコントローラボックス4に持たせることにより、報知用の光の光量を、HMD1を使用する観察者の好みに応じて自由に調整することができ、HMD1の利便性が向上する。 By providing the controller box 4 with such a function as a light amount adjustment unit, the light amount of the notification light can be freely adjusted according to the preference of the observer who uses the
また、報知用光源15から出射される報知用の光の光量が、映像表示素子から出射される映像光の光量よりも多ければ、上記両者の光量が同程度の場合に比べて、観察者は、第2の領域32に導かれた報知用の光をさらに視認しやすくなる。したがって、報知用の光の視認性を向上させるためには、光量調整部としてのコントローラボックス4にてそのような光量調整を行えばよい。 In addition, if the light amount of the notification light emitted from the
なお、コントローラボックス4での操作により、報知用光源15から出射される報知用の光の色を選択できるようにしても構わない。この場合、HMD1を使用する観察者の好みに応じて報知用の光の色を自由に調整することができ、この点でもHMD1の利便性が向上する。 Note that the color of the notification light emitted from the
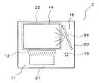
ところで、本実施形態では、接眼光学系13と報知用光学系16とで共通の反射ミラー22を用いた例について説明したが、これらの光学系で別々の反射ミラーを有するようにしても勿論構わない。 By the way, in the present embodiment, an example in which the
例えば図5は、映像表示部2の他の構成例を示す正面図である。このように、報知用光学系16は、第2の光路屈曲部材としての反射ミラー24を、第1の光路屈曲部材としての反射ミラー22とは別に有していてもよい。ここで、表示素子12の表示領域の中心と観察者の瞳の中心とを光学的に結ぶ軸を光軸とすると、反射ミラー24は、例えば、表示素子12から接眼光学系13の反射ミラー22に至る光軸と、反射ミラー22から観察者の瞳に至る光軸とを含む平面に対して垂直な方向に報知用光源15からの報知用の光を反射させるように配置される。この場合、報知用光源15からの報知用の光は、反射ミラー24での反射によって、観察者の視野30の第2の領域32に側方から照射される。 For example, FIG. 5 is a front view showing another configuration example of the
上記のように、反射ミラー24を反射ミラー22とは別に報知用光学系16に用いる構成であっても、報知用光源15からの報知用の光の光路が反射ミラー24で折り曲げられるレイアウトとなるので、報知用光学系16をコンパクトに構成することが可能となる。また、上述した図3(a)の構成では、報知用光源15からの報知用の光を反射ミラー22に入射させるために、報知用光源15を表示素子12に比較的近い位置に配置する必要が生じる。これに対して、図5の構成では、報知用光源15を表示素子12から遠ざけて配置するなど、接眼光学系13の構成を考慮することなく報知用光源15を配置することができる。その結果、報知用光源15の配置の自由度を増大させることができる。 As described above, even if the reflecting
また、図6は、映像表示部2のさらに他の構成例を示す正面図である。同図に示すように、反射ミラー24を配置せず、表示素子12から出射される映像光の反射ミラー22から観察窓14に至る光路の側方に報知用光源15を配置し、報知用光源15から出射される報知用の光を、観察者の視野30の第2の領域32に側方から直接照射するようにしてもよい。この場合は、報知用光学系16が不要となり、装置の構成を一層簡素化することができる。 FIG. 6 is a front view showing still another configuration example of the
なお、本実施形態では、照明光学系11の照明用光源21と報知用光源15とを別々の基板上に設ける構成としたが、これらの光源を同一基板上に設ける構成としても勿論構わない。また、表示素子12とは別に、報知用の光を変調して報知情報を表示する表示素子を別途設け、報知時には、上記報知情報を第2の領域32に表示させる構成とすることも可能である。また、音声を出力する音声出力部を映像表示部2に設け、報知時には、報知用光源15からの報知用の光の出射と同時に音声出力部から音声を出力するようにしても構わない。 In the present embodiment, the
〔実施の形態2〕
本発明の他の実施の形態について、図面に基づいて説明すれば、以下の通りである。なお、説明の便宜上、実施の形態1と同一の構成には同一の部材番号を付記し、その説明を省略する。[Embodiment 2]
The following will describe another embodiment of the present invention with reference to the drawings. For convenience of explanation, the same components as those in the first embodiment are denoted by the same member numbers, and the description thereof is omitted.
(2−1.HMDについて)
図7は、本実施形態に係る映像表示装置としてのHMD1の概略の構成を示す斜視図である。本実施形態のHMD1は、観察者の頭部に装着することが可能な眼鏡型のものであり、映像表示部2と、支持部3と、コントローラボックス4と、接続部5とを有して構成されている。支持部3とコントローラボックス4とは、ケーブル6を介して電気的に接続されており、コントローラボックス4と接続部5とは、ケーブル7を介して電気的に接続されている。(2-1. About HMD)
FIG. 7 is a perspective view showing a schematic configuration of the
なお、本実施形態では、HMD1と接続される外部機器8として、携帯電話機を想定しているが、その他の機器(PDA、DVD再生装置など)であっても勿論構わない。 In the present embodiment, a mobile phone is assumed as the
映像表示部2は、本実施形態では、各種の光学部品を収容した筐体と、眼鏡の一方のレンズ(例えば右眼用レンズ)に相当する透明基板とで構成されている。支持部3は、映像表示部2を観察者の眼前で支持するものであるが、本実施形態では、HMD1は眼鏡型であるため、一般的な眼鏡のフレームに相当する部分と、眼鏡の他方のレンズ(例えば左眼用レンズ)に相当する透明基板とで構成されている。 In this embodiment, the
HMD1の接続部5を外部機器8に接続することにより、外部機器8から出力される信号は、接続部5、ケーブル7、コントローラボックス4、ケーブル6、支持部3を介して映像表示部2に取り込まれる。これにより、観察者は、外部機器8をポケットやバッグに入れたまま、外部機器8にて表示される情報(例えば電子メールの内容、映像)を映像表示部2にて見ることができる。 By connecting the
(2−2.映像表示部について)
以下、映像表示部2の詳細について説明する。
図8は、映像表示部2の詳細な構成を示す断面図である。また、図9(a)は、映像表示部2の一部(後述の表示素子42)を一方向(後述のZ方向)から見たときの平面図であり、図9(b)は、映像表示部2の一部(後述の表示素子42)を他の方向(後述のY方向)から見たときの平面図である。映像表示部2は、照明光学系41と、表示素子42と、接眼光学系43と、報知用光源44と、報知用光学系45とを有している。(2-2. About the video display unit)
Details of the
FIG. 8 is a cross-sectional view showing a detailed configuration of the
ここで、説明の便宜上、方向を以下のように定義しておく。まず、表示素子42の表示領域の中心と、接眼光学系43によって形成される光学瞳Eの中心とを光学的に結ぶ軸を光軸とする。そして、照明光学系41から光学瞳Eまでの光路を展開したときの光軸方向をZ方向とする。また、接眼光学系43の後述するホログラム光学素子55への光軸の入射面に垂直な方向をX方向とし、ZX平面に垂直な方向をY方向とする。なお、ホログラム光学素子55への光軸の入射面とは、ホログラム光学素子55における入射光の光軸と反射光の光軸とを含む平面、すなわち、YZ平面を指す。 Here, for convenience of explanation, directions are defined as follows. First, an axis that optically connects the center of the display area of the
照明光学系41は、表示素子42に光を供給するものであり、照明用光源51と、集光レンズ52とで構成されている。 The illumination
照明用光源51は、赤(R)、緑(G)、青(B)の3原色に対応する波長の光を出射するRGB一体型の1チップLEDで構成されている。より具体的には、照明用光源51は、光強度のピーク波長および光強度半値の波長幅で例えば462±12nm、525±17nm、635±11nmとなる3つの波長帯域の光を発する。 The
集光レンズ52は、照明用光源51から出射された光をY方向に集光し、整形するコリメータレンズで構成されている。なお、照明光学系41は、照明用光源51と集光レンズ52との間にさらに拡散板を有していても構わない。 The condensing
表示素子42は、入射光すなわち照明光学系41から供給される光を画像データに応じて変調して映像を表示するものであり、例えば透過型のLCDで構成されている。上記の照明光学系41と表示素子42とで、映像を表示する映像表示素子が構成されている。なお、表示素子42は、反射型のLCDや、DMDで構成されていても勿論構わない。また、表示素子42は、EL表示素子のように自発光タイプのもので構成されても構わない。この場合は、照明光学系41は不要であり、表示素子42単独で映像表示素子が構成される。 The
接眼光学系43は、映像表示素子からの映像光を観察者の瞳に導くとともに、外界像の光(外光)を観察者の瞳に導くためのものである。ここで、図10は、観察者の右眼の視野60の一例を模式的に示す説明図である。接眼光学系43は、特に、観察者の視野60の一部である第1の領域61に上記映像光および外光を導くように構成されている。より具体的には、図8に示すように、接眼光学系43は、接眼プリズム53(第1の透明基板)と、偏向プリズム54(第2の透明基板)と、ホログラム光学素子55とを有して構成されている。 The eyepiece
接眼プリズム53は、映像表示素子(特に表示素子42)からの映像光を内部で全反射させてホログラム光学素子55を介して観察者の瞳に導く一方、外光を透過させて観察者の瞳に導くものであり、偏向プリズム54とともに、例えばアクリル系樹脂で構成されている。この接眼プリズム53は、平行平板の下端部を下端に近くなるほど薄くして楔状にし、その上端部を上端に近くなるほど厚くした形状で構成されている。また、接眼プリズム53は、その下端部に配置されるホログラム光学素子55を挟むように、偏向プリズム54と接着剤で接合されている。 The
偏向プリズム54は、平面視で略U字型の平行平板で構成されており、接眼プリズム53の下端部および両側面部(左右の各端面)と貼り合わされたときに、接眼プリズム53と一体となって略平行平板となるものである。この偏向プリズム54を接眼プリズム53に接合することにより、観察者が接眼光学系43を介して観察する外界像に歪みが生じるのを防止することができる。 The
つまり、例えば、接眼プリズム53に偏向プリズム54を接合させない場合、外光は接眼プリズム53の楔状の下端部を透過するときに屈折するので、接眼プリズム53を介して観察される外界像に歪みが生じる。しかし、接眼プリズム53に偏向プリズム54を接合させて一体的な略平行平板を形成することで、外光が接眼プリズム53の楔状の下端部を透過するときの屈折を偏向プリズム54でキャンセルすることができる。その結果、シースルーで観察される外界像に歪みが生じるのを防止することができる。 That is, for example, when the deflecting
ホログラム光学素子55は、映像表示素子(特に表示素子42)からの映像光(3原色に対応した波長の光)を回折し、表示素子42にて表示される映像を拡大して観察者の瞳に虚像として導く体積位相型の反射型ホログラムであり、軸非対称な正の光学パワーを有している。つまり、ホログラム光学素子55は、正のパワーを持つ非球面凹面ミラーと同様の機能を持っている。これにより、装置を構成する各光学部材の配置の自由度を高めて装置を容易に小型化することができるとともに、良好に収差補正された映像を観察者に提供することができる。 The hologram
また、ホログラム光学素子55は、映像表示素子(特に表示素子42)からの映像光と外光とを同時に観察者の瞳に導くコンバイナとして機能している。これにより、観察者は、ホログラム光学素子55を介して、表示素子42から提供される映像と外界像とを同時に観察することができる。 Further, the hologram
報知用光源44は、観察者に報知すべき事態が生じたときに、観察者への報知用の光を出射する光源であり、図9(a)に示すように、RGBの各色光を出射するLED44R・44G・44Bで構成されている。報知用光源44から出射されるRGB光の波長は、映像表示素子から出射されるRGB光の波長と略一致している。 The
また、報知用光源44は、表示素子42と並んで配置されており、映像表示素子から接眼光学系43を介して観察者の視野60の第1の領域61に至る映像光の光路の外部に位置している。これにより、表示素子42から出射される映像光の進行を報知用光源44が妨げることはない。 The
報知用光学系45は、報知用光源44から出射される光(報知用の光)を、観察者の視野60の一部である第2の領域62(図10参照)に導くための光学系であり、集光レンズ56と、接眼光学系43とで構成されている。つまり、接眼光学系43は、報知用光学系45の一部としても機能しており、表示素子42からの映像光を第1の領域61に導くのみならず、集光レンズ56を介して入射する報知用の光を第2の領域62に導く。集光レンズ56は、報知用光源44から出射される光を集光し、整形するコリメータレンズで構成されており、報知用光源44の光出射側に表示素子42と並んで配置されている。 The notifying
また、本実施形態では、図10に示すように、観察者の視野60内において、第2の領域62が第1の領域61の外部に位置するように、接眼光学系43および報知用光学系45が構成されているとともに、そのような報知用光学系45に合わせて報知用光源44が配置されている。 In the present embodiment, as shown in FIG. 10, the eyepiece
上記の構成において、照明光学系41の照明用光源51から出射された光は、集光レンズ52にて整形されて表示素子42に入射し、そこで変調されて映像光として表示素子42から出射される。この映像光は、接眼光学系43の接眼プリズム53の内部にその上端面から入射し、対向する2つの面で複数回全反射されて、ホログラム光学素子55に入射する。ホログラム光学素子55に入射した光は、反射されて光学瞳Eに達する。光学瞳Eの位置では、観察者は、表示素子42に表示された映像の拡大虚像を、観察者の視野60の第1の領域61にて観察することができる。 In the above configuration, the light emitted from the
また、接眼プリズム53および偏向プリズム54は、外光をほとんど全て透過させるので、観察者は視野60の第1の領域61にて外界像を観察することができる。したがって、表示素子42に表示された映像の虚像は、外界像の一部に重なって第1の領域61にて観察されることになる。 Further, since the
一方、観察者に報知すべき事態が生じたときには、報知用光源44が点灯し、報知用光源44から報知用の光が出射される。この報知用の光は、報知用光学系45を構成する集光レンズ56を介して接眼光学系43の内部にその上端面から入射し、対向する2つの面で複数回全反射されて、ホログラム光学素子55に入射する。ホログラム光学素子55に入射した光は、反射されて光学瞳Eに達する。光学瞳Eの位置では、観察者は、報知用の光によって形成される像を、観察者の視野60の第2の領域62にて観察することができる。つまり、観察者は、この第2の領域62にて、報知用の光の照射、つまり、報知があったこと自体を認識することが可能となる。 On the other hand, when a situation that should be notified to the observer occurs, the
(2−3.効果について)
本実施形態では、観察者の視野60内において、第2の領域62は第1の領域61の外部に位置しており、第2の領域62は第1の領域61とは分離されているので、報知用光源44から報知用の光が出射されたときには、観察者は、映像光が到達しない第2の領域62にて報知用の光を容易にかつ確実に認識することができる。したがって、たとえ観察者が第1の領域61に表示される映像を集中して観察していない場合でも、観察者は、第2の領域62のみの部分での報知用の光の認識に基づき、報知があったこと自体を容易にかつ確実に認識することができるなど、実施の形態1と同様の効果を得ることができる。(2-3. Effect)
In the present embodiment, the
なお、第2の領域62の一部が第1の領域61と重畳していても構わない。この場合であっても、第2の領域62のみの部分(映像光が到達しない領域)が存在するので、上記と同様の効果を得ることはできる。 A part of the
また、本実施形態では、接眼光学系43は、映像光と外光とのコンバイナとしてのホログラム光学素子55を有しているので、表示映像と外界像とを重ねて観察可能な、いわゆるシースルータイプの映像表示装置であっても、報知があったこと自体を観察者が容易にかつ確実に認識することができる。 In the present embodiment, the eyepiece
また、報知用光学系45は、ホログラム光学素子55を介して、報知用の光を第2の領域62に導いている。ホログラム光学素子55は、正のパワーを有する光学部材であるので、報知用の光は、ホログラム光学素子55によって明確な形の像に変換され、その像が第2の領域62に表示される。例えば、報知用光源44のLED44Rが点灯したときには、図10に示すように、第2の領域62には赤色の像62Rがスポット状に明確に表示される。したがって、例えば報知用の光がぼんやりと第2の領域62に表示される場合に比べて、観察者は、報知があったこと自体をさらに認識しやすくなる。 Further, the notifying
また、接眼光学系43における映像光と外光とのコンバイナ(ホログラム光学素子55)が、報知用の光を第2の領域62に導く光学部材を兼ねているので、接眼光学系43および報知用光学系45の構成をともに簡素化することができる。 Further, the image light and external light combiner (hologram optical element 55) in the eyepiece
また、ホログラム光学素子55は、特定の入射角で入射する特定の波長の光のみを効率よく回折するので、上記コンバイナがこのようなホログラム光学素子55で構成されていることにより、明るい映像および外界像を観察者に提供することができる。また、映像光のRGBの色純度が高くなるので、表示映像において広い色再現領域を実現することができる。 Further, since the hologram
しかも、報知用光源44から出射されるRGBの光の波長は、映像表示素子から出射される映像光(RGBの光)の波長と略一致しているので、表示素子42からの映像光のみならず、報知用光源44から出射される光のうちで特定の波長の光のみが効率よくコンバイナ(ホログラム光学素子55)にて回折される。これにより、明るい映像および外界像を第1の領域61に表示しながら、明るい報知用の像を第2の領域62に表示することができ、観察者は、報知があったこと自体を容易に認識することができる。 In addition, the wavelength of the RGB light emitted from the
なお、上記したホログラム光学素子55を第1のホログラム光学素子とすると、報知用光源44から出射されるRGBの光の波長と、映像表示素子から出射される映像光(RGBの光)の波長とが異なる場合、報知用の光を観察者の視野60の第2の領域62に導くための第2のホログラム光学素子を、第1のホログラム光学素子とほぼ同一平面上に配置するようにしてもよい。 If the hologram
なお、本実施形態の構成においては、報知用光源44のLED44R・44G・44Bがそれぞれ点灯したときには、第2の領域62には赤色、緑色、青色の像62R・62G・62B(図10参照)がそれぞれスポット状に表示される。したがって、報知内容の種類(例えば通話着信、電子メールの着信、電池残量低下など)の一つ一つをLED44R・44G・44Bにそれぞれ対応付け、報知内容の種類に応じてLED44R・44G・44Bのいずれかを点灯させるようにしても構わない。この場合、観察者は、第2の領域62に表示された報知用の光の色によって、その報知内容までを即座に把握することができる。 In the configuration of the present embodiment, when the
〔実施の形態3〕
本発明のさらに他の実施の形態について、図面に基づいて説明すれば、以下の通りである。本実施形態では、上述した実施の形態1・2の報知用光源15・44の点灯制御について説明する。[Embodiment 3]
The following will describe still another embodiment of the present invention with reference to the drawings. In the present embodiment, the lighting control of the notification
(3−1.HMDの構成および点灯制御(その1))
図11は、本実施形態のHMD1の主要部の概略の構成を示すブロック図である。このHMD1は、報知用光源71と、照明用光源72と、電池73と、検知部74と、記憶部75と、第1の制御手段76とを有している。(3-1. Configuration of HMD and lighting control (part 1))
FIG. 11 is a block diagram illustrating a schematic configuration of a main part of the
報知用光源71は、実施の形態1・2の報知用光源15・44に対応している。また、照明用光源72は、実施の形態1・2の照明用光源21・51に対応している。電池73は、報知用光源71および照明用光源72に電源を供給するものであり、乾電池や充電池などで構成されている。 The
検知部74は、装置内部の検知対象の状態を検知する検知手段である。本実施形態では、装置内部の検知対象として、例えば電池73を想定している。したがって、検知対象の状態とは、例えば電池73の電池残量(電圧)を考えることができる。なお、検知部74における電池残量の検知は、常時行われてもよいし、所定時間ごと(例えば10分ごと)に行われてもよい。 The
記憶部75は、検知対象の状態の基準値を記憶する記憶手段である。検知対象の状態として、ここでは電池残量を考えているので、上記の基準値としては、例えばHMD1の映像表示部2での映像表示に支障をきたさない電池電圧(観察者が表示映像を視認できる最低の電圧)を考えることができる。 The
第1の制御手段76は、検知部74での検知結果と記憶部75に記憶された基準値とを比較し、その比較結果に基づいて報知用光源71からの報知用の光の出射を制御するものである。より具体的には、第1の制御手段76は、制御部77と、光源駆動部78とを有して構成されている。制御部77は、上記検知結果と上記基準値とを比較し、その比較結果に基づいて光源駆動部78を制御する。光源駆動部78は、制御部77の制御のもとで報知用光源71を駆動し、報知用光源71から報知用の光を出射させたり、その出射を停止させる。 The first control means 76 compares the detection result of the
図12は、本実施形態のHMD1における動作の流れを示すフローチャートである。まず、検知部74が電池73の残量を検知すると(S1)、制御部77は、電池残量と記憶部75に記憶された基準値とを比較し、電池残量が基準値以下であるかどうかを判断する(S2)。S2にて、電池残量が基準値以下であれば、制御部77は光源駆動部78を制御して、報知用光源71から報知用の光を出射させる(S3)。一方、S2にて、電池残量が基準値を上回っていれば、映像表示に支障はないので、制御部77は光源駆動部78を駆動させず、報知用光源71から報知用の光を出射させない(S4)。 FIG. 12 is a flowchart showing an operation flow in the
このような報知用光源71の点灯制御により、装置内部の検知対象(電池73)の状態に応じて、観察者に適切に報知することができる。特に、本実施形態では、第1の制御手段76の制御により、検知部74での検知結果が基準値以下の場合には、報知用光源71から報知用の光を出射させて観察者に報知するので、観察者は報知用の光の認識に基づき、例えば電池73を交換したり充電するなど、適切な措置を速やかに講じることができる。 By such lighting control of the
(3−2.点灯制御(その2))
上記した点灯制御では、検知部74が電池73の電池残量を検知し、この電池残量をもとにして第1の制御手段76が報知用光源71を制御しているが、このような制御の仕方に限定されるわけではない。(3-2. Lighting control (2))
In the lighting control described above, the
例えば、検知部74は、照明用光源72の輝度を直接検知するようにしてもよい。つまり、検知部74の検知対象は、照明用光源72であってもよい。この場合、映像表示に支障をきたさない照明用光源72の輝度を基準値として記憶部75に記憶させておけば、第1の制御手段76は、検知部74にて検知された輝度と記憶部75に記憶された基準値(輝度)との比較判断結果に基づいて、報知用光源71からの報知用の光の出射を制御することも可能である。つまり、例えば、第1の制御手段76は、検知部74にて検知された輝度が基準値以下となった場合に、報知用光源71から報知用の光を出射させるようにしてもよい。この場合であっても、観察者は報知用の光の認識に基づき、電池交換等の適切な措置を速やかに講じることができる。 For example, the
(3−3.点灯制御(その3))
また、例えば、図13は、HMD1の主要部の他の構成例を示すブロック図である。同図に示すように、電池73をHMD1に装着してからの装置の使用時間を計時する計時部79をHMD1に設け、検知部74の検知対象を計時部79とすることも可能である。(3-3. Lighting control (part 3))
For example, FIG. 13 is a block diagram illustrating another configuration example of the main part of the
この場合、映像表示に支障をきたさない上記電池73の使用可能期間を基準値として記憶部75に記憶させておけば、第1の制御手段76は、上記使用時間と上記使用可能期間との比較判断結果に基づいて報知用光源71からの報知用の光の出射を制御することも可能である。つまり、例えば、第1の制御手段76は、検知部74にて検知された使用時間が上記使用可能期間を上回った場合に、報知用光源71から報知用の光を出射させるようにしてもよい。この場合であっても、観察者は報知用の光の認識に基づき、電池交換等の適切な措置を速やかに講じることができる。 In this case, if the usable period of the
(3−4.点灯制御(その4))
ところで、以上では、記憶部75が基準値を1つだけ記憶し、その1つの基準値と検知部74での検知結果との比較結果に基づく報知用光源71の制御について説明したが、記憶部75は複数の基準値を記憶するようにしても構わない。この場合、第1の制御手段76は、検知部74での検知結果と記憶部75に記憶された複数の基準値とを比較して上記検知結果のレベルを判断し、そのレベルに応じて異なるモードで報知用光源71からの報知用の光の出射を制御することができる。(3-4. Lighting control (part 4))
In the above, the
例えば、電池73の電池残量(電圧)を、A1、A2、A3の3段階のレベルに対応付けた場合(電池残量はA1<A2<A3とする)、レベルA1とA2とを区別するための閾値(電圧)B1と、レベルA2とA3とを区別するための閾値(電圧)B2(ただしB1<B2)とを複数の基準値として記憶部75に記憶させておく。この場合、検知部74での検知結果、すなわち、電池残量がC1であったとすると、第1の制御手段76は、電池残量C1と閾値B1およびB2とを比較し、電池残量C1のレベルがA1、A2、A3のいずれかのレベルであるかを判断する。For example, when the remaining battery level (voltage) of the
そして、電池残量C1のレベルがA3であった場合には、第1の制御手段76は、例えば赤色の光を報知用の光として報知用光源71から出射させる。また、電池残量C1のレベルがA2であった場合には、第1の制御手段76は、例えば緑色の光を報知用の光として報知用光源71から出射させる。さらに、電池残量C1のレベルがA1であった場合には、第1の制御手段76は、例えば青色の光を報知用の光として報知用光源71から出射させる。When the level of the remaining battery level C1 is A3 , the
このように、第1の制御手段76が、検知部74での検知結果のレベルに応じて異なるモードで報知用光源71からの報知用の光の出射を制御することにより、その報知用の光の出射状態を観察者が認識することによって、検知対象の状態が複数のレベルのいずれであるかを容易に把握することができる。つまり、上記の例で言えば、第1の制御手段76は、上記検知結果のレベルに応じた波長の光を、報知用光源71から報知用の光として出射させるので、観察者は、上記報知用の光の色の認識に基づいて、検知対象の状態が複数のレベルのいずれであるかを容易に把握することができる。その結果、観察者は、直ちに所定の処理(例えば電池交換)を行う必要があるかどうかを判断することができ、必要な場合には直ちに所定の処理を行うことができる。 As described above, the
(3−5.点灯制御(その5))
記憶部75が複数の基準値を記憶する場合、第1の制御手段76は、記憶部75に記憶された複数の基準値と検知部74での検知結果との比較から上記検知結果のレベルを判断し、そのレベルに応じて点灯の仕方(例えば1回の点灯時間(点滅速度))が異なるように、報知用光源71から報知用の光を出射させるようにすることもできる。(3-5. Lighting control (part 5))
When the
例えば、検知部74にて検知された電池残量C1のレベルがA3であった場合には、第1の制御手段76は、常時点灯となるように、報知用光源71から報知用の光を出射させる。また、電池残量C1のレベルがA2であった場合には、第1の制御手段76は、点灯/消灯の繰り返しとなる点滅状態となるように、報知用光源71から報知用の光を出射させる。さらに、電池残量C1のレベルがA1であった場合には、第1の制御手段76は、高速点滅となるように、報知用光源71から報知用の光を出射させる。つまり、この場合、報知用光源71の1回の点灯時間は、レベルA3で最も長く、レベルA2、レベルA1の順で短くなる。For example, when the level of the remaining battery level C1 detected by the
このように検知部74での検知結果のレベルに応じて報知用光源71の点灯の仕方を変化させることにより、観察者は、報知用の光の状態(点滅の速さ)の認識に基づいて、検知対象の状態が複数のレベルのいずれであるかを容易に把握することができる。その結果、観察者は、直ちに所定の処理(例えば電池交換)を行う必要があるかどうかを判断することができ、必要な場合には直ちに所定の処理を行うことができる。 Thus, the observer can change the lighting method of the
なお、第1の制御手段76は、報知用光源71の点灯の仕方を上記検知結果のレベルに応じて変化させる際に、上記レベルに応じて報知用光源71の点灯時の明るさ(輝度)を変化させるようにすることも勿論可能である。 The
(3−6.追加制御)
図14は、本実施形態のHMD1の主要部のさらに他の構成例を示すブロック図である。同図に示すように、HMD1の第1の制御手段76は、報知用光源71から報知用の光を出射させる場合に、さらに、映像に重ねて報知情報を表示するように、映像表示素子(表示素子81)を駆動する制御を行ってもよい。なお、表示素子81は、実施の形態1・2の表示素子12・42に対応している。(3-6. Additional control)
FIG. 14 is a block diagram showing still another configuration example of the main part of the
ここで、上記の報知情報としては、例えばHMD1の電池残量が低下した旨の警告文字や、それに対応する映像(例えば電池残量を段階的に表示可能なアイコン)を想定することができる。HMD1は、通常、表示素子81を駆動するための表示素子駆動部82を有しているが、この表示素子駆動部82が制御部77および光源駆動部78とともに第1の制御手段76を構成している。 Here, as said alerting | reporting information, the warning character that the battery remaining charge of HMD1 fell, for example, the image | video (for example, the icon which can display a battery remaining charge in steps) corresponding to it can be assumed. The
図15は、例えば電池73を検知部74の検知対象としたHMD1における動作の流れを示すフローチャートである。この例では、S1〜S4までは、図12と全く同様である。このS4では、第1の制御手段76の制御部77は、光源駆動部78を制御して報知用光源71から報知用の光を出射させるが、この際に、表示素子駆動部82も制御し、表示素子81において映像に重ねて報知情報を表示させる(S5)。 FIG. 15 is a flowchart showing an operation flow in the
この場合、表示素子81に表示された映像と報知情報とは一体的に観察者の視野の第1の領域31・61に表示されるので、観察者は、第2の領域32・62での報知用の光の認識に加えて、その報知の内容を具体的に知ることができ、観察者は速やかに所定の措置を講じる(例えば電池交換や充電を行う)ことができる。 In this case, since the image and the notification information displayed on the
〔実施の形態4〕
本発明のさらに他の実施の形態について、図面に基づいて説明すれば、以下の通りである。本実施形態では、上述した実施の形態1ないし3のHMD1が外部機器と接続された場合の、報知用光源15・44の点灯制御について説明する。[Embodiment 4]
The following will describe still another embodiment of the present invention with reference to the drawings. In the present embodiment, the lighting control of the notification
(4−1.HMDの構成および点灯制御(その1))
図16は、本実施形態のHMD1の主要部の概略の構成を示すブロック図である。このHMD1は、報知用光源91と、受信部92と、第2の制御手段93とを有している。報知用光源91は、実施の形態1・2の報知用光源15・44または実施の形態3の報知用光源71に対応している。(4-1. Configuration of HMD and lighting control (part 1))
FIG. 16 is a block diagram illustrating a schematic configuration of a main part of the
受信部92は、HMD1の観察者への報知が必要となる外部機器からの情報を受信する受信手段である。なお、上記外部機器としては、例えば携帯電話機やPDAを想定することができるが、ここでは携帯電話機を想定している。したがって、観察者への報知が必要となる外部機器からの情報としては、ここでは、携帯電話機の電波状態が悪くなったという情報や、通話や電子メールの着信があったという情報を想定することができる。 The receiving
第2の制御手段93は、受信部92にて上記情報を受信したときに、報知用光源91から報知用の光を出射させるものであり、制御部94と、光源駆動部95とを有して構成されている。制御部94は、受信部92にて上記情報を受信したときに、光源駆動部95を制御する。光源駆動部95は、制御部94の制御のもとで報知用光源91を駆動し、報知用光源91から報知用の光を出射させる。なお、実施の形態3の第1の制御手段76が本実施形態の第2の制御手段93の機能を持っていても構わない。 The second control means 93 emits notification light from the
このようなHMD1の構成により、観察者への報知が必要となる情報を外部機器からケーブルを介してHMD1が受信したときには、第2の制御手段93の制御によって報知用光源91が点灯され、報知用の光が出射される。したがって、観察者は、報知用の光の認識に基づき、例えば、外部機器の電波状態を確認したり、通話の着信や電子メールの着信を確認するなど、必要な措置を速やかに講じることができる。 With such a configuration of the
(4−2.点灯制御(その2))
ところで、上述した第2の制御手段93は、受信部92にて受信した上記情報の内容に応じて異なるモードで報知用光源91からの報知用の光の出射を制御してもよい。図17は、このような第2の制御手段93を備えたHMD1における動作の流れを示すフローチャートである。(4-2. Lighting control (part 2))
By the way, the second control means 93 described above may control the emission of the notification light from the
なお、ここでは、観察者への報知が必要となる外部機器からの情報として、外部機器の電波状態を考えるものとする。そして、電波状態としては、少し悪い、悪い、かなり悪い(通信不可)の3段階に分かれているものとし、これらは順に第1のレベル、第2のレベル、第3のレベルにそれぞれ対応しているものとする。つまり、外部機器からは、第1〜第3のレベルに応じた信号がHMD1に送信されるものとする。 Here, the radio wave state of the external device is considered as information from the external device that requires notification to the observer. The radio wave condition is divided into three stages, a little bad, bad, and quite bad (communication is impossible). These correspond to the first level, the second level, and the third level in order. It shall be. That is, it is assumed that signals corresponding to the first to third levels are transmitted from the external device to the
まず、外部機器から電波状態を示す信号(情報)を受信部92が受信すると(S11)、第2の制御手段93の制御部94は、受信信号が示す電波状態が第1のレベルであるかどうかを判断する(S12)。そして、S12にて、電波状態が第1のレベルであると判断した場合には、制御部94は、第1の制御モードで光源駆動部95を制御して、報知用光源91を第1の動作モードで動作させる(S12−1)。この第1の動作モードとは、例えば赤色の光を報知用の光として報知用光源91から出射させる動作モードを指す。 First, when the
一方、S12にて、電波状態が第1のレベルでないと判断した場合には、制御部94は、受信信号が示す電波状態が第2のレベルかどうかを判断する(S13)。そして、S13にて、電波状態が第2のレベルであると判断した場合には、制御部94は第2の制御モードで光源駆動部95を制御して、報知用光源91を第2の動作モードで動作させる(S13−1)。この第2の動作モードとは、例えば緑色の光を報知用の光として報知用光源91から出射させる動作モードを指す。 On the other hand, when it is determined in S12 that the radio wave state is not the first level, the
一方、S13にて、電波状態が第2のレベルでないと判断した場合には、制御部94は、受信信号が示す電波状態は第3のレベルであると判断し、第3の制御モードで光源駆動部95を制御して、報知用光源91を第3の動作モードで動作させる(S14−1)。この第3の動作モードとは、例えば、青色の光を報知用の光として報知用光源91から出射させる動作モードを指す。 On the other hand, when it is determined in S13 that the radio wave state is not the second level, the
以上のように、観察者への報知が必要となる外部機器からの情報を受信部92にて受信したときに、第2の制御手段93は、上記情報の内容に応じて異なる制御モードで報知用光源91からの報知用の光の出射を制御するので、観察者は、報知用の光の出射の状態の認識に基づいて、外部機器の状態(ここでは電波状態)を複数のレベルで容易に認識することができる。特に、第2の制御手段93は、受信部92にて受信した上記情報の内容に応じた波長の光を、報知用光源91から報知用の光として出射させるので、観察者は、報知用の光の色の認識に基づいて、外部機器の状態を複数のレベルで容易にかつ確実に認識することができる。 As described above, when the receiving
また、上記情報として、例えば外部機器における通話の着信や電子メールの着信を考えた場合、上記の例にならって、第2の制御手段93は、通話の着信があったときには第1の動作モードで報知用光源91を動作させ、電子メールの着信があったときには第2の動作モードで報知用光源91を動作させるようにすることも可能である。この場合には、観察者は、報知用の光の色の認識に基づいて、報知があったことのみでなく、報知内容(通話の着信であるか、電子メールの着信であるか)までを容易に認識することができる。 Further, as the information, for example, when an incoming call or an e-mail is received at an external device, the second control means 93 follows the above example. It is also possible to operate the
なお、上述した第1〜第3の制御モードでは、上記情報の内容に応じて報知用光源91から出射される報知用の光の波長を異ならせるようにしているが、実施の形態3と同様に、上記情報の内容に応じた点滅速度や明るさが実現される動作モードとなるように、第2の制御手段93は、報知用光源91からの報知用の光の出射を制御するようにしてもよい。つまり、第2の制御手段93は、受信部92にて受信した上記情報の内容に応じて点灯の仕方(点滅速度、明るさ)が異なるように、報知用光源91から報知用の光を出射させるようにしても構わない。 In the first to third control modes described above, the wavelength of the notification light emitted from the
(4−3.追加制御)
図18は、本実施形態のHMD1の主要部のさらに他の構成例を示すブロック図である。HMD1の第2の制御手段93は、上述のように報知用光源91から報知用の光を出射させる際に、さらに、映像に重ねて報知情報を表示するように、映像表示素子(表示素子96)を駆動する制御を行ってもよい。なお、表示素子96は、実施の形態1・2の表示素子12・42または実施の形態3の表示素子81に対応している。(4-3. Additional control)
FIG. 18 is a block diagram showing still another configuration example of the main part of the
また、HMD1は、通常、表示素子91を駆動するための表示素子駆動部92を有しているが、この表示素子駆動部92が制御部94および光源駆動部95とともに第2の制御手段93を構成している。なお、表示素子駆動部92は、実施の形態3の表示素子駆動部82と対応している。 The
図19は、上記構成のHMD1における動作の流れを示すフローチャートである。基本的な流れは、図17のフローチャートと同じであるが、ここでは以下の工程が付加されている。 FIG. 19 is a flowchart showing a flow of operations in the
例えば、報知用光源91から第1の動作モードで報知用の光を出射させるS12−1の後に、第1の動作モードに対応する情報を表示素子96が表示するように、第2の制御手段93が表示素子96を制御している(S12−2)。なお、第1の動作モードに対応する情報としては、例えば、「電波状態が少し悪いです。」というような文字情報であってもよいし、その内容を示す映像(アンテナ2本のアイコン)であってもよい。 For example, the
また、報知用光源91から第2の動作モードで報知用の光を出射させるS13−1の後に、第2の動作モードに対応する情報を表示素子96が表示するように、第2の制御手段93が表示素子96を制御している(S13−2)。なお、第2の動作モードに対応する情報としては、例えば、「電波状態が悪いです。」という文字情報やその内容を示す映像(アンテナ1本のアイコン)を考えることができる。 Further, the second control means is configured so that the
さらに、報知用光源91から第3の動作モードで報知用の光を出射させるS14−1の後に、第3の動作モードに対応する情報を表示素子96が表示するように、第2の制御手段93が表示素子96を制御している(S14−2)。なお、第3の動作モードに対応する情報としては、例えば、「電波状態がかなり悪いです。」や「通信不可です。」という文字情報やその内容を示す映像(アンテナ0本のアイコン)を考えることができる。 Further, the second control means is configured so that the
このように、第2の制御手段93は、報知用光源91から報知用の光を出射させる際に、さらに、映像に重ねて報知情報を表示するように表示素子96を駆動しているので、観察者は、報知用の光の認識に加えて、その報知の内容を具体的に知ることができ、例えば外部機器の電波状態を確認するなど、速やかに所定の措置を講じることができる。 Thus, when the second control means 93 emits the notification light from the
なお、ここでは、上記報知情報として、外部機器の電波状態に関する情報を考えているが、観察者への報知が必要となる情報として、通話や電子メールの着信、内蔵の電池残量低下を考えた場合は、それぞれ、「通話着信あり。」、「メール着信あり。」などの通知情報や、「電池残量低下」などの警告情報を考えればよい。 Note that here, information regarding the radio wave condition of the external device is considered as the notification information. However, as information that requires notification to the observer, incoming calls and e-mails, and a decrease in the remaining battery level are considered. In such a case, notification information such as “There is an incoming call” and “Email arrives” and warning information such as “Low battery level” may be considered.
なお、以上の各実施の形態で説明した構成を適宜組み合わせてHMD1を実現することも勿論可能である。 Of course, the
1 HMD(映像表示装置)
4 コントローラボックス(光量調整部)
11 照明光学系(映像表示素子)
12 表示素子(映像表示素子)
13 接眼光学系
15 報知用光源
16 報知用光学系
21 照明用光源(映像表示素子)
22 反射ミラー(第1の光路屈曲部材、第2の光路屈曲部材)
24 反射ミラー(第2の光路屈曲部材)
30 視野
31 第1の領域
32 第2の領域
41 照明光学系(映像表示素子)
42 表示素子(映像表示素子)
43 接眼光学系
44 報知用光源
45 報知用光学系
51 照明用光源(映像表示素子)
55 ホログラム光学素子(コンバイナ、光学部材)
60 視野
61 第1の領域
62 第2の領域
71 報知用光源
74 検知部(検知手段)
75 記憶部(記憶手段)
76 第1の制御手段
77 制御部(第1の制御手段)
78 光源駆動部(第1の制御手段)
81 表示素子(映像表示素子)
82 表示素子駆動部(第1の制御手段)
91 報知用光源
92 受信部(受信手段)
93 第2の制御手段
94 制御部(第2の制御手段)
95 光源駆動部(第2の制御手段)
96 表示素子(映像表示素子)
97 表示素子駆動部(第2の制御手段)1 HMD (video display device)
4 Controller box (light intensity adjustment unit)
11 Illumination optical system (image display element)
12 Display element (video display element)
13 eyepiece
22 reflection mirror (first optical path bending member, second optical path bending member)
24 reflection mirror (second optical path bending member)
30 Field of
42 Display element (video display element)
43 Eyepiece
55 Hologram optical element (combiner, optical member)
60 field of
75 Storage unit (storage means)
76 1st control means 77 Control part (1st control means)
78 Light source drive section (first control means)
81 Display element (video display element)
82 Display element driver (first control means)
91 Light source for
93 Second control means 94 Control section (second control means)
95 Light source driving unit (second control means)
96 Display element (video display element)
97 Display element driver (second control means)
| Application Number | Priority Date | Filing Date | Title |
|---|---|---|---|
| JP2005237252AJP2007052224A (en) | 2005-08-18 | 2005-08-18 | Image display apparatus |
| Application Number | Priority Date | Filing Date | Title |
|---|---|---|---|
| JP2005237252AJP2007052224A (en) | 2005-08-18 | 2005-08-18 | Image display apparatus |
| Publication Number | Publication Date |
|---|---|
| JP2007052224Atrue JP2007052224A (en) | 2007-03-01 |
| Application Number | Title | Priority Date | Filing Date |
|---|---|---|---|
| JP2005237252APendingJP2007052224A (en) | 2005-08-18 | 2005-08-18 | Image display apparatus |
| Country | Link |
|---|---|
| JP (1) | JP2007052224A (en) |
| Publication number | Priority date | Publication date | Assignee | Title |
|---|---|---|---|---|
| JP2009251428A (en)* | 2008-04-09 | 2009-10-29 | Konica Minolta Holdings Inc | Information display system |
| JP2011229024A (en)* | 2010-04-21 | 2011-11-10 | Olympus Corp | Head-worn information notification device |
| WO2015125966A1 (en)* | 2014-02-24 | 2015-08-27 | 株式会社ルネット | Glasses type information terminal, information processing device, computer program and recording medium |
| WO2015199287A1 (en)* | 2014-06-23 | 2015-12-30 | Lg Electronics Inc. | Head mounted display and method of controlling the same |
| JP2016167844A (en)* | 2016-04-21 | 2016-09-15 | ソニー株式会社 | Head mounted display, head mounted display control method, display system and control method therefor |
| JP2016189044A (en)* | 2015-03-30 | 2016-11-04 | セイコーエプソン株式会社 | Display device and control method of display device |
| JP2017183830A (en)* | 2016-03-28 | 2017-10-05 | 京セラ株式会社 | Head-mounted display |
| JP2017228300A (en)* | 2017-07-13 | 2017-12-28 | ソニー株式会社 | Image display device, head-mounted display, information display device, display processing method, and program |
| US9880615B2 (en) | 2013-02-15 | 2018-01-30 | Seiko Epson Corporation | Information processing device and control method for information processing device |
| JP2019179423A (en)* | 2018-03-30 | 2019-10-17 | 株式会社コロプラ | Program, information processing device, and method |
| JP2019208358A (en)* | 2019-08-09 | 2019-12-05 | コニカミノルタ株式会社 | Head mount display |
| Publication number | Priority date | Publication date | Assignee | Title |
|---|---|---|---|---|
| JPS6166974A (en)* | 1984-09-10 | 1986-04-05 | Canon Inc | Warning device |
| JPH07146730A (en)* | 1993-11-22 | 1995-06-06 | Ono:Kk | Display device with stoppage preliminarily announcing function |
| JPH07311362A (en)* | 1994-05-17 | 1995-11-28 | Canon Inc | Image display device and management device for managing the same |
| JPH09304726A (en)* | 1996-05-15 | 1997-11-28 | Sony Corp | Optical visual sense device |
| JPH09326977A (en)* | 1996-06-03 | 1997-12-16 | Canon Inc | Display device |
| JPH11249063A (en)* | 1998-02-27 | 1999-09-17 | Nikon Corp | Image display device |
| JP2001145045A (en)* | 2000-09-11 | 2001-05-25 | Olympus Optical Co Ltd | Video display device |
| JP2001264682A (en)* | 2000-03-17 | 2001-09-26 | Minolta Co Ltd | Information display optical system, optical element or optical system and information display device |
| Publication number | Priority date | Publication date | Assignee | Title |
|---|---|---|---|---|
| JPS6166974A (en)* | 1984-09-10 | 1986-04-05 | Canon Inc | Warning device |
| JPH07146730A (en)* | 1993-11-22 | 1995-06-06 | Ono:Kk | Display device with stoppage preliminarily announcing function |
| JPH07311362A (en)* | 1994-05-17 | 1995-11-28 | Canon Inc | Image display device and management device for managing the same |
| JPH09304726A (en)* | 1996-05-15 | 1997-11-28 | Sony Corp | Optical visual sense device |
| JPH09326977A (en)* | 1996-06-03 | 1997-12-16 | Canon Inc | Display device |
| JPH11249063A (en)* | 1998-02-27 | 1999-09-17 | Nikon Corp | Image display device |
| JP2001264682A (en)* | 2000-03-17 | 2001-09-26 | Minolta Co Ltd | Information display optical system, optical element or optical system and information display device |
| JP2001145045A (en)* | 2000-09-11 | 2001-05-25 | Olympus Optical Co Ltd | Video display device |
| Publication number | Priority date | Publication date | Assignee | Title |
|---|---|---|---|---|
| JP2009251428A (en)* | 2008-04-09 | 2009-10-29 | Konica Minolta Holdings Inc | Information display system |
| JP2011229024A (en)* | 2010-04-21 | 2011-11-10 | Olympus Corp | Head-worn information notification device |
| US9880615B2 (en) | 2013-02-15 | 2018-01-30 | Seiko Epson Corporation | Information processing device and control method for information processing device |
| EP3112988A4 (en)* | 2014-02-24 | 2017-10-25 | Lunettes Inc. | Glasses type information terminal, information processing device, computer program and recording medium |
| WO2015125966A1 (en)* | 2014-02-24 | 2015-08-27 | 株式会社ルネット | Glasses type information terminal, information processing device, computer program and recording medium |
| US9977265B2 (en) | 2014-02-24 | 2018-05-22 | Lunettes Inc. | Glasses type information terminal, information processing device, computer program and recording medium |
| WO2015199287A1 (en)* | 2014-06-23 | 2015-12-30 | Lg Electronics Inc. | Head mounted display and method of controlling the same |
| US9470894B2 (en) | 2014-06-23 | 2016-10-18 | Lg Electronics Inc. | Head mounted display and method of controlling the same |
| JP2016189044A (en)* | 2015-03-30 | 2016-11-04 | セイコーエプソン株式会社 | Display device and control method of display device |
| JP2017183830A (en)* | 2016-03-28 | 2017-10-05 | 京セラ株式会社 | Head-mounted display |
| JP2016167844A (en)* | 2016-04-21 | 2016-09-15 | ソニー株式会社 | Head mounted display, head mounted display control method, display system and control method therefor |
| JP2017228300A (en)* | 2017-07-13 | 2017-12-28 | ソニー株式会社 | Image display device, head-mounted display, information display device, display processing method, and program |
| JP2019179423A (en)* | 2018-03-30 | 2019-10-17 | 株式会社コロプラ | Program, information processing device, and method |
| JP2019208358A (en)* | 2019-08-09 | 2019-12-05 | コニカミノルタ株式会社 | Head mount display |
| Publication | Publication Date | Title |
|---|---|---|
| US7173765B2 (en) | Information display system | |
| US8866702B1 (en) | Use of optical display system as a visual indicator for a wearable computing device | |
| US9372345B2 (en) | Head-mounted display device | |
| US20060017657A1 (en) | Information display system | |
| CN102200641B (en) | head-mounted display apparatus | |
| JP4411547B2 (en) | Image display device | |
| JP4985248B2 (en) | Video display unit and mask unit | |
| JP6089705B2 (en) | Display device and control method of display device | |
| JP6197864B2 (en) | Wearable computer | |
| JP2017135605A (en) | Image display device | |
| JP2003225207A (en) | Visual axis detector | |
| JP2011059444A (en) | Spectacles-type image display device | |
| JP2010516186A (en) | Monocular display device | |
| JP2013122519A (en) | Transmission type display device, display method and display program | |
| JP2008058461A (en) | Image display apparatus and head mount type image display apparatus | |
| US7502153B2 (en) | Image display apparatus | |
| US10121409B2 (en) | Display device, method of controlling display device, and program | |
| JP2007052224A (en) | Image display apparatus | |
| JP2017212475A (en) | Head mount display | |
| JP2009157291A (en) | Video display device and head mounted display | |
| JP2008310130A (en) | Control unit and head-mounted display device | |
| JP2009151065A (en) | Video display device and head mount display | |
| WO2017033992A1 (en) | Head-mounted image display device | |
| JP2009157290A (en) | Video display device and head mounted display | |
| JP2002098928A (en) | Video display device |
| Date | Code | Title | Description |
|---|---|---|---|
| A621 | Written request for application examination | Free format text:JAPANESE INTERMEDIATE CODE: A621 Effective date:20080424 | |
| A711 | Notification of change in applicant | Free format text:JAPANESE INTERMEDIATE CODE: A711 Effective date:20110202 | |
| A977 | Report on retrieval | Free format text:JAPANESE INTERMEDIATE CODE: A971007 Effective date:20110301 | |
| A131 | Notification of reasons for refusal | Free format text:JAPANESE INTERMEDIATE CODE: A131 Effective date:20110419 | |
| RD03 | Notification of appointment of power of attorney | Free format text:JAPANESE INTERMEDIATE CODE: A7423 Effective date:20110512 | |
| A02 | Decision of refusal | Free format text:JAPANESE INTERMEDIATE CODE: A02 Effective date:20110906 |