





本発明は積層光学素子例えば光学ローパスフィルタ(以下、積層光学フィルタとする)及びその製造方法を技術分野とし、特に光学板を直接接合によって貼り合わせた積層光学フィルタ及びその製造方法に関する。 The present invention relates to a laminated optical element, for example, an optical low-pass filter (hereinafter referred to as a laminated optical filter) and a manufacturing method thereof, and more particularly to a laminated optical filter in which an optical plate is bonded by direct bonding and a manufacturing method thereof.
(発明の背景)
  積層光学フィルタはカメラ等の撮像素子の前方に配置され、擬似信号を抑止して色ボケ等を解消する素子として知られている。近年では、光学製品も増大して需要も多く、光学特性を確実に維持することは勿論として、生産性が求められる。(Background of the Invention)
 The laminated optical filter is disposed in front of an imaging element such as a camera, and is known as an element that suppresses a pseudo signal and eliminates color blur and the like. In recent years, the number of optical products has increased and there has been a great demand, and as a matter of course, productivity is demanded as well as maintaining optical characteristics reliably.
(従来技術の一例)
  第4図は従来例を説明する光学フィルタの断面図、第5図は製造工程を説明する積層光学ウェハの断面図である。(Example of conventional technology)
 FIG. 4 is a cross-sectional view of an optical filter for explaining a conventional example, and FIG. 5 is a cross-sectional view of a laminated optical wafer for explaining a manufacturing process.
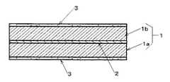
  積層光学フィルタ1は例えば平板状とした水晶板やガラス板からなる複数例えば2枚の光学板1(ab)を貼り合わせてなる。光学板1(ab)は例えばアクリル系とした紫外線硬化型の接着剤2によって接合される。そして、積層光学フィルタ1の例えば両主面には赤外線カット用の光学薄膜3を有する。但し、光学薄膜3は必要に応じて一主面のみに設けられる。  The laminated
通常では、先ず、平板状とした2枚の光学ウェハ4(ab)の両主面を鏡面研磨する。そして、各光学ウェハ4(ab)の特に両主面を強酸性や強アルカリ性の洗浄液によって洗浄する。これにより、光学特性を悪化させて不良の元となる例えば研磨時のゴミやシミ等の異物を光学ウェハ4(ab)の表面から除去する。 In general, first, both main surfaces of two flat optical wafers 4 (ab) are mirror-polished. Then, particularly both main surfaces of each optical wafer 4 (ab) are cleaned with a strongly acidic or strongly alkaline cleaning solution. As a result, the optical characteristics are deteriorated, and foreign matters such as dust and stains at the time of polishing, which cause defects, are removed from the surface of the optical wafer 4 (ab).
  次に、各光学ウェハ4(ab)の一主面に、赤外線カット用の光学薄膜3を蒸着等によって形成する。これにより、光学フィルタ1の入出射面となる各光学ウェハ4(ab)の一主面のクリーン度が維持(確保)される。次に、光学ウェハ4(ab)の接合面となる他主面を対向して、アクリル系の接着剤2が塗布される。  Next, an optical
  そして、光学薄膜3の設けられた光学ウェハ4(ab)の一主面を図示しない冶具によって押圧しながら、紫外線を照射して接着剤2を硬化させ、2枚の光学フィルタ4(ab)を接合する。これにより、積層光学ウェハ4を形成する。  Then, while pressing one main surface of the optical wafer 4 (ab) on which the optical
  最後に、積層光学ウェハ4をA−A及びB−B線に沿って縦横に切断分割し、二枚の光学板1(ab)が接合した積層光学フィルタ1の多数を得る。この場合、一般には、ダイヤモンドの微粒子(粉体)を薄円板の外周に固着した回転刃(ダイヤモンドホイール)を有する所謂ダイシングソウによって切断する。そして、各積層光学フィルタ1を弱酸性や弱アルカリ性の洗浄液によって洗浄する。  Finally, the laminated
(従来技術の問題点)
  しかしながら、上記構成の光学素子及びその製造方法では、2枚の光学ウェハ4(ab)を貼り合わせる接着剤2に起因して次の問題があった。すなわち、接着剤2(ここではアクリル系)は、耐酸性及び耐アルカリ性に劣ることから、強酸性や強アルカリ性の洗浄液で洗浄した光学フィルタ4(ab)の接合前に、光学薄膜3を形成して入出射面のクリーン度を確保する。(Problems of conventional technology)
 However, the optical element having the above configuration and the manufacturing method thereof have the following problems due to the
  逆に言えば、光学ウェハ4(ab)の接合後に洗浄して光学薄膜3を形成すると、入出射面(両主面)のクリーン度は確保されても、洗浄液によって接着剤2が侵食される。なお、接着剤2による光学ウェハ4(ab)の接合後に弱酸性や弱アルカリ性の洗浄液による洗浄も考えられるが、積層光学ウェハ4における両主面の異物のうちの特にシミが落ちきれない。  In other words, if the optical
  これらのことから、前述したように、鏡面研磨された各光学ウェハ4(ab)を洗浄して光学薄膜3を設けた後、接着剤2によって接合する。しかし、この場合には、光学薄膜3の設けられた両主面を冶具によって押圧しながら接着剤2に紫外線を照射する。このため、光学薄膜3は冶具と当接して損傷やしわ(凹凸)等を生じさせる。  For these reasons, as described above, the optically polished optical wafers 4 (ab) are cleaned and provided with the optical
  また、光学ウェハ4(ab)の接合面に溶融した接着剤2を塗布しての作業工程中に、接合界面から空気が侵入し、接着剤2中に気泡を生じさせる。これらは、いずれも、不良の元になる光学特性を悪化させ、生産性に欠ける問題があった。さらには、接合面の接着剤2によって、光が熱に変換したり、分散したりして伝播損失を生じる問題もあった。  Further, air enters from the bonding interface during the operation process in which the
  また、上記の製造方法では、ダイシングソウによって積層光学ウェハ4を切断分割するため、ダイシングソウによる刃先の幅分が削り取られる。したがって、積層光学ウェハ4に切除分を生じて光学素子1の取り分が減って利用効率が悪い。そこで、液晶パネルの切断等に使用されるスクライブ切断法を採用することが考えられた。  In the above manufacturing method, since the laminated
  スクライブ切断法は、例えば第6図に示したように、光学ウェハ4aの表面上に分割線としての線状ひび(スクライブ溝、引っ掻き溝)5を設ける。例えばダイヤモンド刃先とした回転カッターを押し当て形成される。そして、図示しない分割装置(例えば三星ダイヤモンド社製のブレーカー)によって、線状ひび5上から圧力を加えて分割する。これにより、ダイシングソウのように刃先の幅分による切除分がないので、利用効率が約20%上昇する。  In the scribe cutting method, for example, as shown in FIG. 6, linear cracks (scribe grooves, scratch grooves) 5 as dividing lines are provided on the surface of the
  しかし、積層光学ウェハ4にスクライブ切断法を適用した場合には、積層光学ウェハ4の接合面に介在した接着剤2の粘着性によって、線状ひび5が他方の光学ウェハに伝わらず、線状ひびに沿っての分割を困難にする問題があった。なお、第6図(a)は断面図、同図(b)は平面図、同図(c)は点線枠部の一部断面図である。  However, when the scribe cutting method is applied to the laminated
(発明の目的)
  本発明は光学特性を良好にして伝播損失が少ない、生産性を向上した積層光学素子及びその製造方法を提供することを目的とする。(Object of invention)
 SUMMARY OF THE INVENTION An object of the present invention is to provide a laminated optical element with good optical characteristics, low propagation loss and improved productivity, and a method for manufacturing the same.
  本発明(積層光学素子)は、特許文献1及び2で示される直接接合に着目し、特許請求の範囲の請求項1に示したように、水晶板又はガラス板からなる光学板の複数枚を貼り合わせてなる積層光学素子において、前記ガラス板の接合面には酸化珪素膜(SiO2膜)が設けられ、前記光学板の接合面は原子間結合によって直接接合された構成とする。The present invention (laminated optical element) pays attention to direct bonding shown in
また、本発明(積層光学素子の製造方法)は、同請求項4に示したように、水晶ウェハ又はガラスウェハからなる光学ウェハの複数枚を貼り合わせて積層光学ウェハを形成した後、前記積層光学ウェハを個々の積層光学素子に切断分割してなる積層光学素子の製造方法において、前記ガラスウェハの接合面には酸化珪素膜(SiO2膜)を形成して光学ウェハとし、前記光学ウェハの複数を原子間結合によって直接接合してなる製造方法とする。Further, according to the present invention (manufacturing method of a laminated optical element), a plurality of optical wafers made of crystal wafers or glass wafers are bonded together to form a laminated optical wafer, and then the laminated optical wafer is formed. In a method for manufacturing a laminated optical element obtained by cutting and dividing an optical wafer into individual laminated optical elements, a silicon oxide film (SiO2 film) is formed on the bonding surface of the glass wafer to form an optical wafer, A manufacturing method in which a plurality is directly bonded by an interatomic bond.
(請求項1、積層光学素子)
  本発明(請求項1)の構成であれば、光学板の接合面は原子間結合によって直接接合するので、接着剤を不要にする。したがって、従来の接着剤を用いることによる光学特性の悪化を防止して生産性を高められる。また、光がそのまま直進して透過するので、接着剤による伝播損失がない。なお、光学板としてガラス板を用いる場合は、接合面に酸化珪素膜が設けられるので、原子間接合による直接接合が可能になる。(
 If it is the structure of this invention (Claim 1), since the joint surface of an optical plate is joined directly by an interatomic bond, an adhesive agent becomes unnecessary. Therefore, it is possible to prevent the deterioration of the optical characteristics due to the use of the conventional adhesive and increase the productivity. In addition, since the light travels straight as it is, there is no propagation loss due to the adhesive. In the case where a glass plate is used as the optical plate, since a silicon oxide film is provided on the bonding surface, direct bonding by atomic bonding becomes possible.
(請求項1の実施態様、請求項2、3)
  請求項2では、請求項1において、前記原子間結合はSi−O−Si結合又はSi−Si結合とする。これらにより、接着剤を不要とした直接接合の結合形態をさらに明確にする。(Embodiment of
 In
  同請求項3では、請求項1において、前記光学板の複数枚は、水晶板同士、ガラス板同士、又は水晶板とガラス板であるとする。これにより、積層光学素子の各光学板の組み合わせをさらに明確にする。  In
(請求項4、積層光学素子の製造方法)
  本発明(請求項4)の製造方法では、光学ウェハの複数枚を原子間結合によって直接接合する。したがって、光学ウェハを直接接合した後でも、接合面には接着剤がないので、強酸性や強アルカリ性の洗浄液で洗浄できる。これにより、洗浄後に、積層光学ウェハの両主面(入出射面)に光学薄膜を形成できる。(
 In the manufacturing method of the present invention (Claim 4), a plurality of optical wafers are directly bonded by interatomic bonding. Therefore, even after the optical wafer is directly bonded, the bonded surface has no adhesive, and can be cleaned with a strong acid or strong alkaline cleaning liquid. Thereby, an optical thin film can be formed on both main surfaces (incident / exit surfaces) of the laminated optical wafer after cleaning.
したがって、直接接合時の押圧用の冶具が光学薄膜に当接することはない。このことから、積層光学ウェハの主面のクリーン度を維持して、光学薄膜に損傷やシワを与えることがない。そして、直接接合なので、気泡の発生も抑止する。したがって、光学特性を維持して生産性を高められる。 Therefore, the pressing jig for direct joining does not contact the optical thin film. For this reason, the cleanliness of the main surface of the laminated optical wafer is maintained, and the optical thin film is not damaged or wrinkled. And since it is direct bonding, the generation of bubbles is also suppressed. Therefore, productivity can be improved while maintaining optical characteristics.
(請求項4の実施態様、請求項5)
  同請求項5の製造方法では、請求項4において、前記切断分割は、前記積層光学ウェハの一主面に線状ひびを設けた後、前記線状ひびに沿って圧力を加えてなるスクライバ分割法であるとする。これにより、ダイシングソウのように刃幅分が削り取られることなく、線状ひびに沿って分割されるので、積層光学ウェハからの積層光学素子の取り分が増加する。これは、直接接合して接着剤を使用しないために、スクライバ分割法が適用できる。(Embodiment of
 In the manufacturing method according to
第1図は本発明の一実施形態である積層光学フィルタの断面図、第2図はその製造方法を説明する積層光学ウェハの断面図である。なお、前従来例と同一部分の説明は簡略又は省略する。 FIG. 1 is a cross-sectional view of a laminated optical filter according to an embodiment of the present invention, and FIG. 2 is a cross-sectional view of a laminated optical wafer for explaining the manufacturing method thereof. In addition, description of the same part as a prior art example is simplified or abbreviate | omitted.
  積層光学フィルタ1は、前述したようにガラス又は水晶からなる2枚の光学板1(ab)を貼り合わせてなり、例えば両主面に赤外線カット用の光学薄膜3を有する。ここでは、光学板1(ab)の一方はガラス板1aとし、他方は水晶板1bとする。そして、ガラス板1aの接合面にはSiO2からなる酸化珪素膜6が設けられ、水晶板1bとは原子間結合によって直接接合される。ここでの原子間結合はSi−O−Si(シロキサン結合)とする。The laminated
  このようなものでは、例えば以下で示す第1〜第3工程によって積層光学フィルタ1を形成する。第1工程では、光学ウェハ4(ab)としてのガラスウェハ4aと水晶ウェハ4bとを鏡面研磨する。そして、ガラスウェハ4aの一主面上には酸化珪素膜(SiO2膜)6を形成する「第2図(a)」。酸化珪素膜6は酸化珪素が混入した溶剤をガラスウェハ4a上に塗布する。そして、これを回転撹拌することによって所謂SPG(Spin On Glass)によって形成される。In such a thing, the laminated
  第2工程では、ガラスウェハ4aと水晶ウェハ4bの一主面(接合面)を超純水によって親水化(OH化)する「第2図(b)」。そして、親水化された一主面同士を当接してオプティカルコンタクトによって仮接合する。次に、両主面から押圧しながら、約500℃で加熱する。これにより、親水化された一主面間ではH2Oが生成されて蒸発する。そして、ガラスウェハ4aと水晶ウェハ4bの一主面間はSi−O−Siによる原子間結合によって直接接合される「第2図(c)」。In the second step, one main surface (bonding surface) of the
  第3工程では、先ず、直接接合された積層光学ウェハ4の一主面に、前述したようにダイヤモンド刃先の回転カッター等によって線状ひび5を設ける「第2図(d)」。次に、積層光学ウェハ4を強酸や強アルカリの洗浄液によって洗浄し、特に両主面からゴミやシミを除去する。  In the third step, first, a
  そして、積層光学ウェハ4の両主面に蒸着によって光学薄膜3を形成する「第2図(e)」。最後に、前述した分割装置によって積層光学ウェハ4を線状ひび5に沿って分割し、個々の積層光学フィルタ1を得る。そして、各積層光学フィルタ1を弱酸性や弱アルカリ性の洗浄液によって洗浄する。  Then, the optical
  このような構成であれば、積層光学フィルタ1は接着剤2を用いることなく、Si−O−Siとした原子間結合によって直接接合される。したがって、従来の接着剤2による透過光の伝播損失がない。この場合、例えば受光素子による透過光の検出を確実にする。そして、接着剤2を用いることによる製造工程中での光学特性の悪化を防止して生産性を高められる。  With such a configuration, the laminated
  具体的には(このような製造方法では)、ガラスウェハ4aと水晶ウェハ4bとを原子間結合によって直接接合するので、その後に強酸性や強アルカリ性で洗浄できる。これは、従来のように接着剤2を使用しないので、接合面に悪影響を及ぼすことがないことから可能になる。  Specifically (in such a manufacturing method), since the
  そして、洗浄後に、積層光学ウェハ4の両主面に光学薄膜3を形成する。この場合、直接接合後なので、光学薄膜3には押圧用の冶具等が当接することはない。したがって、積層光学ウェハ4の主面のクリーン度を維持して、光学薄膜3に損傷やシワを与えることがない。そして、直接接合なので、接合面には気泡の発生も抑止する。したがって、光学特性を維持して生産性を高められる。  Then, after cleaning, the optical
  また、積層光学ウェハ4は直接接合であって接合面には接着剤2を要しないことから、積層光学ウェハの一主面に線状ひび5を設けた後、前記線状ひびに沿って圧力を加えて分割切断するスクライバ分割法を適用できる。したがって、ダイシングソウのように刃幅分が削り取られることなく、線状ひびに沿って分割されるので、積層光学ウェハ4からの積層光学素子1の取り分が増加する。これにより、さらに生産性が高まる。  Further, since the laminated
  また、この実施形態では、積層光学ウェハ4に線状ひびを設けた後、光学薄膜3を形成する。したがって、洗浄ひびを形成する際には、光学薄膜3から微小ゴミが発生することがないので、光学特性を良好に維持する。なお、光学薄膜3からの微小ゴミは粘着性を有するので、洗浄しても除去しにくい。  In this embodiment, the optical
(他の事項)
  上記実施形態では、ガラスウェハ1aと水晶ウェハ1bとの原子間結合はSi−O−Siとしたが、第3図(a)に示したようにSi−Siとしてもよい。この場合、例えばガラスウェハ4aの一主面は親水化(OH化)とし、水晶ウェハ4bの一主面は疎水化(H化)として「第3図(b)」、点移転温度573℃以下の温度で加熱する。これにより、接合面間でのH2Oが蒸発してSi−Si結合となる。(Other matters)
 In the above embodiment, the interatomic bond between the
  また、光学板1(ab)はガラス板1aと水晶板1bとしたが、ガラス板同士又は水晶板同士であったとしてもよい。また、分割切断はスクライバ分割法としたが、ダイシングソウによる切断であってもよい。但し、スクライバ分割の方が前述のように取り分が多くて有利である。  Moreover, although the optical plate 1 (ab) is the
また、光学フィルタは2枚のみならず、これ以上の複数枚であってもよく、さらに光学フィルタに限らず、例えば波長板を含めて他の光学素子であっても適用できる。 Further, the number of optical filters is not limited to two, and a plurality of optical filters may be used. The optical filter is not limited to the optical filter, and may be applied to other optical elements including a wavelength plate, for example.
1 積層光学フィルタ、2 接着剤、3 光学薄膜、4 積層光学ウェハ、5 線状ひび、6 酸化珪素膜。 1 laminated optical filter, 2 adhesive, 3 optical thin film, 4 laminated optical wafer, 5 linear crack, 6 silicon oxide film.
| Application Number | Priority Date | Filing Date | Title | 
|---|---|---|---|
| JP2005222719AJP2007041117A (en) | 2005-08-01 | 2005-08-01 | Laminated optical element and manufacturing method thereof | 
| Application Number | Priority Date | Filing Date | Title | 
|---|---|---|---|
| JP2005222719AJP2007041117A (en) | 2005-08-01 | 2005-08-01 | Laminated optical element and manufacturing method thereof | 
| Publication Number | Publication Date | 
|---|---|
| JP2007041117Atrue JP2007041117A (en) | 2007-02-15 | 
| Application Number | Title | Priority Date | Filing Date | 
|---|---|---|---|
| JP2005222719APendingJP2007041117A (en) | 2005-08-01 | 2005-08-01 | Laminated optical element and manufacturing method thereof | 
| Country | Link | 
|---|---|
| JP (1) | JP2007041117A (en) | 
| Publication number | Priority date | Publication date | Assignee | Title | 
|---|---|---|---|---|
| JP2009258404A (en)* | 2008-04-17 | 2009-11-05 | Epson Toyocom Corp | Optical article and manufacturing method of same | 
| JP2010128477A (en)* | 2008-12-01 | 2010-06-10 | Nippon Dempa Kogyo Co Ltd | Method of manufacturing optical component and optical component | 
| JP2010128419A (en)* | 2008-12-01 | 2010-06-10 | Epson Toyocom Corp | Optical element | 
| JP2010276941A (en)* | 2009-05-29 | 2010-12-09 | Fujifilm Corp | Manufacturing method of junction type optical element | 
| JP2011113952A (en)* | 2009-11-30 | 2011-06-09 | Kyocera Kinseki Corp | Light irradiation window | 
| US10138162B2 (en) | 2012-02-27 | 2018-11-27 | Ushio Denki Kabushiki Kaisha | Method and device for bonding workpieces each produced from glass substrate or quartz substrate | 
| JP2018207105A (en)* | 2007-05-18 | 2018-12-27 | 株式会社半導体エネルギー研究所 | Semiconductor device | 
| WO2019182690A1 (en)* | 2018-03-20 | 2019-09-26 | Invensas Bonding Technologies, Inc. | Direct-bonded lamination for improved image clarity in optical devices | 
| CN115376966A (en)* | 2022-08-09 | 2022-11-22 | 长春长光圆辰微电子技术有限公司 | Quartz normal-temperature bonding method | 
| US11715730B2 (en) | 2017-03-16 | 2023-08-01 | Adeia Semiconductor Technologies Llc | Direct-bonded LED arrays including optical elements configured to transmit optical signals from LED elements | 
| US11762200B2 (en) | 2019-12-17 | 2023-09-19 | Adeia Semiconductor Bonding Technologies Inc. | Bonded optical devices | 
| US11860415B2 (en) | 2018-02-26 | 2024-01-02 | Adeia Semiconductor Bonding Technologies Inc. | Integrated optical waveguides, direct-bonded waveguide interface joints, optical routing and interconnects | 
| Publication number | Priority date | Publication date | Assignee | Title | 
|---|---|---|---|---|
| JP2018207105A (en)* | 2007-05-18 | 2018-12-27 | 株式会社半導体エネルギー研究所 | Semiconductor device | 
| JP2009258404A (en)* | 2008-04-17 | 2009-11-05 | Epson Toyocom Corp | Optical article and manufacturing method of same | 
| JP2010128477A (en)* | 2008-12-01 | 2010-06-10 | Nippon Dempa Kogyo Co Ltd | Method of manufacturing optical component and optical component | 
| JP2010128419A (en)* | 2008-12-01 | 2010-06-10 | Epson Toyocom Corp | Optical element | 
| US8424746B2 (en) | 2008-12-01 | 2013-04-23 | Nihon Dempa Kogyo Co., Ltd. | Method of manufacturing optical component and optical component | 
| JP2010276941A (en)* | 2009-05-29 | 2010-12-09 | Fujifilm Corp | Manufacturing method of junction type optical element | 
| JP2011113952A (en)* | 2009-11-30 | 2011-06-09 | Kyocera Kinseki Corp | Light irradiation window | 
| US10138162B2 (en) | 2012-02-27 | 2018-11-27 | Ushio Denki Kabushiki Kaisha | Method and device for bonding workpieces each produced from glass substrate or quartz substrate | 
| US12199082B2 (en) | 2017-03-16 | 2025-01-14 | Adeia Semiconductor Technologies Llc | Method of direct-bonded optoelectronic devices | 
| US11715730B2 (en) | 2017-03-16 | 2023-08-01 | Adeia Semiconductor Technologies Llc | Direct-bonded LED arrays including optical elements configured to transmit optical signals from LED elements | 
| US12166024B2 (en) | 2017-03-16 | 2024-12-10 | Adeia Semiconductor Technologies Llc | Direct-bonded LED arrays drivers | 
| US11860415B2 (en) | 2018-02-26 | 2024-01-02 | Adeia Semiconductor Bonding Technologies Inc. | Integrated optical waveguides, direct-bonded waveguide interface joints, optical routing and interconnects | 
| US12271032B2 (en) | 2018-02-26 | 2025-04-08 | Adeia Semiconductor Bonding Technologies Inc. | Integrated optical waveguides, direct-bonded waveguide interface joints, optical routing and interconnects | 
| WO2019182690A1 (en)* | 2018-03-20 | 2019-09-26 | Invensas Bonding Technologies, Inc. | Direct-bonded lamination for improved image clarity in optical devices | 
| US11256004B2 (en) | 2018-03-20 | 2022-02-22 | Invensas Bonding Technologies, Inc. | Direct-bonded lamination for improved image clarity in optical devices | 
| US12270970B2 (en) | 2018-03-20 | 2025-04-08 | Adeia Semiconductor Bonding Technologies Inc. | Direct-bonded lamination for improved image clarity in optical devices | 
| US12153222B2 (en) | 2019-12-17 | 2024-11-26 | Adeia Semiconductor Bonding Technologies Inc. | Bonded optical devices | 
| US11762200B2 (en) | 2019-12-17 | 2023-09-19 | Adeia Semiconductor Bonding Technologies Inc. | Bonded optical devices | 
| CN115376966A (en)* | 2022-08-09 | 2022-11-22 | 长春长光圆辰微电子技术有限公司 | Quartz normal-temperature bonding method | 
| Publication | Publication Date | Title | 
|---|---|---|
| JP5126111B2 (en) | Near-infrared cut filter glass and manufacturing method thereof | |
| JP2007041117A (en) | Laminated optical element and manufacturing method thereof | |
| JP5439903B2 (en) | Plate-shaped optical glass and end-face processing method for plate-shaped optical glass | |
| CN101127311A (en) | Method for manufacturing semiconductor device | |
| JP5132534B2 (en) | Manufacturing method of optical components | |
| JP5407490B2 (en) | Window glass for solid-state image sensor package | |
| JPH0964321A (en) | Manufacture of soi substrate | |
| CN101086956B (en) | Manufacturing method of semiconductor device | |
| JP7271875B2 (en) | Method for manufacturing oxide single crystal substrate | |
| KR101645634B1 (en) | Bonded wafer production method | |
| JP5363092B2 (en) | Method of manufacturing composite substrate for surface acoustic wave filter and composite substrate for surface acoustic wave filter | |
| JP6109551B2 (en) | Liquid crystal panel polishing method | |
| JPH0917984A (en) | Method for manufacturing bonded SOI substrate | |
| TW201529510A (en) | Method for producing glass film laminate, glass film laminate, and method for manufacturing electronic device | |
| JP2008058427A (en) | Laminated optical member and optical filter | |
| CN113437162A (en) | Preparation method of substrate structure of hybrid integrated photoelectric chip and substrate structure | |
| JPH0897111A (en) | Method for manufacturing soi substrate | |
| JP4578939B2 (en) | Manufacturing method of small glass products | |
| JP3425747B2 (en) | Manufacturing method of liquid crystal display element | |
| JPH08274286A (en) | Manufacture of soi substrate | |
| CN112289694A (en) | Wafer bonding method | |
| JP4776907B2 (en) | Manufacturing method of optical filter | |
| JP3996557B2 (en) | Manufacturing method of semiconductor junction wafer | |
| JPH09162087A (en) | Production of laminated substrate | |
| JPH09213593A (en) | Adhesive substrate and manufacturing method thereof |