





















本発明は、情報と負荷の電力とを同時に送ることができる配線システムに用いる機能装置に関する。 The present invention relates to a functional device used in a wiring system capable of simultaneously transmitting information and load power.
従来、端末器を通じて負荷の操作(監視)制御を行うシステムには、端末器へ中央監視装置から複極のベースバンド信号からなる伝送信号を時分割多重によって送り、各端末器ではこの伝送信号を利用して情報の授受を行うとともに、端末回路部の電源を得るシステムがあった(特許文献1)。 Conventionally, in a system that performs load operation (monitoring) control through a terminal device, a transmission signal composed of a multipolar baseband signal is sent from the central monitoring device to the terminal device by time division multiplexing, and each terminal device transmits this transmission signal. There has been a system for exchanging information by using and obtaining a power supply for a terminal circuit unit (Patent Document 1).
そしてこのシステムでは、埋め込み型の配線器具用に規格されているスイッチボックスとこれに対応する取付枠を用いて操作スイッチ等を設けた操作用端末器を壁面に埋め込み配設することで、従前の壁スイッチと同様な使い方が行われるようになっている。また2組の操作用端末器を取り付ける場合には、2つの取付窓を備えた2連用の取付枠を用い、取付枠の片側の一連分を一連型のスイッチボックスに取り付け、残りの片側を壁面に沿わせるように配置し、夫々の取付窓に操作用端末器を取り付けることで、2つの操作用端末器を併設する構成を採用していた。また取付窓間に設けた導電片を両側の取付窓に設けた操作用端末器のリード片を接触させることで、一方の操作用端末器(スイッチボックス側)から他方の操作用端末器へ信号線を送り配線する構成となっている。
ところで、上述のシステムでは伝送信号により端末器の端末回路部に電力を供給することができるものの、例えば信号線の電流容量等の制限から制御用端末器により制御される負荷への電源供給は夫々の設置場所において商用電源から供給する構成であった。そのため、2線の信号線を各端末器間で接続するだけでよいため、信号線について省配線化を図ることできるものの、負荷に対する電源線の配線が従前のままであるため、制御用端末器の設置場所が限定されるという課題があった。 By the way, although the above system can supply power to the terminal circuit unit of the terminal by a transmission signal, for example, power is supplied to the load controlled by the control terminal due to the limitation of the current capacity of the signal line, for example. It was the structure which supplies from commercial power source in the installation place of. Therefore, since it is only necessary to connect two signal lines between the terminals, it is possible to reduce the wiring of the signal lines, but since the wiring of the power supply line to the load remains as before, the control terminal There was a problem that the installation location of the was limited.
しかも端末器は監視対象からのデータの取り込みか或いは制御データに基づいた負荷の制御かの機能しかなく、それ自体が独自の機能を持つものではなく、多様な機能を展開できるものではなかった。 Moreover, the terminal has only a function of taking in data from the monitoring target or controlling the load based on the control data, and does not have a unique function, and cannot develop various functions.
本発明は、上述の点に鑑みて為されたもので、その目的とするところは、ゲート装置に対して接続するだけで、多種多様な機能を持つシステム構築が可能な機能装置を提供することにある。 The present invention has been made in view of the above points, and an object of the present invention is to provide a functional device capable of constructing a system having various functions by simply connecting to a gate device. It is in.
上述の目的を達成するために、請求項1の発明では、電力線に接続されている電力路接続口と情報線に接続されている情報路接続口とをモジュール化して形成した接続口を備えたゲート装置に接続される機能装置であって、前記ゲート装置の電力路接続口及び情報路接続口に接続され、前記ゲート装置から前記電力を得るとともに前記ゲート装置を介して前記情報信号の授受を行う基本機能モジュールと、該基本機能モジュールに接続され、基本機能モジュールを介して少なくとも電力の供給と情報信号の伝達との何れかが行われる少なくとも一つの拡張機能モジュールとから成ることを特徴とする。 In order to achieve the above object, the invention of
請求項1の発明によれば、ゲート装置に対して基本機能モジュールを、基本機能モジュールに対して拡張機能モジュールを連結するだけで、基本機能モジュール及び拡張機能モジュールにおける電力路や情報路の確保ができる。 According to the first aspect of the present invention, it is possible to secure a power path and an information path in the basic function module and the extended function module only by connecting the basic function module to the gate device and the extended function module to the basic function module. it can.
請求項2の発明では、請求項1において、前記ゲート装置の電力路接続口と情報路接続口の配置及び形状の形態の定形化に対応して前記コネクタの形態を定形としていることを特徴とする。 The invention of
請求項2の発明によれば、ゲート装置と基本機能モジュールとの汎用化が図れる。 According to the invention of
請求項3の発明では、請求項1又は2の発明において、前記基本機能モジュールには電力を拡張機能モジュールへ供給するための電力供給口と、拡張機能モジュールとの間で情報信号を授受するための情報授受口とを備えていることを特徴とする。 According to a third aspect of the present invention, in the first or second aspect of the present invention, the basic function module is used to exchange information signals between a power supply port for supplying power to the extended function module and the extended function module. It is characterized by having an information transfer port.
請求項3の発明によれば、電力又は情報のみを必要とするもの、或いは両方を必要とするものなど、多種多様の拡張機能モジュールが接続されても対応することができる。 According to the third aspect of the present invention, it is possible to cope with connection of a wide variety of extended function modules such as those requiring only power or information, or those requiring both.
請求項4の発明では、請求項1乃至3の何れかの発明において、前記基本機能モジュールから拡張機能モジュールへの電力供給を電気的に非接触な給電手段によって行うことを特徴とする。 According to a fourth aspect of the present invention, in any one of the first to third aspects, the power supply from the basic function module to the extended function module is performed by an electrically non-contact power supply means.
請求項4の発明によれば、機械的な接触による給電ではないため、接触不良によるトラブルの心配がない。 According to invention of
請求項5の発明では、請求項1乃至4の何れかの発明において、前記基本機能モジュールと前記拡張機能モジュールとの間の情報信号の授受を電気的に非接触な伝達手段で行うことを特徴とする。 According to a fifth aspect of the present invention, in any one of the first to fourth aspects, the information signal is exchanged between the basic function module and the extended function module by an electrically non-contact transmission means. And
請求項5の発明によれば、情報路の接続を機械的な接触により行わないため、接触不良などのトラブルの心配がない。 According to the invention of claim 5, since the information paths are not connected by mechanical contact, there is no worry of trouble such as poor contact.
請求項6の発明では、請求項1乃至5の何れかの発明において、前記基本機能モジュールの側部に前記拡張機能モジュールの側部を対接した状態で両モジュールを機械的に連結する連結手段を具備していることを特徴とする。 According to a sixth aspect of the present invention, in the invention according to any one of the first to fifth aspects, the connecting means for mechanically connecting the two modules while the side portions of the extended function module are in contact with the side portions of the basic function module. It is characterized by comprising.
請求項6の発明によれば、基本機能モジュールの側部に拡張機能モジュールを機械的に保持させることができ、情報路の接続、電力路の接続を確実なものとする。 According to the invention of
請求項7の発明では、請求項6の発明において、前記連結手段は、基本機能モジュール及び拡張機能モジュールの夫々の前面の端部において幅方向に形成され、前面又は端面の少なくとも一方が開口した連結用溝部と、前記基本機能モジュールの側部と前記拡張機能モジュールの側部とを対接した状態で両モジュールの連結用溝部に亘るように嵌める連結体とで構成していることを特徴とする。 In the invention of
請求項7の発明によれば、機能モジュールの基本機能モジュールに対する連結や連結の解除が前面側から行えるため、作業性に優れている。 According to the invention of
本発明は、ゲート装置に対して基本機能モジュールを、基本機能モジュールに対して拡張機能モジュールを連結するだけで、基本機能モジュール及び拡張機能モジュールにおける電力路や情報路の確保ができるという効果がある。 The present invention has an effect that a power path and an information path can be secured in the basic function module and the extended function module only by connecting the basic function module to the gate device and the extended function module to the basic function module. .
以下本発明の実施形態を説明する。
(実施形態1)
本実施形態の機能装置を用いるシステムでは、図2示すように建物内の適所において埋め込み配設している1乃至複数のスイッチボックス2を基本ベースとして用いる。これらのスイッチボックス2間には壁面内に先行配線した電力線L1と、情報線L2とを送り配線するとともに、始端のスイッチボックス2に対しては配線ボックス1内に引き込まれ主幹ブレーカMBと、分岐ブレーカBBとを介して屋内に引き込まれて電力線L1を導入し、また外部のインターネット網NTにゲートウェイGW(必要に応じてルータ、ハブ)を介して接続されている情報線L2を導入してある。Embodiments of the present invention will be described below.
(Embodiment 1)
In the system using the functional device of the present embodiment, as shown in FIG. 2, one or a plurality of
これらのスイッチボックス2は、例えばJISで規格化された大角形の1個モジュール寸法の埋め込み型の配線器具が3個取り付けることができる1連の取付枠4(図3参照)に対応して規格化されたスイッチボックスからなり、図1に示すように上部から配電ボックス1又は他のスイッチボックス2から送り配線されてくる電力線L1及び情報線L2を導入するとともに、下部からは他のスイッチボックス2へ送り配線するための電力線L1及び情報線L2の導出している。そして各スイッチボックス2には本発明の機能装置を構成する基本機能モジュール8を接続するゲート装置3のボディを夫々取付枠4により取り付けてある。 These
この取付枠4は図3に示すように中央に器具取り付け用の窓孔4aを設けてあって、この窓孔4aに取り付け対象の器具本体の前部を背方から嵌め、左右両側の枠片に設けた係止手段に器具本体の両側に設けて被係止部を係止させて器具本体を固定するようになっている。そして上下枠片に設けた取付孔4bに挿通する取り付けねじ(図示せず)をスイッチボックス2のねじ孔(図示せず)に締結することで、器具本体ごとスイッチボックス2に取り付けられる。またスイッチボックス2を用いず、埋め込み孔を開口した壁パネルに取り付ける場合には所謂挟み金具で壁パネルを挟持させて取り付けたり、木ねじを用いて取り付けることもできるようになっている。 As shown in FIG. 3, the
ゲート装置3は図1に示すようにボディ背面部に速結端子構造の接続端子部5a,5b及び送り配線用の接続端子部5a’、5b’を設け、夫々に対応する電力線L1、情報線L2を接続するようになっている。またボディ前面部には、送られてきた電力線L1と電気的に接続されている接触部を備えた電力路接続口6Aと、送られてきた情報線L2と電気的に接続されている情報路接続口6Bとを有しモジュール化した接続口6を図3に示すように備えている。 As shown in FIG. 1, the
これら接続口6A,6Bは両者間の間隔及び内部の接触部の配列、開口部の形状等がシステムとして規格化されており、このゲート装置3のボディ前面部を覆うようにスイッチボックス2の前面開口側に取り付ける図4に示す基本機能モジュール8の背面部に設けたコネクタ7の被接続部7A、7Bが各接続口6A,6Bに着脱自在に結合されるようになっている。 These
基本機能モジュール8は、後述する拡張機能モジュール9とで機能装置を構成するもので、図4,図5(a)に示す合成樹脂製で扁平なモジュール本体8A内に図7に示す回路を内蔵しているもので、背面部のコネクタ7の被接続部7A,7Bをゲート装置3の接続口6A,6Bに結合させることで、スイッチボックス2の前面開口を覆うとともに、周部のフランジをスイッチボックス2の前面開口周辺の壁面に重ねた状態となり、その状態で上、下部の中央に穿孔している取付孔80に取り付けねじ(図示せず)を前面部側から挿通させて取付枠4の上下枠に設けたねじ孔4cに螺入締結することでスイッチボックス2に取付枠4を介して取り付けられる。 The
またモジュール本体8Aの前面部には、上、下の取付孔80の開口位置より上又は下側位置において、図5(a)に示すようにモジュール本体8Aの幅方向に幅広溝81aと幅狭溝81bとからなる連結用溝部81を中央の仕切壁82で左右に二分されるように形成している。 Further, the front surface of the module
この仕切壁82の左側又は右側の連結用溝部81には図5(b)に示す合成樹脂製の連結体10の片側半分を仕切壁82に当たる位置まで嵌め込み、この連結体10の残り半分を図6に示すように拡張機能モジュール9側に同様に設けてある連結用溝部81に嵌め込むことで、基本機能モジュール8と拡張機能モジュール9とを機械的に結合できるようになっている。連結体10は背面に幅広溝81a,幅狭溝81bを仕切る仕切壁81cが嵌る溝10aを設け、両溝81a、81bに跨るように挿入される。そして基本機能モジュール8では前面部側から化粧カバー8Bを着脱自在に被着することで、また拡張機能モジュール9では蓋部83を閉じることで、両者の連結用溝部81に跨るように嵌め込んである連結体10が脱落しないように保持して連結状態を維持するようになっている。而して連結体10と連結用溝部81とが基本機能モジュール8と拡張機能モジュール9との連結手段を構成する。 In the connecting
基本機能モジュール8は、図7に示すように、被接続部7Aを介して接続される商用電源ACを所定電圧に降下させるとともに周波数を高くし、この高い周波数に変換した低圧交流電源をコア11に巻装したコイル12に印加するAC/ACコンバータ13と、低圧交流電源を整流平滑後、安定した直流電圧からなる内部回路の動作電源+Vを得る直流電源部14と、被接続部7Bを介して接続される情報線L2を通じて双方向に伝送される情報信号を送受信部15と、情報線L2を介して受信される情報信号をE/O変換して発光素子LEDを通じて送出するするE/O変換部16と、後述する拡張機能モジュール9側から送られくる光信号からなる情報信号を受光素子PDで受光してO/E変換して送受信部15に渡すO/E変換部17とを備えている。 As shown in FIG. 7, the
コイル12及びコア11は基本機能モジュール8と連結する拡張機能モジュール9に電力を非接触で供給するための給電手段を構成するトランスの一次側となる電磁結合部を構成するもので、連結する拡張機能モジュール9(図8参照)側に設けたコイル18を巻回したコア19にコア11が磁気結合してトランス作用によりコイル18側に低圧交流電源電圧を誘起させて電源供給を行うようになっている。ここでAC/ACコンバータ13により商用周波数よりも周波数が高い交流電源に変換することで、電磁結合部によるトランス構成の小型化を図っている。 The
一方E/O変換部16の発光素子LEDは隣接する拡張機能モジュール9に情報信号を光信号により非接触で伝達するためのもので、連結された拡張機能モジュール9側のO/E変換部20に設けた受光素子PDに対置される。またO/E変換部17の受光素子LEDは隣接する拡張機能モジュール9から光信号により伝達されてくる情報信号を受け取るためのもので、連接する拡張機能モジュール9側のE/O変換部21の発光素子LEDに対置される。 On the other hand, the light emitting element LED of the E /
そしてコア11とコイル12とからなる電磁結合部は図7では1組しか示していないが実際には電気的に並列な2組備え、またE/O変換部16の発光素子LED,O/E変換部17の受光素子PDも夫々に別の発光素子LED、受光素子PDを接続しており、モジュール本体8Aの両側において側壁に近接する内部位置に夫々1組ずつ夫々配置している。 In FIG. 7, only one set of the electromagnetic coupling portion composed of the
ここで発光素子LEDの発光部及び受光素子PDの受光部が対向するモジュール本体8Aの側壁部位は光信号が透過可能なように透明部Yとしてある。尚モジュール本体8Aの両側では、受光素子LEDと、発光素子PDの位置が上、下で逆になるように配置され、例えば右側では受光素子LEDを上、発光素子PDを下とし、左側では受光素子LEDを下、発光素子PDを上としてある。そして電磁結合部を構成するコア11の先端部の配置位置と、受光素子LED及び発光素子PDの配置位置の上下間隔は規格化している。 Here, the side wall portion of the module
尚図7ではゲート装置3の両接続口6A,6B及び基本機能モジュール8のコネクタ7の被接続部7A,7Bを縦方向で示しているが、実際は横方向になっている。 In FIG. 7, both the
本実施形態の機能装置を用いる配線システムでは、電力供給を受けて動作する機能によって複数の種類の拡張機能モジュール9が準備されているが、基本的には図9(a)に示すようにモジュール本体9Aの高さ寸法を基本機能モジュール8と同じ高さ寸法に規格化され、また横幅寸法も規格化された単位モジュール寸法の整数倍に規格化され、またモジュール本体9Aの両側面の形状は基本機能モジュール8の側面と同形状とし、また背面を図9(b)、(c)に示すように平坦な面に形成して壁面に沿わせることができるようにしている。そして上下位置には上述の連結体10を基本機能モジュール8と同様に挿入するための幅広溝81a、幅狭溝81bからなる連結用溝部81を設けるとともに、この連結用溝部81を開閉する蓋部83を設け、連結体10を装着する際や外す場合にはこの蓋部83を開き、連結体10の装着状態を保持する際には上述したように閉じるようになっている(図9(c)参照)。 In the wiring system using the functional device of the present embodiment, a plurality of types of
モジュール本体9内には図8に示すように上述のコイル18、コア19からなる電磁結合部を2組備えて、モジュール本体9Aの両側壁に近接する内部に配置するとともに、夫々のコイル18同士を電気的に接続し、片側の電磁結合部が隣接する基本機能モジュール8又は拡張機能モジュール9の電磁結合部と電磁結合して電力を受け取る側(二次側)となると、他方の電磁結合部が電力供給側(一次側)となるようになっている。これらの電磁結合部を構成するコア19の先端が近接配置されるモジュール本体9Aの側面位置が磁気結合部Xとなる。また両電磁結合部のコイル16,16間を接続する線路には直流電源部22を接続し、内部回路の動作電源+Vを得るようになっている。 As shown in FIG. 8, the module
更に情報信号を授受するために、モジュール本体9A内には連結する基本機能モジュール8又は拡張機能モジュール9から送られてくる光信号からなる情報信号を受光素子PDで受光して電気的な信号に変換するO/E変換部20と、電気信号からなる情報信号を隣接する基本機能モジュール8又は9へ光信号からなる情報信号として発光素子LEDで送り出すためのE/O変換部21と、O/E変換部20からの電気信号からなる情報信号を受け取るとともに、電気信号からなる情報信号をE/O変換部21へ送り出す情報信号送受信部23とからなる情報信号送受信手段を二組設け、一方の発光素子LEDと受光素子PDをモジュール本体9Aの左側側壁近傍の内部に、また他方の伝送処理部の発光素子LEDと受光素子PDをモジュール本体9Aの右側側壁近傍の内部に配置してある。ここで左側に配置される発光素子LEDの位置は受光素子PDの下側に、また右側に配置される発光素子LEDの位置は受光素子PDの上側に夫々を配置し、左側に連結される基本機能モジュール8又は拡張機能モジュール9の右側に配置されている発光素子LED、受光素子PDに、左側配置した受光素子PD、発光素子LEDが夫々対向し、また右側に連結される基本機能モジュール8又は拡張機能モジュール9の左側に配置されている発光素子LED、受光素子PDに右側配置した受光素子PD、発光素子LEDが夫々対向するようになっている。そして発光素子LED、受光素子PDが対向しているモジュール本体9Aの側壁は光信号が透過できるように基本機能モジュール8と同様に透明部Yとなっている。そして両側の情報信号送受信部23,23間をモジュール本体9A内において、双方向の信号ライン24で接続して、両側に隣接する基本機能モジュール8又は拡張機能モジュール9に対して情報信号を中継できるようになっている。 Further, in order to send and receive information signals, an information signal consisting of an optical signal sent from the
またモジュール本体9A内には、信号ライン24上の情報信号を受信するとともに、信号ライン26上に情報信号を送出する送受信部25と、この送受信部25で受信される情報信号からデータを取り込んで処理を行うとともに、当該拡張機能モジュール9から他の拡張機能モジュール9宛にデータを送る場合のデータ生成処理を行う演算処理部26と、I/Oインターフェース27を介して演算処理部26との間でデータの授受を行って動作する機能部30とから構成され、これら各部は動作電源+Vを前記の直流電源部22から供給されるのである。この機能部30の構成が拡張機能モジュール9によって異なるのである。 In addition, the module
ここで拡張機能モジュール9のモジュール本体9Aの側面に磁気結合部X及び透明部Yが形成される位置は、図4で示す基本機能モジュール8の側面の磁気結合部X及び透明部Yの位置と合うように規格化され、拡張機能モジュール9、9同士を連結させたとき或いは基本機能モジュール8と拡張機能モジュール9とを連結させてときに面接する側面側の磁気結合部X、X同士及び、透明部Y,Y同士が夫々対向するようになっている。つまり夫々の給電手段の接続口同士、情報信号の伝達手段の接続口同士が接続された状態となる。 Here, the positions where the magnetic coupling portion X and the transparent portion Y are formed on the side surface of the module
次に図1に示す設置例に基づいて拡張機能モジュール9の種類別の構成を説明する。この図1の場合、空調機器の運転操作器を構成する拡張機能モジュール91と、空調機器の温度設定器を構成する拡張機能モジュール92と、空調機器の運転操作器を構成する拡張機能モジュール92とが設置されている。Next, the configuration of each type of the
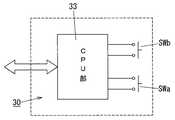
まず空調機器の運転操作器を構成する拡張機能モジュール91の機能部30は、図10に示すように押釦スイッチからなる運転操作スイッチSWa及び停止操作スイッチSWbと、これら操作スイッチSWa,SWbの操作データを生成して演算処理部26にI/Oインターフェース27を介して送るデータ生成機能を有するCPU部33とで機能部30を構成し、モジュール本体9Aの前面部には図1に示すように各操作スイッチSWa、SWbの操作釦を露出させている。この構成は照明器具のオン/オフする壁スイッチを構成する機能モジュール(図示せず)の場合にも同様な構成となる。
一方この拡張機能モジュール91と併設する空調機器の温度設定器を構成する拡張機能モジュール92は、図11に示すように温度設定用の電子ボリュームからなる温度設定部VR1と、空調機器を一定時間動作させるタイマ動作の指示と解除を行うための押し釦型の操作スイッチSW1と、温度設定部VR1の回転操作ダイヤル31に組み込み、表示面を回転操作ダイヤル31表面に露出させた設定温度表示用の液晶表示器32と、温度設定部VR1の抵抗値で決まる設定温度の設定データ、更に押釦スイッチSW1の押し操作に対応した運転/停止の操作データを生成して演算処理部26へI/Oインターフェース27を介して送るデータ生成機能及び設定された温度値を液晶表示器32で表示させるための表示制御機能を備えたCPU部32とで機能部30を構成し、モジュール本体9Aの前面部には図1に示すように回転ダイヤル31、押釦スイッチSW1の操作釦を露出させている。Meanwhile extended
またインターホンの親機を構成する拡張機能モジュール93は、図12に示すように音量調整用電子ボリュームVR2と、受話/送話兼用のスピーカSPと、スピーカSPを受話用スピーカとして使い場合にと、送話用マイクとして使う場合の切替え回路部35と、切替え回路部35に切替えを指示する押釦スイッチからなる通話スイッチSW2と、押釦スイッチからなる電気錠の解錠操作用スイッチSW3と、デジタル映像信号から映像を再生表示する液晶表示装置34と、演算処理部26からI/Oインターフェース27を介して取り込んだ情報信号から伸張復号して得た受話音声データをD/A変換し、アンプAP1と切替え回路35を通じてスピーカSP側へ送出する機能及びスピーカSPから切替え回路35とアンプAP2を通じて取り込んだ送話音声信号をA/D変換し、圧縮符号化してI/Oインターフェース27を介して演算処理部26へ送出する音声処理機能及び、演算処理部26からI/Oインターフェース27を介して取り込んだ情報信号から伸張復号して得た画像データをデジタル映像信号として液晶表示器34に送出する映像信号処理機能を有するとともに、スイッチSW3の操作信号に基づいて電気錠解錠のデータを生成してI/Oインターフェース27を介して演算処理部26へ送出したり、通話スイッチSW2の操作により切替え回路35の切替え制御を行う信号を生成する機能を有するCPU部32とで機能部30を構成し、モジュール本体9Aの前面部には図1に示すように液晶表示器34の表示面を露出するとともに、音量調整用電子ボリュームVR2の操作部、通話スイッチSW2の操作釦、解錠操作用スイッチSW3の操作釦を夫々露出するとともに、スピーカSPに対応する音声入出力用孔36を開口している。The
拡張機能モジュール9としては以上の他に照明器具のオン・オフ操作用の壁スイッチや、電力供給を利用した電気カミソリ、電動歯ブラシ、携帯オーディオプレーヤ等の充電器等がある。また前記のインターホンの親機に対応する子機は、玄関に埋設されたスイッチボックス2に取り付けられたゲート装置3に連結される拡張機能モジュール9として構成され、インターホンの通話機能と、訪問者撮影のTVカメラと、このTVカメラで撮影される画像を、情報信号として伝送するためのデータ処理を行うCPU部などからなる機能部30を備えている。また解錠操作用スイッチSW3に対応した電気錠の施/解錠の制御信号を生成して電気錠へ出力する機能を備えた拡張機能モジュール9を玄関内の壁面に埋設したスイッチボックス2に取り付けたゲート装置3に連結する形で設置する。 In addition to the above, the
一方拡張機能モジュール9には照明器具や空調機器等のリモコン赤外線機能からなる拡張機能モジュール94を天井や壁面に配設したスイッチボックス2に対応して配設された基本機能モジュール8に図13に示すように連結し、当該拡張機能モジュール94宛に室内の壁面に配設した操作側の拡張機能モジュール9から情報線L2を介して操作や設定のデータからなる情報信号を送ることで、当該拡張機能モジュール94から受信したデータに対応した赤外線リモコン信号を、手持ち操作のリモコン発信器と同様に照明器具や空調機器のリモコン制御部の受光部に向けて発信させ、照明器具や空調機器を制御する構成とする。Meanwhile the extended functional module
尚本発明の機能装置を用いる配線システムの情報信号の伝送方式としては、ベースバンド伝送又はブロードバンド伝送の何れを採用しても良く、またプロトコルも何れでも良いが、音声、映像などを用いるインターホンの親機、子機との間にはJT−H232パケットを基づいて音声・映像を相互に送るようし、また制御系にあったは操作側からの操作データにより1乃至複数のを操作できるような1対1又は1対Nの対応が可能なユニキャスト、ブロードキャストに対応する経路制御プロトコルを採用すれば良く、特に限定されるものではないので、説明は省略する。またゲート装置3間の使用プロトコルと、ゲート装置3に連なる機能モジュール8,9での使用プロトコルを異ならせ、例えばゲート装置3にプロトコル変換を行うようにしても良い。 In addition, as a transmission system of the information signal of the wiring system using the functional device of the present invention, either baseband transmission or broadband transmission may be adopted, and any protocol may be used. Audio and video are sent to and from the master unit and slave units based on JT-H232 packets, and one or more can be operated by the operation data from the operation side in the control system. A route control protocol corresponding to unicast or broadcast capable of one-to-one or one-to-N correspondence may be adopted, and the description is omitted because there is no particular limitation. The protocol used between the
而して機能装置を構成する基本機能モジュール8を使用するに当たっては、まず、ゲート装置3を予め建物の適所の壁面に埋設してあるスイッチボックス2に取付枠4を介して取り付け、先行配線されている電力線L1,情報線L2の接続を行う。その後、ゲート装置3の前面部に設けられた電線路接続口6A,6Bに対して基本機能モジュール8のコネクタ7の対応する被接続部7A,7Bを接続するとともに、基本機能モジュール8をゲート装置3の前面部を覆うように取付枠4に取り付ける。この基本機能モジュール8はこの取り付けた状態において壁面よりも前面部が突出し、両側面が室内側に露出することになる。 Thus, in using the
そして、拡張機能モジュール9は基本機能モジュール8の露出した両側側面の一方に片側の側面を面接させ、この状態で連結体10を用いて拡張機能モジュール9と基本機能モジュール8とを機械的に連結する。これによって基本機能モジュール8と拡張機能モジュール9とで機能装置が構成されることになる。このとき拡張機能モジュール9の背面はスイッチボックス2の側方の壁面に沿うことになり、例えば壁面にクロス貼り等が施されている場合、拡張機能モジュール9の背面の位置が多少のずれていてもそれを吸収して背面を壁部に密接させた状態に配設することができ、拡張機能モジュール9の前面部から操作力等が加わっても連結部位に加わる荷重を軽減することができる。 The
更に先に連結した拡張機能モジュール9に別の拡張機能モジュール9を連結する場合には、対向側面を面接させた状態で連結体10により互いに機械的に連結する。このようにして図1に示すように順次拡張機能モジュール9(91…93)を側方に連結することができる。Further, when another
尚基本機能モジュール8は両側に拡張機能モジュール9を連結することができるため、基本機能モジュール8の両側方向に拡張機能モジュール9を連結しても良い。このようにして拡張機能モジュール9を連結した後、両端に位置する拡張機能モジュール9又は基本機能モジュール8の反連結部位の側部に着脱自在にエンドカバー28を被着することで、拡張機能モジュール9の連結施工が完了することになる。尚基本機能モジュール8に拡張機能モジュール9を連結しない状態、つまり未使用のまま置いておく場合にはエンドカバー28を基本機能モジュール8の両側部に被着する。 Since the
ここで基本機能モジュール8に連結できる拡張機能モジュール9の数は連結部位に加わる荷重の大きさにより制限があり、また基本機能モジュール8のAC/ACコンバータ13の電力供給能力によっても制限される。 Here, the number of the
上述のように拡張機能モジュール9を連結した基本機能モジュール8からはAC/ACコンバータ13によって商用電源ACを所定電圧に降圧し且つ周波数を高い周波数に変換した低圧交流電源を隣接する拡張機能モジュール9に磁気結合によって非接触で電力を供給されることになる。また電力が供給された拡張機能モジュール9に更に拡張機能モジュール9が連結されている場合には、内部回路を経て磁気結合による非接触で電力を更に供給する。このようにして基本機能モジュール8側から最外端に存在する拡張機能モジュール9まで低圧交流電源を非接触で供給する電力路が構築されることになる。 From the
また基本機能モジュール8、拡張機能モジュール9において、情報信号をE/O変換を経て送り出し、情報信号をO/E変換を経て取り込むことで、連結した基本機能モジュール8と拡張機能モジュール9との間、更に拡張機能モジュール9,9間は、光信号からなる情報信号を発光素子LED、受光素子PDを用いて非接触で双方向に伝送することができる情報路が構築されることになる。 Further, in the
以上のようにして配設施工が終了し、システムが完成した後は、対応する拡張機能モジュール9間で情報信号の授受を行い、拡張機能モジュール9が図1でインターホンの親機を構成する拡張機能モジュール93であれば子機の拡張機能モジュール9との間でインターホンシステムを構成し、両者間での通話を可能とするとともに、子機側で撮像する来訪者を親機側の拡張機能モジュール93でモニタすることができる。また玄関の電気錠の解錠操作も遠隔により行えることになる
また拡張機能モジュール9が図1で示すように空調機器の運転操作器を構成する拡張機能モジュール91,温度設定器を構成する拡張機能モジュール92の場合には、上述の赤外線リモコン発信機能を持つ機能ブロック9を通じて空調機器の遠隔制御システムを構成し、拡張機能モジュール91の操作スイッチSWa,Wbで空調機器の運転/停止の遠隔制御が、また拡張機能モジュール92 の温度設定部VR1による温度設定や、押釦スイッチSW1の操作によりタイマ運転等も同様に遠隔で行えることになる。After the installation work is completed and the system is completed as described above, an information signal is exchanged between the corresponding
更にまた照明器具の遠隔操作等、各種負荷の遠隔操作も赤外線リモコン発信機能を備えた上述のような拡張機能モジュール94と、操作機器の機能を備えた拡張機能モジュール9との組み合わせによって可能となる。更に情報信号を利用したり電力供給を利用する各種機能を拡張機能モジュール9に組み込むことで、特別な配線施工などを行うことなくユニークな壁取り付け配線器具を実現することができる。Furthermore remote control or the like of the lighting fixture, and the extended
上述の基本機能モジュール8及び拡張機能モジュール9の磁気結合部X、透明部Yはモジュール本体9A(又は8A)の平坦な両側側面に設けているが、例えば磁気結合部Xを図14(a)に示すように一方の側面では突出させた凸部29aで構成し、他方の側面ではこの凸部29aを係合し、対向側面同士が面接できるようになった凹部29bにより形成しても良い。また磁気結合部X及び透明部Yを共に、図14(b)に示すようにモジュール本体9A(又は8A)の一方の側面では凸部29aで形成し、他方の面では凹部29bで形成しても良い。 The magnetic coupling portion X and the transparent portion Y of the
このように凹凸係合により連結するもの同士を位置決めし、非接触による電力供給や光信号による情報信号の受け渡しが確実に行えることになる。 In this way, the objects to be connected by the concave-convex engagement are positioned, so that non-contact power supply and information signal transfer by optical signals can be reliably performed.
更に連結体10は幅広溝81a、幅狭溝81bからなる連結用溝部81に挿入し、その挿入状態を拡張機能モジュール9では蓋部83を閉めることで、また基本機能モジュール8では化粧カバー8Bを被着することで保持するようになっているが、図15(a)、(b)に示すようにモジュール本体9A(又は8A)の上、下の背面に背方と側方が開口するとともに後方の開口位置から奥端までが斜め向きとなった連結用溝部81’を長手方向に形成し、一方連結体10をモジュール本体9A(又は8A)の正面の上下部に形成したテーパー面に沿わせる前片10aと、この前片10aの上端又は下端からモジュール9A(又は8A)の背面に沿わせる後片10bと、この後片の先端から連結溝部81’内に挿入係止される係止片10cとで構成しても良い。この場合、図15(a)に示すようにモジュール本体9Aと9A(又は8A)の側面同士を面接させた状態で片側のモジュール本体9A(又は8A)の片側から連結用溝部81’に係止片を挿入させ、更に図15(b)に示すように連結する側のモジュール本体9A(又は8A)側の連結用溝部81’に略半分をスライド挿入させることで、隣接するモジュール本体9A,9A(又は8A)を結合するのである。ここで連結体10の係止片10cが連結用溝部81’に係合している状態であるから側方にスライドさせないかぎり連結状態は外れない。 Further, the connecting
更に図16(a)〜(c)に示すように磁気結合部X及び透明部Yをモジュール本体9A又は8Aの一側面側では一つの凸部29a’に設け、他方では凸部29a’に対応する凹部29b’に設けて、これら凸部29a’、29b’の凹凸結合で連結するもの同士の荷重を受けることで、連結体10を用いた機械的結合を上部のみとしても良い。尚図示例では断面が略台形状の連結体10をモジュール本体9A(又は8A)の上部側面においては幅方向に貫通させた断面が略台形の連結用溝部81’’にスライド挿入する構成とするようになっている。 Further, as shown in FIGS. 16A to 16C, the magnetic coupling portion X and the transparent portion Y are provided on one
而して本実施形態では拡張機能モジュール9や基本機能モジュール8の追加や削除に特別な施工が不要でとなり、そのため一般ユーザーの好みに合わせて拡張機能モジュール9を基本機能モジュール8や機能モジュール9同士を連結するだけで、拡張性が確保される。 Thus, in this embodiment, no special construction is required for the addition or deletion of the
尚本実施形態に用いるゲート装置3は取付枠4でスイッチボックス2に取り付けているが、スイッチボックス2の奥壁に直接取り付け、基本機能モジュール8をスイッチボックス2に取り付ける構成としても勿論良い。
(実施形態2)
上述の実施形態1では電力供給を基本機能モジュール8で低圧交流電源に変換した後、磁気結合によって非接触に連結している機能モジュール9側へ電力供給を行っているが、本実施形態では、図17に示すように基本機能モジュール8に、商用電源ACを所定電圧の直流に変換するAC/DC変換部40を設け、このAC/DC変換部40で変換して得られた直流電源を例えば規格化されたコネクタなどにより連結する機能モジュール9へ供給するようにしたものである。この場合基本機能モジュール8内の動作電源がAC/DC変換部40からの直流電源をそのまま使用することで、実施形態1において必要であった直流電源部14が不要となる。The
(Embodiment 2)
In the first embodiment, the power supply is converted into the low-voltage AC power source by the
そして基本機能モジュール8のモジュール本体8の両側側面の一方側は雄型コネクタ41aを、他方側には雌型コネクタ41bを設けて、これらコネクタ41a,41bの接触片にAC/DC変換部40からの直流変換出力を接続することで、左右何れの方向に機能モジュール9が連結されても直流電源を供給することができるようにする。 A
他方機能モジュール9は、図18に示すようにモジュール本体9Aの両側側面の一方側に雄型コネクタ42aを、他方側に雌型コネクタ42bを設け、これらコネクタ42a、42b間を内部で電気的に接続することで、何れか一方から入力された直流電源を他方へ送ることができ、基本機能モジュール8の左側方向、右側方向の何れに連結しても直流電源の供給を受けるとともに、連結する機能モジュール9へ直流電源を送ることができるようになっている。尚機能モジュール9内の動作電源を、コネクタ間を結ぶ電源ラインから直接取り出すことで、実施形態1で必要としていた直流電源部22が不要となる。 As shown in FIG. 18, the other
尚本実施形態での情報信号の授受は実施形態1と同様に光信号によって非接触で行っている。
(実施形態3)
上述の実施形態1、2は共に電力(電源)の送りと、情報信号の受け渡しは別系統で行っているが、本実施形態では、システム全体の情報信号の伝送方式を電力線搬送に行うことで、電力路と情報路との共通化を図ったものである。Note that the transmission and reception of information signals in this embodiment is performed in a non-contact manner by optical signals as in the first embodiment.
(Embodiment 3)
In the above-described
つまり各スイッチボックス2での先行配線は電力線L1のみとし、これに対応してゲート装置3の接続口は図3に示す接続口の電力路接続口6Aのみとなり、これに対応する基本機能モジュール8のコネクタ7も電力路接続口6Aに対応する被接続口7Aのみとなり、また機能モジュール9への電源供給のための電力路が情報信号受け渡しの情報路を構成し、基本機能モジュール8から機能モジュール9への電源送りは直流電源の供給の場合と同様にコネクタ接続により行う。 That is, the preceding wiring in each
そして基本機能モジュール8の内部回路は、内部で情報信号を取り出す必要がない場合には図19に示すようにゲート装置3からコネクタ7を介して取り込んだ商用電源電源を両側側面に設けたコネクタ50aと、両コネクタ50b間の接続する電力ラインのみとなる。 Then, the internal circuit of the
一方機能モジュール9は、実施形態2と同様にモジュール本体9Aの両側側面の一方側に雄型コネクタ51aを、他方側に雌型コネクタ51bを設け、これらコネクタ51a、51b間を内部で電力線路により接続しており、このようにすることで、基本機能モジュール8の左側方向、右側方向の何れに連結しても商用電源ACの供給が受けられ且つ情報信号の双方向の伝送ができ、また隣接する機能モジュール9へ商用電源ACを送るとともに情報信号の双方向の伝送ができるようになっている。 On the other hand, the
またモジュール本体9A内では、図20に示すように両コネクタ間を電源ラインから動作電源を得るためにAC/DC変換部52と、電力線搬送信による情報信号を受信し、また情報信号を送信するためのPLCモデム部53と、このPLCモデム部53を介して受信された情報信号のデータ処理を行うとともにPLCモデム部53を介して電力線搬送によって送信する情報信号のデータ生成を行う演算処理部26と、機能部30と、機能部30と演算処理部26とに設けられるI/Oインターフェース27とを設けている。このうち演算処理部26と、機能部30と、I/Oインターフェース27とは実施形態1におけるものと同じ機能を持つものである。尚動作電圧が供給される電圧と異なる場合にはDC/DCコンバータなどを備えても勿論良い。 Further, in the module
尚本実施形態で採用する電力線搬送の変調方式としては広帯域スペクトラム拡散方式、マルチキャリア方式、OFDM方式等各種方式の何れでも良いので、ここでは特に説明はしない。 The power line carrier modulation method employed in the present embodiment may be any of various methods such as a wideband spread spectrum method, a multi-carrier method, and an OFDM method, and is not specifically described here.
而して本実施形態では、電力路と情報路とが共通であるため、ゲート装置3での接続口が電力路接続口6Aのみとなり、基本機能モジュール8のコネクタ7も一つの被接続部7Aのみとなるため接続周りの構成のスペースが小さくなる。また基本機能モジュール8や機能モジュール9の内部回路に光信号の伝送のための構成が不要となり、そのため薄型のモジュール本体8A,9A内への配置スペースにゆとりができる。 Thus, in this embodiment, since the power path and the information path are common, the connection port in the
また商用電源ACを機能モジュール9へ送ることで、商用電源ACを電源とする機能を持つ機能モジュール9の実現も可能なる。 Further, by sending the commercial power source AC to the
また照明器具や空調機器にPLCモデム部を内蔵することで、直接情報信号を照明器具、空調機器に送ることができるため、遠隔制御のための赤外線リモコン信号発信機能を備えた機能モジュール94を図13に示すように設ける必要がなくなる。
(実施形態4)
上述の実施形態1ではゲート装置3をスイッチボックス2に取付枠4を用いて取付ける構成であったが、スイッチボックス2の奥壁に直接取付けるゲート装置3を用いても良い。このゲート装置3は図21(b)に示すように前面部に、電力線L1と電気的に接続されている接触部を備えた電力路接続口6Aと、情報線L2と電気的に接続されている接触部を備えた情報路接続口6Bとから構成されモジュール化された接続部6を図21(b)に示すように備えている。これら接続口6A,6Bは両者間の間隔及び内部の接触部の配列、開口部の形状をシステムとして定形化(規格化)しており、このゲート装置3のボディ前面部を覆うようにスイッチボックス2の前面開口側に取り付ける。例えば図21(a)に示す機能モジュール8の背面部に設けたコネクタ7も対応してその形態を定形化し、コネクタ7の被接続部7A、7Bを各接続口6A,6Bに着脱自在に結合できるようになっている。基本機能モジュール8は、図21(a)内に図3に示す回路をモジュール本体8A内に内蔵しているもので、背面部のコネクタ7の被接続部7A,7Bをゲート装置3の接続口6A,6Bに結合させることで、スイッチボックス2の前面開口を覆うとともに、周部のフランジをスイッチボックス2の前面開口周辺の壁面に重ねた状態となり、その状態で上、下部の中央に穿孔している取付孔80に取り付けねじ(図示せず)を前面部側から挿通させてスイッチボックス2のねじ孔2aに螺入締結することでスイッチボックス2に取り付けられる。拡張機能モジュール9が連結されない場合にはエンドカバー28が両側部に被着される。Further, by incorporating the PLC modem unit to lighting fixtures and air-conditioning equipment, lighting information directly signal the instrument, it is possible to send the air-conditioning equipment, the
(Embodiment 4)
In the first embodiment described above, the
ここで例えば図22に示すように建物内の適所において埋め込み配設している1乃至複数のスイッチボックス2の内、室内の天井面のようなハイポジションHPに設けられたスイッチボックス2のゲート装置3には引掛栓刃接続部38を備えた基本機能モジュール8が接続され、この基本機能モジュール8には人感センサ等が設けられれた拡張機能モジュール9などが連結される。壁スイッチ等で推奨される高さ位置(ミドルポジションMP)に設けられたスイッチボックス2のゲート装置3にはスイッチ手段が備わった基本機能モジュール8に、インターホン機能を持つ拡張機能モジュール9や、空調用コントローラが備わった拡張機能モジュール9が連結される。更に足元付近(ローポジションLP)に設けられるものとに区分されるハイポジションHPのスイッチボックス2のゲート装置3には電源コンセント部37を備えた基本機能モジュール8が接続され、更に足元灯を構成する機能モジュール9が連結されている。 Here, for example, as shown in FIG. 22, the gate device of the
またハイポジションHPやローポジションLPのスイッチボックス2のゲート装置3ににスピーカSPなどを備えたBGM用の機能等を併せ持つ持つ基本機能モジュール8を接続したり、ミドルポジションMPのスイッチボックス2のゲート装置3にはモニタ装置を備えた基本機能モジュール8を接続している。 In addition, a
L1 電力線
L2 情報線
2 スイッチボックス
3 ゲート装置
8 基本機能モジュール
91〜93 拡張機能モジュールL1 Power line
| Application Number | Priority Date | Filing Date | Title |
|---|---|---|---|
| JP2005200992AJP2007020015A (en) | 2005-07-08 | 2005-07-08 | Functional device |
| CN200580051021ACN100594695C (en) | 2005-07-08 | 2005-12-22 | Dual wiring system |
| KR1020087002542AKR100975259B1 (en) | 2005-07-08 | 2005-12-22 | Double wiring system |
| CN200580051022ACN100594696C (en) | 2005-07-08 | 2005-12-22 | Functional unit of dual wiring system |
| US11/988,286US7994436B2 (en) | 2005-07-08 | 2005-12-22 | Base unit for dual wiring system |
| JP2006515411AJP4311446B2 (en) | 2005-07-08 | 2005-12-22 | Dual wiring system |
| PCT/JP2005/024200WO2007007432A1 (en) | 2005-07-08 | 2005-12-22 | Base unit for dual wiring system |
| US11/988,313US8138636B2 (en) | 2005-07-08 | 2005-12-22 | Function unit for dual wiring system |
| PCT/JP2005/024198WO2007007430A1 (en) | 2005-07-08 | 2005-12-22 | Dual wiring system |
| KR1020087002539AKR100987686B1 (en) | 2005-07-08 | 2005-12-22 | Functional unit for dual wiring system |
| PCT/JP2005/024199WO2007007431A1 (en) | 2005-07-08 | 2005-12-22 | Function unit for dual wiring system |
| CN200580051023ACN100594697C (en) | 2005-07-08 | 2005-12-22 | Basic units used in dual wiring system |
| JP2006515410AJP4311445B2 (en) | 2005-07-08 | 2005-12-22 | Functional unit for dual wiring system |
| JP2006515414AJP4424349B2 (en) | 2005-07-08 | 2005-12-22 | Dual wiring system |
| KR1020087002541AKR100944743B1 (en) | 2005-07-08 | 2005-12-22 | Base unit for double wiring system |
| US11/988,288US8238755B2 (en) | 2005-07-08 | 2005-12-22 | Dual wiring system |
| CN2005800510130ACN101223732B (en) | 2005-07-08 | 2005-12-22 | Dual Cabling System |
| PCT/JP2005/024194WO2007007429A1 (en) | 2005-07-08 | 2005-12-22 | Dual wiring system |
| KR1020087002530AKR100969902B1 (en) | 2005-07-08 | 2005-12-22 | Double wiring system |
| JP2006515421AJP4740127B2 (en) | 2005-07-08 | 2005-12-22 | Base unit for dual wiring system |
| US11/988,307US8277254B2 (en) | 2005-07-08 | 2005-12-22 | Dual wiring system |
| JP2006515412AJP4618248B2 (en) | 2005-07-08 | 2005-12-27 | Dual wiring system |
| KR1020087002516AKR100975260B1 (en) | 2005-07-08 | 2005-12-27 | Double wiring system |
| US11/988,275US7772717B2 (en) | 2005-07-08 | 2005-12-27 | Dual wiring system |
| PCT/JP2005/023873WO2007007427A1 (en) | 2005-07-08 | 2005-12-27 | Dual wiring system |
| Application Number | Priority Date | Filing Date | Title |
|---|---|---|---|
| JP2005200992AJP2007020015A (en) | 2005-07-08 | 2005-07-08 | Functional device |
| Publication Number | Publication Date |
|---|---|
| JP2007020015Atrue JP2007020015A (en) | 2007-01-25 |
| Application Number | Title | Priority Date | Filing Date |
|---|---|---|---|
| JP2005200992AWithdrawnJP2007020015A (en) | 2005-07-08 | 2005-07-08 | Functional device |
| Country | Link |
|---|---|
| JP (1) | JP2007020015A (en) |
| Publication number | Priority date | Publication date | Assignee | Title |
|---|---|---|---|---|
| JP2008294999A (en)* | 2007-05-28 | 2008-12-04 | Panasonic Electric Works Co Ltd | Telephone device |
| JP2010525785A (en)* | 2007-04-23 | 2010-07-22 | イーストマン コダック カンパニー | Charging display system |
| WO2019069348A1 (en)* | 2017-10-02 | 2019-04-11 | 三菱電機株式会社 | Electronic apparatus and base unit |
| WO2024122288A1 (en)* | 2022-12-08 | 2024-06-13 | 株式会社デンソー | Power transmission system and communication system |
| Publication number | Priority date | Publication date | Assignee | Title |
|---|---|---|---|---|
| JP2010525785A (en)* | 2007-04-23 | 2010-07-22 | イーストマン コダック カンパニー | Charging display system |
| JP2008294999A (en)* | 2007-05-28 | 2008-12-04 | Panasonic Electric Works Co Ltd | Telephone device |
| WO2019069348A1 (en)* | 2017-10-02 | 2019-04-11 | 三菱電機株式会社 | Electronic apparatus and base unit |
| JPWO2019069348A1 (en)* | 2017-10-02 | 2019-11-14 | 三菱電機株式会社 | Electronics |
| WO2024122288A1 (en)* | 2022-12-08 | 2024-06-13 | 株式会社デンソー | Power transmission system and communication system |
| Publication | Publication Date | Title |
|---|---|---|
| JP4311446B2 (en) | Dual wiring system | |
| JP4432963B2 (en) | Control system | |
| JP4925252B2 (en) | Functional device | |
| JP2007020015A (en) | Functional device | |
| JP4710594B2 (en) | Functional device | |
| JP5016218B2 (en) | Information signal transmission device | |
| JP4710447B2 (en) | Wiring system | |
| JP4613819B2 (en) | Wiring system | |
| JP2007020014A (en) | Wiring system | |
| JP4591342B2 (en) | Wiring system | |
| JP4779603B2 (en) | Audio information transmission device | |
| JP4779604B2 (en) | Audio information transmission device | |
| JP2007181109A (en) | Wiring system | |
| JP4784423B2 (en) | Telephone system | |
| JP4674542B2 (en) | Wiring system and control terminal | |
| JP2007174550A (en) | Wiring system | |
| JP4710595B2 (en) | Wiring system | |
| JP2007150635A (en) | Wiring system | |
| JP2007151279A (en) | Functional device | |
| JP4591340B2 (en) | Wiring system | |
| JP2007174433A (en) | Wiring system | |
| JP2007020349A (en) | Gate device | |
| JP2007174428A (en) | Wiring system | |
| JP2007174427A (en) | Speech unit, wiring system, interphone master unit, interphone sub master unit, and interphone system | |
| JP2007018941A (en) | Functional module |
| Date | Code | Title | Description |
|---|---|---|---|
| A300 | Withdrawal of application because of no request for examination | Free format text:JAPANESE INTERMEDIATE CODE: A300 Effective date:20081007 |