
























本発明は、血圧測定装置に係り、特に浅側頭動脈及びその周辺部を被測定部位とした血圧測定装置に関する。 The present invention relates to a blood pressure measurement device, and more particularly to a blood pressure measurement device having a superficial temporal artery and its peripheral portion as a measurement site.
血圧は、外部環境や内部環境の変化に応じて刻々変動している。このため、一拍一拍を連続的に記録できれば理想的となるが、たとえ連続的に記録できなくても、1日における血圧を定期的(間欠的)に連続測定して血圧の経時変化を測定することにより、健康管理を行うことも重要である。 The blood pressure fluctuates every moment according to changes in the external environment and internal environment. For this reason, it would be ideal if the beats could be recorded continuously, but even if they could not be recorded continuously, the blood pressure in the day was measured continuously (intermittently) to measure the change in blood pressure over time. It is also important to perform health care by measuring.
従来の血圧測定装置で定期的に血圧を測定する場合には、例えば、被測定者の上腕にカフを巻いて血圧を測定することになる。この場合には、上腕を覆う大きなサイズのカフと、このカフに接続される血圧測定装置の本体とを身体に装着する必要がある。 When measuring blood pressure regularly with a conventional blood pressure measurement device, for example, the blood pressure is measured by wrapping a cuff around the upper arm of the person being measured. In this case, it is necessary to wear on the body a large-sized cuff that covers the upper arm and the main body of the blood pressure measurement device connected to the cuff.
このため、血圧測定装置で定期的に血圧測定を行う場合には、被測定者は、カフを上腕に装着し、このカフに接続される血圧測定装置の本体とを身体に装着した状態で日常生活を送る必要があるが、これでは日常生活における支障が大きい。また被測定者は圧力測定のたびに上腕が圧迫されて痛みを感じるなどの負担をしいられる場合もある。 For this reason, when blood pressure is regularly measured with the blood pressure measurement device, the person to be measured wears a cuff on the upper arm and wears the body of the blood pressure measurement device connected to the cuff on the body in daily life. It is necessary to live a life, but this is a major obstacle in daily life. In addition, the measurement subject may be burdened by feeling pain because the upper arm is compressed each time pressure is measured.
この点を考慮して、耳たぶにカフを装着し、耳たぶを圧迫することにより脈波を測定する方法がある(特許文献1)。これによれば、上腕にカフを装着して血圧を測定する血圧計よりもカフおよび本体を小型化することができ、被測定者の負担も軽減することができる。 Considering this point, there is a method of measuring a pulse wave by putting a cuff on the earlobe and pressing the earlobe (Patent Document 1). According to this, the cuff and the main body can be made smaller than the sphygmomanometer that measures the blood pressure by wearing the cuff on the upper arm, and the burden on the subject can be reduced.
また、耳たぶではなく、浅側頭動脈にカフを当て加圧することにより血圧を測定する方法もある(特許文献2)。これにより、人の頭領域の血圧を監視することができるようになる。
しかしながら、特許文献1のように、耳たぶで脈波や血圧を測定するとしても、耳たぶの血管は非常に細く、安定的及び正確に血圧を測定することは困難である。特に耳たぶの血管は外気温が低くなると収縮してしまい、なおさら安定的な測定は困難となる。 However, even if the pulse wave and blood pressure are measured with the earlobe as in
また、特許文献2のように、浅側頭動脈の血圧を測定するようにすれば、耳たぶよりも血管が太いので、外気温に左右されず、比較的安定的な測定を実行することはできる。 Moreover, if the blood pressure of the superficial temporal artery is measured as in
ところが、特許文献2では、ヘッドフォン型のカフ保持手段を設け、さらにヘッドバンドを用いてカフを浅側頭動脈のある位置にカフを固定しているが、この場合カフ装着にある程度の熟練度を必要とする。また、ヘッドバンドを使用しているため見た目にもあまり良くなく、被測定者に対して精神的な圧迫感を与えてしまうのは否めない。一方において、ヘッドバンドをなくしてしまうと、ヘッドフォン型のカフ保持手段だけではカフ圧を上げても効率よく浅側頭動脈を押圧することができず、正確に血圧を測定することは非常に困難である。 However, in
本発明はこのような状況に鑑みてなされたものであり、浅側頭動脈における血圧を安定的に、かつ侵襲度を低く抑えながら、測定できるカフ装着構造を有する血圧測定装置を提供するものである。 The present invention has been made in view of such a situation, and provides a blood pressure measurement device having a cuff attachment structure capable of measuring blood pressure in a superficial temporal artery stably and with low invasiveness. is there.
上記課題を解決するために、本発明による血圧測定装置は、被測定者の浅側頭動脈周辺部に当てられ、そこを押圧するためのカフと、前記カフを保持する保持手段と、前記保持手段と結合され、前記被測定者の耳甲介腔に挿入される耳甲介腔挿入部と、前記被測定者の耳甲介から対輪にかけての空間部位に充填され、前記耳甲介を押圧するための耳甲介押圧部と、前記カフに内蔵され、血管を流れる血液から脈波信号を検出する脈波検出手段と、前記カフで前記浅側頭動脈を押圧した後に、流体を用いて前記カフを加圧および減圧する加減圧手段と、前記流体を送るために前記カフと前記加減圧手段との間に接続される配管と、前記配管に接続され、前記カフの圧力を検出する圧力検出手段と、前記脈波信号から血圧値を算出する血圧測定制御手段と、を備え、前記耳甲介腔挿入部の表面は、弾性ポリウレタン樹脂によって被覆されていることを特徴とする。 In order to solve the above-described problems, a blood pressure measurement device according to the present invention is provided with a cuff applied to the periphery of a superficial temporal artery of a measurement subject and pressing the cuff, holding means for holding the cuff, and the holding A concha cavity insertion portion inserted into the concha cavity of the subject to be measured, and a space part extending from the concha to the subject's concha to the opposite ring, and filled with the concha A concha pressing part for pressing, a pulse wave detection means for detecting a pulse wave signal from blood flowing in a blood vessel, and a fluid after pressing the superficial temporal artery with the cuff Pressurizing and depressurizing means to pressurize and depressurize the cuff, piping connected between the cuff and the pressurizing and depressurizing means for sending the fluid, and connected to the piping to detect the pressure of the cuff A pressure detection means; and a blood pressure measurement system for calculating a blood pressure value from the pulse wave signal. And means, the surface of the concha 腔挿 join the club is characterized in that it is covered by an elastic polyurethane resin.
また、前記保持手段及び前記耳甲介腔挿入部は、前記耳甲介押圧部から延設されている。 Further, the holding means and the concha cavity insertion portion are extended from the concha pressing portion.
さらに、血圧測定装置は、前記形状部から延設され、装着時に前記被測定者の耳裏に掛けられ、装着の安定性を担保するための耳掛け部を有している。 Furthermore, the blood pressure measuring device has an ear hooking portion that extends from the shape portion and is hung on the back of the subject's ear when worn and ensures the stability of the wearing.
そして、前記耳甲介腔挿入部、前記耳甲介押圧部及び前記耳掛け部は、一体形成されている。 The concha cavity insertion portion, the concha pressing portion, and the ear hook are integrally formed.
また、前記カフにおける側面は、蛇腹状に構成されている。 Moreover, the side surface in the said cuff is comprised by the bellows shape.
さらに、前記カフは、首振り機構によって前記保持手段に取り付けられている。 Further, the cuff is attached to the holding means by a swing mechanism.
前記耳甲介腔挿入部は紡錘体類似の形状をなしており、その最大径は前記被測定者の耳甲介腔の径よりも大きい。 The concha cavity insertion portion has a spindle-like shape, and the maximum diameter is larger than the diameter of the concha cavity of the subject.
さらなる本発明の特徴は、以下本発明を実施するための最良の形態および添付図面によって明らかになるものである。 Further features of the present invention will become apparent from the best mode for carrying out the present invention and the accompanying drawings.
本発明の血圧測定装置によれば、浅側頭動脈における血圧を安定的に、かつ侵襲度を低く抑えながら、測定できる。つまり、本発明によれば、ヘッドバンドやヘッドギアを使用する必要がなく、また、耳甲介腔挿入部を弾性部材で被覆しているので被測定者に不快感を与えることなく、浅側頭動脈の血圧を連続測定することができる。 According to the blood pressure measurement device of the present invention, blood pressure in the superficial temporal artery can be measured stably and with a low degree of invasiveness. That is, according to the present invention, it is not necessary to use a headband or a headgear, and the concha cavity insertion part is covered with an elastic member, so that the subject is not discomforted and the shallow temporal region is not affected. Arterial blood pressure can be measured continuously.
先ず、本発明の最大の特徴点は、浅側頭動脈を血圧測定部位として用いる点が挙げられる。このように浅側頭動脈を血圧測定用の部位としたのは、血圧検出部を小型化できる利点があり、浅側頭動脈は頭部一部であるので位置変動が少なく血圧測定に適しているからである。また、浅側頭動脈に常時カフを装着していても、指などに比べて日常生活に対する支障が少なく、血圧測定時における被測定者へ痛みを与える侵襲度を少なくできる点などが挙げられる。さらに、浅側頭動脈は頭部の血管につながっているため、頭部に関連した血管の血圧を監視することができるという利点もある。 First, the greatest feature point of the present invention is that the superficial temporal artery is used as a blood pressure measurement site. The use of the superficial temporal artery as a site for blood pressure measurement has the advantage that the blood pressure detection unit can be downsized, and since the superficial temporal artery is a part of the head, there is little positional fluctuation and it is suitable for blood pressure measurement. Because. In addition, even when a cuff is always attached to the superficial temporal artery, there are less obstacles to daily life than a finger or the like, and the degree of invasiveness that gives pain to the measurement subject during blood pressure measurement can be reduced. Furthermore, since the superficial temporal artery is connected to the blood vessel of the head, there is an advantage that the blood pressure of the blood vessel related to the head can be monitored.
以下に図面を参照して、本発明に係る好適な各実施形態の血圧測定装置を説明する。なお、以下に示す各実施形態の血圧測定装置の各部の構成と形状および寸法は、一例に過ぎず、これらにより本発明の技術的範囲が限定的に解釈されることがないことは言うまでもない。 Hereinafter, blood pressure measuring devices according to preferred embodiments of the present invention will be described with reference to the drawings. In addition, it cannot be overemphasized that the structure of each part of the blood pressure measuring device of each embodiment shown below, a shape, and a dimension are only an example, and the technical scope of this invention is not limitedly interpreted by these.
<耳介の構造>
本実施形態に係る血圧測定装置では、耳珠を測定部位としている。ここでは、まず耳介の構造について明らかにする。<Auricular structure>
In the blood pressure measurement device according to the present embodiment, the tragus is used as a measurement site. First, the structure of the pinna will be clarified.
図1は耳介(耳)の各部位の名称を示す図である。図1に示される耳介220において、221は耳珠、222は対珠、223は耳甲介、224は対輪、225は耳輪、226は対輪脚、227は耳甲介腔、230は耳穴である。本実施形態では、後述する装着部3のカフ組立体6は、浅側頭動脈228を押圧するように装着される。 FIG. 1 is a diagram showing names of respective parts of the auricle (ear). In the auricle 220 shown in FIG. 1, 221 is a tragus, 222 is a tragus, 223 is a concha, 224 is a contusion, 225 is a conical ring, 226 is a concentric leg, 227 is a concha cavity, 230 is It is an ear hole. In the present embodiment, a
<血圧測定装置外観>
図2は、本実施形態に係る血圧装置1の全外観を示す図である。血圧測定装置1は、概ね、血圧測定演算を実行する本体2と、被測定者の浅側頭動脈228上にカフを配置するための装着部3と、装着部3の装着を安定化させるための一体部材50と、本体2と配管4及び配線5を結合するための結合部300と、を備えている。<Appearance of blood pressure measurement device>
FIG. 2 is a diagram showing an overall appearance of the
ここで、装着部3は、カフ保持部材15と、それに取り付けられたカフ組立体6と、カフの突出長を調節するためのカフ突出長調節ネジ11とを備えている。 Here, the
また、一体部材50は、形状部52から突出した耳甲介腔挿入部54と突出部55と耳掛け部51と、を備えている。耳甲介腔挿入部54は、耳甲介腔227に挿入されて装着部3の装着を安定させるためのものである。また、突出部55にはカフ保持部材15が取り付けられている。さらに、耳掛け部51は、メガネフレームの耳掛け部と略同様な形状をなしている。 The
結合部300は、被覆部材9で覆われてた配管4及び配線5を本体2と結合するためのものであり、着脱可能な構成になっている。結合部300を本体2に、結合部300の係止部322が本体2の係止穴320に係止するまで挿入する。すると、結合部300の雌コネクタ305が本体2の雄コネクタ318に、結合部300の配管プラグ304が本体2の配管プラグ穴319に嵌合するようになっている。そして、着脱ボタン303を押下して係止部322を係止穴320から外して結合部300を本体2から引き抜けば、結合部300を本体2から取り外すことができる。 The
<カフ装着外観>
図3は、浅側頭動脈228が存在する部位にカフ6が当たるように、血圧測定装置1の装着部3を装着したときの様子を示す図である。<Cuff wearing appearance>
FIG. 3 is a diagram illustrating a state when the
図3に示されるように、装着部3の耳甲介腔挿入部54が、耳甲介腔227(図1を参照)に挿入される。この耳甲介腔挿入部54は紡錘体類似の形状をなしており、その最大径は耳甲介腔227の径よりも多少大きく形成されているので、耳甲介腔挿入部54を耳甲介腔227に挿入することによって装着の安定度(特に、3軸直交座標のX方向の安定性)を担保することができるようになっている。なお、耳甲介腔挿入部54の表面は後述のように弾力性のある樹脂で被覆されているので装着時の不快感を最低限に抑えるようにしている。 As shown in FIG. 3, the concha
そのとき形状部52は耳甲介223に充填され、その先端部52aは対輪224に当接するようになっている。これにより、装着部3のY方向における装着の安定度を担保することができる。先端部52aは、後述のように弾力性のある樹脂で構成されているので、長時間装着しても被測定者が感じる不快感を最小限に抑えることができるようになっている。 At that time, the
また、形状部52から延設される耳掛け部51は、メガネの耳掛け部のように耳輪225の裏側に位置するように装着され、XYZ方向における装着の安定度を担保するようになっている。 Further, the
なお、形状部52と耳掛け部51を図示の形状のように成形するための使用樹脂材料としてはポリカーボネイト系、ABS系、POM系、PPS系などの樹脂材料が使用できる。また、使用材料としては量産性、寸法安定性、コスト面などから樹脂材料を通常用いることになるがこれに限定されず、軽金属、木、紙、各種素材を組み合わせたハイブリット構成としても良い。 A resin material such as polycarbonate, ABS, POM, or PPS can be used as a resin material for forming the
また、各種サイズに対応させて各部品の色を病院向けにはオレンジ、一般用途向けにはブルー、子供向けには白などとして色分けすると良い。 In addition, the color of each part may be classified according to various sizes, such as orange for hospitals, blue for general use, and white for children.
形状部52、耳掛け部51及び耳甲介腔挿入部54を耳に装着すると、カフ組立体6は丁度浅側頭動脈228の上に位置するように構成されている。なお、浅側頭動脈228の位置は多少個人差があるため、突出部55からの保持部材15の突出長を調整できるように長さ調節機構(不図示)を設けても良い。 The
突出部55に取り付けられた保持部材15にはカフ突出長調節機構としてのカフ突出長調節ネジ11のためのネジ穴15aが設けられている。また、そのカフ突出長調節ネジ11の先端にはカフ組立体6が首振り可能なように取り付けられている。カフ突出長調節ネジ11を時計回りに回すとカフ突出長が長くなり、逆に反時計回りに回すと短くなる。 The holding
このように、カフ組立体6が浅側頭動脈228に対して充分な圧力で接触する状態を保持させる調節が可能になるので、個人毎に大きく変動する浅側頭動脈付近の頭部形状に対してカフを所定位置で安定して装着する状態を維持できることとなる。 In this way, the
<装着部3の構成>
図4は、装着部3の立体分解図である。本図において、カフ6はカフ突出長調節ネジ11に首振り機構160及び161を介して取り付けられる。そして、このカフ6の略中央側面には嵌合穴部151が形成されている。またカフ保持部材15の他端には雌ネジ穴部15aが形成されており、これに対して突出長調節部である調節ネジ11が図示のように螺合されている。また、調節ネジ11の先端には嵌合穴部151に対して圧入して嵌合される首振り機構160及び161が取り付けられ、嵌合後にカフ6を自在に首振り可能にしている。なお、首振り機構については後述する。<Configuration of mounting
FIG. 4 is a three-dimensional exploded view of the mounting
一方、耳甲介から対輪にかけての空間部位に充填される略いちご形状を有する形状部52からは外耳道に向けて延設される耳甲介腔挿入部54と、この耳甲介腔挿入部54に対して図示のように略直交する突起部55が一体成形されるか、または個別部品として夫々が準備されて図示のように固定される。 On the other hand, the concha
さらに、この形状部52からは上方に向けて上記の耳延設部に沿う形状の耳掛け部51が一体または個別部品として形成されており、全体を一体部材50として設けている。つまり、この一体部材50は、耳掛け部51と耳甲介腔挿入部54と突起部55を備える形状部52とから構成される。一体部材50の成型については後述する。 Furthermore, an
カフ保持部材15は雄ネジ部15bを備え、この雄ネジ部15bは、突起部55に設けられた雌ネジ穴部55aに螺合してカフ保持部材15を一体部材50に固定する。そして、カフ保持部材15を突起部55の雌ネジ部55aに取り付けた後は、ネジ55bによって最終的に固定される。このように、カフ保持部材15を螺合構造で一体部材50に取り付けるようにしたので、カフ保持部材15の一体部材50に対する取付け角度を可変とすることができ、よって被測定者の側頭部にカフ6を当接する角度を調節することができるようになる。従って、後述のカフ首振り機構と相俟って、個人差のある側頭部の様々な形状に対応することができ、より正確な血圧を測定できる構造を提供することが可能となる。 The
なお、いちご形状の形状部52の端部52aは対輪に対して当接する部分となるが、上記のように耳甲介から対輪にかけての固体差が大きいので各種サイズの形状部52を準備すると良い。 The
<一体部材50の構成>
前述の通り、一体部材50は、耳掛け部51と耳甲介腔挿入部54と突起部55を備える形状部52とから構成される。<Configuration of
As described above, the
一体部材50において、耳掛け部51の耳輪225に当たる部分(耳輪接触部51a:破線図示)及び/又は形状部52の少なくとも対輪224に当たる部分(端部52a)、さらに耳甲介腔挿入部54を、一体部材50の他の部分よりもソフトな素材で構成する。特に、耳甲介腔挿入部54は耳甲介腔に挿入されるものであり、耳甲介腔の大きさは個人差があるため、よりソフトな素材で構成することが望ましい。なお、形状部52については、その中核部はハード素材で表面層をソフト素材で構成するようにしても良い。 In the
例えば、耳輪接触部51a及び端部52aには、シリコンゴム、スチレン系・ウレタン系・オレフィン系エラストマー素材、PE(ポリエチレン)、PP(ポリプロピレン)、POM(ポリアセタール樹脂)、各種ゴム等の素材が使われる。それ以外の部分には、上述のように、よりハードな素材、例えば、PC(ポリカーボネイト)系、ABS(アクリルニトリル・ブタジエンスチレン)系、POM(ポリアセタール)系、PPS(ポリフェニレンサルファイド)系樹脂等が用いられる。つまり、一体部材50全体について一定の剛性を得るためにハードな素材を用い、被測定者の耳に当たる部分にはソフトな素材を用いているのである。なお、突起部55及び一体部材50の中軸部分のみを一定の剛性を得るためにハードな素材で構成し、その全体をソフトな素材で覆うようにしても良い。 For example, materials such as silicon rubber, styrene-based / urethane-based / olefin-based elastomer material, PE (polyethylene), PP (polypropylene), POM (polyacetal resin), and various types of rubber are used for the ear
この一体部材50を作成するには2色射出成形技術を用いると良い。簡単に説明すると、例えば、金型シャッターに融点の異なる2つの材料(上記ハード素材とソフト素材)を射出する。融点の高い方の素材を先に金型に流し込み、ある程度固まった状態で金型のシャッターを取り除き、次に融点の低い方の素材を金型に流し込む。このようにして一体部材50が一体成形される。 A two-color injection molding technique may be used to create the
以上のように、耳に接触する部分を少なくともソフトな素材で構成することにより、個人の耳形状に依らずに装着の安定性が向上し、被測定者の心理的負担を軽減するので、長時間装着を可能とするものである。 As described above, by configuring the part in contact with the ear with at least a soft material, the wearing stability is improved regardless of the individual ear shape, and the psychological burden on the subject is reduced. Time wearing is possible.
<カフ組立体6及び保持部材15の構成>
図5は、カフ組立体6が取り付けられた保持部材15の構成を示す図である。図5(a)は通常状態(カフが首を振っていない状態)を示し、図5(b)は首振り状態を示している。<Configuration of
FIG. 5 is a view showing a configuration of the holding
図5(a)において、カフ組立体6はカフ突出長調節ネジ11の先端部に取り付けられており、ネジ11を回すことによってカフ組立体6の突出長を調節できるようになっている。カフ組立体6は、カフ基台150にカフ袋体22がOリング24によって固定されることにより構成される。そして、装着時はカフ袋体22の当接面25が浅側頭動脈228の上に当接するように配置される。 In FIG. 5A, the
また、図5(b)に示すように、カフ組立体6は首振り機構(後述)によって首振り可能となっている。従って、浅側頭動脈228の上にカフ6を装着した時、個人差のある被測定者の側頭部の形状に柔軟に対応することができる。 Further, as shown in FIG. 5B, the
<カフ組立体の取り付け部の構成:首振り機構>
図6は、カフ組立体6の首振り機構を説明するための図である。図6(a)において、カフ基台150は、圧入部材160が圧入される圧入穴151及び配管4及び配線5が接続される挿入口152を有する。なお、図6においては、説明の単純化のため、発光素子としてのLED20と受光素子としてのフォトトランジスタ21は省略している。これらの配置については図8を用いて後述する。<Configuration of cuff assembly attachment portion: swing mechanism>
FIG. 6 is a view for explaining the swing mechanism of the
圧入部材160は筒形状をなしており、部材上面160aは開放され、底面の中心付近はネジ161が通過できる分だけ開口する開口部160bを有している。この圧入部材160は、ネジ穴11aを有するカフ突出長調節ネジ11にネジ161で固定される。ネジ161の長さはネジ穴11aの深さよりも長く設定されているため、ネジ161のネジ頭161aと圧入部材160の底面との間に一定のクリアランスを確保することができるようになっている。 The press-fitting
以上のように圧入部材160をカフ突出長調節ネジ11に取り付けた後、圧入部材160をカフ組立体6の圧入穴151に圧入する。すると、上述のクリアランスのため、カフ組立体6は、図6(b)に示されるように、首振り動作が可能となるのである。 After the press-fitting
以上の構成によりカフの首振り動作が可能となるが、図7に別の実施態様を示す。この場合、装着部3の首振り構造は、図7に示されるように、カフ組立体6を玉軸受け部11aで挟持幅調節ネジ11に軸止することにより、実現されるようにしている。 Although the above configuration enables the cuff to swing, FIG. 7 shows another embodiment. In this case, as shown in FIG. 7, the swing structure of the mounting
<カフ組立体6の内部構成>
図8(a)は組立て完成後のカフ組立体6の断面を示す図であり、図8(b)はこのカフ組立体6を図8(a)のV3方向から見たときの断面を示す図である。<Internal configuration of
FIG. 8A is a view showing a cross section of the
カフ組立体6では、まず、カフ基台150内の所定の位置(図8(a)参照)に発光素子としてのLED20と受光素子としてのフォトトランジスタ21が設置される。そして、カフ袋体23をカフ基台140に被せ、基台凹部150aの位置に合わせてOリングで被せたカフ袋体22を固定する。なお、カフ袋体22を基台凹部150aに接着剤で接着してからOリングで固定しても良い。 In the
また、図8(a)に示されるように、配管4及び配線5は、挿入部152からカフ組立体6内に挿入される。この挿入部152は、図8(b)で示されるように、例えば2つの挿入口153及び154を有している。例えば、一方の挿入口153には配管4が接続され、他方の挿入口155には配線5が挿入される。配線5は前述のLED20及びフォトトランジスタ21に接続されている。配管4及び配線5をカフ組立体6内に挿入した後は、挿入口152からの空気漏れを防止するため、図示しない密閉部材で蓋がされることにより、カフ組立体6内の密閉状態が創出される。なお、密閉部材の他、接着剤等の空気に触れると固着する化学材料で挿入口152を塞いでも良い。 As shown in FIG. 8A, the
後述するようにカフ組立体6の当接面25は円形、楕円形又は長円形をなしている。挿入部152は、当接面25が楕円形又は長円形の場合、長軸(長径)側に設けても良いし、短径側に設けても良い。 As will be described later, the
<カフ袋体22の構成>
前述のように、カフ袋体22の当接面25の形状は、円形、楕円形又は長円形の何れでもよい。ここでは、当接面25の各々の形状について説明する。<Configuration of the
As described above, the shape of the
(1)当接面25が円形の場合
図9(a)は、円形のカフ組立体6の一部を構成するカフ袋体22の平面図、図9(b)はカフ袋体22の正面図、図9(c)はカフ袋体22の底面図である。また、図10は図9(a)のX-X線矢視断面図である。(1) When the
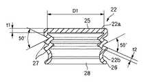
図10において、カフ袋体22は、加圧状態と減圧状態との間で弾性変形する筒部22bと、この筒部22bから延設されるとともに耳珠に当接する平らな当接面25となる蓋部22aとを有した帽子状として一体成形される。また、開口部28の縁部はフランジ部26として一体成形されている。また、蓋部22aの厚さの第1の寸法t1を、筒部22bの厚さの第2の寸法t2より大きく設定することで、浅側頭動脈に対して当接面25が常に平らな状態で接触できるように構成されている。 In FIG. 10, the
この蓋部22aは、円形に形成され、同様に筒部22bも円形筒体に形成され、カフ部材はこれらの筒部に合致する形状に形成される。 The
また、筒部22bは、1つ以上望ましくは2つの段差部を形成したベローズ体27として形成されるとともに、蓋部が円形である場合は、直径寸法が15〜5mmの範囲、望ましくは約8mmであり、第1の寸法t1が0.4〜1mmの範囲、望ましくは約0.6mmであり、第2の寸法t2が0.1〜0.8mm、望ましくは約0.3mmに設定される。 Further, the
(2)当接面25が楕円形又は長円形の場合
図11(a)は、楕円形又は長円形のカフ袋体22の平面図、図11(b)はカフ袋体の正面図、図11(c)はカフ袋体の右側面図、図11(d)はカフ袋体の底面図である。また、図12(a)は図11(a)のX-X線矢視断面図であり、図12(b)は図11(a)のY-Y線矢視断面図である。(2) When the
本図において、カフ袋体22の蓋部が楕円形状または長円形状である場合、長軸寸法が15〜5mmの範囲、望ましくは約10mmであり、短軸寸法が10〜4mmの範囲、望ましくは約8mmである。 In this figure, when the lid portion of the
また、図12(a)において、第1の寸法t1が0.4〜1mmの範囲、望ましくは約0.6mm、そして第2の寸法t2が0.1〜0.8mm、望ましくは約0.3mmに設定される。 In FIG. 12A, the first dimension t1 is in the range of 0.4 to 1 mm, preferably about 0.6 mm, and the second dimension t2 is 0.1 to 0.8 mm, preferably about 0.1 mm. Set to 3 mm.
さらにカフ袋体22は、シリコンラバー、天然ゴム、所定の合成樹脂を含むショア硬度が30〜60、望ましくは約50前後の弾性材料から一体成形される。 Further, the
以上のように浅側頭動脈部に当接する平らな当接面となる蓋部とを有した帽子状のカフ袋体22の蓋部の厚さの第1の寸法t1を、筒部の厚さの第2の寸法t2より大きくすることにより、加圧時においては、当接面25は平面状態を維持したままで加圧位置まで移動できる。また、減圧時にも当接面25は平面状態を維持したままで減圧位置まで移動できるようになる。さらにカフ袋体の筒部をベローズ体(蛇腹構造)27に形成することで当接面25を略平行移動できるようになる。 As described above, the first dimension t1 of the thickness of the cap portion of the cap-shaped
なお、このようにカフ袋体22の側面を蛇腹構造にすることにより、カフを加圧したときに、カフ袋体22の当接面25が空気圧によってドーム状に膨らんで当接面25の押圧力が不均一になることを防止できる。つまり、浅側頭動脈228を均一に圧迫するのに不要な空気圧は蛇腹で吸収され、当接面25をフラットに保つことができるようになるのである。 Since the side surface of the
<嵌合部材の構成及び組み付け方法>
カフ袋体22を図7や図8で図示したようにOリング24を用いてカフ部材に対する気密状態で固定することで加圧と減圧に耐え得るように構成することができるが、このような完成状態にすることはカフ袋体22とOリングの双方が弾性体であることから困難になる。そこで、カフ袋体を嵌合部材を用いてカフ部材に対してパチン嵌合することで、気密性と組み付け作業性の向上と図ると良い。<Configuration of fitting member and assembly method>
The
図13(a)はカフ袋体22をカフ部材30に取り付ける様子を示した分解図、図13(b)は完成後のカフ組立体の要部断面図である。 FIG. 13A is an exploded view showing how the
本図において、既に説明済みの構成または部品については同様の符号を附して説明を割愛すると、先ず、破線で示されるLED20とフォトトランジスタ21は、センサ組立体31中の所定位置に正確に固定されており、リード線が図示のように下方に延びており、配線5に接続されている。また、カフ部材30は樹脂材料を用いて射出成形されており、センサ組立体31の取り付け基部30dと設けており、この基部30dの周囲は流路30aに連通している。この流路30aはパイプ部30bの中空部として形成されており、このパイプ部30bに対して配管4を図示のように接続する。 In this figure, the same reference numerals are given to the components or parts already described, and the description thereof is omitted. First, the
カフ部材30には、カフ袋体22の内周面44の小径部44aの寸法に合致するか、やや大きな寸法を有した外周面35が形成されるとともに、その下方において鍔部33が図示のように形成されており、この鍔部33の下方には一方の係止部となる溝部34が形成されている。 The
また、カフ袋体22の開口部28の縁部からはフランジ部26が外側に向けて一体形成されている。 Further, a
一方、嵌合部材38は、カフ部材30に形成された一方の係止部に対して係止する他方の係止部38dが傾斜面38cの端部に形成されるとともに、フランジ部26を押さえる押圧面38aとが一体形成されている。 On the other hand, in the
以上の構成において、カフ部材30に対して先ずカフ袋体22、23を矢印方向に移動して内周面44aが外周面35に圧入する状態または軽く入る状態にした後に、嵌合部材38を次に圧入すると図13(b)に図示のように嵌合部材38によって、フランジ部26が圧縮された状態で固定されることになる。 In the above configuration, after the
以上で完成することができるので、流路30aを介して加圧および減圧を行うようにできる。また、図13(b)において、カフ部材30の内周面30cは図示のようにセンサ組立体31の外周面よりも大きい寸法関係となるので、これらの隙間から加圧減圧を行うことが可能となる。さらに、図13(b)において、各素子のリード線に接続される小基板41が設けられているので、配線作業についても簡略化することができる。 Since it can be completed as described above, pressurization and decompression can be performed through the
次に、図14は、別実施形態のカフ組立体の要部断面図であり、本図において、既に説明済みの構成または部品については同様の符号を附して説明を割愛すると、センサ組立体31はカフ部材30に形成された貫通孔部30fの下方から挿入された後に、カフ部材30の爪部30kに小基板41の縁部が嵌合されて不動状態に固定される。また、嵌合部材38は、内周面の一部が山状になっており、カフ部材の谷部に嵌合できるように構成されている。さらに、フランジ部とカフ部材30の間の接合面にはシール剤42が敷設されており、さらなる気密性を保証している。 Next, FIG. 14 is a cross-sectional view of a main part of a cuff assembly according to another embodiment. In this figure, components or components already described are denoted by the same reference numerals and description thereof is omitted. After 31 is inserted from below the through
図14に図示の構成によれば、カフ袋体22内部が加圧されることで、実線図示の位置から破線図示の位置に当接面25が平行移動できるようにベローズ部27が伸びるとともに、内部が減圧されると再び実線図示の位置に戻ることができる。 According to the configuration illustrated in FIG. 14, the inside of the
上記説明したように、上腕や指を用いて定期的にかつ一定時間ごとに血圧測定する場合には、種々の問題が発生することから耳珠を血圧測定部位として耳を用いることで安定した高精度の血圧測定を行えるようになる。 As described above, when blood pressure is measured periodically and at regular intervals using the upper arm and fingers, various problems occur. The blood pressure can be measured accurately.
<遮光層を形成したカフ袋体>
上記のように光学式に脈波を検出するLED素子20とフォトトランジスタ21とをカフの内部に内蔵するように構成すると、耳珠に対して内外のカフを装着したときにカフの一部が外部に露出される状態になる。このため外乱光の影響を受け、特に、屋内ではさほど問題にならなくとも屋外に出かけて紫外線を含む太陽光に直接的に晒される使用状況下では正確な血圧測定が困難となる。<Cuff bag body with light-shielding layer>
If the
図15(a)は遮光対策前のカフ組立体の要部断面図、図15(b)は遮光対策後のカフ組立体の要部断面図である。 FIG. 15A is a cross-sectional view of the main part of the cuff assembly before light shielding measures, and FIG. 15B is a cross-sectional view of the main part of the cuff assembly after light shielding measures.
本図において、既に説明済みの構成または部品については同様の符号を附して説明を割愛すると、カフ袋体22は透明または光透過性のシリコンラバー、天然ゴム、所定の合成樹脂を含むショア硬度が30〜60、望ましくは約50前後の弾性材料から一体成形される。そして、カフ袋体22、23は上記のようにカフ部材に対する気密状態で設けられ、図15(a)に図示のように当接面25が実線で示される位置と破線で示される位置との間で略平行移動される加圧状態と減圧状態との間で弾性変形される。 In this figure, components and components that have already been described are denoted by the same reference numerals and description thereof is omitted, and the
このように構成すると、カフ袋体22は透明または半透明または光透過性であるので外乱光Lが内部に進入する。このため、太陽光に対して高感度のセンサを用いる場合には太陽光の影響を受けてしまい正確な血圧測定ができなくなる。 If comprised in this way, since the
そこで、図15(b)に図示のようにカフ袋体22において開口部46以外を光学的に遮蔽するための遮光層45を形成し、さらにこの遮光層45を筒部の内壁面44まで連続形成することで、図示のように外乱光Lが内部に進入することを防止して、血圧測定部位のみに光が照射され、反射光を受光することで場所によらず常時正確な血圧測定を行えるようにしている。この遮光層45は、図示のように内部に形成することで使用時の摩滅を防止できるようになるが、耐摩滅性を確保できる場合には外側に形成しても良いことは言うまでもない。 Therefore, as shown in FIG. 15B, a
また、例えば、カフ袋体の蓋部22aを円形にした場合には、遮光層45の開口部46の形状は相似形の小さな円形として形成される。一方、当接面25を楕円形状または長円形状に形成した場合には、遮光層45の開口部46は円形または相似形の小さい楕円形状または長円形状にすると良い。 Further, for example, when the
そして、当接面25が直径寸法(D1)が15〜5mmの範囲、望ましくは約8mmの円形である場合は、開口部46の直径寸法が2〜8mmの範囲、望ましくは約5mmに設定されることとなる。また、当接面25が、長軸寸法(D2)が15〜5mmの範囲、望ましくは約10mmであり、短軸寸法(D3)が10〜4mmの範囲、望ましくは約8mmである楕円形状または長円形状である場合は、開口部46の直径寸法が2〜8mmの範囲、望ましくは約5mmの円形または、この円形と同等の開口面積を有する円形、楕円形状または長円形状に設定される。以上の開口部46を設けた遮光層45は、例えば2色射出成形法で形成することができる。 When the
図16は、カフ袋体22の内部に遮光層を形成するための一印刷工程を示す図であって、カフ袋体22の中心断面図とともに示している。 FIG. 16 is a view showing one printing process for forming a light shielding layer inside the
本図において、ステップS1ではゴム成形装置により成形され、バリ取り後のカフ袋体22の外観検査を行い不良品を排除し良品の選別を行うことで不図示の塗装トレー上にセットする。次のステップS2では、脱脂後に、異物混入無しを確認し、開口部46に相当する形状及び面積を有するとともに、軽い粘着力を有する粘着面を備えたマスキングシート70を、カフ袋体22の蓋部の裏面上の中心部分に貼り付ける。このとき位置決めようジグを使用すると良い。 In this figure, in step S1, it is molded by a rubber molding device, the appearance of the
以上でカーボンブラックを含む顔料を混入したシリコン系のバインダー塗料の塗布を行う準備が整い、次にステップS3に進みインク塗布工程を行う。 Thus, the preparation for applying the silicon-based binder paint mixed with the pigment containing carbon black is completed, and the process proceeds to step S3 to perform the ink application process.
この工程では刷毛塗りまたはスプレーガンによる上記のバインダー塗料の塗装を行うことで、破線図示の遮光層45を形成する。この段階では、まだ十分に乾燥していないことから、次のステップS4の常温乾燥工程において、約1時間の放置を行い、乾燥を促進した後にマスキング70をピンセットなどの工具を用いて取り除く。 In this step, the light-
この後、ステップS5に進み、オーブン装置に乾燥後のカフ袋体が入れられ焼き付け塗装のためのオーブン処理が約200℃で約10〜15分間行われる。その後、オーブン装置から塗装トレーが外部に取り出され、ステップS6の仕上げ検査工程において、外観検査が行われて、異物、開口部46への塗料のはみ出し、塗装ムラなどの検査が行われて良品を選別して終了する。 Then, it progresses to step S5, the cuff bag body after drying is put into an oven apparatus, and the oven process for baking coating is performed at about 200 degreeC for about 10 to 15 minutes. Thereafter, the coating tray is taken out from the oven apparatus, and in the finishing inspection process in step S6, an appearance inspection is performed, and foreign matter, protrusion of paint to the
また、図17は、カフ袋体22を遮光層と光透過層とから一体成型する別の工程を示す図であって、カフ袋体22の工程別の様子を示した中心断面図とともに示した図である。 FIG. 17 is a view showing another process for integrally molding the
本図において、ステップS11では、不図示のゴム成形装置を用いてカーボンブラックを含む顔料を混入したシリコン系のゴム材料を用いてカフ袋体22が成形される。これにより、外光を遮光できるカフ袋体22が得られるので、そのバリ取りなどを行い、その後の外観検査を行うことで不良品を排除して良品のみの選別を行う。 In this figure, in step S11, the
次のステップS12では、カフ袋体22中の異物などの混入無しを確認した上で、孔明加工のための穿孔装置の所定位置にセットする。この穿孔装置には、カフ袋体22の底面の中央の開口部46に相当する形状及び面積を有する円形筒状のポンチ70が、不図示の上下機構により手動または電動で上下駆動可能に保持されている。また、このポンチ70の下方には台部材71が固定されているが、この台部材71はポンチ70の外形寸法にクリアランス分を加えた内径孔部を形成しており、図示のようにポンチ70に対応する下方位置に正確に配置されている。 In the next step S12, after confirming that no foreign matter or the like in the
続く、ステップS13ではポンチ70を下方に移動することで孔明け加工を行う。その後、穿孔装置から取り出す。なお、ポンチ70を用いる穿孔装置以外にもレーザ光線照射による孔加工などがあり、孔加工はポンチ加工に限定されないことは言うまでもなく、さらに、孔加工後の形状で成型することのできる成型金型を使用しても良い。 In subsequent step S13, punching is performed by moving the
以上で透明ないし光透過性のシリコン系のゴム材料のポッテイング成形による二次成形を行うための下準備が整ったので、次にステップS14に進み、流し込み工程を行う。 Now that the preparation for performing secondary molding by potting molding of a transparent or light transmissive silicon rubber material is completed, the process proceeds to step S14, and a pouring process is performed.
この流し込み工程では、例えば硬化剤を混合した液体状の光透過性のシリコン系ゴム材料45aが開口部46を充満できる分の体積分が流入される。または、これ以上の体積分が流入される。これにより光透過層45が図示のように形成される。この流入直後の段階では、十分に乾燥固化していない。 In this pouring step, for example, the volume of the liquid light-transmitting
そこで、次のステップS15の常温乾燥工程で、約1時間の放置を行い、乾燥させた後に、トレー上に置きオーブン装置中にまとめてカフ袋体が入れられる。このオーブンでは焼き付け処理が約200℃で約10〜15分間行われてシリコンの固化とシリコン同士の完全な溶着が完了する。 Therefore, in the next step S15, the room temperature drying process is performed for about 1 hour, and after drying, the cuff bag body is put on the tray and put together in the oven apparatus. In this oven, baking is performed at about 200 ° C. for about 10 to 15 minutes to complete the solidification of silicon and the complete welding of silicon.
その後、オーブン装置から取り出され、ステップS16の仕上げ検査工程において、外観検査が行われて、ポッテイング成形状態の検査が行われ、良品のみが選別されて終了する。以上の各工程を経て完成されたカフ袋体22は上記のように取り付けることで使用することができる。 After that, it is taken out from the oven device, and in the finishing inspection process in step S16, an appearance inspection is performed, a potting molding state inspection is performed, and only non-defective products are selected and finished. The
尚、上述のポッテイング成形以外にも流動浸漬法またはトランスファ成形法により、上記の光透過性のシリコン系のゴム材料の二次成形を行っても良いことは言うまでもない。 Needless to say, in addition to the above-described potting molding, the light-transmitting silicon rubber material may be secondarily molded by a fluid dipping method or a transfer molding method.
<突出長調節ネジ11と異なる突出長調節機構の別の構成例>
上述のように突出長調節ネジ11は、例えば保持部材15に形成された雌ネジ孔に対して調節ネジ11の本体の外周面に形成された雄ネジ部を図示のように螺合することで、調節ネジ11の正逆方向の回動によりカフ袋体23を設けた外側カフ組立体を任意に移動できるとともに、調節ネジ11の端部において、図6の首振り機構採用したり、図7の玉軸受け部11aをカフ部材30の嵌合孔部151に対して圧入することで、首振り自在に設ける様にしている。<Another configuration example of the protrusion length adjusting mechanism different from the protrusion
As described above, the protrusion
しかし、例えばカフ組立体の移動ストロークが大きい場合は、気の短い人または指先が不自由な人にとってこの調節ネジ11の回転操作が面倒になる場合がある。そこで、カフ組立体の移動ストロークの大小にかかわらず、一気に所望の位置に移動できるようにする一方向移動部材である、ブラッシングブッシュ49をこの調節ネジ11の替わりに用いることもできる。 However, for example, when the movement stroke of the cuff assembly is large, the rotation operation of the adjusting
すなわち、図18において、一方向移動部材であるブラッシングブッシュ49はその外周面に複数の弾性変形自在の鍔部49bを、また端部において玉軸受け部49aをナイロン系の所定樹脂材料から図示のように一体成形している。鍔部49bの直径寸法は第3保持部材15の他端に形成された孔部15aの内径寸法よりも大きく設定されている。 このために、ブラッシングブッシュ49を矢印方向に、一方向に孔部15aに挿入すると3枚の鍔部49bが図示のように挿入方向に逆らうように斜めに変形するとともに弾性変形力で孔部15aの内周面に対して当接する状態になる。この状態で外側カフ組立体を保持できる。また、挿入時より大きな力で引っ張ることで、不図示のストッパー部が孔部15aの縁部に当接して元の位置に引き出すことができるように構成されている。なお、このブラッシングブッシュ49は所謂ワンタッチファスナーとも呼ばれる製品に近い構成を備えることとなる。なお、図18では首振り機構として玉軸受けが用いられているが、図6のような機構を用いても良いことは言うまでも無い。 That is, in FIG. 18, a brushing
<配管4と配線5の一体化構成>
次に、配管4と配線5とは個別に設けてもよいが、これでは使用上において相互に絡まったりして都合が悪い。一方で、配管4は空気を含む流体の流路となる中空部が長手方向に沿って形成されているので、この中空部に配線5を通すことで、配線5が外部に露出しないように構成することができる。しかし、このように構成すると配線5を配管4の外部に引き出す部位において気密性を確保するためのシール部分が必要となるが、配管4は自由に曲げられるのでシール性の確保が困難となり、長期に渡る耐久性に問題を残す。また、組み付け作業上も支障を来たすことになる。<Integrated configuration of
Next, the
そこで、配管4と配線5とを一体化する場合に、シール性の向上と作業効率のアップを同時に図ることのできる構成について種々検討した。 In view of this, various studies have been made on configurations that can simultaneously improve the sealing performance and increase the working efficiency when the
この検討の結果、図19に図示される外観斜視図のように配線5、5を配管4の外周面においてその長手方向に沿うように敷設し、かつ配線5、5と配管4とを、伸縮性を有する被覆部材9で被覆して一体化することが最良であるとの結論に達した。 As a result of this examination, the
具体的には、上記の発光素子と受光素子に夫々接続される配線5は、発光素子と受光素子の夫々から接続される撚り線5a、5bであり、配管4は、シリコンラバー、天然ゴム、所定の合成樹脂を含む弾性材料を用いて図示のような中空状に成形され、被覆部材9は、所定番手を有する繊維体から網目状に形成される。また、この被覆部材9に対して耐ノイズ性向上のための金属塗膜処理を施し、さらに不図示のカバーを被せて構成される。 Specifically, the
以上のように配管4と配線5とを一体化した場合には、例えば図20において一方を把持したときに、一点鎖線で示される円弧内において自由に曲げることが可能となる。さらに、配線5は図19で図示したように配管4の外周面から直接引き出すことが可能になるのでシール部材は一切不要になる。また、被覆部材9に金属処理を施した場合には、さらに耐ノイズ性を向上することができる。 When the
上記説明したように、上腕や指を用いて定期的にかつ一定時間ごとに血圧測定する場合には、種々の問題が発生することから耳珠を血圧測定部位として耳を用いることで安定した高精度の血圧測定を行えるようになる。 As described above, when blood pressure is measured periodically and at regular intervals using the upper arm and fingers, various problems occur. The blood pressure can be measured accurately.
このように耳珠を血圧測定部位として用いる血圧測定装置により継続的に精度良く血圧測定を行うためには、電池駆動される加圧ポンプにより加圧空気を各カフに送り込むこととなるが、電池駆動される加圧ポンプを用いると電池の消耗が激しいことから、長期間に渡る測定ができなくなるので手動式の加圧ポンプにしても良い。加圧される流体媒体としては種々の流体があり、気体の場合には空気があり、液体の場合には水、シリコンオイルを含む油脂類、アルコールなどがあり適宜選択されることとなる。 Thus, in order to continuously and accurately measure blood pressure with a blood pressure measurement device using the tragus as a blood pressure measurement site, pressurized air is sent to each cuff by a battery-driven pressure pump. If a driven pressurizing pump is used, the battery is consumed very much, so that measurement over a long period of time becomes impossible, so a manual pressurizing pump may be used. The fluid medium to be pressurized includes various fluids. In the case of a gas, there is air, and in the case of a liquid, there are water, fats and oils including silicon oil, alcohol, and the like, which are appropriately selected.
<結合部300の構成>
図20は、結合部300の構成を示す図である。図20において、結合部300は、上蓋部材301と収容部材302で構成される。収容部材302には配管4及び配線5が収容される。配管4の端部には配管プラグ304が取り付けられ、配線5の端部には雌コネクタ305が取り付けられる。そして、雌コネクタ305は、コネクタ収容部309に配置される。また、配管プラグ304は、プラグ設置部311に設置され、上からEリング307でその場所に固定される。配管プラグ304が設置されると、その先端の所定の長さがプラグ突出穴308から突出するようになっている。<Configuration of
FIG. 20 is a diagram illustrating a configuration of the
配管プラグ304及び雌コネクタ305を設置した状態で、上蓋部材301を上から被せる。すると、上蓋係止部313a及びbが収容部係止穴315a及びbにそれぞれ係止する。係止部313と係止穴315とが係止した状態で、ネジ306を用いてしっかりと上蓋部材301と収容部材302とが固定される。 With the
図21は、結合部300を本体2に結合するときの様子を示す図である。なお、図21では、結合の様子を理解しやすくするため、結合部300について、結合前は上蓋部材301、結合後は収容部材302の一部のみを表している。 FIG. 21 is a diagram illustrating a state when the
図21に示されるように、押下ボタン303はバネ321を介して上蓋部材301に取り付けられている。結合部300を本体2に結合するときには、押下ボタン303を押下し、係止部322間の幅を少し狭くする。そして、結合部300を本体2の結合凹部に挿入すると、雌コネクタ305が本体2の雄コネクタ318と嵌合し、また、配管プラグ304が配管プラグ穴319に嵌合する。さらに、係止部322は、本体2に設けられた係止穴322に係止する。これにより、結合部300と本体2はしっかりと固定される。 As shown in FIG. 21, the
また、使用後、押下ボタン303を押下し、係止部322を係止穴320から外して結合部300を結合凹部から引き抜くことにより取り出すことができる。 Further, after use, it can be taken out by pressing the
なお、結合部300を本体2に取り付ける場合についてであるが、係止部322は板バネなので、ある程度の弾性があり、押下ボタン303を押して係止部間距離を縮めなくても本体2の結合穴に押し込めば結合可能である。しかし、よりスムーズに、かつ安全に結合部300を本体2に結合するため、係止部間距離は多少でも縮めたほうがよい。 In addition, although it is a case where the coupling |
<光電容積脈波血圧計の回路構成>
図22は、図2の耳式血圧計1を光電容積脈波血圧計として構成した場合の装置本体2内における動作回路100の構成を示すブロック図である。図22において、耳珠221に装着される装着部3の内側カフ(組立体)6の内部には、光電センサ(脈波センサ)を構成する発光素子であるLED20と受光素子であるフォトトランジスタ21が含まれている。配管4は前述の通り、ゴム管(エアチューブ)であり、内側カフ6内への空気の流路を成す。圧力ポンプ108は電動小型モータを駆動源としており、コンデンサータンク107中に圧縮空気を送り、整流後に内側カフ組立体6内に圧力空気を送り込む。また、配管4から分岐接続される急排弁104は不図示の電磁弁機構が設けられており、内側カフ組立体6内の圧力を急速に減少させる。さらに同様に分岐接続される微排弁105は、内側カフ組立体6内の圧力を一定速度(例えば2〜3mmHg/sec)で減少させる。また、配管4から分岐接続される圧力センサ106は、カフ6内の圧力に応じて電気的パラメータを変化させる。この圧力センサ106に接続される圧力検出アンプ(AMP)107は、圧力センサ106の電気的パラメータを検出し、これを電気的信号に変換し、かつ増幅してアナログのカフ圧信号Pを出力する。<Circuit configuration of photoelectric volume pulse wave sphygmomanometer>
FIG. 22 is a block diagram showing a configuration of the
上記のLED20は脈動する血管血流に対して光を照射し、フォトトランジスタ21は該血管血流による反射光を検出する。配線5を介して接続されるフィルタAMP109は脈波検出アンプであり、フォトトランジスタ21の出力信号を増幅してアナログの脈波信号Mを出力する。ここで、LED20には配線5を介して光量を自動的に変化させる光量制御部118が接続される一方で、脈波検出アンプ109には、ゲインを自動的に変化させるゲイン制御部119aと、脈波検出フィルタ・アンプ109を構成するフィルタアンプ(図示せず)の時定数を変化させる時定数制御部119bとが接続されている。また、図示のように接続されるA/D変換器(A/D)110は、アナログ信号M、PをデジタルデータDに変換する。 The
制御部(CPU)111は、光電容積脈波血圧計の主制御を行う。このCPU111は調整圧力を記憶する調整圧力レジスタ111aを有している。この制御の詳細は図24のフローチャートと図25の動作波形図に従って後述する。 A control unit (CPU) 111 performs main control of the photoelectric volume pulse wave sphygmomanometer. The
ROM112は、CPU111が実行する後述の制御プログラムを格納している。RAM113は、データメモリや画像メモリ等を備えている。液晶表示器(LCD)114は、画像メモリの内容を表示する。操作部116は、使用者の操作により測定開始指令や調整圧力値の設定等を行うときに使用される。ブザー115は、使用者に対して装置が操作部116内のキーの押し下げを感知したことや測定終了等を知らせる。尚、本例では、CPU111に調整圧力レジスタ111aを設けたが、RAM113に調整圧力記憶部を設けてもよい。 The
また、LCDの表示パネル14は、ドットマトリックス方式の表示パネルを使用しており、従って多様な情報(例えば文字、図形、信号波形等)を表示できる。また操作部116は測定開始スイッチ(ST)とカフの圧力値等を入力するためのキーを有している。また、バッテリーを交換自在にした電源部121と不図示の電源スイッチがさらに設けられている。 Further, the display panel 14 of the LCD uses a dot matrix type display panel, so that various information (for example, characters, figures, signal waveforms, etc.) can be displayed. The
さらに、装置本体2は不図示のコネクタまたは携帯電話に接続される外部通信部が設けられており、パソコンに対して接続することでパソコンの動作制御パラメータ設定部、データクリア部、データ保存部との間で各種データのやり取り及び血圧測定結果の保存をできるようにしている。 Further, the apparatus
図23は、図2の装置本体2の実体配置図であって、蓋を外して示した図である。本図において、既に説明済みの構成または部品については同様の符号を附して説明を割愛すると、この装置本体2は上下寸法が約120mm、幅寸法が約80mm、厚み寸法が27mmであり、全体の重量が180グラムである。このように、極力小型軽量にすることで常時携帯した場合であっても、日常生活に支障がないようにしている。 FIG. 23 is an entity layout diagram of the apparatus
また、上記の各制御をつかさどる電子部品は内部の空間を占める実装面積を有する基板140上に実装されている。一方、圧力ポンプ108とコンデンサータンク107と微排気弁105、急速排気弁104は一体形成される配管4に対して上記のように接続されるとともに、図示のような相互配置関係とすることで、交換自在に設けられる4本の単4電池の電源部121と併設可能にしている。このように限られた内部空間を有効活用できるように構成されている。また、繰り返し使用できる充電式の2次電池や簡単に入手できる市販の単4電池は、不図示の蓋体を開閉することで簡単に交換できる。 In addition, the electronic components that control each control described above are mounted on a
<光電容積脈波血圧計の動作>
次に、本実施形態に係る光電容積脈波血圧計としての耳式血圧計1の動作について以下に説明する。図24は耳式血圧計(光電容積脈波血圧計)1の測定処理を説明するためのフローチャートである。本図において、装置に対して電源スイッチにより電源投入すると、まず不図示の自己初期診断処理を行い装置の初期値化が行われる。その後、測定開始スイッチを押すことにより処理が開始される。<Operation of photoelectric volume pulse wave sphygmomanometer>
Next, the operation of the
ステップS101ではカフ圧Pを読み取り、ステップS102でカフ1の残圧が規定値以内か否かを判別する。残圧が規定値を超えていれば、ステップS123でLCD114に「残圧エラー」を表示する。残圧が規定値以内であればステップS103でカフの加圧値(例えば120〜210mmHgの最高血圧値より大きい値)を操作部118を使用して設定し、ステップS104で光量及びゲインを所定の値に設定する。 In step S101, the cuff pressure P is read, and in step S102, it is determined whether or not the residual pressure of the
加圧値および光量・ゲインの設定が終わると、ステップS105、S106では急排弁104及び微排弁105を閉じる。ステップS107では圧力ポンプ3を駆動開始し加圧(昇圧)を開始する。これが加圧時の計測行程の開始であり、カフ圧は一定速度(例えば2〜3mmHg/sec)で増加開始する。この間にステップS108で各機能ブロックによるデータ処理が行われ、最低血圧及び最高血圧の測定が行われる。最高血圧が測定される(S109)とステップS112で加圧ポンプ103の駆動を停止する。 When the setting of the pressurization value and the light quantity / gain is completed, the
ステップS110ではカフ圧がS103で設定した加圧値Uより高いか否かを判別する。P>Uでなければまだ正常測定範囲にあるので、引き続き測定を行う。一方、P>Uの時はもはやカフ圧が設定値よりも高いのでステップS111でLCD114に「測定エラー」を表示する。必要なら「加圧時信号異常」等の詳細情報を付記表示する。ステップS113では加圧時に得られた脈波信号の信号レベルが精度の高い血圧測定が可能であるための所定のレベルの範囲内に有るか否かを判別する。所定の範囲内であると判別された場合は、ステップS120でLCD114に測定した最高血圧値及び最低血圧値を表示し、ステップS121でブザー115にトーン信号を送る。 In step S110, it is determined whether or not the cuff pressure is higher than the pressure value U set in S103. If P> U, it is still in the normal measurement range, so measurement is continued. On the other hand, when P> U, the cuff pressure is already higher than the set value, so “measurement error” is displayed on the
ステップS113で所定の範囲内で無いと判別された場合は、ステップS114で脈波信号の信号レベルを基に光量及びゲインの調整を行う。ステップS114では、例えば次のような処理が行われる。脈波の搬送波が規格値(A/D変換器110のフルスケールの20〜40%)以下の場合はステップ光量が最大か否かをチェックし、最大でなければ光量制御部118を制御して光量を上げ、光量が最大の場合はゲインを上げる。一方、搬送波レベルが規格値以上の場合は、ゲインが最小か否かがチェックし、最小でないならばゲイン制御部119aによりフィードバック制御してゲインを下げる。最小ならば光量を下げる。 If it is determined in step S113 that it is not within the predetermined range, the light amount and gain are adjusted based on the signal level of the pulse wave signal in step S114. In step S114, for example, the following processing is performed. When the pulse wave carrier wave is below the standard value (20 to 40% of the full scale of the A / D converter 110), it is checked whether or not the step light amount is maximum. If not, the light
光量・ゲインの調整が終わると、ステップS115では微排弁105を開く。これが減圧(降圧)時の計測行程の開始であり、カフ圧は一定速度(例えば2〜3mmHg/sec)で減少開始する。この間にステップS116で各機能ブロックによるデータ処理が行われ、最高血圧及び最低血圧の測定が行われる。ステップS117では減圧時の最低血圧値の検出の有無を判別する。検出されていなければ引き続き計測を行う。ステップS118ではカフ圧が所定値L(例えば40mmHg)より低いか否かを判別する。P<Lでなければまだ正常測定範囲にあり、フローはステップS116に戻る。一方、P<Lの時はもはやカフ圧が正常測定範囲よりも低いのでステップS119でLCD114に「測定エラー」を表示する。必要なら「減圧時信号異常」等の詳細情報を付記表示する。 When the adjustment of the light quantity / gain is completed, the
また、ステップS117の判別で測定終了の時は正常測定範囲で計測行程終了したことになり、ステップS120でLCD14に測定した最高血圧値及び最低血圧値を表示し、ステップS121でブザー115にトーン信号を送る。好ましくは、正常終了後と異常終了時とでは異るトーン信号を送る。ステップS122ではカフ6の残りの空気を急速排気し、次の測定開始を待つ。 When the measurement is completed in the determination in step S117, the measurement process is completed in the normal measurement range, and the maximum blood pressure value and the minimum blood pressure value measured are displayed on the LCD 14 in step S120, and the tone signal is displayed to the
<血圧の算出動作>
図25は、カフ圧と脈波信号の相関関係を示す図である。本図において、加圧時測定(ステップS108)の開始から減圧時測定(ステップS116)の終了までの時間における波形を夫々示している。<Blood pressure calculation operation>
FIG. 25 is a diagram showing the correlation between the cuff pressure and the pulse wave signal. In this figure, the waveforms in the time from the start of measurement during pressurization (step S108) to the end of measurement during depressurization (step S116) are respectively shown.
図25のグラフに対し血圧測定は概略以下のように行われる。すなわち、加圧時測定においては、脈波信号の大きさの変化が始まった点(a)のカフ圧を最低血圧、脈波信号の消失時点(b)のカフ圧を最高血圧とする。一方、減圧時の血圧測定は加圧時の血圧測定とは逆となり、脈波信号の出現時点(c)のカフ圧を最高血圧、脈波信号の大きさの変化が無くなった点(d)のカフ圧を最低血圧とする。 The blood pressure measurement is performed on the graph of FIG. That is, in the measurement at the time of pressurization, the cuff pressure at the point (a) at which the change in the magnitude of the pulse wave signal has started is set as the minimum blood pressure, and the cuff pressure at the time point (b) when the pulse wave signal disappears is set as the maximum blood pressure. On the other hand, the blood pressure measurement at the time of decompression is opposite to the blood pressure measurement at the time of pressurization, and the cuff pressure at the present time (c) when the pulse wave signal is output is the maximum blood pressure, and the change in the magnitude of the pulse wave signal is eliminated (d). The cuff pressure is the minimum blood pressure.
なお、本実施形態では血管内の血液による反射光を検出する例を示したが、替わりに透過光を検出するものであってもよい。 In the present embodiment, an example in which reflected light from blood in a blood vessel is detected has been described. Alternatively, transmitted light may be detected instead.
以上説明したように、本実施形態の光電容積脈波血圧計により、脈波信号の信号レベルが所定の規格範囲内に収まるよう信号レベルを調整可能とし、精度の高い測定を可能とすると同時に、血圧測定時間の短縮を可能とすることにより、カフ圧による利用者への身体的負担を軽減することを可能にする光電容積脈波血圧計を提供することができる。なお、耳珠およびその周辺部は痛みに対し鈍感な部分であるため、カフ圧による痛みが軽減できるという効果もあり、さらにこの事により、血圧の連続測定に適用が容易となるという効果も生まれる。 As described above, the photoelectric volume pulse wave sphygmomanometer according to the present embodiment makes it possible to adjust the signal level so that the signal level of the pulse wave signal is within a predetermined standard range, and at the same time enables highly accurate measurement, By making it possible to shorten the blood pressure measurement time, it is possible to provide a photoelectric volumetric pulse wave sphygmomanometer that can reduce the physical burden on the user due to the cuff pressure. In addition, since the tragus and its peripheral part are insensitive to pain, there is also an effect that pain due to cuff pressure can be reduced, and this also has an effect that it can be easily applied to continuous measurement of blood pressure. .
なお、上述の血圧測定装置は発光素子20及び受光素子21を用いて脈波を検出しているが、耳珠へ圧力を圧迫するカフを備え、生体表面の血管による脈動を当該カフで圧力変化として捉えることによっても脈波を検出することができる。即ち、圧力を印加したカフで生体から得られる脈動をカフ内の圧力の変化に変換し、圧力検知装置でカフ内の圧力変化を検知するものである。このような構成によっても生体の脈波を検出することができる。また、生体に接するカフ部分に小型マイクロフォンを設置し、生体の一部をカフにて圧迫するときに発生するコロトコフ音を検出し、所定レベル以上のコロトコフ音の発生あるいは消滅に基づいて血圧を測定するようにしても良い。 The blood pressure measurement device described above detects a pulse wave using the
1 耳式血圧計
2 装置本体
3 装着部
4 配管
5 配線(信号・電源線)
6 カフ組立体
9 被覆部材
11 突出長調節ネジ
12 分岐管
15 保持部材
17 スペーサー
20 発光素子(LED)
21 受光素子(フォトトランジスタ)
22 カフ袋体
24 オーリング
25 当接面
26 フランジ部
27 ベローズ部
28 開口部
38 嵌合部材
42 シール剤
44 内壁面
45 遮光層
46 開口部
50 ブラッシングブッシュ
51 耳掛け部
52 形状部
53 内部配管
54 耳甲介腔挿入部
55 突起部DESCRIPTION OF
6 Cuff assembly 9
21 Light receiving element (phototransistor)
22 Cuff bag body 24 O-
| Application Number | Priority Date | Filing Date | Title |
|---|---|---|---|
| JP2005200698AJP2007014628A (en) | 2005-07-08 | 2005-07-08 | Blood pressure measurement device |
| Application Number | Priority Date | Filing Date | Title |
|---|---|---|---|
| JP2005200698AJP2007014628A (en) | 2005-07-08 | 2005-07-08 | Blood pressure measurement device |
| Publication Number | Publication Date |
|---|---|
| JP2007014628Atrue JP2007014628A (en) | 2007-01-25 |
| Application Number | Title | Priority Date | Filing Date |
|---|---|---|---|
| JP2005200698APendingJP2007014628A (en) | 2005-07-08 | 2005-07-08 | Blood pressure measurement device |
| Country | Link |
|---|---|
| JP (1) | JP2007014628A (en) |
| Publication number | Priority date | Publication date | Assignee | Title |
|---|---|---|---|---|
| JPS58198329A (en)* | 1982-05-15 | 1983-11-18 | 松下電工株式会社 | Pulsemeter |
| JPH0232802U (en)* | 1988-08-25 | 1990-03-01 | ||
| JPH02245000A (en)* | 1989-03-17 | 1990-09-28 | Kyushu Hitachi Maxell Ltd | earphone |
| JPH07275226A (en)* | 1994-04-11 | 1995-10-24 | Nippon Koden Corp | Blood optical attenuation measurement method and optical sensor |
| JPH09253062A (en)* | 1996-03-22 | 1997-09-30 | Ikyo Kk | Earphone type pulse sensor |
| JPH10108846A (en)* | 1996-10-03 | 1998-04-28 | Nippon Koden Corp | Holder for organic signal detector |
| JP2002238865A (en)* | 2001-02-20 | 2002-08-27 | Mitsubishi Electric Corp | Earlobe-mounted pulse wave measuring device |
| WO2005034742A1 (en)* | 2003-10-09 | 2005-04-21 | Nippon Telegraph And Telephone Corporation | Organism information detection device and sphygmomanometer |
| Publication number | Priority date | Publication date | Assignee | Title |
|---|---|---|---|---|
| JPS58198329A (en)* | 1982-05-15 | 1983-11-18 | 松下電工株式会社 | Pulsemeter |
| JPH0232802U (en)* | 1988-08-25 | 1990-03-01 | ||
| JPH02245000A (en)* | 1989-03-17 | 1990-09-28 | Kyushu Hitachi Maxell Ltd | earphone |
| JPH07275226A (en)* | 1994-04-11 | 1995-10-24 | Nippon Koden Corp | Blood optical attenuation measurement method and optical sensor |
| JPH09253062A (en)* | 1996-03-22 | 1997-09-30 | Ikyo Kk | Earphone type pulse sensor |
| JPH10108846A (en)* | 1996-10-03 | 1998-04-28 | Nippon Koden Corp | Holder for organic signal detector |
| JP2002238865A (en)* | 2001-02-20 | 2002-08-27 | Mitsubishi Electric Corp | Earlobe-mounted pulse wave measuring device |
| WO2005034742A1 (en)* | 2003-10-09 | 2005-04-21 | Nippon Telegraph And Telephone Corporation | Organism information detection device and sphygmomanometer |
| Publication | Publication Date | Title |
|---|---|---|
| US7695440B2 (en) | Blood pressure measuring apparatus | |
| CN101277643A (en) | Cuffs for measuring blood pressure and blood pressure measurement apparatus | |
| JP2008043515A (en) | Blood pressure measuring apparatus, cuff device and control method of blood pressure measuring apparatus | |
| JP4559281B2 (en) | Blood pressure measuring device | |
| JP4773131B2 (en) | Blood pressure measurement device | |
| JP5000868B2 (en) | Blood pressure measurement device | |
| JP2007061186A (en) | Blood pressure measurement device | |
| JP2007014629A (en) | Blood pressure measurement device | |
| JP2007014626A (en) | Blood pressure measurement device | |
| JP2007061185A (en) | Blood pressure measurement device | |
| JP4828852B2 (en) | Blood pressure measurement device | |
| JP2007014628A (en) | Blood pressure measurement device | |
| JP4559280B2 (en) | Blood pressure measuring device | |
| JP2007014627A (en) | Blood pressure measurement device | |
| JP2007014630A (en) | Blood pressure measurement device | |
| JP2007061187A (en) | Blood pressure measurement device | |
| JP5005890B2 (en) | Blood pressure measurement device | |
| JP4828853B2 (en) | Blood pressure measurement device | |
| JP5021179B2 (en) | Blood pressure measurement device | |
| JP4773129B2 (en) | Blood pressure measurement device | |
| JP4773178B2 (en) | Blood pressure measurement cuff and blood pressure measurement device | |
| JP2008043513A (en) | Blood pressure measuring apparatus, cuff device and control method of blood pressure measuring apparatus | |
| JP4773130B2 (en) | Blood pressure measurement device | |
| JP2006288639A (en) | Blood pressure measurement device | |
| JP4837972B2 (en) | Blood pressure measurement device |
| Date | Code | Title | Description |
|---|---|---|---|
| A621 | Written request for application examination | Free format text:JAPANESE INTERMEDIATE CODE: A621 Effective date:20080303 | |
| A977 | Report on retrieval | Free format text:JAPANESE INTERMEDIATE CODE: A971007 Effective date:20110120 | |
| A131 | Notification of reasons for refusal | Free format text:JAPANESE INTERMEDIATE CODE: A131 Effective date:20110131 | |
| A02 | Decision of refusal | Free format text:JAPANESE INTERMEDIATE CODE: A02 Effective date:20110704 |