






























本発明は、サウンドを発生させるのための装置および方法に関するものであり、新規性のあるスピーカ・アセンブリと、このスピーカ・アセンブリを駆動するための新規性のある電子回路と、を含む。本発明は特に、記録されたサウンドまたは放送配信されたサウンドの再生、ならびに電子音響機器(特に、ディジタル式ピアノ)からのサウンドの発生に適用可能である。 The present invention relates to an apparatus and method for generating sound, and includes a novel speaker assembly and a novel electronic circuit for driving the speaker assembly. The present invention is particularly applicable to the reproduction of recorded sounds or broadcasted sounds, as well as the generation of sounds from electronic audio equipment (particularly digital pianos).
ここ数10年にわたり、サウンドを電気的に発生および再生させることが常に研究開発の対象となってきた。こうした研究の一態様は、スピーカの動作性能に関係してスピーカが発生させるサウンドの忠実度および品質の向上を目的としており、たとえばスピーカの可動素子がこれを駆動させる電気信号の変動に忠実に従うようなスピーカの生産を目的としている。研究開発の別の態様は、サウンドを示す電気信号をエンコード、記録、放送配信およびデコードするための技法に関係して、デコードされた信号によって駆動されたスピーカで再生させる際にサウンドの臨場感(realism)を向上させることを目的としている。 Over the last few decades, the generation and reproduction of sound has always been the subject of research and development. One aspect of such research is aimed at improving the fidelity and quality of the sound produced by the speaker in relation to the operating performance of the speaker, for example, so that the movable element of the speaker faithfully follows the variation of the electrical signal that drives it. The purpose is to produce a loud speaker. Another aspect of research and development is related to techniques for encoding, recording, broadcasting, and decoding electrical signals that represent sound, and the realism of the sound when played on a speaker driven by the decoded signal ( The aim is to improve the realism.
忠実度およびスピーカ設計
  スピーカの改良に関する調査結果から、それぞれ異なる原理に基づいて動作する多くの数の異なるタイプのスピーカが目下のところ入手可能である。Fidelity and speaker design From the results of research on speaker improvements, many numbers of different types of speakers, each operating on different principles, are currently available.
たとえば、比較的剛性の材料からなる応従性(compliantly)に装着したコーンが可動コイルや可動磁石によって電磁的に駆動されている従来式コーン・スピーカがある。このタイプのスピーカは、おそらく最も広い支持を得ているものであり、その各々がそれ自体に特異的な設計要件を有するような多種多様なさまざまな用途で使用されている。こうした用途の例は、音楽、スピーチまたは視聴覚素材を再生するためのホーム・エンターテイメント・システム、公衆用拡声システム、コンピュータのオーディオ出力、映画館および劇場のサウンド・システム、車両内エンターテイメント、公衆用拡声システム、ならびにディジタル式ピアノなどの電気または電子的音響機器におけるものである。 For example, there is a conventional cone speaker in which a cone mounted on a relatively rigid material is electromagnetically driven by a moving coil or a moving magnet. This type of speaker is probably the most widely supported, and is used in a wide variety of different applications, each with its own specific design requirements. Examples of such applications are home entertainment systems for reproducing music, speech or audiovisual material, public sound systems, computer audio output, cinema and theater sound systems, in-car entertainment, public sound systems. , As well as in electrical or electronic acoustic equipment such as digital pianos.
可聴周波数の全レンジ(具体的には、50Hz以下から約20kHzまで)にわたって良好な忠実度のサウンドを発生させることができるような無コーンのスピーカは未だ考案されていない。したがって、良質のサウンド(たとえば、忠実性のよい音楽再生の場合)は、コーン・スピーカを用いて、その各々がある特定の周波数バンド向けに設計されている2つ以上のユニットを組み合わせて利用する際にのみこれを達成することができる。これらのユニットに対する駆動用信号はこれに応じて、駆動用信号の異なる周波数バンドを適当なコーン・スピーカに導いているクロスオーバー回路と呼ぶ回路を通過させている。多くの高品質のスピーカ・システムは典型的には少なくとも3つのコーン・スピーカを利用しており、その1つは高周波数用のツイータと呼ぶスピーカであり、別の1つはミッドレンジ用のスピーカであり、また3つ目は低周波数用のウーファまたはサブウーファと呼ぶスピーカである。最近のコーン・スピーカ・システムは、人間に聞こえる周波数レンジの実質的に全体にわたって比較的高い忠実度で比較的平坦な周波数応答をもってサウンドを再生することができ、これまでのところ音楽の再生に最も広範に使用されているタイプのスピーカとなっている。 No cone-free speaker has yet been devised that can produce good fidelity sound over the entire range of audible frequencies (specifically, from below 50 Hz to about 20 kHz). Thus, good quality sound (eg, for high fidelity music playback) uses a cone speaker in combination with two or more units, each designed for a particular frequency band. Only when this can be achieved. The drive signals for these units are accordingly passed through a circuit called a crossover circuit that leads different frequency bands of the drive signal to the appropriate cone speaker. Many high quality speaker systems typically utilize at least three cone speakers, one of which is called a high frequency tweeter and the other is a mid range speaker. The third is a speaker called a low-frequency woofer or subwoofer. Modern cone-speaker systems can play sound with a relatively flat frequency response with relatively high fidelity over virtually the entire frequency range that is audible to humans, and so far the best for music playback. It is a type of speaker that is widely used.
使用されている別のタイプのスピーカは、軽量の引き延ばしたプラスチック膜を、この膜がその間に位置するようにした1対の電極によって駆動用信号から生成させた静電気場を交替させることにより振動させているような静電式スピーカである。この膜は特に軽量であり、このため有する機械的慣性が小さいために、高周波数であってもこの膜の動きによって加えられた信号を比較的高い忠実度で再生することができる。静電式スピーカの特徴の具体的な1つは、別の形態のスピーカと比較してその発生させるサウンドの明瞭度が高いことである。しかし、目下のところ市場で入手可能な静電式スピーカは音楽において出される最も低い周波数を発生させることができない。このことや、静電式スピーカが発生させる音圧レベルがコーン・スピーカが発生できる音圧レベルと比べてより低いことがあるものの、多くの者は静電式スピーカは動作可能な周波数レンジにわたって特に高い忠実度を提供できると考えている。 Another type of loudspeaker used is to vibrate a lightweight stretched plastic membrane by alternating the electrostatic field generated from the drive signal by a pair of electrodes with the membrane positioned between them. It is an electrostatic speaker. This film is particularly lightweight and therefore has a low mechanical inertia, so that signals applied by the movement of this film can be reproduced with relatively high fidelity even at high frequencies. One specific feature of the electrostatic speaker is that the clarity of the generated sound is higher than that of another type of speaker. However, currently available electrostatic loudspeakers cannot generate the lowest frequencies that can be produced in music. While this and the sound pressure level generated by electrostatic speakers may be lower than the sound pressure level that can be generated by cone speakers, many people find that electrostatic speakers are particularly useful over the operable frequency range. We believe we can provide high fidelity.
上述のコーン・スピーカおよび静電式スピーカは、コーンまたは膜のピストン式運動によってサウンドを発生させている。 The cone and electrostatic speakers described above generate sound by the piston-type motion of the cone or membrane.
  近年になって、ピストン式運動に依存しない第3のタイプのスピーカが使用に供せられている。このスピーカは分散モード・スピーカと呼ばれている。これについては、たとえば以下に示すような多くの発表物に記載されている。
    (a)PCT出願WO第97/09842号
    (b)米国特許第6399870号
    (c)Hachette  Filipacchi  Magazines  Inc.が刊行する雑誌「Audio」の1998年9月号に掲載されたHenry  Azimaによる「NXT  Up  Against  the  Wall」と題する記事
    (d)第103回Audio  Engineering  Society  Convention(1997年9月26〜29日、New  York)で発表されたNeil  HarrisおよびMalcolm  Omar  Hawksfordによる「The  Distributed  Mode  Loudspeaker  (DML)as  a  Broad−Band  Acoustic  Radiator」と題する論文
    (e)第103回Audio  Engineering  Society  Convention(1997年9月26〜29日、New  York)で発表されたHenry  AzimaおよびNeil  Harrisによる「Boundary  Interaction  of  Diffuse  Field  Distributed  Mode  Radiators」と題する論文
    (f)第104回Audio  Engineering  Society  Convention(1998年5月16〜19日、Amsterdam)で発表されたJoerg  W.PanzerおよびNeil  Harrisによる「Distributed  Mode  Loudspeaker  Simulation  Model」と題する論文
    (g)第105回Audio  Engineering  Society  Convention(1998年9月26〜29日、San  Francisco、California)で発表されたJoerg  PanzerおよびNeil  Harrisによる「Distributed  Mode  Loudspeaker  Radiation  Simulation」と題する論文In recent years, a third type of speaker that does not rely on piston-type motion has been put into use. This speaker is called a distributed mode speaker. This is described in many publications as shown below, for example.
 (A) PCT application WO 97/09842 (b) U.S. Pat. No. 6,399,870 (c) Hachette Filpacchi Magazines Inc. Article titled “NXT Up Against the Wall” by Henry Azima published in the September 1998 issue of the magazine “Audio” published by (d) The 103rd Audio Engineering Society Convention (September 26-29, 1997) A paper titled “The Distributed Mode Loudspeaker (DML) as a Broadcast-Band Acoustic Radiator in the 19th Annual of the 19th Annual of the 9th Annual (e) in the 9th Annual of Evidence” Henry Azi announced at New York on the 29th According to the a and Neil Harris "Boundary Interaction of Diffuse Field Distributed Mode Radiators entitled" paper (f) the 104th Audio Engineering Society Convention (5 May 16-19, 1998, Amsterdam) Joerg W. published in the Paper titled “Distributed Mode Loudpeaker Simulation Model” by Panzer and Neil Harris (g) The 105th Audio Engineering Society Conference (January 26-29, 1998, San France) A paper entitled "Distributed Mode Loudpeaker Radiation Simulation"
これらの公表物の内容は、参照により本明細書に組み込むものとする。こうした分散モード・スピーカの構造および動作は、公表された別の多くの論文にも記載されており、このうちの幾つかは上に掲げた記事や論文において参照されている。 The contents of these publications are incorporated herein by reference. The structure and operation of such distributed mode loudspeakers are also described in many other published papers, some of which are referenced in the articles and papers listed above.
上述の公表物に記載されていることであるが、分散モード・スピーカは、1つのパネルと、該パネルに取り付けられておりかつ電気音響信号による起動を受けたときに該パネルに対して該パネルの表面全体(または、該表面の必要な部分)にわたって複雑なパターンで分散される共振性屈曲波を発生させている1つまたは複数のトランスジューサと、を備えている。トランスジューサによってパネルをこうした分散共振モードにするように励振させるには、そのパネルがこれらの共振モードになるように励振させ得るように製作されていること、ならびにその1つまたは複数のトランスジューサがパネルに必要とされる共振モードが生成されるようにそのパネルの特性を考慮に入れて慎重に位置決めされることが必要である。分散モード・スピーカに関する当業者であれば、こうしたスピーカを、多様なサイズでかつトランスジューサの多様な異なる材料および異なる形態を使用して設計することが可能である。 As described in the publication above, a distributed mode speaker has one panel and the panel attached to the panel and subjected to activation by an electroacoustic signal relative to the panel. One or more transducers generating resonant bending waves that are distributed in a complex pattern over the entire surface (or a required portion of the surface). In order for a transducer to excite a panel into these distributed resonant modes, the panel must be constructed to be excited to be in these resonant modes, and the one or more transducers in the panel. It needs to be carefully positioned taking into account the properties of the panel so that the required resonant mode is generated. Those skilled in the art of distributed mode loudspeakers can design such loudspeakers in a variety of sizes and using a variety of different materials and different forms of transducers.
パネルを振動させる方式やその周波数応答は、パネルの幅、高さ、厚さ、材料、材料の密度、ポアッソン比、曲げ剛性、減衰率、せん断比、せん断係数、トランスジューサの性質および配置、ならびに利用するトランスジューサの数を含む多数の異なるパラメータに依存するため、分散モード・スピーカの適正な設計は複雑な操作となる。実際に、この周波数応答は数式から計算することが必要である(これに関しては、分散モード・スピーカに関連する上で示した公表物を参照されたい)。これらの計算を実行し、これにより分散モード・スピーカの適正な設計を容易にするためのコンピュータ・プログラムは、New Transducers Limited(Signet House、Kingfisher Way、Hinchingbrook Business Park、Huntingdon;郵便番号PE29 6FW)から市場入手可能である。このコンピュータ・プログラムによれば、設計者は提唱されたスピーカに関するさまざまな関連パラメータを入力または選択することが可能となり、このコンピュータ・プログラムは提唱されたスピーカについて得られる周波数応答および振動特性を計算し設計者に対して適当な設計決定を可能にしている。 The method of vibrating the panel and its frequency response are as follows: panel width, height, thickness, material, material density, Poisson's ratio, bending stiffness, damping factor, shear ratio, shear modulus, transducer properties and placement Proper design of a distributed mode speaker is a complex operation because it depends on a number of different parameters including the number of transducers to perform. In practice, this frequency response needs to be calculated from a mathematical formula (for this, see the publications given above relating to distributed mode speakers). A computer program for performing these calculations and thereby facilitating the proper design of distributed mode speakers is New Transducers Limited (Signet House, Kingfisher Way, Hinchingbrook Business Park, Huntingdon; ZIP Code PE29 6F). Available on the market. This computer program allows the designer to enter or select various related parameters for the proposed speaker, which calculates the frequency response and vibration characteristics obtained for the proposed speaker. It allows designers to make appropriate design decisions.
上述のコンピュータ・プログラム以外にも、分散モード・スピーカは、たとえば、Amina Technologies Ltd(Cirrus House、Glebe Road、Huntingdon、Cambridgeshire PE29 7DX、England);Tannoy Limited(Coatbridge ML5 4TF、Scotland);Mission(UK)Ltd(Stonehill、Huntingdon、Cambridgeshire PE29 6EY、England);あるいはArmstrong World Industries(2500 Columbia Avenue、Lancaster、PA 17603、USA)など多くの異なる供給元から市場入手可能である。 In addition to the computer programs described above, distributed mode speakers may be, for example, Amina Technologies Ltd (Cirrus House, Glebe Road, Huntingdon, Cambridgeshire PE29 7DX, England); Ltd. (Stonehill, Huntingdon, Cambridgeshire PE29 6EY, England); or Armstrong World Industries (available from different sources such as 2500 Columbia Avenue, Lancaster, PA 17603, USA)
分散モード・スピーカの別の形態のスピーカを組み合わせた配備に関してはさまざまな提案がなされてきた。たとえば、目下のところ入手可能な分散モード・スピーカは約100Hz未満の周波数を忠実に再生することができないため、これらを分散モード・スピーカとは別のサブウーファと共に使用し、これら2つのスピーカを適当なフィルタ処理(クロスオーバー)回路を介して駆動することが提唱されている。さらに、ツイータとして使用される分散モード・スピーカ、ウーファの役割をする1つまたは複数の従来式コーン・スピーカおよび/またはミッドレンジ・スピーカ、ならびに従来式クロスオーバー回路を組み合わせて共通のケーシング内に設け、この分散モード・スピーカはツイータに適したバンドにある周波数によって排他的に駆動させており、かつこの1つまたは複数のコーン・スピーカはウーファおよびミッドレンジ・スピーカに適したバンドにある周波数によって排他的に駆動させているようなスピーカ・アセンブリが市場入手可能となっている。 Various proposals have been made for deployments combining different forms of distributed mode speakers. For example, currently available distributed mode speakers cannot faithfully reproduce frequencies below about 100 Hz, so they are used with a subwoofer separate from the distributed mode speakers and these two speakers are used appropriately. Driving through a filter processing (crossover) circuit has been proposed. In addition, a distributed mode speaker used as a tweeter, one or more conventional cone and / or mid-range speakers acting as a woofer, and a conventional crossover circuit are combined in a common casing. The distributed mode speaker is driven exclusively by frequencies in the band suitable for the tweeter, and the one or more cone speakers are exclusively driven by frequencies in the band suitable for woofer and mid-range speakers. There are commercially available loudspeaker assemblies that are actuated.
分散モード・スピーカを利用する全周波数レンジのスピーカ・システムに関する別の提案は、米国特許第6351542号(Azimaら)に記載されている。この特許では、分散モード・スピーカが、パイプを介して低周波数スピーカ(ウーファ)を包含した筐体に接続されている閉じたチェンバの1つの壁を形成しており、これによりウーファを包含した筐体内に発生させた空気圧の変動がパイプを介して閉じたチェンバに伝達される。この分散モード・スピーカは、その辺縁の位置において応従性材料によって支持することによって閉じたチェンバ内における空気圧変動に応答してピストン式に動くことができ、このためウーファと同調したピストン式の振動によって低周波数サウンドを効率よく発生させることができる。 Another proposal for a full frequency range speaker system utilizing distributed mode speakers is described in US Pat. No. 6,351,542 (Azima et al.). In this patent, a distributed mode speaker forms one wall of a closed chamber connected via a pipe to a housing containing a low frequency speaker (woofer), thereby enclosing the housing containing the woofer. The fluctuation of the air pressure generated in the body is transmitted to the closed chamber through the pipe. The distributed mode loudspeaker can move in a piston-like manner in response to air pressure fluctuations in a closed chamber by being supported by a compliant material at its marginal position, so that a piston-like vibration synchronized with the woofer. Can efficiently generate low-frequency sound.
すでに上で言及した公表済みのPCT出願WO第97/09842号は、これ自身で分散モード・スピーカに関する数多くの潜在的な応用および配置について開示している。このPCT出願に開示されている配置の1つは、そのサウンドをある特定の方向に収束させるために分散モード・スピーカ内における湾曲したパネルの利用を提唱している。別の配置(PCT出願の図65)は、従来式スピーカのケーシングの少なくとも1つの壁を、共振モード振動が可能であるが電磁式トランスジューサを介するのではなく、ウーファ、ミッドレンジおよびツイータを含む従来式コーン・スピーカを駆動させたときにスピーカ筐体内部に生じた空気圧変動によって誘導される共振によって振動させているような受動式パネルとして形成させることを提唱している。この配置は望ましい特性の達成を可能にすると言われている。 The published PCT application WO 97/09842, already referred to above, by itself discloses a number of potential applications and arrangements for distributed mode speakers. One of the arrangements disclosed in this PCT application proposes the use of a curved panel within a distributed mode speaker to converge the sound in a particular direction. Another arrangement (FIG. 65 of the PCT application) is that a conventional speaker casing includes at least one wall that is capable of resonant mode vibration but not via an electromagnetic transducer, including a woofer, midrange and tweeter. It is proposed to form a passive panel that is vibrated by resonance induced by fluctuations in air pressure generated inside the speaker housing when the type cone speaker is driven. This arrangement is said to allow the desired properties to be achieved.
分散モード・スピーカの重要な利点の1つは、これらは比較的平坦な側面形状で製作することが可能であり、これによりこれらをコーン・スピーカでは不都合であったり視覚的に邪魔となるような状況で使用することが可能となることである。しかし、分散モード・スピーカは高忠実度の音楽再生の分野では未だに広範な利用を達成できていない、その理由はおそらく、このスピーカが人間に聞こえる周波数レンジの大部分にわたるサウンドを発生することはできるが、その周波数応答が未だ適当に設計されたコーン・スピーカで達成可能な応答ほど平坦でないためである。 One of the important advantages of distributed mode speakers is that they can be made with relatively flat side shapes, which makes them inconvenient or visually disturbing for cone speakers. It is possible to use it in the situation. However, distributed mode speakers have not yet achieved widespread use in the field of high fidelity music playback, perhaps because they can produce sound over most of the frequency range that humans can hear. This is because the frequency response is still not as flat as can be achieved with a properly designed cone speaker.
臨場感およびサウンド・エンコード技法
  再生されるサウンドの臨場感を改良させる研究によって、記録または放送配信が、別々のチャンネルで提供される場合に、聴き手の前方で聴き手の左寄りおよび右寄りに位置決めされたスピーカを駆動するために異なる信号を含むようなステレオ音響式システムの開発が得られている。これらのシステムは、1950代および1960代に市場で広く利用されるようになり、引き続いて利用されている。これによれば、聴き手に対して、自分の前方の異なる箇所でサウンドが発生しており、かつサウンド「ステージ」を横切るようにサウンドが移動しているような印象を生成させることができる。これによればさらに、たとえば交響楽団やピアノなどの音響機器が発生させるような空間広大性(spaciousness)およびフルサウンドの印象を提供することができ、単一の信号チャンネルを使用してサウンドを再生することにより得られるものよりも優れている。Realism and sound encoding techniques Research that improves the realism of the sound being played back positions the recording to the left and right of the listener in front of the listener when recording or broadcast distribution is provided on separate channels. Developments have been made in stereo acoustic systems that include different signals for driving loudspeakers. These systems became widely available on the market in the 1950s and 1960s and continue to be used. According to this, it is possible to generate an impression that the sound is generated at a different location in front of the listener and the sound is moving across the sound “stage”. This can also provide a spatialness and full sound impression, such as those produced by acoustic equipment such as symphony orchestra, and play sound using a single signal channel. It is better than what you get by doing.
空間広大性の印象をさらに改善させ、かつ聴き手が位置している3次元空間を通過して見掛け上音源が移動するなどの特殊効果の可能性を提供するために、1960代には4チャンネル・システム(クアドラフォニック・システム(quadraphonic system)と呼ぶ)が開発された。この時点において記録のうちの幾つかや放送配信のうちの幾つかは製作されていたが、クアドラフォニック・システムは当時は広範に使用されるに至っていなかった。このシステムに関する問題点の1つは、異なる信号が異なるチャンネルでエンコードを受ける特殊な記録および放送配信技法を必要とし、かつ4つのスピーカを本質的には聴取室の4隅に位置決めして、聴き手をこの4つのスピーカの間の空間の中央の領域に位置させることを必要とすることにある。これらのシステムは当時は広範に使用されるに至っていなかったが、空間広大性の印象(すなわち、聴き手が自分が実際に聞いている部屋と比べて実質的により大きな室内でサウンドを聞いているという印象)、ならびに「エンベロープ性(envelopment)」(すなわち、聴き手に自分がサウンドに包まれているような感覚を生じさせること)の両方に関して、ステレオ音響式システムと比べてある種の改良を得ることができていた。これらの印象は一体となって聴き手に対して、その音響特性が壁からのサウンドに関する適当な反射レベルおよび適当な残響時間を提供するためなどであるようなコンサートホールで音楽を聞いている際に得られると思われる体験に極めて類似した心理音響学的体験を提供している。 To further improve the impression of space, and to provide the possibility of special effects such as apparently moving the sound source through the 3D space where the listener is located, there are 4 channels in the 1960s A system (referred to as a quadraphonic system) has been developed. At this point, some of the records and some of the broadcast distributions were produced, but the quadraphonic system was not widely used at that time. One of the problems with this system is that it requires special recording and broadcast distribution techniques where different signals are encoded on different channels, and the four speakers are positioned essentially in the four corners of the listening room. The need to position the hand in the central region of the space between the four speakers. Although these systems were not widely used at the time, the impression of spaciousness (ie, the listener listening to the sound in a substantially larger room compared to the room in which the listener actually listens) As well as “envelopment” (ie, creating a sense of feeling that the listener is surrounded by sound), some kind of improvement over stereophonic systems Could have obtained. These impressions come together when listening to music in a concert hall where the acoustic properties are to provide the appropriate reflection level and appropriate reverberation time for the sound from the walls. Provides a psychoacoustic experience that is very similar to the experience expected to be obtained.
近年では、特に映画館やいわゆる「ホームシネマ」エンターテイメント・システムにおいて、いわゆる「サラウンドサウンド(surround sound)」システムが使用されるようになっている。サラウンドサウンド・システムの主目的の1つは、サラウンドサウンド・システムおよび聴き手を包含した空間を通過する車両による音のシミュレーションなどの特殊音響効果を発生させることである。典型的には、サラウンドサウンド・システムは、聴き手の前方の左および右スピーカ、聴き手の側面にある左および右スピーカ、ならびに前方中央スピーカをそれぞれ駆動するために5つのチャンネルを備えている。このシステムでは、別々の各スピーカがその専用信号によって個々に駆動できるように、信号の記録または放送配信に関するエンコードの際に、その再生させようとする信号が5つの異なるチャンネルの各々において個別にエンコードを受けている必要がある。適当な信号エンコードによれば、サラウンド・システムはステレオ音響式システムと比較したサウンドの空間広大性およびエンベロープ性の改良を提供することができる。 In recent years, so-called “surround sound” systems have come into use, particularly in cinemas and so-called “home cinema” entertainment systems. One of the main purposes of a surround sound system is to generate special sound effects such as simulation of sound by a vehicle passing through a space that encompasses the surround sound system and the listener. Typically, a surround sound system has five channels to drive the left and right speakers in front of the listener, the left and right speakers on the side of the listener, and the front center speaker, respectively. In this system, when encoding for signal recording or broadcast distribution, the signals to be reproduced are individually encoded in each of five different channels so that each separate speaker can be individually driven by its dedicated signal. It is necessary to have received. With proper signal encoding, a surround system can provide improved spatial and envelope characteristics of the sound compared to a stereo acoustic system.
発明
  検討したような過去数10年にわたって達成されたスピーカ設計および信号エンコードに関する広範な改良にもかかわらず、妥当なコストで電気信号から強調させたサウンドを発生させることができるシステム、特にサウンドの空間広大性が改良されたシステムに対する要求が存在している。The system, particularly the sound space, that can generate enhanced sound from an electrical signal at a reasonable cost, despite the extensive improvements in speaker design and signal encoding achieved over the past decades as discussed There is a need for a system with improved breadth.
一態様では、本発明は、スピーカが動作する周波数レンジが人間に聞こえる周波数レンジの少なくとも一部分で重複するような少なくとも1つのピストン式スピーカと少なくとも1つの分散モード・スピーカとを同時に駆動することによって、空間広大性および/またはエンベロープ性に関する改良を達成している。この周波数レンジの重複部分は比較的低い周波数を少なくとも含むことが好ましい。 In one aspect, the invention provides for simultaneously driving at least one piston-type speaker and at least one distributed mode speaker such that the frequency range in which the speaker operates overlaps at least a portion of the frequency range that is audible to humans. Improvements in space expansibility and / or envelope are achieved. This overlapping portion of the frequency range preferably includes at least a relatively low frequency.
意外にも、この方式でサウンドを再生することによって、単一のチャンネル(モノ)システムにおいても空間広大性および/またはエンベロープ性の強調を達成することができることが分かった。したがって、本発明は単一のチャンネル、ステレオ音響式およびマルチチャンネルのサウンド再生システムに適用可能である。 Surprisingly, it has been found that by playing sound in this manner, spatial and / or envelope enhancement can be achieved even in a single channel (mono) system. Thus, the present invention is applicable to single channel, stereophonic and multi-channel sound reproduction systems.
空間広大性の強調、またさらにはエンベロープ性の強調やそのサウンドの暖かさ(warmth)について、実施してその結果を添付の図面のうちの図1〜7に示した比較実験に言及することによって以下でさらに検討することにする。本発明の実用的な実施形態については、添付の図面のうちの図8〜31を参照しながら記載することにする。 By carrying out the emphasis on space expansibility, or even on the envelope and the warmth of its sound, and referring to the comparative experiments shown in FIGS. 1-7 of the accompanying drawings. We will consider further below. Practical embodiments of the present invention will be described with reference to FIGS. 8 to 31 of the accompanying drawings.
実験
実験に対する全般的な緒言
  本発明により分散モード・スピーカとピストン式スピーカを組み合わせることによって達成される空間広大性の印象の驚異的な増大を調べるために、多くの異なる環境において、またこの異なる環境で異なるスピーカおよび別の装置を利用して多くの実験を実施した。General Introduction to Experimental Experiments In order to investigate the tremendous increase in the impression of spatial spaciousness achieved by combining distributed mode and piston type speakers according to the present invention, in many different environments and in this different environment Many experiments were conducted using different speakers and different devices.
これらの実験のすべてについて、最上品質のスタジオモニタ用コーン・スピーカ・システムおよび最上品質の分散モード・スピーカの使用が不可欠であった。各実験には、専門家の聴き手に対して実施された主観的聴取テストが含まれるが、実験が異なればその対象の聴き手も異なっている。 For all of these experiments, it was essential to use a top quality studio monitor cone speaker system and a top quality distributed mode speaker. Each experiment includes a subjective listening test performed on an expert listener, but different experiments have different target listeners.
ある実験(以下で詳細に記載しようとする第1の実験)は、自宅のリビングルームにあるような音響的に典型的な聴取条件を模すように設計された専門的な聴取室に配置させたステレオ音響式システムを利用している。この聴取室は、ランダムに分散させた壁の周りの反射性および非反射性の表面と、床面のカーペットと、吸収性が高い幾つかの家具と、を備える広いリビングルームとサイズについて概ね同等である。この音響特性は、軟らかな調度品やカーテンを含んだリビングルーム内と同様に比較的「デッド(dead)」とした。 One experiment (the first experiment to be described in detail below) is placed in a specialized listening room designed to mimic acoustically typical listening conditions, such as in a living room at home. A stereo acoustic system is used. This listening room is roughly the same size as a large living room with reflective and non-reflective surfaces around randomly distributed walls, floor carpets and some highly absorbent furniture. It is. This acoustic characteristic is relatively “dead” as in the living room including soft furniture and curtains.
第2の実験は、上の初めに言及した実験で使用した室に対してサイズが半分であり、かつ10,000Hzを超える周波数を吸収するような異なる専門の聴取室内にあるモノ装置を使用して実施した。第1の聴取室と同様に、その音響特性は比較的「デッド」とした。モノ装置を使用した。 The second experiment uses a mono device that is half the size of the room used in the first mentioned experiment above and is in a different specialized listening room that absorbs frequencies above 10,000 Hz. Carried out. Similar to the first listening room, the acoustic characteristics were relatively “dead”. A mono device was used.
モノ装置はさらに記載する第3の実験にも使用した。スピーカは幅がそれぞれ約2メートルでありかつ互いに直角に延びる2つのコリドー(corridor)の交点の位置で特に不都合な音響特性に位置決めした。聴取テストは、対象をこのコリドーのうちの一方内でスピーカから約3メートルの位置とし、聴き手を位置させたコリドーに対してスピーカを対面させた向きとして実施した。 The mono apparatus was also used in the third experiment described further. The loudspeakers were positioned with particularly unfavorable acoustic properties at the point of intersection of two corridors, each about 2 meters wide and extending perpendicular to each other. The listening test was conducted with the subject in one of the corridors approximately 3 meters from the speaker, with the speaker facing the corridor where the listener was positioned.
すべての実験に関して、その主観的聴取テストによって、分散モード・スピーカおよびコーン・スピーカを同時に駆動した際の空間広大性はコーン・スピーカを単独で駆動させた場合や、分散モード・スピーカを単独で駆動させた場合と比較して知覚可能な改良が見られた。空間広大性の知覚可能な増大が単に主観的なものであるのか否か、すなわちそれが科学的基礎を有しているか否かを判断するために、第1および第2の実験では従来の計測技法に従ってラテラル初期エネルギー比率(Lateral Early Energy Fraction:LEF)および聴覚間相互相関係数(Inter Aural Cross Correlation Coefficient:IACC)を計測した。LEFおよびIACCの性質については、以下でより十分に説明することにする。 For all experiments, the subjective listening test shows that the spatial expanse when driving a distributed mode speaker and a cone speaker simultaneously is the same as when driving the cone speaker alone, or driving the distributed mode speaker alone. A perceptible improvement was seen compared to the case of letting go. In order to determine whether the perceptible increase in spatial breadth is merely subjective, i.e. whether it has a scientific basis, the first and second experiments used conventional measurements. Lateral Early Energy Fraction (LEF) and interaural cross correlation coefficient (IACC) were measured according to the technique. The nature of LEF and IACC will be described more fully below.
これらの実験で使用した異なる装置によって発生させたサウンドの主観的品質も聴取テストにおいて考察している。第1の実験(ステレオ音響式)では、分散モード・スピーカおよびコーン・スピーカの音圧レベルは計測用マイクロフォンの位置において実質的に同じ値になるように設定すると共に、コーン・スピーカが単独であるいは分散モード・スピーカが単独で発生させるサウンドの品質と比べて複合式スピーカからのサウンドの品質がより良好であると主観的に考察された。 The subjective quality of the sound produced by the different devices used in these experiments is also considered in the listening test. In the first experiment (stereo acoustic type), the sound pressure levels of the distributed mode speaker and the cone speaker are set to substantially the same value at the position of the measurement microphone, and the cone speaker is used alone or It was subjectively considered that the quality of sound from a composite speaker was better than the quality of sound produced by a distributed mode speaker alone.
第2の実験では、分散モード・スピーカの音圧レベルを、コーン・スピーカが発生させる音圧レベル(マイクロフォンの位置で計測)より4.2デシベルだけ低くなるように設定した。この数値は、多くの異なる相対音圧レベルを試みた後に決定したものである。複合式スピーカによって発生させたサウンドの品質もまた、コーン・スピーカが単独であるいは分散モード・スピーカが単独で発生させるサウンドと比べてより良好であると考察された。 In the second experiment, the sound pressure level of the distributed mode speaker was set to be 4.2 decibels lower than the sound pressure level generated by the cone speaker (measured at the microphone position). This number was determined after trying many different relative sound pressure levels. The quality of the sound generated by the composite speaker was also considered better than the sound generated by the cone speaker alone or the distributed mode speaker alone.
第3の実験では、分散モード・スピーカとコーン・スピーカの相対音圧レベルを変化させることのサウンドの主観的品質に対する効果をテストし、コーン・スピーカより5デシベル±3デシベルだけ低い値で分散モード・スピーカを駆動することによって最適な知覚品質が得られることが分かった、さらにこの品質は分散モード・スピーカまたはコーン・スピーカを単独で聴取した場合に知覚される品質と比べてより良好であることも分かった。 In the third experiment, the effect of changing the relative sound pressure level of the distributed mode speaker and the cone speaker on the subjective quality of the sound was tested, and the distributed mode was reduced by 5 dB ± 3 dB below the cone speaker. It has been found that driving the speaker gives the best perceptual quality, and this quality is better than the perceived quality when listening to a distributed mode speaker or cone speaker alone I understand.
  第3の実験にはさらに、2つのスピーカの単独での周波数応答と複合式スピーカの周波数応答とを決定するための計測も含めた。複合式スピーカの周波数応答は、このスピーカが駆動を受ける多くの異なる相対レベルに対して決定した。これらの実験および計算から、複合式スピーカでは分散モード・スピーカ単独での周波数応答と比べてより平滑となった周波数応答曲線を得ることができることが分かった。
  ここで、これら3つの実験のそれぞれについてより詳しく記載することにする。The third experiment further included measurements to determine the frequency response of the two speakers alone and the frequency response of the composite speaker. The frequency response of the composite speaker was determined for a number of different relative levels at which the speaker was driven. From these experiments and calculations, it was found that the composite type speaker can obtain a frequency response curve that is smoother than the frequency response of the distributed mode speaker alone.
 We will now describe each of these three experiments in more detail.
第1の実験(ステレオ)の詳細
  第1の実験は以下の条件の下で以下の装置を使用して実施したものである。Details of the first experiment (stereo) The first experiment was conducted using the following apparatus under the following conditions.
(a)聴取室は、側面および背面の壁上に追加的な吸収パネルをランダムに配置した典型的な乾燥室とした。この部屋のサイズは長さ6.87m×幅4.6m×高さ2.79m=体積88.17立方メートルとした。 (A) The listening room was a typical drying room with additional absorbent panels randomly placed on the side and back walls. The size of this room was length 6.87 m × width 4.6 m × height 2.79 m = volume 88.17 cubic meters.
(b)スピーカおよびマイクロフォンは正三角形の頂点の位置に配置させた。このスピーカとマイクロフォンの間の距離は2メートル(この三角形の各辺=2メートル)とした。スピーカは聴取室の壁から間隔を空けるように位置決めした。 (B) The speaker and the microphone were arranged at the positions of the vertices of the equilateral triangle. The distance between the speaker and the microphone was 2 meters (each side of the triangle = 2 meters). The speakers were positioned so as to be spaced from the walls of the listening room.
(c)このスピーカは、2つの従来式コーン・スピーカと2つの分散モード・スピーカとから構成した。 (C) This speaker consisted of two conventional cone speakers and two distributed mode speakers.
  (d)従来式コーン・スピーカは、一体型の増幅器を伴ったGenelecモデル1029A  40Wモニタとした。技術的データ:バス  5”駆動ユニット;トレブル  3/4”メタルドーム駆動ユニット;クロスオーバー周波数は3.3kHz;周波数応答70〜18,000Hz。  (D) The conventional cone speaker was a Genelec model 1029A 40W monitor with an integrated amplifier. Technical data:
(e)分散モード・スピーカはAmina Technologies Limited(上で言及済み)によって製造されたものであり、610mm×492mmのアルミニウム・コア、ポリエステル・スキン、4励振器(10W/励振器)を備えさせた。これらの各々は、40Wのオープンバック・パネルとした。周波数応答は80Hz〜20kHzとした。 (E) The distributed mode speaker was manufactured by Amina Technologies Limited (referenced above) and was equipped with a 610 mm x 492 mm aluminum core, polyester skin, 4 exciter (10 W / exciter) . Each of these was a 40 W open back panel. The frequency response was 80 Hz to 20 kHz.
(f)LEF計測では、CALREC Soundfieldのマイクロフォン、モデルST250を使用した。使用したIACC計測では、B+KのHead and Torso Simulator(HATS)マイクロフォン、モデル4100を使用した。 (F) For LEF measurement, a CALREC Soundfield microphone, model ST250, was used. The IACC measurement used was a B + K Head and Torso Simulator (HATS) microphone, model 4100.
(g)これらの計測では、最大長シーケンス(Maximum Length Sequence)信号を使用し、そのインパルス応答を抽出し、さらにこのインパルス応答に対して空間的計測を実行した。使用したソフトウェアは、Aurora Pluginを伴ったCool Edit ProのP.C.版とした。 (G) In these measurements, a maximum length sequence signal was used, the impulse response was extracted, and a spatial measurement was performed on the impulse response. The software used was P.I. of Cool Edit Pro with Aurora Plugin. C. It was a version.
(h)分散モード・スピーカおよびコーン・スピーカはマイクロフォンの位置において実質的に等しい音圧レベルが提供されるように駆動させた。 (H) The distributed mode and cone speakers were driven to provide substantially equal sound pressure levels at the microphone location.
  コンサートホールなどの聴取空間内に位置させた聴き手は発生源(たとえば、オーケストラ)から直接のサウンド・エネルギーと、聴取空間の境界で反射された後のサウンド・エネルギーの両方を受け取る。総エネルギーのうち、直接のサウンドを受け取ってから概ね50ミリ秒の期間内に聴取空間の境界からの反射を受け取った聴き手が受け取るエネルギーの比率は、ラテラル初期エネルギー比率(LEF)として知られている。より高い周波数ほど、低い周波数の場合と比べてより多くが吸収され、さらに一般的に低周波数の場合と比べて包含するエネルギーがより少ないため、反射されたエネルギーの大部分はより低周波数のレンジ内にある。LEFは、多くの周波数バンド(特に、以下のバンド)で従来式に計測している。
    88〜176Hz(125オクターブ・バンドと呼ぶ)
    176〜353Hz(250オクターブ・バンドと呼ぶ)
    353〜707Hz(500オクターブ・バンドと呼ぶ)
    707〜1,414Hz(1,000オクターブ・バンドと呼ぶ)A listener located in a listening space such as a concert hall receives both sound energy directly from the source (eg, orchestra) and sound energy after being reflected at the boundary of the listening space. The fraction of total energy received by a listener who receives reflections from the boundary of the listening space within a period of approximately 50 milliseconds after receiving a direct sound is known as the lateral initial energy ratio (LEF). Yes. Higher frequencies absorb more compared to lower frequencies, and generally contain less energy than lower frequencies, so the majority of reflected energy is in the lower frequency range. Is in. LEF measures in a conventional manner in many frequency bands (especially the following bands).
 88-176 Hz (referred to as 125 octave band)
 176 to 353 Hz (referred to as 250 octave band)
 353 to 707 Hz (referred to as 500 octave band)
 707 to 1,414 Hz (referred to as 1,000 octave band)
限界内において、これらの周波数バンドのLEFが高いほどコンサートホールの環境において空間広大性の印象がより大きいことが広く考察されている。本発明の目的は、空間広大性について改良された印象を生成させることにあるため、分散モード・スピーカとコーン・スピーカを同時に駆動することによって生成させた複合音場に関してLEFの計測を実施して、分散モード・スピーカおよびコーン・スピーカを個別に駆動させたとした場合のLEF計測と比較している。 Within the limits, it is widely considered that the higher the LEF of these frequency bands, the greater the impression of space expanse in the concert hall environment. Since the object of the present invention is to generate an improved impression of spatial spaciousness, LEF measurement is performed on a composite sound field generated by simultaneously driving a distributed mode speaker and a cone speaker. This is compared with LEF measurement when the distributed mode speaker and the cone speaker are driven individually.
  図1は、この結果を表した棒グラフである。この図から理解できるように、縦縞のバー500a、500b、500cおよび500dはそれぞれ、上で規定したオクターブ・バンドのそれぞれにおけるコーン・スピーカ単独に関するLEFを表している。横縞のバー502a〜502dは同じオクターブ・バンドにおける分散モード・スピーカ単独に関するLEFを表している。交差縞のバー504a〜504dは、本発明による分散モード・スピーカおよびコーン・スピーカの複合に関するLEFを表している。  FIG. 1 is a bar graph showing the results. As can be seen from this figure, the vertically striped
図1から理解できるように、オクターブ・バンドのそれぞれにおいて、本発明による複合式分散モード/コーン・スピーカが発生させる音場に関するLEFは、単独でコーン・スピーカが発生させる音場に関するLEFと比べて著しく高くなっている。したがって、図1は、コーン・スピーカと比較して本発明による複合式スピーカが達成させる空間広大性の印象の主観的に知覚される著しい増大は、これらのオクターブ・バンド内でのLEFの増加と整合しており、またこれによれば、これらの周波数バンドにおけるLEFの増加がコンサートホール環境における空間広大性の印象の増大を提供しているという広く保持されてきた見解と整合していることを示している。換言すると、第1の実験で本発明による複合式スピーカが発生させる音場は、この際には空間広大性に関する改良された印象に関連すると考えられる重要パラメータ(LEF)の値が増加するという点においてコーン・スピーカが単独で発生させる音場と異なっている。このことは、上で言及した主観的聴取テストで知覚された空間広大性の増大は、本発明による複合型を使用した際の音域の生成が、コーン・スピーカ単独による音場と物理的に異なる生成に起因するということの確証であると考察される。 As can be seen from FIG. 1, in each of the octave bands, the LEF for the sound field generated by the composite distributed mode / cone speaker according to the present invention is compared to the LEF for the sound field generated by the cone speaker alone. Remarkably high. Thus, FIG. 1 shows that the subjectively perceived significant increase in the impression of spatiality achieved by a composite speaker according to the present invention compared to a cone speaker is an increase in LEF within these octave bands. Consistent with, and according to this, is consistent with the widely held view that the increase in LEF in these frequency bands provides an increased impression of space in concert hall environments. Show. In other words, the sound field generated by the composite loudspeaker according to the present invention in the first experiment increases the value of the important parameter (LEF), which is considered to be related to the improved impression of spatial spaciousness. Is different from the sound field generated by a cone speaker alone. This is because the increase in spatial breadth perceived in the subjective listening test mentioned above is that the production of the sound range when using the composite type according to the present invention is physically different from the sound field produced by the cone speaker alone. It is considered to be confirmation that it is due to generation.
さらに、125と250オクターブの周波数バンドでは、複合式スピーカとコーン・スピーカのLEFの差の大きさは500と1,000オクターブの周波数バンドにおけるLEFの差と比べて実質的により大きく、したがってこの特性がサウンドの暖かさの増加に関連することも認められる。別の言い方をすると、図1に示した4つのオクターブ周波数バンドのそれぞれにおけるLEFの差の大きさが同じであったとすると、このことは空間広大性は増大するがそのサウンドの暖かさは増大しないことを示唆することになろう。 Furthermore, in the 125 and 250 octave frequency bands, the magnitude of the difference in LEF between the composite speaker and the cone speaker is substantially larger than the difference in LEF in the 500 and 1,000 octave frequency bands, and thus this characteristic. It is also observed that is associated with an increase in the warmth of the sound. In other words, if the magnitude of the difference in LEF in each of the four octave frequency bands shown in FIG. 1 is the same, this increases the spatial breadth but not the warmth of the sound. I would suggest that.
図1からさらに、4つの周波数バンドのすべてについて分散モード・スピーカ単独のLEFはコーン・スピーカ単独のLEFより大きいことにも留意されたい。125および250オクターブ周波数バンドでは、分散モード・スピーカ単独のLEFは複合式スピーカのLEFより小さい。500および1,000オクターブ・バンドでは、分散モード・スピーカ単独と複合式スピーカのLEFは大きさが同様であり、これらのオクターブ・バンドにおいて見られる差はそれ自体ではほとんど確実に知覚不可能である。これらの結果は、主観的聴取テストにより裏付けられるように、分散モード・スピーカに対して本発明による複合式スピーカを使用した空間広大性はコーン・スピーカ単独の場合ほど大きくないこと、分散モード・スピーカはコーン・スピーカと比べてより大きな空間広大性を提供することが示唆される。しかし、本発明の重要性は、コーン・スピーカ単独で得られるものと比べた空間広大性のかなりの増大が忠実度を維持しながら提供されることにある。最高レベルの忠実度が要求される用途では分散モード・スピーカが未だ広範に使用されていないことに留意されたい。 Note further from FIG. 1 that the distributed mode speaker alone LEF is greater than the cone speaker alone LEF for all four frequency bands. In the 125 and 250 octave frequency bands, the LEF of the distributed mode speaker alone is smaller than the LEF of the composite speaker. In the 500 and 1,000 octave bands, the LEFs of the distributed mode loudspeaker alone and the composite loudspeaker are similar in size, and the differences seen in these octave bands are almost certainly not perceptible by themselves. . As these results are supported by subjective listening tests, the spatial breadth using the composite speaker according to the present invention for the distributed mode speaker is not as great as that of the cone speaker alone. This suggests that it provides greater space expansibility compared to cone speakers. However, the importance of the present invention is that a significant increase in spatial breadth compared to that obtained with a cone speaker alone is provided while maintaining fidelity. Note that distributed mode speakers are not yet widely used in applications where the highest level of fidelity is required.
  聴覚間相互相関係数(IACC)は、聴き手の両耳で受け取られる音圧信号間の相関の程度に関する1つの尺度である。IACCはしたがって、ヒトの外耳道の位置に開口を有するダミーの頭部と、各開口内の小型マイクロフォンと、を使用して従来式に計測される。1,000、2,000および4,000オクターブの周波数バンドのうちの1つまたは複数においてこの相関係数の値が低いことは、空間広大性の増大を示唆することが広く考察されており、これらのバンドにおける値は以下のようになる。
    1,000バンド:707〜1,414Hz(上ですでに示したのと同じ)
    2,000バンド:1,414〜2,825Hz
    4,000バンド:2,825〜5,650HzThe interaural cross-correlation coefficient (IACC) is a measure of the degree of correlation between sound pressure signals received by the listener's ears. IACC is therefore measured traditionally using a dummy head having openings at the location of the human ear canal and a small microphone within each opening. It has been widely considered that the low value of this correlation coefficient in one or more of the 1,000, 2,000 and 4,000 octave frequency bands suggests an increase in spatial breadth, The values in these bands are as follows:
 1,000 bands: 707 to 1,414 Hz (same as already shown above)
 2,000 bands: 1,414 to 2,825 Hz
 4,000 bands: 2,825 to 5,650 Hz
  図2は、第1の実験で実施したIACC計測の結果を表した棒グラフである。図2では、縦縞のバー506a〜506d、横縞のバー508a〜508d、および交差縞のバー510a〜510dによってそれぞれ、4つのオクターブ・バンド(すなわち、500オクターブ・バンド(LEFに関連して上で記載済み)ならびに1,000、2,000および4,000オクターブ・バンド)のそれぞれにおけるコーン・スピーカ単独のIACC、分散モード・スピーカ単独のIACC、および本発明による両者を複合したもののIACCを表している。この図面から容易に理解できるように、1,000、2,000および4,000オクターブ・バンドにおいて、本発明による複合式スピーカに関するIACCの値はコーン・スピーカ単独のIACCの値と比べて著しく小さい。LEF値の場合と同様にここでも、このことはサウンドの空間広大性の増大を示唆しており、その理由はすでに説明したように、これらの周波数バンドにおいてこの係数の値が小さいほど空間広大性の印象がより大きくなるためである。  FIG. 2 is a bar graph showing the results of IACC measurement performed in the first experiment. In FIG. 2, four octave bands (ie, 500 octave bands (described above in connection with LEF, respectively) are shown by
図2は500オクターブ・バンドにおけるIACC計測を含んでいるが、この周波数バンドでのサウンド・エネルギーの波長は、周知のように聴き手の両耳が受け取るエネルギーにおいて高い相関係数が予期されるものであるため、これらの計測は実際には重要ではない。 Figure 2 includes IACC measurements in the 500 octave band, but the sound energy wavelength in this frequency band is expected to have a high correlation coefficient in the energy received by the listener's ears, as is well known. Therefore, these measurements are not really important.
したがって、第1の実験で使用したステレオ音響式装置に関するLEFとIACCの計測は共に聴取テストにおいて観測された空間広大性の主観的印象と整合することが理解できよう。 Thus, it can be seen that the LEF and IACC measurements for the stereophonic device used in the first experiment are both consistent with the subjective impression of spatiality observed in the listening test.
第2の実験(モノ)の詳細
  第2の実験は以下の条件の下で以下の装置を使用して実施したものである。Details of Second Experiment (Mono) The second experiment was conducted using the following apparatus under the following conditions.
(a)聴取室は、10,000Hzを超えるサウンドを吸収する(平均残響時間0.3秒)ように音響的処置を施した。この部屋のサイズは、長さ5.6m×幅3.2m×高さ2.4m=体積43.28立方メートルとした。 (A) The listening room was acoustically treated to absorb sound above 10,000 Hz (average reverberation time 0.3 seconds). The size of this room was length 5.6 m × width 3.2 m × height 2.4 m = volume 43.28 cubic meters.
(b)これらの計測の際のマイクロフォンは、軸一致でスピーカから1.5メートルに配置させた。分散モード・スピーカの前面は、従来式コーン・スピーカのケーシングの背面と概ね垂直方向で一致させた。 (B) The microphones for these measurements were placed 1.5 meters from the speaker with the same axis. The front surface of the distributed mode speaker was aligned generally vertically with the rear surface of the casing of the conventional cone speaker.
(c)コーン・スピーカは、44Hz〜20kHzの周波数応答を有するTannoyのNear Field Dual−Concentric Monitor Model 6NFM Mark IIとした。このユニットの利点は、計測においてHFおよびLFが同じ軸点の位置にあることである。使用した分散モード・スピーカ・パネルは、Amina Technologies Limitedによって製造したものであり、500×700mmの樹脂浸漬紙ハニカムコアおよび4つの励振器(10W/励振器)を有するスキンを備えている。これは、80Hz〜20kHzの周波数応答を有する40Wのオープンバック・パネルである。 (C) The cone speaker was Tannoy's Near Field Dual-Concentric Monitor Model 6NFM Mark II with a frequency response of 44 Hz to 20 kHz. The advantage of this unit is that HF and LF are at the same axial point in the measurement. The distributed mode speaker panel used was manufactured by Mina Technologies Limited and provided with a skin having a 500 × 700 mm resin-impregnated paper honeycomb core and four exciters (10 W / exciter). This is a 40 W open back panel with a frequency response of 80 Hz to 20 kHz.
(d)LEF計測では、AKG C34のVariable Polar Microphoneを使用した。IACC計測では、Neuman Binaural Headを使用した。 (D) For LEF measurement, AKG C34 Variable Polar Microphone was used. For the IACC measurement, Neuman Binaural Head was used.
(e)ここでも、最大長信号からインパルス応答および空間データを抽出した。使用したソフトウェアは、MLSSA P.C.ソフトウェアとした。 (E) Again, the impulse response and spatial data were extracted from the maximum length signal. The software used was MLSSA P.M. C. Software.
(f)別々の増幅器を使用し、DMLパネルをTannoyと比べて4.2dBだけ低く設定した。 (F) A separate amplifier was used and the DML panel was set lower by 4.2 dB compared to Tannoy.
  図3および4は、第2の実験で計測したLEFおよびIACCを表している棒グラフである。各バーに関する縞模様は図1および2の場合と同じ意味合いである。したがって、図3のバー512a〜512dと図4のバー518a〜518dはそれぞれ、コーン・スピーカ単独のLEFとIACCを示しており、また図3のバー514a〜514dと図4のバー520a〜520dは分散モード・スピーカ単独のLEFとIACCを示しており、また図3および4のバー516a〜516dおよび522a〜522dはそれぞれ、本発明による複合式ディジタル式モード/コーン・スピーカのLEFおよびIACCを示している。図1および2の場合と同様に、図3および4の各バーは、図面で示したように特定のオクターブの周波数バンドの関連する値を示している。  3 and 4 are bar graphs representing LEF and IACC measured in the second experiment. The striped pattern for each bar has the same meaning as in FIGS. Therefore, the
  図3の試験をすると、本発明による複合式スピーカのLEF値は、各オクターブ周波数バンドにおいて、従来式コーン・スピーカ単独でのLEFや分散モード・スピーカ単独でのLEFより高いことが示される。このことは、上で説明したように、主観的テストにおいて観測される知覚可能な空間広大性の増大と整合する。バー516bと512bの差の大きさがバー516cと512cの差の大きさよりも大きいこと(250および500オクターブ・バンドのLEF値)は、そのサウンドの暖かさの著しい改良を示している。  The test of FIG. 3 shows that the LEF value of the composite speaker according to the present invention is higher than the LEF of the conventional cone speaker alone or the LEF of the distributed mode speaker alone in each octave frequency band. This is consistent with the increase in perceivable spatiality observed in subjective tests, as explained above. The magnitude of the difference between
図4は、1,000および4,000オクターブ・バンドにおいて、本発明による複合式スピーカのIACCがコーン・スピーカ単独でのIACCと比べてかなり低いことを表している。このことは、空間広大性の観測される増大と整合している。しかし、2,000オクターブ・バンドでは、IACC値518cおよび522cはほとんど同じである。図2を参照しながら記載したように、500オクターブ・バンドに関しては図4に示したIACC値は重要でない。 FIG. 4 shows that in the 1,000 and 4,000 octave bands, the IACC of the composite loudspeaker according to the present invention is much lower than the IACC with a cone loudspeaker alone. This is consistent with the observed increase in spatial breadth. However, in the 2,000 octave band, the IACC values 518c and 522c are almost the same. As described with reference to FIG. 2, the IACC values shown in FIG. 4 are not significant for the 500 octave band.
図3および4は共に、第2の実験で使用したモノ・システムを用いた主観的テストで知覚される空間広大性の印象の驚異的で著しい増大と整合している。 FIGS. 3 and 4 are both consistent with a surprising and significant increase in the impression of spatiality perceived in subjective tests with the mono system used in the second experiment.
第3の実験(モノ)の詳細
  この実験は、上述した第1および第2の実験の環境および装置と異なる環境において異なる装置を用いて実施したものである。この実験は、スピーカを不都合な音響特性(すでに上述したものと同じ)とした単一のチャンネル(モノ)を用いた主観的テスト、ならびに無響のチェンバ内で実施した周波数応答計測からなる。LEFおよびIACCの計測はこの実験では実施しなかった。Details of Third Experiment (Mono) This experiment was conducted using a different apparatus in an environment different from the environment and apparatus of the first and second experiments described above. This experiment consists of a subjective test using a single channel (mono) with inconvenient acoustic characteristics (same as already described above) and frequency response measurements performed in an anechoic chamber. LEF and IACC measurements were not performed in this experiment.
これらの計測全体を通じて使用した従来式のコーン・スピーカは、概ね30Hz〜20kHzの周波数レンジをカバーする3つの駆動ユニットを備えるJBL LSR32パッシブ・スタジオモニタとした。DMLは、Amina Technologies Ltd.が製造したものとした。DMLパネルは、樹脂含浸のガラス繊維スキンを伴う樹脂浸漬紙ハニカムコアからなると共に、大きさは60cm×60cmとした。4つの電磁式励振器を存在させると共に、その周波数応答は80Hz〜20kHzとした。 The conventional cone speaker used throughout these measurements was a JBL LSR32 passive studio monitor with three drive units covering a frequency range of approximately 30 Hz to 20 kHz. DML is available from Amina Technologies Ltd. Was manufactured. The DML panel consisted of a resin-impregnated paper honeycomb core with a resin-impregnated glass fiber skin and a size of 60 cm × 60 cm. There were four electromagnetic exciters and the frequency response was 80 Hz to 20 kHz.
DMLパネルは、従来式スピーカの最上部に配置すると共に強力な両面粘着テープを用いて取り付けた。関心対象のすべての周波数における適正な信号対雑音比を保証するために、すべての計測に関してテスト信号としてピンクノイズ(ピンクノイズは、1オクターブのバンド幅あたり等しい信号エネルギーを含んだ広帯域のランダム信号である)を使用した。信号発生器からの出力信号は、各スピーカに供給される信号の周波数レンジに対する調整を可能とするために、1対のユニバーサル・フィルタ組を介して2チャンネル・パワー増幅器の入力に接続した。2つのスピーカの相対出力レベルは、従来式スピーカにパワー供給する増幅器に対する駆動のインラインに切り替え可能な減衰器を使用することによって調整した。 The DML panel was placed on top of a conventional speaker and attached using a strong double-sided adhesive tape. Pink noise as a test signal for all measurements (pink noise is a wideband random signal containing equal signal energy per octave bandwidth to ensure proper signal-to-noise ratio at all frequencies of interest. Used). The output signal from the signal generator was connected to the input of a two-channel power amplifier through a pair of universal filter sets to allow adjustment to the frequency range of the signal supplied to each speaker. The relative power levels of the two speakers were adjusted by using an attenuator that was switchable in-line to the amplifier that powers the conventional speaker.
軸一致時周波数応答
  図5は、従来式コーン・スピーカの軸一致時(on−axis)周波数応答の大きさを表しており、また図6は、DMLパネルに関する軸一致時周波数応答の大きさを表している。DMLパネルの低周波数応答は製造者の推奨に従って100Hz未満でカットした。インライン減衰器は、500Hzから5kHzまでの周波数レンジにある2つのスピーカから概ね同じ軸一致時レベルが得られるように調整した。FIG. 5 shows the magnitude of the on-axis frequency response of a conventional cone speaker, and FIG. 6 shows the magnitude of the on-axis frequency response for the DML panel. Represents. The low frequency response of the DML panel was cut below 100 Hz according to the manufacturer's recommendations. The in-line attenuator was adjusted so that approximately the same coincidence level was obtained from two speakers in the frequency range from 500 Hz to 5 kHz.
図5および6に示した周波数応答は、位相を考慮に入れる場合と入れない場合の両者に関してコンピュータ上で足し合わせた。得られた周波数応答間の比較、ならびにスピーカを明瞭に複合させた場合に得られた周波数応答の計測によって、この2つのスピーカの間に位相の付加、したがって干渉、が生じることが分かった。要するに、意外にも、この2つのスピーカからの合成出力の周波数応答は個々に計測した応答を位相を考慮しながら足し合わせることによって正確に決定できることになる。これが成り立つとすると、任意の相対出力レベルで合成した応答を決定することができる。図7は、直ぐ前で記載したようにコンピュータ上で足し合わせて決定したこうした合成の周波数応答を表しており、DMLのレベルは従来式スピーカを基準として−12dBから+12dBまで3dBステップで変化させている。 The frequency responses shown in FIGS. 5 and 6 were summed on the computer both with and without phase consideration. The comparison between the obtained frequency responses, as well as the measurement of the frequency response obtained when the speakers were clearly combined, showed that an additional phase and thus interference occurred between the two speakers. In short, surprisingly, the frequency response of the combined output from the two speakers can be accurately determined by adding the individually measured responses in consideration of the phase. If this is true, the combined response can be determined at any relative output level. FIG. 7 shows the frequency response of such a synthesis determined on the computer as described immediately above, with the DML level varying from −12 dB to +12 dB in 3 dB steps relative to a conventional speaker. Yes.
主観的評価
  主観的テストは、計測で使用したのと同じ装置としたが、無響チェンバ内ではなく半残響性空間(上述のような遮断用コリドー)内において2つのスピーカに関して実施した。Subjective evaluation The subjective test was performed on the same equipment used in the measurement, but on two speakers in a semi-reverberant space (shutoff corridor as described above) rather than in an anechoic chamber.
すべての聴取は、コンパクトディスクから再生させた市場入手可能な多様な音楽記録物を用いて単一チャンネルのモノで実施した。第1に、DMLパネルをインやアウトに切り換えると空間広大性の著しい変化が知覚された。被験者は皆、パネルの追加によって空間広大性の感覚が従来式コーン・スピーカ単独の場合と比較して改善されたと認めている。第2に、この2つのスピーカの相対レベルは全被験者が知覚可能な改良を得るのに最適なレベルで意見が一致するまで変更した。このことは、増幅器に対する「バランス」制御を用いて全体的レベルを一定に維持しながら実施した。全被験者は、上述の計測で使用したレベル(500Hzから5kHzまでの等しいレベル)を基準としてDMLパネルから−5dB出力の最適レベル設定で一致した。全被験者は、この値に関して±3dBの域内で一致した。 All listening was performed on a single channel mono using a variety of commercially available music records reproduced from compact discs. First, a significant change in spatial breadth was perceived when the DML panel was switched in and out. All subjects acknowledged that the addition of panels improved the sense of spaciousness compared to the conventional cone speaker alone. Second, the relative levels of the two speakers were changed until they reached a consensus at an optimal level to obtain an improvement that all subjects could perceive. This was done using a “balance” control on the amplifier while keeping the overall level constant. All subjects agreed with the optimal level setting of -5 dB output from the DML panel based on the level used in the above measurement (equal level from 500 Hz to 5 kHz). All subjects agreed within this range of ± 3 dB.
追加のテストでは、一方のスピーカをインとアウトで切り換え、かつもう一方は一定に保持したときに検出可能なサウンドの変化がその値を超えないような相対レベルのしきい値を確定することが不可欠であった。このレベルは、DMLパネルでは約−35dBの検出しきい値、また従来式スピーカでは−20dBであると迅速に決定された。 An additional test may establish a relative level threshold so that the detectable sound change does not exceed that value when one speaker is switched in and out and the other is held constant. It was essential. This level was quickly determined to be about -35 dB detection threshold for DML panels and -20 dB for conventional speakers.
検討
  この周波数応答の計測は、DMLパネルが従来式コーン・スピーカと比べて平滑性がより低い周波数応答を有することを明瞭に示している。このことは、さまざまな放射機構を検討する際にそれほど驚くことではない。DMLパネルではさらに、7kHzの周辺において応答の顕著な低下が見られる。しかし意外なことは、DMLパネルと従来式スピーカがどの程度干渉するかにある。パネルの表面全体にわたる振動場は本質的に概ね拡散性であるため、DMLパネルは自身が動作する方向にサウンドを放射する。したがって、放射された音場に関連する特定の位相は存在しないと予測することは極めて妥当であるが、これらの計測の結果は、少なくとも空間内の単一の点で、かつある狭い周波数バンド(ただし、すべて可聴周波数に対する)においては、このパネルは別のスピーカからのサウンド放射とで干渉による強め合い(constructive  interference)を生じさせるような計測可能で反復可能な位相応答を有していることを示している。DISCUSSION This frequency response measurement clearly shows that the DML panel has a frequency response that is less smooth than a conventional cone speaker. This is not so surprising when considering various radiation mechanisms. The DML panel also shows a noticeable decrease in response around 7 kHz. However, what is surprising is how much the DML panel and the conventional speaker interfere. Because the vibration field across the surface of the panel is essentially diffusive, the DML panel emits sound in the direction in which it operates. Thus, while it is quite reasonable to predict that there is no particular phase associated with the radiated sound field, the result of these measurements is at least a single point in space and a narrow frequency band ( However, for all audible frequencies, this panel has a measurable and repeatable phase response that causes a constructive interference with the sound emission from another speaker. Show.
図7は、従来式コーン・スピーカのレベルを基準としてDMLパネルのレベルを変動させたときの2つのスピーカの合成出力に関する周波数応答を表している。予期できるように、DML出力のレベルが低いと従来式コーン・スピーカの応答に対してほとんど影響を及ぼすことがなく、また相対レベルが高いと該パネルの応答によって圧倒された応答が示される。しかし、この図に関して注目すべき最も興味深い点は、通常であれば平滑であるような従来式コーン・スピーカの応答がそのレベルにおいてはDMLの出力からの干渉によって乱されるような相対レベルである。この図は、この実験において−3dBを超える相対レベルでは、その応答がパネルによって悪影響を受けるが、これより低いレベルではこの限りではないことを示している。この主観的観測によれば、−5dBの相対レベルが好ましいサウンド品質にとって最適近辺にあり、またDML出力の相対レベルが高い場合は空間広大性の改良を周波数応答の悪化に対するトレードオフとさせることが可能である。 FIG. 7 shows the frequency response for the combined output of the two speakers when the level of the DML panel is varied with the level of the conventional cone speaker as a reference. As can be expected, a low level of DML output has little effect on the response of a conventional cone speaker, and a high relative level indicates a response overwhelmed by the response of the panel. However, the most interesting point to note about this figure is the relative level at which the response of a conventional cone speaker, which is normally smooth, is disturbed at that level by interference from the output of the DML. . This figure shows that in this experiment, at relative levels above -3 dB, the response is adversely affected by the panel, but not at lower levels. According to this subjective observation, a relative level of -5 dB is near the optimum for favorable sound quality, and when the relative level of the DML output is high, the improvement of spatial expansibility is made a trade-off for the deterioration of the frequency response. Is possible.
この実験から結論のまとめ
  第1および第2の実験と同様に、本主観的テストは空間広大性の印象の著しい増大を示したが、これはそのスピーカを不都合な音響特性としたモノラル・システムにおけるものである。周波数応答の計測および計算によって、本発明による複合式スピーカは、駆動用信号を適当なレベルとした場合、分散モード・スピーカ単独の場合と比べてかなり良好な周波数応答を達成できることが示された。Summary of conclusions from this experiment As in the first and second experiments, this subjective test showed a significant increase in the impression of spatial spaciousness, which is the result of a monophonic system that made the speaker an inconvenient acoustic characteristic. Is. Frequency response measurements and calculations show that the composite loudspeaker according to the present invention can achieve a much better frequency response when the drive signal is at an appropriate level compared to a distributed mode loudspeaker alone.
実際的な実施形態
  実施した実験(主観的テストと科学的計測の両者)に関する上述の検討から理解されるように、本発明によれば、スピーカによって発生させたサウンドの空間広大性を強調させる問題に対する実際的かつ簡単な解決法が提供される、具体的には高品質で広い周波数レンジのピストン式スピーカを利用することが可能となり、かつ分散モード・スピーカの追加によって発生させるサウンドの空間広大性を強調することが可能となり、この際サウンドの高忠実性が失われることがなく、また追加的な信号チャンネルや複雑な信号エンコードの必要がない。Practical Embodiments As can be understood from the above discussion regarding experiments performed (both subjective testing and scientific measurements), the present invention presents the problem of emphasizing the spatial breadth of the sound generated by a speaker. Provides a practical and simple solution to the problem, specifically enabling the use of high-quality, wide frequency range piston-type speakers, and the wideness of the sound produced by the addition of distributed mode speakers Without any loss of high sound fidelity and the need for additional signal channels or complex signal encoding.
  本発明を実施する際に、分散モード・スピーカおよびピストン式スピーカは可聴周波数バンドの共通部分にわたって動作しなければならない。この2つのスピーカは可聴周波数バンドの実質的に全体にわたって動作することが好ましく、たとえばそのピストン式スピーカが20Hzから20kHzまでで動作することがありかつその分散モード・スピーカが約100Hzから20kHzまでで動作することがあり、あるいは分散モード・スピーカの技術がさらに発展すれば、この2つのスピーカは可聴周波数レンジの全体(すなわち、20Hz〜20kHz)にわたって動作することもあり得る。コストや目的とする使用法など状況に応じてこれより狭い周波数バンドが利用されることも本発明の趣旨の域内にある。たとえば、分散モード・スピーカは上で指摘したバンドと比べてかなり狭い周波数バンドに制約される可能性もある、たとえば周波数バンド100から1,000Hzまで、あるいは周波数バンド200から2,000Hzまで、あるいは最大4,000Hzまでや最大6,000Hzまでのレンジ域内の1つまたは複数のオクターブをカバーする周波数バンドなどとする可能性がある。さらに別の具体的な一例として、分散モードの1つまたは複数のスピーカの周波数バンドは100から6,000Hzまでとすることがあり、またピストン式スピーカの周波数バンドは800から8,000kHzまでとすることがあり得る。  In practicing the present invention, the distributed mode speaker and the piston type speaker must operate over the common part of the audible frequency band. The two speakers preferably operate over substantially the entire audible frequency band, for example, the piston type speaker may operate from 20 Hz to 20 kHz and the distributed mode speaker operates from about 100 Hz to 20 kHz. Or if the technology of distributed mode speakers develops further, the two speakers may operate over the entire audible frequency range (i.e., 20 Hz to 20 kHz). It is also within the scope of the present invention that a narrower frequency band is used depending on the situation such as cost and intended usage. For example, distributed mode speakers may be constrained to a much narrower frequency band compared to the band noted above, for example,
別の代替形態として、分散モード・スピーカおよびピストン式スピーカが周波数レンジの共通部分にわたって動作する場合、ピストン式スピーカの最高周波数は分散モード・スピーカの最高周波数と比べて実質的により低く、高域周波数ではツイータが分散モード・スピーカによって構成されることもあり得る。 As another alternative, when a distributed mode speaker and a piston-type speaker operate over a common portion of the frequency range, the highest frequency of the piston-type speaker is substantially lower than the highest frequency of the distributed mode speaker, and the high frequency Then, the tweeter may be constituted by a distributed mode speaker.
したがって一般に、分散モード・スピーカの周波数レンジはピストン式スピーカの周波数レンジと比べてより広くすることもより狭くすることもでき、分散モード・スピーカの周波数レンジの低い方の端は、ピストン式スピーカの周波数レンジの低い方の端と比べてより高くすることやより低くすることがあり、また分散モード・スピーカの周波数レンジの上側の端は、ピストン式スピーカの周波数レンジの上側の端と比べてより高くすることやより低くすることがある。ピストン式および分散モード・スピーカの最適な周波数レンジは、用途やコストならびにさまざまな使用法やさまざまなマーケットにおける具体的な要件に応じて実験によって決定されることがある。 Thus, in general, the frequency range of a distributed mode speaker can be wider or narrower than the frequency range of a piston type speaker, and the lower end of the frequency range of the distributed mode speaker is at the end of the piston type speaker. May be higher or lower than the lower end of the frequency range, and the upper end of the frequency range of the distributed mode speaker is more than the upper end of the frequency range of the piston type speaker. May be higher or lower. The optimum frequency range for piston and distributed mode speakers may be determined experimentally depending on the application and cost, as well as the specific requirements in different usages and different markets.
本発明の多数の実際的な実施形態について以下で記載することにする。これらの実施形態の大部分では、特定の周波数を与えないことにする。これらは、実施形態の記載に従って設計しようとする具体的な製品の状況に応じて、上の検討ですでに示したレンジから選択されるものと捉えるべきである。 A number of practical embodiments of the invention will be described below. In most of these embodiments, a specific frequency will not be given. These should be taken as being selected from the ranges already shown in the above discussion, depending on the specific product situation to be designed according to the description of the embodiment.
さらに、以下の実施形態の使用時のスピーカまたはサウンド再生デバイスの配置については記載していない。ユーザまたはシステムの据え付け者によって具体的な任意の聴取空間内の最適な箇所が決定されることになろう。分散モード・スピーカをピストン式スピーカと物理的に別のユニットとする場合は、これら2つのスピーカは互いに隣同士の位置決め、互いの上に位置決め、あるいは別の箇所(たとえば、分散モード・スピーカを聴き手のために用意した領域の後ろ側や横側とするなど)に位置決めされることがある。この接続では、サラウンドサウンド・システム内でのスピーカの配置は重要でありかつ異なるチャンネルの信号に対するエンコード(エンコードはスピーカが事前に規定された位置にあると仮定して実行される)に依存するが、この制約は本発明にはあてはまらないことを理解すべきである。 Furthermore, the arrangement of speakers or sound reproduction devices when using the following embodiments is not described. The user or system installer will determine the optimal location in any particular listening space. If the distributed mode speaker is a physically separate unit from the piston type speaker, the two speakers should be positioned next to each other, positioned on top of each other, or elsewhere (eg, listening to the distributed mode speaker). It may be positioned on the back side or side of the area prepared for the hand). In this connection, the placement of the speakers within the surround sound system is important and depends on the encoding of the signals on the different channels (encoding is performed assuming that the speakers are in a predefined position). It should be understood that this limitation does not apply to the present invention.
さらに、テストによって(実験に関する上の説明では言及していない)ピストン式および分散モード・スピーカの出力間に遅延の導入が利用されることがあること、また具体的には、分散モード・スピーカに加えられる信号はピストン式スピーカに加えられる信号を基準として遅延させることがあることが指摘されていることも理解すべきである。遅延を与える場合は一般に、これが80msecを超えないようにすべきであり、さらに35msecを超えないようにすることが好ましい。こうした遅延の導入によって、ステレオ音響式用途やサラウンドサウンド用途においてサウンドに対する「イメージ形成(imaging)」または「位置特定(localization)」が強調されることが非公式のテストによって分かっている。イメージ形成および位置特定に関するこうした改良によって音楽を聞く際の音楽的了解度が改善される。 In addition, tests may utilize the introduction of a delay between the output of piston-type and distributed mode speakers (not mentioned in the above description of the experiment), and specifically, for distributed mode speakers. It should also be understood that it is pointed out that the applied signal may be delayed with respect to the signal applied to the piston type speaker. When providing a delay, it should generally not exceed 80 msec, and preferably not exceed 35 msec. Informal tests have shown that the introduction of such delays emphasizes “imaging” or “localization” to sound in stereophonic and surround sound applications. These improvements in image formation and location improve musical intelligibility when listening to music.
こうした改良が起こるのは、遅延の結果として、ピストン式スピーカからのサウンドのトランジェント(transient)は分散モード・スピーカからによってマスキングされないが、分散モード・スピーカからのトランジェントはピストン式スピーカからのトランジェントによってマスキングされるためであると考察される。 This improvement occurs because, as a result of delay, sound transients from piston-type speakers are not masked by distributed mode speakers, but transients from distributed mode speakers are masked by transients from piston-type speakers. It is considered to be done.
  LEFおよびIACCに関連する検討ならびに遅延の効果に関連する検討において、この効果の基本となる理論的な説明を与えているが、本出願はこれらの説明によって拘束されるものではないことを理解すべきである。ここに与えた説明は、オーディオ分野における目下のところの知見ならびに計測技法に基づいたものであるが、人間の自身が受けたサウンドに対する心理音響学的効果は極めて複雑な問題であり、正確な説明を与えることは困難(また、幾つかの状況では不可能)であることも同様に理解されたい。
  ここで、本発明に関する多数の実際的な実施形態について記載することにする。In the studies related to LEF and IACC, and in the studies related to the effects of delay, we give a theoretical explanation underlying this effect, but we understand that this application is not bound by these explanations Should. The explanation given here is based on the current knowledge and measurement technique in the audio field, but the psychoacoustic effect on the sound of humans is a very complex issue and an accurate explanation. It should also be understood that it is difficult (and impossible in some situations) to provide
 A number of practical embodiments relating to the present invention will now be described.
第1の実施形態
  図8〜12は、本発明の第1の実施形態によるステレオ音響式サウンド再生システムを表している。First Embodiment FIGS. 8 to 12 show a stereophonic sound reproduction system according to a first embodiment of the present invention.
  図8に示すように、このシステムは、音楽などのステレオ音響サウンドを再生するために、CDプレーヤ、ステレオFMチューナおよび/またはステレオ・テープ・プレーヤなどの多数の入力デバイス2と、従来の構成とした、したがって通常の前置増幅器、制御回路およびパワー増幅器を備えたステレオ音響式増幅器ユニット4と、増幅器4の左および右チャンネル出力にそれぞれ接続した1対のスピーカ・ユニット6と、を備えている。スピーカ・ユニット6のそれぞれは、本発明の教示に従って駆動を受けている従来式コーン・スピーカと分散モード・スピーカの両者を含んでいる。この2つのスピーカ・ユニット6は互いに同一である。  As shown in FIG. 8, this system is equipped with a number of
  図9に示したように、各スピーカ・ユニット6は、ベース/ミッドレンジ・スピーカ10およびツイータ12を備えた従来式の全周波数レンジの2ウェイ式コーン・スピーカ・システムを包含したケーシング8を備えている。コーン・スピーカ10および12の各々は、それぞれのコーンを駆動するために可動コイルまたは可動磁石タイプとすることがあるそれぞれの電磁式駆動ユニットを含んでいる。ケーシング8は、前面、背面、上面、底面および側面パネル8a、8b、8c、8d、8e、8fを有している。前面パネル8aは、スピーカ10、12のコーンをその後ろ側に配置させる開口14、16を有している。スピーカ10、12のコーンは開口14、16を閉鎖しており、これにより従来式と同様にケーシング8によって1つの閉じたチェンバが形成され、この内部にコーン・スピーカ10および12を配置させることによってこれらのスピーカにより従来方式で自由空気中にサウンドを発生させることができる。ケーシング8内の閉じたチェンバの内部は、従来式の任意の構造体または減衰材料を包含することがある。  As shown in FIG. 9, each
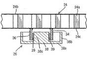
  分散モード・スピーカ22はケーシング8の最上部に垂直の向きで確保されていると共に、スピーカ・パネル24と、このパネル24の背面に取り付けた電磁式アクチュエータ26と、を備えている。一方のエッジ30に沿ってケーシング8に確保された矩形のフレーム28によってケーシング8の前面と概ね同じ面内でパネル24を支持しており、かつ、アクチュエータ26によりパネル24をよく知られた方式で励振させ共振分散モード振動とすることが可能となるような方式で支持している。  The distributed
  パネル24およびフレーム28は、ケーシング8の上面に位置決めされると共に、その側面、背面および上面壁32aのすべてが多数の開口を含んだ金属メッシュから製作されているようなハウジング32の前面壁を形成しており、これによりパネル24の背面から発生させるサウンドがこのメッシュ壁34を介して自由空気に実質的に自由に送出されることになる。  The
  励振器26は、非磁性の軽量で剛性の円筒状巻型34と、この巻型34上に巻きつけられかつこの巻型によって支持された電気コイル36と、マグネット38と、を備えており、これらのすべてを図10の概略断面図で表している。マグネット38は本質的にカップ状であり、かつ円形の端部または底部壁38aと、円筒状の側面壁38bと、中実の円筒状の中央コア38cと、を備えている。マグネット38の中央コア38cの外表面と、巻型34の内部円柱状表面との間には、巻型に対してマグネットを応従性に支持するために軟らかな応従性の材料39が接着剤によって確保されており、これによりコイル36を交流電気信号によって付勢した際に、コイル36とマグネット38の間に作用する合成電磁気力によって巻型34とマグネット38の間に相対的なバイブレータ運動が生じる。分散モード・スピーカに関する当技術分野で知られているように、マグネットは、上述した以外には支持されていないが、マグネットは巻型より実質的により重いため、この重量によるマグネット38の機械的慣性の結果として、振動をパネル24に伝達することができる。分散モード・スピーカに関する当技術分野には周知のように、マグネット38に対して追加的な支持体(こうした追加的な支持体は図10では示しておらず、またこの実施形態に含めていない)を提供することが可能であるが、この支持体はそれでもマグネットのバイブレータ運動を許容していなければならない。  The
  図10に概略図で示したパネル24は、構造の前面から背面まで延びる通路を包含した内部ハニカム構造24aを備えており、これらの通路は前面および背面層24bおよび24cのそれぞれによって閉じられている。この構造は、分散モード・スピーカの設計原理に従って軽量となるように、またすでに上述したように励振器26の起動によって屈曲波の形態の共振分散モード振動に設定することが可能となるように選択されており、この励振器26は分散モード・スピーカに対する設計原理に従って適当に設計されていると共にこの目的のためにパネル24上に位置決めされている。  The
  すでに指摘したように、これらの振動を許容するためには、パネル24はフレーム28内で応従性に装着されている。図11は、この目的に適した応従性装着手段(すなわち、パネル24のエッジ領域24dとフレーム28(L字形の断面で示す)の背面28aの間に接着により確保した軟らかな発泡体ストリップ40)の一例を表している。ストリップ40は、パネル24のエッジ領域24eが領域24eの位置でフレーム24に全く付着しないで自由に振動できるように、その内部が不連続となっている。その分散モード・スピーカに関する設計原理に従って、パネル24の領域24dおよび24eの選択は、パネルを共振分散モード振動させるように励振できる能力を最適化するようにして実施される。  As already pointed out, the
  図12に概略図で表したように、各スピーカ・ユニット6は、図8に示した従来式増幅器4の出力への適当な配線を介した接続のためにありかつコーン・スピーカ10および12ならびに分散モード・スピーカ22に駆動用信号を供給するような1対の入力端子42を含んでいる。これらの信号は、一緒になって従来式クロスオーバー回路を構成する低域通過フィルタ44および高域通過フィルタ46を介してウーファおよびツイータのコーン・スピーカ10および12のそれぞれに供給され、またさらに高域通過保護フィルタ/減衰回路48を介して分散モード・スピーカ22に供給されている。このコーン・スピーカ10および12ならびにフィルタ44および46は、スピーカ14および16が一体となって可聴周波数レンジ(すなわち、20Hz〜20kHz)の実質的にすべてを再生でき、これにより従来式コーン・スピーカ・システムを構成できるように設計かつ配置されている。回路48内に高域通過保護フィルタを包含している分散モード・スピーカ22は、現在のトポロジー状態では分散モード・スピーカが少なくとも一般的には周波数が100Hz未満のサウンドを事実上再生できないことを考慮に入れながら、全周波数レンジのうちのできる限り多くを発生できるように設計かつ配置されている。したがって、この回路48は、100Hz未満の周波数を有する信号をカットオフし、分散モード・スピーカ22が100Hz〜20kHzのレンジ域内の周波数を再生できるように配置させている。分散モード・スピーカ22がコーン・スピーカ14および16が発生させる音圧レベル未満の音圧レベルを発生できるように、この回路48内には減衰器を含めてある。たとえば(実施した実験の内容に関して上で説明したように)−5db+3dbまたは−3dbの音圧レベルが好ましい音圧レベル差である。  As represented schematically in FIG. 12, each
したがって図8〜12の実施形態は、適当な品質の構成要素から製作すれば、従来式スピーカ単独、分散モード・スピーカ単独、あるいはウーファとして使用した従来式スピーカと組み合わせて分散モード・スピーカが単にツイータとして使用させている配置によって得られる空間広大性と比べて、空間広大性をより改善させた高忠実度の音楽再生システムを提供することができる。 Thus, the embodiment of FIGS. 8-12, when manufactured from components of appropriate quality, is simply a tweeter in combination with a conventional speaker alone, a distributed mode speaker alone, or a conventional speaker used as a woofer. It is possible to provide a high-fidelity music reproduction system in which the space expanse is further improved as compared with the space expanse obtained by the arrangement used as the device.
  高域通過保護フィルタ/減衰器回路48はユーザによって調節可能とし、これによりユーザがその選好および室内音響特性に応じて試行錯誤によって異なるレベルの減衰に設定できることが好ましく、さらにこの回路は、分散モード・スピーカに加えられる信号が0〜35msecレンジの遅延で導入できるように調節可能であることが好ましい。  The high pass protection filter /
使用時において、図8〜12を参照しながら記載したシステムのスピーカは従来の方式で位置決めされることがあるが、分散モード・スピーカが前方向だけではなく後方向にも放射できることをできるだけ保証すべきである、すなわちスピーカの背面は分散モード・スピーカからのサウンドの背面方向の伝播を妨げるような壁やその他のものに直に押しあてて配置させるべきではない。 In use, the speakers of the system described with reference to FIGS. 8-12 may be positioned in a conventional manner, but as much as possible to ensure that the distributed mode speakers can radiate not only forward but also backwards. Should not be placed directly against the wall or anything else that would impede the back propagation of sound from the distributed mode speaker.
第2の実施形態
  図13は、上で記載したような従来式入力デバイス、従来式ステレオ増幅器、および1対の従来式コーン・スピーカ50を備えた従来式の高忠実度音楽再生システムが、従来式高忠実度システムを本発明の教示に従ったシステムに変換する右チャンネル用に1つおよび左チャンネル用に1つとした1対の補助サウンド再生ユニット52によって補助されているような本発明の代替的な実施形態を表している。Second Embodiment FIG. 13 shows a conventional high fidelity music playback system comprising a conventional input device, a conventional stereo amplifier, and a pair of
  各補助ユニット52は、分散モード・スピーカ54と、増幅器4の左および右スピーカ出力のそれぞれの1つに接続された入力端子58を有する信号調節処理増幅器56と、それぞれの分散モード・スピーカ54に接続された出力端子60と、を備えている。各信号調節処理増幅器56は、参照番号62で示すように主電源供給を受けている。便宜上、入力端子58は、スピーカ・ユニット50の端子までそれぞれ短い配線長で接続されており、このため追加的な長い配線が増幅器4の出力と補助ユニット52の入力の間に接続されるのを回避することができる。  Each
  図14は、各信号調節処理増幅器56のブロック図である。図示したように、減衰器64が入力端子58に接続されており、この減衰器64はディジタル制御式のボリューム制御回路66に信号を供給しており、このボリューム制御回路66の出力は7バンド・イコライザー68を介してパワー増幅器70に供給されており、またこのパワー増幅器70の出力は端子60に接続されている。  FIG. 14 is a block diagram of each signal
  減衰器64は、上で低レベル信号と呼んだ信号をディジタル式ボリューム制御66に供給するためのタップ74を有する端子58の両端に接続した高抵抗値抵抗器72を備えている。この抵抗器72の抵抗値は、信号調節処理増幅器56とスピーカ50の両者を増幅器4の出力端子間に接続することによって生じる総インピーダンスがスピーカ50単独の場合に提供されるインピーダンスとできるだけ近くなるようにその値を選択し、これにより従来式コーン・スピーカ50に加えて補助ユニットに接続したことによって増幅器4が悪影響を受けないようにしている。  The
  7バンド・イコライザーは、7つの異なる周波数バンドで加えられる相対的増幅をプリセットするための多数のプリセット制御68aを含んでいる。制御68aの設定は、分散モード・スピーカ54の周波数応答の任意の変動に対して少なくともある程度補償するように、ならびに、100Hz未満の周波数など分散モード・スピーカによって満足の行く再生が不可能であるような任意の低い周波数をカットオフするように選択される。  The 7 band equalizer includes a number of preset controls 68a for presetting the relative amplification applied in 7 different frequency bands. The setting of the control 68a is at least partially compensated for any variation in the frequency response of the distributed
  マイクロコントローラ76は、ディジタル式ボリューム制御回路66、イコライザー68およびパワー増幅器70を制御している。一方マイクロコントローラ76は、システムのユーザ、ならびにハンドヘルド式のリモート制御デバイス(図示せず)に応答してボリュームを調整するための赤外線検出器80からの信号によって動作可能なマニュアル式のボリューム制御デバイス78によって制御を受け、これにより、システムのユーザは分散モード・スピーカが発生させるサウンドのボリュームをコーン・スピーカが発生させるボリュームを基準として調整することができる。電力の無駄を防ぐために、デバイス56は、増幅器4から全く信号が供給されない場合にパワーダウン・モードに入るように製作されている。入力検出器回路82は、タップ74に接続されており、またタップ74の位置に現れる信号の検出に応答して制御信号をマイクロコントローラ76に供給しており、これによってマイクロコントローラ76は回路が動作しているモードであるパワーアップ・モードに入るようにプログラムされている。  The
  図13および14の実施形態では、従来式コーン・スピーカ50は全周波数レンジにわたって動作し、また分散モード・スピーカ54は上の実施形態に関連してすでに検討したように当該レンジのうちのできるだけ広い範囲にわたって動作しており、またこの結果として、図13および14を参照しながら記載したように1対の補助ユニットを既存の高忠実度サウンド再生システムに追加することによって、既存のシステムを本発明を実現しておりかつ空間広大性の改善を提供する改良型のシステムに変換することができる。  In the embodiment of FIGS. 13 and 14, the
  したがって補助ユニット52は、全体として高忠実度システムとは別に製作されかつ販売されているため、これを既存の高忠実度システムに追加することができる。信号調節処理増幅器56は、分散モード・スピーカを支持するベースまたはハウジングの上または中に物理的に装着させることや、さらに別法としてこれとは分離させることがある。  Therefore, since the
  さらに、図13は2つの別々の信号調節処理増幅器56を表しているが、別法として、2チャンネル信号調節処理増幅器に対して、入力減衰器64と、ディジタル式ボリューム制御66と、イコライザー68と、これら2つのチャンネルを制御する単一のマイクロコントローラとしてすでに示したパワー増幅器70と、を備えたチャンネルを設けることも可能である。こうした配置では、入力検出器はこれら2つの入力減衰器に接続させると共に、チャンネルのうちのいずれか一方、またはこれら両チャンネル上の信号に応答して回路をパワーアップ・モードに入らせるように配置されている。こうした2チャンネル信号調節処理増幅器は、そのすべての構成要素を単一のハウジングの内部に包含させて有することがあり、これらの構成要素は分散モード・スピーカのうちの1つのためのベースまたは支持用ハウジング内に組み込まれることや、また別法として、分散モード・スピーカとは別のものとして製作されることもある。単一のマイクロコントローラを提供するとさらにコストも低減される。  Further, although FIG. 13 represents two separate signal
  既存のサウンド再生システムに対する補助ユニット52の接続動作をできるだけ簡略化するために、各補助ユニット52には入力端子58に直接接続されておりかつ短い配線長(図示せず)による既存の従来式コーン・スピーカへの接続のための追加的な出力端子(図示せず)が設けられることがあり、これは製作および販売の際に補助ユニット内に包含させることがある。上述のような2チャンネル信号調節処理増幅器を設けている修正形態では、各チャンネルごとに1つとして、こうした追加的な出力端子が2組存在することになる。  In order to simplify the connecting operation of the
第3の実施形態
  図15は、信号調節処理増幅器に対して高(スピーカ)レベル(図14の配置の場合と同様)のみならずラインレベルでも入力を受け取ることを可能とさせるための、図14に示した回路の入力端に対する修正を表している。この目的のためには、入力スイッチ84のうちの一方の入力に接続させてラインレベル入力端子82を設けており、このもう一方の入力は減衰器64の出力に接続させている。入力検出器回路80は、その一方がタップ74に接続されかつもう一方がライン入力82に接続された2つの入力を有する検出器回路86によって置き換えられている。入力検出器回路86は、マイクロコントローラ76にライン入力82またはタップ74の位置に信号が現れたことを示す信号を送信するように配置されており、またマイクロコントローラは、この信号を解釈し、入力スイッチ84をライン入力とタップ74のいずれかにその出力が接続されるように適当に設定している。図14を参照しながら記載したように、マイクロコントローラはさらに、入力検出器86からの信号に応答して回路をパワーアップ・モードの入らせている。Third Embodiment FIG. 15 is a diagram for enabling a signal conditioning processing amplifier to receive input at a line level as well as at a high (speaker) level (similar to the arrangement of FIG. 14). Represents a modification to the input end of the circuit shown in FIG. For this purpose, a line
図14の実施形態の場合と同様に、左チャンネルと右チャンネルの両者は、すでに記載したように、単一のユニットの内部に設けられると共に、単一のマイクロコントローラによって制御を受けることが可能である。 As in the embodiment of FIG. 14, both the left and right channels can be provided within a single unit and controlled by a single microcontroller, as already described. is there.
  さらに上述のように、既存のサウンド再生システムに対する補助ユニットの接続動作を簡略化するために、入力端子58に直接接続させておりかつ従来式コーン・スピーカ50への接続のためにある追加的な出力端子を設けることがある。  Further, as described above, in order to simplify the connecting operation of the auxiliary unit to the existing sound reproduction system, there is an additional connection directly connected to the
第4の実施形態
  図16は、従来式の高忠実度システムを本発明の実施形態に変換するための補助ユニットの代替的形態を表している。図16では、この従来式高忠実度ユニットは、入力デバイス2および従来式増幅器4および1対の従来式コーン・スピーカ50(この実施形態では、このシステムに付加する分散モード・スピーカと比べてより高効率であると仮定している)を備えている。したがって、図16は、その各々が入力端子90に接続された分散モード・スピーカ54と、従来式コーン・スピーカ50への接続を目的とした入力端子90と出力端子94の間に接続された減衰器回路92と、を備える左および右補助ユニット88を表している。Fourth Embodiment FIG. 16 represents an alternative form of auxiliary unit for converting a conventional high fidelity system into an embodiment of the present invention. In FIG. 16, this conventional high fidelity unit comprises an
  図16に示した配置は、スピーカをすべて接続したときに端子90間のインピーダンスが、増幅器4が取り扱い可能なインピーダンスのレンジ域内に来るものと仮定している。  The arrangement shown in FIG. 16 assumes that when all the speakers are connected, the impedance between the
第5の実施形態
  図17は、分散モード・スピーカ54がコーン・スピーカ50と比べてより高効率であると仮定した配置である点を除けば図16に示したのと同様の配置である。したがって、減衰器回路92は、入力端子90と出力端子94の間ではなく、入力端子90と分散モード・スピーカ54の間に接続されている。図16の場合と同様に、図17では、スピーカをすべて接続したときの端子90間の総インピーダンスは増幅器4が取り扱い可能なインピーダンスのレンジ域内に来るものと仮定している。Fifth Embodiment FIG. 17 is an arrangement similar to that shown in FIG. 16 except that the arrangement assumes that the distributed
第6の実施形態
  図18を参照すると、サウンド再生システムは、上で記載したような従来式入力デバイス2と、第1および第2の左チャンネル・ステレオ出力端子102、104を分散モード・スピーカ106と従来式コーン・スピーカ108のそれぞれに接続させて有しかつ第1および第2の右チャンネル・ステレオ出力端子110、112を分散モード・スピーカ114と従来式コーン・スピーカ116のそれぞれに接続させて有している目的別構築のステレオ音響式増幅器100と、を備えている。従来式コーン・スピーカ108および116はその両方が全周波数レンジ・スピーカであることが好ましく、またたとえば、従来式クロスオーバー回路を備えて2ウェイまたは3ウェイ式デバイスとし、これらのコーン・スピーカが協働してこのレンジ(すなわち、20Hz〜20kHz)内のサウンドを再生することがある。さらに上で記載したように、分散モード・スピーカ106および114によって全レンジのうちのできる限り広いレンジをカバーさせ、上で記載したように少なくとも100Hz〜20kHzのレンジ内のサウンドを発生させている。Sixth Embodiment Referring to FIG. 18, the sound reproduction system includes a
  図19に示したように、増幅器100は、従来式デバイス2からユーザ選択の入力を受け取るための左および右出力端子120、122をそれぞれ有する従来式入力選択器回路118を含んでいる。左出力端子120は、その出力がそれぞれ端子102および104に接続されている左分散モード・スピーカ信号処理チャンネル124と左コーン・スピーカ信号処理チャンネル126の両方の入力端子に接続されている。入力選択器118の右出力端子122は、その出力がそれぞれ端子110および112に接続されている右分散モード・スピーカ信号処理チャンネル128と右コーン・スピーカ信号処理チャンネル130の両方の入力に接続されている。  As shown in FIG. 19, the
  チャンネル124、126、128および130は、従来式制御136および相対ボリューム制御140からなる組からの制御入力を受け取っているマイクロコントローラ132によって制御を受けている。従来式制御136はシステムのユーザによって作動させるように配置されていると共に、左右バランス制御、トレブルおよびバス制御、グラフィック・イコライザー制御その他などの通常の制御のすべてを含むことがある。相対ボリューム制御140はさらに、ユーザ作動を受けるように配置させており、また一方では分散モード・スピーカ106および114と、もう一方では従来式コーン・スピーカ108および116との間の相対ボリュームを設定するためのものである。  
  分散モード・スピーカ・チャンネル124の各々は、ディジタル式ボリューム制御と、プリセットを備えた7バンド・イコライザーと、図14を参照しながら記載したような構成要素66、68、68a、70と同様のパワー増幅器と、を備えている。コーン・スピーカ・チャンネル126および128の各々は、通常のフィルタ、ボリューム制御(このケースではディジタル制御式)、パワー増幅器およびグラフィック・イコライザーなどの従来式コーン・スピーカを適宜または所望により駆動するための従来式回路を備えている。  Each of the distributed
  従来式制御136は、4つのチャンネル124、126、128、130を制御して従来式制御138の設定(ボリューム、フィルタ処理、均等化など)に従った要求された出力を発生させている。相対ボリューム制御140は、一方では端子102および110に加えられる信号のまたもう一方では端子104および112の相対パワーレベルを調整し、これにより従来式コーン・スピーカ108および106が発生させるボリュームまたは音圧レベルを基準として分散モード・スピーカ106および114が発生させるボリュームまたは音圧レベルを調整することができ、好ましくは分散モード・スピーカの出力を上で説明したように従来式コーン・スピーカの出力に対して−5デシベル±3デシベルに設定することが可能となり、またさらにユーザ選好や室内の音響特性ならびに使用するスピーカの特性を考慮に入れるための別の可能な設定が提供される。  The
したがって、この実施形態によれば、記載したような分散モード・スピーカおよびコーン・スピーカに対する単純接続により本発明を実現するための、第1および第2の左チャンネルと第1および第2の右チャンネルとを有する新規性のあるステレオ音響式増幅器が提供される。 Thus, according to this embodiment, the first and second left channels and the first and second right channels for implementing the present invention with a simple connection to the distributed mode speaker and cone speaker as described. A novel stereo acoustic amplifier is provided.
第7の実施形態
  図20は、自己完結型サウンド再生装置142を備えた本発明の別の実施形態のブロック図である。自己完結型装置142は、アクティブ分散モード・スピーカ145およびアクティブ従来式コーン・スピーカ146のそれぞれに接続するための第1および第2の左ラインレベルのコネクタ・ソケット143および144と、アクティブ分散モード・スピーカ149およびアクティブ従来式コーン・スピーカ150のそれぞれに接続するための第1および第2の右ラインレベルのコネクタ・ソケット147および148と、を有している。スピーカに関して「アクティブ(active)」という単語は、従来式においてもまた図面での例示においても、そのスピーカに組み込み式のパワー増幅器が設けられており、これによりスピーカはラインレベル信号からのサウンドの再生が可能であることを意味している。Seventh Embodiment FIG. 20 is a block diagram of another embodiment of the present invention comprising a self-contained
  自己完結型再生装置142は、左および右出力が左および右チャンネル152および153のそれぞれに供給されている1つまたは複数のステレオ信号源151(たとえば、FMラジオチューナおよび/またはコンパクトディスク・プレーヤ)を含んでいる。これらのチャンネルの各々は、相対ボリューム制御回路156の入力と、主パワー増幅器157の入力と、左チャンネルの場合では出力ソケット144また右チャンネルの場合では出力ソケット148と、に接続されている出力端子155を有するボリューム制御154を備えている。装置142内には左および右の従来式の組み込みコーン・スピーカ158が含まれていると共に、それぞれのスイッチ159を介してそれぞれパワー増幅器157の出力に接続されている。コネクタ143、144、147、148は、標準プラグを受け容れるための標準ソケットであることが好ましい。ソケット144および148からそれぞれスイッチ159までの間には機械的接続が設けられておりプラグ(図示せず)をこれらのソケット内に挿入したときにこれらのスイッチが開放されて組み込み式のスピーカを切り離すことができる。  The self-contained
  ユーザによる操作を受ける主ボリューム制御デバイス160が、この2つのチャンネルの主ボリューム制御回路154を同時に制御している。相対ボリューム制御回路156を調整して分散モード・スピーカの出力をコーン・スピーカの出力を基準として調整するために、ノブなどのユーザ操作のコントロール素子が設けられている。この実施形態では、この2つの相対ボリューム制御回路の各々は、それ自身の個別のユーザ操作のコントロール素子を有しており、これにより左および右チャンネルのそれぞれにおける分散モード・スピーカおよびコーン・スピーカの相対ボリュームを個々に調整することができる。所望であれば、この回路は、左および右チャンネルの各相対ボリュームを同時に調整するようにユーザにより作動させる単一の相対ボリューム制御素子が提供されるように修正されることがある。  A main
  スピーカ145、146、149および150により再生させる周波数レンジは分散モード・スピーカおよび従来式コーン・スピーカ向けとして上で記載したようにすること、ならびに相対ボリュームはこの明細書のさまざまな箇所ですでに記載したようにして調整できることが好ましい。  The frequency range reproduced by
  図20の説明から明らかであろうように、分散モード・スピーカ145および149は、外部のコーン・スピーカ146および149との組み合わせること、あるいは組み込み式のスピーカ158と一緒にすることのいずれにおいても使用することができる。  As will be apparent from the description of FIG. 20, distributed
  自己完結型サウンド再生装置142は、ポータブル・ラジオ、ポータブルCDプレーヤ、あるいはポータブル・ラジオ/CDプレーヤなどのポータブル・デバイスの形態とさせることがあり、またたとえば、テレビジョン受像器のサウンド・システムやポータブル・コンピュータなどのコンピュータのサウンド・システムとすることがある。  The self-contained
第8の実施形態
  図21の実施形態は、組み込み式のスピーカ158、主増幅器157およびスイッチ159(ならびに、ソケット144および148への関連する機械的リンク)が省略されている点を除けば図20の実施形態と同じである。Eighth Embodiment The embodiment of FIG. 21 is similar to that of FIG. 20 except that the built-in
第9の実施形態
  図22および23は、左および右チャンネルのラインレベル出力166および167のそれぞれを有する、CDプレーヤやテープ・プレーヤなどの従来式ポータブル・プレーヤ165によって増幅器ユニット164を介して駆動を受ける図18を参照しながら記載したような左分散モード・スピーカおよび従来式コーン・スピーカと、右分散モード・スピーカおよび従来式コーン・スピーカ106、108、114および116と、を備える本発明の一実施形態を表している。Ninth Embodiment FIGS. 22 and 23 are driven through an
  この増幅器ユニットは、左および右チャンネル・バッファ増幅器169、170、第1および第2の左チャンネル・パワー増幅器171、172、ならびに第1および第2の右チャンネル・パワー増幅器173および174を包含するハウジング168を備えている。左および右チャンネル入力リード線175および176は従来式プラグ177、178によってラインレベル出力166および167のそれぞれに接続させ、ポータブル・プレーヤ165が発生させる左および右ラインレベル信号をバッファ増幅器169および170の入力のそれぞれに供給している。左チャンネル・パワー増幅器171、172は、端子179および180を介して分散モード・スピーカ106と従来式コーン・スピーカ108のそれぞれを駆動するためにバッファ増幅器169が発生させる信号を独立に増幅している。同様に、右チャンネル・パワー増幅器173および174は、端子181および182のそれぞれを介して右分散モード・スピーカ114および右従来式コーン・スピーカ116を駆動するためにバッファ増幅器170によって供給される信号を増幅している。  The amplifier unit includes a housing containing left and right
  4つのパワー増幅器171、172、173、174は、これら4つのスピーカ出力を個々に調整できるようにするためにそれぞれのボリューム制御回路を含んでいる。この実施形態において分散モード・スピーカおよび従来式コーン・スピーカを動作させる領域である周波数レンジは上で記載したようにしており、また分散モード・スピーカと従来式コーン・スピーカの間の音圧出力の差もまた上で記載したレンジ域内で調節可能としている。  The four
  したがって増幅器ユニット164は、2つの従来式コーン・スピーカとこの従来式ステレオ・プレーヤの外部にある2つの分散モード・スピーカとを付加することによって、ラインレベル出力を有する従来式ステレオ・プレーヤを使用して本発明を実現することが可能である。増幅器ユニットはこれ以外の構成要素とは別に製作され販売されることがある。また接続用のリード線と一緒に販売されることやこうしたリード線なしで販売されることがある。  Thus,
図22および23に図示した個々のプラグ177および178は、一修正形態では、そのプレーヤに受け容れられるタイプの従来式ソケットが設けられていれば「ミニプラグ」などの標準ステレオ・プラグに置き換えられることがある。 The individual plugs 177 and 178 illustrated in FIGS. 22 and 23 are, in one modification, replaced with standard stereo plugs such as “mini plugs” if a conventional socket of the type acceptable to the player is provided. Sometimes.
第10の実施形態
  図24は、自己完結型サウンド再生装置の形態をさせた本発明の別の実施形態を表している。この装置は、本発明の実現形態で必要となる構成要素をすべて包含するような参照番号185で概略図として示したハウジングを備えている。したがって、ハウジング185は、左および右分散モード・スピーカ186、187と、その各々がツイータ188aおよび189a、ウーファ188bおよび189bならびに従来式クロスオーバー回路188cおよび189cを備えた左および右の2ウェイ従来式コーン・スピーカ・システム188および189と、を包含している。1つまたは複数のステレオ信号源は、必要とされる制御およびスピーカ駆動回路と一緒にして、その全体を参照番号190で示しており、これらもまたハウジング185内に包含されていると共にボリューム、バランス、トレブルおよびバス制御などの通常のユーザ作動式制御が設けられている。分散モード・スピーカおよび従来式コーン・スピーカを駆動しかつ制御するための信号チャンネルは上で記載したのと同様とすることがあり、またしたがって分散モード・スピーカと従来式スピーカのボリューム・レベルを互いに対して相対的に調整するために全体ボリューム制御と相対ボリューム制御の両方を含むことがある。Tenth Embodiment FIG. 24 shows another embodiment of the present invention in the form of a self-contained sound playback device. This device comprises a housing, shown schematically at
  上の実施形態の場合と同様に、分散モード・スピーカが発生させる周波数レンジは従来式コーン・スピーカが発生させる周波数レンジと、実質的に重複しているか、または好ましくは実質的に同じである。ただし自己完結型ポータブル・デバイスの場合では、その周波数レンジは、たとえば自宅において使用するためなどの高忠実度システムの場合と比べてより小さいことがある。自己完結型デバイス185はポータブル・ラジオおよび/またはCDおよび/またはテープ・プレーヤ、テレビジョン受像器またはポータブル・コンピュータなど多様な異なる形態のうちのいずれをとることもあり得る。本発明をコンピュータ内で具現化させる場合、その制御のうちの一部または全部をソフトウェアで実現させることがある。  As in the above embodiment, the frequency range generated by the distributed mode speaker is substantially the same as or preferably the same as the frequency range generated by the conventional cone speaker. However, in the case of a self-contained portable device, its frequency range may be smaller than in a high fidelity system, for example for use at home. The self-contained
第11の実施形態
  本発明は、いわゆる「サラウンドサウンド」システムで使用することができる。図25は、こうした実現形態の一例を表している。Eleventh Embodiment The present invention can be used in a so-called “surround sound” system. FIG. 25 shows an example of such an implementation.
  図25を参照すると、従来式サラウンドサウンド入力デバイス191が、聴取室内の適当な箇所に位置決めされたそれぞれ異なるスピーカ6にその各々が接続されている5つのチャンネル(すなわち、左側、中央および右側の前チャンネルと左側面および右側面チャンネル)を有する従来式サラウンドサウンド増幅器192に接続されている。スピーカ6は、その各々が図9〜13を参照しながら詳細に記載したものと同様であり、これによりサラウンドサウンド・システムにおいて本発明を実現することができる。  Referring to FIG. 25, a conventional surround
ディジタル式ピアノにおける本発明の実施形態
  目下のところ入手可能な最良品質のディジタル式ピアノであっても、発生させるサウンドはかなり非音楽的(unmusical)であることはよく知られている。ディジタル式ピアノにおいて本発明の教示を具現化することによれば、ディジタル式ピアノからさらにより臨場感のある音楽サウンドを発生させることが可能となる。具体的には、本発明によるディジタル式ピアノは、そのピアノが適当な品質に製作されている場合に聴き手に対して、発生させたサウンドが高品質の音響グランドピアノのサウンドと品質的に近いとの印象を与えられるようなランダムな成分を備えた極めてリッチさを高めたサウンドを発生させることができる。最上品質の音響ピアノのコストと比べてかなり低いコストでこれを達成することができる。Embodiments of the present invention in a digital piano It is well known that even the best quality digital pianos currently available, the sound produced is fairly unmusical. By embodying the teachings of the present invention in a digital piano, it is possible to generate a more realistic music sound from the digital piano. Specifically, the digital piano according to the present invention is similar in quality to the sound of a high-quality acoustic grand piano for the listener when the piano is manufactured to an appropriate quality. It is possible to generate a very rich sound with a random component that gives the impression. This can be achieved at a much lower cost compared to the cost of a top quality acoustic piano.
グランドピアノ
  図26は、本発明の一実施形態によるディジタル式グランドピアノの斜視図を表している。ピアノは、脚部201上に支持されると共に、従来式の支線203によって開放位置に支持されている状態を図示している従来式ヒンジ付ふた202を有するケーシング200を備えている。通常の機能を実行するディジタル式ピアノで使用される従来タイプの鍵盤204と1組のペダル205は、ケーシング200によって通常の位置で支持されている。このピアノは(ディジタル式ピアノの技術分野ではすでに知られているように)演奏者に対して良質のコンサート用グランドの感覚を提供する目的で鍵盤に接続された従来式の高品質グランドピアノ・アクション(図示せず)を含むことが好ましい。Grand Piano FIG. 26 is a perspective view of a digital grand piano according to an embodiment of the present invention. The piano includes a
  ケーシング4は、鍵盤のうちのトレブル、ミッドレンジおよびベースの部分とそれぞれ整列するように配置されたツイータ216、ミッドレンジ・ユニット214およびサブウーファ218をその各々が備えている2つのスピーカ・アセンブリ210および212を支持している。スピーカ216、214および218の各々は、そのコーンが垂直に上方向を向いており、かつこれにより発生させたサウンドがピアノのふたによって反射されるように配置させた従来式の電磁駆動式のコーン・スピーカである。この向きはツイータおよびミッドレンジ・スピーカに関して特に好ましいものであるが、サブウーファの向きはそれほど重要ではない。  The
  ケーシング4はさらに、上方向および下方向にサウンドを放射するために水平に位置決めされた2つの分散モード・スピーカ220および222を支持している。一例として、分散モード・スピーカ220、222のパネルはそれぞれの寸法を700×500mmとすることもあり得る。  The
従来式スピーカを鍵盤の近くでグループにしかつ分散モード・スピーカを鍵盤から離している図26に示したスピーカの配置は、単に例示であることを理解すべきである。別法として、従来式および分散モード・スピーカを交互に配置させることや、図面に示した配置と逆の関係の位置とさせることもある。さらに、従来式スピーカ・アセンブリのツイータ、ミッドレンジ・ユニットおよびサブウーファは分離させて分散モード・スピーカと交互配置させることもある。 It should be understood that the speaker arrangement shown in FIG. 26, where conventional speakers are grouped near the keyboard and the distributed mode speakers are separated from the keyboard, is merely exemplary. Alternatively, conventional and distributed mode loudspeakers may be placed alternately or in a position opposite to that shown in the drawings. In addition, the tweeters, midrange units, and subwoofers of conventional speaker assemblies may be separated and interleaved with distributed mode speakers.
  図27に示すように、フットペダル・スイッチ206からの信号、ならびにピアノの鍵盤204の下側に配置させた赤外線ピックアップ207(図26では図示せず)からの信号に応答して発生させたMIDI信号は、グランドピアノのサウンドを複製した音響信号を発生させるためにそのいずれもがMIDI信号およびフットペダル・スイッチ107に応答するように配置されている第1のオーディオ信号発生器230と第2のオーディオ信号発生器231に送られる。この第1および第2の発生器230、231はこの目的に関して知られているソフトウェアを包含した従来式コンピュータによって実現されることがある。  As shown in FIG. 27, MIDI generated in response to a signal from the
  この実施形態では、第1のオーディオ信号発生器230は、第1の高品質サンプル・ライブラリ232と、第1のサウンド・モジュール234と、を備えている。第2のオーディオ信号発生器は、第2の高品質サンプル・ライブラリ237と、第2のサウンド・モジュール238と、物理モデル化ユニット239と、を備えている。それぞれのライブラリ232および237は、異なる高品質グランドピアノ(好ましくは、コンサート用グランド)から記録されディジタル式サンプルを含んでいる。したがってたとえば、第1のサウンド・サンプル・ライブラリ232は1.6Gb  Steinwayサンプル・ライブラリを含むことがあり、また第2のサンプル・ライブラリ237はYamaha  30Mb  サンプルサウンド・ライブラリを含むことがある。サウンド・モジュール234、238は受信したMIDI信号およびフットペダル・スイッチ107からの信号に応答してサウンド・ライブラリ232、237からサウンド・サンプルを選択するためのソフトウェア・プログラムを備えている。第2のサンプル・ライブラリ237が(この実施形態の場合)第1のサンプル・ライブラリ232と比べてかなり小さいため、第2のオーディオ信号発生器231はさらに、第2のサウンド・モジュール238によって選択したサウンド・サンプルを従来の方式で変更するように配置させた物理モデル化ユニット239を含んでいる。  In this embodiment, the first
  発生器230からの音響信号は、増幅器240によって増幅され、またこの増幅された信号によってその2つの分散モード・スピーカ220、222に対応するこの2つを駆動している。  The acoustic signal from the
  発生器231からの音響信号は増幅器245によって増幅され、さらに2つの従来式スピーカ210、212を駆動するためにクロスオーバー・ユニット247に供給される。クロスオーバー・ユニット247は、高周波数、ミッドレンジおよび低周波数信号を従来式スピーカ210、212のそれぞれツイータ216、ウーファ214およびベース218に従来の方式で送っている。  The acoustic signal from
このコーン・スピーカは、可聴周波数レンジの実質的に全レンジ(すなわち、20Hzから20kHzまで、あるいは45Hzから20kHzまで)にわたるサウンドを再生する。この分散モード・スピーカは、このレンジのうちのできるだけ多くの部分(すなわち、80Hzから20kHzまで、あるいは100Hzから20kHzまで)にわたるサウンドを発生させる。分散モード・スピーカによって提供される音圧レベルは、この場合も上で記載したのと同様にして、あるいはこのピアノが演奏される音楽堂や聴取室の音響特性に応じて従来式コーン・スピーカが発生させる音圧レベルと比べてより低くなるように調整されることがあり、また分散モード・スピーカの出力は従来式コーン・スピーカの音圧レベルに対して実質的に同じ音圧レベルを有することや、これよりさらに高い音圧レベルを有することがある。分散モード・スピーカの音圧レベルを従来式コーン・スピーカの音圧レベルと独立に変更可能とするには、分散モード・スピーカとコーン・スピーカに対して独立したボリューム制御を設けることが好ましい、ただしこれらは図面には図示していない。 The cone speaker reproduces sound over substantially the entire audible frequency range (ie, 20 Hz to 20 kHz, or 45 Hz to 20 kHz). This distributed mode speaker generates sound over as much of this range as possible (ie, 80 Hz to 20 kHz, or 100 Hz to 20 kHz). The sound pressure level provided by the distributed mode speaker is again the same as described above, or according to the acoustic characteristics of the music hall or listening room where the piano is played, May be adjusted to be lower than the generated sound pressure level, and the output of the distributed mode speaker has substantially the same sound pressure level as the sound pressure level of a conventional cone speaker Or it may have a higher sound pressure level. In order to be able to change the sound pressure level of the distributed mode speaker independently of the sound pressure level of the conventional cone speaker, it is preferable to provide independent volume control for the distributed mode speaker and the cone speaker. These are not shown in the drawing.
ピアノが演奏されているときに、分散モード・スピーカと従来式スピーカは同時に駆動を受ける。その結果、分散モード・スピーカおよび従来式コーン・スピーカがそれぞれに伝播させる異なる空気じょう乱パターンが複合されてこの異なるパターン間の相互作用がランダムに変化することに起因して複雑さやリッチさを有する空気じょう乱パターンが生成され、これにより、いずれか一方のタイプのスピーカが個々に発生させるとした場合と比較して実質的によりリッチなサウンドを発生させることができる。さらに、このリッチさは分散モード・スピーカを駆動するために使用される信号が従来式スピーカを駆動するために使用される信号と異なるという意味で強調される。 When the piano is being played, the distributed mode speaker and the conventional speaker are driven simultaneously. The result is complexity and richness due to the combination of different air turbulence patterns propagating to each of the distributed mode and conventional cone speakers, and the interaction between the different patterns changing randomly. An air turbulence pattern is generated, which can produce a substantially richer sound than if either type of loudspeaker would individually generate. Furthermore, this richness is emphasized in the sense that the signal used to drive a distributed mode speaker is different from the signal used to drive a conventional speaker.
さらに、上述の実験に関連して説明したように、分散モード・スピーカと従来式コーン・スピーカのこの組み合わせによって空間広大性に関する改良が達成される。 Furthermore, as described in connection with the above experiments, this combination of distributed mode loudspeaker and conventional cone loudspeaker achieves an improvement in spatial spaciousness.
この実施形態では、グランドピアノの2つの異なるモデルからのサンプルを利用しているが、3つ以上の異なるグランドピアノからのサンプル(この場合、スピーカのうちの異なるスピーカがそれぞれ異なる組のサンプルから導出された信号によって駆動されることもあり得る)を利用することによって一層のリッチさを達成することができる。さらに、SteinwayやYamahaのサンプル以外のサンプルを使用することがあり、また利用されるサウンド・ライブラリは、これら両者が目下のところ最新技術を考慮に入れて利用可能な最大サンプル数を包含するようにすることがある(また、最高品質機器の場合では、このようであることが好ましい)。より具体的には、コンピュータ・メモリの容量が増加しかつコストが低下するに従って、益々多くのサンプルを包含したサウンド・ライブラリを提供することが可能となり、したがってサウンドの品質が益々向上する可能性がある。 In this embodiment, samples from two different models of the grand piano are used, but samples from three or more different grand pianos (in this case, different speakers of the speakers are derived from different sets of samples, respectively). Further richness can be achieved by utilizing (which may be driven by the signal generated). In addition, samples other than Steinway and Yamaha samples may be used, and the sound libraries used will both include the maximum number of samples currently available taking into account the latest technology. (And preferably in the case of the highest quality equipment). More specifically, as the amount of computer memory increases and costs decrease, it becomes possible to provide a sound library that contains more and more samples, thus potentially improving the quality of the sound. is there.
ディジタル式アップライトピアノ
  図28を参照すると、図26および27のピアノが発生させるサウンドと比べてより品質が低いサウンドを発生させることがあるが、コストはより低いことがあるようなディジタル式アップライトピアノは、1対の分散モード・スピーカ253ならびに1対の従来式コーン・スピーカ254を支持しているバックパネル252を有するケーシング251を備えている。この実施形態では、上の実施形態と異なり、コストを低減させるために、設けているコーン・スピーカは2つだけである。分散モード・スピーカ253はケーシング251のバックパネル252の面と平行の向きに設けられている。この2つの従来式スピーカ254のコーンは、コーンの軸がバックパネル252の面と直交するように方向付けされている。Digital Upright Piano Referring to FIG. 28, a digital upright that may produce a lower quality sound than the sound produced by the pianos of FIGS. 26 and 27, but may be less costly. The piano includes a
  図29は、図28のピアノのブロック概要図である。上の実施形態と異なり、コストの節減のために、サウンド・ライブラリ262およびサウンド発生モジュール260を備えた単一のオーディオ信号発生器230だけが設けられている。発生器230は、赤外線ピックアップ207およびフットペダル・スイッチ207から受け取った信号に基づいて、サウンド・ライブラリ262を用いて音響信号を発生させている。  FIG. 29 is a block schematic diagram of the piano of FIG. Unlike the above embodiment, only a single
  上の実施形態の場合と同様に、分散モード・スピーカ253および従来式コーン・スピーカ254は、増幅器245、247を介して同時に駆動を受けるように配置させ、電子ピアノに対して分散モード・スピーカ253および従来式スピーカ254によるサウンド出力の合成にあたる空気じょう乱パターンを生成させ、これにより上で説明したような音響機器が発生させるサウンド伝播に対する類似をより緊密にすることができる。さらに、図29から明らかであるようにこれら2つのコーン・スピーカ254は同一のものであるため比較的制限された周波数レンジを有するものと仮定しているためにクロスオーバー回路を全く含めていないが、分散モード・スピーカの周波数レンジは従来式コーン・スピーカの周波数レンジとできるだけ深く重複させ、実験に関連して上で検討したようにサウンドの空間広大性を強調させるべきである。図28および29の実施形態によって発生させるサウンドの品質は図26および27の実施形態によって発生させるサウンドの品質と同程度にすることはできないが、構成要素の品質を適当にすれば、図28および29の実施形態であっても多くの目下のところ入手可能なディジタル式ピアノと比べてより高い全体的品質を達成することも可能である。  As in the case of the above embodiment, the distributed
  ある種の追加的な改良を提供するために、図29の回路に対する修正について図30に表している。この図では、発生器230、260が発生させた音響信号がディジタル式信号処理ユニットなどの信号修正ユニット265に送られ、この信号修正ユニット265はコーン・スピーカ254を駆動させる増幅器247に送られて修正済み信号を発生させている。信号修正ユニット265は、サウンド発生ユニット260が出力した音響信号のタイミングおよび音質を変更するように配置させることがある。この信号修正ユニット265は、サウンド発生ユニット260が出力した信号を修正する方式のユーザによる選択を可能にしている従来式のユーザインタフェース(図示せず)を含んでいる。この方式によれば、コーン・スピーカを駆動する信号の品質が分散モード・スピーカを駆動する信号の品質と異なるため、サウンドのリッチさをある程度まで強調することができる。所望であれば、追加的な信号修正ユニットをサウンド発生モジュール260と分散モード・スピーカを駆動する増幅器245との間に配置させ、さらにリッチさを導入することも可能である。  A modification to the circuit of FIG. 29 is illustrated in FIG. 30 to provide certain additional improvements. In this figure, the acoustic signals generated by the
上の3つの実施形態では、分散モード・スピーカの対と従来式スピーカの対とを介してサウンドが出力されるように記載したが、空気じょう乱パターンに関する同様のランダムな混合は、単一の分散モード・スピーカおよび単一のコーン・スピーカを介して同じ音に対応したサウンドを同時に出力することにより達成可能であることを理解されたい。 In the above three embodiments, it has been described that sound is output through a pair of distributed mode speakers and a pair of conventional speakers, but similar random mixing for air turbulence patterns is a single It should be understood that this can be achieved by simultaneously outputting sounds corresponding to the same sound through a distributed mode speaker and a single cone speaker.
上の実施形態では、キーの動きを検出するための赤外線式運動検出システムが赤外線式の運動検出を利用するように記載したが、キーの押下を検出するために別の手段が使用されることもあり、たとえば、キー起動の位置、圧力および速度を検出するため電気機械的運動検出システムを使用することも可能である。 In the above embodiment, the infrared motion detection system for detecting key movement has been described as utilizing infrared motion detection, but other means are used to detect key presses. For example, it is possible to use an electromechanical motion detection system to detect the position, pressure and speed of key activation.
ディジタル式ピアノ向けの補助ユニット
  多くの人々がすでに自分でディジタル式ピアノを所有している。図31は、本発明を具現化したピアノを形成するために補助ユニット302に接続させた従来式ディジタル式ピアノ300を表している。Auxiliary units for digital pianos Many people already have their own digital pianos. FIG. 31 shows a conventional
  図4で分かるように、補助ユニット302は、目下のところ入手可能なディジタル式ピアノ上に従来式に設けられているケーブル310およびプラグ312を介してMIDI信号出力314に接続されているオーディオ信号発生器(上で記載したものと同様のもの)からの信号を受け取る増幅器306によって駆動される分散モード・スピーカ304を備えている。  As can be seen in FIG. 4, the
  従来式ディジタル式ピアノ300は、ウーファ318、ミッドレンジ・ユニット320およびツイータ322を備えた3ウェイ従来式コーン・スピーカ・システム316を含んでいる。従来式クロスオーバー回路(図示せず)を介して駆動を受け、これにより可聴周波数レンジ(すなわち、20Hzから20kHzまで)の実質的に全周波数を発生させるように動作可能である。分散モード・スピーカ304は、スピーカ・システム316が発生させる周波数レンジ(たとえば100Hzから20kHzまで)のうちのかなりの部分にわたる周波数を発生させるように動作可能である。  The conventional
  図31では図示していないが、従来式ディジタル式ピアノ300は典型的には良質のコンサート用グランドから記録されたサンプルからなるサウンド・ライブラリを用いて動作する。オーディオ信号発生器230も、図26および27の実施形態に関連して説明した理由によって、好ましくは良質のコンサート用グランドの別のモデルから記録されたサンプルを包含するサウンド・ライブラリを包含している。  Although not shown in FIG. 31, a conventional
  補助ユニット302は、購入者が所有している既存のディジタル式ピアノに接続できるようにディジタル式ピアノとは別に製作されて販売されることがある。補助ユニット302をディジタル式ピアノの既存のMIDI出力に単に接続すること、ならびにディジタル式ピアノのボリューム制御が、分散モード・スピーカ304によって発生しているサウンドに加えて従来式スピーカ・システム316によってサウンドが発生されるようなレベルに確実に設定されるようにすること、によって本発明の恩恵を達成することができる。  The
変形形態および修正形態
  上の説明から理解できるように、本発明は広範なさまざまな方法で具現化することができる。上述したものに関する多くの別の修正形態または変形形態も本発明の趣旨の域内とすることができる。Variations and Modifications As can be appreciated from the above description, the present invention can be embodied in a wide variety of ways. Many other modifications or variations on the above may also be within the spirit of the invention.
たとえば、本発明は公衆用拡声システム、劇場や映画館内のサウンド・システム、車両内エンターテイメント・システム、あるいは記録または放送配信用スタジオ内の監視システムにおいて具現化されることがある。 For example, the present invention may be embodied in a public loudspeaker system, a sound system in a theater or movie theater, an in-vehicle entertainment system, or a surveillance system in a recording or broadcast studio.
ディジタル式ピアノ以外にも、本発明は、エレキギターなどの別の電気または電子音響機器からのサウンドを再生するために利用されることがある。 In addition to digital pianos, the present invention may be used to reproduce sound from other electrical or electronic acoustic equipment such as electric guitars.
上で記載しかつ図示した実施形態の各々では従来式コーン・スピーカを利用しているが、少なくともある種の状況では、これに代えてバイブレータ運動をさせるように装着されかつ圧電式トランスジューサによる駆動を受けるフラットパネルや膜を備えた静電式スピーカや圧電式スピーカなどのピストン式スピーカの代替的形態を使用することも可能である。しかし大部分の状況では、電磁駆動式のコーン・スピーカとすることが好ましい。 Each of the embodiments described and illustrated above utilizes a conventional cone speaker, but in at least certain situations, it is alternatively mounted to drive vibrator motion and driven by a piezoelectric transducer. Alternative forms of piston type loudspeakers such as electrostatic loudspeakers or piezoelectric loudspeakers with flat panels and membranes to receive are also possible. However, in most situations, an electromagnetically driven cone speaker is preferred.
図8〜24のサウンド再生装置の実施形態のすべてにおいてステレオ音響式装置を図示しているが、これらの実施形態のいずれも単一のチャンネルのモノ装置に修正することが可能である。すでに説明したように、本発明の効果はモノ用途においても達成される。 Although stereophonic devices are illustrated in all of the sound reproduction device embodiments of FIGS. 8-24, any of these embodiments can be modified to a single channel mono device. As already explained, the effect of the present invention is also achieved in mono applications.
上において、ピストン式スピーカに加えられる信号を基準として分散モード・スピーカに加えられる信号に遅延を導入することを記載してきた。この遅延は、図面を参照しながら記載した実施形態のいずれかの形で、また別の任意の実施形態で設けることができる。遅延を設けている場合、これは本発明が展開される状況に適合するようにユーザによって調節可能となっていることが好ましい。 In the above, the introduction of a delay in the signal applied to the distributed mode speaker relative to the signal applied to the piston type speaker has been described. This delay can be provided in any of the embodiments described with reference to the drawings and in any other embodiment. Where a delay is provided, this is preferably adjustable by the user to suit the circumstances in which the invention is deployed.
さらに、分散モードおよび/またはピストン式スピーカに加えられる信号に対してたとえば残響、均等化、または別の効果を提供するための追加的な同様の処理を設けることも可能である。 Furthermore, it is possible to provide additional similar processing to provide, for example, reverberation, equalization, or another effect on the signal applied to the distributed mode and / or piston-type speaker.
上述の多くの実施形態に関する説明において、さまざまな好ましい周波数レンジおよび相対出力レベルについて提供してきた。これらは単に例示であって、多くの変形形態が可能であることを理解すべきである。しかし、分散モードの1つまたは複数のスピーカの周波数レンジをピストン式の1つまたは複数のスピーカの周波数レンジと重複させることが重要である。さらに、多くの場合(特に、本発明を具現化しているサウンド再生システム)では、分散モード・スピーカの音圧レベルをコーン・スピーカの音圧レベルと比べて若干小さくする(たとえば数デシベルの差だけとする)ように配置させることによって最適な成果が達成されることになるが、分散モード・スピーカがコーン・スピーカと比べて実質的により低い音圧レベルを発生させる場合に改良が達成される(ただしもちろん、分散モード・スピーカの圧力レベルはあまり低くないためこれにより発生させるサウンドは知覚不可能である)。これらの実験では、コーン・スピーカに対して分散モード・スピーカの音圧レベルを−35デシベル程度に低くすることによっても依然として(ただし、このレベルでは最低限であるが)知覚可能な改良が達成される。 In the above description of many embodiments, various preferred frequency ranges and relative power levels have been provided. It should be understood that these are merely examples and many variations are possible. However, it is important that the frequency range of one or more speakers in distributed mode overlap with the frequency range of one or more piston-type speakers. Furthermore, in many cases (especially the sound reproduction system embodying the present invention), the sound pressure level of the distributed mode speaker is slightly lower than the sound pressure level of the cone speaker (for example, a difference of several decibels). Will achieve optimal results, but an improvement is achieved when the distributed mode loudspeaker produces a substantially lower sound pressure level compared to the cone loudspeaker ( However, of course, the pressure level of a distributed mode speaker is not so low that the sound it generates is not perceptible). In these experiments, perceivable improvements are still achieved (although at a minimum at this level) by reducing the sound pressure level of the distributed mode speaker to as low as -35 dB relative to the cone speaker. The
ある種の状況では、分散モード・スピーカが発生させる音圧レベルをピストン式スピーカが発生させる音圧レベルより大きくすることが望ましい。 In certain situations, it is desirable to make the sound pressure level generated by the distributed mode speaker greater than the sound pressure level generated by the piston type speaker.
| Application Number | Priority Date | Filing Date | Title | 
|---|---|---|---|
| PCT/GB2003/000324WO2004066672A1 (en) | 2003-01-22 | 2003-01-22 | Apparatus and method for producing sound | 
| Application Number | Title | Priority Date | Filing Date | 
|---|---|---|---|
| JP2009066198ADivisionJP2009189027A (en) | 2009-03-18 | 2009-03-18 | Apparatus and method for generating sound | 
| Publication Number | Publication Date | 
|---|---|
| JP2006513656Atrue JP2006513656A (en) | 2006-04-20 | 
| Application Number | Title | Priority Date | Filing Date | 
|---|---|---|---|
| JP2004567034APendingJP2006513656A (en) | 2003-01-22 | 2003-01-22 | Apparatus and method for generating sound | 
| Country | Link | 
|---|---|
| EP (1) | EP1588584A1 (en) | 
| JP (1) | JP2006513656A (en) | 
| KR (2) | KR101052938B1 (en) | 
| CN (1) | CN1759635A (en) | 
| AU (1) | AU2003202084A1 (en) | 
| CA (1) | CA2553744A1 (en) | 
| GB (1) | GB2387500B (en) | 
| WO (1) | WO2004066672A1 (en) | 
| Publication number | Priority date | Publication date | Assignee | Title | 
|---|---|---|---|---|
| JP2008009236A (en)* | 2006-06-30 | 2008-01-17 | Kawai Musical Instr Mfg Co Ltd | Musical sound device and musical sound control method | 
| JP2010093769A (en)* | 2008-09-09 | 2010-04-22 | Sony Corp | Speaker system and speaker driving method | 
| JP2012145803A (en)* | 2011-01-13 | 2012-08-02 | Yamaha Corp | Electronic keyboard instrument | 
| Publication number | Priority date | Publication date | Assignee | Title | 
|---|---|---|---|---|
| GB2392043B (en)* | 2002-08-17 | 2006-03-22 | K H Technology Corp | Combination loudspeaker unit | 
| GB2392044B (en)* | 2002-08-17 | 2005-12-28 | K H Technology Corp | Loudspeaker unit and assembly | 
| KR100698256B1 (en)* | 2004-07-16 | 2007-03-22 | 엘지전자 주식회사 | Speaker device using display window | 
| EP1814354B1 (en) | 2006-01-30 | 2017-04-26 | Sony Corporation | Speaker | 
| JP4821589B2 (en)* | 2006-01-30 | 2011-11-24 | ソニー株式会社 | Speaker device | 
| US20130092007A1 (en)* | 2011-09-14 | 2013-04-18 | Yamaha Corporation | Keyboard instrument | 
| CN103168594A (en)* | 2013-03-26 | 2013-06-26 | 四川祥光农业科技开发有限公司 | Taxus media cultivation method | 
| CN104681018A (en)* | 2013-11-29 | 2015-06-03 | 北京怡生飞扬科技发展有限公司 | Acoustic guitar pickup | 
| US9560445B2 (en)* | 2014-01-18 | 2017-01-31 | Microsoft Technology Licensing, Llc | Enhanced spatial impression for home audio | 
| US11678122B2 (en) | 2017-10-23 | 2023-06-13 | Hugh Brogan | Speaker | 
| CN114072873A (en)* | 2019-07-10 | 2022-02-18 | Ask工业有限公司 | Vehicle comprising a vehicle compartment defining an acoustic space | 
| CN111883103B (en)* | 2020-06-19 | 2021-12-24 | 马上消费金融股份有限公司 | Method and device for synthesizing voice | 
| Publication number | Priority date | Publication date | Assignee | Title | 
|---|---|---|---|---|
| KR940003766B1 (en)* | 1990-03-19 | 1994-04-30 | 라웅균 | Filter for Audible Frequency Regenerative Amplifier | 
| JPH0850479A (en)* | 1994-08-08 | 1996-02-20 | Matsushita Electric Ind Co Ltd | Electronic musical instrument | 
| US6351542B2 (en)* | 1995-09-02 | 2002-02-26 | New Transducers Limited | Loudspeakers with panel-form acoustic radiating elements | 
| US5596159A (en)* | 1995-11-22 | 1997-01-21 | Invision Interactive, Inc. | Software sound synthesis system | 
| GB9822246D0 (en)* | 1998-10-13 | 1998-12-09 | New Transducers Ltd | Loudspeakers | 
| GB9704486D0 (en)* | 1997-03-04 | 1997-04-23 | New Transducers Ltd | Acoustic devices etc | 
| JP3397078B2 (en)* | 1997-04-16 | 2003-04-14 | ヤマハ株式会社 | Electronic musical instrument | 
| WO2000036586A2 (en)* | 1998-12-14 | 2000-06-22 | Shelley Katz | Construction of an electronic piano | 
| GB9910220D0 (en)* | 1999-04-29 | 1999-06-30 | New Transducers Ltd | Loudspeakers | 
| DE19955867A1 (en)* | 1999-11-22 | 2001-06-21 | Harman Audio Electronic Sys | Flat speaker arrangement for bass reproduction | 
| DE20002930U1 (en)* | 2000-02-20 | 2000-05-18 | Theis, Karl-Heinz, 55270 Essenheim | Horn speaker | 
| GB2368484B (en)* | 2000-10-25 | 2004-06-16 | B & W Loudspeakers | Distributed mode panel type loudspeakers | 
| US7002070B2 (en)* | 2001-06-22 | 2006-02-21 | Shelley Katz | Electronic piano | 
| Publication number | Priority date | Publication date | Assignee | Title | 
|---|---|---|---|---|
| JP2008009236A (en)* | 2006-06-30 | 2008-01-17 | Kawai Musical Instr Mfg Co Ltd | Musical sound device and musical sound control method | 
| JP2010093769A (en)* | 2008-09-09 | 2010-04-22 | Sony Corp | Speaker system and speaker driving method | 
| US9173030B2 (en) | 2008-09-09 | 2015-10-27 | Sony Corporation | Speaker system and speaker driving method | 
| JP2012145803A (en)* | 2011-01-13 | 2012-08-02 | Yamaha Corp | Electronic keyboard instrument | 
| Publication number | Publication date | 
|---|---|
| CA2553744A1 (en) | 2004-08-05 | 
| GB2387500A (en) | 2003-10-15 | 
| CN1759635A (en) | 2006-04-12 | 
| EP1588584A1 (en) | 2005-10-26 | 
| GB2387500B (en) | 2007-03-28 | 
| KR101052938B1 (en) | 2011-07-29 | 
| KR20100063142A (en) | 2010-06-10 | 
| KR20050111321A (en) | 2005-11-24 | 
| AU2003202084A1 (en) | 2004-08-13 | 
| HK1062873A1 (en) | 2004-11-26 | 
| WO2004066672A1 (en) | 2004-08-05 | 
| GB0318324D0 (en) | 2003-09-10 | 
| Publication | Publication Date | Title | 
|---|---|---|
| US11259101B2 (en) | Method and apparatus for capturing and rendering an audio scene | |
| US20060023898A1 (en) | Apparatus and method for producing sound | |
| CA1146081A (en) | Sound reproducing systems utilizing acoustic processing unit | |
| AU5666396A (en) | A four dimensional acoustical audio system | |
| KR101052938B1 (en) | Apparatus and method for producing sound | |
| JP2006509439A (en) | Personalized surround sound headphone system | |
| CA1338084C (en) | Multidimensional stereophonic sound reproduction system | |
| TW200818964A (en) | A loudspeaker system having at least two loudspeaker devices and a unit for processing an audio content signal | |
| US12137319B2 (en) | Embodied sound device and method | |
| JP2009194924A (en) | Apparatus and method for generating sound | |
| JP2009189027A (en) | Apparatus and method for generating sound | |
| GB2422265A (en) | Distributed mode and pistonic loudspeaker arrangements | |
| AU2008200358B2 (en) | Electrical and electronic musical instruments | |
| Toole | Maximizing Loudspeaker Performance in Rooms | 
| Date | Code | Title | Description | 
|---|---|---|---|
| A621 | Written request for application examination | Free format text:JAPANESE INTERMEDIATE CODE: A621 Effective date:20060120 | |
| A131 | Notification of reasons for refusal | Free format text:JAPANESE INTERMEDIATE CODE: A131 Effective date:20080225 | |
| A601 | Written request for extension of time | Free format text:JAPANESE INTERMEDIATE CODE: A601 Effective date:20080523 | |
| A602 | Written permission of extension of time | Free format text:JAPANESE INTERMEDIATE CODE: A602 Effective date:20080530 | |
| A521 | Request for written amendment filed | Free format text:JAPANESE INTERMEDIATE CODE: A523 Effective date:20080825 | |
| A02 | Decision of refusal | Free format text:JAPANESE INTERMEDIATE CODE: A02 Effective date:20081117 | |
| A521 | Request for written amendment filed | Free format text:JAPANESE INTERMEDIATE CODE: A523 Effective date:20090216 | |
| A521 | Request for written amendment filed | Free format text:JAPANESE INTERMEDIATE CODE: A523 Effective date:20090318 |