
















本発明は、シリコン基板上にトレンチを形成し、そのトレンチ内部にMOSゲート構造とドレイン領域を形成した横型パワーMOSFETなどの半導体装置に関する。 The present invention relates to a semiconductor device such as a lateral power MOSFET in which a trench is formed on a silicon substrate and a MOS gate structure and a drain region are formed inside the trench.
従来のトレンチ横型パワーMOSFET(略号TLPM)の模式的断面図を図9に示す。以下、トレンチ103の底部がnドレイン領域104となるnチャネル型のTLPMについて述べるが、pチャネル型TLPMの場合は、導電型をそれぞれ逆にすれば、同様に作ることができる。
図10〜図13は、図9のTLPMの製造方法について、その要部を製造工程順に示したTLPMの要部断面図である。
図10に示すように、半導体基板100にTLPMのチャネルが形成される領域となるpオフセット領域101を形成する。
次に、図11に示すように、酸化膜(熱酸化膜または堆積酸化膜)102をマスクにトレンチ103を形成し、トレンチ103形成後、マスク酸化膜102をそのままマスクとしてトレンチ103底面だけに選択的にnドレイン領域104を形成する。マスク酸化膜102を除去した後に、図12に示すように、ゲート酸化膜105を例えば17nmの厚さで形成し、次に例えば厚さ300nmのドープトポリシリコンゲート電極106をCVD(Chemical Vapor Deposition)およびそれに続くエッチバック技術によりトレンチ103側壁にのみ残し、他の部分を除去して形成する。A schematic cross-sectional view of a conventional trench lateral power MOSFET (abbreviated as TLPM) is shown in FIG. Hereinafter, an n-channel type TLPM in which the bottom of the
10 to 13 are cross-sectional views of the main part of the TLPM showing the main parts in the order of the manufacturing steps in the method for manufacturing the TLPM of FIG.
As shown in FIG. 10, a p-
Next, as shown in FIG. 11, a
図13に示すように、TLPM部のソース領域107を形成した後、層間絶縁膜108となるトレンチ埋め込み酸化膜をCVDにより形成し、化学機械研磨(CMP)を用いて表面を平坦化する。そして、前記図9に示すように、フォトリソグラフィ工程により層間絶縁膜108の必要な部分にコンタクト孔109を形成し、このコンタクト孔109にバリアメタル111と埋め込み金属プラグ110を形成し、この金属プラグ110上にアルミニウムなどの金属電極配線112を形成してTLPM200を完成させる。
ところが、前述のように従来のTLPM200を作製すると、トレンチ103内面のゲート酸化膜105が薄いため、トレンチ103底部のnドレイン領域104を高電位にした場合、トレンチ103底部の薄い酸化膜の部分に電界集中が起こり、素子耐圧が低下し易いという問題がある。As shown in FIG. 13, after forming the
However, when the
一方、次に説明するように、前記TLPM200を改良してトレンチ103底面および底面のコーナーに厚い酸化膜を形成し、前述の電界集中を緩和して耐圧低下を防ぐ方法が知られている(特許文献1)。以下、特許文献1に記載の図17と実質的に同じ図を本明細書に図番を変えて添付した図14を参照しながら、改良された製造方法を説明する。
図14(a)〜(f)は、前記図9に示すTLPMをさらに改良した製造方法の主要工程(トレンチ821のエッチング用マスク酸化膜870の形成から選択酸化膜841の形成まで)を工程順に並べた半導体基板の断面図である。
半導体基板800表面にマスク酸化膜870を形成し、パターニングする(図14(a))。マスク酸化膜870は、熱酸化膜でもCVD酸化膜でもどちらでも良い。
塩素ガス、窒素、酸素の混合ガスを用いた反応性イオンエッチング(RIE)等の異方性エッチングによりトレンチ821を形成する(同図(b))。On the other hand, as will be described below, a method is known in which the
14A to 14F show the main steps (from the formation of the etching
A
A
トレンチ821の内面に、応力緩和のための薄いパッド酸化膜873を形成した後、例えばプラズマCVDにより窒化シリコン膜(以下窒化膜と記す)872を堆積する(同図(c))。
RIE等の異方性エッチングにより基板表面およびトレンチ821底面の窒化膜872およびパッド酸化膜873をエッチング除去する(同図(d))。
再びRIEによりトレンチ821を更に掘り下げて深いトレンチ822とする。また基板表面に残ったマスク酸化膜870を除去する(同図(e))。
熱酸化により基板表面およびトレンチ822の底部に厚い酸化膜841を形成する(同図(f))。トレンチ821の側壁部には、窒化膜872があるため厚い酸化膜841が成長せず、薄いままとなる。
The
The
A
しかしながら、前記特許文献1に記載のTLPMは、従来のTLPMにおける薄い酸化膜の部分に電界集中が起こり、素子耐圧が低下し易いという問題点を解決するためになされたものであり、トレンチ821底面およびコーナーに厚い酸化膜841を形成することにより電界集中を緩和する機能を有するものの、その方法として、トレンチ821形成のためのエッチング後に、シリコン窒化膜872をエッチバック法によりトレンチ821の側壁のみに選択的に残し、その側壁のシリコン窒化膜872をマスクとして、2段目のトレンチ822を形成し、その後、選択酸化を行う方法である。この場合、シリコン基板の表面側シリコンも酸化されてしまい、トレンチ開口部形状が酸化により大きく変形するという問題が新たに発生する。さらに、シリコン基板上部の厚い選択酸化膜を除去する工程が別途必要になるという問題も新たに発生する。 However, the TLPM described in
本発明は、前記問題点に鑑みてなされたものであり、その目的とするところは、トレンチ底部の酸化膜に電界集中が起こり易いという問題およびトレンチ開口部の表面形状が大きく変形するという問題を解消して、耐圧が低下しにくい半導体装置の製造方法を提供することである。 The present invention has been made in view of the above problems, and the object of the present invention is to solve the problem that electric field concentration easily occurs in the oxide film at the bottom of the trench and the problem that the surface shape of the trench opening is greatly deformed. The object is to provide a method for manufacturing a semiconductor device which is free from a decrease in breakdown voltage.
特許請求の範囲の請求項1記載の本発明によれば、前記目的は、半導体基板の表面に形成した第一窒化膜をマスクとして第一トレンチを形成する工程と、前記第一トレンチの側壁に形成した第二窒化膜と前記第一窒化膜とをマスクとして前記第一トレンチの底部に第二トレンチを形成する工程と、前記第一窒化膜と前記第二窒化膜をマスクとして前記第二トレンチ内面に熱酸化膜を形成する工程と、前記第一窒化膜と第二窒化膜とを除去した後、第一トレンチ側壁にゲート絶縁膜を介してゲート電極を形成する工程とを含む半導体装置の製造方法とすることにより、達成される。
特許請求の範囲の請求項2記載の本発明によれば、前記目的は、半導体基板の表面に露出する一導電型領域の表面に窒化膜を含む絶縁膜を所定パターンに形成する第一マスク絶縁膜を形成し、第一マスク絶縁膜をマスクとしてトレンチを形成する第一トレンチ形成工程と、該第一トレンチ側壁に窒化膜を含む第二マスク絶縁膜を形成し、第二マスク絶縁膜および前記第一マスク絶縁膜をマスクとして前記第一トレンチ底部に連続する追加トレンチを形成する第二トレンチ形成工程と、前記第二トレンチの内面に接合端が前記第一トレンチ側壁に至る他導電型ドレイン領域を形成するドレイン形成工程と、熱酸化により前記第二トレンチ内面に選択的に酸化膜を形成する選択酸化膜形成工程と、前記第一絶縁膜および第二絶縁膜を除去し、第一トレンチの側壁にゲート絶縁膜と該ゲート絶縁膜を介してポリシリコンゲート電極を形成するMOSゲート構造の形成工程と、前記一導電型領域表面に形成され、一端が第一トレンチ側壁に露出する他導電型ソース領域を形成するソース形成工程とを含む半導体装置の製造方法とすることにより、達成される。According to the first aspect of the present invention, the object is to form a first trench using a first nitride film formed on the surface of a semiconductor substrate as a mask, and on the side wall of the first trench. Forming a second trench at the bottom of the first trench using the formed second nitride film and the first nitride film as a mask; and the second trench using the first nitride film and the second nitride film as a mask. A step of forming a thermal oxide film on an inner surface; and a step of forming a gate electrode on a side wall of the first trench through a gate insulating film after removing the first nitride film and the second nitride film. This is achieved by using a manufacturing method.
According to the present invention as set forth in
特許請求の範囲の請求項3記載の本発明によれば、前記ポリシリコンゲート電極は、ポリシリコンを少なくとも前記第一トレンチを埋めないように前記半導体基板表面および前記第二トレンチの底部に堆積された前記ポリシリコンを除去することにより形成し、前記ソース形成工程の後に、前記半導体基板全面に層間絶縁膜を堆積する工程と、該層間絶縁膜の表面から前記ソース領域およびドレイン領域に達する開口部を形成する工程とを有する特許請求の範囲の請求項2記載の半導体装置の製造方法とすることが好ましい。
特許請求の範囲の請求項4記載の本発明によれば、半導体装置がトレンチMOSゲート構造を有する横型MOSFETである特許請求の範囲の請求項1乃至3のいずれか一項に記載の半導体装置の製造方法とすることが好適である。
特許請求の範囲の請求項5記載の本発明によれば、半導体装置が双方向のMOSFETである特許請求の範囲請求項1または2記載の半導体装置の製造方法とすることが望ましい。According to the third aspect of the present invention, the polysilicon gate electrode is deposited on the surface of the semiconductor substrate and the bottom of the second trench so as not to fill at least the first trench. Forming an interlayer insulating film on the entire surface of the semiconductor substrate after the source forming step, and an opening reaching the source region and the drain region from the surface of the interlayer insulating film. Preferably, the method of manufacturing a semiconductor device according to
According to the present invention, the semiconductor device is a lateral MOSFET having a trench MOS gate structure. 4. The semiconductor device according to
According to the present invention as set forth in claim 5, it is preferable that the semiconductor device is a bidirectional MOSFET manufacturing method according to
本発明によれば、トレンチ開口部形状を酸化により大きく変形させることなく、トレンチの底面にのみ厚い酸化膜を形成することができ、素子耐圧の低下を防ぐことができる半導体装置の製造方法を提供することができる。 According to the present invention, there is provided a method of manufacturing a semiconductor device in which a thick oxide film can be formed only on the bottom surface of a trench without greatly changing the shape of the trench opening by oxidation, and a reduction in device breakdown voltage can be prevented. can do.
以下、本発明の実施の形態を説明する。以下の説明では半導体基板に示される導電型であるp型、n型は逆でも構わない。また、以下、実施例1ではTLPM(トレンチ横型パワーMOSFET)を例に挙げて、実施例2では、トレンチ底面のドレイン領域へのコンタクト電極を持たず、等価的には2つのMOSFETが直列に接続された、双方向TLPMの場合について、それぞれ本発明にかかる半導体装置の製造方法を詳細に説明する。ただし、本発明は、本発明の要旨を超えない限り、以下の実施例の記載に限定されるものではない。 Embodiments of the present invention will be described below. In the following description, the p-type and n-type which are the conductivity types shown in the semiconductor substrate may be reversed. Further, in the following, in Example 1, TLPM (trench lateral power MOSFET) is taken as an example, and in Example 2, there is no contact electrode to the drain region at the bottom of the trench, and equivalently, two MOSFETs are connected in series. In the case of the bidirectional TLPM, the method for manufacturing a semiconductor device according to the present invention will be described in detail. However, the present invention is not limited to the description of the following examples unless it exceeds the gist of the present invention.
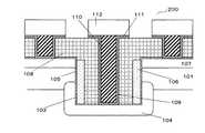
図1は、この発明にかかる半導体装置の要部を示す断面図であり、図2〜図8は、この発明の半導体装置の製造方法を工程順に示した半導体基板の要部断面図である。
図2に示すように、p型シリコン基板1のTLPM形成領域にTLPMのチャネルとなるpオフセット領域2を拡散形成する。次に、図3に示すように、第一マスク絶縁膜となる酸化膜3を例えば30nmとシリコン窒化膜4を例えば300nm成長させ、フォトリソグラフィ工程により、トレンチ形成用パターン形成を行った後、それらの第一マスク絶縁膜3、4をマスクに第一トレンチ5を例えば1μmの深さで形成する。前記酸化膜3はシリコン基板1とシリコン窒化膜4との密着性向上と、後でシリコン窒化膜を除去する際、シリコン窒化膜とのエッチング選択比を高くするために形成される。その後、図4に示すように、第一トレンチ5の内面に酸化膜6を例えば30nmの厚さに形成した後、新たにシリコン窒化膜7を例えば150nm成長させ、エッチバックすることにより、基板表面とトレンチ5の底部のシリコン窒化膜7を除去し、トレンチ側壁8には第二マスク絶縁膜となるシリコン窒化膜7を、基板表面上にはシリコン窒化膜4を残す。その後、図5に示すように、基板表面およびトレンチ側壁シリコン窒化膜4、7からなる第一および第二マスク絶縁膜をマスクとして再度トレンチエッチングを行い、2段目の第二トレンチ9を例えば0.5μmの追加深さで形成する。そして、図6−1に示すように、酸化膜3および窒化膜4、7からなる第一および第二マスク絶縁膜をマスクをそのままマスクとしてトレンチ9内面だけに選択的にnドレイン領域10を形成する。nドレイン領域10は最終的には熱拡散により、接合端が第一トレンチ5の側壁に達するようになる。さらにこの状態で、図6−2の示すように、熱酸化を例えば300nmの厚さで行うと、第一トレンチ5の側壁8と基板表面はそれぞれシリコン窒化膜4、7で覆われているため、第二トレンチ9の内面のみに選択的に酸化膜11が形成される。続いてシリコン窒化膜4、7を除去し、さらに酸化膜3を除去した後に、図7に示すように、新たにゲート酸化膜12を例えば17nmの厚みで形成し、さらに例えば厚さ300nmのドープトポリシリコンをCVDにより堆積させ、エッチバックによりシリコン基板1表面と第二トレンチ9の底部のポリシリコンを除去してポリシリコンゲート電極13をトレンチ5の側壁に形成する。そして、図8に示すように、TLPM部のソース領域14となる領域を基板表面に拡散形成した後、層間絶縁膜15となるトレンチ埋め込み酸化膜をCVDにより形成し、化学機械研磨(CMP)を用いて表面を平坦化する。そして、フォトリソグラフィ工程により必要な部分にコンタクト孔16−1、16−2を形成し、バリアメタル17−1、17−2、埋め込みプラグ18−1、18−2、金属電極配線19−1、19−2を形成すると図1に示す本発明の半導体装置ができる。FIG. 1 is a cross-sectional view showing a main part of a semiconductor device according to the present invention, and FIGS.
As shown in FIG. 2,
以上の実施例では、図1に示すように、トレンチ9の下部に選択的にnドレイン領域10を形成する場合であったが、シリコン基板がn型の場合、または、シリコン基板1とpオフセット領域2の間にn型の領域を形成する場合は、nドレイン領域10を形成しなくてもよい。この場合、酸化膜11がn型の半導体基板1またはn型の領域の中に形成されることが望ましい。
さらに、シリコン基板1をn型とし、トレンチ9の幅を狭くして、トレンチ9をポリシリコンゲート電極13で充填される構成とし、シリコン基板1の裏面にドレイン電極を形成した縦型トレンチMOSFETに適用できる。
要するに、第一トレンチの側壁にMISゲート構造が形成され、ゲート電極へのゲート電圧のオン、オフにより、チャネルを通じて電流のオン、オフが可能になるように構成であれば、上述以外にも、いろいろな実施形態をとることができる。In the above embodiment, as shown in FIG. 1, the
Further, the vertical trench MOSFET in which the
In short, as long as the MIS gate structure is formed on the sidewall of the first trench and the gate voltage to the gate electrode can be turned on and off, the current can be turned on and off through the channel. Various embodiments can be taken.
以上の説明では、TLPM(トレンチ横型パワーMOSFET)は、トレンチの底部にnドレイン領域を形成したnチャネル型のTLPMについて説明したが、図15に示すようなトレンチ53底面に形成したドレイン領域54にドレインコンタクトを有さず、二つのMOSFETが直列に接続された双方向のTLPMとすることもできる。図16に、その双方向TLPMの等価回路図を示す。以下、本発明にかかる双方向TLPMについて説明する。
図15は本発明にかかる、異なる実施例としての半導体装置の構成図であり、同図(a)は要部平面図、同図(b)は(a)で一点鎖線枠内を示すA部の拡大図、同図(c)は同図(b)のX−X線で切断した要部断面図である。
図15の(c)に示すように、p半導体基板51にnウェル領域52を拡散形成し、このnウェル領域52表面層にpオフセット領域55を形成する。pオフセット領域55表面からトレンチ53を形成し、このトレンチ53底面下にnドレイン領域54を形成する。In the above description, the TLPM (trench lateral power MOSFET) has been described for the n-channel type TLPM in which the n drain region is formed at the bottom of the trench, but the
15A and 15B are configuration diagrams of a semiconductor device according to another embodiment of the present invention, in which FIG. 15A is a plan view of a main part, and FIG. 15B is a portion A showing the inside of a one-dot chain line in FIG. FIG. 4C is an enlarged cross-sectional view taken along line XX in FIG.
As shown in FIG. 15C, an
トレンチ53内壁にゲート絶縁膜56を形成し、トレンチ側壁53bにゲート絶縁膜56を介してゲート電極57を形成する。この際、前述の実施例1と同様の方法により、トレンチ53の底部に選択酸化膜56aを形成する。トレンチ53に囲まれたpオフセット領域55の表面に、第1nソース領域59と第2nソース領域60を、それぞれ一端がトレンチ53の側壁に露出するように選択的に形成する。この第1nソース領域59と第2nソース領域60は、図15の(a)および(b)に示すように、トレンチ53を挟んで交互に形成される。層間絶縁膜58を基板表面上に堆積し、トレンチ53内部を充填する際に表面に形成される凹凸を平坦化する。その後、図15(c)に示すように、この層間絶縁膜58にコンタクトホール58aをそれぞれ開孔して、第1nソース領域59上と第2nソース領域60上に第1ソース電極61と第2ソース電極62をそれぞれ形成する。図15(b)の鎖線で示すように、第1ソース電極61同士、第2ソース電極62同士は第1ソース配線63、第2ソース配線64でそれぞれ接続する。またゲート電極57は層間絶縁膜58によりソース電極61、62と短絡しないように延長されて図示しないゲートパッドに接続される。 A
前記したように、nドレイン領域54がトレンチ底部に形成されていることと、さらに、ドレイン領域54とゲート電極の間にはゲート絶縁膜よりかなり厚い選択酸化膜56aが介在しているので、電界が緩和され高耐圧を確保することができる。
また、前述のように、ゲート電極57とnドレイン領域54をトレンチ53底部に形成することで、耐圧がトレンチ53に沿って維持されるようになり、そのため、第1nソース領域59と第2nソース領域60の表面での間隔を狭くでき、セルの微細化ができる。その結果、オン電圧を低下させることができる。
なお、前述のようにp半導体基板51を用いることで、この基板51をグランド電位にすることができて、図示しないCMOS回路などをこの基板51に形成することが容易になる。また、前記の各トレンチ底部に形成される各nドレイン領域54は、それぞれ離れて形成されているが、それぞれのnドレイン領域54が接するように形成しても構わない。As described above, the
Also, as described above, the breakdown voltage is maintained along the
In addition, by using the
前記図16の等価回路図を用いて、前記双方向TLPM50の動作について説明する。第1ソース端子S1に対して第2ソース端子S2に高電圧を印加し、第2ソース端子S2より高い電圧をゲート端子Gに印加することで、図15の第1、第2nソース領域59、60とnドレイン領域54に挟まれたpオフセット領域55側面にチャネルが形成されて第2ソース端子S2から第1ソース端子S1に電流が流れる。第2ソース端子S2に対して第1ソース端子S1に高電圧を印加し、第1ソース端子S1より高い電圧をゲート端子Gに印加することで、第1、第2nソース領域59、60とnドレイン領域54に挟まれたpオフセット領域5側面にチャネルが形成されて第1ソース端子S1から第2ソース端子S2に電流が流れる。このように、双方向に電流を流すことができる双方向TLPMとなる。一方、ゲート端子Gを第1、第2ソース端子S1、S2の内の低電位側の端子の電位にするか、グランド電位にすることで、pオフセット領域5に形成されたチャネルを消滅させて双方向TLPMを阻止状態とすることができる。 The operation of the
以上説明した実施例では、ゲート端子G一つの場合について説明したが、二つのMOSFETに、それぞれゲート端子を設け、それぞれ別々に制御する構成とすることもできる。また、nドレイン領域54を形成したが、nドレイン領域54を形成しなくてもよい。この場合、pオフセット領域55を酸化膜56aと接しない深さとすることが望ましい。
さらに、pオフセット2、55はトレンチ5、53を形成する前に拡散形成したが、トレンチ5、53を形成する後に形成しても構わない。
さらにまた、以上の実施例において、pオフセット2、55は、シリコン基板1、51の表面から拡散形成した場合について説明したが、エピタキシャル成長により形成した場合であっても構わない。また、このとき、nソース領域14、59、60をエピタキシャル成長により形成してもよい。In the embodiment described above, the case of one gate terminal G has been described. However, it is also possible to provide a configuration in which each of the two MOSFETs is provided with a gate terminal and is controlled separately. Further, although the
Further, the p offsets 2 and 55 are diffused before the
Furthermore, in the above embodiment, the p offsets 2 and 55 have been described as being formed by diffusion from the surface of the
1… シリコン基板、
2… pオフセット領域
3… シリコン酸化膜、マスク酸化膜
4、7… シリコン窒化膜
5… トレンチ
6、12… ゲート酸化膜
8… トレンチ側壁
9… 追加(2段目)トレンチ
10… nドレイン領域
11… 選択酸化膜
13… ドープトポリシリコンゲート電極
14… nソース領域
15… 層間絶縁膜
16−1、16−2 開口部
17−1、17−2 バリアメタル
18−1、18−2 埋め込みプラグ
19−1、19−2 金属電極配線。
1 ... Silicon substrate,
2 ... p offset
| Application Number | Priority Date | Filing Date | Title |
|---|---|---|---|
| JP2005174556AJP4720307B2 (en) | 2005-06-15 | 2005-06-15 | Manufacturing method of semiconductor device |
| Application Number | Priority Date | Filing Date | Title |
|---|---|---|---|
| JP2005174556AJP4720307B2 (en) | 2005-06-15 | 2005-06-15 | Manufacturing method of semiconductor device |
| Publication Number | Publication Date |
|---|---|
| JP2006351745Atrue JP2006351745A (en) | 2006-12-28 |
| JP4720307B2 JP4720307B2 (en) | 2011-07-13 |
| Application Number | Title | Priority Date | Filing Date |
|---|---|---|---|
| JP2005174556AExpired - Fee RelatedJP4720307B2 (en) | 2005-06-15 | 2005-06-15 | Manufacturing method of semiconductor device |
| Country | Link |
|---|---|
| JP (1) | JP4720307B2 (en) |
| Publication number | Priority date | Publication date | Assignee | Title |
|---|---|---|---|---|
| JP2010251586A (en)* | 2009-04-17 | 2010-11-04 | Unisantis Electronics Japan Ltd | Semiconductor device |
| JP2010251678A (en)* | 2009-04-20 | 2010-11-04 | Unisantis Electronics Japan Ltd | Manufacturing method of semiconductor device |
| US8697511B2 (en) | 2012-05-18 | 2014-04-15 | Unisantis Electronics Singapore Pte. Ltd. | Method for producing semiconductor device and semiconductor device |
| US8759178B2 (en) | 2011-11-09 | 2014-06-24 | Unisantis Electronics Singapore Pte. Ltd. | Method for manufacturing semiconductor device and semiconductor device |
| US8829601B2 (en) | 2012-05-17 | 2014-09-09 | Unisantis Electronics Singapore Pte. Ltd. | Semiconductor device |
| US8877578B2 (en) | 2012-05-18 | 2014-11-04 | Unisantis Electronics Singapore Pte. Ltd. | Method for producing semiconductor device and semiconductor device |
| US9012981B2 (en) | 2012-05-17 | 2015-04-21 | Unisantis Electronics Singapore Pte. Ltd. | Semiconductor device |
| US9166043B2 (en) | 2012-05-17 | 2015-10-20 | Unisantis Electronics Singapore Pte. Ltd. | Semiconductor device |
| US10438836B2 (en) | 2011-11-09 | 2019-10-08 | Unisantis Electronics Singapore Pte. Ltd. | Method for manufacturing a semiconductor device |
| Publication number | Priority date | Publication date | Assignee | Title |
|---|---|---|---|---|
| JPH0225073A (en)* | 1988-07-13 | 1990-01-26 | Oki Electric Ind Co Ltd | Manufacture of semiconductor element |
| JP2000114512A (en)* | 1998-09-30 | 2000-04-21 | Siemens Ag | Vertical FET transistor and method of manufacturing the vertical FET transistor |
| JP2001127284A (en)* | 1999-10-26 | 2001-05-11 | Hitachi Ltd | Method for manufacturing semiconductor device |
| JP2002141501A (en)* | 2000-11-01 | 2002-05-17 | Fuji Electric Co Ltd | Method for manufacturing trench type semiconductor device |
| JP2002184980A (en)* | 2000-10-05 | 2002-06-28 | Fuji Electric Co Ltd | Trench-type lateral MOSFET and manufacturing method thereof |
| JP2002353446A (en)* | 2001-05-30 | 2002-12-06 | Fuji Electric Co Ltd | Trench type semiconductor device and method of manufacturing the same |
| JP2003249650A (en)* | 2001-12-18 | 2003-09-05 | Fuji Electric Co Ltd | Semiconductor device and method of manufacturing semiconductor device |
| Publication number | Priority date | Publication date | Assignee | Title |
|---|---|---|---|---|
| JPH0225073A (en)* | 1988-07-13 | 1990-01-26 | Oki Electric Ind Co Ltd | Manufacture of semiconductor element |
| JP2000114512A (en)* | 1998-09-30 | 2000-04-21 | Siemens Ag | Vertical FET transistor and method of manufacturing the vertical FET transistor |
| JP2001127284A (en)* | 1999-10-26 | 2001-05-11 | Hitachi Ltd | Method for manufacturing semiconductor device |
| JP2002184980A (en)* | 2000-10-05 | 2002-06-28 | Fuji Electric Co Ltd | Trench-type lateral MOSFET and manufacturing method thereof |
| JP2002141501A (en)* | 2000-11-01 | 2002-05-17 | Fuji Electric Co Ltd | Method for manufacturing trench type semiconductor device |
| JP2002353446A (en)* | 2001-05-30 | 2002-12-06 | Fuji Electric Co Ltd | Trench type semiconductor device and method of manufacturing the same |
| JP2003249650A (en)* | 2001-12-18 | 2003-09-05 | Fuji Electric Co Ltd | Semiconductor device and method of manufacturing semiconductor device |
| Publication number | Priority date | Publication date | Assignee | Title |
|---|---|---|---|---|
| US8212311B2 (en) | 2009-04-17 | 2012-07-03 | Unisantis Electronics Singapore Pte Ltd. | Semiconductor device having increased gate length implemented by surround gate transistor arrangements |
| JP2010251586A (en)* | 2009-04-17 | 2010-11-04 | Unisantis Electronics Japan Ltd | Semiconductor device |
| JP2010251678A (en)* | 2009-04-20 | 2010-11-04 | Unisantis Electronics Japan Ltd | Manufacturing method of semiconductor device |
| US8080458B2 (en) | 2009-04-20 | 2011-12-20 | Unisantis Electronics Singapore Pte. Ltd. | Semiconductor device and manufacturing method thereof |
| US8519475B2 (en) | 2009-04-20 | 2013-08-27 | Unisantis Electronics Singapore Pte Ltd. | Semiconductor device |
| US9614075B2 (en) | 2011-11-09 | 2017-04-04 | Unisantis Electronics Singapore Pte. Ltd. | Semiconductor device |
| US10438836B2 (en) | 2011-11-09 | 2019-10-08 | Unisantis Electronics Singapore Pte. Ltd. | Method for manufacturing a semiconductor device |
| US8759178B2 (en) | 2011-11-09 | 2014-06-24 | Unisantis Electronics Singapore Pte. Ltd. | Method for manufacturing semiconductor device and semiconductor device |
| US9691896B2 (en) | 2011-11-09 | 2017-06-27 | Unisantis Electronics Singapore Pte. Ltd. | Semiconductor device |
| US8829601B2 (en) | 2012-05-17 | 2014-09-09 | Unisantis Electronics Singapore Pte. Ltd. | Semiconductor device |
| US8890236B1 (en) | 2012-05-17 | 2014-11-18 | Unisantis Electronics Singapore Pte. Ltd. | Semiconductor device |
| US9012981B2 (en) | 2012-05-17 | 2015-04-21 | Unisantis Electronics Singapore Pte. Ltd. | Semiconductor device |
| US9299786B2 (en) | 2012-05-17 | 2016-03-29 | Unisantis Electronics Singapore Pte. Ltd. | Semiconductor device |
| US9048315B2 (en) | 2012-05-17 | 2015-06-02 | Unisantis Electronics Singapore Pte. Ltd. | Semiconductor device |
| US9166043B2 (en) | 2012-05-17 | 2015-10-20 | Unisantis Electronics Singapore Pte. Ltd. | Semiconductor device |
| US9153660B2 (en) | 2012-05-17 | 2015-10-06 | Unisantis Electronics Singapore Pte. Ltd. | Semiconductor device |
| US9054085B2 (en) | 2012-05-18 | 2015-06-09 | Unisantis Electronics Singapore Pte. Ltd. | Semiconductor device |
| US9202922B2 (en) | 2012-05-18 | 2015-12-01 | Unisantis Electronics Singapore Pte. Ltd. | Semiconductor device |
| US9246001B2 (en) | 2012-05-18 | 2016-01-26 | Unisantis Electronics Singapore Pte. Ltd. | Semiconductor device |
| US9252276B2 (en) | 2012-05-18 | 2016-02-02 | Unisantis Electronics Singapore Pte. Ltd. | Semiconductor device |
| US9029923B2 (en) | 2012-05-18 | 2015-05-12 | Unisantis Electronics Singapore Pte. Ltd. | Semiconductor device |
| US9406768B2 (en) | 2012-05-18 | 2016-08-02 | Unisantis Electronics Singapore Pte. Ltd. | Semiconductor device |
| US9437732B2 (en) | 2012-05-18 | 2016-09-06 | Unisantis Electronics Singapore Pte. Ltd. | Semiconductor device |
| US9466683B2 (en) | 2012-05-18 | 2016-10-11 | Unisantis Electronics Singapore Pte. Ltd. | Semiconductor device |
| US9601618B2 (en) | 2012-05-18 | 2017-03-21 | Unisantis Electronics Singapore Pte. Ltd. | Semiconductor device |
| US8877578B2 (en) | 2012-05-18 | 2014-11-04 | Unisantis Electronics Singapore Pte. Ltd. | Method for producing semiconductor device and semiconductor device |
| US9666712B2 (en) | 2012-05-18 | 2017-05-30 | Unisantis Electronics Singapore Pte. Ltd. | Semiconductor device |
| US9666728B2 (en) | 2012-05-18 | 2017-05-30 | Unisantis Electronics Singapore Pte. Ltd. | Semiconductor device |
| US8823066B2 (en) | 2012-05-18 | 2014-09-02 | Unisantis Electronics Singapore Pte. Ltd. | Method for producing semiconductor device and semiconductor device |
| US8697511B2 (en) | 2012-05-18 | 2014-04-15 | Unisantis Electronics Singapore Pte. Ltd. | Method for producing semiconductor device and semiconductor device |
| Publication number | Publication date |
|---|---|
| JP4720307B2 (en) | 2011-07-13 |
| Publication | Publication Date | Title |
|---|---|---|
| TWI409950B (en) | Self-calibrating trench metal oxide semiconductor field effect transistor (MOSFET) and method of fabricating the same | |
| CN102403338B (en) | Sic semiconductor device and method for manufacturing same | |
| US8106446B2 (en) | Trench MOSFET with deposited oxide | |
| TWI446485B (en) | Semiconductor device and method with trench charge compensation region | |
| JP4435847B2 (en) | Semiconductor device and manufacturing method thereof | |
| JP5167973B2 (en) | Semiconductor device | |
| JP5298565B2 (en) | Semiconductor device and manufacturing method thereof | |
| US8471331B2 (en) | Method of making an insulated gate semiconductor device with source-substrate connection and structure | |
| US10249721B2 (en) | Semiconductor device including a gate trench and a source trench | |
| US7061060B2 (en) | Offset-gate-type semiconductor device | |
| JP2011003797A (en) | Semiconductor device, and method for manufacturing the same | |
| US9466708B2 (en) | Method of forming a transistor and structure therefor | |
| US20130221431A1 (en) | Semiconductor device and method of manufacture thereof | |
| CN101442074A (en) | Trench MOSFET and manufacturing method thereof | |
| WO2015174197A1 (en) | Semiconductor device and method for manufacturing semiconductor device | |
| TW200903806A (en) | Power MOSFET structure and manufacturing method for the same | |
| JP4997694B2 (en) | Semiconductor device and manufacturing method thereof | |
| JP2008084901A (en) | Semiconductor device and manufacturing method thereof | |
| JP4720307B2 (en) | Manufacturing method of semiconductor device | |
| JP2007043069A (en) | Semiconductor device and manufacturing method of semiconductor device | |
| KR20130045104A (en) | Method for manufacturing the semiconductor device | |
| JP2008294157A (en) | Semiconductor device and manufacturing method thereof | |
| JP2007200981A (en) | Horizontal power MOSFET and manufacturing method thereof | |
| JP2005026391A (en) | MOS type semiconductor device | |
| JP5738094B2 (en) | Manufacturing method of semiconductor device |
| Date | Code | Title | Description |
|---|---|---|---|
| A711 | Notification of change in applicant | Free format text:JAPANESE INTERMEDIATE CODE: A711 Effective date:20080204 | |
| A621 | Written request for application examination | Free format text:JAPANESE INTERMEDIATE CODE: A621 Effective date:20080515 | |
| RD02 | Notification of acceptance of power of attorney | Free format text:JAPANESE INTERMEDIATE CODE: A7422 Effective date:20081216 | |
| RD04 | Notification of resignation of power of attorney | Free format text:JAPANESE INTERMEDIATE CODE: A7424 Effective date:20090219 | |
| A711 | Notification of change in applicant | Free format text:JAPANESE INTERMEDIATE CODE: A712 Effective date:20091112 | |
| A977 | Report on retrieval | Free format text:JAPANESE INTERMEDIATE CODE: A971007 Effective date:20101020 | |
| A131 | Notification of reasons for refusal | Free format text:JAPANESE INTERMEDIATE CODE: A131 Effective date:20101130 | |
| A521 | Request for written amendment filed | Free format text:JAPANESE INTERMEDIATE CODE: A523 Effective date:20110131 | |
| A01 | Written decision to grant a patent or to grant a registration (utility model) | Free format text:JAPANESE INTERMEDIATE CODE: A01 Effective date:20110308 | |
| A61 | First payment of annual fees (during grant procedure) | Free format text:JAPANESE INTERMEDIATE CODE: A61 Effective date:20110321 | |
| FPAY | Renewal fee payment (event date is renewal date of database) | Free format text:PAYMENT UNTIL: 20140415 Year of fee payment:3 | |
| R150 | Certificate of patent or registration of utility model | Free format text:JAPANESE INTERMEDIATE CODE: R150 | |
| A711 | Notification of change in applicant | Free format text:JAPANESE INTERMEDIATE CODE: A712 Effective date:20110422 | |
| S111 | Request for change of ownership or part of ownership | Free format text:JAPANESE INTERMEDIATE CODE: R313111 | |
| FPAY | Renewal fee payment (event date is renewal date of database) | Free format text:PAYMENT UNTIL: 20140415 Year of fee payment:3 | |
| R350 | Written notification of registration of transfer | Free format text:JAPANESE INTERMEDIATE CODE: R350 | |
| FPAY | Renewal fee payment (event date is renewal date of database) | Free format text:PAYMENT UNTIL: 20140415 Year of fee payment:3 | |
| A072 | Dismissal of procedure [no reply to invitation to correct request for examination] | Free format text:JAPANESE INTERMEDIATE CODE: A072 Effective date:20110906 | |
| R250 | Receipt of annual fees | Free format text:JAPANESE INTERMEDIATE CODE: R250 | |
| R250 | Receipt of annual fees | Free format text:JAPANESE INTERMEDIATE CODE: R250 | |
| R250 | Receipt of annual fees | Free format text:JAPANESE INTERMEDIATE CODE: R250 | |
| LAPS | Cancellation because of no payment of annual fees |