



本発明は、メッシュシートを介してクリーム状の化粧料や薬剤を肌に塗布するクリーム塗布シートに関する。 The present invention relates to a cream application sheet for applying a creamy cosmetic or drug to the skin via a mesh sheet.
この種のクリーム塗布シートの従来例に、特許文献1がある。そこでは、スクリーン印刷法によって多量のクリームを基材シートに塗布し、このクリームを網状または小孔を多数有するメッシュシートからなる保護層で覆い、メッシュシートを介してクリームを肌に塗布できるようにしている。 There exists
上記のように、メッシュシートを介してクリームを肌に塗布する形式では、塗布量を調節して、複数回にわたって効率良くクリームを肌に塗布できる。しかしながら、特許文献1のクリーム塗布シートはメッシュシートの各孔の開口面積に制限がなく、開口面積が小さ過ぎるとクリームを円滑に塗布できない。逆に開口面積が大き過ぎるとクリームの染み出し量が多くなって、一回の塗布量にばらつきを生じたり、部分的に塗布量の異なる状態を招く。また、例えばフェイスパックなどの場合は、塗布量が多いと塗布跡が外観上よくない。メッシュシートの表面がベタついて取り扱い性や生産性が悪くなる不都合もある。 As described above, in the form in which the cream is applied to the skin via the mesh sheet, the cream can be efficiently applied to the skin multiple times by adjusting the application amount. However, the cream application sheet of
そこで本発明の目的は、メッシュシートの各孔の開口面積の適正化を図ってクリームの染み出し量を調節し、取り扱い性や生産性が良く、かつ適量のクリームを均一に塗布できるクリーム塗布シートを提供することにある。本発明の目的は、複数回塗布する場合でも、毎回の塗布量を一定化できるクリーム塗布シートを提供することにある。本発明の目的は、クリームを綺麗な網目模様状に転写して、塗布跡の外観を綺麗にできるクリーム塗布シートを提供することにある。本発明の目的は、包装容器からわざわざ取り出さなくとも、簡単にクリームを塗布できるクリーム塗布シートを提供することにある。 Accordingly, an object of the present invention is to provide a cream-coated sheet that adjusts the opening area of each hole in the mesh sheet and adjusts the amount of the cream to be bleed, has good handling and productivity, and can uniformly apply an appropriate amount of cream. Is to provide. The objective of this invention is providing the cream application | coating sheet | seat which can make constant the application amount of each time, even when apply | coating several times. An object of the present invention is to provide a cream application sheet that can transfer the cream into a beautiful mesh pattern and make the appearance of the application mark beautiful. The objective of this invention is providing the cream application | coating sheet | seat which can apply | coat cream simply, without taking out from a packaging container.
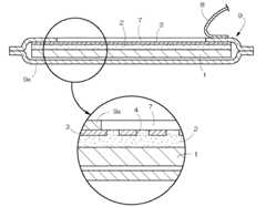
本発明に係るクリーム塗布シートは、図1に示すごとく基材シート1と、基材シート1上に塗布形成されたクリーム層2と、クリーム層2の外面を覆うメッシュシート3とを含み、メッシュシート3の各孔4の開口面積が、0.1〜3.0mm2 に設定されている。ここでクリームとは、化粧用、医療用など、肌に塗布して有効成分を皮膚を介して体内に浸透させるものを意味し、ジェル、軟膏なども含む概念である。また、塗布シートとはパックシートも含む概念である。The cream application sheet according to the present invention includes a
また、本発明のクリーム塗布シートは、図3および図4に示すように、外面の一部に開口部7を有し、この開口部7がシール蓋8で開閉自在に封止されている包装容器9に、クリーム層2が開口部7に臨むように収納することができる。 Further, as shown in FIGS. 3 and 4, the cream application sheet of the present invention has an opening 7 in a part of the outer surface, and the opening 7 is sealed with a seal lid 8 so as to be opened and closed. The
請求項1記載の本発明によれば、開口面積が0.1〜3.0mm2 の範囲の孔4を介してクリームを肌に塗布するので、充分な塗布が可能でありながら必要以上にクリームが染み出さず、適量のクリームを均一に塗布でき、複数回塗布する場合でも各回の塗布量が一定化する。また、クリームは綺麗な網目状に転写されて、塗布跡の外観が綺麗になる。さらには、メッシュシート3の表面がクリームでベトベトにならないので、生産性が向上し、折り畳み収納されているシートを開いて使用する際に、クリームの偏りや手に付着することがなく、取り扱い性も向上する。According to the first aspect of the present invention, the cream is applied to the skin through the holes 4 having an opening area in the range of 0.1 to 3.0 mm2. Does not ooze out and can apply an appropriate amount of cream uniformly, and even when applied multiple times, the amount of application at each time becomes constant. In addition, the cream is transferred to a beautiful mesh, and the appearance of the application mark is beautiful. Furthermore, since the surface of the mesh sheet 3 does not become sticky with cream, the productivity is improved, and when the folded and stored sheet is used for use, the cream is not biased and does not stick to the hand. Will also improve.
請求項2記載の本発明によれば、シール蓋8を剥がすだけで包装容器9の開口部7部分からメッシュシート3を介してクリームを塗布できる。したがって、従来品のようにわざわざ包装容器から取り出す動作や、折り畳み収納されているものを開く動作などを省けるので非常に手軽であり、クリームで手が汚れることもない。 According to the second aspect of the present invention, the cream can be applied through the mesh sheet 3 from the opening 7 portion of the
本発明に係るクリーム塗布シートは、図1に示すごとく基材シート1と、基材シート1上に塗布形成されたクリーム層2と、クリーム層2の外面を覆うメッシュシート3とを備えている。 As shown in FIG. 1, the cream application sheet according to the present invention includes a
基材シート1としては、クリーム層2を担持できるものであれば特に限定されず、コットン、パルプなどのセルロース系やPP、PEなどの合成繊維の各種不織布、織布、紙またはスポンジなどを使用できる。図2に示す基材シート1は、上層の親水性繊維からなる不織布1aと、下層の疎水性繊維からなる不織布1bとからなる2層構造になっている。このようにすれば、クリーム層2は親水性不織布1aで捕捉され、疎水性不織布1bに染み込むことがないので、クリームが基材シート1側に染み出すことを防げる。 The
メッシュシート3は、薄くて多数の小孔を有するものであれば特に限定されず、プラスチック製のシート、メッシュ不織布またはガーゼなどを使用できる。プラスチック製のシートであれば、シートを押し出し形成した後、これに金属突起を熱間押圧して小孔を形成することで得られる。このとき、各孔4の開口面積を0.1〜3.0mm2 、好ましくは0.1〜2.0mm2 、更に好ましくは0.1〜1.5mm2 に規定しておく。The mesh sheet 3 is not particularly limited as long as it is thin and has many small holes, and a plastic sheet, a mesh nonwoven fabric, gauze, or the like can be used. In the case of a plastic sheet, the sheet is obtained by extruding and forming a small hole by hot pressing metal protrusions on the sheet. In this case, 0.1 to 3.0 mm2 the opening area of each hole 4, preferably 0.1 to 2.0 mm2, more preferably keep defined in 0.1 to 1.5 mm2.
クリーム層2は化粧用や医療用など各種用途のものを適用でき、基材シート1に全面的に塗布して、メッシュシート3をクリーム層2の粘着力により貼付しておく。これによれば、メッシュシート3は剥離自在なので、本来の使用方法であるメッシュシート3を介して塗布するか、またはメッシュシート3を剥がして塗布するかを選択でき、通常よりも多くクリームを塗布したい場合などに柔軟に対応できる。 The
このとき、クリーム層2がメッシュシート3で覆われている状態では、図1および図2などに示すようにクリーム層2が孔4に入り込んでいるので、メッシュシート3を剥がしてもクリーム層2の表面には網目模様が残っており、一回目であればクリームを綺麗な網目模様で転写でき、塗布跡の見た目がよくなる。 At this time, in the state where the
また、必要に応じて基材シート1の外周縁を除く部分にクリーム層2を塗布形成して、基材シート1とメッシュシート3とを、それぞれの外周縁部で不離一体に接着して使用することもできる。 Moreover, the
このクリーム塗布シートを製造するには、基材シート1を敷いて、これにクリーム層2を塗布形成し、その上からメッシュシート3を覆い被せ、必要に応じて基材シート1とメッシュシート3とを上記の方法で不離一体に接合して得る。または、本発明ではクリームが不用意にメッシュシート3の表面に染み出さないように、メッシュシートの各孔4の開口面積を0.1〜3.0mm2 に設定しているので、上下を逆にしてメッシュシート3を敷いてこれにクリーム層2を塗布形成し、その上から基材シート1を覆い被せて製造することもできる。In order to manufacture this cream application sheet, the
〈塗布量ばらつき試験〉
以下に示すクリーム塗布シートを各実施例及び比較例毎に5個ずつ(表2においてA〜E)作成し、それぞれを被験者の腕の皮膚へ貼り付けて軽く押圧した際の、肌に残ったクリーム付着量を測定して、各実施例などにおけるクリーム塗布量のばらつきを計測した。<Coating amount variation test>
Five cream application sheets shown below were prepared for each Example and Comparative Example (A to E in Table 2), and remained on the skin when each was applied to the skin of the subject's arm and lightly pressed. The amount of cream applied was measured, and the variation in the amount of cream applied in each example was measured.
各実施例及び比較例において、基材シート1には50×50mm、目付け60g/m2 のコットン100%の不織布を使用し、これに約0.3gのクリーム層2を40×40mmの範囲で塗布形成して各種のメッシュシート3を被せた。In each of the examples and comparative examples, the
表1は、各実施例および比較例で使用したメッシュシート3の詳細およびクリーム塗布量を示し、表2は、その試験結果を示す。ここで使用したクリームは次の成分からなる。
(クリームの成分)
酸化亜鉛(10〜30nm微粒子) 5.0%
二酸化珪素(12nm微粒子) 2.0%
ベントナイト(10〜100nm微粒子) 10.0%
1,3ブチレングリコール 5.0%
ポリエチレングリコール#400 8.0%
グリセリン 5.0%
エタノール 7.0%
ポリオキシエチレン(20)セチルエーテル 1.0%
増粘剤・防腐剤・香料・pH調整剤 適量
これに精製水を加えて全量100%とする
絶対粘度:97,500mPa・sTable 1 shows details of the mesh sheet 3 used in each example and comparative example and the cream application amount, and Table 2 shows the test results. The cream used here consists of the following ingredients.
(Cream ingredients)
Zinc oxide (10-30nm fine particles) 5.0%
Silicon dioxide (12nm fine particles) 2.0%
Bentonite (10-100nm fine particles) 10.0%
1,3-butylene glycol 5.0%
Polyethylene glycol # 400 8.0%
Glycerin 5.0%
Ethanol 7.0%
Polyoxyethylene (20) cetyl ether 1.0%
Thickener, preservative, fragrance, pH adjuster Appropriate amount Add purified water to this to make the total amount 100% Absolute viscosity: 97,500 mPa · s
表2の「平均付着量」及び「塗布率」より、実施例1〜3では比較例に比べてクリームの塗布量が制限され、必要以上にクリームが肌に付着していないことがわかる。このとき、使用後のメッシュシート3の表面にクリームは殆ど残存していなかった。また、「ばらつき」を見ても実施例1〜3は比較例に比べて小さく、効率よく塗布できていることがわかる。比較例1では、開口面積が比較的大きいことから塗布量にばらつきが認められ、メッシュシート3の表面にも少量のクリームが残存していた。 From the “average adhesion amount” and “application rate” in Table 2, it can be seen that in Examples 1 to 3, the application amount of the cream is limited as compared with the comparative example, and the cream does not adhere to the skin more than necessary. At this time, almost no cream remained on the surface of the mesh sheet 3 after use. Moreover, even if it sees "variation", Examples 1-3 are small compared with a comparative example, and it turns out that it can apply | coat efficiently. In Comparative Example 1, since the opening area was relatively large, variation in the coating amount was observed, and a small amount of cream remained on the surface of the mesh sheet 3.
〈転写試験〉
次に、1つのクリーム塗布シートを複数回にわたって塗布した場合のクリームの肌への付着量を測定し、同時にクリームの転写状況を観察した。その結果を表3に示す。なお、本試験における各実施例および比較例も、先の塗布量ばらつき試験と同一のクリーム塗布シートを使用したが、実施例4は実施例2と同じものを使用し、試験に際してメッシュシート3を剥がして使用した。<Transcription test>
Next, the amount of cream adhering to the skin when one cream application sheet was applied multiple times was measured, and at the same time, the transfer state of the cream was observed. The results are shown in Table 3. In addition, each Example and Comparative Example in this test also used the same cream application sheet as the previous application amount variation test, but Example 4 uses the same cream application sheet as Example 2, and the mesh sheet 3 was used in the test. Used by peeling off.
表3より、実施例1〜3は網目模様が毎回一定量綺麗に転写されている。実施例1〜3は1回目から3回目にかけてほぼ均一な量を塗布できているが、比較例1では回数を重ねる毎に塗布量が減少しばらつきが認められた。実施例4では1回目であれば網目模様が綺麗に認められ、比較例2に比べて塗布ムラもなく綺麗に塗布できていた。以上の結果からすると、メッシュシート3の各孔4の開口面積は0.1〜3.0mm2 とし、0.1〜2.0mm2 が好ましく、0.1〜1.5mm2 がより好ましいことがわかる。From Table 3, in Examples 1 to 3, the mesh pattern is clearly transferred a certain amount every time. In Examples 1 to 3, a substantially uniform amount could be applied from the first time to the third time, but in Comparative Example 1, the amount of application decreased and the variation was recognized each time the number was repeated. In Example 4, the network pattern was clearly recognized at the first time, and the coating could be applied neatly with no coating unevenness as compared with Comparative Example 2. From the above results, the opening area of each hole 4 of the mesh sheet 3 is set to 0.1 to 3.0 mm2, preferably from 0.1 to 2.0 mm2, 0.1 to 1.5 mm2 and more preferably it I understand.
このクリーム塗布シートを流通の場に供す際には、顔面の形状に合わせて裁断したフェイスパックシート、所定形状に裁断した保湿シートや軟膏シートなどとして使用できる。これらを折り畳んで各種の包装容器に収納しても、孔4の開口面積を規定しているので、メッシュシート3の表面にクリームが染み出すことがなく、使用に際してクリーム塗布シートを開いてもべたつくことがない。 When this cream application sheet is used for distribution, it can be used as a face pack sheet cut according to the shape of the face, a moisturizing sheet or an ointment sheet cut into a predetermined shape, and the like. Even if these are folded and stored in various packaging containers, the opening area of the hole 4 is regulated, so that the cream does not ooze out on the surface of the mesh sheet 3 and is sticky even when the cream application sheet is opened in use. There is nothing.
図3および図4は、本発明のクリーム塗布シートを非透水性の包装容器9に収納した一実施形態を示す。包装容器9は、扁平な容器本体9aの上側扁平部分の中央に開口部7を設け、この開口部7を開閉自在に閉じる粘着性シール蓋8を備えている。そして、この包装容器9にピタリ収まる大きさに形成したクリーム塗布シートを、クリーム層2が開口部7に臨むように個包装する。 3 and 4 show an embodiment in which the cream application sheet of the present invention is housed in a water-
これによれば、包装容器9を掴んでシール蓋8を剥がすことにより、開口部7からメッシュシート3を介してクリームを塗布できるので、非常に手軽かつ手を汚すことなく使用できる。また、クリーム塗布シートは、これとほぼ同じ大きさの包装容器9で保持されているので、基材シート1とメッシュシート3とを特に接着しなくても、使用に際してメッシュシート3がずれたり剥がれたりすることもない。 According to this, since the cream can be applied from the opening 7 via the mesh sheet 3 by grasping the
1 基材シート
2 クリーム層
3 メッシュシート
4 孔
7 開口部
8 シール蓋
9 包装容器DESCRIPTION OF
| Application Number | Priority Date | Filing Date | Title |
|---|---|---|---|
| JP2005124001AJP2006298836A (en) | 2005-04-21 | 2005-04-21 | Cream application sheet |
| Application Number | Priority Date | Filing Date | Title |
|---|---|---|---|
| JP2005124001AJP2006298836A (en) | 2005-04-21 | 2005-04-21 | Cream application sheet |
| Publication Number | Publication Date |
|---|---|
| JP2006298836Atrue JP2006298836A (en) | 2006-11-02 |
| Application Number | Title | Priority Date | Filing Date |
|---|---|---|---|
| JP2005124001APendingJP2006298836A (en) | 2005-04-21 | 2005-04-21 | Cream application sheet |
| Country | Link |
|---|---|
| JP (1) | JP2006298836A (en) |
| Publication number | Priority date | Publication date | Assignee | Title |
|---|---|---|---|---|
| CN107638421A (en)* | 2016-07-21 | 2018-01-30 | 天津世济生物工程有限公司 | A kind of highly-breathable plaster medicine core |
| Publication number | Priority date | Publication date | Assignee | Title |
|---|---|---|---|---|
| JPH04250109A (en)* | 1991-01-25 | 1992-09-07 | Japan Vilene Co Ltd | Pad incorporating capsule |
| JPH09143057A (en)* | 1995-11-24 | 1997-06-03 | Hiruta Kenta | Production of plaster |
| JPH1029932A (en)* | 1996-05-15 | 1998-02-03 | Maruho Kk | Plaster and production thereof |
| JPH1042948A (en)* | 1996-04-24 | 1998-02-17 | L'oreal Sa | Packaging bag for pasty products |
| JP2006034319A (en)* | 2004-07-22 | 2006-02-09 | Meisei Sansho Kk | Medical fluid impregnated pressing sheet |
| Publication number | Priority date | Publication date | Assignee | Title |
|---|---|---|---|---|
| JPH04250109A (en)* | 1991-01-25 | 1992-09-07 | Japan Vilene Co Ltd | Pad incorporating capsule |
| JPH09143057A (en)* | 1995-11-24 | 1997-06-03 | Hiruta Kenta | Production of plaster |
| JPH1042948A (en)* | 1996-04-24 | 1998-02-17 | L'oreal Sa | Packaging bag for pasty products |
| JPH1029932A (en)* | 1996-05-15 | 1998-02-03 | Maruho Kk | Plaster and production thereof |
| JP2006034319A (en)* | 2004-07-22 | 2006-02-09 | Meisei Sansho Kk | Medical fluid impregnated pressing sheet |
| Publication number | Priority date | Publication date | Assignee | Title |
|---|---|---|---|---|
| CN107638421A (en)* | 2016-07-21 | 2018-01-30 | 天津世济生物工程有限公司 | A kind of highly-breathable plaster medicine core |
| Publication | Publication Date | Title |
|---|---|---|
| US6062234A (en) | Device for single cosmetic application | |
| JP6508815B2 (en) | Cosmetic applicator | |
| US6156323A (en) | Tricot-like pouch for the delivery of topical drugs and cosmetics | |
| JP3836445B2 (en) | Easy-to-use face mask | |
| JP3283489B2 (en) | Disposable makeup applicator | |
| JP4247795B2 (en) | Product applicators, especially cosmetic products | |
| JP2005261947A (en) | Adhesive applicator supplies | |
| JP6043570B2 (en) | Sheet cosmetic and its production method | |
| JP2017507985A (en) | Solid support with multifunctional surface | |
| AU779382B2 (en) | A portable disposable personal article containing a product for body care | |
| WO1998006375A1 (en) | Wet tacky compositions, plaster patches comprising the same, and methods for using the same | |
| KR101917217B1 (en) | Cosmetic puff | |
| JP2006298836A (en) | Cream application sheet | |
| JP4275943B2 (en) | Food storage multi-layer wrap | |
| JP2003292421A (en) | Sheet-like pack and sheet-like material using the same | |
| JP4931321B2 (en) | Cosmetic substance applicator | |
| US20060013844A1 (en) | Facial cosmetic devices and systems | |
| CN100506659C (en) | Selectively activatable sheet-like material and method for its preparation, food storage wrap | |
| CN105536128A (en) | Applying and smearing device for administration of auxiliary semi-solid preparation and liquid preparation | |
| JP7714317B2 (en) | Skin adhesive film and transfer sheet | |
| JP7322532B2 (en) | THIN FILM TRANSFER SHEET AND METHOD OF STORING THIN FILM TRANSFER SHEET | |
| CN210494650U (en) | Two-in-one face mask and eye mask | |
| JP7342428B2 (en) | Biological tissue attachment film and transfer sheet | |
| CN205649732U (en) | Make things convenient for medicator that ointment or cream dosed | |
| JP3080940U (en) | Face mask |
| Date | Code | Title | Description |
|---|---|---|---|
| RD02 | Notification of acceptance of power of attorney | Free format text:JAPANESE INTERMEDIATE CODE: A7422 Effective date:20070505 | |
| A621 | Written request for application examination | Free format text:JAPANESE INTERMEDIATE CODE: A621 Effective date:20071002 | |
| A977 | Report on retrieval | Free format text:JAPANESE INTERMEDIATE CODE: A971007 Effective date:20101222 | |
| A131 | Notification of reasons for refusal | Free format text:JAPANESE INTERMEDIATE CODE: A131 Effective date:20110112 | |
| A02 | Decision of refusal | Free format text:JAPANESE INTERMEDIATE CODE: A02 Effective date:20110706 |