



本発明は、自動車の接近を歩行者に知らせる車両の警報音装置に関する。 The present invention relates to an alarm device for a vehicle that notifies a pedestrian of the approach of an automobile.
一般に、歩行者は、自動車が接近すると、エンジン音の大きさ(音圧レベル)によって接近を感知することができる。しかし、近年の技術進歩によりエンジン音の静音化が進み、また、モータを駆動源とする電気自動車が増えつつあり、そうした場合には歩行者が自動車の接近に気がつきにくい場合もある。一方、運転者は、自動車が歩行者に接近するとクラクションを鳴らして接近を知らせる。しかし、クラクションの音は単純な警報音であるため歩行者にとって精神的圧迫が大きく、ストレスになる場合がある。
また、特許文献1には、車両の状態を検出し、検出した状態に応じて警報音の音量、音質を変化させることが記載されている。
Patent Document 1 describes that the state of a vehicle is detected and the volume and quality of an alarm sound are changed according to the detected state.
しかしながら、特許文献1のものにおいて生成される警報音は、実際の車両の音を基礎として生成された音ではないため、車両の状態によって警報音を変化させても、歩行者が直感的に車両の速度、距離、車種等を把握するには限界があった。
本発明は上記事情を考慮してなされたもので、その目的は、歩行者に車両の接近を確実に、かつ、ストレスを感じさせることなく知らせることができる車両の警報音装置を提供することにある。However, since the alarm sound generated in Patent Document 1 is not a sound generated based on the actual vehicle sound, even if the alarm sound is changed depending on the state of the vehicle, the pedestrian can intuitively There were limits to knowing the speed, distance, vehicle type, etc.
The present invention has been made in view of the above circumstances, and an object of the present invention is to provide an alarm device for a vehicle that can notify a pedestrian of the approach of the vehicle reliably and without causing stress. is there.
この発明は上述した課題を解決するためになされたもので、請求項1に記載の発明は、車両から発生する音を収音して音信号を生成するマイクロフォンと、前記マイクロフォンが生成した音信号を分析して前記音信号の特徴を取得する分析手段と、前記分析手段における分析結果に基づいて前記音信号の特徴を変換する変換手段と、前記変換手段により変換された音信号を車両外へ向けて発音する発音手段とを具備することを特徴とする車両の警報音装置である。 The present invention has been made to solve the above-described problems. The invention according to claim 1 is a microphone that collects sound generated from a vehicle and generates a sound signal, and a sound signal generated by the microphone. Analyzing means for obtaining the characteristics of the sound signal, conversion means for converting the characteristics of the sound signal based on the analysis result in the analysis means, and the sound signal converted by the conversion means to the outside of the vehicle An alarm device for a vehicle characterized by comprising sounding means for sounding toward the vehicle.
請求項2に記載の発明は、請求項1に記載の車両の警報音装置において、前記音信号の特徴は、ピッチ、レベル、周波数特性、テンポ、発音時間のいずれかであることを特徴とする。
請求項3に記載の発明は、請求項1または請求項2に記載の車両の警報音装置において、前記マイクロフォンは車両駆動源の音を収音して音信号を生成することを特徴とする。
請求項4に記載の発明は、請求項3に記載の車両の警報音装置において、前記変換手段は、前記車両駆動源の音から人が不快と感じる音成分を除去し、人が聞き取り易い音成分または人が快適に感じる音成分を増幅させることを特徴とする。According to a second aspect of the present invention, in the vehicle alarm sound device according to the first aspect, the characteristic of the sound signal is any one of pitch, level, frequency characteristics, tempo, and sound generation time. .
According to a third aspect of the present invention, in the vehicle alarm sound device according to the first or second aspect, the microphone picks up a sound of a vehicle driving source and generates a sound signal.
According to a fourth aspect of the present invention, in the vehicle alarm sound device according to the third aspect, the conversion means removes a sound component that the person feels uncomfortable from the sound of the vehicle drive source, and is a sound that is easy for a person to hear. It is characterized by amplifying a component or a sound component that a person feels comfortable.
請求項5に記載の発明は、請求項3または請求項4に記載の車両の警報音装置において、車外の歩行者等を検知する検知手段を具備し、前記発音手段は前記検知手段が前記歩行者等を検知した時に発音することを特徴とする。
請求項6に記載の発明は、請求項3〜請求項5のいずれかの項に記載の車両の警報音装置において、音信号を生成する音信号生成部と、前記音信号生成部により生成された音信号と前記変換手段により変換された音信号を混合する混合手段とをさらに具備し、前記発音手段は前記混合手段により混合された音信号を発音することを特徴とする。According to a fifth aspect of the present invention, in the vehicle alarm sound device according to the third or fourth aspect of the present invention, the vehicle is provided with a detecting means for detecting a pedestrian or the like outside the vehicle. It is characterized by sounding when a person is detected.
According to a sixth aspect of the present invention, in the vehicle alarm sound device according to any one of the third to fifth aspects, the sound signal generating unit that generates a sound signal and the sound signal generating unit generate the sound signal. Mixing means for mixing the sound signal converted by the converting means and the sound signal converted by the converting means, wherein the sound generating means generates the sound signal mixed by the mixing means.
請求項7に記載の発明は、請求項6に記載の車両の警報音装置において、前記混合手段は、前記音信号生成部により生成された音信号と前記変換手段により変換された音信号を混合した後、エフェクト処理を施して出力することを特徴とする。
請求項8に記載の発明は、請求項6または請求項7に記載の車両の警報音装置において、前記音信号生成部は、前記車両駆動源の音のピッチ周期に同期した音信号を生成することを特徴とする。According to a seventh aspect of the present invention, in the vehicle warning sound device according to the sixth aspect, the mixing means mixes the sound signal generated by the sound signal generating section and the sound signal converted by the converting means. Then, effect processing is performed and output.
According to an eighth aspect of the present invention, in the vehicle alarm sound device according to the sixth or seventh aspect, the sound signal generation unit generates a sound signal synchronized with a pitch period of a sound of the vehicle drive source. It is characterized by that.
この発明によれば、変換手段によって変換された音が発音されるので、歩行者が直感的に自動車の接近を知ることができる。また、歩行者にとって耳障りでない音に変換するので、一定の音圧を維持しても歩行者にストレスを感じさせることがなく、これにより、比較的大きな音で確実に接近を知らせることが可能となる。また、請求項5の発明によれば、車外の歩行者等を検知する検知手段を具備し、歩行者を検知した時のみ発音手段が音を発生するので、通常の走行中においては警報音を外部に発生することがない。 According to this invention, since the sound converted by the conversion means is generated, the pedestrian can intuitively know the approach of the car. In addition, since the sound is converted to a sound that is not harsh to the pedestrian, the pedestrian does not feel stress even if a constant sound pressure is maintained, thereby making it possible to reliably notify the approach with a relatively loud sound. Become. Further, according to the invention of
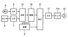
以下、図面を参照し、この発明の実施の形態について説明する。図2はこの発明の一実施の形態による車両の警報音装置の構成を示すブロック図である。この図において、1は装置各部を制御するCPU(中央処理装置)、2はCPU1のプログラムが記憶されたROM(リードオンリメモリ)、3はデータ一時記憶用のRAM(ランダムアクセスメモリ)である。4はDSP(ディジタルシグナルプロセッサ)であり、後述するマイクロフォンで収音される音の分析、変換、加工処理を行う。5は音源であり、FM方式またはWT(ウエーブテーブル)方式によって楽音信号を生成する。なお、この音源5は、CPU(DSP)演算によるソフトウエア方式でも、専用ハードウエア方式でもよい。6は歩行者や二輪車等の接近を検知するためのセンサであり、赤外線を放射し、その反射光を電気信号に変換して出力する発熱体センサや、画像処理によって歩行者等の特徴を抽出する画像処理センサが用いられる。7はセンサ6の出力信号をディジタルデータに変換するA/D(アナログ/ディジタル)変換器である。 Embodiments of the present invention will be described below with reference to the drawings. FIG. 2 is a block diagram showing the configuration of the vehicle alarm sound device according to the embodiment of the present invention. In this figure, 1 is a CPU (central processing unit) that controls each part of the apparatus, 2 is a ROM (read only memory) in which a program of the CPU 1 is stored, and 3 is a RAM (random access memory) for temporary data storage.
8はエンジンやモータ等の車両駆動源から発生する音を検出するためのマイクロフォンであり、本実施形態では自動車のエンジンルーム内に設置されている。9はマイクロフォン8から出力される音信号をサンプリングし、ディジタルデータに変換するA/D変換器である。11はDSP4からバスラインを介して供給される音データをアナログ信号に変換するD/A(ディジタル/アナログ)変換器、12はD/A変換器11の出力が加えられるスピーカであり、自動車の前面部に、放音方向を前方に向けて設置されている。
次に、図1は上述した警報音装置の機能ブロック図であり、この図において、図2の各部に対応する部分には同一の符号が付してある。この図において、15〜17はそれぞれCPU1およびDSP4によって実行される分析モジュール、変換モジュール、加工モジュールである。分析モジュール15は、A/D変換器9から出力されるマイクロフォン8で収音したエンジン音のデータを、FFT(高速フーリエ変換)、LPC(線形予測分析)等の手法で分析することによって、マイクロフォン8の検出音の基本ピッチ(音高)、レベル、周波数特性、テンポ、発音、時間等の要素を分析する。また、分析モジュール15は、後述するセンサ6の出力に関する分析を行う。変換モジュール16は、入力音に対し所定のアルゴリズムに基づいて基本ピッチ(音高)、レベル、周波数特性、テンポ、発音、時間等の要素を変換する。加工モジュール17は、変換モジュール16の出力および音源5の出力を最適な音量でミキシングし、エフェクト処理を施し、最終的な微調整を行う。 Next, FIG. 1 is a functional block diagram of the above-described alarm sound device. In this figure, parts corresponding to the respective parts in FIG. In this figure,
次に、上記警報音装置の動作を図3、図4を参照して説明する。
装置に電源が供給されると、センサ6が駆動され(図3のステップS1)、センサ6の出力信号がA/D変換器7によってディジタルデータに変換され、分析モジュール15に供給される。分析モジュール15はA/D変換器7の出力が予め設定されている一定レベルを超えたか否かを判断し(ステップS2)、越えない場合はステップS1へ戻り、越えた場合は歩行者または二輪車等が一定範囲内に存在すると判断してステップS3へ進む。Next, the operation of the alarm sound device will be described with reference to FIGS.
When power is supplied to the apparatus, the
ステップS3では、分析モジュール15、変換モジュール16、加工モジュール17および音源5によって警報音が生成される。すなわち、分析モジュール15はA/D変換器9から出力されるエンジン音データを周波数分析する。変換モジュール16はその分析結果に基づいてA/D変換器9の出力に含まれるノイズ成分を除去する。 In step S <b> 3, an alarm sound is generated by the
すなわち、いま、周波数分析の結果得られたエンジン音の収音データの周波数特性が図4(イ)に示す特性であった場合、変換モジュール16は、まず、周波数特性のピーク(矢印参照)を検出し、次いで、そのピークを頂点とする山を適宜作成した周波数特性の信号を生成する(図4(ロ)参照)。次に、図4(イ)に示す信号から図4(ロ)に示す信号を減算した結果がノイズ成分であるので、A/D変換器9の出力から該ノイズ成分を減算する。次に、変換モジュール16は、A/D変換器9の出力について、人が聞いて不快と感じるノイズ成分や周波数帯域(例えば高周波帯域)のゲインを下げる変換を行い、また、人が聞き取り易い音の成分(2KHz〜5KHz)のゲインを上げる変換を行う。 That is, when the frequency characteristic of the engine sound collection data obtained as a result of the frequency analysis is the characteristic shown in FIG. 4A, the
音源5は人が心地よく感じる周期的音を生成し、また、エンジン音の変換では補いきれない人が聞き取りやすい音データを生成する。ここで、人が心地よく感じる音とは、例えば楽器の音であってもよい。予めROM2等に記憶されている楽器等の音データのその特徴(ピッチ、レベル、音色等)に基づいて、人が心地良いと感じる周期的な音を生成する。加工モジュール17は、変換モジュール16の出力と音源5の出力の各音量を調整しながら足し合わせ、イコライザーやコンプレッサー(出力レベルを一定範囲に抑えるもの)等のエフェクタ処理を行って最終音を生成する。そして、生成された音データがD/A変換器11によってアナログ信号に変換され、アンプ11aで増幅され、スピーカ12で発音される(ステップS4)。 The
以上の処理によって、エンジン音の変化に応じた音を生かしつつ、歩行者に対し自動車のエンジン音であることを認識させ、しかも、不快に感じさせない音を発生することができる。 With the above processing, it is possible to generate a sound that makes a pedestrian recognize that it is an engine sound of a car and makes it uncomfortable while making use of a sound according to a change in engine sound.
次に、この発明の第2の実施形態について説明する。
この第2の実施形態のハードウエア構成図および機能ブロック図は各々図2、図1と同様である。この第2の実施形態が第1の実施形態と異なる点は、図3におけるステップS3の処理である。すなわち、分析モジュール15は、A/D変換器9から出力されるエンジン音の収音データを時間分析し、分析したピッチ周期情報を音源5へ送る。音源5は第1の実施形態と同様に、人が心地よく感じる成分を持つ音を作り出す。発生信号の周期は分析モジュール15から出力されたピッチ周期に同期させる。また、人が聞き取りやすい音成分信号も加えてもよい。変換モジュール16はエンジン音の収音データに含まれるエンジン音の特徴的な周波数成分のみを残し、他の成分を削除する。加工モジュール17は、変換モジュール16の出力と音源5の出力の各音量を調整しながら足し合わせ、イコライザーやコンプレッサー等のエフェクタ処理を行って最終音を生成する。Next explained is the second embodiment of the invention.
The hardware configuration diagram and functional block diagram of the second embodiment are the same as those in FIGS. The difference between the second embodiment and the first embodiment is the processing of step S3 in FIG. That is, the
以上の処理によって、エンジン回転速度に応じた新規な音信号を作り出すことができ、歩行者に対し、エンジン回転速度に応じた存在音を認知
させつつ、決して不快でない音信号を生成することができる。
なお、上記第1、第2の実施形態においては、マイクロフォン8によってエンジン音を収音しているが、これはエンジン音に限らず、排気音、風切り音、ロードノイズ等車両から発生される全ての音を対象としてもよい。Through the above processing, a new sound signal corresponding to the engine rotation speed can be created, and a pedestrian can be made to generate a sound signal that is not unpleasant while recognizing the presence sound corresponding to the engine rotation speed. .
In the first and second embodiments, the engine sound is picked up by the
この発明は、乗用車、商用車等、各種の自動車に使用される。 The present invention is used in various automobiles such as passenger cars and commercial vehicles.
1…CPU、2…ROM、3…RAM、4…DSP、5…音源、6…センサ、7、9…A/D変換器、8…マイクロフォン、11…D/A変換器、12…スピーカ、15…分析モジュール、16…変換モジュール、17…加工モジュール。DESCRIPTION OF SYMBOLS 1 ... CPU, 2 ... ROM, 3 ... RAM, 4 ... DSP, 5 ... Sound source, 6 ... Sensor, 7, 9 ... A / D converter, 8 ... Microphone, 11 ... D / A converter, 12 ... Speaker, 15 ... Analysis module, 16 ... Conversion module, 17 ... Processing module.
| Application Number | Priority Date | Filing Date | Title |
|---|---|---|---|
| JP2005082055AJP2006264390A (en) | 2005-03-22 | 2005-03-22 | Acoustic alarming device of vehicle |
| Application Number | Priority Date | Filing Date | Title |
|---|---|---|---|
| JP2005082055AJP2006264390A (en) | 2005-03-22 | 2005-03-22 | Acoustic alarming device of vehicle |
| Publication Number | Publication Date |
|---|---|
| JP2006264390Atrue JP2006264390A (en) | 2006-10-05 |
| Application Number | Title | Priority Date | Filing Date |
|---|---|---|---|
| JP2005082055APendingJP2006264390A (en) | 2005-03-22 | 2005-03-22 | Acoustic alarming device of vehicle |
| Country | Link |
|---|---|
| JP (1) | JP2006264390A (en) |
| Publication number | Priority date | Publication date | Assignee | Title |
|---|---|---|---|---|
| JP2011152842A (en)* | 2010-01-27 | 2011-08-11 | Mitsubishi Motors Corp | Vehicle approach sound control device |
| JP2011162030A (en)* | 2010-02-09 | 2011-08-25 | Nissan Motor Co Ltd | Vehicle alarm sound generator |
| CN102169686A (en)* | 2010-01-22 | 2011-08-31 | 株式会社电装 | Vehicle presence notification apparatus |
| JP2011168202A (en)* | 2010-02-19 | 2011-09-01 | Denso Corp | Vehicle presence notification device |
| JP2011201368A (en)* | 2010-03-25 | 2011-10-13 | Yamaha Corp | Approach warning sound generation device |
| WO2011128200A1 (en)* | 2010-04-16 | 2011-10-20 | Bdp Sicherheitstechnologien Gmbh | Simulation of engine sounds in silent vehicles |
| JP2011207391A (en)* | 2010-03-30 | 2011-10-20 | Mazda Motor Corp | Sound producing apparatus for vehicle |
| JP2011207392A (en)* | 2010-03-30 | 2011-10-20 | Mazda Motor Corp | Sound producing apparatus for vehicle |
| WO2012023170A1 (en)* | 2010-08-16 | 2012-02-23 | 三菱電機株式会社 | Electrically-powered moving body alert sound control device |
| WO2013035167A1 (en)* | 2011-09-07 | 2013-03-14 | 三菱電機株式会社 | Approaching vehicle alerting apparatus, and electric moving body provided with same |
| DE102011011722B4 (en)* | 2010-03-30 | 2014-02-13 | Mazda Motor Corp. | Sound generating device, method and computer program product for a vehicle |
| US8669858B2 (en) | 2010-02-09 | 2014-03-11 | Nissan Motor Co, Ltd. | Vehicle notification sound emitting apparatus |
| JP2014058316A (en)* | 2013-12-27 | 2014-04-03 | Mazda Motor Corp | Vehicle sounding device |
| CN104718110A (en)* | 2012-10-15 | 2015-06-17 | 三菱电机株式会社 | Sound quality adjustment device for vehicle proximity notification device, vehicle proximity notification device simulator, and vehicle proximity notification device |
| JP2015172477A (en)* | 2014-02-19 | 2015-10-01 | 三菱電機株式会社 | Blower and air conditioner using the same |
| KR20170003784A (en)* | 2015-06-30 | 2017-01-10 | 엘에스오토모티브 주식회사 | Regurating sound generating system for environment friendly vehicle and a method for controlling the system |
| KR101744716B1 (en)* | 2015-10-27 | 2017-06-08 | 현대자동차주식회사 | Vehicle And Control Method Thereof |
| JP2018020736A (en)* | 2016-08-05 | 2018-02-08 | 小室 雅彦 | Vehicle approach notification device and vehicle with the same |
| Publication number | Priority date | Publication date | Assignee | Title |
|---|---|---|---|---|
| CN102169686A (en)* | 2010-01-22 | 2011-08-31 | 株式会社电装 | Vehicle presence notification apparatus |
| US8451143B2 (en) | 2010-01-22 | 2013-05-28 | Denso Corporation | Vehicle presence notification apparatus |
| JP2011152842A (en)* | 2010-01-27 | 2011-08-11 | Mitsubishi Motors Corp | Vehicle approach sound control device |
| JP2011162030A (en)* | 2010-02-09 | 2011-08-25 | Nissan Motor Co Ltd | Vehicle alarm sound generator |
| US8669858B2 (en) | 2010-02-09 | 2014-03-11 | Nissan Motor Co, Ltd. | Vehicle notification sound emitting apparatus |
| JP2011168202A (en)* | 2010-02-19 | 2011-09-01 | Denso Corp | Vehicle presence notification device |
| JP2011201368A (en)* | 2010-03-25 | 2011-10-13 | Yamaha Corp | Approach warning sound generation device |
| JP2011207391A (en)* | 2010-03-30 | 2011-10-20 | Mazda Motor Corp | Sound producing apparatus for vehicle |
| JP2011207392A (en)* | 2010-03-30 | 2011-10-20 | Mazda Motor Corp | Sound producing apparatus for vehicle |
| DE102011011722B4 (en)* | 2010-03-30 | 2014-02-13 | Mazda Motor Corp. | Sound generating device, method and computer program product for a vehicle |
| WO2011128200A1 (en)* | 2010-04-16 | 2011-10-20 | Bdp Sicherheitstechnologien Gmbh | Simulation of engine sounds in silent vehicles |
| AT508606A3 (en)* | 2010-04-16 | 2011-11-15 | Bdp Sicherheitstechnologien Gmbh | SPEED DEPENDENT PLAY OF MOTOR NOISE BY SOUND GENERATOR OF HYBRID / ELECTRIC CARS |
| JPWO2012023170A1 (en)* | 2010-08-16 | 2013-10-28 | 三菱電機株式会社 | Notification sound control device for electric vehicle |
| WO2012023170A1 (en)* | 2010-08-16 | 2012-02-23 | 三菱電機株式会社 | Electrically-powered moving body alert sound control device |
| WO2013035167A1 (en)* | 2011-09-07 | 2013-03-14 | 三菱電機株式会社 | Approaching vehicle alerting apparatus, and electric moving body provided with same |
| CN104718110A (en)* | 2012-10-15 | 2015-06-17 | 三菱电机株式会社 | Sound quality adjustment device for vehicle proximity notification device, vehicle proximity notification device simulator, and vehicle proximity notification device |
| CN104718110B (en)* | 2012-10-15 | 2016-10-12 | 三菱电机株式会社 | The audio quality adjustment device of vehicle approach notification device, vehicle approach notification device simulator and vehicle approach notification device |
| JP2014058316A (en)* | 2013-12-27 | 2014-04-03 | Mazda Motor Corp | Vehicle sounding device |
| JP2015172477A (en)* | 2014-02-19 | 2015-10-01 | 三菱電機株式会社 | Blower and air conditioner using the same |
| KR20170003784A (en)* | 2015-06-30 | 2017-01-10 | 엘에스오토모티브 주식회사 | Regurating sound generating system for environment friendly vehicle and a method for controlling the system |
| CN106331949A (en)* | 2015-06-30 | 2017-01-11 | 大星电机工业株式会社 | Regulating sound generating system for environment friendly vehicle and a method for controlling the system |
| JP2017013786A (en)* | 2015-06-30 | 2017-01-19 | デースン エレクトリック シーオー エルティーディー | Environmentally-friendly vehicle sound generator control apparatus and method for controlling the same |
| KR102383504B1 (en)* | 2015-06-30 | 2022-04-06 | 엘에스오토모티브테크놀로지스 주식회사 | Regurating sound generating system for environment friendly vehicle and a method for controlling the system |
| KR101744716B1 (en)* | 2015-10-27 | 2017-06-08 | 현대자동차주식회사 | Vehicle And Control Method Thereof |
| JP2018020736A (en)* | 2016-08-05 | 2018-02-08 | 小室 雅彦 | Vehicle approach notification device and vehicle with the same |
| Publication | Publication Date | Title |
|---|---|---|
| JP2006264390A (en) | Acoustic alarming device of vehicle | |
| CN110691299B (en) | Audio processing system, method, apparatus, device and storage medium | |
| CN111081213B (en) | New energy vehicle, active sound system thereof and active sound control method | |
| US8204243B2 (en) | Synthetic engine sound for electric vehicle based on detected direction of travel | |
| WO2012070334A1 (en) | Vehicle travel warning device | |
| US9744809B2 (en) | Enhanced sound generation for quiet vehicles | |
| JP4134989B2 (en) | Automotive audio equipment | |
| JP4725236B2 (en) | Outside alarm sound notification device | |
| JP2009040318A (en) | Vehicle approach notification device | |
| US20070229235A1 (en) | Vehicle-mounted sounding device | |
| JPH0732948A (en) | Pseudo-running sound generator for electric vehicles | |
| JP2008149917A (en) | Ambient sound informing device for vehicle | |
| JP2007320472A (en) | Automobile warning sound producing device | |
| CN105358382A (en) | Object detection device and object detection method | |
| JP5454432B2 (en) | Vehicle approach notification device | |
| JP2008001124A (en) | Vehicle-mounted sounding device | |
| JP4790876B1 (en) | VEHICLE RECOVERY SOUND GENERATION DEVICE AND VEHICLE RECOVERY SOUND GENERATION METHOD | |
| JP2009043146A (en) | Vehicle approach notification device | |
| JP2009073417A (en) | Noise control apparatus and method | |
| JP2012126207A (en) | Vehicle presence notification apparatus, control device, and program | |
| JP2009120013A (en) | Equipment control device for vehicle | |
| JP2019020638A (en) | Sound generation device, sound generation control program | |
| CN113518734A (en) | voice output device | |
| JP7671666B2 (en) | Method for controlling sound processing device and control device for sound processing device | |
| JP2007269044A (en) | On-vehicle sounding device |
| Date | Code | Title | Description |
|---|---|---|---|
| A621 | Written request for application examination | Free format text:JAPANESE INTERMEDIATE CODE: A621 Effective date:20080122 | |
| A977 | Report on retrieval | Free format text:JAPANESE INTERMEDIATE CODE: A971007 Effective date:20090930 | |
| A131 | Notification of reasons for refusal | Free format text:JAPANESE INTERMEDIATE CODE: A131 Effective date:20091006 | |
| A521 | Written amendment | Effective date:20091202 Free format text:JAPANESE INTERMEDIATE CODE: A523 | |
| A02 | Decision of refusal | Free format text:JAPANESE INTERMEDIATE CODE: A02 Effective date:20100126 |