


本発明は、体腔内に挿入した内視鏡先端部に設けられた撮像素子により撮像された画像を観察する電子内視鏡システムに関する。 The present invention relates to an electronic endoscope system for observing an image picked up by an image pickup device provided at a distal end portion of an endoscope inserted into a body cavity.
近年、体内に挿入された内視鏡の挿入部分の位置を検出する様々な電子内視鏡システムが提案されている。その中には、コイルに交流電流を流すことにより磁場を発生させる磁場発生装置と、該磁場発生装置により発生した磁場をコイル等により検出する磁場検出センサとを用いた電子内視鏡システムがある。該電子内視鏡システムにおいては、内視鏡の挿入部の先端に配置された磁場検出センサで発生した誘起電流の大きさによって、内視鏡の先端部の位置が検出されている。上述した電子内視鏡システムは、例えば以下の特許文献1に開示されている。 In recent years, various electronic endoscope systems that detect the position of an insertion portion of an endoscope inserted into the body have been proposed. Among them, there is an electronic endoscope system using a magnetic field generator that generates a magnetic field by flowing an alternating current through a coil, and a magnetic field detection sensor that detects the magnetic field generated by the magnetic field generator using a coil or the like. . In the electronic endoscope system, the position of the distal end portion of the endoscope is detected based on the magnitude of the induced current generated by the magnetic field detection sensor disposed at the distal end of the insertion portion of the endoscope. The electronic endoscope system described above is disclosed in, for example,
上記特許文献1には、被検者の体外に配置された磁場発生器により発生した磁場を、内視鏡の鉗子口から鉗子管路(鉗子チャンネル)の内部に挿入された処置具の先端部に配設された磁場検出センサが検知することにより、内視鏡の体内挿入部の彎曲形態を検出する電子内視鏡システムが開示されている。この電子内視鏡システムによれば、内視鏡の先端部の位置や軌跡を検知することが可能となる。
通常の検査において、術者は、体内の何処に病変部があるか確認しながら、体内に挿入した内視鏡を移動させる。そして病変部を発見すると、内視鏡の移動操作を一時的に中断し、該病変部近傍の画像を撮像、記録する。しかしながら、従来の電子内視鏡システムでは、1または複数の画像それぞれが撮像された場所を特定する情報は提供されていなかった。そのため、病変部が発見された場所など術者の関心のある位置に、内視鏡の先端部を再び戻すには、術者の経験と記憶に頼るところが大となり、非常に手間がかかるという問題点があった。この問題は、例えば肺臓など形状が複雑で分岐が多数存在する箇所において、病変部の正確な位置を特定する際により顕著に現れる。 In a normal examination, the surgeon moves the endoscope inserted into the body while confirming where the lesion is in the body. When a lesion is found, the operation of moving the endoscope is temporarily interrupted, and an image near the lesion is captured and recorded. However, in the conventional electronic endoscope system, information for specifying a place where each of one or a plurality of images is captured has not been provided. For this reason, it takes a lot of time and effort to rely on the experience and memory of the operator to return the distal end of the endoscope to the position of interest to the operator, such as where the lesion was found. There was a point. This problem becomes more prominent when the exact position of a lesion is specified at a location where the shape is complicated and there are many branches, such as the lungs.
本発明は、以上の事情に鑑み、内視鏡先端部の現在位置のみならず該内視鏡により撮像された画像に対応する場所を特定することができる電子内視鏡システムを提供することを目的とする。 In view of the above circumstances, the present invention provides an electronic endoscope system that can specify not only the current position of the distal end portion of an endoscope but also a location corresponding to an image captured by the endoscope. Objective.
上記課題を解決するため、本発明の請求項1に記載の電子内視鏡システムは、内視鏡先端部に配設された撮像素子により被検者の体内を撮像する撮像手段と、内視鏡先端部の位置を検出する位置検出手段と、撮像手段により撮像された画像を、撮像時に位置検出手段で検出された位置情報と関連づけた静止画像として、所定のタイミングで記録する記録手段と、記録手段に記録された静止画像および該静止画像に関連づけられた位置情報を表示し、かつ撮像手段により撮像されている画像を位置検出手段で検出されている位置情報と共に動画像として表示する表示手段と、を有することを特徴とする。 In order to solve the above-described problem, an electronic endoscope system according to
請求項1に記載の発明によれば、術者は、現在内視鏡先端部が位置する体内の状態は位置情報と共に動画像として観察することができる。加えて本発明によれば、術者は、所定のタイミングで記録された静止画像を該静止画像が撮像された場所に関する位置情報と共に観察することができる。従って術者は、過去に撮像した静止画像の撮像場所へ内視鏡先端部を位置させることが容易になる。 According to the first aspect of the present invention, the surgeon can observe the state of the body where the endoscope tip is currently located as a moving image together with the position information. In addition, according to the present invention, the surgeon can observe a still image recorded at a predetermined timing together with position information regarding a place where the still image is captured. Therefore, the surgeon can easily position the distal end portion of the endoscope at the place where the still image taken in the past is taken.
本発明の請求項2に記載の電子内視鏡システムによれば、上記所定のタイミングを指示する操作手段を有することが望ましい。これにより、術者の任意のタイミングで静止画像を記録することが可能になる。 According to the electronic endoscope system of the second aspect of the present invention, it is desirable to have an operation means for instructing the predetermined timing. This makes it possible to record a still image at any timing of the operator.
本発明の請求項3に記載の電子内視鏡システムによれば、位置検出手段は、互いに直交する少なくとも二つの方向の磁場を順次連続して発生させる磁場発生手段と、内視鏡の先端部に配設され、磁場発生手段によって発生した磁場により誘導電流を発生させる磁場検出センサと、を有し、磁場発生手段が発生させた各磁場の方向と誘導電流の大きさを関連づけることにより、磁場発生時における内視鏡先端部の位置を検出する。 According to the electronic endoscope system according to claim 3 of the present invention, the position detecting means includes a magnetic field generating means for sequentially generating magnetic fields in at least two directions orthogonal to each other, and a distal end portion of the endoscope. And a magnetic field detection sensor for generating an induced current by the magnetic field generated by the magnetic field generating means, and by correlating the direction of each magnetic field generated by the magnetic field generating means with the magnitude of the induced current, The position of the endoscope tip at the time of occurrence is detected.
本発明の請求項4に記載の電子内視鏡システムによれば、上記の関連づけは、誘導電流の大きさを、磁場発生源を原点とし少なくとも二つの方向を軸とした座標系上における座標に変換することにより行われる。 According to the electronic endoscope system according to claim 4 of the present invention, the above-described association is performed by setting the magnitude of the induced current to a coordinate on a coordinate system with the magnetic field generation source as the origin and at least two directions as axes. This is done by converting.
請求項5に記載の電子内視鏡システムによれば、磁場発生手段は、磁場発生源として、被検者の体外に配置される磁場発生器を有する。 According to the electronic endoscope system of the fifth aspect, the magnetic field generation means has a magnetic field generator disposed outside the body of the subject as a magnetic field generation source.
請求項6に記載の電子内視鏡システムによれば、記録手段は、複数の静止画像を記録し、表示手段は、記録手段に記録されている複数の静止画像の少なくとも一部を表示することができる。 According to the electronic endoscope system according to claim 6, the recording unit records a plurality of still images, and the display unit displays at least a part of the plurality of still images recorded in the recording unit. Can do.
請求項7に記載の電子内視鏡システムによれば、表示手段は、静止画像を動画像よりも低解像度により表示することが好ましい。これにより、システムにかかる処理負担を軽減することができる。 According to the electronic endoscope system of the seventh aspect, it is preferable that the display unit displays the still image with a lower resolution than the moving image. As a result, the processing burden on the system can be reduced.
本発明によれば、撮像された静止画像および現在撮像中の動画像が共に撮像した位置情報と関連づけられた状態で表示される。これにより、術者は、内視鏡先端部の現在位置のみならず該内視鏡により撮像された画像に対応する場所を容易にかつ正確に特定することができる。従って、本発明に係る電子内視鏡システムを使用することにより、術者は、任意の静止画像と上記動画像それぞれに関連づけられた位置情報を一致させるように内視鏡の移動操作を行えば、迅速かつ正確に内視鏡の先端部を関心のある位置まで移動させることが可能となる。 According to the present invention, the captured still image and the currently captured moving image are displayed in a state associated with the captured position information. As a result, the operator can easily and accurately specify not only the current position of the distal end portion of the endoscope but also the location corresponding to the image captured by the endoscope. Therefore, by using the electronic endoscope system according to the present invention, the surgeon can move the endoscope so as to match the position information associated with each of the still images and the moving images. It becomes possible to move the tip of the endoscope to a position of interest quickly and accurately.
図面を参照して本発明の実施形態を説明する。図1は、本発明による電子内視鏡システムを示す図である。また、図2は、電子内視鏡システム1の一部を抽出して詳細に示すブロック図である。電子内視鏡システム1は、被検者の体内に挿入される内視鏡3、プロセッサ5、内視鏡3が挿入される被検者の周囲に配置され、プロセッサ5に接続された磁場発生器7、内視鏡3で撮像された画像を表示するモニタ9を有する。 Embodiments of the present invention will be described with reference to the drawings. FIG. 1 is a diagram showing an electronic endoscope system according to the present invention. FIG. 2 is a block diagram showing a part of the
内視鏡3は、プロセッサ5から内視鏡3に照射光を伝送するライトガイド11、ライトガイド先端部11aから射出された照射光を被検者の体内に照射するための配光レンズ13、被検者の体内からの光を集光する対物レンズ15、対物レンズ15を介して被検者の体内を撮像するカラーCCD等の撮像素子17、鉗子チャンネル18、内視鏡3の先端部に配設される磁場検出センサ19を有する。 The endoscope 3 includes a
プロセッサ5は、内視鏡3に照射光を提供する光源部21、プロセッサ5の各処理部を制御するシステムコントローラ23、画像記録用スイッチ25、電子内視鏡システム1全体のタイミングを制御するタイミングコントローラ27、タイミングコントローラ27によって制御された所定のタイミングで撮像素子17の画像取り込みを制御する撮像素子制御・駆動部29、前段画像信号処理部31、第一画像メモリ33、磁場検出センサ19で検出された位置検出信号にA/D変換を行う位置検出信号処理部35、位置検出信号に基づいて磁場発生器7に対する磁場検出センサ19の相対位置情報の生成、及び磁場発生器駆動回路41の駆動制御を行う制御演算部37、磁場発生器7に電流を提供する磁場発生器駆動回路41、複数の静止画像データ等が記録可能な第二画像メモリ43、後段画像信号処理部45を有する。 The processor 5 includes a
磁場発生器7は、内視鏡観察および内視鏡処置を行うにあたり、予め、被検者の周囲に配置される。磁場発生器7は、互いに直交するX、Y、Zの各方向に磁場を発生させる三つのコイルを持つ。そして、各コイルに交流電流を流すことにより、X、Y、Zの各方向に交流の磁場を発生させる。なお、本実施形態では、三方向に磁場を発生させる磁場発生器7を使用しているが、互いに直交する二方向にのみ磁場を発生させる磁場発生器7を使用しても良い。 The magnetic field generator 7 is arranged around the subject in advance for performing endoscopic observation and endoscopic treatment. The magnetic field generator 7 has three coils that generate magnetic fields in the X, Y, and Z directions orthogonal to each other. Then, by supplying an alternating current to each coil, an alternating magnetic field is generated in each of the X, Y, and Z directions. In this embodiment, the magnetic field generator 7 that generates magnetic fields in three directions is used. However, the magnetic field generator 7 that generates magnetic fields only in two directions orthogonal to each other may be used.
電子内視鏡システム1を用いた、被検者に対する内視鏡観察および内視鏡処置は以下のようにして実行される。 Endoscopic observation and endoscopic treatment for a subject using the
システムコントローラ23は、光源部21を駆動制御して体腔内を照明する。詳しくは、光源部21は、白色光を発するランプである光源47、光源47から出力される光量を調整する略円盤状の調光用絞り49、調光用絞り49を回転駆動するモータ51、モータ51を駆動・制御するモータ駆動・制御部53、光源47に電力を供給する光源用電源55、光源47から射出された光をライトガイド後端部11bに導くレンズ57、を有する。ライトガイド入射端11bに入射した白色光は、ライトガイド11、配光レンズ13を介して体腔内を照明する。 The
体腔内で反射した光は、対物レンズ15を介して撮像素子17の受光面に光学像を結ぶ。撮像素子17は、タイミングコントローラ27から送信されるタイミング信号に同期して送信される撮像素子制御・駆動部29からの駆動信号に同期して、上記光学像に対応する各色の画像信号を生成し、プロセッサ5の前段画像信号処理部31に定期的に送信する。 The light reflected in the body cavity forms an optical image on the light receiving surface of the
前段画像信号処理部31は、図2に示すように、バッファ31a、ビデオフィルタ31b、A/D変換部31cを有する。前段画像信号処理部により、A/D変換等の処理が施された画像信号は、動画像データとして第一画像メモリ33に格納される。なお、図1、図2に示すように、前段画像信号処理部31は、第二画像メモリ43にも画像信号を送信している。しかし、第二画像メモリ43は、画像記録用スイッチ25が操作された場合を除いて画像信号の受信が禁止されている。 As shown in FIG. 2, the pre-stage image
上述した一連の撮像処理が行われている間、システムコントローラ23は、演算処理部37に所定の制御信号を送信し、磁場発生処理を実行させる。磁場発生処理は、タイミングコントローラ27が制御演算部37に送信するタイミング信号に同期して実行される。ここで制御演算部37に送信されるタイミング信号は、撮像素子制御・駆動部29に送信するタイミング信号と同一周期である。制御演算部37は、磁場発生器駆動回路41を介して磁場発生器7を駆動させる。詳しくは、磁場発生器駆動回路41は、磁場発生器7におけるX、Y、Zの各方向に対応するコイルそれぞれに独立して交流電流を供給できるように構成されている。そして制御演算部37は、上記所定の制御信号を一回受信する毎に、磁場発生器駆動回路41を駆動させて、磁場発生器7から異なる3方向の磁場が連続して一回ずつ発生するように各コイルに対して順次交流電流を供給する。なお、連続して磁場を発生させるとしても各磁場発生時のずれは非常に微少に設定されており、実際には略同一タイミングとみなすことができる。 While the series of imaging processes described above is being performed, the
磁場発生器7から磁場が発生すると、位置検出センサ19は、該磁場の影響を受けて誘導電流を発生させる。発生した誘導電流は、位置検出信号処理部35に入力される。位置検出信号処理部35は、バッファ35a、位置検出信号の大きさを検知するレベル検出器35d、A/D変換部35cを有する。位置検出信号処理部35内において、該誘導電流は、バッファ35aを介してレベル検出器35dに入力する。レベル検出器35dは誘導電流に対応する位置検出信号を生成し、出力する。レベル検出器35dから出力された位置検出信号は、A/D変換部35cでA/D変換された後、制御演算部37に送信される。 When a magnetic field is generated from the magnetic field generator 7, the
ここで、位置検出センサ19で発生した誘導電流は、磁場発生器7と位置検出センサ19間の距離に対応して変化する。つまり、X、Y、Zの各方向の磁場発生時における誘導電流をそれぞれ検出することにより、該磁場発生時における位置検出センサ19の磁場発生器7に対する三次元的な相対位置、さらに言えば磁場発生器7に対する内視鏡先端部の三次元的な相対位置を検出することができる。そこで、制御演算部37は、発生中の磁場の各方向と入力された位置検出信号のレベルをそれぞれ関連づけ、磁場発生器7に対する位置検出センサ19の相対的位置情報を生成する。つまり、相対的位置情報は、X方向の磁場発生時における位置検出信号レベル、Y方向の磁場発生時における位置検出信号レベル、Z方向の磁場発生時における位置検出信号レベルからなる。本実施形態の制御演算部37は、磁場発生器7を原点とし、X、Y、Zの各方向を軸とした三次元座標系における座標を相対的位置情報として生成する。 Here, the induced current generated by the
制御演算部37内において、文字情報生成部39は、上記相対的位置情報をモニタ9に表示するための文字情報に変換している。なお、図1、図2に示すように、文字情報生成部39は、第二画像メモリ43にも相対的位置情報を送信している。しかし、第二画像メモリ43は、画像記録用スイッチ25が操作された場合を除いて相対的位置情報の書き込みが禁止されている。 In the
後段画像信号処理部45には、タイミングコントローラ27からのタイミング信号に同期して、第一画像メモリ33からは動画像データが、文字情報生成部39からは相対的位置情報が、それぞれ入力する。該タイミング信号は、例えばモニタ9の周期に対応して送信される。後段画像信号処理部45は、動画像データに相対的位置情報を重畳し、D/A変換等の処理を施し、モニタ9に動画像として出力する。 In synchronization with the timing signal from the
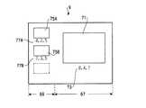
図3は、モニタ9の画面の一例を示す。後段画像信号処理部45から出力された動画像データ(および相対的位置情報)は、モニタ9の画面において動画像表示領域67を形成する。動画像表示領域67は、動画像71と座標情報73からなる。撮像素子17による撮像および位置検出センサ19等を用いた位置検出は常時行われる。そして撮像、位置検出、モニタ出力はいずれも同期して処理される。従って、動画像71および座標情報73は互いに関連づけられた状態でリアルタイムで更新される。 FIG. 3 shows an example of the screen of the
上記動画像71を観察しつつ、術者は任意のタイミングで画像記録用スイッチ25を操作する。該操作により、画像記録用スイッチ25からシステムコントローラ23に所定の信号が送信される。該所定の信号を受信すると、システムコントローラ23は、タイミングコントローラ27をはじめ各処理部に現在撮像中の画像を静止画像として記録するように指令する制御信号を送信する。該制御信号を受信することにより、第二画像メモリ43は、前段画像信号処理部31から送信される画像信号を静止画像データとして記録する。また第二画像メモリ43は、文字情報生成部39から送信される相対的位置情報を該静止画像データと関連づけた状態で記録する。 While observing the moving
画像記録用スイッチが操作されるたびに、以上の静止画像生成、記録処理が行われる。従って、第二画像メモリ43には静止画像データおよび該データに関連づけられた相対的位置情報の組が複数記録される。 Each time the image recording switch is operated, the above still image generation and recording processing is performed. Therefore, a plurality of sets of still image data and relative position information associated with the data are recorded in the
第二画像メモリ43において、互いに関連づけられた状態で記録された静止画像データおよび文字情報の1または複数の組は、タイミングコントローラ27からのタイミング信号に同期して、後段画像信号処理部45に出力される。後段画像信号処理部45は、第二画像メモリ43から読み出された静止画像データおよび文字情報にD/A変換処理等を施す。そして、該処理部45は、動画像データ出力時と同一タイミングで、上記静止画像データ等をモニタ9に出力する。 In the
図3に示すように、後段画像信号処理部45から出力された静止画像データ等は、モニタ9の画面において静止画像表示領域69を形成する。静止画像表示領域69は、静止画像75A、75B、および各静止画像に対応する座標情報77A、77Bからなる。各静止画像75A、75B、および各静止画像に対応する座標情報77A、77Bは、所定の規則に従って配列して表示される。該所定の配列としては、記録時刻順などが例示される。このように画像記録用スイッチ25が押される度に順次、静止画像及び座標情報の組が静止画像表示領域69に表示される。 As shown in FIG. 3, the still image data output from the subsequent image
ここで、各静止画像75A、75Bは、あくまで撮像場所を確認することを主目的としてモニタ9に表示される。従って、体腔内における概略の撮像状態さえ確認できる画質であれば足りる。そこで、本実施形態では、静止画像データが第二画像メモリ43に書き込まれる際のサンプリング数は、動画像データが第一画像メモリ33に書き込まれる際のサンプリング数よりも少なく設定される。つまり、静止画像75A、75Bはリアルタイムで更新される動画像71よりも低解像度に設定される。これにより、より少ない記憶容量でより多くの静止画像を記録可能にすると共に、処理負担の軽減を図っている。なお、同様の理由および複数の撮像場所を効率よく観察可能にするため、静止画像表示領域69における各静止画像75A、75Bは、動画像表示領域67における動画像71よりも縮小されて表示される。 Here, the still
なお、本実施形態では、一画面中に三枚静止画像を表示させることが可能になっている。従って、図3破線領域に示すように、静止画像75B(座標情報77B)の下方にさらに一枚分の静止画像(および該静止画像に対応する座標情報)表示分のスペースが確保されている。ただし、静止画像表示領域69に表示される静止画像の数は術者の設定等により任意に変更可能である。 In the present embodiment, three still images can be displayed in one screen. Therefore, as shown in the broken line area in FIG. 3, a space for displaying one still image (and coordinate information corresponding to the still image) is secured below the
また、三回以上画像記録が指示された場合、第二画像メモリ43において古いデータから順に上書きされる構成にしてもよいし、第二画像メモリ43において予め定められた容量を満たすまで順次静止画像データ等を記録する構成にしても良い。前者の構成の場合、静止画像表示領域69には常に最新の静止画像が三枚だけ表示される。後者の構成の場合、静止画像表示領域69には、常に最新の静止画像が三枚だけ表示されるように構成しても良いし、該領域69をスクロールさせて記録された全ての静止画像を表示可能に構成しても良い。 In addition, when image recording is instructed three times or more, the
以上のような内視鏡システムを使用することにより下記のような処置が可能となる。術者による一連の観察中、あるいは観察終了後に、再び観察したい静止画像の文字情報とリアルタイムで表示される文字情報73を一致させるように内視鏡3の挿入部を移動させる。これにより、例えば記録した病変部とおぼしき場所に再び内視鏡の先端部を精度良く且つ簡単に移動させることができる。 By using the endoscope system as described above, the following treatment is possible. During a series of observations by the surgeon or after the observation, the insertion portion of the endoscope 3 is moved so that the character information of the still image to be observed again matches the
1 電子内視鏡システム
3 内視鏡
5 プロセッサ
7 磁場発生器
9 モニタ
17 撮像素子
19 磁場検出センサ
23 システムコントローラ
25 画像記録用スイッチ
35 位置検出信号処理部
37 制御演算部
39 文字情報作成部
43 第二画像メモリDESCRIPTION OF
| Application Number | Priority Date | Filing Date | Title |
|---|---|---|---|
| JP2006005640AJP2006223850A (en) | 2005-01-18 | 2006-01-13 | Electronic endoscope system |
| Application Number | Priority Date | Filing Date | Title |
|---|---|---|---|
| JP2005010056 | 2005-01-18 | ||
| JP2006005640AJP2006223850A (en) | 2005-01-18 | 2006-01-13 | Electronic endoscope system |
| Publication Number | Publication Date |
|---|---|
| JP2006223850Atrue JP2006223850A (en) | 2006-08-31 |
| Application Number | Title | Priority Date | Filing Date |
|---|---|---|---|
| JP2006005640AWithdrawnJP2006223850A (en) | 2005-01-18 | 2006-01-13 | Electronic endoscope system |
| Country | Link |
|---|---|
| JP (1) | JP2006223850A (en) |
| Publication number | Priority date | Publication date | Assignee | Title |
|---|---|---|---|---|
| JP2008301968A (en)* | 2007-06-06 | 2008-12-18 | Olympus Medical Systems Corp | Endoscopic image processing device |
| WO2008155828A1 (en)* | 2007-06-20 | 2008-12-24 | Olympus Medical Systems Corp. | Endoscope system, imaging system, and image processing device |
| JP2011015802A (en)* | 2009-07-08 | 2011-01-27 | Hoya Corp | Endoscope apparatus |
| CN102081699A (en)* | 2009-11-27 | 2011-06-01 | 索尼公司 | Information processing apparatus, information processing method, and program |
| WO2012068365A2 (en) | 2010-11-18 | 2012-05-24 | Nostix Llc | Medical device location systems, devices and methods |
| CN102578988A (en)* | 2011-01-05 | 2012-07-18 | 奥林巴斯株式会社 | Endoscopic image reproducing apparatus |
| JP2016067461A (en)* | 2014-09-29 | 2016-05-09 | 富士フイルム株式会社 | Endoscopic image display apparatus, method and program |
| JP2016120026A (en)* | 2014-12-24 | 2016-07-07 | 富士フイルム株式会社 | Endoscope system and operating method thereof |
| US10154778B2 (en) | 2014-06-19 | 2018-12-18 | Olympus Corporation | Endoscopic processor |
| Publication number | Priority date | Publication date | Assignee | Title |
|---|---|---|---|---|
| JPH09253038A (en)* | 1996-03-22 | 1997-09-30 | Toshiba Corp | Medical image diagnostic equipment |
| JPH11225942A (en)* | 1998-02-12 | 1999-08-24 | Olympus Optical Co Ltd | Endoscope shape detector |
| JP2002253480A (en)* | 2001-03-02 | 2002-09-10 | Olympus Optical Co Ltd | Device for assisting medical treatment |
| JP2003093326A (en)* | 2001-09-25 | 2003-04-02 | Pentax Corp | Flexible electronic endoscope device |
| Publication number | Priority date | Publication date | Assignee | Title |
|---|---|---|---|---|
| JPH09253038A (en)* | 1996-03-22 | 1997-09-30 | Toshiba Corp | Medical image diagnostic equipment |
| JPH11225942A (en)* | 1998-02-12 | 1999-08-24 | Olympus Optical Co Ltd | Endoscope shape detector |
| JP2002253480A (en)* | 2001-03-02 | 2002-09-10 | Olympus Optical Co Ltd | Device for assisting medical treatment |
| JP2003093326A (en)* | 2001-09-25 | 2003-04-02 | Pentax Corp | Flexible electronic endoscope device |
| Publication number | Priority date | Publication date | Assignee | Title |
|---|---|---|---|---|
| JP2008301968A (en)* | 2007-06-06 | 2008-12-18 | Olympus Medical Systems Corp | Endoscopic image processing device |
| EP2014219A2 (en) | 2007-06-06 | 2009-01-14 | Olympus Medical Systems Corp. | Endoscopic image processing apparatus |
| WO2008155828A1 (en)* | 2007-06-20 | 2008-12-24 | Olympus Medical Systems Corp. | Endoscope system, imaging system, and image processing device |
| JP2011015802A (en)* | 2009-07-08 | 2011-01-27 | Hoya Corp | Endoscope apparatus |
| US11342063B2 (en) | 2009-11-27 | 2022-05-24 | Sony Corporation | Information processing apparatus, information processing method, and program |
| US9615028B2 (en) | 2009-11-27 | 2017-04-04 | Sony Corporation | Method of displaying a pathological microscopic image, an information processing apparatus, a non-transitory computer-readable medium, and an information processing system |
| US8761468B2 (en) | 2009-11-27 | 2014-06-24 | Sony Corporation | Information processing apparatus, information processing method, and program |
| CN102081699A (en)* | 2009-11-27 | 2011-06-01 | 索尼公司 | Information processing apparatus, information processing method, and program |
| US9177375B2 (en) | 2009-11-27 | 2015-11-03 | Sony Corporation | Information processing apparatus, information processing method, and program |
| US10506167B2 (en) | 2009-11-27 | 2019-12-10 | Sony Corporation | Information processing apparatus, information processing method, and program |
| US10091426B2 (en) | 2009-11-27 | 2018-10-02 | Sony Corporation | Information processing apparatus, information processing method, and program |
| WO2012068365A2 (en) | 2010-11-18 | 2012-05-24 | Nostix Llc | Medical device location systems, devices and methods |
| EP2640260A4 (en)* | 2010-11-18 | 2015-08-19 | Nostix Llc | SYSTEMS, DEVICES AND METHODS FOR POSITIONING A MEDICAL DEVICE |
| CN102578988B (en)* | 2011-01-05 | 2014-09-24 | 奥林巴斯株式会社 | Endoscopic image reproducing apparatus |
| CN102578988A (en)* | 2011-01-05 | 2012-07-18 | 奥林巴斯株式会社 | Endoscopic image reproducing apparatus |
| US10154778B2 (en) | 2014-06-19 | 2018-12-18 | Olympus Corporation | Endoscopic processor |
| JP2016067461A (en)* | 2014-09-29 | 2016-05-09 | 富士フイルム株式会社 | Endoscopic image display apparatus, method and program |
| JP2016120026A (en)* | 2014-12-24 | 2016-07-07 | 富士フイルム株式会社 | Endoscope system and operating method thereof |
| Publication | Publication Date | Title |
|---|---|---|
| JP2006223850A (en) | Electronic endoscope system | |
| US9125560B2 (en) | Endoscope shape detecting apparatus | |
| JP5810248B2 (en) | Endoscope system | |
| US7837616B2 (en) | Endoscope,system, and method for detecting relative position of endoscope and markers placed at target area | |
| JP4153963B2 (en) | Endoscope insertion shape detection device | |
| JP4745833B2 (en) | Electronic endoscope system | |
| JP5444510B1 (en) | Endoscope apparatus and medical system | |
| US20070078328A1 (en) | Operation assisting system | |
| EP2014219A2 (en) | Endoscopic image processing apparatus | |
| JP5580758B2 (en) | Fluorescence observation equipment | |
| CN106659362A (en) | Image processing device, image processing method, image processing program, and endoscope system | |
| CN102405010A (en) | Subject internal examination system | |
| WO2018123613A1 (en) | Medical image processing apparatus, medical image processing method, and program | |
| WO2020165978A1 (en) | Image recording device, image recording method, and image recording program | |
| CN209059133U (en) | Controlled capsule type endoscope diagnostic and examination system based on image recognition | |
| JP4624575B2 (en) | Endoscope system | |
| JP5160619B2 (en) | Endoscope shape detection device | |
| JP4647972B2 (en) | Endoscope shape detection device | |
| JP2020141834A (en) | Endoscope processor and endoscope system | |
| JP6906342B2 (en) | Endoscope system | |
| JP2006280592A (en) | Treatment support device | |
| US20240188795A1 (en) | Systems and methods for reducing noise in imagery in a computer-assisted medical system | |
| US20240122444A1 (en) | Endoscopic examination support apparatus, endoscopic examination support method, and recording medium | |
| JP2009077859A (en) | Endoscope | |
| JP2006212187A (en) | Electronic endoscope system |
| Date | Code | Title | Description |
|---|---|---|---|
| A711 | Notification of change in applicant | Free format text:JAPANESE INTERMEDIATE CODE: A712 Effective date:20080502 | |
| A621 | Written request for application examination | Free format text:JAPANESE INTERMEDIATE CODE: A621 Effective date:20081007 | |
| A977 | Report on retrieval | Free format text:JAPANESE INTERMEDIATE CODE: A971007 Effective date:20110411 | |
| A131 | Notification of reasons for refusal | Free format text:JAPANESE INTERMEDIATE CODE: A131 Effective date:20110517 | |
| A761 | Written withdrawal of application | Free format text:JAPANESE INTERMEDIATE CODE: A761 Effective date:20110705 |