






本発明は、系の障害物を検出し、検出した障害物の位置に応じて音場を生成する技術に関する。 The present invention relates to a technique for detecting an obstacle in a system and generating a sound field according to the position of the detected obstacle.
地理的に離れた場所に位置する人同士で会議を行うために、いわゆる音声会議システムが用いられている。これは、複数のマイクおよびスピーカを備えた2以上の部屋(会議室)を通信回線で接続したものである。通信回線を介して音声データあるいは音声信号を送受信することにより、地理的に離れた2地点(あるいはそれ以上)間の会議を可能にするものである。
また、2地点間ではなくある部屋において会議を行う場合でも、参加者が多数である等の事情により会話者(話者と聴取者)の距離が離れていると、聴取者は話者の音声が聞き取りにくくなるという状況が生じる。この場合マイクおよびスピーカから構成される拡声装置を用いて、話者の音声を増幅して放音するということが行われる。
上記のいずれのシステムにおいても、増幅した話者の音声を放音するために複数のスピーカが用いられるのが通常である。A so-called audio conference system is used to hold a conference between people located in geographically distant places. In this case, two or more rooms (conference rooms) having a plurality of microphones and speakers are connected by a communication line. By transmitting and receiving audio data or audio signals via a communication line, a conference between two geographically distant points (or more) is made possible.
Also, even when a meeting is held in a room, not between two points, if the distance between the talkers (speakers and listeners) is large due to the large number of participants, the listener will hear the voice of the speaker It becomes difficult to hear. In this case, using a loudspeaker composed of a microphone and a speaker, the voice of the speaker is amplified and emitted.
In any of the above systems, a plurality of speakers are usually used to emit the amplified speaker's voice.
ところで今日の会議の場においては、資料の閲覧、議事録の記録等の目的でいわゆるノート型パーソナルコンピュータ(以下「ノートPC」という)を操作しながら会議に参加する場合が多い。ここで、参加者は通常ノートPCを目の前において操作するため、ノートPCはスピーカあるいはマイクと話者の間に位置することとなる。このため、スピーカからの音声がノートPCにより遮られるという問題が生じる。さらに、ノートPCを操作する参加者が話者となった場合にも、話者の音声がノートPCによって遮られるという問題も生じる。 By the way, in today's conference venues, there are many cases where participants participate in conferences while operating so-called notebook personal computers (hereinafter referred to as “notebook PCs”) for the purpose of browsing documents and recording minutes. Here, since the participant normally operates the notebook PC in front of him, the notebook PC is positioned between the speaker or the microphone and the speaker. For this reason, the problem that the sound from a speaker is interrupted by notebook PC arises. Furthermore, even when a participant who operates the notebook PC becomes a speaker, there arises a problem that the voice of the speaker is blocked by the notebook PC.
以上のような問題を解決するためには、まず障害物(ノートPC)の位置を検出する必要がある。このための技術として、例えば特許文献1に記載の技術がある。特許文献1は、1のスピーカから発せられた音を複数のセンサ(マイク)で検出し、センサ毎にインパルス応答を求めてその系における障害物(物体)の位置を検出するシステムであって、1つの信号出力部と複数の信号入力部を用いることで、複数の物体の位置を同時に検出することができるシステムに係るものである。
しかし、特許文献1は物体の位置を検出する技術に関するものであって、それによるスピーカシステムあるいまマイクシステムの制御については何ら開示するものではなかった。
本発明は上述の事情に鑑みてなされたものであり、障害物の位置を検出し、検出した障害物の位置に基づいてスピーカあるいはマイクを制御するスピーカ・マイクシステムを提供することを目的とする。However,
The present invention has been made in view of the above circumstances, and an object thereof is to provide a speaker / microphone system that detects the position of an obstacle and controls a speaker or a microphone based on the detected position of the obstacle. .
上述の課題を解決するため、本発明は、複数のスピーカと、前記複数のスピーカのうち少なくとも1のスピーカを介してパルス音を発生させるパルス音発生手段と、音声を取得する1または複数のマイクと、前記1または複数のマイクにより取得された音声から、前記パルス音発生手段により発生したパルス音によるインパルス応答を検出するインパルス応答検出手段と、前記インパルス応答検出手段により検出したインパルス応答から障害物の位置を算出する位置算出手段と、前記位置算出手段により算出した障害物の位置に応じて前記複数のスピーカの出力を制御し、これらのスピーカにより形成される音場を制御する音場制御手段とを有する音響装置を提供する。 In order to solve the above-described problems, the present invention provides a plurality of speakers, a pulse sound generating means for generating a pulse sound through at least one speaker among the plurality of speakers, and one or a plurality of microphones for acquiring sound. An impulse response detecting means for detecting an impulse response due to the pulse sound generated by the pulse sound generating means from the sound acquired by the one or more microphones, and an obstacle from the impulse response detected by the impulse response detecting means Position calculating means for calculating the position of the sound field, and sound field control means for controlling the output of the plurality of speakers according to the position of the obstacle calculated by the position calculating means and for controlling the sound field formed by these speakers. An acoustic device having the above is provided.
好ましい態様において、この音響装置は、前記音場制御手段が、前記複数のスピーカのうち、前記位置算出手段により算出された障害物の位置と最も近接するスピーカの出力を低下させる制御を行ってもよい。
別の好ましい態様において、この音響装置は、前記位置算出手段により算出した障害物の位置に応じて前記1または複数のマイクの感度を制御するマイク制御手段をさらに有してもよい。さらに、この態様において、前記マイク制御手段が、前記1または複数のマイクうち、前記位置算出手段により算出された障害物の位置と最も近接するマイクの感度を低下させる制御を行うこととしてもよい。
さらに別の好ましい態様において、この音響装置は、前記パルス音発生手段が、一定の時間間隔でパルス音を発生させてもよい。
さらに別の好ましい態様において、この音響装置は、前記位置算出手段により算出された障害物の位置があらかじめ決められた条件を満足する場合に、その旨を示す信号を生成する信号生成手段をさらに有してもよい。In a preferred aspect, in this acoustic apparatus, the sound field control unit may perform control to reduce the output of the speaker closest to the obstacle position calculated by the position calculation unit among the plurality of speakers. Good.
In another preferred aspect, the acoustic device may further include a microphone control unit that controls sensitivity of the one or more microphones according to the position of the obstacle calculated by the position calculation unit. Furthermore, in this aspect, the microphone control means may perform control to reduce the sensitivity of the microphone closest to the obstacle position calculated by the position calculation means among the one or more microphones.
In still another preferred aspect, in this acoustic apparatus, the pulse sound generation means may generate a pulse sound at a constant time interval.
In still another preferred aspect, the acoustic device further includes a signal generation unit that generates a signal indicating that the position of the obstacle calculated by the position calculation unit satisfies a predetermined condition. May be.
また、本発明は、複数のスピーカおよび1または複数のマイクと接続されたコンピュータ装置に、前記複数のスピーカのうち少なくとも1のスピーカを介してパルス音を発生させるパルス音発生ステップと、前記1または複数のマイクにより取得された音声から、前記パルス音によるインパルス応答を検出するインパルス応答検出ステップと、前記インパルス応答検出ステップにおいて検出したインパルス応答から障害物の位置を算出する位置算出ステップと、前記位置算出ステップにおいて算出した障害物の位置に応じて前記複数のスピーカの出力を制御し、これらのスピーカにより形成される音場を制御する音場制御ステップとを実行させるプログラムを提供する。 The present invention also provides a pulse sound generation step of causing a computer device connected to a plurality of speakers and one or a plurality of microphones to generate a pulse sound via at least one speaker among the plurality of speakers; An impulse response detection step for detecting an impulse response due to the pulse sound from voices acquired by a plurality of microphones; a position calculation step for calculating the position of an obstacle from the impulse response detected in the impulse response detection step; There is provided a program for controlling the output of the plurality of speakers according to the position of the obstacle calculated in the calculation step, and executing a sound field control step for controlling a sound field formed by these speakers.
本発明によれば、音響装置は障害物の位置を算出し、算出したスピーカの位置に応じてスピーカの出力を制御するため、障害物の位置を考慮した音場の制御を行うことができる。 According to the present invention, since the acoustic device calculates the position of the obstacle and controls the output of the speaker according to the calculated position of the speaker, the sound field can be controlled in consideration of the position of the obstacle.
以下、図面を参照して本発明の実施形態について説明する。
<1.構成>
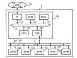
図1は、本発明の一実施形態に係る音響装置1の機能構成を示すブロック図である。図1に示されるように、音響装置1は、音声入力装置であるマイクアレイ11と、音声を再生(出力)する手段であるスピーカアレイ14と、これらの制御部とから構成されている。マイクアレイ11は、複数のマイクユニット12と、これら複数のマイクユニット12を制御するマイク制御部13とから構成される。マイク制御部13は、例えば、アナログ/デジタル変換を行うA/D変換機能、およびマイクユニット12からの音声信号を処理する信号処理機能を有している。マイクユニット12において音声が入力されると、入力された音声を音声信号としてマイク制御部13に出力する。マイク制御部13は、音声信号をアナログ/デジタル変換し、音声データとして制御部10に出力する。Hereinafter, embodiments of the present invention will be described with reference to the drawings.
<1. Configuration>
FIG. 1 is a block diagram showing a functional configuration of an
スピーカアレイ14は、複数のスピーカユニット15と、デジタル/アナログ変換を行うD/A変換器、およびスピーカユニット15を制御するスピーカ制御部16から構成される音声出力装置である。制御部10から音声データが入力されると、音声データをデジタル/アナログ変換し、音声信号としてスピーカユニット15の各々に出力する。スピーカユニット15は入力された音声信号に従って音声を再生する。スピーカアレイ14は、スピーカ制御部16の制御信号に従ってスピーカユニット15の各々における遅延やゲインを制御し、所望の音場を形成する機能を有する。また、遅延やゲインを制御し、特定の聴取者のみに聞こえる音声を出力することもできる(いわゆるビーム制御)。 The
接続部17は、図示せぬネットワークを介してデータの送受信を行うためのインターフェイスである。制御部10は、接続部17を介して受信した音声データに、その音声データの音場を指定する制御パラメータに従って処理を加えたデータを音声信号としてスピーカ制御部16に出力する。制御パラメータとしては、例えば、出力するスピーカを指定する識別子、そのスピーカにおけるゲイン、位相、ビーム方向等がある。また、制御部10は、マイク制御部13から出力された音声データに、その音声データの音場を決定するためのパラメータを付加して、接続部17およびネットワークを介して相手先の通信装置に送信する。なお、音響装置1が接続するネットワークはインターネットのような公衆通信網でもよいし、ある限られた利用者のみが接続可能な専用通信網でもよい。また、ネットワークの形態は、有線でもよいし無線でもよい。 The connection unit 17 is an interface for transmitting and receiving data via a network (not shown). The
パルス音発生部18は、制御部10の制御下で、スピーカアレイ14からパルス音を発生させるようスピーカ制御部16を制御する。また、位置算出部19は、スピーカアレイ14から再生されたパルス音に応じてマイクユニット12が取得したインパルス応答から、スピーカアレイ14の前にある障害物の位置を算出する。位置算出部19は、算出した障害物の位置をデータとして制御部10に出力する。制御部10は、障害物の位置に応じてマイクアレイ11およびスピーカアレイ14の制御パラメータを変更する。こうして、スピーカアレイ14からは障害物の位置を考慮した音声が出力され、マイクアレイ11は障害物の位置を考慮して音声の取得を行うことができる。音響装置1の動作の詳細については後述する。 The
図2は、音響装置1のハードウェア構成を示す図である。図2に示されるように、音響装置1は、システムを管理する管理モジュール100と、音声入出力を行う複数のスピーカ/マイクモジュール200と、管理モジュール100とスピーカ/マイクモジュール200とを接続する信号線301、302とから構成される。
CPU101は、RAM102を作業エリアとしてROM103に記憶されたプログラムを実行することにより、音響装置1全体の管理装置として機能する。DSP104は、エコーキャンセル、マイク信号加算等の処理を行う信号処理回路である。I/F105は、ネットワーク20に接続するためのインターフェイスである。以上の構成要素は互いにバス110で接続されている。以上で説明した管理モジュール100の各構成要素は図1に示される機能構成図における制御部10、マイク制御部13、スピーカ制御部16、パルス音発生部18、位置算出部19に相当するものである。FIG. 2 is a diagram illustrating a hardware configuration of the
The
図3は、スピーカ/マイクモジュール200の構成を示すブロック図である。マイクユニット201は、コンデンサマイク等から構成される音声入力装置である。マイクユニット201は、話者の音声を音声信号として後段のA/D変換器202に出力する。A/D変換器202は、音声信号をアナログ/デジタル変換して音声データとして信号線302を介して管理モジュール100に出力する。また、D/A変換器203は、管理モジュール100から音声データを受信すると、音声データをデジタル/アナログ変換し、音声信号として後段の増幅器204に出力する。増幅器204は入力された音声信号を増幅し、スピーカユニット205に出力する。こうしてスピーカユニット205から音声が出力される。また、本実施形態において、スピーカ/マイクモジュール200は、等間隔で一列に並べられる。これにより図1に示されるマイクアレイ11およびスピーカアレイ14が形成される。 FIG. 3 is a block diagram showing a configuration of the speaker /
<2.動作>
続いて、音響装置1の動作例について説明する。
図4は、音響装置1の動作例を説明する図である。以下、説明が煩雑になるのを避けるため、音響装置1が、スピーカ/マイクモジュール200−1、200−2、200−3の3つのスピーカ/マイクモジュールから構成される場合について説明する。音響装置1は、ネットワーク20を介して通信相手先の装置である音響装置2に接続されている。音響装置2は、音響装置1と同様のハードウェア構成を有しているのでその説明は省略する。<2. Operation>
Subsequently, an operation example of the
FIG. 4 is a diagram illustrating an operation example of the
ここでは、まず、図4(A)に示されるように、会議の参加者(システムの使用者)AがノートPC(障害物)を用いずに、スピーカ/マイクモジュール200−2の前に座り会議に参加する場合の動作について説明し、続いて図4(B)に示されるように、参加者AがノートPC30を用いて、すなわちスピーカ/マイクモジュール200−2と参加者Aとの間に障害物がある状態で会議に参加する場合の動作について説明する。なお、以下の説明においては、随時図2に示される構成要素を参照する。 Here, first, as shown in FIG. 4A, a conference participant (system user) A sits in front of the speaker / microphone module 200-2 without using a notebook PC (obstacle). The operation in the case of participating in the conference will be described. Subsequently, as shown in FIG. 4B, the participant A uses the
図4(A)に示されるように障害物が存在しない場合、参加者Aが音声を発すると、参加者Aの音声はスピーカ/マイクモジュール200−1〜200−3により音声信号に変換される。スピーカ/マイクモジュール200はそれぞれ、音声信号を管理モジュール100に出力する。ここで、スピーカ/マイクモジュール200−1〜200−3から出力される音声信号は、参加者Aにより発せられた音声によるものという点で起源を同じくするが、スピーカ/マイクモジュール200の各々と参加者Aとの相対的位置関係により位相および振幅が異なったものとなっている。したがって、管理モジュール100のCPU101は、スピーカ/マイクモジュール200の各々から出力される音声信号の位相および振幅から、参加者Aの位置を算出することができる。CPU101は、算出した参加者Aの位置示す位置パラメータをRAM102に記憶する。 As shown in FIG. 4A, when there is no obstacle, when participant A utters a voice, participant A's voice is converted into a voice signal by speaker / microphone modules 200-1 to 200-3. . Each of the speaker /
CPU101は、スピーカ/マイクモジュール200−1〜200−3の3つのマイクで取得した音声から位相差等を相殺する処理を行い、1の音声データを生成する。CPU101は、この音声データと、参加者Aの位置パラメータとを、I/F105およびネットワーク20を介して音響装置2に送信する。音声データおよび位置パラメータを受信すると、音響装置2は、音声データおよび参加者A(その音声の話者)の位置パラメータに基づいて音声再生処理を行う。こうして、音響装置2において、参加者Aの音声が、参加者Aの位置を反映した音場により再生される。 The
音響装置2において話者が音声を発した場合、音響装置2は、音響装置1と同様に、音声データおよび位置パラメータを送信する。ネットワーク20および管理モジュール100のI/F105を介して音声データおよび位置パラメータを受信すると、CPU101は、受信した位置パラメータで示される位置に音像を定位させるような音声データを生成する。本実施形態において、音響装置1ではスピーカ/マイクモジュール200−1〜200−3の等間隔に配置された3つのスピーカを用いて音声が再生される。したがってCPU101は、これらの3つ(3チャンネル)のスピーカに対し、受信した位置パラメータで指定される位置に話者の音像を定位させるように位相、振幅等のパラメータを制御した3チャンネルの音声データを生成する。CPU101は、生成した音声データをそれぞれデジタル/アナログ変換し、対応するスピーカ/マイクモジュール200へ出力する。こうして、スピーカアレイ14から、通信相手先の音声が適切な音場で再生される。 When the speaker utters voice in the
続いて、図4(B)に示されるように参加者Aが目の前にノートPC30を設置し、ノートPC30を使用しながら会議に参加する場合について説明する。このとき、何ら特別な処理を行わず、上述の図4(A)の場合と同様にスピーカ/マイクモジュール200から音声を出力したのでは、スピーカ/マイクモジュール200−2からの音声がノートPC30により遮られ、所望の音場が得られなくなってしまう。すなわち、所定の音場を形成するため3チャンネルの音声が出力されるが、そのうち1チャンネル(またはそれ以上)の音声が障害物(ノートPC30)により遮られるため、参加者Aが聴取することのできる音声の音場は、意図したものとは異なるものとなってしまう。また、参加者Aの音声の取得という観点から、参加者Aの音声がノートPC30で遮られマイクの感度が悪くなるという問題もある。さらに、スピーカ/マイクモジュール200から再生された音声がノートPC30で反射され、ノイズとなってしまうという問題もある。そこで、本実施形態に係る音響装置1は、障害物の位置を検出し、障害物の位置に応じて適切な音場を形成する。この動作について以下で説明する。 Next, a case where the participant A installs the
<2.1 障害物の位置検出>
障害物の位置を検出するため、音響装置1はスピーカユニット15からパルス音を放音し、マイクユニット12からそのインパルス応答を取得する。CPU101は、インパルス応答を解析し障害物の位置を検出する。より詳細には、CPU101は、一定の時間間隔で制御信号を出力し、スピーカユニット15からパルス音を発生させる。パルス音は可聴信号であってもよいし、非可聴信号であってもよい。またパルスの幅や振幅等は任意設計事項である。スピーカユニット15から放音されたパルス音に対するインパルス応答はマイクユニット12で取得され、DSP104を介してCPU101に出力される。CPU101は、例えば、文献(電子情報通信学会論文誌D−II vol.J77−D−II No.6 p.1037−1047(1994))に示されるように適応フィルタを用いてインパルス応答の計算を行ってもよいし、高速フーリエ変換によるクロススペクトル法により行ってもよい。適応フィルタは、周知のLMS(Least Mean Square)法を用いたものでもよいし、RLS(Recursive Least Square)法を用いたものでもよい。<2.1 Obstacle position detection>
In order to detect the position of the obstacle, the
<2.2 音場の形成>
障害物の位置を算出すると、CPU101は、障害物の位置に応じた音場の形成を行う。ROM103は、スピーカ/マイクモジュール200を特定する識別子と、そのスピーカ/マイクモジュール200との位置関係において規定される領域であって、障害物がその領域に存在した場合にはスピーカ/マイクモジュール200からの音声が遮られると考えられる遮蔽領域を示すスピーカ遮蔽領域パラメータを記憶している。図5は、スピーカ遮蔽領域を例示する図である。図5においては、あるスピーカ/マイクモジュール200に対するスピーカ遮蔽領域が、斜線部で示されている。スピーカ遮蔽領域パラメータとしては、例えば、図5のスピーカ遮蔽領域を規定する多角形の頂点の座標(スピーカ/マイクモジュール200に対する相対位置を示す座標)を用いることができる。CPU101は、ROM103に記憶されたスピーカ遮蔽領域パラメータから、算出した障害物の位置がこのスピーカ遮蔽領域内に位置するか否かを判断する。障害物がスピーカ遮蔽領域内に位置すると判断された場合、CPU101は、そのスピーカ/マイクモジュール200を使用せずに音場を形成する。すなわち、通常はスピーカ/マイクモジュール200−1〜200−3の3つのスピーカにより音場を形成するところ、スピーカ/マイクモジュール200−1および200−3の2つのスピーカにより音場を形成する。本実施形態において、ROM103は、nチャンネルの音声データをn−1チャンネルの音声データに変換するプログラムを記憶している。CPU101はこのプログラムに従って3チャンネルの音声データを2チャンネルの音声データに変換する。CPU101は、こうして生成した音声データをDSP104に出力する。この音声データは、2チャンネルの音声データと、制御パラメータとして各音声データを再生するスピーカ/マイクモジュール200を特定する識別子を含んでいる。DSP104は、音声データを音声信号に変換し、制御パラメータで指定されるスピーカ/マイクモジュール200に出力する。こうして、音響装置1からは、ノートPC30により音声が遮蔽されてしまうスピーカ/マイクモジュール200−2を用いずに形成された音場で音声が再生される。<2.2 Formation of sound field>
When the position of the obstacle is calculated, the
<2.3 マイクの感度調整>
また、CPU101は、上述の音場の形成と共にマイクの感度調整を行う。ROM103は、スピーカ/マイクモジュール200を特定する識別子と、そのスピーカ/マイクモジュール200との位置関係において規定される領域であって、障害物がその領域に存在した場合には参加者Aの音声が遮られると考えられる遮蔽領域を示すマイク遮蔽領域パラメータを記憶している。図6は、マイク遮蔽領域(斜線部)を例示する図である。マイク遮蔽領域パラメータとしては、スピーカ遮蔽領域パラメータと同様、図6に示されるマイク遮蔽領域を規定する多角形の頂点の座標を用いることができる。CPU101は、ROM103に記憶されたマイク遮蔽領域パラメータから、算出した障害物の位置がこのスピーカ遮蔽領域内に位置するか否かを判断する。障害物がマイク遮蔽領域内に位置すると判断された場合、CPU101は、対象となるマイクのゲインを下げ、その他のマイクのゲインを上げるよう制御パラメータを変更する。CPU101は、変更した制御パラメータをDSP104に出力する。DSP104は、この制御パラメータに従ってスピーカ/マイクモジュール200−1〜200−3のマイクのゲインを制御する。このようにして、障害物(ノートPC30)により話者の音声が遮られるマイクの感度を下げることにより、ノイズを低減することができる。<2.3 Microphone sensitivity adjustment>
Further, the
<3.設置例>
図7は、本実施形態に係る音響装置1を机の上に設置する設置例を示す図である。図7においては、長方形の机の上に音響装置1が固定されている。使用者は、椅子に腰をかけてシステムを使用することができる。音響装置1は、筐体40の内部に図2に示される構成のハードウェアが実装されている。筐体40にはさらに、使用者がノートPCをインターネット等のネットワークに接続しながらシステムを使用できるよう、前面にLANポート50を備えている。LANポート50は、I/F105と接続されており、使用者にネットワーク接続を提供することができる。さらに、筐体40前面には使用者に情報を提供するためのLCDディスプレイ60が設置されている。図7に示される例では、筐体40前面にのみスピーカ/マイクモジュール200が設置されているが、筐体40の前面および背面を同じ構造にして机の両側からシステムを利用可能な構成としてもよい。また、図7では音響装置1を長方形の机の上に設置する例を示したが、音響装置1を円卓の上に設置してもよい。この場合は筐体40を円弧状に成型する必要がある。<3. Installation example>
FIG. 7 is a diagram illustrating an installation example in which the
<4.他の実施形態>
本発明は上述の実施形態に限定されるものではなく、種々の変形実施が可能である。
上述の実施形態においては、音響装置1をいわゆる音声会議システムに用いる場合について説明したが、音響装置1の用途は音声会議システムに限定されない。例えば英会話教室等の語学学習、通信教育等の遠隔講義に用いてもよい。
また、上述の実施形態においては、スピーカユニットおよびマイクユニットを1次元的に横に並べてスピーカアレイおよびマイクアレイとして配置する態様について説明したが、スピーカユニットおよびマイクユニットを2次元的に配列しスピーカマトリックスあるいはマイクマトリックスとしてもよい。
また、上述の実施形態においては、障害物を検出した場合に、スピーカにより再生される音場の調整およびマイクのゲインの調整を行ったが、このうちどちらか一方のみを行う構成としてもよい。<4. Other embodiments>
The present invention is not limited to the above-described embodiment, and various modifications can be made.
In the above-described embodiment, the case where the
In the above-described embodiment, the speaker unit and the microphone unit are arranged side by side in a one-dimensional manner and arranged as a speaker array and a microphone array. However, the speaker unit and the microphone unit are two-dimensionally arranged to form a speaker matrix. Alternatively, a microphone matrix may be used.
In the above-described embodiment, when an obstacle is detected, the sound field reproduced by the speaker and the microphone gain are adjusted. However, only one of them may be configured.
また、上述の実施形態においては、話者の音声を複数のマイクで取得し、複数のマイクで取得した音声データを解析することによりCPU101が話者(参加者A)の位置を算出したが、話者の位置を取得する方法はこれに限られない。例えば、スピーカ/マイクモジュール200の前に設置する椅子の位置を固定し、座る席により話者の位置を特定することとしてもよい。この場合、椅子を一定間隔でスピーカ/マイクモジュール200の正面に配置する設計とすれば、話者と最近接のスピーカ/マイクモジュール200との相対的位置関係はほぼ一定となる。したがって、これにより定まる話者の相対的位置をあらかじめROM103に記憶しておき、これを用いて音声データを処理してもよい。あるいは、いわゆる遅延和アレイを用いて音声波の方向θを走査し、音声信号が最大となる方向θを話者の位置を示すパラメータとして採用してもよい。あるいは、遅延和アレイを用いて特定方向(すなわち特定話者)からの音声のみしか取得しないように動作させる構成としてもよい。 In the above-described embodiment, the
また、上述の実施形態においては、nチャンネルの音声データをn−1チャンネルの音声データに変更することにより音場の制御を行ったが、スピーカから再生される音声の制御方法はこれに限定されない。音声が遮蔽されるスピーカのゲインを所定量下げ、それ以外のスピーカのゲインを所定量上げる制御を行ってもよい。あるいは、スピーカマトリックス(平面スピーカ)において、ビームの方向を変更する処理を行ってもよい。 In the above-described embodiment, the sound field is controlled by changing the n-channel sound data to the n-1 channel sound data. However, the method for controlling the sound reproduced from the speaker is not limited to this. . Control may be performed to lower the gain of a speaker that is shielded by a predetermined amount and increase the gains of other speakers by a predetermined amount. Alternatively, a process of changing the beam direction may be performed in a speaker matrix (planar speaker).
また、上述の実施形態においては、音響装置1が一定の時間間隔でパルス音を発生する態様について説明したが、パルス音を発生させるトリガはこれに限定されるものではない。例えば、音響装置1にスイッチを設け、このスイッチが押されたときにパルス音を発生させて障害物の有無を検出する構成としてもよい。 Further, in the above-described embodiment, the aspect in which the
また、上述の実施形態においては、インパルス応答の解析により算出した障害物の位置があらかじめ決められた領域内にあるか否かに基づいて音場の制御を行う態様について説明したが、音場制御の必要性を判断する方法はこれに限定されない。例えば、話者(上述の実施形態では参加者A)と障害物との相対的位置関係に基づいて音場制御の必要性を判断する構成としてもよい。 In the above-described embodiment, the sound field control is described based on whether or not the position of the obstacle calculated by the analysis of the impulse response is within a predetermined region. However, the method for determining the necessity is not limited to this. For example, the necessity of sound field control may be determined based on the relative positional relationship between a speaker (participant A in the above embodiment) and an obstacle.
また、上述の実施形態においては、障害物を検出することによりスピーカおよびマイクのゲインの制御を行う態様について説明したが、これに加えて、さらに付加的な処理を行う構成としてもよい。例えば、ノートPC等の障害物を検出したことにより、システムの利用者(会議の参加者)が増加したものとして、それに対応する処理を行ってもよい。対応する処理は、例えば、音響装置1を音声会議システムに利用する場合において、参加者が増えたことを他の参加者に通知する処理を行ってもよい。すなわちCPU101はその旨を示す信号を生成し、音響装置2に送信することとしてもよい。これにより音響装置2は、ランプの点灯、ディスプレイの表示等によりその旨を他の参加者に通知する。あるいは、障害物の検出により音響装置1の使用が開始されたものとして、その話者に対するマイクアレイの処理を行うこととしてもよい。 Further, in the above-described embodiment, the aspect in which the gain of the speaker and the microphone is controlled by detecting an obstacle has been described. However, in addition to this, a configuration in which additional processing is performed may be employed. For example, assuming that an obstacle such as a notebook PC has been detected, the number of system users (conference participants) may have increased, and processing corresponding thereto may be performed. For example, when the
1…音響装置、2…音響装置、10…制御部、11…マイクアレイ、12…マイクユニット、13…マイク制御部、14…スピーカアレイ、15…スピーカユニット、16…スピーカ制御部、17…接続部、18…パルス音発生部、19…位置算出部、20…ネットワーク、30…ノートPC、40…筐体、50…LANポート、60…LCDディスプレイ、100…管理モジュール、101…CPU、102…RAM、103…ROM、104…DSP、105…I/F、110…バス、200…スピーカ/マイクモジュール、201…マイクユニット、202…A/D変換器、203…D/A変換器、204…増幅器、205…スピーカユニット、301…信号線、302…信号線DESCRIPTION OF
| Application Number | Priority Date | Filing Date | Title |
|---|---|---|---|
| JP2004369228AJP2006180039A (en) | 2004-12-21 | 2004-12-21 | Acoustic apparatus and program |
| Application Number | Priority Date | Filing Date | Title |
|---|---|---|---|
| JP2004369228AJP2006180039A (en) | 2004-12-21 | 2004-12-21 | Acoustic apparatus and program |
| Publication Number | Publication Date |
|---|---|
| JP2006180039Atrue JP2006180039A (en) | 2006-07-06 |
| Application Number | Title | Priority Date | Filing Date |
|---|---|---|---|
| JP2004369228APendingJP2006180039A (en) | 2004-12-21 | 2004-12-21 | Acoustic apparatus and program |
| Country | Link |
|---|---|
| JP (1) | JP2006180039A (en) |
| Publication number | Priority date | Publication date | Assignee | Title |
|---|---|---|---|---|
| JP2008147822A (en)* | 2006-12-07 | 2008-06-26 | Yamaha Corp | Voice conference device and voice conference system |
| JP2009253948A (en)* | 2008-04-11 | 2009-10-29 | Nippon Telegr & Teleph Corp <Ntt> | Sound reproducing device and sound reproducing method |
| US9055371B2 (en) | 2010-11-19 | 2015-06-09 | Nokia Technologies Oy | Controllable playback system offering hierarchical playback options |
| WO2015108798A3 (en)* | 2014-01-14 | 2016-01-28 | Cisco Technology, Inc. | Muting a sound source with an array of microphones |
| US9313599B2 (en) | 2010-11-19 | 2016-04-12 | Nokia Technologies Oy | Apparatus and method for multi-channel signal playback |
| US9456289B2 (en) | 2010-11-19 | 2016-09-27 | Nokia Technologies Oy | Converting multi-microphone captured signals to shifted signals useful for binaural signal processing and use thereof |
| JP2017513433A (en)* | 2014-03-17 | 2017-05-25 | ソノズ インコーポレイテッド | Playback device settings based on proximity detection |
| US9706324B2 (en) | 2013-05-17 | 2017-07-11 | Nokia Technologies Oy | Spatial object oriented audio apparatus |
| US9936318B2 (en) | 2014-09-09 | 2018-04-03 | Sonos, Inc. | Playback device calibration |
| US9961463B2 (en) | 2012-06-28 | 2018-05-01 | Sonos, Inc. | Calibration indicator |
| US10045142B2 (en) | 2016-04-12 | 2018-08-07 | Sonos, Inc. | Calibration of audio playback devices |
| US10063983B2 (en) | 2016-01-18 | 2018-08-28 | Sonos, Inc. | Calibration using multiple recording devices |
| US10129675B2 (en) | 2014-03-17 | 2018-11-13 | Sonos, Inc. | Audio settings of multiple speakers in a playback device |
| US10127008B2 (en) | 2014-09-09 | 2018-11-13 | Sonos, Inc. | Audio processing algorithm database |
| US10129678B2 (en) | 2016-07-15 | 2018-11-13 | Sonos, Inc. | Spatial audio correction |
| US10127006B2 (en) | 2014-09-09 | 2018-11-13 | Sonos, Inc. | Facilitating calibration of an audio playback device |
| US10129679B2 (en) | 2015-07-28 | 2018-11-13 | Sonos, Inc. | Calibration error conditions |
| US10148903B2 (en) | 2012-04-05 | 2018-12-04 | Nokia Technologies Oy | Flexible spatial audio capture apparatus |
| US10154359B2 (en) | 2014-09-09 | 2018-12-11 | Sonos, Inc. | Playback device calibration |
| US10284983B2 (en) | 2015-04-24 | 2019-05-07 | Sonos, Inc. | Playback device calibration user interfaces |
| US10296282B2 (en) | 2012-06-28 | 2019-05-21 | Sonos, Inc. | Speaker calibration user interface |
| US10299061B1 (en) | 2018-08-28 | 2019-05-21 | Sonos, Inc. | Playback device calibration |
| US10334386B2 (en) | 2011-12-29 | 2019-06-25 | Sonos, Inc. | Playback based on wireless signal |
| US10372406B2 (en) | 2016-07-22 | 2019-08-06 | Sonos, Inc. | Calibration interface |
| US10390161B2 (en) | 2016-01-25 | 2019-08-20 | Sonos, Inc. | Calibration based on audio content type |
| US10405116B2 (en) | 2016-04-01 | 2019-09-03 | Sonos, Inc. | Updating playback device configuration information based on calibration data |
| US10402154B2 (en) | 2016-04-01 | 2019-09-03 | Sonos, Inc. | Playback device calibration based on representative spectral characteristics |
| US10419864B2 (en) | 2015-09-17 | 2019-09-17 | Sonos, Inc. | Validation of audio calibration using multi-dimensional motion check |
| US10448194B2 (en) | 2016-07-15 | 2019-10-15 | Sonos, Inc. | Spectral correction using spatial calibration |
| US10459684B2 (en) | 2016-08-05 | 2019-10-29 | Sonos, Inc. | Calibration of a playback device based on an estimated frequency response |
| US10585639B2 (en) | 2015-09-17 | 2020-03-10 | Sonos, Inc. | Facilitating calibration of an audio playback device |
| US10599386B2 (en) | 2014-09-09 | 2020-03-24 | Sonos, Inc. | Audio processing algorithms |
| US10635383B2 (en) | 2013-04-04 | 2020-04-28 | Nokia Technologies Oy | Visual audio processing apparatus |
| US10664224B2 (en) | 2015-04-24 | 2020-05-26 | Sonos, Inc. | Speaker calibration user interface |
| US10734965B1 (en) | 2019-08-12 | 2020-08-04 | Sonos, Inc. | Audio calibration of a portable playback device |
| KR20210055702A (en)* | 2018-08-09 | 2021-05-17 | 프라운호퍼 게젤샤프트 쭈르 푀르데룽 데어 안겐반텐 포르슝 에. 베. | Audio Processor and Method for Providing Loudspeaker Signals Considering Acoustic Impairment |
| US11106423B2 (en) | 2016-01-25 | 2021-08-31 | Sonos, Inc. | Evaluating calibration of a playback device |
| US11206484B2 (en) | 2018-08-28 | 2021-12-21 | Sonos, Inc. | Passive speaker authentication |
| US12322390B2 (en) | 2021-09-30 | 2025-06-03 | Sonos, Inc. | Conflict management for wake-word detection processes |
| Publication number | Priority date | Publication date | Assignee | Title |
|---|---|---|---|---|
| JP2008147822A (en)* | 2006-12-07 | 2008-06-26 | Yamaha Corp | Voice conference device and voice conference system |
| JP2009253948A (en)* | 2008-04-11 | 2009-10-29 | Nippon Telegr & Teleph Corp <Ntt> | Sound reproducing device and sound reproducing method |
| US9794686B2 (en) | 2010-11-19 | 2017-10-17 | Nokia Technologies Oy | Controllable playback system offering hierarchical playback options |
| US9055371B2 (en) | 2010-11-19 | 2015-06-09 | Nokia Technologies Oy | Controllable playback system offering hierarchical playback options |
| US10477335B2 (en) | 2010-11-19 | 2019-11-12 | Nokia Technologies Oy | Converting multi-microphone captured signals to shifted signals useful for binaural signal processing and use thereof |
| US9313599B2 (en) | 2010-11-19 | 2016-04-12 | Nokia Technologies Oy | Apparatus and method for multi-channel signal playback |
| US9456289B2 (en) | 2010-11-19 | 2016-09-27 | Nokia Technologies Oy | Converting multi-microphone captured signals to shifted signals useful for binaural signal processing and use thereof |
| US10334386B2 (en) | 2011-12-29 | 2019-06-25 | Sonos, Inc. | Playback based on wireless signal |
| US11889290B2 (en) | 2011-12-29 | 2024-01-30 | Sonos, Inc. | Media playback based on sensor data |
| US11910181B2 (en) | 2011-12-29 | 2024-02-20 | Sonos, Inc | Media playback based on sensor data |
| US11849299B2 (en) | 2011-12-29 | 2023-12-19 | Sonos, Inc. | Media playback based on sensor data |
| US10455347B2 (en) | 2011-12-29 | 2019-10-22 | Sonos, Inc. | Playback based on number of listeners |
| US11825290B2 (en) | 2011-12-29 | 2023-11-21 | Sonos, Inc. | Media playback based on sensor data |
| US11825289B2 (en) | 2011-12-29 | 2023-11-21 | Sonos, Inc. | Media playback based on sensor data |
| US10945089B2 (en) | 2011-12-29 | 2021-03-09 | Sonos, Inc. | Playback based on user settings |
| US11290838B2 (en) | 2011-12-29 | 2022-03-29 | Sonos, Inc. | Playback based on user presence detection |
| US11528578B2 (en) | 2011-12-29 | 2022-12-13 | Sonos, Inc. | Media playback based on sensor data |
| US11197117B2 (en) | 2011-12-29 | 2021-12-07 | Sonos, Inc. | Media playback based on sensor data |
| US11153706B1 (en) | 2011-12-29 | 2021-10-19 | Sonos, Inc. | Playback based on acoustic signals |
| US11122382B2 (en) | 2011-12-29 | 2021-09-14 | Sonos, Inc. | Playback based on acoustic signals |
| US10986460B2 (en) | 2011-12-29 | 2021-04-20 | Sonos, Inc. | Grouping based on acoustic signals |
| US10148903B2 (en) | 2012-04-05 | 2018-12-04 | Nokia Technologies Oy | Flexible spatial audio capture apparatus |
| US10419712B2 (en) | 2012-04-05 | 2019-09-17 | Nokia Technologies Oy | Flexible spatial audio capture apparatus |
| US10045138B2 (en) | 2012-06-28 | 2018-08-07 | Sonos, Inc. | Hybrid test tone for space-averaged room audio calibration using a moving microphone |
| US11516608B2 (en) | 2012-06-28 | 2022-11-29 | Sonos, Inc. | Calibration state variable |
| US11064306B2 (en) | 2012-06-28 | 2021-07-13 | Sonos, Inc. | Calibration state variable |
| US11800305B2 (en) | 2012-06-28 | 2023-10-24 | Sonos, Inc. | Calibration interface |
| US10284984B2 (en) | 2012-06-28 | 2019-05-07 | Sonos, Inc. | Calibration state variable |
| US11516606B2 (en) | 2012-06-28 | 2022-11-29 | Sonos, Inc. | Calibration interface |
| US10296282B2 (en) | 2012-06-28 | 2019-05-21 | Sonos, Inc. | Speaker calibration user interface |
| US10791405B2 (en) | 2012-06-28 | 2020-09-29 | Sonos, Inc. | Calibration indicator |
| US10129674B2 (en) | 2012-06-28 | 2018-11-13 | Sonos, Inc. | Concurrent multi-loudspeaker calibration |
| US12212937B2 (en) | 2012-06-28 | 2025-01-28 | Sonos, Inc. | Calibration state variable |
| US9961463B2 (en) | 2012-06-28 | 2018-05-01 | Sonos, Inc. | Calibration indicator |
| US10045139B2 (en) | 2012-06-28 | 2018-08-07 | Sonos, Inc. | Calibration state variable |
| US11368803B2 (en) | 2012-06-28 | 2022-06-21 | Sonos, Inc. | Calibration of playback device(s) |
| US12126970B2 (en) | 2012-06-28 | 2024-10-22 | Sonos, Inc. | Calibration of playback device(s) |
| US10674293B2 (en) | 2012-06-28 | 2020-06-02 | Sonos, Inc. | Concurrent multi-driver calibration |
| US12069444B2 (en) | 2012-06-28 | 2024-08-20 | Sonos, Inc. | Calibration state variable |
| US10412516B2 (en) | 2012-06-28 | 2019-09-10 | Sonos, Inc. | Calibration of playback devices |
| US10635383B2 (en) | 2013-04-04 | 2020-04-28 | Nokia Technologies Oy | Visual audio processing apparatus |
| US9706324B2 (en) | 2013-05-17 | 2017-07-11 | Nokia Technologies Oy | Spatial object oriented audio apparatus |
| US9451360B2 (en) | 2014-01-14 | 2016-09-20 | Cisco Technology, Inc. | Muting a sound source with an array of microphones |
| WO2015108798A3 (en)* | 2014-01-14 | 2016-01-28 | Cisco Technology, Inc. | Muting a sound source with an array of microphones |
| US11991505B2 (en) | 2014-03-17 | 2024-05-21 | Sonos, Inc. | Audio settings based on environment |
| US10299055B2 (en) | 2014-03-17 | 2019-05-21 | Sonos, Inc. | Restoration of playback device configuration |
| JP2017513433A (en)* | 2014-03-17 | 2017-05-25 | ソノズ インコーポレイテッド | Playback device settings based on proximity detection |
| US10051399B2 (en) | 2014-03-17 | 2018-08-14 | Sonos, Inc. | Playback device configuration according to distortion threshold |
| US10511924B2 (en) | 2014-03-17 | 2019-12-17 | Sonos, Inc. | Playback device with multiple sensors |
| US11540073B2 (en) | 2014-03-17 | 2022-12-27 | Sonos, Inc. | Playback device self-calibration |
| US11696081B2 (en) | 2014-03-17 | 2023-07-04 | Sonos, Inc. | Audio settings based on environment |
| JP2018164287A (en)* | 2014-03-17 | 2018-10-18 | ソノズ インコーポレイテッド | Playback device settings based on proximity detection |
| US10412517B2 (en) | 2014-03-17 | 2019-09-10 | Sonos, Inc. | Calibration of playback device to target curve |
| US10129675B2 (en) | 2014-03-17 | 2018-11-13 | Sonos, Inc. | Audio settings of multiple speakers in a playback device |
| US12267652B2 (en) | 2014-03-17 | 2025-04-01 | Sonos, Inc. | Audio settings based on environment |
| US11991506B2 (en) | 2014-03-17 | 2024-05-21 | Sonos, Inc. | Playback device configuration |
| US10863295B2 (en) | 2014-03-17 | 2020-12-08 | Sonos, Inc. | Indoor/outdoor playback device calibration |
| US10791407B2 (en) | 2014-03-17 | 2020-09-29 | Sonon, Inc. | Playback device configuration |
| US10154359B2 (en) | 2014-09-09 | 2018-12-11 | Sonos, Inc. | Playback device calibration |
| US11625219B2 (en) | 2014-09-09 | 2023-04-11 | Sonos, Inc. | Audio processing algorithms |
| US12141501B2 (en) | 2014-09-09 | 2024-11-12 | Sonos, Inc. | Audio processing algorithms |
| US9936318B2 (en) | 2014-09-09 | 2018-04-03 | Sonos, Inc. | Playback device calibration |
| US10599386B2 (en) | 2014-09-09 | 2020-03-24 | Sonos, Inc. | Audio processing algorithms |
| US10127008B2 (en) | 2014-09-09 | 2018-11-13 | Sonos, Inc. | Audio processing algorithm database |
| US11029917B2 (en) | 2014-09-09 | 2021-06-08 | Sonos, Inc. | Audio processing algorithms |
| US10271150B2 (en) | 2014-09-09 | 2019-04-23 | Sonos, Inc. | Playback device calibration |
| US10127006B2 (en) | 2014-09-09 | 2018-11-13 | Sonos, Inc. | Facilitating calibration of an audio playback device |
| US10701501B2 (en) | 2014-09-09 | 2020-06-30 | Sonos, Inc. | Playback device calibration |
| US10284983B2 (en) | 2015-04-24 | 2019-05-07 | Sonos, Inc. | Playback device calibration user interfaces |
| US10664224B2 (en) | 2015-04-24 | 2020-05-26 | Sonos, Inc. | Speaker calibration user interface |
| US10129679B2 (en) | 2015-07-28 | 2018-11-13 | Sonos, Inc. | Calibration error conditions |
| US10462592B2 (en) | 2015-07-28 | 2019-10-29 | Sonos, Inc. | Calibration error conditions |
| US11803350B2 (en) | 2015-09-17 | 2023-10-31 | Sonos, Inc. | Facilitating calibration of an audio playback device |
| US11197112B2 (en) | 2015-09-17 | 2021-12-07 | Sonos, Inc. | Validation of audio calibration using multi-dimensional motion check |
| US12282706B2 (en) | 2015-09-17 | 2025-04-22 | Sonos, Inc. | Facilitating calibration of an audio playback device |
| US11099808B2 (en) | 2015-09-17 | 2021-08-24 | Sonos, Inc. | Facilitating calibration of an audio playback device |
| US10419864B2 (en) | 2015-09-17 | 2019-09-17 | Sonos, Inc. | Validation of audio calibration using multi-dimensional motion check |
| US11706579B2 (en) | 2015-09-17 | 2023-07-18 | Sonos, Inc. | Validation of audio calibration using multi-dimensional motion check |
| US12238490B2 (en) | 2015-09-17 | 2025-02-25 | Sonos, Inc. | Validation of audio calibration using multi-dimensional motion check |
| US10585639B2 (en) | 2015-09-17 | 2020-03-10 | Sonos, Inc. | Facilitating calibration of an audio playback device |
| US10841719B2 (en) | 2016-01-18 | 2020-11-17 | Sonos, Inc. | Calibration using multiple recording devices |
| US11800306B2 (en) | 2016-01-18 | 2023-10-24 | Sonos, Inc. | Calibration using multiple recording devices |
| US10063983B2 (en) | 2016-01-18 | 2018-08-28 | Sonos, Inc. | Calibration using multiple recording devices |
| US11432089B2 (en) | 2016-01-18 | 2022-08-30 | Sonos, Inc. | Calibration using multiple recording devices |
| US10405117B2 (en) | 2016-01-18 | 2019-09-03 | Sonos, Inc. | Calibration using multiple recording devices |
| US11184726B2 (en) | 2016-01-25 | 2021-11-23 | Sonos, Inc. | Calibration using listener locations |
| US11006232B2 (en) | 2016-01-25 | 2021-05-11 | Sonos, Inc. | Calibration based on audio content |
| US11106423B2 (en) | 2016-01-25 | 2021-08-31 | Sonos, Inc. | Evaluating calibration of a playback device |
| US11516612B2 (en) | 2016-01-25 | 2022-11-29 | Sonos, Inc. | Calibration based on audio content |
| US10735879B2 (en) | 2016-01-25 | 2020-08-04 | Sonos, Inc. | Calibration based on grouping |
| US10390161B2 (en) | 2016-01-25 | 2019-08-20 | Sonos, Inc. | Calibration based on audio content type |
| US10880664B2 (en) | 2016-04-01 | 2020-12-29 | Sonos, Inc. | Updating playback device configuration information based on calibration data |
| US11736877B2 (en) | 2016-04-01 | 2023-08-22 | Sonos, Inc. | Updating playback device configuration information based on calibration data |
| US12302075B2 (en) | 2016-04-01 | 2025-05-13 | Sonos, Inc. | Updating playback device configuration information based on calibration data |
| US10405116B2 (en) | 2016-04-01 | 2019-09-03 | Sonos, Inc. | Updating playback device configuration information based on calibration data |
| US10402154B2 (en) | 2016-04-01 | 2019-09-03 | Sonos, Inc. | Playback device calibration based on representative spectral characteristics |
| US11995376B2 (en) | 2016-04-01 | 2024-05-28 | Sonos, Inc. | Playback device calibration based on representative spectral characteristics |
| US11379179B2 (en) | 2016-04-01 | 2022-07-05 | Sonos, Inc. | Playback device calibration based on representative spectral characteristics |
| US10884698B2 (en) | 2016-04-01 | 2021-01-05 | Sonos, Inc. | Playback device calibration based on representative spectral characteristics |
| US11212629B2 (en) | 2016-04-01 | 2021-12-28 | Sonos, Inc. | Updating playback device configuration information based on calibration data |
| US10750304B2 (en) | 2016-04-12 | 2020-08-18 | Sonos, Inc. | Calibration of audio playback devices |
| US10045142B2 (en) | 2016-04-12 | 2018-08-07 | Sonos, Inc. | Calibration of audio playback devices |
| US10299054B2 (en) | 2016-04-12 | 2019-05-21 | Sonos, Inc. | Calibration of audio playback devices |
| US11889276B2 (en) | 2016-04-12 | 2024-01-30 | Sonos, Inc. | Calibration of audio playback devices |
| US11218827B2 (en) | 2016-04-12 | 2022-01-04 | Sonos, Inc. | Calibration of audio playback devices |
| US10750303B2 (en) | 2016-07-15 | 2020-08-18 | Sonos, Inc. | Spatial audio correction |
| US10129678B2 (en) | 2016-07-15 | 2018-11-13 | Sonos, Inc. | Spatial audio correction |
| US12170873B2 (en) | 2016-07-15 | 2024-12-17 | Sonos, Inc. | Spatial audio correction |
| US12143781B2 (en) | 2016-07-15 | 2024-11-12 | Sonos, Inc. | Spatial audio correction |
| US11736878B2 (en) | 2016-07-15 | 2023-08-22 | Sonos, Inc. | Spatial audio correction |
| US11337017B2 (en) | 2016-07-15 | 2022-05-17 | Sonos, Inc. | Spatial audio correction |
| US10448194B2 (en) | 2016-07-15 | 2019-10-15 | Sonos, Inc. | Spectral correction using spatial calibration |
| US10853022B2 (en) | 2016-07-22 | 2020-12-01 | Sonos, Inc. | Calibration interface |
| US10372406B2 (en) | 2016-07-22 | 2019-08-06 | Sonos, Inc. | Calibration interface |
| US11237792B2 (en) | 2016-07-22 | 2022-02-01 | Sonos, Inc. | Calibration assistance |
| US11531514B2 (en) | 2016-07-22 | 2022-12-20 | Sonos, Inc. | Calibration assistance |
| US11983458B2 (en) | 2016-07-22 | 2024-05-14 | Sonos, Inc. | Calibration assistance |
| US10459684B2 (en) | 2016-08-05 | 2019-10-29 | Sonos, Inc. | Calibration of a playback device based on an estimated frequency response |
| US10853027B2 (en) | 2016-08-05 | 2020-12-01 | Sonos, Inc. | Calibration of a playback device based on an estimated frequency response |
| US11698770B2 (en) | 2016-08-05 | 2023-07-11 | Sonos, Inc. | Calibration of a playback device based on an estimated frequency response |
| US12260151B2 (en) | 2016-08-05 | 2025-03-25 | Sonos, Inc. | Calibration of a playback device based on an estimated frequency response |
| KR20210055702A (en)* | 2018-08-09 | 2021-05-17 | 프라운호퍼 게젤샤프트 쭈르 푀르데룽 데어 안겐반텐 포르슝 에. 베. | Audio Processor and Method for Providing Loudspeaker Signals Considering Acoustic Impairment |
| JP7350056B2 (en) | 2018-08-09 | 2023-09-25 | フラウンホファー ゲセルシャフト ツール フェールデルンク ダー アンゲヴァンテン フォルシュンク エー.ファオ. | Audio processor and method for providing loudspeaker signals taking acoustic obstructions into account |
| KR102639654B1 (en)* | 2018-08-09 | 2024-02-23 | 프라운호퍼 게젤샤프트 쭈르 푀르데룽 데어 안겐반텐 포르슝 에. 베. | Audio processor and method for providing loudspeaker signals considering acoustic disturbances |
| US12309562B2 (en) | 2018-08-09 | 2025-05-20 | Fraunhofer-Gesellschaft zur Förderung der angewandten Forschung e.V. | Audio processor and a method for providing loudspeaker signals |
| JP2021534651A (en)* | 2018-08-09 | 2021-12-09 | フラウンホファー ゲセルシャフト ツール フェールデルンク ダー アンゲヴァンテン フォルシュンク エー.ファオ. | Audio processors and methods that provide loudspeaker signals taking into account acoustic obstacles |
| US11671757B2 (en) | 2018-08-09 | 2023-06-06 | Fraunhofer-Gesellschaft zur Förderung der angewandten Forschung e.V. | Audio processor and a method considering acoustic obstacles and providing loudspeaker signals |
| US11877139B2 (en) | 2018-08-28 | 2024-01-16 | Sonos, Inc. | Playback device calibration |
| US10582326B1 (en) | 2018-08-28 | 2020-03-03 | Sonos, Inc. | Playback device calibration |
| US11350233B2 (en) | 2018-08-28 | 2022-05-31 | Sonos, Inc. | Playback device calibration |
| US11206484B2 (en) | 2018-08-28 | 2021-12-21 | Sonos, Inc. | Passive speaker authentication |
| US12167222B2 (en) | 2018-08-28 | 2024-12-10 | Sonos, Inc. | Playback device calibration |
| US10848892B2 (en) | 2018-08-28 | 2020-11-24 | Sonos, Inc. | Playback device calibration |
| US10299061B1 (en) | 2018-08-28 | 2019-05-21 | Sonos, Inc. | Playback device calibration |
| US12132459B2 (en) | 2019-08-12 | 2024-10-29 | Sonos, Inc. | Audio calibration of a portable playback device |
| US11728780B2 (en) | 2019-08-12 | 2023-08-15 | Sonos, Inc. | Audio calibration of a portable playback device |
| US11374547B2 (en) | 2019-08-12 | 2022-06-28 | Sonos, Inc. | Audio calibration of a portable playback device |
| US10734965B1 (en) | 2019-08-12 | 2020-08-04 | Sonos, Inc. | Audio calibration of a portable playback device |
| US12322390B2 (en) | 2021-09-30 | 2025-06-03 | Sonos, Inc. | Conflict management for wake-word detection processes |
| Publication | Publication Date | Title |
|---|---|---|
| JP2006180039A (en) | Acoustic apparatus and program | |
| US10972835B2 (en) | Conference system with a microphone array system and a method of speech acquisition in a conference system | |
| US10142484B2 (en) | Nearby talker obscuring, duplicate dialogue amelioration and automatic muting of acoustically proximate participants | |
| JP3891153B2 (en) | Telephone device | |
| EP2007168B1 (en) | Voice conference device | |
| US8311233B2 (en) | Position sensing using loudspeakers as microphones | |
| EP2011366B1 (en) | Sound pickup device and voice conference apparatus | |
| JP4984683B2 (en) | Sound emission and collection device | |
| EP2320676A1 (en) | Method, communication device and communication system for controlling sound focusing | |
| JP2009278620A (en) | Sound pickup apparatus and conference telephone | |
| KR20120101457A (en) | Audio zoom | |
| JP2008259022A (en) | Sound emitting/collecting device | |
| JP4882757B2 (en) | Audio conference system | |
| US20050180582A1 (en) | A System and Method for Utilizing Disjoint Audio Devices | |
| EP4184507A1 (en) | Headset apparatus, teleconference system, user device and teleconferencing method | |
| JP4479227B2 (en) | Audio pickup / video imaging apparatus and imaging condition determination method | |
| JP3932928B2 (en) | Loudspeaker | |
| JP4269854B2 (en) | Telephone device | |
| JP2007329753A (en) | Voice communication device and voice communication device | |
| JP2006211156A (en) | Acoustic device | |
| JP2008017126A (en) | Voice conference system | |
| EP1266538A1 (en) | Spatial sound steering system | |
| JP2008294600A (en) | Sound emission and collection apparatus and sound emission and collection system | |
| JP4867248B2 (en) | Speaker device and audio conference device | |
| US20240223947A1 (en) | Audio Signal Processing Method and Audio Signal Processing System |