























本発明は睡眠時の呼吸に関する情報を検出する睡眠情報検出システムに関する。 The present invention relates to a sleep information detection system that detects information related to breathing during sleep.
近年、睡眠不足等、睡眠に不満、不安をもつ人々が増えている。殊に、睡眠に不満、不安をもつが、病院に行くまでもないという人々が増えている。そこでこれらの人々に対処することが要請されている。 In recent years, an increasing number of people are dissatisfied and anxious about sleep, such as lack of sleep. In particular, an increasing number of people are dissatisfied and anxious about sleep but do not even need to go to the hospital. Therefore, it is requested to deal with these people.
特許文献1には、いびき音を検出する受圧装置と、受圧装置の信号を濾波するフィルタ装置と、フィルタ装置からの信号を数値演算装置によっていびき音か否か判定する判定装置と、判定装置から判定信号を出力する判定出力装置とを備えている。これによりいびき音を判定することができる。このものでは、マイクにより検出されたアナログ信号をローパスフィルタ(10kHz)に通し、自己相関関数を用いることにより、いびきの検出を行う。
特許文献2には、マイクにより検出されたアナログ信号を所定の周波数だけ通過させ、その信号レベルが所定のレベル以上のものをカウントし、そのカウント数が設定回数以上であったとき、いびきとして検知する。
産業界では、更なる睡眠情報検出システムが要望されている。本発明は上記した実情に鑑みてなされたものであり、寝息音、いびき音、爆音のうちの少なくとも1種を判別するにあたり、処理が簡易で済む睡眠情報検出システムを提供することを課題とする。 There is a need in the industry for additional sleep information detection systems. The present invention has been made in view of the above circumstances, and it is an object of the present invention to provide a sleep information detection system that can be easily processed in determining at least one of sleep sound, snoring sound, and explosion sound. .
(1)様相1の本発明に係る睡眠情報検出システムは、呼吸音検知部から呼吸音に関する物理量を取り込む呼吸音物理量取り込み部と、呼吸音物理量取り込み部に取り込まれた呼吸音に関する物理量に基づいて、睡眠中の呼吸音を判定する睡眠中呼吸音判定部とを具備しており、
睡眠中呼吸音判定部は、呼吸音物理量取り込み部で取り込んだ物理量を周波数に基づいて分割した複数の周波数ブロック毎に物理量の判定値を検出する判定値検出部と、判定値検出部の複数の周波数ブロックにおける判定値に基づいて、睡眠中の人の呼吸音を寝息音、いびき音、爆音のうちの少なくとも1種として識別する識別部とを備えていることを特徴とするものである。(1) The sleep information detection system according to the present invention of
The sleep respiratory sound determination unit includes a determination value detection unit that detects a physical value determination value for each of a plurality of frequency blocks obtained by dividing the physical quantity acquired by the respiratory sound physical quantity acquisition unit based on the frequency, and a plurality of determination value detection units And an identification unit that identifies a breathing sound of a sleeping person as at least one of a sleep sound, a snoring sound, and an explosive sound based on a determination value in the frequency block.
睡眠中呼吸音判定部は、呼吸音物理量取り込み部で取り込んだ物理量を周波数に基づいて分割した複数の周波数ブロックに分け、複数の周波数ブロック毎に、物理量に関する物理量の判定値(例えばピーク値)を求める。そして、識別部は、判定値検出部の複数の周波数ブロックにおける判定値に基づいて(例えば、判定値と基準値との比較に基づいて)、睡眠中の人の呼吸音を寝息音、いびき音、爆音のうちの少なくとも1種として識別する。 The respiratory sound determination unit during sleep divides the physical quantity captured by the respiratory sound physical quantity capturing unit into a plurality of frequency blocks divided based on the frequency, and determines a physical quantity determination value (for example, a peak value) related to the physical quantity for each of the plurality of frequency blocks. Ask. Then, based on the determination values in the plurality of frequency blocks of the determination value detection unit (for example, based on a comparison between the determination value and the reference value), the identification unit converts the breathing sound of a sleeping person into a sleep sound and a snoring sound. , Identified as at least one of the explosion sounds.
(2)様相2の本発明に係る睡眠情報検出システムは、呼吸音検知部から呼吸音に関する物理量を取り込む呼吸音物理量取り込み部と、呼吸音物理量取り込み部で取り込まれた呼吸音に関する物理量に基づいて、睡眠中の呼吸音を判定する睡眠中呼吸音判定部とを具備しており、睡眠中呼吸音判定部は、呼吸音物理量取り込み部で取り込んだ物理量から一定時間当たりの呼吸音(寝息音、いびき音、爆音の少なくとも1種を含む)をカウントする呼吸音カウント部を備えている。睡眠中呼吸音判定部は、呼吸音検知部で検知した物理量から一定時間当たりの睡眠中の呼吸音(寝息音、いびき音、爆音の少なくとも1種を含む)をカウントする。 (2) The sleep information detection system according to the second aspect of the present invention is based on a respiratory sound physical quantity capturing unit that captures a physical quantity related to respiratory sound from the respiratory sound detection unit, and a physical quantity related to respiratory sound captured by the respiratory sound physical quantity capturing unit. A sleep sound determination unit for determining breathing sound during sleep, and the breathing sound determination unit during sleep from the physical quantity captured by the respiratory sound physical quantity capturing unit (breathing sound per certain time) A breathing sound counting unit that counts at least one kind of snoring sound and explosive sound. The respiratory sound determination unit during sleep counts respiratory sounds during sleep (including at least one of sleep sound, snoring sound, and explosive sound) per certain time from the physical quantity detected by the respiratory sound detection unit.
様相1の本発明に係る睡眠情報検出システムによれば、睡眠中呼吸音判定部は、呼吸音物理量取り込み部で取り込んだ物理量を周波数に基づいて分割した複数の周波数ブロックに分け、複数の周波数ブロック毎に物理量の判定値を求める。そして、識別部は、判定値検出部の複数の周波数ブロックにおける判定値に基づいて、睡眠中の人の呼吸音を寝息音、いびき音、爆音のうちの少なくとも1種として識別する。かくして、ユーザーは睡眠中の情報を知ることができ、睡眠不足等、睡眠に不満、不安をもつ人々に対処することができる。 According to the sleep information detection system according to the
様相1の本発明に係る睡眠情報検出システムによれば、各周波数ブロックにおける判定値は、各周波数ブロックにおける多数の物理量を代表するものである。従って、データの数を減少させることができ、識別部の負担を低減させることができる。 According to the sleep information detection system according to the first aspect of the present invention, the determination value in each frequency block represents a large number of physical quantities in each frequency block. Therefore, the number of data can be reduced, and the burden on the identification unit can be reduced.
様相2の本発明に係る睡眠情報検出システムによれば、睡眠中呼吸音判定部の呼吸音カウント部は、呼吸音物理量取り込み部で取り込んだ物理量から一定時間当たりの呼吸音(寝息音、いびき音、爆音の少なくとも1種を含む)をカウントする。このためユーザーは睡眠中の呼吸数に関する情報を知ることができ睡眠不足等、睡眠に不満、不安をもつ人々に対処することができる。 According to the sleep information detection system according to the
睡眠中呼吸音判定部は、呼吸音物理量取り込み部で取り込んだ物理量を周波数に基づいて分割した複数の周波数ブロック毎に物理量の判定値を検出する判定値検出部と、判定値検出部の複数の周波数ブロックにおける判定値に基づいて、睡眠中の人の呼吸音を寝息音、いびき音、爆音のうちの少なくとも1種として識別する識別部とを備えている。 The sleep respiratory sound determination unit includes a determination value detection unit that detects a physical value determination value for each of a plurality of frequency blocks obtained by dividing the physical quantity acquired by the respiratory sound physical quantity acquisition unit based on the frequency, and a plurality of determination value detection units And an identification unit that identifies a breathing sound of a sleeping person as at least one of a sleep sound, a snoring sound, and an explosive sound based on a determination value in the frequency block.
ここで、物理量の判定値は物理量のピーク値であり、判定値検出部は各周波数ブロックにおける物理量のピーク値を検出するピーク値検出部である形態を採用することができる。ピーク値は検出し易いからである。ピーク値としては一般的には、各周波数ブロックにおける物理量の最大値とすることができるが、場合によっては、2番目に高いピーク値とすることもでき、あるいは、3番目に高いピーク値とすることもできる、あるいは、物理量の平均値とすることもできる。 Here, the determination value of the physical quantity is a peak value of the physical quantity, and the determination value detection unit may be a peak value detection unit that detects the peak value of the physical quantity in each frequency block. This is because the peak value is easy to detect. In general, the peak value can be the maximum value of the physical quantity in each frequency block, but in some cases, it can be the second highest peak value or the third highest peak value. Or an average of physical quantities.
本発明の好ましい形態によれば、睡眠中呼吸音判定部の識別部は、判定値検出部の複数の周波数ブロックにおける判定値と基準値とを比較し、比較に基づいて、睡眠中の人の呼吸音を寝息音、いびき音、爆音のうちの少なくとも1種として識別するものである形態を採用することができる。この場合、判別処理が簡便となる。 According to a preferred embodiment of the present invention, the identification unit of the sleep sound determination unit during sleep compares the determination value and the reference value in the plurality of frequency blocks of the determination value detection unit, and based on the comparison, A form that identifies the breathing sound as at least one of sleep sound, snoring sound, and explosion sound can be adopted. In this case, the discrimination process is simple.
寝息音等の睡眠音は、個人差により周波数情報、振幅等が異なることが多い。判定基準として、万人に通用するような緩やかな基準を採用することも考えられるが、この場合、ノイズであるにも拘わらず、睡眠情報データとして誤検出してしまうおそれがある。そこで、睡眠中呼吸音判定部は、呼吸音物理量取り込み部で取り込んだ呼吸音に関する物理量に基づいて基準値を更新する基準値更新部を備えている形態を採用することができる。このように使用者に応じて基準値を更新すれば、画一的に設定した寝息音基準値等の基準値ではなく、各使用者に適合する寝息音基準値等の基準値を設けることができ、各使用者に適合する睡眠情報の検出精度を向上させることができる。基準値更新部としては、フィルタ部により選別した特定の周波数領域(例えば1Hz以下)の物理量の平均値を求め、この平均値を寝息音基準値等の基準値として更新する形態を採用することができる。 In many cases, sleep sound such as sleep sound has different frequency information, amplitude, and the like due to individual differences. Although it is conceivable to adopt a gradual standard that is accepted by everyone as a determination standard, in this case, it may be erroneously detected as sleep information data even though it is noise. In view of this, the sleep breathing sound determination unit can adopt a form including a reference value update unit that updates the reference value based on the physical quantity related to the respiratory sound captured by the respiratory sound physical quantity capturing unit. In this way, if the reference value is updated according to the user, a reference value such as a sleep sound reference value suitable for each user can be provided instead of a uniformly set reference value such as a sleep sound reference value. It is possible to improve the detection accuracy of sleep information suitable for each user. As the reference value update unit, a mode is adopted in which an average value of physical quantities in a specific frequency region (for example, 1 Hz or less) selected by the filter unit is obtained and this average value is updated as a reference value such as a sleep sound reference value. it can.
人の呼吸音は特定の周波数領域(例えば2kHz〜4kHz)に特性をもつことが多いことを本発明者は知見した。そのため、その周波数領域を包含する特定の周波数(例えば10kHz)の周期で音声データをサンプリングし、周波数解析することで、特定(例えば、2kHz〜4kHzを含む0〜5kHzの周波数領域)の周波数情報を取得する形態を採用することができる。この場合、特定(例えば0〜5kHz)の周波数領域におけるデータを複数個(M個)の周波数ブロックに分け、各周波数ブロックを代表する判定値(好ましくはピーク値、より好ましくは最大値)を用いることで、特定(例えば0〜5kHz)にわたる多数のデータ数を複数個(M個)に減少させることができるため、識別部の負担を低減させることができる。 The present inventor has found that human respiratory sounds often have characteristics in a specific frequency region (for example, 2 kHz to 4 kHz). Therefore, by sampling the audio data at a specific frequency period (for example, 10 kHz) including the frequency region and performing frequency analysis, specific frequency information (for example, a frequency region of 0 to 5 kHz including 2 kHz to 4 kHz) is obtained. The form to acquire can be employ | adopted. In this case, data in a specific (for example, 0 to 5 kHz) frequency region is divided into a plurality (M) of frequency blocks, and a determination value (preferably a peak value, more preferably a maximum value) representing each frequency block is used. As a result, the number of data over a specific range (for example, 0 to 5 kHz) can be reduced to a plurality (M), so that the burden on the identification unit can be reduced.
また、睡眠中呼吸音判定部は、呼吸音に関する物理量から暗騒音を差し引いた物理量を分析し、睡眠中の呼吸音を寝息音、いびき音、爆音のうちの少なくとも1種として識別する形態を採用することができる。本明細書では、いびき音は通常のいびき音をいい、爆音はいびき音のうち大きな音をいう。睡眠中呼吸音判定部は、寝息音のみを識別する方式でも良いし、いびき音のみを識別する方式でも良いし、爆音のみを識別する方式でも良いし、寝息音およびいびき音を識別する方式でも良いし、いびき音及び爆音を識別する方式でも良いし、寝息音及び爆音を識別する方式でも良い。 In addition, the respiratory sound determination unit during sleep analyzes a physical quantity obtained by subtracting background noise from the physical quantity related to the respiratory sound, and adopts a form that identifies the respiratory sound during sleep as at least one of sleep sound, snoring sound, and explosion sound can do. In this specification, the snoring sound refers to a normal snoring sound, and the explosive sound refers to a loud sound among the snoring sounds. The sleep breathing sound determination unit may be a method for identifying only the sleep sound, a method for identifying only the snoring sound, a method for identifying only the snoring sound, or a method for identifying the sleep sound and the snoring sound. A system for identifying snoring sounds and explosion sounds, or a system for identifying sleep sounds and explosion sounds may be used.
本発明の好ましい形態によれば、睡眠中呼吸音判定部は、暗騒音を登録する暗騒音登録部と、登録した暗騒音を、呼吸音に関する物理量から差し引いて第2物理量を得る暗騒音差引部と、睡眠中の人が発生する呼吸音を第2物理量に基づいて寝息音、いびき音、爆音のうちの少なくとも1種として識別する識別部とを具備している形態を採用することができる。暗騒音は、例えば、睡眠導入前または睡眠導入直後において取り込むことができるが、睡眠途中で取り込んでも良い。睡眠導入前または睡眠導入直後であれば、人の呼吸音が小さいので、呼吸音との混同を避けるのに有利である。 According to a preferred embodiment of the present invention, the sleep breathing sound determination unit includes a background noise registration unit that registers background noise, and a background noise subtraction unit that subtracts the registered background noise from the physical amount related to the breathing sound to obtain a second physical quantity. And an identification unit that identifies a breathing sound generated by a sleeping person as at least one of a sleep sound, a snoring sound, and an explosive sound based on the second physical quantity can be employed. The background noise can be captured, for example, before sleep introduction or immediately after sleep introduction, but may be captured during sleep. If it is before sleep introduction or just after sleep introduction, since a person's breathing sound is small, it is advantageous to avoid confusion with the breathing sound.
本発明の好ましい形態によれば、睡眠中呼吸音判定部は、呼吸音検知部により検知された音声信号のうち所定の周波数よりも低い周波数成分及び/または別の所定の周波数よりも高い周波数成分をカットするフィルタ部をもつ形態を例示することができる。これにより誤検知が回避または軽減される。 According to a preferred embodiment of the present invention, the sleep sound determination unit during sleep has a frequency component lower than a predetermined frequency and / or a frequency component higher than another predetermined frequency among the audio signals detected by the respiration sound detection unit. The form which has the filter part which cuts can be illustrated. This avoids or reduces false detection.
本発明によれば、全部の周波数ブロックの最大値を検出した後に、全部の周波数ブロックの最大値をそれぞれフィルタ部に通過させ、睡眠音以外の音に関するノイズを低減する形態を採用することができる。この場合、複数の周波数ブロックにおいて検出した各物理量をフィルタ部(例えば1Hz以下通過させる)に通す。これによりノイズを除去し、周期的な安定した睡眠音の物理量のみ抽出する。 According to the present invention, after detecting the maximum values of all the frequency blocks, it is possible to adopt a mode in which the maximum values of all the frequency blocks are respectively passed through the filter units to reduce noise related to sounds other than sleep sounds. . In this case, each physical quantity detected in a plurality of frequency blocks is passed through a filter unit (for example, 1 Hz or less is allowed to pass). As a result, noise is removed, and only a physical quantity of a periodic stable sleep sound is extracted.
また、睡眠中呼吸音判定部は、複数の周波数ブロックのうち、各周波数ブロックにおける物理量の平均値が最大の周波数ブロックを検査ブロックとして設定すると共に、識別部は、識別の際に、複数の周波数ブロックの中で物理量の最大値をもつ最大ブロックを選定し、最大ブロックと検査ブロックとが対応するとき、寝息音、いびき音、爆音のうちの少なくとも1種の識別を行う形態を採用することができる。この場合、最大ブロックと検査ブロックとが対応しないとき、寝息音、いびき音、爆音のうちの少なくとも1種の識別を行なわない形態を採用することができる。これにより睡眠情報の検出精度を向上させることができる。物理量の最大値が発現する周波数領域は、使用者の睡眠特性に対応することが多いためである。 In addition, the sleep breathing sound determination unit sets a frequency block having the maximum physical quantity average value in each frequency block as a test block among the plurality of frequency blocks. It is possible to select a maximum block having the maximum physical quantity from among the blocks and adopt a form for identifying at least one of sleep sound, snoring sound, and explosion sound when the maximum block corresponds to the inspection block. it can. In this case, when the maximum block does not correspond to the inspection block, it is possible to adopt a form in which at least one of the sleep sound, snoring sound, and explosion sound is not identified. Thereby, the detection accuracy of sleep information can be improved. This is because the frequency region where the maximum value of the physical quantity appears often corresponds to the sleep characteristics of the user.
また、呼吸音ではないものの、呼吸音に近似した周波数をもつ雑音を取り除くことが好ましい。睡眠中において、呼吸している時間はほぼ一定であり、人の呼吸音が長く続くことはない。そこで、呼吸している呼吸検出時間TAを、睡眠中呼吸音判定部はパラメータとして設定する形態を採用することができる。この場合、呼吸検出時間TAが第1設定時間(例えば2秒)よりも長いときには、仮に呼吸音として検出されたときであっても、雑音と推定し、呼吸音として判定しない手段を採用できる。 In addition, although it is not a breathing sound, it is preferable to remove noise having a frequency approximate to the breathing sound. During sleep, the breathing time is almost constant, and the breathing sound of a person does not last long. Therefore, a form in which the respiratory detection time TA during breathing is set as a parameter by the respiratory sound determination unit during sleep can be employed. In this case, when the respiration detection time TA is longer than the first set time (for example, 2 seconds), it is possible to adopt a means that estimates that the respiration sound is not detected even if it is detected as a respiration sound.
また、呼吸と呼吸との間における間隔はほぼ一定である。そこで、呼吸音(寝息音、いびき音、爆音を含む)と呼吸音(寝息音、いびき音、爆音を含む)との間の間隔時間TBを、睡眠中呼吸音判定部はパラメータとして設定する形態を採用することができる。また、間隔時間TBが第2設定時間T2(例えば2秒)よりも短いときには、仮に呼吸音として検出されたときであっても、雑音と推定し、呼吸音として判定しない手段を採用できる。ここで、人の呼吸が一般的には0.5Hz付近であるため、呼吸検出時間は2秒以内であり、呼吸と呼吸との間における間隔は2秒程度となる。 Also, the interval between breaths is almost constant. Therefore, the sleep breathing sound determination unit sets the interval time TB between the breathing sound (including sleep sound, snoring sound, explosion sound) and the breathing sound (including sleep sound, snoring sound, explosion sound) as a parameter. Can be adopted. In addition, when the interval time TB is shorter than the second set time T2 (for example, 2 seconds), it is possible to employ a means that estimates that the sound is noise and does not determine it as a breathing sound even if it is detected as a breathing sound. Here, since a person's respiration is generally around 0.5 Hz, the respiration detection time is within 2 seconds, and the interval between respirations is about 2 seconds.
即ち、呼吸音物理量取り込み部で取り込んだ物理量から一定時間当たりの呼吸音(寝息音、いびき音、爆音の少なくとも1種を含む)をカウントする呼吸音カウント部を備えている形態を例示することができる。呼吸数カウント部は、呼吸に関する音の発生から終了までの時間TAが第1設定時間T1以内であり、且つ、呼吸に関する音の発生時刻から、次の呼吸に関する音の発生時刻までの時間TBが第2設定時間T2以上であるとき、呼吸音として判定する形態を採用することができる。第1設定時間T1、第2設定時間T2は、必要に応じて適宜設定することができる。なお、第1設定時間T1としては例えば1〜3秒程度、1.5〜2.5秒程度、殊に2秒に設定できる。第2設定時間T2としては例えば1.5〜10秒程度、1.7〜5秒程度、殊に3秒に設定できる。第1設定時間T1、第2設定時間T2を可変に設定する設定時間設定部を備えていることが好ましい。なお人の呼吸音を考慮すると、例えばT1=T2、T1≒T2とすることができる。 That is, an example in which a breathing sound counting unit that counts breathing sounds per unit time (including at least one of sleep sound, snoring sound, explosive sound) from the physical quantity captured by the breathing sound physical quantity capturing unit is illustrated. it can. In the respiration rate counting unit, the time TA from the generation of sound related to breathing to the end thereof is within the first set time T1, and the time TB from the time of sound generation related to breathing to the time of sound generation related to the next breath is calculated. When the time is equal to or longer than the second set time T2, it is possible to adopt a mode for determining as a breathing sound. The first set time T1 and the second set time T2 can be appropriately set as necessary. The first set time T1 can be set to, for example, about 1 to 3 seconds, about 1.5 to 2.5 seconds, particularly 2 seconds. The second set time T2 can be set to, for example, about 1.5 to 10 seconds, about 1.7 to 5 seconds, particularly 3 seconds. It is preferable to include a set time setting unit that variably sets the first set time T1 and the second set time T2. In consideration of human breathing sound, for example, T1 = T2 and T1≈T2.
好ましくは、睡眠中呼吸音判定部は、睡眠中呼吸音判定部で判定された人の呼吸に関する情報に基づいて無呼吸状態が睡眠中に存在することを判定する無呼吸判定部を備えている形態を採用することができる。無呼吸症候群では、呼吸がしばらく停止し、爆音を伴って呼吸が再開するという症状、単位時間当たりのいびき音の回数が多いという症状がある。無呼吸判定部は、呼吸停止時間などの検出により、無呼吸状態を判別する形態を採用することができる。 Preferably, the sleep breathing sound determination unit includes an apnea determination unit that determines that an apnea state is present during sleep based on information related to the breathing of the person determined by the sleep breathing sound determination unit. A form can be adopted. In apnea syndrome, there are symptoms that breathing stops for a while and breathing resumes with an explosion, and that there are many snoring sounds per unit time. The apnea determination unit can adopt a form in which an apnea state is determined by detecting a breathing stop time or the like.
本発明に係る好ましい形態によれば、睡眠中呼吸音判定部で判定された人の呼吸に関する音の情報を表示する表示部を備えている。従って睡眠中に生体が発生する情報をユーザーは知ることができる。この情報としては、寝息音、いびき音、爆音といった呼吸音の識別、呼吸の変化、無呼吸の有無等が挙げられる。従ってユーザーは睡眠時における呼吸情報(例えば無呼吸症候群等)に関する情報を知ることができる。表示部としては、視覚的に表示したり、聴覚的に表示したりする方式を採用でき、LED、液晶装置、ELパネル等を例示できる。 According to the preferable form which concerns on this invention, the display part which displays the information of the sound regarding the breath of the person determined by the breathing sound determination part during sleep is provided. Therefore, the user can know information generated by the living body during sleep. Examples of this information include identification of breathing sounds such as sleep sounds, snoring sounds, and explosion sounds, changes in breathing, and presence / absence of apnea. Therefore, the user can know information related to respiratory information during sleep (for example, apnea syndrome). As the display unit, a method of visually displaying or aurally displaying can be adopted, and an LED, a liquid crystal device, an EL panel, and the like can be exemplified.
本発明に係る睡眠情報検出システムは基体に設けることができる。基体としては、睡眠情報検出システムを搭載できるものであれば良く、寝室に定置的に設置されるタイプのものでも良いし、寝室に移動可能な可動タイプのものでも良い。基体としてはベッド装置、目覚まし時計、照明灯装置、家具のうちのいずれかとすることができる。ベッド装置としては、通常人が寝るベッド装置でも良いし、介護ベッドでも良い。目覚まし時計としては、ベッド装置から独立しているものでも良いし、ベッド装置に一体的に組み込まれているものでも良い。照明灯装置としては、寝具の近傍に設置するものが好ましい。家具としては、寝具の近傍に設置するものが好ましく、テーブル、本箱、タンス、化粧台等を例示できる。 The sleep information detection system according to the present invention can be provided on a base. The substrate may be of any type as long as it can mount a sleep information detection system, and may be of a type installed stationary in the bedroom, or of a movable type movable to the bedroom. The base can be any of a bed device, an alarm clock, an illumination lamp device, and furniture. As the bed apparatus, a bed apparatus in which a person normally sleeps may be used, or a care bed may be used. The alarm clock may be independent from the bed device or may be integrated into the bed device. As an illuminating lamp apparatus, what is installed in the vicinity of bedding is preferable. The furniture is preferably installed in the vicinity of the bedding, and examples thereof include a table, a bookcase, a chest, a dressing table, and the like.
呼吸音検知部としては、身体から離間した状態で収音する収音マイク手段が例示されるが、これに限らず、身体に付けられる接触式のセンサとすることもできる。収音マイク手段は収音指向性が高いものを用いることができる。収音マイク手段としては収音方向を調整可能である形態を例示することができる。このように収音方向を調整可能であれば、睡眠中に寝癖等で寝具の片側による傾向がある人に対しても、対応することができる。 The breathing sound detection unit is exemplified by a sound collecting microphone unit that picks up sound while being separated from the body, but is not limited thereto, and may be a contact sensor attached to the body. As the sound collecting microphone means, one having high sound collecting directivity can be used. As the sound collecting microphone means, a form in which the sound collecting direction can be adjusted can be exemplified. If the sound collection direction can be adjusted in this way, it is possible to cope with a person who tends to sleep on one side of the bedding with a sleeper or the like during sleep.
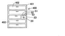
以下、本発明の実施例1について図1〜図10を参照して具体的に説明する。本実施例に係る非接触式の睡眠情報検出装置2は睡眠情報検出システムを搭載しており、寝室に設置される寝室設置装置として機能するベッド装置1に組みこまれている。図1に示すように、ベッド装置1は、基体としてのベッド本体10と、ベッド本体10に設けられ人の頭部に対面するヘッド部としてのヘッドボード12とを備えている。ベッド本体10は、マットや布団等の寝具MAを接触させて載せる寝具接触面11をもつ。ここで、寝室とは、人が寝る空間をいい、家屋の寝室、ビルの寝室、あるいは、ホテルや旅館等の宿泊所の寝室、あるいは、自動車、鉄道車両等の車両、船体、飛行機等において人が寝る空間等が挙げられる。
本実施例に係る非接触式の睡眠情報検出装置2はベッド装置1のヘッドボード12に搭載されており、入力処理回路、マイコン、メモリと、出力処理回路とを有する。図2は非接触式の睡眠情報検出装置2のアルゴリズムを示す。図2に示すように、ベッド装置1のヘッドボード12に取り付けられる呼吸音検知部として機能する収音指向性をもつ収音マイク20と、ベッド装置1のヘッドボード12に取り付けられる睡眠中呼吸音判定部22とをもつ。このように収音マイク20がベッド装置1のヘッドボード12(頭部側部材)に取り付けられており、寝具MAに寝ている人の頭部に対面しており、寝具MAに寝ている人の呼吸音を効果的に収音できるように設けられている。 The non-contact type sleep
図2に示すように、睡眠中呼吸音判定部22は、収音マイク20に入力された音声信号のうち所定の周波数よりも低い周波数成分と別の所定の周波数よりも高い周波数成分をカットするフィルタ部23と、収音マイク20で取り込まれた音信号を増幅させるアンプ部24と、所定の周波数(例えば10kHz)でサンプリングを行い所定のサンプル数(例えば64個)を得るサンプリング部25と、所定の周波数領域(0〜5000Hz)における周波数解析(FFT解析)を行う周波数解析部26と、周波数解析部26で複数回(例えば2回)解析したデータを平均化する平均化部27と、睡眠導入前または睡眠導入直後における暗騒音を登録する暗騒音登録部28(メモリに相当)と、登録した暗騒音を、呼吸音に関する物理量から差し引いて第2物理量としての周波数情報を得る暗騒音差引部29と、周波数情報を複数の周波数ブロック(8周波数ブロック)に分け、各周波数ブロック毎に物理量(電圧値)の最大値(判定値)を検出する複数の判定値検出部として機能する最大値検出部31〜38(周波数ブロックに相当する)と、周波数領域で分けられた複数の最大値検出部31〜38のそれぞれ対して寝息音を判別する寝息判別手段41と、周波数領域で分けられた複数の最大値検出部31〜38のそれぞれ対していびき音を判別するいびき判別手段42と、周波数領域で分けられた複数の最大値検出部31〜38のそれぞれ対して爆音を判別する爆音判別手段43と、周波数情報から単位時間当たりの呼吸音(寝息音、いびき音、爆音を含む)をカウントする呼吸音カウント部44と、識別した人の呼吸音に関する情報を表示する表示部50とを備えている。 As shown in FIG. 2, the sleep breathing
なお、複数の最大値検出部31〜38は、最大値検出手段30を構成する。寝息判別手段41、いびき判別手段42、爆音判別手段43は、呼吸音を寝息音、いびき音、爆音として識別する識別部4を構成する。ここで、上記した暗騒音とは、寝室内で聞こえる呼吸音以外の騒音を意味する。本実施例では、睡眠導入前または睡眠導入直後において、暗騒音を1回取り込んで、非接触式の睡眠情報検出装置2に内蔵されているメモリに登録しておく。 The plurality of maximum
図2に示すように、表示部50は、寝息音、いびき音、爆音の頻度を示す第1表示部51と、いびき音の頻度を示す第2表示部52と、所定時間あたりの呼吸音(寝息音、いびき音、爆音を含む)のカウント数を表示する第3表示部53とを有する。第1表示部51は、第1表示素子511と、第2表示素子512と、第3表示素子513とを有する。第1表示素子511は、爆音が計測時間においてNa回数以上検知されたことを示す。第2表示素子512は、爆音が計測時間においてNa回数未満であり、いびき音がNb回以上検知されていることを示す。第3表示素子513は、爆音がNa回未満であり、いびき音がNb回未満であることを示す。Na,Nbは100を例示することができる。 As shown in FIG. 2, the
第2表示部52は、第4表示素子524と、第5表示素子525と、第6表示素子526とを有する。第4表示素子524は、いびき音が計測時間のWa%(60%)以上検知されたことを示す。第5表示素子525は、いびき音が計測時間のWb%(10〜60%)未満検知されたことを示す。第6表示素子526はそれ以外を示す。なお表示素子としてはLED等を採用できる。 The
図3〜図5は、ある特定人についての1/3オクターブ3Dの分析結果を示す。図3〜図5において横軸は周波数を示し、縦軸は時間を示す。縦軸及び横軸の双方に直交する軸に、音声の強さを示す電圧値が色として示される。図3は寝息音の分析結果を示す。図3に示すように、寝息音の場合には、一般的には周波数250Hz〜4kHzの領域において出力電圧値がパルス的に振幅し、周期性が認められる。寝息音の場合には一般的には250Hz以下のパルスが少ない。図4はいびき音の分析結果を示す。図4に示すように、いびき音の場合には一般的には周波数63Hz〜16kHzの領域においてパルス的な振幅が認められ、周期性が認められる。いびき音の場合には、1kHz以下、殊に250Hz以下のパルスが多い。図5は人の体動の分析結果を示す。人の体動の際には音のパルスが、非リズム的に発生するので、周期性があまり認められず、体動は寝息音及びいびき音に対して識別される。 3 to 5 show the analysis results of 1/3 octave 3D for a specific person. 3 to 5, the horizontal axis represents frequency, and the vertical axis represents time. On the axis orthogonal to both the vertical axis and the horizontal axis, a voltage value indicating the sound intensity is shown as a color. FIG. 3 shows the analysis result of the sleep sound. As shown in FIG. 3, in the case of a sleep sound, generally, the output voltage value pulsates in a frequency range of 250 Hz to 4 kHz, and periodicity is recognized. In the case of a sleep sound, there are generally few pulses of 250 Hz or less. FIG. 4 shows the analysis result of the snoring sound. As shown in FIG. 4, in the case of a snoring sound, generally, a pulse-like amplitude is recognized in a region of a frequency of 63 Hz to 16 kHz, and periodicity is recognized. In the case of snoring sounds, there are many pulses of 1 kHz or less, particularly 250 Hz or less. FIG. 5 shows the analysis result of human body movement. Since a pulse of sound is generated non-rhythmically during human body movement, periodicity is not recognized so much, and body movement is discriminated against sleep sound and snoring sound.
表1は、呼吸に関する音を寝息音、いびき音、爆音に識別する物理量(電圧値)指標を示す。表1に示すように、複数(8個)ごとに、寝息音判別のしきい値となる寝息音基準値(電圧値)、いびき音判別のしきい値となるいびき音基準値(電圧値)、爆音判別のしきい値となる爆音基準値(電圧値)が規定されている。例えば、第1周波数ブロックである0−625Hzの領域では、V12(10mV)以上あれば、いびき音と判定し、V13(20mV)以上あれば、爆音と判定する。第2周波数ブロックである625Hz越え−1250Hzの領域では、V22(10mV)以上あれば、いびき音と判定し、V23(20mV)以上あれば、爆音と判定する。第3周波数ブロックである1250Hz越え−1875Hzの領域では、V33(20mV)以上あれば、爆音と判定する。第4周波数ブロックである1875Hz越え−2500Hzの領域では、V43(20mV)以上あれば、爆音と判定する。第5周波数ブロックである2500Hz越え−3125Hzの領域では、V51(15mV)以上あれば寝息音と判定し、V52(50mV)以上あればいびき音と判定し、V53(100mV)以上あれば爆音と判定する。この領域において、V53(100mV)以上あれば、寝息音、いびき音と、爆音としてそれぞれ判定されるが、より大きな音を発生する爆音として判定する。Table 1 shows physical quantity (voltage value) indices that distinguish sounds related to breathing into sleep sounds, snoring sounds, and explosive sounds. As shown in Table 1, for each of a plurality (eight), a sleep sound reference value (voltage value) serving as a threshold for determining a sleep sound, and a snoring sound reference value (voltage value) serving as a threshold for determining a snoring sound An explosion sound reference value (voltage value) is defined as a threshold value for explosion sound discrimination. For example, in the region of 0-625 Hz which is the first frequency block, if it is V12 (10 mV) or more, it is determined as a snoring sound, and if it is V13 (20 mV) or more, it is determined as an explosion sound. In the region of 625 Hz to −1250 Hz that is the second frequency block, if it is V22 (10 mV) or more, it is determined as a snoring sound, and if it is V23 (20 mV) or more, it is determined as an explosion sound. In the third frequency block, which exceeds 1250 Hz and −1875 Hz, if it is V33 (20 mV) or more, it is determined as an explosion sound. In the region of 1875 Hz to −2500 Hz which is the fourth frequency block, if it is V43 (20 mV) or more, it is determined as an explosion sound. In the fifth frequency block of 2500 Hz to −3125 Hz, if it is V51 (15 mV) or more, it is determined as a sleep sound, if it is V52 (50 mV) or more, it is determined as a snoring sound, and if it is V53 (100 mV) or more. Judged as an explosive sound. In this region, if V53 (100 mV) or more, it is determined as a sleep sound, snoring sound, and explosion sound, respectively, but it is determined as an explosion sound that generates a louder sound.
また、第6周波数ブロックである3125Hz越え−3750Hzの領域では、V61(15mV)以上あれば寝息音と判定し、V62(50mV)以上あればいびき音と判定し、V63(100mV)以上あれば爆音と判定する。また、第7周波数ブロックである3750Hz越え−4375Hzの領域では、V71(15mV)以上あれば寝息音と判定し、V72(50mV)以上あればいびき音と判定し、V73(10mV)以上あれば爆音と判定する。第8周波数ブロックである4385Hz越え−5000Hzの領域では、V83(10mV)以上あれば爆音と判定する。寝息音と判定すれば、寝息音フラグを0から1に設定する。いびき音と判定すれば、いびき音フラグを0から1に設定する。爆音と判定すれば、爆音フラグを0から1に設定する。Further, in the region of 3125 Hz exceeding −3750 Hz which is the sixth frequency block, if it is V61 (15 mV) or more, it is determined as a sleep sound, and if it is V62 (50 mV) or more, it is determined as a snoring sound, and V63 (100 mV) or more. If there is any explosion sound Further, in the region of 3750 Hz exceeding −4375 Hz which is the seventh frequency block, if it is V71 (15 mV) or more, it is determined as a sleep sound, and if it is V72 (50 mV) or more, it is determined as a snoring sound, and V73 (10 mV) or more. If there is any explosion sound In the region of 4385 Hz exceeding −5000 Hz, which is the eighth frequency block, if it is V83 (10 mV) or more, it is determined as an explosion sound. If the sleep sound is determined, the sleep sound flag is set from 0 to 1. If it is determined as a snoring sound, the snoring sound flag is set from 0 to 1. If it is determined that there is an explosion sound, the explosion sound flag is set from 0 to 1.
なお、上記した表1におけるV11、V12、V13、V12、V21、V22、V23等の()内に付記する基準値は、上記した値に限定されるものではなく、適宜変更できるものである。Note that the reference values in () such as V11 , V12 , V13 , V12 , V21 , V22 , V23, etc. in Table 1 above are not limited to the above values. It can be changed as appropriate.
図6は、単位時間当たりの呼吸音(寝息音、いびき音、爆音を含む)をカウントする呼吸音カウント部44のカウント指標を示す。図6において、Pr(rise)は呼吸音の発生で設定されるフラグ(寝息音フラグ、いびき音フラグ、爆音フラグ)の立ち上がりを示す。Pf(fall)はこのフラグの立ち下がりを示す。本実施例では次の条件(i)及び(ii)の双方の条件が満足されたとき、呼吸音(寝息音、いびき音、爆音を含む)としてカウントする。また、(i)及び(ii)の双方の条件が満足されないときには、呼吸音(寝息音、いびき音、爆音を含む)以外のノイズとして取り扱う。
(i)呼吸に関する音の発生から終了までの時間、つまり、立ち上がりPrから立ち下がりPfまでの時間TAが、第1設定時間T1(例えば2秒)以内であること。
(ii)呼吸に関する音の発生時刻から、次の呼吸に関する音の発生時刻までの時間、つまり、立ち上がりPrから次の立ち上がりPrまでの間隔時間TBが第2設定時間T2(例えば2秒)以上であるとき。FIG. 6 shows a count index of the breathing
(I) The time from the generation of sound related to breathing to the end thereof, that is, the time TA from the rise Pr to the fall Pf is within the first set time T1 (for example, 2 seconds).
(Ii) The time from the generation time of the sound related to breathing to the generation time of the sound related to the next breath, that is, the interval time TB from the rising Pr to the next rising Pr is equal to or longer than the second set time T2 (for example, 2 seconds). One day.
図6において、パルスP1,P2は(i)(ii)の双方を満足させるので呼吸音としてカウントする。パルスP3は(i)を満足させるものの、(ii)を満足しないため、呼吸数としてはノーカウントである。パルスP4は、ノーカウントのパルスP3に対しては(ii)を満足しないものの、カウントされるパルスP2に対しては(ii)の条件を満足させるため、結果として、(i)(ii)の双方を満足させることになり、呼吸数としてカウントされる。パルスP5は、カウントされるパルスP4に対しては(ii)の条件を満足させるものの、(i)の条件を満足させないため、呼吸数としてはノーカウントである。 In FIG. 6, since pulses P1 and P2 satisfy both (i) and (ii), they are counted as breathing sounds. Although the pulse P3 satisfies (i) but does not satisfy (ii), the respiration rate is no count. Although the pulse P4 does not satisfy (ii) with respect to the no-count pulse P3, but satisfies the condition (ii) with respect to the counted pulse P2, as a result, as a result of (i) (ii) Both will be satisfied and counted as breathing rate. Although the pulse P5 satisfies the condition (ii) with respect to the pulse P4 to be counted, the pulse P5 does not satisfy the condition (i).
このように上記した(i)(ii)の双方の条件が満足されると、人の呼吸音(寝息音、いびき音、爆音を含む)として判別し、呼吸音としてカウントすると共に、それ以外の音は呼吸音でないと判別し、カウントしない。これにより所定時間あたりの呼吸音(寝息音、いびき音、爆音を含む)がカウントされる。この指標では、寝息音、いびき音、爆音をまとめてカウントするが、表1に示す指標により、寝息音、いびき音、爆音の識別がなされるため、時刻を整合させれば、寝息音、いびき音、爆音をそれぞれカウントすることができる。 When both of the above conditions (i) and (ii) are satisfied, it is determined as a person's breathing sound (including sleep sound, snoring sound, explosion sound), counted as a breathing sound, and other than that The sound is determined not to be a breathing sound and is not counted. As a result, breathing sounds (including sleep sound, snoring sound, and explosion sound) per predetermined time are counted. With this index, sleep sounds, snore sounds, and explosion sounds are counted together. However, because the indices shown in Table 1 identify sleep sounds, snore sounds, and explosion sounds, if the time is matched, sleep sounds, snore sounds, Sounds and explosion sounds can be counted.
図7〜図10は、非接触式の睡眠情報検出装置2が搭載するマイコンが実行するメインルーチンのフローチャートを示す。スイッチ投入によりフローチャートの処理が実行される。まず、初期設定(ステップS2)、音声データ取り込み処理(ステップS4)、睡眠中呼吸音識別処理(ステップS6)、呼吸音カウント処理(ステップS8)、その他の処理(ステップS10)が順に行われる。1メインルーチンの処理時間を一定にするため、一定時間が経過するまで待機し(ステップS12)、一定時間が経過すれば、ステップS4に戻る。 FIGS. 7-10 shows the flowchart of the main routine which the microcomputer which the non-contact-type sleep
図8は、睡眠中呼吸音判定部22が実行する音声データ取り込み処理のフローチャートを示す。音声データ取り込み処理は、呼吸音検知部としての収音マイク20から人の呼吸音に関する物理量を取り込む呼吸音物理量取り込み部として機能することができる。まず、初回か否か判定し(ステップS202)、初回であれば、寝室内の暗騒音を収音マイク20から取り込む(ステップS204)。この場合、一般的には、人がベッド装置1に入った直後であり、人は睡眠に導入されていないため、室内において聞こえる音としては暗騒音とみなされる。暗騒音としては、寝室に設置されているエアコンの音等が考えられる。そして、暗騒音の周波数解析(ステップS206)を行い、暗騒音をメモリに登録する(ステップS208)。次に、音声データをサンプリングして取り込む(ステップS210)。次に上記した音声データについて周波数解析を行う(ステップS212)。上記した音声データの取り込み(ステップS210)、周波数解析(ステップS212)を複数回行う(ステップS214)。次に複数回のデータを平均化する(ステップS216)。次に、音声データから暗騒音を差し引いて(ステップS218)、メインルーチンにリターンする。これにより暗騒音によるノイズが低減又は回避され、呼吸音の識別精度が高くなる。 FIG. 8 shows a flowchart of the voice data capturing process executed by the sleep breathing
図9は、睡眠中呼吸音判定部22が実行する睡眠中呼吸音識別処理のフローチャートを示す。まず、周波数情報を周波数領域毎の複数の周波数ブロック(8周波数ブロック)に分け、複数の周波数ブロックごとに音声の強さに関する物理量(電圧値)の最大値を各周波数ブロックの代表値として抽出する(ステップS602)。そして最初に判定する周波数ブロックにおける最大値と、表1に示す寝息音の基準値とを比較する(ステップS604)。寝息音と判定されなければ、寝息音フラグを0にする(ステップS606)。寝息音フラグが0であることは、寝息音、いびき音、爆音のいずれとも判定されていないことを意味する。 FIG. 9 shows a flowchart of the sleep respiratory sound identification process executed by the sleep respiratory
ステップS604において寝息音と判定されれば、その最大値といびき音の基準値とを比較する(ステップS608)。ステップS608において、いびき音と判定されなければ、寝息音と判定し,寝息音フラグを1にする(ステップS610,S612)。ここで、寝息音フラグが1であることは、寝息音と判定されたことを意味する。ステップS608においていびき音と判定されれば、更に、その最大値と、表1に示す爆音の基準値とを比較する(ステップS614)。爆音と判定されなければ、いびき音と判定され,いびき音フラグを1にする(ステップS616,S618)。ここで、いびき音フラグが1であることは、いびき音と判定されたことを意味する。ステップS614においてYESであると判定されれば、爆音と判定し,爆音フラグを1にする(ステップS620,S622)。ここで爆音フラグが1であることは、爆音と判定されたことを意味する。 If it is determined in step S604 that the sound is a sleep sound, the maximum value is compared with the reference value of the snoring sound (step S608). If it is not determined as a snoring sound in step S608, it is determined as a sleep sound and the sleep sound flag is set to 1 (steps S610 and S612). Here, that the sleep sound flag is 1 means that the sound is determined to be a sleep sound. If it is determined in step S608 that the sound is a snoring sound, the maximum value is compared with the reference value of the explosion sound shown in Table 1 (step S614). If it is not determined as an explosion sound, it is determined as a snoring sound, and the snoring sound flag is set to 1 (steps S616 and S618). Here, that the snoring sound flag is 1 means that it is determined to be a snoring sound. If it is determined as YES in step S614, it is determined as an explosion sound, and the explosion sound flag is set to 1 (steps S620 and S622). Here, the explosion sound flag being 1 means that the explosion sound is determined.
そして、その周波数領域の周波数ブロックのそれぞれにおいて寝息音、いびき音、爆音のいずれであるかの判定を行う(ステップS630)。更に全部の周波数ブロックを終了しているかどうか判定し(ステップS632)、全部の周波数ブロックを終了していなければ、次の周波数ブロックに進む処理を行ない(ステップS634)、ステップS604に戻る。 Then, it is determined whether each of the frequency blocks in the frequency domain is a sleep sound, a snoring sound, or an explosive sound (step S630). Further, it is determined whether or not all the frequency blocks have been completed (step S632). If all the frequency blocks have not been completed, a process of proceeding to the next frequency block is performed (step S634), and the process returns to step S604.
以下、同様に、全部の周波数ブロックについて、寝息音、いびき音、爆音のいずれであるかの判定を行う。そして全部の周波数ブロックについて処理が終了していれば、この時点における呼吸音が寝息音、いびき音、爆音のいずれであるかの識別を総括的に行ない(ステップS636)、メインルーチンに戻る。この場合、ステップS630,636において、音の振幅が大きな方が優先させる。即ち、寝息音、いびき音、爆音のフラグがそれぞれ1であるときには、いびき音よりも音の振幅が大きな爆音であると判定される。寝息音、いびき音のフラグがそれぞれ1であるときには、寝息音よりも音の振幅が大きないびき音である判定される。 Hereinafter, similarly, it is determined whether all frequency blocks are sleep sound, snore sound, or explosive sound. If the processing has been completed for all frequency blocks, it is comprehensively identified whether the breathing sound at this time point is a sleep sound, a snoring sound, or an explosive sound (step S636), and the process returns to the main routine. In this case, in steps S630 and 636, priority is given to the one with larger sound amplitude. That is, when the sleep sound, snoring sound, and explosion sound flags are each 1, it is determined that the sound amplitude is larger than that of the snoring sound. When the sleeping sound and snoring sound flags are 1, respectively, it is determined that the sound has a larger amplitude than that of the sleeping sound.
図10は、呼吸音カウント部44に相当する呼吸数カウント処理のフローチャートを示す。図10に示すように、複数(8個)のうち所定の周波数ブロックにおける最大値と、呼吸数カウント処理用のしきい値として機能する第2基準値とを比較する(ステップS802)。YESであれば、音声フラグを1に設定する(ステップS804)。NOであれば、呼吸音発生フラグとして機能する音声フラグを0に設定する(ステップS806)。音声フラグが1であるとは、寝息、いびき、爆音の音声が発生していることを意味する。音声フラグが0であるとは、音声が終了していることを意味する。 FIG. 10 shows a flowchart of the respiratory rate counting process corresponding to the respiratory
次に、音声フラグが0から1となり、更に1から0に戻る時間、即ち、音声の発生から終了までの時間TAが第1設定時間T1以内であるか否か判定する(ステップS808)。第1設定時間T1を越えていれば、呼吸音として長すぎるので、呼吸数をノーカウントとする(ステップS810)。時間TAが第1設定時間T1以内であれば、音声フラグが0から1となる周期、つまり、音声の発生時刻から次の音声の発生時刻までの間隔時間TBが第2設定時間T2以上であるか否か判定する(ステップS814)。第2設定時間T2未満であれば、間隔時間TBが短過ぎるので、呼吸数をノーカウントとする(ステップS810)。間隔時間TBが第2設定時間T2以上であれば、呼吸と判別できるため、呼吸数としてカウントとする(ステップS816)。そして一定時間が経過するまで継続する(ステップS812)。このようにして一定時間当たりの呼吸音(寝息音、いびき音、爆音を含む)がカウントされる。一定時間経過すれば、メインルーチンに戻る。 Next, it is determined whether or not the time when the sound flag is changed from 0 to 1 and the time when the sound flag returns from 1 to 0, that is, the time TA from the generation of the sound to the end is within the first set time T1 (step S808). If the first set time T1 is exceeded, the breathing sound is too long, so the respiration rate is set to no count (step S810). If the time TA is within the first set time T1, the period when the sound flag is changed from 0 to 1, that is, the interval time TB from the sound generation time to the next sound generation time is equal to or longer than the second set time T2. Whether or not (step S814). If it is less than the second set time T2, the interval time TB is too short, so the respiration rate is set to no count (step S810). If the interval time TB is equal to or greater than the second set time T2, it can be determined that the breath is respiration, and therefore, the respiration rate is counted (step S816). The process continues until a certain time elapses (step S812). In this way, breathing sounds per unit time (including sleep sound, snoring sound, and explosion sound) are counted. When a certain time has elapsed, the process returns to the main routine.
以上説明したように本実施例によれば、睡眠中呼吸音判定部22は、収音マイク20を利用して取り込んだ呼吸音に関する物理量を周波数に基づいて分割した複数の周波数ブロック毎に物理量の最大値を検出し、複数の周波数ブロックにおける最大値と、表1に示す基準値(判定値)とを比較し、比較に基づいて、睡眠中の人の呼吸音を寝息音、いびき音、爆音として識別することができ、睡眠情報を提供することができる。 As described above, according to the present embodiment, the sleep respiratory
本実施例によれば、各周波数ブロック31〜38における判定値は、各周波数ブロックにおける多数の物理量(電圧値)を代表するものである。従って、サンプリングデータの数を大幅に減少させることができ、睡眠中呼吸音判定部22の負担を低減させることができる。 According to the present embodiment, the determination value in each
更に本実施例によれば、睡眠している人の呼吸に関する音を、人から離間した状態で収音マイク20により収音する。そして、睡眠中呼吸音判定部22は、収音マイク20で収音された呼吸音に関する物理量(電圧値)を分析し、呼吸音に関する物理量に基づいて睡眠中の呼吸音を識別し、一定時間当たりの呼吸音(寝息音、いびき音、爆音)をカウントすることができる。このため、睡眠する人の身体に接触式センサを直接取り付けずともよく、使用勝手が良い。従って、ベッド装置1のように寝室に設置されるものに容易に組み込むことができる。 Furthermore, according to the present embodiment, a sound related to breathing of a sleeping person is collected by the
なお本実施例によれば、暗騒音は睡眠導入前または睡眠導入直後に1回取り込むことにしているが、一定時間(例えば1時間ごと)で取り込むことにしても良い。この場合、寝室に設置されているエアコン等の機器が、人の睡眠中において、相対的に強いモードから相対的に弱いモードに時間経過に伴い変更されたときに対処することができる。但し、呼吸音が小さなときに行うことが好ましい。 In addition, according to a present Example, although background noise is taken in once before sleep introduction or immediately after sleep introduction, you may decide to take in in fixed time (for example, every hour). In this case, it is possible to cope with a case where a device such as an air conditioner installed in the bedroom is changed over time from a relatively strong mode to a relatively weak mode during human sleep. However, it is preferably performed when the breathing sound is low.
図11〜図20は実施例2を示す。本実施例は実施例1と基本的には同様の構成、作用効果を有する。図11は本実施例に係る非接触式の睡眠情報検出装置2Bのアルゴリズムを示す。睡眠情報検出装置2Bのアルゴリズムは、実施例1に係る非接触式の睡眠情報検出装置2のアルゴリズムと基本的には同様の構成であり、同様の作用効果効果を有する。但し、ローパスフィルタ機能を有するフィルタ部61、基準値更新部62、無呼吸判定部63、検査ブロック設定部64が設けられている点が主として異なる。 11 to 20 show a second embodiment. The present embodiment basically has the same configuration and operational effects as the first embodiment. FIG. 11 shows an algorithm of the non-contact type sleep
最大値検出手段30は、0〜5000Hzの周波数領域を複数個(M個)の周波数ブロックに分割した最大値検出部(周波数ブロックに相当する)31〜38を備えている。即ち、最大値検出部31は、0[Hz]〜(5000)/M[Hz]の周波数領域、即ち、0〜625[Hz]の周波数域における物理量(電圧値)の最大値を検出する。最大値検出部32は、(5000)/M[Hz]〜(5000)*2/M[Hz]の周波数領域、即ち、625越え〜1250[Hz]における物理量(電圧値)の最大値を検出する。最大値検出部33は、(5000)*2/M[Hz]〜(5000)*3/M[Hz]の周波数領域、即ち、1250越え〜1875[Hz]における物理量(電圧値)の最大値を検出する。また最大値検出部38は、(5000)*(M−1)/M[Hz]〜(5000)の周波数領域、即ち、4375越え〜5000[Hz]における物理量(電圧値)の最大値を検出する。 The maximum value detection means 30 includes maximum value detection units (corresponding to frequency blocks) 31 to 38 that divide a frequency region of 0 to 5000 Hz into a plurality (M) of frequency blocks. That is, the maximum
前記したフィルタ部61は次の機能を果たす。即ち、各周波数ブロック31〜38の最大値(判定値)を検出した後に、各周波数ブロック31〜38の最大値をそれぞれフィルタ部61に通過させ、寝息音以外の音に関するノイズを低減する。即ち、複数の周波数ブロック31〜38において検出した各物理量を、ローパスフィルタ機能を有するフィルタ部61(例えば、周波数1Hz以下を通過させる)に通す。これによりノイズを除去し、周期的な安定した寝息音の物理量のみを抽出する。 The
寝息音の睡眠音は、個人差により周波数情報及び振幅等が異なることが多い。このため判別基準としては個人差が大きい。ここで、判定基準として、万人に通用するような緩やかな基準を採用することも考えられるが、この場合、ノイズであるにも拘わらず、睡眠情報データとして誤検出してしまうおそれがある。そこで、基準値更新部62は、フィルタ部61により選別した特定の周波数(例えば1Hz)以下の抽出されたデータの平均値を求め、この平均値を、表1に示す寝息音基準値としてメモリに更新する。このように更新すれば、画一的に設定した寝息音基準値でなく、各使用者の睡眠音特性に応じた寝息音基準値を設けることができ、各使用者に適合する睡眠情報の検出精度を向上させることができる。 The sleep sound of the sleep sound often has different frequency information and amplitude depending on individual differences. For this reason, individual differences are large as discrimination criteria. Here, it is conceivable to adopt a gradual standard that is accepted by everyone as a determination standard, but in this case, it may be erroneously detected as sleep information data in spite of noise. Therefore, the reference
更に、睡眠情報の特徴は、特定(例えば2kHz)以上の周波数で発現され易い。そこで本実施例によれば、検査ブロック設定部64は、特定(例えば2kHz)以上の周波数ブロックのうち、平均値が最大となる周波数ブロックを選定し、これをノイズ選別用の検査ブロックとして設定する。 Furthermore, the feature of sleep information is likely to be expressed at a specific or higher frequency (for example, 2 kHz). Therefore, according to the present embodiment, the inspection
また、無呼吸症候群では、呼吸がしばらく停止し、爆音を伴って呼吸が再開するという症状、あるいは、単位時間当たりのいびき音の回数が多いという症状がある。無呼吸判定部63は爆音が検出されたときにおいて無呼吸状態を判別するものである。 In addition, in apnea syndrome, there is a symptom that breathing stops for a while and breathing resumes with an explosion sound, or a symptom that the number of snoring sounds per unit time is large. The
図12〜図20は、実施例2に係る非接触式の睡眠情報検出装置2Bが搭載するマイコンが実行するメインルーチンのフローチャートを示す。スイッチ投入によりフローチャートの処理が実行される。まず、初期設定(ステップSA2)、音声データ取り込み処理(ステップSA4)、睡眠中呼吸音識別処理(ステップSA6)、呼吸数カウント処理(ステップSA8)、無呼吸判定処理(ステップSA10)、寝息音判定基準値更新処理(ステップSA12)が順に行われる。1メインルーチンの処理時間を一定にするため、一定時間が経過するまで待機し(ステップSA14)、一定時間が経過すれば、ステップSA4に戻る。 FIGS. 12-20 shows the flowchart of the main routine which the microcomputer mounted in the non-contact-type sleep
図13は、睡眠中呼吸音判定部22が実行する音声データ取り込み処理のフローチャートを示す。音声データ取り込み処理は、呼吸音検知部として機能する収音マイク20から人の呼吸音に関する物理量を取り込む呼吸音物理量取り込み部として機能することができる。まず、初回か否か判定し(ステップSA202)、初回であれば、寝室内の暗騒音として寝室音を収音マイク20から取り込む(ステップSA204)。この場合、一般的には、人がベッド装置1に入った直後であり、人は睡眠に導入されていないため、室内において聞こえる音としては暗騒音とみなされる。暗騒音としては、寝室に設置されているエアコンの音等が考えられる。そして、暗騒音の周波数解析(ステップSA206)を行い、暗騒音として寝室音をメモリに登録する(ステップSA208)。 FIG. 13 shows a flowchart of an audio data capturing process executed by the sleep breathing
次に、特定の周波数(例えば10kHz)で音声データをサンプリングして取り込む(ステップSA210)。この場合、サンプリング数は多数個(例えば64個)である。次に取り込んだ音声データについて周波数解析を行う(ステップSA212)。上記した音声データの取り込み(ステップSA210)、周波数解析(ステップSA212)を複数回行う(ステップSA214)。次に複数回のデータを平均化する(ステップSA216)。次に、音声データから暗騒音を差し引いて(ステップSA218)、メインルーチンにリターンする。これにより寝室内の暗騒音として寝室音(呼吸音以外の音)によるノイズが低減又は回避され、呼吸音の識別精度が高くなる。 Next, audio data is sampled and captured at a specific frequency (for example, 10 kHz) (step SA210). In this case, the number of sampling is a large number (for example, 64). Next, frequency analysis is performed on the acquired audio data (step SA212). The above-described audio data capturing (step SA210) and frequency analysis (step SA212) are performed a plurality of times (step SA214). Next, the data of a plurality of times are averaged (step SA216). Next, background noise is subtracted from the audio data (step SA218), and the process returns to the main routine. Thereby, noise due to bedroom sound (sound other than breathing sound) is reduced or avoided as background noise in the bedroom, and the identification accuracy of breathing sound is increased.
図14及び図15は、睡眠中呼吸音判定部22が実行する睡眠中における呼吸音識別処理のフローチャートを示す。ここで、寝息音フラグが1であるとき、その周波数ブロックにおいて寝息音と判定されることを意味する。いびき音フラグが1であるとき、その周波数ブロックにおいていびき音と判定されることを意味する。爆音フラグが1であるとき、その周波数ブロックにおいて爆音と判定されることを意味する。また、寝息音発生フラグが1であるとき、全部の周波数ブロックを考慮して、寝息音と判定されることを意味する。いびき音フラグが1であるとき、全部の周波数ブロックを考慮して、いびき音と判定されることを意味する。爆音フラグが1であるとき、全部の周波数ブロックを考慮して、爆音と判定されることを意味する。 14 and 15 show a flowchart of the respiratory sound identification process during sleep executed by the sleep respiratory
まず図14に示すように、全部の周波数情報を複数(M個,M=8)の周波数ブロックに分ける(ステップSA302)。従って、ステップSA302は、全部の周波数情報を周波数領域毎の複数の周波数ブロック(最大値検出部に相当)に分ける分割手段として機能することができる。次に、分割した複数個の周波数ブロックのうち最初の周波数ブロックを指定する(ステップSA304)。指定された周波数ブロックにおいて、音声データの強さに関する物理量(電圧値)のピーク値としての最大値(判定値)を抽出する(ステップSA306)。そして、その指定された周波数ブロックにおける物理量の最大値が、表1に示す寝息音基準値よりも大きいかを判定する(ステップSA308)。指定された周波数ブロックにおける最大値が寝息音基準値よりも小さければ(NO)、指定された周波数ブロックについて、寝息音フラグを0に、いびき音フラグを0に、爆音フラグを0に設定する(ステップSA310)。指定された周波数ブロックにおける最大値が寝息音基準値よりも大きければ(YES)、寝息音として判別し、指定された周波数ブロックの寝息音フラグを1に設定する(ステップSA312)。次に、その指定された周波数ブロックにおける最大値が、表1に示すいびき音基準値よりも大きいかを判定する(ステップSA314)。その指定された周波数ブロックにおける最大値が寝息音基準値よりも小さければ(NO)、いびき音及び爆音とは判定せず、指定された周波数ブロックについて、いびき音フラグを0に、爆音フラグを0に設定する(ステップSA316)。ステップSA314において最大値がいびき音基準値よりも大きければ(YES)、いびき音と判別し、指定された周波数ブロックのいびき音フラグを1に設定する(ステップSA318)。次に、その指定された周波数ブロックにおける最大値が、表1に示す爆音基準値よりも大きいかを判定する(ステップSA320)。指定された周波数ブロックにおける最大値が爆音基準値よりも小さければ(NO)、指定された周波数ブロックについて、爆音とは判定せず、爆音フラグを0に設定する(ステップSA322)。ステップSA320において最大値が爆音基準値よりも大きければ(YES)、爆音と判定し、指定された周波数ブロックの爆音フラグを1に設定する(ステップSA324)。 First, as shown in FIG. 14, all frequency information is divided into a plurality of (M, M = 8) frequency blocks (step SA302). Therefore, step SA302 can function as a dividing unit that divides all frequency information into a plurality of frequency blocks (corresponding to a maximum value detection unit) for each frequency domain. Next, the first frequency block among the divided frequency blocks is designated (step SA304). In the designated frequency block, the maximum value (determination value) as the peak value of the physical quantity (voltage value) relating to the strength of the audio data is extracted (step SA306). Then, it is determined whether the maximum value of the physical quantity in the designated frequency block is larger than the sleep sound reference value shown in Table 1 (step SA308). If the maximum value in the designated frequency block is smaller than the sleep sound reference value (NO), the sleep sound flag is set to 0, the snoring sound flag is set to 0, and the explosion sound flag is set to 0 for the designated frequency block ( Step SA310). If the maximum value in the designated frequency block is larger than the sleep sound reference value (YES), it is determined as a sleep sound, and the sleep sound flag of the designated frequency block is set to 1 (step SA312). Next, it is determined whether the maximum value in the designated frequency block is larger than the snoring sound reference value shown in Table 1 (step SA314). If the maximum value in the designated frequency block is smaller than the sleep sound reference value (NO), the snore sound and the explosion sound are not determined, and the snoring sound flag is set to 0 and the explosion sound flag is set to 0 for the designated frequency block. (Step SA316). If the maximum value is larger than the snoring sound reference value in step SA314 (YES), it is determined as a snoring sound, and the snoring sound flag of the designated frequency block is set to 1 (step SA318). Next, it is determined whether the maximum value in the designated frequency block is larger than the explosion sound reference value shown in Table 1 (step SA320). If the maximum value in the designated frequency block is smaller than the explosion sound reference value (NO), the designated frequency block is not determined to be a explosion sound, and the explosion sound flag is set to 0 (step SA322). If the maximum value is larger than the explosion sound reference value in step SA320 (YES), it is determined as a explosion sound, and the explosion sound flag of the designated frequency block is set to 1 (step SA324).
図14において、ステップSA312,SA316は、その周波数ブロックにおいて、睡眠情報を寝息音として判別する寝息判別手段として機能することができる。ステップSA318,SA322は、その周波数ブロックにおいて、睡眠情報をいびき音として判別するいびき判別手段として機能することができる。ステップSA324は、その周波数ブロックにおいて、睡眠情報を爆音として判別する爆音判別手段として機能することができる。 In FIG. 14, steps SA312 and SA316 can function as a sleep determination unit that determines sleep information as a sleep sound in the frequency block. Steps SA318 and SA322 can function as snoring discrimination means for discriminating sleep information as a snoring sound in the frequency block. Step SA324 can function as an explosive sound discrimination means for discriminating sleep information as an explosive sound in the frequency block.
更に、図15に示すように、周波数ブロックが最終か判定する(ステップSA328)。NOであれば、次の周波数ブロックを指定し(ステップSA330)、ステップSA306に進む。ステップSA328の判別の結果、周波数ブロックが最終であれば(YES)、全部の周波数ブロックの中で、最大値をもつ最大ブロックを抽出する(ステップSA332)。次に、全部の周波数ブロックの寝息音フラグが1であること、最大ブロックが検査ブロックであることの2つの条件が満足されるか判定する(ステップSA334)。2つの条件が満足されなければ(NO)、その睡眠情報がノイズを含む可能性があると推定し、検出精度を確保すべく、寝息音、いびき音、爆音を識別しない。即ち、寝息音発生フラグを0に、いびき音発生フラグを0に、爆音発生フラグを0に設定する(ステップSA336)。従って、ステップSA334,SA336は、寝息音としての判別がノイズを含む可能性があるとき、寝息音、いびき音、爆音の判別を中止する判別中止手段として機能することができる。 Further, as shown in FIG. 15, it is determined whether the frequency block is final (step SA328). If NO, the next frequency block is designated (step SA330), and the process proceeds to step SA306. If the result of determination in step SA328 is that the frequency block is final (YES), the maximum block having the maximum value is extracted from all frequency blocks (step SA332). Next, it is determined whether the two conditions that the sleep sound flag of all the frequency blocks is 1 and that the maximum block is a test block are satisfied (step SA334). If the two conditions are not satisfied (NO), it is estimated that the sleep information may include noise, and sleep sound, snoring sound, and explosion sound are not identified in order to ensure detection accuracy. That is, the sleep sound generation flag is set to 0, the snoring sound generation flag is set to 0, and the explosion sound generation flag is set to 0 (step SA336). Therefore, Steps SA334 and SA336 can function as a determination stop unit that stops the determination of the sleep sound, snoring sound, and explosion sound when the determination as the sleep sound may include noise.
ステップSA334において、2つの条件が満足されていれば(YES)、寝息音発生フラグを1に設定する(ステップSA338)。従って、ステップSA334,SA338は、睡眠情報を寝息音として判別する寝息判別手段として機能することができる。更に、全部の周波数ブロックのいびき音フラグが1であること、最大ブロックが検査ブロックであることの2つの条件が満足されるか判定する(ステップSA340)。2つの条件が満足されなければ(NO)、その睡眠情報がノイズを含む可能性があると推定し、検出精度を確保すべく、いびき音、爆音を識別しない。即ち、寝息音発生フラグを1に設定しているものの、いびき音発生フラグを0に、爆音発生フラグを0に設定する(ステップSA342)。従って、ステップSA340,SA342は、いびき音としての判別がノイズを含む可能性があるとき、いびき音としての判別を中止するいびき判別中止手段として機能することができる。 In step SA334, if two conditions are satisfied (YES), the sleep sound generation flag is set to 1 (step SA338). Accordingly, steps SA334 and SA338 can function as a sleep determination unit that determines sleep information as a sleep sound. Further, it is determined whether the two conditions that the snoring sound flag of all the frequency blocks is 1 and that the maximum block is the inspection block are satisfied (step SA340). If the two conditions are not satisfied (NO), it is estimated that the sleep information may include noise, and the snoring sound and the explosion sound are not identified in order to ensure the detection accuracy. That is, although the sleep sound generation flag is set to 1, the snoring sound generation flag is set to 0, and the explosion sound generation flag is set to 0 (step SA342). Therefore, steps SA340 and SA342 can function as snoring determination stopping means for stopping the determination as the snoring sound when the determination as the snoring sound may include noise.
更に、ステップSA340における判定の結果、2つの条件が満足されていれば(YES)、いびき音が発生していると判別し、いびき音発生フラグを1に設定する(ステップSA344)。従って、ステップSA340、SA344は、睡眠情報をいびき音として判別するいびき判別手段として機能することができる。更に、全部の周波数ブロックの爆音フラグが1であること、最大ブロックが検査ブロックであることの2つの条件が満足されるか判定する(ステップSA346)。条件が満足されなければ(NO)、その睡眠情報がノイズを含む可能性があると推定し、爆音発生フラグを0に設定する(ステップSA348)。従って、ステップSA346,SA348は、爆音としての判別がノイズを含む可能性があるとき、爆音としての判別を中止する爆音判別中止手段として機能することができる。 Furthermore, if the result of determination in step SA340 is that two conditions are satisfied (YES), it is determined that a snoring sound has occurred, and a snoring sound generation flag is set to 1 (step SA344). Therefore, steps SA340 and SA344 can function as snoring discrimination means for discriminating sleep information as a snoring sound. Further, it is determined whether the two conditions that the explosion flag of all frequency blocks is 1 and that the maximum block is an inspection block are satisfied (step SA346). If the condition is not satisfied (NO), it is estimated that the sleep information may include noise, and the explosion sound generation flag is set to 0 (step SA348). Therefore, Steps SA346 and SA348 can function as an explosion detection stop unit that stops the determination as an explosion when there is a possibility that the determination as an explosion includes noise.
ステップSA346において、2つの条件が満足されていれば(YES)、爆音が発生していると判別し、爆音発生フラグを1に設定する(ステップSA350)。従って、ステップSA346,SA350は、睡眠情報を爆音として判別する爆音判別手段として機能することができる。上記したようにステップSA334,SA336,ステップSA340,SA342、ステップSA346,SA348は、寝息音、いびき音、爆音等の睡眠音の判別がノイズを含む可能性があるとき、睡眠音としての判別を中止する睡眠音判別中止手段として機能することができる。 In step SA346, if two conditions are satisfied (YES), it is determined that an explosion sound is generated, and the explosion sound generation flag is set to 1 (step SA350). Therefore, Steps SA346 and SA350 can function as explosion sound determination means for determining sleep information as an explosion sound. As described above, steps SA334, SA336, SA340, SA342, and steps SA346, SA348 cancel the determination as a sleep sound when the sleep sound, such as a sleep sound, a snoring sound, and an explosion sound, may contain noise. It can function as a sleep sound discrimination stop means.
本実施例によれば、ステップSA334においては、全部の周波数ブロックの寝息音フラグが1であることを判定するが、全部の周波数ブロックのうちの所定数(例えば過半数)の周波数ブロックについて寝息音フラグが1であることにしても良い。またステップSA340においては、全部の周波数ブロックのいびき音フラグが1であることを判定するが、全部の周波数ブロックのうちの所定数(例えば過半数)の周波数ブロックについていびき音フラグが1であることにしても良い。またステップSA346においては、全部の周波数ブロックの爆音フラグが1であることを判定するが、全部の周波数ブロックのうちの所定数(例えば過半数)の周波数ブロックについて爆音フラグが1であることにしても良い。 According to the present embodiment, in step SA334, it is determined that the sleep sound flag of all the frequency blocks is 1, but the sleep sound flag is set for a predetermined number (for example, a majority) of the frequency blocks of all the frequency blocks. May be 1. In step SA340, it is determined that the snoring sound flags of all the frequency blocks are 1, but the snoring sound flag is 1 for a predetermined number (for example, a majority) of all the frequency blocks. May be. In step SA346, it is determined that the explosion sound flags of all the frequency blocks are 1. However, the explosion sound flag is 1 for a predetermined number (for example, a majority) of all frequency blocks. good.
図15から理解できるように、爆音発生フラグが1のときには、爆音よりも音が小さい寝息音及びいびき音を判別する寝息音発生フラグ及びいびき音発生フラグがそれぞれ1となる。従って、寝息音発生フラグ、いびき音発生フラグ、爆音発生フラグがそれぞれ1であるときには、寝息音及びいびき音よりも音の振幅が大きな爆音であると判定される。また、いびき音発生フラグが1のときには、いびき音よりも音が小さな寝息音を判別する寝息音発生フラグが1となる。従って、寝息音発生フラグ、いびき音発生フラグがそれぞれ1であり、爆音発生フラグが0のときには、寝息音よりも音の振幅が大きないびき音であると判定される。寝息音発生フラグが1であり、いびき音発生フラグ及び爆音発生フラグがそれぞれ0のときには、寝息音である判定される。 As can be understood from FIG. 15, when the explosion sound generation flag is 1, the sleep sound generation flag and the snoring sound generation flag for determining the sleep sound and the snoring sound that are lower than the explosion sound are respectively 1. Therefore, when the sleep sound generation flag, the snoring sound generation flag, and the explosion sound generation flag are 1, respectively, it is determined that the sound has a larger amplitude than the sleep sound and the snoring sound. When the snoring sound generation flag is 1, the sleep sound generation flag for determining the sleep sound whose sound is smaller than the snoring sound is 1. Therefore, when the sleep sound generation flag and the snoring sound generation flag are 1 and the explosion sound generation flag is 0, it is determined that the sound has an amplitude greater than that of the sleep sound. When the sleep sound generation flag is 1 and the snoring sound generation flag and the explosion sound generation flag are 0, it is determined that the sound is a sleep sound.
図16は、呼吸音カウント部44に相当する呼吸数カウント処理のフローチャートを示す。図16に示すように、寝息音を呼吸音として設定すると(ステップSA402)、寝息音発生フラグは呼吸音発生フラグとして設定され、時間判定処理が行なわれる(ステップSA404)。次に、いびき音を呼吸音として設定すると(ステップSA406)、いびき音発生フラグは呼吸音発生フラグとして設定され、時間判定処理が行なわれる(ステップSA408)。次に、爆音を呼吸音として設定すると(ステップSA410)、爆音発生フラグは呼吸音発生フラグとして設定され、時間判定処理が行なわれる(ステップSA412)。 FIG. 16 shows a flowchart of the respiratory rate counting process corresponding to the respiratory
図17は前記した時間判定処理を示す。まず、図17に示すように、呼吸が開始されたかを判定すべく、呼吸音発生フラグが0から1に変化したかを判定する(ステップSA502)。YESであれば、呼吸が開始されているので、時間TB(図6参照)を計測する(ステップSA504)。ステップSA502における判定の結果、NOであれば、呼吸が開始されていない。次に、呼吸音発生フラグが1から0に変化したか判定する(ステップSA506)。つまり、開始された呼吸が終了したか判定する。YESであれば、時間TA(図6参照)を計測する(ステップSA508)。 FIG. 17 shows the time determination process described above. First, as shown in FIG. 17, in order to determine whether or not breathing has started, it is determined whether or not the breathing sound generation flag has changed from 0 to 1 (step SA502). If YES, since breathing has started, time TB (see FIG. 6) is measured (step SA504). If the result of determination in step SA502 is NO, breathing has not started. Next, it is determined whether the breathing sound generation flag has changed from 1 to 0 (step SA506). That is, it is determined whether the started breathing is finished. If YES, the time TA (see FIG. 6) is measured (step SA508).
そして、時間TAが第1設定時間T1(例えば2秒)よりも短いか判定する(ステップSA510)。NOであれば、時間TAは呼吸としては長すぎるので、呼吸数はカウントしない(ステップSA512)。ステップSA510における判定の結果、時間TAが第1設定時間T1(例えば2秒)よりも短かければ(YES)、呼吸として推定できる。更に、時間TBが第2設定時間T2(例えば2秒)よりも長いか判定する。時間TBが第2設定時間T2(例えば2秒)よりも短かければ(NO)、呼吸としては短かすぎるため、呼吸数はカウントしない(ステップSA512)。時間TBが第2設定時間T2(例えば2秒)よりも長ければ(YES)、呼吸として推定できるため、呼吸数をカウントする(ステップSA516)。 Then, it is determined whether the time TA is shorter than a first set time T1 (for example, 2 seconds) (step SA510). If NO, the time TA is too long for respiration, so the respiration rate is not counted (step SA512). As a result of the determination in step SA510, if the time TA is shorter than the first set time T1 (for example, 2 seconds) (YES), it can be estimated as respiration. Further, it is determined whether the time TB is longer than a second set time T2 (for example, 2 seconds). If the time TB is shorter than the second set time T2 (for example, 2 seconds) (NO), the respiration rate is not counted because the respiration is too short (step SA512). If the time TB is longer than the second set time T2 (for example, 2 seconds) (YES), since it can be estimated as respiration, the respiration rate is counted (step SA516).
図18及び図19は前記した無呼吸判定部63が行う無呼吸判定処理を示す。無呼吸は爆音を伴うことが多いため、図18に示すように、爆音がカウントされたかを判定する(ステップSA702)。爆音がカウントされていれば(YES)、時間TBが無呼吸設定時間T3(例えば10秒)よりも長いか判定する(ステップSA704)。長ければ、無呼吸としてカウントする(ステップSA706)。時間TBが無呼吸設定時間T3よりも短ければ、無呼吸としてカウントしない(ステップSA708)。この結果、図19に示すように、爆音発生フラグが0から1になり、爆音がカウントされたとき、寝息音発生フラグの発生間隔を示す時間TBが、無呼吸設定時間T3よりも長ければ、無呼吸としてカウントする。 18 and 19 show an apnea determination process performed by the
図20は寝息音基準値更新処理のフローチャートを示す。図20に示すように、寝息音発生フラグが0から1になり、寝息音(いびき音、爆音を含む)がカウントされたか否か判定する(ステップSA802)。次に、特定の周波数(2000Hz)を含む周波数ブロックを指定する(ステップSA804)。ここで、特定の周波数として2000Hzを選定したのは、2000Hzよりも大きな周波数領域において睡眠情報の特徴が発現し易いからである。次に、寝息音と判定された周期のデータを、1Hzのローパス機能を有するフィルタ部61に通し、周波数1Hzを越える周期をもつデータをノイズとし、通したデータ(1Hzよりも小さい周期のデータ)を登録する(ステップSA806)。次に、登録したデータ数がI(I=100個)を越えたか否か判定する(ステップSA808)。データ数が所定数(I)を越えていなければ(NO)、周波数ブロックが最終か判定し(ステップSA820)、最終でなければ、次の周波数ブロックに進む(ステップSA822)。ステップSA808における判定の結果、データ数がI個を越えていれば、データの平均値を求め、その平均値を、表1に示す寝息音基準値として更新し、メモリの所定のエリアに格納する(ステップSA810)。ステップSA810は、表1に示す寝息音基準値を更新する更新手段として機能することができる。次に、周波数ブロックが最終か判定し(ステップSA812)、最終でなければ、次の周波数ブロックに進む。最終であれば、2000〜5000Hzにわたる周波数ブロックの中で、平均値が最大の周波数ブロックを検査ブロックとして設定する(ステップSA814)。ステップSA814は、睡眠情報がノイズを含む可能性があるとき、寝息音、いびき音、爆音の判別を中止する判別パラメータとして機能する検査ブロックを設定する検査ブロック設定部として機能することができる。 FIG. 20 shows a flowchart of the sleep sound reference value update process. As shown in FIG. 20, it is determined whether or not the sleep sound generation flag is changed from 0 to 1 and sleep sound (including snoring sound and explosion sound) is counted (step SA802). Next, a frequency block including a specific frequency (2000 Hz) is designated (step SA804). Here, the reason why 2000 Hz is selected as the specific frequency is that the feature of sleep information is easily expressed in a frequency region larger than 2000 Hz. Next, the data of the cycle determined to be a sleep sound is passed through the
ここで、2000〜5000Hzにわたる周波数ブロックの中で、データの平均値が最大である周波数ブロックは、使用者によって相違することがある。そこで本実施例によれば、前述したように、平均値が最大の周波数ブロックを検査ブロックとして設定する。検査ブロックは、ノイズを判別する要素として機能できる。 Here, among the frequency blocks over 2000 to 5000 Hz, the frequency block having the maximum data average value may differ depending on the user. Therefore, according to the present embodiment, as described above, the frequency block having the maximum average value is set as the inspection block. The inspection block can function as an element for determining noise.
以上説明したように本実施例によれば、睡眠中呼吸音判定部22は、収音マイク20を利用して取り込んだ呼吸音に関する物理量を周波数に基づいて分割した複数の周波数ブロック31〜38毎に物理量の最大値を検出し、複数の周波数ブロック31〜38における最大値(判定値)と、表1に示す基準値とを比較し、比較に基づいて、睡眠中の人の呼吸音を寝息音、いびき音、爆音として識別することができ、睡眠情報を提供することができる。加えて、無呼吸判定部63は爆音が検出されたときにおいて無呼吸状態を判別し、無呼吸状態の有無及びその状況を第4表示部54により表示することができる。 As described above, according to the present embodiment, the sleep breathing
更に本実施例によれば、各周波数ブロック31〜38における最大値(判定値)は、各周波数ブロックにおける多数の物理量(電圧値)を代表するものである。従って、データの数を大幅に減少させることができ、睡眠中呼吸音判定部22の負担を低減させることができる。 Furthermore, according to the present embodiment, the maximum value (determination value) in each
本実施例によれば、ステップSA810は、使用者の睡眠情報に応じて、表1に示す寝息音基準値を更新しているが、これに限らず、使用者の睡眠情報に応じて、いびき音基準値、爆音基準値を更新することにしても良い。 According to the present embodiment, step SA810 updates the sleep sound reference value shown in Table 1 according to the user's sleep information, but is not limited to this, and snore according to the user's sleep information. The sound reference value and the explosion sound reference value may be updated.
(他の実施例)
図21は実施例3を示す。図22は実施例4を示す。図23は実施例5を示す。図24は実施例6を示す。実施例3〜6は実施例1または実施例2と基本的には同様の構成、作用効果を有する。以下、相違する部分を中心として説明する。(Other examples)
FIG. 21 shows a third embodiment. FIG. 22 shows a fourth embodiment. FIG. 23 shows a fifth embodiment. FIG. 24 shows a sixth embodiment. The third to sixth embodiments basically have the same configuration and effect as the first or second embodiment. Hereinafter, the description will focus on the different parts.
図21に示す実施例3では、収音マイク20はこれを保持するホルダ20aと共にベッド装置1のヘッドボード12に設けられている。収音マイク20は、これを保持するホルダ20aと共に枢支具20cにより軸線20e回りで揺動可能に保持されており、寝具に寝ている人の幅方向に沿って位置調整させることにより収音方向を調整可能である。この場合、睡眠中に寝癖等で寝具の片側による傾向がある人に対しても、収音マイク20の収音方向を調整できるため、人の寝癖に対応することができる。 In the third embodiment shown in FIG. 21, the
図22に示す実施例4は、寝室に設置される目覚まし時計200に適用したものであり、目覚まし時計200は、時刻表示部202を有する基体201と、基体201に組み込まれた非接触式の睡眠情報検出装置2B(睡眠情報検出システム)とを有する。図23に示す実施例5は照明灯装置300に適用したものであり、照明灯302を有する基体301と、基体301に組み込まれた非接触式の睡眠情報検出装置2C(睡眠情報検出システム)とを有する。図24に示す実施例6は寝室に設置される家具400に適用したものであり、家具400は、引き出し402を有する基体401と、基体401に組み込まれた非接触式の睡眠情報検出装置2D(睡眠情報検出システム)とを有する。 The fourth embodiment shown in FIG. 22 is applied to an
上記した各実施例によれば、実施例1と同様に、睡眠している人の呼吸に関する音を、人から離間した状態で収音マイク20により収音する。そして、睡眠中呼吸音判定部22は、収音マイク20で収音された呼吸音に関する物理量を分析し、呼吸音に関する物理量に基づいて睡眠中の呼吸音を識別する。このため、睡眠する人の身体に接触式センサを取り付けずともよく、使用勝手が良い。 According to each of the above-described embodiments, as in the first embodiment, sound related to breathing of a sleeping person is collected by the
なお上記した実施例1及び実施例2では、表1に示す周波数領域に基づいて複数の周波数ブロックに分けているが、周波数領域はこれに限定されるものではない。上記した実施例1及び実施例2では、収音マイク20はベッド装置1のヘッドボード12に設けられているが、これに限らず、ベッド装置1の他の部分に設けることにしても良い。上記した実施例1及び実施例2では、周波数領域を周波数に基づいて周波数ブロックに分けているが、これに限らず、それ以上の周波数ブロック数でも良いし、それ以下の周波数ブロック数でも良い。周波数ブロックを分ける基準となる周波数は上記した形態に限定されるものではない。 In the first and second embodiments described above, the frequency domain is divided into a plurality of frequency blocks based on the frequency domain shown in Table 1, but the frequency domain is not limited to this. In the first embodiment and the second embodiment described above, the
上記した実施例1及び実施例2では、睡眠中呼吸音判定部は、呼吸音に関する物理量から暗騒音を差し引いた物理量を分析し、睡眠中の呼吸音を寝息音、いびき音、爆音として識別することにしているが、暗騒音を無視できるときには、暗騒音を差し引くことを省いても良い。その他、本発明は上記し且つ図面に示した実施例のみに限定されるものではなく、要旨を逸脱しない範囲内で適宜変更して実施できるものである。 In Example 1 and Example 2 described above, the sleep respiratory sound determination unit analyzes a physical quantity obtained by subtracting background noise from the physical quantity related to the respiratory sound, and identifies the respiratory sound during sleep as sleep sound, snoring sound, and explosive sound. However, when the background noise can be ignored, the background noise may be omitted. In addition, the present invention is not limited to the embodiments described above and shown in the drawings, and can be implemented with appropriate modifications within a range not departing from the gist.
本発明は睡眠中の睡眠情報を検出する睡眠情報検出システムに適用でき、ベッド、目覚まし時計、照明灯装置、家具、リクライニングチェア、車両等の機器に組みこむことができる。 The present invention can be applied to a sleep information detection system that detects sleep information during sleep, and can be incorporated into devices such as a bed, an alarm clock, a lighting device, furniture, a reclining chair, and a vehicle.
1はベッド装置、10は寝具接触面、12はヘッドボード、2は睡眠情報検出装置、20は収音マイク(呼吸音検知部)、22は睡眠中呼吸音判定部、31〜38は最大値検出部(判定値検出部)、41は寝息判別手段、42はいびき判別手段、43は爆音判別手段、44は呼吸音カウント部、50は表示部、61はフィルタ部、62は基準値更新部、63は無呼吸判定部、64は検査ブロック設定部を示す。 DESCRIPTION OF
| Application Number | Priority Date | Filing Date | Title |
|---|---|---|---|
| JP2005093340AJP2006167427A (en) | 2004-11-22 | 2005-03-29 | Sleep information detection system |
| Application Number | Priority Date | Filing Date | Title |
|---|---|---|---|
| JP2004338069 | 2004-11-22 | ||
| JP2005093340AJP2006167427A (en) | 2004-11-22 | 2005-03-29 | Sleep information detection system |
| Publication Number | Publication Date |
|---|---|
| JP2006167427Atrue JP2006167427A (en) | 2006-06-29 |
| Application Number | Title | Priority Date | Filing Date |
|---|---|---|---|
| JP2005093340AWithdrawnJP2006167427A (en) | 2004-11-22 | 2005-03-29 | Sleep information detection system |
| Country | Link |
|---|---|
| JP (1) | JP2006167427A (en) |
| Publication number | Priority date | Publication date | Assignee | Title |
|---|---|---|---|---|
| JP2009219713A (en)* | 2008-03-17 | 2009-10-01 | Fujitsu Ltd | Program, device, and method for sleep apnea detection |
| WO2011115239A1 (en)* | 2010-03-18 | 2011-09-22 | Sharp Kabushiki Kaisha | Lightweight wheeze detection methods and systems |
| WO2011148766A1 (en)* | 2010-05-26 | 2011-12-01 | Sharp Kabushiki Kaisha | Method and system for reliable inspiration-to-expiration ratio extraction from acoustic physiological signal |
| KR101098938B1 (en)* | 2008-12-23 | 2011-12-28 | 한국전기연구원 | Apparatus and method for monitoring apnea |
| JP2013521834A (en)* | 2010-03-18 | 2013-06-13 | シャープ株式会社 | Method and apparatus for continuous respiratory monitoring using an adaptive window |
| EP2653108A1 (en) | 2012-04-19 | 2013-10-23 | Fujitsu Limited | Apnea determining program, apnea determining apparatus, and apnea determining method |
| EP2653107A1 (en) | 2012-04-19 | 2013-10-23 | Fujitsu Limited | Apnea determining program, apnea determining device, and apnea determining method |
| JP2014064675A (en)* | 2012-09-25 | 2014-04-17 | Yamaguchi Prefectural Industrial Technology Institute | Non-constraint apnea detection system, method therefor and program therefor |
| US9161719B2 (en) | 2011-11-24 | 2015-10-20 | Omron Healthcare Co., Ltd. | Sleep evaluation device |
| WO2015194833A1 (en)* | 2014-06-16 | 2015-12-23 | 고쇼이 | During-sleep breath sound analysis apparatus and method |
| KR20160053719A (en)* | 2014-11-05 | 2016-05-13 | 아주대학교산학협력단 | Method and apparatus for respiration rate detection using adaptive double threshold |
| JP2017148421A (en)* | 2016-02-26 | 2017-08-31 | パイオニア株式会社 | Biological sound analyzer, biological sound analysis method and computer program, and recording medium |
| JP2017170000A (en)* | 2016-03-25 | 2017-09-28 | パイオニア株式会社 | Body sound analysis apparatus, body sound analysis method, computer program, and recording medium |
| KR101912666B1 (en)* | 2017-02-20 | 2018-12-28 | 가천대학교 산학협력단 | Apparatus for analyzing sleeping state and method of analyzing for sleeping state |
| CN110123327A (en)* | 2019-05-15 | 2019-08-16 | 泉州极简机器人科技有限公司 | Breathe arrangement for detecting, mattress and breathing method for detecting |
| CN114576840A (en)* | 2021-11-25 | 2022-06-03 | 珠海格力电器股份有限公司 | Method, electronic device and medium for shutdown based on WIFI channel state detection |
| Publication number | Priority date | Publication date | Assignee | Title |
|---|---|---|---|---|
| JP2009219713A (en)* | 2008-03-17 | 2009-10-01 | Fujitsu Ltd | Program, device, and method for sleep apnea detection |
| KR101098938B1 (en)* | 2008-12-23 | 2011-12-28 | 한국전기연구원 | Apparatus and method for monitoring apnea |
| WO2011115239A1 (en)* | 2010-03-18 | 2011-09-22 | Sharp Kabushiki Kaisha | Lightweight wheeze detection methods and systems |
| CN102781318A (en)* | 2010-03-18 | 2012-11-14 | 夏普株式会社 | Lightweight wheeze detection methods and systems |
| JP2013521833A (en)* | 2010-03-18 | 2013-06-13 | シャープ株式会社 | Lightweight wheezing detection method and system |
| JP2013521834A (en)* | 2010-03-18 | 2013-06-13 | シャープ株式会社 | Method and apparatus for continuous respiratory monitoring using an adaptive window |
| US8506501B2 (en) | 2010-03-18 | 2013-08-13 | Sharp Laboratories Of America, Inc. | Lightweight wheeze detection methods and systems |
| WO2011148766A1 (en)* | 2010-05-26 | 2011-12-01 | Sharp Kabushiki Kaisha | Method and system for reliable inspiration-to-expiration ratio extraction from acoustic physiological signal |
| US9161719B2 (en) | 2011-11-24 | 2015-10-20 | Omron Healthcare Co., Ltd. | Sleep evaluation device |
| EP2653108A1 (en) | 2012-04-19 | 2013-10-23 | Fujitsu Limited | Apnea determining program, apnea determining apparatus, and apnea determining method |
| EP2653107A1 (en) | 2012-04-19 | 2013-10-23 | Fujitsu Limited | Apnea determining program, apnea determining device, and apnea determining method |
| JP2014064675A (en)* | 2012-09-25 | 2014-04-17 | Yamaguchi Prefectural Industrial Technology Institute | Non-constraint apnea detection system, method therefor and program therefor |
| WO2015194833A1 (en)* | 2014-06-16 | 2015-12-23 | 고쇼이 | During-sleep breath sound analysis apparatus and method |
| KR20160053719A (en)* | 2014-11-05 | 2016-05-13 | 아주대학교산학협력단 | Method and apparatus for respiration rate detection using adaptive double threshold |
| KR101627581B1 (en) | 2014-11-05 | 2016-06-07 | 아주대학교산학협력단 | Method and apparatus for respiration rate detection using adaptive double threshold |
| JP2017148421A (en)* | 2016-02-26 | 2017-08-31 | パイオニア株式会社 | Biological sound analyzer, biological sound analysis method and computer program, and recording medium |
| JP2017170000A (en)* | 2016-03-25 | 2017-09-28 | パイオニア株式会社 | Body sound analysis apparatus, body sound analysis method, computer program, and recording medium |
| KR101912666B1 (en)* | 2017-02-20 | 2018-12-28 | 가천대학교 산학협력단 | Apparatus for analyzing sleeping state and method of analyzing for sleeping state |
| CN110123327A (en)* | 2019-05-15 | 2019-08-16 | 泉州极简机器人科技有限公司 | Breathe arrangement for detecting, mattress and breathing method for detecting |
| CN114576840A (en)* | 2021-11-25 | 2022-06-03 | 珠海格力电器股份有限公司 | Method, electronic device and medium for shutdown based on WIFI channel state detection |
| CN114576840B (en)* | 2021-11-25 | 2023-06-23 | 珠海格力电器股份有限公司 | Method, electronic equipment and medium for shutdown based on WIFI channel state detection |
| Publication | Publication Date | Title |
|---|---|---|
| JP2006167427A (en) | Sleep information detection system | |
| JP6691718B2 (en) | Detector | |
| Yadollahi et al. | Acoustic obstructive sleep apnea detection | |
| US9993193B2 (en) | Detection of breathing in the bedroom | |
| JP5433905B2 (en) | Fatigue estimation device and electronic device equipped with the same | |
| JP2020127757A (en) | Biological information output device | |
| JP6775922B2 (en) | Biological condition determination device and biological condition determination method | |
| JP6585074B2 (en) | System and method for monitoring physiological activity of a subject | |
| WO2002045585A1 (en) | Monitor | |
| JP2001037742A (en) | Monitor device for respiratory disease | |
| EP2608717A2 (en) | Apparatus and method for diagnosing obstructive sleep apnea | |
| JP2002219116A (en) | Sleep cycle detection device | |
| EP1757226A3 (en) | Measurement of responsiveness of a patient under anaesthesia | |
| JP2008049023A (en) | Nursing care support system | |
| US20150157258A1 (en) | Method and apparatus for assessment of sleep apnea | |
| CN105249927A (en) | Snoring sound identification method and anti-snoring device | |
| JP4622476B2 (en) | Bedroom installation equipment | |
| JP2018019763A (en) | Physical condition monitoring system | |
| JP2013153820A (en) | Device and method for predicting excretion | |
| JP6011240B2 (en) | Biological information acquisition method and biological information acquisition apparatus | |
| JP2008206553A (en) | Cough confirmation system | |
| JPH1128195A (en) | Health management monitoring method and its device | |
| JPWO2015178439A1 (en) | Sleep / apnea central / occlusion type diagnosis support device and diagnosis support method, and sleep apnea central / occlusion type diagnosis support program | |
| JP3959338B2 (en) | Bed entry / exit detection device | |
| CN114366083B (en) | In-bed detection method and device based on flexible thin film resistive pressure sensor |
| Date | Code | Title | Description |
|---|---|---|---|
| A621 | Written request for application examination | Effective date:20080213 Free format text:JAPANESE INTERMEDIATE CODE: A621 | |
| A761 | Written withdrawal of application | Free format text:JAPANESE INTERMEDIATE CODE: A761 Effective date:20090914 |