












本発明は、P偏光或いはS偏光の偏光状態によって、透過または反射作用を有する偏光ビームスプリッタ(以下、PBSと称す)で構成する偏光分離装置、及びこれを用いた投射型表示装置に関する。 The present invention relates to a polarization beam splitting device configured by a polarization beam splitter (hereinafter referred to as PBS) having a transmission or reflection action depending on the polarization state of P-polarized light or S-polarized light, and a projection display device using the same.
液晶プロジェクタや投射型テレビに用いられる液晶表示素子の種類としては、大別して透過型であるLCDパネル(以下、「透過型パネル」と称す)と、反射型であるLCOSパネル(以下、「反射型パネル」と称す)等がある。透過型パネルでは、小型化や高解像度化を行う場合、回路の配線のため各画素の開口率が小さくなり、各画素の回りのブラックマトリクスが目立つ。一方、反射型パネルの場合は、回路の配線を反射面のある画素の裏側に配置できるので、ブラックマトリクスの目立たない画像を得ることができる。また、反射型パネルの場合、光束が液晶層を往復で2度通過するので、その分、液晶層の厚さを薄くできるので、液晶の応答性が速くなる。このことは、反射型パネルが、動画を表示するテレビ用途に適していることを意味する。 The types of liquid crystal display elements used in liquid crystal projectors and projection televisions are roughly classified into a transmissive LCD panel (hereinafter referred to as “transmissive panel”) and a reflective LCOS panel (hereinafter referred to as “reflective type”). Panel)). In the transmissive panel, when downsizing or high resolution is performed, the aperture ratio of each pixel is reduced due to circuit wiring, and the black matrix around each pixel is conspicuous. On the other hand, in the case of a reflective panel, circuit wiring can be arranged on the back side of a pixel having a reflective surface, so that an image with an inconspicuous black matrix can be obtained. In the case of a reflective panel, since the light beam passes through the liquid crystal layer twice, the thickness of the liquid crystal layer can be reduced accordingly, and the response of the liquid crystal becomes faster. This means that the reflective panel is suitable for television applications that display moving images.
ところで、透過型パネルの場合は、液晶のシャッター作用により、ON光の透過と、OFF光の遮光を実現できる。一方で、反射型パネルの場合は、ON光もOFF光も反射するので、偏光状態の制御と、PBSの組合せで、ON光の透過とOFF光の遮光を行う必要がある。 By the way, in the case of a transmissive panel, transmission of ON light and shielding of OFF light can be realized by a shutter action of liquid crystal. On the other hand, in the case of a reflective panel, both ON light and OFF light are reflected. Therefore, it is necessary to transmit ON light and block OFF light by a combination of polarization state control and PBS.
図9を用いて、その作用について説明する。図9において、照明光学系(図示せず)でP偏光に揃えられた光束は、反射型パネル20の前に配置されたPBS10を透過し、反射型パネル20に照射される。各画素がONの状態では、液晶層を往復する間にP偏光がS偏光に変換されるので、今度は、PBS10で反射し、投射レンズ30側に光路が曲げられる。そして、各画素がOFFの状態では、液晶層を往復してもP偏光のままなので、再び、PBS10を透過して照明光学系(図示せず)側に戻り、光束は投射レンズ30に到達できない。 The operation will be described with reference to FIG. In FIG. 9, a light beam aligned with P-polarized light by an illumination optical system (not shown) passes through the
尚、光路レイアウトは、図10に示すように、PBS10にS偏光で入射し、反射したS偏光が反射型パネル20に照射され、各画素がONの状態で、P偏光に変換された反射光が今度はPBS10を透過する光路レイアウトでも良い。いずれにしても、PBS10は反射型パネル20に対して偏光子,検光子として作用している。 As shown in FIG. 10, the optical path layout is reflected light that is incident on the
ところで、PBSとしては、PBS面に誘電体多層膜を設けたPBSプリズムが広く知られているが、このPBSプリズムは、図9に示したようなプリズムに垂直に入射する光線に対しては、消光比(ON光とOFF光の比)が良好であるが、斜め入射の光線に対する消光比が悪いという特性を持っている。なお、プリズムへの垂直入射は、PBS面に対しては45度入射であり、通常、この光線を膜設計のための設計中心の光線とする。 By the way, as the PBS, a PBS prism having a dielectric multilayer film provided on the PBS surface is widely known. However, this PBS prism is used for a light beam perpendicularly incident on the prism as shown in FIG. Although the extinction ratio (ratio of ON light to OFF light) is good, it has a characteristic that the extinction ratio to obliquely incident light is bad. The perpendicular incidence to the prism is 45 degrees with respect to the PBS surface, and this ray is usually the design center ray for the film design.
これに対して、MOXTEK社のProFlux(商品名)という金属格子をガラス板の表面に設けた方式の金属格子型PBSがある。この金属格子型PBSは、ガラス板に45度に入射する光線(設計中心の光線)に対する消光比は、前記のPBSプリズムより悪いが、45度からずれた斜め入射の光線での消光比の劣化が少なく、角度的な広がりをもった光束全体として、良好な消光比を得ることができる。しかしながら、ガラス板を斜めに光線が通過する構成では、非点収差が発生するので、光学的なレイアウト上の制約があること、また、投射レンズにとっては、空気層が必要となるので、バックフォーカスが大きくなり投射レンズ全体が大型化するという問題点がある。 On the other hand, there is a metal grid type PBS in which a metal grid called ProFlux (trade name) manufactured by MOXTEK is provided on the surface of a glass plate. This metal lattice type PBS has an extinction ratio with respect to a light beam incident on a glass plate at 45 degrees (light beam at the design center), which is worse than that of the PBS prism, but the deterioration of the extinction ratio with an oblique incident light beam deviated from 45 degrees. Therefore, a good extinction ratio can be obtained as a whole light beam having a small angular spread. However, in the configuration in which light rays pass through the glass plate obliquely, astigmatism occurs, so there are restrictions on the optical layout, and for the projection lens, an air layer is required. Increases the size of the projection lens.
これらの問題に対して、下記非特許文献1において、多層フィルムプリズムによるPBSが開示されている。この多層フィルムによるPBSプリズムは、誘電体多層膜を設けたPBSプリズムより、斜め入射に対する消光比が優れている。 In response to these problems, Non-Patent
ところで、この文献中において、多層フィルムの例として、層数が892層で厚さが約0.15mmと記載されている。 By the way, in this document, as an example of the multilayer film, the number of layers is 892 and the thickness is described as about 0.15 mm.
尚、この文献では、PBSのプリズムの屈折率と多層フィルムの屈折率の差による非点収差の発生を防ぐために間にガラス板を配置している。非特許文献の中の図で確認できるこのガラス板自体は、フィルムの屈折率に近い硝材をプリズムの硝材に選択することで不要とできる。 In this document, a glass plate is disposed in order to prevent the generation of astigmatism due to the difference between the refractive index of the PBS prism and the refractive index of the multilayer film. The glass plate itself that can be confirmed in the figure in the non-patent document can be made unnecessary by selecting a glass material close to the refractive index of the film as the glass material of the prism.
多層フィルムを図9や図10のPBSに用いた場合の問題点について、図11と図12を用いて説明する。そもそも、可視光に含まれる各波長の光線に対して作用する多層フィルムにおける層は別々の層となる。図9で、PBS10にP偏光で入射し、透過した光線が反射型パネル20に照射され、反射型パネル20の各画素がONの状態で、S偏光に変換された反射光が今度はPBS10で反射することを説明した。図11は図9と同じレイアウトなので、反射型パネル20からのS偏光の反射光はPBS10で反射する。その際、第1の波長の光線4は多層フィルムの層1で反射し、第2の波長の光線5は層2で反射し、そして、第3の波長の光線6は層3で反射する。従って、反射型パネル20上の本来、同じ点から出射した異なる波長の光線が、多層フィルムの異なる層で反射する。つまり、PBS10のPBS面を構成する多層フィルムを反射する際、波長の違いによる光路長差が生じる。この結果、投射された白色の像には、色ずれが生じてしまう。多層フィルムの層厚約0.15mmを、反射型パネル20上での長さに換算すると、√2倍をかけて、約0.2mmとなる。この量は1画素の大きさの10倍から20倍と大きな値であり、投射系に使用できないことが分かる。 Problems when the multilayer film is used in the PBS of FIGS. 9 and 10 will be described with reference to FIGS. 11 and 12. FIG. In the first place, the layers in the multilayer film that act on the light beams of each wavelength included in the visible light are separate layers. In FIG. 9, the reflected light that is incident on the
同様に、図10で、PBS10にS偏光で入射し、反射した光線が反射型パネル20に照射され、反射型パネル20の各画素がONの状態で、P偏光に変換された反射光が今度はPBS10を透過することを説明した。図12は図10と同じレイアウトなので、PBS10に入射したS偏光はPBS面で反射し、反射型パネル20に入射する。その際、第1の波長の光線4は多層フィルムの層1で反射し、第2の波長の光線5は層2で反射し、そして、第3の波長の光線6は層3で反射する。従って、照明光学系(図示せず)からのS偏光の光束は、PBS10のPBS面を構成する多層フィルムを反射する際、波長の違いによる光路長差が生じ、反射型パネル20上に、波長毎にずれて照射されてしまう。反射型パネルの有効範囲でずれが生じれば、周辺部でいわゆる色ムラが生じるが、このずれは、照明光学系の光線が反射型パネル20上でずれる量なので、予め、反射型パネル20を照射する範囲を大きめに取っておけば、問題とはならない。しかしながら、反射型パネル20での照射範囲を、例えば、上述したように約0.2mm大きくしておくことで色ムラは防止できるが、その分、光線の通過率が悪くなるので好ましくない。今後、反射型パネル20が小型化することで、この約0.2mmによる影響が増大する。 Similarly, in FIG. 10, the reflected light that is incident on the
また、仮に光線の通過率を犠牲するとしても、図12のような光学部品のレイアウトが必須となり、光学系のレイアウトの点で制約条件となる。 Even if the light beam transmission rate is sacrificed, the layout of optical components as shown in FIG. 12 is essential, which is a constraint in terms of the layout of the optical system.
本発明は、上記した課題に鑑みてなされたもので、その目的は、PBS面を多層フィルムで構成した多層フィルムPBSを用いた場合に生じる、PBS面反射の際の波長の違いによる光路長差を低減し、色ずれや色むらを低減できる偏光分離装置を提供することにある。 The present invention has been made in view of the above-described problems, and the object thereof is an optical path length difference caused by a difference in wavelength at the time of PBS surface reflection, which occurs when a multilayer film PBS in which the PBS surface is formed of a multilayer film is used. It is an object of the present invention to provide a polarization separation device that can reduce color misregistration and color unevenness.
前記した目的を達成するために本願発明は、光源からの光を反射型映像表示素子に照射させ、反射型映像表示素子からの反射光を投射レンズ側に出射させる偏光分離装置であって、2つの面を平行に配し、S偏光の光を反射する2つの偏光分離面を有し、1面は、第1の有効偏光光に対して透過と反射を行い、反射型映像表素子への前記光の入出射を行い、他の1面は、第2の有効偏光光に対して少なくとも反射を行うように構成する。この構成により、S偏光の光の各波長の光路長を等しくすることができる。 In order to achieve the above-described object, the present invention is a polarization separation device that irradiates light from a light source onto a reflective image display element and emits reflected light from the reflective image display element toward the projection lens. Two planes are arranged in parallel and have two polarization separation planes for reflecting S-polarized light. One plane transmits and reflects the first effective polarized light, and is used for reflection type image display elements. The light enters and exits, and the other surface is configured to reflect at least the second effective polarized light. With this configuration, the optical path length of each wavelength of S-polarized light can be made equal.
本発明によれば、消光比に優れた多層フィルムPBSを使用しても、色ずれや色ムラの無い偏光分離装置を提供できる。 According to the present invention, it is possible to provide a polarized light separation device free from color shift and color unevenness even when a multilayer film PBS having an excellent extinction ratio is used.
以下、図を用いて、本発明の具体的な構成、及び作用について説明する。 The specific configuration and operation of the present invention will be described below with reference to the drawings.
図1から図4を用いて、本発明の第1の実施例について説明する。図1は本発明による第1の実施例である偏光分離装置、図2は第1の実施例の偏光分離装置の波長による光路長差の補正原理を説明する図、図3は第1の実施例の偏光分離装置の変形例を説明する図、図4は第1の実施例の偏光分離装置を3板式反射型パネルに適用した要部構成図である。なお、図1〜図4において、同一な機能を有する要素には同一符号を付して示す。 A first embodiment of the present invention will be described with reference to FIGS. FIG. 1 is a polarization separation apparatus according to a first embodiment of the present invention, FIG. 2 is a diagram for explaining the principle of correcting the optical path length difference depending on the wavelength of the polarization separation apparatus according to the first embodiment, and FIG. FIGS. 4A and 4B are diagrams illustrating a modification of the example polarization separation device, and FIG. 4 is a configuration diagram of a main part in which the polarization separation device according to the first embodiment is applied to a three-plate reflection type panel. 1 to 4, elements having the same function are denoted by the same reference numerals.
まず図1を用いて第1の実施例である偏光分離装置の構成について述べる。図1において、偏光分離装置は、反射型パネル20の入射光路上に配置された第1PBS11と、第1PBS11からの透過光を反射させる反射ミラー50と、第1PBS11からの透過光が反射ミラー50との間を往復する間に該透過光の偏光方向を直交する偏光方向に変換する1/4波長板40と、第1PBS11の偏光分離面であるPBS面11aとその偏光分離面であるPBS面12aが平行となるように配置された第2PBS12とからなる。そして、反射型パネル20と1/4波長板40,反射ミラー50は、PBS面11aとPBS面12aの対向する面側を望める第1PBS11と第2PBS12のそれぞれのプリズム面に配置されている。 First, the configuration of the polarization beam splitting apparatus according to the first embodiment will be described with reference to FIG. In FIG. 1, the polarization separation device includes a
予め照明光学系(図示せず)で有効偏光光としてP偏光に揃えた光束110pを図1のように第1PBS11へ入射させると、P偏光は第1PBS11を透過する。透過したP偏光の光束110pは、1/4波長板40を通過し、反射ミラー50で反射し、再び、1/4波長板40を通過することで、S偏光に変換される。従って有効偏光光はS偏光光となり、S偏光の光束110sは、第1PBS11のPBS面11aと第2PBS12のPBS面12aで反射し、反射型パネル20へ照射される。反射型パネル20の画素がONの場合、S偏光がP偏光に変換されて反射されるので、今度は、P偏光光が有効偏光光となり、有効偏光光であるP偏光の光束120pは第2PBS12を透過し、投射レンズ30へ入射する。 When a
ここで、第1PBS11と第2PBS12には多層フィルムを2つのプリズムで挟み込んだPBSを用いるが、本実施例では、図2のように、第2PBS12のPBS面12aを第1PBS11のPBS面11aと向きを揃えて配置する。 Here, PBS in which a multilayer film is sandwiched between two prisms is used for the
図2において、反射ミラー50からの有効偏光光であるS偏光の光束110sの内、第1の波長の光束はPBS面11aの層11a1で反射し、更にPBS面12aの層12a1で反射して反射型パネル20に入射する。また、第3の波長の光束はPBS面11aの層11a3で反射し、更にPBS面12aの層12a3で反射して反射型パネル20に入射する。従って、反射ミラー50から反射型パネル20までの各波長の光路長は等しくなり、つまり、PBS面11aで生じる波長による光路長差がPBS面12aで生じる光路長差で相殺され(即ち、波長による光路長差が補正され)、波長の違いによる色むらを防止できる。 In FIG. 2, of the S-polarized
図3は、第1PBS11と第2PBS12の間で向い合ったプリズムを一体化した構成である。図1では三角柱のプリズム4個で第1PBS11と第2PBS12を構成しているが、図3では、三角柱のプリズム2個と平行四辺形形状の四角柱1個を用いて、それらの界面に多層フィルム構成の偏光分離面であるPBS面13aと13bを形成して一体型PBS13を構成している。これは、図1で第1PBS11と第2PBS12の間に1/2波長板を配置しない構成なので、向い合ったプリズムの一体化は可能となった訳である。 FIG. 3 shows a configuration in which prisms facing each other between the
図1の偏光分離装置を3板構成に用いた場合の例を図4示す。図4で、60はダイクロイックプリズム、71と72は1/2波長板である。なお、図4において、図1と同一の機能を有する他の構成部品には同一符号を付して示す。 FIG. 4 shows an example in which the polarization separation device of FIG. 1 is used in a three-plate configuration. In FIG. 4, 60 is a dichroic prism, and 71 and 72 are half-wave plates. In FIG. 4, other components having the same functions as those in FIG. 1 are denoted by the same reference numerals.
図4では図示しない色分離手段でP偏光の白色光を予め赤、緑、青の3色に分解し、各色の光束を図1で説明した偏光分離装置に入射させる。各反射型パネル20で反射した光束は、色合成の作用を持つダイクロイックプリズム60によって色合成され、投射レンズ30へ入射される。尚、2つの光路でダイクロイックプリズム60の手前に配置した1/2波長板71と72によって、該当の2色は偏光状態がP偏光からS偏光に変換された上で、クロスダイクロイックプリズム60に入射される。この1/2波長板71と72で2色(例えば赤と青)の偏光状態を変換したのは、反射ではS偏光の方が効率が良いことと、3色とも同じ偏光状態とするより、赤と青をS偏光で緑をP偏光でクロスダイクロイックプリズム60を設計した方が効率が良いこと、による。 In FIG. 4, P-polarized white light is previously separated into three colors of red, green, and blue by a color separation means (not shown), and light beams of the respective colors are incident on the polarization separation device described with reference to FIG. The luminous flux reflected by each
次に、図5と図6を用いて、本発明の第2の実施例について説明する。図5は本発明による第2の実施例である偏光分離装置、図6は第2の実施例の偏光分離装置の変形例を説明する図である。なお、図5,図6において、図1〜図3に同一な機能を有する要素には同一符号を付して示し、その説明を省略する。 Next, a second embodiment of the present invention will be described with reference to FIGS. FIG. 5 is a diagram for explaining a modification of the polarization separation device according to the second embodiment of the present invention, and FIG. 6 is a diagram for explaining a modification of the polarization separation device according to the second embodiment. 5 and 6, elements having the same functions in FIGS. 1 to 3 are denoted by the same reference numerals, and description thereof is omitted.
図5のように、予め照明光学系(図示せず)で有効偏光光としてP偏光に揃えた光束を第1PBS11へ入射させると、P偏光は第1PBS11を透過し反射型パネル20に照射される。反射型パネル20の画素がONの場合、P偏光がS偏光に変換されて反射するので、今度は、S偏光光が有効偏光光となり、S偏光の光束は第1PBS11のPBS面11aで反射する。反射したS偏光の光束は、第2PBS12のPBS面12aで反射し、投射レンズ30へ入射する。 As shown in FIG. 5, when a light beam preliminarily aligned with P-polarized light as effective polarized light by an illumination optical system (not shown) is incident on the
ここで、第1PBS11と第2PBS12には多層フィルムを2つのプリズムで挟み込んだPBSを用いるが、第2PBS12のPBS面12aを第1PBS11のPBS面11aと平行となるように、また向きを揃えて配置することで、図2で述べた同様の理由により、波長の違いによる光路長差を低減でき、結果として色ずれを防止できる。 Here, PBS in which a multilayer film is sandwiched between two prisms is used for the
尚、図6は、第1PBS11と第2PBS12の間で向い合ったプリズムを一体化した構成である。図5では三角柱のプリズム4個で第1PBS11と第2PBS12を構成しているが、図6では、三角柱のプリズム2個と平行四辺形形状の四角柱1個を用いて、それらの界面に多層フィルム構成の偏光分離面であるPBS面13aと13bを形成して一体型PBS13を構成している。これは、図5で第1PBS11と第2PBS12の間に1/2波長板を配置しない構成のため、向い合ったプリズムの一体化は可能となる。 FIG. 6 shows a configuration in which prisms facing each other between the
次に、図7と図8を用いて、本発明の第3の実施例について説明する。図7は本発明による第3の実施例である偏光分離装置、図8は第3の実施例の偏光分離装置の変形例を説明する図である。なお、図7,図8において、図1〜図3に同一な機能を有する要素には同一符号を付して示し、その説明を省略する。 Next, a third embodiment of the present invention will be described with reference to FIGS. FIG. 7 is a diagram illustrating a polarization separation apparatus according to a third embodiment of the present invention, and FIG. 8 is a diagram illustrating a modification of the polarization separation apparatus according to the third embodiment. 7 and 8, elements having the same functions in FIGS. 1 to 3 are denoted by the same reference numerals and description thereof is omitted.
図7のように、予め照明光学系(図示せず)で有効偏光光としてS偏光に揃えた光束を第1PBS11へ入射させると、S偏光は第1PBS11のPBS面11aで反射する。反射したS偏光の光束は、第2PBS12のPBS面12aで反射し、反射型パネル20へ照射される。反射型パネル20の画素がONの場合、S偏光がP偏光に変換されて反射されるので、今度は、P偏光光が有効偏光光となり、P偏光の光束は第2PBS12を透過し、投射レンズ30へ入射する。 As shown in FIG. 7, when a light beam that has been previously aligned with S-polarized light as effective polarized light by an illumination optical system (not shown) is incident on the
ここで、第1PBS11と第2PBS12には多層フィルムを2つのプリズムで挟み込んだPBSを用いるが、第2PBS12のPBS面12aを第1PBS11のPBS面11aと平行となるように、また向きを揃えて配置することで、図2で述べた同様の理由により、波長の違いによる光路長差を低減でき、結果として色むらを防止できる。 Here, PBS in which a multilayer film is sandwiched between two prisms is used for the
尚、図8は、第1PBS11と第2PBS12の間で向い合ったプリズムを一体化した構成である。図7では三角柱のプリズム4個で第1PBS11と第2PBS12を構成しているが、図7では、三角柱のプリズム2個と平行四辺形形状の四角柱1個を用いて、それらの界面に多層フィルム構成の偏光分離面であるPBS面13aと13bを形成して一体型PBS13を構成している。これは、図7で第1PBS11と第2PBS12の間に1/2波長板を配置しない構成のため、向い合ったプリズムの一体化は可能となる。 FIG. 8 shows a configuration in which prisms facing each other between the
以上述べた実施例では、反射型パネルをLCOSパネルとしたが、これに限定されるものではなく、旋光性を利用して光強度変調を行う反射型ライトバルブであればよいことはいうまでもない。
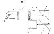
また、図13は本願発明の偏光分離装置を適用した投射型表示装置の構成を示すブロック図である。In the embodiments described above, the reflective panel is an LCOS panel. However, the present invention is not limited to this, and it is needless to say that any reflective light valve that modulates light intensity using optical rotation may be used. Absent.
FIG. 13 is a block diagram showing the configuration of a projection display device to which the polarization separation device of the present invention is applied.
図13において、1は光源であり、超高圧水銀ランプ、メタルハライドランプ、キセノンランプ、水銀キセノンランプ、ハロゲンランプ等の白色ランプである。光源1の電球から放射される光は例えば放物面の反射鏡2で反射されて光軸に平行となり、第1アレイレンズ3に入射される。第1アレイレンズ3は、入射した光をマトリックス状に配設された複数のレンズセルで複数の光に分割して、効率よく第2アレイレンズ4と偏光変換素子5を通過するように導く。即ち、第1アレイレンズ3は光源1と第2アレイレンズ4の各レンズセルとが互いに物体と像の関係(共役関係)になるように設計されている。第1アレイレンズ3と同様に、マトリックス状に配設された複数のレンズセルを持つ第2アレイレンズ4は、構成するレンズセルそれぞれが対応する第1アレイレンズ3のレンズセルの形状を反射型パネル20に投影する。この時、偏光変換素子5で第2アレイレンズ4からの光は所定の偏光方向、本実施例においてはS偏光光に揃えられる。そして、第1アレイレンズ3で複数に分割された光束は、第2アレイレンズ4と図示しない集光レンズによって、反射型パネル20上に重畳して投影され、実用上問題のないレベルの均一性の高い照度分布の照明が可能となる。 In FIG. 13,
偏光変換素子5にて有効偏光光としてS偏光光に揃えられた光束は、第1PBS11に入射され、PBS面で反射する。反射した有効偏光光であるS偏光の光束は、第2PBS12のPBS面で反射し、反射型パネル20へ照射される。反射型パネル20の画素がONの場合、S偏光がP偏光に変換されて反射されるので、今度は、P偏光光が有効偏光光となり、P偏光光は第2PBS12を透過し、投射レンズ30へ入射する。 The light beam aligned with the S-polarized light as the effective polarized light by the
本実施例での偏光分離装置として、第3の実施例での偏光分離装置を適用した場合について述べたが、第1或いは第2の実施例での偏光分離装置も適用可能であることは言うまでも無い。 Although the case where the polarization separation device in the third embodiment is applied as the polarization separation device in the present embodiment has been described, the polarization separation device in the first or second embodiment is also applicable. Not too long.
1…光源、2…反射鏡、3…第1アレイレンズ、4…第2アレイレンズ、5…偏光変換素子、10…PBS、11…第1PBS、12…第2PBS、13…一体型PBS、20…反射型パネル、30…投射レンズ、40…1/4波長板、50…反射ミラー、60…クロスダイクロイックプリズム、71,72…1/2波長板。
DESCRIPTION OF
| Application Number | Priority Date | Filing Date | Title |
|---|---|---|---|
| JP2004332576AJP2006145644A (en) | 2004-11-17 | 2004-11-17 | Polarization separator and projection display device using the same |
| Application Number | Priority Date | Filing Date | Title |
|---|---|---|---|
| JP2004332576AJP2006145644A (en) | 2004-11-17 | 2004-11-17 | Polarization separator and projection display device using the same |
| Publication Number | Publication Date |
|---|---|
| JP2006145644Atrue JP2006145644A (en) | 2006-06-08 |
| Application Number | Title | Priority Date | Filing Date |
|---|---|---|---|
| JP2004332576APendingJP2006145644A (en) | 2004-11-17 | 2004-11-17 | Polarization separator and projection display device using the same |
| Country | Link |
|---|---|
| JP (1) | JP2006145644A (en) |
| Publication number | Priority date | Publication date | Assignee | Title |
|---|---|---|---|---|
| CN110764269A (en)* | 2019-11-02 | 2020-02-07 | 深圳市麓邦技术有限公司 | Optical gradual change system and method |
| CN111164514A (en)* | 2017-09-28 | 2020-05-15 | Asml控股股份有限公司 | Optical arrangement of an inspection device |
| WO2020174433A1 (en)* | 2019-02-28 | 2020-09-03 | Lumus Ltd. | Compact collimated image projector |
| US10895679B2 (en) | 2017-04-06 | 2021-01-19 | Lumus Ltd. | Light-guide optical element and method of its manufacture |
| US11125927B2 (en) | 2017-03-22 | 2021-09-21 | Lumus Ltd. | Overlapping facets |
| US11194084B2 (en) | 2017-02-22 | 2021-12-07 | Lumus Ltd. | Light guide optical assembly |
| US11243434B2 (en) | 2017-07-19 | 2022-02-08 | Lumus Ltd. | LCOS illumination via LOE |
| US11262587B2 (en) | 2018-05-22 | 2022-03-01 | Lumus Ltd. | Optical system and method for improvement of light field uniformity |
| US11378791B2 (en) | 2016-11-08 | 2022-07-05 | Lumus Ltd. | Light-guide device with optical cutoff edge and corresponding production methods |
| US11415812B2 (en) | 2018-06-26 | 2022-08-16 | Lumus Ltd. | Compact collimating optical device and system |
| US11523092B2 (en) | 2019-12-08 | 2022-12-06 | Lumus Ltd. | Optical systems with compact image projector |
| US11526003B2 (en) | 2018-05-23 | 2022-12-13 | Lumus Ltd. | Optical system including light-guide optical element with partially-reflective internal surfaces |
| US11531201B2 (en) | 2015-02-19 | 2022-12-20 | Lumus Ltd. | Compact head-mounted display system having uniform image |
| US11543661B2 (en) | 2014-11-11 | 2023-01-03 | Lumus Ltd. | Compact head-mounted display system protected by a hyperfine structure |
| US11561335B2 (en) | 2019-12-05 | 2023-01-24 | Lumus Ltd. | Light-guide optical element employing complementary coated partial reflectors, and light-guide optical element having reduced light scattering |
| US11567316B2 (en) | 2016-10-09 | 2023-01-31 | Lumus Ltd. | Aperture multiplier with depolarizer |
| US11822088B2 (en) | 2021-05-19 | 2023-11-21 | Lumus Ltd. | Active optical engine |
| US11849262B2 (en) | 2019-03-12 | 2023-12-19 | Lumus Ltd. | Image projector |
| US11886008B2 (en) | 2021-08-23 | 2024-01-30 | Lumus Ltd. | Methods of fabrication of compound light-guide optical elements having embedded coupling-in reflectors |
| US11914161B2 (en) | 2019-06-27 | 2024-02-27 | Lumus Ltd. | Apparatus and methods for eye tracking based on eye imaging via light-guide optical element |
| US11914187B2 (en) | 2019-07-04 | 2024-02-27 | Lumus Ltd. | Image waveguide with symmetric beam multiplication |
| US11966062B2 (en) | 2017-10-22 | 2024-04-23 | Lumus Ltd. | Head-mounted augmented reality device employing an optical bench |
| US12019249B2 (en) | 2019-12-25 | 2024-06-25 | Lumus Ltd. | Optical systems and methods for eye tracking based on redirecting light from eye using an optical arrangement associated with a light-guide optical element |
| US12135445B2 (en) | 2019-04-15 | 2024-11-05 | Lumus Ltd. | Method of fabricating a light-guide optical element |
| US12372799B2 (en) | 2020-05-12 | 2025-07-29 | Lumus Ltd. | Rotatable lightpipe |
| Publication number | Priority date | Publication date | Assignee | Title |
|---|---|---|---|---|
| US11543661B2 (en) | 2014-11-11 | 2023-01-03 | Lumus Ltd. | Compact head-mounted display system protected by a hyperfine structure |
| US11531201B2 (en) | 2015-02-19 | 2022-12-20 | Lumus Ltd. | Compact head-mounted display system having uniform image |
| US11567316B2 (en) | 2016-10-09 | 2023-01-31 | Lumus Ltd. | Aperture multiplier with depolarizer |
| US11378791B2 (en) | 2016-11-08 | 2022-07-05 | Lumus Ltd. | Light-guide device with optical cutoff edge and corresponding production methods |
| US11194084B2 (en) | 2017-02-22 | 2021-12-07 | Lumus Ltd. | Light guide optical assembly |
| US11125927B2 (en) | 2017-03-22 | 2021-09-21 | Lumus Ltd. | Overlapping facets |
| US10895679B2 (en) | 2017-04-06 | 2021-01-19 | Lumus Ltd. | Light-guide optical element and method of its manufacture |
| US11243434B2 (en) | 2017-07-19 | 2022-02-08 | Lumus Ltd. | LCOS illumination via LOE |
| US11662198B2 (en) | 2017-09-28 | 2023-05-30 | Asml Holding N.V. | Optical arrangement for an inspection apparatus |
| JP2020535431A (en)* | 2017-09-28 | 2020-12-03 | エーエスエムエル ホールディング エヌ.ブイ. | Optical placement for inspection equipment |
| CN111164514A (en)* | 2017-09-28 | 2020-05-15 | Asml控股股份有限公司 | Optical arrangement of an inspection device |
| JP7096883B2 (en) | 2017-09-28 | 2022-07-06 | エーエスエムエル ホールディング エヌ.ブイ. | Inspection equipment and measurement method |
| US11966062B2 (en) | 2017-10-22 | 2024-04-23 | Lumus Ltd. | Head-mounted augmented reality device employing an optical bench |
| US11262587B2 (en) | 2018-05-22 | 2022-03-01 | Lumus Ltd. | Optical system and method for improvement of light field uniformity |
| US11526003B2 (en) | 2018-05-23 | 2022-12-13 | Lumus Ltd. | Optical system including light-guide optical element with partially-reflective internal surfaces |
| US11415812B2 (en) | 2018-06-26 | 2022-08-16 | Lumus Ltd. | Compact collimating optical device and system |
| US20220113549A1 (en)* | 2019-02-28 | 2022-04-14 | LumusLtd | Compact collimated image projector |
| US12124050B2 (en) | 2019-02-28 | 2024-10-22 | Lumus Ltd. | Compact collimated image projector |
| WO2020174433A1 (en)* | 2019-02-28 | 2020-09-03 | Lumus Ltd. | Compact collimated image projector |
| CN113474715A (en)* | 2019-02-28 | 2021-10-01 | 鲁姆斯有限公司 | Compact collimated image projector |
| US11849262B2 (en) | 2019-03-12 | 2023-12-19 | Lumus Ltd. | Image projector |
| US12135445B2 (en) | 2019-04-15 | 2024-11-05 | Lumus Ltd. | Method of fabricating a light-guide optical element |
| US11914161B2 (en) | 2019-06-27 | 2024-02-27 | Lumus Ltd. | Apparatus and methods for eye tracking based on eye imaging via light-guide optical element |
| US11914187B2 (en) | 2019-07-04 | 2024-02-27 | Lumus Ltd. | Image waveguide with symmetric beam multiplication |
| US11340116B2 (en) | 2019-11-02 | 2022-05-24 | Shenzhen Lubang Technology Co., Ltd. | Optical gradation system and method |
| CN110764269A (en)* | 2019-11-02 | 2020-02-07 | 深圳市麓邦技术有限公司 | Optical gradual change system and method |
| US11561335B2 (en) | 2019-12-05 | 2023-01-24 | Lumus Ltd. | Light-guide optical element employing complementary coated partial reflectors, and light-guide optical element having reduced light scattering |
| US11523092B2 (en) | 2019-12-08 | 2022-12-06 | Lumus Ltd. | Optical systems with compact image projector |
| US12019249B2 (en) | 2019-12-25 | 2024-06-25 | Lumus Ltd. | Optical systems and methods for eye tracking based on redirecting light from eye using an optical arrangement associated with a light-guide optical element |
| US12372799B2 (en) | 2020-05-12 | 2025-07-29 | Lumus Ltd. | Rotatable lightpipe |
| US11822088B2 (en) | 2021-05-19 | 2023-11-21 | Lumus Ltd. | Active optical engine |
| US11886008B2 (en) | 2021-08-23 | 2024-01-30 | Lumus Ltd. | Methods of fabrication of compound light-guide optical elements having embedded coupling-in reflectors |
| Publication | Publication Date | Title |
|---|---|---|
| JP2006145644A (en) | Polarization separator and projection display device using the same | |
| JP3642267B2 (en) | Illumination optical system and projector equipped with the same | |
| JP5156338B2 (en) | LIGHTING DEVICE AND PROJECTION VIDEO DISPLAY DEVICE USING THE SAME | |
| JP5910031B2 (en) | Projection device | |
| US20070216869A1 (en) | Projection type image display apparatus | |
| JP2004020621A (en) | Reflection type video projection device, projection type video display device using the same, and light source device used therefor | |
| US6607276B1 (en) | Illuminating optical system and projector | |
| JP2014048383A (en) | Projection apparatus | |
| JP6278489B2 (en) | Projection display | |
| US6987618B2 (en) | Polarization converting device, illumination optical system and projector | |
| JP4380030B2 (en) | Illumination optical system and projector equipped with the same | |
| JP2006276826A (en) | Reflection type projection display apparatus | |
| JP4539319B2 (en) | Projection display | |
| JP3757701B2 (en) | Light flux compression unit, optical engine, and video display device using the same | |
| JP2004045907A (en) | Image display device | |
| JP2000330196A (en) | Color combining optical system and projection display device including the optical system | |
| JP6503816B2 (en) | projector | |
| JP6436514B2 (en) | Projection display | |
| JP6422141B2 (en) | Projection display apparatus and image display method | |
| JP4077490B2 (en) | Projection-type image display device | |
| JP4513516B2 (en) | Video display device | |
| JP2010113186A (en) | Projection type display device | |
| JP2000121997A (en) | Projection display device | |
| JP2016164665A (en) | Projection device | |
| JP2008158365A (en) | Projection-type image display device |
| Date | Code | Title | Description |
|---|---|---|---|
| RD04 | Notification of resignation of power of attorney | Free format text:JAPANESE INTERMEDIATE CODE: A7424 Effective date:20060425 |