












本発明は、剥離シートと、剥離シート上に接着層を介して設けられた複数のICタグと、を備えたICタグ付シートに関する。 The present invention relates to a sheet with an IC tag comprising a release sheet and a plurality of IC tags provided on the release sheet via an adhesive layer.
外部のリーダ・ライタと非接触でデータの授受を行うICタグとして、一対の拡大電極と、各々が異なる拡大電極に電気的に接続される一対の電極を有するICチップと、を備えたものが知られている。 As an IC tag for exchanging data without contact with an external reader / writer, an IC tag having a pair of enlarged electrodes and an IC chip having a pair of electrodes that are electrically connected to different enlarged electrodes, respectively. Are known.
このようなICタグは生産効率を考慮して、非導電体シート上に送り方向に延びる一対の導電体を設け、次に、一対の導電体対間にICチップを連続して実装して、多数のICタグを形成し得る帯状に延びるシート状のICタグ付シートを作製し、その後、このICタグ付シートをICチップ毎に断裁することによって、得られる。また、ICタグ付シートから得られたICタグを、そのまま、被搭載体、例えば、断裁されてカードを構成するプラスチックシートや断裁されて包装袋を構成するビニルシート等に順次実装していくことが、生産効率的に好ましい。 In consideration of production efficiency, such an IC tag is provided with a pair of conductors extending in the feeding direction on a non-conductor sheet, and then continuously mounting an IC chip between the pair of conductors, It is obtained by producing a sheet-like IC tag-attached sheet extending in a strip shape capable of forming a large number of IC tags, and then cutting this IC tag-attached sheet for each IC chip. In addition, the IC tag obtained from the sheet with the IC tag is sequentially mounted as it is on a mounted body, for example, a plastic sheet that is cut to form a card or a vinyl sheet that is cut to form a packaging bag. Is preferable in terms of production efficiency.
このようなICタグの実装方法として、鋭角状に突出した先端部を有するナイフエッジを用いた実装方法が知られている。この方法で用いられるICタグ付シートは、剥離シートと、接着層を介して剥離シート上に配置され、剥離シートの幅方向に沿って延びる複数の長方形状のICタグと、を備えている。ICタグ付シートはナイフエッジの先端部に送り込まれ、さらに図10に示すように、剥離シートがナイフエッジの先端部で折り返されることにより、剥離シートから接着層とともにICタグを剥がす。このとき、ICタグは剥離シートおよびナイフエッジの先端部から突出し、そして、ナイフエッジの先端部に向けて送り込まれる被搭載体上に転載(実装)され接着層を介してICタグを被搭載体上に固定される。 As such an IC tag mounting method, a mounting method using a knife edge having a tip portion protruding in an acute angle shape is known. The IC tag-attached sheet used in this method includes a release sheet and a plurality of rectangular IC tags arranged on the release sheet via an adhesive layer and extending along the width direction of the release sheet. The IC tag-attached sheet is fed into the tip end of the knife edge, and as shown in FIG. 10, the release sheet is folded back at the tip end of the knife edge, thereby peeling the IC tag together with the adhesive layer from the release sheet. At this time, the IC tag protrudes from the tip of the release sheet and the knife edge, and is transferred (mounted) onto the mounted body that is fed toward the leading edge of the knife edge, and the IC tag is mounted via the adhesive layer. Fixed on top.
このナイフエッジを用いた実装方法によれば、シート状のICタグ付シートから順次ICタグを取り出すとともに被搭載体上に順次実装することができる。 According to the mounting method using the knife edge, the IC tags can be sequentially taken out from the sheet-like sheet with the IC tag and can be sequentially mounted on the mounted body.
なお、リーダ・ライタとデータを送受信する際に用いられる電磁波の周波数帯によっては、一対の拡大電極とICチップとを備えたICタグがインターポーザーとして用いられることもある。このインターポーザーは、一対の拡大電極をアンテナ回路に接続することによって、外部のリーダ・ライタと非接触でデータの授受を行うICタグとして機能する。インターポーザーをアンテナ回路と接続してなるICタグは、非導電体シート上に複数のアンテナ回路が形成されたアンテナ形成済シートにインターポーザーを順次実装し、そして、インターポーザー毎に断裁して製造することが生産効率的に好ましい。そして、インターポーザーを剥離シートから剥がしてアンテナ形成済シート上に実装する場合、ナイフエッジを用いた実装方法を採用することができる。 Note that an IC tag including a pair of enlarged electrodes and an IC chip may be used as an interposer depending on the frequency band of electromagnetic waves used when transmitting / receiving data to / from a reader / writer. This interposer functions as an IC tag that exchanges data without contact with an external reader / writer by connecting a pair of enlarged electrodes to an antenna circuit. An IC tag formed by connecting an interposer to an antenna circuit is manufactured by sequentially mounting the interposer on an antenna-formed sheet in which a plurality of antenna circuits are formed on a non-conductive sheet, and cutting each interposer. It is preferable in terms of production efficiency. And when peeling an interposer from a peeling sheet and mounting on an antenna formed sheet | seat, the mounting method using a knife edge is employable.
本願におけるICタグという用語はインターポーザーを含む概念であり、同様に、被搭載体にはアンテナ形成済シートが含まれる。 The term IC tag in the present application is a concept including an interposer, and similarly, the mounted body includes an antenna-formed sheet.
ところが、ナイフエッジの先端部は、ICチップを保護する等の目的から丸みが設けられている。したがって、ICタグの送り方向の長さが短い場合、図9に示すように、ICタグが剥離シートから剥がれなくなる。また、もし剥がれたとしても、ナイフエッジ先端部からの突出長さが短いため、被搭載体上に転載することができない。 However, the tip of the knife edge is rounded for the purpose of protecting the IC chip. Therefore, when the length of the IC tag in the feed direction is short, as shown in FIG. 9, the IC tag does not peel off from the release sheet. Moreover, even if it peels off, since the protrusion length from a knife edge front-end | tip part is short, it cannot transfer on a to-be-mounted body.
これらのことから、ナイフエッジを用いてICタグを被搭載体へ実装する場合、ICタグの送り方向長さを一定長さ(略3mm)以上しなければならない。 For these reasons, when the IC tag is mounted on the mounted body using a knife edge, the length of the IC tag in the feed direction must be a certain length (approximately 3 mm) or more.
ICタグの送り方向長さを不必要に長くすると、当然に、1個あたりのICタグにかかる材料費が高くなるという不都合が生じる。また、ICタグ付シートを作製する際に、ICチップを高密度実装、すなわち短ピッチで実装することができない。つまり、材料費だけでなく、ICタグ付シートの生産効率までも悪化させてしまうという不都合が生じる。 If the length of the IC tag in the feed direction is unnecessarily increased, naturally, there is a disadvantage that the material cost for each IC tag increases. Further, when producing a sheet with an IC tag, IC chips cannot be mounted with high density, that is, with a short pitch. That is, there is a disadvantage that not only the material cost but also the production efficiency of the sheet with the IC tag is deteriorated.
今日においては、ICタグ1個あたりの製造コストを下げることが強く求められており、これらの不都合はICタグの製造において深刻な問題である。また、ICチップの小型化にともなってICタグのさらなる小型化が期待される中、このような問題点はますます重要度を増してくる。 Today, there is a strong demand to reduce the manufacturing cost per IC tag, and these disadvantages are serious problems in the manufacture of IC tags. In addition, with the miniaturization of IC chips, further miniaturization of IC tags is expected, and such problems are becoming increasingly important.
本発明はこのような点を考慮したものであり、剥離シートと、剥離シート上に接着層を介して設けられた複数のICタグと、を備え、ICタグのICチップが高密度で配置されたICタグ付シートであって、ナイフエッジを用いることによってICタグ付シート上のICタグを被搭載体上に確実に実装することができるICタグ付シートを提供することである。 The present invention takes such points into consideration, and includes a release sheet and a plurality of IC tags provided on the release sheet via an adhesive layer, and the IC chips of the IC tags are arranged with high density. Another object of the present invention is to provide a sheet with an IC tag, which can reliably mount the IC tag on the sheet with the IC tag on the mounted body by using a knife edge.
本発明は、剥離シートと、剥離シート上に接着層を介して設けられた複数のICタグと、を備えたICタグ付シートにおいて、剥離シート上で隣接するICタグは、剥離シートの長手方向において互いに重複して配置されていることを特徴とするICタグ付シートである。 The present invention relates to a sheet with an IC tag comprising a release sheet and a plurality of IC tags provided on the release sheet via an adhesive layer, and the IC tag adjacent on the release sheet is the longitudinal direction of the release sheet. In FIG. 1, the IC tag-attached sheets are arranged to overlap each other.
本発明によれば、ICタグ付シート上にICチップが短ピッチで配置され得るとともに、ナイフエッジを用いてICタグを剥離シートから剥がした場合にICタグを剥離シートから大きく突出させることができる。これにより、ICタグ付シートからICタグを被搭載体に確実に実装することができる。 According to the present invention, IC chips can be arranged at a short pitch on a sheet with an IC tag, and when the IC tag is peeled off from the release sheet using a knife edge, the IC tag can be protruded greatly from the release sheet. . Thereby, the IC tag can be reliably mounted on the mounted body from the sheet with the IC tag.
本発明は、剥離シートと、剥離シート上に接着層を介して設けられた複数のICタグと、を備えたICタグ付シートにおいて、ICタグは、剥離シートの長手方向における端部に先細部分を有することを特徴とするICタグ付シートである。 The present invention relates to a sheet with an IC tag comprising a release sheet and a plurality of IC tags provided on the release sheet via an adhesive layer, wherein the IC tag has a tapered portion at the end in the longitudinal direction of the release sheet. It is a sheet | seat with an IC tag characterized by having.
本発明によれば、ナイフエッジを用いることにより、ICタグはICタグ付シートから容易に剥がれる。これにより、ICタグ付シートからICタグを被搭載体に確実に実装することができる。 According to the present invention, by using a knife edge, the IC tag can be easily peeled off from the sheet with the IC tag. Thereby, the IC tag can be reliably mounted on the mounted body from the sheet with the IC tag.
本発明は、ICタグはV字状からなることを特徴とするICタグ付シートである。この場合、好ましくは、先細部分はV字の頂点部分によって形成され、先細部分の角度は90°から170°となっている。 The present invention is the sheet with an IC tag, wherein the IC tag is V-shaped. In this case, preferably, the tapered portion is formed by a V-shaped apex portion, and the angle of the tapered portion is 90 ° to 170 °.
本発明は、ICタグは、剥離シートの幅方向に沿って延びるとともに、さらにその両端部において長手方向に沿ってそれぞれ逆向きに延びる形状からなることを特徴とするICタグ付シートである。 The present invention is the IC tag-attached sheet characterized in that the IC tag extends along the width direction of the release sheet and further has a shape extending in the opposite direction along the longitudinal direction at both ends thereof.
本発明は、ICタグは平行四辺形状からなることを特徴とするICタグ付シートである。この場合、好ましくは、ICタグは一対の辺が剥離シートの長手方向と平行となるように剥離シート上に配置されている。 The present invention is the sheet with an IC tag, wherein the IC tag has a parallelogram shape. In this case, the IC tag is preferably disposed on the release sheet so that the pair of sides are parallel to the longitudinal direction of the release sheet.
本発明は、ICタグは長方形状からなり、剥離シート上に斜めに配置されていることを特徴とするICタグ付シートである。 The present invention is a sheet with an IC tag, characterized in that the IC tag has a rectangular shape and is disposed obliquely on a release sheet.
このような本発明によれば、1個あたりのICタグに要する材料、およびICチップの配置ピッチを変更することなく、ICタグを剥離シートから剥がれやすくし、また、剥がされたICタグの剥離シートからの突出長さを長くすることができる。これにより、ICタグ付シートのコストを増大させることなく、ICタグ付シートからICタグを被搭載体に確実に実装することができる。 According to the present invention as described above, the IC tag can be easily peeled off from the release sheet without changing the material required for each IC tag and the arrangement pitch of the IC chips, and the peeled-off IC tag can be peeled off. The protruding length from the sheet can be increased. Thereby, the IC tag can be reliably mounted on the mounted body from the sheet with the IC tag without increasing the cost of the sheet with the IC tag.
以下、図面を参照して本発明の実施の形態について説明する。 Embodiments of the present invention will be described below with reference to the drawings.
図1乃至図13は、本発明によるICタグ付シートの実施の形態を説明する図である。 1 to 13 are diagrams for explaining an embodiment of a sheet with an IC tag according to the present invention.
このうち、図1は本発明によるICタグ付シートの一実施の形態を示す平面図であり、図2は図1のII−II線に沿った断面図であり、図3はICタグが実装される被搭載体の一例であるアンテナ形成済シートを示す斜視図であり、図4はICタグ付シートの製造方法を示す概略図であり、図5乃至図10は従来のICタグ付シートとの比較により本実施の形態によるICタグ付シートの作用を説明する図であり、図11乃至図13はICタグ付シートの変形例を示す平面図である。 Among these, FIG. 1 is a plan view showing an embodiment of a sheet with an IC tag according to the present invention, FIG. 2 is a cross-sectional view taken along the line II-II in FIG. 1, and FIG. FIG. 4 is a schematic view showing a method of manufacturing a sheet with an IC tag, and FIGS. 5 to 10 show a conventional IC tag-attached sheet. FIG. 11 to FIG. 13 are plan views showing modified examples of the IC tag-attached sheet.
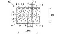
まず、図1および図2により、ICタグ付シート10およびICタグ20について説明する。 First, the IC tag-attached
なお、ここでICタグ20とは、外部のリーダ・ライタとの間において非接触によりデータの授受を行う非接触ICタグのみならず、アンテナ回路44に接続して用いられるインターポーザーも含む。 Here, the
図1および図2に示すように、ICタグ付シート10は、帯状に延びる剥離シート14と、剥離シート14上に接着層18を介して設けられた複数のICタグ20と、を備えている。剥離シート14は、例えば、紙やPET等からなり、接着層18に対面する側の面が剥離処理されている。剥離処理は、例えば、シリコン粒子を塗布すること等により行われる。したがって、剥離シート14上に配置された接着層1をICタグ20とともに剥離シート14からきれいに剥がし取ることができ、この場合、ICタグ20は接着層18を介して被搭載体40等へ、所謂シールにように貼り付けられ得る。この接着層18は、例えば、アクリル系粘着剤等からなり、ICタグ20を剥離シート14上に取り剥がし自在に固定している。 As shown in FIG. 1 and FIG. 2, the IC tag-attached
図1および図2に示すように、ICタグ20は、非導電体シート22と非導電体シート22上に設けられた一対の拡大電極24,24と、拡大電極24上に接着材料28を介して固定されたICチップ26と、を有する。このうちICチップ26は先端が平坦状の一対の電極26a,26aを有しており、各電極26aは異なる拡大電極24,24に電気的に接続されている(図2)。非導電体シート22は、例えば、紙やPET等からなり、拡大電極24は、例えば、銅やアルミニウム等からなる。 As shown in FIGS. 1 and 2, the
なお、ICチップ26の電極26aは、図2に示される平坦状の電極に限られず、先端が尖った形状となっていてもよい。この場合、電極26aが拡大電極24に突き刺さることにより、ICチップ26の電極26aと拡大電極24とを確実に電気的に接続させることができる。 The
また、図2にはICチップ26と拡大電極24とを接着材料によって固定する例を示したが、これに限られず、超音波接合等の他の手段を用いて固定するようにしてもよい。 FIG. 2 shows an example in which the
図1に示すように、このようなICタグ20は平面視において略V字状に形成されたV字状からなり、剥離シート14の幅方向(図1における上下方向であって、ICタグ付シート10の幅方向とも呼ぶ)の中央を幅方向に直交する長手方向(図1における左右方向であって、ICタグ付シート10の長手方向とも呼ぶ)に沿って延びる線を挟んで対象となるように配置されている。 As shown in FIG. 1, such an
そして、各ICタグ20は、剥離シート14の長手方向における一方の端部にV字の頂点部分によって形成され、先端に向けて次第に幅が狭くなっていく先細部分7を有している。この場合の先細部分7の角度は10°から170°であることが好ましく、また、90°から170°であるとさらに好ましい。 Each
また、剥離シート14上で隣接するICタグ20は、剥離シート14の長手方向において互いに重複して配置されている。本実施の形態においては、図1に示すように、各ICタグ20は、その先細部分7が隣接するICタグ20のV字の谷部分に入り込むように接近して配置されている。すなわち、ここでいう「長手方向において互いに重複して配置」とは、ICタグ付シート10の長手方向に直交する幅方向から見た場合に隣接するICタグ20が互いに(共に)存在する重複部分16を有するように、つまり、隣接するICタグ20が幅方向に沿って互いに(共に)存在する重複部分16を有するように配置されていることを意味する。さらに言い換えれば、ICタグ付シート10の長手方向に沿ったある範囲(重複部分16)において、隣接するICタグ20が互いに(共に)存在するように配置されていることを意味する。 Further, the IC tags 20 adjacent on the
したがって、ICチップ26が剥離シート14の長手方向に沿って短ピッチで配置され得るとともに、剥離シート14の長手方向に沿ったICタグ20の長手方向長さ(剥離シートあるいはICタグ付シート10が長手方向に沿って送られる場合に、送り方向長さとも呼ぶ)Lを長くすることができる。 Therefore, the IC chips 26 can be arranged at a short pitch along the longitudinal direction of the
ここで、ICタグ20の長手方向長さLとは、ICタグ20の長手方向における両端部間の長手方向に沿った離間距離を意味する。 Here, the length L in the longitudinal direction of the
なお、上述したICタグ付シート10およびICタグ20の構成は本発明の単なる例示であり、これに限定されるものではない。したがって、剥離シート14上における非導電体シート22、拡大電極24およびICチップ26の積層順の変更、または、ICチップ26を保護するための保護層等、さらに別の層を設けるような変更が可能である。 The configurations of the IC tag-attached
次に、図4により、このような構成からなるICタグ付シート10の製造方法について説明する。 Next, a manufacturing method of the IC tag-attached
図4において、左側から右側へ工程が進んでいく。 In FIG. 4, the process proceeds from the left side to the right side.
図4に示すように、まず、帯状に延びる非導電体シート22が供給されてローラー52に送られるとともに、非導電体シート22に沿って帯状に延びる導電体23が供給されてローラー52へと送られる。この間、非導電体シート22と導電体23との間に図示しない加圧接着タイプの接着材料が塗布される。その後、非導電体シート22と導電体23とがローラー52によって圧着されることにより、非導電体シート22と導電体23とが互いに接着固定され、導電体23が非導電体シート22上に積層される。 As shown in FIG. 4, first, the
次に、導電体23が、送り方向に沿って幅方向の中央をカッター54により切断される。これにより、幅方向中央に送り方向に沿ったスリット12が導電体23に設けられ、導電体23は一対に分断される。この場合、導電体23は、スリット12の幅がICチップ26の電極26a,26a間の距離より小さくなるように分断される。また、図2に示すように、カッター54による切断はいわゆるハーフカットであり、導電体23と非導電体シート22との全厚みを切り込むのではなく、導電体23のみが分断され、非導電体シート22は多少切り込まれるが分断されない。 Next, the
次に、図4に示すように、ディスペンサまたはスクリーン印刷機等から構成される接着材料供給装置56により、異方性導電性接着剤あるいは被導電性接着剤等の接着材料28が供給される。その後、図4に示すように、接着材料28を塗布された部分に、一対の電極26a,26aを有するICチップ26が順次実装される。この場合、ICチップ26は、その各電極26a,26aがそれぞれ異なる導電体23に対面するように位置決めされた後、導電体23上に配置される。 Next, as shown in FIG. 4, an
次に、固定装置58により、導電体23上に配置されたICチップ26が導電体23上に固定されるとともに、ICチップ26の各電極26a,26aと一対に分断された導電体23,23とが電気的に接続される。固定装置58は、用いられる接着材料28の種類に応じて、圧着機、あるいは熱圧着機、あるいは超音波接合機等から構成される。 Next, the
その後、剥離シート14が非導電体シート22の導電体23に対面しない面側に送り込まれる。この間、剥離シート14と非導電体シート22との間に図示しない加圧接着タイプの接着材料が塗布される。その後、非導電体シート22と導電体23とがローラー60によって圧着されることにより、剥離シート14と非導電体シート22とは互いに接着され、剥離シート14が非導電体シート22に積層される。 Thereafter, the
この場合、図4に示すように、ローラー60はICチップ26に対応する部分に環状の凹部62を有していることが好ましい。ICチップ26がローラー60間を通過する際にこの凹部62内を通ることにより、ICチップ26がローラー60によって加圧されて破損してしまうことを防止することができる。 In this case, as shown in FIG. 4, the
なお、この接着材料により、上述した接着層18が形成される。 Note that the
次に、打ち抜き機やカッター等から構成されるICタグ形成装置64により、非導電体シート22と導電体23とがICチップ26毎に順次ハーフカットされる。すなわち、ICタグ形成装置64により切り込み11が形成され、この切り込み11は、非導電体シート22と導電体23と接着層18とを貫通するとともに、剥離シート14を貫通しない程度に剥離シート14まで入り込む(図2)。これにより、非導電体シート22と、導電体23から形成された一対の拡大電極24,24と、拡大電極24に接続されたICチップ26とを有するICタグ20が、ICタグ20の形状に対応する外形を有する接着層18により接着された状態で、帯状に延びる1枚の剥離シート14上に順次長手方向に沿って形成される。 Next, the
なお、本実施の形態において、ICタグ形成装置64は上述したV字状のICタグ20を形成するが、例えば、打ち抜き刃の形状を変更することにより、様々な形状のICタグを剥離シート14上に形成することができる。 In this embodiment, the IC
その後、ICタグ20に対応する部分が抜き取られた非導電体シート22と導電体23と接着層18とからなるカス38がICタグ付シート10から分離されて回収される。 Thereafter, the
このようにして、上述したICタグ付シート10を製造することができる。 In this manner, the IC tag-attached
この場合、ICチップ26を高密度で配置することができれば、1個あたりのICタグ20にかかる材料費を抑制することができる。 In this case, if the IC chips 26 can be arranged at a high density, the material cost for each
また、帯状に延びる非導電体シート22および剥離シート14を一方向、すなわち、その長手方向に送りながらすべての加工が施され、ICタグ付シート10が製造される。したがって、ICチップ26をICタグ付シート10の長手方向(製造時における送り方向)に沿って短ピッチで配置することができれば、1個あたりのICタグ20を実装するためのICタグ付シート10の移動量が少なくなる。このため、ICタグ20をより短時間で製造していくことができるとともに、位置ずれの発生要因が減少することによってICタグ20の良品率(ICタグ20の歩留まり)を向上させることができる。これにより、1個あたりのICタグ20の材料費を抑制することができるだけでなく、生産効率の飛躍的な向上によるICタグ20の製造コスト削減を期待することができる。 In addition, the
なお、上述したICタグ付シート10の製造方法は単なる例示であり、様々な変更を加えることが可能である。例えば、非導電体シート22に帯状に延びる1枚の導電体23を加圧圧着して積層し、その後、導電体23を一対に分断することにより、非導電体シート22上に一対の導電体23,23を形成する例を示したが、これに限られず、予め分断された一対の帯状に延びる導電体23,23を非導電体シート22に積層するように変更してもよい。あるいは、エッチング、導電性インキの印刷、箔の転写または打ち抜き等によって非導電体シート22上に導電体23を設けてもよい。この場合、非導電体シート22上に設けられるとともに、幅方向に離間して対をなし非導電体シート22の長手方向に沿って配置された多数対の導電体23を非導電体シート22上に設けてもよく、このような導電体23からICタグ10の拡大電極24を形成することもできる。 In addition, the manufacturing method of the sheet |
また、上述したように、図4に示すICタグ付シート10およびICタグ20の構成は単なる例示であり、これに限定されるものではない。したがって、剥離シート14を非導電体シート22に積層した後、ICチップ26を保護するための保護層等をさらに設けてもよい。この場合、ICタグ形成装置64によって形成される切り込み11が保護層を貫通するようにし、ICタグ20に対応する部分が抜き取られた保護層をカス38として回収するようにすることが好ましい。また、剥離シート14を非導電体シート22上の導電体23に対面する側に積層してもよい。この場合、ICタグ形成装置64によるハーフカットは非導電体シート22側、すなわち図4における下側から実施される。 Further, as described above, the configurations of the IC tag-attached
次に、図5乃至図10により、ナイフエッジ70を用いて、図1に示すICタグ付シート10から被搭載体40へICタグ20を実装する場合の作用について、剥離シート14の幅方向に沿って延びる長方形状からなるICタグ31a,31bを配置された従来式のICタグ付シート30a,30bと比較しながら説明する。 Next, referring to FIGS. 5 to 10, the operation when the
なお、図6および図7は従来式のICタグ付シートを示す平面図であり、図6は図1に示すICタグ付シート10と同一の配置ピッチでICチップ26が配置されたICタグ付シート30aを示し、図7は図1に示すICタグ付シート10におけるICタグ20と長手方向(ナイフエッジ70への送り方向)における長手方向長さ(送り方向長さ)L,L2が同一な長方形状ICタグ31bを配置されたICタグ付シート30bを示す。 6 and 7 are plan views showing a conventional sheet with an IC tag. FIG. 6 shows an IC tag with
また、図5はナイフエッジ70を示す斜視図であり、図8乃至図10は図1、図6および図7に示されるICタグ付シート10,30a,30bをナイフエッジ70にそれぞれ送り込んだ場合を示す側面図である。 5 is a perspective view showing the
ここで、ICタグ20,31a,31bを実装される被搭載体40とは、例えば、断裁されてカードを構成するプラスチックシートや断裁されて包装袋を構成するビニルシート等である。 Here, the mounted
また、上述したように、ICタグ20,31a,31bがインターポーザーとして用いられる場合もある。この場合の被搭載体40は、図3に示すような、第2非導電体シート42と、第2非導電体シート42上に配置され、異なる拡大電極24,24がそれぞれ電気的に接続される一対の接点44a,44aを有した複数のアンテナ回路44と、からなるアンテナ形成済シート41とすることもできる。 Further, as described above, the IC tags 20, 31a, 31b may be used as an interposer. The mounted
図5に示すように、ナイフエッジ70は鋭角上に突出した先端部72と、先端部72へICタグ付シート10,30a,30bを案内する側面74と、を備えている。このようなナイフエッジ70は、先端部72で剥離シート14を折り返すことによって、剥離シート14から接着層18とともにICタグ20,31a,31bを、すなわち、所謂シール状となっているICタグ20,31a,31bを剥がす。そして、シール状のICタグ20,31a,31bはナイフエッジ70の先端部72から突出し、ナイフエッジ70の先端部72に向けて送り込まれる被搭載体40上に接着層18を介して実装(転載)される。 As shown in FIG. 5, the
このような実装方法は単純かつ簡単であり実装効率が良く、また、実装装置の製造コストおよびメンテナンスコストを安価に抑えることができるという利点を有している。 Such a mounting method is simple and simple, has high mounting efficiency, and has the advantage that the manufacturing cost and maintenance cost of the mounting apparatus can be kept low.
また、ナイフエッジ70の先端部72には、ICチップ26を割る等して破損してしまうことを防止するため、局部的な丸みが設けられている。したがって、剥離シート14の幅方向に沿って細長く延びる長方形状のICタグ31aを有するICタグ付シート30aにおいて、ICタグ31aの送り方向長さ(長手方向長さ)L1をICチップ26の幅と同程度まで短くすると、ナイフエッジ70の先端部72に送り込まれたICタグ31aは、剥離シート14から剥がれてナイフエッジ70の先端部72から大きく突出することができない。その結果、図9に示すように、被搭載体40に実装(転載)されることなく、剥離シート14に接着されたままナイフエッジ70の先端部72周りを送られていく。 Further, the
次に、図1に示す本実施の形態によるICタグ付シート10をICタグ20の先細部分7が前方側となるように、すなわち、図1における左側が前方となるようにしてナイフエッジ70の先端部72に送り込んだ場合について説明する。 Next, in the
本実施の形態によるICタグ付シート10上のICタグ20はV字状からなる。そして、上述したように、ICタグ20はV字状の頂点部分が隣接するICタグ20のV字状の谷部分に入り込むようにして剥離シート14上に配置されている。したがって、ICタグ付シート10上にICチップ26を短ピッチで配置しながら、剥離シート14の長手方向、すなわち、ICタグ付シート10のナイフエッジ70への送り方向に沿った各ICタグ20の送り方向長さ(長手方向長さ)Lを長くすることができる。 The
図1に示す本実施の形態によるICタグ付シート10上のICチップ26は、上述したように、図6に示すICタグ付シート30aにおけるICチップ26の配置ピッチと同ピッチで配置され、また、図1に示すICタグの平面視における面積を、図6に示すICタグ31aの面積と同一にすることもできる。その一方で、図1に示すICタグ20の送り方向長さLは図6に示すICタグ31aの送り方向長さL1の2倍となっており、また、それ以上にすることも可能である。したがって、図1に示すICタグ20をナイフエッジ70の先端部72に送り込むと、ICタグ20は剥離シート14から確実に剥がれ、かつ、先端部72から大きく突出する。これにより、図8に示すように、ICタグ20を被搭載体40に確実に実装(転載)することができる。 As described above, the
すなわち、本実施の形態によるICタグ付シート10は1個あたりのICタグ20の製造コストを上昇させることなく、これまで適用することができなかった小型化されたICタグ20への、ナイフエッジ70を用いた実装方法の適用を可能とすることができる。 That is, the
なお、このとき、ICタグ20のナイフエッジ70の先端部72からの突出長さは、図8に示す、送り方向長さL2が同一であるとともに面積が2倍であるICタグ31bが配置されたICタグ付シート30bをナイフエッジ70の先端部72に送り込んだ場合(図10)のICタグ31bの突出長さと同程度までに近づけることができる。 At this time, the protruding length of the
また、同様にこのとき、本実施の形態によるICタグ付シート10のICタグ20は、長手方向端部に先細部分7を有している。この先細部分7は、ICタグ20が剥離シート14から剥がれる際に基点となり得る。これにより、この先細部分7を前方側としてICタグ付シート10を送り込むと、剥離シート14がナイフエッジ70の先端部72で折り返される際に、ICタグ20は剥離シート14から容易に剥離される。したがって、ICタグ20が剥離シート14から剥離されず、剥離シート14に接着されたまま先端部72の周りを送られていくことはない。 Similarly, at this time, the
なお、ICタグ20の先細部分7の角度は、上述したように、90°から170°の範囲であることが非常に好ましい。この範囲にある場合、先細部分7が一定の剛性を有しており、剥離シート14からより剥がれやすいからである。 The angle of the tapered
ところで、これまでICタグ付シート10のICタグ20の先細部分7が前方側となるようにICタグ付シート10をナイフエッジ70に送り込む例を示してきたが、これに限られず、ICタグ70の先細部分7が後方側となるようにして、すなわち、図1において右側を前方側としてICタグ付シート10をナイフエッジ70に送り込んでもよい。この場合、ICタグ20が剥離シート14から剥離された際の突出長さに変化はない。そして、ICタグ20の送り方向先端部は、図1に示すように、次第に先細りしていく一対の先細部分8,8から形成される。このため、図1における左側を前方側として送り込んだ場合と同様に、ICタグ20は剥離シート14から剥がれやすく、また、剥がれたICタグ20は剥離シート14から大きく突出する。 By the way, although the example which sends the sheet |
以上のように本実施の形態によるICタグ付シート10によれば、ICタグ20が先細部分7を有しているので剥離シート14からICタグ20が剥がれやすい。また、隣接するICタグ20同士が長手方向において重複部分16を有するように配置されており、ICタグ20のシートに沿った長手方向長さLが長くなっているので、ICタグ20は剥離シート14から剥がされた場合に剥離シート14から大きく突出する。これらにより、ICタグ付シート10上においてICタグ20のICチップ26は高密度で配置され、かつ、ナイフエッジ70を用いることによってICタグ付シート10上のICタグ20を被搭載体40上に確実に実装することができる。 As described above, according to the IC tag-attached
また、言い換えれば、ナイフエッジ70による実装方法を用いるICタグ付シート10において、ICタグ20の平面視における面積を小さくすることができるとともに、ICチップ26を短ピッチで配置することができる。さらに言い換えれば、小型のICタグ20が短ピッチで配置されたICタグ付シート10に対して、ナイフエッジ70を用いた実装方法を適用することが可能となる。 In other words, in the IC tag-attached
これにより、1個あたりのICタグ20にかかる材料費を減少させることができるとともに、ICタグ付シート10の生産効率を向上させることによってもICタグ付シート10の製造原価を減少させることができる。また、ICチップ26の小型化に対応し、ICタグ20をさらに小型化することができる。 As a result, the material cost for each
さらに、このようなICタグ付シート10上においてICチップ26が短ピッチで配置されていることから、ナイフエッジ70を用いてICタグ付シート10からICタグ20を実装する際においても、ICタグ20を1個実装するためにICタグ付シート10を送り込む量は少なくなる。このため、ICタグ20をより短時間で実装していくことができるとともに、位置ずれの発生要因が減少し実装歩留まりを向上させることができる。これにより、本実施の形態によるICタグ付シート10を用いた場合、ICタグ20の実装コストを削減することもできる。 Further, since the IC chips 26 are arranged at a short pitch on the IC tag-attached
なお、本実施の形態において、ICタグ付シート上のICタグがV字状からなる例を示したが、これに限られない。図11乃至図13に示すようにICタグ付シート上におけるICタグの形状を変更してもよい。 In the present embodiment, an example in which the IC tag on the IC-tagged sheet is V-shaped has been shown, but the present invention is not limited to this. The shape of the IC tag on the IC tag-attached sheet may be changed as shown in FIGS.
なお、図11乃至図13により示されるICタグ付シート10a,10b,10cは、上述してきたICタグ付シート10とICタグの形状が異なるだけであり、他の構成は略同一である。図11乃至図13において、上述してきたICタグ付シート10と同一部分には同一符号を付すとともに詳細な説明は省略する。 Note that the IC tag-attached
図11に示すICタグ付シート10aのICタグ20aは平面視において略平行四辺形状に形成された平行四辺形状からなり、ICタグ20aの外縁を形成する一対の辺が剥離シート14の長手方向と平行となるように剥離シート14上に配置されている。 The
図12に示すICタグ付シート10bのICタグ20bは平面視において略長方形状に形成された長方形状からなり、ICタグ20bの外縁を形成するいずれの辺も剥離シート14の長手方向と平行とならないよう、すなわち、剥離シート14に対して斜めに配置されている。 The
図11および図12に示すICタグ付シート10a,10bにおいて、いずれも、ICタグ20a,20bは剥離シート14の長手方向における端部に先細部分7a,7bを有し、また、隣接するICタグ20a,20bが剥離シート14の長手方向において重複部分16a,16bを有して互いに重複するように配置されている。 In the IC tag-attached
したがって、これら図10および図11に示すICタグ付シート10a,10bをナイフエッジ70に送り込んだ場合、上述したV字状のICタグ20を配置されたICタグ付シート10(図1)と同様の作用効果を奏することができる。 Therefore, when the IC tag-attached
一方、図13に示すICタグ付シート10cのICタグ20cは剥離シート14の幅方向に沿って延び、さらにその両端部において長手方向に沿ってそれぞれ逆向きに延びる形状となっている。そして、剥離シート14上で隣接するICタグ20cは、剥離シート14の長手方向において重複部分16cを有して互いに重複するように配置されている。このため、ICタグ付シート10c上においてICチップ26を高密度に配置することができ、1個あたりのICタグ20cに要する材料費を削減することができる。 On the other hand, the
また、本変形例においては、ICタグ20cが剥離シート14の長手方向に沿って延びている。すなわち、ICタグ20c自体の長手方向が剥離シートの長手歩行に一致するように、ICタグ20cが配置されている。したがって、ナイフエッジ70の先端部72に送り込まれて剥離シート14から剥がされたICタグ20cは、ナイフエッジ70の先端部72から極めて大きく突出する。これにより、ICタグ付シート10から被搭載体40へICタグ20cをより確実に実装することができるだけなく、1個あたりのICタグ20cの大きさをさらに小型化することもできる。そして、ICタグ20cの大きさを小型化すると、ICタグ付シート10c上における長手方向に沿ったICチップ26の配置ピッチを短くすることができる。また、ICタグ20cは剥離シート14の長手方向に沿って延びていることから、剥離シート14の幅方向長さは短い。これらのことから、ICタグ付シート10c上においてICチップ26を短ピッチかつ高密度に配置することができる。この結果、1個あたりのICタグ20cに要する材料費が大幅に削減されるだけでなく、ICタグ付シートの生産効率が向上することによってもICタグをさらに安価に製造することができる。 Further, in this modification, the
また、図13に示されるICタグ付シート10cのICタグ20cについて、ナイフエッジ70への送り方向先端部に次第に先細りする先細部分を設けることも可能である。これにより、上述したように、ナイフエッジ70を用いた場合に剥離シート14からICタグ20cを容易に剥がすことができる。 In addition, with respect to the
なお、図11乃至図13に示すICタグ付シート10a,10b,10cは、上述したICタグ形成装置64の刃の形状を変更することにより、図4を用いて説明したICタグ付シート10の製造方法と同様の方法で製造することができる。 The IC tag-attached
7,7a,7b 先細部分
8 先細部分
10,10a,10b,10c ICタグ付シート
14 剥離シート
16,16a,16b,16c 重複部分
18 接着層
20,20a,20b,20c ICタグ
22 非導電体シート
24 拡大電極
26 ICチップ
40 被搭載体
41 アンテナ形成済シート
L,L1,L2,L3 長手方向長さ(送り方向長さ)7, 7a, 7b
| Application Number | Priority Date | Filing Date | Title |
|---|---|---|---|
| JP2004284116AJP4743583B2 (en) | 2004-09-29 | 2004-09-29 | Sheet with IC tag |
| PCT/JP2005/016957WO2006035606A1 (en) | 2004-09-29 | 2005-09-14 | Sheet with ic tag |
| TW094132894ATW200634649A (en) | 2004-09-29 | 2005-09-22 | Sheet with IC tag |
| Application Number | Priority Date | Filing Date | Title |
|---|---|---|---|
| JP2004284116AJP4743583B2 (en) | 2004-09-29 | 2004-09-29 | Sheet with IC tag |
| Publication Number | Publication Date |
|---|---|
| JP2006099375Atrue JP2006099375A (en) | 2006-04-13 |
| JP4743583B2 JP4743583B2 (en) | 2011-08-10 |
| Application Number | Title | Priority Date | Filing Date |
|---|---|---|---|
| JP2004284116AExpired - Fee RelatedJP4743583B2 (en) | 2004-09-29 | 2004-09-29 | Sheet with IC tag |
| Country | Link |
|---|---|
| JP (1) | JP4743583B2 (en) |
| TW (1) | TW200634649A (en) |
| WO (1) | WO2006035606A1 (en) |
| Publication number | Priority date | Publication date | Assignee | Title |
|---|---|---|---|---|
| JP2009176170A (en)* | 2008-01-25 | 2009-08-06 | Murata Mfg Co Ltd | Method for manufacturing radio ic device |
| JP2013168577A (en)* | 2012-02-16 | 2013-08-29 | Elpida Memory Inc | Manufacturing method of semiconductor device |
| Publication number | Priority date | Publication date | Assignee | Title |
|---|---|---|---|---|
| US7646304B2 (en)* | 2006-04-10 | 2010-01-12 | Checkpoint Systems, Inc. | Transfer tape strap process |
| Publication number | Priority date | Publication date | Assignee | Title |
|---|---|---|---|---|
| JPH04311443A (en)* | 1991-03-29 | 1992-11-04 | Kawasaki Steel Corp | Tape with adhesive sheet piece and method of peeling adhesive sheet piece |
| JPH07271938A (en)* | 1994-03-29 | 1995-10-20 | Sony Corp | Information card |
| JPH11272831A (en)* | 1998-03-19 | 1999-10-08 | Toshiba Corp | IC card manufacturing method and IC card |
| JP2000200328A (en)* | 1998-10-01 | 2000-07-18 | Hitachi Maxell Ltd | Semiconductor device |
| JP2002187223A (en)* | 2000-12-22 | 2002-07-02 | Sato Corp | Method of manufacturing temporary inlet band of IC inlet and method of manufacturing display tag with built-in IC |
| JP2002373323A (en)* | 2001-06-18 | 2002-12-26 | Dainippon Printing Co Ltd | Card-integrated foam with non-contact IC chip |
| JP2003030615A (en)* | 2001-07-16 | 2003-01-31 | Oji Paper Co Ltd | Tag |
| WO2003105063A2 (en)* | 2002-01-18 | 2003-12-18 | Avery Dennison Corporation | Cross-reference |
| JP2004231274A (en)* | 2003-01-31 | 2004-08-19 | Sato Corp | Peeling device |
| Publication number | Priority date | Publication date | Assignee | Title |
|---|---|---|---|---|
| JP2003022426A (en)* | 2001-07-06 | 2003-01-24 | Oji Paper Co Ltd | Information storage medium |
| JP4694115B2 (en)* | 2003-08-14 | 2011-06-08 | 大日本印刷株式会社 | Manufacturing method of sheet with non-contact IC tag |
| Publication number | Priority date | Publication date | Assignee | Title |
|---|---|---|---|---|
| JPH04311443A (en)* | 1991-03-29 | 1992-11-04 | Kawasaki Steel Corp | Tape with adhesive sheet piece and method of peeling adhesive sheet piece |
| JPH07271938A (en)* | 1994-03-29 | 1995-10-20 | Sony Corp | Information card |
| JPH11272831A (en)* | 1998-03-19 | 1999-10-08 | Toshiba Corp | IC card manufacturing method and IC card |
| JP2000200328A (en)* | 1998-10-01 | 2000-07-18 | Hitachi Maxell Ltd | Semiconductor device |
| JP2002187223A (en)* | 2000-12-22 | 2002-07-02 | Sato Corp | Method of manufacturing temporary inlet band of IC inlet and method of manufacturing display tag with built-in IC |
| JP2002373323A (en)* | 2001-06-18 | 2002-12-26 | Dainippon Printing Co Ltd | Card-integrated foam with non-contact IC chip |
| JP2003030615A (en)* | 2001-07-16 | 2003-01-31 | Oji Paper Co Ltd | Tag |
| WO2003105063A2 (en)* | 2002-01-18 | 2003-12-18 | Avery Dennison Corporation | Cross-reference |
| JP2005520266A (en)* | 2002-01-18 | 2005-07-07 | エーブリー デニソン コーポレイション | Method for manufacturing an RFID label |
| JP2004231274A (en)* | 2003-01-31 | 2004-08-19 | Sato Corp | Peeling device |
| Publication number | Priority date | Publication date | Assignee | Title |
|---|---|---|---|---|
| JP2009176170A (en)* | 2008-01-25 | 2009-08-06 | Murata Mfg Co Ltd | Method for manufacturing radio ic device |
| JP2013168577A (en)* | 2012-02-16 | 2013-08-29 | Elpida Memory Inc | Manufacturing method of semiconductor device |
| Publication number | Publication date |
|---|---|
| JP4743583B2 (en) | 2011-08-10 |
| WO2006035606A1 (en) | 2006-04-06 |
| TW200634649A (en) | 2006-10-01 |
| TWI360079B (en) | 2012-03-11 |
| Publication | Publication Date | Title |
|---|---|---|
| JP7353985B2 (en) | Circuit patterns, RFID inlays, RFID labels and RFID media | |
| KR101054207B1 (en) | Printing press for sheets with RFID threads, RFID threads and sheets with RFID threads | |
| US12005670B2 (en) | RFID tag manufacturing system | |
| JP4743583B2 (en) | Sheet with IC tag | |
| JP2008084160A (en) | IC card manufacturing method and IC card manufacturing apparatus | |
| JP4610279B2 (en) | IC tag mounting method, IC tag mounting apparatus, and IC tag mounted sheet manufacturing method | |
| JP4694115B2 (en) | Manufacturing method of sheet with non-contact IC tag | |
| JP4637499B2 (en) | Sheet wound with interposer and IC tag | |
| CN109074507B (en) | Carrier tape, method for manufacturing carrier tape, and method for manufacturing RFID tag | |
| JP5376321B2 (en) | IC tag and method of manufacturing IC tag | |
| JP2007310482A (en) | IC card, IC card manufacturing method, IC card manufacturing device, IC card base material manufacturing method, and IC card base material manufacturing device | |
| JP4467352B2 (en) | IC tag, interposer, winding body of sheet with conductor used for IC tag, winding body of sheet with interposer, and method of manufacturing IC tag | |
| JP5167619B2 (en) | A method and apparatus for manufacturing a conductive sheet for a non-contact type data carrier, and an apparatus for manufacturing a sheet with an IC tag. | |
| JP4910344B2 (en) | Non-contact type IC tag and manufacturing method thereof | |
| JP4629535B2 (en) | Non-contact data carrier member manufacturing method and mold | |
| JP2006099377A (en) | IC tag peeling method, IC tag peeling device, IC tag mounted sheet manufacturing method, peeled material peeling method, and peeled material peeling device | |
| JP7475914B2 (en) | RFID label and method for manufacturing the same | |
| JP4857646B2 (en) | IC tag pressure-sensitive adhesive body, release sheet with IC tag pressure-sensitive adhesive body, material for release sheet with IC tag pressure-sensitive adhesive body, wound body of material for IC tag pressure-sensitive adhesive body, method for producing release sheet with IC tag pressure-sensitive adhesive body, peeling with IC tag pressure-sensitive adhesive body Manufacturing method of sheet material, manufacturing method of wound body of IC tag adhesive body material, interposer adhesive body, release sheet with interposer adhesive body, release sheet material with interposer adhesive body, wound body of interposer adhesive body material, interposer Method for producing release sheet with adhesive, method for producing release sheet material with interposer adhesive, and method for producing roll of interposer adhesive material | |
| JP6206626B1 (en) | Carrier tape, method for manufacturing the same, and method for manufacturing RFID tag | |
| JP2007164229A (en) | Sheet with interposer, method for producing non-contact communication medium, and non-contact communication medium | |
| JP2005346695A (en) | Non-contact type data carrier conductive member and method and apparatus for manufacturing the same | |
| JP4150312B2 (en) | Manufacturing method of sheet with non-contact IC tag | |
| JP2005085223A (en) | Manufacturing method of sheet with non-contact IC tag | |
| JP2008084062A (en) | Non-contact type data carrier conductive member, method and apparatus for manufacturing the same, and non-contact type data carrier | |
| JP2005215741A (en) | Manufacturing method of sheet with non-contact IC tag |
| Date | Code | Title | Description |
|---|---|---|---|
| A621 | Written request for application examination | Free format text:JAPANESE INTERMEDIATE CODE: A621 Effective date:20070828 | |
| A131 | Notification of reasons for refusal | Free format text:JAPANESE INTERMEDIATE CODE: A131 Effective date:20100625 | |
| A521 | Request for written amendment filed | Free format text:JAPANESE INTERMEDIATE CODE: A523 Effective date:20100816 | |
| A131 | Notification of reasons for refusal | Free format text:JAPANESE INTERMEDIATE CODE: A131 Effective date:20100903 | |
| A521 | Request for written amendment filed | Free format text:JAPANESE INTERMEDIATE CODE: A523 Effective date:20101029 | |
| A131 | Notification of reasons for refusal | Free format text:JAPANESE INTERMEDIATE CODE: A131 Effective date:20101217 | |
| A521 | Request for written amendment filed | Free format text:JAPANESE INTERMEDIATE CODE: A523 Effective date:20110215 | |
| A01 | Written decision to grant a patent or to grant a registration (utility model) | Free format text:JAPANESE INTERMEDIATE CODE: A01 Effective date:20110415 | |
| A01 | Written decision to grant a patent or to grant a registration (utility model) | Free format text:JAPANESE INTERMEDIATE CODE: A01 | |
| A61 | First payment of annual fees (during grant procedure) | Free format text:JAPANESE INTERMEDIATE CODE: A61 Effective date:20110428 | |
| FPAY | Renewal fee payment (event date is renewal date of database) | Free format text:PAYMENT UNTIL: 20140520 Year of fee payment:3 | |
| R150 | Certificate of patent or registration of utility model | Free format text:JAPANESE INTERMEDIATE CODE: R150 | |
| LAPS | Cancellation because of no payment of annual fees |