






本発明は、マイクロ波やミリ波を使ったレーダーや通信に用いる高周波モジュールに関するもので、アンテナコストとアンテナとの接続にかかるコストを削減できる高周波モジュールに関するものである。 The present invention relates to a high-frequency module used for radar and communication using microwaves and millimeter waves, and relates to a high-frequency module that can reduce the antenna cost and the cost required to connect the antenna.
マイクロ波やミリ波を使ったレーダーや通信に用いる高周波モジュールは、システムに必要な利得をもつパラボラアンテナや平面アレイアンテナと接続されて送受信装置になる。たとえば車間レーダーの場合、気密に封止された高周波素子を接続して高周波モジュールを構成し、この高周波モジュールと別途用意したアンテナとを導波管で接続してレーダー装置にする場合がある。この場合、レーダー装置を構成するために別途アンテナが必要になり、装置コストが上がる要因になる。 A high-frequency module used for radar or communication using microwaves or millimeter waves is connected to a parabolic antenna or a planar array antenna having a gain necessary for the system to become a transmission / reception device. For example, in the case of an inter-vehicle radar, a high-frequency module may be configured by connecting hermetically sealed high-frequency elements, and the high-frequency module and a separately prepared antenna may be connected by a waveguide to form a radar device. In this case, a separate antenna is required to configure the radar apparatus, which increases the apparatus cost.
この問題を解決するために高周波基板の裏面にアンテナを構成し、高周波基板とアンテナを一体化すれば、別途アンテナを用意する必要がなくかつ高周波モジュールとアンテナを組立てで接続する必要がなくなるので、アンテナコストと、高周波モジュールとアンテナとの接続にかかるコストを削減することができる。
しかしながら、車間レーダーの場合、自動車前方の先行車や障害物の位置を精度よく検知するにはレーダー装置から送信されるレーダービームを細く絞る必要があり、そのためには開口面積が大きなアンテナが必要になる。開口面積が大きなアンテナを高周波基板の裏面に構成するには、パッチ等のアンテナ素子をアレイ状に並べる必要があり、高周波基板にアレイ状のアンテナ素子を作製したり、各アンテナ素子と電気的な接続を行なうための配線導体を引き回したりするのに非常に工程が多くなる。この場合、別途アンテナを用意する必要はないが、高周波基板のコストが上昇して装置トータルとしてのコストが下がらないという問題があった。 However, in the case of inter-vehicle radar, it is necessary to narrow down the radar beam transmitted from the radar device in order to accurately detect the position of the preceding vehicle and obstacles in front of the automobile, which requires an antenna with a large aperture area. Become. In order to configure an antenna with a large opening area on the back surface of the high-frequency substrate, it is necessary to arrange antenna elements such as patches in an array. For example, the number of processes is very large for routing the wiring conductors for connection. In this case, it is not necessary to prepare a separate antenna, but there is a problem that the cost of the high-frequency substrate is increased and the cost of the apparatus as a whole is not reduced.
従って、本発明は、マイクロ波やミリ波を使ったレーダーや通信に用いる高周波モジュールにおいて、レーダー装置や通信装置を構成する際に、アンテナコストと、アンテナとの接続にかかるコストを削減できる高周波モジュールを提供することにある。 Therefore, the present invention provides a high-frequency module that can reduce the antenna cost and the cost for connecting to the antenna when configuring a radar device or a communication device in a high-frequency module used for radar or communication using microwaves or millimeter waves. Is to provide.
本発明の高周波モジュールは、誘電体基板の上面に形成された高周波線路と、前記誘電体基板の下面の前記高周波線路の一端部の直下の部位に形成された枠状の接続電極と、貫通孔の内面に導体層が形成されて成るとともに該導体層の上端が前記接続電極に全周にわたって電気的に接続された導波管部を有する配線基板と、前記高周波線路を伝送する伝送モードを前記導波管部を伝送する導波管モードに変換するための変換部とを具備していることを特徴とする。 The high-frequency module of the present invention includes a high-frequency line formed on the upper surface of the dielectric substrate, a frame-shaped connection electrode formed in a portion immediately below one end of the high-frequency line on the lower surface of the dielectric substrate, and a through hole A wiring board having a waveguide portion having a conductor layer formed on the inner surface thereof and having an upper end of the conductor layer electrically connected to the connection electrode over the entire circumference; and a transmission mode for transmitting the high-frequency line. And a conversion unit for converting into a waveguide mode for transmitting through the waveguide unit.
本発明の高周波モジュールにおいて、好ましくは、前記高周波線路は、線路導体および該線路導体の一端部を取り囲むように形成された同一面接地導体から成ることを特徴とする。 In the high-frequency module according to the present invention, preferably, the high-frequency line includes a line conductor and a coplanar ground conductor formed so as to surround one end portion of the line conductor.
本発明の高周波モジュールにおいて、好ましくは、前記導波管部は、下側に向かうに伴って内寸法が漸次大きくなっていることを特徴とする。 In the high-frequency module of the present invention, it is preferable that the waveguide section has an inner dimension that gradually increases as it goes downward.
本発明の高周波モジュールにおいて、好ましくは、前記貫通孔は、前記配線基板を成す積層された複数の誘電体層にそれぞれ形成された貫通穴が重なることによって形成されており、複数の前記貫通穴は、それらの内寸法が下側の前記誘電体層に向かうに伴って漸次大きくなっていることを特徴とする。 In the high-frequency module according to the aspect of the invention, it is preferable that the through hole is formed by overlapping through holes formed in a plurality of laminated dielectric layers forming the wiring board, and the plurality of through holes are The inner dimensions of the dielectric layer are gradually increased toward the lower dielectric layer.
本発明の高周波モジュールにおいて、好ましくは、前記貫通孔は、内面に樹脂層が被着されることによって滑らかな面とされていることを特徴とする。 In the high-frequency module of the present invention, it is preferable that the through hole is a smooth surface by applying a resin layer on the inner surface.
本発明の高周波モジュールにおいて、好ましくは、前記貫通孔は、レーザ光の照射によって形成されていることを特徴とする。 In the high-frequency module of the present invention, preferably, the through hole is formed by laser light irradiation.
本発明の高周波モジュールにおいて、好ましくは、前記貫通孔は、砥粒の噴射によって形成されていることを特徴とする。 In the high-frequency module of the present invention, preferably, the through hole is formed by injection of abrasive grains.
本発明の高周波モジュールにおいて、好ましくは、前記配線基板の下側に、前記導波管部と連通した貫通孔から成る金属導波管部を有する金属板が設けられていることを特徴とする。 The high-frequency module according to the present invention is preferably characterized in that a metal plate having a metal waveguide portion formed of a through hole communicating with the waveguide portion is provided below the wiring board.
本発明の高周波モジュールにおいて、好ましくは、前記金属導波管部は、下側に向かうに伴って内寸法が漸次大きくなっていることを特徴とする。 In the high-frequency module according to the present invention, preferably, the metal waveguide portion has an inner dimension that gradually increases toward the lower side.
本発明の高周波モジュールは、誘電体基板の上面に形成された高周波線路と、誘電体基板の下面の高周波線路の一端部の直下の部位に形成された枠状の接続電極と、貫通孔の内面に導体層が形成されて成るとともに導体層の上端が接続電極に全周にわたって電気的に接続された導波管部を有する配線基板と、高周波線路を伝送する伝送モードを導波管部を伝送する導波管モードに変換するための変換部とを具備していることから、導波管部をアンテナとして機能させることができ、レーダー装置や通信装置を構成する際に別途アンテナを準備する必要がないとともに、誘電体基板にアレイ状のアンテナ素子を作製したり、各アンテナ素子と電気的な接続を行なうための配線導体を引き回したりする必要もなく、アンテナコストと、アンテナとの接続にかかるコストとを削減することができる。 The high-frequency module of the present invention includes a high-frequency line formed on the upper surface of the dielectric substrate, a frame-shaped connection electrode formed in a portion immediately below one end of the high-frequency line on the lower surface of the dielectric substrate, and the inner surface of the through hole A conductor substrate is formed on the wiring board having a waveguide portion in which the upper end of the conductor layer is electrically connected to the connection electrode over the entire circumference, and a transmission mode for transmitting a high-frequency line is transmitted through the waveguide portion. Since the conversion unit for converting to the waveguide mode is provided, the waveguide unit can function as an antenna, and it is necessary to prepare a separate antenna when configuring a radar device or a communication device. In addition, there is no need to fabricate an array-like antenna element on a dielectric substrate or to route a wiring conductor for electrical connection with each antenna element. It is possible to reduce the cost of connection.
本発明の高周波モジュールにおいて、好ましくは、高周波線路は、線路導体および線路導体の一端部を取り囲むように形成された同一面接地導体から成ることから、この同一面接地導体により誘電体基板内に形成された変換部と誘電体基板の上部空間とをシールドすることが可能になり、誘電体基板の上部空間における不要共振の発生を抑制することができる。 In the high-frequency module of the present invention, preferably, the high-frequency line is composed of the line conductor and the same-surface ground conductor formed so as to surround one end portion of the line conductor. It is possible to shield the converted portion and the upper space of the dielectric substrate, and the occurrence of unnecessary resonance in the upper space of the dielectric substrate can be suppressed.
本発明の高周波モジュールにおいて、好ましくは、導波管部は、下側に向かうに伴って内寸法が漸次大きくなっていることから、導波管部から空間に信号が放射される部分の開口面積が空間に近づくほど漸次大きくなり、導波管部のインピーダンスが空間のインピーダンスに近くなって信号の反射が低減するとともに、放射される信号の指向性が鋭くなり、誘電体レンズ等によるビーム成形が容易になる。 In the high-frequency module of the present invention, preferably, the waveguide portion has an inner dimension that gradually increases toward the lower side, so that an opening area of a portion where a signal is radiated from the waveguide portion to the space is increased. As the distance closer to the space increases, the impedance of the waveguide section becomes closer to the impedance of the space and the reflection of the signal is reduced, and the directivity of the emitted signal becomes sharper, and beam shaping by a dielectric lens or the like is performed. It becomes easy.
本発明の高周波モジュールにおいて、好ましくは、配線基板の貫通孔は、配線基板を成す積層された複数の誘電体層にそれぞれ形成された貫通穴が重なることによって形成されており、複数の貫通穴は、それらの内寸法が下側の誘電体層に向かうに伴って漸次大きくなっていることから、配線基板のテーパー状の貫通孔を、開口寸法が異なる貫通穴を有する複数の誘電体層を積層した積層技術で容易に作製することができ、配線基板のコストを低減することができる。 In the high-frequency module of the present invention, preferably, the through holes of the wiring board are formed by overlapping through holes formed in a plurality of stacked dielectric layers constituting the wiring board, and the plurality of through holes are Since the inner dimensions of the wiring board gradually increase toward the lower dielectric layer, a plurality of dielectric layers having through holes with different opening dimensions are laminated on the tapered through hole of the wiring board. Thus, it can be easily manufactured by the laminated technique, and the cost of the wiring board can be reduced.
本発明の高周波モジュールにおいて、好ましくは、配線基板の貫通孔は、内面に樹脂層が被着されることによって滑らかな面とされていることから、テーパー状の貫通孔における開口寸法の変化に伴うインピーダンスの変化が滑らかになり、インピーダンスミスマッチによる信号の反射が低減される。 In the high-frequency module according to the present invention, preferably, the through hole of the wiring board is made a smooth surface by applying a resin layer on the inner surface, so that the opening dimension of the tapered through hole is changed. Impedance changes smoothly and signal reflection due to impedance mismatch is reduced.
本発明の高周波モジュールにおいて、好ましくは、配線基板の貫通孔は、レーザ光の照射によって形成されていることから、配線基板に貫通孔を極めて容易に形成することができるとともに、レーザ光の条件や照射角度を調整して内寸法が上側開口から下側開口にかけて一定の貫通孔、あるいは下側に向かうに伴って内寸法が大きくなっているテーパー状の貫通孔を容易に形成することができ、配線基板をより低コスト化することができる。 In the high-frequency module of the present invention, preferably, the through hole of the wiring board is formed by laser light irradiation, so that the through hole can be formed very easily in the wiring board, and the laser light conditions and By adjusting the irradiation angle, it is possible to easily form a constant through-hole whose inner dimension is from the upper opening to the lower opening, or a tapered through-hole whose inner dimension increases as it goes downward, The cost of the wiring board can be further reduced.
本発明の高周波モジュールにおいて、好ましくは、配線基板の貫通孔は、砥粒の噴射によって形成されていることから、配線基板に貫通孔を極めて容易に形成することができるとともに、砥粒噴射の条件や噴射角度を調整して内寸法が上側開口から下側開口にかけて一定の貫通孔、あるいは下側に向かうに伴って内寸法が大きくなっているテーパー状の貫通孔を容易に形成することができ、配線基板をより低コスト化することができる。 In the high-frequency module of the present invention, preferably, the through hole of the wiring board is formed by spraying abrasive grains, so that the through hole can be formed very easily in the wiring board and the conditions of the abrasive grain spraying Or by adjusting the spray angle, it is possible to easily form a through-hole whose inner dimension is constant from the upper opening to the lower opening, or a tapered through-hole whose inner dimension increases as it goes downward. The wiring board can be further reduced in cost.
本発明の高周波モジュールは、好ましくは、配線基板の下側に、導波管部と連通した貫通孔から成る金属導波管部を有する金属板が設けられていることから、金属導波管部をアンテナとして機能させることができ、レーダー装置や通信装置を構成する際に別途アンテナを準備する必要がないとともに、誘電体基板にアレイ状のアンテナ素子を作製したり、各アンテナ素子と電気的な接続を行なうための配線導体を引き回したりする必要もなく、アンテナコストと、アンテナとの接続にかかるコストとを削減することができる。また、金属板によって、放射した信号や空間の電磁ノイズから高周波モジュールを良好にシールドすることができる。 In the high-frequency module of the present invention, preferably, a metal plate having a metal waveguide portion including a through hole communicating with the waveguide portion is provided on the lower side of the wiring board. Can be made to function as an antenna, and it is not necessary to prepare a separate antenna when configuring a radar device or a communication device. In addition, an array-like antenna element can be fabricated on a dielectric substrate, and each antenna element can be electrically connected. There is no need to route wiring conductors for connection, and the antenna cost and the cost for connection to the antenna can be reduced. Moreover, the high frequency module can be well shielded from the radiated signal and the electromagnetic noise of the space by the metal plate.
本発明の高周波モジュールにおいて、好ましくは、金属導波管部は、下側に向かうに伴って内寸法が漸次大きくなっていることから、金属導波管部から空間に信号が放射される部分の開口面積が空間に近づくほど漸次大きくなり、金属導波管部のインピーダンスが空間のインピーダンスに近くなって信号の反射が低減するとともに、放射される信号の指向性が鋭くなり、誘電体レンズ等によるビーム成形が容易になる。 In the high-frequency module of the present invention, preferably, the metal waveguide portion has an inner dimension that gradually increases toward the lower side. As the aperture area gets closer to the space, the impedance of the metal waveguide portion becomes closer to the impedance of the space and the reflection of the signal is reduced, and the directivity of the emitted signal becomes sharper, and the dielectric lens etc. Beam shaping becomes easy.
本発明の高周波モジュールを図面に基づき詳述する。図1は、本発明の高周波モジュールの実施の形態の一例を示す断面図である。また、図2(a)は図1の高周波モジュールから空間に信号を放射する際の高周波特性をシミュレーションするためのシミュレーションモデル、図2(b)は図2(a)の反射特性のシミュレーション結果、図2(c)は図2(a)の放射パターンのシミュレーション結果である。 The high-frequency module of the present invention will be described in detail with reference to the drawings. FIG. 1 is a cross-sectional view showing an example of an embodiment of a high-frequency module according to the present invention. 2A is a simulation model for simulating the high-frequency characteristics when a signal is radiated from the high-frequency module of FIG. 1 to the space. FIG. 2B is a simulation result of the reflection characteristics of FIG. FIG. 2C is a simulation result of the radiation pattern of FIG.
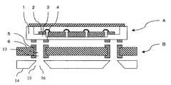
図1において、Aは高周波基板、1は誘電体基板、2は高周波線路、3は変換部、4は接続電極、Bは配線基板、5は貫通孔、6は導体層、7は導波管部である。 In FIG. 1, A is a high frequency substrate, 1 is a dielectric substrate, 2 is a high frequency line, 3 is a converter, 4 is a connection electrode, B is a wiring substrate, 5 is a through hole, 6 is a conductor layer, and 7 is a waveguide. Part.
誘電体基板1の表面に高周波線路2が形成されている。高周波線路2は、例えば、線路導体とこの線路導体の一端部を取り囲むように形成された同一面接地導体とから成る。この線路導体の一端部には高周波線路2を伝送する信号の伝送モードを配線基板Bの導波管部7の導波管モードに変換する変換部3が形成され、誘電体基板1の裏面の上記線路導体の一端部の直下の部位には導波管部7の断面形状と同じ形状の接続電極4が形成されている。また、高周波線路2の線路導体の他の一端部には高周波素子がワイヤーボンディング等で接続されている。そして、高周波素子が誘電体基板1と蓋体とから成る容器内に気密に封止されることによって高周波基板Aが構成されている。 A
変換部3は、高周波線路2の端部と導波管部7とを電磁的に結合し、高周波線路2を伝送する信号の伝送モードを導波管部7の導波管モードに変換する作用をなす。このような変換部3としては、例えば、誘電体基板1の内部や表面に平面視で高周波線路2の端部を取り囲むような接地導体を設けた構成、誘電体基板1の表面に高周波線路2の端部を取り囲むような同一面接地導体を設けるとともに同一面接地導体に高周波線路2の端部に直交するスロットを設けた構成、誘電体基板1の内部に平面視で高周波線路2の端部を取り囲むように一定間隔で並んだビアを形成した構成、誘電体基板1の上面に高周波線路2の端部を覆うように導電性の蓋体で覆った構成、あるいはこれらの構成の組合せにより形成することができる。 The
また、配線基板Bには貫通孔5が形成され、貫通孔5の内面に導体層6が形成されることによって導波管部7が構成されている。そして、高周波基板Aの接続電極4と配線基板Bの導波管部7の上端とを半田等で電気的に接続して、配線基板Bの導波管部7をアンテナとして機能させることのできる高周波モジュールと成る。これにより、レーダー装置や通信装置を構成する際に別途アンテナを準備する必要がないとともに、誘電体基板1にアレイ状のアンテナ素子を作製したり、各アンテナ素子と電気的な接続を行なうための配線導体を引き回したりする必要もなく、アンテナコストと、アンテナとの接続にかかるコストとを削減することができる。 Further, the through-
また、レーダー装置のように送信されるレーダービームを細く絞る必要がある場合には、導波管部7の先に誘電体レンズを設置すればよく、そのとき高周波信号は導波管部7から誘電体レンズに電波として伝送されるため、高周波基板Aあるいは配線基板Bと誘電体レンズとを電気的に接続する必要はない。 Further, when it is necessary to narrow down the transmitted radar beam like a radar device, a dielectric lens may be installed at the tip of the
誘電体基板1および配線基板Bは、酸化アルミニウム質焼結体等のセラミック材料や、ガラスセラミックス、エポキシ樹脂等の樹脂材料等から成る。また、高周波線路2や接続電極4、導体層6は、例えばタングステンを主成分とするメタライズ等で形成される。また、それらの露出した表面にはさらにニッケル、金等を主成分とするめっきが施されていてもよい。 The
図2(a)は高周波モジュールの導波管部7から空間に信号を放射する際の高周波特性をシミュレーションするためのシミュレーションモデルである。下方の直方体が導波管部7であり、この直方体の上下面が導波管部7の開口、側面が導体層6である。このモデルでは導波管部7はWR12規格であり導波管部7の開口の長辺が3.098mm、短辺が1.549mmである。導波管部7の高周波線路2側の開口に相当する直方体の下面から高周波信号を入力し、導波管部7の高周波線路2側とは反対側の開口に相当する直方体の上面から電波として空間に放射される場合をシミュレーションしている。また、上方の円柱は空間をモデル化したものである。円柱の上面と側面は、遠方における放射パターンをシミュレーションするために吸収境界が設定されている。シミュレーションは有限要素法による電磁界シミュレーションである。 FIG. 2A is a simulation model for simulating high-frequency characteristics when a signal is radiated into the space from the
図2(b)は図2(a)のモデルを用いたときの反射特性のシミュレーション結果である。60GHzから90GHzにかけて反射は−12dBから−15dBの範囲にあり良好な特性である。76.5GHzにおける反射は−12.8dBである。 FIG. 2B shows a simulation result of reflection characteristics when the model of FIG. Reflection is in the range of -12 dB to -15 dB from 60 GHz to 90 GHz, which is a good characteristic. The reflection at 76.5 GHz is -12.8 dB.
図2(c)は図2(a)のモデルを用いたときの高周波モジュールから放射される周波数76.5GHzの電波の放射パターンのシミュレーション結果である。この図において、実線(Phi=0°)はxz平面内の放射パターンを示し、破線(Phi=90°)はyz平面内の放射パターンを示す。そして、指向性利得は6.5dBiであり、開口面積から期待される指向性利得と一致しているので一般的な開口面アンテナとして機能していると言える。 FIG. 2C shows a simulation result of a radiation pattern of a radio wave having a frequency of 76.5 GHz radiated from the high frequency module when the model of FIG. 2A is used. In this figure, a solid line (Phi = 0 °) indicates a radiation pattern in the xz plane, and a broken line (Phi = 90 °) indicates a radiation pattern in the yz plane. The directivity gain is 6.5 dBi, which matches the directivity gain expected from the aperture area, and thus can be said to function as a general aperture antenna.
図3は、本発明の高周波モジュールの実施の形態の他の一例を説明するための概略断面図である。図3において、図1と同じ部位には同じ記号を付し、8は下側に向かうに伴って内寸法が大きくなっている貫通孔(以下、テーパー状貫通孔という)、9は導体層、10は下側に向かうに伴って内寸法が大きくなっている導波管部(以下テーパー状導波管部)である。本発明の高周波モジュールは導波管部10は、図3に示すように下側に向かうに伴って内寸法が大きくなっていることが好ましい。これにより、テーパー状導波管部10から空間に信号が放射される部分の開口面積が空間に近づくほど漸次大きくなり、テーパー状導波管部10のインピーダンスが空間のインピーダンスに近くなって信号の反射が低減するとともに、放射される信号の指向性が鋭くなり、誘電体レンズ等によるビーム成形が容易になる。 FIG. 3 is a schematic cross-sectional view for explaining another example of the embodiment of the high-frequency module of the present invention. In FIG. 3, the same parts as those in FIG. 1 are denoted by the same reference numerals, 8 is a through hole (hereinafter referred to as a taper-shaped through hole) whose inner dimension increases toward the lower side, 9 is a conductor layer,
テーパー状導波管部10の内面と配線基板Bの下面との成す角度は、90〜135度であるのがよい。これにより、導波管部10と空間との間のインピーダンス変化をより低減して信号の損失をより有効に抑制することができるとともに、信号の回折をより有効に抑制することができ、放射される信号の指向性をより鋭くすることができる。 The angle formed by the inner surface of the tapered
図4は、本発明の高周波モジュールの実施の形態の他の一例を説明するための概略断面図である。図4の例は、図3の例のテーパー状貫通孔8が、開口寸法が異なる貫通穴を有する複数の誘電体層11を積層することにより形成されたものである。このようにすることによりテーパー状貫通孔8を通常の積層技術で実現することができ、配線基板Bのコストを低減することができる。 FIG. 4 is a schematic cross-sectional view for explaining another example of the embodiment of the high-frequency module of the present invention. In the example of FIG. 4, the tapered through
図5は、本発明の高周波モジュールの実施の形態の他の一例を説明するための概略断面図である。図5の例は、図4の例の複数の誘電体層11を積層して形成されたテーパー状貫通孔8の内側の段差部にエポキシ樹脂等の樹脂層12を被着して、テーパー状貫通孔8の内面を滑らかにしたものである。このようにすることにより、導体層9をより容易に滑らかな面とすることができ、テーパー状導波管部10における開口寸法の変化に伴うインピーダンスの変化が滑らかになり、インピーダンスミスマッチによる信号の反射が低減される。 FIG. 5 is a schematic cross-sectional view for explaining another example of the embodiment of the high-frequency module of the present invention. In the example of FIG. 5, a
図6は、本発明の高周波モジュールの実施の形態の他の一例を説明するための概略断面図である。図6において、図1と同じ部位には同じ記号を付し、13は導波管部、14は金属板、15は貫通孔、16は金属導波管部である。高周波基板Aの接続電極4と配線基板Bの導波管部13の上端とを電気的に接続し、配線基板Bの導波管部13の下端と金属板14の貫通孔15の上側の開口縁部とを電気的に接続することによって接続電極4、導波管部13、および金属導波管部16を連通した導波管とすることができる。これにより、金属導波管部16をアンテナとして機能させることができ、レーダー装置や通信装置を構成する際に別途アンテナを準備する必要がないとともに、誘電体基板1にアレイ状のアンテナ素子を作製したり、各アンテナ素子と電気的な接続を行なうための配線導体を引き回したりする必要もなく、アンテナコストと、アンテナとの接続にかかるコストとを削減することができる。また、金属板14が高周波モジュールを収納する金属容器の一部の場合、金属板14によって、放射した信号や空間の電磁ノイズから高周波モジュールを良好にシールドすることができる。 FIG. 6 is a schematic cross-sectional view for explaining another example of the embodiment of the high-frequency module of the present invention. In FIG. 6, the same parts as those in FIG. 1 are denoted by the same reference numerals, 13 is a waveguide portion, 14 is a metal plate, 15 is a through hole, and 16 is a metal waveguide portion. The
図7は、本発明の高周波モジュールの実施の形態の他の一例を説明するための概略断面図である。図7の例は、図6の例の金属導波管部16を下側に向かうに伴って内寸法が大きくなるようにしたものである。このようにすることにより、金属導波管部16から空間に信号が放射される部分の導波管の面積が大きくなり、金属導波管部16と空間との間のインピーダンス差が小さくなって信号の反射が低減するとともに、放射される信号の指向性が鋭くなり、誘電体レンズ等によるビーム成形が容易になる。 FIG. 7 is a schematic cross-sectional view for explaining another example of the embodiment of the high-frequency module of the present invention. In the example of FIG. 7, the inner dimension increases as the
なお、本発明は、以上の実施の形態の例に限定されるものではなく、本発明の要旨を逸脱しない範囲内であれば種々の変更は可能である。 It should be noted that the present invention is not limited to the above embodiments, and various modifications can be made without departing from the scope of the present invention.
1:誘電体基板
2:高周波線路
3:変換部
4:接続電極
5,8:貫通孔
6,9:導体層
7,10,13:導波管部
11:誘電体層
12:樹脂層
14:金属板
15:貫通孔
16:金属導波管部
B:配線基板1: Dielectric substrate 2: High frequency line 3: Conversion unit 4:
| Application Number | Priority Date | Filing Date | Title |
|---|---|---|---|
| JP2004219524AJP4658535B2 (en) | 2004-07-28 | 2004-07-28 | High frequency module |
| Application Number | Priority Date | Filing Date | Title |
|---|---|---|---|
| JP2004219524AJP4658535B2 (en) | 2004-07-28 | 2004-07-28 | High frequency module |
| Publication Number | Publication Date |
|---|---|
| JP2006041966Atrue JP2006041966A (en) | 2006-02-09 |
| JP4658535B2 JP4658535B2 (en) | 2011-03-23 |
| Application Number | Title | Priority Date | Filing Date |
|---|---|---|---|
| JP2004219524AExpired - Fee RelatedJP4658535B2 (en) | 2004-07-28 | 2004-07-28 | High frequency module |
| Country | Link |
|---|---|
| JP (1) | JP4658535B2 (en) |
| Publication number | Priority date | Publication date | Assignee | Title |
|---|---|---|---|---|
| JP2009081833A (en)* | 2007-09-07 | 2009-04-16 | Sharp Corp | Wireless communication device |
| JP2010537402A (en)* | 2007-08-13 | 2010-12-02 | フォース テン ネットワークス,インク. | High-speed router with backplane using multi-bore drilled through-holes and vias |
| JP2010273029A (en)* | 2009-05-20 | 2010-12-02 | Nec Corp | Semiconductor apparatus |
| JP2013247495A (en)* | 2012-05-25 | 2013-12-09 | Nippon Telegr & Teleph Corp <Ntt> | Mmic package with built-in horn antenna |
| JP2013247481A (en)* | 2012-05-25 | 2013-12-09 | Nippon Telegr & Teleph Corp <Ntt> | Method of manufacturing laminated aperture surface antenna and laminated aperture surface antenna |
| JP2013247494A (en)* | 2012-05-25 | 2013-12-09 | Nippon Telegr & Teleph Corp <Ntt> | Horn antenna integrated mmic package |
| US8680954B2 (en) | 2008-08-29 | 2014-03-25 | Nec Corporation | Waveguide, waveguide connection structure and waveguide connection method |
| CN104427807A (en)* | 2013-08-27 | 2015-03-18 | 罗伯特·博世有限公司 | Circuit for millimeter wave signals |
| JP2015213285A (en)* | 2014-05-07 | 2015-11-26 | パナソニックIpマネジメント株式会社 | Wireless unit |
| CN105470612A (en)* | 2014-09-12 | 2016-04-06 | 罗伯特·博世有限公司 | Device for transmitting millimeter-wave signals |
| WO2018225378A1 (en)* | 2017-06-05 | 2018-12-13 | 日立オートモティブシステムズ株式会社 | Antenna, array antenna, radar device and vehicle-mounted system |
| CN109244611A (en)* | 2018-08-30 | 2019-01-18 | 成都频岢微电子有限公司 | A kind of adjustable substrate integral wave guide filter of miniaturization |
| JP2019083474A (en)* | 2017-10-31 | 2019-05-30 | 新日本無線株式会社 | Microwave antenna |
| JPWO2022176853A1 (en)* | 2021-02-22 | 2022-08-25 |
| Publication number | Priority date | Publication date | Assignee | Title |
|---|---|---|---|---|
| US20160093956A1 (en)* | 2014-09-30 | 2016-03-31 | Nidec Elesys Corporation | Radar apparatus |
| Publication number | Priority date | Publication date | Assignee | Title |
|---|---|---|---|---|
| JPS62157405A (en)* | 1985-12-20 | 1987-07-13 | フィリップス エレクトロニクス ネムローゼ フェンノートシャップ | Microwave plane antenna |
| JPH07307614A (en)* | 1994-05-16 | 1995-11-21 | Atr Koudenpa Tsushin Kenkyusho:Kk | Slot connection type microstrip antenna |
| JPH10135713A (en)* | 1996-10-31 | 1998-05-22 | Kyocera Corp | Stacked waveguide line |
| JPH10224141A (en)* | 1997-02-10 | 1998-08-21 | Toshiba Corp | Monolithic antenna |
| JPH1146114A (en)* | 1997-07-25 | 1999-02-16 | Kyocera Corp | Laminated aperture antenna and multilayer wiring board having the same |
| JP2000517145A (en)* | 1997-06-13 | 2000-12-19 | トムソン―セーエスエフ | Integrated transmitting or receiving device |
| JP2001267814A (en)* | 2000-03-15 | 2001-09-28 | Kyocera Corp | Wiring board and connection structure between wiring board and waveguide |
| JP2002076761A (en)* | 2000-08-29 | 2002-03-15 | Mitsumi Electric Co Ltd | Aperture antenna |
| JP2004166118A (en)* | 2002-11-15 | 2004-06-10 | Murata Mfg Co Ltd | Manufacturing method of dielectric line |
| WO2004049496A1 (en)* | 2002-11-22 | 2004-06-10 | United Monolithic Semiconductors Sas | Packaged electronic component for applications at millimetric frequencies |
| Publication number | Priority date | Publication date | Assignee | Title |
|---|---|---|---|---|
| JPS62157405A (en)* | 1985-12-20 | 1987-07-13 | フィリップス エレクトロニクス ネムローゼ フェンノートシャップ | Microwave plane antenna |
| JPH07307614A (en)* | 1994-05-16 | 1995-11-21 | Atr Koudenpa Tsushin Kenkyusho:Kk | Slot connection type microstrip antenna |
| JPH10135713A (en)* | 1996-10-31 | 1998-05-22 | Kyocera Corp | Stacked waveguide line |
| JPH10224141A (en)* | 1997-02-10 | 1998-08-21 | Toshiba Corp | Monolithic antenna |
| JP2000517145A (en)* | 1997-06-13 | 2000-12-19 | トムソン―セーエスエフ | Integrated transmitting or receiving device |
| JPH1146114A (en)* | 1997-07-25 | 1999-02-16 | Kyocera Corp | Laminated aperture antenna and multilayer wiring board having the same |
| JP2001267814A (en)* | 2000-03-15 | 2001-09-28 | Kyocera Corp | Wiring board and connection structure between wiring board and waveguide |
| JP2002076761A (en)* | 2000-08-29 | 2002-03-15 | Mitsumi Electric Co Ltd | Aperture antenna |
| JP2004166118A (en)* | 2002-11-15 | 2004-06-10 | Murata Mfg Co Ltd | Manufacturing method of dielectric line |
| WO2004049496A1 (en)* | 2002-11-22 | 2004-06-10 | United Monolithic Semiconductors Sas | Packaged electronic component for applications at millimetric frequencies |
| Publication number | Priority date | Publication date | Assignee | Title |
|---|---|---|---|---|
| JP2010537402A (en)* | 2007-08-13 | 2010-12-02 | フォース テン ネットワークス,インク. | High-speed router with backplane using multi-bore drilled through-holes and vias |
| JP2009081833A (en)* | 2007-09-07 | 2009-04-16 | Sharp Corp | Wireless communication device |
| US8680954B2 (en) | 2008-08-29 | 2014-03-25 | Nec Corporation | Waveguide, waveguide connection structure and waveguide connection method |
| JP2010273029A (en)* | 2009-05-20 | 2010-12-02 | Nec Corp | Semiconductor apparatus |
| JP2013247495A (en)* | 2012-05-25 | 2013-12-09 | Nippon Telegr & Teleph Corp <Ntt> | Mmic package with built-in horn antenna |
| JP2013247481A (en)* | 2012-05-25 | 2013-12-09 | Nippon Telegr & Teleph Corp <Ntt> | Method of manufacturing laminated aperture surface antenna and laminated aperture surface antenna |
| JP2013247494A (en)* | 2012-05-25 | 2013-12-09 | Nippon Telegr & Teleph Corp <Ntt> | Horn antenna integrated mmic package |
| CN104427807A (en)* | 2013-08-27 | 2015-03-18 | 罗伯特·博世有限公司 | Circuit for millimeter wave signals |
| JP2015213285A (en)* | 2014-05-07 | 2015-11-26 | パナソニックIpマネジメント株式会社 | Wireless unit |
| CN105470612A (en)* | 2014-09-12 | 2016-04-06 | 罗伯特·博世有限公司 | Device for transmitting millimeter-wave signals |
| WO2018225378A1 (en)* | 2017-06-05 | 2018-12-13 | 日立オートモティブシステムズ株式会社 | Antenna, array antenna, radar device and vehicle-mounted system |
| US11387547B2 (en) | 2017-06-05 | 2022-07-12 | Hitachi Astemo, Ltd. | Antenna, array antenna, radar apparatus, and in-vehicle system |
| JP2019083474A (en)* | 2017-10-31 | 2019-05-30 | 新日本無線株式会社 | Microwave antenna |
| JP7033432B2 (en) | 2017-10-31 | 2022-03-10 | 日清紡マイクロデバイス株式会社 | Microwave antenna |
| CN109244611A (en)* | 2018-08-30 | 2019-01-18 | 成都频岢微电子有限公司 | A kind of adjustable substrate integral wave guide filter of miniaturization |
| CN109244611B (en)* | 2018-08-30 | 2020-07-07 | 成都频岢微电子有限公司 | Miniaturized adjustable substrate integrated waveguide filter |
| JPWO2022176853A1 (en)* | 2021-02-22 | 2022-08-25 | ||
| WO2022176853A1 (en)* | 2021-02-22 | 2022-08-25 | 京セラ株式会社 | Printed wiring board |
| EP4297180A4 (en)* | 2021-02-22 | 2024-12-25 | Kyocera Corporation | PRINTED CIRCUIT BOARD |
| JP7661469B2 (en) | 2021-02-22 | 2025-04-14 | 京セラ株式会社 | Printed Wiring Board |
| Publication number | Publication date |
|---|---|
| JP4658535B2 (en) | 2011-03-23 |
| Publication | Publication Date | Title |
|---|---|---|
| US11081804B2 (en) | Antenna-integrated type communication module and manufacturing method for the same | |
| US11417938B2 (en) | Printed circuit board with substrate-integrated waveguide transition | |
| CN109792109B (en) | Antenna element | |
| US7119745B2 (en) | Apparatus and method for constructing and packaging printed antenna devices | |
| US7444734B2 (en) | Apparatus and methods for constructing antennas using vias as radiating elements formed in a substrate | |
| JP5431433B2 (en) | High frequency line-waveguide converter | |
| JP4658535B2 (en) | High frequency module | |
| US7239222B2 (en) | High frequency circuit module | |
| CN101145638B (en) | Wireless communication device | |
| JP4980306B2 (en) | Wireless communication device | |
| TW201842712A (en) | High frequency module | |
| US10665952B2 (en) | Microwave antenna module for space applications including a hybrid transmit/receive module of package on package type | |
| JP6195080B2 (en) | Antenna device | |
| JPWO2009041696A1 (en) | High frequency module and wiring board | |
| JP2008244289A (en) | Electromagnetic shield structure | |
| JP2011526469A (en) | Wideband long slot array antenna using simple feed element without balun | |
| JP6202281B2 (en) | Antenna device | |
| CN117133723A (en) | W wave band AiP module based on glass substrate encapsulation | |
| JP2017228860A (en) | Antenna device | |
| CN212874751U (en) | Antenna radiation unit with impedance matching function | |
| JP4480570B2 (en) | Dielectric resonator antenna, wiring board, and electronic device | |
| JP4749234B2 (en) | Aperture antenna | |
| JP2007228359A (en) | Aperture antenna | |
| CN113013584B (en) | Antenna system and mobile terminal | |
| JP2007235234A (en) | Aperture antenna |
| Date | Code | Title | Description |
|---|---|---|---|
| A621 | Written request for application examination | Free format text:JAPANESE INTERMEDIATE CODE: A621 Effective date:20070706 | |
| A977 | Report on retrieval | Free format text:JAPANESE INTERMEDIATE CODE: A971007 Effective date:20081110 | |
| A131 | Notification of reasons for refusal | Free format text:JAPANESE INTERMEDIATE CODE: A131 Effective date:20081118 | |
| A521 | Written amendment | Free format text:JAPANESE INTERMEDIATE CODE: A523 Effective date:20090119 | |
| A131 | Notification of reasons for refusal | Free format text:JAPANESE INTERMEDIATE CODE: A131 Effective date:20091222 | |
| A521 | Written amendment | Free format text:JAPANESE INTERMEDIATE CODE: A523 Effective date:20100222 | |
| TRDD | Decision of grant or rejection written | ||
| A01 | Written decision to grant a patent or to grant a registration (utility model) | Free format text:JAPANESE INTERMEDIATE CODE: A01 Effective date:20101125 | |
| A01 | Written decision to grant a patent or to grant a registration (utility model) | Free format text:JAPANESE INTERMEDIATE CODE: A01 | |
| A61 | First payment of annual fees (during grant procedure) | Free format text:JAPANESE INTERMEDIATE CODE: A61 Effective date:20101224 | |
| FPAY | Renewal fee payment (event date is renewal date of database) | Free format text:PAYMENT UNTIL: 20140107 Year of fee payment:3 | |
| R150 | Certificate of patent or registration of utility model | Free format text:JAPANESE INTERMEDIATE CODE: R150 | |
| LAPS | Cancellation because of no payment of annual fees |