

























本発明は、電気掃除機に係り、より詳しくは、床面などの塵埃等を吸引して電気掃除機本体の集塵室に集塵するためのホースユニットに関するものである。 The present invention relates to a vacuum cleaner, and more particularly to a hose unit for sucking dust and the like on a floor surface and collecting the dust in a dust collection chamber of a vacuum cleaner body.
従来の電気掃除機のホースユニットは、一般に、一端が電気掃除機本体に着脱可能に接続され、他端が手元ハンドルに接続されたホースと、手元ハンドルに着脱可能に接続された延長パイプと、延長パイプに着脱可能に接続された床ブラシとからなり、別にアタッチメントとしてのノズルを備えていた。そして、隙間掃除や立体掃除などを行う場合は、延長パイプを手元ハンドルから取り外してノズルを接続していた。 In general, a hose unit of a conventional vacuum cleaner generally has a hose having one end detachably connected to the vacuum cleaner body and the other end connected to the hand handle, and an extension pipe detachably connected to the hand handle, It consists of a floor brush that is detachably connected to an extension pipe, and has a separate nozzle as an attachment. And when performing gap cleaning or three-dimensional cleaning, the extension pipe was removed from the hand handle and the nozzle was connected.
このような場合、延長パイプとノズルとの接続換えが面倒であるばかりでなく、ノズルを紛失することもあり、このような問題を解決するために、例えば、ホースの端部に長孔を有する軸支部を突出形成すると共に、この軸支部に隙間用アタッチメントの軸を軸支し、ホースに接続される延長管を取り外して長孔に沿って延長管側へスライドさせると共に回動させ、さらにアタッチメントを長孔に沿って掃除機本体側へスライドさせて、アタッチメントをホース内周に気密的に嵌合するようにした電気掃除機がある(例えば、特許文献1参照)。 In such a case, the connection between the extension pipe and the nozzle is not only troublesome, but the nozzle may be lost, and in order to solve such a problem, for example, a long hole is provided at the end of the hose. The shaft support part is projected and formed, and the shaft of the gap attachment is supported on this shaft support part. The extension pipe connected to the hose is removed and slid to the extension pipe side along the long hole and rotated. There is a vacuum cleaner in which the attachment is slid along the long hole toward the main body of the vacuum cleaner so that the attachment is airtightly fitted to the inner periphery of the hose (see, for example, Patent Document 1).
また、吸気口に一端が接続されるホースと、下面開口の床用吸込具と、床用吸込具と操作用のハンドルとを連結する支持体と、ホースの他端に一端が接続され他端が床用吸込具に着脱自在に接続される延長管とを備え、この延長管を保持する保持部を支持体に形成され、床用吸込具の支持体を接続部が回動して当接部に当接することにより自立するように構成し、延長管を取り外した状態で自立させ、収納設置できるようにした電気掃除機がある(例えば、特許文献2参照)。 In addition, a hose whose one end is connected to the air inlet, a floor suction tool having a lower surface opening, a support for connecting the floor suction tool and the handle for operation, and one end connected to the other end of the hose And an extension pipe that is detachably connected to the floor suction tool, and a holding part that holds the extension pipe is formed on the support body, and the support part of the floor suction tool rotates and comes into contact therewith. There is a vacuum cleaner that is configured to be self-supporting by being in contact with a portion, and is self-supporting in a state in which an extension pipe is removed so that it can be stored and installed (see, for example, Patent Document 2).
さらに、従来は複数の延長管を有し、適宜接続して長さを調整していたが、その作業が面倒なため、電気掃除機本体の先端部に連結体を着脱可能に取り付けるホース取付部を備え、接続管(延長管)は、その一端に形成された搬送路が手元ハンドルと着脱可能に連結される第1の管体と、該第1の管体の他の一端に摺動可能に連結され他の一端が吸口体に連結される第2の管体とからなり、第1の管体は第2の管体を該第1の管体に固定する固定手段と該固定手段の固定状態を解除させる第2の伝達手段を備え、手元ハンドルは固定手段を解除するトリガースイッチと、該トリガースイッチの動作を第2の伝達手段に伝達する第1の伝達手段を備え、第1の伝達手段と第2の伝達手段は、手元ハンドルと接続管を連結することにより連結され、前記トリガースイッチの操作により固定手段の固定状態を解除するように構成されており、第1の伝達手段はその一端が前記トリガースイッチに接続され、他端が該トリガースイッチの操作の如何に拘らず常に前記第1の管体の端面より後退した位置にあるように構成し、簡単な操作で接続管の長さを調整しうるようにしたものがある(例えば、特許文献3参照)。 Furthermore, the conventional hose mounting part has a plurality of extension pipes and is connected appropriately to adjust the length, but the work is troublesome, so the hose attachment part attaches the connector to the tip of the vacuum cleaner body in a detachable manner. The connecting pipe (extension pipe) is slidable on the other end of the first pipe body, the first pipe body having a conveyance path formed at one end thereof detachably connected to the hand handle And the other end is connected to the suction body, and the first tube includes a fixing means for fixing the second tube to the first tube, and a fixing means for the fixing means. A second transmission means for releasing the fixed state; the hand handle includes a trigger switch for releasing the fixing means; a first transmission means for transmitting the operation of the trigger switch to the second transmission means; The transmission means and the second transmission means are connected by connecting the hand handle and the connecting pipe. The fixed state of the fixing means is released by the operation of the trigger switch. The first transmission means has one end connected to the trigger switch and the other end irrespective of the operation of the trigger switch. There is a configuration in which the length of the connecting pipe can be adjusted by a simple operation so as to be always in a position retracted from the end face of the first tubular body (for example, see Patent Document 3).
特許文献1の電気掃除機においては、隙間掃除などを行う場合には、先ず、ホースの端部に設けたロックを解除し、延長管を取り外して腰を屈めて延長管を床などに置き、ついで、アタッチメント(ノズル)をスライドさせて回動し、さらにアタッチメントをホース内にスライドさせて嵌合しなければならず、再度床掃除を行う場合はノズルを元の位置に戻したのち、再び腰を屈めて延長管を取上げてホースに接続しなければならないので、ホースへのアタッチメント及び延長管の着脱作業がきわめて面倒である。 In the vacuum cleaner of Patent Document 1, when performing clearance cleaning or the like, first, release the lock provided at the end of the hose, remove the extension pipe, bend the waist and place the extension pipe on the floor, Next, the attachment (nozzle) must be slid and rotated, and then the attachment must be slid into the hose and fitted. If floor cleaning is to be performed again, the nozzle must be returned to its original position and then back again. Since the extension tube must be taken up and connected to the hose, the attachment to the hose and the attaching / detaching operation of the extension tube are extremely troublesome.
また、特許文献2の電気掃除機においては、延長管と並設された支持体は操作用のハンドルと連結されているため、自立時に床面からの高さが高くなって不安定であり、倒れ易い。また、延長管は床用吸込具に接続されているため二重構造となって重量が増大し、さらに、延長管を支持体から取り外して先端部にノズルを接続した場合、ホースの握り部からノズルの先端部までの距離が長くなり、そのため、ノズルの細かい操作が困難である。 Moreover, in the vacuum cleaner of patent document 2, since the support body arranged in parallel with the extension pipe is connected to the handle for operation, the height from the floor surface becomes unstable when standing independently, It is easy to fall down. Also, since the extension pipe is connected to the floor suction tool, it becomes a double structure and increases its weight.In addition, when the extension pipe is removed from the support and the nozzle is connected to the tip, the gripping part of the hose The distance to the tip of the nozzle becomes long, so that fine operation of the nozzle is difficult.
さらに、特許文献3の電気掃除機においては、手元ハンドルに接続され固定手段により固定されている接続管の長さを、手元ハンドルに内蔵されたトリガースイッチの操作により調整して固定するようにしているが、トリガースイッチの伝達手段(連結棒)は、トリガースイッチの操作如何にかかわらず、常に手元パイプの第1の管体の端面より後退した位置にあるようになっている。そのため、トリガースイッチを操作していないときは、連結棒が第1の管体の端面より奥の位置にあるため、その端面に形成された穴から塵埃が侵入し、連結棒や固定手段等に付着などして動作不良を生じ易いという問題がある。
また、ノズルを使用する場合は、手元ハンドルから接続管を取り外してノズルと差し換えるか、又は吸口体を取り外して接続管の先端部にノズルを接続しなければならないので、上記特許文献1及び2と同様の問題がある。Furthermore, in the electric vacuum cleaner of Patent Document 3, the length of the connecting pipe connected to the hand handle and fixed by the fixing means is adjusted and fixed by operating a trigger switch built in the hand handle. However, the transmission means (connecting rod) of the trigger switch is always in a position retracted from the end face of the first pipe body of the hand pipe regardless of the operation of the trigger switch. Therefore, when the trigger switch is not operated, the connecting rod is located behind the end surface of the first tubular body, so that dust enters from the hole formed in the end surface and enters the connecting rod, fixing means, etc. There is a problem that malfunctions are likely to occur due to adhesion.
In addition, when using a nozzle, it is necessary to remove the connecting pipe from the hand handle and replace it with the nozzle, or to remove the suction body and connect the nozzle to the tip of the connecting pipe. There are similar problems.
本発明は、上記の課題を解決するためになされたもので、ノズルを有し手元ハンドル部に接続されたアタッチメント本体部と、これに接続された延長パイプとを有し、床等の掃除とノズルによる掃除とを簡単に切換えることのできるホースユニットを備えた電気掃除機を提供することを目的としたものである。 The present invention has been made to solve the above problems, and includes an attachment main body having a nozzle and connected to a hand handle, and an extension pipe connected thereto, and cleaning the floor and the like. An object of the present invention is to provide an electric vacuum cleaner including a hose unit that can easily switch between cleaning with a nozzle.
本発明に係る電気掃除機は、ホースが接続された手元ハンドル部と、本体管とノズルとからなり前記本体管が手元ハンドル部に着脱可能に接続されたアタッチメント本体部と、該アタッチメント本体部の本体管に着脱可能に接続された延長パイプと、該延長パイプに着脱可能に接続された床ブラシとを有し、前記手元ハンドル部に接続されたアタッチメント本体部に前記延長パイプを接続すると該延長パイプから空気を吸引し、該延長パイプを取外すと前記ノズル部から空気を吸引するようにしたホースユニットを備えたものである。 The vacuum cleaner according to the present invention comprises a hand handle portion to which a hose is connected, an attachment main body comprising a main body tube and a nozzle, wherein the main body tube is detachably connected to the hand handle portion, and the attachment main body portion An extension pipe that is detachably connected to the main body pipe, and a floor brush that is detachably connected to the extension pipe, and the extension pipe is connected to the attachment main body connected to the hand handle. A hose unit is provided in which air is sucked from the pipe, and when the extension pipe is removed, air is sucked from the nozzle portion.
本発明は、ノズルを有し手元ハンドル部に接続されたアタッチメント本体部に接続されて風路を形成する延長パイプのロックを、手元ハンドル部で操作することにより解除して延長パイプを取り外すことができ、延長パイプを取り外すと風路が自動的にノズル部側に切換えられるようにしたので、ノズルを紛失するおそれもなく使い勝手のよい電気掃除機を得ることができる。 In the present invention, the lock of the extension pipe connected to the attachment main body portion having the nozzle and connected to the hand handle portion to form the air passage is released by operating the hand handle portion to remove the extension pipe. In addition, since the air passage is automatically switched to the nozzle side when the extension pipe is removed, a user-friendly vacuum cleaner can be obtained without fear of losing the nozzle.
図1は本発明の一実施の形態に係る電気掃除機の全体構成を示す説明図である。なお、以下の説明では、電気系統については省略する。
掃除機本体1は内部に集塵室2、電動送風機3等が設けられており、後部両側には後車輪4が設けられ、前部底面には前車輪5が回転自在に設けられている。また、前面部には後述のホースユニット10のホース11が接続されるホース差込口(図示せず)が開口している。FIG. 1 is an explanatory view showing the overall configuration of a vacuum cleaner according to an embodiment of the present invention. In the following description, the electrical system is omitted.
The vacuum cleaner main body 1 is provided with a dust collection chamber 2, an electric blower 3, and the like, a rear wheel 4 is provided on both sides of the rear portion, and a front wheel 5 is rotatably provided on the front bottom surface. Moreover, the hose insertion port (not shown) to which the
ホースユニット10は、一端に掃除機本体1のホース差込口に挿入される接続部12を有する蛇腹状のホース11と、ホース11の他端に接続された手元ハンドル部20と、ノズルを有し手元ハンドル部20に着脱可能に接続されたアタッチメント本体部40と、このアタッチメント本体部40に着脱可能に接続された延長パイプ80と、延長パイプ80に着脱可能に接続された床ブラシ90とからなっている。以下、ホースユニット10の各部の構成について詳細に説明する。 The
図2は手元ハンドル部の外観斜視図、図3は手元ハンドル部の他の例の外観斜視図、図4は図2の縦断面図、図5は図4のカバーを取り外した状態の平面図で、この手元ハンドル部20は、接続管21と、握り部25と、カバー37とからなっている。
接続管21は、ホース11が接続されるホース接続部22aと、アタッチメント本体部40が接続されるアタッチメント接続部22bとからなり、アタッチメント接続部22bの上面先端部には、長手方向と直交して貫通穴23aを有する縦壁23が立設されている。24は2分割されたホースカバーである。2 is an external perspective view of the hand handle portion, FIG. 3 is an external perspective view of another example of the hand handle portion, FIG. 4 is a longitudinal sectional view of FIG. 2, and FIG. 5 is a plan view with the cover of FIG. The
The
握り部25は接続管21のほぼ中央部の上面からほぼ円弧状に後方に延設された上枠26aと、ホース接続部22aの上方から後方に延設され、上枠22aの端部と一体に連結された下枠26bとによりほぼ楕円形状に形成されており、上枠26aの下面には手ざわりのよい軟質部材27が取付けられている。
28a,28b(図5)は接続管21の上面から握り部25の上枠26aの上面にかけて、所定の間隔で立設された仕切り壁である。The
握り部25の上枠26aの仕切り壁28a,28bの間にはスライド穴29が設けられており、このスライド穴29にはトリガースイッチ31が摺動可能に装着されている。
33は接続管21の上面において、仕切り壁28a,28bの間に設けた固定軸32に回動自在に設けられた連結板で、その上部には、一端がトリガーレバー31に連結された第1の連結棒34の他端が連結されており、下部には第2の連結棒35の一端が連結され、その他端は縦壁23の貫通穴23a内に位置している。なお、この連結板33は、固定軸32と第1の連結棒34の連結部間の長さL1が、固定軸32と第2の連結棒35の連結部間の長さL2より長く、L1>L2となっている。また、第2の連結棒35の先端部は縦壁23の貫通穴23a内に位置しているので、縦壁23の存在と共に、ロック解除部30内に塵埃等が侵入することがない。A
36は接続管21の先端部近傍において、両仕切り壁28a,28bの間に、軸36aによって回動可能に支持されてアタッチメント本体部40をロックする第1のロックレバーで、一方の端部(握り部25側)の下面には係止突部36bが設けられており、他方の端部の上面には手元ラッチ36cが設けられている。そして、接続管21と手元ラッチ36cとの間にはばね36dが介装され、第1のロックレバー36を軸36aを中心に常時矢印方向に付勢し、係止突部36bを接続管21に設けたロック穴21aから接続管21内に突出させている。上記のようなトリガーレバー31、連結板33、第1、第2の連結棒34,35及び後述のアタッチメント本体部40に設けた可動素子58により、延長パイプ80のロック解除部30が構成される。
接続管21と握り部25の上面を覆い、ねじ37bで固定されたカバーの先端部には貫通穴37aが設けられており、第1のロックレバー36の手元ラッチ36cがこの貫通穴37aから突出している。38はカバー37の上面に設けた操作部の取付部である。 A through
上記のように構成した手元ハンドル部20において、握り部25を握って指でトリガーレバー31を矢印方向に引くと、トリガーレバー31はスライド穴29に沿って矢印方向に摺動する。これにより、第1の連結棒34が矢印方向に移動し、これに連結された連結板33を固定軸32を中心に回動させ、第2の連結棒35を矢印方向に移動させて、その先端部を縦壁23の貫通穴23aから突出させる。このとき、連結板33と第1、第2の連結棒34,35との連結部の位置関係が、前述のようにL1>L2となっているので、弱い力で操作することができる。In the
また、第1のロックレバー36の手元ラッチ36cを圧下すると、第1のロックレバー36は軸36aを中心に反矢印方向に回動し、係止突部36bを上昇させて接続管21内から離脱させる。手元ラッチ36cから手を離すと、第1のロックレバー36はばね36dに付勢されて元の状態に戻り、係止突部36bはロック穴21aから接続管21内に突出する。
上記の説明では、手元ハンドル部20の握り部25をほぼ楕円形状に形成した場合を示したが、図3に示すように、下枠26bを省略してオープン状に形成してもよい。Further, when the
In the above description, the case where the
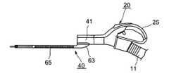
図6はアタッチメント本体部の斜視図、図7は図6の縦断面図、図8は図7の左側面図、図9は一部を省略した図7のカバーを取り外した状態を示す平面図である。
このアタッチメント本体部40は、本体管41と、その上面を覆うカバー62と、本体管41の下面に着脱可能に装着されたノズル部63とからなっている。6 is a perspective view of the attachment main body, FIG. 7 is a longitudinal sectional view of FIG. 6, FIG. 8 is a left side view of FIG. 7, and FIG. 9 is a plan view showing a state where a cover of FIG. It is.
The attachment
本体管41は手元ハンドル部20の接続管21のアタッチメント接続部22bに嵌入接続される手元ハンドル接続部42aと、延長パイプ80が嵌入接続される延長パイプ接続部42bとを有し、手元ハンドル接続部42aの上面には係合凹部43が設けられている。
また、手元ハンドル接続部42aの基端部の上面には、貫通穴44aを有する縦壁44が直交して立設されており、縦壁44の延長パイプ接続部42b側には、所定の間隔でガイド壁45a,45bが設けられている。さらに、両ガイド壁45a,45bの間の延長パイプ接続部42b側には、両ガイド壁45a,45bの間隔より狭い間隔で仕切り壁46a,46bが設けられており、両仕切り壁46a,46bの間にはロック穴47が設けられている。The
In addition, a
48は延長パイプ接続部42bの下面に設けられた、延長パイプ接続部42bの内径とほぼ等しい大きさの分岐風路である。50は延長パイプ接続部42bの内径より若干小さい外径の切換弁で、その下端部に設けた支持軸49により、分岐風路48の延長パイプ接続部42bの開口部側において、本体管41に回動自在に支持されており、本体管41との間に介装されたばね51により、延長パイプ接続部42bの開口部(風路)を常時閉塞するように付勢されている。52は延長パイプ接続部42bの下端部に突設された係止部である。 A
58は両ガイド壁45a,45bの間に摺動可能に配設された可動素子で、その延長パイプ接続部42b側には下面に向って傾斜するレバー押上げ斜面59が形成されている。
60は本体管41の上面に設けた両仕切り壁46a,46bの間に配設され、軸60aにより仕切り壁46a,46bに回動可能に支持された延長パイプ80をロックする第2のロックレバーで、軸60aと先端部(手元ハンドル接続部42a側)との間の下面には係止突部60bが突設されており、後端部(延長パイプ接続部42b側)の上面にはアタッチメントラッチ60cが設けられている。そして、本体管41とアタッチメントラッチ60cとの間にはばね60dが介装され、第2のロックレバー60を軸60aを中心に常時矢印方向に付勢し、その係止突部60bを本体管41に設けたロック穴47から本体管41内に突出させている。なお、このとき、第2のロックレバー60の先端部は、可動素子58のレバー押上げ斜面59の先端部(第2のロックレバー60側)上に位置している。A
A
可動素子58や第2のロックレバー60などが設けられた本体管41の上面には、これらを覆ってカバー62が装着され、ねじ62bにより本体管41に固定される。このとき、第2のロックレバー60のアタッチメントラッチ60cは、カバー62の貫通穴62aから突出する。
63はノズル部で、本体管41への取付部64と、これと一体に形成された断面ほぼ楕円形状で硬質のノズル65とからなっている。そして、取付部64の上面には、本体管41の分岐風路48に対応してノズル65に連通する通気口66が設けられており、また、通気口66のノズル65側には、本体管41の係止部52が嵌入する係止穴67が設けられている。A
68はノズル65の先端開口部からノズル65内に摺動可能に挿入された延長ノズルで、後部側にはばね70に付勢された係止突部69が設けられており、延長ノズル68を引出すことにより、係止突部69がノズル65に設けた係止穴71に係止し、その位置に保持される。延長ノズル68を元の位置に戻すときは、係止突部69を圧下して延長ノズル68をノズル65内に押し込めばよい。この場合、ノズル65の先端部外周にサポータ72を設けたので、連結部の強度をアップすると共に延長ノズル68のガタツキを防止することができる。なお、上記の説明では、ノズル65を硬質材で形成した場合を示したが、図10に示すように、ノズル65又はその一部を軟質ホースで形成してもよい。また、延長ノズル68を二重管方式により形成した場合を示したが、この延長ノズル68は省略してもよく、あるいは別に設けた延長ノズルをノズル65に接続するようにしてもよい。
上記のように構成したノズル部63は、取付部64に設けた係止穴67を本体管41の係止部52に嵌合すると共に、通気口66を本体管41の分岐風路48と整合させ、ねじ73により本体管41に一体的に固定される。これにより、アタッチメント本体部40が形成される。なお、ノズル部63の本体管41への取付けにあたっては、その係止穴67を係止部52に嵌合すると共にねじ73により2か所で強固に固定したので、最も負荷のかかるノズル部63と本体管41との連結部を、溶着することなく簡単かつ確実に固定することができ、ノズル部63がぐらついたり本体管41から外れたりすることがない。 The
図11は延長パイプの外観斜視図、図12は一部を断面で示した図11の側面図である。
この延長パイプ80は、本体部81と、その上面を覆うカバー84と、本体部81内に摺動可能に挿入された延長管85とからなっている。そして、本体部81の一端には、アタッチメント本体部40の延長パイプ接続部42bに嵌入接続されるアタッチメント接続部82aが設けられ、その先端部近傍の上面には係止凹部83が形成されている。11 is an external perspective view of the extension pipe, and FIG. 12 is a side view of FIG.
The
また、他方の開口部82bから本体部81内に延長管85が摺動可能に挿入されており、延長管85の先端開口部には、床ブラシ90の接続継手100が挿入接続される床ブラシ接続部82cが形成されている。86は接続継手100のロック穴である。
この延長管85の下面の長手方向には複数の係止部(図示せず)が設けられており、本体部81の下面にはこの係止部に係止する係止ボタン87が設けられている。そして、延長管85を本体部81から引き出して係止ボタン87をいずれかの係止部に係止させることにより、延長管85の引出し長さを所望の長さに設定することができる。88は本体部81の下面に設けたアタッチメント本体部40のノズル65又は延長ノズル68の先端部を挿入して保持する保持部であるが、延長ノズル68の先端部全体を覆う形状としてもよい。Further, an
A plurality of locking portions (not shown) are provided in the longitudinal direction of the lower surface of the
上記の説明では、延長パイプ80を、延長管85を本体管81内に摺動可能に挿入し、係止部と係止ボタン87とにより適宜長さに調整する場合について説明したが、これに限定するものではなく他の機構によって構成してもよい。また、別に設けた延長管を本体管81に着脱可能に接続してもよく、さらには、延長管を省略し本体管81のみで延長パイプ80を構成するなど、適宜変更することができる。 In the above description, the case has been described in which the
図13は一部を省略した床ブラシの外観斜視図、図14は図13の平面模式図、図15は図14の縦断面図である。
床ブラシ90は吸込み口92aを有する下ケース92と、上ケース93からなり、内部に回転ブラシ94等が収容された本体部91と、本体部91の後部側に連結された継手基体95と、この継手基体95に回動自在に連結され、延長パイプ80に着脱可能に装着される接続継手100とからなっている。13 is an external perspective view of a floor brush with a part omitted, FIG. 14 is a schematic plan view of FIG. 13, and FIG. 15 is a longitudinal sectional view of FIG.
The
継手基体95は後部側に基体湾曲壁96を有し、前部側が連結部材97により本体部91に摺動可能に装着されている。また、接続継手100は先端部に基体湾曲部96の内径より若干小径に形成された継手湾曲上壁101aと継手湾曲下壁101bとを有し、基体湾曲壁96内に回動自在に装着されている。98は継手基体95の下部に設けた支持枠で、後輪99aが設けられている。99bは下ケース92の前部両側に設けられた前輪である。 The
102は本体部91と接続継手100のロック手段で、本体部91の上ケース93の上面に、係合溝104の開口部を接続継手100側に向けて立設されたコ字状の係合部103と、接続継手100に係合部103の係合溝104に対向して突設された係合突部105とからなり、係合突部105の幅(厚み)W2は、係合部103の係合溝104の幅W1より若干大きく(厚く)形成されている。
上記のように構成した床ブラシ90において、接続継手100を前後あるいは左右方向に移動させると、継手湾曲上壁101aと継手湾曲下壁101bが継手基体95の基体湾曲壁96の内壁に沿って自在に回動する。なお、接続継手100の基端部が基体湾曲壁96の上端部に当接すると、回動が停止する(回動限界)。
そして、接続継手100を前面側(本体部91側)に倒すと、係合突部105が係合部103の係合溝104に圧入され、接続継手100は破線で示すように、垂直状態より若干前面側に傾いた状態でロックされ、その位置に保持される。In the
When the connecting joint 100 is tilted to the front side (
以上床ブラシ90について説明したが、床ブラシ90は図示のものに限定するものではなく、他の構造のものであってもよい。またコ字状の係合部103と、これに圧入される係合突部105とによりロック手段102を構成した場合を示したが、ロック手段102はこれに限定するものではなく、他の構造のものであってもよい。 Although the
次に、手元パイプ部20、アタッチメント本体部40及び延長パイプ80の着脱手順の一例について説明する。なお、図16、図18に示すように、手元ハンドル部20のホース接続部22aにはホース11の一端が嵌合接続されて、その外周両側からホースカバー24が結合されており、また、アタッチメント本体部40の本体管41にはノズル部63が取付けられて一体に形成されているものとする。 Next, an example of the attachment / detachment procedure of the
先ず、図16、図18に示すように、手元ハンドル部20のアタッチメント接続部22bに、アタッチメント本体部40の手元ハンドル接続部42aを挿入する。このとき、手元ハンドル接続部42aの先端部により第1のロックレバー36の係止突部36bが押上げられ、第1のロックレバー36は軸36aを中心に矢印方向に回動する。さらに、手元ハンドル接続部42aを押し込むと、その係止凹部43に係止突部36bが嵌入して係止し、第1のロックレバー36が反矢印方向に回動して手元ラッチ36cがカバー37の貫通穴37aから突出し、アタッチメント本体部40はその位置に保持され、手元ハンドル20に接続されてロックされる。このとき、アタッチメント本体部40の延長パイプ接続部42bの開口部は、切換弁50により閉塞されている。 First, as shown in FIGS. 16 and 18, the hand
次に、図17、図19に示すように、延長パイプ80をアタッチメント本体部40のノズル部63に沿って前進させ、そのアタッチメント接続部82aを延長パイプ接続部42bに挿入する。
このとき、アタッチメント接続部82aの先端部は、アタッチメント本体部40の切換弁50を押圧し、支持軸49を中心に矢印方向に回動させて分岐風路48を閉塞すると共に、係止突部60bを押上げて、第2のロックレバー60を軸60aを中心に矢印方向に回動させる。Next, as shown in FIGS. 17 and 19, the
At this time, the distal end portion of the
さらに、アタッチメント接続部82aを押し込むと、係止突部60bが係合凹部83に嵌入して係止し、第2のロックレバー60は反矢印方向に回動してそのアタッチメントラッチ60cがカバー57に設けた貫通穴57aから突出し、延長パイプ80はその位置に保持され、アタッチメント本体部40に接続されてロックされる。 Further, when the
このときの状態を図20に示す。この状態においては、延長パイプ80の風路はアタッチメント本体部40の本体管41の風路、手元ハンドル20の接続管21の風路を経て、ホース11に連通し、アタッチメント本体部40のノズル部63の風路は、分岐風路48が切換弁50及び延長パイプ80のアタッチメント接続部82aとにより閉塞され、本体管41の風路とは遮断されている。この場合、延長パイプ80のアタッチメント接続部82aの先端部が、分岐風路48の端縁より手元ハンドル部20側に位置するようにすれば、分岐風路48のシールをより確実に行うことができる。したがって、図1に示すように、延長パイプ80に床ブラシ90の接続継手100を接続して掃除機本体1の電動送風機3を駆動すれば、床上の塵埃などを床ブラシ90の吸込み口92aから吸引し、集塵室2に集塵することができる。 The state at this time is shown in FIG. In this state, the air passage of the
上記のように接続したホースユニット10において、手元ハンドル部20から延長パイプ80を取り外す場合は、図19において、アタッチメントラッチ60cを圧下して第2のロックレバー60を矢印方向に回動させ、係止突部60bを係止凹部83から離脱させてロックを解除し、延長パイプ80を手に持って手元ハンドル部20を手前に引き、又は手元ハンドル部20を持って延長パイプ80を矢印方向に引けば、容易に取り外すことができる。 In the case of removing the
また、手元ハンドル部20の握り部25を握って指でトリガーレバー31を矢印方向に引くと、前述のように、連結板33を介して連結された第2の連結棒35が矢印方向に移動し、立壁23の貫通穴23aを介してアタッチメント本体部40の立壁44の貫通穴44aから突出し、可動素子58を矢印方向に押圧する。これにより第2のロックレバー60の先端部が可動素子58のレバー押上げ斜面59に乗り上げて第2のロックレバー60を矢印方向に回動させ、係止突部60bを係止凹部83から離脱させてロックを解除する。これにより延長パイプ80は切換弁50のばね49に付勢されてアタッチメント本体部40から離脱するので、容易に取り外すことができる。 Further, when the
このようにして、延長パイプ80を取り外すと、アタッチメント本体部40の延長パイプ接続部42bの開口部は、ばね51に付勢された切換弁50により自動的に閉塞され、分岐風路48が開放される。また、第2のロックレバー60は自動的に元の状態に復帰し、可動素子58はそのレバー押上げ斜面59が第2のロックレバー60の先端部に押されて元の位置に戻り、これに押された第2の連結棒35、連結板33、第1の連結棒34及びトリガーレバー31も元の状態に戻る。なお、例えばトリガーレバー31と手元ハンドル部20の上枠26aとの間に、トリガーレバー31を矢印a方向に付勢するばねを設けておけば、トリガーレバー31から指を離すことにより、自動的に元の位置に戻すことができる。また、可動素子58とアタッチメント本体部40の本体管41との間にばねを設けて、可動素子58を常時縦壁44側に付勢させるようにしてもよい。 When the
延長パイプ80を取り外したときの状態を図21に示す。これにより、アタッチメント本体部40のノズル部63と本体管41の風路が、分岐風路48を介して連通するので、電動送風機3を駆動することによりノズル部63のノズル65から塵埃等を吸引して集塵室2に送り、集塵することができる。 The state when the
次に、手元ハンドル部20からアタッチメント本体部40を取り外す場合は、手元ラッチ36cを圧下して第1のロックレバー36を回動させ、係止突部36bを係止凹部43から離脱させてロックを解除することにより、容易に引き抜くことができる。
この場合、手元ハンドル部20からアタッチメント本体部40を取外して、手元ハンドル部20に延長パイプ80を接続し、この延長パイプ80にアタッチメント本体部40を接続してもよく、このように接続することによりノズル65によって天井等の高所やベッドの下などを容易に掃除することができる。Next, when removing the attachment
In this case, the attachment
また、アタッチメント本体部40に設けた切換弁50の外径を、延長パイプ接続部42bの開口部及び分岐風路48の内径より若干小さく形成したので、延長パイプ接続部42bの開口部及び分岐回路48を開閉する際にこれに接触することがないので、成形時の寸法のばらつきの影響を受けることなく、ばね49の付勢力により安定して切換弁50を開閉することができる。また、ノズル65の使用時に、延長パイプ接続部42bの開口部と切換弁50との間に隙間が形成されているので、ノズル65による吸引時にこの隙間から外気が吸引されて、風路の真空度が高くなるのを防止することができる。 Further, since the outer diameter of the switching
さらに、切換弁50に設けたばね49の付勢力を、ノズル65を使用する場合にノズル65の先端部が紙などによって閉塞された場合、アタッチメント本体部40の本体管41の風路内の真空度が、切換弁49を変位させて外気を吸引することによりあらかじめ定めた値になるように設定してもよい。また、ノズル65の使用範囲内(吸込み風量が0〜開放)において可動できるようにばね49の荷重を設定し、ノズル65の先端部の吸付き力を加減することにより切換弁50の開放角度を変化させ、ノズル65の先端部の風速や風量、風圧を自動調整するようにしてもよい。
このように構成することにより、ノズル65の先端部への紙などの吸着を防止し、電動送風機3のモータの過度の温度上昇を防止することができる。Further, the biasing force of the
By comprising in this way, adsorption | suction of paper etc. to the front-end | tip part of the
図22はアタッチメント本体部40の他の例を示す左側面図及び要部の縦断面図である。本例は、切換弁50の上部自由端(支持軸49の反対側)の前面に側面ほぼ三角形状の突出部53を設けたものである。
このように構成したことにより、延長パイプ接続部42bに延長パイプ80を挿入する際に、アタッチメント接続部82aの先端部が突出部53に当るようにし、ばね51を設けた支持軸49から離れた位置で切換弁50を押し始めるようにしたので、延長パイプ80を挿入する際の初期荷重を軽減することができる。なお、図には、突出部53を側面ほぼ三角形状に形成した場合を示したが、円弧状等他の形状にしてもよい。FIG. 22 is a left side view showing another example of the attachment
With this configuration, when the
図23はアタッチメント本体部のさらに別の例を示す左側面図である。本例は、切換弁50に複数の小穴57を設け、本体管41の真空度が高くなると小穴57から吸込まれた外気により真空度を低下させるようにしたもので、これにより切換弁50が開くのを防止することができる。 FIG. 23 is a left side view showing still another example of the attachment main body. In this example, the switching
図24はアタッチメント本体部40のさらに他の例を示す左側面図である。本例は図24(a)に示すように、切換弁50にほぼ扇形状の開口部54を設けると共に、切換弁50の背面に、この開口部54よりやや大きいほぼ扇形状の開閉弁55を、切換弁50の中心部を軸に回動可能に設けたものである。なお、56は開口部54内において開閉弁55に設けたつまみである。 FIG. 24 is a left side view showing still another example of the attachment
このように構成した本例においては、例えば、ノズル65によって掃除を行う場合、ノズル65の先端開口部が紙などによって閉塞されると、風路内の真空度が高くなってホース11が縮んだり、電動送風機3に大きな負荷がかかったりするので、これを防止するために、図24(b)に示すように、あらかじめ開閉弁55を回動して開口部54の開口面積を適宜変えることにより、風速、風量、風圧を調整するようにしたものである。 In this example configured in this way, for example, when cleaning is performed by the
これにより、ノズル65の先端開口部への紙などの付着を防止すると共に、ホース11の縮みや過負荷による電動送風機3のモータの温度上昇などを防止することができる。なお、溝などの深い場所などの清掃を行う場合は、開口部54を全閉して強制的に吸引力を上昇させるようにしてもよい。 Thereby, while adhering paper etc. to the front-end | tip opening part of the
次に、上記のように構成した本発明の作用について説明する。
通常の使用状態、すなわち、床ブラシ90を用いて床面などを掃除する場合は、図1に示すように、ホース11が接続された手元ハンドル部20にアタッチメント本体部40を接続し、このアタッチメント本体部40に延長パイプ80を接続し、その先端部に床ブラシ90が接続されたホースユニット10の接続部12を、掃除機本体1のホース差込口に接続する。
このとき、床ブラシ90、延長パイプ80、アタッチメント本体部40、手元ハンドル20の接続管21からホース11に至る風路が形成され、ノズル部63からアタッチメント本体部40に至る風路は、切換弁50により閉塞されている。Next, the operation of the present invention configured as described above will be described.
In the normal use state, that is, when the floor surface or the like is cleaned using the
At this time, an air passage from the
そして、掃除機本体1に設けたコード(図示せず)を電源に接続し、手元ハンドル20の操作部に設けた電源スイッチをONし、電動送風機3を駆動して床ブラシ90を床面に沿って移動させれば、電動送風機3の吸引力によって吸込み口92aから吸込まれた塵埃等は、ホースユニット10を通って掃除機本体1に送られて集塵室2内に集塵され、塵埃と分離された空気は電動送風機3のモータを冷却して、排気口(図示せず)から外部へ排出される。なお、必要に応じて、延長パイプ80の延長管85を延長し、又は継ぎ足してその長さを調整する。 Then, a cord (not shown) provided on the vacuum cleaner main body 1 is connected to a power source, a power switch provided on the operation portion of the hand handle 20 is turned on, the electric blower 3 is driven, and the
隙間や立体部分などを掃除するためにノズルを使用する場合は、図25に示すように、手元ハンドル部20の握り部25を握ってアタッチメント本体部40及びこれに接続された延長パイプ80を前面側に回動限界まで回動し、床ブラシ90の接続継手100に設けた係合突部105を、本体部91に設けた係合部103の係合溝104に圧入する。これにより、アタッチメント本体部40等は、床ブラシ90に対して若干前側に傾いて立設された状態でロックされる。 When a nozzle is used to clean a gap or a three-dimensional part, as shown in FIG. 25, the
ついで、手元ハンドル20のトリガーレバー31を指で手前に引くと、前述のロック解除部30の作用により、第2のロックレバー60による延長パイプ80のロックが解除されるので、そのままの状態で手元ハンドル20を上方に引けば、アタッチメント本体部40を延長パイプ80から簡単に離脱させることができる。これにより、床ノズル90に接続された延長パイプ80は、図26に示すように、接続継手100の回動が規制され、前後や左右方向に転倒することもなく自立する。 Next, when the
このとき、アタッチメント本体部40の延長パイプ接続部42bの開口部は切換弁50により自動的に閉塞され、ノズル部63の通気口66と本体管41の分岐風路48が連通する。なお、切換弁50に図24に示すように開閉弁55を設けた場合は、開口部54の開度を適宜調整しておくことが望ましい。
そして、手元ハンドル20の電源スイッチをONして電動送風機3を駆動することにより、ノズル65により隙間などの掃除を行うことができる。なお、必要に応じて、延長ノズル68によりノズル長さを適宜調整してもよい。At this time, the opening of the extension
Then, by turning on the power switch of the
再び床ブラシ90で床面等を掃除する場合は、自立状態にある延長パイプ80のアタッチメント接続部82aに、手元ハンドル20に接続されたアタッチメント本体部40の延長パイプ接続部42bを嵌合すれば、両者は第2のロックレバー60により自動的にロックされ、接続される。
すべての掃除が終ったときは、図26の状態あるいはホースユニット10を適宜分離して格納室等に収納する。When the floor surface or the like is again cleaned with the
When all the cleaning is completed, the state shown in FIG. 26 or the
上記のように構成した本発明に係る電気掃除機によれば、次のような効果を得ることができる。
(1)隙間などを掃除するノズルを備えたアタッチメント本体部を、手元ハンドル部に着脱可能に装着して常時一体化し、アタッチメント本体部に接続された延長パイプを取り外すことによりノズルを使用できるようにしたので、ノズル着脱の面倒がなく、また、ノズルを紛失することもない。According to the vacuum cleaner according to the present invention configured as described above, the following effects can be obtained.
(1) The attachment body with a nozzle that cleans gaps, etc. can be detachably attached to the hand handle and always integrated, and the nozzle can be used by removing the extension pipe connected to the attachment body. Therefore, there is no trouble of attaching and detaching the nozzle, and the nozzle is not lost.
(2)ノズルを備えたアタッチメント本体部に延長パイプを着脱可能に接続し、常時は延長パイプとアタッチメント本体部の本体管との間に風路が形成され、延長パイプを取り外すとノズルとアタッチメント本体部の本体管との間に自動的に風路が形成されると共に、本体管の延長パイプ接続部が閉塞されるので、きわめて便利である。
(3)また、アタッチメント本体部に接続された延長パイプを、手元ハンドル部に設けたトリガーレバーを操作することにより取り外せるようにしたので、きわめて便利である。(2) The extension pipe is detachably connected to the attachment main body provided with the nozzle, and an air passage is normally formed between the extension pipe and the main body pipe of the attachment main body. When the extension pipe is removed, the nozzle and the attachment main body are removed. Since an air passage is automatically formed between the main body pipe and the extension pipe connection part of the main body pipe is closed, it is very convenient.
(3) Since the extension pipe connected to the attachment main body can be removed by operating the trigger lever provided on the hand handle, it is very convenient.
(4)床ブラシによる掃除からノズルによる掃除に切換える場合、又はその逆の場合において、床ブラシに接続された延長パイプを自立させた状態で、使用者は腰を屈めることなく立ったままで手元ハンドル部のトリガーレバーを操作することにより、アタッチメント本体部を延長パイプから取り外すことができるので、操作が容易で疲労することもない。(4) When switching from cleaning with a floor brush to cleaning with a nozzle, or vice versa, the user can stand without bending his / her waist with the extension pipe connected to the floor brush standing independently. By operating the trigger lever of the handle portion, the attachment main body portion can be removed from the extension pipe, so that the operation is easy and does not cause fatigue.
(5)手元ハンドル部のアタッチメント接続部の上面には貫通穴を有する縦壁が設けられており、この貫通穴内には第2の連結棒の先端部が位置しているので、縦壁の存在と相俟ってロック解除部内に塵埃等が侵入することがなく、このため動作不良を生ずることもない。(5) A vertical wall having a through hole is provided on the upper surface of the attachment connecting portion of the hand handle portion, and since the tip of the second connecting rod is located in the through hole, the presence of the vertical wall In combination with this, dust or the like does not enter the unlocking portion, and therefore no malfunction occurs.
1 掃除機本体、10 ホースユニット、11 ホース、20 手元ハンドル部、21 接続管、25 握り部、30 ロック解除部、31 トリガーレバー、36 第1のロックレバー、37 カバー、40 アタッチメント本体部、41 本体管、50 切換弁、60 第2のロックレバー、63 ノズル部、65 ノズル、80 延長パイプ、90 床ブラシ、91 本体部、95 継手基体、100 接続継手、102 ロック手段。 DESCRIPTION OF SYMBOLS 1 Vacuum cleaner main body, 10 hose unit, 11 hose, 20 hand handle part, 21 connection pipe, 25 grip part, 30 unlocking part, 31 trigger lever, 36 1st lock lever, 37 cover, 40 attachment
| Application Number | Priority Date | Filing Date | Title |
|---|---|---|---|
| JP2004218787AJP2006034593A (en) | 2004-07-27 | 2004-07-27 | Electric vacuum cleaner |
| Application Number | Priority Date | Filing Date | Title |
|---|---|---|---|
| JP2004218787AJP2006034593A (en) | 2004-07-27 | 2004-07-27 | Electric vacuum cleaner |
| Publication Number | Publication Date |
|---|---|
| JP2006034593Atrue JP2006034593A (en) | 2006-02-09 |
| Application Number | Title | Priority Date | Filing Date |
|---|---|---|---|
| JP2004218787APendingJP2006034593A (en) | 2004-07-27 | 2004-07-27 | Electric vacuum cleaner |
| Country | Link |
|---|---|
| JP (1) | JP2006034593A (en) |
| Publication number | Priority date | Publication date | Assignee | Title |
|---|---|---|---|---|
| JP2008022950A (en)* | 2006-07-19 | 2008-02-07 | Mitsubishi Electric Corp | Vacuum cleaner |
| JP2011136209A (en)* | 2011-03-10 | 2011-07-14 | Mitsubishi Electric Corp | Vacuum cleaner |
| JP2017185004A (en)* | 2016-04-05 | 2017-10-12 | 三菱電機株式会社 | Suction tool |
| JP2019136337A (en)* | 2018-02-13 | 2019-08-22 | シャープ株式会社 | Extension pipe of vacuum cleaner |
| Publication number | Priority date | Publication date | Assignee | Title |
|---|---|---|---|---|
| JP2008022950A (en)* | 2006-07-19 | 2008-02-07 | Mitsubishi Electric Corp | Vacuum cleaner |
| JP2011136209A (en)* | 2011-03-10 | 2011-07-14 | Mitsubishi Electric Corp | Vacuum cleaner |
| JP2017185004A (en)* | 2016-04-05 | 2017-10-12 | 三菱電機株式会社 | Suction tool |
| JP2019136337A (en)* | 2018-02-13 | 2019-08-22 | シャープ株式会社 | Extension pipe of vacuum cleaner |
| JP7117111B2 (en) | 2018-02-13 | 2022-08-12 | シャープ株式会社 | vacuum cleaner extension pipe |
| Publication | Publication Date | Title |
|---|---|---|
| EP1795105B1 (en) | Vacuum cleaner | |
| EP1464267B1 (en) | Vacuum cleaner | |
| CA2738299C (en) | Vacuum cleaner | |
| JP2007090037A (en) | Brush assembly for vacuum cleaner and vacuum cleaner provided with the same | |
| JP4258730B2 (en) | Electric vacuum cleaner | |
| KR102268576B1 (en) | Vacuum cleaner | |
| JP2006034593A (en) | Electric vacuum cleaner | |
| KR100968331B1 (en) | Vacuum cleaner | |
| JP2009066333A (en) | Vacuum cleaner suction tool and vacuum cleaner equipped with the suction tool | |
| KR200359525Y1 (en) | Suction device for vacuum cleaner | |
| JP4417758B2 (en) | Vacuum cleaner | |
| JP4713958B2 (en) | Electric vacuum cleaner | |
| JP2006034655A (en) | Electric vacuum cleaner | |
| JP3400948B2 (en) | Electric vacuum cleaner | |
| JP3390901B2 (en) | Electric vacuum cleaner | |
| JP5482103B2 (en) | Electric vacuum cleaner | |
| JP4734434B2 (en) | Vacuum cleaner | |
| JP4713650B2 (en) | Electric vacuum cleaner | |
| JP2007130169A (en) | Electric vacuum cleaner | |
| JP2008188377A (en) | Vacuum cleaner suction tool and vacuum cleaner | |
| JP4930264B2 (en) | Suction tool and electric vacuum cleaner using the same | |
| JP2005312788A (en) | Vacuum cleaner | |
| KR200205466Y1 (en) | Absorbing apparatus of a vacuum cleaner | |
| JP2006340739A (en) | Vacuum cleaner | |
| JP2005334041A (en) | Attachment and vacuum cleaner |
| Date | Code | Title | Description |
|---|---|---|---|
| A621 | Written request for application examination | Effective date:20060714 Free format text:JAPANESE INTERMEDIATE CODE: A621 | |
| A977 | Report on retrieval | Effective date:20080624 Free format text:JAPANESE INTERMEDIATE CODE: A971007 | |
| A131 | Notification of reasons for refusal | Free format text:JAPANESE INTERMEDIATE CODE: A131 Effective date:20080701 | |
| A521 | Written amendment | Free format text:JAPANESE INTERMEDIATE CODE: A523 Effective date:20080825 | |
| A02 | Decision of refusal | Effective date:20080930 Free format text:JAPANESE INTERMEDIATE CODE: A02 | |
| A521 | Written amendment | Free format text:JAPANESE INTERMEDIATE CODE: A523 Effective date:20081030 | |
| A911 | Transfer of reconsideration by examiner before appeal (zenchi) | Effective date:20081208 Free format text:JAPANESE INTERMEDIATE CODE: A911 | |
| A912 | Removal of reconsideration by examiner before appeal (zenchi) | Effective date:20090130 Free format text:JAPANESE INTERMEDIATE CODE: A912 |