



本発明は、鼻毛切り用鋏に関するものである。 The present invention relates to a nose hair cutting fold.
従来より、鼻の孔の中に生えている鼻毛を切る際に用いる鼻毛切り用鋏が知られている。この鼻毛切り用鋏は、刃部と操作部とを有する第一鋏片及び第二鋏片と、刃部と操作部との間を支点の中心として第一鋏片及び第二鋏片を互いに回動可能に支持する支持部とを主に備えたものなどがある。図3に示すように、このような鼻毛切り用鋏80では、刃部を鼻の孔の中に挿入しやすくするために、その先端が先細りになって尖っているとともに、全体の大きさが通常の鋏よりも小さくなっている。 2. Description of the Related Art Conventionally, nose hair cutting scissors used for cutting nose hair growing in a nostril are known. The nose hair cutting scissors have a first scissor piece and a second scissor piece having a blade part and an operation part, and a first scissor piece and a second scissor piece which are centered on a fulcrum between the blade part and the operation part. Some of them mainly include a support portion that is rotatably supported. As shown in FIG. 3, in such a nose
そして、この鋏80では、刃部の先端を鼻の孔の中に挿入し、一対の刃部を開いた開位置(図3(b)参照)とし、その刃部間に鼻毛を入れて、次に一対の刃部を閉じた閉位置(図3(a)参照)とすることにより鼻毛を切断している。このとき、刃部の先端は、鼻の孔の中に入っているので見難く、鋏80の尖っている先端が皮膚や粘膜などに突き刺さる恐れがあった。 And in this
そこで、例えば、図4(a)に示すように、鋏90においてその先端に丸みを帯びた突出部91,92を設けることにより、先端が皮膚などに当接しても突き刺さることを防止した鼻毛切り用鋏なども提案されている。 Therefore, for example, as shown in FIG. 4 (a), by providing
しかしながら、上記の従来技術の鋏80,90は、鼻の孔の中で開位置から閉位置へと変化させる際に、鋏80,90の先端が見え難いことから先端が皮膚などに当接して皮膚などを引っ掛けてしまう可能性があり(図4(b)参照)、このまま鋏80,90を閉じると、閉位置となったときに先端付近で皮膚などを挟んだり切ったりする恐れがあった。 However, when the above-described
本発明は上記の実情を鑑み、刃部の先端が皮膚や粘膜などに当接しても、挟んだり切ったりすることがなく、安全に鼻毛を切ることが可能な鼻毛切り用鋏の提供を課題とするものである。 In view of the above circumstances, the present invention has an object to provide a nose hair cutting scissor that can safely cut nose hair without being pinched or cut even when the tip of the blade portion comes into contact with the skin or mucous membrane. It is what.
上記の課題を解決するため、本発明にかかる鼻毛切り用鋏は、切断刃を有する一対の刃部と、一対の該刃部を開位置と閉位置との間で操作するための操作部とを備え、一対の前記刃部の少なくともいずれか一方は、閉位置のときに先端が閉じないように切欠部を備えることを主な特徴とするものである。 In order to solve the above-mentioned problems, a nose hair cutting scissor according to the present invention includes a pair of blade portions having a cutting blade, and an operation portion for operating the pair of blade portions between an open position and a closed position. And at least one of the pair of blade portions is characterized by having a notch portion so that the tip does not close when in the closed position.
ここで、切欠部は、閉位置となるときに先端が閉じないようにするものであれば、その具体的な構成を何ら特定するものではなく、一対の刃部の両方に備えられているものであってもよく、いずれか一方に備えられているものであってもよい。 Here, as long as the cutout portion prevents the tip from closing when it is in the closed position, the specific configuration is not specified at all, and the cutout portion is provided in both the pair of blade portions. May be provided, or one of them may be provided.
したがって、本発明の鼻毛切り用鋏によれば、一対の刃部の少なくともいずれか一方に、閉位置のときに先端が閉じないような切欠部を備えることから、一対の刃部が開位置から閉位置となる際に、刃部の先端が見難くて先端が皮膚や粘膜などに当接して皮膚などを引っ掛けも、閉位置になったときに皮膚などを挟んだり切ったりすることがない。よって、鼻毛などを切る作業を安全に行うことができる。 Therefore, according to the nose hair cutting scissors of the present invention, at least one of the pair of blade portions is provided with a notch portion that does not close the tip when in the closed position, so that the pair of blade portions are removed from the open position. When the closed position is reached, it is difficult to see the tip of the blade and the tip abuts against the skin or mucous membrane, so that the skin is not caught or cut when the closed position is reached. Therefore, the operation | work which cuts nose hair etc. can be performed safely.
本発明にかかる鼻毛切り用鋏は、上記の構成に加え、前記切欠部は、前記刃部の前記先端からの長さが0.3〜3mmの範囲で設けられているものであってもよい。 In addition to the above configuration, the nose hair cutting scissors according to the present invention may be such that the cutout portion has a length from the tip of the blade portion in the range of 0.3 to 3 mm. .
ここで、切欠部の長さの範囲を0.3〜3mmとしたのは、切欠部の長さが0.3mmより短いと、一対の刃部を閉位置とした際に先端の閉じない部分が小さくなり、皮膚などを挟んだり切ったりしてしまう可能性があるからである。また、切欠部の長さが3mmより長いと、一対の刃部を閉位置とした際に先端の閉じない部分が必要以上に大きくなり、鼻毛などを切り難くなってしまうからである。 Here, the range of the length of the notch is 0.3 to 3 mm because when the length of the notch is shorter than 0.3 mm, the tip does not close when the pair of blades are in the closed position. This is because there is a possibility that the size of the skin becomes small, and the skin may be pinched or cut. In addition, if the length of the notch portion is longer than 3 mm, when the pair of blade portions are set to the closed position, the portion where the tip does not close becomes larger than necessary, and it becomes difficult to cut the nose hair and the like.
したがって、本発明の鼻毛切り用鋏によれば、切欠部の先端からの長さを0.3〜3mmの範囲としたものであり、刃部が閉位置となったときに、皮膚などを挟んだり切ったりすることを確実に防止できると共に、鼻毛が切り難くなることを防止できる。 Therefore, according to the nose hair cutting scissors of the present invention, the length from the tip of the notch is in the range of 0.3 to 3 mm, and the skin is sandwiched when the blade is in the closed position. It is possible to surely prevent cutting and cutting, and to prevent the nose from becoming difficult to cut.
なお、切欠部は、一対の刃部が閉位置のときに閉じてない先端部分の深さが0.5〜1.5mmの範囲となるように、その長さを設定することが望ましい。 In addition, it is desirable to set the length of the notch part so that the depth of the tip part not closed when the pair of blade parts are in the closed position is in the range of 0.5 to 1.5 mm.
本発明にかかる鼻毛切り用鋏は、上記の構成に加え、前記切欠部には、前記切断刃が設けられていないものであってもよい。 In addition to the above-described configuration, the nose hair cutting scissors according to the present invention may be one in which the cutting blade is not provided in the cutout portion.
ところで、切断刃が刃部の先端まで設けられていると、刃部の先端が皮膚などに当接した際に、皮膚などを切ってしまう恐れがある。これに対し、本発明の鼻毛切り用鋏によれば、刃部において切断刃が切欠部には設けられていない。すなわち、刃部の先端付近には切断刃が設けられていないので、刃部の先端が皮膚などに当接しても切ったりすることがなく、より安全に鼻毛を切る作業を行うことができる。 By the way, if the cutting blade is provided up to the tip of the blade, there is a risk that the skin or the like may be cut when the tip of the blade contacts the skin. On the other hand, according to the nose hair cutting scissors of the present invention, the cutting blade is not provided in the notch portion in the blade portion. That is, since no cutting blade is provided near the tip of the blade portion, even if the tip of the blade portion comes into contact with the skin or the like, it is not cut, and the operation of cutting the nose hair can be performed more safely.
以上のように、本発明は、刃部の先端が皮膚や粘膜などに当接しても、挟んだり切ったりすることがなく、安全に鼻毛を切ることが可能な鼻毛切り用鋏を提供できる。 As described above, the present invention can provide a nose hair cutting scissor that can safely cut nose hair without being pinched or cut even when the tip of the blade portion comes into contact with the skin or mucous membrane.
以下、本発明を実施するための最良の一実施形態である鼻毛切り用鋏1について、図1及び図2に基づき説明する。図1は本発明の一実施形態である鼻毛切り用鋏1の開位置の構成を示す正面図であり、図2(a)は、鼻毛切り用鋏1の閉位置の刃部の構成を示す正面図であり、図2(b)は、鼻毛切り用鋏1の刃部の使用状態を示す説明図である。本実施形態の鼻毛切り用鋏1は、鼻の孔の中に生えている鼻毛を切る際に主に用いるものである。 Hereinafter, a nose hair cutting scissor 1 that is the best embodiment for carrying out the present invention will be described with reference to FIGS. 1 and 2. FIG. 1 is a front view illustrating a configuration of an open position of a nose hair cutting ridge 1 according to an embodiment of the present invention, and FIG. 2A illustrates a configuration of a blade portion of the nose hair cutting ridge 1 in a closed position. It is a front view and FIG.2 (b) is explanatory drawing which shows the use condition of the blade part of the scissors 1 for nose hair cutting. The nose hair cutting scissors 1 of this embodiment are mainly used when cutting the nose hairs growing in the nostrils.
鼻毛切り用鋏1は、図1に示すように、一対の第一鋏片2および第二鋏片3と、その第一鋏片2および第二鋏片3を回動可能に支持する支持部4とを主に備えている。 As shown in FIG. 1, the nose hair cutting scissors 1 are a pair of first scissors 2 and
第一鋏片2は、刃部21と、刃部21から延びて設けられた操作部23と、操作部23と刃部21との中間に設けられ、支持部4を挿通するための貫通孔(図示省略)とを主に備えている。また、第二鋏片3も第一鋏片2と略同じ形状とされており、刃部31と、操作部と33、貫通孔(図示省略)とを主に備えている。なお、第一鋏片2および第二鋏片3は、操作部23,33から支持部4付近までの外形をなす樹脂と、その樹脂にインサートされて刃部21,31の外形をなすステンレス鋼とから形成されている。 The first collar piece 2 is provided in the middle of the
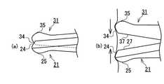
これら第一鋏片2および第二鋏片3において、刃部21,31は、その一方の縁の先端に備えられた切欠部24,34と、切欠部24,34とは反対側で外方に突出する略半円弧状の突出部25,35と、切欠部24,34の貫通孔に近い側の端26,36から貫通孔方向に延びる所定の長さの切断刃27,37とを備えている。 In the first collar piece 2 and the
なお、切欠部24,34は、一対の刃部21,31が閉位置の状態でその先端に所定の隙間を形成可能な大きさ及び形状とされている。因みに本例では、C面取り形状とされ、刃部21,31の先端から貫通孔方向に向かっての長さAは約1mm程度とされている。 The
一方、第一鋏片2および第二鋏片3において、操作部23,33は、貫通孔を挟んで刃部21,31と反対側に配置され、その後端部の、刃部21,31の切断刃27,37が備えられた縁と同じ側の縁に外方に突出した環状の指通孔22,32が備えられている。 On the other hand, in the 1st collar piece 2 and the
そして、これら第一鋏片2および第二鋏片3は、夫々の刃部21,31の切断刃27,37が互いに対向するように重ね合わせて、夫々の貫通孔を一致させた上で、その貫通孔に支持部4を挿通することで組み立てられている。 And these 1st collar piece 2 and
次に、本実施形態の鼻毛切り用鋏1の作用について説明する。鼻毛切り用鋏1では、操作部23,33の指通孔22,32に指を挿通して、指通孔22,32を互いに離間させるように操作することで、刃部21,31が互いに離間した開位置(図1参照)とすることが可能であると共に、指通孔22,32を互いに近づけさせるように操作することにより、刃部21,31が互いに重ね合わさった閉位置(図2(a)参照)とすることが可能である。 Next, the operation of the nose hair cutting scissors 1 of the present embodiment will be described. In the nose hair cutting scissors 1, the
そして、鼻毛切り用鋏1を用いて鼻毛を切る場合、先ず、操作部23,33の指通孔22,32に指を挿通して鼻毛切り用鋏1を持ち、閉位置または開位置の状態で刃部21,31の先端を鼻の孔の中に挿入する。このとき、刃部21,31の先端が鼻の孔の中の粘膜などに当接しても、刃部21,31の先端において、突出部25,35が設けられているので、粘膜などに突き刺さることはない。 When cutting the nose hair using the nose hair cutting scissors 1, first, the finger is inserted into the
続いて、開位置の状態で刃部21,31間に鼻毛を位置させ、刃部21,31を閉位置とすることで、鼻毛が切断される。ところで、鼻毛を切る際に、鼻毛切り用鋏1の先端が鼻の孔の中に挿入されており、その先端が見難いため、先端が粘膜などに当接しているのに気付かずに鼻毛切り用鋏1を閉位置へと操作しても(図2(b)参照)、先端に形成された切欠部24,34により閉位置において所定の隙間が形成されるので、粘膜などを刃部21と刃部31とで挟むことがなく、鼻毛のみが確実に切断される。 Subsequently, the nose hairs are cut by placing the nose hairs between the
このように、本実施形態の鼻毛切り用鋏1は、一対の刃部21,31に、閉位置のときに先端が閉じないような切欠部24,34を備えることから、一対の刃部21,31が開位置から閉位置となる際に、刃部21,31の先端が見難くくて先端が皮膚や粘膜などに当接して皮膚などを引っ掛けも、閉位置になったときに皮膚などを挟んだり切ったりすることがない。よって、鼻毛などを切る作業を安全に行うことができる。また、一対の刃部21,31が閉位置となったときに刃部21,31間に適度な隙間ができるようにしていることから、皮膚などを挟んだり切ったりすることを確実に防止できると共に、鼻毛が切り難くなることを防止できる。 Thus, since the nose hair cutting scissors 1 of this embodiment are provided with the
また、本実施形態の鼻毛切り用鋏1は、切欠部24,34に切断刃27,37が設けられていないことから、開閉時において刃部21,31の先端が皮膚などに接触しても切ったりすることがなく、より安全に鼻毛を切る作業を行うことができる。 Moreover, since the
以上、本発明について好適な実施形態を挙げて説明した。しかし、本発明はこの実施形態に限定されるものではない。以下に示すように、本発明の要旨を逸脱しない範囲において、種々の改良及び設計の変更が可能である。 The present invention has been described with reference to preferred embodiments. However, the present invention is not limited to this embodiment. As shown below, various improvements and design changes can be made without departing from the scope of the present invention.
1.上記実施形態の鼻毛切り用鋏1では、閉位置となったときに、一対の刃部21,31の切断刃27,37が互いに重ね合わされるものを示した。しかし、これに特に限定するものではなく、閉位置となったときに、一対の刃部の切断刃が互いに噛み合わされるものであってもよい。切断刃が互いに噛み合う場合であっても、刃部の先端に切欠部を設けることにより、鼻毛切り用鋏1と同様の作用効果を得ることができる。 1. In the nose hair cutting scissors 1 of the above-described embodiment, the
2.上記実施形態の鼻毛切り用鋏1では、第一鋏片2と第二鋏片3とを刃部21,31と操作部23,33との間を支点の中心として支持部4により回動可能に組み付けたものを示した。しかし、これに特に限定されるものではなく、例えば、一対の鋏片からなり、その鋏片の先端側に一対の刃部を設けると共に、その反対側の基端側で互いに連結されて構成されるものであってもよい。或いは、一体的な鋏片からなり、両端に刃部を設けると共に中央で屈曲させて、刃部を相対させる構成であってもよい。 2. In the nose hair cutting scissors 1 of the above embodiment, the first scissors piece 2 and the
3.上記実施形態の鼻毛切り用鋏1では、一対の刃部21,31の両方の先端に切欠部24,34を設けたものを示した。しかし、これに特に限定されるものではなく、刃部21,31のどちらか一方にのみ切欠部を設けて先端が閉じないようにしてもよい。しかし、切欠部を設けるとその鋏片の先端が緩やかになることなどの点から、刃部21,31の両方に切欠部を設ける方がより好ましい。 3. In the nose hair cutting scissors 1 of the above-described embodiment, the one in which the
4.上記実施形態の鼻毛切り用鋏1では、切欠部24,34を、刃部21,31の長手方向に対して斜めに直線状に設けたものを示した。しかし、これに特に限定されるものではなく、切欠部の縁を面取りして設けたり、切欠部を略円弧状に設けてもよい。 4). In the nose hair cutting scissors 1 of the above-described embodiment, the
鼻毛切り用の鋏に適用できるほか、例えば手術など、切断作業時に先端が見難くなる場合に用いる鋏に適用すると特に好適である。 In addition to being applicable to nose hair cutting scissors, it is particularly suitable when applied to scissors used when the tip is difficult to see during cutting operations, such as surgery.
1 鼻毛切り用鋏
21,31 刃部
23,33 操作部
24,34 切欠部
27,37 切断刃1 Nose
| Application Number | Priority Date | Filing Date | Title |
|---|---|---|---|
| JP2004123739AJP2005304655A (en) | 2004-04-20 | 2004-04-20 | Nose hair trimming scissors |
| Application Number | Priority Date | Filing Date | Title |
|---|---|---|---|
| JP2004123739AJP2005304655A (en) | 2004-04-20 | 2004-04-20 | Nose hair trimming scissors |
| Publication Number | Publication Date |
|---|---|
| JP2005304655Atrue JP2005304655A (en) | 2005-11-04 |
| Application Number | Title | Priority Date | Filing Date |
|---|---|---|---|
| JP2004123739APendingJP2005304655A (en) | 2004-04-20 | 2004-04-20 | Nose hair trimming scissors |
| Country | Link |
|---|---|
| JP (1) | JP2005304655A (en) |
| Publication number | Priority date | Publication date | Assignee | Title |
|---|---|---|---|---|
| USD569701S1 (en)* | 2006-05-30 | 2008-05-27 | Jch International, Sarl | Scissors |
| US20110302788A1 (en)* | 2010-06-07 | 2011-12-15 | Donald Jason Milligan | Safety scissors for hairdressers/barbers/groomers |
| CN102741023A (en)* | 2010-01-26 | 2012-10-17 | 朴浩钟 | Non-powered nose hair trimmer and preparation method thereof |
| CN104245252A (en)* | 2012-04-04 | 2014-12-24 | 金淨杓 | Scissors with circular blades |
| CN105936054A (en)* | 2015-08-13 | 2016-09-14 | 朴圣薰 | Clip type nasal hair cutter having safe device |
| US10618187B2 (en) | 2016-11-04 | 2020-04-14 | Donald Jason Milligan | Scissor guide |
| Publication number | Priority date | Publication date | Assignee | Title |
|---|---|---|---|---|
| USD569701S1 (en)* | 2006-05-30 | 2008-05-27 | Jch International, Sarl | Scissors |
| CN102741023A (en)* | 2010-01-26 | 2012-10-17 | 朴浩钟 | Non-powered nose hair trimmer and preparation method thereof |
| US20110302788A1 (en)* | 2010-06-07 | 2011-12-15 | Donald Jason Milligan | Safety scissors for hairdressers/barbers/groomers |
| CN104245252A (en)* | 2012-04-04 | 2014-12-24 | 金淨杓 | Scissors with circular blades |
| CN105459160A (en)* | 2012-04-04 | 2016-04-06 | 金淨杓 | Rounded blade scissors |
| CN105459160B (en)* | 2012-04-04 | 2017-07-14 | 金淨杓 | Scissors |
| CN105936054A (en)* | 2015-08-13 | 2016-09-14 | 朴圣薰 | Clip type nasal hair cutter having safe device |
| US10618187B2 (en) | 2016-11-04 | 2020-04-14 | Donald Jason Milligan | Scissor guide |
| Publication | Publication Date | Title |
|---|---|---|
| US20050229404A1 (en) | Combination knife | |
| US4246698A (en) | Suture remover | |
| JP2001238890A5 (en) | ||
| EP1056367B1 (en) | Nail clippers | |
| US9138256B2 (en) | Surgical instrument | |
| US4098157A (en) | Method for suture removal | |
| JP2005304655A (en) | Nose hair trimming scissors | |
| WO2016068163A1 (en) | Anterior capsule incision cutter | |
| JP2007244548A (en) | Thinning scissors | |
| US6733508B1 (en) | Umbilical cord clamp cutter | |
| JP2004174245A (en) | Trimmer and method for cutting coil strand | |
| KR101652821B1 (en) | A clippers for nose hair | |
| CN214712695U (en) | Spring hammer bone scissors | |
| CN116277166A (en) | Nose hair trimmer | |
| JPWO2018070409A1 (en) | Nose knife | |
| JP2007215976A (en) | Gray hair cutter | |
| JP2006000604A (en) | Nail clipper with cutting edge of three-dimensional curve shape | |
| US6865814B2 (en) | Butcher tool | |
| US20220330928A1 (en) | Multi-Orientation Razor Blade | |
| JP3134082U (en) | Hair clip holder | |
| JP3053511U (en) | Surgical scissors | |
| JP3230026U (en) | Scissors for cutting nose hair | |
| CN214629000U (en) | A multifunctional ear tag pliers | |
| KR200243839Y1 (en) | scissors having knife blade | |
| KR100609268B1 (en) | Die Sector and Scissors |