




本発明は、電池の正極合剤および負極合剤の製造方法およびこれらの正負極合剤より得られた電極を使用した非水電解液電池に関する。 The present invention relates to a method for producing a positive electrode mixture and a negative electrode mixture of a battery, and a non-aqueous electrolyte battery using an electrode obtained from these positive and negative electrode mixtures.
非水電解液電池は、従来主として電子手帳、電子計算機、携帯電話機等のコードレス機器用メモリーバックアップ等の電源として用いられてきたが、近年これらの機器の主電源としても用いられるようになってきた。主電源として用いる場合、使用する電池数は2個または3個で、これらを並列および直列で使用することが多く、安全性を高める上で電池容量の安定化が要求されてきている。 Non-aqueous electrolyte batteries have been used mainly as power sources for memory backup for cordless devices such as electronic notebooks, electronic computers, and mobile phones, but have recently been used as main power sources for these devices. . When used as a main power source, the number of batteries to be used is two or three, and these are often used in parallel and in series, and stabilization of the battery capacity has been required to improve safety.
図3は、代表的な非水電解液電池であるコイン形リチウム電池の概略断面図である。この図において、負極封口板1内には、リチウムまたはリチウム合金等で構成された負極2が収納されており、正極容器6には正極体4が収納されている。正極体4は、二酸化マンガン、フッ化黒鉛等の正極作用物質を導電剤や結着剤とともに混合し、ペレット状に成形させたものである。負極2と正極体4とはセパレータ3を介して対向配置されており、封口パッキング5が負極封口板1と正極容器6との間に介在して両者を絶縁している。さらにカシメ工程により正極容器6の上縁部をカールさせて電池を封口している。 FIG. 3 is a schematic cross-sectional view of a coin-type lithium battery which is a typical non-aqueous electrolyte battery. In this figure, a
このような非水電解液電池において、一般的に正極は、図4に示すような方法で製造されている。すなわち、正極作用物質(二酸化マンガン)を導電剤(人造黒鉛)や結着剤とともに混合・攪拌し、膨潤剤を加えてさらに攪拌し、これを押出し方式で造粒したもの(例えば、特許文献1参照)、あるいは押出し造粒したものを円板上に投入して球形に成形したもの(例えば、特許文献2参照)、を容器に載せて高温雰囲気で乾燥させ、次に篩で分級して顆粒状とする。この顆粒状の正極をペレット状に成形して正極体を得る。 In such a non-aqueous electrolyte battery, the positive electrode is generally manufactured by a method as shown in FIG. That is, a positive electrode active substance (manganese dioxide) is mixed and stirred together with a conductive agent (artificial graphite) and a binder, added with a swelling agent, further stirred, and granulated by an extrusion method (for example, Patent Document 1). (Refer to Patent Document 2), which has been extruded and granulated into a disk and placed into a spherical shape (for example, see Patent Document 2), dried in a high-temperature atmosphere, and then classified with a sieve. The shape. The granular positive electrode is formed into a pellet to obtain a positive electrode body.
上記コイン形リチウム電池では、負極はリチウムまたはリチウム合金等で構成されているが、非水電解液二次電池では、負極は、例えば、リチウムイオンを吸蔵放出する炭素質材料と結着剤、導電材とを混練した負極合剤より作製したものも使用されており、その場合には上記正極体とほぼ同じようにして負極体を得ている。 In the coin-type lithium battery, the negative electrode is made of lithium or a lithium alloy. In the non-aqueous electrolyte secondary battery, the negative electrode is, for example, a carbonaceous material that absorbs and releases lithium ions, a binder, and a conductive material. What was produced from the negative electrode mixture which knead | mixed the material is also used, and the negative electrode body is obtained like the said positive electrode body in that case.
ところが、上記の製造方法によると、造粒したものを容器(例えば、金属製バットまたは金網)に載せて高温雰囲気で乾燥させたときに、処理量が多いとその重さによって造粒したものが押しつぶされ、カサ密度や顆粒合剤の粒径にバラツキが生ずることがある。このバラツキにより、ペレット状に成形したときに、得られた正極合剤の質量が安定せず、その結果電池の放電性能に影響を及ぼすことになる。 However, according to the above manufacturing method, when the granulated product is placed on a container (for example, a metal vat or a metal mesh) and dried in a high temperature atmosphere, if the amount of treatment is large, the granulated product is weighted. Crushing may cause variations in the bulk density and particle size of the granule mixture. Due to this variation, when formed into a pellet, the mass of the obtained positive electrode mixture is not stabilized, and as a result, the discharge performance of the battery is affected.
また、負極合剤の場合も同様に、炭素質材などの負極物質を導電剤や結着剤と混合・攪拌して、押出し方式で造粒する場合に、乾燥工程で上記の問題が発生する。
本発明はこのような問題に対処してなされたもので、本発明の解決しようとする問題点は、電池の正極合剤および負極合剤の製造方法を改良してこれら合剤のカサ密度や顆粒合剤の粒径のバラツキをなくし、それによって電池特に非水電解液電池の放電性能を安定化させることである。 The present invention has been made in response to such problems, and the problem to be solved by the present invention is that the manufacturing method of the positive electrode mixture and the negative electrode mixture of the battery has been improved to improve the bulk density of these mixtures. It is to eliminate the variation in the particle size of the granule mixture, thereby stabilizing the discharge performance of the battery, particularly the non-aqueous electrolyte battery.
すなわち本発明は、正極作用物質または負極作用物質を導電剤および結着剤と混合し、これを押出し方式で造粒し、さらに乾燥、分級した後成形する電池正極合剤または負極合剤の製造方法において、上記乾燥工程を流動乾燥方式で行うことを特徴とする。
また、本発明は、上記の製造方法で製造した正極合剤または負極合剤を正極または負極として用いたことを特徴とする非水電解液電池に関する。That is, the present invention relates to the production of a battery positive electrode mixture or negative electrode mixture in which a positive electrode active material or a negative electrode active material is mixed with a conductive agent and a binder, granulated by an extrusion method, dried, classified, and then molded. In the method, the drying step is performed by a fluidized drying method.
The present invention also relates to a non-aqueous electrolyte battery characterized in that the positive electrode mixture or the negative electrode mixture manufactured by the above manufacturing method is used as a positive electrode or a negative electrode.
本発明における流動乾燥方式で行う乾燥工程を具体的に示すと、例えば、押出し造粒機から押出された造粒合剤を温風または熱風が吹き上げている流動乾燥機中に自然落下させ、造粒合剤が温風または熱風で煽られるようにして流動しながら乾燥させる方法である。 Specifically, the drying process performed by the fluidized drying method in the present invention is, for example, the granulation mixture extruded from the extrusion granulator is naturally dropped into a fluidized dryer where hot air or hot air is blown up, In this method, the granule is dried while flowing so as to be beaten with hot air or hot air.
本発明では上記したように造粒した後の乾燥を流動方式で行うので、造粒したものが押しつぶされることがなく、そのためカサ密度を従来より低下させることができ、成形性がよくなってペレット状に成形された正極体・負極体の強度が向上する。また、顆粒合剤の粒径が安定するので、ペレット成形時の質量のバラツキが低減し、電池の放電性能が安定する。この製造方法は特に非水電解液電池の電極合剤の場合に適しており、かかる製造方法で得られた正極合剤,負極合剤を用いた非水電解液電池は放電性能が極めて安定したものとなる。 In the present invention, as described above, drying after granulation is performed in a fluidized manner, so that the granulated material is not crushed, so that the bulk density can be lowered as compared with conventional pellets, and the moldability is improved and the pellets are improved. The strength of the positive electrode body / negative electrode body formed into a shape is improved. In addition, since the particle size of the granule mixture is stabilized, variation in mass at the time of pellet molding is reduced, and the discharge performance of the battery is stabilized. This manufacturing method is particularly suitable for the electrode mixture of a non-aqueous electrolyte battery, and the non-aqueous electrolyte battery using the positive electrode mixture and the negative electrode mixture obtained by such a manufacturing method has extremely stable discharge performance. It will be a thing.
図1に本発明の正極合剤の製造方法をその工程図で示す。図1に示すように、二酸化マンガン(正極作用物質)、人造黒鉛(導電剤)および結着剤(結着剤)を混合攪拌し、次に膨潤剤を加えて攪拌し、これらを押出し造粒機に入れて押出し、造粒する。押出された造粒合剤をそのまま流動乾燥機に落下させて、乾燥させる。流動乾燥機内には熱風が旋風となって吹き込んでいるので、造粒合剤はこの熱風に煽られて流動しながら乾燥される。このようにして乾燥した造粒合剤を篩にかけて粒径を揃え、ペレット状に成形し、乾燥して正極を得る。 FIG. 1 is a process diagram showing a method for producing a positive electrode mixture of the present invention. As shown in FIG. 1, manganese dioxide (positive electrode active substance), artificial graphite (conductive agent) and binder (binder) are mixed and stirred, then a swelling agent is added and stirred, and these are extruded and granulated. Extrude into a machine and granulate. The extruded granulated mixture is dropped as it is on a fluid dryer and dried. Since the hot air is blown into the fluid dryer as the whirl, the granulated mixture is blown by the hot air and dried while flowing. The granulated mixture thus dried is sieved to make the particle size uniform, formed into pellets, and dried to obtain a positive electrode.
(実施例1)
まず、正極作用物質として二酸化マンガン50kgを用い、これに導電剤として人造黒鉛10kg、結着剤としてポリテトラフルオルエチレンを加えて混合・攪拌し、さらに膨潤剤としてポリアクリル酸を水酸化リチウム水溶液に溶解させたものを添加し、攪拌を行い湿潤合剤とした。この湿潤合剤を目開きが直径0.4mmのスクリーンを備えた押出し造粒機にて、押出し造粒を行った。このとき、押出される造粒合剤を流動乾燥機(不二パウダル株式会社製 ミゼットドライアー MD−B400型)に自然落下させ、乾燥機炉温度120℃にて流動乾燥を行った。この流動乾燥の様子を図2に示す。(Example 1)
First, 50 kg of manganese dioxide is used as the positive electrode active substance, 10 kg of artificial graphite is added as a conductive agent, polytetrafluoroethylene is added as a binder, and the mixture is stirred. What was dissolved in was added and stirred to obtain a wet mixture. This wet mixture was subjected to extrusion granulation in an extrusion granulator equipped with a screen having an aperture of 0.4 mm. At this time, the granulated mixture to be extruded was naturally dropped onto a fluid dryer (Midget Dryer MD-B400, manufactured by Fuji Paudal Co., Ltd.), and fluidized and dried at a dryer furnace temperature of 120 ° C. This fluid drying is shown in FIG.
図2に示されるように、流動乾燥機12は被乾燥物挿入塔13、ファン室14、温風通路15およびヒーター16からなっていて、ヒーター16で熱せられた温風または熱風は温風通路15を通ってファン室14に達し、そこから被乾燥物挿入塔13へ旋風となって吹き上げられる。一方、押出し造粒機11のスクリーン11aから押出された造粒合剤17は、流動乾燥機12の被乾燥物挿入塔13の中へ落下して、旋風となった温風または熱風によって煽られ、流動しながら乾燥される。 As shown in FIG. 2, the
このようにして乾燥した造粒合剤10kgを篩にかけて顆粒合剤とし、粒度の確認を行った。また、容積500mLの容器にこの顆粒合剤を収納し、嵩密度の測定を行った。
上記により篩い分けした710μm〜180μmの顆粒合剤を、質量0.45g、厚さ0.8mm、外径16mmのペレット状に成形し、これを250℃で乾燥して正極体4を作製した。この正極体4を図3に示すコイン形リチウム電池の正極体として用いて、正極容器6内へ収納した。The granulated mixture 10 kg dried in this way was sieved to obtain a granular mixture, and the particle size was confirmed. Moreover, this granule mixture was accommodated in the container of capacity 500mL, and the bulk density was measured.
The granule mixture of 710 μm to 180 μm sieved as described above was formed into a pellet shape having a mass of 0.45 g, a thickness of 0.8 mm, and an outer diameter of 16 mm, and dried at 250 ° C. to prepare the positive electrode body 4. Using this positive electrode body 4 as a positive electrode body of the coin-type lithium battery shown in FIG.
電解液として、プロピレンカーボネートと1,2−ジメトキシエタンの混合溶媒に過塩素酸リチウムを溶解させたものを用い、これを厚さ0.15mmのセパレータ3に含浸させ、負極2と正極体4との間に介在させた。また、負極封口板1、正極容器6との間に封口パッキング5を介在させてカシメ加工により封口し、正極容器6の上縁をカールさせて、電池総高1.6mm、外径20mmの電池(型名:CR2016)を作製した。 As an electrolytic solution, a solution obtained by dissolving lithium perchlorate in a mixed solvent of propylene carbonate and 1,2-dimethoxyethane was impregnated in a separator 3 having a thickness of 0.15 mm, and the
(比較例1)
従来の方法により正極合剤を製造した。図4にその製造方法を図式化して示す。
押出し造粒までの工程を実施例1と全く同様に行った。この押出し後の造粒合剤50kgを、60cm×40cmのステンレス製金網に各10kgずつに分けて載置し、これを炉温度120℃の乾燥炉へ入れて保管し、水分を蒸発させた。(Comparative Example 1)
A positive electrode mixture was produced by a conventional method. FIG. 4 schematically shows the manufacturing method.
The steps up to extrusion granulation were carried out in the same manner as in Example 1. 50 kg of the granulated mixture after extrusion was placed on a 60 cm × 40 cm stainless steel wire mesh in 10 kg portions, which was placed in a drying furnace at a furnace temperature of 120 ° C. and stored to evaporate moisture.
乾燥後の造粒合剤10kgを篩にかけて顆粒合剤とし、実施例1と同様に粒度の確認を行った。また、容積500mLの容器にこの顆粒合剤を収納し、嵩密度の測定を行った。
上記の顆粒合剤を用い、実施例1と同様の方法により図3に示す電池を作製した。
上記実施例1および比較例1において測定した粒度分布状態および嵩密度の結果を以下の表1に示す。
A battery shown in FIG. 3 was produced in the same manner as in Example 1 using the above granule mixture.
The results of the particle size distribution state and bulk density measured in Example 1 and Comparative Example 1 are shown in Table 1 below.
表1に示されるように、実施例1で作製した正極顆粒合剤は、粒径が355μmを中心に揃っており、バラツキが少ない。これに対して比較例1で得られた正極顆粒合剤は広範囲の粒径分布となっていることがわかる。また、嵩密度も実施例1の場合は低下していることがわかる。 As shown in Table 1, the positive electrode granule mixture produced in Example 1 has a uniform particle size centered at 355 μm and has little variation. In contrast, it can be seen that the positive electrode granule mixture obtained in Comparative Example 1 has a wide particle size distribution. Moreover, it turns out that the bulk density is also reduced in the case of Example 1.
次に、実施例1および比較例1で作製した電池100個を用い、放電抵抗15kΩで連続放電を実施した。その放電容量を表2に示す。
上記表2に示すように、実施例1の電池では放電性能が比較例1の電池に比べて安定していることがわかる。これは、顆粒合剤の粒径が揃って安定したことにより、顆粒合剤をペレット状に成形する際、質量のバラツキが減少したことによるものである。As shown in Table 2 above, it can be seen that the discharge performance of the battery of Example 1 is more stable than that of the battery of Comparative Example 1. This is because the variation in mass was reduced when the granule mixture was formed into pellets due to the uniform particle size of the granule mixture.
また、実施例1および比較例1で作製したペレット状の正極合剤を20個用いてその強度を測定した。その結果を表3に示す。なお、測定方法は、外径16mm、内径14mmの円柱にペレット状正極合剤を載せ、直径5mmの加圧棒で上部より押し、ペレット状正極合剤が破壊するまでの強度を測定する方法である。
上記表に示されるように、実施例1のペレット状正極合剤では強度が向上し、バラツキも減少していることがわかる。これは、流動乾燥方式を用いたことにより合剤の嵩密度が低下し、それによって成形後における合剤強度が向上した結果である。 As shown in the above table, it can be seen that the pellet-like positive electrode mixture of Example 1 has improved strength and reduced variation. This is a result of the decrease in bulk density of the mixture due to the use of the fluidized drying method, thereby improving the strength of the mixture after molding.
(実施例2)
まず、ノボラック樹脂を窒素雰囲気中で950℃で焼成した後、さらに2000℃で加熱することによりこれを炭素化し、それを平均粒径10μmとなるよう粉砕し、活物質の担持体となる炭素質材料粉末を得た。次に得られた炭素質材料粉末95質量部に負極バインダーとしてメタアクリル酸アルキルエステル−ブタジエン共重合体ラテックスを固形分で5質量部となるように加え、さらに湿潤剤として水を合剤中の含有水分率が15%となるように加え、これらを混合して湿潤合剤とした。(Example 2)
First, a novolac resin is baked at 950 ° C. in a nitrogen atmosphere, and further heated at 2000 ° C. to carbonize it, and then pulverized to an average particle size of 10 μm to form a carbonaceous material that becomes an active material carrier A material powder was obtained. Next, to 95 parts by mass of the obtained carbonaceous material powder, a methacrylic acid alkyl ester-butadiene copolymer latex is added as a negative electrode binder to a solid content of 5 parts by mass, and water is added as a wetting agent to the mixture. They were added so that the moisture content was 15%, and these were mixed to obtain a wet mixture.
この湿潤合剤を、目開きが直径0.4mmのスクリーンを備えた押出し造粒機により押出し造粒を行った。このとき、押出される造粒合剤を実施例1と同様の流動乾燥機に自然落下させ、乾燥機炉温度80℃にて流動乾燥を行った。
このようにして乾燥した造粒合剤3kgを篩にかけて顆粒合剤とし、粒度の確認を行った。また、容積500mLの容器にこの顆粒合剤を収納し、嵩密度の測定を行った。This wet mixture was subjected to extrusion granulation by an extrusion granulator equipped with a screen having an aperture of 0.4 mm in diameter. At this time, the granulated mixture to be extruded was naturally dropped into the same fluidized dryer as in Example 1, and fluidized drying was performed at a dryer furnace temperature of 80 ° C.
The granulated mixture 3 kg dried in this way was sieved to obtain a granular mixture, and the particle size was confirmed. Moreover, this granule mixture was accommodated in the container of capacity 500mL, and the bulk density was measured.
上記により篩い分けした710μm〜180μmの顆粒合剤を質量0.2g、厚さ0.7mm、外径15mmのペレット状に成形し、これを100℃−760mHgで減圧乾燥し、負極体28を作製した。 The granular mixture of 710 μm to 180 μm sieved as described above is formed into pellets having a mass of 0.2 g, a thickness of 0.7 mm, and an outer diameter of 15 mm, and dried under reduced pressure at 100 ° C. to 760 mHg to produce a
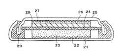
次に、得られた負極体を用いて図5に示す電池を作製した。21は厚さ0.25mmのステンレス鋼からなる正極容器であり、この容器21の内面にはステンレス製の正極集電体22が内接されている。さらに正極容器21内には、正極体23が収納されている。この正極体23は、V2O5粉末90質量部と人造黒鉛10質量部を混合した後、ポリテトラフルオロエチレン5質量部を混合し、厚さ0.9mmに加圧成形したものである。Next, a battery shown in FIG. 5 was produced using the obtained negative electrode body.
また、正極体23の上にはポリプロピレン不織布からなるセパレータ24が設置され、セパレータ24にはプロピレンカーボネートに過塩素酸リチウムを0.7モル/Lの濃度で溶解した電解液が保持されている。さらに、上記セパレータ24の上面には、前記により製造した負極体28が配置されている。図中、25は厚さ0.25mmのステンレス鋼からなる負極封口体であり、封口板25の内面には負極集電体26が内接されており、この集電体26を含む負極封口板25の内面に金属リチウム27が圧着されている。 In addition, a
正極容器21の開口部には、パッキング29を介して負極封口板25が嵌合されており、正極容器21のカシメ加工により、正極容器21および負極封口板25内に、正極体23、負極体28、電解液、セパレータ24などの発電要素が密閉されている。 A negative
上記により、厚さ2.5mm、外径20mmのコイン形電池を組み立てた。その後、エージングにより、金属リチウム27を負極合剤28にドープせしめ、非水電解液二次電池を作製した。 As described above, a coin-shaped battery having a thickness of 2.5 mm and an outer diameter of 20 mm was assembled. Thereafter,
(比較例2)
押出し造粒までの工程を実施例2と全く同様に行った。この押出し後の造粒合剤3kgを、15cm×10cmのステンレス製金網に各1kgずつに分けて載置し、これを炉温度80℃の乾燥炉へ16時間入れて保管し、水分を蒸発させた。
このようにして乾燥した造粒合剤3kgを篩にかけて顆粒合剤とし、粒度の確認を行った。また、容積500mLの容器にこの顆粒合剤を収納し、嵩密度の測定を行った。(Comparative Example 2)
The process up to extrusion granulation was carried out in exactly the same manner as in Example 2. 3 kg of the granulated mixture after extrusion is placed on a 15 cm × 10 cm stainless steel wire mesh, divided into 1 kg each, stored in a drying furnace at a furnace temperature of 80 ° C. for 16 hours, and the moisture is evaporated. It was.
The granulated mixture 3 kg dried in this way was sieved to obtain a granular mixture, and the particle size was confirmed. Moreover, this granule mixture was accommodated in the container of capacity 500mL, and the bulk density was measured.
上記の顆粒合剤を用い、実施例2と同様の方法により図5に示す電池を作製した。
上記実施例2および比較例2において測定した粒度分布状態および嵩密度の結果を以下の表4に示す。
The results of the particle size distribution state and the bulk density measured in Example 2 and Comparative Example 2 are shown in Table 4 below.
表4に示されるように、実施例2で作製した負極顆粒合剤は、粒径が355μmを中心に揃っており、バラツキが少ない。これに対して比較例2で得られた負極顆粒合剤は広範囲の粒径分布となっていることがわかる。また、嵩密度も実施例2の場合は低下していることがわかる。 As shown in Table 4, the negative electrode granule mixture produced in Example 2 has a uniform particle size centered at 355 μm and has little variation. In contrast, it can be seen that the negative electrode granule mixture obtained in Comparative Example 2 has a wide particle size distribution. In addition, it can be seen that the bulk density is lowered in the case of Example 2.
次に、実施例2および比較例2で作製した電池100個を用い、放電抵抗2.7kΩで連続放電を実施した。その後、充電電圧3.4V、保護抵抗100Ωにて48時間の充電を行い、再度2.7kΩで連続放電を実施した。その評価結果を表5に示す。
上記表5に示すように、実施例2の電池では、放電性能が比較例2の電池に比べ安定し、放電容量のバラツキが少ないことがわかる。これは、顆粒合剤の粒径が揃って安定したことにより、顆粒合剤をペレット状に成形する際、質量のバラツキが減少したことによるものである。 As shown in Table 5 above, it can be seen that the discharge performance of the battery of Example 2 is more stable than that of the battery of Comparative Example 2, and there is little variation in discharge capacity. This is because the variation in mass was reduced when the granule mixture was formed into pellets due to the uniform particle size of the granule mixture.
また、実施例2および比較例2で作製したペレット状の負極体を20個用いてその強度を測定した。その結果を表6に示す。なお、測定方法は、外径16mm、内径14mmの円柱にペレット状負極体を載せ、直径5mmの加圧棒で上部より押し、ペレット状負極体が破壊するまでの強度を測定する方法である。
上記表6に示されるように、実施例2のペレット状負極体では強度が向上し、バラツキも減少していることがわかる。これは、流動乾燥方式を用いたことにより合剤の嵩密度が低下し、それによって成形後における合剤強度が向上した結果である。 As shown in Table 6 above, it can be seen that the pellet-like negative electrode body of Example 2 has improved strength and reduced variation. This is a result of the decrease in bulk density of the mixture due to the use of the fluidized drying method, thereby improving the strength of the mixture after molding.
上記実施例ではコイン形二酸化マンガンリチウム電池を用いて説明したが、この限りではない。造粒後に乾燥工程を有するすべての電極合剤の製造に本発明は有効であり、またかかる電極合剤を用いるすべての電池で実施可能である。また、電極については、上記実施例では正極について説明したが、負極についても同様であつて、造粒後に乾燥する必要のあるすべての負極合剤の製造方法に適用でき、例えば、リチウムイオンを吸蔵放出可能な負極材料を用いた負極合剤等を挙げることができる。 In the above embodiment, the coin type lithium manganese dioxide battery has been described. However, the present invention is not limited to this. The present invention is effective in the production of all electrode mixtures having a drying step after granulation, and can be carried out in all batteries using such an electrode mixture. As for the electrode, the positive electrode has been described in the above embodiment, but the same applies to the negative electrode, and it can be applied to all methods for producing a negative electrode mixture that needs to be dried after granulation. Examples include a negative electrode mixture using a releasable negative electrode material.
1…負極封口板、2…負極、3…セパレータ、4…正極体、5…パッキング、6…正極容器、11…押出し造粒機、12…流動乾燥機、13…被乾燥物挿入塔、14…ファン室、15…温風通路、16…ヒーター、17…押出し合剤、21…正極容器、22…正極集電体、23…正極体、24…セパレータ、25…負極封口板、26…負極集電体、27…金属リチウム、28…負極体、29…パッキング。
DESCRIPTION OF SYMBOLS 1 ... Negative electrode sealing plate, 2 ... Negative electrode, 3 ... Separator, 4 ... Positive electrode body, 5 ... Packing, 6 ... Positive electrode container, 11 ... Extrusion granulator, 12 ... Fluid dryer, 13 ... Dried object insertion tower, 14 DESCRIPTION OF SYMBOLS ... Fan chamber, 15 ... Warm air passage, 16 ... Heater, 17 ... Extrusion mixture, 21 ... Positive electrode container, 22 ... Positive electrode collector, 23 ... Positive electrode body, 24 ... Separator, 25 ... Negative electrode sealing plate, 26 ... Negative electrode
| Application Number | Priority Date | Filing Date | Title |
|---|---|---|---|
| JP2004114357AJP2005302426A (en) | 2004-04-08 | 2004-04-08 | Manufacturing method of battery positive and negative electrode mixture and non-aqueous electrolytic solution battery |
| Application Number | Priority Date | Filing Date | Title |
|---|---|---|---|
| JP2004114357AJP2005302426A (en) | 2004-04-08 | 2004-04-08 | Manufacturing method of battery positive and negative electrode mixture and non-aqueous electrolytic solution battery |
| Publication Number | Publication Date |
|---|---|
| JP2005302426Atrue JP2005302426A (en) | 2005-10-27 |
| Application Number | Title | Priority Date | Filing Date |
|---|---|---|---|
| JP2004114357APendingJP2005302426A (en) | 2004-04-08 | 2004-04-08 | Manufacturing method of battery positive and negative electrode mixture and non-aqueous electrolytic solution battery |
| Country | Link |
|---|---|
| JP (1) | JP2005302426A (en) |
| Publication number | Priority date | Publication date | Assignee | Title |
|---|---|---|---|---|
| EP3046166A1 (en)* | 2015-01-14 | 2016-07-20 | Toyota Jidosha Kabushiki Kaisha | Manufacturing method of electrode and wet granules |
| Publication number | Priority date | Publication date | Assignee | Title |
|---|---|---|---|---|
| EP3046166A1 (en)* | 2015-01-14 | 2016-07-20 | Toyota Jidosha Kabushiki Kaisha | Manufacturing method of electrode and wet granules |
| CN105789548A (en)* | 2015-01-14 | 2016-07-20 | 丰田自动车株式会社 | Manufacturing method of electrode and wet granules |
| JP2016131092A (en)* | 2015-01-14 | 2016-07-21 | トヨタ自動車株式会社 | Electrode manufacturing method and wet granulated body |
| US9917306B2 (en) | 2015-01-14 | 2018-03-13 | Toyota Jidosha Kabushiki Kaisha | Manufacturing method of electrode and wet granules |
| Publication | Publication Date | Title |
|---|---|---|
| JP4206269B2 (en) | Sealed nickel-zinc primary battery, positive electrode thereof and manufacturing method thereof | |
| JP2000040504A (en) | Manufacture of positive mix for organic electrolyte battery | |
| CN105731427B (en) | A kind of graphite negative material of lithium ion battery and preparation method thereof | |
| JP2004355824A (en) | Cathode active material and cathode for non-aqueous secondary batteries | |
| JP4499498B2 (en) | Negative electrode material for lithium ion secondary battery, method for producing the same, negative electrode for lithium ion secondary battery and lithium ion secondary battery using the negative electrode material | |
| KR20170091774A (en) | Electrodes and electrode material for lithium electrochemical cells | |
| JP7444534B2 (en) | Method for producing positive electrode active material for non-aqueous electrolyte secondary battery, and molded article | |
| JP3716818B2 (en) | Method for producing negative electrode material for high performance lithium ion secondary battery using natural graphite | |
| WO2000006496A1 (en) | Process for producing spinel type lithium manganate | |
| JP6183027B2 (en) | Production method of reduced particle size composite particles for electrochemical device electrodes and reduced particle size composite particles for electrochemical device electrodes | |
| JP2018156854A (en) | Alkaline battery | |
| JP7444535B2 (en) | Method for producing positive electrode active material for non-aqueous electrolyte secondary battery, and molded article | |
| JP3253859B2 (en) | Non-aqueous solvent secondary battery and method for granulating negative electrode mixture thereof | |
| JP3305554B2 (en) | Method for producing positive electrode mixture for battery | |
| JP4059556B2 (en) | Non-aqueous electrolyte battery and manufacturing method thereof | |
| JP2005302426A (en) | Manufacturing method of battery positive and negative electrode mixture and non-aqueous electrolytic solution battery | |
| JP3216451B2 (en) | Non-aqueous electrolyte battery | |
| JP2004127723A (en) | Negative electrode material for lithium ion secondary battery, method for producing the same, negative electrode using the negative electrode material, and lithium ion secondary battery | |
| JPH1116567A (en) | Nonaqueous electrolyte battery, and manufacture thereof | |
| JP3506860B2 (en) | Manufacturing method of non-aqueous solvent secondary battery | |
| JP5358938B2 (en) | Flat nonaqueous electrolyte battery | |
| JP2002216756A (en) | Method for manufacturing positive electrode active material for nonaqueous lithium secondary battery, positive electrode active material and nonaqueous lithium secondary battery using the same | |
| JPS5990364A (en) | Manufacture of positive electrode for battery | |
| JP3610439B2 (en) | Cathode active material for non-aqueous lithium secondary battery and lithium secondary battery | |
| JP2000353517A (en) | Manufacturing method of positive electrode for flat battery |