


























本発明は、投影光学系と液体とを介して基板にパターンを露光する露光装置及びデバイス製造方法に関するものである。 The present invention relates to an exposure apparatus and a device manufacturing method for exposing a pattern to a substrate via a projection optical system and a liquid.
半導体デバイスや液晶表示デバイスは、マスク上に形成されたパターンを感光性の基板上に転写する、いわゆるフォトリソグラフィの手法により製造される。このフォトリソグラフィ工程で使用される露光装置は、マスクを支持するマスクステージと基板を支持する基板ステージとを有し、マスクステージ及び基板ステージを逐次移動しながらマスクのパターンを投影光学系を介して基板に転写するものである。近年、デバイスパターンのより一層の高集積化に対応するために投影光学系の更なる高解像度化が望まれている。投影光学系の解像度は、使用する露光波長が短くなるほど、また投影光学系の開口数が大きいほど高くなる。そのため、露光装置で使用される露光波長は年々短波長化しており、投影光学系の開口数も増大している。そして、現在主流の露光波長は、KrFエキシマレーザの248nmであるが、更に短波長のArFエキシマレーザの193nmも実用化されつつある。また、露光を行う際には、解像度と同様に焦点深度(DOF)も重要となる。解像度R、及び焦点深度δはそれぞれ以下の式で表される。
R=k1・λ/NA … (1)
δ=±k2・λ/NA2 … (2)
ここで、λは露光波長、NAは投影光学系の開口数、k1、k2はプロセス係数である。(1)式、(2)式より、解像度Rを高めるために、露光波長λを短くして、開口数NAを大きくすると、焦点深度δが狭くなることが分かる。Semiconductor devices and liquid crystal display devices are manufactured by a so-called photolithography technique in which a pattern formed on a mask is transferred onto a photosensitive substrate. An exposure apparatus used in this photolithography process has a mask stage for supporting a mask and a substrate stage for supporting a substrate, and a mask pattern is transferred via a projection optical system while sequentially moving the mask stage and the substrate stage. It is transferred to the substrate. In recent years, in order to cope with higher integration of device patterns, higher resolution of the projection optical system is desired. The resolution of the projection optical system becomes higher as the exposure wavelength used becomes shorter and the numerical aperture of the projection optical system becomes larger. Therefore, the exposure wavelength used in the exposure apparatus is shortened year by year, and the numerical aperture of the projection optical system is also increasing. The mainstream exposure wavelength is 248 nm of the KrF excimer laser, but the 193 nm of the shorter wavelength ArF excimer laser is also being put into practical use. Also, when performing exposure, the depth of focus (DOF) is important as well as the resolution. The resolution R and the depth of focus δ are each expressed by the following equations.
R = k1 · λ / NA (1)
δ = ± k2 · λ / NA2 (2)
Here, λ is the exposure wavelength, NA is the numerical aperture of the projection optical system, and k1 and k2 are process coefficients. From equations (1) and (2), it can be seen that if the exposure wavelength λ is shortened and the numerical aperture NA is increased to increase the resolution R, the depth of focus δ becomes narrower.
焦点深度δが狭くなり過ぎると、投影光学系の像面に対して基板表面を合致させることが困難となり、露光動作時のマージンが不足する恐れがある。そこで、実質的に露光波長を短くして、且つ焦点深度を広くする方法として、例えば下記特許文献1に開示されている液浸法が提案されている。この液浸法は、投影光学系の下面と基板表面との間を水や有機溶媒等の液体で満たし、液体中での露光光の波長が、空気中の1/n(nは液体の屈折率で通常1.2〜1.6程度)になることを利用して解像度を向上するとともに、焦点深度を約n倍に拡大するというものである。
ところで、上記従来技術には以下に述べる問題が存在する。 By the way, the above-described prior art has the following problems.
上記特許文献1に開示されている露光装置は液浸領域を基板上の一部に形成するように液体の供給及び回収を行う構成であるが、液浸露光終了後、液浸領域の液体が十分に回収されない状態で、例えば基板ステージ上の基板をアンロードして新たな基板をロードするために基板ステージがロード・アンロード位置まで移動すると、投影光学系の先端や液体供給ノズルあるいは回収ノズルに残留(付着)していた液体が周囲の装置や部材、例えばステージのガイド面やステージの干渉計用の反射面等に落下する可能性がある。 The exposure apparatus disclosed in
また、投影光学系の先端の光学素子に液体が残留していると、この残留していた液体が気化した後に投影光学系の先端の光学素子に付着跡(所謂ウォーターマーク)を残し、次の露光処理の際に基板上に形成されるパターンに悪影響を及ぼす可能性がある。また、露光処理以外にも基板ステージ上の基板の周りに配置されている基準平面部材や基準マーク部材を使うときに液浸領域を形成することが考えられるが、それらの液浸領域の液体を十分に回収しきれず、それらの部材上に付着跡が残ったり、それらの部材上に残った液体が飛散する可能性がある。 Further, if liquid remains in the optical element at the tip of the projection optical system, after the remaining liquid is vaporized, an adhesion mark (so-called watermark) is left on the optical element at the tip of the projection optical system. There is a possibility of adversely affecting the pattern formed on the substrate during the exposure process. In addition to the exposure process, it is conceivable to form an immersion area when using a reference plane member or a reference mark member arranged around the substrate on the substrate stage. There is a possibility that the ink cannot be sufficiently collected, and adhesion marks remain on these members, or the liquid remaining on these members may be scattered.
本発明はこのような事情に鑑みてなされたものであって、投影光学系と液体とを介して基板にパターンを投影して露光する際、不要な液体を十分に除去して所望のデバイスパターンを基板上に形成可能な露光装置、及びこの露光装置を用いるデバイス製造方法を提供することを目的とする。 The present invention has been made in view of such circumstances, and when a pattern is projected onto a substrate via a projection optical system and a liquid and exposed, a desired device pattern is obtained by sufficiently removing unnecessary liquid. It is an object of the present invention to provide an exposure apparatus capable of forming a substrate on a substrate and a device manufacturing method using the exposure apparatus.
上記の課題を解決するため、本発明は実施の形態に示す図1〜図27に対応付けした以下の構成を採用している。但し、各要素に付した括弧付き符号はその要素の例示に過ぎず、各要素を限定するものではない。 In order to solve the above-described problems, the present invention employs the following configuration corresponding to FIGS. 1 to 27 described in the embodiment. However, the reference numerals with parentheses attached to each element are merely examples of the element and do not limit each element.
本発明の露光装置(EX)は、投影光学系(PL)と液体(1)とを介して基板(P)上にパターンの像を投影し、基板(P)を露光する露光装置において、投影光学系(PL)の像面付近に配置された部品(2、7、13、14、31、32、151、152)上に残留した液体(1)を除去する液体除去機構(40、60、160、174、178、180、183、251、257)を備えたことを特徴とする。 An exposure apparatus (EX) of the present invention projects an image of a pattern on a substrate (P) through a projection optical system (PL) and a liquid (1), and exposes the substrate (P). Liquid removal mechanisms (40, 60,...) For removing the liquid (1) remaining on the components (2, 7, 13, 14, 31, 32, 151, 152) disposed near the image plane of the optical system (PL). 160, 174, 178, 180, 183, 251, 257).
本発明によれば、投影光学系の像面付近に配置されている部品、例えば、投影光学系先端の光学素子、ショット領域の位置決め用基準部材、各種センサ、光透過光学部材、液体供給機構及び回収機構のうち少なくとも一方のノズルなどの上に残留した不要な液体を液体除去機構で除去することにより、残留した液体の落下や飛散、それら部品上の付着跡(ウォーターマーク)の発生を防止できる。したがって、所望のパターンを精度良く基板上に形成することができる。 According to the present invention, components arranged near the image plane of the projection optical system, such as an optical element at the tip of the projection optical system, a reference member for positioning a shot area, various sensors, a light transmission optical member, a liquid supply mechanism, and By removing unnecessary liquid remaining on at least one nozzle of the recovery mechanism with the liquid removal mechanism, it is possible to prevent the remaining liquid from falling or scattering and the occurrence of adhesion marks (watermarks) on these parts. . Therefore, a desired pattern can be formed on the substrate with high accuracy.
本発明の露光装置は、基板(P)上の一部に液浸領域(AR2)を形成し、投影光学系(PL)と液体(1)とを介して基板(P)上にパターンの像を投影することによって、基板(P)を露光する露光装置において、基板(P)を保持して移動可能な基板ステージ(PST)と、液浸領域(AR2)を形成するために液体(1)の供給を行う液体供給機構(10)と、基板(P)上の液体(1)を回収する第1液体回収機構(30)と、基板ステージ(PST)に設けられた回収口(23)を有し、基板(P)の露光終了後に液体(1)の回収を行う第2液体回収機構(20)とを備えたことを特徴とする。 In the exposure apparatus of the present invention, a liquid immersion area (AR2) is formed on a part of a substrate (P), and a pattern image is formed on the substrate (P) through the projection optical system (PL) and the liquid (1). In the exposure apparatus that exposes the substrate (P) by projecting the substrate (P), the substrate (P) is held and movable, and the liquid (1) is formed to form the liquid immersion area (AR2). A liquid supply mechanism (10) for supplying the liquid, a first liquid recovery mechanism (30) for recovering the liquid (1) on the substrate (P), and a recovery port (23) provided in the substrate stage (PST). And a second liquid recovery mechanism (20) for recovering the liquid (1) after the exposure of the substrate (P) is completed.
本発明によれば、液浸露光終了後、基板上の液浸領域の液体を第1液体回収機構だけでなく、ステージ上に回収口を有する第2液体回収機構で回収することで、残留した液体の落下や飛散、あるいは残留液体の付着跡の発生を防止できる。したがって、所望のパターンを精度良く基板上に形成することが可能となる。 According to the present invention, after the liquid immersion exposure is completed, the liquid in the liquid immersion area on the substrate is recovered not only by the first liquid recovery mechanism but also by the second liquid recovery mechanism having a recovery port on the stage. It is possible to prevent the liquid from falling or scattering, or the occurrence of residual liquid adhesion traces. Therefore, a desired pattern can be formed on the substrate with high accuracy.
本発明の露光装置(EX)は、投影光学系(PL)と液体(1)とを介して基板(P)上に露光光(EL)を照射することによって、基板(P)を露光する露光装置において、投影光学系(PL)の像面側付近に配置される部品(2、151、152など)の表面状態を検出する検出装置(100)を備えたことを特徴とする。 The exposure apparatus (EX) of the present invention exposes the substrate (P) by irradiating the substrate (P) with exposure light (EL) via the projection optical system (PL) and the liquid (1). The apparatus includes a detection device (100) for detecting a surface state of a component (2, 151, 152, etc.) disposed in the vicinity of the image plane side of the projection optical system (PL).
本発明によれば、検出装置を使って、投影光学系の像面付近に配置される部品の表面状態(液体などの異物が付着しているか否かなど)を検出することができるので、その結果に応じて適切な処置、例えば部品表面の異物除去などを行うことができる。 According to the present invention, it is possible to detect the surface state of a component arranged near the image plane of the projection optical system (such as whether or not a foreign substance such as a liquid is attached) using the detection device. Depending on the result, an appropriate treatment, for example, removal of foreign matter from the component surface can be performed.
本発明のデバイス製造方法は、上記記載の露光装置(EX)を用いることを特徴とする。本発明によれば、環境変化や投影光学系の像面付近の光学素子に対する付着跡の発生を抑えた状態で所望の性能を有するデバイスを製造することができる。 The device manufacturing method of the present invention uses the above-described exposure apparatus (EX). According to the present invention, it is possible to manufacture a device having desired performance in a state in which environmental changes and generation of adhesion marks on optical elements near the image plane of the projection optical system are suppressed.
本発明によれば、投影光学系の像面付近に配置されている部品上に残留した不要な液体を除去することにより、残留した液体の落下に起因する環境変化や装置の錆び等の発生を防止することができる。特に、投影光学系の先端の光学素子に残留している液体を除去することで、この光学素子に対する付着跡(ウォーターマーク)の発生を防止できる。したがって、所望のパターンを精度良く基板上に形成することが可能となる。 According to the present invention, by removing unnecessary liquid remaining on the components arranged near the image plane of the projection optical system, it is possible to prevent environmental changes and rusting of the apparatus due to falling of the remaining liquid. Can be prevented. In particular, by removing the liquid remaining on the optical element at the tip of the projection optical system, it is possible to prevent the occurrence of adhesion marks (watermarks) on the optical element. Therefore, a desired pattern can be formed on the substrate with high accuracy.
以下、本発明の露光装置の実施形態について図面を参照しながら説明する。図1は本発明の露光装置の一実施形態を示す概略構成図である。 Hereinafter, embodiments of the exposure apparatus of the present invention will be described with reference to the drawings. FIG. 1 is a schematic block diagram showing an embodiment of the exposure apparatus of the present invention.
<第1及び第2液体除去装置を用いた露光装置の実施形態>
図1において、露光装置EXは、マスクMを支持するマスクステージMSTと、基板Pを支持する基板ステージPSTと、マスクステージMSTに支持されているマスクMを露光光ELで照明する照明光学系ILと、露光光ELで照明されたマスクMのパターンの像を基板ステージPSTに支持されている基板Pに投影露光する投影光学系PLと、露光装置EX全体の動作を統括制御する制御装置CONTとを備えている。<Embodiment of exposure apparatus using first and second liquid removing apparatus>
In FIG. 1, an exposure apparatus EX includes a mask stage MST that supports a mask M, a substrate stage PST that supports a substrate P, and an illumination optical system IL that illuminates the mask M supported by the mask stage MST with exposure light EL. A projection optical system PL that projects and exposes an image of the pattern of the mask M illuminated by the exposure light EL onto the substrate P supported by the substrate stage PST, and a control device CONT that controls the overall operation of the exposure apparatus EX. It has.
本実施形態の露光装置EXは、露光波長を実質的に短くして解像度を向上するとともに焦点深度を実質的に広くするために液浸法を適用した液浸露光装置であって、基板P上に液体1を供給する液体供給機構10と、基板P上の液体1を回収する液体回収機構(第1液体回収機構)30とを備えている。本実施形態において、液体1には純水が用いられる。露光装置EXは、少なくともマスクMのパターン像を基板P上に転写している間、液体供給機構10から供給した液体1により投影光学系PLの投影領域AR1を含む基板P上の少なくとも一部に液浸領域AR2を形成する。具体的には、露光装置EXは、投影光学系PLの先端部の光学素子2と基板Pの表面(露光面)との間に液体1を満たし、この投影光学系PLと基板Pとの間の液体1及び投影光学系PLを介してマスクMのパターン像を基板P上に投影し、基板Pを露光する。 The exposure apparatus EX of the present embodiment is an immersion exposure apparatus to which an immersion method is applied in order to improve the resolution by substantially shortening the exposure wavelength and substantially increase the depth of focus. A
ここで、本実施形態では、露光装置EXとしてマスクMと基板Pとを走査方向(所定方向)における互いに異なる向き(逆方向)に同期移動しつつマスクMに形成されたパターンを基板Pに露光する走査型露光装置(所謂スキャニングステッパ)を使用する場合を例にして説明する。以下の説明において、水平面内においてマスクMと基板Pとの同期移動方向(走査方向、所定方向)をX軸方向、水平面内においてX軸方向と直交する方向をY軸方向(非走査方向)、X軸及びY軸方向に垂直で投影光学系PLの光軸AXと一致する方向をZ軸方向とする。また、X軸、Y軸、及びZ軸まわり方向をそれぞれ、θX、θY、及びθZ方向とする。なお、ここでいう「基板」は半導体ウエハ上にレジストを塗布したものを含み、「マスク」は基板上に縮小投影されるデバイスパターンを形成されたレチクルを含む。 Here, in the present embodiment, the pattern formed on the mask M is exposed to the substrate P while the mask M and the substrate P are synchronously moved in different directions (reverse directions) in the scanning direction (predetermined direction) as the exposure apparatus EX. An example of using a scanning exposure apparatus (so-called scanning stepper) will be described. In the following description, the synchronous movement direction (scanning direction, predetermined direction) of the mask M and the substrate P in the horizontal plane is the X axis direction, and the direction orthogonal to the X axis direction is the Y axis direction (non-scanning direction) in the horizontal plane. A direction perpendicular to the X-axis and Y-axis directions and coincident with the optical axis AX of the projection optical system PL is defined as a Z-axis direction. Further, the directions around the X axis, the Y axis, and the Z axis are defined as θX, θY, and θZ directions, respectively. Here, the “substrate” includes a semiconductor wafer coated with a resist, and the “mask” includes a reticle on which a device pattern to be reduced and projected on the substrate is formed.
照明光学系ILは、マスクステージMSTに支持されているマスクMを露光光ELで照明するものであり、露光用光源、露光用光源から射出された光束の照度を均一化するオプティカルインテグレータ、オプティカルインテグレータからの露光光ELを集光するコンデンサレンズ、リレーレンズ系、露光光ELによるマスクM上の照明領域をスリット状に設定する可変視野絞り等を有している。マスクM上の所定の照明領域は照明光学系ILにより均一な照度分布の露光光ELで照明される。照明光学系ILから射出される露光光ELとしては、例えば水銀ランプから射出される紫外域の輝線(g線、h線、i線)及びKrFエキシマレーザ光(波長248nm)等の遠紫外光(DUV光)や、ArFエキシマレーザ光(波長193nm)及びF2レーザ光(波長157nm)等の真空紫外光(VUV光)などが用いられる。本実施形態では、ArFエキシマレーザ光が用いられる。上述したように、本実施形態における液体1は純水であって、露光光ELがArFエキシマレーザ光であっても透過可能である。また、純水は紫外域の輝線(g線、h線、i線)及びKrFエキシマレーザ光(波長248nm)等の遠紫外光(DUV光)も透過可能である。The illumination optical system IL illuminates the mask M supported by the mask stage MST with the exposure light EL, and the exposure light source, and an optical integrator and an optical integrator for uniformizing the illuminance of the light beam emitted from the exposure light source A condenser lens that collects the exposure light EL from the light source, a relay lens system, a variable field stop that sets the illumination area on the mask M by the exposure light EL in a slit shape, and the like. A predetermined illumination area on the mask M is illuminated with the exposure light EL having a uniform illuminance distribution by the illumination optical system IL. As the exposure light EL emitted from the illumination optical system IL, for example, far ultraviolet light (g-line, h-line, i-line) and KrF excimer laser light (wavelength 248 nm) emitted from a mercury lamp (e.g. DUV light), vacuum ultraviolet light (VUV light) such as ArF excimer laser light (
マスクステージMSTは、マスクMを支持するものであって、投影光学系PLの光軸AXに垂直な平面内、すなわちXY平面内で2次元移動可能及びθZ方向に微小回転可能である。マスクステージMSTはリニアモータ等のマスクステージ駆動装置MSTDにより駆動される。マスクステージ駆動装置MSTDは制御装置CONTにより制御される。マスクステージMST上には移動鏡50が設けられている。また、移動鏡50に対向する位置にはレーザ干渉計51が設けられている。マスクステージMST上のマスクMの2次元方向の位置、及び回転角はレーザ干渉計51によりリアルタイムで計測され、計測結果は制御装置CONTに出力される。制御装置CONTはレーザ干渉計51の計測結果に基づいてマスクステージ駆動装置MSTDを駆動することでマスクステージMSTに支持されているマスクMの位置決めを行う。 The mask stage MST supports the mask M, and can move two-dimensionally in a plane perpendicular to the optical axis AX of the projection optical system PL, that is, in the XY plane, and can be slightly rotated in the θZ direction. The mask stage MST is driven by a mask stage driving device MSTD such as a linear motor. The mask stage driving device MSTD is controlled by the control device CONT. A
投影光学系PLは、マスクMのパターンを所定の投影倍率βで基板Pに投影露光するものであって、基板P側の先端部に設けられた光学素子(レンズ)2を含む複数の光学素子で構成されており、これら光学素子は鏡筒PKで支持されている。本実施形態において、投影光学系PLは、投影倍率βが例えば1/4あるいは1/5の縮小系である。なお、投影光学系PLは等倍系及び拡大系のいずれでもよい。また、本実施形態の投影光学系PLの先端部の光学素子2は鏡筒PKに対して着脱(交換)可能に設けられている。また、先端部の光学素子2は鏡筒PKより露出しており、液浸領域AR2の液体1は光学素子2に接触する。これにより、金属からなる鏡筒PKの腐蝕等が防止されている。 The projection optical system PL projects and exposes the pattern of the mask M onto the substrate P at a predetermined projection magnification β, and includes a plurality of optical elements including an optical element (lens) 2 provided at the front end portion on the substrate P side. These optical elements are supported by a lens barrel PK. In the present embodiment, the projection optical system PL is a reduction system having a projection magnification β of, for example, 1/4 or 1/5. Note that the projection optical system PL may be either an equal magnification system or an enlargement system. Further, the
光学素子2は蛍石で形成されている。蛍石は純水との親和性が高いので、光学素子2の液体接触面2aのほぼ全面に液体1を密着させることができる。すなわち、本実施形態においては光学素子2の液体接触面2aとの親和性が高い液体(水)1を供給するようにしているので、光学素子2の液体接触面2aと液体1との高い密着性を確保できる。なお、光学素子2は水との親和性が高い石英であってもよい。また光学素子2の液体接触面2aに親水化(親液化)処理を施して、液体1との親和性をより高めるようにしてもよい。 The
また、露光装置EXはフォーカス検出系4を有している。フォーカス検出系4は、発光部4aと受光部4bとを有し、発光部4aから液体1を介して基板P表面(露光面)に斜め方向から検出光を投射し、その反射光を受光部4bで受光する。制御装置CONTは、フォーカス検出系4の動作を制御するとともに、受光部4bの受光結果に基づいて、所定基準面に対する基板P表面のZ軸方向における位置(フォーカス位置)を検出する。また、基板P表面における複数の各点での各フォーカス位置を求めることにより、フォーカス検出系4は基板Pの傾斜方向の姿勢を求めることもできる。なお、フォーカス検出系4の構成としては、例えば特開平8−37149号公報に開示されているものを用いることができる。 The exposure apparatus EX has a
基板ステージPSTは、基板Pを支持するものであって、基板Pを基板ホルダを介して保持するZステージ52と、Zステージ52を支持するXYステージ53と、XYステージ53を支持するベース54とを備えている。基板ステージPSTはリニアモータ等の基板ステージ駆動装置PSTDにより駆動される。基板ステージ駆動装置PSTDは制御装置CONTにより制御される。なお、ZステージとXYステージとを一体的に設けてよいことは言うまでもない。基板ステージPSTのXYステージ53を駆動することにより、基板PのXY方向における位置(投影光学系PLの像面と実質的に平行な方向の位置)が制御される。 The substrate stage PST supports the substrate P and includes a
基板ステージPST(Zステージ52)上には移動鏡55が設けられている。また、移動鏡55に対向する位置にはレーザ干渉計56が設けられている。基板ステージPST上の基板Pの2次元方向の位置、及び回転角はレーザ干渉計56によりリアルタイムで計測され、計測結果は制御装置CONTに出力される。制御装置CONTはレーザ干渉計56の計測結果に基づいて基板ステージ駆動装置PSTDを介してXYステージ53を駆動することで基板ステージPSTに支持されている基板PのX軸方向及びY軸方向における位置決めを行う。 A
また、制御装置CONTは基板ステージ駆動装置PSTDを介して基板ステージPSTのZステージ52を駆動することにより、Zステージ52に保持されている基板PのZ軸方向における位置(フォーカス位置)、及びθX、θY方向における位置を制御する。すなわち、Zステージ52は、フォーカス検出系4の検出結果に基づく制御装置CONTからの指令に基づいて動作し、基板Pのフォーカス位置(Z位置)及び傾斜角を制御して基板Pの表面(露光面)を投影光学系PL及び液体1を介して形成される像面に合わせ込む。 Further, the control device CONT drives the
基板ステージPST(Zステージ52)上には、基板Pを囲むように補助プレート57が設けられている。補助プレート57は基板ホルダに保持された基板Pの表面とほぼ同じ高さの平面を有している。ここで、基板Pのエッジと補助プレート57との間には0.1〜2mm程度の隙間があるが、液体1の表面張力によりその隙間に液体1が流れ込むことはほとんどなく、基板Pの周縁近傍を露光する場合にも、補助プレート57により投影光学系PLの下に液体1を保持することができる。 An
投影光学系PLの先端近傍には、基板P上のアライメントマークあるいはZステージ52上に設けられた基準マークを検出する基板アライメント系5が設けられている。また、マスクステージMSTの近傍には、マスクMと投影光学系PLとを介してZステージ52上に設けられた基準マークを検出するマスクアライメント系6が設けられている。なお、基板アライメント系5の構成としては、例えば特開平4−65603号公報に開示されているものを用いることができ、マスクアライメント系6の構成としては、特開平7−176468号公報に開示されているものを用いることができる。 A
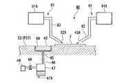
基板アライメント系5の近傍には、Zステージ52に設けられている前記基準マークを有する基準部材に残留した液体1を除去する第1液体除去装置40が設けられている。また、基板ステージPSTには、液体1の回収を行う第2液体回収装置20が設けられている。 In the vicinity of the
液体供給機構10は、液浸領域AR2を形成するために基板P上に所定の液体1を供給するものであって、液体1を送出可能な第1液体供給部11及び第2液体供給部12と、第1液体供給部11に流路を有する供給管11Aを介して接続され、この第1液体供給部11から送出された液体1を基板P上に供給する供給口を有する第1供給ノズル13と、第2液体供給部12に流路を有する供給管12Aを介して接続され、この第2液体供給部12から送出された液体1を基板P上に供給する供給口を有する第2供給ノズル14とを備えている。第1、第2供給ノズル13、14は液浸露光中において液浸領域AR2の液体1に接触する。第1、第2供給ノズル13、14は基板Pの表面に近接して配置されており、基板Pの面方向において互いに異なる位置に設けられている。具体的には、液体供給機構10の第1供給ノズル13は投影領域AR1に対して走査方向一方側(−X側)に設けられ、第2供給ノズル14は他方側(+X側)に設けられている。 The
第1、第2液体供給部11、12のそれぞれは、液体1を収容するタンク、及び加圧ポンプ等を備えており、供給管11A、12A及び供給ノズル13、14のそれぞれを介して基板P上に液体1を供給する。また、第1、第2液体供給部11、12の液体供給動作は制御装置CONTにより制御され、制御装置CONTは第1、第2液体供給部11、12による基板P上に対する単位時間あたりの液体供給量をそれぞれ独立して制御可能である。また、第1、第2液体供給部11、12のそれぞれは液体1の温度調整機構を有しており、装置が収容されるチャンバ内の温度とほぼ同じ23℃の液体1を基板P上に供給するようになっている。 Each of the first and second
また、液体供給部11、12から供給される純水(液体)は、透過率99%/mm以上とするのが好ましく、その場合、純水中に溶解している炭素化合物のうち有機系化合物中の炭素の総量を示すTOC(total organic carbon)は3ppb未満に抑えるのが望ましい。 Moreover, it is preferable that the pure water (liquid) supplied from the
液体回収機構(第1液体回収装置)30は基板P上の液体1を回収するものであって、基板Pの表面に近接して配置された回収口を有する第1、第2回収ノズル31、32と、この第1、第2回収ノズル31、32に流路を有する回収管33A、34Aを介してそれぞれ接続された第1、第2液体回収部33、34とを備えている。第1、第2回収ノズル31、32は液浸露光中において液浸領域AR2の液体1に接触する。第1、第2液体回収部33、34は例えば真空ポンプ等の吸引装置、及び回収した液体1を収容するタンク等を備えており、基板P上の液体1を第1、第2回収ノズル31、32、及び回収管33A、34Aを介して回収する。第1、第2液体回収部33、34の液体回収動作は制御装置CONTにより制御され、制御装置CONTは第1、第2液体回収部33、34による単位時間あたりの液体回収量を制御可能である。 The liquid recovery mechanism (first liquid recovery device) 30 recovers the
図2は、液体供給機構10及び液体回収機構30の概略構成を示す平面図である。図2に示すように、投影光学系PLの投影領域AR1はY軸方向(非走査方向)を長手方向とするスリット状(矩形状)に設定されており、液体1が満たされた液浸領域AR2は投影領域AR1を含むように基板P上の一部に形成される。そして、投影領域AR1の液浸領域AR2を形成するための液体供給機構10の第1供給ノズル13は投影領域AR1に対して走査方向一方側(−X側)に設けられ、第2供給ノズル14は他方側(+X側)に設けられている。第1、第2供給ノズル13、14のそれぞれはY軸方向を長手方向とする平面視直線状に形成されており、その供給口は基板Pの表面を向くように設けられ、Y軸方向を長手方向とするスリット状に形成されている。液体供給機構10は、第1、第2供給ノズル13、14の供給口より、投影領域AR1の両側で液体1を同時に供給する。 FIG. 2 is a plan view showing a schematic configuration of the
液体回収機構30の第1、第2回収ノズル31、32のそれぞれは基板Pの表面に向くように円弧状に連続的に形成された回収口を有している。そして、互いに向き合うように配置された第1、第2回収ノズル31、32により略円環状の回収口が形成されている。第1、第2回収ノズル31、32それぞれの回収口は液体供給機構10の第1、第2供給ノズル13、14、及び投影領域AR1を取り囲むように配置されている。また、投影領域AR1を取り囲むように連続的に形成された回収口の内部に複数の仕切部材35が設けられている。 Each of the first and
第1、第2供給ノズル13、14の供給口から基板P上に供給された液体1は、投影光学系PLの先端部(光学素子2)の下端面と基板Pとの間に濡れ拡がるように供給される。また、第1、第2供給ノズル13、14より供給された液体1は、第1、第2回収ノズル31、32の回収口より回収される。 The liquid 1 supplied onto the substrate P from the supply ports of the first and
図3は、基板ステージPSTのZステージ52を上方から見た概略平面図である。矩形状のZステージ52の互いに垂直な2つの側面には移動鏡55が配置されており、Zステージ52のほぼ中央には不図示のホルダを介して基板Pが保持されている。基板Pの周囲には、上述したように、基板Pの表面とほぼ同じ高さの平面を有する補助プレート57が設けられている。そして、補助プレート57の周囲には、液体1の回収を行う第2液体回収装置20の一部を構成する液体吸収部材21が設けられている。液体吸収部材21は所定幅を有する環状部材であって、Zステージ52上に環状に形成された溝部(回収口)23に配置されている。液体吸収部材21は、例えば多孔質セラミックス等の多孔性材料により構成されている。あるいは液体吸収部材21の形成材料として多孔性材料であるスポンジを用いても良い。多孔性材料からなる液体吸収部材21は液体1を所定量保持可能である。 FIG. 3 is a schematic plan view of the
図4は、第2液体回収装置20を示す断面図である。第2液体回収装置20は、Zステージ52上に環状に形成された溝部(回収口)23に配置された上述の液体吸収部材21と、Zステージ52内部に形成され、溝部23と連続する流路22と、Zステージ52外部に設けられ、その一端部を流路22に接続した管路26と、管路26の他端部に接続され、Zステージ52外部に設けられたタンク27と、このタンク27にバルブ28を介して接続された吸引装置であるポンプ29とを備えている。タンク27には排出流路27Aが設けられており、液体1が所定量溜まったら排出流路27Aより排出されるようになっている。そして、液体回収装置20は、ポンプ29を駆動し、液体吸収部材21で回収された液体1を、タンク27に吸い込むようにして集める。 FIG. 4 is a cross-sectional view showing the second
Zステージ52の1つのコーナーには基準部材7が設けられている。基準部材7には、基板アライメント系5により検出される基準マークPFMと、マスクアライメント系6により検出される基板マークMFMとが所定の位置関係で設けられている。また、基準部材7の表面はほぼ平坦となっており、フォーカス検出系4の基準面としての役割も果たす。なお、フォーカス検出系4の基準面を基準部材7とは別にZステージ52上に設けてもよい。また、基準部材7と補助プレート57とを一体で設けてもよい。 A
そして、Zステージ52上において基準部材7の近傍には、基準部材7に残留した液体1を除去する第1液体除去装置40の一部を構成する液体吸収部材42が設けられている。更に、Zステージ52の別のコーナーには、投影光学系PLの先端の光学素子2や先端付近の鏡筒PKに残留した液体1を除去する第2液体除去装置60が設けられている。 On the
次に、上述した露光装置EXを用いてマスクMのパターンを基板Pに露光する手順について、図26のフローチャート図を参照しながら説明する。 Next, the procedure for exposing the pattern of the mask M onto the substrate P using the exposure apparatus EX described above will be described with reference to the flowchart of FIG.
液体供給機構10から液体1の供給を行う前に、基板P上に液体1が無い状態で、まず計測処理が行われる。制御装置CONTは、投影光学系PLの光軸AXが図3の波線矢印43に沿って進むようにレーザ干渉計56の出力をモニタしつつXYステージ53を移動する。その移動の途中で、基板アライメント系5は、ショット領域S1〜S11に応じて基板P上に形成されている複数のアライメントマーク(不図示)を液体1を介さずに検出する(ステップSA1)。なお、基板アライメント系5がアライメントマークの検出を行うときはXYステージ53は停止される。その結果、レーザ干渉計56によって規定される座標系内での各アライメントマークの位置情報が計測される。なお、基板アライメント系5によるアライメントマークの検出は、基板P上の全てのアライメントマークを検出してもよいし、その一部を検出するのみでもよい。 Before the
また、そのXYステージ53の移動中に、フォーカス検出系4により基板Pの表面情報が液体1を介さずに検出される(ステップSA2)。フォーカス検出系4による表面情報の検出は基板P上の全てのショット領域S1〜S11毎に行われ、検出結果は基板Pの走査方向(X軸方向)の位置を対応させて制御装置CONTに記憶される。なお、フォーカス検出系4による表面情報の検出は、一部のショット領域に対して行うだけでもよい。 Further, during the movement of the
基板Pのアライメントマークの検出、及び基板Pの表面情報の検出が終了すると、基板アライメント系5の検出領域が基準部材7上に位置決めされるように、制御装置CONTはXYステージ53を移動する。基板アライメント系5は基準部材7上の基準マークPFMを検出し、レーザ干渉計56によって規定される座標系内での基準マークPFMの位置情報を計測する(ステップSA3)。 When the detection of the alignment mark on the substrate P and the detection of the surface information on the substrate P are completed, the control device CONT moves the
この基準マークPFMの検出処理の完了により、基準マークPFMと基板P上の複数のアライメントマークとの位置関係、すなわち、基準マークPFMと基板P上の複数のショット領域S1〜S11との位置関係がそれぞれ求められたことになる。また、基準マークPFMと基準マークMFMとは所定の位置関係にあるので、XY平面内における基準マークMFMと基板P上の複数のショット領域S1〜S11との位置関係がそれぞれ決定されたことになる。 When the detection process of the reference mark PFM is completed, the positional relationship between the reference mark PFM and the plurality of alignment marks on the substrate P, that is, the positional relationship between the reference mark PFM and the plurality of shot areas S1 to S11 on the substrate P is changed. Each would have been requested. Further, since the reference mark PFM and the reference mark MFM are in a predetermined positional relationship, the positional relationship between the reference mark MFM and the plurality of shot areas S1 to S11 on the substrate P in the XY plane is determined. .
また、基板アライメント系5による基準マークPFMの検出の前または後に、制御装置CONTは基準部材7の表面(基準面)の表面情報をフォーカス検出系4により検出する(ステップSA4)。この基準部材7の表面の検出処理の完了により、基準部材7表面と基板P表面との関係が求められたことになる。 Further, before or after the detection of the reference mark PFM by the
次に、マスクアライメント系6により基準部材7上の基準マークMFMを検出できるように、制御装置CONTはXYステージ53を移動する。当然のことながらこの状態では投影光学系PLの先端部と基準部材7とは対向している。ここで、制御装置CONTは液体供給機構10及び液体回収機構30による液体1の供給及び回収を開始し、投影光学系PLと基準部材7との間を液体1で満たして液浸領域を形成する。なお、基準部材7のXY方向の大きさは、供給ノズル13、14及び回収ノズル31、32より十分に大きく、基準部材7上に液浸領域AR2が円滑に形成されるようになっている。 Next, the control unit CONT moves the
次に、制御装置CONTは、マスクアライメント系6によりマスクM、投影光学系PL、及び液体1を介して基準マークMFMの検出を行う(ステップSA5)。これにより投影光学系PLと液体1とを介して、XY平面内におけるマスクMの位置、すなわちマスクMのパターンの像の投影位置情報が基準マークMFMを使って検出されたことになる。 Next, the control device CONT detects the reference mark MFM through the mask M, the projection optical system PL, and the
以上のような計測処理が終了すると、制御装置CONTは、液体供給機構10による基準部材7上への液体1の供給動作を停止する。一方で、制御装置CONTは液体回収機構30による基準部材7上の液体1の回収動作を所定期間継続する(ステップSA5.1)。そして、前記所定期間が経過した後、制御装置CONTは、液体回収機構30による回収動作を停止するとともに、液体回収機構30で回収しきれずに基準部材7上に残留した液体1を除去するために、基板ステージPSTを移動する。 When the measurement process as described above is completed, the control device CONT stops the operation of supplying the
図5は、基板ステージPST(Zステージ52)上に設けられている基準部材7に残留した液体1を、液体除去機構の一部を構成する第1液体除去装置40が除去している様子を示す図であって、図5(a)は概略斜視図、図5(b)は断面図である。図5において、第1液体除去装置40は、気体を基準部材7に対して吹き付ける吹き付け装置41と、基準部材7に隣接して設けられた液体吸収部材42とを備えている。吹き付け装置41は、気体を送出可能な気体供給部41Aと、気体供給部41Aに接続されたノズル部43とを備えている。ノズル部43の吹き出し口43Aはスリット状に形成されており、基準部材7に近接して配置されている。そして、液体吸収部材42は、基準部材7を挟んでノズル部43の吹き出し口43Aと対向する位置に設けられている。気体供給部41A及びノズル部43は投影光学系PLとは独立した不図示の支持部に支持されており、液体吸収部材42は、Zステージ52に設けられた回収口である溝部44に配置されている。液体吸収部材42は、第2液体回収装置20の液体吸収部材21同様、例えば多孔質セラミックスやスポンジ等の多孔性材料により構成されており、液体1を所定量保持可能である。気体供給部41Aより気体が送出されることにより、ノズル部43のスリット状の吹き出し口43Aを介して高速な気体が基準部材7に斜め方向から吹き付けられるようになっている。制御装置CONTは、第1液体除去装置40のノズル部43より基準部材7に対して気体を吹き付けることにより、基準部材7上に残留していた液体1を吹き飛ばして除去する(ステップSA5.2)。このとき制御装置CONTは、第1液体除去装置40のノズル部43に対して基板ステージPST(すなわち基準部材7)を移動しながらノズル部43より気体を基準部材7に吹き付けることにより、基準部材7の表面全体に満遍なく気体を吹き付けることができる。吹き飛ばされた液体1は、ノズル部43の吹き出し口43Aと対向する位置に配置されている液体吸収部材42に保持(回収)される。 FIG. 5 shows a state in which the
図5(b)に示すように、Zステージ52内部には、溝部44と連続する流路45が形成されており、溝部44に配置されている液体吸収部材42の底部は流路45に接続されている。液体吸収部材42を配置した溝部44に接続されている流路45は、Zステージ52外部に設けられている管路46の一端部に接続されている。一方、管路46の他端部は、Zステージ52外部に設けられたタンク47及びバルブ48を介して吸引装置であるポンプ49に接続されている。タンク47には排出流路47Aが設けられており、液体1が所定量溜まったら排出流路47Aより排出されるようになっている。そして、第1液体除去装置40は、気体供給部41Aを駆動するとともにポンプ49を駆動し、液体吸収部材42で回収された液体1を、タンク47に吸い込むようにして集める。 As shown in FIG. 5B, a
次いで、制御装置CONTは、基板P上の各ショット領域S1〜S11を露光するために、XYステージ53を移動して投影光学系PLと基板Pとを対向させる(ステップSA6)。投影光学系PLと基板Pとを対向させたら、制御装置CONTは、液体供給機構10を駆動して基板P上に対する液体供給動作を開始する。液浸領域AR2を形成するために液体供給機構10の第1、第2液体供給部11、12のそれぞれから送出された液体1は、供給管11A、12Aを流通した後、第1、第2供給ノズル13、14を介して基板P上に供給され、投影光学系PLと基板Pとの間に液浸領域AR2を形成する。このとき、第1、第2供給ノズル13、14の供給口は投影領域AR1のX軸方向(走査方向)両側に配置されており、制御装置CONTは、液体供給機構10の供給口より投影領域AR1の両側で基板P上への液体1の供給を同時に行う。これにより、基板P上に供給された液体1は、少なくとも投影領域AR1より広い範囲の液浸領域AR2を基板P上に形成する。また、制御装置CONTは、液体回収機構30の第1、第2液体回収部33、34を制御し、液体供給機構10による液体1の供給動作と並行して、基板P上の液体回収動作を行う。つまり、制御装置CONTは、基板Pの露光中に液浸領域AR2を形成するために、液体供給機構10による液体供給と液体回収機構(第1液体回収機構)30による液体回収とを同時に行う(ステップSA7)。これにより、第1、第2供給ノズル13、14の供給口より投影領域AR1に対して外側に流れる基板P上の液体1は、第1、第2回収ノズル31、32の回収口より回収される。このように、液体回収機構30は、投影領域AR1を取り囲むように設けられている回収口により基板P上の液体1の回収を行う。 Next, in order to expose each of the shot areas S1 to S11 on the substrate P, the control device CONT moves the
そして、前述の計測処理中に求めた各情報を使って、基板P上の各ショット領域S1〜S11を走査露光する(ステップSA8)。すなわち、各ショット領域のそれぞれに対する走査露光中には、液体1の供給前に求めた基準マークPFMと各ショット領域S1〜S11との位置関係の情報、及び液体1の供給後に基準マークMFMを使って求めたマスクMのパターンの像の投影位置情報に基づいて、基板P上の各ショット領域S1〜S11とマスクMとの位置合わせが行われる。 Then, the respective shot areas S1 to S11 on the substrate P are scanned and exposed using the information obtained during the above-described measurement process (step SA8). That is, during scanning exposure for each shot area, information on the positional relationship between the reference mark PFM and each shot area S1 to S11 obtained before the
また、各ショット領域S1〜S11に対する走査露光中は、液体1の供給前に求めた基板Pの表面情報、及び走査露光中にフォーカス検出系4を使って検出される基板P表面の面情報に基づいて、フォーカス検出系4を使うことなしに、基板P表面と液体1を介して形成される像面との位置関係が調整される。 Further, during the scanning exposure for each of the shot areas S1 to S11, the surface information of the substrate P obtained before the supply of the
本実施形態において、投影領域AR1の走査方向両側から基板Pに対して液体1を供給する際、制御装置CONTは、液体供給機構10の第1、第2液体供給部11、12の液体供給動作を制御し、走査方向に関して、投影領域AR1の手前から供給する単位時間あたりの液体供給量を、その反対側で供給する液体供給量よりも多く設定する。例えば、基板Pを+X方向に移動しつつ露光処理する場合、制御装置CONTは、投影領域AR1に対して−X側(すなわち第1供給ノズル13)からの液体量を、+X側(すなわち第2供給ノズル14)からの液体量より多くし、一方、基板Pを−X方向に移動しつつ露光処理する場合、投影領域AR1に対して+X側からの液体量を、−X側からの液体量より多くする。 In this embodiment, when supplying the
基板P上の各ショット領域S1〜S11の走査露光が終了すると、制御装置CONTは、液体供給機構10による液体供給を停止するとともに、基板ステージPSTに設けられた第2液体回収装置20の回収口23が投影光学系PLと対向するように基板ステージPSTを移動する。そして、制御装置CONTは、液体回収機構(第1液体回収装置)30と第2液体回収装置20とを併用して、投影光学系PLの下に形成されている液体1の回収を行う(ステップSA9)。このように、基板ステージPSTの上方に回収口が配置されている液体回収機構(第1液体回収装置)30と、基板ステージPST上に回収口が配置されている第2液体回収装置20とで同時に液浸領域AR2の液体1を回収するようにしているので、投影光学系PLの先端や基板P上に液体1が残留するのを低減することができる。 When the scanning exposure of each of the shot areas S1 to S11 on the substrate P is completed, the control device CONT stops the liquid supply by the
なお、第2液体回収装置20は、基板Pの露光終了後に、液浸領域AR2の液体1を回収するものであるが、液浸露光中に、基板P(補助プレート57)の外側に流出した液体1を回収するようにしてもよい。また、第2液体回収装置20の回収口23は、基板Pの周りに輪帯(円環)状に設けられているが、基板Pの露光終了後の基板ステージPSTの移動方向を考慮して、基板P(補助プレート57)近傍の所定位置に部分的に設けるようにしてもよい。また、液浸露光の前後においては、回収動作に伴う振動が大きくなっても許容されるため、液体回収機構30の回収パワーを液浸露光中よりも大きくしてもよい。 The second
また、液浸露光終了後、基板P上の液体1を回収しきれない場合、基板Pは部品ではないけれども、例えばこの基板Pを支持した基板ステージPSTを移動して基板Pを投影光学系PLから離れた位置、具体的には前記吹き付け装置41の下方に配置し、基板Pに気体を吹き付け、吹き飛ばされた液体1を第2液体回収装置20で回収するようにしてもよい。もちろん、この気体吹き付け動作は、基板Pに対してのみならず、補助プレート57や補助プレート57外側のZステージ52表面に対して行うこともできる。 Further, if the
つまり、第1液体除去装置40は基準部材7上に残存している液体1を除去するものであるが、基板ステージPST上において基準部材7以外の部品に残留した液体1を除去することも可能である。例えば、液浸露光中に基板Pの外側に液体1が流出あるいは飛散し、基板ステージPST(Zステージ52)に液体1が配置された状態の場合、基板Pの露光終了後にこの基板ステージPST上の液体1を第1液体除去装置40で回収することができる。この場合、第1液体除去装置40の吹き付け装置41で吹き飛ばされた液体1を第2液体回収装置20の溝部(回収口)23に配置された液体吸収部材21で回収してもよい。 In other words, the first
また、吹き付け装置41のノズル部43を基板ステージPSTに対して移動可能に設けておき、基板Pの露光中や露光終了後において基板Pの外側に流出した液体1の回収を行うようにしてもよい。 Further, the
以上説明したように、基板ステージPST(Zステージ52)に設けられている基準部材7上に残留した液体1を除去する第1液体除去装置40を設けたので、基準部材7上における液体1の残存を防止することができる。また、基板Pの露光終了後に、基板ステージPST上の回収口も使って液体1を回収するようにしたので、投影光学系PLやノズルの先端、あるいは基板P上の液体1の残存が防止でき、液体1の落下や飛散を防止できる。 As described above, since the first
なお、上述の実施形態においては、第1液体除去装置40は基準部材7の近傍に配置された液体吸収部材42を有しているが、液体吸収部材42を省略してもよい。この場合、基準部材7上から除去された液体1は露光動作や計測動作に影響がない基板ステージPST上の所定領域に残留させておくこともできる。 In the above-described embodiment, the first
図6は第1液体除去装置40の他の実施形態を示す図である。以下の説明において上述した実施形態と同一又は同等の構成部分については同一の符号を付し、その説明を簡略もしくは省略する。図6において、第1液体除去装置40は、基準部材7上に付着している液体1を吸引する吸引装置81を備えている。吸引装置81は、タンク及びポンプを含む吸引部81Aと、吸引部81Aに接続された吸引ノズル82とを備えている。そして、吸引ノズル82の吸い込み口82Aが基準部材7に近接して配置されている。基準部材7上に残留した液体1を除去する際には、吹き付け装置41が基準部材7に対して気体を吹き付けるとともに、吸引装置81が基準部材7上の液体1を吸引する。 FIG. 6 is a view showing another embodiment of the first
なお、図6を参照して説明した例では、第1液体除去装置40には、吹き付け装置41と吸引装置81とが併設されているが、吸引装置81のみが設けられている構成であってもよい。吸引装置81は吸い込み口82Aより基準部材7上に残留している液体1を吸引することで、この液体1を除去(回収)可能である。なお、吸引装置81のノズル部82を基板ステージPSTに対して移動可能に設け、基板Pの露光中や露光終了後に基板Pの外側に流出した液体1を回収するようにしてもよい。 In the example described with reference to FIG. 6, the first
また、図6の実施形態においても、第1液体除去装置40は基準部材7の近傍に配置された液体吸収部材42を有しているが、液体吸収部材42を省略してもよい。 Also in the embodiment of FIG. 6, the first
図7は第1液体除去装置40の他の実施形態を示す断面図である。図7に示すように、第1液体除去装置40は、基準部材7を覆う(基準部材7の上方に配置された)カバー部材84と、カバー部材84の内部空間に乾燥気体を供給する乾燥気体供給部85とを備えている。乾燥気体供給部85は管路86を介して、基準部材7が配置されているカバー部材84の内部空間に乾燥気体を供給する。こうすることにより、基準部材7に残留した液体1の気化が促進され、液体1が除去される。 FIG. 7 is a cross-sectional view showing another embodiment of the first
なお、第1液体除去装置40は、基板ステージPSTに搭載されている基準部材7などの部品の液体を除去するようにしているが、特開平11−135400号に開示されているように、露光装置EXが基板ステージPSTとは別に計測部材やリファレンス部を備えたステージを搭載している場合には、そのステージ上の部品の液体を除去することもできる。 The first
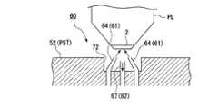
次に、図8を参照しながら、投影光学系PLの先端の光学素子2や先端付近の鏡筒PKに残留した液体1などを除去する第2液体除去装置60について説明する。図8において、第2液体除去装置60は、投影光学系PLの先端の部品を構成する光学素子2やその近傍の鏡筒PKに対して気体を吹き付ける吹き付け装置61と、投影光学系PLの先端に残留し、吹き付け装置61による気体吹き付けにより吹き飛ばされて落下した液体を回収する回収装置(吸引装置)62とを備えている。吹き付け装置61は、気体供給部63と、気体供給部63に接続され、Zステージ52の凹部64Bに設けられているノズル部64とを備えており、ノズル部64の吹き出し口64Aは上方に向けられて投影光学系PLの先端近傍に配置可能となっている。一方、回収装置62はZステージ52に設けられた回収口(溝部)65と、回収口65に配置された多孔性材料からなる液体吸収部材66と、Zステージ52内部に形成され、溝部66に連続する流路67と、Zステージ52外部に設けられ、その一端部を流路67に接続した管路68と、管路68の他端部に接続され、Zステージ52外部に設けられたタンク69と、このタンク69にバルブ70を介して接続された吸引装置であるポンプ71とを備えている。タンク69には排出流路69Aが設けられており、液体1が所定量溜まったら排出流路69Aより排出されるようになっている。そして、回収装置62は、ポンプ71を駆動し、液体吸収部材66で回収された液体1を、タンク69に吸い込むようにして集める。 Next, the second
本実施形態において、吹き付け装置61のノズル部64の吹き出し口64AはY軸方向を長手方向とするスリット状であり(図3参照)、回収装置62の回収口65は吹き出し口64Aの+X側に隣接する位置に、Y軸方向を長手方向とする矩形状に形成されている。そして、第2液体除去装置60は、基板Pの露光終了後に、基板Pの露光中に液浸領域AR2の液体1に接触した投影光学系PLの先端のみならず、液体供給機構10の供給ノズル(部品)13、14、液体回収機構30の回収ノズル(部品)31、32に残留した液体1の除去も行う。もちろん、投影光学系PLの先端のみ、あるいはノズルのみの液体の除去をすることができる。 In the present embodiment, the
基板Pに対する液浸露光終了後(上記ステップSA8終了後)、制御装置CONTは、液体回収機構(第1液体回収装置)30を使って基板P上の液体1の回収を行う(ステップSA9)。そして、液体回収機構30による基板P上の液体1の回収が終了した後、制御装置CONTは基板ステージPSTを移動し、投影光学系PLの下に第2液体除去装置60を配置する。そして、第2液体除去装置60は、投影光学系PLの先端に対して吹き付け装置61のノズル部64より斜め方向から気体を吹き付け、この投影光学系PLの先端に残留した液体1を吹き飛ばして除去する(ステップSA10)。吹き飛ばされた液体1は落下し、回収装置62の液体吸収部材66を配置した回収口65に回収される。ここで、制御装置CONTは、基板ステージPSTを例えば、吹き出し口64A及び回収口65の長手方向(Y軸方向)と直交するX軸方向に移動しつつ、第2液体除去装置60を駆動する。こうすることにより、投影光学系PLの先端はもちろん、その周囲に配置されている液体供給機構10の供給ノズル13、14や、液体回収機構30の回収ノズル31、32にも気体を吹き付け、これら供給ノズル13、14及び回収ノズル31、32に残留している液体1も除去することができる。 After immersion exposure on the substrate P (after completion of step SA8), the control device CONT uses the liquid recovery mechanism (first liquid recovery device) 30 to recover the
以上説明したように、露光中の液浸領域AR2の液体1に接触する投影光学系PLの先端、供給ノズル13、14、及び回収ノズル31、32に残留した液体1を除去することにより、図9の模式図に示すように、基板ステージPSTが投影光学系PLの下(露光処理位置A)から、基板Pをロード・アンロードする位置(ロード・アンロード位置B)まで移動しても、前記投影光学系PLの先端等に残留していた液体1が落下して周辺装置に影響を与えたり環境変化をもたらしたりするといった不都合の発生を抑えることができる。特に、投影光学系PLの先端の光学素子2に液体1を残存させないことにより付着跡(ウォーターマーク)の発生を抑制できる。 As described above, by removing the
そして、第2液体除去装置60を基板ステージPSTに設けたことにより、基板ステージPSTを移動しながら第2液体除去装置60を駆動すれば、新たなアクチュエータを設けなくても、投影光学系PLや供給ノズル、回収ノズルに対して第2液体除去装置60を走査しながら気体を吹き付けることができる。また、例えば図9に示したように、液浸露光終了後、露光処理位置Aからロード・アンロード位置Bまで移動する間に、第2液体除去装置60による気体の吹き付け動作を行うようにすることにより、液体除去動作(気体吹き付け動作)とステージ移動動作とを同時に行うことができ、時間効率を向上できる。したがって、第2液体除去装置60は、基板ステージPSTが露光処理位置Aからロード・アンロード位置Bまで移動する間に投影光学系PLの下を通過する位置に予め設けておくことが好ましい。 By providing the second
図10、図11は第2液体除去装置60の変形例である。図10に示すように、Zステージ52上に大きな溝部72を形成しておき、この溝部72内に、吹き付け装置61のノズル部64及び回収装置62の流路(回収口)67を配置してもよい。なお、図10に示す例において液体吸収部材66は設けられていない。このように、液体吸収部材66を設けない構成とすることも可能である。また、図11に示すように、溝部72内に、吹き付け装置61のノズル部64を複数(図11に示す例では2つ)設けてもよい。また、図10、図11に示した例のように、投影光学系PLの先端より大きい溝部72を設け、この中にノズル部64及び回収口67を配置したことにより、気体を吹き付けられた液体1の周囲への飛散を溝部72で抑制することができる。 10 and 11 are modifications of the second
あるいは、図12に示すように、ノズル部64の吹き出し口64A及び回収口65のまわりに、気体を吹き付けられた液体1の周囲への飛散を防止するためのカバー部材73を設けることもできる。図12に示すカバー部材73は投影光学系PLの先端を配置可能な平面視U字状に形成されており、U字状開口側から投影光学系PLの先端がカバー部材73内部に対して出入りするようになっている。そして、このカバー部材73の長手方向を基板ステージPSTの移動方向(X軸方向)に一致させ、このカバー部材73内部にY軸方向を長手方向とする吹き出し口64A及び回収口65を設けておくことにより、一回の走査移動で液体1の飛散を防止しつつ効率良く液体除去を行うことができる。 Alternatively, as shown in FIG. 12, a
なお、第2液体除去装置60の回収装置62の回収口65を介して、基板Pの露光中に基板Pの外側に流出した液体1の回収を行うこともできる。このとき、回収装置62の回収口65を、基板Pの周囲に所定間隔で複数設けておくことが好ましい。 The liquid 1 that has flowed out of the substrate P during the exposure of the substrate P can also be recovered through the
また、図8〜図12の実施形態において、第2液体除去装置60は、ノズル部64の近傍に回収装置62を備えているが、これを省略してもよい。この場合、投影光学系PLの先端から除去された液体1は露光動作や計測動作に影響がない基板ステージPST上の所定領域に残留させておくこともできる。 8 to 12, the second
また、図8〜図12の実施形態においては、第2液体除去装置60は基板ステージPST上に配置されているが、基板ステージPSTとは異なる部材に第2液体除去装置60を配置しても良い。例えば、基板ステージPSTとは独立して、投影光学系PLの像面側を移動可能なステージをさらに搭載しておき、そのステージに第2液体除去装置60を配置するようにしてもよい。 8 to 12, the second
また、投影光学系PLや供給ノズル、回収ノズル第2液体除去装置60のノズル部64の吹き出し口64Aの近傍に吸引口を設けても良い。あるいは、その吹き出し口64Aの代わりに吸引口を設けて、投影光学系PLの先端面や供給ノズル、回収ノズルに付着した液体を回収するようにしてもよい。 Further, a suction port may be provided in the vicinity of the blowing
ところで、投影光学系PLの先端の液体1を除去しても、液体1に含まれている不純物や異物が投影光学系PLの先端の光学素子2に付着し、光学素子2が汚染する場合がある。ここで、不純物や異物とは、フォトレジストの破片や、フォトレジストに含まれる電解質の析出物などが挙げられる。そこで、投影光学系PLの先端の光学素子2に残留している液体1を除去(吹き飛ばす、吸引する)前又は後に、この光学素子2を洗浄することが好ましい。 By the way, even if the liquid 1 at the tip of the projection optical system PL is removed, impurities or foreign matters contained in the
図13は、投影光学系PLの先端を洗浄している状態を示す模式図である。図13に示す実施形態において、基板ステージPST(Zステージ52)上には、基板ホルダに保持された基板Pとは別の位置に、洗浄ステーション90が設けられている。洗浄ステーション90には洗浄板91が設けられている。洗浄板91は例えば基板Pとほぼ同じ大きさを有する板部材である。 FIG. 13 is a schematic diagram showing a state where the tip of the projection optical system PL is cleaned. In the embodiment shown in FIG. 13, a cleaning
液浸露光終了後(あるいは前)において投影光学系PLの先端の光学素子2を洗浄するために、制御装置CONTは基板ステージPSTを移動して、洗浄板91(洗浄ステーション90)を投影光学系PLの下に配置する。そして、制御装置CONTは、液体供給機構10及び液体回収機構30を駆動し、投影光学系PLと洗浄板91との間に液浸領域AR2を形成する。この洗浄板91上に形成された液浸領域AR2の液体1により投影光学系PLの先端の光学素子2が洗浄される。そして、洗浄処理が終了した後、上述したように、第2液体除去装置60を使って、投影光学系PLの先端の光学素子2に残留した液体1が除去される。 In order to clean the
なお、図13に示した洗浄ステーション90では、液体供給機構10及び液体回収機構30を使って洗浄板91上に液浸領域AR2を形成し、この液浸領域AR2の液体1で投影光学系PLの先端の光学素子2を洗浄しているが、図14に示すように、洗浄ステーション90に洗浄機構95を設け、この洗浄機構95を使って投影光学系PLの先端の光学素子2を洗浄することが可能である。図14に示す洗浄ステーション90の洗浄機構95は、洗浄用液体供給部96と、洗浄用液体供給部96に接続し、洗浄用液体供給部96から送出された洗浄用液体を投影光学系PLの先端の光学素子2に噴射する噴射口97Aを有する噴射部97と、光学素子2を洗浄した後の廃水を回収する回収口98Aを有する回収管98と、回収管98に接続し、ポンプ及びタンクなどからなる回収部99とを備えている。噴射口97A及び回収口98Aは、基板ステージPST(Zステージ52)上に形成された溝部94内に配置されている。液浸露光終了後、投影光学系PLの下に洗浄ステーション90を配置し、洗浄機構95の噴射部97により投影光学系PLの先端の光学素子2に洗浄用液体を噴射することで、光学素子2は洗浄される。このとき、噴射口97A及び回収口98Aを溝部94に配置することにより、洗浄用液体の周囲への飛散が防止される。 In the cleaning
また、洗浄ステーション90(洗浄板91)は基板ステージPST上に配置されているが、基板ステージPSTとは異なる部材に配置しても良い。例えば、基板ステージPSTとは独立して、投影光学系PLの像面側を移動可能なステージをさらに搭載しておき、そのステージに洗浄ステーションを配置するようにしてもよい。 Further, although the cleaning station 90 (cleaning plate 91) is disposed on the substrate stage PST, it may be disposed on a member different from the substrate stage PST. For example, a stage that can move the image plane side of the projection optical system PL may be further mounted independently of the substrate stage PST, and a cleaning station may be arranged on the stage.
また、洗浄動作及び液体除去動作の後、投影光学系PLの先端の光学素子2に異物が付着しているかどうかを異物検出系により確認することが好ましい。図15は異物検出系100の一例を示す模式図である。なお、ここでいう異物とは、上述したフォトレジストの破片やフォトレジストに含まれる電解質の析出物等の他に、残留した液体(液滴)1も含む。 In addition, it is preferable to confirm by a foreign matter detection system whether or not foreign matter has adhered to the
図15において、異物検出系100は、基板ステージPST(Zステージ52)上に設けられ、投影光学系PLの先端の光学素子2表面に対して斜め下方から所定の照射光を照射する発光部118と、光学素子2表面と発光部118とを結ぶ光路上に配置された分岐ミラー119と、基板ステージPST上に設けられ、発光部118からの照射に基づく光学素子2表面からの反射光を受光するための第1受光部120と、基板ステージPSTの上方位置に配置され、発光部118からの照射に基づく分岐ミラー119からの分岐光を受光するための第2受光部121とを備えている。ここで、異物検出系100を構成する発光部118及び第1受光部120等は、基板ステージPST上のうち基板ホルダや洗浄ステーション以外の位置に設けられている。そして、第1、第2受光部120、121の受光結果は光電信号として異物検出系100の一部を構成する制御装置CONTへ出力されるようになっている。制御装置CONTは、第1、第2受光部120、121から出力された光電信号に基づき光学素子2表面の光反射率を実反射率として演算し、演算した実反射率と予め記憶している所定反射率との対比結果に基づき光学素子2表面の汚染度を測定するように構成されている。つまり、光学素子2に異物が付着していれば、この異物に起因して散乱光が生じて反射率が変化し、第1受光部120で受光される受光量が変化する。制御装置CONTは、光学素子2表面が光学特性に影響を与えるほど汚染されていないと想定される本装置完成時に測定された光学素子2表面の光反射率を所定反射率として予め記憶している。 In FIG. 15, the foreign
図13や図14を参照して説明したように、投影光学系PLの先端の光学素子2の洗浄処理を終了した後、制御装置CONTは、基板ステージPSTを移動して異物検出系100を投影光学系PLの下に配置する。そして、発光部118から所定の照射光が照射されると、その照射光のうち分岐ミラー119を透過した照射光は光学素子2表面を照射した後この表面で反射し、その反射光は第1受光部120により受光される。一方、分岐ミラー119により分岐された照射光(分岐光)は光学素子2表面に至ることなく第2受光部121により受光される。そして、両受光部120、121により光電変換された光電信号がそれぞれ制御装置CONTに出力される。制御装置CONTは、第1受光部120からの光電信号と第2受光部121からの光電信号とに基づき、光学素子2表面の反射率を演算する。すなわち、一般に、2つの媒質の境界面に対してある入射角で光が入射するとき、その反射率Rは、入射光束のエネルギーの強さをI0とし、反射光束のエネルギーの強さをIr としたとき、R=Ir /I0で表される。従って、制御装置CONTでは、第1受光部120からの光電信号に基づくエネルギーの強さをIr とし、第2受光部121からの光電信号に基づくエネルギーの強さをI0として、光学素子2表面の実反射率Rr を求める。次に、制御装置CONTは、予め記憶してある所定反射率R0を読出し、この所定反射率R0と前記実反射率Rr との差ΔR(=R0−Rr )を演算する。そして、求められた両反射率R0、Rr の差ΔRに基づく表示信号を表示装置126に出力する。すると、表示装置126はこの表示信号に基づき光学素子2表面の汚染度を数値表示する。制御装置CONTは、汚染度が所定の許容値を超えている場合には、光学素子2表面に異物が許容値以上存在すると判断し、再び洗浄処理を行うように洗浄装置を制御する。As described with reference to FIGS. 13 and 14, after finishing the cleaning process of the
なおここでは、光学素子2に照射光を照射し、光学素子2表面での散乱光を検出する構成であるが、異物が光学素子2に付着している場合、投影光学系PLの像面側において照度むら又はテレセンずれが観測されるので、基板ステージPST上に設けられた照度センサを使って、焦点面とデフォーカス面とのそれぞれで照度を計測することにより、異物が付着しているかどうかを検出することができる。 Here, the
なお、図15の実施形態においては、光学素子2に光を照射し、その散乱光を受光することによって、光学素子2表面に付着した液体や異物(不純物)を検出するようにしているが、検出方法はこれに限られず、例えば前述のマスクアライメント系6を用いて検出するようにしてもよい。 In the embodiment of FIG. 15, the liquid and foreign matter (impurities) attached to the surface of the
また、光学素子2表面の洗浄後だけでなく、基板Pの交換中などの所定のタイミングで投影光学系PLの先端の光学素子2に異物が付着しているかどうかを異物検出系により確認し、異物が検出された場合に洗浄動作を行なうようにしてもよい。 Further, not only after cleaning the surface of the
また、異物検出系100は、投影光学系PLの先端の光学素子2の異物検出を行っているが、投影光学系PLの像面側で液体と接触する他の部品表面の異物を検出するようにしてもよい。 Further, the foreign
<第1液体除去装置を用いた露光装置の別の実施形態>
図16は、第1液体除去装置を用いた露光装置の別の実施形態を示す図である。本実施形態においては、Zステージ52に、投影光学系PLを介してその像面側(基板P側)に照射される光を受光する照度ムラセンサ(計測系)138の一部を構成する板部材(上板)138Aが設けられ、更にその近傍に板部材138Aから除去された液体を回収する液体吸収部材142が追加されている。液体吸収部材142はZステージ52に形成された溝部144に配置されている。また、板部材138Aは、ガラス板の表面にクロムなどの遮光性材料を含む薄膜でパターニングし、その中央部にピンホール138Pを設けたものである。また、板部材138Aの上面は撥液性を有している。本実施形態においては、フッ素系化合物などの撥液性を有する材料が板部材138Aの表面にコーティングされている。<Another Embodiment of Exposure Apparatus Using First Liquid Removal Apparatus>
FIG. 16 is a view showing another embodiment of the exposure apparatus using the first liquid removing apparatus. In the present embodiment, a plate member constituting a part of an illuminance unevenness sensor (measuring system) 138 that receives light irradiated on the image plane side (substrate P side) via the projection optical system PL on the
図17は、基板ステージPSTに設けられ、照度ムラセンサ138の一部を構成する板部材138Aに付着した液体を除去している様子を示す図である。本実施形態において、照度ムラセンサ138は、特開昭57−117238号公報に開示されているように、投影光学系PLを介して像面側に照射される露光光の照度(強度)を複数の位置で計測して、投影光学系PLの像面側に照射される露光光の照度ムラ(照度分布)を計測するものである。照度ムラセンサ138は、基板ステージPST(Zステージ52)に設けられ、ガラス板の表面に遮光膜をパターニングして、その中央部にピンホール138Pが形成された板部材138Aと、Zステージ52に埋設され、ピンホール138Pを通過した光が照射される光学系138Cと、光学系138Cを通過した光を受光する受光素子(受光系)138Bとを有している。なお、例えば光学系138Cと受光素子138Bとの間にリレー光学系を設け、受光素子138BをZステージ52の外側に配置することもできる。 FIG. 17 is a diagram illustrating a state where the liquid attached to the
照度ムラセンサ138で照度分布の計測を行う場合、投影光学系PLと照度ムラセンサ138の板部材138Aとを対向させた状態で、その投影光学系PLと板部材138Aとの間を液体で満たすとともに、露光光が照射される照射領域内の複数の位置で順次ピンホール138Pを移動させ、上述したように、各位置における露光光の照度を計測して照度分布(照度ムラ)を求める(計測する)。照度分布計測終了後、制御装置CONTは、基板ステージPSTを移動して、第1液体除去装置40のノズル部43の下に、照度ムラセンサ138の板部材138Aを配置する。 When the
上述したように、Zステージ52上において、板部材138Aに隣接する位置には、第1液体除去装置40によって板部材138Aより除去された液体を回収する液体吸収部材142が設けられている。液体吸収部材142は、上述の液体吸収部材42と同様、例えば多孔質セラミックスやスポンジ等の多孔性材料により構成されており、液体を所定量保持可能である。 As described above, the
制御装置CONTは、第1液体除去装置40のノズル部43より板部材138Aに対して気体を吹き付けることによって、板部材138Aに付着している液体を吹き飛ばして除去する。吹き飛ばされた液体は、第1液体除去装置40のノズル部43の吹き出し口43Aと対向する位置に配置された液体吸収部材142に保持(回収)される。なお、板部材138Aの表面には撥液処理が施されているので、ピンホール138Pの内部への液体の浸入を防止できるばかりでなく、気体を吹き付けることで板部材138Aより液体を良好に除去できる。 The control device CONT blows and removes the liquid adhering to the
Zステージ52内部には、溝部144と連続する流路145が形成されており、溝部144に配置されている液体吸収部材142の底部は流路145に接続されている。流路145はZステージ52外部に設けられている管路146の一端部に接続されている。一方、管路146の他端部は、Zステージ52外部に設けられているタンク147及びバルブ148Aを有する管路148を介してポンプ149に接続されている。タンク147には排出流路147Aが設けられており、液体1が所定量溜まったときに排出流路147Aから排出される。そして、制御装置CONTは、第1液体除去装置40の気体供給部41Aを駆動するとともに、ポンプ149を駆動し、液体吸収部材142で回収された液体を、タンク147に吸い込むようにして集める。 A
なお、第1液体除去装置40による板部材138Aの液体除去方法としては、先の実施形態で説明したような、液体の吸引やドライエアの吹き付けなどを用いてもよいし、それらを適宜組み合わせて使用してもよい。また、板部材138Aの表面は、全面を撥液性にする必要はなく、一部のみ、例えばピンホール138Pの周囲のみを撥液性にしておいてもよい。また、照度ムラセンサ138の板部材138Aの上面に限らず、基板ステージPST上の他の部品の表面も撥液性にしておいてもよい。但し、第1液体除去装置40により除去能力が十分高い場合には、必ずしも撥液性にする必要はない。 In addition, as a liquid removal method of the
また、基板ステージPST上には、照度ムラセンサに限らず、特開平11−16816号公報に開示されているような照射量モニタや、特開2002−14005号公報に開示されている結像特性などを計測するための空間像計測センサなど、投影光学系PLと液体とを通過した露光光を光透過部を介して受光するセンサが他にも配置されている。これらのセンサも光透過部が形成されている平坦部の表面に液体が残留・付着する可能性があるので、第1液体除去装置40を用いた液体の除去をそれらのセンサに適用してもよい。また、基板ステージPST上に、特開昭62−183522号公報に開示されているような反射部材が配置されている場合には、第1液体除去機構40を使って、その表面に残留・付着した液体を除去するようにしてもよい。 On the substrate stage PST, not only the illuminance unevenness sensor but also an irradiation amount monitor as disclosed in Japanese Patent Laid-Open No. 11-16816, an imaging characteristic disclosed in Japanese Patent Laid-Open No. 2002-14005, and the like. Other sensors such as an aerial image measurement sensor for measuring the exposure light that receive the exposure light that has passed through the projection optical system PL and the liquid via the light transmission part are also arranged. Since these sensors also have the possibility of liquid remaining and adhering to the surface of the flat part where the light transmission part is formed, even if the removal of the liquid using the first
また、特開平11−238680号公報や特開2000−97616号公報に開示されているような、基板ステージPSTに対して着脱可能なセンサを、基板ステージPSTから外す際に、第1液体除去装置40を用いて液体の除去を行ってから外すようにしてもよい。 Further, when a sensor that can be attached to and detached from the substrate stage PST as disclosed in JP-A-11-238680 and JP-A-2000-97616 is removed from the substrate stage PST, the first liquid removing device is used. Alternatively, the liquid may be removed using 40, and then removed.
<第3液体除去装置を用いた露光装置の実施形態>、
図18は、第3液体除去装置を用いた露光装置の別の実施形態を示す模式図である。図18において、フォーカス検出系4は発光部4aと受光部4bとを備えている。本実施形態においては、投影光学系PLの先端部近傍にはフォーカス検出系4の発光部4aから射出された検出光を透過可能な第1光学部材151と、基板P上で反射した検出光を透過可能な第2光学部材152とが設けられている。第1光学部材151及び第2光学部材152は、投影光学系PL先端の光学素子2とは分離した状態で支持されており、第1光学部材151は光学素子2の−X側に配置され、第2光学部材152は光学素子2の+X側に配置されている。第1、第2光学部材151、152は、露光光ELの光路及び基板Pの移動を妨げない位置において液浸領域AR2の液体1に接触可能な位置に設けられている。<Embodiment of exposure apparatus using third liquid removing apparatus>,
FIG. 18 is a schematic view showing another embodiment of the exposure apparatus using the third liquid removing apparatus. In FIG. 18, the
そして、図18に示すように、例えば基板Pの露光処理中においては、投影光学系PLを通過した露光光ELの光路、つまり光学素子2と基板P(基板P上の投影領域AR1)との間の露光光ELの光路が全て液体1で満たされるように、液体供給機構10及び液体回収機構30により液体1の供給及び回収が行われる。また、光学素子2と基板Pとの間の露光光ELの光路の全てが液体1で満たされ、基板P上において液浸領域AR2が投影領域AR1の全てを覆うように所望状態に形成されたとき、その液浸領域AR2を形成する液体1は第1光学部材151及び第2光学部材152の端面のそれぞれに密着(接触)するようになっている。基板P上に液浸領域AR2が形成され、液体1が第1光学部材151及び第2光学部材152の端面のそれぞれに密着している状態においては、フォーカス検出系4の発光部4aから射出された検出光及びその基板P上での反射光の光路のうち第1光学部材151と第2光学部材152との間の光路は全て液体1で満たされる。また、検出光の光路の全てが液体1で満たされた状態のとき、フォーカス検出系4の発光部4aから射出された検出光は、基板P上の投影光学系PLの投影領域AR1に照射されるように設定されている。 Then, as shown in FIG. 18, for example, during the exposure process of the substrate P, the optical path of the exposure light EL that has passed through the projection optical system PL, that is, the
また、上記第1、第2光学部材151、152の端面である液体接触面は、例えば親液化処理されて親液性となっている。こうすることにより、液浸領域AR2の液体1は第1、第2光学部材151、152の液体接触面に密着し易くなるため、液浸領域AR2の形状を維持し易くなる。 Further, the liquid contact surfaces that are the end surfaces of the first and second
なお図18においては、液体供給機構10及び液体回収機構30は簡略化して図示されている。図18に示す液体供給機構10は、液体1を送出可能な液体供給部171と、供給ノズル173と液体供給部171とを接続する供給管172とを備えている。液体供給部171から送出された液体1は、供給管172を通過した後、供給ノズル173の液体供給口174より基板P上に供給される。また、図18に示す液体回収機構30は、液体1を回収可能な液体回収部175と、回収ノズル177と液体回収部175とを接続する回収管176とを備えている。基板P上の液体1は、回収ノズル177の回収口178より回収された後、回収管176を介して液体回収部175に回収される。 In FIG. 18, the
なおここでは、第1光学部材151と第2光学部材152とは互いに独立した部材であるように説明したが、例えば投影光学系PLの先端部の光学素子2を囲むように環状の光学部材を配置し、その環状の光学部材の一部に検出光を照射し、液浸領域AR2及び基板P表面を通過した検出光を、環状の光学部材を介して受光するようにしてもよい。光学部材を環状に設けて液浸領域AR2の液体1を環状の光学部材の内側面に密着させることにより液浸領域AR2の形状を良好に維持することができる。また本実施形態においては、第1光学部材151及び第2光学部材152は投影光学系PLに対して分離しているが、投影光学系PLの光学素子2と一体で設けられていてもよい。 Here, the first
図18に示した状態で液浸露光処理を行った後、制御装置CONTは、例えば図13を参照して説明したように、洗浄板(あるいはダミー基板)を投影光学系PLの下に配置し、液体供給機構10及び液体回収機構30を使って洗浄板上に液浸領域AR2を形成し、この液浸領域AR2の液体1で投影光学系PLの先端部の光学素子2や第1、第2光学部材151、152、あるいは供給ノズル173の供給口174近傍や回収ノズル177の回収口178近傍を洗浄する。この洗浄が終了した後、制御装置CONTは、液体回収機構30などを使って液浸領域AR2の液体1を回収する。 After performing the immersion exposure process in the state shown in FIG. 18, the control device CONT arranges the cleaning plate (or dummy substrate) under the projection optical system PL as described with reference to FIG. The
液浸領域AR2の液体1を回収した後、制御装置CONTは、図19に示すように、気体を吹き出す気体ノズル160(第3液体除去装置)を不図示の駆動装置によって投影光学系PLの下に配置する。このとき、基板ステージPSTは、基板Pをアンロードするためにロード・アンロード位置(図9参照)に移動しており、気体ノズル160は不図示の駆動装置によって投影光学系PLの下に配置される。また、投影光学系PLの下には、光学素子2等より落下した液体1を受ける液体受け部材280が配置される。なお気体ノズル160は、基板ステージPST上のうち基板Pを保持する基板ホルダ以外の位置に設けられていてもよい。 After the
制御装置CONTは、気体ノズル160の吹出口161より気体を吹き出し、その吹き出した気体を使って、光学素子2や第1、第2光学部材151、152、あるいは供給ノズル173、回収ノズル177に付着している液体1の位置を移動する。例えば、図19に示すように、制御装置CONTは、まず気体ノズル160の吹出口161を光学素子2の下面2aの露光光ELが通過する領域に対向した位置まで基板面と平行に(X方向に)移動した後、吹出口161から気体を吹き出す。気体を吹き出した状態を維持した状態で、気体ノズル160を露光光ELが通過する領域の外側に向かって移動する。これにより、光学素子2の下面2aにおいて露光光ELが通過する領域、即ち、光学素子2の下面2aの投影領域AR1に対応する領域に付着している液体(液滴)1をその領域の外側へ移動することができる。本実施形態においては、露光光ELが通過する領域は光学素子2の下面2aの略中央部であるので、上述の方法により下面2aの中央部に付着(残留)していた気体1を下面2aの端部に向かって移動することができる(図19の符号1’参照)。換言すれば、制御装置CONTは、吹き出した気体を使って、露光光ELが通過する領域に付着した液体1を乾かさずに、その領域の外側へ退かすことにより、露光光ELが通過する領域に付着した液体を除去するようにしている。これにより、光学素子2の下面2aのうち少なくとも露光光ELが通過する領域にウォーターマークが形成される不都合を防止することができる。この実施形態において、気体ノズル160及びその付属装置は第3液体除去装置として機能する。 The control device CONT blows out gas from the
なお、本実施形態においては、露光光ELが通過する領域から液体を退かす(除去する)ようにしているが、それに限らず、必要に応じて所望の領域から液体を退かすようにすればよい。 In the present embodiment, the liquid is retracted (removed) from the region through which the exposure light EL passes. However, the present invention is not limited thereto, and the liquid may be retracted from a desired region as necessary. Good.
図20(a)は、吹出口161の一例を示す図である。図20(a)に示すように、本実施形態においては、吹出口161はY軸方向を長手方向とするスリット状に形成されている。図20(b)は、光学素子2の下面2aを示す図である。投影領域AR1はY軸方向を長手方向とするスリット状(矩形状)である。また、吹出口161の大きさは、光学素子2の下面2aよりも小さく形成されている。そして、光学素子2の下面2aの中央部に付着した液体1を退かす際には、制御装置CONTは、はじめに気体ノズル160の吹出口161と光学素子2の下面2aのほぼ中央部とを対向した状態で気体を吹き出し、その気体の吹き出しを維持した状態で、気体ノズル160を+X側(又は−X側)に移動する。つまり、制御装置CONTは、気体ノズル160をX軸方向に沿って移動する。こうすることにより、制御装置CONTは、光学素子2の下面2aの投影領域AR1に対応する領域の外側に液体1を円滑に移動する(退かす)ことができる。光学素子2の下面2aの中央部(投影領域AR1に対応する領域の中央部)に付着している液体1を、投影領域AR1に対応する領域の外側に出すためにY軸方向に沿って移動させようとした場合、投影領域AR1はY軸方向を長手方向としているため、その移動距離は長くなる。この場合、液体1を前記領域の外側に円滑に移動させることが困難になる可能性がある。そのため、光学素子2の下面2aの中央部(投影領域AR1に対応する領域の中央部)に付着している液体1を、投影領域AR1に対応する領域の外側に出すためにX軸方向に沿って移動することで、その液体1を前記領域の外側へ円滑に移動させることができる。 FIG. 20A is a diagram illustrating an example of the
本実施形態においては、気体ノズル160の吹出口161より吹き出される気体は、ケミカルフィルタやパーティクル除去フィルタを含むフィルタ装置(不図示)を介して、クリーンな気体として吹き出される。したがって、光学素子2等の汚染が防止される。また、気体としては、露光装置EXのおかれている環境とほぼ同じ気体、具体的には露光装置EXが収容されたチャンバ内部の気体とほぼ同じ気体を使用することが好ましい。本実施形態においては、空気(ドライエア)が使用されている。なお吹き出す気体として窒素ガス(ドライ窒素)を使用してもよい。露光装置EXのおかれている環境とは異なる気体を使った場合、互いに異なる気体の屈折率差によって、例えばステージ位置計測を行う干渉計の測定光の光路が変動する等して計測誤差等の不都合を招く可能性があるが、吹出口161より吹き出す気体を、露光装置EXのおかれている環境とほぼ同じ気体とすることにより、上記不都合を防止することができる。 In this embodiment, the gas blown out from the
露光光ELが通過する領域の外側へ移動した(退けた)液体1は、例えば気体ノズル160から吹き出された気体や所定の乾燥装置によって気化(乾燥)されて除去される。 The liquid 1 that has moved (retreated) outside the region through which the exposure light EL passes is vaporized (dried) by, for example, a gas blown from the
なお、露光光ELが通過する領域の外側に移動させた液体が乾いたとしても、気体ノズル160より気体を吹き出す前に部品(光学素子2の下面2a)の洗浄作業を行っているので、露光光ELが通過する領域の外側の液体が乾いたところに不純物などが付着するのを抑制することができる。 Even if the liquid moved to the outside of the region through which the exposure light EL passes is dried, the component (the
また、露光光ELが通過する領域の外側に移動させた液体を吸引(回収)するようにしてもよい。 Further, the liquid moved outside the region through which the exposure light EL passes may be sucked (collected).
同様に、制御装置CONTは、第1、第2光学部材151、152の端面のうち、少なくともフォーカス検出系4の検出光が通過する領域に付着している液体(液滴)を、気体ノズル160から吹き出した気体を使って移動する(退かす)。こうすることにより、第1、第2光学部材151、152の端面のうち少なくとも検出光が通過する領域にウォーターマークが形成される(不純物が付着する)不都合を防止することができる。 Similarly, the control device CONT removes the liquid (droplet) attached to at least the region through which the detection light of the
同様に、制御装置CONTは、供給ノズル173や回収ノズル177に付着(残留)した液体1を気体ノズル160から吹き出した気体によって退かす。こうすることにより、供給ノズル173や回収ノズル177にウォーターマークが形成される不都合を防止できる。ウォーターマークは異物(不純物)となるため、例えば供給ノズル173(供給口174)や回収ノズル177(回収口178)にウォーターマークが形成されると、液浸領域AR2を形成したとき、ウォーターマークによる異物(不純物)が液浸領域AR2に混入する可能性がある。その場合、露光精度や計測精度の劣化を招く。また、回収ノズル177(回収口178)の液体1に対する接触角(親和性)によって、液体回収機構30の回収能力が変化することが考えられ、回収ノズル177にウォーターマークが形成されて液体1との接触角が変化すると、液体回収機構30の回収能力が劣化する可能性もある。ところが本実施形態のようにノズル173、177に付着した液体1を除去することで、上記不都合を防止することができる。 Similarly, the control device CONT retreats the
以上説明したように、光学素子2や第1、第2光学部材151、152の所定領域(露光光や検出光が照射される領域)に付着した液体を、その所定領域に対して気体ノズル160(吹出口161)を相対的に移動しつつ気体を吹き付けることによって所定領域の外側へ移動する(退かす)ことで、その所定領域にウォーターマークが形成される不都合を防止することができる。 As described above, the liquid adhering to the predetermined region (the region irradiated with the exposure light and the detection light) of the
なお本実施形態においては、光学素子2の下面2aに付着した液体1を端部に退かすとき、まず下面2aの中央部に気体を吹き付けた後、その気体の吹き付けを維持した状態で気体ノズル160を下面2aの端部に向かってほぼ直線的に移動する構成であるが、下面2aに対して吹出口161が螺旋状の軌跡を描くように気体ノズル160を移動するようにしてもよい。また、吹出口161の形状は、スリット状に限られず、例えば円形状など任意の形状であってもよい。また、吹出口161に多孔質体を配置してもよい。 In this embodiment, when the
また、本実施形態においては気体ノズル160(吹出口161)は1つであるが、もちろん複数の気体ノズル160(吹出口161)を設け、それらを併用してもよい。また、複数の気体ノズル160のうち例えば第1の気体ノズル160より吹き出した気体を使って光学素子2に付着した液体1を除去し、第2の気体ノズル160より吹き出した気体を使って第1光学部材151あるいは第2光学部材152に付着した液体1を除去し、それらの除去動作を並行して行うようにしてもよい。このように、複数の気体ノズル160を使って複数の所定領域のそれぞれに対する液体除去動作を並行して行うことで、液体除去作業を効率良く行うことができる。 In the present embodiment, the number of gas nozzles 160 (air outlets 161) is one, but of course, a plurality of gas nozzles 160 (air outlets 161) may be provided and used in combination. Further, for example, the
また、光学素子2や第1、第2光学部材151、152の端面に付着した液体1を移動する(退かす)ために、例えば図8等を参照して説明した第2液体除去装置60の吹き出し口64Aより吹き出した気体を使ってもよい。 Further, in order to move (retreat) the
上述した実施形態においては、光学素子2や第1、第2光学部材151、152に対して気体を下方から吹き付ける構成であるが、上方から吹き付けるようにしてもよい。例えば図21に示すように、気体ノズル160の吹出口161を下側に向くように形成し、第2光学部材152の端面に付着した液体1を除去する(退かす)ようにしてもよい。もちろん、この気体ノズル160を使って第1光学部材151の端面に付着した液体1も除去することができる。あるいは、第1光学部材151(あるいは第2光学部材152)の一部に流路163を形成するとともにその流路163に接続する気体ノズル164を第1光学部材151の端面に設け、流路163及び気体ノズル164を介した気体を、第1光学部材151の端面に上方から吹き付けることも可能である。なお流路163は、フォーカス検出系4の検出光の光路を妨げない位置に形成される。 In the above-described embodiment, the gas is blown from below to the
なお、上述した実施形態においては、投影光学系PLの先端部の光学素子2や第1及び第2光学部材151、152、あるいは供給ノズル173の供給口174近傍や回収ノズル177の回収口178近傍を洗浄した後に、気体ノズル160を用いて液体を除去しているが、洗浄工程は省略してもよい。 In the above-described embodiment, the
また気体ノズル160を、上述の第2実施形態と同様に、基板ステージPSTに設け、基板ステージPSTを動かすことによって、気体ノズル160を移動するようにしてもよい。 Further, the
また特開平11−135400号に開示されているように、基板ステージPSTとは独立して、投影光学系PLの像面側を移動可能なステージをさらに搭載しておき、そのステージに気体ノズル160を配置するようにしてもよい。 As disclosed in JP-A-11-135400, a stage that can move on the image plane side of the projection optical system PL is further mounted independently of the substrate stage PST, and a
上述した実施形態においては、吹出口161より気体を吹き出して、光学素子2や第1、第2光学部材151、152、あるいはノズル173、177に付着した液体1を移動しているが、気体を吹き付けることによって基板ステージPST上に残留(付着)している液体1を移動(除去、退ける)することも可能である。例えば吹出口161を基板ステージPSTの上面と対向するように配置して、図3等を参照して説明した基準部材7に対して気体を吹き付け、その基準部材7上に付着している液体1を、乾かさずに、基準部材7の外側(あるいは基準部材7上のうち検出対象領域の外側)に移動する(退かす)ことができる。同様に、図16等を参照して説明した照度ムラセンサ138の上板138A上に付着した液体1や、例えば特開平11−16816号公報に開示されているような照射量モニタや、例えば特開2002−14005号公報に開示されているような空間像計測センサの上板上に付着した液体1を、気体を吹き付けて、乾かさずに、移動する(退かす)ことができる。 In the above-described embodiment, gas is blown out from the
<第4液体除去装置を用いた露光装置の実施形態>
図22は第4液体除去装置を備える露光装置の実施形態を示す図である。図22において、供給管172の途中には、例えば三方バルブ等の流路切替装置182を介して気体供給管181の一端部が接続されている。一方、気体供給管181の他端部は気体供給部180に接続されている。流路切替装置182は、液体供給部171と供給口174とを接続する流路を開けているとき、気体供給部180と供給口174とを接続する流路を閉じる。一方、流路切替装置182は、液体供給部171と供給口174とを接続する流路を閉じているとき、気体供給部180と供給口174とを接続する流路を開ける。同様に、回収管176の途中には、流路切替装置185を介して気体供給管184の一端部が接続されており、他端部は気体供給部183に接続されている。流路切替装置185は、液体回収部175と回収口178とを接続する流路を開けているとき、気体供給部183と回収口178とを接続する流路を閉じる。一方、流路切替装置185は、液体回収部175と回収口178とを接続する流路を閉じているとき、気体供給部183と回収口178とを接続する流路を開ける。<Embodiment of exposure apparatus using fourth liquid removing apparatus>
FIG. 22 is a view showing an embodiment of an exposure apparatus including a fourth liquid removing apparatus. In FIG. 22, one end of a
この実施形態では、気体供給部180、183、供給口174及び回収口178、並びに流路切替装置182などが残留液体を除去する第4液体除去装置(液体機構機構)として動作する。 In this embodiment, the
例えば基板P上に液浸領域AR2を形成するときは、制御装置CONTは、流路切替装置182、185を駆動し、液体供給部171と供給口174とを接続する流路を開けるとともに、液体回収部175と回収口178とを接続する流路を開ける。このとき、気体供給部180と供給口174とを接続する流路、及び気体供給部183と回収口178とを接続する流路は閉じられている。 For example, when forming the liquid immersion area AR2 on the substrate P, the control device CONT drives the flow
基板Pの液浸露光が終了した後、制御装置CONTは、液体供給機構10による液体供給動作を停止するとともに、その液体供給動作の停止後の所定期間だけ液体回収機構30による液体回収動作を継続し、液浸領域AR2を形成していた液体1を回収する。制御装置CONTは、液体供給機構10による液体供給動作を停止するとき、流路切替装置182を駆動し、液体供給部171と供給口174とを接続する流路を閉じるとともに、気体供給部180と供給口174とを接続する流路を開ける。そして、液浸領域AR2の液体1がほぼ無くなった後、制御装置CONTは、気体供給部180を駆動して、気体の供給を開始する。気体供給部180より供給された気体は、気体供給管181及び流路切替装置182を介して、供給ノズル173の供給口174より吹き出す。これにより、流路切替装置182と供給口174との間の流路に残留している液体1を供給口174を介して外側に吹き出して除去することができる。なお、気体供給部180より供給され、供給口174より吹き出した気体を使って、例えば第1、第2光学部材151、152の端面に付着している液体1や、基板ステージPST(計測部材などを含む)上に付着している液体1を除去することもできる。 After the immersion exposure of the substrate P is completed, the control device CONT stops the liquid supply operation by the
同様に、制御装置CONTは、液体回収機構30による液浸領域AR2の液体1の回収動作が終了した後、流路切替装置185を駆動し、液体回収部175と回収口178とを接続する流路を閉じるとともに、気体供給部183と回収口178とを接続する流路を開ける。そして、制御装置CONTは、気体供給部183より供給された気体を使って、流路切替装置185と回収口178との間の流路に残留している液体1を回収口178を介して外側に吹き出して除去する。なお、その回収口178から吹き出した気体を使って、第1、第2光学部材151、152の端面に付着している液体1や、基板ステージPST(計測部材などを含む)上に付着している液体1を除去することも可能である。 Similarly, after the operation of recovering the
以上説明したように、液体1の供給や回収を行わないときに、気体供給部180、183からクリーンな気体を供給することで、供給管172及び供給ノズル173の内部流路や供給口174近傍、あるいは回収管176や回収ノズル177の内部流路や回収口178近傍にウォーターマークが形成される不都合を防止することができる。 As described above, by supplying clean gas from the
<第3液体除去装置を用いた露光装置の別の実施形態>
図23は第3液体除去装置を用いた露光装置の別の実施形態を示す図である。図23において、吹出口161を有する気体ノズル160は液体受け部材190に取り付けられている。液体受け部材190は皿状の部材であって、光学素子2、ノズル173、177、及び第1、第2光学部材151、152の占有面積よりも大きく形成されており、これら各部材から滴り落ちた液体1を受けることができるようになっている。また、液体受け部材190の底部には、多孔質体やスポンジ状部材からなる液体吸収部材199が交換可能に設けられている。液体吸収部材199により液体1を良好に補集・保持することができる。また、液体受け部材190は周壁部191を有しており、補集された液体1の流出は周壁部191によって防止されている。<Another Embodiment of Exposure Apparatus Using Third Liquid Removal Apparatus>
FIG. 23 is a view showing another embodiment of the exposure apparatus using the third liquid removing apparatus. In FIG. 23, the
液体受け部材190は、駆動機構193によって移動可能に設けられている。駆動機構193は、アーム部194、アクチュエータ部195及び軸部196で構成されている。アーム部194の一方の端部は液体受け部材190の側面に接続されており、他方の端部はアクチュエータ部195に接続されている。また、アクチュエータ部195は、軸部196を介して、例えば露光装置EXのボディや投影光学系PLを支持するコラム等の所定の支持部CLに吊り下げられるように取り付けられている。アクチュエータ部195が駆動することで、アーム部194の一端部に取り付けられている液体受け部材190は、軸部196を旋回中心としてθZ方向に旋回する。制御装置CONTは、駆動機構193のアクチュエータ部195を駆動して液体受け部材190を旋回することで、投影光学系PLの下方領域に対して液体受け部材190を進退することができる。また、アクチュエータ部195はアーム部194を介して液体受け部材190をZ軸方向に移動可能であるとともに、XY方向にも移動することができる。 The
また、液体受け部材190には、例えばCCDなどからなる撮像装置198が設けられている。撮像装置198は光学素子2や第1、第2光学部材151、152の表面情報を画像として出力することができる。 The
制御装置CONTは、光学素子2や第1、第2光学部材151、152などに付着した液体1を移動(除去)するとき、アクチュエータ部195を駆動して、光学素子2と液体受け部材190とを対向し、光学素子2に対して液体受け部材190とともに気体ノズル160を移動しながら、光学素子2に対して気体を吹き付ける。光学素子2のうち露光光ELの光路上に対応する領域に付着している液体1は、吹き付けられた液体1によって移動し、やがて落下する。光学素子2より落下した液体1は液体受け部材190に保持される。こうすることにより、例えば投影光学系PL及び液体受け部材190の下に基板ステージPSTが配置されている場合においても、液体受け部材190で液体1を受けることで、光学素子2などから除去された液体1が基板ステージPSTに付着する不都合を防止できる。 When the control device CONT moves (removes) the
また、制御装置CONTは、撮像装置198の撮像結果に基づいて、気体ノズル160の気体吹き付け動作を制御する。例えば、制御装置CONTは、撮像装置198の撮像結果に基づいて液体1が付着している位置を求め、その液体1が付着している位置と気体ノズル160とを位置合わせして気体の吹き付けを行うといったことができる。こうすることにより、液体1をより確実に除去することができる。そして、液体1が光学素子2より除去されたと判断したとき、制御装置CONTは、気体ノズル160による気体吹き付け動作を終了する。 Further, the control device CONT controls the gas blowing operation of the
なお、液体受け部材190と、例えば第1、第2光学部材151、152とを位置決めする位置決め機構を設けてもよい。位置決め機構としては、図23に破線で示す板バネ部材192を用いることができる。図23に示す例では、板バネ部材192は液体受け部材190の周壁部191の上面191Aに設けられている。アクチュエータ部195の駆動によって液体受け部材190が+Z方向に移動し、第1、第2光学部材151、152に接近すると、板バネ部材(位置決め機構)192は第1、第2光学部材151、152の外側を挟む。これにより、第1、第2光学部材151、152と液体受け部材190とが位置決めされる。この場合、光学素子2(第1、第2光学部材151、152)に対して液体受け部材190に取り付けられた気体ノズル160を相対移動することは困難であるが、気体ノズル160より吹き出した気体を光学素子2の所望領域(この場合、投影領域AR1に対応する領域)に吹き付けてその領域に付着した液体1を良好に退かすことができる。 A positioning mechanism that positions the
<第3液体除去装置を用いた露光装置のさらに別の実施形態>
図24は第3液体除去装置を用いた露光装置の別の実施形態を示す側面図である。図24において、基板ステージPSTは、基板ステージPSTの平面視ほぼ中央部に設けられ、Z軸方向に移動可能なセンターテーブル250を備えている。センターテーブル250は、不図示の駆動機構によりZ軸方向に移動可能であって、基板ステージPST(Zステージ52)の上面より出没可能に設けられている。またセンターテーブル250の上面250Aには吸着孔251が設けられている。吸着孔251は基板ステージPST内部に設けられた流路252の一端部に接続されている。一方、流路252の他端部は流路切替装置253を介して第1流路254の一端部及び第2流路255の一端部のいずれか一方に接続可能となっている。第1流路254の他端部は真空系256に接続され、第2流路255の他端部は気体供給部257に接続されている。流路切替装置253は、流路252と第1流路254とを接続して真空系256と吸着孔251とを接続する流路を開けているとき、気体供給部257と吸着孔251とを接続する流路を閉じる。一方、流路切替装置253は、流路252と第2流路255とを接続して気体供給部257と吸着孔251とを接続する流路を開けているとき、真空系256と吸着孔251とを接続する流路を閉じる。<Another Embodiment of Exposure Apparatus Using Third Liquid Removal Apparatus>
FIG. 24 is a side view showing another embodiment of the exposure apparatus using the third liquid removing apparatus. In FIG. 24, the substrate stage PST is provided with a center table 250 which is provided in a substantially central portion in plan view of the substrate stage PST and is movable in the Z axis direction. The center table 250 can be moved in the Z-axis direction by a drive mechanism (not shown), and is provided so as to be able to appear and retract from the upper surface of the substrate stage PST (Z stage 52). An
制御装置CONTは、基板Pを基板ステージPSTにロードするとき、センターテーブル250を上昇し、センターテーブル250上に基板Pを載置し、真空系256を駆動して吸着孔251を介して基板Pの裏面を吸着保持する。そして、制御装置CONTは、基板Pを吸着保持した状態でセンターテーブル250を下降し、基板PをZステージ52上の基板ホルダに保持させる。基板ホルダには例えばピンチャック機構が設けられており、基板ホルダはピンチャック機構によって基板Pを吸着保持する。一方、基板ステージPSTより基板Pをアンロードするときは、制御装置CONTは、基板ホルダによる基板Pの吸着保持を解除するとともに、センターテーブル250で基板Pを吸着保持して上昇する。センターテーブル250が基板Pを吸着保持した状態で上昇することにより、基板PはZステージより離れ、アンロード可能となる。 When loading the substrate P onto the substrate stage PST, the control device CONT raises the center table 250, places the substrate P on the center table 250, drives the
本実施形態においては、センターテーブル250に設けられた吸着孔251より気体を吹き出し、その吹き出した気体を使って、光学素子2の下面2aや第1、第2光学部材151、152に付着した液体1を移動する(退かす)。すなわち、制御装置CONTは、光学素子2や第1、第2光学部材151、152に付着した液体1を除去するとき、流路切替装置253を駆動し、気体供給部257と吸着孔251とを接続する流路を開ける。そして、制御装置CONTは、基板ステージPSTをXY平面に沿って移動しつつ、吸着孔251より気体を吹き出す。気体を吹き付けられることによって、例えば光学素子2の下面2aうち露光光ELの光路上に対応する領域に付着していた液体1は移動され、やがて落下する。 In the present embodiment, gas is blown out from the suction holes 251 provided in the center table 250, and the liquid attached to the
本実施形態において、Zステージ52(基板ホルダ)上には、液体1を補集可能な液体受け部材DPが保持されている。液体受け部材DPは基板Pとほぼ同等の大きさを有しており、基板ホルダに保持可能である。光学素子2より落下した液体1は基板ホルダに保持された液体受け部材DPに保持される。液体受け部材DPの底部には液体保持部材261が設けられており、液体1は液体保持部材261によって保持される。また、液体受け部材DPは周壁部262を有しており、保持した液体1の流出を防止している。 In the present embodiment, a liquid receiving member DP capable of collecting the
図25は基板ホルダに保持されている液体受け部材DPを上方から見た図である。図25において、吸着孔251はセンターテーブル250の上面250Aにおいて複数設けられており、本実施形態においては3つ設けられている。また、液体受け部材DPには複数の吸着孔251に対応した開口部264が複数(3つ)設けられている。すなわち、吸着孔251は、基板ホルダに液体受け部材DPが保持された状態においても露出している。したがって、吸着孔251から吹き出した気体を光学素子2等に吹き付けることができる。また、センターテーブル250の上面250Aには、上面250Aの中央部から放射方向に延びる複数(3つ)の溝部258が形成されており、これら複数の溝部258は上面250Aの中央部で連続している。そして、溝部258の内側に吸着孔251が配置されている。露光処理対象である基板Pの裏面をセンターテーブル250の上面250Aで吸着保持するときは、基板Pの裏面と上面250Aとを当接した状態で真空系256を駆動し、基板Pの裏面と溝部258とで形成される空間を負圧にすることで、基板Pをセンターテーブル250で吸着保持することができる。一方、液体受け部材DPをセンターテーブル250で保持するときも、開口部264や溝部258の形状や大きさ、あるいは吸着孔251の大きさや位置などを最適に設定することで、液体受け部材DPをセンターテーブル250で保持することができる。あるいは、吸着孔251とは別の液体受け部材DPを吸着保持するための専用の吸着孔及びこれに対応する溝部をセンターテーブル250の上面250Aに設けておき(図25の符号251’及び258’参照)、この吸着孔251’を使って液体受け部材DPを上面250Aに対して吸着保持するようにしてもよい。そして、このセンターテーブル250を使って、液体受け部材DPを、露光処理対象である基板Pと同様に、基板ステージPSTに対してロード・アンロードすることができる。そして、光学素子2等の液体除去作業を行うときは、基板ステージPST上に液体受け部材DPがロードされ、液体除去作業が終了したときは、基板ステージPST上の液体受け部材DPがアンロードされる。また、液体受け部材DPを基板ホルダのピンチャック機構で吸着保持するときも、液体受け部材DPのうち開口部264以外の裏面との間において略密閉空間を形成できるように、例えばピンチャック機構において負圧化される領域を複数に分割しておき、前記開口部264に対応する領域以外の領域において選択的に負圧化を行うことで、液体受け部材DPを基板ホルダに吸着保持することができる。 FIG. 25 is a view of the liquid receiving member DP held by the substrate holder as viewed from above. In FIG. 25, a plurality of suction holes 251 are provided on the
なお、液体受け部材DPに保持された液体1は、開口部264を介して液体受け部材DPの裏面とセンターテーブル250の上面250A(ひいては基板ホルダの上面)との間に浸入する可能性があるため、その液体1の浸入を防止するためのシール部材を、例えば液体受け部材DPの裏面や開口部264近傍に設けることが好ましい。 Note that the liquid 1 held in the liquid receiving member DP may enter between the back surface of the liquid receiving member DP and the
なお、吸着孔251より吹き出した気体を光学素子2等に吹き付ける前に、例えばロード・アンロード位置B(図9参照)など投影光学系PLとは離れた位置に基板ステージPSTを移動し、その位置において吸着孔251より気体を吹き出しておくことが好ましい。吸着孔251の内部や近傍に異物(ゴミ)が存在している可能性があるが、投影光学系PLとは離れた位置において気体吹き出し動作を予め行って異物を除去した後、光学素子2等に気体を吹き付けるようにすることで、光学素子2等が汚染する不都合を防止できる。 Before the gas blown out from the
また、上述の実施形態においては、第1〜第4液体除去装置を説明したが、これらの除去装置は単独で露光装置EXに搭載されていてもよいし、これらの除去装置を適宜組み合わせて露光装置EXに搭載するようにしてもよい。 In the above-described embodiment, the first to fourth liquid removal apparatuses have been described. However, these removal apparatuses may be mounted alone in the exposure apparatus EX, or exposure is performed by appropriately combining these removal apparatuses. You may make it mount in the apparatus EX.
なお、図24に示す実施形態においても、基板ステージPST上のうち基板Pを保持する基板ホルダ以外の位置に、図8などを参照して説明した吹き出し口64Aを設け、その吹き出し口64Aより吹き出した気体を使って、光学素子2などに付着している液体1を移動することができる。 In the embodiment shown in FIG. 24 as well, the
上述したように、本実施形態における液体1は純水により構成されている。純水は、半導体製造工場等で容易に大量に入手できるとともに、基板P上のフォトレジストや光学素子(レンズ)等に対する悪影響がない利点がある。また、純水は環境に対する悪影響がないとともに、不純物の含有量が極めて低いため、基板Pの表面、及び投影光学系PLの先端面に設けられている光学素子の表面を洗浄する作用も期待できる。 As described above, the
そして、波長が193nm程度の露光光ELに対する純水(水)の屈折率nはほぼ1.44と言われており、露光光ELの光源としてArFエキシマレーザ光(波長193nm)を用いた場合、基板P上では1/n、すなわち約134nmに短波長化されて高い解像度が得られる。更に、焦点深度は空気中に比べて約n倍、すなわち約1.44倍に拡大されるため、空気中で使用する場合と同程度の焦点深度が確保できればよい場合には、投影光学系PLの開口数をより増加させることができ、この点でも解像度が向上する。 The refractive index n of pure water (water) with respect to the exposure light EL having a wavelength of about 193 nm is said to be approximately 1.44. When ArF excimer laser light (
本実施形態では、投影光学系PLの先端に光学素子2が取り付けられており、このレンズにより投影光学系PLの光学特性、例えば収差(球面収差、コマ収差等)の調整を行うことができる。なお、投影光学系PLの先端に取り付ける光学素子としては、投影光学系PLの光学特性の調整に用いる光学プレートであってもよい。あるいは露光光ELを透過可能な平行平面板であってもよい。 In the present embodiment, the
なお、液体1の流れによって生じる投影光学系PLの先端の光学素子と基板Pとの間の圧力が大きい場合には、その光学素子を交換可能とするのではなく、その圧力によって光学素子が動かないように堅固に固定してもよい。 When the pressure between the optical element at the tip of the projection optical system PL generated by the flow of the
なお、本実施形態では、投影光学系PLと基板P表面との間は液体1で満たされている構成であるが、例えば基板Pの表面に平行平面板からなるカバーガラスを取り付けた状態で液体1を満たす構成であってもよい。 In the present embodiment, the space between the projection optical system PL and the surface of the substrate P is filled with the
なお、本実施形態の液体1は水であるが、水以外の液体であってもよい、例えば、露光光ELの光源がF2レーザである場合、このF2レーザ光は水を透過しないので、液体1としてはF2レーザ光を透過可能な例えば、過フッ化ポリエーテル(PFPE)やフッ素系オイル等のフッ素系流体であってもよい。この場合、液体1と接触する部分には、例えばフッ素を含む極性の小さい分子構造の物質で薄膜を形成することで親液化処理する。また、液体1としては、その他にも、露光光ELに対する透過性があってできるだけ屈折率が高く、投影光学系PLや基板P表面に塗布されているフォトレジストに対して安定なもの(例えばセダー油)を用いることも可能である。この場合も表面処理は用いる液体1の極性に応じて行われる。Although the
なお、上述したように液浸法を用いた場合には、投影光学系の開口数NAが0.9〜1.3になることもある。このように投影光学系の開口数NAが大きくなる場合には、従来から露光光として用いられているランダム偏光光では偏光効果によって結像性能が悪化することもあるので、偏光照明を用いるのが望ましい。その場合、マスク(レチクル)のライン・アンド・スペースパターンのラインパターンの長手方向に合わせた直線偏光照明を行い、マスク(レチクル)のパターンからは、S偏光成分(TE偏光成分)、すなわちラインパターンの長手方向に沿った偏光方向成分の回折光が多く射出されるようにするとよい。投影光学系PLと基板P表面に塗布されたレジストとの間が液体で満たされている場合、投影光学系PLと基板P表面に塗布されたレジストとの間が空気(気体)で満たされている場合に比べて、コントラストの向上に寄与するS偏光成分(TE偏光成分)の回折光のレジスト表面での透過率が高くなるため、投影光学系の開口数NAが1.0を越えるような場合でも高い結像性能を得ることができる。また、位相シフトマスクや特開平6−188169号公報に開示されているようなラインパターンの長手方向に合わせた斜入射照明法(特にダイボール照明法)等を適宜組み合わせると更に効果的である。例えば、透過率6%のハーフトーン型の位相シフトマスク(ハーフピッチ45nm程度のパターン)を、直線偏光照明法とダイボール照明法とを併用して照明する場合、照明系の瞳面においてダイボールを形成する二光束の外接円で規定される照明σを0.95、その瞳面における各光束の半径を0.125σ、投影光学系PLの開口数をNA=1.2とすると、ランダム偏光光を用いるよりも、焦点深度(DOF)を150nm程度増加させることができる。 As described above, when the liquid immersion method is used, the numerical aperture NA of the projection optical system may be 0.9 to 1.3. When the numerical aperture NA of the projection optical system becomes large in this way, the imaging performance may deteriorate due to the polarization effect with random polarized light conventionally used as exposure light. desirable. In that case, linearly polarized illumination is performed in accordance with the longitudinal direction of the line pattern of the mask (reticle) line-and-space pattern. From the mask (reticle) pattern, the S-polarized light component (TE-polarized light component), that is, the line pattern It is preferable that a large amount of diffracted light having a polarization direction component is emitted along the longitudinal direction. When the space between the projection optical system PL and the resist applied on the surface of the substrate P is filled with a liquid, the space between the projection optical system PL and the resist applied on the surface of the substrate P is filled with air (gas). Compared with the case where the transmittance of the diffracted light of the S-polarized component (TE-polarized component) contributing to the improvement of the contrast is high on the resist surface, the numerical aperture NA of the projection optical system exceeds 1.0. Even in this case, high imaging performance can be obtained. Further, it is more effective to appropriately combine a phase shift mask or an oblique incidence illumination method (particularly a die ball illumination method) or the like according to the longitudinal direction of the line pattern as disclosed in JP-A-6-188169. For example, when illuminating a halftone phase shift mask with a transmittance of 6% (a pattern with a half pitch of about 45 nm) using both the linearly polarized illumination method and the dieball illumination method, a dieball is formed on the pupil plane of the illumination system. If the illumination σ defined by the circumscribed circle of the two luminous fluxes is 0.95, the radius of each luminous flux on the pupil plane is 0.125σ, and the numerical aperture of the projection optical system PL is NA = 1.2, the randomly polarized light is The depth of focus (DOF) can be increased by about 150 nm rather than using it.
また、例えばArFエキシマレーザを露光光とし、1/4程度の縮小倍率の投影光学系PLを使って、微細なライン・アンド・スペースパターン(例えば25〜50nm程度のライン・アンド・スペース)を基板P上に露光するような場合、マスクMの構造(例えばパターンの微細度やクロムの厚み)によっては、Wave guide効果によりマスクMが偏光板として作用し、コントラストを低下させるP偏光成分(TM偏光成分)の回折光よりS偏光成分(TE偏光成分)の回折光が多くマスクMから射出されるようになる。この場合、上述の直線偏光照明を用いることが望ましいが、ランダム偏光光でマスクMを照明しても、投影光学系PLの開口数NAが0.9〜1.3のように大きい場合でも高い解像性能を得ることができる。 Further, for example, an ArF excimer laser is used as the exposure light, and a fine line and space pattern (for example, a line and space of about 25 to 50 nm) is formed on the substrate by using the projection optical system PL with a reduction magnification of about 1/4. When exposing on P, depending on the structure of the mask M (for example, the fineness of the pattern and the thickness of chrome), the mask M acts as a polarizing plate due to the Wave guide effect, and the P-polarized component (TM polarized light) that lowers the contrast. More diffracted light of the S-polarized component (TE polarized component) is emitted from the mask M than the diffracted light of the component. In this case, it is desirable to use the above-mentioned linearly polarized illumination, but even if the mask M is illuminated with random polarized light, it is high even when the numerical aperture NA of the projection optical system PL is as large as 0.9 to 1.3. Resolution performance can be obtained.
また、マスクM上の極微細なライン・アンド・スペースパターンを基板P上に露光するような場合、Wire Grid効果によりP偏光成分(TM偏光成分)がS偏光成分(TE偏光成分)よりも大きくなる可能性もあるが、例えばArFエキシマレーザを露光光とし、1/4程度の縮小倍率の投影光学系PLを使って、25nmより大きいライン・アンド・スペースパターンを基板P上に露光するような場合には、S偏光成分(TE偏光成分)の回折光がP偏光成分(TM偏光成分)の回折光よりも多くマスクMから射出されるので、投影光学系PLの開口数NAが0.9〜1.3のように大きい場合でも高い解像性能を得ることができる。 When an extremely fine line-and-space pattern on the mask M is exposed on the substrate P, the P-polarized component (TM-polarized component) is larger than the S-polarized component (TE-polarized component) due to the Wire Grid effect. For example, an ArF excimer laser is used as exposure light, and a line and space pattern larger than 25 nm is exposed on the substrate P using the projection optical system PL with a reduction magnification of about 1/4. In this case, since the diffracted light of the S polarization component (TE polarization component) is emitted from the mask M more than the diffracted light of the P polarization component (TM polarization component), the numerical aperture NA of the projection optical system PL is 0.9. High resolution performance can be obtained even when the value is as large as -1.3.
更に、マスク(レチクル)のラインパターンの長手方向に合わせた直線偏光照明(S偏光照明)だけでなく、特開平6−53120号公報に開示されているように、光軸を中心とした円の接線(周)方向に直線偏光する偏光照明法と斜入射照明法との組み合わせも効果的である。特に、マスク(レチクル)のパターンが所定の一方向に延びるラインパターンだけでなく、複数の異なる方向に延びるラインパターンが混在する場合には、同じく特開平6−53120号公報に開示されているように、光軸を中心とした円の接線方向に直線偏光する偏光照明法と輪帯照明法とを併用することによって、投影光学系の開口数NAが大きい場合でも高い結像性能を得ることができる。例えば、透過率6%のハーフトーン型の位相シフトマスク(ハーフピッチ63nm程度のパターン)を、光軸を中心とした円の接線方向に直線偏光する偏光照明法と輪帯照明法(輪帯比3/4)とを併用して照明する場合、照明σを0.95、投影光学系PLの開口数をNA=1.00とすると、ランダム偏光光を用いるよりも、焦点深度(DOF)を250nm程度増加させることができ、ハーフピッチ55nm程度のパターンで投影光学系の開口数NA=1.2では、焦点深度を100nm程度増加させることができる。 Furthermore, not only linearly polarized illumination (S-polarized illumination) matched to the longitudinal direction of the line pattern of the mask (reticle) but also a circle centered on the optical axis as disclosed in JP-A-6-53120. A combination of the polarization illumination method that linearly polarizes in the tangential (circumferential) direction and the oblique incidence illumination method is also effective. In particular, when a mask (reticle) pattern includes not only a line pattern extending in a predetermined direction but also a plurality of line patterns extending in different directions, the same is disclosed in Japanese Patent Laid-Open No. 6-53120. In addition, by using the polarization illumination method that linearly polarizes in the tangential direction of the circle centered on the optical axis and the annular illumination method, high imaging performance can be obtained even when the numerical aperture NA of the projection optical system is large. it can. For example, a polarized illumination method and an annular illumination method (annular ratio) in which a half-tone phase shift mask having a transmittance of 6% (a pattern having a half pitch of about 63 nm) is linearly polarized in a tangential direction of a circle around the optical axis. 3/4), when the illumination σ is 0.95 and the numerical aperture of the projection optical system PL is NA = 1.00, the depth of focus (DOF) is more than that of using randomly polarized light. If the projection optical system has a numerical aperture NA = 1.2 with a pattern with a half pitch of about 55 nm, the depth of focus can be increased by about 100 nm.
なお、上記各実施形態の基板Pとしては、半導体デバイス製造用の半導体ウエハのみならず、ディスプレイデバイス用のガラス基板や、薄膜磁気ヘッド用のセラミックウエハ、あるいは露光装置で用いられるマスクまたはレチクルの原版(合成石英、シリコンウエハ)等が適用される。 The substrate P in each of the above embodiments is not only a semiconductor wafer for manufacturing a semiconductor device, but also a glass substrate for a display device, a ceramic wafer for a thin film magnetic head, or an original mask or reticle used in an exposure apparatus. (Synthetic quartz, silicon wafer) or the like is applied.
露光装置EXとしては、マスクMと基板Pとを同期移動してマスクMのパターンを走査露光するステップ・アンド・スキャン方式の走査型露光装置(スキャニングステッパ)の他に、マスクMと基板Pとを静止した状態でマスクMのパターンを一括露光し、基板Pを順次ステップ移動させるステップ・アンド・リピート方式の投影露光装置(ステッパ)にも適用することができる。また、本発明は基板P上で少なくとも2つのパターンを部分的に重ねて転写するステップ・アンド・スティッチ方式の露光装置にも適用できる。 As the exposure apparatus EX, in addition to the step-and-scan type scanning exposure apparatus (scanning stepper) that scans and exposes the pattern of the mask M by moving the mask M and the substrate P synchronously, the mask M and the substrate P Can be applied to a step-and-repeat type projection exposure apparatus (stepper) in which the pattern of the mask M is collectively exposed while the substrate P is stationary and the substrate P is sequentially moved stepwise. The present invention can also be applied to a step-and-stitch type exposure apparatus that partially transfers at least two patterns on the substrate P.
また、本発明は、特開平10−163099号公報、特開平10−214783号公報、特表2000−505958号公報などに開示されているツインステージ型の露光装置にも適用できる。 The present invention can also be applied to a twin stage type exposure apparatus disclosed in Japanese Patent Application Laid-Open No. 10-163099, Japanese Patent Application Laid-Open No. 10-214783, and Japanese Translation of PCT International Publication No. 2000-505958.
また、上述の実施形態においては、投影光学系PLと基板Pとの間に局所的に液体を満たす露光装置を採用しているが、本発明は、特開平6−124873号公報に開示されているような露光対象の基板を保持したステージを液槽の中で移動させる液浸露光装置にも適用可能である。 In the above-described embodiment, an exposure apparatus that locally fills the liquid between the projection optical system PL and the substrate P is employed. However, the present invention is disclosed in Japanese Patent Laid-Open No. 6-124873. It is also applicable to an immersion exposure apparatus that moves a stage holding a substrate to be exposed in a liquid tank.
露光装置EXの種類としては、基板Pに半導体素子パターンを露光する半導体素子製造用の露光装置に限られず、液晶表示素子製造用又はディスプレイ製造用の露光装置や、薄膜磁気ヘッド、撮像素子(CCD)あるいはレチクル又はマスクなどを製造するための露光装置などにも広く適用できる。 The type of the exposure apparatus EX is not limited to an exposure apparatus for manufacturing a semiconductor element that exposes a semiconductor element pattern on the substrate P, but an exposure apparatus for manufacturing a liquid crystal display element or a display, a thin film magnetic head, an image sensor (CCD). ) Or an exposure apparatus for manufacturing reticles or masks.
基板ステージPSTやマスクステージMSTにリニアモータ(USP5,623,853またはUSP5,528,118参照)を用いる場合は、エアベアリングを用いたエア浮上型およびローレンツ力またはリアクタンス力を用いた磁気浮上型のどちらを用いてもよい。また、各ステージPST、MSTは、ガイドに沿って移動するタイプでもよく、ガイドを設けないガイドレスタイプであってもよい。 When using a linear motor (see USP5,623,853 or USP5,528,118) for the substrate stage PST and mask stage MST, use either an air levitation type using air bearings or a magnetic levitation type using Lorentz force or reactance force. Also good. Each stage PST, MST may be a type that moves along a guide, or may be a guideless type that does not have a guide.
各ステージPST、MSTの駆動機構としては、二次元に磁石を配置した磁石ユニットと、二次元にコイルを配置した電機子ユニットとを対向させ電磁力により各ステージPST、MSTを駆動する平面モータを用いてもよい。この場合、磁石ユニットと電機子ユニットとのいずれか一方をステージPST、MSTに接続し、磁石ユニットと電機子ユニットとの他方をステージPST、MSTの移動面側に設ければよい。 As a driving mechanism for each stage PST, MST, a planar motor that drives each stage PST, MST by electromagnetic force with a magnet unit having a two-dimensionally arranged magnet and an armature unit having a two-dimensionally arranged coil facing each other is provided. It may be used. In this case, either one of the magnet unit and the armature unit may be connected to the stages PST and MST, and the other of the magnet unit and the armature unit may be provided on the moving surface side of the stages PST and MST.
基板ステージPSTの移動により発生する反力は、投影光学系PLに伝わらないように、特開平8−166475号公報(USP5,528,118)に記載されているように、フレーム部材を用いて機械的に床(大地)に逃がしてもよい。
マスクステージMSTの移動により発生する反力は、投影光学系PLに伝わらないように、特開平8−330224号公報(US S/N 08/416,558)に記載されているように、フレーム部材を用いて機械的に床(大地)に逃がしてもよい。As described in JP-A-8-166475 (USP 5,528,118), the reaction force generated by the movement of the substrate stage PST is not transmitted to the projection optical system PL, but mechanically using a frame member. You may escape to the floor (ground).
As described in JP-A-8-330224 (US S / N 08 / 416,558), a frame member is used so that the reaction force generated by the movement of the mask stage MST is not transmitted to the projection optical system PL. May be mechanically released to the floor (ground).
以上のように、本願実施形態の露光装置EXは、本願特許請求の範囲に挙げられた各構成要素を含む各種サブシステムを、所定の機械的精度、電気的精度、光学的精度を保つように、組み立てることで製造される。これら各種精度を確保するために、この組み立ての前後には、各種光学系については光学的精度を達成するための調整、各種機械系については機械的精度を達成するための調整、各種電気系については電気的精度を達成するための調整が行われる。各種サブシステムから露光装置への組み立て工程は、各種サブシステム相互の、機械的接続、電気回路の配線接続、気圧回路の配管接続等が含まれる。この各種サブシステムから露光装置への組み立て工程の前に、各サブシステム個々の組み立て工程があることはいうまでもない。各種サブシステムの露光装置への組み立て工程が終了したら、総合調整が行われ、露光装置全体としての各種精度が確保される。なお、露光装置の製造は温度およびクリーン度等が管理されたクリーンルームで行うことが望ましい。 As described above, the exposure apparatus EX according to the present embodiment maintains various mechanical subsystems including the respective constituent elements recited in the claims of the present application so as to maintain predetermined mechanical accuracy, electrical accuracy, and optical accuracy. Manufactured by assembling. In order to ensure these various accuracies, before and after assembly, various optical systems are adjusted to achieve optical accuracy, various mechanical systems are adjusted to achieve mechanical accuracy, and various electrical systems are Adjustments are made to achieve electrical accuracy. The assembly process from the various subsystems to the exposure apparatus includes mechanical connection, electrical circuit wiring connection, pneumatic circuit piping connection and the like between the various subsystems. Needless to say, there is an assembly process for each subsystem before the assembly process from the various subsystems to the exposure apparatus. When the assembly process of the various subsystems to the exposure apparatus is completed, comprehensive adjustment is performed to ensure various accuracies as the entire exposure apparatus. The exposure apparatus is preferably manufactured in a clean room where the temperature, cleanliness, etc. are controlled.
半導体デバイス等のマイクロデバイスは、図27に示すように、マイクロデバイスの機能・性能設計を行うステップ201、この設計ステップに基づいたマスク(レチクル)を製作するステップ202、デバイスの基材である基板を製造するステップ203、前述した実施形態の露光装置EXによりマスクのパターンを基板に露光する露光処理ステップ204、デバイス組み立てステップ(ダイシング工程、ボンディング工程、パッケージ工程を含む)205、検査ステップ206等を経て製造される。 As shown in FIG. 27, a microdevice such as a semiconductor device includes a
1…液体、2…光学素子(部品)、7…基準部材、10…液体供給機構、13、14…供給ノズル(部品)、20…第2液体回収装置、30…液体回収機構(第1液体回収装置)、31、32…回収ノズル(部品)、40…第1液体除去装置、41…吹き付け装置、60…第2液体除去装置、61…吹き付け装置、62…吸引装置、65…回収口、81…吸引装置、AR1…投影領域、AR2…液浸領域、EX…露光装置、P…基板、PL…投影光学系、PST…基板ステージ
DESCRIPTION OF
| Application Number | Priority Date | Filing Date | Title |
|---|---|---|---|
| JP2004151714AJP2005277363A (en) | 2003-05-23 | 2004-05-21 | Exposure apparatus and device manufacturing method |
| Application Number | Priority Date | Filing Date | Title |
|---|---|---|---|
| JP2003146423 | 2003-05-23 | ||
| JP2003305280 | 2003-08-28 | ||
| JP2004049231 | 2004-02-25 | ||
| JP2004151714AJP2005277363A (en) | 2003-05-23 | 2004-05-21 | Exposure apparatus and device manufacturing method |
| Application Number | Title | Priority Date | Filing Date |
|---|---|---|---|
| JP2006274330ADivisionJP5058550B2 (en) | 2003-05-23 | 2006-10-05 | Exposure apparatus, exposure method, device manufacturing method, and liquid recovery method |
| JP2010026918ADivisionJP5440228B2 (en) | 2003-05-23 | 2010-02-09 | Exposure apparatus, device manufacturing method, and liquid recovery method |
| Publication Number | Publication Date |
|---|---|
| JP2005277363Atrue JP2005277363A (en) | 2005-10-06 |
| Application Number | Title | Priority Date | Filing Date |
|---|---|---|---|
| JP2004151714APendingJP2005277363A (en) | 2003-05-23 | 2004-05-21 | Exposure apparatus and device manufacturing method |
| Country | Link |
|---|---|
| JP (1) | JP2005277363A (en) |
| Publication number | Priority date | Publication date | Assignee | Title |
|---|---|---|---|---|
| JP2005019864A (en)* | 2003-06-27 | 2005-01-20 | Canon Inc | Exposure apparatus and exposure method |
| JP2005303316A (en)* | 2004-04-14 | 2005-10-27 | Asml Netherlands Bv | Lithographic equipment and method of manufacturing device |
| JP2006032750A (en)* | 2004-07-20 | 2006-02-02 | Canon Inc | Immersion projection exposure apparatus and device manufacturing method |
| WO2006019124A1 (en)* | 2004-08-18 | 2006-02-23 | Nikon Corporation | Exposure apparatus and device manufacturing method |
| WO2006027900A1 (en)* | 2004-09-10 | 2006-03-16 | Tokyo Electron Limited | Coating and developing apparatus, resist pattern forming method, exposure apparatus and cleaning apparatus |
| JP2006074061A (en)* | 2005-10-04 | 2006-03-16 | Canon Inc | Exposure apparatus and exposure method |
| JP2006073951A (en)* | 2004-09-06 | 2006-03-16 | Toshiba Corp | Immersion optical device and cleaning method |
| JP2006080543A (en)* | 2005-10-04 | 2006-03-23 | Canon Inc | Exposure apparatus and exposure method |
| JP2006093721A (en)* | 2005-10-04 | 2006-04-06 | Canon Inc | Exposure apparatus and exposure method |
| WO2006041091A1 (en)* | 2004-10-12 | 2006-04-20 | Nikon Corporation | Exposure apparatus maintenance method, exposure apparatus, device manufacturing method and liquid recovering member for immersion exposure apparatus maintenance |
| JP2007502539A (en)* | 2003-08-11 | 2007-02-08 | アドバンスト・マイクロ・ディバイシズ・インコーポレイテッド | Method and apparatus for monitoring and controlling immersion lithography system |
| JP2007133077A (en)* | 2005-11-09 | 2007-05-31 | Nikon Corp | Immersion objective lens barrel and immersion microscope |
| JP2007515798A (en)* | 2003-12-23 | 2007-06-14 | エーエスエムエル ネザーランズ ビー.ブイ. | Lithographic apparatus and device manufacturing method |
| JP2007158326A (en)* | 2005-12-02 | 2007-06-21 | Asml Netherlands Bv | Method for preventing or reducing contamination of immersion-type projection apparatus, and immersion-type lithographic apparatus |
| JP2007179056A (en)* | 2005-12-27 | 2007-07-12 | Interuniv Micro Electronica Centrum Vzw | Attenuating type phase shift mask manufacturing method and device obtained thereby |
| JP2007235179A (en)* | 2003-06-09 | 2007-09-13 | Asml Netherlands Bv | Lithography apparatus and device manufacturing method |
| JP2007286162A (en)* | 2006-04-13 | 2007-11-01 | Nikon Corp | Immersion microscope equipment |
| WO2007136089A1 (en)* | 2006-05-23 | 2007-11-29 | Nikon Corporation | Maintenance method, exposure method and apparatus, and device manufacturing method |
| WO2007135990A1 (en)* | 2006-05-18 | 2007-11-29 | Nikon Corporation | Exposure method and apparatus, maintenance method and device manufacturing method |
| WO2007139017A1 (en)* | 2006-05-29 | 2007-12-06 | Nikon Corporation | Liquid recovery member, substrate holding member, exposure apparatus and device manufacturing method |
| WO2008001871A1 (en)* | 2006-06-30 | 2008-01-03 | Nikon Corporation | Maintenance method, exposure method and apparatus and device manufacturing method |
| JP2008227555A (en)* | 2004-06-09 | 2008-09-25 | Nikon Corp | Exposure apparatus, maintenance method, and device manufacturing method |
| JP2008235872A (en)* | 2007-02-15 | 2008-10-02 | Asml Holding Nv | System and method for insitu lens cleaning in immersion lithography |
| JP2009016838A (en)* | 2007-07-09 | 2009-01-22 | Asml Netherlands Bv | Substrate and method to use substrate |
| JP2009016421A (en)* | 2007-07-02 | 2009-01-22 | Nikon Corp | Exposure apparatus, device manufacturing method, and cleaning method |
| JP2009164623A (en)* | 2004-05-18 | 2009-07-23 | Asml Netherlands Bv | Lithographic apparatus and device manufacturing method |
| JP2009290222A (en)* | 2003-08-21 | 2009-12-10 | Nikon Corp | Exposure apparatus, exposure method and device manufacturing method |
| WO2010018825A1 (en)* | 2008-08-11 | 2010-02-18 | 株式会社ニコン | Light exposure device, maintenance method, and device manufacturing method |
| JP2010135787A (en)* | 2008-12-08 | 2010-06-17 | Asml Netherlands Bv | Lithographic apparatus |
| JP2010141363A (en)* | 2004-06-16 | 2010-06-24 | Asml Netherlands Bv | Vacuum system for immersion photolithography |
| JP2010141357A (en)* | 2003-06-27 | 2010-06-24 | Asml Netherlands Bv | Lithography projection apparatus |
| WO2011001740A1 (en)* | 2009-07-01 | 2011-01-06 | 株式会社 ニコン | Polishing device, polishing method, exposure device, and device producing method |
| JP2011119725A (en)* | 2009-12-02 | 2011-06-16 | Asml Netherlands Bv | Lithographic apparatus, and device manufacturing method |
| JP2011129913A (en)* | 2009-12-18 | 2011-06-30 | Asml Netherlands Bv | Lithographic apparatus and device manufacturing method |
| JP2011139106A (en)* | 2003-05-23 | 2011-07-14 | Nikon Corp | Exposure apparatus and device manufacturing method |
| JP2011216904A (en)* | 2003-11-14 | 2011-10-27 | Asml Netherlands Bv | Lithographic apparatus |
| JP2012134527A (en)* | 2007-09-27 | 2012-07-12 | Asml Netherlands Bv | Lithography apparatus and method of cleaning lithography apparatus |
| JP4998854B2 (en)* | 2006-02-03 | 2012-08-15 | 株式会社ニコン | Substrate processing method, substrate processing system, program, and recording medium |
| US8344341B2 (en) | 2002-11-12 | 2013-01-01 | Asml Netherlands B.V. | Lithographic apparatus and device manufacturing method |
| US8446568B2 (en) | 2002-11-12 | 2013-05-21 | Asml Netherlands B.V. | Lithographic apparatus and device manufacturing method |
| US8472002B2 (en) | 2002-11-12 | 2013-06-25 | Asml Netherlands B.V. | Lithographic apparatus and device manufacturing method |
| JP2013232673A (en)* | 2006-05-18 | 2013-11-14 | Asml Netherlands Bv | Lithographic apparatus and device manufacturing method |
| US8767171B2 (en) | 2003-12-23 | 2014-07-01 | Asml Netherlands B.V. | Lithographic apparatus and device manufacturing method |
| US8817226B2 (en)* | 2007-02-15 | 2014-08-26 | Asml Holding N.V. | Systems and methods for insitu lens cleaning using ozone in immersion lithography |
| US8934082B2 (en) | 2004-10-18 | 2015-01-13 | Asml Netherlands B.V. | Lithographic apparatus and device manufacturing method |
| US8941810B2 (en) | 2005-12-30 | 2015-01-27 | Asml Netherlands B.V. | Lithographic apparatus and device manufacturing method |
| US9091940B2 (en) | 2002-11-12 | 2015-07-28 | Asml Netherlands B.V. | Lithographic apparatus and method involving a fluid inlet and a fluid outlet |
| US9482966B2 (en) | 2002-11-12 | 2016-11-01 | Asml Netherlands B.V. | Lithographic apparatus and device manufacturing method |
| US9958786B2 (en) | 2003-04-11 | 2018-05-01 | Nikon Corporation | Cleanup method for optics in immersion lithography using object on wafer holder in place of wafer |
| US10503084B2 (en) | 2002-11-12 | 2019-12-10 | Asml Netherlands B.V. | Lithographic apparatus and device manufacturing method |
| JP2020529618A (en)* | 2017-09-07 | 2020-10-08 | ホイフト ジュステームテヒニク ゲゼルシャフト ミット ベシュレンクテル ハフツング | Inspection device with light watermark |
| JP2022048443A (en)* | 2020-09-15 | 2022-03-28 | キオクシア株式会社 | Position measuring device and measuring method |
| WO2024098243A1 (en)* | 2022-11-08 | 2024-05-16 | 深圳华大智造科技股份有限公司 | Liquid feeding and discharging device and method, immersion objective system, gene sequencer, and biochemical detection method |
| Publication number | Priority date | Publication date | Assignee | Title |
|---|---|---|---|---|
| JPH06124873A (en)* | 1992-10-09 | 1994-05-06 | Canon Inc | Immersion projection exposure system |
| JPH10303114A (en)* | 1997-04-23 | 1998-11-13 | Nikon Corp | Immersion type exposure equipment |
| WO1999049504A1 (en)* | 1998-03-26 | 1999-09-30 | Nikon Corporation | Projection exposure method and system |
| JPH11283903A (en)* | 1998-03-30 | 1999-10-15 | Nikon Corp | Projection optical system inspection apparatus and projection exposure apparatus having the same |
| Publication number | Priority date | Publication date | Assignee | Title |
|---|---|---|---|---|
| JPH06124873A (en)* | 1992-10-09 | 1994-05-06 | Canon Inc | Immersion projection exposure system |
| JPH10303114A (en)* | 1997-04-23 | 1998-11-13 | Nikon Corp | Immersion type exposure equipment |
| WO1999049504A1 (en)* | 1998-03-26 | 1999-09-30 | Nikon Corporation | Projection exposure method and system |
| JPH11283903A (en)* | 1998-03-30 | 1999-10-15 | Nikon Corp | Projection optical system inspection apparatus and projection exposure apparatus having the same |
| Publication number | Priority date | Publication date | Assignee | Title |
|---|---|---|---|---|
| US9097987B2 (en) | 2002-11-12 | 2015-08-04 | Asml Netherlands B.V. | Lithographic apparatus and device manufacturing method |
| US9195153B2 (en) | 2002-11-12 | 2015-11-24 | Asml Netherlands B.V. | Lithographic apparatus and device manufacturing method |
| US10788755B2 (en) | 2002-11-12 | 2020-09-29 | Asml Netherlands B.V. | Lithographic apparatus and device manufacturing method |
| US8344341B2 (en) | 2002-11-12 | 2013-01-01 | Asml Netherlands B.V. | Lithographic apparatus and device manufacturing method |
| US9482966B2 (en) | 2002-11-12 | 2016-11-01 | Asml Netherlands B.V. | Lithographic apparatus and device manufacturing method |
| US10620545B2 (en) | 2002-11-12 | 2020-04-14 | Asml Netherlands B.V. | Lithographic apparatus and device manufacturing method |
| US8472002B2 (en) | 2002-11-12 | 2013-06-25 | Asml Netherlands B.V. | Lithographic apparatus and device manufacturing method |
| US10503084B2 (en) | 2002-11-12 | 2019-12-10 | Asml Netherlands B.V. | Lithographic apparatus and device manufacturing method |
| US9366972B2 (en) | 2002-11-12 | 2016-06-14 | Asml Netherlands B.V. | Lithographic apparatus and device manufacturing method |
| US10261428B2 (en) | 2002-11-12 | 2019-04-16 | Asml Netherlands B.V. | Lithographic apparatus and device manufacturing method |
| US10222706B2 (en) | 2002-11-12 | 2019-03-05 | Asml Netherlands B.V. | Lithographic apparatus and device manufacturing method |
| US8558989B2 (en) | 2002-11-12 | 2013-10-15 | Asml Netherlands B.V. | Lithographic apparatus and device manufacturing method |
| US10962891B2 (en) | 2002-11-12 | 2021-03-30 | Asml Netherlands B.V. | Lithographic apparatus and device manufacturing method |
| US9740107B2 (en) | 2002-11-12 | 2017-08-22 | Asml Netherlands B.V. | Lithographic apparatus and device manufacturing method |
| US8446568B2 (en) | 2002-11-12 | 2013-05-21 | Asml Netherlands B.V. | Lithographic apparatus and device manufacturing method |
| US10191389B2 (en) | 2002-11-12 | 2019-01-29 | Asml Netherlands B.V. | Lithographic apparatus and device manufacturing method |
| US9360765B2 (en) | 2002-11-12 | 2016-06-07 | Asml Netherlands B.V. | Lithographic apparatus and device manufacturing method |
| US9057967B2 (en) | 2002-11-12 | 2015-06-16 | Asml Netherlands B.V. | Lithographic apparatus and device manufacturing method |
| US9885965B2 (en) | 2002-11-12 | 2018-02-06 | Asml Netherlands B.V. | Lithographic apparatus and device manufacturing method |
| US9091940B2 (en) | 2002-11-12 | 2015-07-28 | Asml Netherlands B.V. | Lithographic apparatus and method involving a fluid inlet and a fluid outlet |
| US9588442B2 (en) | 2002-11-12 | 2017-03-07 | Asml Netherlands B.V. | Lithographic apparatus and device manufacturing method |
| US9958786B2 (en) | 2003-04-11 | 2018-05-01 | Nikon Corporation | Cleanup method for optics in immersion lithography using object on wafer holder in place of wafer |
| US9939739B2 (en) | 2003-05-23 | 2018-04-10 | Nikon Corporation | Exposure apparatus and method for producing device |
| JP2011139107A (en)* | 2003-05-23 | 2011-07-14 | Nikon Corp | Exposure apparatus and device manufacturing method |
| JP2015029154A (en)* | 2003-05-23 | 2015-02-12 | 株式会社ニコン | Exposure equipment and device manufacturing method |
| JP2011139105A (en)* | 2003-05-23 | 2011-07-14 | Nikon Corp | Exposure apparatus and device manufacturing method |
| JP2011159995A (en)* | 2003-05-23 | 2011-08-18 | Nikon Corp | Exposure device and device manufacturing method |
| JP2011139106A (en)* | 2003-05-23 | 2011-07-14 | Nikon Corp | Exposure apparatus and device manufacturing method |
| US9541843B2 (en) | 2003-06-09 | 2017-01-10 | Asml Netherlands B.V. | Lithographic apparatus and device manufacturing method involving a sensor detecting a radiation beam through liquid |
| US8482845B2 (en) | 2003-06-09 | 2013-07-09 | Asml Netherlands B.V. | Lithographic apparatus and device manufacturing method |
| JP2010161421A (en)* | 2003-06-09 | 2010-07-22 | Asml Netherlands Bv | Lithography apparatus and method for manufacturing device |
| US10678139B2 (en) | 2003-06-09 | 2020-06-09 | Asml Netherlands B.V. | Lithographic apparatus and device manufacturing method |
| US9152058B2 (en) | 2003-06-09 | 2015-10-06 | Asml Netherlands B.V. | Lithographic apparatus and device manufacturing method involving a member and a fluid opening |
| JP2012114484A (en)* | 2003-06-09 | 2012-06-14 | Asml Netherlands Bv | Lithographic device and device manufacturing method |
| US9081299B2 (en) | 2003-06-09 | 2015-07-14 | Asml Netherlands B.V. | Lithographic apparatus and device manufacturing method involving removal of liquid entering a gap |
| JP2007235179A (en)* | 2003-06-09 | 2007-09-13 | Asml Netherlands Bv | Lithography apparatus and device manufacturing method |
| US10180629B2 (en) | 2003-06-09 | 2019-01-15 | Asml Netherlands B.V. | Lithographic apparatus and device manufacturing method |
| US7372542B2 (en) | 2003-06-27 | 2008-05-13 | Canon Kabushiki Kaisha | Immersion exposure technique |
| JP2010141357A (en)* | 2003-06-27 | 2010-06-24 | Asml Netherlands Bv | Lithography projection apparatus |
| JP2005019864A (en)* | 2003-06-27 | 2005-01-20 | Canon Inc | Exposure apparatus and exposure method |
| US7561248B2 (en) | 2003-06-27 | 2009-07-14 | Canon Kabushiki Kaisha | Immersion exposure technique |
| US7349064B2 (en) | 2003-06-27 | 2008-03-25 | Canon Kabushiki Kaisha | Immersion exposure technique |
| US7619714B2 (en) | 2003-06-27 | 2009-11-17 | Canon Kabushiki Kaisha | Immersion exposure technique |
| US7466393B2 (en) | 2003-06-27 | 2008-12-16 | Canon Kabushiki Kaisha | Immersion exposure technique |
| US7450216B2 (en) | 2003-06-27 | 2008-11-11 | Canon Kabushiki Kaisha | Immersion exposure technique |
| US7679718B2 (en) | 2003-06-27 | 2010-03-16 | Canon Kabushiki Kaisha | Immersion exposure technique |
| US7420651B2 (en) | 2003-06-27 | 2008-09-02 | Canon Kabushiki Kaisha | Immersion exposure technique |
| JP2007502539A (en)* | 2003-08-11 | 2007-02-08 | アドバンスト・マイクロ・ディバイシズ・インコーポレイテッド | Method and apparatus for monitoring and controlling immersion lithography system |
| JP2009290222A (en)* | 2003-08-21 | 2009-12-10 | Nikon Corp | Exposure apparatus, exposure method and device manufacturing method |
| JP2018049295A (en)* | 2003-08-21 | 2018-03-29 | 株式会社ニコン | Exposure apparatus, and method of manufacturing device |
| US10209622B2 (en) | 2003-08-21 | 2019-02-19 | Nikon Corporation | Exposure method and device manufacturing method having lower scanning speed to expose peripheral shot area |
| US8064037B2 (en) | 2003-08-21 | 2011-11-22 | Nikon Corporation | Immersion exposure apparatus and device manufacturing method with no liquid recovery during exposure |
| US10203608B2 (en) | 2003-08-21 | 2019-02-12 | Nikon Corporation | Exposure apparatus and device manufacturing method having lower scanning speed to expose peripheral shot area |
| JP2017068277A (en)* | 2003-08-21 | 2017-04-06 | 株式会社ニコン | Exposure apparatus, device manufacturing method, and exposure method |
| US9134623B2 (en) | 2003-11-14 | 2015-09-15 | Asml Netherlands B.V. | Lithographic apparatus and device manufacturing method |
| US9134622B2 (en) | 2003-11-14 | 2015-09-15 | Asml Netherlands B.V. | Lithographic apparatus and device manufacturing method |
| US9952515B2 (en) | 2003-11-14 | 2018-04-24 | Asml Netherlands B.V. | Lithographic apparatus and device manufacturing method |
| JP2011216904A (en)* | 2003-11-14 | 2011-10-27 | Asml Netherlands Bv | Lithographic apparatus |
| US10345712B2 (en) | 2003-11-14 | 2019-07-09 | Asml Netherlands B.V. | Lithographic apparatus and device manufacturing method |
| US7710541B2 (en) | 2003-12-23 | 2010-05-04 | Asml Netherlands B.V. | Lithographic apparatus and device manufacturing method |
| JP2007515798A (en)* | 2003-12-23 | 2007-06-14 | エーエスエムエル ネザーランズ ビー.ブイ. | Lithographic apparatus and device manufacturing method |
| US8767171B2 (en) | 2003-12-23 | 2014-07-01 | Asml Netherlands B.V. | Lithographic apparatus and device manufacturing method |
| US9817321B2 (en) | 2003-12-23 | 2017-11-14 | Asml Netherlands B.V. | Lithographic apparatus and device manufacturing method |
| US10613447B2 (en) | 2003-12-23 | 2020-04-07 | Asml Netherlands B.V. | Lithographic apparatus and device manufacturing method |
| US9465301B2 (en) | 2003-12-23 | 2016-10-11 | Asml Netherlands B.V. | Lithographic apparatus and device manufacturing method |
| US9684250B2 (en) | 2003-12-23 | 2017-06-20 | Asml Netherlands B.V. | Lithographic apparatus and device manufacturing method |
| US7394521B2 (en) | 2003-12-23 | 2008-07-01 | Asml Netherlands B.V. | Lithographic apparatus and device manufacturing method |
| US10768538B2 (en) | 2003-12-23 | 2020-09-08 | Asml Netherlands B.V. | Lithographic apparatus and device manufacturing method |
| JP2009060127A (en)* | 2004-04-14 | 2009-03-19 | Asml Netherlands Bv | Lithographic apparatus and device manufacturing method |
| US9207543B2 (en) | 2004-04-14 | 2015-12-08 | Asml Netherlands B.V. | Lithographic apparatus and device manufacturing method involving a groove to collect liquid |
| JP2005303316A (en)* | 2004-04-14 | 2005-10-27 | Asml Netherlands Bv | Lithographic equipment and method of manufacturing device |
| US9829799B2 (en) | 2004-04-14 | 2017-11-28 | Asml Netherlands B.V. | Lithographic apparatus and device manufacturing method |
| US9989861B2 (en) | 2004-04-14 | 2018-06-05 | Asml Netherlands B.V. | Lithographic apparatus and device manufacturing method |
| US8755033B2 (en) | 2004-04-14 | 2014-06-17 | Asml Netherlands B.V. | Lithographic apparatus and device manufacturing method involving a barrier to collect liquid |
| US10705432B2 (en) | 2004-04-14 | 2020-07-07 | Asml Netherlands B.V. | Lithographic apparatus and device manufacturing method |
| US9568840B2 (en) | 2004-04-14 | 2017-02-14 | Asml Netherlands B.V. | Lithographic apparatus and device manufacturing method |
| JP2011249854A (en)* | 2004-04-14 | 2011-12-08 | Asml Netherlands Bv | Lithographic device and method for manufacturing device |
| US8704998B2 (en) | 2004-04-14 | 2014-04-22 | Asml Netherlands B.V. | Lithographic apparatus and device manufacturing method involving a barrier to collect liquid |
| US10234768B2 (en) | 2004-04-14 | 2019-03-19 | Asml Netherlands B.V. | Lithographic apparatus and device manufacturing method |
| US7898642B2 (en) | 2004-04-14 | 2011-03-01 | Asml Netherlands B.V. | Lithographic apparatus and device manufacturing method |
| JP2009033201A (en)* | 2004-04-14 | 2009-02-12 | Asml Netherlands Bv | Lithographic apparatus, and device manufacturing method |
| JP2009044186A (en)* | 2004-04-14 | 2009-02-26 | Asml Netherlands Bv | Lithographic apparatus and device manufacturing method |
| US8638415B2 (en) | 2004-05-18 | 2014-01-28 | Asml Netherlands B.V. | Active drying station and method to remove immersion liquid using gas flow supply with gas outlet between two gas inlets |
| JP2009164623A (en)* | 2004-05-18 | 2009-07-23 | Asml Netherlands Bv | Lithographic apparatus and device manufacturing method |
| JP2010239146A (en)* | 2004-05-18 | 2010-10-21 | Asml Netherlands Bv | Lithography device |
| US9623436B2 (en) | 2004-05-18 | 2017-04-18 | Asml Netherlands B.V. | Active drying station and method to remove immersion liquid using gas flow supply with gas outlet between two gas inlets |
| US10761438B2 (en) | 2004-05-18 | 2020-09-01 | Asml Netherlands B.V. | Active drying station and method to remove immersion liquid using gas flow supply with gas outlet between two gas inlets |
| US9645505B2 (en) | 2004-06-09 | 2017-05-09 | Nikon Corporation | Immersion exposure apparatus and device manufacturing method with measuring device to measure specific resistance of liquid |
| JP2008227555A (en)* | 2004-06-09 | 2008-09-25 | Nikon Corp | Exposure apparatus, maintenance method, and device manufacturing method |
| JP2011176352A (en)* | 2004-06-16 | 2011-09-08 | Asml Netherlands Bv | Vacuum system for immersion photolithography |
| JP2010141363A (en)* | 2004-06-16 | 2010-06-24 | Asml Netherlands Bv | Vacuum system for immersion photolithography |
| US10168624B2 (en) | 2004-06-16 | 2019-01-01 | Asml Netherlands B.V. | Vacuum system for immersion photolithography |
| US8830440B2 (en) | 2004-06-16 | 2014-09-09 | Asml Netherlands B.V. | Vacuum system for immersion photolithography |
| US9507270B2 (en) | 2004-06-16 | 2016-11-29 | Asml Netherlands B.V. | Vacuum system for immersion photolithography |
| US9857699B2 (en) | 2004-06-16 | 2018-01-02 | Asml Netherlands B.V. | Vacuum system for immersion photolithography |
| JP2006032750A (en)* | 2004-07-20 | 2006-02-02 | Canon Inc | Immersion projection exposure apparatus and device manufacturing method |
| WO2006019124A1 (en)* | 2004-08-18 | 2006-02-23 | Nikon Corporation | Exposure apparatus and device manufacturing method |
| JPWO2006019124A1 (en)* | 2004-08-18 | 2008-05-08 | 株式会社ニコン | Exposure apparatus and device manufacturing method |
| JP2006073951A (en)* | 2004-09-06 | 2006-03-16 | Toshiba Corp | Immersion optical device and cleaning method |
| US8174669B2 (en) | 2004-09-06 | 2012-05-08 | Kabushiki Kaisha Toshiba | Liquid immersion optical tool, method for cleaning liquid immersion optical tool, liquid immersion exposure method and method for manufacturing semiconductor device |
| JP2006080403A (en)* | 2004-09-10 | 2006-03-23 | Tokyo Electron Ltd | Application/developing device, resist pattern forming method, exposure device and cleaning device |
| WO2006027900A1 (en)* | 2004-09-10 | 2006-03-16 | Tokyo Electron Limited | Coating and developing apparatus, resist pattern forming method, exposure apparatus and cleaning apparatus |
| JPWO2006041091A1 (en)* | 2004-10-12 | 2008-05-15 | 株式会社ニコン | Exposure apparatus maintenance method, exposure apparatus, device manufacturing method, and liquid exposure member for immersion exposure apparatus maintenance |
| WO2006041091A1 (en)* | 2004-10-12 | 2006-04-20 | Nikon Corporation | Exposure apparatus maintenance method, exposure apparatus, device manufacturing method and liquid recovering member for immersion exposure apparatus maintenance |
| US10248033B2 (en) | 2004-10-18 | 2019-04-02 | Asml Netherlands B.V. | Lithographic apparatus and device manufacturing method |
| US9753380B2 (en) | 2004-10-18 | 2017-09-05 | Asml Netherlands B.V. | Lithographic apparatus and device manufacturing method |
| US9436097B2 (en) | 2004-10-18 | 2016-09-06 | Asml Netherlands B.V. | Lithographic apparatus and device manufacturing method |
| US8934082B2 (en) | 2004-10-18 | 2015-01-13 | Asml Netherlands B.V. | Lithographic apparatus and device manufacturing method |
| JP2006093721A (en)* | 2005-10-04 | 2006-04-06 | Canon Inc | Exposure apparatus and exposure method |
| JP2006080543A (en)* | 2005-10-04 | 2006-03-23 | Canon Inc | Exposure apparatus and exposure method |
| JP2006074061A (en)* | 2005-10-04 | 2006-03-16 | Canon Inc | Exposure apparatus and exposure method |
| JP2007133077A (en)* | 2005-11-09 | 2007-05-31 | Nikon Corp | Immersion objective lens barrel and immersion microscope |
| JP2007158326A (en)* | 2005-12-02 | 2007-06-21 | Asml Netherlands Bv | Method for preventing or reducing contamination of immersion-type projection apparatus, and immersion-type lithographic apparatus |
| JP2010087535A (en)* | 2005-12-02 | 2010-04-15 | Asml Netherlands Bv | Method for preventing or reducing contamination of immersion type projection apparatus and immersion type lithographic apparatus |
| US10061207B2 (en) | 2005-12-02 | 2018-08-28 | Asml Netherlands B.V. | Method for preventing or reducing contamination of an immersion type projection apparatus and an immersion type lithographic apparatus |
| US8125610B2 (en) | 2005-12-02 | 2012-02-28 | ASML Metherlands B.V. | Method for preventing or reducing contamination of an immersion type projection apparatus and an immersion type lithographic apparatus |
| KR100826992B1 (en)* | 2005-12-02 | 2008-05-02 | 에이에스엠엘 네델란즈 비.브이. | A method for preventing or reducing contaminatioin of an immersion type projection appartus and an immersion type lithographic apparatus |
| KR101173967B1 (en) | 2005-12-02 | 2012-08-16 | 에이에스엠엘 네델란즈 비.브이. | A method for preventing or reducing contamination of an immersion type projection apparatus and an immersion type lithographic apparatus |
| JP2007179056A (en)* | 2005-12-27 | 2007-07-12 | Interuniv Micro Electronica Centrum Vzw | Attenuating type phase shift mask manufacturing method and device obtained thereby |
| US9436096B2 (en) | 2005-12-30 | 2016-09-06 | Asml Netherlands B.V. | Lithographic apparatus and device manufacturing method |
| US10761433B2 (en) | 2005-12-30 | 2020-09-01 | Asml Netherlands B.V. | Lithographic apparatus and device manufacturing method |
| US10222711B2 (en) | 2005-12-30 | 2019-03-05 | Asml Netherlands B.V. | Lithographic apparatus and device manufacturing method |
| US8941810B2 (en) | 2005-12-30 | 2015-01-27 | Asml Netherlands B.V. | Lithographic apparatus and device manufacturing method |
| US11275316B2 (en) | 2005-12-30 | 2022-03-15 | Asml Netherlands B.V. | Lithographic apparatus and device manufacturing method |
| US9851644B2 (en) | 2005-12-30 | 2017-12-26 | Asml Netherlands B.V. | Lithographic apparatus and device manufacturing method |
| US8947631B2 (en) | 2005-12-30 | 2015-02-03 | Asml Netherlands B.V. | Lithographic apparatus and device manufacturing method |
| US11669021B2 (en) | 2005-12-30 | 2023-06-06 | Asml Netherlands B.V. | Lithographic apparatus and device manufacturing method |
| JP4998854B2 (en)* | 2006-02-03 | 2012-08-15 | 株式会社ニコン | Substrate processing method, substrate processing system, program, and recording medium |
| JP2007286162A (en)* | 2006-04-13 | 2007-11-01 | Nikon Corp | Immersion microscope equipment |
| JP2012164992A (en)* | 2006-05-18 | 2012-08-30 | Nikon Corp | Exposure method and device, maintenance method, and device manufacturing method |
| JP2008283156A (en)* | 2006-05-18 | 2008-11-20 | Nikon Corp | Exposure method and apparatus, maintenance method, and device manufacturing method |
| CN102298274A (en)* | 2006-05-18 | 2011-12-28 | 株式会社尼康 | Exposure method and apparatus, maintenance method and device manufacturing method |
| US8514366B2 (en) | 2006-05-18 | 2013-08-20 | Nikon Corporation | Exposure method and apparatus, maintenance method and device manufacturing method |
| JP2013232673A (en)* | 2006-05-18 | 2013-11-14 | Asml Netherlands Bv | Lithographic apparatus and device manufacturing method |
| WO2007135990A1 (en)* | 2006-05-18 | 2007-11-29 | Nikon Corporation | Exposure method and apparatus, maintenance method and device manufacturing method |
| JP2008010843A (en)* | 2006-05-23 | 2008-01-17 | Nikon Corp | Maintenance method, exposure method and apparatus, and device manufacturing method |
| WO2007136089A1 (en)* | 2006-05-23 | 2007-11-29 | Nikon Corporation | Maintenance method, exposure method and apparatus, and device manufacturing method |
| CN102156389A (en)* | 2006-05-23 | 2011-08-17 | 株式会社尼康 | Maintenance method, exposure method and apparatus, and device manufacturing method |
| WO2007139017A1 (en)* | 2006-05-29 | 2007-12-06 | Nikon Corporation | Liquid recovery member, substrate holding member, exposure apparatus and device manufacturing method |
| WO2008001871A1 (en)* | 2006-06-30 | 2008-01-03 | Nikon Corporation | Maintenance method, exposure method and apparatus and device manufacturing method |
| JP5245825B2 (en)* | 2006-06-30 | 2013-07-24 | 株式会社ニコン | Maintenance method, exposure method and apparatus, and device manufacturing method |
| JP2008235872A (en)* | 2007-02-15 | 2008-10-02 | Asml Holding Nv | System and method for insitu lens cleaning in immersion lithography |
| US8654305B2 (en)* | 2007-02-15 | 2014-02-18 | Asml Holding N.V. | Systems and methods for insitu lens cleaning in immersion lithography |
| US8817226B2 (en)* | 2007-02-15 | 2014-08-26 | Asml Holding N.V. | Systems and methods for insitu lens cleaning using ozone in immersion lithography |
| JP2009016421A (en)* | 2007-07-02 | 2009-01-22 | Nikon Corp | Exposure apparatus, device manufacturing method, and cleaning method |
| JP2011159986A (en)* | 2007-07-09 | 2011-08-18 | Asml Netherlands Bv | Method of removing contamination from substrate and device |
| JP2009016838A (en)* | 2007-07-09 | 2009-01-22 | Asml Netherlands Bv | Substrate and method to use substrate |
| US8638421B2 (en) | 2007-09-27 | 2014-01-28 | Asml Netherlands B.V. | Lithographic apparatus and method of cleaning a lithographic apparatus |
| JP2012134527A (en)* | 2007-09-27 | 2012-07-12 | Asml Netherlands Bv | Lithography apparatus and method of cleaning lithography apparatus |
| WO2010018825A1 (en)* | 2008-08-11 | 2010-02-18 | 株式会社ニコン | Light exposure device, maintenance method, and device manufacturing method |
| US8780321B2 (en) | 2008-12-08 | 2014-07-15 | Asml Netherlands B.V. | Lithographic apparatus and device manufacturing method |
| JP2010135787A (en)* | 2008-12-08 | 2010-06-17 | Asml Netherlands Bv | Lithographic apparatus |
| WO2011001740A1 (en)* | 2009-07-01 | 2011-01-06 | 株式会社 ニコン | Polishing device, polishing method, exposure device, and device producing method |
| US9013673B2 (en) | 2009-12-02 | 2015-04-21 | Asml Netherlands B.V. | Lithographic apparatus and device manufacturing method |
| JP2011119725A (en)* | 2009-12-02 | 2011-06-16 | Asml Netherlands Bv | Lithographic apparatus, and device manufacturing method |
| US8755026B2 (en) | 2009-12-18 | 2014-06-17 | Asml Netherlands B.V. | Lithographic apparatus and a device manufacturing method |
| JP2011129913A (en)* | 2009-12-18 | 2011-06-30 | Asml Netherlands Bv | Lithographic apparatus and device manufacturing method |
| JP2020529618A (en)* | 2017-09-07 | 2020-10-08 | ホイフト ジュステームテヒニク ゲゼルシャフト ミット ベシュレンクテル ハフツング | Inspection device with light watermark |
| JP7039700B2 (en) | 2017-09-07 | 2022-03-22 | ホイフト ジュステームテヒニク ゲゼルシャフト ミット ベシュレンクテル ハフツング | Inspection device with light watermark |
| JP2022048443A (en)* | 2020-09-15 | 2022-03-28 | キオクシア株式会社 | Position measuring device and measuring method |
| WO2024098243A1 (en)* | 2022-11-08 | 2024-05-16 | 深圳华大智造科技股份有限公司 | Liquid feeding and discharging device and method, immersion objective system, gene sequencer, and biochemical detection method |
| Publication | Publication Date | Title |
|---|---|---|
| JP6350643B2 (en) | Immersion exposure apparatus, exposure method, and device manufacturing method | |
| JP2005277363A (en) | Exposure apparatus and device manufacturing method | |
| JP5058550B2 (en) | Exposure apparatus, exposure method, device manufacturing method, and liquid recovery method |
| Date | Code | Title | Description |
|---|---|---|---|
| A621 | Written request for application examination | Free format text:JAPANESE INTERMEDIATE CODE: A621 Effective date:20070326 | |
| A131 | Notification of reasons for refusal | Free format text:JAPANESE INTERMEDIATE CODE: A131 Effective date:20100309 | |
| A521 | Written amendment | Free format text:JAPANESE INTERMEDIATE CODE: A523 Effective date:20100510 | |
| A02 | Decision of refusal | Free format text:JAPANESE INTERMEDIATE CODE: A02 Effective date:20100810 | |
| A521 | Written amendment | Free format text:JAPANESE INTERMEDIATE CODE: A523 Effective date:20120213 |