













本発明は、磁気共鳴現象を利用して被検体の所望箇所を画像化する磁気共鳴イメージング装置に関する。 The present invention relates to a magnetic resonance imaging apparatus that images a desired portion of a subject using a magnetic resonance phenomenon.
磁気共鳴イメージング装置(以下MRI装置と記す)は、核磁気共鳴(以下NMRと記す)現象を利用して被検体中から所望の検査部位についてのNMR信号を受信し、これにより検査部位の原子核スピンの密度分布、緩和時間分布を計測して、その計測データから被検体の断面等を画像表示するものである。被検体からのNMR信号を受信する手段として、受信コイルが用いられる。垂直磁場方式の場合の受信コイルとして、例えば図13に示したようにソレノイドコイル1とサドルコイル2とを互いに直交させた一組の導電ループ18が用いられ、これによって2方向のNMR信号を受信する。一組の導電ループは、一般的には、所定形状の支持体に固定される。 A magnetic resonance imaging apparatus (hereinafter referred to as an MRI apparatus) receives an NMR signal for a desired examination site from within a subject using a nuclear magnetic resonance (hereinafter referred to as NMR) phenomenon, and thereby a nuclear spin at the examination site. Density distribution and relaxation time distribution are measured, and a cross section of the subject is displayed as an image from the measured data. A receiving coil is used as means for receiving NMR signals from the subject. As a receiving coil in the case of the vertical magnetic field system, for example, as shown in FIG. 13, a pair of
受信コイルによるNMR信号のSNRは、受信コイル内容積に占める被検体体積の割合(フィリングファクタ)に比例することが知られている。よって、被検体から放出されるNMR信号を感度良く受信するには、撮像部位表面に受信コイルを近接させることが望ましい。そこで、撮像部位の径に合わせるため、頭部用、膝用等の撮像部位ごとに所定の径の受信コイルが用意されている。 It is known that the SNR of the NMR signal by the receiving coil is proportional to the proportion (filling factor) of the subject volume in the receiving coil internal volume. Therefore, in order to receive the NMR signal emitted from the subject with high sensitivity, it is desirable to bring the receiving coil close to the surface of the imaging region. Therefore, in order to match the diameter of the imaging region, a receiving coil having a predetermined diameter is prepared for each imaging region such as for the head and for the knee.
特許文献1には、被検体の撮像部位に近接させるために対向するコイル間隔を可変にする機構部と、コイルの支持高さを可変にするスタンド部とを備えた受信コイルが開示されている。
上述のように、一般的な受信コイルは、頭部用、膝用等、撮像部位ごとに用意されているが、ユーザが全種類のコイルを全て買い揃えておくことは現実的には難しい。このため、足首を撮像する場合には、図14(a)に示した膝用の受信コイル3で代用する等、別の受信コイルで代用することが一般的に行われている。受信コイルの高感度領域は、導電ループの形状によって決まり、膝用受信コイル3の場合には、膝形状に対応させて中央部にソレノイドコイル1が配置された図13のパターンであるため、図14(a)、(b)のように中央の帯状部分が高感度領域32aとなる。このため、膝用受信コイルで足首を撮像するには、踵からつま先までの全体を図14(b)のように膝用受信コイルの内部に入れ、足首を高感度領域32aに位置させる必要がある。足サイズが小さく、つま先から踵までの長さが短い被検者の場合には、図14(b)のように足首を曲げたままで撮像することが可能であるが、足サイズが大きい被検者の場合は、足首を曲げたままでは受信コイル内に入りきらないため、足首関節を伸長させてつま先を伸ばす必要があり、足首関節を痛めている被検者には苦痛を与えることになる。このため、足サイズが大きい被検者の場合は、膝用よりも径の大きな頭部用受信コイルを用いる場合もあった。しかしながら、頭部用受信コイルは、足首に対して径が大きいためフィリングファクタの低下は避けられない。 As described above, a general receiving coil is prepared for each imaging region such as for the head and for the knee, but it is practically difficult for the user to purchase all types of coils. For this reason, when the ankle is imaged, it is generally performed to substitute another receiving coil, such as the
本発明は、複数の撮像部位に対応可能な受信コイルを備えた磁気共鳴イメージング装置を提供することを目的とする。 An object of this invention is to provide the magnetic resonance imaging apparatus provided with the receiving coil which can respond | correspond to several imaging region.
上記目的を達成するために、本発明では、互いに屈曲した位置関係にある第1の感度領域と第2の感度領域を有する受信コイルを提供する。 In order to achieve the above object, the present invention provides a receiving coil having a first sensitivity region and a second sensitivity region which are in a bent positional relationship.
この受信コイルは、例えば、互いに屈曲した位置関係で連結された第1および第2の支持体と、第1および第2の支持体にそれぞれ配置された第1および第2の導電ループを有する構成とすることができる。第1の感度領域は、第1の導電ループによって形成され、第2の感度領域は、第2の導電ループによって形成される。 The receiving coil includes, for example, first and second supports connected to each other in a bent positional relationship, and first and second conductive loops arranged on the first and second supports, respectively. It can be. The first sensitivity region is formed by the first conductive loop, and the second sensitivity region is formed by the second conductive loop.
上述の第1の導電ループは、例えば、検出方向が交差するように配置されたソレノイド型導電ループとサドルコイル型導電ループを含み、第2の導電ループは、例えばバードケージ型コイルを含む構成にすることができる。 The first conductive loop described above includes, for example, a solenoid type conductive loop and a saddle coil type conductive loop arranged so that the detection directions intersect with each other, and the second conductive loop includes a birdcage type coil, for example. can do.
上述の第2の導電ループは、第1の導電ループの一部を第2の支持体に延長させることによって形成された構成にすることも可能である。 The above-described second conductive loop may be formed by extending a part of the first conductive loop to the second support.
また、本発明の別の態様の受信コイルとしては、第1および第2の撮像部位のうち所望の部位に選択的に装着可能な受信コイルであって、支持体と、支持体に配置された導電ループとを含み、支持体は、第1の撮像部位の外形に対応した形状であって、その一部に、前記第2の撮像部位の外形に対応するように変形させた変形部を備えるものを提供することができる。 The receiving coil according to another aspect of the present invention is a receiving coil that can be selectively attached to a desired part of the first and second imaging parts, and is disposed on the support and the support. The support includes a conductive loop, and the support has a shape corresponding to the outer shape of the first imaging region, and a deformed portion deformed to correspond to the outer shape of the second imaging region. Things can be provided.
以下、図面を参照して本発明の実施の形態の磁気共鳴イメージング装置について説明する。 Hereinafter, a magnetic resonance imaging apparatus according to an embodiment of the present invention will be described with reference to the drawings.
本実施の形態の磁気共鳴イメージング装置は、図1に示したように、静磁場発生装置26と、傾斜磁場コイル27と、被検体29を搭載するベッド31と、照射コイル33と、受信コイル32と、制御・演算ユニット40と、入力装置41と、表示装置30とを有している。制御・演算ユニット40は、傾斜磁場電源35、高周波装置34、制御装置37、演算装置28を含んでいる。 As shown in FIG. 1, the magnetic resonance imaging apparatus of the present embodiment includes a static
静磁場発生装置26は、撮像領域に強く均一な静磁場を発生させるものであり、永久磁石方式あるいは超伝導方式の磁場発生手段が用いられる。被検体29の撮像部位は、ベッド31を移動させることにより撮像領域に配置される。これにより、静磁場内に配置された被検体29の原子核スピンは、磁場強度に応じた周波数(ラーモア周波数)で磁場の方向を軸として歳差運動を行う。この状態で、照射コイル33より、ラーモア周波数に等しい周波数の高周波磁場パルスを照射すると、原子核スピンは励起され、照射が打ち切られると、スピンは元のエネルギー状態に戻る際にNMR信号を放出する。受信コイル32は、放出されたNMR信号を検出する。このとき、撮像領域内に位置情報を付加するために、傾斜磁場コイル27からX,Y,Zの3軸方向について傾斜磁場が印加される。その結果、位置情報を周波数情報としてNMR信号に重畳することができる。 The static
受信コイル32によって受信されたNMR信号は、高周波装置34によって検出され、演算装置28に受け渡され、画像再構成演算等が行われる。得られた画像は、表示装置30に出力され表示される。また、高周波装置34は、受信コイル32の受信信号の検出の他に、照射コイル33に高周波磁場パルスを発生させるための高周波電力の供給も行う。傾斜磁場電源は、傾斜磁場コイル27へ電流を供給し、所定の傾斜磁場を発生させる。制御装置37は、傾斜磁場電源35および高周波装置34の動作を制御することにより、入力装置41を介してオペレータから指示を受けた所定の撮像パルスシーケンスを実行させる。また、演算装置28の演算処理を制御することにより、オペレータの所望の画像を再構成させる。 The NMR signal received by the receiving
受信コイル32の構成を図2、図3を用いて説明する。受信コイル32は、膝および足首のうちの所望の部位に選択的に装着され、撮像を行うための受信コイルである。受信コイル32は、図2に示したように、ソレノイド型に形成されたnターン(nは自然数)の導電ループ4と、導電ループ4と直交するように配置された、サドルコイル型の導電ループ5と、導電ループ5の上に搭載されたバードケージ型コイル24とを有する。被検体に装着された状態で、ソレノイド型導電ループ4は、X方向(体軸方向)の磁場を検出し、サドルコイル型導電ループ5は、Y方向の磁場を検出する。サドルコイル型導電ループ5の検出部分は、ソレノイド型導電ループ4と直交する直線部分である。バードケージ型コイル24は、XY平面内の任意の方向の磁場を検出することができる。 The configuration of the
導電ループ4,導電ループ5、ならびに、バードケージ型コイル24は、それぞれ電気的に独立したループであり、図示していないそれぞれの引き出し線により、互いの干渉を最小にするためのマッチング回路(図示せず)にそれぞれ接続され、マルチプルアレイを構成している。演算装置28は、マルチプルアレイ演算部42を有しており、導電ループ4,導電ループ5、バードケージ型コイル24がそれぞれ検出したNMR信号によって、それぞれ画像再構成を行い、再構成した画像を合成する。 The
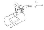
導電ループ4,導電ループ5、ならびに、バードケージ型コイル24は、図3に示したように、樹脂製の支持体50の表面に固定され、支持されている。支持体50を2層以上の層構成とし、2層の間に導電ループ4、5およびコイル24を挟み込む構成にすることも可能である。支持体50は、バードケージ型コイル24を支持する円筒部50aと、導電ループ4および導電ループ5を支持する円筒部50bとを含む。円筒部50bの直径は、従来の膝専用の受信コイルと同様に、膝が挿入できる大きさである。円筒部50aの径は、足の甲が挿入できる大きさである。円筒部50aは、円筒部50bの外周面に接続されており、接続部には円筒部50bに開口が形成されている。円筒部50aと円筒部50bの内部空間は連結されており、足首を撮像する際には、足首関節を円筒50bの内部空間に配置し、つま先から足の甲を円筒部50aの内部空間に挿入することができる。 As shown in FIG. 3, the
ソレノイド型導電ループ4は、膝部の撮像の際に膝部を取り巻くように、円筒部50bの中央部に配置される。したがって、ソレノイドコイル型導電ループ4を中心とした帯状の領域51が、導電ループ4および5によって形成される高感度領域となる。また、バードケージ型コイル24の内部空間は、バードケージ型コイル24によって形成される高感度領域となる。これにより、図2の受信コイル32は、互いに屈曲した位置関係にある2つの高感度領域を有する。 The solenoid-type
本実施の形態の受信コイル32によって、膝部を撮像する場合には、図3の円筒部50bに足を挿入し、膝関節を中央部のソレノイドコイル型導電ループ4直下の高感度領域51に配置する。これにより、従来の膝専用の受信コイルと同様に、ソレノイドコイル型導電ループ4とサドルコイル型導電ループ5によって、膝部からのNMR信号を受信することができる。導電ループ4および5についてのフィリングファクタは、従来の膝専用受信コイルと同じである。よって、マルチプルアレイ演算部42により、導電ループ4および5の受信したNMR信号から再構成した画像を合成することにより、従来と同様に膝部を撮像することができる。 When the knee is imaged by the receiving
一方、受信コイル32によって、足首を撮像する場合には、足を円筒部50bに挿入し、足の甲からつま先を円筒部50aに出すようにする。これにより、足首関節は、ソレノイドコイル型導電ループ4とサドルコイル型導電ループ5が形成する高感度領域51の近傍に配置され、足の甲からつま先は、バードケージ型コイル24の形成する高感度領域内に配置される。マルチプルアレイ演算部42により、導電ループ4,5およびバードケージ型コイル24の受信したNMR信号から再構成した画像を合成することにより、足首および足の甲からつま先にかけての部位の画像を良好に撮像することができる。また、足先を円筒50aに挿入できるため、足サイズが大きい被検者29であっても足首を伸長させた姿勢を保つ必要がなく、被検者に苦痛を与えにくい。しかも、頭部用受信コイルを用いた場合よりもフィリングファクタは高くなるため、SNRも高い。 On the other hand, when the ankle is imaged by the receiving
なお、バードケージ型コイル24は、直線導体25の本数を4×m本(mは自然数)にすることが望ましい。図2では、8本の例を示しているが、4,12,または16本にすることも好ましい。 In the
また、バードケージ型コイル24の形状は、円筒形状に限らず、図4に示したように上部を絞った形状にすることもできる。この場合、支持体50のバードケージ型コイル14を支持する部分は、ドーム型等対応する形状にする。図4の形状のバードケージ型コイル24を用いた場合、足のつま先部分の撮像感度を高めることができる。 Further, the shape of the
また、人の足の甲は扁平であることを考慮し、図2,図3,図4のバードケージ型コイル24の開口径をX方向に狭め、楕円形のバードケージ型コイルにすることも可能である。 In consideration of the flatness of the human foot, the
また、図5に示したように、バードケージ型コイル24に代えて、2つの導電ループ22,23を、8の字状に連結したコイル139によってY方向の磁場を検出するようにすることも可能である。さらに、図6に示したように、2組の導電ループ91,92および93,94からなる8の字状コイル140,141を、互いに向い合うように配置し、コイル140によってY方向の磁場を、コイル141によってX方向の磁場を検出する構成にすることも可能である。これらの場合も、マルチプルアレイ演算部42によって導電ループ4,5に加えて、コイル139またはコイル140,141のそれぞれが検出したNMR信号によって再構成した画像を合成することにより、足首と足の甲からつま先にかけての部位を撮像することが出来る。また、膝部についても導電ループ4,5により従来と同様に撮像することができる。 In addition, as shown in FIG. 5, instead of the
別の実施の形態として、図7に示したようにサドルコイル型導電ループ5の一部を変形させることにより、導電ループの数は2つのみで膝及び足首の兼用受信コイルを得ることもできる。図7の受信コイルでは、サドルコイル型導電ループ5が、上部の直線部分の一部をつま先の方向に向かって延長して、足形状に合わせて屈曲させた変形部を有する。この変形部により、つま先に近い部分にX軸方向に沿って湾曲した円弧状導体10,11が形成されている。この円弧状導体10,11は、サドルコイル型導電ループ5の本体と同様に、Y軸方向の磁場を検出する。よって、導電ループ4および5の検出するNMR信号を従来の膝用受信コイルと同様に処理して、画像再構成することにより、足首関節からつま先までの画像を得ることができる。この場合、図2のバードケージ型コイル24を用いる場合とは異なり、高感度領域はソレノイドコイル型導電ループ4付近の帯状領域のみになるため、つま先領域は低感度となる。しかしながら、導電ループの数が増えないため、マルチプルアレイ演算部42を備えない演算装置28によっても画像再構成を行うことができるというメリットがある。なお、図7の導電ループ4,5の支持体としては、図3に示した支持体50を用いることができる。 As another embodiment, by deforming a part of the saddle coil type
図7の円弧状導体10,11を直線導体12,13に置き換えて図8の構成の受信コイルにすることも可能である。図8の受信コイルの構造は、直線導体12,13がつま先に接近しているため、つま先部の感度を向上させることができる。また、直線導体12、13をつま先にさらに接近させるために、サドルコイル型導体ループ5の本体と、直線導体12、13とを接続する導体14、15を屈曲させ、図9のような構造にすることも可能である。図8および図9の構造の場合には、支持体50として、図10に示したように円筒部50aに蓋部50cを備えたものを用い、直線導体12,13を蓋部50cに配置する構造とする。 It is also possible to replace the
また、図7に示した構造に追加して、図11のように、つま先部にコイル型導体ループ20,21を組合せた8の字状コイル138を配置し、つま先部のX軸方向の磁場を検出させる構成にすることができる。この場合、マルチプルアレイ演算部42を用いて、つま先部の画像を合成する。これにより、つま先部の感度を向上させることができる。 In addition to the structure shown in FIG. 7, as shown in FIG. 11, an 8-shaped coil 138 in which the coiled
上述の実施の形態では、つま先の近傍に導電ループを配置する構造について説明したが、従来の膝用受信コイルと同じ構造の導電ループ4,5のまま、支持体の一部に、足首の形状に合わせて変形させた変形部を設けることにより、膝および足首兼用受信コイルを得ることもできる。例えば、図12の支持体50bのように、つま先を突出させるための開口50dを設けることができる。この場合、つま先が開口50dから突出するため、被検者に苦痛を与えにくく、膝用のコイルであるため、足首の撮影に用いてもフィリングファクタは低下しない。よって足首についてはソレノイドコイル型導電ループ4付近の高感度領域によって高感度に撮像できる。また、足の踵から甲については、サドルコイル型導電ループ5によって、低感度ながら画像が得られる。よって、図12の受信コイルによって、膝および足首の兼用の受信コイルとして使用できる。 In the above-described embodiment, the structure in which the conductive loop is disposed in the vicinity of the toe has been described. However, the shape of the ankle is formed on a part of the support while the
上述の実施の形態では、膝部の撮影と足首部の撮影とに兼用することのできる受信コイルについて説明したが、膝と足首との組み合わせに限らず、導電ループを追加したり、導電ループの一部を別の撮像部位の外形に対応させて変形させることにより、本来の撮像部位とは別の部位についても同一の撮像可能な受信コイルを提供することができる。例えば、頭部撮影と首部の撮影部とに兼用することのできる受信コイルを提供することができる。 In the above-described embodiment, the reception coil that can be used for both the imaging of the knee and the ankle has been described. However, the present invention is not limited to the combination of the knee and the ankle. By deforming a part corresponding to the outer shape of another imaging region, it is possible to provide a receiving coil that can capture the same image in a region other than the original imaging region. For example, it is possible to provide a receiving coil that can be used for both the head imaging and the neck imaging unit.
また、上述の実施の形態では、垂直磁場方式のMRI装置に用いられる受信コイルについて説明してきたが、水平磁場方式のMRI装置用の受信コイルについても本発明を適用することができる。この場合、静磁場方向が、本実施の形態とは異なり被検者の体軸方向であるため、受信コイルの導電ループの形状をそれに合わせて変更する必要がある。例えば、図2および図3に示した受信コイル32の場合には、円筒部50aに搭載されている導電ループ4,5と、円筒部50bに搭載されているバードケージ型導電ループ27とを入れ替えることにより、水平磁場方式用の受信コイルが提供可能である。 In the above-described embodiment, the reception coil used in the vertical magnetic field type MRI apparatus has been described. However, the present invention can also be applied to a reception coil for a horizontal magnetic field type MRI apparatus. In this case, since the static magnetic field direction is the body axis direction of the subject unlike the present embodiment, it is necessary to change the shape of the conductive loop of the receiving coil accordingly. For example, in the case of the receiving
4…ソレノイド型導電ループ、5…サドルコイル型導電ループ、10,11…円弧状導体、12,13…直線導体、14,15…導体、24…バードケージ型コイル、25…直線導体、26…静磁場発生装置、27…傾斜磁場発生装置、28…演算装置、29…被検体、30…表示装置、31…ベッド、32…受信コイル、33…照射コイル、34…高周波装置、35…傾斜磁場電源、37…制御装置、40…制御・演算ユニット、41…入力装置、42…マルチプルアレイ演算部、50…支持体、50a…円筒部、50b…円筒部、50c…蓋部、50d…開口、51…高感度領域、138,139,140,141…8の字状コイル。4 ... solenoid type conductive loop, 5 ... saddle coil type conductive loop, 10, 11 ... arc-shaped conductor, 12, 13 ... linear conductor, 14, 15 ... conductor, 24 ... birdcage type coil, 25 ... linear conductor, 26 ... Static magnetic field generator, 27 ... Gradient magnetic field generator, 28 ... Arithmetic device, 29 ... Subject, 30 ... Display device, 31 ... Bed, 32 ... Receiving coil, 33 ... Irradiation coil, 34 ... High frequency device, 35 ... Gradient magnetic field Power source, 37 ... control device, 40 ... control / arithmetic unit, 41 ... input device, 42 ... multiple array computing unit, 50 ... support, 50a ... cylindrical portion, 50b ... cylindrical portion, 50c ... lid portion, 50d ... opening, 51... High sensitivity region, 138, 139, 140, 141.
| Application Number | Priority Date | Filing Date | Title |
|---|---|---|---|
| JP2004061628AJP2005245798A (en) | 2004-03-05 | 2004-03-05 | Receiving coil and magnetic resonance imaging apparatus using the same |
| Application Number | Priority Date | Filing Date | Title |
|---|---|---|---|
| JP2004061628AJP2005245798A (en) | 2004-03-05 | 2004-03-05 | Receiving coil and magnetic resonance imaging apparatus using the same |
| Publication Number | Publication Date |
|---|---|
| JP2005245798Atrue JP2005245798A (en) | 2005-09-15 |
| Application Number | Title | Priority Date | Filing Date |
|---|---|---|---|
| JP2004061628APendingJP2005245798A (en) | 2004-03-05 | 2004-03-05 | Receiving coil and magnetic resonance imaging apparatus using the same |
| Country | Link |
|---|---|
| JP (1) | JP2005245798A (en) |
| Publication number | Priority date | Publication date | Assignee | Title |
|---|---|---|---|---|
| JP2007000619A (en)* | 2005-05-26 | 2007-01-11 | Toshiba Corp | MRI apparatus and high frequency coil for MRI apparatus |
| US7619412B2 (en) | 2005-05-26 | 2009-11-17 | Kabushiki Kaisha Toshiba | MRI apparatus and high-frequency coil with plural imaging regions |
| CN108107387A (en)* | 2017-12-28 | 2018-06-01 | 江阴万康医疗科技有限公司 | Multi-channel magnetic resonance knee joint shares imaging coil with ankle foot |
| CN109696641A (en)* | 2018-12-29 | 2019-04-30 | 佛山瑞加图医疗科技有限公司 | Receiving coil apparatus and magnetic resonance imaging system |
| US11125841B2 (en) | 2014-08-11 | 2021-09-21 | Samsung Electronics Co., Ltd. | Radio frequency coil and magnetic resonance imaging system comprising the same |
| Publication number | Priority date | Publication date | Assignee | Title |
|---|---|---|---|---|
| JP2007000619A (en)* | 2005-05-26 | 2007-01-11 | Toshiba Corp | MRI apparatus and high frequency coil for MRI apparatus |
| US7619412B2 (en) | 2005-05-26 | 2009-11-17 | Kabushiki Kaisha Toshiba | MRI apparatus and high-frequency coil with plural imaging regions |
| US11125841B2 (en) | 2014-08-11 | 2021-09-21 | Samsung Electronics Co., Ltd. | Radio frequency coil and magnetic resonance imaging system comprising the same |
| CN108107387A (en)* | 2017-12-28 | 2018-06-01 | 江阴万康医疗科技有限公司 | Multi-channel magnetic resonance knee joint shares imaging coil with ankle foot |
| CN109696641A (en)* | 2018-12-29 | 2019-04-30 | 佛山瑞加图医疗科技有限公司 | Receiving coil apparatus and magnetic resonance imaging system |
| Publication | Publication Date | Title |
|---|---|---|
| US5050605A (en) | Magnetic resonance imaging antennas with spiral coils and imaging methods employing the same | |
| JP4129375B2 (en) | Medical image diagnostic apparatus and image region designation support method | |
| JP3983667B2 (en) | Removable / replaceable and / or replaceable MRI / RF coil system and MRI imaging system and method | |
| US7999548B1 (en) | Dual lower extremity MRI coil array with simultaneously independent MRI signal detection from both legs | |
| US6975896B2 (en) | Fiducial markers for MRI | |
| US20050264286A1 (en) | Method for acquiring magnetic resonance data from a large examination region | |
| CN102028470B (en) | Eyeball radio-frequency coil device for magnetic resonance imaging system | |
| KR20180055729A (en) | Coil arrangement comprising a flexible local coil and a rigid local coil | |
| KR20160133506A (en) | System and method for low-field, multi-channel imaging | |
| CN104380130B (en) | For the noninvasive prostate coil of the MR systems with vertical home court | |
| US5646530A (en) | Surface coil for high resolution imaging using a magnetic resonance imaging apparatus | |
| US20160349336A1 (en) | Head coil and magnetic resonance imaging apparatus employing the same | |
| JP2010508054A (en) | MRIRF encoding using multiple transmit coils | |
| JP2020535870A5 (en) | ||
| JP2000241519A (en) | RF coil array device for vertical magnetic field MRI | |
| JP5238156B2 (en) | Magnetic resonance imaging apparatus and high frequency coil selection method in the apparatus | |
| US7348778B2 (en) | System and apparatus for a high resolution peripheral vascular coil array | |
| JP2005245798A (en) | Receiving coil and magnetic resonance imaging apparatus using the same | |
| JP2007282860A (en) | Magnetic resonance imaging apparatus and method | |
| JP5771354B2 (en) | Receiving coil device for magnetic resonance imaging apparatus and magnetic resonance imaging apparatus using the same | |
| CN116520222A (en) | RF Receiver Coils with Equal Circumference Rings | |
| JP3591946B2 (en) | RF coil for magnetic resonance imaging equipment | |
| CN1785119A (en) | Pelvis radiofrequency coil device used for magnetic resonance imaging | |
| JP3112474B2 (en) | Magnetic resonance imaging equipment | |
| JP5258968B2 (en) | Magnetic resonance measuring device |