




本発明は、基板処理装置に関し、特に、Siなどの半導体デバイスを製造する際に用いられる成膜装置に関するものである。 The present invention relates to a substrate processing apparatus, and more particularly, to a film forming apparatus used when manufacturing a semiconductor device such as Si.
半導体デバイスを製造するために基板表面に薄膜を形成する技術としてはCVD(Chemical Vapor Deposition;化学気相成長)法が一般に用いられてきた。しかし、半導体デバイスの微細化に伴い、デバイスに利用される各種材料の薄膜を高精度に形成する要求が高まり、これを実現するためにALD(Atomic Layer Deposition)法と呼ばれる技術の適用が進められている。 As a technique for forming a thin film on a substrate surface in order to manufacture a semiconductor device, a CVD (Chemical Vapor Deposition) method has been generally used. However, with the miniaturization of semiconductor devices, the demand for forming thin films of various materials used for devices with high precision has increased, and in order to achieve this, application of a technique called ALD (Atomic Layer Deposition) method has been promoted. ing.
ALD法は、ある成膜条件(温度、時間等)の下で、成膜に用いる2種類(またはそれ以上)の原料となるガスを1種類ずつ交互に基板上に供給し、1原子層単位で吸着させ、表面反応を利用して成膜を行う手法である。 In the ALD method, under one film formation condition (temperature, time, etc.), two kinds (or more) of raw material gases used for film formation are alternately supplied onto the substrate one by one, and one atomic layer unit. In this method, the film is adsorbed by using a surface reaction to form a film.
従来、例えば、成膜ガスであるSiH2Cl2とNH3と交互に流して、ALD法により、Si3N4膜を成膜する場合に、NH3を供給するノズルと、そのNH3供給ノズルの外側のバッファ室とを処理室に設け、そのバッファ室にプラズマ放電用の電極を設け、バッファ室でプラズマ励起したプラズマを処理室内に供給できる構成とし、他方では、SiH2Cl2を供給するノズルも処理室に設け、これらの2つのノズルより処理室に交互に成膜用のガスを供給する構成としていた。Conventionally, for example, when a Si3 N4 film is formed by an ALD method by alternately flowing SiH2 Cl2 and NH3 as film forming gases, a NH3 supply nozzle and its NH3 supply A buffer chamber outside the nozzle is provided in the processing chamber, and an electrode for plasma discharge is provided in the buffer chamber so that plasma excited in the buffer chamber can be supplied into the processing chamber. On the other hand, SiH2 Cl2 is supplied. The nozzles for the film formation are also provided in the processing chamber, and the film forming gas is alternately supplied to the processing chamber from these two nozzles.
この場合、実際には、NH3を流した後、N2で反応管内、NH3供給ノズルおよびその外側のバッファ室を全てN2で置換し、次にSiH2Cl2を流しN2で置換する。これを1サイクルとして、所望の膜厚になるまで数十〜数百サイクル繰り返し行う。In this case, in fact, after flowing NH3, and replaced in the reaction tube, NH3 all supply nozzle and the buffer chamber of the outerN 2 withN 2, then replaced withN 2 flowingSiH 2 Cl2 To do. This is one cycle, and several tens to several hundreds of cycles are repeated until a desired film thickness is obtained.
この時、N2の置換が十分でない場合、ノズルやバッファ室内にSiN等の副生成物が堆積し、それがガス供給時あるいはガス排気時に処理室内のウエハ上に堆積しパーティクルとなる。At this time, if the substitution of N2 is not sufficient, by-products such as SiN are deposited in the nozzle and the buffer chamber, and are deposited on the wafer in the processing chamber during gas supply or gas exhaust to form particles.
これを抑制するためにはSiH2Cl2、あるいはNH3の成膜ガス供給後のN2置換を十分に行う必要があるが、その場合N2パージの時間が長くなり、スループットが低下する問題がある。In order to suppress this, it is necessary to sufficiently substitute N2 after supplying the film forming gas of SiH2 Cl2 or NH3 , but in this case, the time for N2 purge becomes long and the throughput is lowered. There is.
従って、本発明の主な目的は、処理ガスの切り換えを迅速に行えると共に、処理ガス同士が反応してパーティクルが生じるのを抑制または防止できる基板処理装置を提供することにある。 Accordingly, a main object of the present invention is to provide a substrate processing apparatus capable of switching processing gases quickly and suppressing or preventing generation of particles due to reaction between processing gases.
本発明によれば、複数のガス噴出口を有した処理室内に処理ガスを供給するガス供給手段を有し、該ガス供給手段の処理ガス流通空間に連通する様に、ガス排気手段を該ガス供給手段に接続してなる基板処理装置が提供される。 According to the present invention, there is provided gas supply means for supplying a processing gas into a processing chamber having a plurality of gas outlets, and the gas exhaust means is connected to the processing gas circulation space of the gas supply means. A substrate processing apparatus connected to a supply means is provided.
本発明によれば、処理ガスの切り換えを迅速に行えると共に、処理ガス同士が反応してパーティクルが生じるのを抑制または防止できる基板処理装置が提供される。 ADVANTAGE OF THE INVENTION According to this invention, while being able to switch process gas rapidly, the substrate processing apparatus which can suppress or prevent that a process gas reacts and particles are produced is provided.
次に、本発明の好ましい実施例を図面を参照して説明する。 Next, preferred embodiments of the present invention will be described with reference to the drawings.
本実施例では、成膜ガスであるSiH2Cl2とNH3と交互に流して、ALD法により、Si3N4膜を成膜する場合に、NH3を供給するノズルと、そのNH3供給ノズルの外側のバッファ室とを処理室に設け、そのバッファ室にプラズマ放電用の電極を設け、バッファ室でプラズマ励起したプラズマを処理室内に供給できる構成とし、他方では、SiH2Cl2を供給するガス供給部も処理室に設け、処理室に交互に成膜用のガスを供給する構成としている。そして、このように、2重ノズルにより成膜ガスであるNH3を供給するALD法の成膜を行う成膜装置において、2重ノズルの外側のバッファ室内のガスを効率良く排気し、N2置換する場合には効率よくN2置換するために、バッファ室へのガス供給径路とは別に排気径路を設けた。そして、この排気径路にはエアーで駆動するバルブ等の自動開閉バルブを設置し、処理室を経由せずにポンプ側の排気径路に接続した。このようにすることにより、バッファ室内の成膜ガスを効率良く排気し、N2置換する場合には効率よくN2置換することができるようになり、装置のスループットを向上することができるようになった。In this embodiment, when a Si3 N4 film is formed by the ALD method by alternately flowing SiH2 Cl2 and NH3 which are film formation gases, a nozzle for supplying NH3 and the NH3 A buffer chamber outside the supply nozzle is provided in the processing chamber, and an electrode for plasma discharge is provided in the buffer chamber so that plasma excited in the buffer chamber can be supplied into the processing chamber. On the other hand, SiH2 Cl2 is supplied. A gas supply portion to be supplied is also provided in the processing chamber, and a film forming gas is alternately supplied to the processing chamber. In this way, in the film forming apparatus that performs film formation by the ALD method in which NH3 as the film forming gas is supplied from the double nozzle, the gas in the buffer chamber outside the double nozzle is efficiently exhausted, and N2 In the case of replacement, in order to efficiently replace N2, an exhaust path was provided separately from the gas supply path to the buffer chamber. Then, an automatic opening / closing valve such as a valve driven by air was installed in this exhaust path, and connected to the exhaust path on the pump side without going through the processing chamber. By doing so, the film forming gas in the buffer chamber efficiently evacuated, it becomes possible to efficiently N2 substitution in the case of N2 substitutions, so it is possible to improve the throughput of the apparatus became.
利用する化学反応は、SiN(窒化珪素)膜形成の場合、ALD法ではDCS(SiH2Cl2、ジクロルシラン)とNH3(アンモニア)を用いて300〜600℃の低温で高品質の成膜が可能である。また、ガス供給は、複数種類の反応性ガスを1種類ずつ交互に供給する。そして、膜厚制御は、反応性ガス供給のサイクル数で制御する。(例えば、成膜速度が1Å/サイクルとすると、20Åの膜を形成する場合、処理を20サイクル行う。)In the case of SiN (silicon nitride) film formation, the chemical reaction used is high-quality film formation at a low temperature of 300 to 600 ° C. using DCS (SiH2 Cl2 , dichlorosilane) and NH3 (ammonia) in the ALD method. Is possible. Further, the gas supply alternately supplies a plurality of types of reactive gases one by one. And film thickness control is controlled by the cycle number of reactive gas supply. (For example, assuming that the film formation rate is 1 mm / cycle, the process is performed 20 cycles when a film of 20 mm is formed.)
次に、図面を参照して、ウエハ等の基板へのプロセス処理例としてALD法を用いた成膜処理について、さらに詳細に説明する。 Next, a film forming process using the ALD method as an example of a process process for a substrate such as a wafer will be described in detail with reference to the drawings.
図1は、本実施例に係る基板処理装置の縦型の基板処理炉を説明するための概略縦断面図であり、図2は、本実施例に係る基板処理装置の縦型の基板処理炉を説明するための概略縦断面図であり、図3は、本実施例に係る基板処理装置の縦型の基板処理炉を説明するための概略横断面図である。 FIG. 1 is a schematic longitudinal sectional view for explaining a vertical substrate processing furnace of a substrate processing apparatus according to the present embodiment, and FIG. 2 is a vertical substrate processing furnace of the substrate processing apparatus according to the present embodiment. FIG. 3 is a schematic cross-sectional view for explaining a vertical substrate processing furnace of the substrate processing apparatus according to the present embodiment.
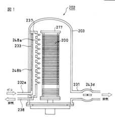
加熱手段であるヒータ207の内側に、基板であるウエハ200を処理する反応容器として反応管203が設けられ、この反応管203の下端開口は蓋体であるシールキャップ219により気密部材であるOリング220を介して気密に閉塞されている。反応管203およびヒータ207の外側には断熱部材208が設けられている。断熱部材208は断熱部材208の上方端を覆うように設けられている。少なくとも、ヒータ207、断熱部材208、反応管203、及びシールキャップ219により処理炉202を形成している。また、反応管203、シールキャップ219および後述する反応管203内に形成されたバッファ室237により処理室201を形成している。シールキャップ219には石英キャップ218を介して基板保持手段であるボート217が立設され、石英キャップ218はボートを保持する保持体となっている。そして、ボート217は処理炉202に挿入される。ボート217にはバッチ処理される複数のウエハ200が水平姿勢で管軸方向に多段に垂直方向に積載される。ヒータ207は処理炉202に挿入されたウエハ200を所定の温度に加熱する。 A
そして、処理炉202へは複数種類、ここでは2種類のガスを供給する供給管としての2本のガス供給管232a、232bが設けられる。ここではガス供給管232aからは流量制御手段であるマスフローコントローラ241a及び開閉弁であるバルブ243aを介し、更に後述する反応管203内に形成されたバッファ室237を介して処理室201に反応ガスが供給され、ガス供給管232bからは流量制御手段であるマスフローコントローラ241b、開閉弁であるバルブ243b、ガス溜め247、及び開閉弁であるバルブ243cを介し、更に後述するガス供給部249を介して処理室201に反応ガスが供給されている。 The
処理室201は、ガスを排気する排気管であるガス排気管231によりバルブ243dを介して排気手段である真空ポンプ246に接続され、真空排気されるようになっている。尚、このバルブ243dは弁を開閉して処理室201の真空排気・真空排気停止ができ、更に弁開度を調節して圧力調整可能になっている開閉弁である。 The
処理室201を構成している反応管203の内壁とウエハ200との間における円弧状の空間には、反応管203の下部より上部の内壁にウエハ200の積載方向に沿って、ガス分散空間であるバッファ室237が設けられており、そのバッファ室237のウエハ200と隣接する内側の壁の端部近傍にはガスを供給する供給孔であるガス供給孔248aが設けられている。このガス供給孔248aは反応管203の中心へ向けて開口している。このガス供給孔248aは、ウエハ200の積載方向に沿って下部から上部に所定の長さにわたってそれぞれ同一の開口面積を有し、更に同じ開口ピッチで設けられている。 The arc-shaped space between the inner wall of the
そしてバッファ室237のガス供給孔248aが設けられた端部と反対側の端部近傍には、ノズル233が、やはり反応管203の下部より上部にわたりウエハ200の積載方向に沿って配設されている。そしてノズル233にはガスを供給する供給孔であるガス供給孔248bが複数設けられている。複数のガス供給孔248bは、ガス供給孔248aの場合と同じ所定の長さにわたってウエハ200の積載方向に沿って配設されている。そして、複数のガス供給孔248bと複数のガス供給孔248aとをそれぞれ1対1で対応させて配置している。 In the vicinity of the end of the
また、ガス供給孔248bの開口面積は、バッファ室237と処理炉202の差圧が小さい場合には、上流側から下流側まで同一の開口面積で同一の開口ピッチとすると良いが、差圧が大きい場合には上流側から下流側に向かって開口面積を大きくするか、開口ピッチを小さくすると良い。 Further, the opening area of the
ガス供給孔248bの開口面積や開口ピッチを上流側から下流にかけて調節することで、まず、各ガス供給孔248bよりガスの流速の差はあるが、流量はほぼ同量であるガスを噴出させる。そしてこの各ガス供給孔248bから噴出するガスをバッファ室237に噴出させて一旦導入し、ガスの流速差の均一化を行うことができる。 By adjusting the opening area and the opening pitch of the
すなわち、バッファ室237において、各ガス供給孔248bより噴出したガスはバッファ室237で各ガスの粒子速度が緩和された後、ガス供給孔248aより処理室201に噴出する。この間に、各ガス供給孔248bより噴出したガスは、各ガス供給孔248aより噴出する際には、均一な流量と流速とを有するガスとすることができる。 That is, in the
さらに、バッファ室237に、細長い構造を有する棒状電極269及び棒状電極270が上部より下部にわたって電極を保護する保護管である電極保護管275に保護されて配設され、この棒状電極269又は棒状電極270のいずれか一方は整合器272を介して高周波電源273に接続され、他方は基準電位であるアースに接続されている。この結果、棒状電極269及び棒状電極270間のプラズマ生成領域224にプラズマが生成される。 Further, a rod-
この電極保護管275は、棒状電極269及び棒状電極270のそれぞれをバッファ室237の雰囲気と隔離した状態でバッファ室237に挿入できる構造となっている。ここで、電極保護管275の内部は外気(大気)と同一雰囲気であると、電極保護管275にそれぞれ挿入された棒状電極269及び棒状電極270はヒータ207の加熱で酸化されてしまう。そこで、電極保護管275の内部は窒素などの不活性ガスを充填あるいはパージし、酸素濃度を充分低く抑えて棒状電極269又は棒状電極270の酸化を防止するための不活性ガスパージ機構が設けられる。 The
バッファ室237には、バッファ室237内のガスを効率良く排気し、N2置換を行う場合には効率よく置換を行うために、バッファ室237の底板に連通するガス排気管238を設けている。このガス排気管238は真空ポンプ246に接続されており、このガス排気管238の途中には、エアーで駆動するバルブ等の自動開閉バルブ342eが設けられている。このようにバッファ室237に連通するガス排気管238を設けることにより、バッファ室237内の成膜ガスを効率良く排気し、N2置換を行う場合には効率よく置換を行うことができるようになり、装置のスループットを向上することができるようになる。The
なお、本実施例では、バッファ室237に連通するガス排気管を設けたが、後述するガス供給部249に連通してガス排気管を設けても良く、バッファ室237に連通するガス排気管および後述するガス供給部249に連通するガス排気管の両方を設けても良い。 In this embodiment, the gas exhaust pipe communicating with the
さらに、ガス供給孔248aの位置より、反応管203の内周を120°程度回った内壁に、ガス供給部249が設けられている。このガス供給部249は、ALD法による成膜においてウエハ200へ、複数種類のガスを1種類ずつ交互に供給する際に、バッファ室237とガス供給種を分担する供給部である。 Furthermore, a
このガス供給部249もバッファ室237と同様にウエハと隣接する位置に同一ピッチでガスを供給する供給孔であるガス供給孔248cを有し、下部ではガス供給管232bが接続されている。 Similarly to the
ガス供給孔248cの開口面積はバッファ室237と処理室201の差圧が小さい場合には、上流側から下流側まで同一の開口面積で同一の開口ピッチとすると良いが、差圧が大きい場合には上流側から下流側に向かって開口面積を大きくするか開口ピッチを小さくすると良い。 When the differential pressure between the
反応管203内の中央部には複数枚のウエハ200を多段に同一間隔で鉛直方向に載置するボート217が設けられており、このボート217は図中省略のボートエレベータ機構により反応管203に出入りできるようになっている。また処理の均一性を向上するためにボート217を回転するための回転手段であるボート回転機構267が設けてあり、ボート回転機構267を回転することにより、石英キャップ218に保持されたボート217を回転するようになっている。 At the center of the
制御手段であるコントローラ321は、マスフローコントローラ241a、241b、バルブ243a、243b、243c、243d、ヒータ207、真空ポンプ246、ボート回転機構267、図中省略のボート昇降機構、高周波電源273、整合器272に接続されており、マスフローコントローラ241a、241bの流量調整、バルブ243a、243b、243cの開閉動作、バルブ243dの開閉及び圧力調整動作、ヒータ207温度調節、真空ポンプ246の起動・停止、ボート回転機構267の回転速度調節、ボート昇降機構の昇降動作制御、高周波電極273の電力供給制御、整合器272によるインピーダンス制御が行われる。 The
次にALD法による成膜例について、DCS及びNH3ガスを用いてSiN膜を成膜する例で説明する。Next, an example of film formation by the ALD method will be described using an example of forming an SiN film using DCS and NH3 gas.
まず成膜しようとするウエハ200をボート217に装填し、処理炉202に搬入する。搬入後、次の3つのステップを順次実行する。 First, a
[ステップ1]
ステップ1では、プラズマ励起の必要なNH3ガスと、プラズマ励起の必要のないDCSガスとを併行して流す。まずガス供給管232aに設けたバルブ243a、及びガス排気管231に設けたバルブ243dを共に開けて、ガス供給管232aからマスフローコントローラ243aにより流量調整されたNH3ガスをノズル233のガス供給孔248bからバッファ室237へ噴出し、棒状電極269及び棒状電極270間に高周波電源273から整合器272を介して高周波電力を印加してNH3をプラズマ励起し、活性種として処理室201に供給しつつガス排気管231から排気する。NH3ガスをプラズマ励起することにより活性種として流すときは、バルブ243dを適正に調整して処理室201内圧力を10〜100Paとする。マスフローコントローラ241aで制御するNH3の供給流量は1000〜10000sccmである。NH3をプラズマ励起することにより得られた活性種にウエハ200を晒す時間は2〜120秒間である。このときのヒータ207温度はウエハが500〜600℃になるよう設定してある。NH3は反応温度が高いため、上記ウエハ温度では反応しないので、プラズマ励起することにより活性種としてから流すようにしており、このためウエハ温度は設定した低い温度範囲のままで行える。[Step 1]
In Step 1, NH3 gas that requires plasma excitation and DCS gas that does not require plasma excitation are caused to flow in parallel. First, the
このNH3をプラズマ励起することにより活性種として供給しているとき、ガス供給管232bの上流側のバルブ243bを開け、下流側のバルブ243cを閉めて、DCSも流すようにする。これによりバルブ243b、243c間に設けたガス溜め247にDCSを溜める。このとき、処理室201内に流しているガスはNH3をプラズマ励起することにより得られた活性種であり、DCSは存在しない。したがって、NH3は気相反応を起こすことはなく、プラズマにより励起され活性種となったNH3はウエハ200上の下地膜と表面反応する。When this NH3 is supplied as an active species by plasma excitation, the
[ステップ2]
ステップ2では、ガス供給管232aのバルブ243aを閉めて、NH3の供給を止めるが、引続きガス溜め247へ供給を継続する。ガス溜め247に所定圧、所定量のDCSが溜まったら上流側のバルブ243bも閉めて、ガス溜め247にDCSを閉じ込めておく。また、ガス排気管231のバルブ243dは開いたままにし真空ポンプ246により、処理室201を20Pa以下に排気し、残留NH3を処理室201から排除する。この際に、バルブ243eを開き、バッファ室237、ノズル233およびガス供給管232aのバルブ243aの下流側をガス排気管238により排気する。また、ガス排気管238によりバッファ室237、ノズル233およびガス供給管232aのバルブ243aの下流側を排気した後に、N2等の不活性ガスを、ガス供給管232aおよびノズル233から処理室201に供給すると、更に残留NH3を排除する効果が高まる。ガス溜め247内には、圧力が20000Pa以上になるようにDCSを溜める。また、ガス溜め247と処理室201との間のコンダクタンスが1.5×10−3m3/s以上になるように装置を構成する。また、反応管203の容積とこれに対する必要なガス溜め247の容積との比として考えると、反応管203の容積1001(リットル)の場合においては、100〜300ccであることが好ましく、容積比としてはガス溜め247は反応室容積の1/1000〜3/1000倍とすることが好ましい。[Step 2]
In Step 2, the
[ステップ3]
ステップ3では、処理室201の排気が終わったらガス排気管231のバルブ243cを閉じて排気を止める。また、ガス排気管238のバルブ243eも閉じる。ガス供給管232bの下流側のバルブ243cを開く。これによりガス溜め247に溜められたDCSが処理室201に一気に供給される。このときガス排気管231のバルブ243dが閉じられているので、処理室201内の圧力は急激に上昇して約931Pa(7Torr)まで昇圧される。DCSを供給するための時間は2〜4秒設定し、その後上昇した圧力雰囲気中に晒す時間を2〜4秒に設定し、合計6秒とした。このときのウエハ温度はNH3の供給時と同じく、500〜600℃である。DCSの供給により、下地膜上のNH3とDCSとが表面反応して、ウエハ200上にSiN膜が成膜される。成膜後、バルブ243cを閉じ、バルブ243dを開けて処理室201を真空排気し、残留するDCSの成膜に寄与した後のガスを排除する。また、この時にはN2等の不活性ガスを処理室201に供給すると、更に残留するDCSの成膜に寄与した後のガスを処理室201から排除する効果が高まる。またバルブ243bを開いてガス溜め247へのDCSの供給を開始する。[Step 3]
In step 3, when the exhaust of the
上記ステップ1〜3を1サイクルとし、このサイクルを複数回繰り返すことによりウエハ上に所定膜厚のSiN膜を成膜する。 Steps 1 to 3 are defined as one cycle, and this cycle is repeated a plurality of times to form a SiN film having a predetermined thickness on the wafer.
なお、ALD装置では、ガスは下地膜表面に吸着する。このガスの吸着量は、ガスの圧力、及びガスの暴露時間に比例する。よって、希望する一定量のガスを、短時間で吸着させるためには、ガスの圧力を短時間で大きくする必要がある。この点で、本実施例では、バルブ243dを閉めたうえで、ガス溜め247内に溜めたDCSを瞬間的に供給しているので、処理室201内のDCSの圧力を急激に上げることができ、希望する一定量のガスを瞬間的に吸着させることができる。 In the ALD apparatus, gas is adsorbed on the surface of the base film. The amount of gas adsorption is proportional to the gas pressure and the gas exposure time. Therefore, in order to adsorb a desired amount of gas in a short time, it is necessary to increase the gas pressure in a short time. In this regard, in this embodiment, since the DCS stored in the
また、本実施例では、ガス溜め247にDCSを溜めている間に、ALD法で必要なステップであるNH3ガスをプラズマ励起することにより活性種として供給、及び処理室201の排気をしているので、DCSを溜めるための特別なステップを必要としない。また、処理室201内を排気してNH3ガスを除去しているからDCSを流すので、両者はウエハ200に向かう途中で反応しない。供給されたDCSは、ウエハ200に吸着しているNH3とのみ有効に反応させることができる。Further, in this embodiment, while DCS is stored in the
次に、図4、図5を参照して本発明が好適に適用される基板処理装置の一例である半導体製造装置についての概略を説明する。 Next, an outline of a semiconductor manufacturing apparatus which is an example of a substrate processing apparatus to which the present invention is suitably applied will be described with reference to FIGS.
筐体101内部の前面側には、図示しない外部搬送装置との間で基板収納容器としてのカセット100の授受を行う保持具授受部材としてのカセットステージ105が設けられ、カセットステージ105の後側には昇降手段としてのカセットエレベータ115が設けられ、カセットエレベータ115には搬送手段としてのカセット移載機114が取りつけられている。又、カセットエレベータ115の後側には、カセット100の載置手段としてのカセット棚109が設けられると共にカセットステージ105の上方にも予備カセット棚110が設けられている。予備カセット棚110の上方にはクリーンユニット118が設けられクリーンエアを筐体101の内部を流通させるように構成されている。 A
筐体101の後部上方には、処理炉202が設けられ、処理炉202の下方には基板としてのウエハ200を水平姿勢で多段に保持する基板保持手段としてのボート217を処理炉202に昇降させる昇降手段としてのボートエレベータ121が設けられ、ボートエレベータ121に取りつけられた昇降部材122の先端部には蓋体としてのシールキャップ219が取りつけられボート217を垂直に支持している。ボートエレベータ121とカセット棚109との間には昇降手段としての移載エレベータ113が設けられ、移載エレベータ113には搬送手段としてのウエハ移載機112が取りつけられている。又、ボートエレベータ121の横には、開閉機構を持ち処理炉202の下面を塞ぐ遮蔽部材としての炉口シャッタ116が設けられている。 A
ウエハ200が装填されたカセット100は、図示しない外部搬送装置からカセットステージ105にウエハ200が上向き姿勢で搬入され、ウエハ200が水平姿勢となるようカセットステージ105で90°回転させられる。更に、カセット100は、カセットエレベータ115の昇降動作、横行動作及びカセット移載機114の進退動作、回転動作の協働によりカセットステージ105からカセット棚109又は予備カセット棚110に搬送される。 The
カセット棚109にはウエハ移載機112の搬送対象となるカセット100が収納される移載棚123があり、ウエハ200が移載に供されるカセット100はカセットエレベータ115、カセット移載機114により移載棚123に移載される。 The
カセット100が移載棚123に移載されると、ウエハ移載機112の進退動作、回転動作及び移載エレベータ113の昇降動作の協働により移載棚123から降下状態のボート217にウエハ200を移載する。 When the
ボート217に所定枚数のウエハ200が移載されるとボートエレベータ121によりボート217が処理炉202に挿入され、シールキャップ219により処理炉202が気密に閉塞される。気密に閉塞された処理炉202内ではウエハ200が加熱されると共に処理ガスが処理炉202内に供給され、ウエハ200に処理がなされる。 When a predetermined number of
ウエハ200への処理が完了すると、ウエハ200は上記した作動の逆の手順により、ボート217から移載棚123のカセット100に移載され、カセット100はカセット移載機114により移載棚123からカセットステージ105に移載され、図示しない外部搬送装置により筐体101の外部に搬出される。尚、炉口シャッタ116は、ボート217が降下状態の際に処理炉202の下面を塞ぎ、外気が処理炉202内に巻き込まれるのを防止している。 When the processing on the
カセット移載機114等の搬送動作は、搬送制御手段124により制御される。 The transport operation of the
100…カセット
112…ウエハ移載機
114…カセット移載機
121…ボートエレベータ
200…ウエハ
201…処理室
202…処理炉
203…反応管
207…ヒータ
208…断熱部材
217…ボート
218…石英キャップ
219…シールキャップ
220…Oリング
224…プラズマ生成領域
231…ガス排気管
232a…ガス供給管
232b…ガス供給管
233…ノズル
237…バッファ室
238…ガス排気管
241a…マスフローコントローラ
241b…マスフローコントローラ
243a…バルブ
243b…バルブ
243c…バルブ
243d…バルブ
243e…バルブ
246…真空ポンプ
247…ガス溜め
248a…ガス供給孔
248b…ガス供給孔
248c…ガス供給孔
249…ガス供給部
267…ボート回転機構
269…棒状電極
270…棒状電極
272…整合器
273…高周波電源
275…電極保護管
321…コントローラDESCRIPTION OF
203 ...
| Application Number | Priority Date | Filing Date | Title |
|---|---|---|---|
| JP2004048551AJP2005243737A (en) | 2004-02-24 | 2004-02-24 | Substrate processing equipment |
| Application Number | Priority Date | Filing Date | Title |
|---|---|---|---|
| JP2004048551AJP2005243737A (en) | 2004-02-24 | 2004-02-24 | Substrate processing equipment |
| Publication Number | Publication Date |
|---|---|
| JP2005243737Atrue JP2005243737A (en) | 2005-09-08 |
| Application Number | Title | Priority Date | Filing Date |
|---|---|---|---|
| JP2004048551AWithdrawnJP2005243737A (en) | 2004-02-24 | 2004-02-24 | Substrate processing equipment |
| Country | Link |
|---|---|
| JP (1) | JP2005243737A (en) |
| Publication number | Priority date | Publication date | Assignee | Title |
|---|---|---|---|---|
| JP2008205151A (en)* | 2007-02-20 | 2008-09-04 | Hitachi Kokusai Electric Inc | Substrate processing equipment |
| US8232217B2 (en) | 2007-07-19 | 2012-07-31 | Fujitsu Semiconductor Limited | Film deposition apparatus, method of manufacturing a semiconductor device, and method of coating the film deposition apparatus |
| JP2018085393A (en)* | 2016-11-21 | 2018-05-31 | 東京エレクトロン株式会社 | Substrate processing apparatus, injector, and substrate processing method |
| CN108671667A (en)* | 2018-06-29 | 2018-10-19 | 成都易态科技有限公司 | It is a kind of to discharge gas for external environment to realize the device of equipment release |
| JP2018186235A (en)* | 2017-04-27 | 2018-11-22 | 東京エレクトロン株式会社 | Substrate processing device, method for removing particles in injector and substrate processing method |
| Publication number | Priority date | Publication date | Assignee | Title |
|---|---|---|---|---|
| JP2008205151A (en)* | 2007-02-20 | 2008-09-04 | Hitachi Kokusai Electric Inc | Substrate processing equipment |
| US8232217B2 (en) | 2007-07-19 | 2012-07-31 | Fujitsu Semiconductor Limited | Film deposition apparatus, method of manufacturing a semiconductor device, and method of coating the film deposition apparatus |
| JP2018085393A (en)* | 2016-11-21 | 2018-05-31 | 東京エレクトロン株式会社 | Substrate processing apparatus, injector, and substrate processing method |
| JP2018186235A (en)* | 2017-04-27 | 2018-11-22 | 東京エレクトロン株式会社 | Substrate processing device, method for removing particles in injector and substrate processing method |
| CN108671667A (en)* | 2018-06-29 | 2018-10-19 | 成都易态科技有限公司 | It is a kind of to discharge gas for external environment to realize the device of equipment release |
| Publication | Publication Date | Title |
|---|---|---|
| JP4734317B2 (en) | Substrate processing method and substrate processing apparatus | |
| JP4354987B2 (en) | Substrate processing equipment | |
| JP4951501B2 (en) | Substrate processing apparatus and semiconductor device manufacturing method | |
| KR100961594B1 (en) | Substrate processing apparatus | |
| JP5568212B2 (en) | Substrate processing apparatus, coating method therefor, substrate processing method, and semiconductor device manufacturing method | |
| JP4361932B2 (en) | Substrate processing apparatus and semiconductor device manufacturing method | |
| JP4516969B2 (en) | Substrate processing apparatus and semiconductor device manufacturing method | |
| JP2012114200A (en) | Substrate processing apparatus | |
| JP4242733B2 (en) | Manufacturing method of semiconductor device | |
| JP4566787B2 (en) | Substrate processing apparatus and semiconductor device manufacturing method | |
| JP2005243737A (en) | Substrate processing equipment | |
| JP4938805B2 (en) | Substrate processing equipment | |
| JP4267434B2 (en) | Substrate processing equipment | |
| JP4509697B2 (en) | Substrate processing equipment | |
| JP4434807B2 (en) | Manufacturing method of semiconductor device | |
| JP2005167027A (en) | Substrate processing equipment | |
| JP2011035191A (en) | Substrate treatment device | |
| JP2005277264A (en) | Substrate processing apparatus | |
| JP2005251775A (en) | Substrate processing equipment | |
| JP4936497B2 (en) | Substrate processing apparatus and substrate processing method | |
| JP2006269532A (en) | Manufacturing method of semiconductor device | |
| JP2006261441A (en) | Substrate processing equipment | |
| JP2006066593A (en) | Substrate processing equipment | |
| JP2006013204A (en) | Substrate processing device | |
| JP2006216612A (en) | Substrate processing equipment |
| Date | Code | Title | Description |
|---|---|---|---|
| A621 | Written request for application examination | Free format text:JAPANESE INTERMEDIATE CODE: A621 Effective date:20070221 | |
| A761 | Written withdrawal of application | Free format text:JAPANESE INTERMEDIATE CODE: A761 Effective date:20080325 |