







この発明は、基板の周縁部を処理するための基板処理装置および基板処理方法に関する。処理対象の基板には、半導体ウエハ、液晶表示装置用ガラス基板、プラズマディスプレイパネル用ガラス基板、光ディスク用基板、磁気ディスク用基板、光磁気ディスク用基板、およびフォトマスク用基板などの各種の基板が含まれる。 The present invention relates to a substrate processing apparatus and a substrate processing method for processing a peripheral portion of a substrate. The substrates to be processed include various substrates such as semiconductor wafers, glass substrates for liquid crystal display devices, glass substrates for plasma display panels, optical disk substrates, magnetic disk substrates, magneto-optical disk substrates, and photomask substrates. included.
半導体装置の製造工程においては、半導体ウエハ(以下、単に「ウエハ」という。)の表面および周端面(場合によってはさらに裏面)の全域に銅薄膜などの金属薄膜を形成した後、この金属薄膜の不要部分をエッチング除去する処理が行われる場合がある。たとえば、配線形成のための銅薄膜は、ウエハの表面の素子形成領域に形成されていればよいから、ウエハの表面の周縁部(たとえば、ウエハの周端から幅5mm程度の部分)、裏面および周端面に形成された銅薄膜は不要となる。そればかりでなく、周縁部、裏面および周端面の銅または銅イオンは、基板処理装置に備えられた基板搬送ロボットのハンドを汚染し、さらにこの汚染が当該ハンドによって保持される別の基板へと転移するという問題を引き起こす。 In the manufacturing process of a semiconductor device, a metal thin film such as a copper thin film is formed over the entire surface of a semiconductor wafer (hereinafter simply referred to as “wafer”) and the peripheral end surface (in some cases, the back surface). In some cases, unnecessary portions are removed by etching. For example, since the copper thin film for wiring formation only needs to be formed in the element formation region on the front surface of the wafer, the peripheral portion of the front surface of the wafer (for example, a portion having a width of about 5 mm from the peripheral edge of the wafer), the back surface and The copper thin film formed on the peripheral end surface is not necessary. In addition, copper or copper ions on the peripheral edge, back surface, and peripheral edge surface contaminate the hand of the substrate transfer robot provided in the substrate processing apparatus, and further, this contamination is transferred to another substrate held by the hand. Causes the problem of metastasis.
同様の理由から、基板周縁に形成された金属膜以外の膜(酸化膜や窒化膜など)を薄くエッチングすることによって、その表面の金属汚染物(金属イオンを含む)を除去するための処理が行われることがある。
ウエハの周縁部および周端部の薄膜を選択的にエッチングするための基板周縁処理装置は、たとえば、ウエハを水平に保持して回転するスピンチャックと、このスピンチャックの上方においてウエハ上の空間を制限する遮断板と、ウエハの下面にエッチング液を供給するエッチング液供給ノズルとを含む。ウエハの下面に供給されたエッチング液は、遠心力によってウエハの下面を伝わってその回転半径方向外方へと向かい、ウエハの端面を伝ってその上面に回り込み、このウエハの上面の周縁部の不要物をエッチングする。このとき、遮断板は、ウエハの上面に近接して配置され、この遮断板とウエハとの間には、窒素ガス等の不活性ガスが供給される。For the same reason, there is a process for removing metal contaminants (including metal ions) on the surface by thinly etching a film (such as an oxide film or a nitride film) other than the metal film formed on the periphery of the substrate. Sometimes done.
A substrate peripheral edge processing apparatus for selectively etching a thin film at the peripheral edge and peripheral edge of a wafer includes, for example, a spin chuck that rotates while holding the wafer horizontally, and a space on the wafer above the spin chuck. A blocking plate for limiting, and an etchant supply nozzle for supplying an etchant to the lower surface of the wafer. The etching solution supplied to the lower surface of the wafer travels outward in the rotational radial direction along the lower surface of the wafer by centrifugal force, travels to the upper surface through the end surface of the wafer, and the peripheral portion of the upper surface of the wafer is unnecessary. Etch things. At this time, the shielding plate is disposed close to the upper surface of the wafer, and an inert gas such as nitrogen gas is supplied between the shielding plate and the wafer.
この不活性ガスの流量やスピンチャックの回転数を適切に調整することによって、エッチング液の回り込み量を調整できるので、ウエハ上面の周縁部の所定幅(たとえば1〜7mm)の領域を選択的にエッチング処理することができる(いわゆるベベルエッチング処理)。
スピンチャックによってウエハが保持されて回転されている期間に、ウエハの下面からエッチング液が供給されることにより、ウエハの上面の周縁部の不要物がエッチング除去され、その後は、ウエハの上下面に対して純水リンス処理が行われた後、スピンチャックが高速回転されて、ウエハの上下面の水滴を振り切る乾燥処理が行われる。
While the wafer is held and rotated by the spin chuck, an etching solution is supplied from the lower surface of the wafer, so that unnecessary materials on the peripheral edge of the upper surface of the wafer are removed by etching. On the other hand, after the pure water rinsing process is performed, the spin chuck is rotated at a high speed, and a drying process is performed to shake off water droplets on the upper and lower surfaces of the wafer.
ところが上述のような構成では、エッチング液の回り込み量を正確に制御することができず、そのため、エッチング幅精度があまり良くなく、ウエハの周縁部の各部でエッチング幅が不均一になるという問題がある。
すなわち、ウエハの上面と遮断板との距離が遠いときには、エッチング液は遮断板に接触しないから、ウエハ上面への回り込み量が少なく、また回り込み量の制御を正確に行うことができない。さらに、この場合には、ウエハ上面と遮断板との間の空間と外部空間との間の連通空間が大きいから、外部からのエッチング液の雰囲気または飛散した液滴または霧もしくは蒸気(いわゆるミスト)がウエハ表面の中央部のデバイス形成領域に侵入するという問題もある。However, in the configuration as described above, it is impossible to accurately control the amount of the etching solution circulated, so that the etching width accuracy is not so good, and the etching width becomes uneven at each peripheral portion of the wafer. is there.
That is, when the distance between the upper surface of the wafer and the shielding plate is long, the etching solution does not contact the shielding plate, so that the amount of wraparound to the wafer upper surface is small and the wraparound amount cannot be accurately controlled. Further, in this case, since the communication space between the upper surface of the wafer and the shielding plate and the external space is large, the atmosphere of the etchant from the outside, the scattered droplets, mist or vapor (so-called mist) There is also a problem that the device enters the device formation region at the center of the wafer surface.
一方、ウエハ上面と遮断板との距離が近いときには、ウエハ上面に回り込んだエッチング液が遮断板の下面(平面)に接触するから、エッチング液の回り込み量が大きくなり、その回り込み量の制御を正確に行うことができない。
このように、いずれの場合にも、エッチング液の回り込み量を正確に制御することができない。On the other hand, when the distance between the upper surface of the wafer and the shielding plate is short, the etching solution that has entered the upper surface of the wafer comes into contact with the lower surface (plane) of the shielding plate. It cannot be done accurately.
As described above, in any case, the amount of the etching solution cannot be accurately controlled.
そこで、この発明の目的は、基板表面の周縁部の処理幅を正確に制御することができる基板周縁処理装置および基板周縁処理方法を提供することである。 SUMMARY OF THE INVENTION An object of the present invention is to provide a substrate peripheral processing apparatus and a substrate peripheral processing method that can accurately control the processing width of the peripheral portion of the substrate surface.
上記の目的を達成するための請求項1記載の発明は、基板(W)の周縁部の表面にエッチング液を供給して、この周縁部の表面の不要物をエッチング除去する基板周縁処理装置であって、上記基板の周縁部にエッチング液を供給するエッチング液供給手段(4,5,7)と、上記基板の周縁部の表面に対して、この周縁部の表面に形成された上記エッチング液の液膜(50)に接触することができる所定の隙間をもって近接するように配置され、基板の外周縁上またはそれよりも内側に内周縁を有し、基板の周縁部の表面におけるエッチング液による処理幅を規定する環状部材(32,61)と、この環状部材の内側の空間を閉塞する蓋部材(31)と、この蓋部材および環状部材によって包囲された空間に気体を供給する気体供給手段(24,26,30,18,19)と、上記蓋部材および環状部材によって包囲された空間と外側の空間とを連通させる気体流通路(36,63,75)とを含むことを特徴とする基板周縁処理装置である。なお、括弧内の英数字は後述の実施形態における対応構成要素等を表す。以下、この項において同じ。 The invention according to claim 1 for achieving the above object is a substrate peripheral processing apparatus for supplying an etching solution to the surface of the peripheral portion of the substrate (W) and etching away unnecessary materials on the surface of the peripheral portion. Etching solution supply means (4, 5, 7) for supplying an etching solution to the peripheral portion of the substrate, and the etching solution formed on the surface of the peripheral portion with respect to the surface of the peripheral portion of the substrate The liquid film (50) is arranged so as to be close to each other with a predetermined gap, and has an inner peripheral edge on or inside the outer peripheral edge of the substrate. Annular members (32, 61) for defining the processing width, a lid member (31) for closing the space inside the annular member, and a gas supply means for supplying gas to the space surrounded by the lid member and the annular member (2 , 26, 30, 18, 19) and a gas flow passage (36, 63, 75) for communicating the space surrounded by the lid member and the annular member with the outer space. It is a processing device. The alphanumeric characters in parentheses indicate corresponding components in the embodiments described later. The same applies hereinafter.
この構成によれば、基板の周縁部の表面に対して、所定の隙間をもって環状部材が配置され、この環状部材は、基板の外周縁上またはそれよりも内側に内周縁を有していて、基板の周縁部の表面におけるエッチング処理幅を規定する。すなわち、エッチング液供給手段から供給されたエッチング液は、基板の表面の周縁部に液膜を形成するが、この液膜に環状部材が接触することによって、環状部材の内周縁付近でエッチング液が規制され、エッチング液が基板の内方の領域に侵入することを抑制できる。このようにして、基板の周縁部を良好な精度の処理幅でエッチング処理することができる。 According to this configuration, the annular member is disposed with a predetermined gap with respect to the surface of the peripheral edge portion of the substrate, and the annular member has an inner peripheral edge on the inner peripheral edge of the substrate or on the inner side thereof. The etching processing width on the surface of the peripheral edge of the substrate is defined. That is, the etching solution supplied from the etching solution supply means forms a liquid film on the peripheral portion of the surface of the substrate. When the annular member comes into contact with the liquid film, the etching solution is formed near the inner peripheral edge of the annular member. It is regulated and the etching solution can be prevented from entering the inner region of the substrate. In this way, the peripheral edge of the substrate can be etched with a processing width with good accuracy.
また、環状部材の内側の空間は、蓋部材によって閉塞されているため、環状部材の外方の空間に存在するエッチング液の液滴またはミストが環状部材を越えて基板の中央領域に至ることがないので、基板の中央領域に損傷を与えることなく、その周縁部の表面を良好に処理することができる。しかも、環状部材と基板の周縁の表面との間は液膜によって封止されていて、環状部材の外部の液滴またはミストが環状部材と基板の周縁部の表面との隙間を通って基板の内方の領域に至ることを抑制できる。よって、基板の内方の領域を保護できる。 Further, since the space inside the annular member is closed by the lid member, the droplet or mist of the etching solution existing in the space outside the annular member may pass through the annular member and reach the central region of the substrate. Therefore, the surface of the peripheral portion can be satisfactorily processed without damaging the central region of the substrate. Moreover, the annular member and the peripheral surface of the substrate are sealed with a liquid film, and droplets or mist outside the annular member pass through the gap between the annular member and the peripheral surface of the substrate. It is possible to suppress reaching the inner region. Thus, the inner area of the substrate can be protected.
そして環状部材および蓋部材によって包囲された空間には、気体供給手段からの気体が供給され、さらに、この空間内の気体は気体流通路を通って外部へと流出するようになっている。これにより、環状部材および蓋部材によって包囲された空間内の気体を、気体供給手段から供給される気体に置換することができる。その結果、上記空間内にエッチング液の雰囲気が滞留し、たとえば、環状部材の内周縁の付近において基板上に不所望な腐食が生じるなどという不具合を回避できる。 The space surrounded by the annular member and the lid member is supplied with gas from the gas supply means, and the gas in this space flows out to the outside through the gas flow passage. Thereby, the gas in the space surrounded by the annular member and the lid member can be replaced with the gas supplied from the gas supply means. As a result, it is possible to avoid the problem that the atmosphere of the etching solution stays in the space and undesired corrosion occurs on the substrate in the vicinity of the inner peripheral edge of the annular member.
しかも、上記空間に供給された気体は気体流通路を通って外部へと流出するのであるから、環状部材の内側の気圧が外側の気圧に比べて高くなりすぎて基板の周縁部の表面に形成されたエッチング液の液膜が破れるなどということがなく、基板の周縁部の全周において良好なエッチング処理を行うことができる。
上記蓋部材は、上記環状部材と一体化されていてもよいし、上記環状部材とは別の部材であってもよい。Moreover, since the gas supplied to the space flows out to the outside through the gas flow passage, the pressure inside the annular member becomes too high compared to the pressure outside the annular member, and is formed on the surface of the peripheral portion of the substrate. The liquid film of the etched etching solution is not torn, and a good etching process can be performed on the entire periphery of the peripheral portion of the substrate.
The lid member may be integrated with the annular member, or may be a member different from the annular member.
上記基板は半導体ウエハ等のほぼ円形の基板であってもよいし、液晶表示装置用ガラス基板のような角形の基板であってもよい。
環状部材の内周縁は、基板の外周縁に対応する形状を有することになるから、ほぼ円形の基板を処理するときにはほぼ円形形状を有し、角形の基板を処理するときには角形の形状を有することになる。The substrate may be a substantially circular substrate such as a semiconductor wafer, or may be a square substrate such as a glass substrate for a liquid crystal display device.
Since the inner peripheral edge of the annular member has a shape corresponding to the outer peripheral edge of the substrate, it has a substantially circular shape when processing a substantially circular substrate, and has a rectangular shape when processing a rectangular substrate. become.
上記気体流通路は、上記環状部材に形成されていてもよいし、上記蓋部材に形成されていてもよい。
請求項2記載の発明は、上記基板を一方表面側から保持する基板保持手段(1)をさらに備え、上記蓋部材および環状部材は、上記基板の他方表面側に配置されていることを特徴とする請求項1記載の基板周縁処理装置である。The gas flow passage may be formed in the annular member or may be formed in the lid member.
The invention described in
この発明によれば、基板保持手段によって基板を一方表面側から保持する一方で、蓋部材および環状部材を他方表面側に配置して基板の周縁部を処理することができる。
たとえば、上記基板保持手段は、基板を下方から保持するものであって、上記環状部材が基板の上面側に近接して配置されるようになっていてもよい。
請求項3に記載のように、上記蓋部材は、上記基板保持手段に保持された基板に対して相対回転可能に設けられていることを特徴とする請求項2記載の基板周縁処理装置であってもよい。According to the present invention, the substrate can be held from the one surface side by the substrate holding means, and the peripheral portion of the substrate can be processed by arranging the lid member and the annular member on the other surface side.
For example, the substrate holding means may hold the substrate from below, and the annular member may be disposed close to the upper surface side of the substrate.
The substrate peripheral processing apparatus according to
また、請求項4に記載のように、上記環状部材は、上記基板保持手段に保持された基板に対して相対回転可能に設けられていることを特徴とする請求項2または3記載の基板周縁処理装置であってもよい。
基板がほぼ円形の基板である場合には、上記基板周縁処理装置は、この基板を回転させる基板回転手段(1,2)をさらに含むことが好ましい。そして、上記環状部材の内周縁は、基板の直径以下の内径を有する円形形状を有していることが好ましい。たとえば、基板回転手段は、基板を保持する基板保持手段(1)と、この基板保持手段を回転させる回転駆動機構(2)とを含むものであってもよい。4. The substrate periphery according to
When the substrate is a substantially circular substrate, the substrate peripheral edge processing apparatus preferably further includes substrate rotating means (1, 2) for rotating the substrate. And it is preferable that the inner periphery of the said annular member has a circular shape which has an internal diameter below the diameter of a board | substrate. For example, the substrate rotating means may include a substrate holding means (1) that holds the substrate and a rotation drive mechanism (2) that rotates the substrate holding means.
上記環状部材は、基板の回転と同期して(すなわち基板と回転方向および回転速度が同じであるように)回転駆動されてもよいが、この環状部材は、静止状態に保たれてもよいし、基板の回転速度とは異なる回転速度で回転されてもよい。このように、基板と環状部材とを相対的に回転させれば、基板と環状部材との相対位置を変化させることができるから、同期回転している場合に比べて、基板の周縁部におけるエッチング処理を平均化させることができる。また、基板の周縁部に接触する液膜を構成するエッチング液を撹拌して新液への置換を促進できるから、エッチング液の能力を維持でき、基板の周縁部の処理を効率的に行える。 The annular member may be driven to rotate in synchronization with the rotation of the substrate (that is, the rotation direction and the rotation speed of the substrate are the same), but the annular member may be kept stationary. The substrate may be rotated at a rotational speed different from the rotational speed of the substrate. As described above, if the substrate and the annular member are relatively rotated, the relative position between the substrate and the annular member can be changed. Processing can be averaged. Moreover, since the etching liquid which comprises the liquid film which contacts the peripheral part of a board | substrate can be stirred and substitution to a new liquid can be accelerated | stimulated, the capability of an etching liquid can be maintained and the process of the peripheral part of a board | substrate can be performed efficiently.
また、上記基板回転手段によって基板を回転状態としつつ、上記エッチング液供給手段から基板の周縁部にエッチング液が供給されるようにしてもよい。この構成によれば、基板が回転状態とされ、エッチング液供給手段から基板の周縁部にエッチング液が供給される。このとき、基板の周縁部にはエッチング液の液膜が形成されるが、環状部材の働きにより、このエッチング液の液膜が基板の内方の領域へと侵入することが抑制される。 Further, the etching solution may be supplied from the etching solution supply unit to the peripheral portion of the substrate while the substrate is rotated by the substrate rotation unit. According to this configuration, the substrate is rotated, and the etching solution is supplied from the etching solution supply unit to the peripheral portion of the substrate. At this time, a liquid film of the etching solution is formed on the peripheral edge of the substrate, but the action of the annular member prevents the liquid film of the etching solution from entering the inner region of the substrate.
上記環状部材は、上記内周縁から外方に延び、基板の周縁部の表面に対向する基板対向面を有していることが好ましい。この構成によれば、エッチング液の液膜を基板対向面に接触させることができ、この基板対向面と基板の周縁部の表面との間に液膜を存在させることができる。これによって、基板の周縁部の表面の全域にわたってエッチング液の安定な液膜を確実に形成することができるので、より安定で均一なエッチング処理が可能になる。 It is preferable that the annular member has a substrate facing surface that extends outward from the inner peripheral edge and faces the surface of the peripheral edge of the substrate. According to this configuration, the liquid film of the etchant can be brought into contact with the substrate facing surface, and the liquid film can be present between the substrate facing surface and the peripheral surface of the substrate. This makes it possible to reliably form a stable liquid film of the etching liquid over the entire surface of the peripheral edge of the substrate, thereby enabling a more stable and uniform etching process.
上記基板対向面は、基板の周縁部の表面とほぼ平行な面とすれば、さらに安定したエッチング液の液膜を形成することができる。
請求項5記載の発明は、上記気体流通路が上記環状部材に形成されており、上記蓋部材および上記環状部材に包囲された空間内において、上記環状部材における基板との最近接部よりも基板から離れて配置され、上記気体供給手段によって供給される気体を上記気体流通路に向けて整流する整流板(33)をさらに含むことを特徴とする請求項1ないし4のいずれかに記載の基板周縁処理装置である。If the substrate facing surface is a surface substantially parallel to the surface of the peripheral edge of the substrate, a more stable liquid film of an etching solution can be formed.
According to a fifth aspect of the present invention, the gas flow passage is formed in the annular member, and the substrate in the space surrounded by the lid member and the annular member is more than the closest portion of the annular member to the substrate. The substrate according to any one of claims 1 to 4, further comprising a rectifying plate (33) disposed away from the rectifier and rectifying the gas supplied by the gas supply means toward the gas flow passage. It is a peripheral processing apparatus.
この構成によれば、環状部材および蓋部材によって包囲された空間に供給された気体は、整流板によって、環状部材に形成された気体流通路へとスムーズに導かれる。これにより、上記空間内におけるエッチング液雰囲気の滞留を効果的に抑制または防止することができ、基板の中央領域の腐食を効果的に抑制できる。さらに、整流板は、環状部材における基板との最近接部よりも基板から離れて配置されているので、整流板と基板との間にエッチング液の液膜が形成されるなどということがない。また、気体流通路からミストや飛沫が入り込んだとしても、これらを整流板によって受けることができ、基板の中央領域に到達することを抑制できる。これにより、より高品質な基板処理が可能になる。 According to this configuration, the gas supplied to the space surrounded by the annular member and the lid member is smoothly guided to the gas flow passage formed in the annular member by the rectifying plate. Thereby, retention of the etching solution atmosphere in the space can be effectively suppressed or prevented, and corrosion of the central region of the substrate can be effectively suppressed. Furthermore, since the current plate is arranged farther from the substrate than the closest part of the annular member to the substrate, an etching liquid film is not formed between the current plate and the substrate. Moreover, even if mist or splash enters from the gas flow passage, they can be received by the current plate, and can be prevented from reaching the central region of the substrate. Thereby, higher quality substrate processing becomes possible.
請求項6記載の発明は、上記整流板の縁部と上記環状部材の内周面との間には、上記整流板から上記気体流通路へと流れ込む気体によるエジェクタ効果によって上記エッチング液を上記気体流通路へと導くエッチング液通路(39)が形成されていることを特徴とする請求項5記載の基板周縁処理装置である。
この構成によれば、整流板の縁部と環状部材の内周面との間に形成されるエッチング液通路を介して、気体排出路へとエッチング液を引き出すことができる。これにより、環状部材の内周縁から基板の中央部へと入り込もうとするエッチング液を強制的に排除することができる。また、基板の周縁部に接触する液膜を構成するエッチング液の新液への置換を促進できるから、エッチング液の能力を維持でき、基板の周縁部の処理を効率的に行える。According to a sixth aspect of the present invention, the etching solution is provided between the edge of the rectifying plate and the inner peripheral surface of the annular member by the ejector effect caused by the gas flowing from the rectifying plate into the gas flow passage. 6. The substrate edge processing apparatus according to claim 5, wherein an etching solution passage (39) leading to the flow passage is formed.
According to this configuration, the etching liquid can be drawn out to the gas discharge path via the etching liquid passage formed between the edge of the current plate and the inner peripheral surface of the annular member. Thereby, it is possible to forcibly exclude the etchant that tries to enter the central portion of the substrate from the inner peripheral edge of the annular member. In addition, since the replacement of the etchant constituting the liquid film in contact with the peripheral portion of the substrate with a new solution can be promoted, the ability of the etchant can be maintained and the peripheral portion of the substrate can be processed efficiently.
請求項7記載の発明は、上記蓋部材と上記整流板との間に、上記気体流通路に向かうに従って気体通路を狭窄するオリフィスを形成するオリフィス形成部材(32A)をさらに含むことを特徴とする請求項6記載の基板周縁処理装置である。
この構成によれば、オリフィスによって気体が加速されることにより、エジェクタ効果を高めることができるので、基板の中央部にエッチング液が及ぶことをより確実に抑制できるとともに、液膜を構成するエッチング液の新液への置換をさらに促進できる。The invention according to
According to this configuration, since the ejector effect can be enhanced by accelerating the gas by the orifice, it is possible to more reliably suppress the etching solution from reaching the central portion of the substrate, and to form the liquid film. It is possible to further promote the replacement of with a new solution.
請求項8記載の発明は、上記整流板には、その一方表面側と他方表面側との間で気体を流通させる通気孔(46)が形成されていることを特徴とする請求項5ないし7のいずれかに記載の基板周縁処理装置である。
この構成によれば、基板と整流板との間の空間が過度に減圧されることを防止できるので、整流板と基板との間の間隙にエッチング液が侵入することを抑制できる。The invention according to claim 8 is characterized in that the rectifying plate is formed with a vent hole (46) through which gas flows between the one surface side and the other surface side. The substrate peripheral edge processing apparatus according to any one of the above.
According to this configuration, it is possible to prevent the space between the substrate and the rectifying plate from being excessively depressurized, so that it is possible to prevent the etching solution from entering the gap between the rectifying plate and the substrate.
請求項9記載の発明は、基板と上記整流板との間の空間に気体を供給するための気体供給孔(17)が形成されていることを特徴とする請求項5ないし8のいずれかに記載の基板周縁処理装置である。 この構成によっても、基板と整流板との間の空間が過度に減圧されることを防止できるので、整流板と基板との間の間隙にエッチング液が侵入することをさらに抑制できる。 The invention according to claim 9 is characterized in that a gas supply hole (17) for supplying gas to the space between the substrate and the rectifying plate is formed. It is a board | substrate periphery processing apparatus of description. Also with this configuration, it is possible to prevent the space between the substrate and the current plate from being excessively depressurized, so that it is possible to further suppress the etching solution from entering the gap between the current plate and the substrate.
請求項10記載の発明は、上記気体流通路は上記環状部材に形成されており、上記環状部材は、基板に対向する基板対向面において開口するとともに、上記気体流通路と連通した液排出路(73)を有していることを特徴とする請求項1ないし8のいずれかに記載の基板周縁処理装置である。
この構成によれば、基板対向面と基板の周縁部の表面との間のエッチング液を、液排出路を介して環状部材の外方の空間へと排出することができる。すなわち、環状部材に形成された気体流通路を介して気体が流出するときに生じるエジェクタ効果によって、液排出路内が減圧され、基板対向面と基板との間の液膜を形成するエッチング液を吸い出すことができる。これにより、基板の中央領域にエッチング液が入り込むことを抑制でき、また、液膜を構成するエッチング液の新液への置換を促進して、処理の効率化を図ることができる。According to a tenth aspect of the present invention, the gas flow passage is formed in the annular member, and the annular member opens on a substrate facing surface facing the substrate and is connected to the liquid flow passage ( 73) The substrate peripheral edge processing apparatus according to any one of claims 1 to 8, wherein
According to this configuration, the etching liquid between the substrate facing surface and the surface of the peripheral edge portion of the substrate can be discharged to the space outside the annular member via the liquid discharge path. That is, due to the ejector effect that occurs when the gas flows out through the gas flow passage formed in the annular member, the inside of the liquid discharge path is decompressed, and the etching liquid that forms a liquid film between the substrate facing surface and the substrate is removed. Can be sucked out. Thereby, it is possible to prevent the etching liquid from entering the central region of the substrate, and it is possible to promote the replacement of the etching liquid constituting the liquid film with a new liquid and to improve the processing efficiency.
なお、上記液排出路は、環状部材の内周縁近傍で開口するように形成されることが好ましい。
請求項11記載の発明は、上記環状部材は、基板に対向する基板対向面を有し、上記気体流通路は、上記基板対向面に刻設された溝(71)によって形成されていることを特徴とする請求項1ないし4のいずれかに記載の基板周縁処理装置である。この構成によれば、基板対向面に形成された溝によって気体流通路を形成できるので、環状部材の構成を簡単にすることができる。The liquid discharge path is preferably formed so as to open near the inner periphery of the annular member.
According to an eleventh aspect of the present invention, the annular member has a substrate facing surface facing the substrate, and the gas flow path is formed by a groove (71) formed in the substrate facing surface. The substrate peripheral edge processing apparatus according to claim 1, wherein the apparatus is a substrate peripheral edge processing apparatus. According to this configuration, since the gas flow passage can be formed by the groove formed on the substrate facing surface, the configuration of the annular member can be simplified.
上記の溝は、環状部材の基板対向面に、周方向に間隔をあけて複数本形成されていてもよい。この場合に、溝の部分において、基板対向面と基板との間の液膜が分断されるかもしれないが、そのような場合には、基板と環状部材とを相対回転させる構成とすれば、基板の周縁部の全周に対して均一な処理を施すことができる。
上記エッチング液供給手段は、上記周縁部の表面を含む基板の表面とは反対側の面に向けてエッチング液を供給するノズル(5)を含むものであってもよい。この構成によれば、処理対象領域である基板の周縁部の表面とは反対側の表面からエッチング液が供給され、このエッチング液が基板の端面を回り込んで上記周縁部の表面へと導かれ、ここに上記環状部材と協働して安定した液膜を形成することができる。A plurality of the grooves may be formed on the substrate-facing surface of the annular member at intervals in the circumferential direction. In this case, in the groove portion, the liquid film between the substrate facing surface and the substrate may be divided, but in such a case, if the substrate and the annular member are configured to rotate relative to each other, Uniform treatment can be performed on the entire circumference of the peripheral edge of the substrate.
The etching solution supply means may include a nozzle (5) that supplies the etching solution toward a surface opposite to the surface of the substrate including the surface of the peripheral edge. According to this configuration, the etching solution is supplied from the surface opposite to the surface of the peripheral portion of the substrate, which is the processing target region, and the etching solution travels around the end surface of the substrate and is guided to the surface of the peripheral portion. Here, a stable liquid film can be formed in cooperation with the annular member.
上記反対側の表面に供給されたエッチング液を上記周縁部の表面に導くためには、基板を回転させて、上記ノズルから供給されたエッチング液を遠心力により基板の端面へと導くことが好ましい。また、上記基板が円形基板の場合に、上記基板の周縁部の表面へのエッチング液の供給がより良好に行える。
上記ノズルは、上記反対側の面の中央部に向けてエッチング液を供給するものであってもよいし、上記反対側の面の周縁部付近に向けてエッチング液を供給するものであってもよい。In order to guide the etching solution supplied to the surface on the opposite side to the surface of the peripheral portion, it is preferable to rotate the substrate and guide the etching solution supplied from the nozzle to the end surface of the substrate by centrifugal force. . Further, when the substrate is a circular substrate, the etching solution can be supplied more favorably to the surface of the peripheral portion of the substrate.
The nozzle may supply an etching solution toward a central portion of the opposite surface, or supply an etching solution toward a peripheral portion of the opposite surface. Good.
上記環状部材は、上記内周縁から、基板の表面から遠ざかる方向に立ち上がる内壁面(47)を有していることが好ましい。この構成により、エッチング液の液膜が環状部材の内壁面の近傍からさらに基板の内方の領域へと侵入することを確実に防止できる。なお、上記内壁面は、鉛直に沿う面であってもよいし、水平に対して傾斜した傾斜面であってもよい。 The annular member preferably has an inner wall surface (47) rising from the inner peripheral edge in a direction away from the surface of the substrate. With this configuration, it is possible to reliably prevent the liquid film of the etching solution from entering the area inside the substrate further from the vicinity of the inner wall surface of the annular member. The inner wall surface may be a surface along the vertical, or an inclined surface inclined with respect to the horizontal.
請求項12記載の発明は、基板(W)の周縁部の表面にエッチング液を供給して、この周縁部の表面の不要物をエッチング除去する基板周縁処理方法であって、上記基板の周縁部にエッチング液を供給するエッチング液供給工程と、上記基板の周縁部の表面に対して、この周縁部の表面に形成された上記エッチング液の液膜に接触することができる所定の隙間をもって近接するように、基板の外周縁上またはそれよりも内側に内周縁を有する環状部材(32,61)を配置し、基板の周縁部の表面におけるエッチング液による処理幅を規定する処理幅規定工程と、上記環状部材の内側の空間を閉塞する蓋部材(31)を配置する工程と、上記蓋部材および環状部材によって包囲された空間に気体を供給する気体供給工程と、上記蓋部材および環状部材によって包囲された空間内の気体を、気体流通路(36,63,75)を介して外部へ排出させる気体排出工程とを含むことを特徴とする基板周縁処理方法である。この方法により、請求項1の発明と同様な効果を達成できる。この方法の発明についても、上述の基板周縁処理装置の場合と同様な変形が可能である。 The invention described in
以下では、この発明の実施の形態を、添付図面を参照して詳細に説明する。
図1は、この発明の一実施形態に係る基板周縁処理装置の構成を説明するための断面図である。この基板周縁処理装置は、ほぼ円形の基板である半導体ウエハ(以下、単に「ウエハ」という。)Wの表面(この実施形態では上面)の周縁部および端面に形成されている薄膜を除去することができるものである。この基板処理周縁装置は、ウエハWをその裏面を下方に向けてほぼ水平に保持するとともに、この保持したウエハWのほぼ中心を通る鉛直軸線回りに回転するスピンチャック1を処理カップ(図示せず)の中に備えている。Hereinafter, embodiments of the present invention will be described in detail with reference to the accompanying drawings.
FIG. 1 is a cross-sectional view for explaining the configuration of a substrate peripheral edge processing apparatus according to an embodiment of the present invention. This substrate peripheral processing apparatus removes a thin film formed on a peripheral portion and an end surface of a surface of a semiconductor wafer (hereinafter simply referred to as “wafer”) W (upper surface in this embodiment) which is a substantially circular substrate. It is something that can be done. This substrate processing peripheral device holds a wafer W substantially horizontally with its back surface facing downward, and also rotates a spin chuck 1 that rotates about a vertical axis passing through the substantially center of the held wafer W (not shown). ).
スピンチャック1は、モータ等を含む回転駆動機構2の駆動軸である回転軸3に結合されて回転されるようになっている。この回転軸3は、中空軸とされていて、その内部には、純水またはエッチング液を供給することができる処理液供給管4が挿通されている。この処理液供給管4の上端には、スピンチャック1に保持されたウエハWの下面中央に近接した位置に吐出口5aを有する中心軸ノズル(固定ノズル)5が結合されており、この中心軸ノズル5の吐出口5aから、ウエハWの下面の中央に向けて、純水またはエッチング液を供給できる。 The spin chuck 1 is coupled to a rotary shaft 3 that is a drive shaft of a
処理液供給管4には、純水供給源に接続された純水供給バルブ6またはエッチング液供給源に接続されたエッチング液供給バルブ7を介して、純水またはエッチング液が所要のタイミングで供給されるようになっている。
エッチング液には、ウエハWの周縁部の表面から除去しようとする薄膜の種類に応じた種類のものが適用される。たとえば、ウエハWの周縁部の表面から銅薄膜等の金属膜を除去するときには、たとえば、塩酸と過酸化水素水との混合液、フッ酸と過酸化水素水との混合液、または硝酸がエッチング液として用いられる。また、ポリシリコン膜、アモルファスシリコン膜またはシリコン酸化膜をウエハWから除去するときには、たとえば、フッ酸と硝酸との混合液がエッチング液として用いられる。さらに、ウエハW上の酸化膜または窒化膜を除去するときには、たとえば、DHF(希フッ酸)や50%フッ酸などのフッ酸類がエッチング液として用いられる。Pure water or etching liquid is supplied to the processing
As the etchant, a type corresponding to the type of thin film to be removed from the peripheral surface of the wafer W is applied. For example, when removing a metal film such as a copper thin film from the peripheral surface of the wafer W, for example, a mixed solution of hydrochloric acid and hydrogen peroxide solution, a mixed solution of hydrofluoric acid and hydrogen peroxide solution, or nitric acid is etched. Used as a liquid. Further, when removing the polysilicon film, the amorphous silicon film or the silicon oxide film from the wafer W, for example, a mixed solution of hydrofluoric acid and nitric acid is used as an etching solution. Further, when removing the oxide film or nitride film on the wafer W, for example, hydrofluoric acid such as DHF (dilute hydrofluoric acid) or 50% hydrofluoric acid is used as an etching solution.
処理液供給管4と回転軸3との間の空間は、プロセスガス供給路8とされており、このプロセスガス供給路8は、中心軸ノズル5の周囲において、ウエハWの下方の空間と連通している。プロセスガス供給路8には、プロセスガス供給源からのプロセスガス(たとえば、窒素等の不活性ガス)が、プロセスガス供給バルブ9を介して供給されるようになっている。 A space between the processing
スピンチャック1の上方には、スピンチャック1に保持されたウエハWに対向する円盤状の遮断板10が水平に設けられている。この遮断板10は、ウエハWの上面のほぼ全域を覆うことができる大きさに形成されていて、遮断板昇降駆動機構11によって、スピンチャック1に対して昇降させることができる。また、遮断板10は、遮断板回転駆動機構としてのモータ12によって、スピンチャック1の回転軸線と同一回転軸線上で回転させることができるようになっている。 Above the spin chuck 1, a disc-shaped
モータ12は、この実施形態では、中空のモータで構成されており、このモータ12によって回転駆動される回転軸13の下端に遮断板10が結合されている。
回転軸13は、中空軸とされていて、その内部には、中心軸ノズル14が挿通されている。この中心軸ノズル14には、純水供給源からの純水を純水供給バルブ15を介して供給することができ、薬液(たとえばエッチング液)液供給源からの薬液を薬液供給バルブ16を介して供給できるようになっている。中心軸ノズル14の下端は、遮断板10の中央に形成された貫通孔17に入り込んで、スピンチャック1に保持されたウエハWの上面の中央(回転中心)に臨んでいる。In this embodiment, the
The rotating
中空軸である回転軸13と中心軸ノズル14との間の隙間は、プロセスガス供給路18を形成しており、このプロセスガス供給路18は、遮断板10の貫通孔17から、ウエハWの上面の中央付近に臨んでいる。プロセスガス供給路18には、プロセスガス供給源からのプロセスガス(たとえば、窒素ガス等の不活性ガス)が、プロセスガス供給バルブ19を介して供給できるようになっている。 A gap between the
モータ12を収容したハウジング20内には、回転軸13を軸支する軸受け21と、遮断板10の内部空間にプロセスガスを供給するためのプロセスガス供給機構22とが設けられている。プロセスガス供給機構22は、回転軸13の外周面に対向するラビリンス面を内周面に有する筒状ラビリンス部材23と、このラビリンス部材23に形成されたプロセスガス供給口23aに結合されたプロセスガス導入路24とを有している。 In the
ラビリンス部材23のラビリンス面において、プロセスガス供給口23aに対応する位置には、環状溝23bが形成されている。この環状溝23bの上下のラビリンス部には、シールガス導入路25から供給されるシールガスが供給されるようになっている。
プロセスガス導入路24には、プロセスガス供給源から、プロセスガス供給バルブ26を介して、プロセスガス(窒素ガス等の不活性ガス)が供給され、シールガス導入路25には、シールガス供給源から、シールガス供給バルブ27を介して、シールガス(乾燥空気等)が供給される。On the labyrinth surface of the
A process gas (inert gas such as nitrogen gas) is supplied from a process gas supply source to the process
ラビリンス部材23の下端付近の内部雰囲気は、吸引口28から吸引されて排気されるようになっていて、プロセスガスまたはシールガスが処理室内に漏れることがないようになっている。
回転軸13は、内軸13Aと、これを取り囲む外軸13Bとの二重軸構造となっており、内軸13Aの下端付近に形成された外向きのフランジ29によって、外軸13B下端が支持されている。外軸13Bには、ラビリンス部材23の環状溝23bに対向する位置に開口するとともに、その肉厚内で軸方向に延びたプロセスガス通路30が形成されている。このプロセスガス通路30は、フランジ29に形成された貫通孔および遮断板10の上蓋部31に形成された貫通孔を経て、遮断板10の内部空間と連通している。The internal atmosphere near the lower end of the
The
プロセスガス導入路24から供給されるプロセスガスは、ラビリンス部材23のラビリンス面において、シールガスによってシールされた状態で、回転軸13のプロセスガス通路30に導かれることになる。
遮断板10は、円板形状の上蓋部31と、この上蓋部31の周縁部においてその下面に結合された環状部材32と、この環状部材32の内方において、上蓋部31に下方から結合された円板状の整流板33とを備えている。上蓋部31、環状部材32および整流板33によって、遮断板10の内部にはガス空間34が区画されている。このガス空間34には、プロセスガス通路30からのプロセスガスが導かれる。The process gas supplied from the process
The blocking
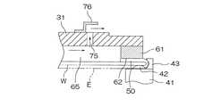
図2は、環状部材32の近傍の構成を説明するための拡大断面図である。処理対象のウエハWは、スピンチャック1に備えられた複数本(たとえば3本)のチャックピン41によって挟持されている。チャックピン41は、ウエハWの下面の周縁部を支持する支持部42と、ウエハWの端面に当接して、このウエハWの水平移動を規制するガイドピン43とを備えている。 FIG. 2 is an enlarged cross-sectional view for explaining the configuration in the vicinity of the
環状部材32は、ガイドピン43よりもウエハWの回転半径方向内方に位置しており、スピンチャック1に保持されたウエハWの上方側において、このウエハWの上面の周縁部に対向している。
環状部材32は、上蓋部31の下面の周縁部に固定された上リング32Aと、この上リング32Aに対向するように、この上リング32Aの下方に設けられた下リング32Bとを有している。上リング32Aと下リング32Bとは、周方向に間隔をあけて配置された複数個(たとえば等角度間隔で12個)の支え部材35によって互いに結合されている。これにより、上リング32Aの下面と下リング32Bの上面との間には、上蓋部31と環状部材32とによって包囲された空間と外側の空間とを連通させるスリット開口状の気体流通路36が形成されている。The
The
下リング32Bは、ウエハWの上面の周縁部の表面に対向するウエハ対向面45と、このウエハ対向面45の内周縁から外方に向けて斜め上方に立ち上がり、気体流通路36に連接した内壁面47と、ウエハ対向面45の外周縁から鉛直上方に立ち上がった外壁面48とを有している。
ウエハ対向面45とウエハWの周縁部との間の隙間には、エッチング液の液膜50が形成され、この液膜50はウエハ対向面45に接触するとともに、ウエハ対向面45の内周縁(内壁面47とウエハ対向面45とが交わる稜線部)によって、それよりもウエハWの内方への移動が規制されることになる。The
An
整流板33は、たとえば、遮断板10の回転中心に対して等角度間隔で複数個(たとえば4個)設けた整流板支え部材37によって、上蓋部31の下面に取り付けられている。この整流板33の下面は、ウエハWの中央部に対向する対向面をなし、下リング32Bのウエハ対向面45よりもウエハWの上面から離れて位置している。整流板33の上面(ウエハWとは反対側の表面)は、気体流通路36と実質的に同一平面内に位置している。そして、整流板33の周端面38は、下リング32Bの内壁面47とほぼ平行な傾斜面をなしている。整流板33の周端面38と下リング32Bの内壁面47とは互いに対向していて、整流板33の上面から気体流通路36へと流れ込むプロセスガスによるエジェクタ効果によって、エッチング液Eを気体流通路36へと導くエッチング液通路39を形成している。 The rectifying
整流板33の周縁部は、気体流通路36の入口の近傍に達し、この入口の下縁付近にその上面が位置している。そのため、気体流通路36を介して外部から処理液の飛沫等が入り込んだとしても、この飛沫等は整流板33の上面で受け止められる。これにより、ウエハWの上面が飛沫等によって汚染されることを抑制または防止できる。
上リング32Aは、その内周面が、回転半径方向外方に向かうに従って整流板33の上面に近接していき、整流板33の周縁部の上面近傍に至る傾斜面からなるオリフィス形成面40となっている。ガス空間34に供給されるプロセスガスは、整流板33によって、回転半径方向外方側へと流れ、気体流通路36へと向かう気流へと整流される。オリフィス形成面40と整流板33の上面との間では、気体流通路36に向かうに従って気体通路が狭窄されるオリフィスが形成されている。これにより、気体流通路36の入口付近において、プロセスガスが加速されることになる。その結果、エッチング液通路39に対するエジェクタ効果が高められ、下リング32Bのウエハ対向面45よりも内方へと入り込もうとするエッチング液は、気体流通路36を介して外部に排出されることになる。これにより、ウエハWの中央領域に対する不所望なエッチングを抑制できる。また、液膜50を構成するエッチング液の新液への置換が促進されるため、液膜50のエッチング能力を維持することができる。これにより、処理効率を高め、処理時間を短縮することができる。The peripheral edge of the rectifying
The
上記のエジェクタ効果に伴って整流板33とウエハWの上面との間の空間が減圧されることを防ぐためには、整流板33の中央付近に、1〜10mm程度の径の通気孔46(図1参照)を形成してもよい。通気孔46は、1個でもよいし複数個でもよい。あるいは、整流板33の中央に形成された貫通孔17から、整流板33とウエハWの上面との間の空間へ、プロセスガス供給路18からのプロセスガスを減圧の度合いに応じた流量で供給するようにしてもよい。さらには、プロセスガス導入路24からのプロセスガスの供給を停止させて、プロセスガス供給路18からのプロセスガスのみを供給するようにしてもよい。 In order to prevent the space between the rectifying
下リング32Bの内周縁は、ウエハWの上面の周縁部の処理対象領域(ウエハWの外周端から3〜5mm内側迄の領域)の内周縁よりも若干外側(たとえば、0.1〜数mm外側。ただし、エッチング液の種類やウエハWの表面状態によって異なる。)に配置されることが好ましい。すなわち、環状部材32の内周縁は、ウエハWの直径よりも短い直径の円形をなすが、さらに、ウエハWの上面の周縁部の処理対象領域の内周縁がなす円の直径よりも若干大きな直径の円形をなしていることが好ましい。 The inner peripheral edge of the
ウエハ対向面45とウエハWの周縁部の表面との間の間隔は、エッチング液の種類やウエハWの表面状態にもよるが、たとえば、0.1〜5.0mm程度(より好ましくは、0.1〜0.2mm程度)とすることが好ましい。
図1に示されているように、スピンチャック1には、円盤状のスピンベース441と、このスピンベース441上に立設されたチャックピン41を作動させるためのチャックピン駆動機構44が備えられている。このチャックピン駆動機構44は、たとえば、スピンベース441の内部に設けられたリンク機構442と、このリンク機構442を駆動する駆動機構443とを含む。この駆動機構443は、回転軸3とともに回転する回転側可動部材444と、この回転側可動部材444の外周側に軸受け445を介して結合された固定側可動部材446と、この固定側可動部材446を昇降させるためのチャックピン駆動用昇降駆動機構447とを備えている。The distance between the
As shown in FIG. 1, the spin chuck 1 is provided with a disc-shaped
チャックピン駆動用昇降駆動機構447によって固定側可動部材446を昇降させると、これとともに回転側可動部材444が昇降し、この昇降運動がリンク機構442に伝達されて、チャックピン41の動作に変換される。これにより、チャックピン駆動用昇降駆動機構447を作動させることによって、チャックピン41によってウエハWを挟持させたり、その挟持を解除したりすることができる。固定側可動部材446と回転側可動部材444とが軸受け445を介して結合されているので、スピンチャック1の回転中であっても、チャックピン41によるウエハWの挟持を解除したり緩めたりして、ウエハWの挟持位置を変更することができる。 When the fixed side
処理対象のウエハWをスピンチャック1に導入するときには、遮断板昇降駆動機構11の働きにより、遮断板10はスピンチャック1から上方に離れた退避位置に退避させられている。この状態で、図示しない基板搬送ロボットにより、未処理のウエハWがスピンチャック1に受渡される。その後、チャックピン駆動機構44の働きにより、ウエハWがチャックピン41によって挟持される。 When the wafer W to be processed is introduced into the spin chuck 1, the blocking
その後、遮断板昇降駆動機構11の働きによって、遮断板10がスピンチャック1に向かって下降させられ、整流板33がウエハWの中央領域に近接して位置し、かつ、環状部材32がウエハWの周縁部の表面に近接した状態とされる。この際、ウエハW上面とウエハ対向面45との間隔は、たとえば0.5mmとする。この状態で、回転駆動機構2によってスピンチャック1が回転駆動され、モータ12によって遮断板10が回転駆動される。このとき、スピンチャック1および遮断板10は、同じ方向ではあるが若干異なる回転速度で回転するように、回転駆動機構2およびモータ12が制御される。たとえば、スピンチャック1および遮断板10は、それぞれ順に、500rpm、450rpm程度で回転している。 Thereafter, the blocking
この状態で、エッチング液供給バルブ7が開かれることによって、ウエハWの裏面中央向けて、中心軸ノズル5からエッチング液Eが供給される。このエッチング液は、遠心力を受けて、ウエハWの下面を伝ってその周端面に至り、この周端面を回り込んでウエハWの上面の周縁部に至る。そして、図2に示されているように、下リング32Bのウエハ対向面45とウエハWの周縁部の表面との間の隙間に液膜50を形成する。この液膜50は、ウエハ対向面45に接触する。下リング32Bの内壁面47は、外方に向けて斜め上方に立ち上がっており、かつ、エッチング液通路39に対するエジェクタ効果が生じるから、エッチング液の液膜50は、下リング32Bの内周縁から大きくウエハWの内方の領域に入り込むことはできない。これにより、ウエハWの上面の周縁部におけるエッチング幅を高精度で制御することができる。 In this state, the etchant E is supplied from the central axis nozzle 5 toward the center of the back surface of the wafer W by opening the
一方、プロセスガス供給バルブ26が開かれて、ガス空間34から気体流通路36へと向かうプロセスガスの気流が形成されるが、場合によっては、プロセスガス供給バルブ19を開いて、ウエハWの上面空間55にもプロセスガスを供給してもよい。この上面空間55に供給されるプロセスガスの圧力によっても、エッチング液の液膜50がウエハWの内方の領域へと侵入することを抑制できる。また、上面空間55に供給されたプロセスガスは、整流板33の周端面38と下リング32Bの内壁面47との間に形成されたエッチング液通路39を通って気体流通路36へと導かれる。そのため、上面空間55にエッチング液雰囲気が滞留することを防止でき、このエッチング液雰囲気を清浄なプロセスガスへと速やかに置換することができる。これにより、ウエハWの中央領域の腐食を抑制できる。 On the other hand, the process
下リング32Bよりも内方の空間は、液膜50によって密閉されているが、ウエハWの上面空間55と外部空間とは、エッチング液通路39および気体流通路36を介して連通しているので、内外の圧力差に起因して、液膜50がいずれかの位置で破れてしまったりすることはない。
この状態で所定時間にわたってウエハWの周縁部の表面のエッチング処理が行われると、エッチング液供給バルブ7が閉じられ、遮断板昇降駆動機構11によって遮断板10が所定の高さ(たとえばウエハ対向面45とウエハW上面との間隔が50mmとなる位置)まで上昇される。その後、純水供給バルブ6が開かれるとともに、プロセスガス供給バルブ26が閉じられて、純水供給バルブ15が開かれる。これにより、ウエハWの上面および下面に純水が供給されて、ウエハWを水洗する純水リンス処理が行われる。The space inside the
In this state, when the surface of the peripheral edge of the wafer W is etched for a predetermined time, the etching
その後、純水供給バルブ6および15が閉じられ、再び遮断板昇降駆動機構11によって遮断板10が下降されてウエハW上面に近接される(たとえばウエハ対向面45とウエハW上面との間隔が0.3mmとなる位置)。この状態で、スピンチャック1が高速回転駆動されて、ウエハW上の水分を遠心力により振り切って取り除くための乾燥処理が行われる。 Thereafter, the pure
プロセスガス供給バルブ9および19は、ウエハWの処理中、終始開成状態とされて、ウエハWの上面および下面を不活性ガス雰囲気に保持する。シールガス供給バルブ27も同様に、ウエハWの処理中、終始開成状態とされ、プロセスガスの流路の内外における雰囲気の流通を阻止する。
以上のように、この実施形態によれば、ウエハWの周縁部におけるエッチング液の液膜50が、環状部材32によって、ウエハWの内方の領域に侵入しないように規制される。これにより、ウエハWの周縁部におけるエッチング幅を精度よく制御することができ、ウエハWの周縁部に対して、良好な処理を施すことができる。The process
As described above, according to this embodiment, the
また、ウエハWの上面空間にエッチング液の雰囲気が滞留したりすることがなく、このエッチング液を速やかにプロセスガスに置換することができる。これにより、ウエハWの中央領域に対する不所望な腐食を抑制または防止することができる。
図3は、この発明の第2の実施形態に係る基板周縁処理装置の構成を説明するための断面図である。この図3において、上述の図1に示された各部に対応する部分には、図1の場合と同一の参照符号を付して示す。Further, the etching solution atmosphere does not stay in the upper surface space of the wafer W, and this etching solution can be quickly replaced with the process gas. Thereby, undesired corrosion on the central region of the wafer W can be suppressed or prevented.
FIG. 3 is a cross-sectional view for explaining the configuration of a substrate peripheral edge processing apparatus according to the second embodiment of the present invention. 3, portions corresponding to the respective portions shown in FIG. 1 are denoted by the same reference numerals as those in FIG.
この実施形態では、遮断板10は、上蓋部31と、この上蓋部31の周縁部の下面に取り付けられた環状部材61とで構成されており、第1の実施形態のような整流板は備えられていない。
環状部材61は、ウエハWの周縁部の環状の処理対象領域に対応した内周縁を有するウエハ対向面62を有している。すなわち、このウエハ対向面62の内周縁は、ウエハWの径よりも小さな径の円形をなしている。この内周縁がなす円形は、ウエハWの上面の周縁部の処理対象領域の内周縁よりも若干大きい。In this embodiment, the blocking
The
環状部材61には、上蓋部31および環状部材61によって包囲された内方の空間65と、環状部材61の外部の空間とを連通させるための気体流通路63が形成されている。この気体流通路63は、この実施形態では、ウエハWの回転中心から放射状に複数個(たとえば、等角度間隔で36個)形成されていて、プロセスガス供給路18から空間65へと供給され、ウエハWの外方へと向かうプロセスガスを、外部空間へと排出するようになっている。 The
この実施形態では、整流板が設けられていないので、上述の第1の実施形態の場合とは異なり、プロセスガス供給路18とは別のプロセスガス通路30を設ける必要がない。そのため、プロセスガス供給機構22は設けられておらず、ラビリンス部材23が形成するラビリンス間隙には、シールガスのみが供給されている。これにより、軸受け21からの発塵を抑制または防止できるようになっている。 In this embodiment, since the current plate is not provided, unlike the case of the first embodiment described above, it is not necessary to provide a
この実施形態の構成においても、環状部材61のウエハ対向面62によって、ウエハ対向面62とウエハWの上面の周縁部との間に形成される液膜50がウエハWの内方の領域へと入り込むことを抑制または防止して、この液膜50による周縁部処理を良好に行うことができる。また、プロセスガス供給路18から供給されるプロセスガスの圧力によって、液膜50がウエハWの中央領域にへと入り込むことを抑制または防止でき。さらに、このプロセスガスによって、ウエハWの上方の空間65の雰囲気を置換し、エッチング液の雰囲気を気体流通路63を介して外部空間へと排出できる。これにより、ウエハWの内方の空間がエッチング液の雰囲気によって腐食されたりすることを効果的に抑制または防止できる。 Also in the configuration of this embodiment, the
環状部材61に形成される気体流通路63は、図3に示されているように、環状部材61の上面に内周面から外周面に至る溝を形成しておき、環状部材61と上蓋部31とを組み合わせることによって、上記の溝と上蓋部31の下面との間に形成することができる。
このほか、図4に示すように、環状部材61の上下方向中間位置に、環状部材61の内周面および外周面を貫通する貫通孔を形成して気体流通路63とすることもできる。As shown in FIG. 3, the
In addition, as shown in FIG. 4, a
また、図5(a)に示すように、環状部材61のウエハ対向面62である下面に、内周面から外周面に至る溝71を刻設して、気体流通路63とすることもできる。ウエハ対向面62に、周方向に間隔をあけて複数本の溝71を形成すると、溝71の大きさによっては、図5(b)(ウエハ対向面62の周方向に沿う鉛直円筒面でとった断面図)に示すように、液膜50が溝71の部分で分断される可能性がある。この場合、遮断板10のとウエハW(スピンチャック1)とを相対回転させれば、ウエハWの周縁部における処理むらが生じることはない。遮断板10とウエハWとの相対回転は、たとえば、スピンチャック1を回転しておく一方で遮断板10を停止状態とするか、遮断板10とスピンチャック1との回転速度を異ならせることによって達成できる。 Further, as shown in FIG. 5A, a
さらに、図6に示すように、環状部材61の内部に、ウエハ対向面62の内周縁近傍から気体流通路63に至るエッチング液排出路73を形成してもよい。これにより、気体流通路63を通ってプロセスガスが排出されるときに生じるエジェクタ効果によって、ウエハ対向面62の内周縁近傍のエッチング液をエッチング液排出路73を介して排出させることができる。その結果、液膜50を形成するエッチング液を新液に順次置換していくことができ、また、ウエハ対向面62の内周縁よりも内方へとエッチング液が入り込むことをより効果的に抑制または防止できる。 Further, as shown in FIG. 6, an
エッチング液排出路73は、図6に示されているように、外方に向けて斜め上方に立ち上がるように形成しておくことが好ましく、これにより、遮断板10やスピンチャック1を回転させることによって生じる遠心力をも利用して、液膜50を構成するエッチング液をエッチング液排出路73を介して外部に排出することができる。
図7は、この発明の第3の実施形態に係る基板処理装置の一部の構成を拡大して示す断面図である。この図7において、上述の図3に示された各部に対応する部分には、図3の場合と同一の参照符号を付して示す。As shown in FIG. 6, the
FIG. 7 is an enlarged sectional view showing a part of the configuration of the substrate processing apparatus according to the third embodiment of the present invention. In FIG. 7, parts corresponding to the parts shown in FIG. 3 are given the same reference numerals as those in FIG.
この実施形態では、上蓋部31の下面には、環状部材61の内方において、ウエハWに向かって下方に突出した突出部66が形成されている。突出部66は、ウエハWの上面に対向し、このウエハWの上面とほぼ平行に形成されたウエハ対向面67を有している。このウエハ対向面67は、環状部材61のウエハ対向面62よりもウエハWから離れて位置していて、上蓋部31のウエハ対向面67にエッチング液の液膜50が接触することはない。 In this embodiment, a
ウエハ対向面67は、上述の第2の実施形態の場合における上蓋部31の下面よりもウエハWの上面に近接しているため、ウエハWの上方の空間を小さく制限している。これにより、ウエハWの中央部から外方へ向かうプロセスガスの流通を促進して、液膜50が内方に入り込むことを、より効果的に抑制できる。それとともに、ウエハWの上方の空間のエッチング液雰囲気をすみやかにプロセスガスに置換できる。なお、この場合、遮断板10の中央に形成された貫通孔17からウエハWにプロセスガスが供給されるようになっている。 Since the
環状部材61の内周面68は、外方に向けて斜め上方に立ち上がる傾斜面をなしている。また、突出部66の周縁部には、内周面68に対向するとともに、この内周面68と平行な傾斜面69が形成されている。これにより、内周面68と傾斜面69との間には、気体流通路63へと連通するように、外方に向けて斜め上方に立ち上がる気体通路70が形成されている。この構成によって、プロセスガス通路が気体通路70へとスムーズに導かれるので、ウエハWの上方のエッチング液雰囲気の置換を良好に行える。 The inner
図8は、この発明の第4の実施形態に係る基板周縁処理装置の一部の構成を拡大して示す断面図である。この図8において、上述の図3に示された各部に対応する部分には、図3の場合と同一の参照符号を付して示す。
この実施形態では、環状部材61には気体流通路は形成されておらず、上蓋部31に、その上下面を貫通する貫通孔からなる気体流通路75が形成されている。この構成によっても、空間65内のエッチング液雰囲気をプロセスガスに置換し、エッチング液雰囲気を外部へと排出できるので、ウエハWの中央領域の腐食を抑制または防止できる。FIG. 8 is an enlarged sectional view showing a part of the configuration of the substrate peripheral edge processing apparatus according to the fourth embodiment of the present invention. 8, parts corresponding to the respective parts shown in FIG. 3 are given the same reference numerals as those in FIG.
In this embodiment, the gas flow passage is not formed in the
上蓋部31の上面には、気体流通路75から上方に排出される気体を回転半径方向外方へと導く環状のガイド部材76が設けられている。なお、この場合も、遮断板10の中央に形成された貫通孔17からウエハWにプロセスガスが供給されるようになっている。
以上、この発明の実施形態について説明したが、この発明は他の形態で実施することもできる。たとえば、上記の実施形態では、上蓋部または環状部材の一方に気体流通路を設けた構成について説明したが、これらの両方に気体流通路を設けてもよい。An
As mentioned above, although embodiment of this invention was described, this invention can also be implemented with another form. For example, in the above embodiment, the configuration in which the gas flow passage is provided in one of the upper lid portion or the annular member has been described, but the gas flow passage may be provided in both of them.
また、上記の実施形態では、ウエハWの下面中央にエッチング液を供給しているが、ウエハWの下面の周縁部付近にエッチング液を供給し、このエッチング液をウエハWの上面の周縁部に回り込ませるようにしてもよい。
さらに、スピンチャック1の側方から、たとえば、環状部材の外周面に沿わせて、ウエハWの上面の周縁部にエッチング液を供給することとしてもよい。また、環状部材に上下方向に貫通するエッチング液供給路を形成し、環状部材の上方から、当該エッチング液供給路を介してウエハWの上面の周縁部にエッチング液を供給するようにしてもよい。これらの場合には、エッチング液の供給時にスピンチャック1を非回転状態としたり、低速回転状態(遠心力によりエッチング液が基板外に飛び出さない状態)としたりして、ウエハWの周縁部にエッチング液を液盛りして、この液盛りされたエッチング液によって、ウエハW表面の周縁部の不要物をエッチング除去することができる。液盛りされたエッチング液の液膜は、環状部材の働きにより、ウエハWの内方へと侵入することが抑制されるので、良好な精度でエッチング幅を規定することができる。また、ウエハW上にエッチング液を液盛りしてその周縁部の処理を行うことにより、エッチング液の消費量を著しく削減することができる。In the above-described embodiment, the etching solution is supplied to the center of the lower surface of the wafer W. However, the etching solution is supplied to the vicinity of the peripheral portion of the lower surface of the wafer W, and this etching solution is applied to the peripheral portion of the upper surface of the wafer W. You may make it wrap around.
Further, the etching solution may be supplied from the side of the spin chuck 1 to the peripheral edge of the upper surface of the wafer W, for example, along the outer peripheral surface of the annular member. Further, an etching solution supply path penetrating in the vertical direction may be formed in the annular member, and the etching solution may be supplied from above the annular member to the peripheral portion of the upper surface of the wafer W through the etching solution supply path. . In these cases, the spin chuck 1 is brought into a non-rotating state or a low-speed rotating state (a state in which the etching solution does not jump out of the substrate by centrifugal force) when the etching solution is supplied. Etching liquid is accumulated, and unnecessary liquid on the periphery of the surface of the wafer W can be removed by etching with the accumulated etching liquid. Since the liquid film of the accumulated etching liquid is prevented from entering the inside of the wafer W by the action of the annular member, the etching width can be defined with good accuracy. Moreover, the consumption of the etching solution can be significantly reduced by depositing the etching solution on the wafer W and processing the peripheral portion thereof.
また、上記の実施形態では、ウエハWの上面の周縁部を処理するときには、ウエハWの上面の中央部への処理液の供給をしないようにしているが、ウエハWの上面の周縁部の処理中に、純水供給バルブ15を開いて、ウエハWの中央領域を純水でカバーし、エッチング液から保護するようにしてもよい。ウエハWの中央領域の保護の目的のためには、純水のほかにも、炭酸水、水素水、還元水、イオン水または磁気水などのエッチング保護液を用いることができる。 In the above embodiment, when processing the peripheral portion of the upper surface of the wafer W, the processing liquid is not supplied to the central portion of the upper surface of the wafer W. However, the processing of the peripheral portion of the upper surface of the wafer W is not performed. The pure
ただし、ウエハWの中央領域に供給されたエッチング保護液は、ウエハWの周縁部のエッチング液と混合し、このエッチング液を希釈するから、エッチング液の消費量を削減するためには、エッチング保護液を用いないことが好ましい。
また、上記の実施形態では、ウエハWの周端面を挟持する構成のスピンチャック1を例示したが、ウエハWの下面を吸着して保持するバキュームチャックや、ウエハWの端面に当接するとともにその状態で回転することによってウエハWを回転させるローラ式のチャックを採用してもよい。However, the etching protection liquid supplied to the central region of the wafer W is mixed with the etching liquid at the peripheral portion of the wafer W to dilute the etching liquid. Therefore, in order to reduce the consumption of the etching liquid, the etching protection liquid is used. It is preferable not to use a liquid.
In the above-described embodiment, the spin chuck 1 configured to sandwich the peripheral end surface of the wafer W is exemplified. However, the vacuum chuck that holds the lower surface of the wafer W by suction and the end surface of the wafer W are in contact with the vacuum chuck. A roller-type chuck that rotates the wafer W by rotating at a position may be adopted.
また、上記の実施形態では、円形の基板である半導体ウエハを処理する例について説明したが、とくに、基板上にエッチング液を液盛りして処理するプロセスを採用する場合には、液晶表示装置用ガラス基板等の角形基板に対しても、この発明を適用することができる。
その他、特許請求の範囲に記載された事項の範囲で種々の設計変更を施すことが可能である。In the above embodiment, an example of processing a semiconductor wafer that is a circular substrate has been described. However, particularly in the case of adopting a process in which an etching solution is deposited on the substrate, the liquid crystal display device is used. The present invention can also be applied to a square substrate such as a glass substrate.
In addition, various design changes can be made within the scope of matters described in the claims.
1 スピンチャック
2 回転駆動機構
3 回転軸
4 処理液供給管
5 中心軸ノズル
5a 吐出口
6 純水供給バルブ
7 エッチング液供給バルブ
8 プロセスガス供給路
9 プロセスガス供給バルブ
10 遮断板
11 遮断板昇降駆動機構
12 モータ
13 回転軸
14 中心軸ノズル
15 純水供給バルブ
16 薬液供給バルブ
17 貫通孔
18 プロセスガス供給路
19 プロセスガス供給バルブ
20 ハウジング
21 軸受け
22 プロセスガス供給機構
23 ラビリンス部材
24 プロセスガス導入路
25 シールガス導入路
26 プロセスガス供給バルブ
27 シールガス供給バルブ
28 吸引口
29 フランジ
30 プロセスガス通路
31 上蓋部
32 環状部材
32A 上リング
32B 下リング
33 整流板
34 ガス空間
35 支え部材
36 気体流通路
37 整流板支え部材
38 周端面
39 エッチング液通路
40 オリフィス形成面
41 チャックピン
42 支持部
43 ガイドピン
44 チャックピン駆動機構
45 ウエハ対向面
46 通気孔
47 内壁面
48 外壁面
50 液膜
55 上面空間
61 環状部材
62 ウエハ対向面
63 気体流通路
65 空間
66 突出部
67 ウエハ対向面
68 内周面
69 傾斜面
70 気体通路
71 溝
73 エッチング液排出路
75 気体流通路
76 ガイド部材
441 スピンベース
442 リンク機構
443 駆動機構
444 回転側可動部材
445 軸受け
446 固定側可動部材
447 チャックピン駆動用昇降駆動機構
E エッチング液
W ウエハDESCRIPTION OF SYMBOLS 1 Spin chuck 2 Rotation drive mechanism 3 Rotating shaft 4 Processing liquid supply pipe 5 Center axis nozzle 5a Discharge port 6 Pure water supply valve 7 Etching liquid supply valve 8 Process gas supply path 9 Process gas supply valve 10 Shut-off plate 11 Shut-off drive Mechanism 12 Motor 13 Rotating shaft 14 Center axis nozzle 15 Pure water supply valve 16 Chemical solution supply valve 17 Through hole 18 Process gas supply path 19 Process gas supply valve 20 Housing 21 Bearing 22 Process gas supply mechanism 23 Labyrinth member 24 Process gas introduction path 25 Seal gas introduction path 26 Process gas supply valve 27 Seal gas supply valve 28 Suction port 29 Flange 30 Process gas passage 31 Upper lid part 32 Annular member 32A Upper ring 32B Lower ring 33 Current plate 34 Gas space 35 Support member 36 Gas Passage 37 Rectifying plate support member 38 Peripheral end surface 39 Etch solution passage 40 Orifice formation surface 41 Chuck pin 42 Support part 43 Guide pin 44 Chuck pin drive mechanism 45 Wafer facing surface 46 Vent hole 47 Inner wall surface 48 Outer wall surface 50 Liquid film 55 Upper surface space 61 annular member 62 wafer facing surface 63 gas flow path 65 space 66 projecting portion 67 wafer facing surface 68 inner peripheral surface 69 inclined surface 70 gas passage 71 groove 73 etchant discharge passage 75 gas flow passage 76 guide member 441 spin base 442 link mechanism 443 Drive mechanism 444 Rotation side movable member 445 Bearing 446 Fixed side movable member 447 Lifting / lowering drive mechanism for driving chuck pin E Etching solution W Wafer
| Application Number | Priority Date | Filing Date | Title |
|---|---|---|---|
| JP2004041753AJP4409312B2 (en) | 2004-02-18 | 2004-02-18 | Substrate peripheral processing apparatus and substrate peripheral processing method |
| Application Number | Priority Date | Filing Date | Title |
|---|---|---|---|
| JP2004041753AJP4409312B2 (en) | 2004-02-18 | 2004-02-18 | Substrate peripheral processing apparatus and substrate peripheral processing method |
| Publication Number | Publication Date |
|---|---|
| JP2005235945Atrue JP2005235945A (en) | 2005-09-02 |
| JP4409312B2 JP4409312B2 (en) | 2010-02-03 |
| Application Number | Title | Priority Date | Filing Date |
|---|---|---|---|
| JP2004041753AExpired - Fee RelatedJP4409312B2 (en) | 2004-02-18 | 2004-02-18 | Substrate peripheral processing apparatus and substrate peripheral processing method |
| Country | Link |
|---|---|
| JP (1) | JP4409312B2 (en) |
| Publication number | Priority date | Publication date | Assignee | Title |
|---|---|---|---|---|
| JP2007142076A (en)* | 2005-11-17 | 2007-06-07 | Dainippon Screen Mfg Co Ltd | Substrate-treating device |
| JP2007142077A (en)* | 2005-11-17 | 2007-06-07 | Dainippon Screen Mfg Co Ltd | Substrate-treating device and substrate treatment method |
| WO2008008154A3 (en)* | 2006-07-07 | 2008-05-02 | Fsi Int Inc | Barrier structure and nozzle device for use in tools used to process microelectronic workpieces with one or more treatment fluids |
| US7681581B2 (en) | 2005-04-01 | 2010-03-23 | Fsi International, Inc. | Compact duct system incorporating moveable and nestable baffles for use in tools used to process microelectronic workpieces with one or more treatment fluids |
| JP2010093190A (en)* | 2008-10-10 | 2010-04-22 | Dainippon Screen Mfg Co Ltd | Substrate processing device |
| US7913706B2 (en) | 2007-08-07 | 2011-03-29 | Fsi International, Inc. | Rinsing methodologies for barrier plate and venturi containment systems in tools used to process microelectronic workpieces with one or more treatment fluids, and related apparatuses |
| JP2011222965A (en)* | 2010-03-24 | 2011-11-04 | Tokyo Electron Ltd | Liquid processing apparatus, liquid processing method, and recording medium with program recorded therein to implement liquid processing method |
| US8235062B2 (en) | 2008-05-09 | 2012-08-07 | Fsi International, Inc. | Tools and methods for processing microelectronic workpieces using process chamber designs that easily transition between open and closed modes of operation |
| KR101377196B1 (en) | 2008-07-24 | 2014-03-25 | 도쿄엘렉트론가부시키가이샤 | Liquid treatment apparatus |
| US8734593B2 (en) | 2010-03-30 | 2014-05-27 | Dainippon Screen Mfg. Co., Ltd. | Substrate treatment apparatus and substrate treatment method |
| WO2019058774A1 (en)* | 2017-09-22 | 2019-03-28 | 株式会社Screenホールディングス | Substrate holding device and substrate processing device |
| CN112705364A (en)* | 2020-12-08 | 2021-04-27 | 萍乡宝海锌营养科技有限公司 | High-efficient centrifugal dehydration device is used in zinc sulfate production |
| CN114695185A (en)* | 2020-12-28 | 2022-07-01 | 株式会社斯库林集团 | Substrate processing apparatus and substrate processing method |
| Publication number | Priority date | Publication date | Assignee | Title |
|---|---|---|---|---|
| US8544483B2 (en) | 2005-04-01 | 2013-10-01 | Tel Fsi, Inc. | Barrier structure and nozzle device for use in tools used to process microelectronic workpieces with one or more treatment fluids |
| US8899248B2 (en) | 2005-04-01 | 2014-12-02 | Tel Fsi, Inc. | Barrier structure and nozzle device for use in tools used to process microelectronic workpieces with one or more treatment fluids |
| US7681581B2 (en) | 2005-04-01 | 2010-03-23 | Fsi International, Inc. | Compact duct system incorporating moveable and nestable baffles for use in tools used to process microelectronic workpieces with one or more treatment fluids |
| US8656936B2 (en) | 2005-04-01 | 2014-02-25 | Tel Fsi, Inc. | Barrier structure and nozzle device for use in tools used to process microelectronic workpieces with one or more treatment fluids |
| JP2007142077A (en)* | 2005-11-17 | 2007-06-07 | Dainippon Screen Mfg Co Ltd | Substrate-treating device and substrate treatment method |
| JP2007142076A (en)* | 2005-11-17 | 2007-06-07 | Dainippon Screen Mfg Co Ltd | Substrate-treating device |
| US9666456B2 (en) | 2006-07-07 | 2017-05-30 | Tel Fsi, Inc. | Method and apparatus for treating a workpiece with arrays of nozzles |
| US8387635B2 (en) | 2006-07-07 | 2013-03-05 | Tel Fsi, Inc. | Barrier structure and nozzle device for use in tools used to process microelectronic workpieces with one or more treatment fluids |
| US8978675B2 (en) | 2006-07-07 | 2015-03-17 | Tel Fsi, Inc. | Method and apparatus for treating a workpiece with arrays of nozzles |
| US8668778B2 (en) | 2006-07-07 | 2014-03-11 | Tel Fsi, Inc. | Method of removing liquid from a barrier structure |
| US8967167B2 (en) | 2006-07-07 | 2015-03-03 | Tel Fsi, Inc. | Barrier structure and nozzle device for use in tools used to process microelectronic workpieces with one or more treatment fluids |
| WO2008008154A3 (en)* | 2006-07-07 | 2008-05-02 | Fsi Int Inc | Barrier structure and nozzle device for use in tools used to process microelectronic workpieces with one or more treatment fluids |
| US7913706B2 (en) | 2007-08-07 | 2011-03-29 | Fsi International, Inc. | Rinsing methodologies for barrier plate and venturi containment systems in tools used to process microelectronic workpieces with one or more treatment fluids, and related apparatuses |
| US8235062B2 (en) | 2008-05-09 | 2012-08-07 | Fsi International, Inc. | Tools and methods for processing microelectronic workpieces using process chamber designs that easily transition between open and closed modes of operation |
| US8684015B2 (en) | 2008-05-09 | 2014-04-01 | Tel Fsi, Inc. | Tools and methods for processing microelectronic workpieces using process chamber designs that easily transition between open and closed modes of operation |
| US9039840B2 (en) | 2008-05-09 | 2015-05-26 | Tel Fsi, Inc. | Tools and methods for processing microelectronic workpieces using process chamber designs that easily transition between open and closed modes of operation |
| KR101377196B1 (en) | 2008-07-24 | 2014-03-25 | 도쿄엘렉트론가부시키가이샤 | Liquid treatment apparatus |
| JP2010093190A (en)* | 2008-10-10 | 2010-04-22 | Dainippon Screen Mfg Co Ltd | Substrate processing device |
| JP2011222965A (en)* | 2010-03-24 | 2011-11-04 | Tokyo Electron Ltd | Liquid processing apparatus, liquid processing method, and recording medium with program recorded therein to implement liquid processing method |
| US8734593B2 (en) | 2010-03-30 | 2014-05-27 | Dainippon Screen Mfg. Co., Ltd. | Substrate treatment apparatus and substrate treatment method |
| US9576787B2 (en) | 2010-03-30 | 2017-02-21 | SCREEN Holdings Co., Ltd. | Substrate treatment method |
| WO2019058774A1 (en)* | 2017-09-22 | 2019-03-28 | 株式会社Screenホールディングス | Substrate holding device and substrate processing device |
| JP2019057680A (en)* | 2017-09-22 | 2019-04-11 | 株式会社Screenホールディングス | Substrate holding device and substrate processing apparatus |
| KR20200021540A (en)* | 2017-09-22 | 2020-02-28 | 가부시키가이샤 스크린 홀딩스 | Substrate Holding Device and Substrate Processing Device |
| KR102266363B1 (en) | 2017-09-22 | 2021-06-16 | 가부시키가이샤 스크린 홀딩스 | Substrate holding apparatus and substrate processing apparatus |
| US11961757B2 (en) | 2017-09-22 | 2024-04-16 | SCREEN Holdings Co., Ltd. | Substrate holding apparatus and substrate processing apparatus |
| CN112705364A (en)* | 2020-12-08 | 2021-04-27 | 萍乡宝海锌营养科技有限公司 | High-efficient centrifugal dehydration device is used in zinc sulfate production |
| CN114695185A (en)* | 2020-12-28 | 2022-07-01 | 株式会社斯库林集团 | Substrate processing apparatus and substrate processing method |
| Publication number | Publication date |
|---|---|
| JP4409312B2 (en) | 2010-02-03 |
| Publication | Publication Date | Title |
|---|---|---|
| KR102011188B1 (en) | Substrate processing apparatus and substrate processing method | |
| KR101293907B1 (en) | Substrate processing apparatus and substrate processing method | |
| JP4409312B2 (en) | Substrate peripheral processing apparatus and substrate peripheral processing method | |
| JP2008047629A (en) | Device and method for processing substrate | |
| WO2016117363A1 (en) | Substrate processing device | |
| US10699895B2 (en) | Substrate processing method | |
| JP2013077595A (en) | Substrate processing apparatus and substrate processing method | |
| JP4179593B2 (en) | Substrate peripheral processing apparatus and substrate peripheral processing method | |
| CN111095495A (en) | Substrate processing method and substrate processing apparatus | |
| JP2007235065A (en) | Substrate processing apparatus and substrate processing method | |
| JP6562507B2 (en) | Substrate holding device and substrate processing apparatus having the same | |
| JP6562508B2 (en) | Substrate holding device | |
| JP6331189B2 (en) | Substrate processing equipment | |
| JP2008227386A (en) | Substrate processing apparatus | |
| JP5243307B2 (en) | Substrate processing apparatus and substrate processing method | |
| JP2017175041A (en) | Substrate processing apparatus and substrate processing method | |
| JP4739361B2 (en) | Substrate peripheral processing apparatus and substrate peripheral processing method | |
| JP2018019103A (en) | Substrate processing method and substrate processing apparatus | |
| KR102104737B1 (en) | Substrate processing apparatus and substrate processing method | |
| JP2014030045A (en) | Substrate peripheral processing device, and substrate peripheral processing method | |
| JP5513432B2 (en) | Substrate periphery processing apparatus and substrate periphery processing method | |
| JP2009218403A (en) | Substrate processing device | |
| JP2009105145A (en) | Substrate processing apparatus | |
| JP2005277210A (en) | Board support rotary mechanism and board treatment apparatus employing the same | |
| JP7697846B2 (en) | SUBSTRATE PROCESSING APPARATUS AND SUBSTRATE PROCESSING METHOD |
| Date | Code | Title | Description |
|---|---|---|---|
| A621 | Written request for application examination | Free format text:JAPANESE INTERMEDIATE CODE: A621 Effective date:20061221 | |
| A977 | Report on retrieval | Free format text:JAPANESE INTERMEDIATE CODE: A971007 Effective date:20090116 | |
| A131 | Notification of reasons for refusal | Free format text:JAPANESE INTERMEDIATE CODE: A131 Effective date:20090820 | |
| A521 | Written amendment | Free format text:JAPANESE INTERMEDIATE CODE: A523 Effective date:20091016 | |
| TRDD | Decision of grant or rejection written | ||
| A01 | Written decision to grant a patent or to grant a registration (utility model) | Free format text:JAPANESE INTERMEDIATE CODE: A01 Effective date:20091106 | |
| A01 | Written decision to grant a patent or to grant a registration (utility model) | Free format text:JAPANESE INTERMEDIATE CODE: A01 | |
| A61 | First payment of annual fees (during grant procedure) | Free format text:JAPANESE INTERMEDIATE CODE: A61 Effective date:20091111 | |
| R150 | Certificate of patent or registration of utility model | Free format text:JAPANESE INTERMEDIATE CODE: R150 | |
| FPAY | Renewal fee payment (event date is renewal date of database) | Free format text:PAYMENT UNTIL: 20121120 Year of fee payment:3 | |
| FPAY | Renewal fee payment (event date is renewal date of database) | Free format text:PAYMENT UNTIL: 20121120 Year of fee payment:3 | |
| FPAY | Renewal fee payment (event date is renewal date of database) | Free format text:PAYMENT UNTIL: 20121120 Year of fee payment:3 | |
| FPAY | Renewal fee payment (event date is renewal date of database) | Free format text:PAYMENT UNTIL: 20121120 Year of fee payment:3 | |
| FPAY | Renewal fee payment (event date is renewal date of database) | Free format text:PAYMENT UNTIL: 20131120 Year of fee payment:4 | |
| R250 | Receipt of annual fees | Free format text:JAPANESE INTERMEDIATE CODE: R250 | |
| S533 | Written request for registration of change of name | Free format text:JAPANESE INTERMEDIATE CODE: R313533 | |
| R350 | Written notification of registration of transfer | Free format text:JAPANESE INTERMEDIATE CODE: R350 | |
| R250 | Receipt of annual fees | Free format text:JAPANESE INTERMEDIATE CODE: R250 | |
| R250 | Receipt of annual fees | Free format text:JAPANESE INTERMEDIATE CODE: R250 | |
| LAPS | Cancellation because of no payment of annual fees |