



























本発明は、インダクタ素子内蔵基板およびパワーアンプモジュールに係り、特に多層基
板内にインダクタ素子を内蔵させた基板構造に関する。The present invention relates to an inductor element built-in substrate and a power amplifier module, and more particularly to a substrate structure in which an inductor element is built in a multilayer substrate.
近年、携帯電話機をはじめとする通信端末装置の普及により、マイクロ波帯の送信部に
用いられるパワーアンプモジュールの需要が増大している。かかるパワーアンプモジュー
ルは、例えば携帯電話機においてアンテナの前段に配置され、ドライバアンプから出力さ
れた信号を増幅してアンテナヘ伝える機能を奏するもので、一般に3段の増幅回路、出力
整合部および2次高調波対策部等を備えている。In recent years, with the widespread use of communication terminal devices such as mobile phones, the demand for power amplifier modules used in microwave band transmitters has increased. Such a power amplifier module is disposed, for example, in the front stage of an antenna in a mobile phone, and has a function of amplifying a signal output from a driver amplifier and transmitting it to the antenna. Generally, a three-stage amplifier circuit, an output matching unit, and a second harmonic are provided. Has a wave countermeasure section.
増幅回路の各段は、FET等で構成された半導体増幅素子、整合回路、ドレインバイア
ス回路、並びにゲートバイアス回路等を含み、1つの回路ブロックを形成する。一方、出
力整合部は、パワーアンプモジュールに使用される周波数帯(例えば880〜915MH
z)において、増幅する対象となる周波数帯(基本波)で、インピーダンス整合をとるた
めの回路である。また、2次高調波対策部は、基本波以外の周波数が出力に伝送されると
通信端末装置としての特性劣化の原因となることから、2次高調波成分の出力への伝送を
防ぐ役割を果たす。Each stage of the amplifying circuit includes a semiconductor amplifying element constituted by an FET or the like, a matching circuit, a drain bias circuit, a gate bias circuit, and the like to form one circuit block. On the other hand, the output matching unit has a frequency band (for example, 880 to 915 MH) used for the power amplifier module.
z) is a circuit for impedance matching in a frequency band (fundamental wave) to be amplified. In addition, the second harmonic countermeasure unit plays a role of preventing transmission of the second harmonic component to the output because a frequency other than the fundamental wave is transmitted to the output. Fulfill.
このような回路構成を持つパワーアンプモジュールを実現するにあたっては、例えば積
層型の誘電体基板を使用し、該基板の各層に、整合回路、2次高調波対策回路、FETの
バイアス回路の一部(抵抗、キャパシタ)およびバイアス回路の(λ/4)パターン等を
分配して形成する。また、他の抵抗またはキャパシタの一部は、面実装タイプのものを用
い基板上に実装する。またインダクタ素子は、基板の層に導体パターンとして形成される。
FET等の半導体増幅素子は、ベアチップの形態で基板上に直接実装されるか、あるいは
樹脂モールドによるパッケージング形態で基板上に実装される。In realizing a power amplifier module having such a circuit configuration, for example, a laminated dielectric substrate is used, and a matching circuit, a second harmonic countermeasure circuit, and a part of an FET bias circuit are formed on each layer of the substrate. (Resistor, capacitor) and (λ / 4) pattern of the bias circuit are distributed and formed. Also, some of the other resistors or capacitors are mounted on the substrate using surface mount type. The inductor element is formed as a conductor pattern on the substrate layer.
A semiconductor amplifying element such as an FET is mounted directly on the substrate in the form of a bare chip or mounted on the substrate in a packaging form using a resin mold.
尚、このようなパワーアンプモジュールまたはインダクタ素子を備えた基板構造を開示
するものとして下記特許文献がある。The following patent document discloses a substrate structure including such a power amplifier module or inductor element.
ところで、通信端末装置、特に携帯電話機は近年急速に小型化されつつあり、その一構
成部品であるパワーアンプモジュールにも小型化が強く求められている。Incidentally, communication terminal devices, particularly mobile phones, have been rapidly downsized in recent years, and the power amplifier module, which is one of the components, is strongly required to be downsized.
ところが、パワーアンプモジュールを小型化するには、必然的に基板内に内蔵されてい
る素子・導体線路幅を小さくする必要があり、これに伴い各素子における損失が増大する
という問題が生じる。特に、基板内のインダクタ素子における損失は、パワーアンプモジ
ュールの効率を低下させ、出力電力の大きい出力整合部での損失は、パワーアンプモジュ
ールの特性劣化の大きな原因となる。However, in order to reduce the size of the power amplifier module, it is inevitably necessary to reduce the width of the element / conductor line incorporated in the substrate, and this causes a problem that loss in each element increases. In particular, the loss in the inductor element in the substrate lowers the efficiency of the power amplifier module, and the loss in the output matching section where the output power is large is a major cause of the characteristic deterioration of the power amplifier module.
一方、このような損失を防ぐため、基板内の各素子を形成する導体パターンの厚さを単
純に厚くすることも考えられる。ところが、導体厚を大きくすると、基板内に占める導体
の量が増えるから、基板重量の増加を招く難がある。また、基板材料を積層しモジュール
を製造する過程で、基板にそりや変形が生じやすくなり、製品歩留りを低下させるおそれ
もある。On the other hand, in order to prevent such loss, it is also conceivable to simply increase the thickness of the conductor pattern forming each element in the substrate. However, when the conductor thickness is increased, the amount of the conductor in the substrate increases, so that there is a difficulty in increasing the substrate weight. Further, in the process of manufacturing the module by stacking the substrate materials, the substrate is likely to be warped or deformed, which may reduce the product yield.
他方、前記特許文献1に記載の発明は、インダクタ素子の低損失化を目的とするもので
ある。しかしながら、同文献には、寄生容量を低減させる手段は開示されているものの、
インダクタ素子の抵抗を低減させる具体的な手段は示されていない。また、前記特許文献
2に記載の発明は、パワーアンプモジュールの小型化を図るものではあるが、主として基
板の構成材料面からその目的を達成しようとするものである。On the other hand, the invention described in
No specific means for reducing the resistance of the inductor element is shown. The invention described in
したがって本発明が解決しようとする課題は、基板あるいはモジュールの小型化に伴い
インダクタ機能を有する導体部の損失が増大することであり、本発明の目的はかかる損失
を低減する点にある。Therefore, the problem to be solved by the present invention is that the loss of the conductor part having the inductor function increases with the miniaturization of the substrate or the module, and the object of the present invention is to reduce the loss.
前記課題を解決するため、本発明(請求項1)に係るインダクタ素子内蔵基板は、複数
の導体層を備えかつ該導体層のうちの一以上の層にインダクタ機能を有する導体を設けた
多層基板であって、前記インダクタ機能を有する導体の少なくとも一部の導体厚を、当該
基板内の絶縁基材上に形成した、当該インダクタ機能を有する導体以外の導体より厚くし
たものである。In order to solve the above problems, an inductor element-embedded substrate according to the present invention (Claim 1) includes a plurality of conductor layers and one or more of the conductor layers provided with a conductor having an inductor function. The conductor thickness of at least a part of the conductor having the inductor function is made thicker than the conductor other than the conductor having the inductor function formed on the insulating base in the substrate.
本発明では、基板内の導体厚を一律に厚くするのではなく、インダクタ機能を有する導
体(以下、インダクタ導体部と称する)についてのみその導体厚を厚くする。これにより、
基板重量の増加を極力抑え、かつ製造工程における基板の変形やそりの発生を回避しつつ、
インダクタ導体部における損失を低減させることが可能となる。In the present invention, the conductor thickness in the substrate is not uniformly increased, but only the conductor having an inductor function (hereinafter referred to as an inductor conductor portion) is increased. This
While suppressing the increase in the substrate weight as much as possible and avoiding the deformation and warpage of the substrate in the manufacturing process,
Loss in the inductor conductor can be reduced.
インダクタ導体部の導体厚を厚くする具体的な構成としては、例えば、当該インダクタ
導体部の少なくとも一部が、前記導体層間に設けられた絶縁基材を貫通しているようにす
る(請求項2)。また、インダクタ導体部の少なくとも一部が、前記導体層間に設けられ
た絶縁基材に埋め込まれ、かつ該絶縁基材を貫通しない範囲で該絶縁基材の厚さの2分の
1以上の厚さを有するようにしても良い(請求項3)。このようにインダクタ導体部の厚
さを厚くすることによって、損失を低減することが出来る。As a specific configuration for increasing the conductor thickness of the inductor conductor portion, for example, at least a part of the inductor conductor portion passes through an insulating base provided between the conductor layers (claim 2). ). In addition, at least a part of the inductor conductor portion is embedded in an insulating base provided between the conductor layers and has a thickness that is at least half of the thickness of the insulating base in a range not penetrating the insulating base. (Claim 3). Thus, the loss can be reduced by increasing the thickness of the inductor conductor portion.
さらに、本発明に係る第一のパワーアンプモジュール(請求項4)は、半導体増幅部と、
該半導体増幅部の出力側に設けたインピーダンス整合回路部とを含み、前記インダクタ素
子内蔵基板(請求項1から3のいずれかに記載の基板)を用いたパワーアンプモジュール
であって、前記インピーダンス整合回路部の一部を、前記インダクタ導体部(インダクタ
機能を有する導体)により形成したものである。Furthermore, a first power amplifier module according to the present invention (claim 4) includes a semiconductor amplifier,
A power amplifier module using the inductor element built-in substrate (the substrate according to any one of
また、本発明に係る第二のパワーアンプモジュール(請求項5)は、半導体増幅部と、
該半導体増幅部に接続されたバイアス回路部とを含み、前記インダクタ素子内蔵基板を用
いたパワーアンプモジュールであって、前記バイアス回路部の一部を、前記インダクタ導
体部(インダクタ機能を有する導体)により形成したものである。A second power amplifier module according to the present invention (Claim 5) includes a semiconductor amplifier,
A bias circuit unit connected to the semiconductor amplification unit, and a power amplifier module using the substrate with a built-in inductor element, wherein a part of the bias circuit unit is connected to the inductor conductor unit (conductor having an inductor function). It is formed by.
さらに、本発明に係る第三のパワーアンプモジュール(請求項6)は、半導体増幅部と、
該半導体増幅部の出力側に設けたインピーダンス整合回路部と、該半導体増幅部に接続さ
れたバイアス回路部とを含み、前記インダクタ素子内蔵基板を用いたパワーアンプモジュ
ールであって、前記インピーダンス整合回路部の一部と前記バイアス回路部の一部とを、
前記インダクタ導体部(インダクタ機能を有する導体)により形成したものである。Furthermore, a third power amplifier module according to the present invention (Claim 6) includes a semiconductor amplifier,
An impedance matching circuit unit provided on the output side of the semiconductor amplifying unit, and a bias circuit unit connected to the semiconductor amplifying unit, a power amplifier module using the inductor element built-in substrate, wherein the impedance matching circuit A part of the part and a part of the bias circuit part,
The inductor conductor portion (a conductor having an inductor function) is formed.
パワーアンプモジュールを小型化する場合、基板内に配したインダクタ素子における損
失がパワーアンプモジュールの効率を低下させ、特に出力電力の大きい出力整合部での損
失は、パワーアンプモジュールの特性劣化の大きな原因となることは既に述べたとおりで
ある。上記本発明の第一から第三のパワーアンプモジュールでは、インピーダンス整合回
路部の一部およびバイアス回路の一部のうちのいずれか一方または双方を前記インダクタ
導体、すなわち導体厚を厚くした導体により形成することで、当該導体部での損失を低減
し、パワーアンプモジュールの特性劣化を防ぐ。When downsizing the power amplifier module, the loss in the inductor element placed in the board reduces the efficiency of the power amplifier module, and the loss especially in the output matching section where the output power is large is a major cause of the characteristic deterioration of the power amplifier module. As mentioned above. In the first to third power amplifier modules of the present invention, one or both of a part of the impedance matching circuit part and a part of the bias circuit is formed by the inductor conductor, that is, a conductor having a thick conductor thickness. By doing so, the loss in the conductor part is reduced and the characteristic deterioration of the power amplifier module is prevented.
また、本発明に係るインダクタ素子内蔵基板の製造方法は、インダクタ機能を有する導
体を備えた多層基板を製造する方法であって、該多層基板のいずれか一の層に導体パター
ンを形成する工程と、該導体パターンの少なくとも一部の導体厚をめっきによってさらに
厚くし、これにより前記インダクタ機能を有する導体の少なくとも一部を該基板内の他の
導体より厚くする工程とを含む(請求項7)。Further, the method for manufacturing a substrate with a built-in inductor element according to the present invention is a method for manufacturing a multilayer substrate including a conductor having an inductor function, and a step of forming a conductor pattern on any one layer of the multilayer substrate; And further increasing the thickness of at least a part of the conductor pattern by plating, thereby making at least a part of the conductor having the inductor function thicker than the other conductors in the substrate (claim 7). .
本発明によれば、基板重量の増加を極力抑え、かつ製造工程における基板の変形やそり
の発生を回避しつつ、インダクタ機能を有する導体における損失を低減させることが可能
となる。According to the present invention, it is possible to reduce the loss in a conductor having an inductor function while suppressing an increase in the weight of the substrate as much as possible and avoiding the deformation and warpage of the substrate in the manufacturing process.
以下、添付図面に基づいて本発明の実施の形態を説明する。 Hereinafter, embodiments of the present invention will be described with reference to the accompanying drawings.
〔第一実施形態〕
図1は通信端末装置の一つである携帯電話機の高周波部の一構成例を、図2は該高周波
部に含まれる電力増幅部を、図3は該電力増幅部に含まれるパワーアンプモジュールをそ
れぞれ示すものである。[First embodiment]
FIG. 1 shows a configuration example of a high-frequency unit of a mobile phone that is one of communication terminal devices, FIG. 2 shows a power amplifier included in the high-frequency unit, and FIG. 3 shows a power amplifier module included in the power amplifier. Each is shown.
図1に示すように高周波部RF(RF部)は、電力増幅器PWAとミキサM1を送信側
に、増幅器LNAとミキサM2を受信側にそれぞれ備え、さらにアンテナANT、スイッ
チSW1、分配器DISおよび中間周波部IF(IF部)を備えている。As shown in FIG. 1, the high frequency unit RF (RF unit) includes a power amplifier PWA and a mixer M1 on the transmission side, and an amplifier LNA and a mixer M2 on the reception side, and further includes an antenna ANT, a switch SW1, a distributor DIS, and an intermediate A frequency unit IF (IF unit) is provided.
電力増幅部PWAは、RF部の送信側においてアンテナANTの前段に配置され、増幅
された信号を、スイッチSW1を介してアンテナANTヘ伝える。電力増幅部PWAの前
段には、ミキサM1が設けられており、変調器(図示せず)から供給される信号と、分配
器DISから供給される信号とを、ミキサM1でミキシングし、ミキサM1の出力を電力
増幅部PWAに供給するようになっている。The power amplifying unit PWA is disposed in front of the antenna ANT on the transmission side of the RF unit, and transmits the amplified signal to the antenna ANT via the switch SW1. A mixer M1 is provided in the preceding stage of the power amplifying unit PWA. The mixer M1 mixes the signal supplied from the modulator (not shown) and the signal supplied from the distributor DIS. Is supplied to the power amplifier PWA.
一方、アンテナANTで受信され、スイッチSW1の切替えによって受信部に導かれた
信号は、増幅器LNAで増幅され、ノイズ除去された特定の周波数成分が抽出される。増
幅器LNAから出力された受信信号は、ミキサM2において分配器DISから供給される
信号とミキシングされる。ミキサM2の出力は、IF部に供給され、さらにベースバンド
部BSBに送られる。On the other hand, a signal received by the antenna ANT and guided to the receiving unit by switching the switch SW1 is amplified by the amplifier LNA, and a specific frequency component from which noise is removed is extracted. The reception signal output from the amplifier LNA is mixed with the signal supplied from the distributor DIS in the mixer M2. The output of the mixer M2 is supplied to the IF unit and further sent to the baseband unit BSB.
電力増幅部PWAにおいて使用される周波数帯は、例えば880〜915MHzまたは
1710〜1785MHzであり、電力増幅部PWAに要求される出力は、例えば35d
Bmまたは32dBmである。The frequency band used in the power amplification unit PWA is, for example, 880 to 915 MHz or 1710 to 1785 MHz, and the output required for the power amplification unit PWA is, for example, 35 d.
Bm or 32 dBm.
電力増幅部PWAは、図2に示すように、パワーアンプモジュール100の前段にバン
ドパスフィルタ(BPF)110を備え、後段に電力検出部120とローパスフィルタ(L
PF)130を順次接続してある。電力制御部140は、電力検出部120から供給され
る電力検出信号に基づいてパワーアンプモジュール100から出力される送信信号の電力
を制御する。尚、本実施形態では、1系の電力増幅部PWAを有する回路構成を示してあ
るが、例えばGSM/DCSデュアルバンド対応の電力増幅部も知られており、そのよう
な電力増幅部に対しても本発明は適用することが可能である。As shown in FIG. 2, the power amplifying unit PWA includes a band pass filter (BPF) 110 in the front stage of the
PF) 130 are sequentially connected. The
電力増幅部PWAに含まれるパワーアンプモジュール100は、図3に示すように、半
導体素子を3段接続してなる半導体回路部Q1と、その前段に接続された入力整合回路部
IM1と、後段に接続された出力整合回路部OM1と、バイアス回路部BC1とを備えて
いる。また、同図において、端子Vapcは出力制御用に設けられた端子で、パワーアンプ
モジュール100の出力は、端子Vapcに印加される電圧レベルにより制御される。また、
該端子Vapcに印加される電圧は、前記図2に示した電力検出部120により得られた信
号が、電力制御部140に帰還されることにより得られ、電力制御部140からの出力で
あるVapc信号により、パワーアンプモジュールの出力が常に一定となるように動作する。As shown in FIG. 3, the
The voltage applied to the terminal Vapc is obtained by feeding back the signal obtained by the
半導体回路部Q1は、入力端子Pinから入力された信号を増幅する役割を担う。また、
入力整合回路IM1は、入力端子Pinでのインピーダンス(50Ω)を半導体回路部Q1
の入力インピーダンスに整合させ、入力端子Pinから入力された信号をインピーダンス未
整合による損失が生じることなく半導体回路部Q1の入力へ伝送する役割を果たす。The semiconductor circuit unit Q1 plays a role of amplifying a signal input from the input terminal Pin. Also,
The input matching circuit IM1 converts the impedance (50Ω) at the input terminal Pin to the semiconductor circuit part Q1.
The signal input from the input terminal Pin is transmitted to the input of the semiconductor circuit part Q1 without any loss due to impedance mismatch.
一方、出力整合回路部OM1は、半導体回路部Q1の出力インピーダンスを出力端子P
outで見たインピーダンス(50Ω)に整合させ、半導体回路部Q1から出力された信号
をインピーダンス未整合による損失が生じることがないように出力端子Poutへ伝送する
役割を担う。また、バイアス回路部BC1は、半導体回路部Q1の半導体素子を増幅素子
として動作させる。On the other hand, the output matching circuit unit OM1 converts the output impedance of the semiconductor circuit unit Q1 to the output terminal P.
It is matched with the impedance (50Ω) seen in out, and plays a role of transmitting the signal output from the semiconductor circuit portion Q1 to the output terminal Pout so that loss due to impedance mismatch does not occur. The bias circuit unit BC1 operates the semiconductor element of the semiconductor circuit unit Q1 as an amplifying element.
入力整合回路部IM1は、具体的には、インダクタ素子L1とキャパシタ素子C1がL
型に接続された回路で構成することができ、さらにキャパシタ素子C2を備える。Specifically, the input matching circuit unit IM1 includes an inductor element L1 and a capacitor element C1 that are L
The circuit can be configured by a circuit connected to a mold, and further includes a capacitor element C2.
他方、出力整合回路部OM1は、初段としてインダクタ素子L2とキャパシタ素子C3
とのL型回路を、2段目としてインダクタ素子L3とキャパシタ素子C4とのL型回路を、
さらに3段目としてインダクタ素子L4とキャパシタ素子C5とのL型回路をそれぞれ備
えている。出力整合回路OM1の入力端には、キャパシタ素子C11を接続し、出力端に
はキャパシタ素子C6を接続してある。On the other hand, the output matching circuit unit OM1 includes an inductor element L2 and a capacitor element C3 as the first stage.
And the L-type circuit of the inductor element L3 and the capacitor element C4 as the second stage,
Further, as the third stage, an L-type circuit of an inductor element L4 and a capacitor element C5 is provided. A capacitor element C11 is connected to the input terminal of the output matching circuit OM1, and a capacitor element C6 is connected to the output terminal.
バイアス回路部BC1のインダクタ素子L5〜L8は、半導体回路部Q1で増幅された
信号をVdd端子へ漏洩させないよう、理想的にはインピーダンスを無限大にすることが求
められる。したがって、これらインダクタ素子L5〜L8は、通常、(λ/4)長パター
ンまたは(λ/4)長パターンに相当するインピーダンスを持つインダクタ素子により構
成する。また、数層の配線層に亘ってコイル状に形成した導体パターンにより該インダク
タ素子L5〜L8を構成することも可能である。インダクタ素子L5〜L8のそれぞれに
は、接地キャパシタ素子C7〜C9を接続する。The inductor elements L5 to L8 of the bias circuit unit BC1 are ideally required to have an infinite impedance so that the signal amplified by the semiconductor circuit unit Q1 does not leak to the Vdd terminal. Therefore, these inductor elements L5 to L8 are usually constituted by inductor elements having an impedance corresponding to the (λ / 4) long pattern or (λ / 4) long pattern. Further, the inductor elements L5 to L8 can be configured by a conductor pattern formed in a coil shape over several wiring layers. Grounded capacitor elements C7 to C9 are connected to inductor elements L5 to L8, respectively.
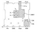
図4は、図3に示したパワーアンプモジュール100として使用可能な第一の実施形態
に係るパワーアンプモジュールを示す断面図である。尚、同図においては、基板内および
基板表面に設けられる配線パターンや層間接続構造、実装部品等の詳細は省略している。
また、図5から図13は、図4に示したパワーアンプモジュールの各配線層を示すもので
ある。FIG. 4 is a cross-sectional view showing the power amplifier module according to the first embodiment that can be used as the
5 to 13 show each wiring layer of the power amplifier module shown in FIG.
本実施形態に係るパワーアンプモジュールは、8層の導体層とこれら導体層の間に設け
た絶縁層11〜17とを有する多層基板1の表面にMMIC(Microwave Monolithic IC)
2を搭載し、前記入力整合回路部IM1、出力整合回路部OM1およびバイアス回路部B
C1を構成する各素子を基板1の表面または内部に設けてなる。また、基板の裏面にはグ
ランドパターン3を形成し、MMIC2の下部には、基板を貫通してグランドパターン3
に接続するサーマルビア4を設けてある。尚、基板(導体層)の積層数や、各配線パター
ンの配置等は、様々に変更可能であり、図示の例に限定されない。The power amplifier module according to this embodiment includes an MMIC (Microwave Monolithic IC) on the surface of the
2, the input matching circuit unit IM1, the output matching circuit unit OM1, and the bias circuit unit B
Each element constituting C1 is provided on the surface or inside of the
多層基板1は、上方(基板表面)から見て順に、第1の絶縁層11、第2の絶縁層12、
第3の絶縁層13、第4の絶縁層14、第5の絶縁層15、第6の絶縁層16および第7
の絶縁層17を積層した構造を有し、これら絶縁層の表面あるいは裏面に導体パターンを
有する。多層基板1を形成するには、例えばコア基板14の両面に絶縁体シート(例えば
樹脂付き銅箔)を加圧および加熱しながら順次積層することにより行うことが可能である。The
Third insulating
These insulating
尚、以下の説明においては、第1から第4の絶縁層11〜14の各上面を、それぞれ第
1層、第2層、第3層、第4層と称し、第4から第7の絶縁層14〜17の各下面を、そ
れぞれ第5層、第6層、第7層、第8層と称する。つまり、多層基板1の上面(表面)は
第1層であり、多層基板1の下面(裏面)は第8層である。尚、図5から図12はいずれ
も基板上面(MMIC搭載面)側から各層を見た構成を示し、図13は多層基板の裏面側
から第8層を見た構成を示している(図10から図12はそれぞれ第4から第6の絶縁層
14〜16を透視した形で第5から第7の各層を示している。後述する第二実施形態の図
15から図22についても同様)。In the following description, the upper surfaces of the first to fourth insulating
各絶縁層11〜17を構成する材料としては、樹脂材料のみを使用することも可能であ
るが、樹脂材料にさらに無機材料を添加した複合材料によって各絶縁層を形成することも
出来る。例えば、ポリビニルベンジルエーテル化合物とセラミック誘電体粉末とを含む複
合材料を使用することが出来る。As a material constituting each of the insulating
絶縁層11〜17を形成する樹脂材料としては、ポリビニルベンジルエーテル化合物の
ほかにも、例えばエポキシ樹脂、フェノール樹脂、不飽和ポリエステル樹脂、ビニルエス
テル樹脂、ポリイミド樹脂、シアネート樹脂、ポリブタジエン樹脂等の熱硬化性樹脂を使
用することが可能である。As the resin material for forming the insulating
一方、樹脂材料に混合する添加材料としては、例えば、BaO-TiO2-N
d2O3系、BaO-TiO2-SnO2系、B
aO-TiO2-Sm2O3系、PbO-BaO-Nd
2O3-TiO2系、BaTiO3系、PbT
iO3系、SrTiO3系、CaTiO3系、(Ba,S
r)TiO3系、Ba(Ti,Zr)O3系、BaTiO3-
SiO2系、SrZrO3系、BiTiO4系、(Bi
2O3,PbO)-BaO-TiO2系、La2
Ti2O7系、Nd2TiO7系、(Li,S
m)TiO3系、MgTiO3系、Mg2O4
系、Al2O3系、TiO2系、BaO-SiO
2系、PbO-CaO系、BaWO4系、CaWO4系、
Ba(Mg,Nb)O3系、Ba(Mg,Ta)O3系、BA(C
o,Mg,Nb)O3系、Ba(Co,Mg,Ta)O3系、Sr
(Mg,Nb)O3系、Ba(Zn,Ta)O3系、Ba(Zn,
Nb)O3系、Sr(Zn,Nb)O3系、Ba(Mg,W)O4
系、Ba(Ga,Ta)O3系、ZnTiO3系、ZrTiO
4系、(Zr,Sn)TiO4系等の誘電体材料を使用することが
出来る。これらの材料を加えることにより、基板内に形成するコンデンサの容量を高める
ことが出来る。On the other hand, as an additive material mixed with the resin material, for example, BaO—TiO2 —N
d2 O3 system, BaO—TiO2 —SnO2 system, B
aO—TiO2 —Sm2 O3 system, PbO—BaO—Nd
2 O3 -TiO2 system, BaTiO3 system, PbT
iO3 system, SrTiO3 system, CaTiO3 system, (Ba, S
r) TiO3 system, Ba (Ti, Zr) O3 system, BaTiO3 −
SiO2 system, SrZrO3 system, BiTiO4 system, (Bi
2 O3 , PbO) —BaO—TiO2 system, La2
Ti2 O7 series, Nd2 TiO7 series, (Li, S
m) TiO3 series, MgTiO3 series, Mg2 O4
, Al2 O3 , TiO2 , BaO-SiO
2 series, PbO-CaO series, BaWO4 series, CaWO4 series,
Ba (Mg, Nb) O3 system, Ba (Mg, Ta) O3 system, BA (C
o, Mg, Nb) O3 system, Ba (Co, Mg, Ta) O3 system, Sr
(Mg, Nb) O3 system, Ba (Zn, Ta) O3 system, Ba (Zn,
Nb) O3 series, Sr (Zn, Nb) O3 series, Ba (Mg, W) O4
, Ba (Ga, Ta) O3 , ZnTiO3 , ZrTiO
4 system, it can be used (Zr, Sn) dielectric materials such as TiO4 based. By adding these materials, the capacitance of the capacitor formed in the substrate can be increased.
また、Mn−Zn系フェライト、Ni−Zn系フェライト、Mn−Mg−Zn系フェラ
イト、Ni−Cu−Zn系フェライトおよびBa系フェライト等の酸化物、さらにFe
2O3、Fe3O4等の酸化鉄などの磁性材料
を加えることも可能である。Also, oxides such as Mn—Zn ferrite, Ni—Zn ferrite, Mn—Mg—Zn ferrite, Ni—Cu—Zn ferrite and Ba ferrite, and Fe
It is also possible to add a magnetic material such as iron oxide such as2 O3 or Fe3 O4 .
これら添加材料(前記誘電体材料・磁性材料)は、単独でも2種類以上混合して添加し
ても良い。These additive materials (the dielectric material and the magnetic material) may be added alone or in combination of two or more.
MMIC2は、前記図3の回路構成において、半導体素子の3段構成でなる半導体回路
部Q1を含む半導体回路部品である。MMIC2の電極は、ワイヤーボンディング等によ
って多層基板上に形成された導体パターン(図示せず)に接続し、信頼性確保のため、封
止用樹脂により封止した状態で基板表面に実装する。The
サーマルビア4は、MMIC2の搭載領域内に適当な間隔を隔てて複数本設け、前記第
1から第7の絶縁層11〜17の層間を連続して貫通するように形成する。サーマルビア
の内部には、例えばAgペースト等の導電性ペーストを充填するが、熱伝導性に優れてい
るものであれば、非導電性の材料を充填しても構わない。A plurality of
第1から第7の絶縁層11〜17には、図3の回路図に含まれる回路部品のうち、MM
IC2に含まれる半導体素子を除いたチップ部品を搭載し、かつ、チップ部品を必要な回
路構成となるように接続する。回路部品の配置については、特に限定はないが、採用し得
る一例を後に図6から図13を参照して説明する。Among the circuit components included in the circuit diagram of FIG. 3, the first to seventh insulating
Chip components excluding semiconductor elements included in the
本実施形態に係るパワーアンプモジュールでは、図4に示すように、インダクタ導体部
(インダクタ機能を有する導体線路)21として、多層基板1の第1層11に形成した導
体パターン22と第2層12に形成した導体パターン23と、さらに第1の絶縁層11を
貫通してこれら第1層および第2層に形成した導体22,23同士を電気的に接続する肉
厚の導体24(以下、ポストビアと称する)とを備えている。これら第1層に形成した導
体パターン22、第2層に形成した導体パターン23、並びに第1層および第2層に形成
した両導体パターンを接続するポストビア24は、いずれも同一の平面形状を有し、これ
らの導体22〜24が一体となって図3のインダクタ素子L2〜L4を形成する。インダ
クタ導体部21の具体的な形成方法は、後に述べる。In the power amplifier module according to the present embodiment, as shown in FIG. 4, the
図5は、パワーアンプモジュールの上面図であり、図6から図13は、それぞれ第1層
から第8層を示す平面図である。これらの図を参照して、第1層(第1の絶縁層11の表
面(上面))には、図3のバイアス回路BC1を構成する回路素子の一部と、インピーダ
ンス整合回路IM1,OM1を構成する回路素子とを搭載する。具体的には、キャパシタ
素子C1,C2,C5〜C10および導体パターン等である。FIG. 5 is a top view of the power amplifier module, and FIGS. 6 to 13 are plan views showing the first to eighth layers, respectively. Referring to these drawings, the first layer (the surface (upper surface) of the first insulating layer 11) includes a part of circuit elements constituting the bias circuit BC1 of FIG. 3 and impedance matching circuits IM1 and OM1. A circuit element to be configured is mounted. Specifically, the capacitor elements C1, C2, C5 to C10, conductor patterns, and the like.
これらの回路部品のうち、キャパシタ素子C1,C2,C5〜C10はチップ部品で構
成し、第1層に予め形成された導体パターンに対して、はんだ付け等の手段により取り付
ける。また、インダクタ素子L1〜L4,L6,L9は、第1層(図6)に形成されたス
トリップ線路によって構成することが出来る。さらに第1層には、キャパシタ素子C11
を形成するための電極C11a,C11bと、キャパシタ素子C3,C4を形成するため
の電極C3a,C4aを形成する。Among these circuit components, capacitor elements C1, C2, C5 to C10 are constituted by chip components, and are attached to a conductor pattern previously formed on the first layer by means such as soldering. Further, the inductor elements L1 to L4, L6, and L9 can be configured by strip lines formed in the first layer (FIG. 6). Further, the capacitor element C11 is provided on the first layer.
And electrodes C3a and C4a for forming capacitor elements C3 and C4 are formed.
第2層(図7)には、インダクタ素子L2〜L4を形成する。これらのインダクタ素子
L2〜L4を構成する導体パターンは、前に述べたように該導体パターンと同一の平面形
状のポストビアによって、前記第1層に形成したインダクタ素子L2〜L4用の導体パタ
ーンと一体化してある。In the second layer (FIG. 7), inductor elements L2 to L4 are formed. The conductor patterns constituting the inductor elements L2 to L4 are integrated with the conductor patterns for the inductor elements L2 to L4 formed in the first layer by the same planar post vias as described above. It has become.
第3層(図8)には、電極C11c、電極C3b,C4b、並びにグランドパターンG
ND1を形成してある。電極C11cおよび電極C3b,C4bは、それぞれ前記第1層
に形成した電極C11a,C11bおよび電極C3a,C4aと対向して、キャパシタ素
子C11およびキャパシタ素子C3,C4をそれぞれ構成する。また、電極C11cおよ
び電極C3b,C4bは、それぞれグランド端子GNDに接続されている。The third layer (FIG. 8) includes an electrode C11c, electrodes C3b and C4b, and a ground pattern G.
ND1 is formed. The electrode C11c and the electrodes C3b and C4b respectively constitute the capacitor element C11 and the capacitor elements C3 and C4 so as to face the electrodes C11a and C11b and the electrodes C3a and C4a formed in the first layer, respectively. The electrode C11c and the electrodes C3b and C4b are each connected to the ground terminal GND.
第4層(図9)には、電極C11dおよび電極C3c,C4cを形成する。これらの電
極C11d,C3c,C4cは、それぞれ電極C11cおよび電極C3b,C4bと対向
する。In the fourth layer (FIG. 9), an electrode C11d and electrodes C3c and C4c are formed. These electrodes C11d, C3c, and C4c face the electrode C11c and the electrodes C3b and C4b, respectively.
第5層(図10)には、グランドパターンGND2を形成する。この導体パターンGN
D2は、前記電極C11dおよび電極C3c,C4cと対向する電極C11e,C3d,
C4dを含んでいる。In the fifth layer (FIG. 10), the ground pattern GND2 is formed. This conductor pattern GN
D2 is an electrode C11e, C3d, D3 facing the electrode C11d and the electrodes C3c, C4c.
C4d is included.
したがって、電極C11a,C11bと電極C11cとが対向し、電極C11cと電極
C11dとが対向し、さらに電極C11dと電極C11eとが対向することによって、キ
ャパシタ素子C11(図3参照)が形成される。また、電極C3aと電極C3bとが対向
し、電極C3bと電極C3cとが対向し、電極C3cと電極C3dとが対向することによ
って、キャパシタ素子C3が形成される。さらに、電極C4aと電極C4bとが対向し、
電極C4bと電極C4cとが対向し、電極C4cと電極C4dとが対向することによって、
キャパシタ素子C4が形成される。Therefore, the electrodes C11a and C11b and the electrode C11c face each other, the electrode C11c and the electrode C11d face each other, and the electrode C11d and the electrode C11e face each other, thereby forming a capacitor element C11 (see FIG. 3). Further, the electrode C3a and the electrode C3b face each other, the electrode C3b and the electrode C3c face each other, and the electrode C3c and the electrode C3d face each other, thereby forming a capacitor element C3. Furthermore, the electrode C4a and the electrode C4b face each other,
The electrode C4b and the electrode C4c face each other, and the electrode C4c and the electrode C4d face each other,
Capacitor element C4 is formed.
第6層(図11)は、前記パワーアンプモジュールを構成する回路導体パターンを有さ
ず、第7層(図12)にバイアス回路BC1(図3参照)中のインダクタ素子L5,L7
およびL8を構成するストリップ線路を形成してある。そして、多層基板の底面である第
8層(図13)には、その大部分を覆うようにグランドパターンGND3を形成してある。
さらに多層基板1には、信号入力用端子Pin、信号出力用端子Pout、グランド端子GND
および第1〜第5の電源端子Vgg,Vdd等を、側面電極の形態で設けてある。The sixth layer (FIG. 11) does not have the circuit conductor pattern constituting the power amplifier module, and the inductor elements L5 and L7 in the bias circuit BC1 (see FIG. 3) are included in the seventh layer (FIG. 12).
And the strip line which comprises L8 is formed. A ground pattern GND3 is formed on the eighth layer (FIG. 13), which is the bottom surface of the multilayer substrate, so as to cover most of it.
Further, the
The first to fifth power supply terminals Vgg, Vdd and the like are provided in the form of side electrodes.
〔第二実施形態〕
図14は、本発明の第二の実施形態に係るパワーアンプモジュールを示すものであり、
図15から図22は、第二実施形態のパワーアンプモジュールについて、前記図6から図
13と同様にパワーアンプモジュールを構成する多層基板の構成を最上層(第1層)から
最下層(第8層)まで順に示すものである。これらの図においては、前記第一実施形態と
同一又は相当部分については同一の符号を付して重複した説明を省略し、以下、第二実施
形態に特有の点についてのみ説明する。[Second Embodiment]
FIG. 14 shows a power amplifier module according to a second embodiment of the present invention,
15 to FIG. 22, in the power amplifier module of the second embodiment, the configuration of the multilayer substrate constituting the power amplifier module is changed from the uppermost layer (first layer) to the lowermost layer (eighth) as in FIGS. (Layer). In these drawings, the same or corresponding parts as those in the first embodiment are denoted by the same reference numerals and redundant description is omitted, and only the points peculiar to the second embodiment will be described below.
前記第一実施形態では、出力整合回路部OM1のインダクタ素子L4をミアンダパター
ン形状を有するように構成したが、第二実施形態に係るパワーアンプモジュールは、イン
ダクタ素子L4を、ヘリカルパターン形状を有する導体により形成したものである。In the first embodiment, the inductor element L4 of the output matching circuit unit OM1 is configured to have a meander pattern shape. However, in the power amplifier module according to the second embodiment, the inductor element L4 is a conductor having a helical pattern shape. It is formed by.
すなわち、図16から図18に示すように、第2層から第4層の各層に亘ってヘリカル
状の導体パターンを形成するため、これら各層に平面略コの字形状を有する導体パターン
を形成し、これら各層の導体パターン同士をビアホールにより接続してインダクタ素子L
4を形成する。That is, as shown in FIGS. 16 to 18, in order to form a helical conductor pattern from the second layer to the fourth layer, a conductor pattern having a substantially U-shaped plane is formed on each of these layers. Inductor element L is formed by connecting the conductor patterns of these layers by via holes.
4 is formed.
ここで、本実施形態では、これら第2から第4の各層に形成したインダクタ素子L4用
の導体パターン31は、図14に示すように、第2から第4の各層に形成した導体パター
ン33の上に該導体パターン33と同一の平面形状を有するポストビア34を形成するこ
とによって基板内の他の導体パターンより導体厚を厚くし、かつ隣接する(上部の)絶縁
層11〜13にそれぞれ埋め込まれるように配設してある。前記第一実施形態と同様に該
導体の抵抗を小さくし、インダクタ素子L4における損失を低減するためである。Here, in the present embodiment, the
かかるインダクタ導体部(導体パターンおよびポストビア)は、損失を低減させる観点
からは出来るだけ厚い方が良く、少なくとも絶縁層の厚さの2分の1の厚さを有すること
が望ましい。The inductor conductor portion (conductor pattern and post via) is preferably as thick as possible from the viewpoint of reducing loss, and preferably has a thickness at least one-half the thickness of the insulating layer.
インダクタ導体部21,31の厚さは、具体的には、第二実施形態のモジュールで例え
ば42μm、前記第一実施形態で例えば64μmとすることが出来る。尚、この場合、い
ずれの実施形態においても、絶縁層の厚さ(上下層の導体パターン間の距離、すなわち下
層の導体パターンの上面と、上層の導体パターンの下面との間の距離)は40μmであり、
基板内の他の導体パターンの厚さは12μmである。Specifically, the thickness of the
The thickness of the other conductor pattern in the substrate is 12 μm.
インダクタ素子L2〜L4の導体厚をこのような値とした場合、第一および第二実施形
態のいずれによっても、出力整合回路部OM1の損失を0.1dB改善することができ、
その結果、パワーアンプモジュールの効率を1%改善することが出来た。このように本実
施形態によれば、従来に較べ高効率のパワーアンプモジュールを実現することが出来る。When the conductor thicknesses of the inductor elements L2 to L4 are set to such values, the loss of the output matching circuit unit OM1 can be improved by 0.1 dB according to any of the first and second embodiments.
As a result, the efficiency of the power amplifier module could be improved by 1%. As described above, according to the present embodiment, a power amplifier module having higher efficiency than the conventional one can be realized.
〔第三実施形態〕
図23は、本発明の第三の実施形態に係るパワーアンプモジュールを示すものであり、
図24および図25は、該第三実施形態のパワーアンプモジュールについて、前記図11
および図12と同様に、パワーアンプモジュールを構成する多層基板の第6層と第7層と
を示すものである。これらの図においては、前記第一実施形態と同一又は相当部分につい
ては同一の符号を付して重複した説明を省略し、以下、第三実施形態に特有の点について
のみ説明する。[Third embodiment]
FIG. 23 shows a power amplifier module according to the third embodiment of the present invention.
24 and 25 show the power amplifier module of the third embodiment with reference to FIG.
Similarly to FIG. 12, the sixth layer and the seventh layer of the multilayer board constituting the power amplifier module are shown. In these drawings, the same or corresponding parts as those in the first embodiment are denoted by the same reference numerals and redundant description is omitted, and only the points peculiar to the third embodiment will be described below.
第三の実施形態に係るパワーアンプモジュールは、図23に示すように、図3に示した
バイアス回路部BC1に含まれるインダクタ素子L5およびL7を、前記第一実施形態の
インダクタ導体部21と同様の絶縁層を貫通するインダクタ導体部71,81によってそ
れぞれ形成したものである。As shown in FIG. 23, in the power amplifier module according to the third embodiment, the inductor elements L5 and L7 included in the bias circuit portion BC1 shown in FIG. 3 are the same as the
すなわち、本実施形態に係るパワーアンプモジュールでは、インダクタ導体部(インダ
クタ機能を有する導体線路)71として、多層基板1の第6層に形成した導体パターン7
2と第7層に形成した導体パターン73と、さらに第6の絶縁層16を貫通してこれら第
6層および第7層に形成した導体72,73同士を電気的に接続する肉厚の導体74(ポ
ストビア)とを備えている。That is, in the power amplifier module according to the present embodiment, the conductor pattern 7 formed on the sixth layer of the
2 and the
また同様に、インダクタ導体部81として、多層基板1の第6層に形成した導体パター
ン82と第7層に形成した導体パターン83と、さらに第6の絶縁層16を貫通してこれ
ら第6層および第7層に形成した導体82,83同士を電気的に接続する肉厚の導体84
(ポストビア)とを備えている。Similarly, as the
(Post via).
また、これら第6層に形成した導体パターン72,82、第7層に形成した導体パター
ン73,83、並びに第6層および第7層に形成した両導体パターンを接続するポストビ
ア74,84は、いずれも同一の平面形状を有し、これらの導体72〜74並びに82〜
84が一体となって図3のインダクタ素子L5およびL7を形成する。The
84 together form the inductor elements L5 and L7 of FIG.
尚、図24は第6層を示し、図25は第7層を示しており、これら各図にインダクタ素
子L5およびL7の線路パターンが表れている。インダクタ導体部71,81の具体的な
形成方法は、前記第一実施形態に係るインダクタ導体部21と同様であり、後に述べる。FIG. 24 shows the sixth layer, and FIG. 25 shows the seventh layer. The line patterns of the inductor elements L5 and L7 appear in these drawings. A specific method of forming the
本実施形態によれば、前記第一実施形態と同様にインダクタ導体の抵抗を小さくし、イ
ンダクタ素子L5,L7における損失を低減することが出来る。特に、半導体回路部Q1
に直流電流が供給されるとき、インダクタ素子L5,L7には直流電流が流れる。また、
インダクタ素子L5,L7は、Vdd端子等に高周波信号が漏れないようにλ/4長の長
さを有し、インダクタ素子L5,L7の直流抵抗値は数十から百数十mΩとなるから、直
流電流が流れると大きな損失を生じることとなる。したがって、この損失を低減するメリ
ットは大きい。According to this embodiment, similarly to the first embodiment, the resistance of the inductor conductor can be reduced and the loss in the inductor elements L5 and L7 can be reduced. In particular, the semiconductor circuit part Q1
When a direct current is supplied to the inductor elements L5 and L7, a direct current flows. Also,
The inductor elements L5 and L7 have a length of λ / 4 so that a high-frequency signal does not leak to the Vdd terminal and the like, and the DC resistance values of the inductor elements L5 and L7 are several tens to hundreds of tens mΩ. When a direct current flows, a large loss occurs. Therefore, the merit of reducing this loss is great.
より具体的には、インダクタ素子を形成する線路長をl、線路幅をw、線路の肉厚をt、
比抵抗値をρとすると、直流抵抗値rは、r=ρ・l/w/tで与えられる。More specifically, the line length for forming the inductor element is l, the line width is w, the thickness of the line is t,
When the specific resistance value is ρ, the direct current resistance value r is given by r = ρ · l / w / t.
一方、インダクタ導体部71,81(インダクタ素子L5,L7)の厚さは、前記第一
実施形態のインダクタ導体部21と同様に、例えば64μmとすることが可能である。本
実施形態に基づいてインダクタ素子L5,L7の導体厚をかかる値とした場合、インダク
タの線路厚tが約5倍となり(従来12μm)、線路の抵抗値を約5分の1に低下させる
ことが出来る。On the other hand, the thickness of the
このようなバイアス回路部BC1での損失低減によりパワーアンプモジュールの効率を
2%改善することが可能であり、本実施形態のように前記第一実施形態のインダクタ導体
部21との組み合わせによって合計3%の効率改善を図ることが出来る。By reducing the loss in the bias circuit section BC1, it is possible to improve the efficiency of the power amplifier module by 2%, and a total of 3 by combining with the
このように本実施形態によれば、従来に較べ高効率のパワーアンプモジュールを実現す
ることが出来る。尚、本発明においては、バイアス回路部BC1のインダクタ素子L5,
L7のみを本実施形態のように肉厚とすること(出力整合回路部OM1のインダクタ素子
L2〜L4の導体厚は従来通り)も可能で、このようなパワーアンプモジュールも本発明
の範囲に含まれる。As described above, according to the present embodiment, a power amplifier module having higher efficiency than the conventional one can be realized. In the present invention, the inductor element L5 of the bias circuit section BC1 is used.
It is possible to make only L7 thick as in the present embodiment (the conductor thicknesses of the inductor elements L2 to L4 of the output matching circuit unit OM1 are the same as before), and such a power amplifier module is also included in the scope of the present invention. It is.
さらに、前記インダクタ素子L5,L7は、図14(第二実施形態)に示すインダクタ
導体31と同様の肉厚の導体パターン(絶縁層を貫通することなく埋め込まれた導体パタ
ーン)によって形成しても良い。すなわち、第6層に形成した導体パターン72の上に該
導体パターンと同一の平面形状を有するポストビア(肉厚導体)を形成することによって
当該導体パターンの厚さを厚くするのである。Further, the inductor elements L5 and L7 may be formed by a thick conductor pattern (a conductor pattern embedded without penetrating the insulating layer) similar to the
このような構成によれば、当該インダクタ素子を形成した層(この場合、第6層)の次
に積層する層(この場合、第7層)に他の導体パターンや素子を重ねて配置することが可
能となるから、設計の自由度を高め、隣接する配線層を有効に利用して実装密度を向上さ
せることが出来る。尚、インダクタ素子L5,L7を形成する層は、他の層に形成するこ
とも可能で(他の素子も同様)、実施形態の層位置に限定されるものではない。According to such a configuration, another conductor pattern or element is placed on the layer (in this case, the seventh layer) to be stacked next to the layer in which the inductor element is formed (in this case, the sixth layer). Therefore, the degree of freedom in design can be increased, and the mounting density can be improved by effectively using the adjacent wiring layer. The layers forming the inductor elements L5 and L7 can be formed on other layers (the same applies to other elements), and are not limited to the layer positions in the embodiment.
〔インダクタ導体部の形成方法〕
本発明の特徴であるインダクタ導体部(ポストビア)は、例えば次のような方法により
形成することが可能である。[Method of forming inductor conductor]
The inductor conductor portion (post via) which is a feature of the present invention can be formed by the following method, for example.
図26に示すように、まず、絶縁層51の表面の導体パターン52,53を形成し(同
図(a))、その上に無電解めっきにより薄い導電体層54を全面に形成する(同図(b))。
そして、導電体層54の上にめっきレジスト55を塗布または圧着し、マスクを被せて露
光・現像を行うことによりポストビアを形成すべき部分56のめっきレジストを除去する
(同図(c))。その後、電解めっきによりインダクタ素子形成用の導体パターン53の
上に導体金属を析出させ、ポストビア57を立ち上げる(同図(d))。所定厚のポスト
ビア57を形成した後、めっきレジスト55を剥離し(同図(e))、導電体層54をエ
ッチングにより除去する(同図(f))。これにより導体厚の大きな導体パターン58を
形成することが出来る。As shown in FIG. 26, first,
Then, a plating resist 55 is applied or pressure-bonded onto the
そして、図27に示すように、樹脂を塗布または樹脂付き銅箔を圧着して絶縁層61を
積層し(同図(g))、該絶縁層61の上面を研磨して平滑にした後、上層の導体パター
ン62,63を形成する(同図(h))。さらに、これらの工程(図26(b)〜(h))
を繰り返せば、前記第二実施形態(図14)のインダクタ導体部31を形成することが出
来る。Then, as shown in FIG. 27, a resin is applied or a copper foil with resin is pressure-bonded to laminate an insulating layer 61 ((g) in the figure), and the upper surface of the insulating
If the above is repeated, the
一方、前記第一および第三の実施形態のインダクタ導体部は、図28に示すように、前
記図27(g)で上層の他の導体パターン62を形成した後(図28(h1))、レジス
ト65を塗布または圧着し、露光・現像工程を経てポストビアを形成すべき部分66のレ
ジストを除去する(同図(i))。そして、絶縁層61を例えばサンドブラスト等により
除去してポストビア57を露出させ(同図(j))、該ポストビア57から金属をさらに
めっき成長させて絶縁層61の上層まで突出させる(同図(k))。これにより、絶縁層
61を貫通した前記第一および第三の実施形態(図4,図23)に係るインダクタ導体部
21,71,81を形成することが出来る。On the other hand, as shown in FIG. 28, the inductor conductor portions of the first and third embodiments are formed after forming the
以上、本発明の実施の形態について図面に基づいて説明したが、本発明はこれに限定さ
れるものではなく、特許請求の範囲に記載の範囲内で種々の変更を行うことができること
は当業者に明らかである。The embodiments of the present invention have been described with reference to the drawings. However, the present invention is not limited to these embodiments, and various modifications can be made within the scope of the claims. Is obvious.
例えば、前記インダクタ導体部は、第一実施形態では第1の絶縁層を貫通するように(第
1層と第2層に亘って)形成し、また第二実施形態では第2層から第4層に亘って形成し
たが、インダクタ導体部を形成する層は、これら以外の層とすることも可能である。また、
インダクタ導体部の形状は、ミアンダパターンやヘリカルパターンのほかにも、例えばS
字パターンその他の形状とすることも出来る。また、多層基板の積層数や各配線パターン、
実装部品の搭載位置等は、図示の例のほか様々に変更可能であることは既に述べたとおり
である。さらに、本発明のインダクタ素子内蔵基板およびパワーアンプモジュールは、携
帯電話機のRF部に使用して好適なものであるが、これに限定されるものではなく、PH
Sや通信機能を備えたPDA、無線LANカードその他、各種の通信機能を有する電子機
器に適用することが出来る。For example, the inductor conductor portion is formed so as to penetrate the first insulating layer (between the first layer and the second layer) in the first embodiment, and from the second layer to the fourth in the second embodiment. Although formed over the layers, the layer forming the inductor conductor portion may be other layers. Also,
In addition to the meander pattern and the helical pattern, the shape of the inductor conductor part may be S, for example.
It can also be a letter pattern or other shapes. In addition, the number of multilayer substrates and each wiring pattern,
As described above, the mounting position and the like of the mounting component can be variously changed in addition to the illustrated example. Furthermore, the inductor element built-in substrate and the power amplifier module according to the present invention are suitable for use in the RF portion of a mobile phone, but the present invention is not limited to this.
The present invention can be applied to PDs equipped with S and communication functions, wireless LAN cards, and other electronic devices having various communication functions.
1,5 多層基板
2 MMIC
3 グランドパターン
4 サーマルビア
11 第1の絶縁層
12 第2の絶縁層
13 第3の絶縁層
14 第4の絶縁層
15 第5の絶縁層
16 第6の絶縁層
17 第7の絶縁層
21,31,71,81 インダクタ導体部
24,34,74,84 ポストビア1,5
3
| Application Number | Priority Date | Filing Date | Title |
|---|---|---|---|
| JP2004085302AJP2005210044A (en) | 2003-12-26 | 2004-03-23 | Inductor element containing circuit board and power amplifier module |
| US11/010,327US7176756B2 (en) | 2003-12-26 | 2004-12-14 | Inductor element containing circuit board and power amplifier module |
| EP04257925AEP1549121A3 (en) | 2003-12-26 | 2004-12-17 | Inductor element containing circuit board and power amplifier module |
| CNB2004100970926ACN100433951C (en) | 2003-12-26 | 2004-12-24 | Inductor element containing circuit board and power amplifier module |
| US11/608,609US7368998B2 (en) | 2003-12-26 | 2006-12-08 | Inductor element containing circuit board and power amplifier module |
| Application Number | Priority Date | Filing Date | Title |
|---|---|---|---|
| JP2003432616 | 2003-12-26 | ||
| JP2004085302AJP2005210044A (en) | 2003-12-26 | 2004-03-23 | Inductor element containing circuit board and power amplifier module |
| Publication Number | Publication Date |
|---|---|
| JP2005210044Atrue JP2005210044A (en) | 2005-08-04 |
| Application Number | Title | Priority Date | Filing Date |
|---|---|---|---|
| JP2004085302APendingJP2005210044A (en) | 2003-12-26 | 2004-03-23 | Inductor element containing circuit board and power amplifier module |
| Country | Link |
|---|---|
| US (2) | US7176756B2 (en) |
| EP (1) | EP1549121A3 (en) |
| JP (1) | JP2005210044A (en) |
| CN (1) | CN100433951C (en) |
| Publication number | Priority date | Publication date | Assignee | Title |
|---|---|---|---|---|
| JP2008131505A (en)* | 2006-11-22 | 2008-06-05 | Nec Tokin Corp | High surface impedance structure, antenna device, and RFID tag |
| JP2011166354A (en)* | 2010-02-08 | 2011-08-25 | Tdk Corp | Power amplifier module |
| KR20150060006A (en)* | 2013-11-25 | 2015-06-03 | 삼성전기주식회사 | Printed circuit board |
| JP2016207775A (en)* | 2015-04-20 | 2016-12-08 | ローム株式会社 | Printed wiring board |
| US10438731B2 (en) | 2017-07-03 | 2019-10-08 | Murata Manufacturing Co., Ltd. | Inductor and power amplifier module |
| KR20210106895A (en)* | 2020-02-21 | 2021-08-31 | 가부시키가이샤 무라타 세이사쿠쇼 | Radio frequency module and communication device |
| US11139231B2 (en) | 2017-04-04 | 2021-10-05 | Murata Manufacturing Co., Ltd. | Radio frequency module and communication device |
| Publication number | Priority date | Publication date | Assignee | Title |
|---|---|---|---|---|
| JP2007300159A (en)* | 2006-04-27 | 2007-11-15 | Sharp Corp | Circuit unit, power supply bias circuit, LNB, and transmitter |
| GB0723213D0 (en)* | 2007-11-27 | 2008-01-09 | Yazaki Europe Ltd | Junction box |
| CN201498575U (en)* | 2009-08-06 | 2010-06-02 | 鸿富锦精密工业(深圳)有限公司 | Harmonic suppression device |
| JP5673455B2 (en)* | 2011-09-09 | 2015-02-18 | 株式会社村田製作所 | Power control circuit module |
| KR20130076246A (en)* | 2011-12-28 | 2013-07-08 | 삼성전기주식회사 | Common mode filter and manufacturing method thereof |
| CN105101864B (en)* | 2013-09-26 | 2017-04-26 | 奥林巴斯株式会社 | Endoscope device |
| FR3036917B1 (en)* | 2015-05-28 | 2018-11-02 | IFP Energies Nouvelles | ELECTRONIC DEVICE COMPRISING A PRINTED CIRCUIT BOARD WITH IMPROVED COOLING. |
| US10257932B2 (en)* | 2016-02-16 | 2019-04-09 | Microsoft Technology Licensing, Llc. | Laser diode chip on printed circuit board |
| US20180166763A1 (en) | 2016-11-14 | 2018-06-14 | Skyworks Solutions, Inc. | Integrated microstrip and substrate integrated waveguide circulators/isolators formed with co-fired magnetic-dielectric composites |
| TWI595812B (en)* | 2016-11-30 | 2017-08-11 | 欣興電子股份有限公司 | Circuit board structure and manufacturing method thereof |
| WO2018135349A1 (en) | 2017-01-18 | 2018-07-26 | Tdk株式会社 | Electronic component mounting package |
| US11081770B2 (en) | 2017-09-08 | 2021-08-03 | Skyworks Solutions, Inc. | Low temperature co-fireable dielectric materials |
| US11603333B2 (en)* | 2018-04-23 | 2023-03-14 | Skyworks Solutions, Inc. | Modified barium tungstate for co-firing |
| US11565976B2 (en) | 2018-06-18 | 2023-01-31 | Skyworks Solutions, Inc. | Modified scheelite material for co-firing |
| CN117118373B (en)* | 2023-10-19 | 2024-03-22 | 西南应用磁学研究所(中国电子科技集团公司第九研究所) | A high-power radio frequency circuit and design method based on three-dimensional matching circuit |
| CN117214481B (en)* | 2023-11-08 | 2024-01-30 | 国网辽宁省电力有限公司 | A detection equipment for power grid power control based on distributed power supply access |
| Publication number | Priority date | Publication date | Assignee | Title |
|---|---|---|---|---|
| US5223676A (en)* | 1989-11-27 | 1993-06-29 | The Furukawa Electric Co., Ltd. | Composite circuit board having means to suppress heat diffusion and manufacturing method of the same |
| US5472736A (en)* | 1991-06-03 | 1995-12-05 | Read-Rite Corporation | Method of making a bi-level coil for a thin film magnetic transducer |
| JP3661704B2 (en)* | 1992-04-01 | 2005-06-22 | 株式会社村田製作所 | Multilayer ceramic substrate |
| JPH06224539A (en) | 1993-01-21 | 1994-08-12 | Yazaki Corp | Circuit board manufacturing method |
| JPH08172161A (en) | 1994-12-16 | 1996-07-02 | Hitachi Ltd | Inductor element, manufacturing method thereof, and monolithic microwave integrated circuit element using the same |
| JPH08204340A (en)* | 1995-01-24 | 1996-08-09 | Kyocera Corp | Circuit board mounting structure |
| JPH09162354A (en)* | 1995-07-07 | 1997-06-20 | Northern Telecom Ltd | Integrated inductor structure and its manufacture |
| JPH0993049A (en)* | 1995-09-27 | 1997-04-04 | Matsushita Electron Corp | High frequency integrated circuit device |
| JPH10270248A (en) | 1997-03-21 | 1998-10-09 | Sanyo Electric Co Ltd | Spiral inductor |
| JP2001345661A (en) | 2000-05-31 | 2001-12-14 | Kyocera Corp | High frequency circuit board |
| JP2002015917A (en) | 2000-06-29 | 2002-01-18 | Kyocera Corp | Inductor |
| JP2002141757A (en) | 2000-08-08 | 2002-05-17 | Tdk Corp | Power amplifier module, dielectric board for power amplifier module and communication terminal |
| JP2002164512A (en)* | 2000-11-28 | 2002-06-07 | Fujitsu Ltd | Semiconductor device and manufacturing method thereof |
| JP2002217656A (en)* | 2001-01-24 | 2002-08-02 | Tdk Corp | High frequency power amplifier |
| US6667217B1 (en)* | 2001-03-01 | 2003-12-23 | Taiwan Semiconductor Manufacturing Company | Method of fabricating a damascene copper inductor structure using a sub-0.18 um CMOS process |
| JP2003068571A (en)* | 2001-08-27 | 2003-03-07 | Nec Corp | Variable capacitor, variable inductor, and high frequency circuit module provided therewith |
| US7271465B2 (en)* | 2002-04-24 | 2007-09-18 | Qualcomm Inc. | Integrated circuit with low-loss primary conductor strapped by lossy secondary conductor |
| ATE520141T1 (en)* | 2002-06-05 | 2011-08-15 | Nxp Bv | ELECTRONIC DEVICE AND IMPEDANCE MATCHING METHOD THEREOF |
| KR100466542B1 (en)* | 2002-11-13 | 2005-01-15 | 한국전자통신연구원 | Stacked Variable Inductor |
| Publication number | Priority date | Publication date | Assignee | Title |
|---|---|---|---|---|
| JP2008131505A (en)* | 2006-11-22 | 2008-06-05 | Nec Tokin Corp | High surface impedance structure, antenna device, and RFID tag |
| JP2011166354A (en)* | 2010-02-08 | 2011-08-25 | Tdk Corp | Power amplifier module |
| KR20150060006A (en)* | 2013-11-25 | 2015-06-03 | 삼성전기주식회사 | Printed circuit board |
| KR102176283B1 (en)* | 2013-11-25 | 2020-11-09 | 삼성전기주식회사 | Printed circuit board |
| JP2016207775A (en)* | 2015-04-20 | 2016-12-08 | ローム株式会社 | Printed wiring board |
| US11139231B2 (en) | 2017-04-04 | 2021-10-05 | Murata Manufacturing Co., Ltd. | Radio frequency module and communication device |
| US10438731B2 (en) | 2017-07-03 | 2019-10-08 | Murata Manufacturing Co., Ltd. | Inductor and power amplifier module |
| KR20210106895A (en)* | 2020-02-21 | 2021-08-31 | 가부시키가이샤 무라타 세이사쿠쇼 | Radio frequency module and communication device |
| KR102524368B1 (en)* | 2020-02-21 | 2023-04-21 | 가부시키가이샤 무라타 세이사쿠쇼 | Radio frequency module and communication device |
| Publication number | Publication date |
|---|---|
| US7368998B2 (en) | 2008-05-06 |
| CN100433951C (en) | 2008-11-12 |
| EP1549121A3 (en) | 2007-09-26 |
| US20070075767A1 (en) | 2007-04-05 |
| US20050140434A1 (en) | 2005-06-30 |
| CN1638101A (en) | 2005-07-13 |
| EP1549121A2 (en) | 2005-06-29 |
| US7176756B2 (en) | 2007-02-13 |
| Publication | Publication Date | Title |
|---|---|---|
| US7368998B2 (en) | Inductor element containing circuit board and power amplifier module | |
| US6456172B1 (en) | Multilayered ceramic RF device | |
| US9351404B2 (en) | Electronic device | |
| US7149496B2 (en) | High-frequency module and radio communication apparatus | |
| US6424233B1 (en) | Complex electronic component with a first multilayer filter having a cavity in which a second filter is mounted | |
| US20020196085A1 (en) | High frequency module | |
| JP4450079B2 (en) | High frequency module | |
| JP2001189605A (en) | Ceramic multilayer RF device | |
| CN104170266B (en) | Composite module | |
| JP2013146062A (en) | Rf module | |
| JP2001211097A (en) | High frequency switch module for multi-band | |
| JP4492708B2 (en) | High frequency module | |
| JP2005191435A (en) | Board with heat dissipating via, and power amplifier module | |
| KR100711175B1 (en) | High frequency circuit module and communication device | |
| JP3729396B2 (en) | High frequency components | |
| JP2003273520A (en) | Laminate module | |
| WO2022102588A1 (en) | Electronic component module | |
| JP3925771B2 (en) | High frequency switch module | |
| JP2005210074A (en) | Multilayer board and power amplifier module | |
| JPH11176987A (en) | High frequency power amplifier | |
| JP3750796B2 (en) | Module for mobile communication equipment | |
| JP3798959B2 (en) | Multilayer wiring board | |
| JP3884580B2 (en) | Hybrid integrated circuit device and electronic device incorporating the hybrid integrated circuit device | |
| JP2002141757A (en) | Power amplifier module, dielectric board for power amplifier module and communication terminal | |
| JP2003332167A (en) | Electronic component and its manufacturing method |
| Date | Code | Title | Description |
|---|---|---|---|
| A621 | Written request for application examination | Free format text:JAPANESE INTERMEDIATE CODE: A621 Effective date:20070115 | |
| A977 | Report on retrieval | Free format text:JAPANESE INTERMEDIATE CODE: A971007 Effective date:20090501 | |
| A131 | Notification of reasons for refusal | Free format text:JAPANESE INTERMEDIATE CODE: A131 Effective date:20090514 | |
| A02 | Decision of refusal | Free format text:JAPANESE INTERMEDIATE CODE: A02 Effective date:20090925 |