











本発明は、光学式エンコーダに関し、特にデジタル出力を行う光学式エンコーダに関する。特にスケールのピッチが0.1mm以下、さらには0.05mm以下の場合に好適な光学式エンコーダに関する。またそれを備えた撮像装置に関する。 The present invention relates to an optical encoder, and more particularly to an optical encoder that performs digital output. In particular, the present invention relates to an optical encoder suitable for a scale pitch of 0.1 mm or less, and further 0.05 mm or less. Further, the present invention relates to an imaging apparatus provided with the same.
各種産業機器、精密機械等で数μmオーダーの分解能を持つ位置検出装置が必要とされている。例えば、カメラの場合には、オートフォーカスのためにフォーカシングレンズの位置検出や、手ぶれ補正のためにレンズや撮像素子の移動量検出が必要である。また、これら検出装置は、カメラの小型化、低コスト化の要求のため、高性能化、小型化、低コスト化が求められている。 There is a need for a position detection device having a resolution of the order of several μm in various industrial equipment, precision machines, and the like. For example, in the case of a camera, it is necessary to detect the position of a focusing lens for autofocus and to detect the amount of movement of a lens or image sensor for camera shake correction. In addition, these detection devices are required to have high performance, downsizing, and low cost because of the demand for downsizing and cost reduction of cameras.
低コストな位置検出器の一つとして光学式エンコーダがある。光学式エンコーダには、例えば、図10に示されるように、発光素子101とメインスケール112と受光素子110とを有するタイプ(以下、構成Aと呼ぶ)と、発光素子101と受光素子110と移動スケール102と固定スケール103とを有するタイプ(以下、構成Bと呼ぶ)とがある。構成A、構成Bにおいて、メインスケール112、移動スケール102、固定スケール103は、遮光部と透過部とが同じ面積で交互に所定ピッチPで配置されている。構成Aの光学式エンコーダでは、受光素子110の受光エリア(開口)は遮光部のエリアとほぼ同じであり、メインスケール112が、発光素子101と受光素子110の対に対し相対的に移動する。構成Bの光学式エンコーダでは、発光素子101、受光素子110および固定スケール103は位置固定で、移動スケール102が相対的に移動する。いずれの構成においても、メインスケール112あるいは移動スケール102の移動により、発光素子101から受光素子110に達する光量が変化する。この変化を受光素子110により検出し、受光素子110からの出力信号を任意に設けた閾値と比較することでデジタル信号を得る。図11にデジタル信号を得るための信号処理を示す。受光素子110で得られる光強度を表す信号に閾値Aと閾値Bとを設ける(A)。閾値Aおよび閾値Bは最大強度と最小強度の略中間値である。信号は、閾値Bを越え続いて閾値Aを越えるときと、閾値Aを下回り続いて閾値Bを下回るときとで、それぞれ1と0とに2値化される(B)。閾値にヒステリシスを持たせる理由は、ノイズにより信号がふらつき、それによって2値化の際に生じるエラーを防止するためである。検出移動量の誤差を減少させるためにも、強度変化に対してヒステリシスが小さい(閾値Aと閾値Bとの差が小さい)ことが好ましい。次に、この2値化された信号の立ち上がりと立下りをパルス化する(C)。このパルス信号をカウントすることで移動スケールの移動量を検出する。移動スケール102がスケールピッチだけ移動すると、信号の強度は一周期変化するため、パルス1つをカウントするとスケールピッチの半分の長さを、移動スケール102すなわち移動体が変位したことがわかる。以下、図11により示される方法を2分割法と呼ぶ。2分割法による光学式エンコーダの分解能はスケールピッチの半分である。 An optical encoder is one of low-cost position detectors. For example, as shown in FIG. 10, the optical encoder includes a type having a
これらのエンコーダを用いて検出分解能を向上させる方法の例として、スケールのピッチを小さくする方法と、検出された光強度の変化を信号処理により内挿する方法とがある。後者の方法の例が、下記の特許文献1に記載されている。特許文献1には、位相がπ/2異なる2つの信号から、スケールピッチの1/4を最小単位とするデジタルカウンタを生成する4分割法、4分割以上の分割を行う抵抗分割法および時間変調法が記載されている。また、特許文献1には4分割法に基づいた変位量から信号の位相角を求めて、スケールの変位量を算出する変位量検出法が開示されている。 Examples of methods for improving the detection resolution using these encoders include a method of reducing the scale pitch and a method of interpolating the detected light intensity change by signal processing. An example of the latter method is described in
光学式エンコーダの検出分解能を向上させるためにスケールのピッチを小さくすると、構成A、Bいずれにおいても、スケールピッチによる回折が発生する。その結果、本来スケールにより遮断されるはずの光が受光素子に回り込み信号のS/N比が低下する。ここでいう信号のS/N比とは、最大信号強度(透過率が最大となる時の受光素子の出力値)/最小信号強度(透過率が最小となる時の受光素子の出力値)である。 If the scale pitch is reduced in order to improve the detection resolution of the optical encoder, diffraction due to the scale pitch occurs in both configurations A and B. As a result, the light that should originally be blocked by the scale enters the light receiving element, and the S / N ratio of the signal decreases. The signal S / N ratio here is the maximum signal intensity (output value of the light receiving element when the transmittance is maximum) / minimum signal intensity (output value of the light receiving element when the transmittance is minimum). is there.
また、構成Bの光学エンコーダでは、図12に示すように、(a)本来光が遮断されるはずなのに漏れ光が発生したり、(b)本来透過するべき光が遮断されたりすることが起こる。そのため信号のS/N比が低下する。信号のS/N比の低下は位置検出精度の低下をもたらす。一般的に光学式エンコーダのスケールピッチは0.1mm以上であり、それよりも小さなものは上記理由から実用化困難であった。よって、検出分解能にも限界があった。 Further, in the optical encoder of configuration B, as shown in FIG. 12, (a) light is supposed to be blocked, but leakage light is generated, or (b) light that should be transmitted is blocked. . As a result, the S / N ratio of the signal decreases. A decrease in the S / N ratio of the signal results in a decrease in position detection accuracy. In general, the scale pitch of an optical encoder is 0.1 mm or more, and those smaller than that are difficult to put into practical use for the above reasons. Therefore, there is a limit to the detection resolution.
一方、信号処理により光学式エンコーダの検出分解能を向上させる特許文献1に記載の方法においても、図12で示される漏れ光等の問題を本質的に有している。信号のS/N比が低下すると、精度良く信号の位相角を検出できないので、位置検出精度は低下する。すなわち、信号を内挿することにより、位置検出精度を向上させる方法においても、S/N比を向上させる必要がある。 On the other hand, the method described in
上記漏れ光等の問題を避けるために、平行光をスケールに入射させる方法があるが、そのためにはレーザーダイオード等の点光源とコリメータレンズが必要であり、コスト高を招く。 In order to avoid the above-mentioned problems such as leakage light, there is a method in which parallel light is incident on the scale. However, for this purpose, a point light source such as a laser diode and a collimator lens are required, which increases costs.
本発明は以上の点に鑑みなされたものであって、信号のS/N比を向上させることで、光学式エンコーダの位置検出精度を向上させることを目的とする。 The present invention has been made in view of the above points, and an object thereof is to improve the position detection accuracy of an optical encoder by improving the S / N ratio of a signal.
上記目的を達成するために、第1の発明は、所定ピッチで配列された光学的パターンを有する固定スケールと、固定スケールに対して相対的に移動可能に対向配置され、固定スケールと同じピッチで配列された光学的パターンを有する移動スケールと、固定スケールおよび移動スケールに光を照射する光源部と、移動スケールの移動にともなう光源部からの光の強度変化を検出する受光部とを備え、固定スケールと移動スケールの相対的な移動位置を検知する光学式エンコーダであって、以下の条件式を満足する。
d1 ≦ 2.5×P1
ただし、d1は、移動スケールの光学的パターンと固定スケールの光学的パターンとの距離、P1は、移動スケール及び固定スケールのスケールピッチ、である。To achieve the above object, according to a first aspect of the present invention, there is provided a fixed scale having an optical pattern arranged at a predetermined pitch and a movable scale opposed to the fixed scale so as to be movable relative to the fixed scale. Fixed and equipped with a moving scale having an optical pattern arranged, a fixed scale and a light source unit that irradiates light to the moving scale, and a light receiving unit that detects a change in light intensity from the light source unit as the moving scale moves. An optical encoder that detects the relative movement position of a scale and a moving scale, and satisfies the following conditional expression.
d1 ≦ 2.5 × P1
Here, d1 is the distance between the optical pattern of the moving scale and the optical pattern of the fixed scale, and P1 is the scale pitch of the moving scale and the fixed scale.
固定スケールと移動スケールとの距離が所定値以下に設定されているため、スケールによる回折の影響や、漏れ光の影響がなくなりS/N比の高い信号が得られる。その結果、高精度な位置検出が可能となる。 Since the distance between the fixed scale and the moving scale is set to a predetermined value or less, the influence of diffraction by the scale and the influence of leakage light are eliminated, and a signal with a high S / N ratio can be obtained. As a result, highly accurate position detection is possible.
前記固定スケールと、前記移動スケールのスケールピッチは50μm以下であることが好ましい。高精度な位置検出が可能となる。 The scale pitch of the fixed scale and the moving scale is preferably 50 μm or less. High-precision position detection is possible.
前記固定スケールの光学的パターンと、前記移動スケールの光学的パターンとが対峙して配置されていることが好ましい。移動スケールの光学的パターンと固定スケールの光学的パターンとの距離を小さくでき、S/N比の高い信号が得られる。 It is preferable that the optical pattern of the fixed scale and the optical pattern of the moving scale are arranged to face each other. The distance between the optical pattern of the moving scale and the optical pattern of the fixed scale can be reduced, and a signal having a high S / N ratio can be obtained.
また、前記固定スケールと前記移動スケールとは接触していることが好ましい。S/N比の変動が発生せず、安定した検出精度が得られる。 The fixed scale and the moving scale are preferably in contact with each other. S / N ratio does not fluctuate and stable detection accuracy is obtained.
第2の発明は、透過領域と遮光領域とが交互に所定ピッチで配列された光学的パターンを有するメインスケールと、メインスケールに光を照射する光源部と、メインスケールの遮光領域よりも小さな開口を持ち、メインスケールを透過した光源部からの光を受光する少なくとも一つの受光部とを備え、光源部および受光部の対と、メインスケールとが相対的に移動可能でありその移動位置を検出する光学式エンコーダであって、以下の条件式を満足する光学式エンコーダである。
d2 ≦ 2.5×P2
ただし、d2は、メインスケールの光学的パターンと受光部の開口との距離、P2は、メインスケールのスケールピッチ、である。According to a second aspect of the present invention, there is provided a main scale having an optical pattern in which transmission regions and light shielding regions are alternately arranged at a predetermined pitch, a light source unit that irradiates light to the main scale, and an opening smaller than the light shielding region of the main scale. And at least one light-receiving unit that receives light from the light source unit that has passed through the main scale, and the pair of the light source unit and the light-receiving unit and the main scale are relatively movable, and the movement position is detected. An optical encoder that satisfies the following conditional expressions.
d2 ≦ 2.5 × P2
However, d2 is the distance between the opening of the light receiving portion optical pattern of the main scale, P2 is a scale pitch of the main scale.
前記メインスケールのスケールピッチは50μm以下であることが好ましい。高精度な位置検出が可能となる。 The scale pitch of the main scale is preferably 50 μm or less. High-precision position detection is possible.
前記メインスケールの光学的パターンと、前記受光部とが対峙して配置されていることが好ましい。メインスケールの光学的パターンと受光部との距離を小さくでき、S/N比の高い信号が得られる。 It is preferable that the optical pattern of the main scale and the light receiving unit are arranged to face each other. The distance between the optical pattern of the main scale and the light receiving portion can be reduced, and a signal with a high S / N ratio can be obtained.
また、第1、第2の発明において、前記移動スケールと前記固定スケールとの間、または前記メインスケールと前記受光部の開口との間に、潤滑性がありかつ光を透過する液体が充填されていることが望ましい。スケールの摩擦抵抗を減少させることができる。また、スケールの保護膜を設ける必要がないため、前記移動スケールと前記固定スケールとの距離あるいは、前記メインスケールと前記受光部の開口との距離を短くでき、S/N比の高い信号が得られる。 In the first and second aspects of the invention, a liquid that is lubricious and transmits light is filled between the moving scale and the fixed scale, or between the main scale and the opening of the light receiving unit. It is desirable that The frictional resistance of the scale can be reduced. Further, since it is not necessary to provide a protective film for the scale, the distance between the moving scale and the fixed scale or the distance between the main scale and the opening of the light receiving unit can be shortened, and a signal with a high S / N ratio can be obtained. It is done.
第3の発明は、透過領域と非透過領域とが交互に所定ピッチで配列された光学的パターンを有する固定スケールと、固定スケールに対して相対的に移動可能に対向配置され、透過領域と非透過領域とが交互に、固定スケールと同じピッチで配列された光学的パターンを有する移動スケールと、固定スケールおよび移動スケールに光を照射する光源部と、固定スケールおよび移動スケールとを透過した光源部からの光、あるいは、固定スケールあるいは移動スケールのいずれかによって反射された光源部からの光を受光する受光部とを備え、固定スケールと移動スケールの相対的な移動位置を検知する光学式エンコーダであって、固定スケールと移動スケールのうち少なくとも何れかのスケールの非透過領域は透過領域よりも大きい。スケールの漏れ光の影響を減少させることができるためS/N比の高い信号が得られる。 According to a third aspect of the present invention, a fixed scale having an optical pattern in which transmissive areas and non-transmissive areas are alternately arranged at a predetermined pitch is disposed opposite to the fixed scale so as to be movable relative to the fixed scale. A moving scale having an optical pattern in which transmission regions are alternately arranged at the same pitch as the fixed scale, a light source unit that irradiates light to the fixed scale and the moving scale, and a light source unit that transmits the fixed scale and the moving scale An optical encoder that detects the relative movement position of the fixed scale and the moving scale, and a light receiving section that receives light from the light source section reflected by either the fixed scale or the moving scale. In addition, the non-transmission area of at least one of the fixed scale and the moving scale is larger than the transmission area. Since the influence of the leakage light of the scale can be reduced, a signal with a high S / N ratio can be obtained.
第1、第2および第3の発明において、前記移動スケールまたは前記メインスケールは、移動方向に張力が与えられていることが望ましい。スケール間距離や、スケールと受光部との距離を安定させることができ、信号のS/N比を安定させることができる。 In the first, second and third inventions, it is desirable that the moving scale or the main scale is given a tension in the moving direction. The distance between the scales and the distance between the scale and the light receiving unit can be stabilized, and the S / N ratio of the signal can be stabilized.
第4の発明は、被写体の光学像を形成する撮像光学系と、撮像光学系により形成された光学像を電気信号に変換する撮像素子と、撮像光学系のレンズを光軸方向に移動させる駆動部と、駆動部によって移動させられるレンズの移動量を検知する請求項1乃至10のいずれかの光学式エンコーダを備えた撮像装置である。 According to a fourth aspect of the present invention, there is provided an imaging optical system that forms an optical image of a subject, an imaging element that converts an optical image formed by the imaging optical system into an electrical signal, and a drive that moves a lens of the imaging optical system in the optical axis direction. And an optical encoder according to any one of
回折や漏れ光の影響が取り除かれた光学式エンコーダを備えているため、レンズ位置を高精度に検出でき、その結果高精度のレンズ制御を行うことができる。 Since the optical encoder from which the influence of diffraction and leakage light is removed is provided, the lens position can be detected with high accuracy, and as a result, highly accurate lens control can be performed.
スケールの回折や漏れ光によるS/N比の低下を防止でき、高精度な位置検出を行うことができる。0.1mm以下、特に0.05mm以下のスケールピッチを持つ光学式エンコーダにおいてはS/N比の低下によって高精度の位置検出が困難であったが、簡単な構成で高精度の位置検出が可能となる。そして本発明に係る光学式エンコーダを撮像装置に使用するとレンズ等の位置を高精度に検出できるため、より正確なレンズ駆動が可能となり高画質な画像が得られる It is possible to prevent a decrease in the S / N ratio due to scale diffraction or leakage light, and to perform highly accurate position detection. In an optical encoder with a scale pitch of 0.1 mm or less, especially 0.05 mm or less, it was difficult to detect the position with high accuracy due to the decrease in the S / N ratio. It becomes. When the optical encoder according to the present invention is used in an imaging apparatus, the position of a lens or the like can be detected with high accuracy, so that more accurate lens driving is possible and high-quality images are obtained.
以下、本発明の実施形態について、図面を参照しながら説明する。なお、上記従来例および以下に示す実施形態の相互において、同一の部分や相当する部分には、同一の符号を付して重複説明を適宜省略する。 Hereinafter, embodiments of the present invention will be described with reference to the drawings. Note that, in the above-described conventional example and the embodiments described below, the same portions and corresponding portions are denoted by the same reference numerals, and redundant description is appropriately omitted.
図7は、本発明の一実施形態である撮像装置の概略構成を示すブロック図である。撮像装置50は、被写体の光学像を作る撮像光学系20と、光学像を電気信号に変化する撮像素子7と、撮像素子7からの電気信号を処理する画像処理部21と、ズーミングやオートフォーカスのためのアクチュエータや駆動機構を有するレンズ駆動部23と、レンズの位置検出のための光学式エンコーダ100と、レンズ駆動部23、画像処理部21等や撮像装置50全体を制御する制御部25とを備えている。 FIG. 7 is a block diagram illustrating a schematic configuration of an imaging apparatus according to an embodiment of the present invention. The
撮像光学系20は撮像素子7の撮像面上に被写体の光学像を形成する。撮像素子7は、複数の画素が2次元に配列されたイメージセンサであり、例えばCCD(Charge Coupled Device)である。撮像光学系によって結像された被写体の光学像を、R(赤)、G(緑)、B(青)の色成分の画像信号(各画素で受光された画素信号の信号列からなる信号)に光電変換して出力する。 The imaging
画像信号は、画像処理部21で、必要に応じてアナログ画像処理やデジタル画像処理、あるいは画像圧縮処理等が行われる。画像処理部21で処理された画像信号は、図示しないメモリに記録されたり、場合によってはケーブルを介したり赤外線信号に変換されたりした後、外部のパーソナルコンピュータ(PC)や外部の記憶媒体に記録されたりする。 The image signal is subjected to analog image processing, digital image processing, image compression processing, or the like in the
光学式エンコーダ100からの出力信号はデジタル信号として制御部25に出力される。光学式エンコーダについては、後述する。 An output signal from the
制御部25は、マイクロコンピュータからなり、光学式エンコーダ100からの出力に基づいて撮像光学系20に含まれるレンズの位置検出を行う。また、画像処理部21、レンズ駆動部23、あるいは画像データの出力を制御する。 The
次に撮像装置50のレンズ駆動部23について説明する。図6に、光学式エンコーダを備えた撮像装置20のレンズ駆動部を示す。レンズ駆動部23は、摩擦力を介して駆動力を伝える摩擦駆動タイプのアクチュエータ10a,10bで、レンズを保持する玉枠5,6をそれぞれ別個に独立して駆動する。 Next, the
アクチュエータ10a,10bは、圧電素子2a,2bの伸縮方向両端に、基台1a,1bと駆動軸3a,3bとがそれぞれ固着されたものである。駆動軸3a,3bは、玉枠5,6の溝に板ばね4b(一方のみ図示)で付勢され、玉枠5,6に摩擦結合するようになっている。そして、圧電素子2a,2bに、例えば鋸歯状パルス波形の駆動電圧を与え、矢印90,92で示すように駆動軸3a,3bをその軸方向に向きにより異なる速度で振動させ、玉枠5,6を駆動軸3a,3bに沿って移動させる。なお、玉枠5,6はガイド軸8により光軸方向に案内される。 The
玉枠5,6には、移動スケール102が設けられている。撮像装置50には、玉枠5,6の移動量を検知するために、移動スケール102を含む光学式エンコーダ100が設けられている(玉枠5に対する光学式エンコーダは、移動スケール102を除き図示しない)。 A moving
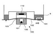
次に、光学式エンコーダ100の構成について図1、図2を用いて説明する。図1は、光学式エンコーダ100の断面図であり、図2は移動スケール102、固定スケール103の拡大した断面図である。また、図示していないが受光素子110からの電気信号を、デジタル信号に変換して出力する回路を備えている。発光素子101、固定スケール103、受光素子110は、固定物105に固定されている。固定物105は、図6、図1に示されるように、略コの字形状をしており、対向する2つの面のうち、一方には受光素子110が、もう一方の側には発光素子101と固定スケール103が固定されている。固定物の対向する面の片側は、レンズの移動する方向に傾斜を有する凸面形状であり、この形状に沿って弓状に固定スケール103が固定されている。 Next, the configuration of the
移動スケール102は、一端が玉枠6に直接固定され、他端が引っ張りばね104を介して玉枠6に固定されている。また、移動スケール102は固定スケール103に押圧され接触した状態にあり、玉枠6の光軸方向の移動に伴い、固定スケール103と接触した状態のまま玉枠6と一体的に移動する。移動スケール102が固定スケール103と密着しているため、図12(A)、図12(B)で示したような漏れ光や透過光量の減少は起こらず、検出信号のS/N比は低下しない。さらに、検出信号のS/N比が変化することもない。また、移動スケール102は、弓状形状をした固定スケール103に押圧されているため、固定スケールを取り付けている部材である固定物105の角による磨耗削れや、接触不良による中央部の浮きが防止できる。なお、固定スケール103が弓状に固定されていることによって測定値に誤差を生じる可能性があるが、これは信号処理により補正可能である。 One end of the moving
本実施形態の発光素子101は発光ダイオードであり、固定スケール103の曲率中心側に配置されることが好ましい。これは、スケールに対して光をできるだけ垂直に入射させるためであり、これにより漏れ光の影響をさらに低減できる。なお、発光素子101は発光ダイオードに限定されるものではなく、他の素子、例えば、レーザーダイオード等でもよい。また、受光素子110にはフォトトランジスタを使用している。これについてもこの素子に限定されるものではなく、他の素子例えばフォトダイオード等でもよい。 The
図2に示されるように、移動スケール102、固定スケール103は、可撓性を有する透明なポリエチレンテレフタレート(PET)からなる基板102a,103a上に、遮光パターン102b,103bがそれぞれ形成され、さらにその上に保護膜102c,103cがそれぞれ形成されている。遮光パターン102b,103bはアルミニウムで形成され、一般的なフォトリソグラフィ技術によって作製されている。また基板上に形成された遮光パターン102b,103bは、互いに対峙するよう配置されている。保護膜102c,103cは、遮光パターンが摺動によって磨耗することを防止するために設けられ、透明な紫外線硬化樹脂によって作製されている。保護膜が薄いほど遮光パターン102b,103bの間隔が小さくなり漏れ光等の影響が少なくなるが、逆に摺動耐磨耗性が低下する。そこで、本実施形態ではパターン上の保護膜の厚さを5μmとし、S/N比の低下と摺動耐磨耗性の相反関係をバランスさせている。 As shown in FIG. 2, the moving
本実施形態の移動スケール102のスケールピッチは8μmであり、Duty比は0.5である。また、固定スケール103のスケールピッチは、8μmであり、Duty比は0.6である。移動スケール102の遮光パターン102bと固定スケール103の遮光パターン103bとの距離(以下スケール間距離と称す)は、パターン上の保護膜の厚さが5μmであるから、10μmである。なお、Duty比とは、スケールパターンの一周期に対する遮光部の長さであり、
Duty比=遮光領域長/(遮光領域長+透過領域長)
である。また、発光素子101から固定スケール103までの距離は1mm、受光素子110のスケール移動方向の長さは0.15mmである。図3に受光素子110で検出される光強度の変化を示す。横軸は移動スケールの移動量、縦軸は光強度であり、スケールがない場合の光強度を100としている。図3に示されるように充分なS/N比が得られており、閾値を2値設けヒステリシスを持たせることが可能である。また、図4に、本実施形態における、スケール間距離とスケール透過率との関係、およびスケール間距離とS/N比との関係を表すグラフを示す。横軸は、スケール間距離(mm)であり、縦軸は、スケールの最大透過率(MAX)、最小透過率(MIN)および最大透過率と最小透過率とにより計算されたS/N比である。スケール間距離が小さくなるにつれ、最大透過率が増加し、最小透過率が減少している。これは、スケールによる光線けられと、漏れ光が減少したためである。本実施形態の場合には、スケール間距離は0.01mmであるから、S/N比は38である。なお、移動スケール102および固定スケール103のDuty比がともに0.5のときは、S/N比とスケール間距離とは略反比例の関係にあり、S/N比とスケールピッチとは略正比例の関係にある。The moving
Duty ratio = light shielding area length / (light shielding area length + transmission area length)
It is. The distance from the
次にDuty比とS/N比の関係について説明する。本実施形態は、固定スケールのDuty比が0.5より大きいことに特徴がある。固定スケールのDuty比が0.5より大きいことで、図12(A)に示されるような漏れ光を抑制することができる。Duty比が0.5より大きいと、最大透過率が減少するが、光源のパワーを大きくすれば、光強度は大きくすることができる。しかしながら、最小透過率については漏れ光を抑制しない限り低くすることは困難である。従って、S/N比を向上させるためには、漏れ光を抑制する必要がある。 Next, the relationship between the duty ratio and the S / N ratio will be described. The present embodiment is characterized in that the duty ratio of the fixed scale is larger than 0.5. When the duty ratio of the fixed scale is greater than 0.5, leakage light as shown in FIG. 12A can be suppressed. When the duty ratio is greater than 0.5, the maximum transmittance decreases, but the light intensity can be increased by increasing the power of the light source. However, it is difficult to reduce the minimum transmittance unless leakage light is suppressed. Therefore, in order to improve the S / N ratio, it is necessary to suppress leakage light.
図5に、固定スケールのDuty比を変化させた場合の、スケール間距離とS/N比との関係を示す。Duty比が大きくなるに従って、同じスケール間の距離でもS/N比が向上する。逆に言えば、Duty比を大きく設定すれば、スケール間の距離を大きくしても、S/N比は低下しない。本実施形態の場合には、Duty比を0.6以上にすれば、保護膜103cの厚さを大きくして摺動耐磨耗性を向上することができる。また、移動スケール102と固定スケール103とを接触させない場合でも、回折や漏れ光の影響を低減することができる。この場合には、両スケールの接触による摺動負荷がなくなることから、駆動負荷が低減する。ただし、Duty比を大きくする場合には、スケールの透過率が低下するため受光素子110が持つ熱雑音等の影響をうけて信号にノイズが生じやすいので、発光素子101に充分なパワーを与えることが望ましい。 FIG. 5 shows the relationship between the distance between the scales and the S / N ratio when the duty ratio of the fixed scale is changed. As the duty ratio increases, the S / N ratio improves even at the same distance between scales. In other words, if the duty ratio is set large, the S / N ratio does not decrease even if the distance between the scales is increased. In the present embodiment, if the duty ratio is 0.6 or more, the thickness of the
ここで、移動スケール102と固定スケール103とは、以下の条件式(1)を満足することが望ましく、条件式(1’)を満足することが更に望ましい。
d1 ≦ 2.5×P1 (1)
d1 ≦ 1.5×P1 (1’)
ただし、
d1:移動スケールの光学的パターンと固定スケールの光学的パターンとの距離、
P1:移動スケール及び固定スケールのスケールピッチ、
である。Here, the moving
d1 ≦ 2.5 × P1 (1)
d1 ≦ 1.5 × P1 (1 ′)
However,
d1 : distance between the optical pattern of the moving scale and the optical pattern of the fixed scale,
P1 : Scale pitch of moving scale and fixed scale,
It is.
スケール間距離d1がスケールピッチP1の2.5倍より大きくなると漏れ光の影響が大きくなり充分なS/N比が得られなくなる。例えば、2分割法で移動量を検出する場合、光源の強度によって差があるが一般的に使用されている光源強度に基づくと、ヒステリシスを持たせて精度よく検出するためにはS/N比は4以上あることが望ましい。図5より、8μmのスケールピッチの場合、Duty比0.5でスケール間距離は約20μmのときS/N比は約4であり、スケール間距離はスケールピッチの約2.5倍となっている。When the inter-scale distance d1 is larger than 2.5 times the scale pitch P1 , the influence of leakage light becomes large and a sufficient S / N ratio cannot be obtained. For example, when the amount of movement is detected by the two-division method, there is a difference depending on the intensity of the light source, but based on the light source intensity that is generally used, the S / N ratio is required to accurately detect with hysteresis. Is preferably 4 or more. From FIG. 5, in the case of a scale pitch of 8 μm, when the duty ratio is 0.5 and the distance between scales is about 20 μm, the S / N ratio is about 4, and the distance between scales is about 2.5 times the scale pitch. Yes.
S/N比とスケール間距離とは略反比例の関係にあり、S/N比とスケールピッチとは略正比例の関係にあるため、スケールピッチ20μm、両スケールともDuty比0.5の場合には、S/N比4を達成するためには、図5からスケール間距離は50μmとなる。20μm以下のスケールを用いると、2分割法では10μm以下の検出精度が得られる。 The S / N ratio and the distance between scales are approximately inversely proportional, and the S / N ratio and scale pitch are approximately directly proportional. Therefore, when the scale pitch is 20 μm and both scales have a duty ratio of 0.5, In order to achieve the S / N ratio of 4, the distance between the scales is 50 μm from FIG. When a scale of 20 μm or less is used, detection accuracy of 10 μm or less can be obtained by the two-segment method.
なお、さらなる高分解能が必要な場合には、信号の内挿をする必要があるため、さらに高いS/N比が必要となるが、発光素子の発光光量、スケール間距離等を勘案して最適なDuty比やスケール間距離を決定すればよい。 When higher resolution is required, it is necessary to interpolate the signal, so a higher S / N ratio is required, but it is optimal in consideration of the amount of light emitted from the light emitting element, the distance between scales, etc. What is necessary is just to determine a duty ratio and the distance between scales.
次に、本発明に係る第2の実施の形態について説明する。第2の実施の形態の撮像装置は、第1の実施の形態の撮像装置と同様の構成を有するが、光学式エンコーダのみが異なる。第2の実施の形態に係る光学式エンコーダ200の断面図を図8に示す。第1の実施の形態の光学式エンコーダと異なる点は、固定スケール103を有さない構成Aのタイプであることである。受光素子110の受光エリア(受光素子の開口)は、メインスケール112の遮光領域よりも小さい。本実施形態のメインスケール112のスケールピッチは0.1mmであり、受光素子の開口とメインスケール112の光学パターンとの距離は0.2mmである。これにより、受光素子とは無関係なメインスケールのパターンから回り込んできた回折光を検出することがなく、S/N比を向上させることができる。メインスケール112の構造は、第1の実施の形態の移動スケール102と同様である。メインスケールの遮光パターンが形成されている側の面は、受光素子110側にあることが望ましい。これにより、受光素子110と遮光パターンとの間隔を小さくでき、回折光の影響を抑制することができる。第2の実施形態において、以下の条件式(2)を満足することが望ましく、条件式(2’)を満足することがさらに望ましい。
d2 ≦ 2.5×P2 (2)
d2 ≦ 1.5×P2 (2’)
ただし、
d2:メインスケールの光学パターンと受光素子の開口との距離、
P2:メインスケールのスケールピッチ、
である。Next, a second embodiment according to the present invention will be described. The imaging device of the second embodiment has the same configuration as the imaging device of the first embodiment, but only the optical encoder is different. A cross-sectional view of an
d2 ≦ 2.5 × P2 (2)
d2 ≦ 1.5 × P2 (2 ′)
However,
d2 : distance between the optical pattern of the main scale and the aperture of the light receiving element,
P2 : Scale pitch of the main scale,
It is.
距離d2がスケールピッチP2の2.5倍より大きくなると、回折の影響をうけて充分なS/N比が得られなくなる。When the distance d2 is greater than 2.5 times the scale pitch P2, sufficient S / N ratio under the influence of diffraction can not be obtained.
第2の実施の形態の光学式エンコーダの変形例として、受光素子110を複数設けてもよい。この場合、受光素子110をメインスケール112のスケールピッチの整数倍のピッチで配列させる。これにより光源101からの光を有効に利用でき、検出信号の雑音成分の影響を低減できる。また、受光素子101が遮光パターンより大きい場合には、受光素子110の入射面側に遮光パターン112bよりも小さい開口を設け、開口以外の領域の光を受光素子101に導かないようにしてもよい。この開口とメインスケール112とを条件式(2)を満足するように配置すれば同様の効果が得られる。この開口を設けることで、受光素子110の検出面積に制限がなくなる。すなわち、受光素子110の開口(受光エリア)が、遮光パターンよりも大きくてもよい。さらにメインスケール112の遮光パターンの整数倍ピッチで、遮光パターンよりも小さい複数の開口を受光素子101の入射面側に配置し、開口をメインスケール112と条件式(2)を満足するように配置すれば、光を有効に利用できて回折光の影響を抑制することができる。このような開口を設けることと、受光素子110の開口(受光エリア)が遮光パターンよりも小さいということは、等価であるため、特に区別はしないで受光素子の開口と呼ぶ。 As a modification of the optical encoder of the second embodiment, a plurality of light receiving
次に、本発明に係る第3の実施の形態について説明する。第3の実施の形態の撮像装置は、第1の実施の形態の撮像装置と同様の構成を有するが、光学式エンコーダのみが異なる。図9に第3の実施の形態に係る光学式エンコーダ300のスケール部の断面を模式的に示す。光学式エンコーダ300は、第1の実施の形態の光学式エンコーダ100と、受光素子110の位置、移動スケール102、固定スケール103とが異なる。移動スケール102、固定スケール103のスケールピッチは。0.05mmであり、Duty比はともに0.5である。受光素子110の開口と移動スケール102の光学パターンとの距離は、0.2mmである。 Next, a third embodiment according to the present invention will be described. The imaging device of the third embodiment has the same configuration as the imaging device of the first embodiment, but only the optical encoder is different. FIG. 9 schematically shows a cross section of the scale portion of the
受光素子110の開口は、移動スケール102と略接触状態で配置されている。これにより、スケールによる回折光が回り込んでS/N比を低下させることがない。また、移動スケール102と固定スケール103とは接触している。 The opening of the
光学式エンコーダ300の、移動スケール102と固定スケール103は、基板そのものに遮光パターンが形成されている。すなわち、基板表面あるいは基板全体が、着色(染色)されてパターンが形成されている。着色部分は、例えば黒色であり遮光領域を形成する。この構成により、図2に示すような保護膜が必要なくなり、スケール間の距離を略零とすることができる。 The moving
以上、説明した実施形態は、スケールピッチが0.1mm以下の光学式エンコーダを用いていたが、条件式(1)、(1’)、や条件式(2)、(2’)はスケールピッチが0.1mmより大きな光学式エンコーダに適用しても有効である。 In the embodiment described above, an optical encoder having a scale pitch of 0.1 mm or less is used. However, conditional expressions (1) and (1 ′), and conditional expressions (2) and (2 ′) are scale pitches. Even if it is applied to an optical encoder having a diameter of more than 0.1 mm, it is effective.
また、上記条件式(1)、(1’)、(2)、(2’)および、Duty比が0.5より大きいという条件単独でもS/N比の向上が可能であるが、それぞれを組み合わせることで、さらにS/N比を向上することができる。 Although the conditional expressions (1), (1 ′), (2), (2 ′) and the condition that the duty ratio is larger than 0.5 can be improved, the S / N ratio can be improved. By combining, the S / N ratio can be further improved.
また、以上説明した各実施の形態以外にも、各種変形例が可能である。例えば、各実施の形態は透過型の例であるが、第1の実施の形態の変形例として、反射型も有効である。受光素子110を発光素子101と同じ側に配置し、移動スケールと固定スケールのうち、少なくとも光源(受光)側と反対側に配置されたスケールに、非反射領域(吸収あるいは透過領域)と反射領域(非透過領域)からなるパターンを形成すれば反射型が構成可能である。移動スケールと固定スケールとを条件式(1)を満足するように配置する、あるいは非反射領域のDuty比を0.5より大きくすることで、S/N比の大きな信号が得られる。 In addition to the embodiments described above, various modifications are possible. For example, each embodiment is an example of a transmission type, but a reflection type is also effective as a modification of the first embodiment. The
また、上記実施形態においては、光源側に固定スケールが配置されているが、受光素子側に固定スケールが配置されてもよい。また、上記実施の形態では、固定スケールのDuty比を0.5より大きく設定しているが、固定スケールの代わりに移動スケールのDuty比を0.5より大きくしてもよく、効果に差はない。あるいは両スケールともにDuty比を0.5より大きくしてもよい。 Moreover, in the said embodiment, although the fixed scale is arrange | positioned at the light source side, a fixed scale may be arrange | positioned at the light receiving element side. In the above embodiment, the duty ratio of the fixed scale is set to be larger than 0.5. However, the duty ratio of the moving scale may be made larger than 0.5 instead of the fixed scale, and there is a difference in effect. Absent. Alternatively, the duty ratio may be larger than 0.5 for both scales.
また、第1の実施の形態では、基板上に形成された遮光パターンを摺動から保護するために保護膜を設けているが、必ずしも保護膜を設けなくてもよい。また、保護膜の代わりに、両スケール間を潤滑性のある透明な液体で満たしてもよい。これにより摩擦抵抗を減らし、またスケール間の距離をさらに小さくすることができる。 In the first embodiment, the protective film is provided to protect the light shielding pattern formed on the substrate from sliding, but the protective film is not necessarily provided. Further, instead of the protective film, the space between both scales may be filled with a transparent transparent liquid. This can reduce frictional resistance and further reduce the distance between scales.
5,6 玉枠
7 撮像素子
20 撮像光学系
50 撮像装置
100 光学式エンコーダ
101 発光素子
102 移動スケール
103 固定スケール
104 引っ張りばね
105固定物
110 受光素子
112 メインスケール5, 6
| Application Number | Priority Date | Filing Date | Title |
|---|---|---|---|
| JP2003321612AJP2005091023A (en) | 2003-09-12 | 2003-09-12 | Optical encoder and imaging device equipped therewith |
| Application Number | Priority Date | Filing Date | Title |
|---|---|---|---|
| JP2003321612AJP2005091023A (en) | 2003-09-12 | 2003-09-12 | Optical encoder and imaging device equipped therewith |
| Publication Number | Publication Date |
|---|---|
| JP2005091023Atrue JP2005091023A (en) | 2005-04-07 |
| Application Number | Title | Priority Date | Filing Date |
|---|---|---|---|
| JP2003321612APendingJP2005091023A (en) | 2003-09-12 | 2003-09-12 | Optical encoder and imaging device equipped therewith |
| Country | Link |
|---|---|
| JP (1) | JP2005091023A (en) |
| Publication number | Priority date | Publication date | Assignee | Title |
|---|---|---|---|---|
| JP2008072785A (en)* | 2006-09-12 | 2008-03-27 | Canon Inc | Vibration type linear drive device and camera lens |
| WO2009133910A1 (en)* | 2008-04-30 | 2009-11-05 | 株式会社ニコン | Encoder device |
| US20130271945A1 (en) | 2004-02-06 | 2013-10-17 | Nikon Corporation | Polarization-modulating element, illumination optical apparatus, exposure apparatus, and exposure method |
| US9341954B2 (en) | 2007-10-24 | 2016-05-17 | Nikon Corporation | Optical unit, illumination optical apparatus, exposure apparatus, and device manufacturing method |
| US9423698B2 (en) | 2003-10-28 | 2016-08-23 | Nikon Corporation | Illumination optical apparatus and projection exposure apparatus |
| US9678332B2 (en) | 2007-11-06 | 2017-06-13 | Nikon Corporation | Illumination apparatus, illumination method, exposure apparatus, and device manufacturing method |
| US9678437B2 (en) | 2003-04-09 | 2017-06-13 | Nikon Corporation | Illumination optical apparatus having distribution changing member to change light amount and polarization member to set polarization in circumference direction |
| DE102017205423A1 (en) | 2016-04-01 | 2017-10-05 | Fanuc Corporation | ENCODER; INFLUENCING LIQUID INFLUENCE BY LIGHT |
| US9885872B2 (en) | 2003-11-20 | 2018-02-06 | Nikon Corporation | Illumination optical apparatus, exposure apparatus, and exposure method with optical integrator and polarization member that changes polarization state of light |
| US9891539B2 (en) | 2005-05-12 | 2018-02-13 | Nikon Corporation | Projection optical system, exposure apparatus, and exposure method |
| US10101666B2 (en) | 2007-10-12 | 2018-10-16 | Nikon Corporation | Illumination optical apparatus, exposure apparatus, and device manufacturing method |
| Publication number | Priority date | Publication date | Assignee | Title |
|---|---|---|---|---|
| JPH01100609A (en)* | 1987-10-14 | 1989-04-18 | Sony Corp | Optical position controller |
| JPH04238223A (en)* | 1991-01-21 | 1992-08-26 | Omron Corp | Position detecting device |
| JPH05346330A (en)* | 1992-06-12 | 1993-12-27 | Omron Corp | Encoder |
| JPH0749247A (en)* | 1993-08-05 | 1995-02-21 | Matsushita Electric Ind Co Ltd | Linear encoder |
| Publication number | Priority date | Publication date | Assignee | Title |
|---|---|---|---|---|
| JPH01100609A (en)* | 1987-10-14 | 1989-04-18 | Sony Corp | Optical position controller |
| JPH04238223A (en)* | 1991-01-21 | 1992-08-26 | Omron Corp | Position detecting device |
| JPH05346330A (en)* | 1992-06-12 | 1993-12-27 | Omron Corp | Encoder |
| JPH0749247A (en)* | 1993-08-05 | 1995-02-21 | Matsushita Electric Ind Co Ltd | Linear encoder |
| Publication number | Priority date | Publication date | Assignee | Title |
|---|---|---|---|---|
| US9885959B2 (en) | 2003-04-09 | 2018-02-06 | Nikon Corporation | Illumination optical apparatus having deflecting member, lens, polarization member to set polarization in circumference direction, and optical integrator |
| US9678437B2 (en) | 2003-04-09 | 2017-06-13 | Nikon Corporation | Illumination optical apparatus having distribution changing member to change light amount and polarization member to set polarization in circumference direction |
| US9760014B2 (en) | 2003-10-28 | 2017-09-12 | Nikon Corporation | Illumination optical apparatus and projection exposure apparatus |
| US9423698B2 (en) | 2003-10-28 | 2016-08-23 | Nikon Corporation | Illumination optical apparatus and projection exposure apparatus |
| US10281632B2 (en) | 2003-11-20 | 2019-05-07 | Nikon Corporation | Illumination optical apparatus, exposure apparatus, and exposure method with optical member with optical rotatory power to rotate linear polarization direction |
| US9885872B2 (en) | 2003-11-20 | 2018-02-06 | Nikon Corporation | Illumination optical apparatus, exposure apparatus, and exposure method with optical integrator and polarization member that changes polarization state of light |
| US10241417B2 (en) | 2004-02-06 | 2019-03-26 | Nikon Corporation | Polarization-modulating element, illumination optical apparatus, exposure apparatus, and exposure method |
| US20130271945A1 (en) | 2004-02-06 | 2013-10-17 | Nikon Corporation | Polarization-modulating element, illumination optical apparatus, exposure apparatus, and exposure method |
| US10234770B2 (en) | 2004-02-06 | 2019-03-19 | Nikon Corporation | Polarization-modulating element, illumination optical apparatus, exposure apparatus, and exposure method |
| US10007194B2 (en) | 2004-02-06 | 2018-06-26 | Nikon Corporation | Polarization-modulating element, illumination optical apparatus, exposure apparatus, and exposure method |
| US9891539B2 (en) | 2005-05-12 | 2018-02-13 | Nikon Corporation | Projection optical system, exposure apparatus, and exposure method |
| JP2008072785A (en)* | 2006-09-12 | 2008-03-27 | Canon Inc | Vibration type linear drive device and camera lens |
| US10101666B2 (en) | 2007-10-12 | 2018-10-16 | Nikon Corporation | Illumination optical apparatus, exposure apparatus, and device manufacturing method |
| US9857599B2 (en) | 2007-10-24 | 2018-01-02 | Nikon Corporation | Optical unit, illumination optical apparatus, exposure apparatus, and device manufacturing method |
| US9341954B2 (en) | 2007-10-24 | 2016-05-17 | Nikon Corporation | Optical unit, illumination optical apparatus, exposure apparatus, and device manufacturing method |
| US9678332B2 (en) | 2007-11-06 | 2017-06-13 | Nikon Corporation | Illumination apparatus, illumination method, exposure apparatus, and device manufacturing method |
| US8796613B2 (en) | 2008-04-30 | 2014-08-05 | Nikon Corporation | Encoder apparatus using liquid to suppress detection failure |
| JP5387571B2 (en)* | 2008-04-30 | 2014-01-15 | 株式会社ニコン | Encoder device |
| US8395110B2 (en) | 2008-04-30 | 2013-03-12 | Nikon Corporation | Encoder apparatus using liquid to suppress detection failure |
| WO2009133910A1 (en)* | 2008-04-30 | 2009-11-05 | 株式会社ニコン | Encoder device |
| DE102017205423A1 (en) | 2016-04-01 | 2017-10-05 | Fanuc Corporation | ENCODER; INFLUENCING LIQUID INFLUENCE BY LIGHT |
| US10260912B2 (en) | 2016-04-01 | 2019-04-16 | Fanuc Corporation | Encoder that detects infiltration of liquid by light |
| DE102017205423B4 (en)* | 2016-04-01 | 2021-06-10 | Fanuc Corporation | ENCODER THAT DETECTES LIQUID INFILTRATION USING LIGHT |
| Publication | Publication Date | Title |
|---|---|---|
| EP2848898B1 (en) | Encoder and apparatus using encoder | |
| US9347802B2 (en) | Scale, vernier encoder and apparatus using the same | |
| US8941051B2 (en) | Photosensor for position detecting device, position detecting device using same and position detecting method | |
| JP2862417B2 (en) | Displacement measuring device and method | |
| JP2005091023A (en) | Optical encoder and imaging device equipped therewith | |
| JP2015018275A (en) | Optical module, and auto-focus and zoom module | |
| JP4724496B2 (en) | Optical encoder | |
| US20130096862A1 (en) | Encoder and apparatus with the same | |
| US9531939B2 (en) | Detection apparatus, image pickup apparatus, image pickup system, and control method of the detection apparatus | |
| US9029758B2 (en) | Encoder and apparatus using the same | |
| JP4653123B2 (en) | Image acquisition apparatus and image acquisition method | |
| EP2270517A1 (en) | Optical device for measuring displacement or speed | |
| US10969563B2 (en) | Lens barrel controlling linear driving of movable lens and optical apparatus equipped with lens barrel | |
| EP2372430A2 (en) | Image pickup lens, image pickup apparatus, and lens controlling method | |
| JP5058845B2 (en) | Displacement detection device and optical apparatus having the same | |
| US6831793B2 (en) | Optical apparatus and image-pickup apparatus | |
| US7689111B2 (en) | Optical apparatus | |
| US20200092489A1 (en) | Optical apparatus, control method, and non-transitory computer-readable storage medium | |
| JP5984364B2 (en) | Optical encoder and apparatus equipped with the same | |
| JP6082212B2 (en) | Image sensor and distance measuring apparatus using the same | |
| JP3065865B2 (en) | Light beam scanning device | |
| JP6108977B2 (en) | Optical apparatus and lens drive control method | |
| JP4632423B2 (en) | POSITION CONTROL DEVICE, POSITION CONTROL METHOD, AND OPTICAL DEVICE | |
| JP5195386B2 (en) | Image reading device | |
| JP2005106604A (en) | Optical encoder and optical device |
| Date | Code | Title | Description |
|---|---|---|---|
| A711 | Notification of change in applicant | Free format text:JAPANESE INTERMEDIATE CODE: A712 Effective date:20050615 | |
| A521 | Written amendment | Free format text:JAPANESE INTERMEDIATE CODE: A523 Effective date:20050622 | |
| A621 | Written request for application examination | Free format text:JAPANESE INTERMEDIATE CODE: A621 Effective date:20060323 | |
| A131 | Notification of reasons for refusal | Free format text:JAPANESE INTERMEDIATE CODE: A131 Effective date:20090310 | |
| A02 | Decision of refusal | Free format text:JAPANESE INTERMEDIATE CODE: A02 Effective date:20090707 |