





本発明は、たとえば、認識対象となる人物によって入力される顔画像をあらかじめ登録された辞書情報と照合することにより当該人物が本人であるか否かを認識する人物認識装置、および、この人物認識装置を用いて通行者の通行(たとえば、セキュリティエリアに対する入退場など)を制御する通行制御装置に関する。 The present invention provides, for example, a person recognition device that recognizes whether or not a person is the person by comparing a face image input by the person to be recognized with dictionary information registered in advance, and the person recognition The present invention relates to a traffic control device that controls traffic of a passerby (for example, entry / exit to a security area) using the device.
一般に、この種の人物認識装置は、認識対象となる人物の顔画像をビデオカメラを用いて入力し、この入力した顔画像から得られる当該人物固有の顔の特徴情報を辞書情報として辞書記憶手段にあらかじめ記憶(登録)しておく。 Generally, this type of person recognition device inputs a face image of a person to be recognized using a video camera, and dictionary storage means using the face characteristic information unique to the person obtained from the input face image as dictionary information. Is stored (registered) in advance.
そして、認識時には、ビデオカメラを用いて、認識対象となる人物の顔画像を連続的に複数フレーム入力し、この連続的に入力される複数フレームの入力顔画像からそれぞれ得られる当該人物固有の顔の特徴情報を辞書記憶手段にあらかじめ記憶されている辞書情報と順次照合することにより両情報の類似度をそれぞれ求め、この求めた各類似度により当該人物が本人であるか否かを認識する。 At the time of recognition, using a video camera, a face image of a person to be recognized is continuously input in a plurality of frames, and the face unique to the person obtained from the input face images of the plurality of frames input continuously. The feature information is sequentially collated with dictionary information stored in advance in the dictionary storage means to determine the similarity between the two information, and it is determined whether or not the person is the person based on the obtained similarity.
このような人物認識装置においては、当該装置を利用した人物の顔画像を履歴画像として保存する場合がある。その場合、従来は処理を簡易にするため、照合開始1フレーム目の顔画像を取得し、この1フレーム目の顔画像を履歴画像として保存していた(たとえば、特許文献1参照)。
しかしながら、従来の照合開始1フレーム目の顔画像を履歴画像とする方法では、入力顔画像から顔を検知後であるが、顔が正面を向いていない場合があり、後で履歴画像を見ても当該人物が本人であるのか判断が難しかいという問題がある。 However, in the conventional method in which the face image of the first frame from which collation is started is used as the history image, the face is detected from the input face image, but the face may not be facing the front. However, there is a problem that it is difficult to determine whether the person is the person.
そこで、本発明は、履歴画像の顔が画像中央部に配置され、かつ、顔が正面を向いている確立が高くなり、認識対象者の識別を明確にすることができる人物認識装置および通行制御装置を提供することを目的とする。 Therefore, the present invention provides a person recognition device and traffic control that can clearly identify the person to be recognized by increasing the probability that the face of the history image is arranged in the center of the image and the face is facing the front. An object is to provide an apparatus.
本発明の人物認識装置は、認識対象となる人物の少なくとも顔画像を複数入力する画像入力手段と、この画像入力手段により入力される複数の入力顔画像を一時記憶する第1の画像記憶手段と、前記画像入力手段により入力される複数の入力顔画像に基づく情報をあらかじめ登録された辞書情報と順次照合することにより両情報の類似度をそれぞれ求め、この求めた各類似度により当該人物が本人であるか否かを認識する認識手段と、この認識手段において求めた各類似度を一時記憶する類似度記憶手段と、前記認識手段による認識処理が終了したのに基づき、前記類似度記憶手段に記憶された各類似度の中から最高値を示す類似度を選択する第1の選択手段と、この第1の選択手段により選択された最高値の類似度が得られたときの入力顔画像を前記第1の画像記憶手段から選択する第2の選択手段と、この第2の選択手段により選択された最高値の類似度が得られたときの入力顔画像を履歴画像として記憶する第2の画像記憶手段とを具備している。 The person recognition apparatus of the present invention includes an image input unit that inputs at least a plurality of face images of a person to be recognized, and a first image storage unit that temporarily stores a plurality of input face images input by the image input unit. The information based on the plurality of input face images input by the image input means is sequentially compared with dictionary information registered in advance to obtain the similarity between the two information, and the person is identified by the obtained similarity. A recognizing means for recognizing whether or not the similarity is obtained, a similarity storing means for temporarily storing each similarity obtained in the recognizing means, and the similarity storing means based on the completion of the recognition processing by the recognizing means. First selection means for selecting a similarity indicating the highest value from among the stored similarities, and an input face when the similarity of the highest value selected by the first selection means is obtained A second selection unit that selects an image from the first image storage unit, and a second selection unit that stores, as a history image, an input face image when the highest similarity selected by the second selection unit is obtained. 2 image storage means.
また、本発明の通行制御装置は、認識対象となる通行者の少なくとも顔画像を複数入力する画像入力手段と、この画像入力手段により入力される複数の入力顔画像を一時記憶する第1の画像記憶手段と、前記画像入力手段により入力される複数の入力顔画像に基づく情報をあらかじめ登録された辞書情報と順次照合することにより両情報の類似度をそれぞれ求め、この求めた各類似度により当該通行者が本人であるか否かを認識する認識手段と、この認識手段の認識結果に基づき当該通行者の通行を制御する通行制御手段と、前記認識手段において求めた各類似度を一時記憶する類似度記憶手段と、前記認識手段による認識処理が終了したのに基づき、前記類似度記憶手段に記憶された各類似度の中から最高値を示す類似度を選択する第1の選択手段と、この第1の選択手段により選択された最高値の類似度が得られたときの入力顔画像を前記第1の画像記憶手段から選択する第2の選択手段と、この第2の選択手段により選択された最高値の類似度が得られたときの入力顔画像を履歴画像として記憶する第2の画像記憶手段とを具備している。 Further, the traffic control device of the present invention is an image input means for inputting at least a plurality of face images of a passerby to be recognized, and a first image for temporarily storing a plurality of input face images input by the image input means. The information based on a plurality of input face images input by the storage means and the image input means is sequentially compared with dictionary information registered in advance, and the similarity between the two information is obtained. Recognizing means for recognizing whether or not the passer is the person, passage control means for controlling the passage of the passer based on the recognition result of the recognition means, and each similarity obtained by the recognizing means are temporarily stored. Based on the completion of the recognition processing by the similarity storage means and the recognition means, a first degree of similarity indicating the highest value is selected from the similarities stored in the similarity storage means Selection means, second selection means for selecting an input face image from the first image storage means when the highest similarity selected by the first selection means is obtained, and the second selection means Second image storage means for storing the input face image when the similarity of the highest value selected by the selection means is obtained as a history image.
本発明によれば、たとえば、最高値の類似度が得られたときの入力顔画像を履歴画像として保存することにより、履歴画像の顔が画像中央部に配置され、かつ、顔が正面を向いている確立が高くなり、認識対象者の識別を明確にすることができる人物認識装置および通行制御装置を提供できる。 According to the present invention, for example, by saving the input face image when the highest degree of similarity is obtained as a history image, the face of the history image is arranged in the center of the image, and the face faces the front. Therefore, it is possible to provide a person recognition device and a traffic control device that can clearly identify the person to be recognized.
以下、本発明の実施の形態について図面を参照して説明する。
まず、第1の実施の形態について説明する。
図1は、第1の実施の形態に係る人物認識装置の構成を概略的に示すものである。この人物認識装置は、認識対象者(以下、人物ともいう)100の顔画像(少なくとも顔を含んでいる画像)を撮像して入力する画像取得手段としてのテレビジョンカメラ101、カメラ101の近傍から認識対象者100の少なくとも顔に向けて一定の照度で光を照射する照明手段としての照明部102、認識対象者100に対して入力された顔画像や各種案内などを表示したり、認識対象者100の個人ID(識別情報)などを入力したりする表示手段および入力手段としての入出力部103、および、カメラ101から入力された顔画像を処理して顔画像の認識処理などを行なう処理部104を有して構成されている。Hereinafter, embodiments of the present invention will be described with reference to the drawings.
First, the first embodiment will be described.
FIG. 1 schematically shows a configuration of a person recognition apparatus according to the first embodiment. The person recognition apparatus includes a
なお、以下の説明では、画像入力データ、抽出した特徴量、部分空間、部分空間を構成するための固有ベクトル、相関行列、登録の時刻、日時、場所などの状況情報、暗証番号、ID番号などの個人情報の各情報が登場してくる。そして、認識データと言うときは、部分空間、または、部分空間を構成するための固有ベクトルを含み、登録情報(辞書情報)と言うときは、画像入力データ、抽出した特徴量、部分空間、部分空間を構成するための固有ベクトル、相関行列、状況情報、個人情報を含んでいる。したがって、認識データは登録情報に含まれる。 In the following description, image input data, extracted feature quantities, subspaces, eigenvectors for constructing the subspace, correlation matrix, registration time, date and time, status information such as location, password, ID number, etc. Each piece of personal information appears. And when it says recognition data, it contains the eigenvector for comprising a partial space or a partial space, and when it says registration information (dictionary information), it is image input data, the extracted feature-value, partial space, partial space. Includes an eigenvector, a correlation matrix, situation information, and personal information. Accordingly, the recognition data is included in the registration information.
カメラ101は、認識対象者100の顔画像を下方から所定角度で撮像して入力するものであり、たとえば、CCDセンサなどの撮像素子を用いたテレビジョンカメラを有して構成されている。 The
照明部102は、カメラ101の近傍(たとえば、カメラ101の側部)から認識対象者100の顔に向けて一定の照度で光を照射する蛍光灯などの照明器具である。 The
入出力部103は、カメラ101で撮影されている認識対象者100の顔画像や各種ガイダンス、処理結果などを表示したり、認識対象者100の個人IDやパスワードなどを入力するもので、たとえば、液晶表示部とタッチパネルとを一体化して構成されていて、カメラ101の近傍、たとえば、カメラ101の上部で、ほぼ認識対象者100の顔部分と相対応する位置に設けられている。なお、表示によるガイダンスのみに限らず、音声によるガイダンス機能を付加してもよい。 The input /
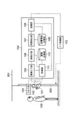
処理部104は、カメラ101からの顔画像を入力する画像入力手段としての画像入力部105、画像入力部105から得られた人物の顔画像を用いて、あらかじめ準備されたパターン辞書との照合で顔および目、鼻などの顔部品の位置を検出する特徴抽出手段としての顔検出部106、顔検出部106の出力に基づき濃淡情報あるいは部分空間情報などの顔の特徴量を抽出する特徴抽出手段としての特徴抽出部107、辞書情報の登録時には、特徴抽出部107で抽出された特徴量を辞書情報として当該登録時の入力画像(顔画像)と対応させて記憶(登録)する辞書記憶手段としての辞書情報記憶部108、人物認識(顔照合)時には、特徴抽出部107で抽出された特徴量(入力特徴情報)と辞書情報記憶部108に登録されている辞書情報とを照合することにより両情報の類似度を求め、この求めた類似度により当該人物が本人であるか否かを認識する認識手段としての認識部109、顔画像入力時に所定時間間隔ごとに入力された複数フレーム分の顔画像を一時記憶したり履歴画像を記憶したりする画像記憶手段としての画像記憶部110、照明部102、入出力部103および画像記憶部110などを制御する制御手段としての制御部111を具備して構成されている。 The
画像入力部105は、カメラ101からの顔画像を入力し、A/D変換してデジタル化した後、顔検出部106へ送る。
顔検出部106は、まず、画像入力部105で入力された顔画像から認識対象者100の顔の領域を検出する。たとえば、あらかじめ用意されたテンプレートを、画像中を移動させながら相関値を求めることにより、最も高い相関値を持った場所を顔領域とする。なお、その他に、固有空間法や部分空間法を利用した顔領域抽出法などの顔検出手段でもよい。The
First, the
顔検出部106は、次に、検出された顔領域の部分の中から、目、鼻、口といった顔部品の位置を検出する。その検出方法は、たとえば、文献(福井和広、山口修:「形状抽出とパターン照合の組合せによる顔特徴点抽出」、電子情報通信学会論文誌(D),vol.J80−D−II,No.8,pp2170−2177(1997))などの方法を用いてよい。 Next, the
図2に、顔の検出結果と目、鼻の検出結果の一例を示す。図2において、(fx,fy)は顔の中心座標、(fw,fh)は顔の大きさ、(EyeLx,EyeLy)、(EyeRx,EyeRy)は左右の目の位置座標、(NoseLx,NoseLy)、(NoseRx,NoseRy)は左右の鼻孔の位置座標を示している。なお、目の位置とは黒目の中心点、鼻の位置とは鼻孔の中心点を示しているものとする。 FIG. 2 shows an example of face detection results and eye / nose detection results. In FIG. 2, (fx, fy) is the center coordinates of the face, (fw, fh) is the size of the face, (EyeLx, EyeLy), (EyeRx, EyeRy) are the position coordinates of the left and right eyes, (NoseLx, NoseLy) , (NoseRx, NoseRy) indicate the position coordinates of the left and right nostrils. The eye position indicates the center point of the black eye, and the nose position indicates the center point of the nostril.
特徴抽出部107は、顔検出部106で検出された顔部品の位置を基に、顔領域を一定の大きさ、形状に切り出し、その濃淡情報を特徴量として用いる。ここでは、たとえば、mピクセル×nピクセルの領域の濃淡値をそのまま情報として用い、m×n次元の情報を特徴ベクトルとして用いる。 The
また、後で述べるように、認識を行なうための入力データとして部分空間自身を利用してもよい。したがって、部分空間を算出した結果は、認識部109および辞書情報記憶部108に送られる。 Further, as will be described later, the partial space itself may be used as input data for recognition. Therefore, the result of calculating the partial space is sent to the
辞書情報記憶部108は、認識対象者100を認識あるいは同定するために利用する部分空間(または、相関行列)などの辞書情報を保持している。また、登録の際の日時、時刻、場所などの属性情報も保持できる。なお、辞書情報として、部分空間に限らず、入力された顔画像や抽出された顔の特徴量そのものを用いてもよい。 The dictionary
認識部109は、辞書情報記憶部108に蓄えられた認識データ(部分空間)と特徴抽出部107で得られた特徴量(濃淡情報あるいは部分空間情報)とを照合(比較)することにより、カメラ101で撮影している認識対象者100が誰であるかを認識、あるいは、該当人物であるかどうかを同定する。人物を認識するためには、どの人物のデータに最も類似しているかを求めればよく、最大類似度をとるデータに対応する人物を認識結果とすればよい。 The recognizing
また、カードやID番号、暗証番号、鍵などを用いて、顔画像による認識を行なう場合には、それぞれの人物のカードやID番号などの個人情報に対応する認識データとの類似度を計算して、設定した閾値と照合し、その閾値を越えた場合に、その人物と同定する。 In addition, when performing facial recognition using a card, ID number, personal identification number, key, etc., the degree of similarity with recognition data corresponding to personal information such as each person's card or ID number is calculated. The threshold is set, and if the threshold is exceeded, the person is identified.
これらカードやID番号、暗証番号、鍵など入力する手段が必要であるが、たとえば、カードならICカード、IDカード、無線カードなどを用いることで実現できる。ID番号や暗証番号を用いる場合は、キー入力手段を設ければよい。 Means for inputting such a card, an ID number, a personal identification number, a key, and the like are necessary. When an ID number or a password is used, key input means may be provided.
認識の方法としては、特徴抽出部107の情報を用いる場合は、部分空間法や複合類似度法などの方法を用いてよい。本実施の形態での認識方法は、たとえば、文献(前田賢一、渡辺貞一:「局所的構造を導入したパターン・マッチング法」、電子情報通信学会論文誌(D),vol.J68−D,No.3,pp345−352(1985))に記載されている公知の認識方法である相互部分空間法を用いる。 As a recognition method, when information of the
この方法では、あらかじめ蓄えられた辞書情報の中の認識データも、入力されるデータも部分空間として表現され、2つの部分空間のなす「角度」を類似度として定義する。ここで入力される部分空間を入力部分空間という。入力データ列に対して同様に相関行列Cinを求め、
認識部109は、たとえば、図3に示すフローチャートのように動作する。まず、認識作業(1対N照合)を行なうか、同定作業(1対1照合)を行なうかによって動作が異なる(ステップST1)。同定動作を行なう場合は、まず対象とする認識対象者のID番号を読込む(ステップST2)。次に、対象とするID番号に対応した辞書情報を辞書情報記憶部108から読出す(ステップST3)。 For example, the
次に、上述したように、部分空間法などにより認識を行なうため、各辞書情報の部分空間と、入力ベクトル(特徴抽出部107からの固有ベクトル)、または、入力部分空間との類似度を計算する(ステップST4)。次に、その類似度をあらかじめ設定されている閾値と比較し(ステップST5,ST6)、同定結果を出力する(ステップST7)。 Next, as described above, in order to perform recognition by the subspace method or the like, the similarity between the subspace of each dictionary information and the input vector (eigenvector from the feature extraction unit 107) or the input subspace is calculated. (Step ST4). Next, the similarity is compared with a preset threshold value (steps ST5 and ST6), and the identification result is output (step ST7).
認識作業を行なう場合、認識対象となるデータを全て辞書情報記憶部108から読出す(ステップST8)。そして、それぞれの辞書情報との類似度を計算する(ステップST9)。次に、計算された類似度の中から最大のものを選択し(ステップST10)、それを認識結果として出力する(ステップST12)。 When performing the recognition work, all the data to be recognized is read from the dictionary information storage unit 108 (step ST8). Then, the similarity with each dictionary information is calculated (step ST9). Next, the maximum similarity is selected from the calculated similarities (step ST10), and is output as a recognition result (step ST12).
なお、図3の破線で囲んだステップST11のように、最大類似度を閾値判定することによって、認識結果が正しいかどうかを検証することもできる(ステップST13)。たとえば、類似度があまりに低い場合には、どの認識対象でもないと判断することもできる。 Note that it is also possible to verify whether the recognition result is correct by determining the maximum similarity as a threshold value as in step ST11 surrounded by a broken line in FIG. 3 (step ST13). For example, when the degree of similarity is too low, it can be determined that it is not any recognition target.
画像記憶部110は、前述したように顔画像入力時に入力された複数フレーム分の顔画像を一時記憶したり、この一時記憶した複数フレーム分の顔画像内から選択した顔画像を履歴画像として記憶したりする。 As described above, the
次に、履歴画像の保存を主体とした認識処理の第1の動作例について図4に示すフローチャートを参照して説明する。
認識対象者100が本装置(カメラ101)の前に立ち、それが検知されることにより(ステップS21)、カメラ101は認識対象者100の画像を取込み、画像入力部105を介して顔検出部106へ送る。すなわち、画像入力部105は、カメラ101からまず第1フレーム目の画像を取得し(ステップS22)、顔検出部106および制御部111へ送る。制御部111は、第1フレーム目の画像を画像記憶部110に一時記憶する(ステップS23)。ここに、ステップS23の処理が本発明における第1の画像記憶手段に対応している。Next, a first operation example of a recognition process that mainly stores history images will be described with reference to a flowchart shown in FIG.
When the
顔検出部106は、カメラ101により取込んだ第1フレーム目の画像から顔領域を検出し、検出した顔領域の部分の中から、目、鼻、口といった顔部品の位置を検出する。次に、特徴抽出部107は、顔検出部106で検出された顔部品の位置を基に顔の特徴量(入力顔画像に基づく情報)を抽出し、認識部109へ送る。 The
認識部109は、特徴抽出部107で抽出された顔の特徴量と辞書情報部108に記憶された辞書情報とを照合することにより両情報の類似度を求め(ステップS24)、この求めた類似度を図示しないメモリに一時記憶する(ステップS25)とともに、当該求めた類似度をあらかじめ設定された閾値と比較し(ステップS26)、当該求めた類似度が閾値よりも小さい場合にはあらかじめ設定されたフレーム数(たとえば、50個)の画像取得が終了したか否かをチェックし(ステップS27)、まだ終了していない場合はステップS22に戻り、次のフレームに対し上記同様な処理を繰り返す。ここに、ステップS25の処理が本発明における類似度記憶手段に対応している。 The recognizing
ステップS26において、求めた類似度が閾値よりも大きい場合、ここで照合成功となり、認識部109は照合処理(認識処理)を終了する。なお、求めた類似度が閾値を越えず、かつ、取込んだフレーム画像が50個を越えた場合、照合失敗となり、照合処理(認識処理)を終了する。 If the obtained similarity is greater than the threshold value in step S26, the collation is successful here, and the
さて、照合処理が終了すると、認識部109は、図示しないメモリに一時記憶しておいた各類似度(最大第1フレームから第50フレームまでの各類似度)から最高値を示す類似度を選択する(ステップS28)。ここに、ステップS28の処理が本発明における第1の選択手段に対応している。 When the collation process ends, the
次に、制御部111は、認識部109から最高値を示す類似度を受取ることにより、画像記憶部110に一時記憶されている各入力顔画像(最大第1フレームから第50フレームまでの各入力顔画像)から、類似度が最高値となったときの入力顔画像を選択し、この選択した類似度が最高値となったときの入力顔画像を履歴画像として画像記憶部110の履歴画像領域に保存(記憶)する(ステップS29)。ここに、ステップS29の処理が本発明における第2の選択手段および第2の画像記憶手段に対応している。 Next, the
次に、制御部111は、認識部109のメモリに一時記憶しておいた各類似度および画像記憶部110に一時記憶しておいた各入力顔画像をそれぞれクリアし(ステップS30)、当該認識処理を終了する。 Next, the
次に、履歴画像の保存を主体とした認識処理の第2の動作例について図5に示すフローチャートを参照して説明する。
認識対象者100が本装置(カメラ101)の前に立ち、それが検知されることにより(ステップS41)、カメラ101は認識対象者100の画像を取込み、画像入力部105を介して顔検出部106へ送る。すなわち、画像入力部105は、カメラ101からまず第1フレーム目の画像を取得し(ステップS42)、顔検出部106および制御部111へ送る。制御部111は、第1フレーム目の画像を画像記憶部110に一時記憶する(ステップS43)。ここに、ステップS43の処理が本発明における第1の画像記憶手段に対応している。Next, a second operation example of the recognition processing that mainly stores history images will be described with reference to the flowchart shown in FIG.
When the
顔検出部106は、カメラ101により取込んだ第1フレーム目の画像から顔領域を検出し、検出した顔領域の部分の中から、目、鼻、口といった顔部品の位置を検出する。次に、特徴抽出部107は、顔検出部106で検出された顔部品の位置を基に顔の特徴量を抽出し、認識部109へ送る。 The
認識部109は、特徴抽出部107で抽出された顔の特徴量と辞書情報部108に記憶された辞書情報とを照合することにより両情報の類似度を求める(ステップS44)。次に、認識部109は、先に顔の特徴量を抽出するために求めた目および鼻の位置情報を取得する(ステップS45)。ここに、ステップS47の処理が本発明における顔特徴点検出手段に対応している。 The recognizing
次に、制御部111は、画像記憶部110に既に履歴画像が保存済みか否かをチェックし(ステップS46)、履歴画像が保存済みでなければ、ステップS45で取得した目および鼻の位置情報をあらかじめ設定される基準値と比較することにより、たとえば、目の位置が基準値範囲内であり、かつ、鼻の位置が基準値範囲内であるとき、そのときの顔画像である画像記憶部110に一時記憶されている入力顔画像を読出し、この読出した入力顔画像を履歴画像として画像記憶部110の履歴画像領域に保存(記憶)する(ステップS47)。ここに、ステップS47の処理が本発明における第2の画像記憶手段に対応している。 Next, the
ステップS46のチェックで履歴画像が保存済みである場合、あるいは、ステップS47で履歴画像の保存が終了すると、認識部109は、ステップS44で求めた類似度をあらかじめ設定された閾値と比較し(ステップS48)、当該求めた類似度が閾値よりも小さい場合にはあらかじめ設定されたフレーム数(たとえば、50個)の画像取得が終了したか否かをチェックし(ステップS49)、まだ終了していない場合はステップS42に戻り、次のフレームに対し上記同様な処理を繰り返す。 When the history image has been saved in the check in step S46 or when the history image has been saved in step S47, the
ステップS48において、求めた類似度が閾値よりも大きい場合、ここで照合成功となり、認識部109は照合処理(認識処理)を終了する。なお、求めた類似度が閾値を越えず、かつ、取込んだフレーム画像が50個を越えた場合、照合失敗となり、照合処理(認識処理)を終了する。 If the obtained similarity is larger than the threshold value in step S48, the collation is successful here, and the
なお、上記説明では、検出した目および鼻の両方の位置がそれぞれ基準値の範囲内のときの入力顔画像を履歴画像として保存するようにしたが、必ずしも目および鼻の両方の位置がそれぞれ基準値の範囲内でなくともよく、少なくともいずれか一方の位置が基準値の範囲内のときの入力顔画像を履歴画像として保存するようにすればよい。 In the above description, the input face image is stored as a history image when both the detected eye and nose positions are within the range of the reference values. However, both the eye and nose positions are not necessarily the reference images. The input face image when the position is not within the range of the value and at least one of the positions is within the range of the reference value may be stored as the history image.
次に、第2の実施の形態について説明する。
第2の実施の形態は、第1の実施の形態で説明した人物認識装置を、通行者の顔画像を認識して通行者の通行を制御する通行制御装置に適用した場合の例である。Next, a second embodiment will be described.
The second embodiment is an example in which the person recognition device described in the first embodiment is applied to a traffic control device that recognizes a passer's face image and controls the traffic of the passer.
図6は、第2の実施の形態に係る通行制御装置の構成を概略的に示すものである。この通行制御装置は、たとえば、重要施設(セキュリティ重視の部屋など)への入退室管理を行なうもので、利用者(通行者)の顔画像を認識して、その認識結果に基づき重要施設の入退室用ドアの開閉制御を行なうものであり、カメラ101、照明部102、入出力部103、処理部104、および、認識部109の認識結果に応じて重要施設201の入退室用ドア202の開閉制御を行なう通行制御手段としてのドア制御部112を有して構成されている。
なお、図6において、ドア制御部112以外は図1の人物認識装置と同じ構成であるので、同一符号を付して、その説明は省略する。FIG. 6 schematically shows the configuration of the traffic control device according to the second embodiment. This traffic control device, for example, manages entry / exit to important facilities (such as security-oriented rooms), recognizes the face image of the user (passerby), and enters the important facility based on the recognition result. Open / close control of the exit door is performed, and the entrance /
In FIG. 6, the configuration other than the
認識部109は、認識対象者100が本人であると判定(照合成功と判定)した場合、ドア制御部112に「ドア開」の信号を出力し、認識対象者100が本人でないと判定(非照合成功と判定)した場合、ドア制御部112に「ドア閉」の信号を出力する。 When the
ドア制御部112は、認識部109から「ドア開」の信号を受取ると、入退室用ドア202を開状態に制御して、認識対象者(この場合は通行者)100の入室を許可し、「ドア閉」の信号を受取ると、入退室用ドア202を閉状態に保持して、通行者100の入室を拒否する。
このように、第2の実施の形態によれば、第1の実施の形態で説明した人物認識装置を用いて通行者の通行を制御することができる。Upon receiving the “door open” signal from the
Thus, according to the second embodiment, it is possible to control the passage of passers-by using the person recognition device described in the first embodiment.
以上説明したように、上記実施の形態によれば、最高値の類似度が得られたときの入力顔画像、あるいは、検出した目および鼻の位置が基準値の範囲内のときの入力顔画像を履歴画像として保存することにより、以下のような効果が期待できる。
すなわち、履歴画像の目的は、どの日付および時刻にどのような人物が当該装置を利用したかを知ることであり、そのときの履歴画像が非常に重要な情報となる。その画像が正常でない場合は、履歴画像としての価値がなくなる。
従来であれば、履歴画像中の人物の顔が正面を向いている確立が極めて低かったが、本実施の形態のように最高値の類似度が得られたときの入力顔画像、あるいは、検出した目および鼻の位置が基準値の範囲内のときの入力顔画像を用いることで、履歴画像の顔が画像中央部に配置され、かつ、顔が正面を向いている確立が高くなり、認識対象者の識別を明確にすることができる。As described above, according to the above embodiment, the input face image when the highest similarity is obtained, or the input face image when the detected eye and nose positions are within the reference value range. By saving as a history image, the following effects can be expected.
In other words, the purpose of the history image is to know which person uses the device at which date and time, and the history image at that time is very important information. If the image is not normal, the value as a history image is lost.
Conventionally, the probability that a person's face in the history image is facing the front is very low, but the input face image or detection when the highest similarity is obtained as in this embodiment. Using the input face image when the position of the eyes and nose within the reference value range is used, the probability that the face of the history image is placed in the center of the image and the face is facing the front is high, and recognition The identification of the target person can be made clear.
100…認識対象者(人物、通行者)、101…カメラ(画像入力手段)、102…照明部(照明手段)、103…入出力部(入力手段、表示手段)、104…処理部、105…画像入力部(画像入力手段)、106…顔検出部(顔検出手段)、107…特徴抽出部(特徴抽出手段)、108…辞書情報記憶部(辞書記憶手段)、109…認識部(認識手段)、110…画像記憶部(画像記憶手段)、111…制御部(制御手段)、112…ドア制御部(通行制御手段)、201…重要施設、202…入退室用ドア。 DESCRIPTION OF
| Application Number | Priority Date | Filing Date | Title |
|---|---|---|---|
| JP2003316667AJP2005084985A (en) | 2003-09-09 | 2003-09-09 | Person recognition device and traffic control device |
| Application Number | Priority Date | Filing Date | Title |
|---|---|---|---|
| JP2003316667AJP2005084985A (en) | 2003-09-09 | 2003-09-09 | Person recognition device and traffic control device |
| Publication Number | Publication Date |
|---|---|
| JP2005084985Atrue JP2005084985A (en) | 2005-03-31 |
| Application Number | Title | Priority Date | Filing Date |
|---|---|---|---|
| JP2003316667APendingJP2005084985A (en) | 2003-09-09 | 2003-09-09 | Person recognition device and traffic control device |
| Country | Link |
|---|---|
| JP (1) | JP2005084985A (en) |
| Publication number | Priority date | Publication date | Assignee | Title |
|---|---|---|---|---|
| US8144205B2 (en) | 2007-01-30 | 2012-03-27 | Sanyo Electric Co., Ltd. | Electronic camera with feature image recognition |
| CN113283305A (en)* | 2021-04-29 | 2021-08-20 | 百度在线网络技术(北京)有限公司 | Face recognition method and device, electronic equipment and computer readable storage medium |
| Publication number | Priority date | Publication date | Assignee | Title |
|---|---|---|---|---|
| US8144205B2 (en) | 2007-01-30 | 2012-03-27 | Sanyo Electric Co., Ltd. | Electronic camera with feature image recognition |
| CN113283305A (en)* | 2021-04-29 | 2021-08-20 | 百度在线网络技术(北京)有限公司 | Face recognition method and device, electronic equipment and computer readable storage medium |
| CN113283305B (en)* | 2021-04-29 | 2024-03-26 | 百度在线网络技术(北京)有限公司 | Face recognition method, device, electronic equipment and computer readable storage medium |
| Publication | Publication Date | Title |
|---|---|---|
| JP3974375B2 (en) | Person recognition device, person recognition method, and traffic control device | |
| JP4314016B2 (en) | Person recognition device and traffic control device | |
| KR100703693B1 (en) | System and method for face recognition | |
| US7006671B2 (en) | Personal identification apparatus and method | |
| EP1406206A1 (en) | Face image recognition apparatus | |
| JP2007257221A (en) | Face recognition system | |
| JP2007179569A (en) | Person recognition device, person recognition method, and traffic control device | |
| JP2008108243A (en) | Person recognition device and person recognition method | |
| JP2001338296A (en) | Face image recognition device and traffic control device | |
| JP2004234355A (en) | Person recognition device, person recognition method, and traffic control device | |
| JP2005182184A (en) | Person recognition device, person recognition method, and traffic control device | |
| JP2008250829A (en) | Pedestrian verification system and pedestrian verification method | |
| JP2005202731A (en) | Face recognition device, face recognition method, and traffic control device | |
| JP2004157771A (en) | Person recognition device, person recognition method, and traffic control device | |
| JP4434560B2 (en) | Entrance / exit management system | |
| JP2005242777A (en) | Face matching device and traffic control device | |
| JP2005063172A (en) | Face matching device and traffic control device | |
| JP3620938B2 (en) | Personal identification device | |
| JP2004151978A (en) | Person recognition device, person recognition method, and traffic control device | |
| JP2005202732A (en) | Biometric matching device, biometric matching method, and traffic control device | |
| JP2005084985A (en) | Person recognition device and traffic control device | |
| JP4945526B2 (en) | Traffic control device | |
| JP4363994B2 (en) | Biometric matching device, biometric matching method, and traffic control device | |
| JP2004310287A (en) | Person recognition device and traffic control device | |
| JP2002334335A (en) | Face image recognition device and traffic control device |