Movatterモバイル変換


[0]ホーム

URL:


JP2005032855A - Semiconductor memory device and manufacturing method thereof - Google Patents

Semiconductor memory device and manufacturing method thereof
Download PDF

Info

Publication number
JP2005032855A
JP2005032855AJP2003194216AJP2003194216AJP2005032855AJP 2005032855 AJP2005032855 AJP 2005032855AJP 2003194216 AJP2003194216 AJP 2003194216AJP 2003194216 AJP2003194216 AJP 2003194216AJP 2005032855 AJP2005032855 AJP 2005032855A
Authority
JP
Japan
Prior art keywords
resistance heating
heating element
memory
film
insulating film
Prior art date
Legal status (The legal status is an assumption and is not a legal conclusion. Google has not performed a legal analysis and makes no representation as to the accuracy of the status listed.)
Withdrawn
Application number
JP2003194216A
Other languages
Japanese (ja)
Inventor
Yasutoshi Okuno
泰利 奥野
Current Assignee (The listed assignees may be inaccurate. Google has not performed a legal analysis and makes no representation or warranty as to the accuracy of the list.)
Panasonic Holdings Corp
Original Assignee
Matsushita Electric Industrial Co Ltd
Priority date (The priority date is an assumption and is not a legal conclusion. Google has not performed a legal analysis and makes no representation as to the accuracy of the date listed.)
Filing date
Publication date
Application filed by Matsushita Electric Industrial Co LtdfiledCriticalMatsushita Electric Industrial Co Ltd
Priority to JP2003194216ApriorityCriticalpatent/JP2005032855A/en
Priority to US10/863,330prioritypatent/US7196346B2/en
Publication of JP2005032855ApublicationCriticalpatent/JP2005032855A/en
Priority to US11/724,209prioritypatent/US20070158635A1/en
Withdrawnlegal-statusCriticalCurrent

Links

Images

Classifications

Landscapes

Abstract

Translated fromJapanese

【課題】相変化メモリ形成プロセスを単純化し、製造工程数の削減、ロジック標準プロセスとの親和性をより高める。
【解決手段】本発明は、基板上に形成された絶縁膜にビアホールを形成する。このビアホール内にビアプラグを形成する。そしてこのビアプラグ上に抵抗加熱素子と記憶素子とを形成する。ここで、記憶素子の底面と側壁を抵抗加熱素子で囲むことにより、プロセスを単純化し、製造工程数の削減・ロジック標準プロセスとの親和性をより高めることを可能とした。
【選択図】 図1
A phase change memory forming process is simplified, the number of manufacturing steps is reduced, and the compatibility with a logic standard process is further increased.
The present invention forms a via hole in an insulating film formed on a substrate. A via plug is formed in the via hole. A resistance heating element and a memory element are formed on the via plug. Here, by surrounding the bottom and side walls of the memory element with a resistance heating element, the process can be simplified, and the number of manufacturing steps can be reduced and the compatibility with the logic standard process can be further increased.
[Selection] Figure 1

Description

Translated fromJapanese

【0001】
【発明の属する技術分野】
本発明は、相変化に伴う抵抗変化を用いた不揮発性メモリの製造方法に関するものである。
【0002】
【従来の技術】
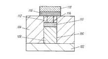
従来のカルコゲナイト材料を用いた半導体記憶装置としては、例えば、特許文献1に記載されているものがある。図4は、特許文献1に記載された従来のカルコゲナイト材料を用いた半導体記憶装置の断面図を示すものである。
【0003】
図4において、シリコン基板102上に堆積した層間絶縁膜104をパターニングしコンタクトホール106を形成する。そして、ポリシリコンを熱CVD法によって堆積し、CMP法により、層間絶縁膜104上に堆積したポリシリコンを除去する。さらに、ポリシリコンをエッチングし、リセスを形成し、プラグ108を形成する。そして、その上にTiNを堆積し、CMP法により層間絶縁膜104上に堆積したTiNを選択的に除去する。さらに、コンタクトホール106の上部に埋め込まれたTiNの表面をエッチングし、リセスを形成することで抵抗加熱素子膜110を形成する。そして、SiNをCVD法により堆積した後、CMP法により層間絶縁膜104上に堆積したSiNを選択的にエッチングすることにより取り除き、層間絶縁膜112を形成する。その後、この層間絶縁膜112の中央に下部の抵抗加熱素子膜110まで達する微細な穴を形成する。そして、記憶材料として用いられるカルコゲナイト(GeSbTe)をスパッタ法により堆積する。そして、CMP法により、層間絶縁膜104上に堆積したGeSbTeを選択的にエッチングし、取り除き、記憶素子膜114を形成する。その後、バリアメタル116、配線118を形成する。
【0004】
このように特許文献1では層間絶縁膜112に記憶素子膜114を埋め込むことで、ロジックプロセスとの整合性を向上させている。
【0005】
【特許文献1】
USP6236059
【0006】
【発明が解決しようとする課題】
特許文献1では、プラグの内部のリセスに、(1)低抵抗材料のTiNを埋め込み平坦化する。(2)TiNをエッチングしてリセスを形成する。(3)SiNを埋め込み平坦化を行う。(4)埋め込んだSiNを微細パターニング(リソ、エッチ)して、プラグ上に開口部を形成する。そして、(5)記憶材料の堆積、埋め込み、を実施しており、非常に複雑なプロセスとなっており、記憶素子の集積化プロセスは複雑であり、かつ、素子の微細化を困難にしている。
【0007】
【課題を解決するための手段】
本発明は、抵抗加熱素子として働くTiAlNで記録材料を囲むことにより、プロセスを単純化し、製造工程数の削減、ロジック標準プロセスとの親和性をより高めることを可能とした。
【0008】
即ち、ただ一つのラフレベルのパターニング工程を追加することにより、記憶素子の混載を可能とした。さらに、コンタクトホールの中に形成するメモリ素子の構造を単純化することにより素子の微細化・集積化を可能としている。
【0009】
具体的には、本発明の半導体記憶装置は、基板上に形成された絶縁膜と、絶縁膜に形成されたビアホールと、ビアホール内に形成されたビアプラグと、ビアプラグ上に形成された抵抗加熱素子と、抵抗加熱素子上に形成された記憶素子と、記憶素子上に形成された配線とを備え、記憶素子は、底面と側壁を抵抗加熱素子で覆われているものである。
【0010】
また、ビアプラグ、抵抗加熱素子及び記憶素子は、ビアホール内に形成されているものである。
【0011】
また、記憶素子は、相変化材料からなるものである。
【0012】
本発明の半導体記憶装置の製造方法は、メモリ部とロジック部からなる基板上に記憶素子を形成するもので、基板上に絶縁膜を形成する工程と、絶縁膜にビアホールを形成する工程と、ビアホール内に金属を埋め込みビアプラグを形成する工程と、メモリ部のビアプラグをエッチングしてリセスを形成する工程と、リセス内の底面及び側壁に抵抗加熱素子を形成する工程と、抵抗加熱素子上に記憶素子を形成する工程と、記憶素子上に配線を形成する工程とを有するものである。
【0013】
また、記憶素子は、相変化材料からなるものである。
【0014】
【発明の実施の形態】
以下、本発明の実施の形態について、図面を参照しながら説明する。
【0015】
(実施の形態)
図1(a)〜図1(f)を参照しながら、本発明の実施の形態について説明する。
【0016】
図1は、本発明の実施の形態における半導体記憶装置の製造工程を示す断面図である。
【0017】
(1)ここでは、標準ロジックプロセスに基づいて、ロジック部、メモリアレイ部のTi/TiN/Wプラグを形成する。
【0018】
図1(a)において、シリコン基板10上にリンドープした酸化膜からなる第1絶縁膜12を熱CVD法により0.8μm形成する。その後、下地の凹凸を反映して生じる段差を平坦化するために、反転マスクを用いてエッチバックを行った後、さらに、CMPにより平坦化を行い、第1絶縁膜12の膜厚を0.5μmに形成する。
【0019】
次に、リソ・ドライエッチにより第1絶縁膜12に下地シリコン基板10に接続するように直径0.1μm〜0.13μmのコンタクトホール18をメモリ部14及びロジック部16に形成する。そして、コンタクトホール18内にTiNからなる密着層20を形成し、その後、WFとSiHを用いた熱CVD法でコンタクトホール18内をタングステンで埋め込み、CMPでタングステンプラグ22を形成する。
【0020】
(2)ここでは、ロジック部のタングステンプラグを保護するために、保護膜としてSiN膜などを堆積し、ラフレベルのパターニングを行い、メモリアレイ部分のタングステンプラグのみ露出させる。そして、メモリアレイ部分のタングステンプラグをエッチングすることによりリセスを形成する。
【0021】
図1(b)において、ロジック部16のタングステンプラグ22上にSiNからなる保護膜24を形成する。このとき、このSiNは、基板温度400℃の下、プラズマCVD法により、SiHとNHを用いて20nm形成される。ここで、成膜温度は、下層にあるタングステンプラグ22、トランジスタ(図示無し)の特性などを劣化させないために低温であることが望ましい。そして、このSiNは、レジストマスクを用いて、CHF−Ar−O系ガスを用いた反応性プラズマエッチングによりメモリ部のみ除去される。このとき、タングステンプラグの突き出しを最小限にとどめるために、プロセス圧力50mTorr、RFパワー200Wとして行った。次に、メモリ部のタングステンプラグ22にリセス26を設けるために、平行平板反応性ドライエッチング装置を用いてタングステンプラグ22のエッチングを行った。このときのプロセス条件は、反応ガス(SF)、ガス流量(100sccm)、RFパワー(500W)、基板温度(10℃)、プロセス圧力(50mTorr)である。この条件では、酸化膜との選択比は約10である。ここで、リセス26の深さは、タングステンプラグ22のプラグ直径の1/2より浅い500nm〜650nmである。リセス26がこれよりも深い場合は、記憶素子として機能するGeSbTe膜部にボイドが発生し、良好な記憶素子の形成が出来なくなる。
【0022】
(3)ここでは、抵抗加熱素子として働くTiAINと、記憶材料を堆積させる。
【0023】
図1(c)において、TiAlNからなる抵抗加熱素子膜28を反応性スパッタリング法により形成する。プロセス条件として、堆積温度(100℃)、圧力(0.2Pa)、ガス流量(Ar=21sccm、N=42sccm)である。ここで、TiAlN膜厚と組成は、目的とする抵抗値を得るために調整する。TiAlNのAl組成と抵抗値(シート抵抗)の関係は図2に示すとおりである。図2は、横軸は、Al/(Ti+Al)の100分率を、縦軸は抵抗値を示す。プラグの直径0.1μmに対して適当なTiAlNの膜厚は10nm〜20nmである。次に、記憶素子膜30をスパッタリング法にて形成を行う。プロセス条件として、堆積温度(100℃)、圧力(0.1Pa)、ガス流量(Ar=10sccm)である。
【0024】
(4)ここでは、CMPにて平坦化研磨を行う。
【0025】
図1(d)において、CMPにより研磨を行いリセス26内に抵抗加熱素子膜28と記憶素子膜30を形成する。まず、記憶素子材料のカルコゲナイト(GeSbTe)を、酸性シリカ系スラリにより研磨しリセス中以外のGeSbTeを除去する。酸性シリカを用いることにより、下層膜であるTiAlN酸化が生じ、生成した非常に硬いAl酸化物がエッチストップ層として働く。次に、このAl酸化物を薄HF溶液で取り除いたあと、中性シリカ系スラリにより抵抗素子材料であるTiAlNとロジック部のSiNからなる保護膜24の研磨を行う。プロセス条件として、圧力(3PSI)、ヘッド回転速度(85rpm)、テーブル回転速度(90rpm)、スラリ流量(200ml/min)で行った。CMP工程では、一般に段差の高い部分の研磨速度が大きく、したがって、SiNからなる保護膜24の上に一様に堆積されたGeSbTeとTiAlNが先に研磨され取り除かれるため、保護膜24の膜厚は、20nmと薄膜化することができる。
【0026】
(5)ここでは、SiNもしくはSiCのエッチストップ層、Low−k材料を堆積し、Cu配線を作る。
【0027】
図1(e)において、Cu配線38の第1バリア膜32としてSiCまたはSiNをプラズマCVD法により50nm堆積する。次に、第2絶縁膜34のSiOまたは、SiOC膜をプラズマCVD法により200nm堆積する。
【0028】
次に、図1(f)において、Cu配線38のためのトレンチを形成するために、まず、第2絶縁膜34をエッチングし、次に第1バリア膜32をエッチングする。ここに示したように絶縁膜のエッチングを2工程に分割することにより、ドライエッチ工程における記憶素子材料のGeSbTeに対するエッチングダメージを最小限にとどめることができる。トレンチ形成後、第2バリア膜36であるTaNをTaをターゲットにした反応性スパッタ法により10nm堆積する。更にスパッタ法によりCuシード層を堆積したのち、電界メッキ法によりCuをウエハ全面に堆積する。そして、トレンチ内部のCuのみを残し、余分なCuをCMPにより取り除きCu配線38を形成する。
【0029】
なお、本発明の半導体記憶装置は、0.13μm以下の世代における標準プロセスをもって形成される。
【0030】
また、図3に示すように、図1(f)の構造におけるCu配線38及び第2バリア膜36からなる配線の幅をコンタクトホールの幅よりも小さくすることにより、抵抗加熱素子膜28を介した電流成分を完全に遮断することができる。
【0031】
これにより、高抵抗のTiAlNからなる抵抗加熱素子膜28への電流パスよりも記憶素子膜30への電流パスが増える。
【0032】
なお、図1では、抵抗加熱素子膜28及び記憶素子膜30をコンタクトホール18内に形成したが、Cu配線38が形成されている第2絶縁膜34に形成することもできる。
【0033】
なお、本実施の形態において抵抗加熱素子膜28としてTiAlNを用いたが、TiSiN、TaAlN、TaSiNのような伝導性の金属窒化物と絶縁物の窒化物からなる材料であれば抵抗加熱素子膜として用いることができる。
【0034】
【発明の効果】
本発明により、同じシリコン基板上に、最小限のプロセスステップの追加でメモリ部と標準CMOSのロジック部を同時に形成することが可能となる。さらに、コンタクトホール中に形成するメモリ素子の構造を単純化することにより、微細化を容易にすることができる。
【図面の簡単な説明】
【図1】本発明の実施形態における工程断面図
【図2】TiAlN組成とその抵抗の関係図
【図3】本発明のメモリ素子の断面図
【図4】従来のメモリ素子の断面図
【符号の説明】
10 シリコン基板
12 第1絶縁膜
14 メモリ部
16 ロジック部
18 コンタクトホール
20 密着層
22 タングステンプラグ
24 保護膜
26 リセス
28 抵抗加熱素子膜
30 記憶素子膜
32 第1バリア膜
34 第2絶縁膜
36 第2バリア膜
38 Cu配線
102 シリコン基板
104 層間絶縁膜
106 コンタクトホール
108 プラグ
110 抵抗加熱素子膜
112 層間絶縁膜
114 記憶素子膜
116 バリアメタル
118 配線
[0001]
BACKGROUND OF THE INVENTION
The present invention relates to a method for manufacturing a nonvolatile memory using a resistance change accompanying a phase change.
[0002]
[Prior art]
As a semiconductor memory device using a conventional chalcogenite material, for example, there is one described in Patent Document 1. FIG. 4 shows a cross-sectional view of a semiconductor memory device using a conventional chalcogenite material described in Patent Document 1. In FIG.
[0003]
In FIG. 4, the interlayerinsulating film 104 deposited on thesilicon substrate 102 is patterned to form contact holes 106. Then, polysilicon is deposited by a thermal CVD method, and the polysilicon deposited on theinterlayer insulating film 104 is removed by a CMP method. Further, the polysilicon is etched, a recess is formed, and aplug 108 is formed. Then, TiN is deposited thereon, and TiN deposited on theinterlayer insulating film 104 is selectively removed by CMP. Further, the resistanceheating element film 110 is formed by etching the surface of TiN embedded in the upper part of the contact hole 106 to form a recess. Then, after depositing SiN by the CVD method, SiN deposited on theinterlayer insulating film 104 by the CMP method is removed by selective etching to form aninterlayer insulating film 112. Thereafter, a fine hole reaching the lower resistanceheating element film 110 is formed in the center of theinterlayer insulating film 112. Then, chalcogenite (GeSbTe) used as a memory material is deposited by sputtering. Then, GeSbTe deposited on theinterlayer insulating film 104 is selectively etched and removed by CMP to form thememory element film 114. Thereafter,barrier metal 116 andwiring 118 are formed.
[0004]
As described above, in Patent Document 1, thememory element film 114 is embedded in theinterlayer insulating film 112 to improve the consistency with the logic process.
[0005]
[Patent Document 1]
USP 6236059
[0006]
[Problems to be solved by the invention]
In Patent Document 1, (1) TiN, which is a low-resistance material, is embedded and planarized in a recess inside a plug. (2) Etching TiN to form a recess. (3) SiN is buried and flattened. (4) The embedded SiN is finely patterned (litho, etched) to form an opening on the plug. (5) The storage material is deposited and embedded, which is a very complicated process. The integration process of the storage element is complicated and it is difficult to miniaturize the element. .
[0007]
[Means for Solving the Problems]
In the present invention, the recording material is surrounded by TiAlN that works as a resistance heating element, thereby simplifying the process, reducing the number of manufacturing steps, and increasing the compatibility with the logic standard process.
[0008]
That is, by adding only one rough level patterning process, it is possible to mount memory elements. Furthermore, by minimizing the structure of the memory element formed in the contact hole, the element can be miniaturized and integrated.
[0009]
Specifically, the semiconductor memory device of the present invention includes an insulating film formed on a substrate, a via hole formed in the insulating film, a via plug formed in the via hole, and a resistance heating element formed on the via plug. And a memory element formed on the resistance heating element and a wiring formed on the memory element. The memory element has a bottom surface and a side wall covered with the resistance heating element.
[0010]
Also, the via plug, the resistance heating element, and the memory element are formed in the via hole.
[0011]
The memory element is made of a phase change material.
[0012]
A method for manufacturing a semiconductor memory device according to the present invention includes forming a memory element on a substrate including a memory portion and a logic portion, a step of forming an insulating film on the substrate, a step of forming a via hole in the insulating film, A step of forming a via plug by embedding metal in the via hole, a step of forming a recess by etching the via plug of the memory portion, a step of forming a resistance heating element on the bottom and side walls in the recess, and storing on the resistance heating element The method includes a step of forming an element and a step of forming a wiring over the memory element.
[0013]
The memory element is made of a phase change material.
[0014]
DETAILED DESCRIPTION OF THE INVENTION
Hereinafter, embodiments of the present invention will be described with reference to the drawings.
[0015]
(Embodiment)
An embodiment of the present invention will be described with reference to FIGS. 1 (a) to 1 (f).
[0016]
FIG. 1 is a cross-sectional view showing a manufacturing process of a semiconductor memory device in an embodiment of the present invention.
[0017]
(1) Here, Ti / TiN / W plugs of the logic part and the memory array part are formed based on the standard logic process.
[0018]
In FIG. 1A, a firstinsulating film 12 made of a phosphorus-doped oxide film is formed on asilicon substrate 10 by 0.8 μm by a thermal CVD method. Thereafter, in order to flatten the level difference that reflects the unevenness of the base, etch back is performed using an inversion mask, and then flattening is performed by CMP, so that the film thickness of the firstinsulating film 12 becomes 0. Formed to 5 μm.
[0019]
Next, contact holes 18 having a diameter of 0.1 μm to 0.13 μm are formed in thememory unit 14 and the logic unit 16 so as to be connected to thebase silicon substrate 10 in the first insulatingfilm 12 by litho-dry etching. Then, anadhesion layer 20 made of TiN is formed in thecontact hole 18, and then thecontact hole 18 is filled with tungsten by a thermal CVD method using WF6 and SiH4 and atungsten plug 22 is formed by CMP.
[0020]
(2) Here, in order to protect the tungsten plug in the logic portion, a SiN film or the like is deposited as a protective film, and rough level patterning is performed to expose only the tungsten plug in the memory array portion. Then, the recess is formed by etching the tungsten plug in the memory array portion.
[0021]
In FIG. 1B, a protective film 24 made of SiN is formed on thetungsten plug 22 of the logic section 16. At this time, this SiN is formed to 20 nm using SiH4 and NH3 by a plasma CVD method at a substrate temperature of 400 ° C. Here, the film formation temperature is preferably low in order not to deteriorate the characteristics of thetungsten plug 22 and the transistor (not shown) in the lower layer. Then, this SiN is removed only by the reactive plasma etching using a CHF3 —Ar—O2 gas using a resist mask. At this time, in order to minimize the protrusion of the tungsten plug, the process pressure was 50 mTorr and the RF power was 200 W. Next, in order to provide the recess 26 in thetungsten plug 22 of the memory part, thetungsten plug 22 was etched using a parallel plate reactive dry etching apparatus. The process conditions at this time are a reaction gas (SF6 ), a gas flow rate (100 sccm), an RF power (500 W), a substrate temperature (10 ° C.), and a process pressure (50 mTorr). Under this condition, the selectivity with respect to the oxide film is about 10. Here, the depth of the recess 26 is 500 nm to 650 nm which is shallower than ½ of the plug diameter of thetungsten plug 22. When the recess 26 is deeper than this, a void is generated in the GeSbTe film portion functioning as a memory element, and a favorable memory element cannot be formed.
[0022]
(3) Here, TiAIN acting as a resistance heating element and a memory material are deposited.
[0023]
In FIG. 1C, a resistanceheating element film 28 made of TiAlN is formed by a reactive sputtering method. Process conditions are deposition temperature (100 ° C.), pressure (0.2 Pa), gas flow rate (Ar = 21 sccm, N2 = 42 sccm). Here, the TiAlN film thickness and composition are adjusted in order to obtain a target resistance value. The relationship between the Al composition of TiAlN and the resistance value (sheet resistance) is as shown in FIG. In FIG. 2, the horizontal axis represents the Al / (Ti + Al) 100-percentage, and the vertical axis represents the resistance value. A suitable film thickness of TiAlN is 10 nm to 20 nm for a plug diameter of 0.1 μm. Next, thememory element film 30 is formed by a sputtering method. Process conditions are deposition temperature (100 ° C.), pressure (0.1 Pa), and gas flow rate (Ar = 10 sccm).
[0024]
(4) Here, planarization polishing is performed by CMP.
[0025]
In FIG. 1D, polishing by CMP is performed to form a resistanceheating element film 28 and amemory element film 30 in the recess 26. First, chalcogenite (GeSbTe) as a memory element material is polished with an acidic silica-based slurry to remove GeSbTe other than that in the recess. By using acidic silica, TiAlN oxidation, which is a lower layer film, is generated, and the generated very hard Al oxide serves as an etch stop layer. Next, after removing the Al oxide with a thin HF solution, the protective film 24 made of TiAlN which is a resistance element material and SiN of the logic portion is polished with a neutral silica-based slurry. The process conditions were pressure (3PSI), head rotation speed (85 rpm), table rotation speed (90 rpm), and slurry flow rate (200 ml / min). In the CMP process, the polishing rate is generally high in a portion with a high step, and therefore GeSbTe and TiAlN uniformly deposited on the protective film 24 made of SiN are polished and removed first, so that the thickness of the protective film 24 is increased. Can be as thin as 20 nm.
[0026]
(5) Here, an SiN or SiC etch stop layer and a low-k material are deposited to form a Cu wiring.
[0027]
In FIG. 1E, SiC or SiN is deposited as afirst barrier film 32 of theCu wiring 38 by 50 nm by plasma CVD. Next, a 200 nm thick SiO2 or SiOC film of the second insulatingfilm 34 is deposited by plasma CVD.
[0028]
Next, in FIG. 1F, in order to form a trench for theCu wiring 38, the second insulatingfilm 34 is first etched, and then thefirst barrier film 32 is etched. As shown here, by dividing the etching of the insulating film into two steps, the etching damage to the GeSbTe of the memory element material in the dry etching step can be minimized. After the trench formation, TaN as thesecond barrier film 36 is deposited by 10 nm by reactive sputtering using Ta as a target. Further, after depositing a Cu seed layer by sputtering, Cu is deposited on the entire surface of the wafer by electroplating. Then, only Cu inside the trench is left, and excess Cu is removed by CMP to form aCu wiring 38.
[0029]
The semiconductor memory device of the present invention is formed by a standard process in a generation of 0.13 μm or less.
[0030]
Further, as shown in FIG. 3, the width of the wiring composed of theCu wiring 38 and thesecond barrier film 36 in the structure of FIG. 1 (f) is made smaller than the width of the contact hole, so that the resistanceheating element film 28 is interposed. It is possible to completely block the current component.
[0031]
As a result, the current path to thememory element film 30 increases more than the current path to the resistanceheating element film 28 made of high resistance TiAlN.
[0032]
In FIG. 1, the resistanceheating element film 28 and thememory element film 30 are formed in thecontact hole 18, but may be formed in the second insulatingfilm 34 in which theCu wiring 38 is formed.
[0033]
In this embodiment, TiAlN is used as the resistanceheating element film 28. However, any material made of a conductive metal nitride and an insulating nitride such as TiSiN, TaAlN, and TaSiN can be used as the resistance heating element film. Can be used.
[0034]
【The invention's effect】
According to the present invention, a memory portion and a standard CMOS logic portion can be simultaneously formed on the same silicon substrate with a minimum number of process steps. Furthermore, miniaturization can be facilitated by simplifying the structure of the memory element formed in the contact hole.
[Brief description of the drawings]
FIG. 1 is a cross-sectional view of a process according to an embodiment of the present invention. FIG. 2 is a relational diagram between a TiAlN composition and its resistance. FIG. 3 is a cross-sectional view of a memory element of the present invention. Explanation of]
DESCRIPTION OFSYMBOLS 10Silicon substrate 121st insulating film 14 Memory part 16Logic part 18Contact hole 20Adhesion layer 22 Tungsten plug 24 Protective film 26Recess 28 Resistanceheating element film 30Memory element film 321st barrier film 34 2nd insulatingfilm 362nd Barrier film 38 Cu wiring 102Silicon substrate 104 Interlayer insulating film 106Contact hole 108Plug 110 Resistanceheating element film 112Interlayer insulating film 114Memory element film 116Barrier metal 118 Wiring

Claims (7)

Translated fromJapanese
基板上に形成された絶縁膜と、
前記絶縁膜に形成されたビアホールと、
前記ビアホール内に形成されたビアプラグと、
前記ビアプラグ上に形成された抵抗加熱素子と、
前記抵抗加熱素子上に形成された記憶素子と、
前記記憶素子上に形成された配線とを備え、
前記記憶素子は、底面と側壁を抵抗加熱素子で覆われていることを特徴とする半導体記憶装置。
An insulating film formed on the substrate;
Via holes formed in the insulating film;
Via plugs formed in the via holes;
A resistance heating element formed on the via plug;
A memory element formed on the resistance heating element;
Wiring formed on the memory element,
A semiconductor memory device, wherein the memory element has a bottom surface and a side wall covered with a resistance heating element.
前記ビアプラグ、前記抵抗加熱素子及び前記記憶素子は、ビアホール内に形成されていることを特徴とする請求項1記載の半導体記憶装置。2. The semiconductor memory device according to claim 1, wherein the via plug, the resistance heating element, and the memory element are formed in a via hole.前記記憶素子は、相変化材料からなることを特徴とする請求項1記載の半導体記憶装置。The semiconductor memory device according to claim 1, wherein the memory element is made of a phase change material.前記抵抗加熱素子は、TiAlN、TiSiN、TaAlNまたはTaSiNであることを特徴とする請求項1記載の半導体装置。2. The semiconductor device according to claim 1, wherein the resistance heating element is TiAlN, TiSiN, TaAlN, or TaSiN.メモリ部とロジック部からなる基板上に記憶素子を形成する方法において、
基板上に絶縁膜を形成する工程と、
前記絶縁膜にビアホールを形成する工程と、
前記ビアホール内に金属を埋め込みビアプラグを形成する工程と、
前記メモリ部の前記ビアプラグをエッチングしてリセスを形成する工程と、
前記リセス内の底面及び側壁に抵抗加熱素子を形成する工程と、
前記抵抗加熱素子上に記憶素子を形成する工程と、
前記記憶素子上に配線を形成する工程とを有することを特徴とする半導体記憶装置の製造方法。
In a method of forming a memory element on a substrate composed of a memory part and a logic part,
Forming an insulating film on the substrate;
Forming a via hole in the insulating film;
Filling a metal in the via hole to form a via plug;
Etching the via plug of the memory unit to form a recess;
Forming a resistance heating element on the bottom and side walls in the recess;
Forming a memory element on the resistance heating element;
Forming a wiring on the memory element. A method for manufacturing a semiconductor memory device.
前記記憶素子は、相変化材料からなることを特徴とする請求項5記載の半導体記憶装置の製造方法。6. The method of manufacturing a semiconductor memory device according to claim 5, wherein the memory element is made of a phase change material.前記抵抗加熱素子は、TiAlN、TiSiN、TaAlNまたはTaSiNであることを特徴とする請求項5記載の半導体装置の製造方法。6. The method of manufacturing a semiconductor device according to claim 5, wherein the resistance heating element is TiAlN, TiSiN, TaAlN, or TaSiN.
JP2003194216A2003-07-092003-07-09 Semiconductor memory device and manufacturing method thereofWithdrawnJP2005032855A (en)

Priority Applications (3)

Application NumberPriority DateFiling DateTitle
JP2003194216AJP2005032855A (en)2003-07-092003-07-09 Semiconductor memory device and manufacturing method thereof
US10/863,330US7196346B2 (en)2003-07-092004-06-09Semiconductor memory device and method for fabricating the same
US11/724,209US20070158635A1 (en)2003-07-092007-03-15Semiconductor memory device and method for fabricating the same

Applications Claiming Priority (1)

Application NumberPriority DateFiling DateTitle
JP2003194216AJP2005032855A (en)2003-07-092003-07-09 Semiconductor memory device and manufacturing method thereof

Publications (1)

Publication NumberPublication Date
JP2005032855Atrue JP2005032855A (en)2005-02-03

Family

ID=33562505

Family Applications (1)

Application NumberTitlePriority DateFiling Date
JP2003194216AWithdrawnJP2005032855A (en)2003-07-092003-07-09 Semiconductor memory device and manufacturing method thereof

Country Status (2)

CountryLink
US (2)US7196346B2 (en)
JP (1)JP2005032855A (en)

Cited By (21)

* Cited by examiner, † Cited by third party
Publication numberPriority datePublication dateAssigneeTitle
KR100660287B1 (en)2005-12-292006-12-20동부일렉트로닉스 주식회사 Phase change memory and its manufacturing method
JP2006344976A (en)*2005-06-102006-12-21Hynix Semiconductor IncPhase transformation memory element and its manufacturing method
JP2007035683A (en)*2005-07-222007-02-08Elpida Memory Inc Semiconductor device and manufacturing method thereof
JP2007194238A (en)*2006-01-172007-08-02Elpida Memory Inc Phase change memory device and method of manufacturing phase change memory device
JP2007273962A (en)*2006-03-022007-10-18Qimonda Ag Phase change memory formed using a self-aligned process
JP2007273964A (en)*2006-03-022007-10-18Qimonda AgPhase change memory formed using self-aligned process
CN100423283C (en)*2006-07-202008-10-01复旦大学 A Novel Trench Structure Phase Change Memory
JP2008235863A (en)*2006-12-212008-10-02Qimonda North America Corp Pillar phase change memory cell
JP2009016829A (en)*2007-06-292009-01-22Cheil Industries IncChemical mechanical polishing slurry composition for phase-change substance polishing and method of polishing phase-change substance using the same
JP2009033177A (en)*2007-07-262009-02-12Samsung Electronics Co Ltd Nonvolatile memory device including stacked NAND-type resistive memory cell string and method of manufacturing the same
JP2009525615A (en)*2006-02-012009-07-09キャボット マイクロエレクトロニクス コーポレイション Compositions and methods for CMP of phase change alloys
US7563639B2 (en)2006-04-122009-07-21Samsung Electronics Co., Ltd.Phase-changeable memory device and method of manufacturing the same
WO2009104239A1 (en)*2008-02-182009-08-27株式会社 東芝Non-volatile storage device and its manufacturing method
JP2010503989A (en)*2006-09-142010-02-04アドバンスト・マイクロ・ディバイシズ・インコーポレイテッド Damascene metal-insulator-metal (MIM) devices with improved scalability
US7682976B2 (en)2007-12-112010-03-23Samsung Electronics Co., Ltd.Methods of forming a phase-change material layer pattern, methods of manufacturing a phase-change memory device and related slurry compositions
KR100967675B1 (en)2006-11-162010-07-07주식회사 하이닉스반도체 Phase change memory device and manufacturing method thereof
JP2010534934A (en)*2007-07-262010-11-11キャボット マイクロエレクトロニクス コーポレイション Compositions and methods for chemically and mechanically polishing phase change materials
JP2010287910A (en)*2006-01-052010-12-24Korea Advanced Inst Of Sci Technol Phase change memory using carbon nanotube and method of manufacturing the same
JP2011519485A (en)*2008-05-012011-07-07オヴォニクス,インコーポレイテッド Method of forming electrodes in a phase change memory device
JP2013012747A (en)*2007-06-292013-01-17Cheil Industries IncSlurry composition for chemical machine polishing for polishing phase change memory device and polishing method for phase change memory device using the same
JP2013536588A (en)*2010-08-262013-09-19マイクロン テクノロジー, インク. Phase change memory structure and method

Families Citing this family (37)

* Cited by examiner, † Cited by third party
Publication numberPriority datePublication dateAssigneeTitle
DE102004004584A1 (en)*2004-01-292005-08-25Infineon Technologies Ag Semiconductor memory cell and associated manufacturing method
US7189626B2 (en)*2004-11-032007-03-13Micron Technology, Inc.Electroless plating of metal caps for chalcogenide-based memory devices
KR100687747B1 (en)*2005-07-292007-02-27한국전자통신연구원 Phase change memory device and manufacturing method thereof
KR100695162B1 (en)*2005-09-132007-03-14삼성전자주식회사 Phase change memory and its operation method
US7394088B2 (en)2005-11-152008-07-01Macronix International Co., Ltd.Thermally contained/insulated phase change memory device and method (combined)
US7545667B2 (en)*2006-03-302009-06-09International Business Machines CorporationProgrammable via structure for three dimensional integration technology
US7646006B2 (en)*2006-03-302010-01-12International Business Machines CorporationThree-terminal cascade switch for controlling static power consumption in integrated circuits
KR100722769B1 (en)*2006-05-192007-05-30삼성전자주식회사 Phase change memory device and forming method thereof
WO2008026081A2 (en)*2006-08-312008-03-06Interuniversitair Microelektronica Centrum (Imec)Method for manufacturing a resistive switching device and devices obtained thereof
US20080064198A1 (en)*2006-09-112008-03-13Wolodymyr CzubatyjChalcogenide semiconductor memory device with insulating dielectric
US8426967B2 (en)*2007-01-052013-04-23International Business Machines CorporationScaled-down phase change memory cell in recessed heater
US7411818B1 (en)*2007-02-072008-08-12International Business Machines CorporationProgrammable fuse/non-volatile memory structures using externally heated phase change material
TWI419321B (en)*2007-04-032013-12-11Marvell World Trade LtdMemory device and method for manufacturing the same
US7745809B1 (en)*2007-04-032010-06-29Marvell International Ltd.Ultra high density phase change memory having improved emitter contacts, improved GST cell reliability and highly matched UHD GST cells using column mirco-trench strips
US7709835B2 (en)*2007-04-032010-05-04Marvell World Trade Ltd.Method to form high efficiency GST cell using a double heater cut
WO2008124444A1 (en)*2007-04-032008-10-16Marvell World Trade Ltd.Methods to form wide heater trenches and to form memory cells to engage heaters
US7812333B2 (en)*2007-06-282010-10-12Qimonda North America Corp.Integrated circuit including resistivity changing material having a planarized surface
KR20090013419A (en)*2007-08-012009-02-05삼성전자주식회사 Phase change memory device and its formation method
US7633079B2 (en)*2007-09-062009-12-15International Business Machines CorporationProgrammable fuse/non-volatile memory structures in BEOL regions using externally heated phase change material
US7981755B2 (en)*2007-10-252011-07-19International Business Machines CorporationSelf aligned ring electrodes
FR2930371B1 (en)*2008-04-162010-10-29St Microelectronics Sa MEMORY STRUCTURE COMPRISING A PROGRAMMABLE RESISTIVE ELEMENT AND METHOD FOR MANUFACTURING SAME
TW201032370A (en)*2009-02-202010-09-01Ind Tech Res InstPhase change memory device and fabrications thereof
JP2011091156A (en)*2009-10-212011-05-06Elpida Memory IncSemiconductor device and method of manufacturing the same
US8486743B2 (en)2011-03-232013-07-16Micron Technology, Inc.Methods of forming memory cells
US9343672B2 (en)*2011-06-072016-05-17Samsung Electronics Co., Ltd.Nonvolatile memory devices, nonvolatile memory cells and methods of manufacturing nonvolatile memory devices
US8994489B2 (en)2011-10-192015-03-31Micron Technology, Inc.Fuses, and methods of forming and using fuses
US9252188B2 (en)2011-11-172016-02-02Micron Technology, Inc.Methods of forming memory cells
US8546231B2 (en)2011-11-172013-10-01Micron Technology, Inc.Memory arrays and methods of forming memory cells
US8723155B2 (en)2011-11-172014-05-13Micron Technology, Inc.Memory cells and integrated devices
US9136467B2 (en)2012-04-302015-09-15Micron Technology, Inc.Phase change memory cells and methods of forming phase change memory cells
US8765555B2 (en)2012-04-302014-07-01Micron Technology, Inc.Phase change memory cells and methods of forming phase change memory cells
US9553262B2 (en)2013-02-072017-01-24Micron Technology, Inc.Arrays of memory cells and methods of forming an array of memory cells
US9881971B2 (en)2014-04-012018-01-30Micron Technology, Inc.Memory arrays
US9362494B2 (en)2014-06-022016-06-07Micron Technology, Inc.Array of cross point memory cells and methods of forming an array of cross point memory cells
US9343506B2 (en)2014-06-042016-05-17Micron Technology, Inc.Memory arrays with polygonal memory cells having specific sidewall orientations
CN105448947A (en)*2014-08-272016-03-30中芯国际集成电路制造(上海)有限公司Phase change random access memory cell and forming method thereof
US11158788B2 (en)*2018-10-302021-10-26International Business Machines CorporationAtomic layer deposition and physical vapor deposition bilayer for additive patterning

Family Cites Families (5)

* Cited by examiner, † Cited by third party
Publication numberPriority datePublication dateAssigneeTitle
US5998244A (en)1996-08-221999-12-07Micron Technology, Inc.Memory cell incorporating a chalcogenide element and method of making same
KR100384867B1 (en)*2001-05-032003-05-23주식회사 하이닉스반도체Method for fabricating capacitor
US6656785B2 (en)*2001-10-152003-12-02Taiwan Semiconductor Manufacturing Co. LtdMIM process for logic-based embedded RAM
JP2003332426A (en)*2002-05-172003-11-21Renesas Technology CorpMethod for manufacturing semiconductor device and semiconductor device
US7381611B2 (en)*2003-08-042008-06-03Intel CorporationMultilayered phase change memory

Cited By (27)

* Cited by examiner, † Cited by third party
Publication numberPriority datePublication dateAssigneeTitle
JP2006344976A (en)*2005-06-102006-12-21Hynix Semiconductor IncPhase transformation memory element and its manufacturing method
JP2007035683A (en)*2005-07-222007-02-08Elpida Memory Inc Semiconductor device and manufacturing method thereof
US7589344B2 (en)2005-07-222009-09-15Elpida Memory, Inc.Semiconductor device and method of producing the same
KR100660287B1 (en)2005-12-292006-12-20동부일렉트로닉스 주식회사 Phase change memory and its manufacturing method
JP2010287910A (en)*2006-01-052010-12-24Korea Advanced Inst Of Sci Technol Phase change memory using carbon nanotube and method of manufacturing the same
JP2007194238A (en)*2006-01-172007-08-02Elpida Memory Inc Phase change memory device and method of manufacturing phase change memory device
JP2013214769A (en)*2006-02-012013-10-17Cabot Microelectronics CorpCompositions for cmp of phase change alloys
JP2009525615A (en)*2006-02-012009-07-09キャボット マイクロエレクトロニクス コーポレイション Compositions and methods for CMP of phase change alloys
JP2007273962A (en)*2006-03-022007-10-18Qimonda Ag Phase change memory formed using a self-aligned process
JP2007273964A (en)*2006-03-022007-10-18Qimonda AgPhase change memory formed using self-aligned process
US7563639B2 (en)2006-04-122009-07-21Samsung Electronics Co., Ltd.Phase-changeable memory device and method of manufacturing the same
CN100423283C (en)*2006-07-202008-10-01复旦大学 A Novel Trench Structure Phase Change Memory
JP2010503989A (en)*2006-09-142010-02-04アドバンスト・マイクロ・ディバイシズ・インコーポレイテッド Damascene metal-insulator-metal (MIM) devices with improved scalability
US8293650B2 (en)2006-11-162012-10-23Hynix Semiconductor Inc.Phase change memory device in which a phase change layer is stably formed and prevented from lifting and method for manufacturing the same
KR100967675B1 (en)2006-11-162010-07-07주식회사 하이닉스반도체 Phase change memory device and manufacturing method thereof
US7910908B2 (en)2006-11-162011-03-22Hynix Semiconductor Inc.Phase change memory device in which a phase change layer is stably formed and prevented from lifting and method for manufacturing the same
JP2008235863A (en)*2006-12-212008-10-02Qimonda North America Corp Pillar phase change memory cell
JP2009016829A (en)*2007-06-292009-01-22Cheil Industries IncChemical mechanical polishing slurry composition for phase-change substance polishing and method of polishing phase-change substance using the same
JP2013012747A (en)*2007-06-292013-01-17Cheil Industries IncSlurry composition for chemical machine polishing for polishing phase change memory device and polishing method for phase change memory device using the same
JP2009033177A (en)*2007-07-262009-02-12Samsung Electronics Co Ltd Nonvolatile memory device including stacked NAND-type resistive memory cell string and method of manufacturing the same
JP2010534934A (en)*2007-07-262010-11-11キャボット マイクロエレクトロニクス コーポレイション Compositions and methods for chemically and mechanically polishing phase change materials
US7682976B2 (en)2007-12-112010-03-23Samsung Electronics Co., Ltd.Methods of forming a phase-change material layer pattern, methods of manufacturing a phase-change memory device and related slurry compositions
US8237145B2 (en)2008-02-182012-08-07Kabushiki Kaisha ToshibaNonvolatile memory device with recording layer having two portions of different nitrogen amounts
JPWO2009104239A1 (en)*2008-02-182011-06-16株式会社東芝 Nonvolatile memory device and manufacturing method thereof
WO2009104239A1 (en)*2008-02-182009-08-27株式会社 東芝Non-volatile storage device and its manufacturing method
JP2011519485A (en)*2008-05-012011-07-07オヴォニクス,インコーポレイテッド Method of forming electrodes in a phase change memory device
JP2013536588A (en)*2010-08-262013-09-19マイクロン テクノロジー, インク. Phase change memory structure and method

Also Published As

Publication numberPublication date
US20050006681A1 (en)2005-01-13
US7196346B2 (en)2007-03-27
US20070158635A1 (en)2007-07-12

Similar Documents

PublicationPublication DateTitle
JP2005032855A (en) Semiconductor memory device and manufacturing method thereof
TWI334220B (en)Mim capacitor integrated into the damascens structure and method of making thereof
CN100442474C (en)Method of manufacturing semiconductor device
US8039372B2 (en)Methods of manufacturing variable resistance non-volatile memory devices including a uniformly narrow contact layer
KR100640662B1 (en) A semiconductor device having a barrier metal spacer and a method of manufacturing the same
KR100618855B1 (en) Metal contact structure formation method and phase change memory manufacturing method using the same
US6800549B2 (en)Method of fabricating semiconductor device including forming contact hole with anisotropic and isotropic etching and forming discontinuous barrier layer
TWI795718B (en)Memory device and method for forming the same
CN100372097C (en)Method for making copper interconnection line in integrated circuit
JP2013530519A (en) Method and device for forming a device
JP2008193078A (en) Wiring structure of semiconductor element and method of forming the same
JP2024519447A (en) High density memory devices using oxide gap fill
JP2003179136A (en)Mask layer and interconnection structure for manufacturing dual damascene semiconductor
JP3821624B2 (en) Manufacturing method of semiconductor device
US7601586B2 (en)Methods of forming buried bit line DRAM circuitry
CN101114674B (en) Semiconductor device and manufacturing method thereof
TW202125713A (en)Phase-change memory
CN113517393B (en)Phase change memory device and method of forming the same
JP3525788B2 (en) Method for manufacturing semiconductor device
JP4638139B2 (en) Method for forming metal wiring of semiconductor element
US20050275111A1 (en)Contact etching utilizing partially recessed hard mask
JPH10116904A (en)Manufacture of semiconductor device
TW202315025A (en)Subtractive metal etch with improved isolation for beol interconnect and cross point
US20040142554A1 (en)Underlayer protection for the dual damascene etching
US6919256B2 (en)Method of manufacturing semiconductor device having MIM capacitor

Legal Events

DateCodeTitleDescription
A621Written request for application examination

Free format text:JAPANESE INTERMEDIATE CODE: A621

Effective date:20060315

RD01Notification of change of attorney

Free format text:JAPANESE INTERMEDIATE CODE: A7421

Effective date:20060412

A977Report on retrieval

Free format text:JAPANESE INTERMEDIATE CODE: A971007

Effective date:20080709

A131Notification of reasons for refusal

Free format text:JAPANESE INTERMEDIATE CODE: A131

Effective date:20080722

A761Written withdrawal of application

Free format text:JAPANESE INTERMEDIATE CODE: A761

Effective date:20080917


[8]ページ先頭

©2009-2025 Movatter.jp