Movatterモバイル変換


[0]ホーム

URL:


JP2005010480A - Alignment substrate, method for manufacturing alignment substrate, liquid crystal device and electronic device - Google Patents

Alignment substrate, method for manufacturing alignment substrate, liquid crystal device and electronic device
Download PDF

Info

Publication number
JP2005010480A
JP2005010480AJP2003174825AJP2003174825AJP2005010480AJP 2005010480 AJP2005010480 AJP 2005010480AJP 2003174825 AJP2003174825 AJP 2003174825AJP 2003174825 AJP2003174825 AJP 2003174825AJP 2005010480 AJP2005010480 AJP 2005010480A
Authority
JP
Japan
Prior art keywords
liquid crystal
conductor
substrate
crystal molecules
electrical insulator
Prior art date
Legal status (The legal status is an assumption and is not a legal conclusion. Google has not performed a legal analysis and makes no representation as to the accuracy of the status listed.)
Withdrawn
Application number
JP2003174825A
Other languages
Japanese (ja)
Inventor
Yutaka Tsuchiya
豊 土屋
Current Assignee (The listed assignees may be inaccurate. Google has not performed a legal analysis and makes no representation or warranty as to the accuracy of the list.)
Seiko Epson Corp
Original Assignee
Seiko Epson Corp
Priority date (The priority date is an assumption and is not a legal conclusion. Google has not performed a legal analysis and makes no representation as to the accuracy of the date listed.)
Filing date
Publication date
Application filed by Seiko Epson CorpfiledCriticalSeiko Epson Corp
Priority to JP2003174825ApriorityCriticalpatent/JP2005010480A/en
Publication of JP2005010480ApublicationCriticalpatent/JP2005010480A/en
Withdrawnlegal-statusCriticalCurrent

Links

Images

Classifications

Landscapes

Abstract

Translated fromJapanese

【課題】電極間の短絡の発生率を低減することが可能であり、また焼き付きの発生率を低減することが可能な、配向基板および液晶装置を提供する。
【解決手段】本発明の配向基板10は、液晶分子に電圧を印加する電極9と、電極9の表面の一部に形成された絶縁膜41とを有する。この電極9および/または絶縁膜41の表面には、液晶分子を配向可能な溝16、突条17および凹凸10aが成形されている。また絶縁膜41は、少なくとも電極9の上端部に形成され、電極9の露出面積よりも小さく形成されている。そして本発明の液晶装置は、このような配向基板10備えている。
【選択図】 図4
An alignment substrate and a liquid crystal device capable of reducing the occurrence rate of a short circuit between electrodes and reducing the occurrence rate of image sticking are provided.
An alignment substrate of the present invention includes an electrode for applying a voltage to liquid crystal molecules, and an insulating film formed on a part of the surface of the electrode. On the surface of the electrode 9 and / or the insulating film 41, grooves 16, ridges 17 and irregularities 10a capable of aligning liquid crystal molecules are formed. The insulating film 41 is formed at least on the upper end portion of the electrode 9 and is smaller than the exposed area of the electrode 9. The liquid crystal device of the present invention includes such an alignment substrate 10.
[Selection] Figure 4

Description

Translated fromJapanese

【0001】
【発明の属する技術分野】
本発明は、配向基板、配向基板の製造方法、液晶装置および電子機器に関するものである。
【0002】
【従来の技術】
液晶プロジェクタ等の投射型表示装置における光変調装置として、液晶装置が用いられている。液晶装置は、対向配置された一対の基板に液晶層が挟持されて構成されている。この一対の基板の内側には、液晶層に電圧を印加するための電極が形成されている。また、この電極の内側には、電圧無印加時において液晶分子の配列を制御する配向膜が形成されている。この配向膜として、高分子膜の表面にラビング処理を施したものが用いられている。そして、電圧無印加時と電圧印加時との液晶分子の配列変化に基づいて、液晶装置に画像表示が行われる構成となっている。
【0003】
しかしながら、このような配向膜を備えた液晶装置を液晶プロジェクタの光変調装置に採用した場合には、光源から照射される強い光や熱によって配向膜が次第に分解されることがあった。そして長期間の使用後には、電圧無印加時に液晶分子を所望のプレチルト角に配列することができなくなるなど液晶分子の配向制御機能が低下して、液晶プロジェクタの表示品質が悪化することがあった。
【0004】
そこで、配向膜の代わりに、電極の表面に凹凸を形成して液晶分子の配向制御を行う構成が、特許文献1の請求項13に開示されている。この構成では、電極の表面に多数の平行な溝が形成されている。またこの溝に沿って、多数の鋸歯状の凸部が繰り返し形成されている。そして液晶分子は、各溝に沿って1軸方向に配向され、また各鋸歯状凸部に沿ってプレチルト角を持つようになっている。このように、液晶分子を配向可能な形状に電極の表面を成形することにより、配向膜を形成しない構成となっている。
【0005】
【特許文献1】
特開平9−152612号公報
【0006】
【発明が解決しようとする課題】
しかしながら、上述した構成では、一対の基板の内側に形成された電極が液晶層に露出している。そのため、液晶層に導電性の異物が混入した場合には、この異物が一対の電極間に配置されて両電極を短絡させるおそれがあるという問題がある。
【0007】
なお、電極間の短絡を回避するため、各電極の表面全体に電気絶縁膜を形成することも考えられる。しかしながら、電気絶縁膜を形成した状態で電極に通電すると、電気絶縁膜の表面に誘導電荷が発生する。そして、長期間の使用後には誘導電荷が恒常的に発生した状態となり、液晶分子が電気絶縁膜に引き付けられたまま動かなくなって、いわゆる焼き付き現象が発生する場合がある。この焼き付き現象が発生すると、液晶分子を配向制御することができなくなり、画像表示が不可能になるという問題がある。
【0008】
本発明は、上記課題を解決するためになされたものであって、導電体間の短絡の発生率を低減することが可能であり、また焼き付きの発生率を低減することが可能な、配向基板およびその製造方法の提供を目的とする。
また、信頼性の高い液晶装置および電子機器の提供を目的とする。
【0009】
【課題を解決するための手段】
上記目的を達成するため、本発明の配向基板は、液晶分子を配向可能な基板であって、前記基板の上方に形成され、前記液晶分子に電圧を印加する導電体と、前記導電体の表面の一部に形成された電気絶縁体と、を有することを特徴とする。
この構成によれば、導電体の表面に電気絶縁体を形成するので、導電体間の短絡の発生率を低減させることができる。また、導電体の表面の一部のみに電気絶縁体を形成するので、焼き付きの発生率を低減させることができる。これにより、導電体間の短絡および焼き付きの発生率をともに許容範囲内に抑えることが可能になる。
【0010】
また、前記電気絶縁体は、少なくとも前記導電体の上端部に形成されていることが望ましい。
導電体間の短絡は、導電性を有する異物が各導電体の上端部の間に配置されることによって発生する。そこで、少なくとも導電体の上端部に電気絶縁体を形成することにより、導電体間の短絡の発生率を効率的に低減させることができる。
【0011】
また、前記電気絶縁体の面積は、前記導電体の露出面積より小さくなっていることが望ましい。
この構成によれば、焼き付きの発生率を低減させることができる。もっとも、導電体の露出面積が大きくなるので導電体間の短絡の発生率は高くなる。しかし、導電体間の短絡は液晶装置の組み立て直後に発生する場合が多く、製品出荷前の検査により不良品を排除すれば、ユーザーのもとで故障が発生する可能性は低い。これに対して、焼き付きはユーザーによる長期間の使用後に発生するものである。そこで、電気絶縁体の面積を小さくして焼き付きの発生率を低減させておけば、ユーザーに対して信頼性の高い液晶装置を提供することができる。
【0012】
また、前記電気絶縁体は、可視光透過性を有する材料で構成されていることが望ましい。
この構成によれば、本発明の配向基板を備えた液晶装置が可視光を透過するようになり、液晶装置を光変調手段として機能させることができる。
【0013】
また、前記電気絶縁体は、耐光性を有する材料で構成されていることが望ましい。
この構成によれば、本発明の配向基板を備えた液晶装置を投射型表示装置の光変調手段として採用した場合でも、光源から照射される強い光や熱により電気絶縁体が分解されにくくなる。したがって、長期間にわたって導電体間の短絡を防止することができる。
【0014】
また、前記電気絶縁体および/または前記導電体の表面は、前記液晶分子を配向可能な形状に成形されていることが望ましい。
この構成によれば、液晶分子を配向させるために、別途配向膜を形成する必要がない。したがって、製造コストを削減することができる。また、強い光や熱によって配向膜が分解されることがなくなり、液晶装置の表示品質が低下することもない。さらに、配向膜のラビング処理が不要となり、ラビング布や配向膜材料のダストに起因する不具合の発生を回避することができる。したがって、信頼性の高い液晶装置を提供することができる。
【0015】
なお、前記導電体の表面には、前記液晶分子を配向可能な複数の溝と、前記各溝を隔てる複数の突条とが、互いに平行に形成され、前記各溝の底部には、前記液晶分子を配向可能な複数の凹凸が、前記各溝の延在する方向に沿って周期的に形成され、前記各突条の表面の全部または一部に、前記電気絶縁体が形成されていることが望ましい。
この構成によれば、溝、突条および凹凸により液晶分子を配向させることが可能であり、配向膜を形成する必要がない。したがって、信頼性の高い液晶装置を提供することができる。また、短時間のエッチングで導電体の表面に溝、突条および凹凸を形成することが可能であり、製造コストを削減することができる。さらに、導電体の上端部である突条の表面に電気絶縁体を形成するので、導電体間の短絡の発生率を低減させることができる。
【0016】
また、前記導電体の表面には、前記液晶分子を配向可能な複数の溝と、前記各溝を隔てる複数の突条とが、互いに平行に形成され、前記各突条の上部には、前記液晶分子を配向可能な複数の凹凸が、前記各突条の延在する方向に沿って周期的に形成されて、前記各凹凸の表面の全部または一部に、前記電気絶縁体が形成されていてもよい。
この構成によっても、溝、突条および凹凸により液晶分子を配向させることが可能であり、配向膜を形成する必要がない。したがって、信頼性の高い液晶装置を提供することができる。また、導電体の上端部である凹凸の表面に電気絶縁体を形成するので、導電体間の短絡の発生率を低減させることができる。
【0017】
また、前記導電体の表面には、前記液晶分子を配向可能な複数の溝と、前記各溝を隔てる複数の突条とが、互いに平行に形成され、前記各溝の底部には、前記液晶分子を配向可能な複数の凹凸が、前記各溝の延在する方向に沿って周期的に形成され、前記各突条の上部には、前記液晶分子を配向可能な複数の凹凸が、前記各突条の延在する方向に沿って周期的に形成されて、前記各突条の上部に形成された前記各凹凸の表面の全部または一部に、前記電気絶縁体が形成されていてもよい。
この構成によれば、多数の凹凸により液晶分子を良好に配向させることが可能であり、配向膜を形成する必要がない。したがって、信頼性の高い液晶装置を提供することができる。さらに、突条の上部に形成された凹凸の表面に電気絶縁体を形成することにより、導電体の上端部に電気絶縁体が形成されるので、導電体間の短絡の発生率を低減させることができる。
【0018】
一方、本発明の配向基板の製造方法は、基板本体の表面に導電体を形成する工程と、前記導電体の表面に電気絶縁体を形成する工程と、前記電気絶縁体の表面にマスク材を形成する工程と、前記マスク材を、液晶分子を配向可能な形状に成形する工程と、成形された前記マスク材を介して、前記電気絶縁体および/または前記導電体をエッチングすることにより、前記液晶分子を配向可能な形状に、前記電気絶縁体および/または前記導電体の表面を成形する工程と、を有することを特徴とする。
この構成によれば、電気絶縁体および/または導電体の表面に液晶分子を配向可能な形状が成形されるので、配向膜を形成する必要がない。したがって、信頼性の高い液晶装置を提供することができる。また、電気絶縁体および導電体を一気に成形することが可能であり、製造コストを削減することができる。
【0019】
また、本発明の他の配向基板の製造方法は、基板本体の表面にマスク材を形成する工程と、前記マスク材を、液晶分子を配向可能な形状に成形する工程と、成形された前記マスク材を介して、前記基板本体の表面をエッチングすることにより、前記液晶分子を配向可能な形状に、前記基板本体の表面を成形する工程と、前記基板本体の表面に導電体を形成する工程と、前記導電体の表面の一部に電気絶縁体を形成する工程と、を有することを特徴とする。
この構成によれば、電気絶縁体および/または導電体の表面に液晶分子を配向可能な形状が成形されるので、配向膜を形成する必要がない。また、導電体および電気絶縁体を均一な厚さに形成することができるので、液晶分子に対して安定した電圧を印加することが可能になる。したがって、信頼性の高い液晶装置を提供することができる。
【0020】
一方、本発明の液晶装置は、上述した配向基板を備えたことを特徴とする。また、上述した配向基板の製造方法を使用して製造したことを特徴とする。これにより、信頼性の高い液晶装置を提供することができる。
【0021】
また、対向配置された一対の基板と、前記一対の基板により挟持される液晶層と、前記各基板の前記液晶層側の表面に形成され前記液晶層に電圧を印加する導電体と、前記導電体の表面の一部に形成された電気絶縁体と、を有することを特徴とする。
この構成によれば、導電体の表面に電気絶縁体を形成するので、導電体間の短絡の発生率を低減させることができる。また、導電体の表面の一部のみに電気絶縁体を形成するので、焼き付きの発生率を低減させることができる。これにより、導電体間の短絡および焼き付きの発生率をともに許容範囲内に抑えることが可能になり、信頼性の高い液晶装置を提供することができる。
【0022】
一方、本発明の電子機器は、上述した液晶装置を備えたことを特徴とする。この構成によれば、信頼性の高い電子機器を提供することができる。
【0023】
【発明の実施の形態】
以下、本発明の実施形態につき、図面を参照して説明する。なお、以下の説明に用いる各図面では、各部材を認識可能な大きさとするため、各部材の縮尺を適宜変更している。
【0024】
[第1実施形態]
本発明の第1実施形態にかかる液晶装置および配向基板につき、図1ないし図7を用いて説明する。実施形態では、スイッチング素子として薄膜トランジスタ(Thin Film Transistor、以下TFTという)素子を用いたアクティブマトリクス方式の透過型液晶装置を例にして説明する。図1は、透過型液晶装置の画像表示領域を構成すべくマトリクス状に配置された複数の画素の等価回路図である。また、図2はTFTアレイ基板に形成された複数の画素の平面図であり、図3は図2のA−A’線における側面断面図である。
【0025】
[液晶装置]
図1に示すように、透過型液晶装置の画像表示領域を構成すべくマトリクス状に配置された複数の画素には、導電体である画素電極9が形成されている。また、その画素電極9の側方には、当該画素電極9への通電制御を行うためのスイッチング素子であるTFT素子30が形成されている。このTFT素子30のソースには、データ線6aが電気的に接続されている。各データ線6aには画像信号S1、S2、…、Snが供給される。なお画像信号S1、S2、…、Snは、各データ線6aに対してこの順に線順次で供給してもよく、相隣接する複数のデータ線6aに対してグループ毎に供給してもよい。
【0026】
また、TFT素子30のゲートには、走査線3aが電気的に接続されている。走査線3aには、所定のタイミングでパルス的に走査信号G1、G2、…、Gmが供給される。なお走査信号G1、G2、…、Gmは、各走査線3aに対してこの順に線順次で印加する。また、TFT素子30のドレインには、画素電極9が電気的に接続されている。そして、走査線3aから供給された走査信号G1、G2、…、Gmにより、スイッチング素子であるTFT素子30を一定期間だけオン状態にすると、データ線6aから供給された画素信号S1、S2、…、Snが、各画素の液晶に所定のタイミングで書き込まれる。
【0027】
液晶に書き込まれた所定レベルの画像信号S1、S2、…、Snは、画素電極9と後述する共通電極との間に形成される液晶容量で一定期間保持される。なお、保持された画素信号S1、S2、…、Snがリークするのを防止するため、画素電極9と容量線3bとの間に蓄積容量70が形成され、液晶容量と並列に配置されている。このように、液晶に電圧信号が印加されると、印加された電圧レベルにより液晶分子の配向状態が変化する。これにより、液晶に入射した光が変調されて階調表示が可能となる。
【0028】
[平面構造]
次に、図2を用いて、実施形態の液晶装置の平面構造について説明する。実施形態の液晶装置では、TFTアレイ基板上に、インジウム錫酸化物(Indium Tin Oxide、以下ITOという)等の透明導電性材料からなる矩形状の画素電極9(破線9aによりその輪郭を示す)が、マトリクス状に配列形成されている。また、画素電極9の縦横の境界に沿って、データ線6a、走査線3aおよび容量線3bが設けられている。実施形態では、各画素電極9の形成された領域が画素であり、マトリクス状に配置された各画素ごとに表示を行うことが可能な構造になっている。
【0029】
TFT素子30は、ポリシリコン膜等からなる半導体層1aを中心として形成されている。半導体層1aのソース領域(後述)には、コンタクトホール5を介して、データ線6aが電気的に接続されている。また、半導体層1aのドレイン領域(後述)には、コンタクトホール8を介して、画素電極9が電気的に接続されている。一方、半導体層1aにおける走査線3aとの対向部分には、チャネル領域1a’が形成されている。なお走査線3aは、チャネル領域1a’との対向部分においてゲート電極として機能する。
【0030】
容量線3bは、走査線3aに沿って略直線状に伸びる本線部(すなわち平面的に見て、走査線3aに沿って形成された第1領域)と、データ線6aとの交点からデータ線6aに沿って前段側(図中上向き)に突出した突出部(すなわち平面的に見て、データ線6aに沿って延設された第2領域)とによって構成されている。また、図2中に右上がりの斜線で示した領域には、第1遮光膜11aが形成されている。そして、容量線3bの突出部と第1遮光膜11aとがコンタクトホール13を介して電気的に接続され、後述する蓄積容量が形成されている。
【0031】
[断面構造]
次に、図3を用いて、実施形態の液晶装置の断面構造について説明する。なお、図3は図2のA−A’線における側面断面図である。図3に示すように、実施形態の液晶装置は、TFTアレイ基板10と、これに対向配置された対向基板20と、これらの間に挟持された液晶層50とを主体として構成されている。
【0032】
TFTアレイ基板10は、石英等の透光性材料からなる基板本体10Aおよびその内側に形成されたTFT素子30や導電体である画素電極9などを主体として構成されている。一方の対向基板20は、ガラスや石英等の透光性材料からなる基板本体20Aおよびその内側に形成された導電体である共通電極21などを主体として構成されている。さらに、液晶層50はTN液晶等によって構成されている。
【0033】
TFTアレイ基板10の表面には、後述する第1遮光膜11aおよび第1層間絶縁膜12が形成されている。そして、第1層間絶縁膜12の表面に半導体層1aが形成され、この半導体層1aを中心としてTFT素子30が形成されている。半導体層1aにおける走査線3aとの対向部分にはチャネル領域1a’が形成され、その両側にソース領域およびドレイン領域が形成されている。なお、このTFT素子30はLDD(Lightly Doped Drain)構造を採用しているため、ソース領域およびドレイン領域に、それぞれ不純物濃度が相対的に高い高濃度領域と、相対的に低い低濃度領域(LDD領域)とが形成されている。すなわち、ソース領域には低濃度ソース領域1bと高濃度ソース領域1dとが形成され、ドレイン領域には低濃度ドレイン領域1cと高濃度ドレイン領域1eとが形成されている。
【0034】
半導体層1aの表面には、ゲート絶縁膜2が形成されている。そして、ゲート絶縁膜2の表面に走査線3aが形成されて、その一部がゲート電極を構成している。また、ゲート絶縁膜2および走査線3aの表面には、第2層間絶縁膜4が形成されている。そして、第2層間絶縁膜4の表面にデータ線6aが形成され、第2層間絶縁膜4に形成されたコンタクトホール5を介して、データ線6aが高濃度ソース領域1dと電気的に接続されている。さらに、第2層間絶縁膜4およびデータ線6aの表面には、第3層間絶縁膜7が形成されている。そして、第3層間絶縁膜7の表面に画素電極9が形成され、第2層間絶縁膜4および第3層間絶縁膜7に形成されたコンタクトホール8を介して、画素電極9が高濃度ドレイン領域1eと電気的に接続されている。
【0035】
なお、実施形態では、半導体膜1aを延設して第1蓄積容量電極1fが形成されている。また、ゲート絶縁膜2を延設して誘電体膜が形成され、その表面に容量線3bが配置されて第2蓄積容量電極が形成されている。これらにより、上述した蓄積容量70が構成されている。
【0036】
また、TFT素子30の形成領域に対応するTFTアレイ基板10の表面に、第1遮光膜11aが形成されている。第1遮光膜11aは、対向基板20側から入射し、TFTアレイ基板10の外面(TFTアレイ基板10と空気との界面)で反射されて液晶層50へと戻る光が、少なくとも半導体層1aのチャネル領域1a’、低濃度ソース領域1bおよび低濃度ドレイン領域1cに入射することを防止するものである。なお、第1遮光膜11aは、第1層間絶縁膜12に形成されたコンタクトホール13を介して、前段あるいは後段の容量線3bと電気的に接続されている。これにより、第1遮光膜11aは第3蓄積容量電極として機能し、第1層間絶縁膜12を誘電体膜として、第1蓄積容量電極1fとの間に新たな蓄積容量が形成されている。
【0037】
一方、データ線6a、走査線3aおよびTFT素子30の形成領域に対応する対向基板20の表面には、第2遮光膜23が形成されている。第2遮光膜23は、対向基板20側からの入射光が、半導体層1aのチャネル領域1a’や低濃度ソース領域1b、低濃度ドレイン領域1cに侵入するのを防止するものである。また、対向基板20および第2遮光膜23の表面には、ほぼ全面にわたってITO等の導電体からなる共通電極21が形成されている。
【0038】
[配向基板]
上述したTFTアレイ基板10および対向基板20の表面は、次述するように液晶分子を配向可能な形状に成形されている。したがって、TFTアレイ基板10および対向基板20は、第1実施形態の配向基板を構成している。実施形態では、TFTアレイ基板10および対向基板20の表面形状と、これらの表面に形成された電気絶縁体とが特徴的な構成である。この特徴的な構成はTFTアレイ基板10および対向基板20に共通であるから、以下にはTFTアレイ基板10を例にして説明する。
【0039】
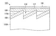
図4は、第1実施形態の配向基板の斜視図である。TFTアレイ基板(以下、単に基板という)10の画素電極の表面には、複数の溝16および突条17が交互に平行に成形されている。すなわち、各突条17の間には溝16が配置され、各溝16は所定幅で直線状に形成されている。また、各溝16を隔てるように突条17が配置され、各突条17は所定幅で直線状に形成されている。なお、溝16および突条17は、液晶分子を配向すべき方向に沿って延設されている。そして、基板10の表面付近の液晶分子が、溝16の内部に侵入し側壁に沿って配置されることにより、溝16の延設方向に沿って配向される。なお、液晶層において液晶分子をツイスト配向させる場合には、TFTアレイ基板10における溝16および突条17の延設方向と、対向基板20における溝16および突条17の延設方向とを、相互に所定角度ねじれた状態で配置する。
【0040】
一方、各溝16の底部には、複数の凹凸10aが形成されている。この凹凸10aは、溝16と同幅に形成され、溝16の延設方向に沿って周期的に配置されている。なお、凹凸10aの頂点と突条17の表面との間には段差Gが設けられている。この段差Gの高さは30〜500nmとされ、より好ましくは100〜250nmとされている。これにより、液晶分子を溝16の内部で配向させることが可能となり、また溝16と突条17とのリタデーションの差に起因する表示品質の低下を防止することが可能となる。さらに、溝16の延設方向に沿った凹凸10aの断面は、緩斜面と急斜面とを有する三角形状(鋸歯形状)とされている。この緩斜面の傾きは、液晶分子に付与すべきプレチルト角と同等に設定されている。そして、溝16の内部に侵入した液晶分子が、緩斜面に沿って配置されることにより、液晶分子にプレチルト角が付与される。
【0041】
一方、各突条17の表面には電気絶縁体である絶縁膜41が形成されている。この絶縁膜41は、可視光透過性を有する樹脂等の有機材料または無機材料によって構成されている。これにより、基板10を備えた液晶装置が可視光を透過するようになり、液晶装置を光変調手段として機能させることができる。もっとも、絶縁膜41は画素電極の一部のみに形成するので、窒化ケイ素(SiN)等の可視光透過性が若干低い材料で構成することも可能である。また、絶縁膜41は耐光性を有する材料によって構成されている。これにより、基板10を備えた液晶装置を投射型表示装置の光変調手段として使用した場合でも、光源から照射される強い光や熱により絶縁膜41が分解されにくくなる。したがって、投射型表示装置を長期間にわたり使用した場合でも、液晶装置における電極間の短絡を防止することができる。このように可視光透過性および耐光性を有する電気絶縁性材料として、具体的には酸化ケイ素(SiO2)や酸化マグネシウム(MgO)等を使用することができる。
【0042】
この絶縁膜41は、基板10の表面の一部に形成されている。すなわち、画素電極の表面の5〜95%程度を覆うように絶縁膜41が形成されている。なお画素電極の露出面積より、絶縁膜41の面積が小さくなるように、絶縁膜41を形成するのが好ましい。具体的には、画素電極の表面全体の10〜30%程度に絶縁膜41を形成する。このように、絶縁膜41の面積を小さくすることにより、焼き付きの発生率を低減させることができる。もっとも、電極の露出面積が大きくなるので、電極間の短絡の発生率は高くなる。しかし、電極間の短絡は液晶装置の組み立て直後に発生するものであり、製品出荷前の検査により不良品を排除すれば、ユーザーのもとで故障が発生する可能性は低い。これに対して、焼き付きはユーザーによる長期間の使用後に発生するものである。そこで、電極間の短絡の有無を出荷前検査で確認することを前提に、絶縁膜41の面積を小さくして焼き付きの発生率を低減させておけば、ユーザーに対して信頼性の高い液晶装置を提供することができる。
【0043】
この絶縁膜41は、TFTアレイ基板10の画素電極と、対向基板20の共通電極との、電極間の短絡を防止するものである。特に、液晶層の内部に混入した導電性を有する異物が電極間に挟み込まれることにより、電極間が短絡するのを防止するものである。そのため絶縁膜41は、少なくとも基板10の上端部に形成されている。具体的には、基板10の上端部である突条17の表面に絶縁膜41が形成されている。なお、画素電極の表面全体の10〜30%程度に突条17を形成した場合には、突条17の表面全体に絶縁膜41を形成すればよい。また、画素電極の表面全体の30%以上に突条17を形成した場合には、突条17の表面の一部に絶縁膜41を形成する。これにより、上述したように信頼性の高い液晶装置を提供することができる。
【0044】
図5は、図4のB−B線における側面断面図である。なお図5以下の各図では、理解の容易化のため、基板本体10Aと画素電極9との間に形成されるTFT素子や各種配線等の記載を省略している。図5に示すように、第1実施形態における基板本体10Aの表面は概平坦面とされ、その上層に画素電極9が形成されている。そして、その画素電極9の表面に、上述した突条17、溝16および凹凸10aが成形されている。さらに突条17の表面に、上述した絶縁膜41が形成されている。なお、凹凸10aの緩斜面の上方に液晶分子49が配置され、その液晶分子49にプレチルト角が付与されている。このように、画素電極9の表面が液晶分子を配向可能な形状に成形されているので、画素電極9の表面に配向膜は形成されていない。すなわち、画素電極9および絶縁膜41が液晶層に対して剥き出しとなっている。なお、基板本体10Aの表面を概平坦面とすることにより、TFT素子等を容易に形成することができる。また、画素電極9の表面のみに突条17、溝16および凹凸10aを成形するので、画素電極9の形成領域以外の領域は概平坦面となる。これにより、液晶の注入時における障害物が少なくなり、注入時間を短縮することができる。
【0045】
[製造方法]
次に、第1実施形態の配向基板の製造方法について説明する。図6および図7は、第1実施形態の配向基板の製造方法の説明図である。
【0046】
まず図6(a)に示すように、基板本体10Aの上層に、スパッタ法等により電極用の導電膜9aを形成する。なお導電膜9aは、この段階では平坦膜として形成しておく。次に、導電膜9aの表面に、CVD法等により絶縁膜41を形成する。なお絶縁膜41は、この段階では導電膜9aの表面全体に形成しておく。次に、絶縁膜41の表面に、マスク材としてたとえばレジスト60を塗布する。レジスト60は、スピンコート法等により、絶縁膜41の表面に均一の厚さで塗布する。そして、基板10の全体を露光装置に投入し、レジスト60を露光する。レジスト60の露光には、グレースケールマスク(以下、単にGSMという)52を使用する。GSMは、濃淡が段階的あるいは連続的に変化するフォトマスクであり、濃部から淡部にかけて光透過性が大きくなって、レジストの深い位置まで露光できるようになっている。第1実施形態のGSMは、突条に対応する部分が濃部とされ、溝に対応する部分が淡部とされている。さらに溝に対応する部分では、凹凸の頂部に対応する部分から底部に対応する部分にかけて段階的あるいは連続的に濃淡を変化させている。このように形成されたGSM52を介して、紫外線等の光53を照射することにより、レジスト60を露光する。
【0047】
次に図6(b)に示すように、レジスト60を現像する。これにより、ポジ型レジストの場合には露光された部分が除去される。第1実施形態では、突条に対応する部分が露光されず、凹凸の頂部から底部にかけて深い位置まで露光されているので、突条、溝および凹凸に対応する形状がレジスト60の上部にパターニングされる。なお、GSMを使用したドライエッチングによることなく、転写型を押圧することによってレジスト60の上部をパターニングしてもよい。この転写型として、レジスト60に形成すべき突条、溝および凹凸の反転形状がパターニングされているものを使用する。なお、転写型は石英等の基板で構成され、基板に対するパターニングは集束イオンビーム加工法(FIB)等によって行うことができる。
【0048】
次に図7(a)に示すように、パターニングされたレジスト60を介して、絶縁膜41および導電膜9aをドライエッチングする。ドライエッチングには、イオンエッチング法等を使用することができる。なお、レジスト60をエッチングするには、エッチャント54として酸素ガス等が好適であり、また酸化ケイ素等からなる絶縁膜41およびITO等からなる導電膜9aをエッチングするためには、エッチャント54としてフッ素系のガスが好適である。ところが、いずれか一方のガスのみを使用した場合には選択比が問題となる。そこで両方のガスを適量比で混合して使用する。このように混合ガスでエッチングを行なうことによりレジスト60と絶縁膜41および導電膜9aとの選択比を適切な値に調整することができる。一方で、両方のガスを使用した場合には工程管理が複雑になる。そこで、エッチャント54としてアルゴン等の不活性ガスを使用することもできる。このように、プラズマ化した不活性ガスのみでエッチングを行うことにより、工程管理が単純化される。また選択比が小さくなり、絶縁膜41および導電膜9aをレジスト60と同形状に正確にパターニングすることができる。
【0049】
上述したようにドライエッチングを行うと、レジスト60の薄肉部では、レジスト60に続いて絶縁膜41および導電膜9aが順にエッチングされる。また、レジスト60の厚肉部では、レジスト60のみがエッチングされて絶縁膜41および導電膜9aはエッチングされない。これにより、絶縁膜41および導電膜9aはレジスト60と同形状にパターニングされる。以上により、図7(b)に示すように、画素電極9の上部に、上述した突条17、溝16および凹凸10aが形成される。また突条17の表面のみに、上述した絶縁膜41が配置される。
【0050】
このように、第1実施形態の配向基板の製造方法では、電気絶縁膜および電極を一気に成形することが可能であり、製造コストを削減することができる。なお、画素電極9の表面の成形と同時に、画素電極9の輪郭の成形を行ってもよい。この場合には、より製造コストを削減することができる。また、第1実施形態の配向基板は、溝16の底部から上部に向かって凹凸10aを形成するので、短時間のエッチングで画素電極9の表面に溝16、突条17および凹凸10aを成形することができる。したがって、さらに製造コストを削減することができる。
【0051】
そして、上述した配向基板を用いて液晶装置を形成する。具体的には、上記のように形成したTFTアレイ基板および対向基板のうち、一方の基板の周縁部にシール材を塗布し、さらに所定のセルギャップを実現するためのスペーサを散布する。そして、両基板における溝および突条の延在方向を所定角度ずらした状態で、シール材を介して両基板を貼り合わせる。さらに、シール材の一部に形成した液晶注入孔からTN液晶等を注入し、液晶注入孔を封止材によって封止する。以上により、液晶装置が形成される。
【0052】
[変形例]
図8は、第1実施形態にかかる配向基板の変形例の側面断面図である。図8に示す配向基板110では、基板本体110Aの表面に、突条117、溝116および凹凸110aに相当する形状が形成されている。そして、基板本体110Aの上方に均一な厚さで画素電極109が形成され、画素電極109の表面に突条117、溝116および凹凸110aが成形されている。さらにその突条117の表面に、絶縁膜141が形成されている。なお基板本体110Aの表面において、突条117、溝116および凹凸110aに相当する形状は、画素電極109の形成領域のみに選択的に形成し、それ以外の領域は概平坦面とするのが好ましい。これにより、画素電極109の形成領域以外の領域に、TFT素子等を容易に形成することができる。また、上述したように液晶の注入時間を短縮することができる。
【0053】
次に、上述した変形例の製造方法について説明する。図9および図10は、上述した変形例の製造方法の説明図である。
図9(a)に示すように、基板本体110Aの表面は、当初は概平坦面に形成しておく。そして、この基板本体110Aの表面にレジスト160を塗布する。次に、第1実施形態と同様にGSM162を介してレジスト160を露光し、さらに露光したレジスト160を現像する。すると図9(b)に示すように、レジスト160の上部に、突条、溝および凹凸に相当する形状がパターニングされる。
【0054】
次に、パターニングされたレジスト160をマスクとして、基板本体110Aをドライエッチングする。なおエッチャント164には、上記と同様にアルゴン等の不活性ガスを使用することができる。これにより、図10(a)に示すように、基板本体110Aの上部がレジストと同形状にパターニングされて、基板本体110Aの上部に突条、溝および凹凸に相当する形状が形成される。
【0055】
次に、図10(b)に示すように、基板本体110Aの上方に均一な厚さで画素電極109を形成する。これにより、画素電極109の表面に、突条117、溝116および凹凸110aが成形される。さらに、第1実施形態と同様に、突条117の表面のみに絶縁膜141を形成する。これにより、画素電極109の表面の一部に絶縁膜141が形成される。
【0056】
上述した変形例では、画素電極109および絶縁膜141を均一な厚さに形成することができるので、液晶分子に対して安定した電圧を印加することが可能になる。したがって、信頼性の高い液晶装置を提供することができる。なお、上述した変形例では、突条117、溝116および凹凸110aに相当する形状を基板本体110Aの表面に成形したが、図3に示す基板本体110Aと画素電極109との間に形成される第1層間絶縁膜12、第2層間絶縁膜4または第3層間絶縁膜7の表面に、突条、溝および凹凸に相当する形状を形成してもよい。特に、最表面の第3層間絶縁膜7に上記形状を形成すれば、画素電極9の表面に上記形状を忠実に再現することが可能となり、液晶分子の配向規制力を向上させることができる。
【0057】
上述した第1実施形態の配向基板およびその変形例ではいずれも、電極の上部を、液晶分子を配向可能な形状に形成した。この構成によれば、液晶分子を配向させるために、別途配向膜を形成する必要がない。したがって、製造コストを低減することができる。また、強い光や熱によって配向膜が分解されることがなくなり、液晶装置の表示品質が低下することもない。さらに、配向膜のラビング処理が不要となり、ラビング布や配向膜材料のダストに起因する不具合の発生を回避することができる。したがって、信頼性の高い液晶装置を提供することができる。
【0058】
図17は、第1実施形態の配向基板およびその変形例の性能表である。第1実施形態の配向基板およびその変形例ではいずれも、電極の表面の一部に絶縁膜を形成したので、電極の表面全体が液晶層に露出している場合と比べて、電極間の短絡の発生率を低減させることができる。また、電極の表面の一部のみに絶縁膜を形成したので、電極の表面全体に絶縁膜を形成する場合と比べて、焼き付きの発生率を低減させることができる。これにより、電極間の短絡および焼き付きの発生率をともに許容範囲内に抑えることが可能になる。したがって、信頼性の高い液晶装置を提供することが可能になり、液晶装置の歩留まりを向上させることが可能になる。
【0059】
[第2実施形態]
次に、本発明の第2実施形態の配向基板につき、図11および図12を用いて説明する。第2実施形態の配向基板では、液晶分子を配向可能な凹凸が各突条の上部に形成され、その凹凸の上端部に電気絶縁体が形成されている点で第1実施形態と異なっている。その他の点は第1実施形態と同様であるから、その詳細な説明を省略する。また、上記構成はTFTアレイ基板および対向基板に共通であるから、以下にはTFTアレイ基板(以下、単に基板という)を例にして説明する。
【0060】
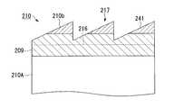
図11は、第2実施形態の配向基板の斜視図である。この基板210の画素電極209の表面には、複数の溝216および突条217が交互に平行に成形されている。そして各突条の上部には、複数の凹凸210bが形成されている。この凹凸210bは、突条217と同幅に形成され、突条217の延設方向に沿って周期的に配置されている。なお、凹凸210bの頂点と溝216の底面との間には段差Gが設けられている。第1実施形態と同様に、この段差Gの高さは30〜500nmとされ、より好ましくは100〜250nmとされている。また、突条217の延設方向に沿った凹凸210b断面は、緩斜面と急斜面とを有する三角形状(鋸歯形状)とされている。この緩斜面に沿って液晶分子が配置されることにより、液晶分子にプレチルト角が付与される。
【0061】
一方、画素電極209の上端部である各凹凸210bの表面の上端部には、電気絶縁体である絶縁膜241が形成されている。この絶縁膜241は基板210の表面の一部に形成され、具体的には画素電極209の表面全体の10〜30%程度に形成されている。なお、画素電極209の表面全体の10〜30%程度に突条217を形成した場合には、凹凸210bの表面全体に絶縁膜を形成すればよい。また、画素電極209の表面全体の30%以上に突条217を形成した場合には、凹凸210bの表面の一部に絶縁膜241を形成する。この場合、少なくとも画素電極209の上端部である凹凸210bの上端部に絶縁膜241を形成する。これにより、電極間の短絡の発生率を効率的に低減させることが可能になり、信頼性の高い液晶装置を提供することができる。
【0062】
図12は、図11のC−C線における側面断面図である。図12に示すように、第2実施形態における基板本体210Aの表面は概平坦面とされ、その上層に画素電極209が形成されている。さらに、その画素電極209の表面に絶縁膜241が形成されている。そして、積層配置された画素電極209および絶縁膜241の上部に、上述した突条217、溝216および凹凸210bが形成されている。なお、溝216は絶縁膜241を貫通して画素電極の中層部まで形成され、溝216の底面には画素電極209が露出している。また、凹凸210bは絶縁膜241から画素電極209の上層部にかけて形成され、凹凸210bの表面には絶縁膜241および/または画素電極209が露出している。
【0063】
第2実施形態の配向基板210は、第1実施形態と同様の方法で製造する。すなわち、まず図6(a)と同様に、基板の上方に導電膜、絶縁膜およびレジストを順次形成する。そして、GSMを使用してレジストを露光する。その際、第1実施形態とは異なるGSMを使用する。第1実施形態で使用したGSMは、凹凸の頂部から底部にかけて段階的あるいは連続的に濃淡を変化させたパターンが、溝に対応するパターン上に形成されていた。しかし第2実施形態では、突条の上部に凹凸を形成するので、凹凸に対応するパターンが、突条に対応するパターン上に形成されているGSMを使用する。次に、このGSMを使用して露光したレジストを現像する。これにより、図6(b)と同様に、突条、溝および凹凸に相当する形状がレジストにパターニングされる。そして図6(b)と同様に、パターニングされたレジストをマスクとして、絶縁膜および導電膜をドライエッチングする。すると図12に示すように、第2実施形態の配向基板210が形成される。上述した配向基板の製造方法では、絶縁膜241および画素電極209を一気に成形することが可能である。したがって、製造コストを削減することができる。
【0064】
[変形例]
図13は、第2実施形態にかかる配向基板の変形例の側面断面図である。図13に示す変形例では、基板本体310Aの表面に、突条317、溝316および凹凸310bに相当する形状が形成されている。ただし、第1実施形態の配向基板の変形例とは異なり、突条317に相当する形状の上部に、凹凸310bに相当する形状が形成されている。そして、基板本体310Aの上方に均一な厚さで画素電極309が形成され、画素電極309の表面に、第2実施形態と同様の突条317、溝316および凹凸310bが成形されている。さらに、凹凸310bの上端部の表面に、絶縁膜341が形成されている。なお基板本体310Aの表面において、突条317、溝316および凹凸310bに相当する形状は、画素電極309の形成領域のみに選択的に形成し、それ以外の領域は概平坦面とするのが好ましい。
【0065】
第2実施形態の変形例にかかる配向基板は、第1実施形態の変形例と同様の方法で製造する。まず図9(a)と同様に、概平坦な基板本体の表面にレジストを形成する。次に、第2実施形態と同様のGSMを使用してレジストを露光する。次に図9(b)と同様に、露光されたレジストを現像して、突条、溝および凹凸に相当する形状をレジストにパターニングする。さらにパターニングされたレジストをマスクとして、基板本体をドライエッチングする。これにより、図10(a)と同様に、突条、溝および凹凸に相当する形状が、基板本体の上部にパターニングされる。次に図13に示すように、基板本体の上方に均一な厚さで画素電極309を形成する。これにより、画素電極309の表面に、突条317、溝316および凹凸310bが成形される。さらに、凹凸310bの上端部に絶縁膜341を形成する。以上により、画素電極309の表面の一部に絶縁膜341が形成される。
【0066】
上述した第2実施形態の配向基板およびその変形例ではいずれも、第1実施形態と同様の効果を奏することができる。すなわち、液晶分子を配向可能な形状に電極の表面を成形したので、別途配向膜を形成する必要がなく、配向膜に起因する不具合の発生を回避することができる。また図17に示すように、電極の表面の一部に絶縁膜を形成したので、電極間の短絡の発生率を低減することができる。また、電極の一部のみに絶縁膜を形成したので、焼き付きの発生率を低減することができる。したがって、電極間の短絡および焼き付きの発生率をともに許容範囲内に抑えることが可能になる。これにより、信頼性の高い液晶装置を提供することが可能になり、液晶装置の歩留まりを向上させることができる。
【0067】
[第3実施形態]
次に、本発明の第3実施形態の配向基板につき、図14および図15を用いて説明する。第3実施形態の配向基板では、液晶分子を配向可能な凹凸が各突条の上部および各溝の底部に形成され、各突条の上部に形成された凹凸の上端部に電気絶縁体が形成されている点で、第1実施形態および第2実施形態と異なっている。その他の点は第1実施形態および第2実施形態と同様であるから、その詳細な説明を省略する。また、上記構成はTFTアレイ基板および対向基板に共通であるから、以下にはTFTアレイ基板(以下、単に基板という)を例にして説明する。
【0068】
図14は、第3実施形態の配向基板の斜視図である。この基板410の画素電極409の表面には、複数の溝416および突条417が交互に平行に成形されている。そして各溝416の底部には、溝416の延設方向に沿って周期的に、複数の凹凸410aが形成されている。また各突条417の上部には、突条417の延設方向に沿って周期的に、複数の凹凸410bが形成されている。なお、凹凸410aの頂部と凹凸410bの底部との間には、段差Gが設けられている。第1および第2実施形態と同様に、この段差Gの高さは30〜500nmとされ、より好ましくは100〜250nmとされている。さらに、凹凸410aおよび凹凸410bの断面は、緩斜面と急斜面とを有する三角形状(鋸歯形状)とされている。この緩斜面に沿って液晶分子が配置されることにより、液晶分子にプレチルト角が付与される。
【0069】
一方、画素電極409の上端部である各凹凸410bの上端部には、第2実施形態と同様に、電気絶縁体である絶縁膜441が形成されている。この絶縁膜441は基板410の表面の一部に形成され、具体的には画素電極409の表面全体の10〜30%程度に形成されている。なお、画素電極409の表面全体の10〜30%程度に突条417を形成した場合には、凹凸410bの表面全体に絶縁膜を形成すればよい。また、画素電極409の表面全体の30%以上に突条417を形成した場合には、突条417の表面の一部に絶縁膜441を形成する。これにより、信頼性の高い液晶装置を提供することができる。
【0070】
図15は、図14のD−D線における側面断面図である。図15に示すように、第3実施形態における基板本体410Aの表面は概平坦面とされ、その上方に画素電極409が形成されている。さらに、その画素電極409の表面に絶縁膜441が形成されている。そして、積層配置された画素電極409および/または絶縁膜441の上部に、突条417および凹凸410b、ならびに溝416および凹凸410aが形成されている。なお凹凸410aの表面には画素電極409が露出し、また凹凸410bの表面には絶縁膜441および/または画素電極409が露出している。
【0071】
第3実施形態の配向基板410は、第1実施形態および第2実施形態と同様の方法で製造する。すなわち、まず図6(a)と同様に、基板の上方に導電膜、絶縁膜およびレジストを順次形成する。そして、GSMを使用してレジストを露光する。なお第3実施形態では、溝の底部および突条の上部にそれぞれ凹凸を形成するので、凹凸に対応するパターンが、溝に対応するパターン上および突条に対応するパターン上の両方に形成されているGSMを使用する。次に、このGSMを使用して露光したレジストを現像する。これにより、図6(b)と同様に、突条、溝および凹凸に相当する形状がレジストにパターニングされる。そして図6(b)と同様に、パターニングされたレジストをマスクとして、絶縁膜および導電膜をドライエッチングする。すると図15に示すように、第3実施形態の配向基板410が形成される。上述した配向基板の製造方法では、絶縁膜441および画素電極409を一気に成形することが可能である。したがって、製造コストを削減することができる。
【0072】
[変形例]
図16は、第3実施形態にかかる配向基板の変形例の側面断面図である。図16に示す変形例では、基板本体510Aの表面に、溝516および凹凸510a、ならびに突条517および凹凸510bに相当する形状が形成されている。そして、基板本体510Aの上層に均一な厚さで画素電極509が形成され、画素電極509の表面に、第3実施形態と同様の溝516および凹凸510aならびに突条517および凹凸510bが成形されている。さらに、凹凸510bの上端部の表面に、絶縁膜541が形成されている。なお基板本体510Aの表面において、溝516および凹凸510aならびに突条517および凹凸510bに相当する形状は、画素電極509の形成領域のみに選択的に形成し、それ以外の領域は概平坦面とするのが好ましい。
【0073】
第3実施形態の変形例にかかる配向基板は、第1実施形態および第2実施形態の変形例と同様の方法で製造する。まず図9(a)と同様に、概平坦な基板本体の表面にレジストを形成する。次に、第3実施形態と同様のGSMを使用してレジストを露光する。次に図9(b)と同様に、露光されたレジストを現像して、突条、溝および凹凸に相当する形状をレジストにパターニングする。さらにパターニングされたレジストをマスクとして、基板本体をドライエッチングする。これにより、図10(a)と同様に、突条、溝および凹凸に相当する形状が、基板本体の上部にパターニングされる。次に図16に示すように、基板本体の上方に均一な厚さで画素電極509を形成する。これにより、画素電極509の表面に、溝516および凹凸510aならびに突条517および凹凸510bが形成される。さらに、凹凸510bの上端部に絶縁膜541を形成する。以上により、第3実施形態の変形例にかかる配向基板が形成される。
【0074】
上述した第3実施形態の配向基板およびその変形例ではいずれも、第1実施形態および第2実施形態と同様の効果を奏することができる。特に、多数の凹凸により液晶分子を良好に配向させることができるので、別途配向膜を形成する必要がなく、配向膜に起因する不具合の発生を回避することができる。また図17に示すように、電極の表面の一部に絶縁膜を形成したので、電極間の短絡の発生率を低減することができる。また、電極の一部のみに絶縁膜を形成したので、焼き付きの発生率を低減することができる。したがって、電極間の短絡および焼き付きの発生率をともに許容範囲内に抑えることが可能になる。これにより、信頼性の高い液晶装置を提供することが可能になり、液晶装置の歩留まりを向上させることができる。
【0075】
[投射型表示装置]
次に、本発明の電子機器の具体例である投射型表示装置につき、図18を用いて説明する。図18は、投射型表示装置の要部を示す概略構成図である。この投射型表示装置は、第1〜第3実施形態のいずれかの透過型液晶装置を液晶光変調装置として備えたものである。
【0076】
図18において、810は光源、813、814はダイクロイックミラー、815、816、817は反射ミラー、818は入射レンズ、819はリレーレンズ、820は出射レンズ、822、823、824は本発明の液晶装置からなる液晶光変調装置、825はクロスダイクロイックプリズム、826は投射レンズ、831、832、833は入射側の偏光板、834、835、836は出射側の偏光板である。光源810は、メタルハライド等のランプ811とランプの光を反射するリフレクタ812とからなる。
【0077】
ダイクロイックミラー813は、光源810からの白色光に含まれる赤色光を透過させるとともに、青色光と緑色光とを反射する。透過した赤色光は反射ミラー817で反射されて、赤色光用液晶光変調装置822に入射される。また、ダイクロイックミラー813で反射された緑色光は、ダイクロイックミラー814によって反射され、緑色光用液晶光変調装置823に入射される。さらに、ダイクロイックミラー813で反射された青色光は、ダイクロイックミラー814を透過する。青色光に対しては、長い光路による光損失を防ぐため、入射レンズ818、リレーレンズ819および出射レンズ820を含むリレーレンズ系からなる導光手段821が設けられている。この導光手段821を介して、青色光が青色光用液晶光変調装置824に入射される。
【0078】
各光変調装置により変調された3つの色光は、クロスダイクロイックプリズム825に入射する。このクロスダイクロイックプリズム825は4つの直角プリズムを貼り合わせたものであり、その界面には赤光を反射する誘電体多層膜と青光を反射する誘電体多層膜とがX字状に形成されている。これらの誘電体多層膜により3つの色光が合成されて、カラー画像を表す光が形成される。合成された光は、投射光学系である投射レンズ826によってスクリーン827上に投写され、画像が拡大されて表示される。
【0079】
このように、投射型表示装置の液晶光変調装置822,823,824として、第1〜第3実施形態のいずれかの透過型液晶装置を使用すれば、光源810から照射される強い光や熱により配向膜が分解されることはない。また、長期間の使用後にも、液晶配向制御機能が低下することはなく、投射型表示装置の表示品質を低下させることがない。
【0080】
なお、本発明の技術的範囲は、上述した実施形態に限定されるものではなく、本発明の趣旨を逸脱しない範囲において、上述した実施形態に種々の変更を加えたものを含む。たとえば、実施形態ではTNモードの液晶装置を例にして説明したが、本発明はECBモードや垂直配向モード、STN(Super Twisted Nematic)モード、強誘電モード、反強誘電モードなど、電圧無印加時の液晶分子の配向状態がいかなる液晶装置にも適用することができる。また、実施形態ではスイッチング素子としてTFTを備えた液晶装置を例にして説明したが、スイッチング素子として薄膜ダイオード(Thin Film Diode)等の二端子型素子を採用してもよい。また、実施形態では透過型液晶装置を例にして説明したが、本発明の液晶装置を反射型や半透過型の液晶装置に適用することも可能である。さらに、電子機器として3板式の投射型表示装置を例にして説明したが、本発明の液晶装置を単板式の投射型表示装置や直視型表示装置に適用することも可能である。
【0081】
また、本発明の電子機器の他の具体例として、携帯電話を挙げることができる。この携帯電話は、第1〜第3実施形態のいずれかの透過型液晶装置を表示部に備えたものである。また、その他の電子機器としては、たとえばICカード、ビデオカメラ、パーソナルコンピュータ、ヘッドマウントディスプレイ、さらに表示機能付きファックス装置、デジタルカメラのファインダ、携帯型TV、DSP装置、PDA、電子手帳、電光掲示盤、宣伝公告用ディスプレイ等が挙げられる。
【図面の簡単な説明】
【図1】液晶装置における複数の画素の等価回路図である。
【図2】TFTアレイ基板に形成された複数の画素の平面図である。
【図3】図2のA−A’線における側面断面図である。
【図4】第1実施形態の配向基板の斜視図である。
【図5】図4のB−B線における側面断面図である。
【図6】配向基板の製造方法の第1説明図である。
【図7】配向基板の製造方法の第2説明図である。
【図8】第1実施形態の配向基板の変形例の側面断面図である。
【図9】配向基板の変形例の製造方法の第1説明図である。
【図10】配向基板の変形例の製造方法の第2説明図である。
【図11】第2実施形態の配向基板の斜視図である。
【図12】図11のC−C線における側面断面図である。
【図13】第2実施形態の配向基板の変形例の側面断面図である。
【図14】第3実施形態の配向基板の斜視図である。
【図15】図14のD−D線における側面断面図である。
【図16】第3実施形態の配向基板の変形例の側面断面図である。
【図17】実施形態の配向基板およびその変形例の性能表である。
【図18】投射型表示装置の要部を示す構成図である。
【符号の説明】
9電極 10基板 10a凹凸 16溝 17突条 41絶縁膜
[0001]
BACKGROUND OF THE INVENTION
The present invention relates to an alignment substrate, a method for manufacturing the alignment substrate, a liquid crystal device, and an electronic apparatus.
[0002]
[Prior art]
A liquid crystal device is used as a light modulation device in a projection display device such as a liquid crystal projector. A liquid crystal device is configured by sandwiching a liquid crystal layer between a pair of opposed substrates. Electrodes for applying a voltage to the liquid crystal layer are formed inside the pair of substrates. In addition, an alignment film that controls the alignment of liquid crystal molecules when no voltage is applied is formed inside the electrode. As this alignment film, a polymer film whose surface has been rubbed is used. An image display is performed on the liquid crystal device based on a change in the arrangement of liquid crystal molecules between when no voltage is applied and when the voltage is applied.
[0003]
However, when a liquid crystal device provided with such an alignment film is employed in a light modulation device of a liquid crystal projector, the alignment film may be gradually decomposed by strong light or heat emitted from a light source. Then, after a long period of use, the liquid crystal molecule alignment control function may be degraded, such as the liquid crystal molecules being unable to align at the desired pretilt angle when no voltage is applied, and the display quality of the liquid crystal projector may deteriorate. .
[0004]
Therefore, instead of the alignment film, a configuration in which unevenness is formed on the surface of the electrode to control the alignment of liquid crystal molecules is disclosed inclaim 13 ofPatent Document 1. In this configuration, a large number of parallel grooves are formed on the surface of the electrode. A large number of serrated convex portions are repeatedly formed along the groove. The liquid crystal molecules are aligned in a uniaxial direction along each groove, and have a pretilt angle along each serrated convex portion. As described above, the surface of the electrode is formed into a shape capable of aligning the liquid crystal molecules, so that the alignment film is not formed.
[0005]
[Patent Document 1]
JP-A-9-152612
[0006]
[Problems to be solved by the invention]
However, in the configuration described above, the electrodes formed inside the pair of substrates are exposed to the liquid crystal layer. Therefore, when a conductive foreign material is mixed in the liquid crystal layer, there is a problem that the foreign material may be disposed between the pair of electrodes to short-circuit both electrodes.
[0007]
In order to avoid a short circuit between the electrodes, it is conceivable to form an electrical insulating film on the entire surface of each electrode. However, when the electrode is energized with the electrical insulating film formed, induced charges are generated on the surface of the electrical insulating film. Then, after a long period of use, the induced charge is constantly generated, and the liquid crystal molecules may not move while being attracted to the electric insulating film, so that a so-called burn-in phenomenon may occur. When this burn-in phenomenon occurs, there is a problem that the orientation of the liquid crystal molecules cannot be controlled and image display becomes impossible.
[0008]
The present invention has been made in order to solve the above-described problems, and is an alignment substrate capable of reducing the occurrence rate of short circuits between conductors and reducing the occurrence rate of image sticking. And it aims at provision of the manufacturing method.
Another object is to provide a highly reliable liquid crystal device and electronic device.
[0009]
[Means for Solving the Problems]
In order to achieve the above object, an alignment substrate of the present invention is a substrate capable of aligning liquid crystal molecules, and is formed above the substrate and applies a voltage to the liquid crystal molecules, and the surface of the conductor And an electrical insulator formed on a part of the substrate.
According to this configuration, since the electrical insulator is formed on the surface of the conductor, the occurrence rate of the short circuit between the conductors can be reduced. Further, since the electrical insulator is formed only on a part of the surface of the conductor, the occurrence rate of image sticking can be reduced. As a result, it is possible to suppress both the occurrence rate of short circuit and burn-in between conductors within an allowable range.
[0010]
The electrical insulator is preferably formed at least at the upper end of the conductor.
The short circuit between the conductors occurs when a foreign substance having conductivity is disposed between the upper ends of the conductors. Therefore, by forming an electrical insulator at least at the upper end of the conductor, the occurrence rate of a short circuit between the conductors can be efficiently reduced.
[0011]
The area of the electrical insulator is preferably smaller than the exposed area of the conductor.
According to this configuration, the occurrence rate of image sticking can be reduced. However, since the exposed area of the conductor is increased, the occurrence rate of a short circuit between the conductors is increased. However, a short circuit between conductors often occurs immediately after assembly of the liquid crystal device, and if defective products are eliminated by inspection before product shipment, the possibility of a failure occurring under the user is low. On the other hand, burn-in occurs after long-term use by the user. Therefore, if the area of the electrical insulator is reduced to reduce the occurrence rate of burn-in, a highly reliable liquid crystal device can be provided to the user.
[0012]
The electrical insulator is preferably made of a material having visible light permeability.
According to this configuration, the liquid crystal device including the alignment substrate of the present invention can transmit visible light, and the liquid crystal device can function as a light modulation unit.
[0013]
The electrical insulator is preferably made of a light-resistant material.
According to this configuration, even when the liquid crystal device including the alignment substrate of the present invention is employed as the light modulation unit of the projection display device, the electrical insulator is not easily decomposed by strong light or heat emitted from the light source. Therefore, a short circuit between the conductors can be prevented over a long period of time.
[0014]
Moreover, it is desirable that the surface of the electrical insulator and / or the conductor is formed into a shape capable of aligning the liquid crystal molecules.
According to this configuration, it is not necessary to separately form an alignment film in order to align the liquid crystal molecules. Therefore, the manufacturing cost can be reduced. Further, the alignment film is not decomposed by strong light or heat, and the display quality of the liquid crystal device does not deteriorate. Further, the rubbing treatment of the alignment film is not necessary, and the occurrence of problems due to the rubbing cloth or the dust of the alignment film material can be avoided. Therefore, a highly reliable liquid crystal device can be provided.
[0015]
A plurality of grooves capable of aligning the liquid crystal molecules and a plurality of protrusions separating the grooves are formed in parallel on the surface of the conductor, and the liquid crystal is formed at the bottom of each groove. A plurality of irregularities capable of orienting molecules are periodically formed along the extending direction of each groove, and the electrical insulator is formed on all or part of the surface of each protrusion. Is desirable.
According to this configuration, liquid crystal molecules can be aligned by the grooves, protrusions, and irregularities, and there is no need to form an alignment film. Therefore, a highly reliable liquid crystal device can be provided. Further, it is possible to form grooves, ridges, and irregularities on the surface of the conductor with a short etching, and the manufacturing cost can be reduced. Furthermore, since the electrical insulator is formed on the surface of the ridge which is the upper end portion of the conductor, the occurrence rate of a short circuit between the conductors can be reduced.
[0016]
Further, a plurality of grooves capable of aligning the liquid crystal molecules and a plurality of ridges separating each of the grooves are formed in parallel to each other on the surface of the conductor. A plurality of irregularities capable of aligning liquid crystal molecules are periodically formed along the direction in which each protrusion extends, and the electrical insulator is formed on all or a part of the surface of each irregularity. May be.
Also with this configuration, the liquid crystal molecules can be aligned by the grooves, protrusions, and irregularities, and there is no need to form an alignment film. Therefore, a highly reliable liquid crystal device can be provided. In addition, since the electrical insulator is formed on the uneven surface that is the upper end portion of the conductor, the occurrence rate of a short circuit between the conductors can be reduced.
[0017]
Also, a plurality of grooves capable of aligning the liquid crystal molecules and a plurality of protrusions separating the grooves are formed in parallel on the surface of the conductor, and the liquid crystal is formed at the bottom of each groove. A plurality of irregularities capable of orienting molecules are periodically formed along the extending direction of the grooves, and a plurality of irregularities capable of orienting the liquid crystal molecules are formed on the top of the protrusions. The electrical insulator may be formed on all or part of the surface of each of the irregularities formed periodically along the direction in which the ridges extend and formed on the top of the ridges. .
According to this configuration, the liquid crystal molecules can be favorably aligned by a large number of irregularities, and there is no need to form an alignment film. Therefore, a highly reliable liquid crystal device can be provided. Furthermore, since the electrical insulator is formed on the upper end portion of the conductor by forming the electrical insulator on the uneven surface formed on the top of the ridge, the occurrence rate of the short circuit between the conductors can be reduced. Can do.
[0018]
On the other hand, the method for manufacturing an alignment substrate according to the present invention includes a step of forming a conductor on the surface of the substrate body, a step of forming an electrical insulator on the surface of the conductor, and a mask material on the surface of the electrical insulator. Forming the mask material into a shape capable of aligning liquid crystal molecules, and etching the electrical insulator and / or the conductor via the molded mask material, Forming a surface of the electrical insulator and / or the conductor into a shape capable of aligning liquid crystal molecules.
According to this configuration, since a shape capable of aligning liquid crystal molecules is formed on the surface of the electrical insulator and / or conductor, it is not necessary to form an alignment film. Therefore, a highly reliable liquid crystal device can be provided. In addition, the electrical insulator and the conductor can be formed at a time, and the manufacturing cost can be reduced.
[0019]
Further, another method for producing an alignment substrate of the present invention includes a step of forming a mask material on a surface of a substrate body, a step of forming the mask material into a shape capable of aligning liquid crystal molecules, and the formed mask. Etching the surface of the substrate body through a material to form the surface of the substrate body into a shape capable of aligning the liquid crystal molecules; and forming a conductor on the surface of the substrate body; And a step of forming an electrical insulator on a part of the surface of the conductor.
According to this configuration, since a shape capable of aligning liquid crystal molecules is formed on the surface of the electrical insulator and / or conductor, it is not necessary to form an alignment film. In addition, since the conductor and the electrical insulator can be formed to have a uniform thickness, a stable voltage can be applied to the liquid crystal molecules. Therefore, a highly reliable liquid crystal device can be provided.
[0020]
On the other hand, a liquid crystal device according to the present invention includes the above-described alignment substrate. Moreover, it manufactured using the manufacturing method of the alignment substrate mentioned above, It is characterized by the above-mentioned. Thereby, a highly reliable liquid crystal device can be provided.
[0021]
A pair of substrates disposed opposite to each other; a liquid crystal layer sandwiched between the pair of substrates; a conductor formed on a surface of each substrate on the liquid crystal layer side to apply a voltage to the liquid crystal layer; And an electrical insulator formed on a part of the surface of the body.
According to this configuration, since the electrical insulator is formed on the surface of the conductor, the occurrence rate of the short circuit between the conductors can be reduced. Further, since the electrical insulator is formed only on a part of the surface of the conductor, the occurrence rate of image sticking can be reduced. As a result, it is possible to suppress both the occurrence rate of short circuit and burn-in between conductors within an allowable range, and it is possible to provide a highly reliable liquid crystal device.
[0022]
On the other hand, an electronic apparatus according to the present invention includes the above-described liquid crystal device. According to this configuration, a highly reliable electronic device can be provided.
[0023]
DETAILED DESCRIPTION OF THE INVENTION
Embodiments of the present invention will be described below with reference to the drawings. In each drawing used for the following description, the scale of each member is appropriately changed to make each member a recognizable size.
[0024]
[First Embodiment]
A liquid crystal device and an alignment substrate according to a first embodiment of the present invention will be described with reference to FIGS. In the embodiment, an active matrix transmissive liquid crystal device using a thin film transistor (hereinafter referred to as TFT) element as a switching element will be described as an example. FIG. 1 is an equivalent circuit diagram of a plurality of pixels arranged in a matrix so as to constitute an image display region of a transmissive liquid crystal device. 2 is a plan view of a plurality of pixels formed on the TFT array substrate, and FIG. 3 is a side cross-sectional view taken along line AA ′ of FIG.
[0025]
[Liquid Crystal Device]
As shown in FIG. 1,pixel electrodes 9 that are conductors are formed on a plurality of pixels arranged in a matrix so as to form an image display region of a transmissive liquid crystal device. Further, aTFT element 30 which is a switching element for performing energization control to thepixel electrode 9 is formed on the side of thepixel electrode 9. Adata line 6 a is electrically connected to the source of theTFT element 30. Image signals S1, S2,..., Sn are supplied to eachdata line 6a. The image signals S1, S2,..., Sn may be supplied to eachdata line 6a in this order, or may be supplied for each group to a plurality ofadjacent data lines 6a.
[0026]
Thescanning line 3 a is electrically connected to the gate of theTFT element 30. Scan signals G1, G2,..., Gm are supplied to thescanning line 3a in pulses at a predetermined timing. The scanning signals G1, G2,..., Gm are applied sequentially to therespective scanning lines 3a in this order. Further, thepixel electrode 9 is electrically connected to the drain of theTFT element 30. When theTFT element 30 serving as a switching element is turned on for a certain period by the scanning signals G1, G2,..., Gm supplied from thescanning line 3a, the pixel signals S1, S2,. , Sn are written into the liquid crystal of each pixel at a predetermined timing.
[0027]
The predetermined level image signals S1, S2,..., Sn written in the liquid crystal are held for a certain period by a liquid crystal capacitor formed between thepixel electrode 9 and a common electrode described later. In order to prevent leakage of the held pixel signals S1, S2,..., Sn, astorage capacitor 70 is formed between thepixel electrode 9 and thecapacitor line 3b, and is arranged in parallel with the liquid crystal capacitor. . Thus, when a voltage signal is applied to the liquid crystal, the alignment state of the liquid crystal molecules changes depending on the applied voltage level. As a result, the light incident on the liquid crystal is modulated to enable gradation display.
[0028]
[Plane structure]
Next, the planar structure of the liquid crystal device of the embodiment will be described with reference to FIG. In the liquid crystal device of the embodiment, a rectangular pixel electrode 9 (the outline of which is indicated by abroken line 9a) made of a transparent conductive material such as indium tin oxide (hereinafter referred to as ITO) is formed on the TFT array substrate. Are arranged in a matrix. Adata line 6 a, ascanning line 3 a, and acapacitor line 3 b are provided along the vertical and horizontal boundaries of thepixel electrode 9. In the embodiment, the region in which eachpixel electrode 9 is formed is a pixel, and has a structure capable of performing display for each pixel arranged in a matrix.
[0029]
TheTFT element 30 is formed around asemiconductor layer 1a made of a polysilicon film or the like. Adata line 6 a is electrically connected to a source region (described later) of thesemiconductor layer 1 a through acontact hole 5. Further, thepixel electrode 9 is electrically connected to the drain region (described later) of thesemiconductor layer 1 a through thecontact hole 8. On the other hand, achannel region 1a ′ is formed in a portion facing thescanning line 3a in thesemiconductor layer 1a. Thescanning line 3a functions as a gate electrode in a portion facing thechannel region 1a ′.
[0030]
Thecapacitance line 3b is a data line from the intersection of the main line portion (that is, the first region formed along thescanning line 3a in plan view) extending in a substantially straight line along thescanning line 3a and thedata line 6a. And a protruding portion (that is, a second region extending along thedata line 6 a when viewed in a plan view) protruding toward the front side (upward in the drawing) along 6 a. In addition, a firstlight shielding film 11a is formed in a region indicated by a diagonal line rising to the right in FIG. Then, the protruding portion of thecapacitor line 3b and the firstlight shielding film 11a are electrically connected through thecontact hole 13 to form a storage capacitor to be described later.
[0031]
[Cross-section structure]
Next, the cross-sectional structure of the liquid crystal device of the embodiment will be described with reference to FIG. FIG. 3 is a side sectional view taken along line AA ′ of FIG. As shown in FIG. 3, the liquid crystal device according to the embodiment mainly includes aTFT array substrate 10, acounter substrate 20 disposed so as to face theTFT array substrate 10, and aliquid crystal layer 50 sandwiched therebetween.
[0032]
TheTFT array substrate 10 is mainly composed of a substratemain body 10A made of a translucent material such as quartz, aTFT element 30 formed inside thereof, apixel electrode 9 as a conductor, and the like. Onecounter substrate 20 is mainly composed of asubstrate body 20A made of a translucent material such as glass or quartz, acommon electrode 21 which is a conductor formed inside thesubstrate body 20A, and the like. Further, theliquid crystal layer 50 is composed of TN liquid crystal or the like.
[0033]
On the surface of theTFT array substrate 10, a firstlight shielding film 11a and a firstinterlayer insulating film 12, which will be described later, are formed. Asemiconductor layer 1a is formed on the surface of the firstinterlayer insulating film 12, and aTFT element 30 is formed around thesemiconductor layer 1a. Achannel region 1a ′ is formed in a portion of thesemiconductor layer 1a facing thescanning line 3a, and a source region and a drain region are formed on both sides thereof. Since theTFT element 30 employs an LDD (Lightly Doped Drain) structure, a high concentration region having a relatively high impurity concentration and a low concentration region (LDD having a relatively low concentration) are respectively provided in the source region and the drain region. Region). That is, a lowconcentration source region 1b and a highconcentration source region 1d are formed in the source region, and a low concentration drain region 1c and a highconcentration drain region 1e are formed in the drain region.
[0034]
Agate insulating film 2 is formed on the surface of thesemiconductor layer 1a. Then, ascanning line 3a is formed on the surface of thegate insulating film 2, and a part thereof constitutes a gate electrode. A secondinterlayer insulating film 4 is formed on the surfaces of thegate insulating film 2 and thescanning line 3a. Adata line 6a is formed on the surface of the secondinterlayer insulating film 4, and thedata line 6a is electrically connected to the high-concentration source region 1d through acontact hole 5 formed in the secondinterlayer insulating film 4. ing. Further, a thirdinterlayer insulating film 7 is formed on the surfaces of the secondinterlayer insulating film 4 and thedata line 6a. Then, apixel electrode 9 is formed on the surface of the thirdinterlayer insulating film 7, and thepixel electrode 9 becomes a high-concentration drain region through acontact hole 8 formed in the secondinterlayer insulating film 4 and the thirdinterlayer insulating film 7. 1e is electrically connected.
[0035]
In the embodiment, the firststorage capacitor electrode 1f is formed by extending thesemiconductor film 1a. Further, thegate insulating film 2 is extended to form a dielectric film, and thecapacitor line 3b is disposed on the surface thereof to form a second storage capacitor electrode. Thus, the above-describedstorage capacitor 70 is configured.
[0036]
The firstlight shielding film 11 a is formed on the surface of theTFT array substrate 10 corresponding to the formation region of theTFT element 30. The first light-shieldingfilm 11a is incident from thecounter substrate 20 side, is reflected by the outer surface of the TFT array substrate 10 (interface between theTFT array substrate 10 and air), and returns to theliquid crystal layer 50 at least in thesemiconductor layer 1a. This prevents the light from entering thechannel region 1a ′, the lowconcentration source region 1b, and the low concentration drain region 1c. The first light-shieldingfilm 11a is electrically connected to the previous-stage or subsequent-stage capacitor line 3b through acontact hole 13 formed in the firstinterlayer insulating film 12. Accordingly, the firstlight shielding film 11a functions as a third storage capacitor electrode, and a new storage capacitor is formed between the firststorage capacitor electrode 1f and the firstinterlayer insulating film 12 as a dielectric film.
[0037]
On the other hand, a secondlight shielding film 23 is formed on the surface of thecounter substrate 20 corresponding to the formation region of thedata lines 6 a, thescanning lines 3 a, and theTFT elements 30. The secondlight shielding film 23 prevents incident light from thecounter substrate 20 side from entering thechannel region 1a ′, the lowconcentration source region 1b, and the low concentration drain region 1c of thesemiconductor layer 1a. Further, acommon electrode 21 made of a conductor such as ITO is formed on almost the entire surface of thecounter substrate 20 and the secondlight shielding film 23.
[0038]
[Alignment substrate]
The surfaces of theTFT array substrate 10 and thecounter substrate 20 described above are formed in a shape capable of aligning liquid crystal molecules as described below. Therefore, theTFT array substrate 10 and thecounter substrate 20 constitute the alignment substrate of the first embodiment. In the embodiment, the surface shapes of theTFT array substrate 10 and thecounter substrate 20 and the electrical insulator formed on these surfaces are characteristic structures. Since this characteristic configuration is common to theTFT array substrate 10 and thecounter substrate 20, theTFT array substrate 10 will be described below as an example.
[0039]
FIG. 4 is a perspective view of the alignment substrate of the first embodiment. A plurality ofgrooves 16 andprotrusions 17 are alternately formed in parallel on the surface of the pixel electrode of the TFT array substrate (hereinafter simply referred to as a substrate) 10. That is, the groove |channel 16 is arrange | positioned between eachprotrusion 17, Each groove |channel 16 is formed in linear form with the predetermined width. Moreover, theprotrusion 17 is arrange | positioned so that each groove |channel 16 may be separated, and eachprotrusion 17 is formed in linear form with the predetermined width. In addition, the groove |channel 16 and theprotrusion 17 are extended along the direction which should orientate a liquid crystal molecule. Then, liquid crystal molecules near the surface of thesubstrate 10 enter the inside of thegroove 16 and are arranged along the side wall, thereby being aligned along the extending direction of thegroove 16. When the liquid crystal molecules are twisted in the liquid crystal layer, the extending direction of thegrooves 16 and theprotrusions 17 in theTFT array substrate 10 and the extending direction of thegrooves 16 and theprotrusions 17 in thecounter substrate 20 are mutually Are arranged in a state twisted by a predetermined angle.
[0040]
On the other hand, a plurality ofirregularities 10 a are formed at the bottom of eachgroove 16. Theirregularities 10 a are formed to have the same width as thegrooves 16 and are periodically arranged along the extending direction of thegrooves 16. A step G is provided between the top of the projections anddepressions 10 a and the surface of theprotrusion 17. The height of the step G is 30 to 500 nm, and more preferably 100 to 250 nm. This makes it possible to align the liquid crystal molecules inside thegroove 16 and to prevent display quality from being deteriorated due to the difference in retardation between thegroove 16 and theprotrusion 17. Furthermore, the cross section of theunevenness 10a along the extending direction of thegroove 16 is a triangular shape (sawtooth shape) having a gentle slope and a steep slope. The inclination of the gentle slope is set to be equal to the pretilt angle to be given to the liquid crystal molecules. The liquid crystal molecules that have entered thegroove 16 are arranged along the gentle slope, so that a pretilt angle is given to the liquid crystal molecules.
[0041]
On the other hand, an insulatingfilm 41 that is an electrical insulator is formed on the surface of eachprotrusion 17. The insulatingfilm 41 is made of an organic material such as a resin having visible light permeability or an inorganic material. Accordingly, the liquid crystal device including thesubstrate 10 can transmit visible light, and the liquid crystal device can function as a light modulation unit. However, since the insulatingfilm 41 is formed only on a part of the pixel electrode, it can be made of a material having a slightly lower visible light transmission property such as silicon nitride (SiN). The insulatingfilm 41 is made of a light resistant material. Thereby, even when the liquid crystal device including thesubstrate 10 is used as the light modulation unit of the projection display device, the insulatingfilm 41 is not easily decomposed by strong light or heat irradiated from the light source. Therefore, even when the projection display device is used for a long time, it is possible to prevent a short circuit between the electrodes in the liquid crystal device. Specifically, silicon oxide (SiO 2), magnesium oxide (MgO), or the like can be used as the electrically insulating material having visible light transmittance and light resistance.
[0042]
The insulatingfilm 41 is formed on a part of the surface of thesubstrate 10. That is, the insulatingfilm 41 is formed so as to cover about 5 to 95% of the surface of the pixel electrode. Note that the insulatingfilm 41 is preferably formed so that the area of the insulatingfilm 41 is smaller than the exposed area of the pixel electrode. Specifically, the insulatingfilm 41 is formed on about 10 to 30% of the entire surface of the pixel electrode. Thus, by reducing the area of the insulatingfilm 41, the occurrence rate of image sticking can be reduced. But since the exposed area of an electrode becomes large, the incidence rate of the short circuit between electrodes becomes high. However, the short circuit between the electrodes occurs immediately after the assembly of the liquid crystal device, and if defective products are eliminated by inspection before product shipment, the possibility of failure occurring under the user is low. On the other hand, burn-in occurs after long-term use by the user. Therefore, on the assumption that the presence or absence of a short circuit between the electrodes is confirmed by a pre-shipment inspection, if the area of the insulatingfilm 41 is reduced to reduce the occurrence rate of image sticking, a highly reliable liquid crystal device for the user Can be provided.
[0043]
The insulatingfilm 41 prevents a short circuit between the pixel electrode of theTFT array substrate 10 and the common electrode of thecounter substrate 20. In particular, the conductive foreign matter mixed in the liquid crystal layer is sandwiched between the electrodes, thereby preventing a short circuit between the electrodes. Therefore, the insulatingfilm 41 is formed at least on the upper end portion of thesubstrate 10. Specifically, the insulatingfilm 41 is formed on the surface of theprotrusion 17 that is the upper end portion of thesubstrate 10. When theprotrusions 17 are formed on about 10 to 30% of the entire surface of the pixel electrode, the insulatingfilm 41 may be formed on the entire surface of theprotrusions 17. Further, when theprotrusions 17 are formed on 30% or more of the entire surface of the pixel electrode, the insulatingfilm 41 is formed on a part of the surface of theprotrusions 17. Thereby, as described above, a highly reliable liquid crystal device can be provided.
[0044]
FIG. 5 is a side sectional view taken along line BB in FIG. 5 and the subsequent drawings omit illustrations of TFT elements and various wirings formed between thesubstrate body 10A and thepixel electrode 9 for easy understanding. As shown in FIG. 5, the surface of thesubstrate body 10 </ b> A in the first embodiment is a substantially flat surface, and thepixel electrode 9 is formed thereon. Theprotrusions 17, thegrooves 16, and theirregularities 10 a described above are formed on the surface of thepixel electrode 9. Furthermore, the insulatingfilm 41 described above is formed on the surface of theprotrusion 17. Note that theliquid crystal molecules 49 are arranged above the gentle slope of theunevenness 10a, and a pretilt angle is given to theliquid crystal molecules 49. Thus, since the surface of thepixel electrode 9 is formed in a shape capable of aligning liquid crystal molecules, no alignment film is formed on the surface of thepixel electrode 9. That is, thepixel electrode 9 and the insulatingfilm 41 are exposed from the liquid crystal layer. In addition, a TFT element etc. can be formed easily by making the surface of 10 A of board | substrates into a substantially flat surface. Further, since theprotrusions 17, thegrooves 16, and theunevenness 10 a are formed only on the surface of thepixel electrode 9, the region other than the region where thepixel electrode 9 is formed becomes a substantially flat surface. Thereby, the obstacle at the time of liquid crystal injection is reduced, and the injection time can be shortened.
[0045]
[Production method]
Next, the manufacturing method of the alignment substrate of 1st Embodiment is demonstrated. 6 and 7 are explanatory diagrams of the method for manufacturing the alignment substrate according to the first embodiment.
[0046]
First, as shown in FIG. 6A, an electrodeconductive film 9a is formed on thesubstrate body 10A by sputtering or the like. Note that theconductive film 9a is formed as a flat film at this stage. Next, an insulatingfilm 41 is formed on the surface of theconductive film 9a by a CVD method or the like. Note that the insulatingfilm 41 is formed on the entire surface of theconductive film 9a at this stage. Next, for example, a resist 60 is applied as a mask material to the surface of the insulatingfilm 41. The resist 60 is applied to the surface of the insulatingfilm 41 with a uniform thickness by a spin coating method or the like. Then, theentire substrate 10 is put into an exposure apparatus, and the resist 60 is exposed. For exposure of the resist 60, a gray scale mask (hereinafter simply referred to as GSM) 52 is used. GSM is a photomask whose density changes stepwise or continuously, and the light transmittance increases from the dark part to the light part so that exposure to a deep position of the resist is possible. In the GSM of the first embodiment, a portion corresponding to the protrusion is a dark portion, and a portion corresponding to the groove is a light portion. Further, in the portion corresponding to the groove, the shade is changed stepwise or continuously from the portion corresponding to the top of the unevenness to the portion corresponding to the bottom. The resist 60 is exposed by irradiatinglight 53 such as ultraviolet rays through theGSM 52 thus formed.
[0047]
Next, as shown in FIG. 6B, the resist 60 is developed. Thereby, in the case of a positive resist, the exposed part is removed. In the first embodiment, the portion corresponding to the ridge is not exposed and is exposed to a deep position from the top to the bottom of the unevenness, so that the shape corresponding to the protrusion, groove and unevenness is patterned on the top of the resist 60. The Note that the upper portion of the resist 60 may be patterned by pressing the transfer mold without using dry etching using GSM. As this transfer mold, a pattern in which ridges, grooves, and inverted shapes of irregularities to be formed in the resist 60 are patterned is used. The transfer mold is composed of a substrate such as quartz, and patterning on the substrate can be performed by a focused ion beam processing method (FIB) or the like.
[0048]
Next, as shown in FIG. 7A, the insulatingfilm 41 and theconductive film 9a are dry-etched through the patterned resist 60. Next, as shown in FIG. For dry etching, an ion etching method or the like can be used. In order to etch the resist 60, oxygen gas or the like is suitable as theetchant 54, and in order to etch the insulatingfilm 41 made of silicon oxide or the like and theconductive film 9a made of ITO or the like, theetchant 54 is made of a fluorine-based material. The gas is preferred. However, when only one of the gases is used, the selection ratio becomes a problem. Therefore, both gases are mixed and used at an appropriate ratio. By performing etching with the mixed gas in this way, the selection ratio between the resist 60, the insulatingfilm 41, and theconductive film 9a can be adjusted to an appropriate value. On the other hand, when both gases are used, process management becomes complicated. Therefore, an inert gas such as argon can be used as theetchant 54. In this way, the process management is simplified by performing etching only with the plasma-ized inert gas. Further, the selectivity is reduced, and the insulatingfilm 41 and theconductive film 9a can be accurately patterned in the same shape as the resist 60.
[0049]
When dry etching is performed as described above, the insulatingfilm 41 and theconductive film 9a are sequentially etched following the resist 60 in the thin portion of the resist 60. In the thick portion of the resist 60, only the resist 60 is etched, and the insulatingfilm 41 and theconductive film 9a are not etched. Thereby, the insulatingfilm 41 and theconductive film 9 a are patterned in the same shape as the resist 60. As described above, as shown in FIG. 7B, the above-describedprotrusion 17,groove 16, andunevenness 10 a are formed on the upper portion of thepixel electrode 9. Further, the above-described insulatingfilm 41 is disposed only on the surface of theridge 17.
[0050]
As described above, in the method of manufacturing the alignment substrate according to the first embodiment, the electrical insulating film and the electrode can be formed at a stretch, and the manufacturing cost can be reduced. Note that the contour of thepixel electrode 9 may be formed simultaneously with the formation of the surface of thepixel electrode 9. In this case, the manufacturing cost can be further reduced. Further, since the alignment substrate of the first embodiment forms theunevenness 10a from the bottom to the top of thegroove 16, thegroove 16, theprotrusion 17 and theunevenness 10a are formed on the surface of thepixel electrode 9 by etching in a short time. be able to. Therefore, the manufacturing cost can be further reduced.
[0051]
Then, a liquid crystal device is formed using the alignment substrate described above. Specifically, a sealing material is applied to the peripheral portion of one of the TFT array substrate and the counter substrate formed as described above, and spacers for realizing a predetermined cell gap are dispersed. Then, both the substrates are bonded to each other through the sealing material in a state where the extending directions of the grooves and the protrusions on both the substrates are shifted by a predetermined angle. Further, TN liquid crystal or the like is injected from a liquid crystal injection hole formed in a part of the sealing material, and the liquid crystal injection hole is sealed with a sealing material. Thus, a liquid crystal device is formed.
[0052]
[Modification]
FIG. 8 is a side sectional view of a modification of the alignment substrate according to the first embodiment. In thealignment substrate 110 shown in FIG. 8, shapes corresponding to theprotrusions 117, thegrooves 116, and theunevenness 110a are formed on the surface of thesubstrate body 110A. Thepixel electrode 109 is formed with a uniform thickness above thesubstrate body 110A, and theridge 117, thegroove 116, and theunevenness 110a are formed on the surface of thepixel electrode 109. Further, an insulatingfilm 141 is formed on the surface of theprotrusion 117. In addition, on the surface of thesubstrate body 110A, it is preferable that the shape corresponding to theprotrusion 117, thegroove 116, and theunevenness 110a is selectively formed only in the formation region of thepixel electrode 109, and the other region is a substantially flat surface. . Thereby, a TFT element or the like can be easily formed in a region other than the region where thepixel electrode 109 is formed. Further, as described above, the liquid crystal injection time can be shortened.
[0053]
Next, a manufacturing method of the above-described modification will be described. 9 and 10 are explanatory diagrams of the manufacturing method of the above-described modification.
As shown in FIG. 9A, the surface of thesubstrate body 110A is initially formed to be a substantially flat surface. Then, a resist 160 is applied to the surface of thesubstrate body 110A. Next, as in the first embodiment, the resist 160 is exposed through theGSM 162, and the exposed resist 160 is developed. Then, as shown in FIG. 9B, the shape corresponding to the protrusions, grooves and irregularities is patterned on the top of the resist 160.
[0054]
Next, thesubstrate body 110A is dry-etched using the patterned resist 160 as a mask. Note that an inert gas such as argon can be used for theetchant 164 as described above. As a result, as shown in FIG. 10A, the upper portion of thesubstrate body 110A is patterned in the same shape as the resist, and shapes corresponding to protrusions, grooves, and irregularities are formed on the upper portion of thesubstrate body 110A.
[0055]
Next, as shown in FIG. 10B,pixel electrodes 109 are formed with a uniform thickness above thesubstrate body 110A. Thus, theprotrusion 117, thegroove 116, and theunevenness 110a are formed on the surface of thepixel electrode 109. Further, as in the first embodiment, the insulatingfilm 141 is formed only on the surface of theprotrusion 117. Thereby, an insulatingfilm 141 is formed on a part of the surface of thepixel electrode 109.
[0056]
In the above-described modification, thepixel electrode 109 and the insulatingfilm 141 can be formed to have a uniform thickness, so that a stable voltage can be applied to the liquid crystal molecules. Therefore, a highly reliable liquid crystal device can be provided. In the above-described modification, the shape corresponding to theprotrusion 117, thegroove 116, and theunevenness 110a is formed on the surface of thesubstrate body 110A. However, it is formed between thesubstrate body 110A and thepixel electrode 109 shown in FIG. On the surface of the firstinterlayer insulating film 12, the secondinterlayer insulating film 4, or the thirdinterlayer insulating film 7, shapes corresponding to protrusions, grooves, and irregularities may be formed. In particular, if the above shape is formed on the outermost thirdinterlayer insulating film 7, the shape can be faithfully reproduced on the surface of thepixel electrode 9, and the alignment regulating force of liquid crystal molecules can be improved.
[0057]
In each of the alignment substrate of the first embodiment described above and the modifications thereof, the upper portion of the electrode is formed in a shape capable of aligning liquid crystal molecules. According to this configuration, it is not necessary to separately form an alignment film in order to align the liquid crystal molecules. Therefore, the manufacturing cost can be reduced. Further, the alignment film is not decomposed by strong light or heat, and the display quality of the liquid crystal device does not deteriorate. Further, the rubbing treatment of the alignment film is not necessary, and the occurrence of problems due to the rubbing cloth or the dust of the alignment film material can be avoided. Therefore, a highly reliable liquid crystal device can be provided.
[0058]
FIG. 17 is a performance table of the alignment substrate according to the first embodiment and its modifications. In both the alignment substrate of the first embodiment and the modification thereof, since the insulating film is formed on a part of the surface of the electrode, the short circuit between the electrodes is compared with the case where the entire surface of the electrode is exposed to the liquid crystal layer. Can be reduced. Further, since the insulating film is formed only on a part of the surface of the electrode, the occurrence rate of image sticking can be reduced as compared with the case where the insulating film is formed on the entire surface of the electrode. As a result, it is possible to suppress both the occurrence rate of short circuit and seizure between the electrodes within an allowable range. Therefore, a highly reliable liquid crystal device can be provided, and the yield of the liquid crystal device can be improved.
[0059]
[Second Embodiment]
Next, an alignment substrate according to a second embodiment of the present invention will be described with reference to FIGS. The alignment substrate of the second embodiment is different from the first embodiment in that unevenness capable of aligning liquid crystal molecules is formed on the top of each protrusion, and an electrical insulator is formed on the upper end of the protrusion. . Since other points are the same as those of the first embodiment, detailed description thereof is omitted. Further, since the above configuration is common to the TFT array substrate and the counter substrate, the following description will be given by taking a TFT array substrate (hereinafter simply referred to as a substrate) as an example.
[0060]
FIG. 11 is a perspective view of the alignment substrate of the second embodiment. A plurality ofgrooves 216 andprotrusions 217 are alternately formed in parallel on the surface of thepixel electrode 209 of thesubstrate 210. A plurality of projections anddepressions 210b are formed on the top of each protrusion. Theirregularities 210b are formed to have the same width as theprotrusions 217, and are periodically arranged along the extending direction of theprotrusions 217. A step G is provided between the apex of theunevenness 210b and the bottom surface of thegroove 216. As in the first embodiment, the height of the step G is 30 to 500 nm, and more preferably 100 to 250 nm. Moreover, the uneven | corrugated 210b cross section along the extending direction of theprotrusion 217 is made into the triangular shape (sawtooth shape) which has a gentle slope and a steep slope. By disposing the liquid crystal molecules along the gentle slope, a pretilt angle is given to the liquid crystal molecules.
[0061]
On the other hand, an insulatingfilm 241 that is an electrical insulator is formed on the upper end portion of the surface of eachunevenness 210 b that is the upper end portion of thepixel electrode 209. This insulatingfilm 241 is formed on a part of the surface of thesubstrate 210, specifically, about 10 to 30% of the entire surface of thepixel electrode 209. Note that when theprotrusion 217 is formed on about 10 to 30% of the entire surface of thepixel electrode 209, an insulating film may be formed on the entire surface of theunevenness 210b. In addition, when theprotrusions 217 are formed on 30% or more of the entire surface of thepixel electrode 209, the insulatingfilm 241 is formed on a part of the surface of theunevenness 210b. In this case, the insulatingfilm 241 is formed at least on the upper end portion of theunevenness 210b that is the upper end portion of thepixel electrode 209. As a result, it is possible to efficiently reduce the occurrence rate of a short circuit between the electrodes, and to provide a highly reliable liquid crystal device.
[0062]
12 is a side cross-sectional view taken along the line CC of FIG. As shown in FIG. 12, the surface of thesubstrate body 210A in the second embodiment is a substantially flat surface, and thepixel electrode 209 is formed on the upper surface. Further, an insulatingfilm 241 is formed on the surface of thepixel electrode 209. Theprotrusions 217, thegrooves 216, and theunevenness 210 b described above are formed on thepixel electrodes 209 and the insulatingfilm 241 that are stacked. Note that thetrench 216 is formed through the insulatingfilm 241 to the middle layer of the pixel electrode, and thepixel electrode 209 is exposed on the bottom surface of thetrench 216. Theunevenness 210b is formed from the insulatingfilm 241 to the upper layer portion of thepixel electrode 209, and the insulatingfilm 241 and / or thepixel electrode 209 are exposed on the surface of theunevenness 210b.
[0063]
Thealignment substrate 210 of the second embodiment is manufactured by the same method as that of the first embodiment. That is, first, similarly to FIG. 6A, a conductive film, an insulating film, and a resist are sequentially formed above the substrate. Then, the resist is exposed using GSM. At that time, GSM different from the first embodiment is used. In the GSM used in the first embodiment, a pattern whose density is changed stepwise or continuously from the top to the bottom of the unevenness is formed on the pattern corresponding to the groove. However, in the second embodiment, since the projections and depressions are formed on the top of the ridges, GSM is used in which the pattern corresponding to the projections and depressions is formed on the pattern corresponding to the ridges. Next, the exposed resist is developed using the GSM. Thereby, like FIG.6 (b), the shape corresponded to a protrusion, a groove | channel, and an unevenness | corrugation is patterned to a resist. Then, as in FIG. 6B, the insulating film and the conductive film are dry-etched using the patterned resist as a mask. Then, as shown in FIG. 12, thealignment substrate 210 of the second embodiment is formed. In the manufacturing method of the alignment substrate described above, the insulatingfilm 241 and thepixel electrode 209 can be formed at a stretch. Therefore, the manufacturing cost can be reduced.
[0064]
[Modification]
FIG. 13 is a side sectional view of a modified example of the alignment substrate according to the second embodiment. In the modification shown in FIG. 13, shapes corresponding to theprotrusions 317, thegrooves 316, and theunevenness 310b are formed on the surface of thesubstrate body 310A. However, unlike the modification of the alignment substrate of the first embodiment, a shape corresponding to theunevenness 310b is formed on the upper portion corresponding to theprotrusion 317. Apixel electrode 309 is formed with a uniform thickness above thesubstrate body 310A, andprotrusions 317,grooves 316, andirregularities 310b similar to those of the second embodiment are formed on the surface of thepixel electrode 309. Furthermore, an insulatingfilm 341 is formed on the surface of the upper end portion of theunevenness 310b. Note that, on the surface of thesubstrate body 310A, it is preferable that the shapes corresponding to theprotrusions 317, thegrooves 316, and theunevenness 310b are selectively formed only in the formation region of thepixel electrode 309 and the other regions are substantially flat surfaces. .
[0065]
The alignment substrate according to the modification of the second embodiment is manufactured by the same method as that of the modification of the first embodiment. First, as in FIG. 9A, a resist is formed on the substantially flat surface of the substrate body. Next, the resist is exposed using the same GSM as in the second embodiment. Next, as in FIG. 9B, the exposed resist is developed, and shapes corresponding to the protrusions, grooves, and irregularities are patterned into the resist. Further, the substrate body is dry etched using the patterned resist as a mask. As a result, similar to FIG. 10A, shapes corresponding to the protrusions, grooves and irregularities are patterned on the upper portion of the substrate body. Next, as shown in FIG. 13,pixel electrodes 309 are formed with a uniform thickness above the substrate body. Thereby, theprotrusion 317, thegroove 316, and theunevenness 310b are formed on the surface of thepixel electrode 309. Further, an insulatingfilm 341 is formed on the upper end portion of theunevenness 310b. Thus, the insulatingfilm 341 is formed on part of the surface of thepixel electrode 309.
[0066]
Both the alignment substrate of the second embodiment described above and the modifications thereof can achieve the same effects as those of the first embodiment. That is, since the surface of the electrode is formed in a shape capable of aligning liquid crystal molecules, it is not necessary to separately form an alignment film, and the occurrence of problems due to the alignment film can be avoided. In addition, as shown in FIG. 17, since the insulating film is formed on a part of the surface of the electrode, the occurrence rate of the short circuit between the electrodes can be reduced. Further, since the insulating film is formed only on part of the electrode, the occurrence rate of image sticking can be reduced. Therefore, it is possible to suppress both the occurrence rate of short circuit and seizure between the electrodes within an allowable range. Thus, a highly reliable liquid crystal device can be provided, and the yield of the liquid crystal device can be improved.
[0067]
[Third Embodiment]
Next, an alignment substrate according to a third embodiment of the present invention will be described with reference to FIGS. In the alignment substrate of the third embodiment, unevenness capable of aligning liquid crystal molecules is formed at the top of each protrusion and the bottom of each groove, and an electrical insulator is formed at the top of the protrusion formed at the top of each protrusion. This is different from the first embodiment and the second embodiment. Since other points are the same as those of the first embodiment and the second embodiment, detailed description thereof is omitted. Further, since the above configuration is common to the TFT array substrate and the counter substrate, the following description will be given by taking a TFT array substrate (hereinafter simply referred to as a substrate) as an example.
[0068]
FIG. 14 is a perspective view of the alignment substrate of the third embodiment. A plurality ofgrooves 416 andprotrusions 417 are alternately formed in parallel on the surface of thepixel electrode 409 of thesubstrate 410. A plurality ofirregularities 410 a are periodically formed along the extending direction of thegrooves 416 at the bottom of eachgroove 416. A plurality of projections anddepressions 410b are formed on the top of eachprotrusion 417 periodically along the extending direction of theprotrusion 417. In addition, the level | step difference G is provided between the top part of the unevenness | corrugation 410a, and the bottom part of the unevenness |corrugation 410b. Similar to the first and second embodiments, the height of the step G is 30 to 500 nm, more preferably 100 to 250 nm. Furthermore, the cross sections of theunevenness 410a and theunevenness 410b are triangular (sawtooth shape) having a gentle slope and a steep slope. By disposing the liquid crystal molecules along the gentle slope, a pretilt angle is given to the liquid crystal molecules.
[0069]
On the other hand, an insulatingfilm 441 that is an electrical insulator is formed on the upper end portion of each of the projections anddepressions 410b that is the upper end portion of thepixel electrode 409, as in the second embodiment. The insulatingfilm 441 is formed on a part of the surface of thesubstrate 410, specifically, about 10 to 30% of the entire surface of thepixel electrode 409. Note that in the case where theprotrusions 417 are formed on about 10 to 30% of the entire surface of thepixel electrode 409, an insulating film may be formed on the entire surface of theunevenness 410b. In addition, when theprotrusion 417 is formed on 30% or more of the entire surface of thepixel electrode 409, the insulatingfilm 441 is formed on a part of the surface of theprotrusion 417. Thereby, a highly reliable liquid crystal device can be provided.
[0070]
15 is a side cross-sectional view taken along the line DD of FIG. As shown in FIG. 15, the surface of thesubstrate body 410A in the third embodiment is a substantially flat surface, and thepixel electrode 409 is formed thereabove. Further, an insulatingfilm 441 is formed on the surface of thepixel electrode 409. Theprotrusions 417 andunevenness 410b, and thegrooves 416 andunevenness 410a are formed above thepixel electrode 409 and / or the insulatingfilm 441 that are stacked. Note that thepixel electrode 409 is exposed on the surface of theunevenness 410a, and the insulatingfilm 441 and / or thepixel electrode 409 is exposed on the surface of theunevenness 410b.
[0071]
Thealignment substrate 410 of the third embodiment is manufactured by the same method as that of the first and second embodiments. That is, first, similarly to FIG. 6A, a conductive film, an insulating film, and a resist are sequentially formed above the substrate. Then, the resist is exposed using GSM. In the third embodiment, since the unevenness is formed on the bottom of the groove and the top of the protrusion, the pattern corresponding to the unevenness is formed both on the pattern corresponding to the groove and on the pattern corresponding to the protrusion. Use GSM. Next, the exposed resist is developed using the GSM. Thereby, like FIG.6 (b), the shape corresponded to a protrusion, a groove | channel, and an unevenness | corrugation is patterned to a resist. Then, as in FIG. 6B, the insulating film and the conductive film are dry-etched using the patterned resist as a mask. Then, as shown in FIG. 15, thealignment substrate 410 of the third embodiment is formed. In the manufacturing method of the alignment substrate described above, the insulatingfilm 441 and thepixel electrode 409 can be formed at a stretch. Therefore, the manufacturing cost can be reduced.
[0072]
[Modification]
FIG. 16 is a side sectional view of a modified example of the alignment substrate according to the third embodiment. In the modification shown in FIG. 16, shapes corresponding to thegrooves 516 and theunevenness 510a, and theprotrusions 517 and theunevenness 510b are formed on the surface of thesubstrate body 510A. Then, thepixel electrode 509 is formed on the upper surface of thesubstrate body 510A with a uniform thickness. On the surface of thepixel electrode 509, thegroove 516, theunevenness 510a, theprotrusion 517, and theunevenness 510b are formed as in the third embodiment. Yes. Further, an insulatingfilm 541 is formed on the surface of the upper end portion of theunevenness 510b. Note that on the surface of thesubstrate body 510A, the shapes corresponding to thegrooves 516 and the projections anddepressions 510a and theprotrusions 517 and the projections anddepressions 510b are selectively formed only in the formation region of thepixel electrode 509, and the other regions are substantially flat surfaces. Is preferred.
[0073]
The alignment substrate according to the modification of the third embodiment is manufactured by the same method as that of the modification of the first embodiment and the second embodiment. First, as in FIG. 9A, a resist is formed on the substantially flat surface of the substrate body. Next, the resist is exposed using the same GSM as in the third embodiment. Next, as in FIG. 9B, the exposed resist is developed, and shapes corresponding to the protrusions, grooves, and irregularities are patterned into the resist. Further, the substrate body is dry etched using the patterned resist as a mask. As a result, similar to FIG. 10A, shapes corresponding to the protrusions, grooves and irregularities are patterned on the upper portion of the substrate body. Next, as shown in FIG. 16,pixel electrodes 509 are formed with a uniform thickness above the substrate body. Thereby, thegroove 516 and theunevenness 510a, theprotrusion 517 and theunevenness 510b are formed on the surface of thepixel electrode 509. Further, an insulatingfilm 541 is formed on the upper end portion of theunevenness 510b. As described above, the alignment substrate according to the modification of the third embodiment is formed.
[0074]
Both the alignment substrate of the third embodiment described above and the modifications thereof can achieve the same effects as those of the first embodiment and the second embodiment. In particular, since liquid crystal molecules can be favorably aligned by a large number of irregularities, it is not necessary to separately form an alignment film, and the occurrence of problems due to the alignment film can be avoided. In addition, as shown in FIG. 17, since the insulating film is formed on a part of the surface of the electrode, the occurrence rate of the short circuit between the electrodes can be reduced. Further, since the insulating film is formed only on part of the electrode, the occurrence rate of image sticking can be reduced. Therefore, it is possible to suppress both the occurrence rate of short circuit and seizure between the electrodes within an allowable range. Thus, a highly reliable liquid crystal device can be provided, and the yield of the liquid crystal device can be improved.
[0075]
[Projection type display device]
Next, a projection display device which is a specific example of the electronic apparatus of the invention will be described with reference to FIG. FIG. 18 is a schematic configuration diagram illustrating a main part of the projection display device. This projection type display device includes the transmissive liquid crystal device according to any one of the first to third embodiments as a liquid crystal light modulation device.
[0076]
In FIG. 18, 810 is a light source, 813 and 814 are dichroic mirrors, 815, 816 and 817 are reflection mirrors, 818 is an incident lens, 819 is a relay lens, 820 is an exit lens, and 822, 823 and 824 are liquid crystal devices of the present invention. 825 is a cross dichroic prism, 826 is a projection lens, 831, 832, and 833 are polarizing plates on the incident side, and 834, 835, and 836 are polarizing plates on the outgoing side. Thelight source 810 includes alamp 811 such as a metal halide and areflector 812 that reflects the light of the lamp.
[0077]
Thedichroic mirror 813 transmits red light contained in white light from thelight source 810 and reflects blue light and green light. The transmitted red light is reflected by thereflection mirror 817 and is incident on the liquid crystallight modulation device 822 for red light. The green light reflected by thedichroic mirror 813 is reflected by thedichroic mirror 814 and is incident on the liquidcrystal light modulator 823 for green light. Further, the blue light reflected by thedichroic mirror 813 passes through thedichroic mirror 814. For blue light, in order to prevent light loss due to a long optical path, a light guide means 821 including a relay lens system including anincident lens 818, arelay lens 819, and anexit lens 820 is provided. The blue light is incident on the blue light liquid crystallight modulation device 824 via thelight guide unit 821.
[0078]
The three color lights modulated by the respective light modulation devices are incident on the crossdichroic prism 825. The crossdichroic prism 825 is formed by bonding four right-angle prisms. A dielectric multilayer film that reflects red light and a dielectric multilayer film that reflects blue light are formed in an X shape at the interface. Yes. These dielectric multilayer films combine the three color lights to form light representing a color image. The synthesized light is projected onto thescreen 827 by theprojection lens 826 which is a projection optical system, and the image is enlarged and displayed.
[0079]
As described above, when the transmissive liquid crystal device according to any of the first to third embodiments is used as the liquidcrystal light modulators 822, 823, and 824 of the projection display device, strong light or heat emitted from thelight source 810 is used. Thus, the alignment film is not decomposed. Further, the liquid crystal alignment control function does not deteriorate even after long-term use, and the display quality of the projection display device does not deteriorate.
[0080]
It should be noted that the technical scope of the present invention is not limited to the above-described embodiment, and includes those in which various modifications are made to the above-described embodiment without departing from the spirit of the present invention. For example, in the embodiment, the TN mode liquid crystal device has been described as an example. However, the present invention can be applied to the ECB mode, the vertical alignment mode, the STN (Super Twisted Nematic) mode, the ferroelectric mode, the antiferroelectric mode, and the like when no voltage is applied. The alignment state of the liquid crystal molecules can be applied to any liquid crystal device. In the embodiment, a liquid crystal device including a TFT as a switching element has been described as an example. However, a two-terminal element such as a thin film diode may be employed as the switching element. In the embodiment, the transmissive liquid crystal device has been described as an example. However, the liquid crystal device of the present invention can be applied to a reflective or transflective liquid crystal device. Furthermore, although the three-plate projection display device has been described as an example of the electronic apparatus, the liquid crystal device of the present invention can be applied to a single-plate projection display device or a direct-view display device.
[0081]
Another specific example of the electronic device of the present invention is a mobile phone. This mobile phone includes the transmissive liquid crystal device according to any one of the first to third embodiments in a display unit. Other electronic devices include, for example, an IC card, a video camera, a personal computer, a head mounted display, a fax machine with a display function, a digital camera finder, a portable TV, a DSP device, a PDA, an electronic notebook, and an electric bulletin board. And advertising announcement displays.
[Brief description of the drawings]
FIG. 1 is an equivalent circuit diagram of a plurality of pixels in a liquid crystal device.
FIG. 2 is a plan view of a plurality of pixels formed on a TFT array substrate.
FIG. 3 is a side cross-sectional view taken along line AA ′ of FIG.
FIG. 4 is a perspective view of an alignment substrate according to the first embodiment.
5 is a side cross-sectional view taken along line BB in FIG. 4. FIG.
FIG. 6 is a first explanatory view of a method for manufacturing an alignment substrate.
FIG. 7 is a second explanatory view of the method of manufacturing the alignment substrate.
FIG. 8 is a side sectional view of a modified example of the alignment substrate of the first embodiment.
FIG. 9 is a first explanatory view of a manufacturing method of a modified example of an alignment substrate.
FIG. 10 is a second explanatory diagram of the manufacturing method of the modified example of the alignment substrate.
FIG. 11 is a perspective view of an alignment substrate according to a second embodiment.
12 is a side cross-sectional view taken along line CC in FIG. 11. FIG.
FIG. 13 is a side sectional view of a modified example of the alignment substrate of the second embodiment.
FIG. 14 is a perspective view of an alignment substrate according to a third embodiment.
15 is a side sectional view taken along line DD of FIG.
FIG. 16 is a side cross-sectional view of a modified example of the alignment substrate of the third embodiment.
FIG. 17 is a performance table of an alignment substrate according to an embodiment and variations thereof.
FIG. 18 is a configuration diagram showing a main part of a projection display device.
[Explanation of symbols]
9electrodes 10substrates 10a irregularities 16grooves 17ridges 41 insulating films

Claims (15)

Translated fromJapanese
液晶分子を配向可能な基板であって、
前記基板の上方に形成され、前記液晶分子に電圧を印加する導電体と、
前記導電体の表面の一部に形成された電気絶縁体と、
を有することを特徴とする配向基板。
A substrate capable of aligning liquid crystal molecules,
A conductor formed above the substrate and applying a voltage to the liquid crystal molecules;
An electrical insulator formed on a part of the surface of the conductor;
An alignment substrate comprising:
前記電気絶縁体は、少なくとも前記導電体の上端部に形成されていることを特徴とする請求項1に記載の配向基板。The alignment substrate according to claim 1, wherein the electrical insulator is formed at least on an upper end portion of the conductor.前記電気絶縁体の面積は、前記導電体の露出面積より小さくなっていることを特徴とする請求項1または請求項2に記載の配向基板。The alignment substrate according to claim 1, wherein an area of the electrical insulator is smaller than an exposed area of the conductor.前記電気絶縁体は、可視光透過性を有する材料で構成されていることを特徴とする請求項1ないし請求項3のいずれかに記載の配向基板。4. The alignment substrate according to claim 1, wherein the electrical insulator is made of a material having visible light permeability.前記電気絶縁体は、耐光性を有する材料で構成されていることを特徴とする請求項1ないし請求項4のいずれかに記載の配向基板。The alignment substrate according to claim 1, wherein the electrical insulator is made of a light-resistant material.前記電気絶縁体および/または前記導電体の表面は、前記液晶分子を配向可能な形状に成形されていることを特徴とする請求項1ないし請求項5のいずれかに記載の配向基板。6. The alignment substrate according to claim 1, wherein a surface of the electrical insulator and / or the conductor is formed into a shape capable of aligning the liquid crystal molecules.前記導電体の表面には、前記液晶分子を配向可能な複数の溝と、前記各溝を隔てる複数の突条とが、互いに平行に形成され、
前記各溝の底部には、前記液晶分子を配向可能な複数の凹凸が、前記各溝の延在する方向に沿って周期的に形成され、
前記各突条の表面の全部または一部に、前記電気絶縁体が形成されていることを特徴とする請求項1ないし請求項6のいずれかに記載の配向基板。
On the surface of the conductor, a plurality of grooves capable of aligning the liquid crystal molecules and a plurality of protrusions separating the grooves are formed in parallel to each other,
A plurality of irregularities capable of aligning the liquid crystal molecules are periodically formed at the bottom of each groove along the extending direction of each groove,
The alignment substrate according to claim 1, wherein the electrical insulator is formed on all or a part of the surface of each protrusion.
前記導電体の表面には、前記液晶分子を配向可能な複数の溝と、前記各溝を隔てる複数の突条とが、互いに平行に形成され、
前記各突条の上部には、前記液晶分子を配向可能な複数の凹凸が、前記各突条の延在する方向に沿って周期的に形成されて、
前記各凹凸の表面の全部または一部に、前記電気絶縁体が形成されていることを特徴とする請求項1ないし請求項6のいずれかに記載の配向基板。
On the surface of the conductor, a plurality of grooves capable of aligning the liquid crystal molecules and a plurality of protrusions separating the grooves are formed in parallel to each other,
A plurality of protrusions and recesses capable of orienting the liquid crystal molecules are periodically formed on the top of each protrusion along the extending direction of each protrusion,
The alignment substrate according to claim 1, wherein the electrical insulator is formed on all or a part of the surface of each of the irregularities.
前記導電体の表面には、前記液晶分子を配向可能な複数の溝と、前記各溝を隔てる複数の突条とが、互いに平行に形成され、
前記各溝の底部には、前記液晶分子を配向可能な複数の凹凸が、前記各溝の延在する方向に沿って周期的に形成され、
前記各突条の上部には、前記液晶分子を配向可能な複数の凹凸が、前記各突条の延在する方向に沿って周期的に形成されて、
前記各突条の上部に形成された前記各凹凸の表面の全部または一部に、前記電気絶縁体が形成されていることを特徴とする請求項1ないし請求項6のいずれかに記載の配向基板。
On the surface of the conductor, a plurality of grooves capable of aligning the liquid crystal molecules and a plurality of protrusions separating the grooves are formed in parallel to each other,
A plurality of irregularities capable of aligning the liquid crystal molecules are periodically formed at the bottom of each groove along the extending direction of each groove,
A plurality of protrusions and recesses capable of orienting the liquid crystal molecules are periodically formed on the top of each protrusion along the extending direction of each protrusion,
The orientation according to any one of claims 1 to 6, wherein the electrical insulator is formed on all or a part of a surface of each of the irregularities formed on the top of each protrusion. substrate.
基板本体の上方に導電体を形成する工程と、
前記導電体の表面に電気絶縁体を形成する工程と、
前記電気絶縁体の表面にマスク材を形成する工程と、
前記マスク材を、液晶分子を配向可能な形状に成形する工程と、
成形された前記マスク材を介して、前記電気絶縁体および/または前記導電体をエッチングすることにより、前記液晶分子を配向可能な形状に、前記電気絶縁体および/または前記導電体の表面を成形する工程と、
を有することを特徴とする配向基板の製造方法。
Forming a conductor above the substrate body;
Forming an electrical insulator on the surface of the conductor;
Forming a mask material on the surface of the electrical insulator;
Forming the mask material into a shape capable of aligning liquid crystal molecules;
By etching the electrical insulator and / or the conductor through the molded mask material, the surface of the electrical insulator and / or the conductor is formed into a shape capable of aligning the liquid crystal molecules. And a process of
A method for producing an alignment substrate, comprising:
基板本体の表面にマスク材を形成する工程と、
前記マスク材を、液晶分子を配向可能な形状に成形する工程と、
成形された前記マスク材を介して、前記基板本体の表面をエッチングすることにより、前記液晶分子を配向可能な形状に、前記基板本体の表面を成形する工程と、
前記基板本体の上方に導電体を形成する工程と、
前記導電体の表面の一部に電気絶縁体を形成する工程と、
を有することを特徴とする配向基板の製造方法。
Forming a mask material on the surface of the substrate body;
Forming the mask material into a shape capable of aligning liquid crystal molecules;
Etching the surface of the substrate body through the molded mask material, forming the surface of the substrate body into a shape capable of aligning the liquid crystal molecules;
Forming a conductor above the substrate body;
Forming an electrical insulator on a portion of the surface of the conductor;
A method for producing an alignment substrate, comprising:
請求項1ないし請求項9のいずれかに記載の配向基板を備えたことを特徴とする液晶装置。A liquid crystal device comprising the alignment substrate according to claim 1.請求項10または請求項11に記載の配向基板の製造方法を使用して製造したことを特徴とする液晶装置。A liquid crystal device manufactured using the method for manufacturing an alignment substrate according to claim 10.対向配置された一対の基板と、前記一対の基板により挟持される液晶層と、前記各基板の前記液晶層側の表面に形成され前記液晶層に電圧を印加する導電体と、前記導電体の表面の一部に形成された電気絶縁体と、を有することを特徴とする液晶装置。A pair of substrates disposed opposite to each other, a liquid crystal layer sandwiched between the pair of substrates, a conductor formed on a surface of each substrate on the liquid crystal layer side, and applying a voltage to the liquid crystal layer; And an electric insulator formed on a part of the surface.請求項12ないし請求項14のいずれかに記載の液晶装置を備えたことを特徴とする電子機器。An electronic apparatus comprising the liquid crystal device according to claim 12.
JP2003174825A2003-06-192003-06-19 Alignment substrate, method for manufacturing alignment substrate, liquid crystal device and electronic deviceWithdrawnJP2005010480A (en)

Priority Applications (1)

Application NumberPriority DateFiling DateTitle
JP2003174825AJP2005010480A (en)2003-06-192003-06-19 Alignment substrate, method for manufacturing alignment substrate, liquid crystal device and electronic device

Applications Claiming Priority (1)

Application NumberPriority DateFiling DateTitle
JP2003174825AJP2005010480A (en)2003-06-192003-06-19 Alignment substrate, method for manufacturing alignment substrate, liquid crystal device and electronic device

Publications (1)

Publication NumberPublication Date
JP2005010480Atrue JP2005010480A (en)2005-01-13

Family

ID=34098189

Family Applications (1)

Application NumberTitlePriority DateFiling Date
JP2003174825AWithdrawnJP2005010480A (en)2003-06-192003-06-19 Alignment substrate, method for manufacturing alignment substrate, liquid crystal device and electronic device

Country Status (1)

CountryLink
JP (1)JP2005010480A (en)

Cited By (3)

* Cited by examiner, † Cited by third party
Publication numberPriority datePublication dateAssigneeTitle
KR20130122896A (en)*2012-05-012013-11-11엘지디스플레이 주식회사Liquid crystal display device
CN103713430A (en)*2012-10-052014-04-09Lg电子株式会社Liquid crystal display, mobile terminal having the liquid crystal display, and method of manufacturing the liquid crystal display
US9746711B2 (en)2014-09-152017-08-29Innolux CorporationPixel structure and liquid-crystal display

Cited By (9)

* Cited by examiner, † Cited by third party
Publication numberPriority datePublication dateAssigneeTitle
KR20130122896A (en)*2012-05-012013-11-11엘지디스플레이 주식회사Liquid crystal display device
KR101998330B1 (en)2012-05-012019-10-01엘지디스플레이 주식회사Liquid crystal display device
CN103713430A (en)*2012-10-052014-04-09Lg电子株式会社Liquid crystal display, mobile terminal having the liquid crystal display, and method of manufacturing the liquid crystal display
EP2717091A1 (en)*2012-10-052014-04-09LG Electronics, Inc.Liquid crystal display apparatus without alignment films and method of manufacturing it
KR20140044657A (en)*2012-10-052014-04-15엘지전자 주식회사Liquid crystal display appratus and mobile terminal having the same and method of manufacturing the quid crystal display appratus
US9170442B2 (en)2012-10-052015-10-27Lg Electronics Inc.Liquid crystal display, mobile terminal having the liquid crystal display, and method of manufacturing the liquid crystal display
CN103713430B (en)*2012-10-052016-12-28Lg电子株式会社Liquid crystal display, the mobile terminal with liquid crystal display and manufacture method
KR102034485B1 (en)2012-10-052019-10-21엘지전자 주식회사Liquid crystal display appratus and mobile terminal having the same and method of manufacturing the quid crystal display appratus
US9746711B2 (en)2014-09-152017-08-29Innolux CorporationPixel structure and liquid-crystal display

Similar Documents

PublicationPublication DateTitle
JP4142064B2 (en) Liquid crystal device, electro-optical device, projector, and microdevice
JP3270821B2 (en) Reflective liquid crystal display device and method of manufacturing the same
US7924356B2 (en)Electrooptical device, electronic apparatus, and projector
US7119871B2 (en)Liquid crystal display having insulating film overlapping and extending in direction of drain signal line
JP4302194B2 (en) Method for manufacturing semiconductor device
US7463327B2 (en)Liquid crystal display
JP2008197672A (en) Liquid crystal device
CN106019738A (en)Electro-optical apparatus and electronic apparatus
US20100283923A1 (en)Liquid crystal device and electronic apparatus
JP2017120445A (en)Microlens array substrate, method for manufacturing microlens array substrate, electro-optic device, and electronic apparatus
US6965421B2 (en)Liquid crystal device and electronic equipment therewith
US7233376B2 (en)Transflective LCD with reflective electrode offset from transmissile electrode
JP2006285001A (en) Seal structure, liquid crystal device, manufacturing method thereof, and projector
JP2004157148A (en) Liquid crystal display and electronic equipment
JP2013073182A (en)Optical element substrate manufacturing method and optical element substrate
JP2005010480A (en) Alignment substrate, method for manufacturing alignment substrate, liquid crystal device and electronic device
JP2004177848A (en) Liquid crystal display
JP5277547B2 (en) Manufacturing method of liquid crystal device
CN102445789A (en)Liquid crystal display device, method of manufacturing same and electronic apparatus
JP4172283B2 (en) Liquid crystal device and electronic device
JP4400027B2 (en) Transflective / reflective electro-optical device and electronic apparatus using the same
JP6299493B2 (en) Microlens array substrate, electro-optical device, and electronic device
JP2001215531A (en) Liquid crystal devices, projection display devices and electronic equipment
JP2009251003A (en)Liquid crystal device, manufacturing method for liquid crystal device, and substrate for liquid crystal device
JPH11194342A (en)Electro-optical device

Legal Events

DateCodeTitleDescription
A300Withdrawal of application because of no request for examination

Free format text:JAPANESE INTERMEDIATE CODE: A300

Effective date:20060905


[8]ページ先頭

©2009-2025 Movatter.jp